JP2007100889A - Strut mount - Google Patents

Strut mount Download PDF

Info

Publication number
JP2007100889A
JP2007100889A JP2005293400A JP2005293400A JP2007100889A JP 2007100889 A JP2007100889 A JP 2007100889A JP 2005293400 A JP2005293400 A JP 2005293400A JP 2005293400 A JP2005293400 A JP 2005293400A JP 2007100889 A JP2007100889 A JP 2007100889A
Authority
JP
Japan
Prior art keywords
elastic body
rubber elastic
strut mount
metal fitting
soft layer
Prior art date
Legal status (The legal status is an assumption and is not a legal conclusion. Google has not performed a legal analysis and makes no representation as to the accuracy of the status listed.)
Granted
Application number
JP2005293400A
Other languages
Japanese (ja)
Other versions
JP4841923B2 (en
Inventor
Takeshi Inoue
剛 井上
Current Assignee (The listed assignees may be inaccurate. Google has not performed a legal analysis and makes no representation or warranty as to the accuracy of the list.)
Bridgestone Corp
Original Assignee
Bridgestone Corp
Priority date (The priority date is an assumption and is not a legal conclusion. Google has not performed a legal analysis and makes no representation as to the accuracy of the date listed.)
Filing date
Publication date
Application filed by Bridgestone Corp filed Critical Bridgestone Corp
Priority to JP2005293400A priority Critical patent/JP4841923B2/en
Publication of JP2007100889A publication Critical patent/JP2007100889A/en
Application granted granted Critical
Publication of JP4841923B2 publication Critical patent/JP4841923B2/en
Anticipated expiration legal-status Critical
Expired - Fee Related legal-status Critical Current

Links

Images

Landscapes

  • Vehicle Body Suspensions (AREA)
  • Fluid-Damping Devices (AREA)

Abstract

<P>PROBLEM TO BE SOLVED: To absorb great external force exerted from a shock absorber and absorb slight high-frequency vibration which may occur during high speed travel. <P>SOLUTION: This strut mount comprises an outside fitting 9 mounted on a vehicle body, an inside fitting 4 mounted on a piston rod 2 of the shock absorber, and a rubber elastic body 7 to be pressed into a storage portion of the outside fitting in the state of being formed on the outer periphery of the inside fitting integrally with the inside fitting when mounted between the outside fitting and the inside fitting. Between the outside fitting and the rubber elastic body, a soft layer 8 is mounted which has a higher loss factor and lower density than the rubber elastic body. Thus, the soft layer absorbs slight high-frequency vibration and the rubber elastic body absorbs great external force. <P>COPYRIGHT: (C)2007,JPO&INPIT

Description

本発明は、車両のサスペンション機構を構成するショックアブソーバを車体へマウントするストラットマウントに関する。   The present invention relates to a strut mount for mounting a shock absorber constituting a suspension mechanism of a vehicle on a vehicle body.

自動車等の車両には、ホイールと車体との間にショックアブソーバ等により構成されるストラット型のサスペンション機構が配置されたものがある。ストラット型のサンスペンション機構では、ショックアブソーバがストラットマウントを介して車体へマウントされている。
ストラットマウントの多くは、外側金具の収納部内に、内側金具と一体化されたゴム弾性体を圧入し、収納部の開口部分に配置された脱落防止用の金属製プレートによって、内側金具及びゴム弾性体が外側金具から脱落するのを防止する構成になっている。また、ストラットマウントには、内側金具と一体化されたゴム弾性体を外側金具に対して強固に支持させるために、ゴム弾性体の外周にアウタープレートを取り付け、このアウタープレートを外側金具に圧入させて支持する構成をとっているものが提案されている。このような構成のストラットマウントでは、ゴム弾性体の内周に取り付けた内筒金具に路面からの入力が入り、外周に設けたアウタープレートを介して車体側から外力が伝達されるため、ゴム弾性体には大きな剪断応力が生じ、ゴム弾性体の耐久性の面で問題がある。このような問題に対処するべく、ゴム弾性体と外側金具との間にストッパークッションを介在させて、ゴム弾性体にかかる剪断力を緩和させたものも提案されている(例えば、特許文献1,2参照)。
特開2001−65626号公報 特開2001−82530号公報
Some vehicles, such as automobiles, have a strut-type suspension mechanism formed of a shock absorber or the like between a wheel and a vehicle body. In the strut type sun suspension mechanism, a shock absorber is mounted on the vehicle body via a strut mount.
Most strut mounts press-fit a rubber elastic body that is integrated with the inner metal fitting into the outer metal fitting housing, and a metal plate that prevents the dropout from being placed in the opening of the housing to prevent the inner metal fitting and rubber elastic. It is configured to prevent the body from falling off the outer fitting. In addition, an outer plate is attached to the outer periphery of the rubber elastic body and the outer plate is press-fitted into the outer metal fitting in order to firmly support the rubber elastic body integrated with the inner metal fitting to the outer metal fitting. Have been proposed to support this. In the strut mount having such a configuration, since the input from the road surface enters the inner cylinder fitting attached to the inner periphery of the rubber elastic body, and external force is transmitted from the vehicle body side through the outer plate provided on the outer periphery, the rubber elasticity A large shear stress is generated in the body, and there is a problem in terms of durability of the rubber elastic body. In order to cope with such a problem, there has also been proposed a structure in which a stopper cushion is interposed between the rubber elastic body and the outer metal fitting to reduce the shearing force applied to the rubber elastic body (for example, Patent Document 1). 2).
JP 2001-65626 A JP 2001-82530 A

ところで、前述した従来のストラットマウントに用いられるゴム弾性体は、通常、大入力に対しては高いバネ定数をもつことが望まれる一方、例えば高速走行時の車体振動時に伴うサスペンションの微小な高周波振動に対しては、ショックアブソーバやコイルスプリングにて吸収が困難となるため、それらの振動を吸収ししかも乗り心地を向上させるべく、低い動的バネ定数と高い損失係数(ロスファクタ)をもつことが要求される。しかしながら、これら高いバネ定数をもつことと、低い動的バネ定数及び高い損失係数をもつことは相反する関係にあり、これらを同時に満足することは非常に困難であった。
特に、近年においては、安全性及び快適性を向上させるべく、車体の重量増が著しくなってきており、それに伴い、ストラットマウントに加わる外力もますます大きくなると同時に、要求性能も高まっているため、高い静的バネ定数を維持しながら、低いバネ定数及び高い損失係数を同時に両立させることを求められているが、相反する性能であるため、両立が困難である。
By the way, the rubber elastic body used in the above-described conventional strut mount is usually desired to have a high spring constant for a large input. Is difficult to absorb with shock absorbers and coil springs, so it has a low dynamic spring constant and a high loss factor in order to absorb these vibrations and improve riding comfort. Required. However, having these high spring constants and having a low dynamic spring constant and a high loss factor are in a contradictory relationship, and it has been very difficult to satisfy these simultaneously.
In particular, in recent years, the weight of the vehicle body has increased significantly in order to improve safety and comfort, and along with this, the external force applied to the strut mount has increased and the required performance has also increased. While maintaining a high static spring constant, it is required to achieve both a low spring constant and a high loss coefficient at the same time.

また、前述した従来のストラットマウントでは、いずれもアウタープレートを用いてゴム弾性体を外側金具に取り付けているため、アウタープレートの収容スペースを確保する分、小型化が図りづらい。また、ゴム弾性体と外側金具との間にストッパークッションを介在させているが、それでも、多大な剪断応力が生じることに伴うゴム弾性体の耐久性悪化の問題が完全に解消されたわけではない。
さらに、外側金具とゴム弾性体との間に隙間が形成されているため、ストッパークッションが完全に圧縮する程度の大きな外力が加わる場合、この外力をストッパークッションで吸収しきれず、ゴム弾性体と外側金具またはストッパークッションとが瞬間的に接触ずれを起こし、これに起因して打音や擦れ音等の異音を発生するおそれがあるという問題があった。
Further, in the conventional strut mounts described above, since the rubber elastic body is attached to the outer metal fitting using the outer plate, it is difficult to reduce the size as much as the space for accommodating the outer plate is secured. Further, although the stopper cushion is interposed between the rubber elastic body and the outer metal fitting, the problem of deterioration of the durability of the rubber elastic body due to the great shear stress is not completely solved.
In addition, since a gap is formed between the outer metal fitting and the rubber elastic body, when a large external force is applied that causes the stopper cushion to fully compress, the external force cannot be absorbed by the stopper cushion, and the rubber elastic body and the outer There has been a problem that there is a possibility that an abnormal noise such as a hitting sound or a rubbing sound may be generated due to a momentary contact displacement between the metal fitting or the stopper cushion.

本発明は上記事情に鑑みてなされたものであり、ショックアブソーバから大きな外力が加わる場合でもそれを吸収することができ、しかも、高速走行時等に生じがちな微小な高周波振動に対しても吸収することができるストラットマウントを提供することを目的とする。
また、本発明の他の目的は、コンパクト化が図れるとともに、耐久性を向上させることができるストラットマウントを提供することにある。
さらに、本発明の他の目的は、打音やこすれ音等の異音の発生を防止するストラットマウントを提供することにある。
The present invention has been made in view of the above circumstances, and can absorb even when a large external force is applied from a shock absorber, and also absorbs minute high-frequency vibration that tends to occur during high-speed running and the like. An object of the present invention is to provide a strut mount that can be used.
Another object of the present invention is to provide a strut mount that can be made compact and can improve durability.
Furthermore, the other object of this invention is to provide the strut mount which prevents generation | occurrence | production of unusual sounds, such as a hitting sound and a rubbing sound.

本発明は、上記課題を解決するため、以下の手段を採用する。
本発明に係るストラットマウントは、車体に取り付けられた外側金具と、ショックアブソーバのピストンロッドに取り付けられた内側金具と、前記内側金具の外周に前記内側金具と一体的に形成された状態で、前記外側金具の収納部に圧入されることにより、前記外側金具と前記内側金具との間に介装されるゴム弾性体と、を備えるストラットマウントにおいて、前記外側金具と前記ゴム弾性体との間に、前記ゴム弾性体より損失係数が高くかつ低密度の軟質層が介装されたことを特徴とする。
The present invention employs the following means in order to solve the above problems.
The strut mount according to the present invention includes an outer metal fitting attached to a vehicle body, an inner metal fitting attached to a piston rod of a shock absorber, and a state in which the inner metal fitting is integrally formed on the outer periphery of the inner metal fitting. In a strut mount comprising a rubber elastic body interposed between the outer metal fitting and the inner metal fitting by being press-fitted into a storage portion of the outer metal fitting, between the outer metal fitting and the rubber elastic body. A soft layer having a loss factor higher than that of the rubber elastic body and having a low density is interposed.

このストラットマウントでは、外側金具とゴム弾性体との間に、ゴム弾性体より損失係数が高く低密度の軟質層を介装させている。これにより、微小な高周波振動に対しては、軟質かつ低密度であることから低い動的バネ定数を持ちしかも高い損失係数を持つ軟質層が吸収する一方、ショックアブソーバからの大きな外力に対しては、ゴム弾性体が適宜変形して吸収する。
このように、微小な高周波振動に対しては主に軟質層が変形してその振動を吸収し、大きな外力に対しては、主に比較的高剛性のゴム弾性体が変形してその大きな外力を吸収する。
In this strut mount, a soft layer having a loss factor higher than that of the rubber elastic body and having a low density is interposed between the outer metal fitting and the rubber elastic body. As a result, a soft layer with a low dynamic spring constant and a high loss factor absorbs minute high-frequency vibrations because of its softness and low density, while it does not absorb large external forces from a shock absorber. The rubber elastic body is appropriately deformed and absorbed.
In this way, the soft layer deforms and absorbs the vibration mainly for minute high-frequency vibrations, and the large elastic force mainly deforms the relatively rigid rubber elastic body for large external forces. To absorb.

また、本発明に係るストラットマウントは、前記外側金具が、前記収納部が形成された外側金具本体と、前記収納部の開口部分に配置されて、前記収納部に圧入された前記ゴム弾性体及び軟質層の脱落を防止する脱落防止プレートと有することを特徴とする。
このストラットマウントでは、ゴム弾性体を収納部内に圧入状態で支持しているが、仮に、支持力よりも強い力がショックアブソーバからゴム弾性体等に加わる場合でも、ゴム弾性体等が脱落防止プレートに突き当たってそれ以上の移動を規制されるため、ゴム弾性体等が収納部から抜け出て脱落するのを防止する。
In the strut mount according to the present invention, the outer metal fitting includes an outer metal fitting body in which the storage portion is formed, and the rubber elastic body that is disposed in the opening portion of the storage portion and press-fitted into the storage portion. It has the fall prevention plate which prevents the fall of a soft layer.
In this strut mount, the rubber elastic body is supported in a press-fit state in the storage portion. However, even if a force stronger than the support force is applied from the shock absorber to the rubber elastic body, the rubber elastic body etc. The rubber elastic body or the like is prevented from falling out of the storage portion and falling off.

また、本発明に係るストラットマウントは、前記軟質層が、前記ゴム弾性体における前記ピストンロッドの軸方向の少なくとも一方側の端部に形成されたことを特徴とする。
このストラットマウントでは、ピストンロッドや車体からピストンロッドの軸方向に沿って力が加わることが多いが、その場合、軟質層には剪断力ではなく圧縮力あるいは引張力が作用する。この種の軟質層では、特に圧縮力が作用する場合、剪断力が作用するのに比べて十分な耐力を有する。この十分な耐力を有効に利用することにより、軟質層に対し耐久性の向上を図ることができる。
The strut mount according to the present invention is characterized in that the soft layer is formed at an end portion on at least one side in the axial direction of the piston rod in the rubber elastic body.
In this strut mount, a force is often applied from the piston rod or the vehicle body along the axial direction of the piston rod. In this case, a compressive force or a tensile force acts on the soft layer instead of a shearing force. This type of soft layer has a sufficient proof strength compared to the action of a shearing force, particularly when a compressive force is applied. By effectively utilizing this sufficient proof stress, durability of the soft layer can be improved.

また、本発明に係るストラットマウントは、前記軟質層が発泡材料にて形成されたことを特徴とする。
このストラットマウントでは、入手し易くかつ安価な発泡材料を利用するので、低い動的バネ定数と高めの損失係数を有する軟質層を、容易かつローコストで制作することができる。
The strut mount according to the present invention is characterized in that the soft layer is formed of a foam material.
Since this strut mount uses an easily available and inexpensive foam material, a soft layer having a low dynamic spring constant and a high loss factor can be produced easily and at low cost.

また、本発明に係るストラットマウントは、前記軟質層が、ウレタンにて形成されたことを特徴とする。
このストラットマウントでは、入手し易くかつ安価なウレタンを利用するので、低い動的バネ定数と高めの損失係数を有する軟質層を、容易かつローコストで制作することができる。
The strut mount according to the present invention is characterized in that the soft layer is formed of urethane.
Since this strut mount uses urethane which is easy to obtain and inexpensive, a soft layer having a low dynamic spring constant and a high loss factor can be produced easily and at low cost.

また、本発明に係るストラットマウントは、前記ゴム弾性体が、その径方向外周面を前記収納部の内周面に直接接触されて前記収納部に圧入されたことを特徴とする。
このストラットマウントでは、ゴム弾性体を収納部の内周面に直接接触させて収納部に圧入しているので、アウタープレート等の他の部材を介在させて圧入する場合に比べて、アウタープレート等の他の部材の厚みの分だけ、コンパクト化を図ることができる。
Further, the strut mount according to the present invention is characterized in that the rubber elastic body is press-fitted into the storage portion with its radially outer peripheral surface being in direct contact with the inner peripheral surface of the storage portion.
In this strut mount, the rubber elastic body is brought into direct contact with the inner peripheral surface of the storage portion and press-fitted into the storage portion. Compactness can be achieved by the thickness of the other members.

また、本発明に係るストラットマウントは、前記ゴム弾性体が、その径方向外周面に前記軟質層を形成されて前記収納部に圧入されたことを特徴とする。
このストラットマウントでは、軟質層を介して収納部にゴム弾性体を圧入しており、ゴム弾性体と収納部との間に軟質層を介装させ得るので、ゴム弾性体と収納部との間の生じがちな隙間を軟質層によって埋めることができる。この結果、ゴム弾性体と収納部の間に隙間がある場合に両者間で生じがちな打音や擦れ音等の異音の発生を防止できる。
Further, the strut mount according to the present invention is characterized in that the rubber elastic body is press-fitted into the storage portion with the soft layer formed on a radially outer peripheral surface thereof.
In this strut mount, a rubber elastic body is press-fitted into the storage portion via the soft layer, and the soft layer can be interposed between the rubber elastic body and the storage portion, so that the rubber elastic body and the storage portion are It is possible to fill the gap that tends to occur with the soft layer. As a result, when there is a gap between the rubber elastic body and the storage portion, it is possible to prevent the generation of abnormal sounds such as a hitting sound and a rubbing sound that tend to occur between the two.

また、本発明に係るストラットマウントは、前記軟質層が予圧縮をかけて前記収納部に圧入されたことを特徴とする。
このストラットマウントでは、軟質層が予め予圧縮されて収納部にセットされているので、軟質層と収納部との間に隙間が生じにくく、この結果、両者に隙間が存することに起因する打音等の異音の発生を防止することができる。
また、本発明に係るストラットマウントは、前記脱落防止プレートがその周辺部で前記外側金具本体に固着されていることを特徴とする。
このストラットマウントでは、脱落防止プレートをその周辺部で外側金具本体に固着しているので、ゴム弾性体等を介して脱落防止プレートに加わる力を外側金具本体に伝えることができ、簡単が構成によって外側金具の強度アップが図れる。
Moreover, the strut mount according to the present invention is characterized in that the soft layer is press-fitted into the storage portion with pre-compression.
In this strut mount, since the soft layer is pre-compressed and set in the storage portion, a gap is not easily formed between the soft layer and the storage portion. The occurrence of abnormal noise such as can be prevented.
The strut mount according to the present invention is characterized in that the drop-off prevention plate is fixed to the outer metal fitting main body at the periphery thereof.
In this strut mount, the drop-off prevention plate is fixed to the outer metal fitting body at the periphery, so that the force applied to the drop-off prevention plate can be transmitted to the outer metal fitting body via a rubber elastic body, etc. The strength of the outer bracket can be increased.

本発明によれば、ストラットマウントでは、外側金具または内側金属とゴム弾性体との間に、ゴム弾性体より損失係数が高く低密度の軟質層を介装させている。これにより、微小な高周波振動に対しては、軟質かつ低密度であることから低い動的バネ定数を持ちしかも高い損失係数を持つ軟質層が吸収する一方、ショックアブソーバからの大きな外力に対しては、ゴム弾性体が適宜変形して吸収する。
このように、微小な高周波振動に対しては主に軟質層が変形してその振動を吸収し、大きな外力に対しては、主に比較的高剛性のゴム弾性体が変形してその大きな外力を吸収することができる。また、このように高周波振動の吸収を考慮することなく、大きな外力に対処するためゴム弾性体の硬度を上げて剛性を任意に高めることができるので、その分、耐久性の向上を図ることができる。
According to the present invention, in the strut mount, a soft layer having a lower loss coefficient and a lower density than the rubber elastic body is interposed between the outer metal fitting or the inner metal and the rubber elastic body. As a result, a soft layer with a low dynamic spring constant and a high loss factor absorbs minute high-frequency vibrations because of its softness and low density, while it does not absorb large external forces from a shock absorber. The rubber elastic body is appropriately deformed and absorbed.
In this way, the soft layer deforms and absorbs the vibration mainly for minute high-frequency vibrations, and the large elastic force mainly deforms the relatively rigid rubber elastic body for large external forces. Can be absorbed. In addition, the rigidity of the rubber elastic body can be increased by arbitrarily increasing the hardness of the rubber elastic body in order to cope with a large external force without considering the absorption of high-frequency vibrations in this way, so that the durability can be improved accordingly. it can.

本発明に係る第1の実施形態について、図1〜図4を参照しながら説明する。本実施形態のストラットマウント1は、ストラット型サスペンション機構の一部を構成するショックアブソーバを自動車の車体に連結するためのアッパーマウントとして使用される。ショックアブソーバは、ピストンを内蔵したシリンダ部及びピストンに連結されてシリンダ部から外方へ突出したピストンロッド2を備え、このピストンロッド2の外周側にはコイルスプリング3が嵌挿されている。   A first embodiment according to the present invention will be described with reference to FIGS. The strut mount 1 of the present embodiment is used as an upper mount for connecting a shock absorber constituting a part of a strut type suspension mechanism to a vehicle body of an automobile. The shock absorber includes a cylinder portion having a built-in piston and a piston rod 2 connected to the piston and projecting outward from the cylinder portion, and a coil spring 3 is fitted on the outer peripheral side of the piston rod 2.

車体のフェンダエプロン等にはストラットマウント1が、ボルト10を介して取り付けられている。ストラットマウント1にはピストンロッド2が連結されており、これにより、サスペンション機構の一部を構成するショックアブソーバが、ストラットマウント1を介して車体へ取り付けられる。   A strut mount 1 is attached via a bolt 10 to a fender apron or the like of the vehicle body. A piston rod 2 is connected to the strut mount 1, whereby a shock absorber constituting a part of the suspension mechanism is attached to the vehicle body via the strut mount 1.

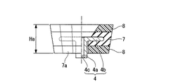
ストラットマウント1の中心部には内側金具4が配置されている。内側金具4は、円筒部4aと、円筒部の一端(図1では上端)に外方へ拡がるように形成された外フランジ部4bとからなっていて、中央部には貫通孔4cが形成されている。貫通孔4cにはショックアブソーバのピストンロッド2の先端部が挿通されている。ピストンロッド2の内側金具4から上方へ突出する部分には雄ねじ部2aが形成されており、この雄ねじ部2aにナット5がねじ込まれることより、ピストンロッド2が内側金具4に連結されている。   An inner metal fitting 4 is disposed at the center of the strut mount 1. The inner metal fitting 4 is composed of a cylindrical portion 4a and an outer flange portion 4b formed so as to expand outward at one end (upper end in FIG. 1) of the cylindrical portion, and a through hole 4c is formed in the central portion. ing. The tip of the piston rod 2 of the shock absorber is inserted through the through hole 4c. A portion of the piston rod 2 that protrudes upward from the inner metal fitting 4 is formed with a male screw portion 2 a, and a nut 5 is screwed into the male screw portion 2 a, whereby the piston rod 2 is connected to the inner metal fitting 4.

内側金具4の外周には、内側金具4の外フランジ部4bを上下両面並びに外周側から囲むように、ゴム弾性体7が内側金具4と一体的に加硫形成されている。そして、ゴム弾性体7の上下両端部にそれぞれ軟質層8、8が取り付けられている。なお、軟質層8は、ゴム弾性体7が加流形成されるとき、同時にゴム弾性体7と一体的に形成されてもよい。   A rubber elastic body 7 is vulcanized and formed integrally with the inner metal fitting 4 on the outer circumference of the inner metal fitting 4 so as to surround the outer flange portion 4b of the inner metal fitting 4 from both the upper and lower surfaces and the outer peripheral side. And the soft layers 8 and 8 are attached to the up-and-down both ends of the rubber elastic body 7, respectively. The soft layer 8 may be integrally formed with the rubber elastic body 7 at the same time when the rubber elastic body 7 is formed by vortexing.

ゴム弾性体7は、図2及び図3に示されるように、下方に向かうに従い漸次狭まる略円錐台状に形成されるとともに、外周部分には軸方向に延びる複数の凹部7aが周方向に等間隔をあけて形成され、これにより、軸方向の回転を規制される平面視非円形形状とされている。ゴム弾性体7の上下両端部には、所定高さの軟質層8がゴム弾性体7と連続するように、ゴム弾性体7と同じ稜線をもって形成されている。
ここで、軟質層8はゴム弾性体7の上下端部に、すなわち、ピストンロッド2の軸方向の端部にそれぞれゴム弾性体7と重なるように形成されていて、それら上下の軟質層8、8と中央のゴム弾性体7とにより、いわゆるサンドイッチ構造をなしている。
軟質層8は、ゴム弾性体7より損失係数が高くかつ低密度の材料、例えば、発泡性のウレタンや軟質ゴム等から作られている。
なお、ゴム弾性体7の形状は必ずしも円錐台状に形成する必要は無く、円錐の無い円柱状に形成してもよい。また、凹部7aについては必ずしも必要なものではなく、凹凸の無い環状でも本発明に適用可能である。
As shown in FIGS. 2 and 3, the rubber elastic body 7 is formed in a substantially truncated cone shape that gradually narrows downward, and a plurality of concave portions 7a extending in the axial direction are formed in the outer peripheral portion. It is formed with an interval, and thereby has a non-circular shape in plan view in which axial rotation is restricted. At the upper and lower ends of the rubber elastic body 7, a soft layer 8 having a predetermined height is formed with the same ridge line as the rubber elastic body 7 so as to be continuous with the rubber elastic body 7.
Here, the soft layer 8 is formed on the upper and lower ends of the rubber elastic body 7, that is, on the end of the piston rod 2 in the axial direction so as to overlap with the rubber elastic body 7. A so-called sandwich structure is formed by 8 and the central rubber elastic body 7.
The soft layer 8 is made of a material having a loss factor higher than that of the rubber elastic body 7 and a low density, such as foaming urethane or soft rubber.
The shape of the rubber elastic body 7 is not necessarily formed in a truncated cone shape, and may be formed in a cylindrical shape without a cone. Further, the concave portion 7a is not necessarily required, and an annular shape without unevenness can be applied to the present invention.

ストラットマウント1には、内側金具4の外周側に外側金具9が同軸的に配置されており、この外側金具9はボルト10を介して車体に連結されている。
外側金具9は、前記ゴム弾性体7及び軟質層8を圧入状態で支持する収納部9aが形成された外側金具本体11と、収納部9aの開口部分に配置されて、収納部9aに圧入されるゴム弾性体7及び軟質層8の脱落を防止する金属製の脱落防止プレート12とを有している。収納部9aは、前記ゴム弾性体および上下の軟質層8の形状に対応させて、下方に向かうに従い漸次狭まる略円錐台状に形成されていて、そこには、前記ゴム弾性体7及び軟質層8が、アウタープレート等の他の部材を用いることなく、直接収納部9aの内周面に接触するように圧入されている。
In the strut mount 1, an outer metal fitting 9 is coaxially arranged on the outer peripheral side of the inner metal fitting 4, and the outer metal fitting 9 is connected to the vehicle body via a bolt 10.
The outer metal fitting 9 is disposed in an outer metal fitting body 11 formed with a storage portion 9a for supporting the rubber elastic body 7 and the soft layer 8 in a press-fitted state, and an opening portion of the storage portion 9a, and is press-fitted into the storage portion 9a. The rubber elastic body 7 and the soft layer 8 are prevented from falling off. The storage portion 9a is formed in a substantially truncated cone shape that gradually narrows toward the lower side, corresponding to the shape of the rubber elastic body and the upper and lower soft layers 8, and includes the rubber elastic body 7 and the soft layer. 8 is press-fitted so as to directly contact the inner peripheral surface of the storage portion 9a without using other members such as an outer plate.

外側金具本体11は、前記収納部9aを画成する有底筒状部11aと、有庭円筒部11aの上端から外方へ延びる外フランジ部11bとからなっている。一方、脱落防止プレート12は、中央部分に凹部12aを有する略円板形状に形成されていて、凹部12aの中心部には前記ピストンロッド2の先端を挿通させる孔12aaが形成されている。脱落防止プレート12は、収納部9aに前記ゴム弾性体7及び軟質層8が圧入された後、収納部9aの開口側から外側金具本体11に押し付けられた状態で、適宜固着手段、例えばその周辺部の複数個所がスポット溶接されることにより、外側金具本体11に固着されている。
外フランジ部11b及び脱落防止プレート12の外周部にはそれぞれ挿通孔11ba、12bが形成され、これらの挿通孔11ba、12bに前記ボルト10が挿通されることによって、外側金具本体11が車体に連結されている。
The outer metal fitting body 11 includes a bottomed cylindrical portion 11a that defines the storage portion 9a, and an outer flange portion 11b that extends outward from the upper end of the gardened cylindrical portion 11a. On the other hand, the drop-off prevention plate 12 is formed in a substantially disc shape having a recess 12a at the center, and a hole 12aa through which the tip of the piston rod 2 is inserted is formed at the center of the recess 12a. The drop-off prevention plate 12 is appropriately fixed by, for example, its periphery in a state where the rubber elastic body 7 and the soft layer 8 are press-fitted into the storage portion 9a and then pressed against the outer metal fitting body 11 from the opening side of the storage portion 9a. A plurality of portions are fixed to the outer metal fitting body 11 by spot welding.
Insertion holes 11ba and 12b are formed in the outer peripheral portions of the outer flange portion 11b and the drop-off prevention plate 12, respectively. By inserting the bolt 10 into these insertion holes 11ba and 12b, the outer metal fitting body 11 is connected to the vehicle body. Has been.

ここで、前述したように、前記ゴム弾性体7及び軟質層8が収納部9aに圧入されるため、図1における下側の軟質層8は、収納部9aに対して予圧縮を受けた状態でセットされている。また、ゴム弾性体7及び上下の軟質層8の合計した高さHaは(図3参照)、収納部9aの深さHbよりも(図1参照)、予め予圧縮分を見込んだ分だけ大に設定されており、したがって、ゴム弾性体7及び軟質層8が収納部9aに圧入された後、上側から脱落防止プレート12によって閉止されたときにおいて、図1における上側の軟質層8も、予圧縮を受けた状態で外側金具11内にセットされている。   Here, as described above, since the rubber elastic body 7 and the soft layer 8 are press-fitted into the storage portion 9a, the lower soft layer 8 in FIG. 1 is pre-compressed with respect to the storage portion 9a. It is set with. Further, the total height Ha of the rubber elastic body 7 and the upper and lower soft layers 8 (see FIG. 3) is larger than the depth Hb of the storage portion 9a (see FIG. 1) by an amount corresponding to pre-compression. Therefore, when the rubber elastic body 7 and the soft layer 8 are press-fitted into the storage portion 9a and then closed from the upper side by the drop-off prevention plate 12, the upper soft layer 8 in FIG. It is set in the outer metal fitting 11 in a state of being compressed.

また、上下の軟質層8の予圧縮量はストラットマウント1の使用条件やゴム弾性体7の硬度あるいは軟質層8のバネ定数等に応じて設定されるが、例えば、ショックアブソーバのピストンロッド2から外力を受けて軟質層8が変形する場合でも、軟質層8と外側金具9との間に隙間が生じない程度の予圧縮量に設定される。   The pre-compression amount of the upper and lower soft layers 8 is set according to the use conditions of the strut mount 1, the hardness of the rubber elastic body 7, the spring constant of the soft layer 8, etc., for example, from the piston rod 2 of the shock absorber. Even when the soft layer 8 is deformed by receiving an external force, the pre-compression amount is set such that no gap is generated between the soft layer 8 and the outer metal fitting 9.

ストラットマウント1には、図1に示されるように、外側金具9の外フランジ部11bの下部側にベアリング13が取り付けられている。ベアリング13の下面には、シリンダ部との間で圧縮状態とされた前記コイルスプリング3の上端部が当接されている。前記外側金具9の下側には、アッパーシート14が外側金具9と同軸状に取り付けられており、このアッパーシート14はバンプストッパの上端と係合している。    As shown in FIG. 1, a bearing 13 is attached to the strut mount 1 on the lower side of the outer flange portion 11 b of the outer metal fitting 9. The lower end of the bearing 13 is in contact with the upper end portion of the coil spring 3 that is compressed with the cylinder portion. Below the outer metal fitting 9, an upper sheet 14 is attached coaxially with the outer metal fitting 9, and this upper sheet 14 is engaged with the upper end of the bump stopper.

上記のように構成されたストラットマウント1を車体へ取り付ける際には、脱落防止プレート12を介して外側金具本体11の外フランジ部11bを車体の取付部の下面側へ突き当て、この状態で、ボルト10を下側から外フランジ部11bの挿通孔11ba、脱落防止プレート12の挿通孔12b及び車体の挿通穴へ挿通し、このボルト10の先端部にナットを所定の締結トルクが発生するまでねじ込む。これにより、ストラットマウント1を車体の取付部へ締結固定し、このストラットマウント1を介してショックアブソーバを車体へマウントさせることができる。    When attaching the strut mount 1 configured as described above to the vehicle body, the outer flange portion 11b of the outer metal fitting body 11 is abutted against the lower surface side of the attachment portion of the vehicle body via the drop-off prevention plate 12, and in this state, The bolt 10 is inserted from below into the insertion hole 11ba of the outer flange portion 11b, the insertion hole 12b of the drop-off prevention plate 12, and the insertion hole of the vehicle body, and a nut is screwed into the tip of the bolt 10 until a predetermined fastening torque is generated. . Thereby, the strut mount 1 can be fastened and fixed to the mounting portion of the vehicle body, and the shock absorber can be mounted on the vehicle body via the strut mount 1.

次に、上記のように構成されたストラットマウント1の作用を説明する。
本実施形態のストラットマウント1では、ゴム弾性体7の上下端部にそれぞれ軟質層8を設けており、この軟質層8をゴム弾性体7より損失係数が高くかつ低密度としている。この結果、軟質層8は、ゴム弾性体7より損失係数が高くかつ動的バネ定数が低くなっている。したがって、高速走行時等に生じがちな、ピストンロッド2からストラットマウント1へ入力する微小な高周波振動を、軟質層8が適宜変形することによって効果的に吸収することができる。
Next, the operation of the strut mount 1 configured as described above will be described.
In the strut mount 1 of this embodiment, the soft layers 8 are provided at the upper and lower end portions of the rubber elastic body 7, respectively, and the soft layer 8 has a higher loss factor and lower density than the rubber elastic body 7. As a result, the soft layer 8 has a higher loss coefficient and a lower dynamic spring constant than the rubber elastic body 7. Therefore, minute high-frequency vibrations that tend to occur during high-speed traveling or the like and that are input from the piston rod 2 to the strut mount 1 can be effectively absorbed by the soft layer 8 being appropriately deformed.

一方、車両が縁石等の段差を乗り越える等に起因してショックアブソーバのピストンロッド2からストラットマウント1への入力荷重が突発的に大きくなる場合には、主に軟質層8よりも高剛性のゴム弾性体7が適宜変形してその大きな入力荷重を吸収する。    On the other hand, when the input load from the piston rod 2 of the shock absorber to the strut mount 1 suddenly increases due to the vehicle overcoming a step such as a curb stone, the rubber mainly having higher rigidity than the soft layer 8 is mainly used. The elastic body 7 is appropriately deformed to absorb the large input load.

この場合のピストンロッド2の軸方向に沿った変位量と入力荷重との関係を図4に示す。図4において、横軸にはピストンロッド2の軸方向に沿った変位量、縦軸にはピストンロッド2からストラットマウント1への入力荷重をとっている。
なお、この図において、2点鎖線は、内側金具と外側金具との間に軟質層を有さずゴム弾性体のみを介装させた従来のストラットマウントのピストンロッドの軸方向に沿った変位量と入力荷重との関係を示している。
FIG. 4 shows the relationship between the displacement amount along the axial direction of the piston rod 2 and the input load in this case. In FIG. 4, the horizontal axis represents the amount of displacement along the axial direction of the piston rod 2, and the vertical axis represents the input load from the piston rod 2 to the strut mount 1.
In this figure, the alternate long and two short dashes line indicates the amount of displacement along the axial direction of the piston rod of the conventional strut mount that does not have a soft layer between the inner metal fitting and the outer metal fitting and is interposed only with a rubber elastic body. And the input load.

図4から明らかなように、本実施形態におけるストラットマウント1は、ゴム弾性体7及び軟質層8の双方の特性を有効に利用できるので、特性線形域Zを大きくとることができる。加えて、このように高周波振動の吸収を考慮することなく、大きな入力荷重に対処するためゴム弾性体7の硬度を任意に上げて剛性を高めることができるので、その分、ゴム弾性体7ひいてはストラットマウント1の耐久性の向上を図ることができる。    As can be seen from FIG. 4, the strut mount 1 according to the present embodiment can effectively utilize the characteristics of both the rubber elastic body 7 and the soft layer 8, and therefore can have a large characteristic linear region Z. In addition, since the rigidity of the rubber elastic body 7 can be arbitrarily increased to cope with a large input load without considering the absorption of high-frequency vibration in this way, the rubber elastic body 7 and thus the rigidity can be increased accordingly. The durability of the strut mount 1 can be improved.

また、前記構成のストラットマウント1では、軟質層8を、ゴム弾性体7における上下端部、つまりピストンロッド2の軸方向の端部に形成しており、ピストンロッド2や車体からピストンロッド2の軸方向に沿って加わる力に対して、軟質層8には剪断力ではなく圧縮力や引張力が作用することとなる。この種の軟質層8では、特に圧縮力が作用する場合、剪断力が作用するのに比べて十分な耐力を有することなり、軟質層8における十分な耐力を有効に利用でき、結果的にストラットマウント1の耐久性の向上を図ることができる。
また、軟質層8を、図1に示されるように、ゴム弾性体7における上下端部にのみに形成する場合には、当該ストラットマウント1により、ピストンロッド2の軸方向の動きのみを所定量許容しつつ、ピストンロッドの軸線方向に直交する例えば前後左右方向の動きを比較的剛に支持することができ、理想的なストラットマウント1を得ることができる。
In the strut mount 1 having the above-described configuration, the soft layer 8 is formed at the upper and lower ends of the rubber elastic body 7, that is, the axial end of the piston rod 2, and the piston rod 2 and the vehicle body are connected to the piston rod 2. For the force applied along the axial direction, not the shearing force but the compressive force or the tensile force acts on the soft layer 8. This kind of soft layer 8 has a sufficient proof strength compared to the action of a shearing force, particularly when a compressive force is applied, so that the sufficient proof strength in the soft layer 8 can be used effectively, resulting in a strut. The durability of the mount 1 can be improved.
Further, when the soft layer 8 is formed only on the upper and lower ends of the rubber elastic body 7 as shown in FIG. 1, the strut mount 1 allows only a predetermined amount of movement of the piston rod 2 in the axial direction. While allowing, for example, the front-rear and left-right movements orthogonal to the axial direction of the piston rod can be supported relatively rigidly, an ideal strut mount 1 can be obtained.

また、前記構成のストラットマウント1において、軟質層8を、例えば、発泡ウレタンにより形成する場合には、入手し易くかつ安価な材料によって軟質層8を作ることができ、よって、容易かつローコストで、ストラットマウント1を制作することができる。   Moreover, in the strut mount 1 having the above-described configuration, when the soft layer 8 is formed of, for example, urethane foam, the soft layer 8 can be made of an easily obtainable and inexpensive material. The strut mount 1 can be produced.

また、構成のストラットマウント1では、ゴム弾性体7を、アウタープレート等の他の部材を用いることなく、その径方向外周面を収納部9aの内周面に直接接触させて収納部9aに圧入しており、他の部材を用いて外側金具9にセットする場合に比べて、他の部材の厚みの分だけ、コンパクト化を図ることができる。   In the strut mount 1 having the configuration, the rubber elastic body 7 is press-fitted into the storage portion 9a by directly contacting the radially outer peripheral surface thereof with the inner peripheral surface of the storage portion 9a without using other members such as an outer plate. Therefore, as compared with the case where the other member is used to set the outer metal fitting 9, it is possible to reduce the size by the thickness of the other member.

また、構成のストラットマウント1では、前記軟質層8に予圧縮をかけて収納部9aに圧入しているので、軟質層8に力が加わって変形する場合でも、軟質層8と収納部9aの間に隙間が生じにくく、このため、両者に隙間が存することに起因する打音等の異音の発生をより防止することができる。   Further, in the strut mount 1 having the configuration, the soft layer 8 is pre-compressed and press-fitted into the storage portion 9a. Therefore, even when the soft layer 8 is deformed by applying force, the soft layer 8 and the storage portion 9a It is difficult to generate a gap between them, and therefore, it is possible to further prevent the generation of abnormal noise such as a hitting sound caused by the presence of a gap between the two.

なお、本発明は、前記実施形態に限定されることなく、発明の趣旨を逸脱しない範囲において適宜設計変更可能である。
例えば、前記実施形態では、内側金具4の外フランジ部4bを囲むようにゴム弾性体7を設け、このゴム弾性体7の上下端部にそれぞれ軟質層8を設けているが、これに限られることなく、図5に示すように、ゴム弾性体7の外周部にも軟質層8aを設け、この軟質層8aを上下の軟質層8とつなげるように構成しても良い。
また、前記実施形態では、ゴム弾性体7の上下端部にそれぞれ軟質層8を設けているが、これに限られることなく、上下端部のいずれか一方側にのみ、軟質層8を設けても良い。
更に、車体取り付け部が脱落防止機能を持つ場合、脱落防止プレートが無い構成でも本発明の目的を達成し、効果を得ることができるのは言うまでもない。
The present invention is not limited to the above-described embodiment, and can be appropriately changed in design without departing from the spirit of the invention.
For example, in the said embodiment, the rubber elastic body 7 is provided so that the outer flange part 4b of the inner metal fitting 4 may be enclosed, and the soft layer 8 is provided in the upper-lower end part of this rubber elastic body 7, respectively, but it is restricted to this. Instead, as shown in FIG. 5, a soft layer 8 a may be provided on the outer peripheral portion of the rubber elastic body 7, and the soft layer 8 a may be connected to the upper and lower soft layers 8.
Moreover, in the said embodiment, although the soft layer 8 was each provided in the upper-lower end part of the rubber elastic body 7, it is not restricted to this, The soft layer 8 is provided only in either one side of an upper-lower end part. Also good.
Furthermore, when the vehicle body attachment portion has a drop-off prevention function, it goes without saying that the object of the present invention can be achieved and the effect can be obtained even with a configuration without the drop-off prevention plate.

本発明の実施形態のストラットマウントを示す断面図である。It is sectional drawing which shows the strut mount of embodiment of this invention. 本発明の実施形態のストラットマウントで用いられるゴム弾性体及び軟質層の平面図である。It is a top view of the rubber elastic body and soft layer which are used with the strut mount of the embodiment of the present invention. 本発明の実施形態のストラットマウントで用いられるゴム弾性体及び軟質層の半断面図である。It is a half sectional view of a rubber elastic body and a soft layer used in a strut mount of an embodiment of the present invention. 本発明の実施形態のストラットマウントの特性を示す図である。It is a figure which shows the characteristic of the strut mount of embodiment of this invention. 本発明のストラットマウントの他の実施形態を示す断面図である。It is sectional drawing which shows other embodiment of the strut mount of this invention.

符号の説明Explanation of symbols

1 ストラットマウント
2 ピストンロッド
3 コイルスプリング
4 内側金具
7 ゴム弾性体
8 軟質層
9 外側金具
11 外側金具本体
12 脱落防止プレート
DESCRIPTION OF SYMBOLS 1 Strut mount 2 Piston rod 3 Coil spring 4 Inner metal fitting 7 Rubber elastic body 8 Soft layer 9 Outer metal fitting 11 Outer metal fitting body 12 Fall-off prevention plate

Claims (9)

車体に取り付けられた外側金具と、
ショックアブソーバのピストンロッドに取り付けられた内側金具と、
前記内側金具の外周に前記内側金具と一体的に形成された状態で、前記外側金具の収納部に圧入されることにより、前記外側金具と前記内側金具との間に介装されるゴム弾性体と、を備えるストラットマウントにおいて、
前記外側金具と前記ゴム弾性体との間に、前記ゴム弾性体より損失係数が高くかつ低密度の軟質層が介装されたことを特徴とするストラットマウント。
An outer bracket attached to the car body,
An inner bracket attached to the piston rod of the shock absorber,
A rubber elastic body interposed between the outer metal fitting and the inner metal fitting by being press-fitted into a housing portion of the outer metal fitting while being integrally formed with the inner metal fitting on the outer circumference of the inner metal fitting. In a strut mount comprising:
A strut mount, wherein a soft layer having a loss factor higher than that of the rubber elastic body and having a low density is interposed between the outer metal fitting and the rubber elastic body.
前記外側金具が、前記収納部が形成された外側金具本体と、前記収納部の開口部分に配置されて、前記収納部に圧入された前記ゴム弾性体及び前記軟質層の脱落を防止する脱落防止プレートとを有することを特徴とする請求項1記載のストラットマウント。   The outer metal fitting is disposed at the outer metal fitting body in which the storage portion is formed, and the opening portion of the storage portion, and the rubber elastic body press-fitted into the storage portion and the drop-off prevention for preventing the soft layer from falling off. The strut mount according to claim 1, further comprising a plate. 前記軟質層が、前記ゴム弾性体における前記ピストンロッドの軸方向の少なくとも一方側の端部に形成されたことを特徴とする請求項1または2に記載のストラットマウント。   3. The strut mount according to claim 1, wherein the soft layer is formed at an end portion on at least one side of the piston rod in the axial direction of the rubber elastic body. 前記軟質層が発泡材料によって形成されたことを特徴とする請求項1〜3のいずれかに記載のストラットマウント。   The strut mount according to any one of claims 1 to 3, wherein the soft layer is formed of a foam material. 前記軟質層が、ウレタンによって形成されたことを特徴とする請求項1〜4のいずれかに記載のストラットマウント。   The strut mount according to any one of claims 1 to 4, wherein the soft layer is made of urethane. 前記ゴム弾性体が、その径方向外周面を前記収納部の内周面に直接接触されて前記収納部に圧入されたことを特徴とする請求項1〜5のいずれかに記載のストラットマウント。   The strut mount according to any one of claims 1 to 5, wherein the rubber elastic body is press-fitted into the storage portion with a radially outer peripheral surface thereof being in direct contact with an inner peripheral surface of the storage portion. 前記ゴム弾性体が、その径方向外周面に前記軟質層を形成されて前記収納部に圧入されたことを特徴とする請求項1〜5のいずれかに記載のストラットマウント。   The strut mount according to any one of claims 1 to 5, wherein the rubber elastic body has the soft layer formed on a radially outer peripheral surface thereof and is press-fitted into the storage portion. 前記軟質層が予圧縮をかけられて前記収納部に圧入されたことを特徴とする請求項1〜7のいずれかに記載のストラットマウント。   The strut mount according to any one of claims 1 to 7, wherein the soft layer is pre-compressed and press-fitted into the storage portion. 前記脱落防止プレートがその周辺部で前記外側金具本体に固着されていることを特徴とする請求項2〜8のいずれかに記載のストラットマウント。   The strut mount according to any one of claims 2 to 8, wherein the drop-off prevention plate is fixed to the outer metal fitting main body at a peripheral portion thereof.
JP2005293400A 2005-10-06 2005-10-06 Strut mount Expired - Fee Related JP4841923B2 (en)

Priority Applications (1)

Application Number Priority Date Filing Date Title
JP2005293400A JP4841923B2 (en) 2005-10-06 2005-10-06 Strut mount

Applications Claiming Priority (1)

Application Number Priority Date Filing Date Title
JP2005293400A JP4841923B2 (en) 2005-10-06 2005-10-06 Strut mount

Publications (2)

Publication Number Publication Date
JP2007100889A true JP2007100889A (en) 2007-04-19
JP4841923B2 JP4841923B2 (en) 2011-12-21

Family

ID=38028040

Family Applications (1)

Application Number Title Priority Date Filing Date
JP2005293400A Expired - Fee Related JP4841923B2 (en) 2005-10-06 2005-10-06 Strut mount

Country Status (1)

Country Link
JP (1) JP4841923B2 (en)

Cited By (18)

* Cited by examiner, † Cited by third party
Publication number Priority date Publication date Assignee Title
JP2009264553A (en) * 2008-04-28 2009-11-12 Toyo Tire & Rubber Co Ltd Suspension support
JP2009264457A (en) * 2008-04-23 2009-11-12 Kurashiki Kako Co Ltd Upper mount
JP2010014132A (en) * 2008-06-30 2010-01-21 Tokai Rubber Ind Ltd Upper support
JP2010281412A (en) * 2009-06-05 2010-12-16 Bridgestone Corp Strut mount
JP2011088570A (en) * 2009-10-23 2011-05-06 Toyo Tire & Rubber Co Ltd Suspension support
JP2011169416A (en) * 2010-02-19 2011-09-01 Toyo Tire & Rubber Co Ltd Suspension support
JP2011174563A (en) * 2010-02-25 2011-09-08 Toyo Tire & Rubber Co Ltd Suspension support
JP2012180873A (en) * 2011-02-28 2012-09-20 Toyo Tire & Rubber Co Ltd Strut mount and method of manufacturing the same
JP2013122252A (en) * 2011-12-09 2013-06-20 Bridgestone Corp Strut mount
WO2014122842A1 (en) 2013-02-06 2014-08-14 トヨタ自動車株式会社 Suspension mount
JP2015140900A (en) * 2014-01-30 2015-08-03 Nok株式会社 Vibration insulation mount
JP2015168393A (en) * 2014-03-10 2015-09-28 トヨタ自動車株式会社 Strut suspension system
KR20190065573A (en) * 2017-12-04 2019-06-12 현대자동차주식회사 Insulator of shock absorber for automobile
JP2020199917A (en) * 2019-06-11 2020-12-17 株式会社ブリヂストン Cab mount
JP2022057791A (en) * 2020-09-30 2022-04-11 株式会社ブリヂストン Strut mount
DE102008029018B4 (en) 2008-06-18 2022-05-12 Schaeffler Technologies AG & Co. KG strut bearing
KR20220148878A (en) * 2020-03-18 2022-11-07 쩌지앙 길리 홀딩 그룹 씨오., 엘티디. Strut assembly and vehicle to which it is applied
CN115388126A (en) * 2022-09-30 2022-11-25 阿维塔科技(重庆)有限公司 Air spring shock absorber assembly and vehicle

Families Citing this family (1)

* Cited by examiner, † Cited by third party
Publication number Priority date Publication date Assignee Title
KR20170115860A (en) * 2016-04-08 2017-10-18 현대자동차주식회사 Vehicle suspension

Citations (2)

* Cited by examiner, † Cited by third party
Publication number Priority date Publication date Assignee Title
JPS6012736A (en) * 1984-05-21 1985-01-23 Gosen Sangyo Kk Cartridge mainly used for cleaning or drying device
JPS6024954A (en) * 1983-07-20 1985-02-07 Canon Inc Detection of residual ink amount in ink jet printer

Patent Citations (2)

* Cited by examiner, † Cited by third party
Publication number Priority date Publication date Assignee Title
JPS6024954A (en) * 1983-07-20 1985-02-07 Canon Inc Detection of residual ink amount in ink jet printer
JPS6012736A (en) * 1984-05-21 1985-01-23 Gosen Sangyo Kk Cartridge mainly used for cleaning or drying device

Cited By (35)

* Cited by examiner, † Cited by third party
Publication number Priority date Publication date Assignee Title
JP2009264457A (en) * 2008-04-23 2009-11-12 Kurashiki Kako Co Ltd Upper mount
JP2009264553A (en) * 2008-04-28 2009-11-12 Toyo Tire & Rubber Co Ltd Suspension support
DE102008029018B4 (en) 2008-06-18 2022-05-12 Schaeffler Technologies AG & Co. KG strut bearing
JP2010014132A (en) * 2008-06-30 2010-01-21 Tokai Rubber Ind Ltd Upper support
JP2010281412A (en) * 2009-06-05 2010-12-16 Bridgestone Corp Strut mount
JP2011088570A (en) * 2009-10-23 2011-05-06 Toyo Tire & Rubber Co Ltd Suspension support
JP2011169416A (en) * 2010-02-19 2011-09-01 Toyo Tire & Rubber Co Ltd Suspension support
JP2011174563A (en) * 2010-02-25 2011-09-08 Toyo Tire & Rubber Co Ltd Suspension support
JP2012180873A (en) * 2011-02-28 2012-09-20 Toyo Tire & Rubber Co Ltd Strut mount and method of manufacturing the same
JP2013122252A (en) * 2011-12-09 2013-06-20 Bridgestone Corp Strut mount
CN104981625B (en) * 2013-02-06 2017-03-08 丰田自动车株式会社 Suspension frame base
JP2014152821A (en) * 2013-02-06 2014-08-25 Toyota Motor Corp Suspension mount
CN104981625A (en) * 2013-02-06 2015-10-14 丰田自动车株式会社 Suspension mount
EP2955409A4 (en) * 2013-02-06 2016-04-27 Toyota Motor Co Ltd SUSPENSION FRAME
US9452651B2 (en) 2013-02-06 2016-09-27 Toyota Jidosha Kabushiki Kaisha Suspension mount
WO2014122842A1 (en) 2013-02-06 2014-08-14 トヨタ自動車株式会社 Suspension mount
JP2015140900A (en) * 2014-01-30 2015-08-03 Nok株式会社 Vibration insulation mount
CN106103146A (en) * 2014-03-10 2016-11-09 丰田自动车株式会社 Strut type suspension system
TWI576258B (en) * 2014-03-10 2017-04-01 豐田自動車股份有限公司 Strut-type suspension device
US9662953B2 (en) 2014-03-10 2017-05-30 Toyota Jidosha Kabushiki Kaisha Strut-type suspension device
CN106103146B (en) * 2014-03-10 2018-04-17 丰田自动车株式会社 Strut type suspension system
JP2015168393A (en) * 2014-03-10 2015-09-28 トヨタ自動車株式会社 Strut suspension system
KR20190065573A (en) * 2017-12-04 2019-06-12 현대자동차주식회사 Insulator of shock absorber for automobile
KR102416791B1 (en) * 2017-12-04 2022-07-05 현대자동차주식회사 Insulator of shock absorber for automobile
JP2020199917A (en) * 2019-06-11 2020-12-17 株式会社ブリヂストン Cab mount
JP7219169B2 (en) 2019-06-11 2023-02-07 株式会社プロスパイラ cab mount
KR20220148878A (en) * 2020-03-18 2022-11-07 쩌지앙 길리 홀딩 그룹 씨오., 엘티디. Strut assembly and vehicle to which it is applied
JP2023517226A (en) * 2020-03-18 2023-04-24 浙江吉利控股集団有限公司 Strut assembly and vehicle using same
JP7471439B2 (en) 2020-03-18 2024-04-19 浙江吉利控股集団有限公司 Strut assembly and vehicle using same
US12023975B2 (en) 2020-03-18 2024-07-02 Zhejiang Geely Holding Group Co., Ltd. Strut assembly and vehicle applying same
KR102738162B1 (en) * 2020-03-18 2024-12-05 쩌지앙 길리 홀딩 그룹 씨오., 엘티디. Strut assembly and vehicle using the same
JP2022057791A (en) * 2020-09-30 2022-04-11 株式会社ブリヂストン Strut mount
JP7487062B2 (en) 2020-09-30 2024-05-20 株式会社プロスパイラ Strut mount
CN115388126A (en) * 2022-09-30 2022-11-25 阿维塔科技(重庆)有限公司 Air spring shock absorber assembly and vehicle
CN115388126B (en) * 2022-09-30 2025-02-07 阿维塔科技(重庆)有限公司 Air spring shock absorber assembly and vehicle

Also Published As

Publication number Publication date
JP4841923B2 (en) 2011-12-21

Similar Documents

Publication Publication Date Title
JP4841923B2 (en) Strut mount
JP6190651B2 (en) Vibration isolator
JP5786876B2 (en) Suspension mount
JP2022145668A (en) Lateral vibration isolator mechanism for vehicle seat back
JP4759527B2 (en) Vibration control device
JP2006266354A (en) Vibration isolator
JP2010090995A (en) Strut mount
JP2011252562A (en) Suspension device
JP2010090996A (en) Strut mount and strut mount manufacturing method
KR102563031B1 (en) strut mount of suspension for vehicle
JPH11325145A (en) Vibration isolating rubber bush
US20020084614A1 (en) Structure for mounting shock abosorber and spring to suspension apparatus
JP2006084007A (en) Upper support for suspension
RU2270762C1 (en) Device for fastening spring strut of automobile suspension
JP5761513B2 (en) Strut mount structure
JP4017213B2 (en) Anti-vibration mechanism
CN100436173C (en) Spring strut mounting for a vehicle wheel
JPS639441Y2 (en)
CN223720592U (en) A buffer structure and suspension system
JP2935128B2 (en) Mounting suspension equipment
JP4680150B2 (en) Vibration isolator
JP2007127173A (en) Bound stopper
JP2003106366A (en) Suspension device
JP2009085300A (en) Upper support
JPH0139202Y2 (en)

Legal Events

Date Code Title Description
A621 Written request for application examination

Free format text: JAPANESE INTERMEDIATE CODE: A621

Effective date: 20080909

A977 Report on retrieval

Free format text: JAPANESE INTERMEDIATE CODE: A971007

Effective date: 20100715

A131 Notification of reasons for refusal

Free format text: JAPANESE INTERMEDIATE CODE: A131

Effective date: 20101220

A521 Request for written amendment filed

Free format text: JAPANESE INTERMEDIATE CODE: A523

Effective date: 20110217

TRDD Decision of grant or rejection written
A01 Written decision to grant a patent or to grant a registration (utility model)

Free format text: JAPANESE INTERMEDIATE CODE: A01

Effective date: 20110927

A01 Written decision to grant a patent or to grant a registration (utility model)

Free format text: JAPANESE INTERMEDIATE CODE: A01

A61 First payment of annual fees (during grant procedure)

Free format text: JAPANESE INTERMEDIATE CODE: A61

Effective date: 20111005

R150 Certificate of patent or registration of utility model

Ref document number: 4841923

Country of ref document: JP

Free format text: JAPANESE INTERMEDIATE CODE: R150

Free format text: JAPANESE INTERMEDIATE CODE: R150

FPAY Renewal fee payment (event date is renewal date of database)

Free format text: PAYMENT UNTIL: 20141014

Year of fee payment: 3

R250 Receipt of annual fees

Free format text: JAPANESE INTERMEDIATE CODE: R250

R250 Receipt of annual fees

Free format text: JAPANESE INTERMEDIATE CODE: R250

R250 Receipt of annual fees

Free format text: JAPANESE INTERMEDIATE CODE: R250

R250 Receipt of annual fees

Free format text: JAPANESE INTERMEDIATE CODE: R250

R250 Receipt of annual fees

Free format text: JAPANESE INTERMEDIATE CODE: R250

R250 Receipt of annual fees

Free format text: JAPANESE INTERMEDIATE CODE: R250

R250 Receipt of annual fees

Free format text: JAPANESE INTERMEDIATE CODE: R250

R250 Receipt of annual fees

Free format text: JAPANESE INTERMEDIATE CODE: R250

S111 Request for change of ownership or part of ownership

Free format text: JAPANESE INTERMEDIATE CODE: R313111

S531 Written request for registration of change of domicile

Free format text: JAPANESE INTERMEDIATE CODE: R313531

R350 Written notification of registration of transfer

Free format text: JAPANESE INTERMEDIATE CODE: R350

R250 Receipt of annual fees

Free format text: JAPANESE INTERMEDIATE CODE: R250

LAPS Cancellation because of no payment of annual fees