JP2006208660A - 表示装置 - Google Patents
表示装置 Download PDFInfo
- Publication number
- JP2006208660A JP2006208660A JP2005019554A JP2005019554A JP2006208660A JP 2006208660 A JP2006208660 A JP 2006208660A JP 2005019554 A JP2005019554 A JP 2005019554A JP 2005019554 A JP2005019554 A JP 2005019554A JP 2006208660 A JP2006208660 A JP 2006208660A
- Authority
- JP
- Japan
- Prior art keywords
- plate
- light
- light source
- display plate
- pattern
- Prior art date
- Legal status (The legal status is an assumption and is not a legal conclusion. Google has not performed a legal analysis and makes no representation as to the accuracy of the status listed.)
- Pending
Links
- 239000003973 paint Substances 0.000 claims abstract description 12
- 230000001678 irradiating effect Effects 0.000 claims abstract description 10
- 239000000758 substrate Substances 0.000 claims description 39
- 239000000463 material Substances 0.000 claims description 14
- 238000003860 storage Methods 0.000 claims description 9
- 238000012545 processing Methods 0.000 claims description 3
- 230000000694 effects Effects 0.000 abstract description 41
- 238000005034 decoration Methods 0.000 abstract description 8
- NIXOWILDQLNWCW-UHFFFAOYSA-N acrylic acid group Chemical group C(C=C)(=O)O NIXOWILDQLNWCW-UHFFFAOYSA-N 0.000 abstract description 2
- 238000009792 diffusion process Methods 0.000 abstract 1
- 238000007639 printing Methods 0.000 description 72
- 238000005192 partition Methods 0.000 description 20
- 238000013461 design Methods 0.000 description 14
- 230000006870 function Effects 0.000 description 11
- 239000003086 colorant Substances 0.000 description 10
- 238000000034 method Methods 0.000 description 10
- 239000002245 particle Substances 0.000 description 9
- 238000005520 cutting process Methods 0.000 description 8
- 230000004397 blinking Effects 0.000 description 7
- 230000002265 prevention Effects 0.000 description 7
- 239000011347 resin Substances 0.000 description 7
- 229920005989 resin Polymers 0.000 description 7
- 229920000178 Acrylic resin Polymers 0.000 description 6
- 239000004925 Acrylic resin Substances 0.000 description 6
- 239000011248 coating agent Substances 0.000 description 6
- 238000000576 coating method Methods 0.000 description 6
- 238000010586 diagram Methods 0.000 description 6
- 238000004519 manufacturing process Methods 0.000 description 6
- 230000008859 change Effects 0.000 description 5
- 230000000295 complement effect Effects 0.000 description 5
- 241001474374 Blennius Species 0.000 description 4
- 241000353204 Girella Species 0.000 description 4
- 241001290266 Sciaenops ocellatus Species 0.000 description 4
- 229920001971 elastomer Polymers 0.000 description 4
- 239000000113 methacrylic resin Substances 0.000 description 4
- 238000005498 polishing Methods 0.000 description 4
- 241000251468 Actinopterygii Species 0.000 description 3
- GWEVSGVZZGPLCZ-UHFFFAOYSA-N Titan oxide Chemical compound O=[Ti]=O GWEVSGVZZGPLCZ-UHFFFAOYSA-N 0.000 description 3
- 239000004020 conductor Substances 0.000 description 3
- 238000001125 extrusion Methods 0.000 description 3
- 239000011521 glass Substances 0.000 description 3
- -1 polyallylsulfone Polymers 0.000 description 3
- 230000008569 process Effects 0.000 description 3
- 239000000779 smoke Substances 0.000 description 3
- 229920003002 synthetic resin Polymers 0.000 description 3
- 239000000057 synthetic resin Substances 0.000 description 3
- 239000012780 transparent material Substances 0.000 description 3
- VTYYLEPIZMXCLO-UHFFFAOYSA-L Calcium carbonate Chemical compound [Ca+2].[O-]C([O-])=O VTYYLEPIZMXCLO-UHFFFAOYSA-L 0.000 description 2
- BVKZGUZCCUSVTD-UHFFFAOYSA-L Carbonate Chemical compound [O-]C([O-])=O BVKZGUZCCUSVTD-UHFFFAOYSA-L 0.000 description 2
- 206010037660 Pyrexia Diseases 0.000 description 2
- VYPSYNLAJGMNEJ-UHFFFAOYSA-N Silicium dioxide Chemical compound O=[Si]=O VYPSYNLAJGMNEJ-UHFFFAOYSA-N 0.000 description 2
- PPBRXRYQALVLMV-UHFFFAOYSA-N Styrene Chemical compound C=CC1=CC=CC=C1 PPBRXRYQALVLMV-UHFFFAOYSA-N 0.000 description 2
- TZCXTZWJZNENPQ-UHFFFAOYSA-L barium sulfate Chemical compound [Ba+2].[O-]S([O-])(=O)=O TZCXTZWJZNENPQ-UHFFFAOYSA-L 0.000 description 2
- 239000000428 dust Substances 0.000 description 2
- 239000000806 elastomer Substances 0.000 description 2
- 230000003760 hair shine Effects 0.000 description 2
- 238000002156 mixing Methods 0.000 description 2
- NJPPVKZQTLUDBO-UHFFFAOYSA-N novaluron Chemical compound C1=C(Cl)C(OC(F)(F)C(OC(F)(F)F)F)=CC=C1NC(=O)NC(=O)C1=C(F)C=CC=C1F NJPPVKZQTLUDBO-UHFFFAOYSA-N 0.000 description 2
- 230000002093 peripheral effect Effects 0.000 description 2
- 239000000049 pigment Substances 0.000 description 2
- 238000007747 plating Methods 0.000 description 2
- 229920003229 poly(methyl methacrylate) Polymers 0.000 description 2
- 239000004926 polymethyl methacrylate Substances 0.000 description 2
- 238000003825 pressing Methods 0.000 description 2
- 238000007650 screen-printing Methods 0.000 description 2
- 229920002050 silicone resin Polymers 0.000 description 2
- GCYHRYNSUGLLMA-UHFFFAOYSA-N 2-prop-2-enoxyethanol Chemical compound OCCOCC=C GCYHRYNSUGLLMA-UHFFFAOYSA-N 0.000 description 1
- 239000004641 Diallyl-phthalate Substances 0.000 description 1
- 239000004952 Polyamide Substances 0.000 description 1
- 239000004695 Polyether sulfone Substances 0.000 description 1
- 239000004697 Polyetherimide Substances 0.000 description 1
- 239000004642 Polyimide Substances 0.000 description 1
- 239000004793 Polystyrene Substances 0.000 description 1
- QAOWNCQODCNURD-UHFFFAOYSA-L Sulfate Chemical compound [O-]S([O-])(=O)=O QAOWNCQODCNURD-UHFFFAOYSA-L 0.000 description 1
- 238000007792 addition Methods 0.000 description 1
- 239000000853 adhesive Substances 0.000 description 1
- 230000001070 adhesive effect Effects 0.000 description 1
- PNEYBMLMFCGWSK-UHFFFAOYSA-N aluminium oxide Inorganic materials [O-2].[O-2].[O-2].[Al+3].[Al+3] PNEYBMLMFCGWSK-UHFFFAOYSA-N 0.000 description 1
- 238000013459 approach Methods 0.000 description 1
- 239000011324 bead Substances 0.000 description 1
- 238000005452 bending Methods 0.000 description 1
- 230000008901 benefit Effects 0.000 description 1
- 239000011230 binding agent Substances 0.000 description 1
- QUDWYFHPNIMBFC-UHFFFAOYSA-N bis(prop-2-enyl) benzene-1,2-dicarboxylate Chemical compound C=CCOC(=O)C1=CC=CC=C1C(=O)OCC=C QUDWYFHPNIMBFC-UHFFFAOYSA-N 0.000 description 1
- 229910000019 calcium carbonate Inorganic materials 0.000 description 1
- 235000010216 calcium carbonate Nutrition 0.000 description 1
- 238000005266 casting Methods 0.000 description 1
- 229910052681 coesite Inorganic materials 0.000 description 1
- 229920001577 copolymer Polymers 0.000 description 1
- 229910052593 corundum Inorganic materials 0.000 description 1
- 229910052906 cristobalite Inorganic materials 0.000 description 1
- 230000007423 decrease Effects 0.000 description 1
- 238000011161 development Methods 0.000 description 1
- 230000005611 electricity Effects 0.000 description 1
- 239000003822 epoxy resin Substances 0.000 description 1
- 239000000446 fuel Substances 0.000 description 1
- 238000007646 gravure printing Methods 0.000 description 1
- 238000010438 heat treatment Methods 0.000 description 1
- 238000007641 inkjet printing Methods 0.000 description 1
- 150000002484 inorganic compounds Chemical class 0.000 description 1
- 229910010272 inorganic material Inorganic materials 0.000 description 1
- 238000007644 letterpress printing Methods 0.000 description 1
- 239000004973 liquid crystal related substance Substances 0.000 description 1
- 238000004020 luminiscence type Methods 0.000 description 1
- 238000012423 maintenance Methods 0.000 description 1
- 239000011159 matrix material Substances 0.000 description 1
- 229910052751 metal Inorganic materials 0.000 description 1
- 239000002184 metal Substances 0.000 description 1
- 229910044991 metal oxide Inorganic materials 0.000 description 1
- 150000004706 metal oxides Chemical class 0.000 description 1
- 125000005641 methacryl group Chemical group 0.000 description 1
- 238000000465 moulding Methods 0.000 description 1
- JFNLZVQOOSMTJK-KNVOCYPGSA-N norbornene Chemical compound C1[C@@H]2CC[C@H]1C=C2 JFNLZVQOOSMTJK-KNVOCYPGSA-N 0.000 description 1
- 238000007645 offset printing Methods 0.000 description 1
- 150000002894 organic compounds Chemical class 0.000 description 1
- 238000007649 pad printing Methods 0.000 description 1
- 239000011941 photocatalyst Substances 0.000 description 1
- 230000000704 physical effect Effects 0.000 description 1
- 239000004033 plastic Substances 0.000 description 1
- 229920003023 plastic Polymers 0.000 description 1
- 229920002492 poly(sulfone) Polymers 0.000 description 1
- 229920002647 polyamide Polymers 0.000 description 1
- 229920001230 polyarylate Polymers 0.000 description 1
- 239000004417 polycarbonate Substances 0.000 description 1
- 229920000515 polycarbonate Polymers 0.000 description 1
- 229920000647 polyepoxide Polymers 0.000 description 1
- 229920000728 polyester Polymers 0.000 description 1
- 229920006393 polyether sulfone Polymers 0.000 description 1
- 229920001601 polyetherimide Polymers 0.000 description 1
- 229920001721 polyimide Polymers 0.000 description 1
- 229920000306 polymethylpentene Polymers 0.000 description 1
- 239000011116 polymethylpentene Substances 0.000 description 1
- 229920000098 polyolefin Polymers 0.000 description 1
- 229920002223 polystyrene Polymers 0.000 description 1
- 229920005990 polystyrene resin Polymers 0.000 description 1
- 239000000843 powder Substances 0.000 description 1
- 230000000644 propagated effect Effects 0.000 description 1
- 230000001902 propagating effect Effects 0.000 description 1
- 238000004064 recycling Methods 0.000 description 1
- 230000009467 reduction Effects 0.000 description 1
- 239000000377 silicon dioxide Substances 0.000 description 1
- 235000012239 silicon dioxide Nutrition 0.000 description 1
- 229920002379 silicone rubber Polymers 0.000 description 1
- 239000004945 silicone rubber Substances 0.000 description 1
- 229910000679 solder Inorganic materials 0.000 description 1
- 229910052682 stishovite Inorganic materials 0.000 description 1
- 238000005728 strengthening Methods 0.000 description 1
- 230000009182 swimming Effects 0.000 description 1
- 230000001360 synchronised effect Effects 0.000 description 1
- 238000003856 thermoforming Methods 0.000 description 1
- 229920002803 thermoplastic polyurethane Polymers 0.000 description 1
- 229920001187 thermosetting polymer Polymers 0.000 description 1
- OGIDPMRJRNCKJF-UHFFFAOYSA-N titanium oxide Inorganic materials [Ti]=O OGIDPMRJRNCKJF-UHFFFAOYSA-N 0.000 description 1
- 229910052905 tridymite Inorganic materials 0.000 description 1
- 229910001845 yogo sapphire Inorganic materials 0.000 description 1
Images
Landscapes
- Illuminated Signs And Luminous Advertising (AREA)
Abstract
【課題】 導光板の側面から光を照射することによって模様が発光する表示装置であって、複雑な模様や模様の変更も容易にでき、さらに発光する模様の色や点灯パターンを変えて変化に富む高い装飾効果や演出効果が得られ、しかもプレートの交換や取り外し及び再利用が容易であり、これらを低価格で実現可能なものを提供する。
【解決手段】 卓上型や壁掛け型などの表示装置8を、アクリル板などの導光板に光を拡散する性質の塗料で模様を印刷した2枚の表示プレートと、これらの表示プレートを着脱可能の支持するフレームと、このフレームに装着された表示プレートの端面に光を照射する光源部(LED)とで構成する。表示プレート内を伝播する光が模様に当たると拡散して模様が発光するので、光源部を制御して2枚の表示プレートの模様を個別に所望の色や点灯パターンにて発光させる。
【選択図】 図1
【解決手段】 卓上型や壁掛け型などの表示装置8を、アクリル板などの導光板に光を拡散する性質の塗料で模様を印刷した2枚の表示プレートと、これらの表示プレートを着脱可能の支持するフレームと、このフレームに装着された表示プレートの端面に光を照射する光源部(LED)とで構成する。表示プレート内を伝播する光が模様に当たると拡散して模様が発光するので、光源部を制御して2枚の表示プレートの模様を個別に所望の色や点灯パターンにて発光させる。
【選択図】 図1
Description
本発明は、インテリア、装飾品、案内表示、広告、各種ディスプレイ等として使用できる表示装置に係わり、さらに詳しくは、光を拡散する模様を導光板に形成し、光を照射することによって模様を発光させるようにした表示装置に関する。
透明な合成樹脂プレートを導光板とし、この導光板の一面側に彫刻等により凹凸をつけて模様を形成し、導光板の側面から光りを照射する(エッジライト方式)ことによりこの模様を発光させる技術は周知である(たとえば、特許文献1参照。)。
つまり、このような表示装置は、透明な合成樹脂プレートの一面側に彫刻機等により模様を施し、合成樹脂プレート周囲の所定箇所に、プレート端面に臨むように光源(たとえば蛍光管やLED)を配置してこの光源を点灯することにより、プレートの板厚内部に入射して伝播する光が途中で模様に衝突して乱反射することで、模様、たとえば絵柄や文字等を発光表示させるようになっている。
しかしながら、上記したような表示装置においては、導光板に凹凸をつけて模様を形成するため複雑な模様は困難であり、従って簡易的な模様しか形成できないという問題点がある。加えて彫刻機等を使って模様を形成するため、時間がかかり、コスト的にも問題がある。さらに、模様を交換したい場合には、新たなプレートを作成しなければならず、プレートを再利用することができないという問題もある。
また、このような表示装置は、ドットマトリクスLED表示装置や液晶表示装置等とは異なり、動画のように表示画像自体を随時変化させるものではなく、一定の模様を発光表示するだけでなので、装飾効果や演出効果が低いという課題もある。
本発明は、このような問題点や課題の少なくとも何れかを解決するためになされたもので、その目的とするところは、導光板の側面から光を照射することによって模様が発光する表示装置であって、複雑な模様や模様の変更も容易にでき、さらに発光する模様の色や点灯パターンを変えて変化に富む高い装飾効果や演出効果が得られ、しかもプレートの交換や取り外し及び再利用が容易であり、これらを低価格で実現可能な表示装置を提供することにある。
このような問題を解決するために、本発明の表示装置は、請求項1に記載したように、光を拡散する性質の塗料で模様を導光板に印刷した第1表示プレート及び第2表示プレートと、この第1表示プレート及び第2表示プレートを着脱可能に支持するフレームと、このフレームに装着された第1表示プレートの端面に光を照射する第1光源部及び第2表示プレートの端面に光を照射する第2光源部と、前記第1光源部及び第2光源部の点灯パターンを制御する制御部とを備え、
前記第1表示プレートは前記第2表示プレートの前面側に位置し、該第1表示プレート及び第2表示プレートの一部または全部が重なり合って所定の模様が形成されることを特徴とする。
前記第1表示プレートは前記第2表示プレートの前面側に位置し、該第1表示プレート及び第2表示プレートの一部または全部が重なり合って所定の模様が形成されることを特徴とする。
上記発明によれば、第1光源部及び第2光源部により第1表示プレート及び第2表示プレートの端面から入射した光がそれぞれ導光板内を伝播し、模様に衝突すると光が拡散されて導光板の外へ出射し、模様の部分が発光する。つまり第1表示プレート及び第2表示プレートの一部または全部が重なり合って形成された所定の模様が発光する。
ここで模様は、光を拡散する性質の塗料をたとえばスクリーン印刷することにより、容易に導光板に形成することができる。印刷された模様は、光源の発光色(波長)と模様の印刷色との関係により、導光板内の光を拡散して所定の色及び発光強度にて発光する。なお、導光板の材料としては、屈折率が高い透明材料としてのメタクリル樹脂(PMMA)、アクリル樹脂等が好ましい。
さらに、本発明の表示装置は、第1光源部及び第2光源部の点灯パターンを制御する制御部を備えており、従って、この制御部により第1表示プレートの模様の発光パターンと第2表示プレートの模様の発光パターンとを相違させることができる。また、第1表示プレート及び第2表示プレートは、フレームに着脱可能に支持されている。なお、表示装置としては卓上型や壁掛け型等が考えられる。
この構成では、第1表示プレート及び第2表示プレートの端面から光を照射すればよく、第1光源部を第1表示プレートに、第2光源部を第2表示プレートに直接取り付ける必要はない。さらに第1表示プレート及び第2表示プレートを電気的に接続することなく、第1表示プレート及び第2表示プレートの模様自体を発光することができる。
第1表示プレート及び第2表示プレートのフレームへの取り付け方法は問わない。たとえば、定位置に嵌めこんだ後に螺子で固定してもよいし、パチン錠などの係止具で第1表示プレート及び第2表示プレートを固定してもよい。フレームは、第1表示プレート及び第2表示プレートの周囲4辺すべてを取り囲むものであっても、一部の辺が開放されたもの、たとえばコ字型やL字型であってもよい。また1辺だけで支持するものであってもよい。要は、模様が視認可能であって第1表示プレート及び第2表示プレートを着脱可能に支持するものであればよい。
また、請求項2の発明は、光を拡散する性質の塗料で模様を印刷したフィルムシートを導光板に貼着した第1表示プレート及び第2表示プレートと、この第1表示プレート及び第2表示プレートを着脱可能に支持するフレームと、このフレームに装着された第1表示プレートの端面に光を照射する第1光源部及び第2表示プレートの端面に光を照射する第2光源部と、前記第1光源部及び第2光源部の点灯パターンを制御する制御部とを備え、前記第1表示プレートは前記第2表示プレートの前面側に位置し、該第1表示プレート及び第2表示プレートの一部または全部が重なり合って所定の模様が形成されることを特徴とする。
つまり請求項2の発明は、請求項1の発明の光を拡散する性質の塗料で模様を導光板に印刷する構成に替えて、光を拡散する性質の塗料で模様を印刷したフィルムシートを導光板に貼着する構成となっている。この発明によれば、光を拡散する性質の塗料で模様を印刷したフィルムシートを導光板に貼着することで、模様が導光板に形成されるようになる。すなわちフィルムシートを貼り替えるだけで第1表示プレート及び第2表示プレート上の模様やデザインの変更が可能になる。
模様はフィルムシートの表裏いずれに形成してもよい。後面側に位置する導光板としての第2表示プレートに貼着する面に模様を形成する場合には、フィルムシートは、透明でも不透明でもよく、第2表示プレートに貼着する面と反対の面に模様を形成する場合は、フィルムシートは透明や無色透明が望ましい。前面側に位置する導光板としての第1表示プレートに模様を形成する場合には、貼着する面に関係なく、フィルムシートは透明や無色透明が望ましい。また、フィルムシートは反射材の役割を兼ねるように構成してもよいし、導光板の背面全体に貼着しても一部のみに貼着してもよい。
また、請求項3の発明は、請求項2に記載の表示装置において、前記フィルムシートは、模様の形に切り取られたものであることを特徴とする。
また、請求項3の発明は、請求項2に記載の表示装置において、前記フィルムシートは、模様の形に切り取られたものであることを特徴とする。
上記発明によれば、模様の形にカットしたフィルムシートが導光板に貼着される。模様の形に正確にカットする必要はなく、模様の周囲にある程度の余裕を持たせてもよい。また、複数の模様の形に切り取られたフィルムシートを表示プレートに組み合わせて貼り付けるようにしてもよい。
また、請求項4の発明は、請求項1乃至請求項3の何れかに記載の表示装置において、前記第1光源部または/及び第2光源部は、出射する光の色を切り替え可能であり、前記制御部は、前記第1光源部または/及び第2光源部が出射する光の色を切り替えることを特徴とする。
上記発明によれば、模様は受けた光を拡散して発光するので、照明する光の色を変えることで模様の発光色が変わる。たとえば、模様が光を拡散する白色の塗料で描かれている場合には、模様は照射された光の色で発光する。模様が赤や緑など特定の色で描かれている場合は、ほぼ模様の塗料の色と照射された光の色とを混合した色が模様の発光色になる。これにより、第1表示プレートの模様または/及び第2表示プレートの模様を、様々な色で発光させることが可能になる。光源として光の3原色を用意すれば、これらを組み合わせてフルカラー発光も可能になる。
また、請求項5の発明は、請求項1乃至請求項4の何れかに記載の表示装置において、前記フレームは、前記第1光源部から出射された光が前記第2表示プレートの端面に、及び第2光源部から出射された光が前記第1表示プレートの端面に入射するのを防止する防止部材を有することを特徴とする。
上記発明によれば、第1光源部及び第2光源部から出射された光は指向性を持って広がるものの、防止部材により反射して、第1光源部から出射された光は第1表示プレートの端面に、第2光源部から出射された光は第2表示プレートの端面にのみ入射する。
また、請求項6の発明は、請求項1乃至請求項5の何れかに記載の表示装置において、前記フレームに装着された第1表示プレート及び第2表示プレートの端面と、この端面に臨む前記第1光源部及び第2光源部との間に所定の隙間が確保されることを特徴とする。
上記発明によれば、フレームに装着しても第1表示プレートと第1光源部及び第2表示プレートと第2光源部の間にクリアランスが確保される。たとえば、第1光源部及び第2光源部よりもやや突出したストッパ片をそれぞれ第1光源部及び第2光源部の左右両端に設ければ、第1表示プレート及び第2表示プレートがストッパ片に突き当たって止まり、第1表示プレート及び第2表示プレートが第1光源部及び第2光源部に直接衝突することが回避される。
また、第1光源部及び第2光源部とこれに臨む端面との隙間は、その大きさによっては、光の筋が第1表示プレート及び第2表示プレート内に現われたり、光源に臨む端面近傍で模様に光がうまく当たらなくなったりする現象を防止する機能も果たす。すなわち、通常、光源から出射された光は一定の指向性(視野角)をもって広がるので、光源と表示プレートの端面とをあまり近づけると、端面の近くで光源からの直接光の到達しない範囲が生じる。直接光が到達する部分と到達しない部分とでは明暗の差が大きいので、この部分に光の筋が生じてしまう。また、直接光の到達しない部分では模様が充分に発光しない。これらの現象は上記の隙間を大きくすることで緩和される。
また、請求項7の発明は、請求項1乃至請求項6の何れかに記載の表示装置において、前記第1光源部及び第2光源部は、前記フレームに内蔵されていることを特徴とする。
上記発明によれば、第1光源部及び第2光源部がフレームに内蔵されている。光源をフレームに内蔵する方法は問わない。たとえば、ユニット化した光源をフレームに取り付けてもよいし、フレームに直接取り付けるように構成してもよい。
上記発明によれば、第1光源部及び第2光源部がフレームに内蔵されている。光源をフレームに内蔵する方法は問わない。たとえば、ユニット化した光源をフレームに取り付けてもよいし、フレームに直接取り付けるように構成してもよい。
また、請求項8の発明は、請求項1乃至請求項7の何れかに記載の表示装置において、前記フレームは、装着された第1表示プレート及び第2表示プレートのうち前記第1光源部及び第2光源部から所定距離の範囲内にある部分を覆い隠す目隠し部を有することを特徴とする。
上記発明によれば、第1光源部及び第2光源部からの光は指向性を持って広がり、第1光源部及び第2光源部の近くでは指向性の境界に沿って光の筋が生じ易いが、そのような部分がフレームにより覆い隠される。目隠し部は、不透明のほか透明度の低いスモーク状にしてもよい。
また、請求項9の発明は、請求項1乃至請求項8の何れかに記載の表示装置において、前記第1表示プレート及び第2表示プレートには、前記第1光源部及び第2光源部に臨む端面の近傍において、この第1光源部及び第2光源部からの直接光が到達しない範囲を避けて模様を付してあることを特徴とする。
上記発明によれば、光源からの直接光が到達しない範囲を避けて模様が形成される。通常、光源から出射された光は一定の指向性(視野角)をもって広がるので、光源と表示プレートの端面とをあまり近づけると、端面の近くでは光源からの直接光の到達しない範囲が生じる。このような範囲を避けて模様を描くことで模様が適切に発光する。また、光の3原色である赤、青、緑の3つのLEDを一組とし、これを一列に多数並べて光源部を構成するような場合には、同じ色(たとえば、赤)のLED同士の間隔が広がるので、その色の直接光が到達しない範囲を避けて模様を描くことが重要である。
上記発明によれば、光源からの直接光が到達しない範囲を避けて模様が形成される。通常、光源から出射された光は一定の指向性(視野角)をもって広がるので、光源と表示プレートの端面とをあまり近づけると、端面の近くでは光源からの直接光の到達しない範囲が生じる。このような範囲を避けて模様を描くことで模様が適切に発光する。また、光の3原色である赤、青、緑の3つのLEDを一組とし、これを一列に多数並べて光源部を構成するような場合には、同じ色(たとえば、赤)のLED同士の間隔が広がるので、その色の直接光が到達しない範囲を避けて模様を描くことが重要である。
また、請求項10の発明は、請求項1乃至請求項9の何れかに記載の表示装置において、前記第1表示プレート及び第2表示プレートの前記第1光源部及び第2光源部からの光が入射する箇所を除く端面に反射材を設けたことを特徴とする。
上記発明によれば、光源に臨む表示プレートの端面から入射した光が他の端面で反射材によって反射されるので、表示プレート外部に漏れにくくなる。
また、請求項11の発明は、請求項1乃至請求項10の何れかに記載の表示装置において、前記第1光源部及び第2光源部からの光が入射される前記第1表示プレート及び第2表示プレートの端面に、鏡面加工を施したことを特徴とする。
上記発明によれば、光源からの光が効率よく表示プレート内に入射される。たとえば、表示プレートの端面にバフ(磨き)をかけることで鏡面加工が実現される。
また、請求項12の発明は、請求項1乃至請求項11の何れかに記載の表示装置において、前記第1表示プレートまたは/及び第2表示プレートは、その一部または全部が曲面状に形成されていることを特徴とする。
上記発明によれば、その一部または全部が曲面状に形成されている表示プレートにより、様々な趣向を凝らした形状の表示装置を製作でき、さらに、たとえば曲面状に形成された箇所に模様を付して発光させるようにすれば、周囲に目立たせることができ、さらに装飾効果が高まる。
上記発明によれば、その一部または全部が曲面状に形成されている表示プレートにより、様々な趣向を凝らした形状の表示装置を製作でき、さらに、たとえば曲面状に形成された箇所に模様を付して発光させるようにすれば、周囲に目立たせることができ、さらに装飾効果が高まる。
曲面状に形成される表示プレートは、熱成形しやすい押出し板(メタクリル樹脂、アクリル樹脂)を導光板として採用するのが好ましい。但し、押出し板はキャスト板に比べ耐衝撃性・表面硬度などが劣るので、これを考慮して表示プレートには、その表面を保護する傷付き防止コーティングを設けるようにしてもよい。
また、請求項13の発明は、請求項1乃至請求項12の何れかに記載の表示装置において、前記第1光源部及び第2光源部から入射された光が、この第1表示プレート及び第2表示プレートの入射した端面と異なる端面から出射するようにしたことを特徴とする。
上記発明によれば、表示プレートの光が入射した端面と異なる端面が明るく光る。光の出射する端面を鏡面加工すれば出射する光量が増加し、さらに明るく光る。反射材は、導光板の端面のうち、光源からの光を入射させる部分と光を出射させる部分以外に設けるとよい。
また、請求項14の発明は、請求項1乃至請求項13の何れかに記載の表示装置において、前記第1光源部及び第2光源部は、複数の光源ユニットからなり、各光源ユニットは、一端に嵌合凸部を他端に嵌合凹部を備え、隣り合うものの嵌合凸部と嵌合凹部とを嵌合させることで複数を一列に連結可能に構成されていることを特徴とする。
上記発明によれば、隣り合う光源ユニットの嵌合凸部と嵌合凹部とを嵌合させることで複数の光源ユニットが一列に連結される。連結する光源ユニットの数を変えれば、光源部の長さが変わる。
また、請求項15の発明は、請求項14に記載の表示装置において、各光源ユニットは、隣り合う光源ユニット同士を接続するワイヤハーネスを収容可能な収納壁を有することを特徴とする。
また、請求項14の発明は、請求項1乃至請求項13の何れかに記載の表示装置において、前記第1光源部及び第2光源部は、複数の光源ユニットからなり、各光源ユニットは、一端に嵌合凸部を他端に嵌合凹部を備え、隣り合うものの嵌合凸部と嵌合凹部とを嵌合させることで複数を一列に連結可能に構成されていることを特徴とする。
上記発明によれば、隣り合う光源ユニットの嵌合凸部と嵌合凹部とを嵌合させることで複数の光源ユニットが一列に連結される。連結する光源ユニットの数を変えれば、光源部の長さが変わる。
また、請求項15の発明は、請求項14に記載の表示装置において、各光源ユニットは、隣り合う光源ユニット同士を接続するワイヤハーネスを収容可能な収納壁を有することを特徴とする。
上記発明によれば、光源ユニット同士を接続するワイヤハーネスが収納壁の内側に収容される。収納壁は連結後の余分なワイヤハーネスを収容できればよく、ワイヤハーネスのすべてを収納しなくてもよい。
また、請求項16の発明は、請求項1乃至請求項15の何れかに記載の表示装置において、前記第1光源部及び第2光源部の光源は発光ダイオードであり、この発光ダイオードの取り付け基板の表面に光の反射層を設けたことを特徴とする。
また、請求項16の発明は、請求項1乃至請求項15の何れかに記載の表示装置において、前記第1光源部及び第2光源部の光源は発光ダイオードであり、この発光ダイオードの取り付け基板の表面に光の反射層を設けたことを特徴とする。
上記発明によれば、発光ダイオードの背後に出射された光が反射層に反射して正面に向かうので、第1表示プレート及び第2表示プレートに入射する光量が増加して模様の発光強度が強まる。反射層は、発光ダイオードの取り付け基板の表面にある導体層をメッキするなどにより容易に形成される。また、発光ダイオードへの配線は基板裏面側の導体層を利用するほか、2枚の基板を重ねて使用し、発光ダイオードのすぐ背後の1枚を反射層に、他の1枚を配線用に用いてもよい。
また、請求項17の発明は、請求項1乃至請求項16の何れかに記載の表示装置において、前記制御部の点灯制御を所定の点灯パターンに設定する点灯設定手段を備えたことを特徴とする。
また、請求項17の発明は、請求項1乃至請求項16の何れかに記載の表示装置において、前記制御部の点灯制御を所定の点灯パターンに設定する点灯設定手段を備えたことを特徴とする。
上記発明によれば、たとえばディップスイッチ等の点灯設定手段により、制御部における光源の点灯制御を所定の点灯パターンに設定することができる。たとえば、第1表示プレートの模様を赤色の点滅に、第2表示プレートの模様を青色の常時点灯というように設定できる。
また、請求項18の発明は、請求項1乃至請求項17の何れかに記載の表示装置において、前記第1表示プレートと第2表示プレートとの隙間を覆う遮蔽部材を備えたことを特徴とする。
また、請求項18の発明は、請求項1乃至請求項17の何れかに記載の表示装置において、前記第1表示プレートと第2表示プレートとの隙間を覆う遮蔽部材を備えたことを特徴とする。
上記発明によれば、第1表示プレートと第2表示プレートとを重ねたときに隙間ができても、遮蔽部材によりこの隙間が覆い隠される。なお遮蔽部材としては、テープやプレート等が考えられる。
請求項1の発明によれば、第1光源部及び第2光源部から第1表示プレート及び第2表示プレートの端面に光を照射することで、第1表示プレート及び第2表示プレートの模様自体が発光するので、発光しない箇所とのコントラストが強く、高い装飾効果を得ることができる。加えて、第1表示プレートの模様と第2表示プレートの模様とを、所望する発光パターンにて発光させることができるので、より凝った演出効果の高い表示も可能となる。
さらに、フレームで第1表示プレート及び第2表示プレートを着脱可能に支持しているので、第1表示プレートまたは第2表示プレートの交換や保守点検等が容易となり、加えて、第1表示プレート及び第2表示プレートの端面に光を照射するだけで模様自体が発光するので、第1表示プレートまたは第2表示プレートの交換や取り外しの際に配線を切り離したり接続し直したりする必要がなくなり、取り扱いに優れ作業効率が向上する。また、第1表示プレートまたは第2表示プレートを取り替えることで模様を変更できるので、低コストでのデザイン変更が可能になる。
また、本発明では模様を印刷にて形成しているので、模様を変更場合には、印刷するだけで表示プレートの模様を変えることができ、迅速且つ低コストでデザインの変更が可能になる。さらに、元の印刷を消して新しいデザインの模様を印刷するようにすれば、表示プレートの再利用も可能になり、加えて、光源の発光色(波長)に対して適宜印刷色を選択することで、所望する色及び発光強度にて模様を発光させることができ、極めて装飾効果が高まる。
請求項2の発明によれば、請求項1の発明の効果とほぼ同様な効果が得られ、加えて、フィルムシートを貼り替えるだけで第1表示プレート及び第2表示プレートの模様を極めて容易に変えることができ、さらに低コストでデザインの変更が可能になる。またさらに、光源の発光色(波長)に対して適宜フィルムシートに印刷する色を選択することで、所望する色及び発光強度にて模様を発光させることができ、極めて装飾効果が高まる。
請求項3の発明によれば、請求項2の発明の効果に加え、模様の形にカットしたフィルムシートを導光板に貼着するようにしたので、貼着するフィルムシートの組み合わせ方や配置を変えるだけで様々なデザインの第1表示プレート及び第2表示プレートを形成することができ、容易に装飾効果を高めることができる。
請求項4の発明によれば、請求項1乃至請求項3の何れかの発明の効果に加え、第1光源部または/及び第2光源部から第1表示プレートまたは/及び第2表表示プレートの端面に光を照射することで模様自体が発光するとともに、照射する光の色を変えるだけで模様自体の色を変更しなくても模様の発光色が変わるので、簡易な装置構成でありながら、変化に富む高い装飾効果を得ることができる。加えて、第1表示プレートの模様と第2表示プレートの模様とを、所望する発光パターンにて様々な色で発光させることができるので、極めて高い演出効果を得ることが可能となる。
請求項5の発明によれば、請求項1乃至請求項4の何れかの発明の効果に加え、防止部材が第1光源部から出射された光が第2表示プレートの端面に、第2光源部から出射された光が第1表示プレートの端面に入射するのを防止するので、これにより適正な点灯パターンや点灯色にて第1表示プレートの模様と第2表示プレートの模様とを発光させることができる。
請求項6の発明によれば、請求項1乃至請求項5の何れかの発明の効果に加え、請求項4の発明によれば、請求項1乃至請求項3の何れかの発明の効果に加え、第1表示プレート及び第2表示プレートが第1光源部及び第2光源部に直接衝突しなくなり、互いの接触による光源や表示プレートの破損等を防止することができる。
請求項7の発明によれば、請求項1乃至請求項6の何れかの発明の効果に加え、第1表示プレート及び第2表示プレートをフレームの定位置にセットするだけで、第1表示プレート及び第2表示プレートの端面と第1光源部及び第2光源部とを適正な位置に配置することができ、光の適切な照射状態が確保される。また、光源を別途取り付ける必要がない。
請求項8の発明によれば、請求項1乃至請求項7の何れかの発明の効果に加え、第1光源部及び第2光源部の近くに生じる光の筋が覆い隠されて、見栄えが向上する。
請求項9の発明によれば、請求項1乃至請求項8の何れかの発明の効果に加え、第1光源部及び第2光源部からの直接光が到達しない範囲に模様が存在しなくなり、各模様が適切に発光する。
請求項10の発明によれば、請求項1乃至請求項9の何れかの発明の効果に加え、第1表示プレート及び第2表示プレートの外部に光が漏れ難くなり、模様の発光強度を強めることができる。
請求項11の発明によれば、請求項1乃至請求項10の何れかの発明の効果に加え、第1光源部及び第2光源部からの光を効率よく第1表示プレート及び第2表示プレート内に入射させることができ、模様の発光強度を高めることができる。
請求項12の発明によれば、請求項1乃至請求項11の何れかの発明の効果に加え、様々な趣向を凝らした形状の表示装置を製作できる。また、曲面状に形成された箇所に模様を付して発光することもでき、さらに装飾効果が高まる。
請求項13の発明によれば、請求項1乃至請求項12の何れかの発明の効果に加え、第1表示プレート及び第2表示プレートの光が入射した端面と異なる端面が発光するので、さらに装飾効果が高まる。
請求項14の発明によれば、請求項1乃至請求項13の何れかの発明の効果に加え、連結する光源ユニットの数を変えることで様々なサイズの第1表示プレート及び第2表示プレートに対応することが可能になる。
請求項15の発明によれば、請求項14の発明の効果に加え、光源ユニット同士を電気的に接続するワイヤハーネスが外部に露出しなくなり、光源部がすっきりとまとまって取り扱い性が向上する。
請求項16の発明によれば、請求項1乃至請求項15の何れかの発明の効果に加え、発光ダイオードの取り付け基板の表面に設けた光の反射層により、発光ダイオードから出射された光が正面に集中するので、第1表示プレート及び第2表示プレートに入射する光量が増加して模様の発光強度が向上する。また、光源に発光ダイオードを用いたので、コンパクト(薄い)、低消費電力、長寿命の光源部を提供できる。
請求項17の発明によれば、請求項1乃至請求項16の何れかの発明の効果に加え、制御部における光源の点灯制御を所定の点灯パターンに設定することができるので、第1表示プレート及び第2表示プレートの模様を所望する点灯パターンにて容易に発光させることが可能となる。
請求項18の発明によれば、請求項1乃至請求項17の何れかの発明の効果に加え、第1表示プレートと第2表示プレートとを重ねたときに隙間ができても、遮蔽部材がこの隙間を覆い隠すので、第1表示プレートと第2表示プレートとの隙間から塵等が侵入するのを防止し、模様を適正に発光させることができる。すなわち遮蔽部材が防塵手段としての機能を果たす。
以下、図面に基づき本発明の実施の形態を説明する。図1は、本発明の実施の形態に係わる表示装置8を示す斜視図であり、図2は、表示装置8の分解斜視図である。表示装置8は、フレーム12と表示プレート25(第1プレート25a、第2プレート25b)とから成る卓上型に形成されており、表示プレート25はフレーム12から容易に着脱可能になっている。なお、フレーム12には、後述のLEDドライバ基板80が内蔵されており、図中85は、LEDドライバ基板80に設けられたディップスイッチ85である。
図3は、表示プレート25を示す斜視図である。表示プレート25は、同一サイズの第1プレート25aと第2プレート25bとを2枚重ねにした構造をなしており、第1プレート25aが前面側に位置し、第2プレート25bが後面側に位置している。第1プレート25aと第2プレート25bとには、後述の模様が印刷されており、両者が重なり合って所定の絵柄が表示プレート25に表示されるようになっている。
図4(A)は、フレーム12の平面図、図4(B)は(A)のA−A断面図である。図1、図2及び図4に示すように、フレーム12は、基部フレーム13と底フレーム14とから構成されている。基部フレーム13は、全体として横長の箱状に形成され、奥行き方向の中央には基部間仕切り23が形成され、その前面側には前面板13bが、後面側には背板15が基部間仕切り23と平行して形成されている。
基部フレーム13は、箱状の開放部分を上に向けた状態で、前面板13bと基部間仕切り23とで形成される溝に第1プレート25aが、基部間仕切り23と背板15とで形成される溝に第2プレート25bが、それぞれ着脱自在に嵌め込まれるようになっている。従って第1プレート25aと第2プレート25bとは、基部間仕切り23の厚みだけ間隔をおいて重合するようにフレーム12に取り付けられる。
また、図4(A)に示すように基部フレーム13の左右端部内側にはストッパ片47a、47b、47c、47dが設けてある。ストッパ片47c、47dは、第1プレート25aをフレーム12に装着したときに、ストッパ片47a、47bは、第2プレート25bをフレーム12に装着したときに、第1プレートの下端面24a、第2プレートの下端面24bと基部フレーム13の内部に設けられる後述のLED71との間に適正なクリアランスを保つ(接触防止も含む)為に形成してある。
底フレーム14は、上板14aと下板14bとから構成されており、基部フレーム13を支えるように略三角柱状に形成されている。底フレーム14の内部は空洞になっており、後述のLEDドライバ基板80が上板14aに付設されるようになっている。
図5は、フレーム12の基部フレーム13に収容される光源ユニットとしてのLEDユニット76を示す六面図である。図6はLED基板70の正面図と平面図であり、図7は支持板55の六面図である。尚、図5、図7では背面図は正面図と同一に現れるので省略してある。図5に示すLEDユニット76は、図6のLED基板70を図7の支持板55に取り付けて構成される。
図6に示すように、LED基板70には、赤LED71aと青LED71bと緑LED71cの3個を一組としたものが5組一列に並べて取り付けてある。赤LED71aは5φ(直径5ミリ)のものを、青LED71b及び緑LED71cは3φ(直径3ミリ)のものを使用している。赤は青や緑に比べて発光強度が弱いので、5φの赤LED71aを使用することで発光強度の差を補っている。
LED基板70は、同一サイズのLED取付基板72とベース基板73とを2枚重ねにした構造をなしている。LED取付基板72及びベース基板73は幅(7〜10mm)×長さ(100〜200mm)で作成されている。ベース基板73の裏面73a側の左右両端には雌コネクタ75a、75bが設けてある。
本実施の形態で使用する赤LED71aは、図8に示すように頭部より台座部が太く、青LED71bは寸胴の形状をなしている。LED取付基板72には、赤LED71aの取り付け箇所に対応する位置に赤LED71aの頭部が通過可能で台座部が通り得ない大きさの穴が開けてある。また青LED71bや緑LED71cの取り付け箇所に対応する位置にはこれらのLED71b、71cの端子は通るが本体部は通り得ない大きさのスルーホールが開けてある。ベース基板73には各LED71a、71bの端子が通るスルーホールが形成されているとともに、裏面73aに配線パターンが施されている。
LED基板70を組み立てるときは、まず、ベース基板73に赤LED71aの端子を挿入した後、赤LED71aの上からLED取付基板72を被せて赤LED71aの台座部にLED取付基板72を当接させる。その後、LED取付基板72の上から該当する穴に青LED71bの端子を通し、青LED71bの胴部でLED取付基板72を上から押圧した状態にする。この状態で各LED71a、71b、71cの端子をベース基板73の裏面73aの配線パターンにハンダ接続して固定する。
これにより別途の取り付け部材を設けることなくLED取付基板72とベース基板73とを2枚重ねの状態に保持することができる。また、青LED71bや緑LED71cは、その端子がLED取付基板72とベース基板73の双方を通過するので、より強固にベース基板73に取り付けられることになる。すなわち、LED取付基板72は、LED71をLED基板70に強固に取り付ける機能を果たしている。
さらに、LED取付基板72の表面には、LED71の光を反射可能な反射層74が設けられている。この反射層74は、光を反射可能なものであれば特に材質などを限定するものではなく、たとえば基板上の導体層にハンダ等の金属メッキを施すことで形成してもよい。
LED71のタイプは、表示プレート(導光板)25の長さによって、その輝度や指向性を適宜選択するのが好ましく、一般的に表示プレート25の長さが短ければ(たとえば20cm以下)、視野角として45〜60度程度のもので、それほど輝度の高いタイプでなくてもよい。さらにこの場合、LED71のピッチも広めに設計することができるので(たとえば2cm以上)コストダウンとなる。
一方、表示プレート25の長さが長ければ(たとえば40cm以上)、他端部での光量を適度に確保するためには、たとえば、視野角が20〜35度程度で、高輝度タイプのものが好ましい。この場合、LED71のピッチも狭くすることが望ましい(たとえば1cm以下)。このようにすると、極力コストダウンをはかりながら、表示プレート25の発光強度を維持することができる。
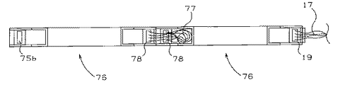
図7に示すように、支持板55は、長さ方向の一端に嵌合凸部56を他端に嵌合凹部57を備えており、隣り合う支持板55の嵌合凸部56と嵌合凹部57とを嵌合することにより複数の支持板55を一列に連結可能になっている。支持板55に挿入されたLED基板70の雌コネクタ75a,75bに対応する箇所にはこれらを通すための切欠58a、58bが設けてある。また下部に設けた収納壁59a,59bは、図9から図11に示すように、ベース基板73の雌コネクタ75a,75bに嵌合させる雄コネクタ78や雄コネクタ19、ワイヤハーネス77、ワイヤハーネス17を収納する機能を果たす。
図9は、LEDユニット76同士を連結する様子を示している。嵌合凸部56と嵌合凹部57とを嵌合して連結した後、隣り合うLEDユニット76同士を両端に雄コネクタ78を備えたワイヤハーネス77で電気的に接続する。さらに、いずれかの端に位置するLEDユニット76の雌コネクタには、LEDドライバ基板80に電気的に接続するためのワイヤハーネス17の雄コネクタ19が接続される。
図10は、2つのLEDユニット76を連結した状態の正面図であり、図11は2つのLEDユニット76を連結した状態の底面図である。雄コネクタ78、19及び余ったワイヤハーネス77は収納壁59a、59bの内側に収容される。
図12は、基部フレーム13内にLEDユニット76を設置した状態を示す平面図であり、図13は、基部フレーム13内にLEDユニット76を設置した状態を示す正面図である。なお、図13は基部フレーム13の前面板13b(二点鎖線で示す部分)を取り除いた状態を示している。
LEDユニット76は、図12に示すように前面板13b、背板15、基部間仕切り23とストッパ片47a、47b、47c、47dとで形成される2つの溝に複数個づつ(図示では3個づつ)並行して設置されている。なお、LEDユニット76の基部フレーム13への設置手段としては、ビス止めや接着、嵌着等が考えられる。
雄コネクタ78、雄コネクタ19及び余ったワイヤハーネス77を収納壁59a、59bの内側に収容しているので、余ったワイヤハーネス77等が邪魔になることなくLEDユニット76を基部フレーム13の底壁に密着するまで確実に挿入することが可能になっている。
図14は、表示プレート25(第1プレート25a、第2プレート25b)を基部フレーム13に取り付けた状態の表示装置8をその内部構造とともに示した正面図である。第1プレートの下端24aがストッパ片47c、47dに、第2プレートの上端24bがストッパ片47a、47bに突き当たることで、第1プレート25aと第2プレート25bとが重なり合って所定の絵柄が表示されると共に、LEDユニット76の各LED71と表示プレート25の下端(第1プレートの下端24a、第2プレートの下端24b)との間にわずかなクリアランスが確保されている。
図15は、第1プレート25a、反射テープ26a、反射シート27の分解斜視図である。第1プレート25aの周縁部には、反射テープ26aが貼着され、第1プレート25aの裏面側には模様30aが印刷されると共に、この模様30aに重なる部分のみに反射シート27が貼着される。なお反射テープ26は、LED71が臨む箇所となる第1プレートの下端24aには形成されないようになっている。
図16は、第2プレート25b、反射テープ26b、反射シート28の分解斜視図である。第2プレート25bは第1プレート25aと同一の形状にて形成され、第2プレート25bの周縁部には、反射テープ26bが貼着され、第2プレート25bの裏面側には模様30bが印刷されると共に、第2プレート25bとほぼ同じ大きさの反射シート28が貼着される。
反射シート27、28は、白色や光沢のある色が着色されたシートであればよい。また、第1プレート25aにおいては、第1プレート25aとほぼ同じ大きさの透明の反射シート27に、模様(印刷部)30aに重なる部分のみ白色や光沢のある色を着色すようにしてもよい。さらに第2プレート25bにおいては、模様(印刷部)30bに重なる部分のみに反射シート28を設け、それ以外の箇所に所望の背景色を施すようにしてもよい。つまり反射シート27は、模様(印刷部)30aの発光強度を向上させると共に、第1プレート25aと第2プレート25bとを重ね合わせたとき、第2プレート25bの模様(印刷部)30bが透視できることが必要であり、一方反射シート28は、最低限、模様(印刷部)30bの発光強度を向上させればよい。
反射テープ26a、26bは、反射シート27、28と同様、白色や光沢のある色が着色されたテープであればよい。これらにより、第1プレート25a、第2プレート25bの内部を通過する光が外界との境界で反射されて外部への漏れが防止され、模様(印刷部)30a、30bの発光強度が向上する。
導光板としての第1プレート25a、第2プレート25bは、肉厚が略5mmにて形成されており、その裏側(反射シート27、28側)には光を拡散する模様(発光部)としての印刷部30a、30bがスクリーン印刷されている。この印刷に使用される塗料(インキ)は、拡散反射特性を有し散乱材を含有するもので、材料としては、パール材やガラス、ビーズ顔料、白色顔料等があり、さらに拡散性や発色性を持たせ発光強度を向上させるため有機蛍光誘導体と非有機系化合物を加えるようにしてもよい。
具体的には、シリコーン樹脂粒子やポリスチレン樹脂粒子等の透明有機樹脂粒子、Al2O3、TiO2、SiO2等の金属酸化物粒子、BaSO4等の硫酸塩粒子、CaCO3等の炭酸塩粒子、ガラス微粉末やガラスバルーンなどの無機化合物粒子、ミクロエアーセル等が挙げられ、これらを単独で又は2種以上を併用して使用することができる。
反射効率や塗料の印刷性等を考慮した場合、これら材料の粒子の平均粒径は0.01〜20μm程度、特に0.05〜1μm程度であることが好ましく、また、光反射層中の含有量は0.5〜50重量%程度、特に3〜20重量%程度であることが好ましい。なお、塗料は、アクリル樹脂、ウレタン樹脂、エポキシ樹脂等の熱硬化性樹脂、或いはアクリル系、ゴム系、エラストマー系等の粘着剤をバインダーとするものを用いることができる。
なお、印刷は、スクリーン印刷以外に、たとえばオフセット印刷、グラビヤ印刷、凸版印刷、パッド印刷、インクジェット印刷等の印刷方式を採用でき、好ましくは表示プレート25の成型工程において、インライン方式で印刷するのがよい。また、印刷の厚さは、過度に薄いと光反射効率が十分でなく、逆に過度に厚くても光反射効率には大差がないにもかかわらず、印刷コストの高騰や印刷の剥離の問題も生じてくるため、これらを勘案して適切に選択するのが好ましく、通常は20〜200μm程度の厚さとすることが好ましい。
また、表示プレート25(第1プレート25a、第2プレート25b)を構成する導光板の材料としては、屈折率が高い透明材料が用いられ、メタクリル樹脂(PMMA)、アクリル樹脂等が好ましく、それ以下以外にもプラスチック、エラストマーなどの中から目的に応じて適宜選択することができ、たとえば、ポリスチレン、スチレン・メチルメタクリレート共重合体、ポリメチルペンテン、アリルグリコールカーボネート樹脂、スピラン樹脂、アモルファスポリオレフィン、ポリカーボネート、ポリアミド、ポリアリレート、ポリサルホン、ポリアリルサルホン、ポリエーテルサルホン、ポリエーテルイミド、ポリイミド、ジアリルフタレート、フッ素樹脂、ポリエステルカーボネート、ノルボルネン系樹脂(ARTON)、脂環式アクリル樹脂(オプトレッツ)、シリコーン樹脂、アクリルゴム、シリコーンゴム等の透明材料が挙げられる。
また、導光板(メタクリル樹脂、アクリル樹脂)の製法としては、セルキャスト製法や押出し製法があり、製造過程の違いから押出し板はキャスト板に比べ分子量が低く、物性的に耐熱温度・耐衝撃性・表面硬度などが若干劣るものの、熱成形しやすいメリットがあり、この製法についても目的に応じて適宜選択すればよい。本実施の形態では、キャスト板を使用している。
このように表示プレート25(第1プレート25a、第2プレート25b)は、光を拡散する模様30a、30bである発光部を印刷により形成できるので、自由な色で様々な文字やデザインを発光部として極めて容易に採用できるようになる。なお、印刷は、LED71が臨む第1プレートの下端24a、第2プレートの下端24bから1.5〜2cm程度間隔をあけて印刷するようにするとよい。これは、この端面のあまり近くに印刷すると、LED71の指向性により、印刷部30a、30bがきれいに発光しないからである。
図17は、LED71の指向性と照射領域との関係を示している。赤LED71aに注目すると、斜線部301で示す部分にはいずれの赤LED71aからも直接光が到達していない。直接光が到達する部分と到達しない部分では明暗の差が大きいので、光の筋が生じてしまう。そこで、直接光の到達しない斜線部301が基部フレーム13内に収まるように設計し、光の筋を前面板13bで覆い隠すとよい。図14に示す表示装置8では、第1プレートの下端24a、第2プレートの下端24bが前面板13bの内側に数cm入り込んでおり、前面板13bが光の筋を隠す目隠し部材としての機能を果たしている。
また、図18に示すように、LED71からの直接光の到達しない範囲301が前面板13b内にすべて収まらない場合でも、その範囲301を避けて模様302を印刷すればよい。したがって、光の筋の影響や模様の印刷を避けるべき範囲の大きさなどの事項を踏まえてLED71のピッチや指向性(視野角)、及び前面板13bの幅等を設計するとよい。
なお、第1プレート25a、第2プレート25bの肉厚は、5mm以外でも良く、ほぼ3〜7mmの範囲が適当であればよい。この範囲未満(3mm未満)になると、発光強度が低下し、一方、この範囲を超過(7mmを超過)すると、発光強度は問題ないが、表示プレート25が厚くなり、嵩張ったり、重くなったりして取り扱い上好ましくない。
図19は、LED71から入射した光の第1プレート25a、第2プレート25b内部における伝播経路を示しており、LED71から発せられた光は、一例として入射光31に示すように第1プレート25a、第2プレート25bの内部を通過し、第1プレート25a、第2プレート25bの縁部に到達した入射光31は、反射テープ26a、26bで反射して再び第1プレート25a、第2プレート25bの内部を通過する。
ここで、図20に示すように、2列に設置されたLED71から発せられる入射光31は、基部フレーム13の基部間仕切り23により反射して、必ず対応する第1プレート25a、第2プレート25b内部に入射するようになっている。すなわち、基部間仕切り23が隣のLED71からの入射光31の侵入を防止する防止部材としての機能を果たしている。これにより、第1プレート25a及び第2プレート25bの後述する点灯制御を適正なものとしている。なお、図20は、基部フレーム13内に2列に設置されたLED71から発せられる入射光31が、基部間仕切り23で反射して第1プレート25a、第2プレート25b内部に入射する様子を示す断面図である。
そして、このように第1プレート25a、第2プレート25b内部に入射した入射光31が、上記したような経路を辿る過程で印刷部30a、30bに到達すると、前記拡散反射特性により図21に示すような拡散した反射光32が発生し、この光が表示プレート25の外部に出射し、印刷部30a、30bが発光するように見える。なお、LED71が臨む第1プレートの端面24a、第2プレートの端面24bは、バフ(磨き…鏡面加工)をかけるのが好ましく、これによりさらに模様(印刷部)30a、30bの発光強度が増す。なお、図21は、LED71から入射した光が印刷部30a、30bで乱反射する様子を示している。
図22は、表示装置8の模様(印刷部30a、30b)が発光する様子を模式的に示したものである。表示プレート25(第1プレート25a、第2プレート25b)全体が光るのではなく、表示プレート25(第1プレート25a、第2プレート25b)に付した模様(印刷部30a、30b)だけが光るので、高い装飾効果を得ることができる。
ところで、模様(印刷部30)の発光色は、印刷部30の印刷色とLED71の発光色(波長)とにより決定される。すなわち、印刷部30の印刷色が無色や白色であれば、ほぼLED71の発光色が模様(印刷部30)の発光色になる。印刷部30の印刷色が有色であれば、ほぼ印刷部30の印刷色とLED71の発光色とを混合した色が模様(印刷部30)の発光色になる。またLED71の発光色が白色であれば、ほぼ印刷部30の印刷色が模様(印刷部30)の発光色となる。
図23は、LEDの発光色(波長)と模様(印刷部)30の印刷色との組み合わせ方と印刷部30の発光強度との関係を示す説明図である。図中の「A」は発光強度が強いことを、「B」はやや強いことを、「C」はやや弱いことを、「D」は非常に弱いことを、「E」が発光しないことをそれぞれ表している。
模様(印刷部)30の発光強度は、LED71の発光色(波長)と印刷部30の印刷色の双方に依存している。印刷部30の印刷色が黒色(若しくはそれに近い色)の場合には、LED71の発光色に拘わらず黒となり、模様(印刷部30)はほとんど発光しない。また、LED71の発光色と印刷部30の印刷色とが同じ場合には発光強度が強く、LED71の発光色と印刷部30の印刷色とが補色の関係に近づくほど発光強度は弱くなる。
たとえば、LEDの色が「赤」で印刷色が「緑」や「青」の場合は、補色の関係あるいは補色に近い関係にあるので発光強度はやや弱い「C」になっている。またLEDの色が「青」で印刷色がその補色の「赤」の場合にも発光強度は非常に弱い「D」になる。したがって、たとえば第1プレート25aに青の模様と赤の模様とを印刷しておき、点灯するLEDの色を青と赤とに切り替えれば、赤LEDの点灯時には赤の模様だけが発光し、青LEDの点灯時には青の模様だけが発光するので、発光する箇所が切り替わり、変化に富む装飾効果を得ることが可能になる。
次に、図24を参照しながら表示装置8の制御回路について説明する。図24は、表示装置8における制御回路の要部ブロック図である。表示装置8の制御回路は、主にLED基板70とLEDドライバ基板80とで構成され、LEDドライバ基板80は、当該装置の動作を統括制御するためのCPU(中央処理装置)81を有し、そのバス84にROM(リード・オンリ・メモリ)86と、RAM(ランダム・アクセス・メモリ)87と、入力回路82と、出力回路83とが接続されている。また、LEDドライバ基板80には、図示しない電源コードと接続された電源回路89も備えている。
入力回路82には、LED71の発光パターンや発光色を設定するディップスイッチ85が接続されており、出力回路83には、3つ直列に接続されたLEDユニット76のLED基板70が、2組並列に接続されている。そして並列に接続された2組のLED基板70は、一方が第1プレート25aに臨み、他方が第2プレート25bに臨んでいる。すなわちLEDドライバ基板80は、図示しない電源からの電気の供給を電源回路89で受け、入力回路82を介して取得したディップスイッチ85からの信号に基づいて、CPU81が出力回路83に接続されているLED基板70に取り付けられているLED71を点灯制御する。
図25は、LEDドライバ基板80がフレーム12に取り付けられるときの説明図である。LEDドライバ基板80は、底フレーム14の上板14a裏面側に螺子等で付設されるようになっている。底フレーム14の下板14bは、底フレーム14から取り外せるようになっており、これによりLEDドライバ基板80の保守等を可能にしている。
ここで図26を参照しながら、表示装置8のディップスイッチ85にて設定される発光パターンや発光色について具体的に説明する。図26は、表示装置8の点灯パターン及び点灯色の一例を示している。なお、ここでの説明では、模様(印刷部)30a、30bは全て白で印刷されているものとし、つまり第1プレート25a及び第2プレート25bの点灯色は、LED71の発光色と同じとなる。
すなわち表示装置8の点灯パターンや点灯色としては、たとえば図26に示すようなものが考えられ、まず点灯色としては、第1プレート25aと第2プレート25bとの点灯色の組合せが、赤と白、青と白、緑と白、橙と白、紫と白、水色と白の6色の組合せ中のいずれかを選択することができるようにする。第1プレート25a及び第2プレート25bの点灯色は、対応するLED71の点灯制御に基づくもので、赤、青、緑は赤LED71a、青LED71b、緑LED71cの単独点灯、橙は赤LED71aと緑LED71cとの同時点灯、紫は赤LED71aと青LED71bとの同時点灯、水色は青LED71bと緑LED71cとの同時点灯、白は赤LED71aと青LED71bと緑LED71cとの同時点灯で発色する。
次に点灯パターンとしては、第1プレート25aと第2プレート25bとの点灯パターンの組合せが、両者ともに常時点灯、常時点灯と点滅、両者の交互点滅、両者ともにグラデーション、グラデーションと点滅、常時点灯とグラデーションの6つの組合せ中のいずれかを選択することができるようにする。
点滅には高速点滅から低速点滅まで種々考えられ、たとえば50msec〜2秒ぐらいの範囲で適宜設定するようにしてもよい。またグラデーションとは、徐々に色の濃淡をつけて点灯または消灯する態様(フェードイン・フェードアウト)であり、グラデーションには同期と非同期とが考えられる。すなわち同期とは、第1プレート25aと第2プレート25bとのグラデーションの点灯時間が同じであって、且つ同じタイミングで点灯または消灯する態様であり、非同期とは、第1プレート25aと第2プレート25bとのグラデーションの点灯時間が同じであっても、異なるタイミング(タイムラグ)で点灯または消灯する態様である。このグラデーションの点灯時間やタイムラグの時間は種々考えられ、たとえばグラデーションの点灯時間を5秒〜20秒、タイムラグの時間を2秒〜18秒ぐらいの範囲で適宜設定するようにしてもよい。
このように、本実施形態では、表示装置8は第1プレート25aの模様30aと第2プレート25bの模様30bとが重なり合って所定の絵柄が表示プレート25に表示されるようになっているので、つまり第2プレート25bの模様30bも透けて視認できるようになっているので、相対的に、第1プレート25a(模様30a)と第2プレート25b(模様30b)との点灯パターン(点灯制御)を異ならせたり、第1プレート25a(模様30)aと第2プレート25b(模様30b)との点灯色をより鮮明に異ならせることで、表示装置8の装飾効果を極めて向上させることができる。
また、表示装置8の点灯制御は、基部フレーム13内の基部間仕切り23により、2列に設置されたLED71から発せられる入射光31が必ず対応する第1プレート25a、第2プレート25b内部に入射し、従って第1プレート25aに対応するLED71から発せられる入射光31が第2プレート25b内部に入射して第2プレート25bの点灯制御(点灯色や点灯パターン)に影響を及ぼしたり、第2プレート25bに対応するLED71から発せられる入射光31が第1プレート25a内部に入射して第1プレート25aの点灯制御(点灯色や点灯パターン)に影響を及ぼしたりすることがない。すなわち、表示装置8の点灯制御は、基部フレーム13内の基部間仕切り23により、第1プレート25aと第2プレート25bとが互いに影響することなくそれぞれ独立して行われる。これにより、表示装置8において第1プレート25a、第2プレート25bの模様30a、30bを所望する様々な点灯色や点灯パターンにて適正に発光することができる。
なお、本実施形態では表示プレート25において第1プレート25aに家等の風景を、第2プレート25bに煙や雪を模様30とし、表示装置8の点灯パターン及び点灯色の一例として、家等の風景を白色以外の色に、煙や雪を白色に所定の点灯パターンにて発光させるようにして、たとえば煙や雪があたかも移動しているように表示させる例を示したが、これら第1プレート25a、第2プレート25bの模様30や発光色、点灯パターン等は特に限定するものではなく、適宜に設定すればよい。たとえば色等は赤LED71a、青LED71b、緑LED71cを同時点灯してさらに種類を増やすようにしてもよい。なお色の調節は、点灯するLED71の組み合わせ方や各LED71の発光強度を変えることで無限に可能になる。たとえば、LED71に流す電流の値やオン時間を抵抗値やソフトにて制御することで発光強度を調整することができる。
図27は、表示プレート25の他の一例を示す斜視図である。これまでは表示プレート25に光を拡散する性質の模様を直接印刷にて形成したが、この例では、光を拡散する模様(発光部)30の印刷されたフィルムシート48を第2プレート25bに貼着する構成になっている。フィルムシート48は、第2プレート25bと同じ形にカットされたフィルム状のシートである。
この場合、フィルムシート48の裏面側(第2プレート25bへの貼着面と反対側)に模様(発光部)30を印刷するとよい。この理由は、第2プレート25bとフィルムシート48とを隙間ができないように密着して貼着することができ、それにより模様の発光強度を増すことができるからである。模様を裏面側に設ける場合には有色透明または無色透明のフィルムシート48を使用する。模様を表面側に設ける場合は、フィルムシート48を不透明にしてもよく、フィルムシート48自体に背景色を出す機能や反射材としての機能を持たせるようにしてもよい。
図28は、表示プレート25のさらに他の一例を示す斜視図である。ここでは、模様(発光部)30の印刷されたフィルムシートをその模様の形にカットしたカッティングシート49を第1プレート25aに貼着する構成になっている。
図27や図28のように模様30を印刷したフィルムシートを表示プレート25(第1プレート25a、第2プレート25b)に貼着するようにすれば、表示装置8のデザインを、シート(カッティングシートまたはフィルム状のシート)を剥がしたり貼ったりするだけの作業で極めて容易に変更することが可能となり、デザイン変更時のコストダウンに繋がる。特にカッティングシート49では、複数のカッティングシート49の組み合わせ方や表示プレート25(第1プレート25a、第2プレート25b)に貼着する際の配置を変えることで様々なデザインを形成することができる。
なお、表示プレート25(第1プレート25a、第2プレート25b)に模様を直接印刷する場合でも、元の印刷を消して新しいデザインの模様を印刷するようにすれば、プレート材(導光板)のリサイクルも可能になる。
図29は、表示プレート25のさらに他の一例を示す斜視図である。この例は、表示プレートの形状を、その中央部を略半円状の曲面に形成した表示プレート125とした表示装置108の例である。つまり表示プレート125は、同様な形状の第1プレート125aと第2プレート125bとが重なり合って形成されており、その上下部に平面部152が、その中央部に曲面部151が形成されている。表示プレート125の模様(発光部)としては、第2プレート125b上部の平面部152に文字(FEVER)130bと、第1プレート125aの曲面部151に模様(ライン)130aとがそれぞれ形成されている。従って、この表示プレート125(第1プレート125a、第2プレート125b)を製作する場合には、まず平板状の導光板の裏面に印刷(曲面部151用の印刷と平面部152用の印刷)を施し、その後、中央部を略半円状に曲加工すればよい。
曲加工では熱処理が発生するので、ここでは熱成形しやすい押出し製法により製造した押出し板(メタクリル樹脂、アクリル樹脂)を導光板として採用するのが好ましい。但し、前述したように押出し板はキャスト板に比べ耐衝撃性・表面硬度などが劣るので、ここではこれらを考慮して表示プレート125には、曲面部151と平面部152の表面を保護する傷付き防止コーティング147を設けている。なお傷付き防止コーティング147には、汚れを分解する光触媒(酸化チタン)を混入させてもよい。
また第1プレート125a及び第2プレート125bには、前述した反射テープ26a、26bは貼着されておらず、従って、このように構成された表示プレート125を、上記したようにプレート12に装着して成る表示装置108では、LEDから発せられた光は曲面部151と平面部152とで形成される略半円状の形状に沿って表示プレート125(第1プレート125a、第2プレート125b)の内部を伝播し、平面部152の文字(FEVER)130bと、曲面部151の模様(ライン)130aとが発光する。すなわち表示プレートは、平面だけでなく曲面の表示プレート125も採用できるので、従って周囲に目立たせることができ、高い装飾効果を得ることができる。
しかも、この表示装置108では反射テープを貼らずに、表示プレート125の下端部から入射した光を上端部から透過光233として出射し、表示プレート125の上端部周辺を照らすようになっているので、さらに装飾効果が高まる。その為、バフ(磨き…鏡面加工)は、LEDからの光が入射する表示プレート125の下端部側だけでなく、表示プレート125の上端部側にもかけてあり、これにより透過光233を強めている。但し、その分、模様の発光強度は若干弱まる。またこの場合、図示していないが、透過光233は、表示プレート125の両側端部からも出射される。これは上端部からの透過光233ほどは明るくはないものの、これによっても装飾効果が高まる。
図30は、卓上型の表示装置ではなく、壁掛け型の表示装置308の一例を示す斜視図である。図中312は、フレームであり、このフレーム312は、前述したフレーム12の基部フレーム13と同様な構成のLEDが内蔵された基部フレーム313を備えている。さらにフレーム312は、左右の側フレーム14a、14bと背板15とを備えており、側フレーム14a、14bには側間仕切り22が形成されて基部フレーム313の基部間仕切り(図示省略)と連結されてコの字状に形成されている。つまり基部フレーム313と側フレーム314a、314bとは全体でコの字状の枠をなしている。
表示プレート325(第1プレート325a、第2プレート325b)は、前述した表示プレート25とほぼ同様に構成され、異なるのは、LEDから発せられた光が表示プレート325の上端部側から入射するので、その為、バフ(磨き…鏡面加工)を表示プレート325の上端部側にかけ、それ以外の端面に反射テープを貼着していることのみである。
フレーム312は、コの字の開放部分を下に向けた状態で、左右の側フレーム314a、314bの側間仕切り322で形成されるガイド溝に沿って第1プレート325a及び第2プレート325bの上から嵌め込まれる。その後、側フレーム314a、314bに開設されている螺子穴を通して図示省略の螺子でフレーム312と第1プレート325a及び第2プレート325bとを一体に固定するようになっている。このような構成の表示装置308は、適宜手段にて壁等に取り付けられる。
次に、複数の表示装置308を連携動作させて、光源部が出射する光の色を切り替えることで模様の発光箇所を一定方向に移動させる点灯制御について説明する。図23で説明したように、LED71の発光色と模様(印刷部)30の印刷色とが同じ場合には発光強度が強く、LED71の発光色と模様(印刷部)30の印刷色とが補色の関係に近づくほど発光強度は弱くなる。
たとえば、LED71の色(光源から出射する光の色)が「緑」で印刷色が「赤」のときは模様がほとんど発光せず、印刷色が「緑」のときは強く発光する。また、LED71の色が「赤」で印刷色が「緑」のときは模様がほとんど発光せず、印刷色が「赤」のときは強く発光する。そこで、「赤」と「緑」の模様を表示プレート325上に形成しておき、LED71の色を変化させれば、模様を選択的に発光させることができる。
図31は、第1プレート325aに赤色の魚の模様161と緑色の魚の模様162とを形成したものの一例を示している。同図は、同じデザインの表示プレート325からなる表示装置308を複数(3つ)並設したものを表している。なお、海草163は青色の模様で、第2プレート325bに形成してある。
図32は、複数の表示装置308を連携動作させることで模様の発光箇所を一定方向に移動させる場合の表示状態の一例を示している。この図では一尾の魚が一定方向に泳いで移動するように点灯制御される。複数の表示装置308の表示プレートにはそれぞれ、図31に示すものと同様に赤色の魚の模様161と緑色の魚の模様162と青色の海草163とが描いてある。
同図(a)では、右端の表示装置308が有する第1プレート325aに対応する赤色のLED71aのみを点灯し、同図(b)では、その表示装置308が有する第1プレート325aに対応する緑色のLED71cのみを点灯している。同様に、同図(c)では、中央の表示装置308が有する第1プレート325aに対応する赤色のLED71aのみを点灯し、同図(d)では、その表示装置308が有する第1プレート325aに対応する緑色のLED71cのみを点灯している。同図(e)では、左端の表示装置308が有する第1プレート325aに対応する赤色のLED71aのみを点灯し、同図(f)では、その表示装置308が有する第1プレート325aに対応する緑色のLED71cのみを点灯している。なお、海草163は、各表示装置308が有する第2プレート325bに対応する青色のLED71bのみを点灯し、青色に発光している。
このような順序で3つの表示装置308が連携動作することで、魚の模様の発光箇所が3つの表示装置308をその右端から左端に向けて移動し、一匹の魚がこれらの表示装置308上をその右端から左端へと泳いで行く様子が演出表示される。
上記のような点灯制御を実現するには、各表示装置308のLEDドライバ基板を電気的に接続し、各LEDドライバ基板が所定の信号を授受して所定の点灯態様を行うことで達成できる。たとえば、各LEDドライバ基板は、隣りのLEDドライバ基板から所定の連携パターン信号を受け取ると、まず第1プレート325aに対応する赤色のLED71aを所定時間点灯(たとえば0.3秒)し、続いて第1プレート325aに対応する緑色のLED71cを同じ時間点灯し、一方第2プレート325bに対応する青色のLED71bは赤、緑色LED71a、71cの点灯時間を合わせた時間(たとえば0.6秒)だけ点灯し、隣りのLEDドライバ基板に連携パターン信号を出力する。これにより、発光する模様の位置が3つの表示装置308の端から端へと順に移動するようになる。
図33は、図24に示すディップスイッチ85に替えて、リモコン装置87にて発光パターンや発光色を設定する場合の表示装置における制御回路の要部ブロック図である。図33に示すように、LEDドライバ基板180において、リモコン装置87の押下信号は受信回路88にて無線で受信され、この受信回路88にて受信した押下信号が入力回路82に入力されるもので、これにより表示プレートの点灯態様、即ちLED71の点灯色や点灯パターンを設定または設定変更するようになっている。
以上、本発明の実施の形態を図面によって説明してきたが、具体的な構成は実施の形態に示したものに限られるものではなく、本発明の要旨を逸脱しない範囲における変更や追加があっても本発明に含まれる。
実施の形態では、表示プレート25は2枚の導光板(第1プレート25a、第2プレート25b)にて形成したが、これは3枚以上であってもよい。また、表示プレート25を正面視したときに、第1プレート25aの模様(印刷部)30aと第2プレート25bの模様(印刷部)30bとが重ならないようにしたが、これは所定の箇所が重なるようにしてもよい。模様同士が重なると、その重なった箇所ではLED71の点灯、不点灯に拘わらず色合いが変わり、表示プレート25の趣が変化するので、これを上手く活用して適宜に模様を施すようにすればよい。
また、壁掛けタイプのフレームでは、コの字状のフレーム312を一例として示したが、フレームの形状はこれに限定されるものではない。たとえば、表示プレートの周囲4辺を取り囲む枠でも、周囲の対向する2辺で挟み込むようにして表示プレートを支持する枠でもよい。また、L字状のフレームでも、表示プレートの1辺だけを支持するもの、たとえばプレートの端部を表裏両面から挟み込んで支持するようなものであってもよい。
また、表示装置8では、基部フレーム13が光の筋を隠す目隠し部材としての機能を果たすように、前面板13bをLED71の端部から下方数cm程度まで覆い隠すように形成したが、どの程度の範囲を目隠しするかは適宜に設定すればよい。LED71の端部から下方数ミリであってもかまわない。また、光の筋を装飾効果として意図的に遊技者に見せるように構成してもよい。なお、フレーム自体に目隠し機能を持たせる代わりに、別体の目隠し部材をフレームや表示プレートに取り付けるようにしてもよい。
また、表示装置8では、基部フレーム13が2列に設置されたLED71から発せられる入射光31が必ず対応する第1プレート25a、第2プレート25b内部に入射するように、つまり隣接する入射光31の侵入を防止する防止部材としての機能を果たすように、基部間仕切り23を上記前面板13bと同じ大きさに形成したが、この基部間仕切り23の大きさは、LED71の指向性に合わせて適宜に設定すればよい。要は、隣接する入射光31の侵入を防止できればよい。
また、第1プレート25aと第2プレート25bとは、基部間仕切り23の厚みだけ間隔があくので、この間隔から塵等が侵入するのを防止する防塵手段を設けるようにしてもよい。この防塵手段としては、たとえば第1プレート25a及び第2プレートの25bの光が入射する箇所を除く端面を跨ぐようにテープを貼ったり、プレートを付設してこの間隔を塞ぐようにすること等が考えられる。さらに、このようにすれば、第1プレート25aと第2プレート25bとの相対位置を、より精度高く固定することもできる。勿論、防塵手段とは別に、ピン等で第1プレート25aと第2プレート25bとを固定するようにしてもよい。
このほか、表示装置8は、所定時間が経過すると自動的に点灯態様が変化するように構成してもよい。たとえば、朝、昼、夜で点灯色を、それに合った色調に変更するなどである。また、表示装置8は、電源コードによる外部からの電気供給(たとえばAC100V商用電源)に限らず、たとえば底フレーム14に内蔵させた燃料電池から電気を供給するようにしてもよい。
また、フレーム12への光源の内蔵方法は実施の形態で例示したものに限定されない。たとえば、光源を連結可能な複数の光源ユニットで構成したが、フレームの幅に応じた1つの光源ユニットを収めるように構成してもよい。また、フレームに光源を直接取り付けてもよい。すなわち、LED基板をフレームに螺子などで直接取りつけてもよい。
また実施の形態では、図24に示したように、第1プレート25aまたは第2プレート25bに臨む3つのLED基板70を直列に出力回路83に接続して、各プレート25aまたは25bに臨む3つのLED基板70単位でLED71の点灯制御を行うようにしたが、これは、LED基板70をひとつずつ出力回路83に接続して、各LED基板70単位でLED71の点灯制御を行うようにしてもよく、さらには、個々のLED71単位で点灯制御を行うようにしてもよい。このようにすれば、たとえば1つの表示装置8内で模様を所望の色で横方向に順次発光させたりすることもでき、さらに複雑な発光パターンを行うこができるようになる。
なお、LED71はフルカラーのLEDを採用しても良く、更に、ランプ型に限らず、表面実装型のチップLEDであってもよい。
このほか実施の形態では、表示プレートの1つの端面のみから光源の光を照射するように構成したが、2以上の端面から光を照射してもよい。たとえば、表示プレートが縦方向に長くて一方の端面から光を照射しただけでは光が他端まで到達し難い場合には、対向する両端面から光を照射するように構成するとよい。
さらに、実施の形態では、模様の色とLEDの発光色との組み合わせにより模様を選択的に発光させるものの一例を図31及び図32において説明したが、模様の色や配置、大きさなどはこれらの図に例示したものに限定されない。また、模様の移動パターンは図32に示すような一定方向に順に移動するものに限らず、たとえば、模様が行ったり来たりしながら進むように構成してもよい。
次に特許請求の範囲の構成と、本発明の実施形態との主な対応を説明する。模様は模様(印刷部)30、30a、30bに相当し、第1表示プレートは第1プレート25aに相当し、第2表示プレートは第2プレート25bに相当し、フレームはフレーム12に相当し、第1表示プレートの端面は第1プレートの下端(光の入射端面)24aに相当し、第1光源部は第1プレート25aに対応するLEDユニット76に相当し、第2表示プレートの端面は第2プレートの下端(光の入射端面)24bに相当し、第2光源部は第2プレート25bに対応するLEDユニット76に相当し、制御部はLEDドライバ基板80に相当し、フィルムシートはフィルムシート48に相当し、模様の形に切り取られたフィルムシートはカッティングシート49に相当し、防止部材は基部間仕切り23に相当し、目隠し部は前面板13bに相当し、光源部からの直接光が到達しない範囲を避けて付してある模様は模様302に相当し、反射材は反射テープ26a、26bに相当し、一部が曲面状に形成されている第1表示プレートは第1プレート125aに相当し、一部が曲面状に形成されている第2表示プレートは第2プレート125bに相当し、表示プレートの入射した端面と異なる端面から出射する光は透過光233に相当し、光源ユニットはLEDユニット76に相当し、嵌合凸部は嵌合凸部56に相当し、嵌合凹部は嵌合凹部57に相当し、ワイヤハーネスはワイヤハーネス77に相当し、収納壁は収納壁59a,59bに相当し、発光ダイオードはLED71、赤LED71a、青LED71b、緑LED71cに相当し、発光ダイオードの取り付け基板はLED取付基板72に相当し、反射層は反射層74に相当し、点灯設定手段はディップスイッチ85、リモコン装置187に相当し、遮蔽部材は防塵手段に相当する。
8…表示装置、 12…フレーム、
13…基部フレーム、 13b…前面板、
14…底フレーム、 14a…上板、
14b…下板、 15…背板、 17…ワイヤハーネス、
19…雄コネクタ、 23…基部間仕切り、
24a…第1プレートの下端(光の入射端面)、
24b…第2プレートの下端(光の入射端面)、 25…表示プレート、
25a…第1プレート、 25b…第2プレート、
26a、26b…反射テープ、 27、28…反射シート、
30、30a、30b…模様(印刷部)、 31…入射光、
32…反射光、 47a、47b、47c、47d…ストッパ片、
48…フィルムシート、 49…カッティングシート、
55…支持板、 56…嵌合凸部、
57…嵌合凹部、 58a、58b…切欠、
59a、59b…収納壁、 70…LED基板、
71…LED、 71a…赤LED、
71b…青LED、 71c…緑LED、
72…LED取付基板、 73…ベース基板、
73a…裏面、 74…反射層、
75a、75b…雌コネクタ、 76…LEDユニット、
77…ワイヤハーネス、 78…雄コネクタ、
80…LEDドライバ基板、 81…CPU、
82…入力回路、 83…出力回路、
84…バス、 85…ディップスイッチ、
86…ROM、 87…RAM、
88…ハーネス、 89…電源回路、
108…表示装置、 112…フレーム、
125…表示プレート、 125a…第1プレート、
125b…第2プレート、 130a、130b…模様(印刷部)、
147…傷付き防止コーティング、 151…曲面部、
152…平面部、 161…赤色の魚の模様、
162…緑色の魚の模様、 163…白色の海草の模様、
180…LEDドライバ基板、 187…リモコン装置、
188…受信回路、 233…透過光、
301…斜線部、 302…模様
308…表示装置、 312…フレーム、
313…基部フレーム、 314a、314b…側フレーム、
315…背板、 322…側間仕切り、
325…表示プレート、 325a…第1プレート、
325b…第2プレート、
13…基部フレーム、 13b…前面板、
14…底フレーム、 14a…上板、
14b…下板、 15…背板、 17…ワイヤハーネス、
19…雄コネクタ、 23…基部間仕切り、
24a…第1プレートの下端(光の入射端面)、
24b…第2プレートの下端(光の入射端面)、 25…表示プレート、
25a…第1プレート、 25b…第2プレート、
26a、26b…反射テープ、 27、28…反射シート、
30、30a、30b…模様(印刷部)、 31…入射光、
32…反射光、 47a、47b、47c、47d…ストッパ片、
48…フィルムシート、 49…カッティングシート、
55…支持板、 56…嵌合凸部、
57…嵌合凹部、 58a、58b…切欠、
59a、59b…収納壁、 70…LED基板、
71…LED、 71a…赤LED、
71b…青LED、 71c…緑LED、
72…LED取付基板、 73…ベース基板、
73a…裏面、 74…反射層、
75a、75b…雌コネクタ、 76…LEDユニット、
77…ワイヤハーネス、 78…雄コネクタ、
80…LEDドライバ基板、 81…CPU、
82…入力回路、 83…出力回路、
84…バス、 85…ディップスイッチ、
86…ROM、 87…RAM、
88…ハーネス、 89…電源回路、
108…表示装置、 112…フレーム、
125…表示プレート、 125a…第1プレート、
125b…第2プレート、 130a、130b…模様(印刷部)、
147…傷付き防止コーティング、 151…曲面部、
152…平面部、 161…赤色の魚の模様、
162…緑色の魚の模様、 163…白色の海草の模様、
180…LEDドライバ基板、 187…リモコン装置、
188…受信回路、 233…透過光、
301…斜線部、 302…模様
308…表示装置、 312…フレーム、
313…基部フレーム、 314a、314b…側フレーム、
315…背板、 322…側間仕切り、
325…表示プレート、 325a…第1プレート、
325b…第2プレート、
Claims (18)
- 光を拡散する性質の塗料で模様を導光板に印刷した第1表示プレート及び第2表示プレートと、この第1表示プレート及び第2表示プレートを着脱可能に支持するフレームと、このフレームに装着された第1表示プレートの端面に光を照射する第1光源部及び第2表示プレートの端面に光を照射する第2光源部と、前記第1光源部及び第2光源部の点灯パターンを制御する制御部とを備え、
前記第1表示プレートは前記第2表示プレートの前面側に位置し、該第1表示プレート及び第2表示プレートの一部または全部が重なり合って所定の模様が形成されることを特徴とする表示装置。 - 光を拡散する性質の塗料で模様を印刷したフィルムシートを導光板に貼着した第1表示プレート及び第2表示プレートと、この第1表示プレート及び第2表示プレートを着脱可能に支持するフレームと、このフレームに装着された第1表示プレートの端面に光を照射する第1光源部及び第2表示プレートの端面に光を照射する第2光源部と、前記第1光源部及び第2光源部の点灯パターンを制御する制御部とを備え、
前記第1表示プレートは前記第2表示プレートの前面側に位置し、該第1表示プレート及び第2表示プレートの一部または全部が重なり合って所定の模様が形成されることを特徴とする表示装置。 - 前記フィルムシートは、模様の形に切り取られたものであることを特徴とする請求項2に記載の表示装置。
- 前記第1光源部または/及び第2光源部は、出射する光の色を切り替え可能であり、前記制御部は、前記第1光源部または/及び第2光源部が出射する光の色を切り替えることを特徴とする請求項1乃至請求項3の何れかに記載の表示装置。
- 前記フレームは、前記第1光源部から出射された光が前記第2表示プレートの端面に、及び第2光源部から出射された光が前記第1表示プレートの端面に入射するのを防止する防止部材を有することを特徴とする請求項1乃至請求項4の何れかに記載の表示装置。
- 前記フレームに装着された第1表示プレート及び第2表示プレートの端面と、この端面に臨む前記第1光源部及び第2光源部との間に所定の隙間が確保されることを特徴とする請求項1乃至請求項5の何れかに記載の表示装置。
- 前記第1光源部及び第2光源部は、前記フレームに内蔵されていることを特徴とする請求項1乃至請求項6の何れかに記載の表示装置。
- 前記フレームは、装着された第1表示プレート及び第2表示プレートのうち前記第1光源部及び第2光源部から所定距離の範囲内にある部分を覆い隠す目隠し部を有することを特徴とする請求項1乃至請求項7の何れかに記載の表示装置。
- 前記第1表示プレート及び第2表示プレートには、前記第1光源部及び第2光源部に臨む端面の近傍において、この第1光源部及び第2光源部からの直接光が到達しない範囲を避けて模様を付してあることを特徴とする請求項1乃至請求項8の何れかに記載の表示装置。
- 前記第1表示プレート及び第2表示プレートの前記第1光源部及び第2光源部からの光が入射する箇所を除く端面に反射材を設けたことを特徴とする請求項1乃至請求項9の何れかに記載の表示装置。
- 前記第1光源部及び第2光源部からの光が入射される前記第1表示プレート及び第2表示プレートの端面に、鏡面加工を施したことを特徴とする請求項1乃至請求項10の何れかに記載の表示装置。
- 前記第1表示プレートまたは/及び第2表示プレートは、その一部または全部が曲面状に形成されていることを特徴とする請求項1乃至請求項11の何れかに記載の遊技機における表示装置。
- 前記第1光源部及び第2光源部から入射された光が、この第1表示プレート及び第2表示プレートの入射した端面と異なる端面から出射するようにしたことを特徴とする請求項1乃至請求項12の何れかに記載の表示装置。
- 前記第1光源部及び第2光源部は、複数の光源ユニットからなり、各光源ユニットは、一端に嵌合凸部を他端に嵌合凹部を備え、隣り合うものの嵌合凸部と嵌合凹部とを嵌合させることで複数を一列に連結可能に構成されていることを特徴とする請求項1乃至請求項13の何れかに記載の表示装置。
- 各光源ユニットは、隣り合う光源ユニット同士を接続するワイヤハーネスを収容可能な収納壁を有することを特徴とする請求項14に記載の表示装置。
- 前記第1光源部及び第2光源部の光源は発光ダイオードであり、この発光ダイオードの取り付け基板の表面に光の反射層を設けたことを特徴とする請求項1乃至請求項15の何れかに記載の表示装置。
- 前記制御部の点灯制御を所定の点灯パターンに設定する点灯設定手段を備えたことを特徴とする請求項1乃至請求項16の何れかに記載の表示装置。
- 前記第1表示プレートと第2表示プレートとの隙間を覆う遮蔽部材を備えたことを特徴とする請求項1乃至請求項17の何れかに記載の表示装置。
Priority Applications (1)
| Application Number | Priority Date | Filing Date | Title |
|---|---|---|---|
| JP2005019554A JP2006208660A (ja) | 2005-01-27 | 2005-01-27 | 表示装置 |
Applications Claiming Priority (1)
| Application Number | Priority Date | Filing Date | Title |
|---|---|---|---|
| JP2005019554A JP2006208660A (ja) | 2005-01-27 | 2005-01-27 | 表示装置 |
Publications (1)
| Publication Number | Publication Date |
|---|---|
| JP2006208660A true JP2006208660A (ja) | 2006-08-10 |
Family
ID=36965605
Family Applications (1)
| Application Number | Title | Priority Date | Filing Date |
|---|---|---|---|
| JP2005019554A Pending JP2006208660A (ja) | 2005-01-27 | 2005-01-27 | 表示装置 |
Country Status (1)
| Country | Link |
|---|---|
| JP (1) | JP2006208660A (ja) |
Cited By (13)
| Publication number | Priority date | Publication date | Assignee | Title |
|---|---|---|---|---|
| JP2008062807A (ja) * | 2006-09-07 | 2008-03-21 | Ichikoh Ind Ltd | 自動車用ドアミラー |
| JP2008241836A (ja) * | 2007-03-26 | 2008-10-09 | Oji Paper Co Ltd | サイン表示体およびサイン表示装置 |
| US7914195B2 (en) | 2008-02-28 | 2011-03-29 | Omron Corporation | Display device |
| JP2011100026A (ja) * | 2009-11-06 | 2011-05-19 | Taito Corp | 表示装置 |
| KR101047624B1 (ko) * | 2009-10-28 | 2011-07-07 | 엘지이노텍 주식회사 | 정보 출력 장치 및 방법 |
| JP2012141342A (ja) * | 2010-12-28 | 2012-07-26 | Sumitomo Bakelite Co Ltd | 表示用パネル |
| GB2510161A (en) * | 2013-01-28 | 2014-07-30 | Catchenergy Ltd | Edge-lit display apparatus with interchangeable display panel |
| JP2014180421A (ja) * | 2013-03-19 | 2014-09-29 | Universal Entertainment Corp | 遊技機 |
| JP2016212335A (ja) * | 2015-05-13 | 2016-12-15 | 賢三 伊達 | 展示品及びフレーム |
| JP2017159126A (ja) * | 2017-06-21 | 2017-09-14 | 株式会社ユニバーサルエンターテインメント | 遊技機 |
| JP2017159127A (ja) * | 2017-06-21 | 2017-09-14 | 株式会社ユニバーサルエンターテインメント | 遊技機 |
| KR20180080418A (ko) * | 2017-01-03 | 2018-07-12 | 이재석 | 엘이디 안내판 |
| JP2023026049A (ja) * | 2021-08-12 | 2023-02-24 | 株式会社ムービック | ライティングアクリルスタンド及びその製造方法 |
-
2005
- 2005-01-27 JP JP2005019554A patent/JP2006208660A/ja active Pending
Cited By (16)
| Publication number | Priority date | Publication date | Assignee | Title |
|---|---|---|---|---|
| JP2008062807A (ja) * | 2006-09-07 | 2008-03-21 | Ichikoh Ind Ltd | 自動車用ドアミラー |
| JP2008241836A (ja) * | 2007-03-26 | 2008-10-09 | Oji Paper Co Ltd | サイン表示体およびサイン表示装置 |
| US7914195B2 (en) | 2008-02-28 | 2011-03-29 | Omron Corporation | Display device |
| KR101030635B1 (ko) * | 2008-02-28 | 2011-04-20 | 오므론 가부시키가이샤 | 표시 장치 |
| KR101047624B1 (ko) * | 2009-10-28 | 2011-07-07 | 엘지이노텍 주식회사 | 정보 출력 장치 및 방법 |
| JP2011100026A (ja) * | 2009-11-06 | 2011-05-19 | Taito Corp | 表示装置 |
| JP2012141342A (ja) * | 2010-12-28 | 2012-07-26 | Sumitomo Bakelite Co Ltd | 表示用パネル |
| GB2510161A (en) * | 2013-01-28 | 2014-07-30 | Catchenergy Ltd | Edge-lit display apparatus with interchangeable display panel |
| JP2014180421A (ja) * | 2013-03-19 | 2014-09-29 | Universal Entertainment Corp | 遊技機 |
| JP2016212335A (ja) * | 2015-05-13 | 2016-12-15 | 賢三 伊達 | 展示品及びフレーム |
| KR20180080418A (ko) * | 2017-01-03 | 2018-07-12 | 이재석 | 엘이디 안내판 |
| KR101884669B1 (ko) | 2017-01-03 | 2018-08-31 | 이재석 | 엘이디 안내판 |
| JP2017159126A (ja) * | 2017-06-21 | 2017-09-14 | 株式会社ユニバーサルエンターテインメント | 遊技機 |
| JP2017159127A (ja) * | 2017-06-21 | 2017-09-14 | 株式会社ユニバーサルエンターテインメント | 遊技機 |
| JP2023026049A (ja) * | 2021-08-12 | 2023-02-24 | 株式会社ムービック | ライティングアクリルスタンド及びその製造方法 |
| JP7506412B2 (ja) | 2021-08-12 | 2024-06-26 | 株式会社ムービック | ライティングアクリルスタンド及びその製造方法 |
Similar Documents
| Publication | Publication Date | Title |
|---|---|---|
| US5276591A (en) | Sign with indirect illumination from light emitting diodes | |
| JP3887491B2 (ja) | 遊技機 | |
| US7163322B2 (en) | Illumination device for license plate | |
| JP7224460B2 (ja) | 照明装置 | |
| US9396617B2 (en) | Reel band for gaming machine and gaming machine | |
| JPWO2014129577A1 (ja) | 表示装置 | |
| JP2006208660A (ja) | 表示装置 | |
| JP2005038768A (ja) | 面光源装置およびこれを用いた表示装置 | |
| JP2007037891A (ja) | 遊技機における装飾表示装置 | |
| JP2006322968A (ja) | 表示装置 | |
| JP2006288599A (ja) | 遊技機における装飾表示装置 | |
| JP2004317976A (ja) | ライトガイド | |
| JP2018170132A (ja) | 照明装置および照明システム | |
| JP4650165B2 (ja) | 装飾装置及び遊技機 | |
| JP2011100701A (ja) | 両面発光型パネル及び表示装置 | |
| JP2006204484A (ja) | 表示装置 | |
| JP2007101847A (ja) | 表示装置 | |
| JP2006288597A (ja) | 遊技機における装飾表示装置 | |
| CN215186968U (zh) | 摄像头装饰组件及终端 | |
| JP2006288596A (ja) | 遊技機における装飾表示装置 | |
| JP4544900B2 (ja) | 表示装置 | |
| JP2007097799A (ja) | 遊技機における装飾表示装置 | |
| JP2013182854A (ja) | 照明装置及びそれを備えた表示装置 | |
| JP4544899B2 (ja) | 表示装置 | |
| JP2003050555A (ja) | 屋外用看板装置 |