JP2007101847A - 表示装置 - Google Patents
表示装置 Download PDFInfo
- Publication number
- JP2007101847A JP2007101847A JP2005290891A JP2005290891A JP2007101847A JP 2007101847 A JP2007101847 A JP 2007101847A JP 2005290891 A JP2005290891 A JP 2005290891A JP 2005290891 A JP2005290891 A JP 2005290891A JP 2007101847 A JP2007101847 A JP 2007101847A
- Authority
- JP
- Japan
- Prior art keywords
- plate
- light
- display
- pattern
- display plate
- Prior art date
- Legal status (The legal status is an assumption and is not a legal conclusion. Google has not performed a legal analysis and makes no representation as to the accuracy of the status listed.)
- Pending
Links
- 239000000758 substrate Substances 0.000 claims abstract description 73
- 239000003973 paint Substances 0.000 claims abstract description 9
- 239000000463 material Substances 0.000 claims description 16
- 230000001678 irradiating effect Effects 0.000 claims description 9
- 230000002265 prevention Effects 0.000 claims description 4
- 230000000694 effects Effects 0.000 abstract description 53
- 238000005034 decoration Methods 0.000 abstract description 15
- 238000013461 design Methods 0.000 abstract description 13
- NIXOWILDQLNWCW-UHFFFAOYSA-N acrylic acid group Chemical group C(C=C)(=O)O NIXOWILDQLNWCW-UHFFFAOYSA-N 0.000 abstract description 2
- 230000001902 propagating effect Effects 0.000 abstract 1
- 238000007639 printing Methods 0.000 description 67
- 238000005192 partition Methods 0.000 description 20
- 238000000034 method Methods 0.000 description 11
- 230000008859 change Effects 0.000 description 9
- 238000005520 cutting process Methods 0.000 description 9
- 238000010586 diagram Methods 0.000 description 9
- 239000002245 particle Substances 0.000 description 9
- 239000003086 colorant Substances 0.000 description 8
- 229920000178 Acrylic resin Polymers 0.000 description 7
- 239000004925 Acrylic resin Substances 0.000 description 7
- 230000004397 blinking Effects 0.000 description 7
- 239000011248 coating agent Substances 0.000 description 7
- 238000000576 coating method Methods 0.000 description 7
- 239000011347 resin Substances 0.000 description 7
- 229920005989 resin Polymers 0.000 description 7
- 238000004519 manufacturing process Methods 0.000 description 6
- 230000000295 complement effect Effects 0.000 description 5
- 230000006870 function Effects 0.000 description 5
- 230000008569 process Effects 0.000 description 5
- 241000353204 Girella Species 0.000 description 4
- 241001290266 Sciaenops ocellatus Species 0.000 description 4
- 230000001965 increasing effect Effects 0.000 description 4
- 239000000113 methacrylic resin Substances 0.000 description 4
- 238000005498 polishing Methods 0.000 description 4
- 241000251468 Actinopterygii Species 0.000 description 3
- 241001474374 Blennius Species 0.000 description 3
- GWEVSGVZZGPLCZ-UHFFFAOYSA-N Titan oxide Chemical compound O=[Ti]=O GWEVSGVZZGPLCZ-UHFFFAOYSA-N 0.000 description 3
- 238000001125 extrusion Methods 0.000 description 3
- 239000011521 glass Substances 0.000 description 3
- 238000007747 plating Methods 0.000 description 3
- 239000000779 smoke Substances 0.000 description 3
- 229920003002 synthetic resin Polymers 0.000 description 3
- 239000000057 synthetic resin Substances 0.000 description 3
- 239000012780 transparent material Substances 0.000 description 3
- VTYYLEPIZMXCLO-UHFFFAOYSA-L Calcium carbonate Chemical compound [Ca+2].[O-]C([O-])=O VTYYLEPIZMXCLO-UHFFFAOYSA-L 0.000 description 2
- BVKZGUZCCUSVTD-UHFFFAOYSA-L Carbonate Chemical compound [O-]C([O-])=O BVKZGUZCCUSVTD-UHFFFAOYSA-L 0.000 description 2
- VYPSYNLAJGMNEJ-UHFFFAOYSA-N Silicium dioxide Chemical compound O=[Si]=O VYPSYNLAJGMNEJ-UHFFFAOYSA-N 0.000 description 2
- TZCXTZWJZNENPQ-UHFFFAOYSA-L barium sulfate Chemical compound [Ba+2].[O-]S([O-])(=O)=O TZCXTZWJZNENPQ-UHFFFAOYSA-L 0.000 description 2
- 239000000428 dust Substances 0.000 description 2
- 229920001971 elastomer Polymers 0.000 description 2
- 238000005530 etching Methods 0.000 description 2
- 238000002156 mixing Methods 0.000 description 2
- 230000002093 peripheral effect Effects 0.000 description 2
- 239000000049 pigment Substances 0.000 description 2
- 229920003229 poly(methyl methacrylate) Polymers 0.000 description 2
- -1 polyallylsulfone Polymers 0.000 description 2
- 239000004926 polymethyl methacrylate Substances 0.000 description 2
- 238000007650 screen-printing Methods 0.000 description 2
- 229920002050 silicone resin Polymers 0.000 description 2
- GCYHRYNSUGLLMA-UHFFFAOYSA-N 2-prop-2-enoxyethanol Chemical compound OCCOCC=C GCYHRYNSUGLLMA-UHFFFAOYSA-N 0.000 description 1
- 239000004641 Diallyl-phthalate Substances 0.000 description 1
- 241000442132 Lactarius lactarius Species 0.000 description 1
- 239000004952 Polyamide Substances 0.000 description 1
- 239000004695 Polyether sulfone Substances 0.000 description 1
- 239000004697 Polyetherimide Substances 0.000 description 1
- 239000004642 Polyimide Substances 0.000 description 1
- 239000004793 Polystyrene Substances 0.000 description 1
- 239000004820 Pressure-sensitive adhesive Substances 0.000 description 1
- 206010037660 Pyrexia Diseases 0.000 description 1
- 229920007962 Styrene Methyl Methacrylate Polymers 0.000 description 1
- QAOWNCQODCNURD-UHFFFAOYSA-L Sulfate Chemical compound [O-]S([O-])(=O)=O QAOWNCQODCNURD-UHFFFAOYSA-L 0.000 description 1
- 238000007792 addition Methods 0.000 description 1
- 125000002723 alicyclic group Chemical group 0.000 description 1
- 229910052782 aluminium Inorganic materials 0.000 description 1
- XAGFODPZIPBFFR-UHFFFAOYSA-N aluminium Chemical compound [Al] XAGFODPZIPBFFR-UHFFFAOYSA-N 0.000 description 1
- PNEYBMLMFCGWSK-UHFFFAOYSA-N aluminium oxide Inorganic materials [O-2].[O-2].[O-2].[Al+3].[Al+3] PNEYBMLMFCGWSK-UHFFFAOYSA-N 0.000 description 1
- 238000013459 approach Methods 0.000 description 1
- 239000011324 bead Substances 0.000 description 1
- 238000005452 bending Methods 0.000 description 1
- 230000008901 benefit Effects 0.000 description 1
- QUDWYFHPNIMBFC-UHFFFAOYSA-N bis(prop-2-enyl) benzene-1,2-dicarboxylate Chemical compound C=CCOC(=O)C1=CC=CC=C1C(=O)OCC=C QUDWYFHPNIMBFC-UHFFFAOYSA-N 0.000 description 1
- 229910000019 calcium carbonate Inorganic materials 0.000 description 1
- 235000010216 calcium carbonate Nutrition 0.000 description 1
- 238000005266 casting Methods 0.000 description 1
- 229910052681 coesite Inorganic materials 0.000 description 1
- 239000004020 conductor Substances 0.000 description 1
- 229910052593 corundum Inorganic materials 0.000 description 1
- 229910052906 cristobalite Inorganic materials 0.000 description 1
- 238000011161 development Methods 0.000 description 1
- 239000000806 elastomer Substances 0.000 description 1
- 230000005611 electricity Effects 0.000 description 1
- 230000002708 enhancing effect Effects 0.000 description 1
- 239000003822 epoxy resin Substances 0.000 description 1
- 239000000446 fuel Substances 0.000 description 1
- 238000007646 gravure printing Methods 0.000 description 1
- 230000003760 hair shine Effects 0.000 description 1
- 238000010438 heat treatment Methods 0.000 description 1
- 238000007641 inkjet printing Methods 0.000 description 1
- 150000002484 inorganic compounds Chemical class 0.000 description 1
- 229910010272 inorganic material Inorganic materials 0.000 description 1
- 238000007644 letterpress printing Methods 0.000 description 1
- 239000004973 liquid crystal related substance Substances 0.000 description 1
- 238000004020 luminiscence type Methods 0.000 description 1
- 239000011159 matrix material Substances 0.000 description 1
- 229910052751 metal Inorganic materials 0.000 description 1
- 239000002184 metal Substances 0.000 description 1
- 229910044991 metal oxide Inorganic materials 0.000 description 1
- 150000004706 metal oxides Chemical class 0.000 description 1
- 125000005641 methacryl group Chemical group 0.000 description 1
- ADFPJHOAARPYLP-UHFFFAOYSA-N methyl 2-methylprop-2-enoate;styrene Chemical compound COC(=O)C(C)=C.C=CC1=CC=CC=C1 ADFPJHOAARPYLP-UHFFFAOYSA-N 0.000 description 1
- 238000000465 moulding Methods 0.000 description 1
- JFNLZVQOOSMTJK-KNVOCYPGSA-N norbornene Chemical compound C1[C@@H]2CC[C@H]1C=C2 JFNLZVQOOSMTJK-KNVOCYPGSA-N 0.000 description 1
- 238000007645 offset printing Methods 0.000 description 1
- 150000002894 organic compounds Chemical class 0.000 description 1
- 238000007649 pad printing Methods 0.000 description 1
- 239000011941 photocatalyst Substances 0.000 description 1
- 230000000704 physical effect Effects 0.000 description 1
- 229920002492 poly(sulfone) Polymers 0.000 description 1
- 229920002647 polyamide Polymers 0.000 description 1
- 229920001230 polyarylate Polymers 0.000 description 1
- 239000004417 polycarbonate Substances 0.000 description 1
- 229920000515 polycarbonate Polymers 0.000 description 1
- 229920000647 polyepoxide Polymers 0.000 description 1
- 229920000728 polyester Polymers 0.000 description 1
- 229920006393 polyether sulfone Polymers 0.000 description 1
- 229920001601 polyetherimide Polymers 0.000 description 1
- 229920001721 polyimide Polymers 0.000 description 1
- 229920000306 polymethylpentene Polymers 0.000 description 1
- 239000011116 polymethylpentene Substances 0.000 description 1
- 229920000098 polyolefin Polymers 0.000 description 1
- 229920002223 polystyrene Polymers 0.000 description 1
- 229920005990 polystyrene resin Polymers 0.000 description 1
- 239000000843 powder Substances 0.000 description 1
- 238000012545 processing Methods 0.000 description 1
- 230000005855 radiation Effects 0.000 description 1
- 238000004064 recycling Methods 0.000 description 1
- 230000009467 reduction Effects 0.000 description 1
- 239000000377 silicon dioxide Substances 0.000 description 1
- 235000012239 silicon dioxide Nutrition 0.000 description 1
- 229920002379 silicone rubber Polymers 0.000 description 1
- 239000004945 silicone rubber Substances 0.000 description 1
- 229910000679 solder Inorganic materials 0.000 description 1
- 229910052682 stishovite Inorganic materials 0.000 description 1
- 230000009182 swimming Effects 0.000 description 1
- 230000001360 synchronised effect Effects 0.000 description 1
- 238000003856 thermoforming Methods 0.000 description 1
- 229920002803 thermoplastic polyurethane Polymers 0.000 description 1
- 229920001187 thermosetting polymer Polymers 0.000 description 1
- OGIDPMRJRNCKJF-UHFFFAOYSA-N titanium oxide Inorganic materials [Ti]=O OGIDPMRJRNCKJF-UHFFFAOYSA-N 0.000 description 1
- 229910052905 tridymite Inorganic materials 0.000 description 1
- 229910001845 yogo sapphire Inorganic materials 0.000 description 1
Images
Landscapes
- Illuminated Signs And Luminous Advertising (AREA)
Abstract
【課題】 模様自体が明るく発光して高い装飾効果が得られ、意匠パターンの変更が容易であり、且つ安価で取り扱いに優れた装飾効果の高い薄型の表示装置を提供する。
【解決手段】 壁掛け用等に使用できる表示装置を、アクリル板などの導光板に光を拡散する性質の塗料で模様を印刷した2枚の表示プレート55(第1プレート55a、第2プレート55b)と、この2枚の表示プレート55を着脱可能に支持するフレーム62と、このフレーム62に装着された表示プレート55の端面に光を照射する光源部(LED基板70)とで構成する。表示プレート55内を伝播する光が模様に当たると拡散して模様が発光するので、光源部を制御して2枚の表示プレート55の模様を個別に所望の色や点灯パターンにて発光可能になると共に、LED基板70が立設して装着されているので表示装置の厚みを薄くできる。
【選択図】 図7
【解決手段】 壁掛け用等に使用できる表示装置を、アクリル板などの導光板に光を拡散する性質の塗料で模様を印刷した2枚の表示プレート55(第1プレート55a、第2プレート55b)と、この2枚の表示プレート55を着脱可能に支持するフレーム62と、このフレーム62に装着された表示プレート55の端面に光を照射する光源部(LED基板70)とで構成する。表示プレート55内を伝播する光が模様に当たると拡散して模様が発光するので、光源部を制御して2枚の表示プレート55の模様を個別に所望の色や点灯パターンにて発光可能になると共に、LED基板70が立設して装着されているので表示装置の厚みを薄くできる。
【選択図】 図7
Description
本発明は、インテリア、装飾品、案内表示、広告、各種ディスプレイ等として使用できる表示装置に係わり、さらに詳しくは、光を拡散する模様を導光板に形成し、光を照射することによって模様を発光させるようにした表示装置に関する。
透明な合成樹脂プレートを導光板とし、この導光板の一面側に彫刻等により凹凸をつけて模様を形成し、導光板の側面から光を照射する(エッジライト方式)ことによりこの模様を発光させる技術は周知である(たとえば、特許文献1参照)。
つまり、このような表示装置は、透明な合成樹脂プレートの一面側に彫刻機等により模様を施し、合成樹脂プレート周囲の所定箇所に、プレート端面に臨むように光源(たとえば蛍光管やLED)を配置してこの光源を点灯することにより、プレートの板厚内部に入射して伝播する光が途中で模様に衝突して乱反射することで、模様、たとえば絵柄や文字等を発光表示させるようになっている。
しかしながら、上記したような表示装置においては、導光板に凹凸をつけて模様を形成するため複雑な模様は困難であり、従って簡易的な模様しか形成できないという問題点がある。加えて彫刻機等を使って模様を形成するため、時間がかかり、コスト的にも問題がある。さらに、模様を交換したい場合には、新たなプレートを作成しなければならず、プレートを再利用することができないという問題もある。
また、このような表示装置は、ドットマトリクスLED表示装置や液晶表示装置等とは異なり、動画のように表示画像自体を随時変化させるものではなく、一定の模様を発光表示するだけなので、装飾効果や演出効果が低いという課題もある。
さらに、エッジライト方式といえども、導光板に光を照射する光源部分は、光源や光源に電力を供給するための基板等を組み込む必要があり、その結果、たとえば壁掛け用のような薄型の表示装置を製作する場合には、導光板の板厚よりも光源部分のほうが大きくなって表示装置の厚みが増してしまい、取り扱い上好ましくないという問題もある。
本発明は、このような問題点や課題の少なくとも何れかを解決するためになされたもので、その目的とするところは、導光板の側面から光を照射することによって模様が発光する薄型に製作可能な表示装置であって、複雑な模様や模様の変更も容易にでき、さらに発光する模様の色や点灯パターンを変えて変化に富む高い装飾効果や演出効果が得られ、しかもプレートの交換や取り外し及び再利用が容易であり、これらを低価格で実現可能な表示装置を提供することにある。
このような問題を解決するために、本発明の表示装置は、請求項1に記載したように、光を拡散する模様を導光板に付した表示プレートと、前記表示プレートの端面に光を照射する光源部が少なくとも取り付けられた基板とを有し、前記基板は、その板厚方向が前記表示プレートの板厚方向と同方向で、この表示プレートの端面から連なるように設けられていることを特徴とする。
上記発明によれば、表示プレートの端面から入射した光が導光板内を伝播し、模様に衝突すると光が拡散されて導光板の外へ出射し、模様の部分が発光する。ここで光源部は基板に取り付けられており、この基板は、その板厚方向が表示プレートの板厚方向と同方向で、表示プレートの端面から連なるように設けられている。この構成では、板厚方向において基板が表示プレートから突出することがなく、また、表示プレートの端面から光を照射するだけで、表示プレートを電気的に接続することなく、表示プレートの模様自体を発光することができる。また、表示プレートに照射する光の色を変えるだけで、模様の発光色が変わり、装飾効果を変化させることができる。なお、導光板の材料としては、屈折率が高い透明材料としてのメタクリル樹脂(PMMA)、アクリル樹脂が好ましい。
また、請求項2の発明は、請求項1に記載の表示装置において、前記表示プレートを着脱可能に支持するフレームを有することを特徴とする。表示プレートのフレームへの取り付け方法は問わない。たとえば、定位置に嵌め込んだ後に螺子で固定してもよいし、パチン錠などの係止具で表示プレートを固定してもよい。フレームは、表示プレートの周囲4辺すべてを取り囲むものであっても、一部の辺が開放されたもの、たとえばコ字型やL字型であってもよい。また1辺だけで支持するものであってもよい。要は、模様が視認可能であって表示プレートを着脱可能に支持するものであればよい。
また、請求項3の発明は、請求項2に記載の表示装置において、前記基板は、前記フレームに内蔵されていることを特徴とする。上記発明によれば、基板がフレームに内蔵されている。基板をフレームに内蔵する方法は問わない。たとえば、基板を取り付け部材等を用いて取り付けてもよいし、フレームに直接取り付けるように構成してもよい。
また、請求項4の発明は、請求項1乃至請求項3の何れかに記載の表示装置において、前記光源部の光源は表面実装型の発光ダイオードであり、この発光ダイオードから出射する光を反射する反射部材を設け、この反射部材により光を反射させて前記表示プレートの端面に光を照射することを特徴とする。上記発明によれば、光源部の光源に表面実装型の発光ダイオードを用いるので、基板の板厚を薄くすることができる。また、反射部材により発光ダイオードから出射する光を反射させて表示プレートの端面に光を照射するようにしたので、発光ダイオードの視野角(指向性)には関係なく様々な角度と方向から表示プレート内に光が入射する。なお、この構成では、発光ダイオードから出射する光のうち、直接表示プレート内に入射するものがあってもよい。
また、請求項5の発明は、請求項4に記載の表示装置において、前記反射部材は、前記フレームまたは/及び前記基板の表面に形成された光の反射層であることを特徴とする。上記発明によれば、反射層は、フレームまたは/及び基板の表面をメッキするなどにより容易に形成される。
また、請求項6の発明は、請求項1乃至請求項3の何れかに記載の表示装置において、前記光源部の光源はランプ型の発光ダイオードであり、この発光ダイオードは、その頭部が表示プレートの端面に臨むように略L字状の端子で前記基板に取り付けられていることを特徴とする。上記発明によれば、光源部の光源にランプ型の発光ダイオードを用いているものの、発光ダイオードの端子を略L字状に折り曲げて基板に取り付けられているので、基板全体の板厚を薄くすることができる。また、表示プレートの端面に発光ダイオードの頭部が臨んで、発光ダイオードから出射する光は直接表示プレート内に入射する。
また、請求項7の発明は、請求項6に記載の表示装置において、前記フレームは、装着された表示プレートのうち前記発光ダイオードから所定距離の範囲内にある部分を覆い隠す目隠し部を有することを特徴とする。上記発明によれば、発光ダイオードからの光は指向性を持って広がり、発光ダイオードの近くでは指向性の境界に沿って表示プレート上に光の筋が生じ易いが、そのような部分が目隠し部により覆い隠される。目隠し部は、不透明のほか透明度の低いスモーク状にしてもよい。
また、請求項8の発明に係わる表示装置は、光を拡散する模様を導光板に付した表示プレートと、前記表示プレートの端面に光を照射する発光ダイオードが少なくとも取り付けられた基板とを有し、前記表示プレートの端面または端面近傍に孔を穿設し、この孔に前記発光ダイオードが臨むように、前記基板をその板厚方向が前記表示プレートの板厚方向と同方向となるように前記表示プレートに付設したことを特徴とする。
上記発明によれば、表示プレートの端面または端面近傍に穿設された孔に発光ダイオードが臨んでいるので、発光ダイオードからの光は、孔の端面から入射して導光板内を伝播し、模様に衝突すると光が拡散されて導光板の外へ出射し、模様の部分が発光する。ここで発光ダイオードは基板に取り付けられており、この基板は、その板厚方向が表示プレートの板厚方向と同方向となるように表示プレートに付設されている。この構成では、請求項1の発明とほぼ同様に、板厚方向において基板が表示プレートから突出することがほとんどなく、また、表示プレートに光を照射するだけで、表示プレートを電気的に接続することなく、表示プレートの模様自体を発光することができる。また、表示プレートに照射する光の色を変えるだけで、模様の発光色が変わり、装飾効果を変化させることができる。
なお、請求項8の発明にて用いる発光ダイオードは表面実装型のものが望ましく、ランプ型の発光ダイオードを用いる場合には、請求項6の発明のように、発光ダイオードの頭部が孔の端面に臨むように、発光ダイオードの端子を略L字状に折り曲げて基板に取り付けるのが望ましい。
また、請求項9の発明は、請求項8に記載の表示装置において、前記発光ダイオードから出射する光を反射する反射部材を設け、この反射部材により光を反射させて前記孔の端面に光を照射することを特徴とする。上記発明によれば、請求項4の発明とほぼ同様に、反射部材により発光ダイオードから出射する光を反射させて表示プレートの孔の端面に光を照射するようにしたので、発光ダイオードの視野角(指向性)には関係なく様々な角度と方向から表示プレート内に光が入射する。
また、請求項10の発明は、請求項1乃至請求項9の何れかに記載の表示装置において、前記表示プレートの前記光源部からの光が入射する箇所を除く端面に反射材を設けたことを特徴とする。上記発明によれば、光源に臨む表示プレートの端面から入射した光は、他の端面で反射材によって反射されるので表示プレート外部に漏れにくくなる。
また、請求項11の発明は、請求項1乃至請求項10の何れかに記載の表示装置において、前記光源部からの光が入射される前記表示プレートの端面に、鏡面加工を施したことを特徴とする。上記発明によれば、光源部からの光が効率よく表示プレート内に入射される。たとえば、表示プレートの端面にバフ(磨き)をかけることで鏡面加工が実現される。
また、請求項12の発明は、請求項1乃至請求項11の何れかに記載の表示装置において、前記表示プレートは、その一部または全部が曲面状に形成されていることを特徴とする。上記発明によれば、その一部または全部が曲面状に形成されている表示プレートにより、様々な趣向を凝らした形状の表示装置を製作でき、さらに、たとえば曲面状に形成された箇所に模様を付して発光させるようにすれば、周囲に目立たせることができ、さらに装飾効果が高まる。
曲面状に形成される表示プレートは、熱成形しやすい押出し板(メタクリル樹脂、アクリル樹脂)を導光板として採用するのが好ましい。但し、押出し板はキャスト板に比べ耐衝撃性・表面硬度などが劣るので、これを考慮して表示プレートには、その表面を保護する傷付き防止コーティング処理を施すようにしてもよい。
また、請求項13の発明は、請求項1乃至請求項12の何れかに記載の表示装置において、前記表示プレートに前記光源部から入射された光が、この表示プレートの入射した端面と異なる端面から出射するようにしたことを特徴とする。上記発明によれば、表示プレートの光が入射した端面と異なる端面が明るく光る。光の出射する端面を鏡面加工すれば出射する光量が増加し、さらに明るく光る。反射材は、導光板の端面のうち、光源部からの光を入射させる部分と光を出射させる部分以外に設けるとよい。
また、請求項14の発明は、請求項1乃至請求項13の何れかに記載の表示装置において、前記光源部の点灯パターンを制御する制御部を備え、前記光源部は、出射する光の色を切り替え可能であり、前記制御部は、前記光源部が出射する光の色を切り替えることを特徴とする。
上記発明によれば、模様は受けた光を拡散して発光するので、照明する光の色を変えることで模様の発光色が変わる。たとえば、模様が光を拡散する白色の塗料で描かれている場合には、模様は照射された光の色で発光する。模様が赤や緑など特定の色で描かれている場合には、ほぼ模様の塗料の色と照射された光の色とを混合した色が模様の発光色になる。たとえば、光源として光の3原色を用意すれば、これらを組み合わせてフルカラー発光が可能になり、様々な色で模様を発光させることが可能になる。
また、請求項15の発明は、請求項14に記載の表示装置において、前記制御部の点灯制御を所定の点灯パターンに設定する点灯設定手段を備えたことを特徴とする。上記発明によれば、たとえばディップスイッチ等の点灯設定手段により、制御部における光源の点灯制御を所望の点灯パターンに設定することができる。
また、請求項16の発明は、請求項1乃至請求項15の何れかに記載の表示装置において、前記表示プレートは、光を拡散する性質の塗料で模様を導光板に印刷したものであることを特徴とする。上記発明によれば、たとえば、光を拡散する性質の塗料をスクリーン印刷することにより、容易に模様を導光板に形成することができる。印刷された模様は、光源の発光色(波長)と模様の印刷色との関係により、導光板内の光を拡散して所定の色及び発光強度にて発光する。
また、請求項17の発明は、請求項1乃至請求項15の何れかに記載の表示装置において、前記表示プレートは、光を拡散する性質の塗料で模様を印刷したフィルムシートを導光板に貼着したものであることを特徴とする。上記発明によれば、光を拡散する性質の塗料で模様を印刷したフィルムシートを導光板に貼着することで、模様が導光板に形成される。フィルムシートを張り替えるだけで表示プレート上の模様やデザインの変更が可能になる。
模様はフィルムシートの表裏いずれに形成してもよい。導光板に貼着する面に模様を形成する場合には、フィルムシートは、透明でも不透明でもかまわないし、反射材の役割を兼ねるように構成してもよい。導光板に貼着する面と反対の面に模様を形成する場合は、フィルムシートは透明や無色透明が望ましい。またフィルムシートは、導光板の背面全体に貼着しても一部のみに貼着してもよい。
また、請求項18の発明は、請求項17に記載の表示装置において、前記フィルムシートは、模様の形に切り取られたものであることを特徴とする。
上記発明によれば、模様の形にカットしたフィルムシートが導光板に貼着される。模様の形に正確にカットする必要はなく、模様の周囲にある程度の余裕を持たせてもよい。また、複数の模様の形に切り取られたフィルムシートを表示プレートに組み合わせて貼り付けるようにしてもよい。
また、請求項19の発明は、請求項1乃至請求項18の何れかに記載の表示装置において、前記表示プレートは、第1表示プレートと第2表示プレートとからなり、前記光源部は、前記第1表示プレートの端面に光を照射する第1光源部と前記第2表示プレートの端面に光を照射する第2光源部とからなり、前記第1表示プレートは前記第2表示プレートの前面側に位置し、この第1表示プレート及び第2表示プレートの一部または全部が重なり合って所定の模様が形成されることを特徴とする。
上記発明によれば、第1光源部及び第2光源部により第1表示プレート及び第2表示プレートに端面側から入射した光がそれぞれ導光板内を伝播し、模様に衝突すると光が拡散されて導光板の外へ出射し、模様の部分が発光する。つまり第1表示プレート及び第2表示プレートの一部または全部が重なり合って形成された所定の模様が発光する。
また、請求項20の発明は、請求項19に記載の表示装置において、前記第1光源部から出射された光が前記第2表示プレートの端面に、及び前記第2光源部から出射された光が前記第1表示プレートの端面に入射するのを防止する防止部材を有することを特徴とする。上記発明によれば、第1光源部及び第2光源部から出射された光は指向性を持って広がるものの、防止部材により反射して、第1光源部から出射された光は第1表示プレートの端面に、第2光源部から出射された光は第2表示プレートの端面にのみ入射する。
また、請求項21の発明は、請求項19または請求項20に記載の表示装置において、前記第1表示プレートと第2表示プレートとの隙間を覆う遮蔽部材を備えたことを特徴とする。上記発明によれば、第1表示プレートと第2表示プレートとを重ねたときに隙間ができても、遮蔽部材によりこの隙間が覆い隠される。なお遮蔽部材としては、テープやプレート等が考えられる。
請求項1の発明によれば、光源部から表示プレートの端面に光を照射することで表示プレートの模様自体が発光するので、発光しない箇所とのコントラストが強く、高い装飾効果を得ることができる。また、照射する光の色を変えることで模様自体の色を変更しなくても模様の発光色が変わるので、変化に富む装飾効果を得ることができる。
また、光源部が取り付けられた基板は、表示プレートの板厚方向に突出することがなく、奥行方向の出っ張りをなくした薄型でコンパクトな表示装置が設計可能となり、極めて使い勝手がよい。
さらに、表示プレートの端面に光を照射するだけで模様自体が発光するので、表示プレートの交換や取り外しの際に配線を切り離したり接続し直したりする必要がなくなり、作業効率が向上する。また、表示プレートを取り替えることで模様を変更できるので、低コストでのデザイン変更が可能になる。
請求項2の発明によれば、請求項1の発明の効果に加え、フレームで表示プレートを着脱可能に支持しているので、さらに表示プレートの交換や保守点検等が容易となり、取り扱いに優れる。
請求項3の発明によれば、請求項2の発明の効果に加え、光源を別途取り付ける必要がなく、表示プレートをフレームの定位置にセットするだけで、表示プレートの端面と光源部とを適正な位置に配置することができ、光の適切な照射状態が確保される。
請求項4の発明によれば、請求項1乃至請求項3の何れかの発明の効果に加え、表示装置を極力薄く形成することができ、また、表示プレートの端面付近に生じる光の筋が発生することなく模様が適切に発光する。
請求項5の発明によれば、請求項4の発明の効果に加え、反射部材をメッキなどにより容易に形成することができる。
請求項6の発明によれば、請求項1乃至請求項3の何れかの発明の効果に加え、光源部の光源がランプ型の発光ダイオードであっても、表示装置を薄く形成することができる。
請求項7の発明によれば、請求項6の発明の効果に加え、表示プレート上で、光源部の近くに生じる光の筋が覆い隠されて、装飾効果が高まり見栄えが向上する。
請求項8の発明によれば、請求項1の発明の発明とほぼ同様な作用効果を奏する。
請求項9の発明によれば、請求項4の発明の発明とほぼ同様な作用効果を奏する。
請求項10の発明によれば、請求項1乃至請求項9の何れかの発明の効果に加え、表示プレートの外部に光が漏れにくくなり、模様の発光強度を強めることができる。
請求項11の発明によれば、請求項1乃至請求項10の何れかの発明の効果に加え、光源部からの光を効率よく表示プレート内に入射させることができ、模様の発光強度を高めることができる。
請求項12の発明によれば、請求項1乃至請求項11の何れかの発明の効果に加え、様々な趣向を凝らした形状の表示装置を製作できる。また、曲面状に形成された箇所に模様を付して発光することもでき、さらに装飾効果が高まる。
請求項13の発明によれば、請求項1乃至請求項12の何れかの発明の効果に加え、表示プレート光が入射した端面と異なる端面が発光するので、さらに装飾効果が高まる。
請求項14の発明によれば、請求項1乃至請求項13の何れかの発明の効果に加え、照射する光の色を変えるだけで模様自体の色を変更しなくても模様の発光色が変わるので、簡易な装置構成でありながら、変化に富む高い演出効果及び装飾効果を得ることができる。
請求項15の発明によれば、請求項14の発明の効果に加え、制御部における光源の点灯制御を所定の点灯パターンに設定することができるので、表示プレートの模様を所望する点灯パターンにて容易に発光させることが可能となる。
請求項16の発明によれば、請求項1乃至請求項15の何れかの発明の効果に加え、印刷するだけで表示プレートの模様を変えることができ、迅速且つ低コストでデザインの変更が可能になる。さらに、光源の発光色(波長)に対して適宜印刷色を選択することで、所望する色及び発光強度にて模様を発光させることができ、極めて装飾効果が高まる。
請求項17の発明によれば、請求項1乃至請求項15の何れかの発明の効果に加え、フィルムシートを張り替えるだけで表示プレートの模様を変えることができ、低コストでデザインの変更が可能になる。さらに、光源の発光色(波長)に対して適宜フィルムシートに印刷する色を選択することで、所望する色及び発光強度にて模様を発光させることができ、極めて装飾効果が高まる。
請求項18の発明によれば、請求項17の発明の効果に加え、模様の形にカットしたフィルムシートを導光板に貼着するようにしたので、貼着するフィルムシートの組み合わせ方や配置を変えるだけで様々なデザインの表示プレートを形成することができ、容易に装飾効果を高めることができる。
請求項19の発明によれば、請求項1乃至請求項18の何れかの発明の効果に加え、模様自体が発光する表示プレートが複数(2枚)あるので、それらの模様の組合せや発光態様により、より凝った演出効果の高い表示が可能となり、極めて高い装飾効果を得ることができる。
請求項20の発明によれば、請求項19の発明の効果に加え、適正な点灯パターンや点灯色にて表示プレートの模様を発光させることができる。
請求項21の発明によれば、請求項19または請求項20の発明の効果に加え、第1表示プレートと第2表示プレートとを重ねたときに隙間ができても、遮蔽部材がこの隙間を覆い隠すので、第1表示プレートと第2表示プレートとの隙間から塵等が侵入するのを防止し、模様を適正に発光させることができる。すなわち遮蔽部材が防塵手段としての機能を果たす。
以下に、本発明の実施の形態を図を用いて説明する。図1は、本発明の実施形態に係わる表示装置50を示す斜視図であり、図2は、表示装置50の分解斜視図である。表示装置50は、フレーム62と表示プレート55(第1プレート55a、第2プレート55b)とから成る壁掛けにも使用できる薄型に形成されており、表示プレート55はフレーム62から容易に着脱可能になっている。
図3は、表示プレート55を示す斜視図である。表示プレート55は、同一サイズの第1プレート55aと第2プレート55bとを2枚重ねにした構造をなしており第1プレート55aが前面側に位置し、第2プレート55bが後面側に位置している。第1プレート55aと第2プレート55bとには、後述の模様が印刷されており、両者が重なり会って所定の絵柄が表示プレート55に表示されるようになっている。
図4は、フレーム62を示す六面図及び断面図である。同図(A)は正面図、(B)は背面図、(C)は右側面図、(D)は底面図、(E)は平面図、(F)は(A)のA−A断面図である。なお、左側面図は右側面図と同様に現れるので省略している。図2及び図4に示すように、フレーム62は、基部フレーム63と、左右の側フレーム64a、64bと、背板65とから構成されている。基部フレーム63は、基部間仕切り57を備え、側フレーム64a、64bは、側間仕切り61a、61bを備え、基部間仕切り57と側間仕切り61a、61bとは連結されてコの字状に形成されている。そして基部フレーム63と側フレーム64a、64bとは全体でコの字状の枠をなしている。なお、図中53は、基部フレーム63の前板である。
フレーム62は、コの字の開放部分を上に向けた状態で、左右の側フレーム64a、64bの側間仕切り61a、61bで形成されるガイド溝に沿って第1プレート55a及び第2プレート55bの下から嵌め込み、基部フレーム63の基部間仕切り57で形成される図4(E)に示す嵌合溝48a、48bに表示プレート55の下端部を嵌合するようになっている。従って第1プレート55aと第2プレート55bとは、基部間仕切り57の厚みだけ間隔をおいて重合するようにフレーム62に取り付けられる。
図4(B)に示す背板65の下部に形成された切欠68は、ヒートシンクの役割のために設けてある。また、図4(E)に示すように基部フレーム63の左右端部内側にはストッパ片47a、47b、47c、47dが設けてある。ストッパ片47a、47bは、第2プレート55bをフレーム62に装着したときに、ストッパ片47c、47dは、第1プレート55aをフレーム62に装着したときに、第2プレートの下端面54b、第1プレートの下端面54aと当接して基部フレーム63の内部に設けられる後述のLED基板70との間に適正なクリアランスを保つ(接触防止も含む)為に形成してある(図7参照)。なお背板65は、所望の色で着色してもよい。
図5は、LED基板70の正面図である。図5に示すように、本実施形態においてLED基板70には、赤LED71aと青LED71bと緑LED71cの3個を一組としたものが5組一列に並べて取り付けてある。各LED71a、71b、71cは表面実装型のものを使用している。図中72は抵抗であり、またLED基板70の裏面側には、図示していない配線パターンがエッチングにより施されている。
LED基板70の長さは、本実施形態のように赤LED71a、青LED71b、緑LED71cの組数が5組のときは、たとえば、60〜200mm程度の大きさにて作成可能である。つまりLED基板70の長さは、最小のもので15mm(赤LED71a、青LED71b、緑LED71cの組数が1組)程度から作成でき、一方最大のものは、生基板(基板が切り出される前の基板)の寸法や強度・取り扱いの観点から30mm未満が望ましく、それ以上に長くしたいときは、複数枚のLED基板70をコネクタ等で連結して用いるようにすればよい。一方LED基板70の幅は、LED71や抵抗72、及びそれらの素子を結線する配線パターン等の大きさにより、最小でも10mm程度の大きさが必要になる。
さらに、LED基板70の表面には、LED71の光を反射可能な反射層74が設けられている。この反射層74は、光を反射可能なものであれば特に材質などを限定するものではなく、たとえば基板上の導体層にハンダ等の金属メッキを施すことで形成してもよい。
図6(A)は、フレーム62(基部フレーム63)内にLED基板70を設置した状態を示す平面図であり、図6(B)は、フレーム62(基部フレーム63)内にLED基板70を設置した状態を示す正面図である。なお、図6(B)は基部フレーム63の前板53(二点鎖線で示す部分)を取り除いた状態を示している。図6に示すように、LED基板70は、嵌合溝48a内のストッパ片47c、47d間、嵌合溝48b内のストッパ片47a、47b間に嵌合した状態となっており、すなわち第1プレート55aに対応するLED基板70は、嵌合溝48a内において前板53、基部間仕切り57、ストッパ片47c、47dとで形成される箇所に、その裏面側が基部間仕切り57に付設されるように立設して装着され、一方第2プレート55bに対応するLED基板70は、嵌合溝48b内において背板65、基部間仕切り57、ストッパ片47a、47bとで形成される箇所に、その裏面側が背板65に付設されるように装着されている。
しかして前板53の裏面、ストッパ片47cの左側面、ストッパ片47dの右側面、及び基部間仕切り57の裏面、ストッパ片47aの左側面、ストッパ片47bの右側面には、LED71の光を反射可能な反射層49a、49bが設けられている。この反射層49a、49bは、前記した反射層74と同様、光を反射可能なものであれば特に材質などを限定するものではない。
つまり嵌合溝48a、48bの内部において、LED71が点灯すると、このLED71から出射された光は、反射層74と反射層49a、49bとによって乱反射するようになっている。なお、LED71を点灯した際の熱は背板15に開設された切欠18(図4(B)参照)から外部へ放出される。
図7は、表示プレート55(第1プレート55a、第2プレート55b)をフレーム62に取り付けた状態の表示装置50をその内部構造とともに示した正面図である。第1プレートの下端54aがストッパ片47c、47dに、第2プレートの下端54bがストッパ片47a、47bに突き当たることで、第1プレート55aと第2プレート55bとが重なり合って所定の絵柄が表示されると共に、嵌合溝48a、48bがほぼ密閉状態にされる。また、各LED71と表示プレート55の下端(第1プレートの下端54a、第2プレートの下端54b)との間にわずかなクリアランスが確保される。
図8は、第1プレート55a、反射テープ56a、反射シート58aの分解斜視図である。第1プレート55aの周縁部には、反射テープ56aが貼着され、第1プレート55aの裏面側には模様60aが印刷されると共に、この模様60aに重なる部分のみに反射シート58aが貼着される。なお反射テープ56aは、LED71からの光が入射する箇所となる第1プレートの下端54aには形成されないようになっている。
図9は、第2プレート55b、反射テープ56b、反射シート58bの分解斜視図である。第2プレート55bは第1プレート55aと同一の形状にて形成され、第2プレート55bの周縁部には、反射テープ56bが貼着され、第2プレート55bの裏面側には模様60bが印刷されると共に、第2プレート55bとほぼ同じ大きさの反射シート58bが貼着される。
反射シート58a、58bは、白色や光沢のある色が着色されたシートであればよい。また、第1プレート55aにおいては、第1プレート55aとほぼ同じ大きさの透明の反射シート58aに、模様(印刷部)60aに重なる部分のみ白色や光沢のある色を着色するようにしてもよい。さらに第2プレート55bにおいては、模様(印刷部)60bに重なる部分のみに反射シート58bを設け、それ以外の箇所に所望の背景色を施すようにしてもよい。つまり反射シート58aは、模様(印刷部)60aの発光強度を向上させると共に、第1プレート55aと第2プレート55bとを重ね合わせたとき、第2プレート55bの模様(印刷部)60bが透視できることが必要であり、一方反射シート58bは、最低限、模様(印刷部)60bの発光強度を向上させればよい。
反射テープ56a、56bは、反射シート58a、58bと同様、白色や光沢のある色が着色されたテープであればよい。これらにより、第1プレート55a、第2プレート55bの内部を通過する光が外界との境界で反射されて外部への漏れが防止され、模様(印刷部)60a、60bの発光強度を向上する。
導光板としての第1プレート55a、第2プレート55bは、肉厚が数ミリ程度(たとえば2〜5mm)にて形成されており、その裏側(反射シート58a、58b側)には光を拡散する模様(発光部)としての印刷部60a、60bがスクリーン印刷されている。この印刷に使用される塗料(インキ)は、拡散反射特性を有し散乱材を含有するもので、材料としては、パール材やガラス、ビーズ顔料、白色顔料等があり、さらに拡散性や発色性を持たせ発光強度を向上させるため有機蛍光誘導体と非有機系化合物を加えるようにしてもよい。
具体的には、シリコーン樹脂粒子やポリスチレン樹脂粒子等の透明有機樹脂粒子、Al2O3、TiO2、SiO2等の金属酸化物粒子、BaSO4等の硫酸塩粒子、CaCO3等の炭酸塩粒子、ガラス微粉末やガラスバルーンなどの無機化合物粒子、ミクロエアーセル等が挙げられ、これらを単独で又は2種以上を併用して使用することができる。
反射効率や塗料の印刷性等を考慮した場合、これら材料の粒子の平均粒径は0.01〜20μm程度、特に0.05〜1μm程度であることが好ましく、また、光反射層中の含有量は0.5〜50重量%程度、特に3〜20重量%程度であることが好ましい。なお、塗料は、アクリル樹脂、ウレタン樹脂、エポキシ樹脂等の熱硬化性樹脂、あるいはアクリル系、ゴム系、エラストマー系等の粘着剤をバインダーとするものを用いることができる。
なお、印刷は、スクリーン印刷以外に、たとえばオフセット印刷、グラビヤ印刷、凸版印刷、パッド印刷、インクジェット印刷等の印刷方式を採用でき、好ましくは表示プレート55の成型工程において、インライン方式で印刷するのがよい。また、印刷の厚さは、過度に薄いと光反射効率が十分でなく、逆に過度に厚くても光反射効率には大差がないにもかかわらず、印刷コストの高騰や印刷の剥離の問題も生じてくるため、これらを勘案して適切に選択するのが好ましく、通常は20〜200μm程度の厚さとすることが好ましい。
また、表示プレート55を構成する導光板の材料としては、屈折率が高い透明材料が用いられ、メタクリル樹脂(PMMA)、アクリル樹脂等が好ましく、それ以外にもプラスチック、エラストマーなどの中から目的に応じて適宜選択することができ、たとえば、ポリスチレン、スチレン・メチルメタクリレート共重合体、ポリメチルペンテン、アリルグリコールカーボネート樹脂、スピラン樹脂、アモルファスポリオレフィン、ポリカーボネート、ポリアミド、ポリアリレート、ポリサルホン、ポリアリルサルホン、ポリエーテルサルホン、ポリエーテルイミド、ポリイミド、ジアリルフタレート、フッ素樹脂、ポリエステルカーボネート、ノルボルネン系樹脂(ARTON)、脂環式アクリル樹脂(オプトレッツ)、シリコーン樹脂、アクリルゴム、シリコーンゴム等の透明材料が挙げられる。
また、導光板(メタクリル樹脂、アクリル樹脂)の製法としては、セルキャスト製法や押出し製法があり、製造過程の違いから押出し板はキャスト板に比べ分子量が低く、物性的に耐熱温度・耐衝撃性・表面硬度などが若干劣るものの、熱成形しやすいメリットがあり、この製法についても目的に応じて適宜選択すればよい。本実施の形態では、キャスト板を使用している。
このように表示プレート55(第1プレート55a、第2プレート55b)は、光を拡散する模様60a、60bである発光部を印刷により形成できるので、自由な色で様々な文字やデザインを発光部として極めて容易に採用できるようになる。
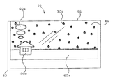
ここで、図10を参照しながら、LED71から発せられた光が第1プレート55a、第2プレート55b内部に入射する過程を説明する。図10に示すように、2列に設置されたLED71から発せられる光は、ほぼ密閉状態の嵌合溝48a、48b内において反射層49a、49bと反射層74とに衝突して乱反射し、最終的に必ず対応する第1プレートの下端54a及び第2プレートの下端54bから第1プレート55a、第2プレート55b内部に入射光51として入射するようになっている。なお、基部間仕切り57が隣のLED71からの入射光51の侵入を防止する防止部材としての機能を果たしており、これにより、第1プレート55a及び第2プレート55bの後述する点灯制御を適正なものとしている。なお、図10は、基部フレーム63内に2列に設置されたLED71から発せられる光が、反射層49a、49b及び反射層74に反射して第1プレート55a、第2プレート55b内部に入射する様子を示す断面図である。
つまり本実施の形態においては、図10に示すように、LED基板70を立設して基部フレーム63内に形成しているので、換言すれば、LED基板70は、その板厚方向が表示プレート55の板厚方向と同方向で、表示プレートの下端面54から連なるように設けられているので、LED71から発せられた光は、第1プレート55a、第2プレート55b内部に直接入射したり、あるいは反射層49a、49b及び反射層74により乱反射して間接入射するようになっており、すなわちLED71から発せられた光は、様々な角度と方向から第1プレート55a、第2プレート55b内部に入射するようになっている。そしてこれは、次のような効果を奏する。
すなわち、たとえば図11(A)に示すように、LED基板70を横設してLED71から発せられる光を表示プレート55(第1プレート55a、第2プレート55b)内部に直接入射させるもののみにすると、図11(A)において赤LED71aに注目すると、斜線部59で示す部分にはいずれの赤LED71aからも直接光が到達していない。直接光が到達する部分と到達しない部分では明暗の差が大きいので、光の筋が生じてしまう。これは、LED71には所定の視野角(指向性)があるからである。そして、このような斜線部59上に模様60a、60bがあると、模様60a、60bは適切に発光しなくなる。一方本実施の形態のように反射層49a、49b及び反射層74により乱反射させて表示プレート55内部に間接入射させるものは、LED71の視野角には関係なく様々な角度と方向から入射するので、このような光の筋を生じることがなく、従って模様60a、60bは適切に発光する。
さらに図11(B)に示すように、LED基板70を横設した場合には、前記したようにLED基板70の幅は最小でも10mm程度の大きさが必要になるため、たとえば表示プレート55の肉厚が2〜5mm程度のものでは、LED基板70が表示プレート55から奥行方向に突出してしまい、すなわち表示装置50の厚みが増し、表示装置50の使い勝手が悪いものになってしまう。一方本実施の形態のようにLED基板70を立設するようにすれば、すなわちLED基板70を、その板厚方向を表示プレート55の板厚方向と同方向で、表示プレートの下端面54から連なるように設けるようにすれば、表示装置50の厚みが増すことはなく、コンパクトで極めて取り扱い易いものとなる。なお、図11(A)は、LED基板70を横設した場合のLED71の指向性と表示プレート55内の照射領域との関係を示す正面図、図11(B)は、図11(A)の側面図である。
図12は、LED71から入射した光の第1プレート55a、第2プレート55b内部における伝播経路を示しており、LED71から発せられた光は、一例として入射光51に示すように第1プレート55a、第2プレート55bの内部を通過し、第1プレート55a、第2プレート55bの縁部に到達した入射光51は、反射テープ56a、56bで反射して再び第1プレート55a、第2プレート55bの内部を通過する。
そして、このように第1プレート55a、第2プレート55b内部に入射した入射光51が、上記したような経路を辿る過程で印刷部60a、60bに到達すると、前記拡散反射特性により図13に示すような拡散した反射光52が発生し、この光が表示プレート55の外部に出射し、印刷部60a、60bが発光するように見える。なお、LED71が臨む第1プレートの端面54a、第2プレートの端面54bは、バフ(磨き…鏡面加工)をかけるのが好ましく、これによりさらに模様(印刷部)60a、60bの発光強度が増す。なお、図13は、LED71から入射した光が印刷部60a、60bで乱反射する様子を示している。
図14は、表示装置50の模様(印刷部)60a、60bが発光する様子を模式的に示したものである。表示プレート55(第1プレート55a、第2プレート55b)全体が光るのではなく、表示プレート55(第1プレート55a、第2プレート55b)に付した模様(印刷部)60a、60bだけが光るので、高い装飾効果を得ることができる。
ところで、模様(印刷部)60の発光色は、印刷部60の印刷色とLED71の発光色(波長)とにより決定される。すなわち、印刷部60の印刷色が無色や白色であれば、ほぼLED71の発光色が模様(印刷部)60の発光色になる。印刷部60の印刷色が有色であれば、ほぼ印刷部60の印刷色とLED71の発光色とを混合した色が模様(印刷部)60の発光色になる。またLED71の発光色が白色であれば、ほぼ印刷部60の印刷色が模様(印刷部)60の発光色となる。
図15は、LED71の発光色(波長)と模様(印刷部)60の印刷色との組み合わせ方と印刷部60の発光強度との関係を示す説明図である。図中の「A」は発光強度が強いことを、「B」はやや強いことを、「C」はやや弱いことを、「D」は非常に弱いことを、「E」が発光しないことをそれぞれ表している。
模様(印刷部)60の発光強度は、LED71の発光色(波長)と印刷部60の印刷色の双方に依存している。印刷部60の印刷色が黒色(若しくはそれに近い色)の場合には、LED71の発光色にかかわらず黒となり、模様(印刷部)60はほとんど発光しない。また、LED71の発光色と印刷部60の印刷色とが同じ場合には発光強度が強く、LED71の発光色と印刷部60の印刷色とが補色の関係に近づくほど発光強度は弱くなる。
たとえば、LEDの色が「赤」で印刷色が「緑」や「青」の場合は、補色の関係あるいは補色に近い関係であるので発光強度は非常に弱い「D」になっている。またLEDの色が「青」で印刷色がその補色の「赤」の場合にも発光強度はやや弱い「C」になる。したがって、たとえば第1プレート55aに青の模様と赤の模様とを印刷しておき、点灯するLEDの色を青と赤とに切り替えれば、赤LEDの点灯時には赤の模様だけが発光し、青LEDの点灯時にはほぼ青の模様だけが発光するので、発光する箇所が切り替わり、変化に富む装飾効果を得ることが可能になる。
この様に構成される表示装置50は、インテリア、装飾品、案内表示、広告、各種ディスプレイ等として使用できる。そして、表示装置50の模様60を変更したいときは、既存の模様60が施された表示プレート55をフレーム62から引き抜いた後、新しい模様60が施された表示プレート55をストッパ片47a、47b,47c,47dに当接するまでフレーム62にスライド挿入するという極めて簡単な作業で行うことが可能となる。この場合、第1プレート55a、第2プレート55bのうち1つだけを交換してもよいし、両者共に交換してもよい。さらに、模様60は表示プレート55に印刷するだけなので、新しい模様60を表示プレート55に施す場合においても、極めて容易且つ安価に行うことができる。またさらに、LED基板70を立設して形成しているので、2枚の第1プレート55a、第2プレート55bで構成されている表示装置50であっても、奥行方向の出っ張りをなくしたコンパクトな設計が可能となり、スペースを有効活用することができる。
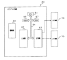
次に、図16を参照しながら表示装置50の制御回路について説明する。図16は、表示装置50における制御回路の要部ブロック図である。表示装置50の制御回路は、主にLED基板70とLEDドライバ基板80とで構成され、LEDドライバ基板80は、当該装置の動作を統括制御するためのCPU(中央処理装置)81を有し、そのバス84にROM(リード・オンリ・メモリ)86と、RAM(ランダム・アクセス・メモリ)87と、入力回路82と、出力回路83とが接続されている。また、LEDドライバ基板80には、図示しない電源コードと接続された電源回路89も備えている。
出力回路83には、LED基板70が2枚並列に接続されており、この並列に接続された2枚のLED基板70は、一方が第1プレート55aに臨み、他方が第2プレート55bに臨んでいる。すなわちLEDドライバ基板80は、CPU81が、RAM87を作業領域としてROM86に記憶されている制御プログラムに基づいて、2枚のLED基板70に取り付けられているLED71を所定の点灯色及び点灯パターンにて点灯制御する。
ここで図17を参照しながら、表示装置50の点灯色及び点灯パターンについて具体的に説明する。図17は、表示装置50の点灯色及び点灯パターンの一例を示している。なお、ここでの説明では、模様(印刷部)60a、60bは全て白で印刷されているものとし、つまり第1プレート55a及び第2プレート55bの点灯色は、LED71の点灯色と同じとなる。
すなわち表示装置50の点灯色や点灯パターンとしては、たとえば図17に示すようなものが考えられ、まず点灯色としては、第1プレート55aと第2プレート55bとの点灯色の組合せが、赤と白、青と白、緑と白、橙と白、紫と白、水色と白の6色の組合せ中のいずれかを実行することができるようにする。第1プレート55a及び第2プレート55bの点灯色は、対応するLED71の点灯制御に基づくもので、赤、青、緑は赤LED71a、青LED71b、緑LED71cの単独点灯、橙は赤LED71aと緑LED71cとの同時点灯、紫は赤LED71aと青LED71bとの同時点灯、水色は青LED71bと緑LED71cとの同時点灯、白は赤LED71aと青LED71bと緑LED71cとの同時点灯で発色する。
次に点灯パターンとしては、第1プレート55aと第2プレート55bとの点灯パターンの組合せが、両者ともに常時点灯、常時点灯と点滅、両者の交互点滅、両者ともにグラデーション、グラデーションと点滅、常時点灯とグラデーションの6つの組合せ中のいずれかを実行することができるようにする。
点滅には高速点滅から低速点滅まで種々考えられ、たとえば50msec〜2秒ぐらいの範囲で適宜設定するようにしてもよい。またグラデーションとは、徐々に色の濃淡をつけて点灯または消灯する態様(フェードイン・フェードアウト)であり、グラデーションには同期と非同期とが考えられる。すなわち同期とは、第1プレート55aと第2プレート55bとのグラデーションの点灯時間が同じであって、且つ同じタイミングで点灯または消灯する態様であり、非同期とは、第1プレート55aと第2プレート55bとのグラデーションの点灯時間が同じであっても、異なるタイミング(タイムラグ)で点灯または消灯する態様である。このグラデーションの点灯時間やタイムラグの時間は種々考えられ、たとえばグラデーションの点灯時間を5秒〜20秒、タイムラグの時間を2秒〜18秒ぐらいの範囲で適宜設定するようにしてもよい。
このように、本実施形態では、表示装置50は第1プレート55aの模様60aと第2プレート55bの模様60bとが重なり合って所定の絵柄が表示プレート55に表示されるようになっているので、つまり第2プレート55bの模様60bも透けて視認できるようになっているので、相対的に、第1プレート55a(模様60a)と第2プレート55b(模様60b)との点灯パターン(点灯制御)を異ならせたり、第1プレート55a(模様60a)と第2プレート55b(模様60b)との点灯色をより鮮明に異ならせることで、表示装置50の装飾効果を極めて向上させることができる。
また、表示装置50の点灯制御は、基部フレーム63内の基部間仕切り57により、2列に設置されたLED71から発せられる光が必ず対応する第1プレート55a、第2プレート55b内部に入射し、従って第1プレート55aに対応するLED71から発せられる光が第2プレート55b内部に入射して第2プレート55bの点灯制御(点灯色や点灯パターン)に影響を及ぼしたり、第2プレート55bに対応するLED71から発せられる光が第1プレート55a内部に入射して第1プレート55aの点灯制御(点灯色や点灯パターン)に影響を及ぼしたりすることがない。すなわち、表示装置50の点灯制御は、基部間仕切り57により、第1プレート55aと第2プレート55bとが互いに影響することなくそれぞれ独立して行われる。これらより、表示装置50において第1プレート55a、第2プレート55bの模様60a、60bを所望する様々な点灯色や点灯パターンにて適正に発光することができる。
なお、本実施形態では表示プレート55において第1プレート55aに家等の風景を、第2プレート55bに煙や雪を模様60とし、表示装置50の点灯色や点灯パターンの一例として、家等の風景を白色以外の色に、煙や雪を白色に所定の点灯パターンにて発光させるようにして、たとえば煙や雪があたかも移動しているように表示させる例を示したが、これら第1プレート55a、第2プレート55bの模様60や発光色、点灯パターン等は特に限定するものではなく、適宜に設定すればよい。たとえば点灯パターン等は、さらに所定数のLED71単位で点灯制御を行い模様を所望の色で横方向に順次発光(横方向グラデーション)させたりしてもよく、また色等は赤LED71a、青LED71b、緑LED71cを同時点灯してさらに種類を増やすようにしてもよい。なお色の調節は、点灯するLED71の組み合わせ方や各LED71の発光強度を変えることで無限に可能になる。たとえば、LED71に流す電流の値やオン時間を抵抗値やソフトにて制御することで発光強度を調整することができる。
図18は、表示プレート55の他の一例を示す斜視図である。なお、これ以降に説明する他の実施形態において、前述した構成と同様な構成については同じ符号を記す。さて、これまでは表示プレート55に光を拡散する性質の模様を直接印刷にて形成したが、この例では、光を拡散する模様(発光部)60bの印刷されたフィルムシート78を第2プレート55bに貼着する構成になっている。フィルムシート78は、第2プレート55bと同じ形にカットされたフィルム状のシートである。
この場合、フィルムシート78の裏面側(第2プレート55bへの貼着面と反対側)に模様(発光部)60bを印刷するとよい。この理由は、第2プレート55bとフィルムシート78とを隙間ができないように密着して貼着することができ、それにより模様の発光強度を増すことができるからである。模様を裏面側に設ける場合には有色透明または無色透明のフィルムシート78を使用する。模様を表面側に設ける場合は、フィルムシート78を不透明にしてもよく、フィルムシート78自体に背景色を出す機能や反射材としての機能を持たせるようにしてもよい。
図19は、表示プレート55のさらに他の一例を示す斜視図である。ここでは、模様(発光部)60aの印刷されたフィルムシートをその模様の形にカットしたカッティングシート79を第1プレート55aに貼着する構成になっている。この場合にも、上記と同様な理由から、カッティングシート79の裏面側に模様(発光部)60aを印刷するとよい。
図18や図19のように模様60を印刷したフィルムシートを表示プレート55(第1プレート55a、第2プレート55b)に貼着するようにすれば、表示装置50のデザインを、シート(カッティングシートまたはフィルム状のシート)を剥がしたりはったりするだけの作業で極めて容易に変更することが可能となり、デザイン変更時のコストダウンに繋がる。特にカッティングシート79では、複数のカッティングシート79の組み合わせ方や表示プレート55(第1プレート55a、第2プレート55b)に貼着する際の配置を変えることで様々なデザインを形成することができる。
なお、表示プレート55(第1プレート55a、第2プレート55b)に模様を直接印刷する場合でも、元の印刷を消して新しいデザインの模様を印刷するようにすれば、プレート材(導光板)のリサイクルも可能になる。
図20は、表示プレート55のさらに他の一例を示す斜視図である。この例は、第1プレートの上部を略半円状の曲面に形成した第1プレート155aとし、この第1プレート155aと前記第2プレート55b及びフレーム62とから表示プレート150を構成している。
つまり第1プレート155aは、その下部に平面部152が、上部に曲面部151が形成されており、平面部152には前記第1プレート55aと同じ模様が、曲面部151には図20に示すように横方向に帯状の2本のライン(斜線部分)が模様60aとして施されている。従って、この第1プレート155aを製作する場合には、まず平板状の導光板の裏面に印刷(曲面部151用の印刷と平面部152用の印刷)を施し、その後、上部を略半円状に曲加工すればよい。
曲加工では熱処理が発生するので、ここでは熱成形しやすい押出し製法により製造した押出し板(メタクリル樹脂、アクリル樹脂)を導光板として採用するのが好ましい。但し、前述したように押出し板はキャスト板に比べ耐衝撃性・表面硬度などが劣るので、ここではこれらを考慮して第1プレート155aには、曲面部151と平面部152の表面を保護する傷付き防止コーティング147を設けている。なお傷付き防止コーティング147には、汚れを分解する光触媒(酸化チタン)を混入させてもよい。
なお、LED基板70は、図6に示したものと同様の方法でフレーム62に取り付けられる構成になっており、これにより第1プレート155aにおいて、LEDから発せられた光は、曲面部151及び平面部152で構成される第1プレート155aの形状に沿って、その内部を伝播する。
従って、このように構成された第1プレート155a及び第2プレート55bを、上記したようにフレーム62に装着(第1プレート155a及び第2プレート55bを左右の側フレーム64a、64bに螺子等で固定してもよい)して成る表示装置150は、第1プレート155aにおいて平面部152のみならず、曲面部151の模様(発光部)60aも発光するので、第2プレート55bの模様と相俟って高い装飾効果を得ることができる。つまり本実施形態の表示装置150に示すように、表示プレートには平面だけでなく曲面も採用することができる。
なお、この表示装置150の構成では、前述したストッパ片47c、47dは省略してもよい。この理由は、第1プレート155aをフレーム62に装着するとき、曲面部151がストッパ片47c、47dの役割を果たすからである。
図21は、表示プレート55のさらに他の一例を示す斜視図である。この例は、表示プレート55(第1プレート55a、第2プレート55b)の上端部154a、154b側から光を照射する構成となっており、上端部154a、154bには反射テープを貼らずに、上端部154a、154bから出射される透過光233(図21参照)により装飾効果を高めるようになっている。その為、上記と同様にバフ(磨き…鏡面加工)は、表示プレート55の下端部側だけでなく、上端部154a、154b側にもかけてあり、これにより透過光233を強めている。但し、その分、模様の発光強度は若干弱まる。
なお、LED基板70は、図6に示したものと同様の方法でフレーム62に取り付けられる構成になっており、これにより、LEDから発せられた光は表示プレート55の内部を伝播し、表示プレート55の上端部154a、154b側から放出される。従って、表示プレート55をこのように構成して成る表示装置250は、図21に示すように、模様(発光部)60のみならず表示プレート55の上端部154a、154bも発光するので、表示装置250の上部周辺を明るく照らし、高い装飾効果を得ることができる。
図22は、表示装置の他の一例を示す斜視図である。この例は、前記した表示プレート55(第1プレート55a、第2プレート55b)の上端側からフレームを嵌め込む構成になっている。図中362はフレームであり、このフレーム362は、前述したフレーム62と同様な構成になっており、基部フレーム363には前述と同様にLEDが内蔵されている。また左右の側フレーム364a、364bには、表示プレート55(第1プレート55a、第2プレート55b)が落下しないように、図22に示すように、表示プレート55を螺子で螺着するための螺子穴が4つ設けられている。
このように構成されて成る表示装置350は、LEDから発せられた光は表示プレート55の上端部側から入射するので、その為、バフ(磨き…鏡面加工)は表示プレート55の上端部側にかけ、それ以外の端面に反射テープを貼着している。なお、表示プレート55には反射テープを貼らずに下端部側にもバフ(磨き…鏡面加工)をかけ、表示プレート55の下端部側から前記と同様に光を出射するようにしてもよい。そして、このような構成の表示装置350は、適宜手段にて壁等に取り付けられる。
次に、複数の表示装置350を連携動作させて、光源部が出射する光の色を切り替えることで模様の発光箇所を一定方向に移動させる点灯制御について説明する。図15で説明したように、LED71の発光色と模様(印刷部)60の印刷色とが同じ場合には発光強度が強く、LED71の発光色と模様(印刷部)60の印刷色とが補色の関係に近づくほど発光強度は弱くなる。
たとえば、LED71の色(光源から出射する光の色)が「緑」で印刷色が「赤」のときは模様がほとんど発光せず、印刷色が「緑」のときは強く発光する。また、LED71の色が「赤」で印刷色が「緑」のときは模様がほとんど発光せず、印刷色が「赤」のときは強く発光する。そこで、「赤」と「緑」の模様を表示プレート55上に形成しておき、LED71の色を変化させれば、模様を選択的に発光させることができる。
図23は、第1プレート55aに赤色の魚の模様161と緑色の魚の模様162とを形成したものの一例を示している。同図は、同じデザインの表示プレート325からなる表示装置350を複数(3つ)並設したものを表している。なお、海草163は青色の模様で、第2プレート55bに形成してある。
図24は、複数の表示装置350を連携動作させることで模様の発光箇所を一定方向に移動させる場合の表示状態の一例を示している。この図では一尾の魚が一定方向に泳いで移動するわうに点灯制御される。複数の表示装置350の表示プレートにはそれぞれ、図23に示すものと同様に赤色の魚の模様161と緑色の魚の模様162と青色の海草163とが描いてある。
同図(a)では、右端の表示装置350が有する第1プレート55aに対応する赤色のLED71aのみを点灯し、同図(b)では、その表示装置350が有する第1プレート55aに対応する緑色のLED71cのみを点灯している。同様に、同図(c)では、中央の表示装置350が有する第1プレート55aに対応する赤色のLED71aのみを点灯し、同図(d)では、その表示装置350が有する第1プレート55aに対応する緑色のLED71cのみを点灯している。同図(e)では、左端の表示装置350が有する第1プレート55aに対応する赤色のLED71aのみを点灯し、同図(f)では、その表示装置350が有する第1プレート55aに対応する緑色のLED71cのみを点灯している。なお、海草163は、各表示装置350が有する第2プレート55bに対応する青色のLED71bのみを点灯し、青色に発光している。
このような順序で3つの表示装置350が連携動作することで、魚の模様の発光箇所が3つの表示装置350をその右端から左端に向けて移動し、一匹の魚がこれらの表示装置350上をその右端から左端へと泳いで行く様子が演出表示される。
上記のような点灯制御を実現するには、各表示装置350のLEDドライバ基板を電気的に接続し、各LEDドライバ基板が所定の信号を授受して所定の点灯態様を行うことで達成できる。たとえば、各LEDドライバ基板は、隣りのLEDドライバ基板から所定の連携パターン信号を受け取ると、まず第1プレート55aに対応する赤色のLED71aを所定時間点灯(たとえば0.3秒)し、続いて第1プレート55aに対応する緑色のLED71cを同じ時間点灯し、一方第2プレート55bに対応する青色のLED71bは赤、緑色LED71a、71cの点灯時間を合わせた時間(たとえば0.6秒)だけ点灯し、隣りのLEDドライバ基板に連携パターン信号を出力する。これにより、発光する模様の位置が3つの表示装置350の端から端へと順に移動するようになる。
次に、図25及び図26を参照しながら、表示装置の他の実施形態について説明する。まず図25において、(A)は、表示プレート255の一部を示す正面図、(B)は、表示プレート255にLED基板70を設置した様子を示す側面図である。図25(A)に示すように、表示プレート255の下部には、複数の貫通孔256が形成されており、これらの貫通孔256には、図25(B)に示すように、立設したLED基板70のLED71が臨むようになっている。つまり、貫通孔256は、LED基板70に設けられたLED71の個数及びピッチに対応して表示プレート255に穿設され、LED基板70は、この貫通孔256にLED71が臨むように表示プレート255に付設されていると共に、その表面には、前記した反射層74が施されている。この実施形態では、1枚の表示プレートを図示してあるが、表示プレートは複数枚あってもよい。
なお、図示していないが、その他の構成は前述した構成に準じて形成すればよく、たとえば前記基部フレーム63と同様なフレームを設けたり、あるいはシート状のものをLED基板70を包み込むように表示プレート255の下部に設けるようにしてもよい。当然ながら、これらフレームやシートの内部は、ほぼ密閉状態で前述した反射層49a、49bのような反射層が形成されている。従ってLED71から発せられた光は、その一部は貫通孔256から表示プレート255内部に直接入射したり、あるいは貫通孔256や表示プレート255の下端から反射層により乱反射して間接入射するようになっており、すなわちLED71から発せられた光は、様々な角度と方向から表示プレート255内部に入射するようになっており、前述した実施形態と同様な作用効果を奏する。
なお、貫通孔256に変えて、表示プレート255の下端面に略半円状の孔を設け、それ以外の構成は前記に準じて形成するようにしてもよい。
次に、図26は、表示装置において他の実施形態のLED基板700を用いたときの説明図であり、(A)は、LED基板700を示す正面図、(B)は、LED基板700を装着したときの表示装置の一部断面図である。LED基板700には、前述した表面実装型のLEDに変えてランプ型の赤LED710a、青LED710b、緑LED710cが上記と同様に3個を一組として5組設けられている。そして、これらの赤LED710a、青LED710b、緑LED710cは、図26(B)に示すように、LEDの頭部が表示プレート55に臨むようにL字状の端子でLED基板700に装着されており、このようにすることでもLED基板を立設して形成することが可能となる。これにより表示装置の厚みを薄くして、取り扱い易いものにすることができる。
ここで、この実施形態の表示装置においては、LED710から発せられた光は、全て表示プレート55内に直接入射するようになっており、従って上記したような反射層49a、49bや反射層74は形成されていない。但し、このように光を表示プレート55内部に直接入射させるもののみにすると、上記図11(A)のところで説明した直接光が到達しない斜線部59(光の筋)が発生するので、本実施形態のフレーム720では、この光の筋を覆い隠すだけの充分な長さの目隠し部としての前板721が形成されている。
次に、図27及び図28を参照しながら、表示装置の制御回路の他の実施形態について説明する。図27は、表示装置の制御回路の他の例を示す要部ブロック図である。この例が、前記図16に示した要部ブロック図と異なる点は、入力回路82に接続されたディップスイッチ85が設けられたLEDドライバ基板180と、出力回路83にパラレル接続された6枚のLED基板70である。
ディップスイッチ85は、LED71の発光パターンや発光色を設定または設定変更するものであり、またLED基板70は3枚一組で、一方が第1プレート55aに臨み、他方が第2プレート55bに臨んでいる。すなわちLEDドライバ基板180は、図示しない電源からの電気の供給を受け、入力回路82を介して取得したディップスイッチ85からの信号に基づいて、CPU81が、出力回路83に接続された6枚のLED基板70を個別に点灯制御する。
このように構成される表示装置の制御回路180では、表示装置を所望の発光パターンや発光色にて点灯させることが可能になる。たとえば1枚のLED基板70単位で点灯制御が可能になったことで、模様を所望の色で横方向に順次発光(横方向グラデーション)させたりすることもでき、より装飾効果及び演出効果が向上する。
図28は、図27に示すディップスイッチ85に替えて、リモコン装置90にて発光パターンや発光色を設定する場合の表示装置における制御回路の要部ブロック図である。図28に示すように、LEDドライバ基板280において、リモコン装置90からの信号は受信回路88にて無線で受信され、この受信回路88にて受信した信号が入力回路82に入力されるもので、これにより表示プレートの発光態様、すなわちLED71の発光パターンや発光色を設定または設定変更するようになっている。
以上の説明から明らかなように、本発明の表示装置は、表示プレートを2枚の第1プレート及び第2プレートにて形成しているものの、前述したようにLED基板を立設して形成しているので、装飾効果や演出効果が極めて高い装置でありながら、表示装置の厚みを極力薄くすることができ、極めて使い勝手のよい装置となる。
以上、本発明の実施の形態を図面によって説明してきたが、具体的な構成は実施の形態に示したものに限られるものではなく、本発明の要旨を逸脱しない範囲における変更や追加があっても本発明に含まれる。
実施の形態では、表示プレート55は2枚の導光板(第1プレート55a、第2プレート55b)にて形成したが、これは3枚以上であってもよい。但し、あまり多いと表示装置50が厚くなるので好ましくない。また、表示プレート55を正面視したときに、第1プレート55aの模様(印刷部)60aと第2プレート55bの模様(印刷部)60bとが重ならないようにしたが、これは所定の箇所が重なるようにしてもよい。模様同士が重なると、その重なった箇所ではLED71の点灯、不点灯に拘わらず色合いが変わり、表示プレート55の趣が変化するので、これを上手く活用して適宜に模様を施すようにすればよい。
またコの字状のフレームを一例として示したが、フレームの形状はこれに限定されるものではない。たとえば、表示プレートの周囲4辺を取り囲む枠でも、周囲の対向する2辺で挟み込むようにして表示プレートを支持する枠でもよい。また、L字状のフレームでも、表示プレートの1辺だけを支持するもの、たとえば表示プレートの下端部を表裏両面から挟み込んで支持するようなものであってもよい。但し、これもまたフレームが厚くなる態様は好ましくない。
また、フレームに設けた切欠68の数、大きさ、配置は実施の形態で例示したものに限定されない。また、表示装置50では、2列に設置されたLED71から発せられる入射光51が必ず対応する第1プレート55a、第2プレート55b内部に入射するように、つまり隣接する入射光51の侵入を防止する防止部材としての機能を果たすように、基部間仕切り57を上記前板53と同じ大きさに形成したが、この基部間仕切り57の大きさは、LED71の指向性に合わせて適宜に設定すればよい。要は、隣接する入射光51の侵入を防止できればよい。
また、第1プレート55aと第2プレート55bとは、基部間仕切り57の厚みだけ隙間ができるので、この隙間から塵等が侵入するのを防止する防塵手段(遮蔽部材)を設けるようにしてもよい。この防塵手段としては、たとえば第1プレート55a及び第2プレート55bの上端面の隙間を塞ぐようにテープを貼ったり、プレートを付設してこの隙間を塞ぐようにすること等が考えられる。さらに、このようにすれば、第1プレート55aと第2プレート55bとの相対位置を、より精度高く固定することもできる。勿論、防塵手段とは別に、ピン等で第1プレート55aと第2プレート55bとを固定するようにしてもよい。
このほか、表示装置50は、所定時間が経過すると自動的に点灯態様が変化するように構成してもよい。たとえば、朝、昼、夜で点灯色を、それに合った色調に変更するなどである。また、LED71はフルカラーのLEDを採用してもよい。また、表示装置50は、電源コードによる外部からの電気供給(たとえばAC100V商用電源)に限らず、たとえばフレーム62に内蔵させた燃料電池から電気を供給するようにしてもよい。
このほか実施の形態では、表示プレートの1つの端面のみから光源の光を照射するように構成したが、2以上の端面から光を照射してもよい。たとえば、表示プレートが縦方向に長くて一方の端面から光を照射しただけでは光が他端まで到達し難い場合には、対向する両端面から光を照射するように構成するとよい。
また、表示プレートの表面に半透明状の有色(たとえば黒)のシートやプレートを付設するようにしてもよい。このようにすると、LED71が点灯していないときは模様60が見えにくくなり、一方LED71が点灯すると、模様60が何もないところから出現するような演出が可能となり、演出効果が向上する。
また、実施の形態では、光を拡散する模様60を印刷により形成したが、エッチングや彫刻により導光板に直接模様を形成してもよい。彫られた箇所は導光板内の光を拡散して発光する。
さらに、実施の形態では、模様の色とLEDの発光色との組合せにより模様を選択的に発光させるものの一例を図23及び図24において説明したが、模様の色や配置、大きさなどはこれらの図に例示したものに限定されない。また、模様の移動パターンは図24に示すような一定方向に順に移動するものに限らず、たとえば模様が行ったり来たりしながら進むように構成してもよい。
次に特許請求の範囲の構成と、本発明の実施形態との主な対応を説明する。表示プレートは表示プレート55、第1プレート55a、155a、第2表示プレート55bに相当し、表示プレートの光が照射される端面は表示プレートの下端(光の入射端面)54、54a、54bに相当し、光源部(第1光源部及び第2光源部)はLED71、71a、71b、71c、710、710a、710b、710cに相当し、基板はLED基板70、700に相当し、フレームはフレーム62、362、720に相当し、表面実装型の発光ダイオードはLED71に相当し、反射部材及び反射層は反射層49a、49b、74に相当し、ランプ型の発光ダイオードはLED710に相当し、目隠し部は前板721に相当し、孔は貫通孔256に相当し、反射材は反射テープ56a、56bに相当し、一部が曲面状に形成されている表示プレートは第1プレート155aに相当し、表示プレートの入射した端面と異なる端面から出射する光は透過光233に相当し、制御部はLEDドライバ基板80、180に相当し、点灯設定手段はディップスイッチ85、リモコン装置90に相当し、フィルムシートはフィルムシート78、カッティングシート79に相当し、第1表示プレートは第1プレート55a、155aに相当し、第2表示プレートは55bに相当し、防止部材は基部間仕切り57に相当し、遮蔽部材は防塵手段に相当する。
47a、47b、47c、47d…ストッパ片、 48a、48b…嵌合溝、
49a、49b…反射層、 50…表示装置、
51…入射光、 52…反射光、
53…前板、 54、54a、54b…表示プレートの下端(光の入射端面)
55…表示プレート、 55a…第1プレート、
55b…第2プレート、 56a、56b…反射テープ、
57…基部間仕切り、 58a、58b…反射シート、
59…斜線部、 60、60a、60b…模様(印刷部)、
61a、61b…側間仕切り、 62…フレーム、
63…基部フレーム、 64a、64b…側フレーム、
65…背板、 68…切欠、 69…嵌合孔、
70…LED基板、 71…LED、
71a…赤LED、 71b…青LED、 71c…緑LED、
72…抵抗、 74…反射層、
78…フィルムシート、 79…カッティングシート、
80…LEDドライバ基板、 81…CPU、
82…入力回路、 83…出力回路、
84…バス、 85…ディップスイッチ、
86…ROM、 87…RAM、
88…受信回路、 89…電源回路、
90…リモコン装置、 147…傷付き防止コーティング、
150…表示装置、 151…曲面部、
152…平面部、 154a…第1プレートの上端(光の放射端面)、
154b…第2プレートの上端(光の放射端面)、
155a…第1プレート、 161…赤色の魚の模様、
162…緑色の魚の模様、 163…白色の魚の模様、
180…LEDドライバ基板、 233…透過光、
250…表示装置、 255…表示プレート、
256…貫通孔、 280…LEDドライバ基板、
350…表示装置、 362…フレーム、
363…基部フレーム、 364a、364b…側フレーム、
700…LED基板、 710…LED、
710a…赤LED、 710b…青LED、 710c…緑LED、
720…フレーム、 721…前板
49a、49b…反射層、 50…表示装置、
51…入射光、 52…反射光、
53…前板、 54、54a、54b…表示プレートの下端(光の入射端面)
55…表示プレート、 55a…第1プレート、
55b…第2プレート、 56a、56b…反射テープ、
57…基部間仕切り、 58a、58b…反射シート、
59…斜線部、 60、60a、60b…模様(印刷部)、
61a、61b…側間仕切り、 62…フレーム、
63…基部フレーム、 64a、64b…側フレーム、
65…背板、 68…切欠、 69…嵌合孔、
70…LED基板、 71…LED、
71a…赤LED、 71b…青LED、 71c…緑LED、
72…抵抗、 74…反射層、
78…フィルムシート、 79…カッティングシート、
80…LEDドライバ基板、 81…CPU、
82…入力回路、 83…出力回路、
84…バス、 85…ディップスイッチ、
86…ROM、 87…RAM、
88…受信回路、 89…電源回路、
90…リモコン装置、 147…傷付き防止コーティング、
150…表示装置、 151…曲面部、
152…平面部、 154a…第1プレートの上端(光の放射端面)、
154b…第2プレートの上端(光の放射端面)、
155a…第1プレート、 161…赤色の魚の模様、
162…緑色の魚の模様、 163…白色の魚の模様、
180…LEDドライバ基板、 233…透過光、
250…表示装置、 255…表示プレート、
256…貫通孔、 280…LEDドライバ基板、
350…表示装置、 362…フレーム、
363…基部フレーム、 364a、364b…側フレーム、
700…LED基板、 710…LED、
710a…赤LED、 710b…青LED、 710c…緑LED、
720…フレーム、 721…前板
Claims (21)
- 光を拡散する模様を導光板に付した表示プレートと、前記表示プレートの端面に光を照射する光源部が少なくとも取り付けられた基板とを有し、
前記基板は、その板厚方向が前記表示プレートの板厚方向と同方向で、この表示プレートの端面から連なるように設けられていることを特徴とする表示装置。 - 前記表示プレートを着脱可能に支持するフレームを有することを特徴とする請求項1に記載の表示装置。
- 前記基板は、前記フレームに内蔵されていることを特徴とする請求項2に記載の表示装置。
- 前記光源部の光源は表面実装型の発光ダイオードであり、この発光ダイオードから出射する光を反射する反射部材を設け、この反射部材により光を反射させて前記表示プレートの端面に光を照射することを特徴とする請求項1乃至請求項3の何れかに記載の表示装置。
- 前記反射部材は、前記フレームまたは/及び前記基板の表面に形成された光の反射層であることを特徴とする請求項4に記載の表示装置。
- 前記光源部の光源はランプ型の発光ダイオードであり、この発光ダイオードは、その頭部が表示プレートの端面に臨むように略L字状の端子で前記基板に取り付けられていることを特徴とする請求項1乃至請求項3の何れかに記載の表示装置。
- 前記フレームは、装着された表示プレートのうち前記発光ダイオードから所定距離の範囲内にある部分を覆い隠す目隠し部を有することを特徴とする請求項6に記載の表示装置。
- 光を拡散する模様を導光板に付した表示プレートと、前記表示プレートの端面に光を照射する発光ダイオードが少なくとも取り付けられた基板とを有し、
前記表示プレートの端面または端面近傍に孔を穿設し、この孔に前記発光ダイオードが臨むように、前記基板をその板厚方向が前記表示プレートの板厚方向と同方向となるように前記表示プレートに付設したことを特徴とする表示装置。 - 前記発光ダイオードから出射する光を反射する反射部材を設け、この反射部材により光を反射させて前記孔の端面に光を照射することを特徴とする請求項8に記載の表示装置。
- 前記表示プレートの前記光源部からの光が入射する箇所を除く端面に反射材を設けたことを特徴とする請求項1乃至請求項9の何れかに記載の表示装置。
- 前記光源部からの光が入射される前記表示プレートの端面に、鏡面加工を施したことを特徴とする請求項1乃至請求項10の何れかに記載の表示装置。
- 前記表示プレートは、その一部または全部が曲面状に形成されていることを特徴とする請求項1乃至請求項11の何れかに記載の表示装置。
- 前記表示プレートに前記光源部から入射された光が、この表示プレートの入射した端面と異なる端面から出射するようにしたことを特徴とする請求項1乃至請求項12の何れかに記載の表示装置。
- 前記光源部の点灯パターンを制御する制御部を備え、前記光源部は、出射する光の色を切り替え可能であり、前記制御部は、前記光源部が出射する光の色を切り替えることを特徴とする請求項1乃至請求項13の何れかに記載の表示装置。
- 前記制御部の点灯制御を所定の点灯パターンに設定する点灯設定手段を備えたことを特徴とする請求項14に記載の表示装置。
- 前記表示プレートは、光を拡散する性質の塗料で模様を導光板に印刷したものであることを特徴とする請求項1乃至請求項15の何れかに記載の表示装置。
- 前記表示プレートは、光を拡散する性質の塗料で模様を印刷したフィルムシートを導光板に貼着したものであることを特徴とする請求項1乃至請求項15の何れかに記載の表示装置。
- 前記フィルムシートは、模様の形に切り取られたものであることを特徴とする請求項17に記載の表示装置。
- 前記表示プレートは、第1表示プレートと第2表示プレートとからなり、前記光源部は、前記第1表示プレートの端面に光を照射する第1光源部と前記第2表示プレートの端面に光を照射する第2光源部とからなり、
前記第1表示プレートは前記第2表示プレートの前面側に位置し、この第1表示プレート及び第2表示プレートの一部または全部が重なり合って所定の模様が形成されることを特徴とする請求項1乃至請求項18の何れかに記載の表示装置。 - 前記第1光源部から出射された光が前記第2表示プレートの端面に、及び前記第2光源部から出射された光が前記第1表示プレートの端面に入射するのを防止する防止部材を有することを特徴とする請求項19に記載の表示装置。
- 前記第1表示プレートと第2表示プレートとの隙間を覆う遮蔽部材を備えたことを特徴とする請求項19または請求項20に記載の表示装置。
Priority Applications (1)
| Application Number | Priority Date | Filing Date | Title |
|---|---|---|---|
| JP2005290891A JP2007101847A (ja) | 2005-10-04 | 2005-10-04 | 表示装置 |
Applications Claiming Priority (1)
| Application Number | Priority Date | Filing Date | Title |
|---|---|---|---|
| JP2005290891A JP2007101847A (ja) | 2005-10-04 | 2005-10-04 | 表示装置 |
Publications (1)
| Publication Number | Publication Date |
|---|---|
| JP2007101847A true JP2007101847A (ja) | 2007-04-19 |
Family
ID=38028857
Family Applications (1)
| Application Number | Title | Priority Date | Filing Date |
|---|---|---|---|
| JP2005290891A Pending JP2007101847A (ja) | 2005-10-04 | 2005-10-04 | 表示装置 |
Country Status (1)
| Country | Link |
|---|---|
| JP (1) | JP2007101847A (ja) |
Cited By (9)
| Publication number | Priority date | Publication date | Assignee | Title |
|---|---|---|---|---|
| JP2009047909A (ja) * | 2007-08-20 | 2009-03-05 | Ado Union Kenkyusho:Kk | 印刷表示体 |
| KR101017706B1 (ko) | 2008-11-04 | 2011-02-25 | (주)이보라이트 | 엘이디를 이용한 조명광고장치 |
| JP2011175879A (ja) * | 2010-02-25 | 2011-09-08 | Nippon Seiki Co Ltd | 照明装置 |
| KR101108764B1 (ko) * | 2010-11-26 | 2012-02-24 | 전효식 | 자연친화적 외관을 연출하는 면발광 채널 |
| JP2016212335A (ja) * | 2015-05-13 | 2016-12-15 | 賢三 伊達 | 展示品及びフレーム |
| JP2017140430A (ja) * | 2017-04-04 | 2017-08-17 | 株式会社ユニバーサルエンターテインメント | 遊技機 |
| JP2019008285A (ja) * | 2017-06-22 | 2019-01-17 | ゼロックス コーポレイションXerox Corporation | 光導波路上に印刷された画像の画像特定照明のためのシステム及び方法 |
| JP2019008284A (ja) * | 2017-06-22 | 2019-01-17 | ゼロックス コーポレイションXerox Corporation | 光導波路上に印刷された画像の画像特定照明のためのシステム及び方法 |
| KR102409991B1 (ko) * | 2021-08-18 | 2022-06-16 | 김미애 | 크리스탈 장식용 조명 받침대 |
-
2005
- 2005-10-04 JP JP2005290891A patent/JP2007101847A/ja active Pending
Cited By (10)
| Publication number | Priority date | Publication date | Assignee | Title |
|---|---|---|---|---|
| JP2009047909A (ja) * | 2007-08-20 | 2009-03-05 | Ado Union Kenkyusho:Kk | 印刷表示体 |
| KR101017706B1 (ko) | 2008-11-04 | 2011-02-25 | (주)이보라이트 | 엘이디를 이용한 조명광고장치 |
| JP2011175879A (ja) * | 2010-02-25 | 2011-09-08 | Nippon Seiki Co Ltd | 照明装置 |
| KR101108764B1 (ko) * | 2010-11-26 | 2012-02-24 | 전효식 | 자연친화적 외관을 연출하는 면발광 채널 |
| JP2016212335A (ja) * | 2015-05-13 | 2016-12-15 | 賢三 伊達 | 展示品及びフレーム |
| JP2017140430A (ja) * | 2017-04-04 | 2017-08-17 | 株式会社ユニバーサルエンターテインメント | 遊技機 |
| JP2019008285A (ja) * | 2017-06-22 | 2019-01-17 | ゼロックス コーポレイションXerox Corporation | 光導波路上に印刷された画像の画像特定照明のためのシステム及び方法 |
| JP2019008284A (ja) * | 2017-06-22 | 2019-01-17 | ゼロックス コーポレイションXerox Corporation | 光導波路上に印刷された画像の画像特定照明のためのシステム及び方法 |
| DE102018114845B4 (de) | 2017-06-22 | 2025-03-27 | Xerox Corporation | Anzeigevorrichtungskomponente und verfahren zum herstellen der anzeigevorrichtungskomponente |
| KR102409991B1 (ko) * | 2021-08-18 | 2022-06-16 | 김미애 | 크리스탈 장식용 조명 받침대 |
Similar Documents
| Publication | Publication Date | Title |
|---|---|---|
| JP6778914B2 (ja) | 照明装置 | |
| US5276591A (en) | Sign with indirect illumination from light emitting diodes | |
| KR101466546B1 (ko) | 에지형 면광원 양방향 표지판 | |
| JP3690852B2 (ja) | 面発光型表示装置 | |
| CA2883467A1 (en) | Window structure | |
| JP2007037891A (ja) | 遊技機における装飾表示装置 | |
| JP2006062431A (ja) | 加飾装置 | |
| JP2005221661A (ja) | 加飾装置 | |
| JP2006208660A (ja) | 表示装置 | |
| JP4966146B2 (ja) | 面発光装置 | |
| JP2006322968A (ja) | 表示装置 | |
| JP2006288599A (ja) | 遊技機における装飾表示装置 | |
| JP2007101847A (ja) | 表示装置 | |
| JP2011100701A (ja) | 両面発光型パネル及び表示装置 | |
| JP2006204484A (ja) | 表示装置 | |
| JP2006288597A (ja) | 遊技機における装飾表示装置 | |
| JP2007097799A (ja) | 遊技機における装飾表示装置 | |
| JP3176073U (ja) | 高彩度の光変調板及びそれにより製造された照明装置 | |
| JP4544900B2 (ja) | 表示装置 | |
| JP3235949B2 (ja) | 表示装置 | |
| KR101026412B1 (ko) | 후면 장식조명을 구비한 간판 | |
| JP2009209531A (ja) | 発光機能付き積層体 | |
| KR20210016906A (ko) | 시인성을 개선한 도광판을 이용한 도로표지판 | |
| JP2003050555A (ja) | 屋外用看板装置 | |
| CN221378897U (zh) | 一种发光广告牌 |