JP2005299974A - 吸着式冷蔵庫 - Google Patents

吸着式冷蔵庫 Download PDF

Info

Publication number
JP2005299974A
JP2005299974A JP2004113959A JP2004113959A JP2005299974A JP 2005299974 A JP2005299974 A JP 2005299974A JP 2004113959 A JP2004113959 A JP 2004113959A JP 2004113959 A JP2004113959 A JP 2004113959A JP 2005299974 A JP2005299974 A JP 2005299974A
Authority
JP
Japan
Prior art keywords
adsorption
chamber
adsorbent
refrigerator
heat
Prior art date
Legal status (The legal status is an assumption and is not a legal conclusion. Google has not performed a legal analysis and makes no representation as to the accuracy of the status listed.)
Granted
Application number
JP2004113959A
Other languages
English (en)
Other versions
JP4357340B2 (ja
Inventor
Tetsuya Monma
哲也 門馬
Tadahito Mizota
忠人 溝田
Current Assignee (The listed assignees may be inaccurate. Google has not performed a legal analysis and makes no representation or warranty as to the accuracy of the list.)
Yamaguchi Technology Licensing Organization Ltd
Sharp Corp
Original Assignee
Yamaguchi Technology Licensing Organization Ltd
Sharp Corp
Priority date (The priority date is an assumption and is not a legal conclusion. Google has not performed a legal analysis and makes no representation as to the accuracy of the date listed.)
Filing date
Publication date
Application filed by Yamaguchi Technology Licensing Organization Ltd, Sharp Corp filed Critical Yamaguchi Technology Licensing Organization Ltd
Priority to JP2004113959A priority Critical patent/JP4357340B2/ja
Publication of JP2005299974A publication Critical patent/JP2005299974A/ja
Application granted granted Critical
Publication of JP4357340B2 publication Critical patent/JP4357340B2/ja
Anticipated expiration legal-status Critical
Expired - Fee Related legal-status Critical Current

Links

Images

Landscapes

  • Devices That Are Associated With Refrigeration Equipment (AREA)
  • Sorption Type Refrigeration Machines (AREA)

Abstract

【課題】 冷蔵室の蒸発室による冷却範囲を大きく拡大でき、冷蔵室を冷却する初期冷却を短時間で行うことができる吸着式冷蔵庫の提供。
【解決手段】 吸着式冷蔵庫は、冷蔵室2と、蒸発室3と、吸着材51を内蔵した吸着室5と、蒸発室3と吸着室5とをバルブ6を介して連通する導管7とを有する。冷蔵室2を周囲を囲む熱伝導性部材1で構成する。冷蔵室2の周囲を囲む外側に蒸発室3を配置する。蒸発室3を外側周囲を囲む第1の断熱層4で構成する。蒸発室3で発生した冷熱が冷蔵室2を構成する熱伝導性部材1を経由して冷蔵室2内に伝わるようにすることによって、冷蔵室2の蒸発室3による冷却範囲を大きく拡大でき、冷蔵室2を冷却する初期冷却を短時間で行うことができる。
【選択図】 図1

Description

本発明は、吸着材が冷媒を吸着することにより、冷媒が蒸発させられ、その時に生じる蒸発熱を利用して冷熱を発生させる吸着式冷蔵庫に関する。
従来の冷蔵庫の多くは、フロン等の冷媒を使用して、冷媒を電動圧縮機で圧縮し、圧縮された高圧・高温の冷媒を空温式又は水冷式の熱交換器で冷却し、この高圧冷媒を膨張弁などにより断熱膨張させることにより生じる冷熱を利用している。
しかしながら、フロンは漏洩或いは廃棄などにより地球環境に悪影響するという問題があり、電動圧縮機は運転時に騒音を発生するという難点がある。
このため、フロンを用いずに騒音発生の少ない吸着式冷蔵庫の研究が行われ始めている。
吸着式熱サイクルは、例えば、特許文献1の吸着ヒートポンプや、特許文献2の冷媒吸着式ヒートポンプなどに開示されているように、固体と気体との熱の移動を伴う吸着・脱着現象を熱サイクルに利用したものであり、吸着材を外部熱源で加熱し、冷媒を脱着させる脱着過程と、吸着材を低温(通常、常温近辺)の状態まで冷却する冷却過程と、低温の状態で冷媒蒸気を吸着材に吸着させる吸着過程から熱サイクルが構成されている。
なお、脱着過程と冷却過程を合わせて再生過程と称される。
脱着過程では、脱着した冷媒の顕熱や凝縮熱を温熱として利用することができ、冷却過程では、吸着材の冷却熱を温熱として利用することができる。
吸着過程では、冷媒蒸気の吸着に際し発生する吸着熱を温熱として利用することができ、冷媒の蒸発に伴う蒸発熱を冷熱として利用することができる。
また、吸着式熱サイクルで消費する外部エネルギーは、主に吸着材を加熱するための外部熱源であって、例えば、深夜電力を利用して再生過程を実施し、昼間に冷熱を発生する吸着過程を行うなど、効率的な運転を行わせることもできる。
すなわち、吸着式熱サイクルでは、冷熱を常温近辺の状態の吸着材に蓄積してこれを損失なく保存でき、必要な時にその冷熱を利用することができるという特徴を有する。
上記吸着式熱サイクルを冷蔵庫に適用した従来技術としては、例えば、特許文献3の吸着式冷蔵庫が挙げられる。
この特許文献3の従来技術は、吸着式冷凍機を冷蔵庫に適用する際の構造的な安定性の向上や冷蔵庫内を流れる冷媒の移動性の向上を目的として、冷蔵室外の下方に吸着材容器を内装した熱媒体流路室を配置し、冷蔵室外の側面に凝縮器を配置し、冷蔵室内下部に蒸発器を配置した吸着式冷蔵庫や、冷蔵室外の下方に凝縮器を配置し、凝縮器の下方に熱媒体流路室を配置した吸着式冷蔵庫などが開示されている。
また、この特許文献3には、蒸発器の形状を縦方向に細長くし、外周面にフィンを設け、内周面にフェルト,金網,焼結金属などの多孔性物質を材料とするウィックを設けることにより、蒸発器下部に流入する冷媒液をウィックの毛管現象によって蒸発器上部に上昇させ、蒸発面積を増加させると共に、冷蔵室上部においても冷熱を発生させることができることが開示されている。
さらにまた、特許文献3には、上記ウィックを凝縮器と蒸発器とを連通する導管内に設置することによって、凝縮器と蒸発器との間の冷媒蒸気の圧力差と共に毛管現象を利用でき、冷媒液の移動性を向上させることができることが開示されている。
なお、この特許文献3の従来技術は、特に、吸着材をシリカゲルとし、冷媒をエタノールとしたものである。
特開2003−185288号公報 特開2001−241802号公報 特許第3295743号公報
しかしながら、この特許文献3の従来技術は、蒸発器を冷蔵室内に配置したものであって、蒸発器内で生じた冷熱は、蒸発器を構成する部材を介して伝導し、その表面から冷蔵室内の空気に伝達されるため、蒸発器の内周面にウィックを設けたとしても、増加させられる蒸発面積には自ずと制約があり、また、冷蔵室内の空気との伝熱面積にも制約がある。
すなわち、冷却範囲を大きくは拡大できないという問題がある。
また、常温にある冷蔵室を冷却する初期冷却においては、冷蔵室を構成する部材やその断熱材が主要な被冷却負荷となるが、特許文献3の従来技術では、これらの被冷却負荷を冷蔵室内の空気を介して間接的に冷却せざるを得ず、冷蔵室を冷却する初期冷却に長時間を要するという問題がある。
なお、冷蔵庫としては、携帯型クーラー或いはクーラーボックスといった携帯型があり、これらの冷蔵庫の多くは、予め別の冷凍庫などで製造した氷を冷熱源として利用している。
しかしながら、断熱層を有するとしても大気からの伝熱による損失は避け難く、長期間の冷熱の保存は困難であり、必要な時に利用できる冷熱は著しく少ないという難点がある。
そこで、本発明は、上述した状況に鑑みなされたものであって、冷蔵室の蒸発室による冷却範囲を大きく拡大でき、冷蔵室を冷却する初期冷却を短時間で行うことができる吸着式冷蔵庫を提供することを目的とする。
この発明は、上記の課題を解決するために、以下の構成を備えている。
本発明の吸着式冷蔵庫は、被冷却物を収納する冷蔵室と、冷媒を蒸発せしめる蒸発室と、前記冷媒を吸着する吸着材を内蔵した吸着室と、前記蒸発室と前記吸着室とを開閉手段を介して連通する導管とを有し、前記吸着材が前記冷媒を吸着することにより、前記冷媒が蒸発させられ、その時に生じる蒸発熱を利用して冷熱を発生させる吸着式冷蔵庫において、前記冷蔵室が、周囲を囲む熱伝導性部材で構成され、前記冷蔵室の周囲を囲む外側に前記蒸発室を配置し、前記蒸発室が、外側周囲を囲む第1の断熱層で構成され、前記蒸発室で発生した冷熱が前記冷蔵室を構成する前記熱伝導性部材を経由して前記冷蔵室内に伝わるようにしたことを特徴とする構成を有するものである。
上記に記載の本発明によれば、冷蔵室を周囲を囲む熱伝導性部材で構成して、冷蔵室の周囲を囲む外側に前記蒸発室を配置し、蒸発室を外側周囲を囲む第1の断熱層で構成し、蒸発室で発生した冷熱が冷蔵室を構成する熱伝導性部材を経由して冷蔵室内に伝わるようにすることによって、冷蔵室の蒸発室による冷却範囲を大きく拡大でき、冷蔵室を冷却する初期冷却を短時間で行うことができる。
本発明の吸着式冷蔵庫は、被冷却物を収納する冷蔵室と、冷媒を蒸発せしめる蒸発室と、前記冷媒を吸着する吸着材を内蔵した吸着室と、前記冷媒を凝縮せしめる凝縮室と、前記蒸発室と前記吸着室と前記凝縮室とを開閉手段を介して連通し冷媒サイクルを形成する導管とを有し、前記吸着材が前記冷媒を吸着することにより、前記冷媒が蒸発させられ、その時に生じる蒸発熱を利用して冷熱を発生させる吸着式冷蔵庫において、前記冷蔵室が、周囲を囲む熱伝導性部材で構成され、前記冷蔵室の周囲を囲む外側に前記蒸発室を配置し、前記蒸発室が、外側周囲を囲む第1の断熱層で構成され、前記蒸発室で発生した冷熱が前記冷蔵室を構成する前記熱伝導性部材を経由して前記冷蔵室内に伝わるようにしたことを特徴とする構成を有するものである。
この発明は、冷媒系をクローズド系とした形態である。
上記に記載の本発明によれば、冷蔵室を周囲を囲む熱伝導性部材で構成して、冷蔵室の周囲を囲む外側に前記蒸発室を配置し、蒸発室を外側周囲を囲む第1の断熱層で構成し、蒸発室で発生した冷熱が冷蔵室を構成する熱伝導性部材を経由して冷蔵室内に伝わるようにすることによって、冷蔵室の蒸発室による冷却範囲を大きく拡大でき、冷蔵室を冷却する初期冷却を短時間で行うことができる。
本発明の吸着式冷蔵庫は、上記第1の断熱層の周囲を囲む外側に上記吸着室が配置されている。
この発明は、上記吸着室の構成に係る。
上記に記載の本発明によれば、吸着室内にある吸着材が冷媒を吸着する際に、吸着熱が発生し、吸着室内の温度が上昇するが、第1の断熱層が吸着室と蒸発室との間を断熱し、蒸発室内の温度上昇を防ぐことができる。
本発明の吸着式冷蔵庫は、上記第1の断熱層の外側に上記吸着室が配置されている。
上記に記載の本発明によれば、吸着室内にある吸着材が冷媒を吸着する際に、吸着熱が発生し、吸着室内の温度が上昇するが、第1の断熱層が吸着室と蒸発室との間を断熱し、蒸発室内の温度上昇を防ぐことができる。
本発明の吸着式冷蔵庫は、上記吸着室が、上記吸着材を加熱するための吸着材加熱手段を有している。
この発明は、上記吸着室の再生過程に係る形態である。
上記に記載の本発明によれば、吸着材を吸着材加熱手段により加熱するのみで、吸着材に吸着されていた冷媒が脱着,蒸発するので、吸着室内の吸着材を再生させることができる。
本発明の吸着式冷蔵庫は、上記吸着室が、上記吸着材を冷却するための吸着材冷却手段を有している。
この発明は、上記吸着室の再生過程に係る形態である。
上記に記載の本発明によれば、吸着材を吸着材冷却手段により冷却するのみで、吸着室内の温度を下げることができる。
本発明の吸着式冷蔵庫は、上記吸着室が、外側周囲を囲む第2の断熱層で構成されている。
この発明は、上記吸着室の再生過程での放熱防止、或いは火傷防止に係る。
上記に記載の本発明によれば、吸着室の外側周囲には第2の断熱層が形成されているので、吸着室の再生過程における放熱を第2の断熱層により防止することができ、吸着室内の吸着材を効率良く再生し、第2の断熱層に触れても火傷するおそれがない。
本発明の吸着式冷蔵庫は、上記吸着室が、周囲を囲む第2の断熱層で構成されている。
この発明は、上記吸着室の再生過程での放熱防止、或いは火傷防止に係る。
上記に記載の本発明によれば、吸着室の周囲には第2の断熱層が形成されているので、吸着室の再生過程における放熱を第2の断熱層により防止することができ、吸着室内の吸着材を効率良く再生し、第2の断熱層に触れても火傷するおそれがない。
本発明の吸着式冷蔵庫は、上記蒸発室が、内部にウィックを配置した蒸発器である。
この発明は、上記蒸発室の好ましい形態に係る。
上記に記載の本発明によれば、蒸発室の内部にウィックを配置したので、冷媒をウィックにより蒸発室のほぼ全域に分散させることができ、冷媒の蒸発面積が広がるため、冷媒の蒸発速度が速くなり、冷蔵室を急速に冷却することができる。
本発明の吸着式冷蔵庫は、上記吸着材加熱手段が、電熱ヒータである。
上記に記載の本発明によれば、吸着材加熱手段を電熱ヒータとしたので、吸着材を電熱ヒータにより効率良く加熱して再生させることができる。
本発明の吸着式冷蔵庫は、上記吸着材冷却手段が、冷却用の熱媒体出入口を有する熱交換器である。
上記に記載の本発明によれば、吸着材冷却手段を冷却用の熱媒体出入口を有する熱交換器としたので、吸着材を熱交換器による吸着熱と冷却用熱媒体との熱交換により低温の状態まで効率良く冷却することができる。
本発明の吸着式冷蔵庫は、上記吸着室が、上記蒸発室及び上記凝縮室との連通を切り替え可能に複数設けられている。
上記に記載の本発明によれば、複数の吸着室を設けることにより、吸着式冷蔵庫の連続冷却運転が可能である。
本発明の吸着式冷蔵庫は、上記吸着材が、ゼオライトである。
この発明は、好ましい上記吸着材に係る。
上記に記載の本発明によれば、吸着材をゼオライトとしたので、蒸発した冷媒を吸着性能の優れたゼオライトにより効率良く吸着させることができる。
本発明の吸着式冷蔵庫は、上記冷媒が、水である。
この発明は、好ましい上記冷媒に係る。
上記に記載の本発明によれば、冷媒を水としたので、冷媒が地球環境へ悪影響を与えるおそれがない。
以上に述べたように、本発明によれば、冷蔵室の蒸発室による冷却範囲を大きく拡大でき、冷蔵室を冷却する初期冷却を短時間で行うことができる吸着式冷蔵庫を得ることができる。
本発明を実施するための最良の形態について、図面を参照して以下に説明する。
(実施例1)
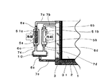
本発明の第1の実施例を図1〜図5に示す。
図1は、本発明の第1の実施例に係る吸着式冷蔵庫の構成を示す正断面図、図2〜図5は、本発明の第1の実施例に係る吸着式冷蔵庫の運転動作を説明する模式図である。
本発明の吸着式冷蔵庫は、被冷却物を収納する冷蔵室2と、冷媒を蒸発せしめる蒸発室3と、冷媒を吸着する吸着材51を内蔵した吸着室5と、蒸発室3と吸着室5とを開閉手段であるバルブ6を介して連通する導管7とを有し、吸着材51が冷媒を吸着することにより、冷媒が蒸発させられ、その時に生じる蒸発熱を利用して冷熱を発生させるようになっている。
本発明の吸着式冷蔵庫は、冷蔵室2が、周囲を囲む熱伝導性部材1で構成され、冷蔵室2の周囲を囲む外側に蒸発室3を配置し、蒸発室3が、外側周囲を囲む第1の断熱層4で構成され、蒸発室3で発生した冷熱が冷蔵室2を構成する熱伝導性部材1を経由して冷蔵室2内に伝わるようになっている。
本発明の吸着式冷蔵庫は、第1の断熱層4の周囲を囲む外側に吸着室5が配置されている。
本発明の吸着式冷蔵庫は、吸着室5が、吸着材51を加熱するための吸着材加熱手段53を有している。
本発明の吸着式冷蔵庫は、吸着室5が、吸着材51を冷却するための吸着材冷却手段54を有している。
本発明の吸着式冷蔵庫は、吸着室5が、外側周囲を囲む第2の断熱層8で構成されている。
本発明の吸着式冷蔵庫は、蒸発室3が、内部にウィック31を配置した蒸発器である。
本発明の吸着式冷蔵庫は、吸着材加熱手段53が、電熱ヒータである。
本発明の吸着式冷蔵庫は、吸着材冷却手段54が、冷却用の熱媒体出入口を有する熱交換器である。
本発明の吸着式冷蔵庫は、吸着材51が、ゼオライトである。
本発明の吸着式冷蔵庫は、冷媒が、水である。
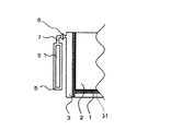
本発明の第1の実施例に係る吸着式冷蔵庫は、図1に示すように、周囲を囲むアルミニウムや銅などの熱伝導性部材1で構成された冷蔵室2と、冷蔵室2の外側周囲を取り囲むように配置された蒸発室3と、蒸発室3の外側周囲を取り囲むように構成された第1の断熱層4と、第1の断熱層4の外側周囲を取り囲むように配置された吸着室5と、開閉手段としてのバルブ6を介して蒸発室3と吸着室5とを連通する導管7より構成されている。
蒸発室3の内部には、熱伝導性部材1の外側周囲を取り囲むようにウィック31が配置されている。
吸着室5は、第2の断熱層8により外側周囲が取り囲まれており、その内部には、顆粒状に成型したゼオライトなどの吸着材51が金属メッシュなどの吸着容器52にて保持されると共に、再生時に吸着材51を加熱するための電熱ヒータなどの吸着材加熱手段53及び吸着材51を冷却するための冷却用の熱媒体出入口を備えた冷却パイプ(熱交換器)などの吸着材冷却手段54が設けられている。
蒸発室3は、バルブ6を介して導管7により吸着室5と連通されている。
さらに、蒸発室3と吸着室5と導管7は、予め減圧処理されて真空状態となっていると共に、冷媒として水が封入されている。
なお、図1において、9は被冷却物を出し入れする際に、吸着式冷蔵庫本体に開閉自在に設けられたドアである。
このような構成による吸着式冷蔵庫において、実際の運転動作を図1及び図2〜図5により説明する。
図2〜図5において、斜線部は水が存在する部分を示し、矢印は水蒸気の移動方向を示す。
なお、図2〜図5では、吸着材加熱手段53及び吸着材冷却手段54は、図示を省略している。
図2は、吸着式冷蔵庫として使用前の状態を示す。
この時、冷媒としての水は、蒸発室3の内部に配置されたウィック31内に保持されている。
吸着室5内の吸着材51は、既に再生処理されており、バルブ6は閉じているため、吸着室5内は極めて蒸気圧の低い状態を保っている。
図3は、吸着式冷蔵庫として使用中の状態を示す。
図2に示す使用前の状態からバルブ6を開くと、水蒸気が蒸発室3内から導管7,バルブ6を通過して吸着室5内に入り、吸着材51が水蒸気を吸着し、蒸発室3内の蒸気圧の低下を抑えるように、ウィック31より水が蒸発する。
この時、蒸発熱が奪われるため、ウィック31と密着して重合するように連結している熱伝導性部材1が冷却され、その結果、冷蔵室2が冷却されることになる。
本発明の第1の実施例では、冷蔵室2の外側周囲を取り囲むように蒸発室3が設けられているため、冷却面積が広いと共に、冷蔵室2を熱伝導性部材1により構成したことで、蒸発室3で発生した冷熱が冷蔵室2を構成する熱伝導性部材1を経由して冷蔵室2内に伝わり、冷蔵室2を効果的に冷却することができる。
さらに、蒸発室3内にはウィック31が配置されているので、水を蒸発室3のほぼ全域に分散させることができる。
すなわち、水の蒸発面積が広がるため、水の蒸発速度が速くなり、冷蔵室2を急速に冷却することができる。
さらに、吸着材51が水分を吸着する際は、吸着熱が発生し、吸着室5内の温度が上昇するが、蒸発室3の外周を覆っている第1の断熱層4が吸着室5と蒸発室3との間を断熱し、蒸発室3内の温度上昇を防ぐことができる。
なお、吸着材51は、吸着材冷却手段54により冷却するのが望ましい。
本発明の第1の実施例では、蒸発室3内の水が全て蒸発するか、あるいは吸着材51が吸着容量に達するまで水分を吸着すると、吸着式冷蔵庫の冷却運転が終了する。
図4及び図5は、吸着材51を再生している状態を示す。
吸着材51を吸着材加熱手段53により加熱すると、図4に示すように、吸着材51に吸着されていた水は、脱着,蒸発して水蒸気となる。
この水蒸気は、吸着室5内から導管7,バルブ6を通過して蒸発室3内に入り、蒸発室3内で冷却されて凝縮し、液体(水)となってウィック31に吸収される。
この時、蒸発室3と吸着室5との間は、第1の断熱層4によって断熱されているため、吸着材加熱手段53により吸着室5内が高温になろうとも、蒸発室3が加熱されることはない。
また、吸着室5の外側周囲には、第2の断熱層8が形成されているため、放熱による熱損失を第2の断熱層8により抑えることができ、効率良く吸着材51を再生することができると共に、火傷防止にも繋がる。
吸着材51の水分脱着が完了すると、吸着材加熱手段53による吸着材51の加熱を停止した後、図5に示すように、バルブ6を閉じ、吸着材51を吸着材冷却手段54により冷却する。
吸着室5内の温度が下がると、図2に示す使用前の状態に戻り、いつでも吸着式冷蔵庫の運転が可能な状態となる。
冷蔵室2内の温度調整は、冷蔵室2内に設置された図示しない温度センサにより検知した検知温度と設定した設定温度に基づき、冷蔵室2内の温度が高い時は、バルブ6を開き、冷蔵室2内の温度が低い時は、バルブ6を閉じることで制御可能である。
(実施例2)
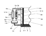
本発明の第2の実施例を図6〜図13に示す。
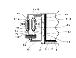
図6は、本発明の第2の実施例に係る吸着式冷蔵庫の構成を示す要部側断面図、図7は、本発明の第2の実施例に係る吸着式冷蔵庫の構成を示す要部切断背面図、図8〜図13は、本発明の第2の実施例に係る吸着式冷蔵庫の運転動作を説明する模式図である。
本発明の吸着式冷蔵庫は、被冷却物を収納する冷蔵室2と、冷媒を蒸発せしめる蒸発室3と、冷媒を吸着する吸着材51a,51bを内蔵した吸着室5a,5bと、冷媒を凝縮せしめる凝縮室10と、蒸発室3と吸着室5a,5bと凝縮室10とを開閉手段であるバルブ6a,6b,6c,6d,6eを介して連通し冷媒サイクルを形成する導管7a,7b,7c,7d,7eとを有し、吸着材51a,51bが冷媒を吸着することにより、冷媒が蒸発させられ、その時に生じる蒸発熱を利用して冷熱を発生させるようになっている。
本発明の吸着式冷蔵庫は、冷蔵室2が、周囲を囲む熱伝導性部材1で構成され、冷蔵室2の周囲を囲む外側に蒸発室3を配置し、蒸発室3が、外側周囲を囲む第1の断熱層4で構成され、蒸発室3で発生した冷熱が冷蔵室2を構成する熱伝導性部材1を経由して冷蔵室2内に伝わるようになっている。
本発明の吸着式冷蔵庫は、第1の断熱層4の外側に吸着室5a,5bが配置されている。
本発明の吸着式冷蔵庫は、吸着室5a,5bは、吸着材51a,51bを加熱するための吸着材加熱手段53a,53bを有している。
本発明の吸着式冷蔵庫は、吸着室5a,5bは、吸着材51a,51bを冷却するための吸着材冷却手段54a,54bを有している。
本発明の吸着式冷蔵庫は、吸着室5a,5bは、周囲を囲む第2の断熱層8a,8bで構成されている。
本発明の吸着式冷蔵庫は、蒸発室3は、内部にウィック31を配置した蒸発器である。
本発明の吸着式冷蔵庫は、吸着材加熱手段53a,53bが、電熱ヒータである。
本発明の吸着式冷蔵庫は、吸着材冷却手段54a,54bが、冷却用の熱媒体出入口を有する熱交換器である。
本発明の吸着式冷蔵庫は、吸着室5a,5bが、蒸発室3及び凝縮室10との連通を切り替え可能に複数設けられている。
本発明の吸着式冷蔵庫は、吸着材51a,51bが、ゼオライトである。
本発明の吸着式冷蔵庫は、冷媒が、水である。
本発明の第2の実施例に係る吸着式冷蔵庫は、図6及び図7に示すように、周囲を囲むアルミニウムや銅などの熱伝導性部材1で構成された冷蔵室2と、冷蔵室2の外側周囲を取り囲むように配置された蒸発室3と、蒸発室3の外側周囲を取り囲むよう構成された第1の断熱層4と、第1の断熱層4の外側に配置された複数の吸着室5a,5bと、開閉手段としてのバルブ6a,6bを介して蒸発室3と各吸着室5a,5bとを連通する導管7a,7bより構成されている。
蒸発室3の内部には、熱伝導性部材1の外側周囲を取り囲むようにウィック31が配置されている。
吸着室5a,5bは、第2の断熱層8a,8bにより周囲が取り囲まれており、吸着室5a,5bの内部には、顆粒状に成型したゼオライトなどの吸着材51a,51bが金属メッシュなどの吸着容器52a,52bにて保持されると共に、再生時に吸着材51a,51bを加熱するための電熱ヒータなどの吸着材加熱手段53a,53b及び吸着材51a,51bを冷却するための冷却用の熱媒体出入口を備えた冷却パイプ(熱交換器)などの吸着材冷却手段54a,54bが設けられている。
蒸発室3は、各々バルブ6a,6bを介して導管7a,7bにより吸着室5a,5bと連通されている。
吸着室5a,5bは、各々バルブ6c,6dを介して導管7c、7dにより凝縮室10と連通されている。
凝縮室10は、バルブ6eを介して導管7eにより蒸発室3と連通されている。
さらに、蒸発室3と吸着室5a,5bと導管7a〜7eと凝縮室10は、予め減圧処理されて真空状態となっていると共に、冷媒として水が封入されている。
なお、図6において、9は被冷却物を出し入れする際に、吸着式冷蔵庫本体に開閉自在に設けられたドアである。
このような構成による吸着式冷蔵庫において、実際の運転動作を図6,図7及び図8〜図13により説明する。
図8〜図13において、斜線部は水が存在する部分を示し、矢印は水蒸気の移動方向を示す。
なお、図8〜図13では、吸着材加熱手段53a,53b及び吸着材冷却手段54a,54bは、図示を省略している。
本発明の第2の実施例では、複数の吸着室5a,5bを設けることで、吸着式冷蔵庫の連続冷却運転を可能としている。
各吸着室5a,5bは、吸着過程、再生過程、冷却過程を経て再び吸着過程に戻り、これを繰り返す。
図8は、吸着室5aが吸着過程の状態を示し、吸着室5bが再生過程の状態を示す。
蒸発室3の内部に配置されたウィック31に保持されている水は、バルブ6aを開くことで蒸発し、吸着材51aよる水蒸気の吸着が始まり、蒸発室3内の水蒸気が導管7a,バルブ6aを通過して吸着室5a内に入り、水蒸気は吸着室5a内の吸着材51aに吸着される。
この時、蒸発熱によりウィック31が冷却され、熱伝導性部材1を介して冷蔵室2が冷却される。
吸着材51aが水分を吸着する際は、吸着熱が発生し、吸着室5a内の温度が上昇するので、吸着材51aを吸着材冷却手段54aにより冷却するのが望ましい。
一方、吸着材51bは、既に水を吸着しており、吸着室5bは、バルブ6bを閉じた後、バルブ6dを開くと共に、吸着材51bを再生するために吸着材加熱手段53bにより加熱することで、吸着材51bに吸着されていた水は脱着,蒸発して水蒸気となり、吸着室5b内の吸着材51bの再生が始まる。
吸着材51bから脱着した水蒸気は、バルブ6dを開くことで、吸着室5b内から導管7d,バルブ6dを通過して凝縮室10内に流入し、凝縮室10内で凝縮して水となる。
なお、凝縮室10は、全過程において常時空冷により冷却されている。
図9は、吸着室5b内にある吸着材51bの再生が終了し、吸着室5bの冷却過程に入っている状態を示す。
吸着材51bは高温となっているため、吸着材51bの吸着材加熱手段53bによる加熱を停止し、バルブ6dを閉じ、吸着材51bを吸着材冷却手段54bにより冷却している。
この時、吸着室5aは依然として吸着過程の状態にあり、冷蔵室2の冷却は継続している。
図10は、吸着室5bの冷却過程が終了し、且つ、凝縮室10に溜まっていた水の冷却も終了した状態を示す。
吸着室5aは依然として吸着過程の状態にある。
バルブ6eを開くことで、凝縮室10内の水は、導管7e,バルブ6eを通過して蒸発室3内に流入する。
凝縮室10内から蒸発室3内への水の流入が終了すれば、バルブ6eを閉じる。
これら図8から図10までの過程において、吸着材51aは連続して水蒸気を吸着しているので、この間、冷蔵室2は常に冷却されている状態を保っている。
図11は、図8とは逆に、吸着室5aが再生過程の状態を示し、吸着室5bが吸着過程の状態を示す。
蒸発室3の内部に配置されたウィック31に保持されている水は、バルブ6bを開くことで蒸発し、吸着材51bによる水蒸気の吸着が始まり、蒸発室3内の水蒸気が導管7b,バルブ6bを通過して吸着室5b内に入り、水蒸気は吸着室5b内の吸着材51bに吸着される。
この時、蒸発熱によりウィック31が冷却され、熱伝導性部材1を介して冷蔵室2が冷却される。
吸着材51bが水分を吸着する際は、吸着熱が発生し、吸着室5b内の温度が上昇するので、吸着材51bを吸着材冷却手段54bにより冷却するのが望ましい。
一方、吸着材51aは、既に水を吸着しており、吸着室5aは、バルブ6aを閉じた後、バルブ6cを開くと共に、吸着材51aを再生するために吸着材加熱手段53aにより加熱することで、吸着材51aに吸着されていた水は脱着,蒸発して水蒸気となり、吸着室5a内の吸着材51aの再生が始まる。
吸着材51aから脱着した水蒸気は、バルブ6cを開くことで、吸着室5a内から導管7c,バルブ6cを通過して凝縮室10内に流入し、凝縮室10内で凝縮して水となる。
図12は、吸着室5a内にある吸着材51aの再生が終了し、吸着室5aの冷却過程に入っている状態を示す。
吸着材51aは高温となっているため、吸着材51aの吸着材加熱手段53aによる加熱を停止し、バルブ6cを閉じ、吸着材51aを吸着材冷却手段54aにより冷却している。
この時、吸着室5bは依然として吸着過程の状態にあり、冷蔵室2の冷却は継続している。
図13は、吸着室5aの冷却過程が終了し、且つ、凝縮室10に溜まっていた水の冷却も終了した状態を示す。
吸着室5bは依然として吸着過程の状態にある。
バルブ6eを開くことで、凝縮室10内の水は、導管7e,バルブ6eを通過して蒸発室3内に流入する。
凝縮室10内から蒸発室3内への水の流入が終了すれば、バルブ6eを閉じる。
これら図11から図13までの過程において、吸着材51bは連続して水蒸気を吸着しているので、この間、冷蔵室2は常に冷却されている状態を保っている。
以上に述べた、図8から図13までの動作を繰り返し行うことで、連続して冷蔵室2を冷却することができる。
冷蔵室2内の温度調整は、冷蔵室2内に設置された図示しない温度センサにより検知した検知温度と設定した設定温度に基づき、冷蔵室2内の温度が高い時は、図8〜図10の状態ではバルブ6aを開き、図11〜図13の状態ではバルブ6bを開く。
冷蔵室2内の検知温度が設定温度を下回れば、前記各々のバルブ6a,6bを閉じることで、冷蔵室2内の温度調整を制御可能である。
本実施例において、冷蔵室は熱伝導性部材で構成したことで、蒸発室で発生した冷熱を効率良く冷蔵室内に導くことができると共に、冷蔵室を取り囲むように蒸発室を設けたことで、冷蔵室の蒸発室による冷却範囲を大きく拡大できるので、冷蔵室の急速冷却が可能な構成となっている。
また、蒸発室内に配置されたウィックにより、冷媒としての水は蒸発室全体に行き渡るので、冷媒の蒸発面積を大きく拡大できる。
本発明は、以上、詳細に説明するように、冷蔵室を周囲を囲む熱伝導性部材で構成して、冷蔵室の周囲を囲む外側に蒸発室を配置し、蒸発室を外側周囲を囲む第1の断熱層で構成し、蒸発室で発生した冷熱が冷蔵室を構成する熱伝導性部材を経由して冷蔵室内に伝わるようにすることによって、冷蔵室の蒸発室による冷却範囲を大きく拡大でき、冷蔵室を冷却する初期冷却を短時間で行うことができる吸着式冷蔵庫を提供する効果がある。
なお、本発明は、地球環境への悪影響がない水などの冷媒を用いることができ、殆ど可動部を有さないため騒音発生が少なく、深夜電力を利用した効率的な運転が可能など、多くの特長を有する吸着式熱サイクルを適用した冷蔵庫の実用化に寄与するものであって、その産業上の利用価値は極めて大きい。
本発明の第1の実施例に係る吸着式冷蔵庫の構成を示す正断面図。 本発明の第1の実施例に係る吸着式冷蔵庫の使用前の状態を示す模式図。 本発明の第1の実施例に係る吸着式冷蔵庫の使用中の状態を示す模式図。 本発明の第1の実施例に係る吸着式冷蔵庫の吸着材を再生している状態を示す模式図。 本発明の第1の実施例に係る吸着式冷蔵庫の吸着材の再生が終了している状態を示す模式図。 本発明の第2の実施例に係る吸着式冷蔵庫の構成を示す要部側断面図。 本発明の第2の実施例に係る吸着式冷蔵庫の構成を示す要部切断背面図。 本発明の第2の実施例に係る吸着式冷蔵庫における一方の吸着室が吸着過程の状態を示し、他方の吸着室が再生過程の状態を示す模式図。 本発明の第2の実施例に係る吸着式冷蔵庫における他方の吸着室内にある吸着材の再生が終了し、他方の吸着室の冷却過程に入っている状態を示す模式図。 本発明の第2の実施例に係る吸着式冷蔵庫における他方の吸着室の冷却過程が終了し、且つ、凝縮室に溜まっていた水の冷却も終了した状態を示す模式図。 本発明の第2の実施例に係る吸着式冷蔵庫における一方の吸着室が再生過程の状態を示し、他方の吸着室が吸着過程の状態を示す模式図。 本発明の第2の実施例に係る吸着式冷蔵庫における一方の吸着室内にある吸着材の再生が終了し、一方の吸着室の冷却過程に入っている状態を示す模式図。 本発明の第2の実施例に係る吸着式冷蔵庫における一方の吸着室の冷却過程が終了し、且つ、凝縮室に溜まっていた水の冷却も終了した状態を示す模式図。
符号の説明
1 熱伝導性部材
2 冷蔵室
3 蒸発室
4 第1の断熱層
5,5a,5b 吸着室
6,6a,6b,6c,6d,6e バルブ
7,7a,7b,7c,7d,7e 導管
8,8a,8b 第2の断熱層
9 ドア
10 凝縮室
31 ウィック
51,51a,51b 吸着材
52,52a,52b 吸着容器
53,53a,53b 吸着材加熱手段
54,54a,54b 吸着材冷却手段

Claims (14)

  1. 被冷却物を収納する冷蔵室と、冷媒を蒸発せしめる蒸発室と、前記冷媒を吸着する吸着材を内蔵した吸着室と、前記蒸発室と前記吸着室とを開閉手段を介して連通する導管とを有し、前記吸着材が前記冷媒を吸着することにより、前記冷媒が蒸発させられ、その時に生じる蒸発熱を利用して冷熱を発生させる吸着式冷蔵庫において、
    前記冷蔵室は、周囲を囲む熱伝導性部材で構成され、前記冷蔵室の周囲を囲む外側に前記蒸発室を配置し、前記蒸発室は、外側周囲を囲む第1の断熱層で構成され、前記蒸発室で発生した冷熱が前記冷蔵室を構成する前記熱伝導性部材を経由して前記冷蔵室内に伝わるようにしたことを特徴とする吸着式冷蔵庫。
  2. 被冷却物を収納する冷蔵室と、冷媒を蒸発せしめる蒸発室と、前記冷媒を吸着する吸着材を内蔵した吸着室と、前記冷媒を凝縮せしめる凝縮室と、前記蒸発室と前記吸着室と前記凝縮室とを開閉手段を介して連通し冷媒サイクルを形成する導管とを有し、前記吸着材が前記冷媒を吸着することにより、前記冷媒が蒸発させられ、その時に生じる蒸発熱を利用して冷熱を発生させる吸着式冷蔵庫において、
    前記冷蔵室は、周囲を囲む熱伝導性部材で構成され、前記冷蔵室の周囲を囲む外側に前記蒸発室を配置し、前記蒸発室は、外側周囲を囲む第1の断熱層で構成され、前記蒸発室で発生した冷熱が前記冷蔵室を構成する前記熱伝導性部材を経由して前記冷蔵室内に伝わるようにしたことを特徴とする吸着式冷蔵庫。
  3. 上記第1の断熱層の周囲を囲む外側に上記吸着室が配置されている請求項1に記載の吸着式冷蔵庫。
  4. 上記第1の断熱層の外側に上記吸着室が配置されている請求項2に記載の吸着式冷蔵庫。
  5. 上記吸着室は、上記吸着材を加熱するための吸着材加熱手段を有する請求項1または2に記載の吸着式冷蔵庫。
  6. 上記吸着室は、上記吸着材を冷却するための吸着材冷却手段を有する請求項1または2に記載の吸着式冷蔵庫。
  7. 上記吸着室は、外側周囲を囲む第2の断熱層で構成されている請求項1または3に記載の吸着式冷蔵庫。
  8. 上記吸着室は、周囲を囲む第2の断熱層で構成されている請求項2または4に記載の吸着式冷蔵庫。
  9. 上記蒸発室は、内部にウィックを配置した蒸発器である請求項1または2に記載の吸着式冷蔵庫。
  10. 上記吸着材加熱手段は、電熱ヒータである請求項5に記載の吸着式冷蔵庫。
  11. 上記吸着材冷却手段は、冷却用の熱媒体出入口を有する熱交換器である請求項6に記載の吸着式冷蔵庫。
  12. 上記吸着室は、上記蒸発室及び上記凝縮室との連通を切り替え可能に複数設けられている請求項2に記載の吸着式冷蔵庫。
  13. 上記吸着材は、ゼオライトである請求項1または2に記載の吸着式冷蔵庫。
  14. 上記冷媒は、水である請求項1または2に記載の吸着式冷蔵庫。
JP2004113959A 2004-04-08 2004-04-08 吸着式冷蔵庫 Expired - Fee Related JP4357340B2 (ja)

Priority Applications (1)

Application Number Priority Date Filing Date Title
JP2004113959A JP4357340B2 (ja) 2004-04-08 2004-04-08 吸着式冷蔵庫

Applications Claiming Priority (1)

Application Number Priority Date Filing Date Title
JP2004113959A JP4357340B2 (ja) 2004-04-08 2004-04-08 吸着式冷蔵庫

Publications (2)

Publication Number Publication Date
JP2005299974A true JP2005299974A (ja) 2005-10-27
JP4357340B2 JP4357340B2 (ja) 2009-11-04

Family

ID=35331723

Family Applications (1)

Application Number Title Priority Date Filing Date
JP2004113959A Expired - Fee Related JP4357340B2 (ja) 2004-04-08 2004-04-08 吸着式冷蔵庫

Country Status (1)

Country Link
JP (1) JP4357340B2 (ja)

Cited By (10)

* Cited by examiner, † Cited by third party
Publication number Priority date Publication date Assignee Title
WO2012155017A3 (en) * 2011-05-11 2013-01-03 Baker Hughes Incorporated Desorption of a desiccant by radio waves or microwaves for a downhole sorption cooler
WO2018029521A1 (de) * 2016-08-09 2018-02-15 Rep Ip Ag Transportbehälter
KR20180058845A (ko) * 2015-10-16 2018-06-01 토키태 엘엘씨 온도-제어형 휴대형 냉각 유닛
CN109405395A (zh) * 2018-12-03 2019-03-01 广州市香港科大霍英东研究院 一种便携式吸附冷藏箱
CN110160305A (zh) * 2019-06-13 2019-08-23 广州市香港科大霍英东研究院 一种吸附式自冷却桶
CN110486999A (zh) * 2019-08-06 2019-11-22 广州万宝集团有限公司 一种吸附式冷藏装置
EP3601910A4 (en) * 2017-03-24 2020-12-16 Tokitae LLC TEMPERATURE CONTROLLED PORTABLE COOLING UNITS
US11867464B2 (en) 2013-03-29 2024-01-09 Tokitae Llc Temperature-controlled portable cooling units
US11920832B2 (en) 2016-08-09 2024-03-05 Rep Ip Ag Transport container
US12366401B2 (en) 2019-02-07 2025-07-22 Rep Ip Ag Transport container

Cited By (18)

* Cited by examiner, † Cited by third party
Publication number Priority date Publication date Assignee Title
WO2012155017A3 (en) * 2011-05-11 2013-01-03 Baker Hughes Incorporated Desorption of a desiccant by radio waves or microwaves for a downhole sorption cooler
US9359867B2 (en) 2011-05-11 2016-06-07 Baker Hughes Incorporated Desorption of a desiccant by radio waves or microwaves for a downhole sorption cooler
US11867464B2 (en) 2013-03-29 2024-01-09 Tokitae Llc Temperature-controlled portable cooling units
KR102450661B1 (ko) * 2015-10-16 2022-10-04 토키태 엘엘씨 온도-제어형 휴대형 냉각 유닛
KR20180058845A (ko) * 2015-10-16 2018-06-01 토키태 엘엘씨 온도-제어형 휴대형 냉각 유닛
JP2018531357A (ja) * 2015-10-16 2018-10-25 トキタエ エルエルシー 温度制御された携帯型冷却ユニット
US11614267B2 (en) 2016-08-09 2023-03-28 Rep Ip Ag Transport container
EP3686517A1 (de) * 2016-08-09 2020-07-29 Rep Ip Ag Transportbehälter
US11187450B2 (en) 2016-08-09 2021-11-30 Rep Ip Ag Transport container
US20220034574A1 (en) * 2016-08-09 2022-02-03 Rep Ip Ag Transport container
WO2018029521A1 (de) * 2016-08-09 2018-02-15 Rep Ip Ag Transportbehälter
US11920832B2 (en) 2016-08-09 2024-03-05 Rep Ip Ag Transport container
EP3601910A4 (en) * 2017-03-24 2020-12-16 Tokitae LLC TEMPERATURE CONTROLLED PORTABLE COOLING UNITS
CN109405395A (zh) * 2018-12-03 2019-03-01 广州市香港科大霍英东研究院 一种便携式吸附冷藏箱
CN109405395B (zh) * 2018-12-03 2024-03-19 广州市香港科大霍英东研究院 一种便携式吸附冷藏箱
US12366401B2 (en) 2019-02-07 2025-07-22 Rep Ip Ag Transport container
CN110160305A (zh) * 2019-06-13 2019-08-23 广州市香港科大霍英东研究院 一种吸附式自冷却桶
CN110486999A (zh) * 2019-08-06 2019-11-22 广州万宝集团有限公司 一种吸附式冷藏装置

Also Published As

Publication number Publication date
JP4357340B2 (ja) 2009-11-04

Similar Documents

Publication Publication Date Title
US9631851B2 (en) Vacuum container for removing foreign gases from an adsorption refrigeration machine
JP4357340B2 (ja) 吸着式冷蔵庫
CN104819596B (zh) 自然对流加热和/或冷却吸附床的吸附式制冷/热泵装置
CN101135508A (zh) 固体吸附单元管及其复合式吸附制冷装置
WO2011142352A1 (ja) 車両用空調装置
JP2013096586A (ja) 吸着式冷凍装置
JP4985337B2 (ja) 吸着式ヒートポンプ装置
JP3826998B2 (ja) スターリング冷凍システム及びスターリング冷蔵庫
JP5974541B2 (ja) 空気調和システム
JP3295743B2 (ja) 吸着式冷蔵庫
CN101532751A (zh) 内置吸附剂浮头式吸附床制冷单元
JP2005098586A (ja) 空気調和機
JP2003312240A (ja) 車両用空調装置
JP4363336B2 (ja) 冷暖房装置
JP3925245B2 (ja) 車両用蓄熱システム
WO2012102234A1 (ja) 保冷容器とその運転方法
JP4074399B2 (ja) 吸着式冷凍システムの作動方法
JPH07301469A (ja) 吸着式冷凍機
JP2002250573A (ja) 空調装置
JP4179069B2 (ja) 吸着式冷凍機における温度制御システム
JP4069691B2 (ja) 車両用空調装置
JP2005214551A (ja) 吸着式蓄熱装置
JP3334320B2 (ja) 空調装置
WO2022074440A1 (en) Multiple cycles smart adsorption chiller for high ambient temperatures
CN114963605B (zh) 便携式冷藏箱及冷藏箱用吸附式制冷装置

Legal Events

Date Code Title Description
A621 Written request for application examination

Free format text: JAPANESE INTERMEDIATE CODE: A621

Effective date: 20060912

A977 Report on retrieval

Free format text: JAPANESE INTERMEDIATE CODE: A971007

Effective date: 20080821

A131 Notification of reasons for refusal

Free format text: JAPANESE INTERMEDIATE CODE: A131

Effective date: 20080826

A521 Written amendment

Free format text: JAPANESE INTERMEDIATE CODE: A523

Effective date: 20081023

TRDD Decision of grant or rejection written
A01 Written decision to grant a patent or to grant a registration (utility model)

Free format text: JAPANESE INTERMEDIATE CODE: A01

Effective date: 20090707

A01 Written decision to grant a patent or to grant a registration (utility model)

Free format text: JAPANESE INTERMEDIATE CODE: A01

A61 First payment of annual fees (during grant procedure)

Free format text: JAPANESE INTERMEDIATE CODE: A61

Effective date: 20090804

FPAY Renewal fee payment (prs date is renewal date of database)

Free format text: PAYMENT UNTIL: 20120814

Year of fee payment: 3

R150 Certificate of patent (=grant) or registration of utility model

Free format text: JAPANESE INTERMEDIATE CODE: R150

FPAY Renewal fee payment (prs date is renewal date of database)

Free format text: PAYMENT UNTIL: 20120814

Year of fee payment: 3

FPAY Renewal fee payment (prs date is renewal date of database)

Free format text: PAYMENT UNTIL: 20130814

Year of fee payment: 4

LAPS Cancellation because of no payment of annual fees