JP2005299813A - 磁気支持装置 - Google Patents

磁気支持装置 Download PDF

Info

Publication number
JP2005299813A
JP2005299813A JP2004117697A JP2004117697A JP2005299813A JP 2005299813 A JP2005299813 A JP 2005299813A JP 2004117697 A JP2004117697 A JP 2004117697A JP 2004117697 A JP2004117697 A JP 2004117697A JP 2005299813 A JP2005299813 A JP 2005299813A
Authority
JP
Japan
Prior art keywords
signal
target position
position command
control target
current control
Prior art date
Legal status (The legal status is an assumption and is not a legal conclusion. Google has not performed a legal analysis and makes no representation as to the accuracy of the status listed.)
Pending
Application number
JP2004117697A
Other languages
English (en)
Inventor
Takayuki Nakagawa
孝幸 中川
Hidetaka Miyake
英孝 三宅
Yoshihito Imai
祥人 今井
Current Assignee (The listed assignees may be inaccurate. Google has not performed a legal analysis and makes no representation or warranty as to the accuracy of the list.)
Mitsubishi Electric Corp
Original Assignee
Mitsubishi Electric Corp
Priority date (The priority date is an assumption and is not a legal conclusion. Google has not performed a legal analysis and makes no representation as to the accuracy of the date listed.)
Filing date
Publication date
Application filed by Mitsubishi Electric Corp filed Critical Mitsubishi Electric Corp
Priority to JP2004117697A priority Critical patent/JP2005299813A/ja
Publication of JP2005299813A publication Critical patent/JP2005299813A/ja
Pending legal-status Critical Current

Links

Images

Landscapes

  • Magnetic Bearings And Hydrostatic Bearings (AREA)

Abstract

【課題】 x,y二軸の方向から支持された被支持体の位置を制御する場合、他軸の制御系の影響を軽減でき、過渡状態においても良好な制御性能を有する磁気支持装置を得る。
【解決手段】 x及びy軸位置指令手段11a,11bからの位置指令信号Sx,Syに基づいて演算器13d,14dがフィードフォワード信号(補正値)を求め、位置センサ7,8からの位置検出信号Px,Pyに基づくフィードバック制御の補正を行う。例えば、x軸方向の位置制御装置13は、x,y二つの軸に関する位置指令信号Sx,Syに基づいてフィードフォワード信号を求めるので、他軸であるy軸の制御系の影響を軽減できる。
【選択図】 図1

Description

この発明は、被支持体を非接触で支持する磁気支持装置の改良に関する。
従来の磁気支持装置において、x,y,zの各軸ごとに制御系を構成して、各軸について1つの制御位置指令信号と1つの位置センサ検出値によるフィードバック信号を用いて、各軸独立に制御する制御系を構成しているものが知られている(例えば、特許文献1参照)。
特開平5−149339号公報(段落番号0030〜0037及び図1))
従来の磁気支持装置は以上のように構成され、指令位置が変化しない場合はこの制御系でも十分な制御性能が得られる。しかし、指令位置が変化する場合、各軸の相互作用により過渡状態において制御性能が悪化する。さらに、位置センサによる被支持体の検出位置と電磁石の吸引位置とのずれのために正確なギャップつまり正確な被支持体の位置を計測できないため制御性能が悪化するという問題点があった。
この発明は上記のような問題点を解決するためになされたものであり、複数の軸の方向から支持された被支持体を任意の場所へ移動させるように移動指令が出された場合でも他軸の制御系の影響を軽減でき、過渡状態においても良好な制御性能を有する磁気支持装置を得ることを目的とする。
この発明に係る磁気支持装置は、被支持体を磁気力により第一及び第二の軸方向からそれぞれ非接触にて支持する第一及び第二の電磁石と、第一の電磁石の近傍に配設され被支持体の位置を検出して第一の位置検出信号を発信する第一の位置センサと、第二の電磁石の近傍に配設され被支持体の位置を検出して第二の位置検出信号を発信する第二の位置センサと、被支持体の目標位置を指令する第一及び第二の制御目標位置指令信号を発信する第一及び第二の制御目標位置指令信号発信手段と、第一の位置検出信号と第一の制御目標位置指令信号とに基づいて第一の電磁石の電流を制御する第一の電流制御信号を発信する第一の電流制御信号発信手段と、第一及び第二の制御目標位置指令信号に基づいて第一の電流制御信号を補正する第一の信号補正手段と、第二の位置検出信号と第二の制御目標位置指令信号とに基づいて第二の電磁石の電流を制御する第二の電流制御信号を発信する第二の電流制御信号発信手段と、第一及び第二の制御目標位置指令信号に基づいて第二の電流制御信号を補正する第二の信号補正手段とを備えたものである。
そして、被支持体を磁気力により第一及び第二の軸方向からそれぞれ非接触にて支持する第一及び第二の電磁石と、第一の電磁石の近傍に配設され被支持体の位置を検出して第一の位置検出信号を発信する第一の位置センサと、第二の電磁石の近傍に配設され被支持体の位置を検出して第二の位置検出信号を発信する第二の位置センサと、被支持体の目標位置を指令する第一及び第二の制御目標位置指令信号を発信する第一及び第二の制御目標位置指令信号発信手段と、第一の位置検出信号と第一の制御目標位置指令信号とに基づいて第一の電磁石の電流を制御する第一の電流制御信号を発信する第一の電流制御信号発信手段と、第一及び第二の位置検出信号に基づいて第一の電流制御信号を補正する第一の信号補正手段と、第二の位置検出信号と第二の制御目標位置指令信号とに基づいて第二の電磁石の電流を制御する第二の電流制御信号を発信する第二の電流制御信号発信手段と、第一及び第二の位置検出信号に基づいて第二の電流制御信号を補正する第二の信号補正手段とを備えたものである。
さらに、被支持体を磁気力により互いに平行な第一及び第二の軸方向からそれぞれ非接触にて支持する第一及び第二の電磁石と、第一の電磁石の近傍に配設され被支持体の位置を検出して第一の位置検出信号を発信する第一の位置センサと、第二の電磁石の近傍に配設され被支持体の位置を検出して第二の位置検出信号を発信する第二の位置センサと、第一及び第二の位置検出信号に基づいて補正した第一の補正位置検出信号を求める第一の補正位置信号算出手段と、第一及び第二の位置検出信号に基づいて補正した第二の補正位置検出信号を求める第二の補正位置信号算出手段と、被支持体の目標位置を指令する第一及び第二の制御目標位置指令信号を発信する第一及び第二の制御目標位置指令信号発信手段と、第一の補正位置検出信号と第一の制御目標位置指令信号とに基づいて第一の電磁石の電流を制御する第一の電流制御信号を発信する第一の電流制御信号発信手段と、第二の補正位置検出信号と第二の制御目標位置指令信号とに基づいて第二の電磁石の電流を制御する第二の電流制御信号を発信する第二の電流制御信号発信手段とを備えたものである。
以上のように、この発明による磁気支持装置は、被支持体を磁気力により第一及び第二の軸方向からそれぞれ非接触にて支持する第一及び第二の電磁石と、第一の電磁石の近傍に配設され被支持体の位置を検出して第一の位置検出信号を発信する第一の位置センサと、第二の電磁石の近傍に配設され被支持体の位置を検出して第二の位置検出信号を発信する第二の位置センサと、被支持体の目標位置を指令する第一及び第二の制御目標位置指令信号を発信する第一及び第二の制御目標位置指令信号発信手段と、第一の位置検出信号と第一の制御目標位置指令信号とに基づいて第一の電磁石の電流を制御する第一の電流制御信号を発信する第一の電流制御信号発信手段と、第一及び第二の制御目標位置指令信号に基づいて第一の電流制御信号を補正する第一の信号補正手段と、第二の位置検出信号と第二の制御目標位置指令信号とに基づいて第二の電磁石の電流を制御する第二の電流制御信号を発信する第二の電流制御信号発信手段と、第一及び第二の制御目標位置指令信号に基づいて第二の電流制御信号を補正する第二の信号補正手段とを備えたので、一方の軸方向(例えばx軸方向)の移動が他方の軸方向(例えばy軸方向)の移動に与える影響を抑制し、過渡状態においても良好な制御性能を確保することができる。
そして、被支持体を磁気力により第一及び第二の軸方向からそれぞれ非接触にて支持する第一及び第二の電磁石と、第一の電磁石の近傍に配設され被支持体の位置を検出して第一の位置検出信号を発信する第一の位置センサと、第二の電磁石の近傍に配設され被支持体の位置を検出して第二の位置検出信号を発信する第二の位置センサと、被支持体の目標位置を指令する第一及び第二の制御目標位置指令信号を発信する第一及び第二の制御目標位置指令信号発信手段と、第一の位置検出信号と第一の制御目標位置指令信号とに基づいて第一の電磁石の電流を制御する第一の電流制御信号を発信する第一の電流制御信号発信手段と、第一及び第二の位置検出信号に基づいて第一の電流制御信号を補正する第一の信号補正手段と、第二の位置検出信号と第二の制御目標位置指令信号とに基づいて第二の電磁石の電流を制御する第二の電流制御信号を発信する第二の電流制御信号発信手段と、第一及び第二の位置検出信号に基づいて第二の電流制御信号を補正する第二の信号補正手段とを備えたので、第一及び第二の位置検出信号に基づいて第一及び第二の電流制御信号を補正することにより、他方の軸方向への移動により、電磁石と被支持体の距離が変動することによる影響を抑制し、制御性能を向上させることができる。特に、他方向のフィードバック信号を用いることで追従遅れによる影響を受けず補償することができるため、制御性能が向上する。
また、被支持体を磁気力により互いに平行な第一及び第二の軸方向からそれぞれ非接触にて支持する第一及び第二の電磁石と、第一の電磁石の近傍に配設され被支持体の位置を検出して第一の位置検出信号を発信する第一の位置センサと、第二の電磁石の近傍に配設され被支持体の位置を検出して第二の位置検出信号を発信する第二の位置センサと、第一及び第二の位置検出信号に基づいて補正した第一の補正位置検出信号を求める第一の補正位置信号算出手段と、第一及び第二の位置検出信号に基づいて補正した第二の補正位置検出信号を求める第二の補正位置信号算出手段と、被支持体の目標位置を指令する第一及び第二の制御目標位置指令信号を発信する第一及び第二の制御目標位置指令信号発信手段と、第一の補正位置検出信号と第一の制御目標位置指令信号とに基づいて第一の電磁石の電流を制御する第一の電流制御信号を発信する第一の電流制御信号発信手段と、第二の補正位置検出信号と第二の制御目標位置指令信号とに基づいて第二の電磁石の電流を制御する第二の電流制御信号を発信する第二の電流制御信号発信手段とを備えたので、位置センサによる被支持体の検出位置と電磁石による被支持体の吸引位置のずれによる検出誤差による影響を軽減でき、被支持体の位置を精度良く制御することができる。
実施の形態1.
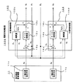
図1は、この発明を実施するための実施の形態1における磁気支持装置の構成を示す構成図である。図1において、磁気支持装置2は電磁石3,4を有する。電磁石3は、x−y軸直交座標系におけるx軸上に配設され、被支持体1を非接触にて支持している。電磁石4は、x−y軸直交座標系におけるy軸上に配設され、被支持体1を非接触にて支持している。位置センサ7,8は、自己と被支持体1との距離を測定することにより、電磁石3,4を基準とした被支持体1のx,y各軸方向の位置を検出する。
電磁石制御装置100は、指令軌跡計算装置11及び位置制御装置13,14を有する。指令軌跡計算装置11は、x軸位置指令手段11a及びy軸位置指令手段11bを有し、それぞれからx及びy各軸方向の位置指令信号Sx,Syを出力する。位置センサ7,8が検出した位置検出信号Px,Pyは、それぞれ位置制御装置13,14に入力される。
位置制御装置13は、フィードバック制御系である加算器13aとPID制御器13bと、フィードフォワード制御系である第一の信号補正手段としての演算器13dと加算器13cとを有している。フィードバック制御系は、x軸方向の位置指令信号Sxと位置センサ7の位置検出信号Pxとが加算器13aにて加算されPID制御器13bを介して加算器13cに出力され、位置指令信号Sxと位置検出信号Pxとが一致するように動作する。また、フィードフォワード制御系の演算器13dへ位置指令信号Sxと位置指令信号Syとが入力され、演算器13dにおいて位置指令信号Sxと位置指令信号Syに基づいて所定の演算(詳細後述)がなされて、その出力がフィードフォワード信号Ff1xとして加算器13cへ出力される。
そして、PID制御器13b及び演算器13dの出力は、加算器13cにて加算される。すなわち、PID制御器13bの出力が演算器13dの出力により補正され、電流制御器17を介して電磁石3の励磁電流を制御することにより、被支持体1のx軸方向の位置を制御する。
位置制御装置14は、フィードバック制御系である加算器14aとPID制御器14bと、フィードフォワード制御系である第二の信号補正手段としての演算器14dと加算器14cとを有している。フィードバック制御系は、y軸方向の位置指令信号Syと位置センサ8の位置検出信号Pyとが加算器14aにて加算されPID制御器14bを介して加算器14cに出力され、位置指令信号Syと位置検出信号Pyとが一致するように動作する。また、フィードフォワード制御系の演算器14dへ位置指令信号Sxと位置指令信号Syとが入力され、演算器14dにおいて位置指令信号Sxと位置指令信号Syに基づいて所定の演算(詳細後述)がなされて、その出力がフィードフォワード信号Ff1yとして加算器14cへ出力される。
そして、PID制御器14b及び演算器14dの出力は、加算器14cにて加算される。すなわち、PID制御器14bの出力が演算器14dの出力により補正され、電流制御器18を介して電磁石4の励磁電流を制御することにより、被支持体1のy軸方向の位置を制御する。
ここで、上記演算器13d及び演算器14dにおける演算の一例について、説明する。演算器13dにおいて、次の計算式によってフィードフォワード信号としての出力Ff1xを計算する。但し、A1x,C1x,D11,D12は定数で、かつ0<D11<1,0<D12<1である。
Ff1x=A1x×(D11・Sx+(1−D11)Sy)+C1x ・・・(1)
演算器14dにおいて、次の計算式によってフィードフォワード信号としての出力Ff1yを計算する。但し、A1y,C1yは定数である。
Ff1y=A1y×((1−D12)・Sx+D12・Sy)+C1y ・・・(2)
以上のように、位置制御装置13及び14は、複数の位置指令信号(Sx,Sy)を用いて、電流制御器17あるいは18を介して電磁石3あるいは4の電流を制御する。これにより、被支持体1を任意の位置へ移動させるように位置指令信号Px,Pyが出され、被支持体1がx,y二つの軸方向に同時に移動する場合でも、一方の軸方向(例えばx軸方向)の移動が他方の軸方向(例えばy軸方向)の移動に与える影響を抑制し、過渡状態においても良好な制御性能を確保することができる。特に、一方の軸方向(例えばx軸方向)の制御に他方の軸方向(例えばz軸方向)の位置指令信号を用いると、位置センサの検出誤差やノイズの影響を受けず、また、他方向の移動による影響を時間遅れなく補償することができるため、制御性能が向上させることができる。
さらに、複数(二つ)の位置センサ7,8の検出値を用いてフィードバック制御を行うため、電磁石3,4が被支持体1を磁気吸引する位置と位置センサ3,4で検出する位置のずれによる検出誤差を少なくし良好な制御性能が得られる。なお、この実施の形態のように、フィードフォワード補償の補償値Ff1x,Ff1yの算出に、上記(1),(2)のような位置センサ3,4の位置検出信号Px,Pyの関数式を用いて計算するようにすると、数式を使用するため、容量の大きな記憶装置を設置する必要がなく、コストを削減できる。
実施の形態2.
図2は、この発明の実施の形態2による磁気支持装置の構成を示す構成図である。図2において、図1に示した磁気支持装置本体2、位置センサ7、位置センサ8、電流制御器17、電流制御器18と同様のものが設けられているが、これら磁気支持装置本体周辺機器の図示を省略している。なお、後で説明する実施の形態3〜8においても、同様の磁気支持装置本体2、位置センサ7、位置センサ8、電流制御器17、電流制御器18が設けられているが、その旨を断るのを省略する。
さて、図2において、電磁石制御装置200は、指令軌跡計算装置11、微分器21、22及び位置制御装置23,24を有している。微分器21は、x軸位置指令手段11aの位置指令信号Sxを微分してx軸方向の時間変化分である速度指令Vx(=dSx/dt)を求める。微分器22は、y軸位置指令手段11bの位置指令信号Syを微分してy軸方向の時間変化分である速度指令Vy(=dSy/dt)を求める。位置制御装置23は演算器23dを有し、位置制御装置24は演算器24dを有している。演算器23d,23dの詳細は、後述する。その他の構成については、図1に示した実施の形態1と同様のものであるので、相当するものに同じ符号を付して説明を省略する。
上記位置制御装置23は、x軸方向の位置指令信号Sxとx軸方向の位置センサ7(図1参照)の位置検出信号Pxとが一致するようなフィードバック制御系である加算器13aとPID制御器13bと、x軸方向の位置指令信号Sxとx軸方向の速度指令信号Vxとy軸方向の位置指令信号Syとy軸方向の速度指令信号Vyとを用いたフィードフォワード制御系である演算器23dと加算器13cとを有している。位置制御装置14についても同様である。
演算器23d及び演算器24dは、x軸位置指令手段11a、y軸位置指令手段11b、微分器21、微分器22から出力される信号である信号Sx,Vx,Sy,Vyに基づき、それぞれ次のような演算を行い、フィードフォワード信号としての出力Ff2x、Ff2yを出力する。但し、A2x,B2x,C2x,A2y,B2y,C2y,D21,D22,D23,D24は定数で、かつ0<D21<1,0<D22<1,0<D23<1,0<D24<1である。
Ff2x=A2x×(D21・Sx+(1−D21)・Sy)+B2×(D22・Vx+(1−D22)0.2・Vy)+C2x ・・・(3)
Ff2y=A2y×((1−D23)・Sx+D23・Sy)+B2×((1−D24)・Vx+D24・Vy)+C2y ・・・(4)
この出力Ff2x,Ff2yが、それぞれ加算器13c,14cに入力される。このように、位置指令信号Sx,Syの他に速度指令信号Vx,Vyを含めてフィードフォワード制御を行うと、静特性だけでなく、動特性の影響も抑制することができるため、さらに制御性能を向上させることができる。
実施の形態3.
図3は、この発明の実施の形態3による磁気支持装置の構成を示す構成図である。図3において、電磁石制御装置300は、指令軌跡計算装置11及び位置制御装置33,34を有している。x軸方向の位置制御装置33は、x軸方向の位置指令信号Sxとx軸方向の位置センサ7(図1参照)の位置検出信号Pxとが一致するようなフィードバック制御系である加算器13aと、フィードフォワード制御系である補償値記憶手段33fと補償値読込手段33gと加算器13cとを有している。
補償値読込手段33gは、x軸方向の位置指令信号Sxとy軸方向の位置指令信号Syとに対応した補償値データFf3x(例えば、予め(1)式にて計算して表形式にしてあるFf1xに相当するデータあるいは実測により求めた最適な補償データ)を補償値記憶手段33fから読み込み、その値を加算器13cに出力し、加算器13aからのフィードバック制御系の信号を補正する。ここで、補償値記憶手段33fには、[x軸方向の位置指令信号Sxの(分解能×駆動範囲)]×[y軸方向の位置指令信号Syの(分解能×駆動範囲)]の補償値データが記憶されている。例えば、分解能0.1μm、駆動範囲1mmの場合、1万個×1万個=1億個の補償値データが記憶されている。
y軸方向の位置制御装置34においても同様であり、y軸方向の位置指令信号Syとy軸方向の位置センサ8(図1参照)の位置検出信号Pyとが一致するようなフィードバック制御系である加算器14aと、フィードフォワード制御系である補償値記憶手段34fと補償値読込手段34gと加算器14cとを有している。
補償値読込手段34gは、x軸方向の位置指令信号Sxとy軸方向の位置指令信号Syとに対応した補償値データFf3y(例えば、予め(1)式にて計算して表形式にしてあるFf1yに相当するデータあるいは実測により求めた最適な補償データ)を補償値記憶手段34fから読み込み、その値を加算器14cに出力し、加算器14aからのフィードバック制御系の信号を補正する。ここで、補償値記憶手段34gには、[x軸方向の位置指令信号Sxの(分解能×駆動範囲)]×[y軸方向の位置指令信号Syの(分解能×駆動範囲)]の補償値データが記憶されている。例えば、分解能0.1μm、駆動範囲1mmの場合、1万個×1万個=1億個の補償値データが記憶されている。
計算を行うことなく補償値記憶手段から補償値を読み取ることができるため、処理速度を向上でき、さらに制御御性能を向上させることができる。また、必要に応じて実測値をそのまま使用することができるため、計算式における非線形性の考慮やパラメータ調整を要せず、制御が容易である。
実施の形態4.
図4は、この発明の実施の形態4による磁気支持装置の構成を示す構成図である。図4において、電磁石制御装置400は、指令軌跡計算装置11及び位置制御装置43,44を有している。x軸方向の位置制御装置43は、フィードバック制御系である加算器13aを有する。また、また、フィードフォワード補償する制御系である丸め込み演算手段43j,43kと補償値記憶手段43fと補償値読み込み手段43gと演算手段43hと加算器13cとを有する。
丸め込み演算手段43j,43kは、x軸方向の位置指令信号Sxとy軸方向の位置指令信号Syとをそれぞれ読み込んで丸め込み演算を行い丸め込み値Sx1r、Sy1rを出力する。補償値読み込み手段43gは、丸め込み値Sx1r、Sy1rに対応する補償値データSx1c、Sy1cを補償値記憶手段43fから読み込む。演算手段43hは、読み込んだ補償値データSx1c、Sy1cに基づいて補正信号としての補償値Ff4xを加算器13cへ出力する(詳細、後述)。補償値記憶手段43fには、例えば記憶間隔10μm、駆動範囲1mmの場合100×100=1万個のデータが記憶されている。
y軸方向の位置制御装置44は、フィードバック制御系である加算器14aを有する。また、また、フィードフォワード補償する制御系である丸め込み演算手段44j,44kと補償値記憶手段44fと補償値読み込み手段44gと演算手段44hと加算器14cとを有する。丸め込み演算手段44j,44kは、x軸方向の位置指令信号Sxとy軸方向の位置指令信号Syとをそれぞれ読み込んで丸め込み演算を行い丸め込み値Sx2r、Sy2rを出力する。補償値読み込み手段44gは、丸め込み値Sx2r、Sy2rに対応する補償値データSx2c,Sy2cを補償値記憶手段44fから読み込む。演算手段44hは、読み込んだ補償値データSx2c、Sy2cに基づいて補正信号としての補償値Ff4yを加算器14cへ出力する(詳細、後述)。補償値記憶手段44fには、例えば記憶間隔10μm、駆動範囲1mmの場合100×100=1万個のデータが記憶されている。
演算手段43h,44hは、例えば図1の演算器13,14と同様に次のような演算を行い、フィードフォワード信号としての補償値Ff4xあるいはFf4yを加算器13cまたは14cへ出力する。但し、A4x,C4x,A4y,C4y,D41,D42は定数で、かつ0<D41<1,0<D42<1である。
Ff4x=A4x×(D41・Sx1c+(1−D41)・Sy1c)+C4x ・・・(5)
Ff4y=A4y×((1−D42)・Sx2c+D42・Sy2c)+C4y ・・・(6)
以上のように、丸め込み値を用いて補償値(補正値)FF4x,Ff4yを求めるようにすると、実測するデータや記憶するデータの量を削減できるため、装置の調整手順の簡略化や記憶装置の容量の削減ができ、コストを削減することができる。
実施の形態5.
図5及び図6は、この発明の実施の形態5を示すものであり、図5は磁気支持装置の構成を示す構成図、図6はフィードフォワード値算出手段の動作を説明するための説明図である。図5において、電磁石制御装置500は、指令軌跡計算装置11及び位置制御装置53,54を有している。x軸方向の位置制御装置53は、x軸方向の位置指令信号Sxとx軸方向の位置センサ7(図1参照)の検出した位置検出信号Pxとが一致するようなフィードバック制御系である加算器13aを有する。また、フィードフォワード制御系である補間用の補間用のデータ記憶手段53a、データ読込手段53b、フィードフォワード値算出手段53c、加算器13cを有する。補間用のデータ読込手段53bは、x軸方向の位置指令信号Sxとy軸方向の位置指令信号Syの前後のこれらの信号の値に最も近い4点のデータDx1〜Dx4を補間用のデータ記憶手段53aから読み込み、フィードフォワード値算出手段53cへ渡す。フィードフォワード値算出手段53cは、これらの値から補間法により補正値を求め、フィードフォワード信号Ff5xとして加算器13cへ出力する。
y軸方向の位置制御装置54では、x軸方向の位置指令信号Sxとx軸方向の位置センサ8(図1参照)の検出した位置検出信号Pyとが一致するようなフィードバック制御系である加算器14aを有する。また、フィードフォワード制御系である補間用の補間用のデータ記憶手段54a、データ読込手段54b、フィードフォワード値算出手段54c、加算器14cを有する。補間用のデータ読込手段54aは、x軸方向の位置指令信号Sxとy軸方向の位置指令信号Syの前後のこれらの信号の値に最も近い4点のデータDy1〜Dy4を補間用のデータ記憶手段54bから読み込み、フィードフォワード値算出手段54cへ渡す。フィードフォワード値算出手段54cは、これらの値から補間法により補正値を求め、フィードフォワード信号Ff5yとして加算器14cへ出力する。
例えば、記憶間隔が10μmであり、現在のx軸方向の指令位置が54.0μm、y軸方向の指令位置が32.0μmであったとする。この場合、図6に示すように、x軸方向の指令位置が50μmと60μm、y軸方向の指令位置が30μmと40μmの組み合わせにおける補償値データDx1=(50,30),Dx2=(60,30),Dx3=(50,40),Dx4=(60,40)の値を読み込む。ここに、Dxn=(x軸方向の指令位置,y軸方向の指令位置)を表す。記憶装置から読み込んだデータが、Dx1=(50、30)=Z1、Dx2=(60、30)=Z2、Dx3=(50、40)=Z3、Dx4=(60、40)=Z4であったとすると、例えばフィードフォワード信号Ff5xは、
Ff5x=(Z1・0.6+Z2・0.4)×0.8+(Z3・0.6+Z4・0.4)×0.2
となる。このフィードフォワード信号Ff5xを加算器13cへ出力する。
位置制御装置54においても、位置制御装置53と同様の構成を有し、動作についてもx軸方向に関する動作がy軸方向に関する動作に変わるだけである。そして、同様の計算をして、フィードフォワード信号Ff5yを加算器14cへ出力する。
以上のように、この実施の形態によれば、実測するデータや記憶するデータ量を削減でき、装置の調整手順の簡略化や記憶装置の容量の削減ができ、コストを削減することができる。装置の調整手順を簡略化できることや、記憶装置の容量を削減できるためコストを削減することができる。また、データを補間するため、より制御性能を向上させることができる。
実施の形態6.
図7は、この発明の実施の形態6による磁気支持装置の構成を示す構成図である。図7において、電磁石制御装置600は、x軸方向の位置制御装置63とy軸方向の位置制御装置64とを有する。x軸方向の位置制御装置63は、x軸方向の位置指令信号Sxとx軸方向の位置センサ7(図1参照)の検出値Pxとが一致するように制御するフィードバック制御系である加算器13aとPID制御器13bと、フィードフォワード補償する制御系である演算器63a,63bを有する。演算器63a,63bは、x軸方向の位置指令信号Sxとy軸方向の位置指令信号Syとのそれぞれについて個別に所定の演算をして、その値を加算器13cに出力する。そして、加算器13cからは、PID制御器13bの信号を演算器63a,63bからの信号により補正して、制御信号Cxが出力される。
y軸方向の位置制御装置64は、y軸方向の位置指令信号Syとy軸方向の位置センサ8(図1参照)の検出値Pyとが一致するように制御するフィードバック制御系と、フィードフォワード補償する制御系である演算器64a,64bを有する。演算器64a,64bは、x軸方向の位置指令信号Sxとy軸方向の位置指令信号Syとのそれぞれについて個別に所定の演算をして、その値を加算器14cに出力する。そして、加算器14cからは、PID制御器14bの信号を演算器64a,64bからの信号により補正して、制御信号Cyが出力される。
各位置指令信号Sx,Syについてそれぞれについて個別に所定の演算を行い各第一ないし第四の演算補正値を得るので、きめ細かい演算補正値を得ることができ、制御性能を向上させることができる。
実施の形態7.
図8は、この発明の実施の形態7による磁気支持装置の構成を示す構成図である。図8において、電磁石制御装置1000は、指令軌跡計算装置11及び位置制御装置103,104を有している。位置制御装置103は加算器13a、PID制御器13b、加算器13c、演算器103dを有する。演算器103dには、位置センサ7からのフィードバック信号であるx軸方向の位置検出信号Pxと、位置センサ8(図1参照)からのフィードバック信号であるy軸方向の位置検出信号Pyが入力され、例えば次のような演算が行われ、補償信号Fb7xが加算器13cへ出力される。但し、A7x,C7x,D71は定数で、かつ0<D71<1である。
Fb7x=A7x×(D71・Px+(1−D71)・Py)+C7x ・・・(7)
同様に、位置制御装置104は、加算器14a、PID制御器14b、加算器14c、演算器104dを有する。演算器104dには、位置センサ8からのフィードバック信号であるy軸方向の位置検出信号Pyと、位置センサ8からのフィードバック信号であるx軸方向の位置検出信号Pxが入力され、例えば次のような演算が行われ、補償信号Fb7yが加算器14cへ出力される。但し、A7y,C7y,D72は定数で、かつ0<D72<1である。
Fb7y=A7y×((1−D72)・Px+D72・Py)+C7y ・・・(8)
この実施の形態では、加算器13a、PID制御器13bにてy軸方向の位置指令信号Syと位置センサ8の位置検出信号Pyとが一致するようなフィードバック制御が行われる。また、演算器103d及び演算器103dにてx軸方向の位置検出信号Pxとy軸方向の位置検出信号Pyとに基づいて個別に所定の演算を行って得られた補償出力Fb7xを用いて、フィードバック制御の補償(補正)が行われる。そして、加算器14a、PID制御器14bにてy軸方向の位置指令信号Syとy軸方向の位置検出信号Pyとが一致するようなフィードバック制御が行われる。さらに、演算器104d、加算器14cにてy軸方向の位置検出信号Pyとx軸方向の位置検出信号Pxとに基づいて個別に所定の演算を行って得られた補償出力Fb7yを用いて、フィードバック制御の補償(補正)が行われる。
このように、位置センサ3,4によるx,y両方向の位置検出信号Px,Pyによりフィードバック制御系の補正を行うことにより、他方の軸方向への移動により、電磁石と被支持体の距離が変動することによる影響を抑制し、制御性能を向上させることができる。特に、他方向のフィードバック信号を用いることで追従遅れによる影響を受けず補償することができるため、制御性能が向上する。
実施の形態8.
図9及び図10は、この発明の実施の形態8を示すものであり、図9は磁気支持装置の構成を示す構成図、図10は磁気支持装置本体周辺機器の詳細構成を示す構成図である。図9における磁気支持装置本体周辺機器890の詳細構成を図10に示す。図10において、被支持体1を電磁石3,4にて図の上下方向から非接触にて支持している。電磁石3,4は、被支持体1の上面に垂直で図10の左右方向に所定の距離を有する互いに平行な第一及び第二の軸であるx1軸及びx2軸上に、被支持体1の上面と間隙を設けて配設されている。位置センサ7,8はそれぞれ電磁石3,4の近傍に、すなわち位置センサ7はx1軸の左方近傍に、位置センサ8はx2軸の右方近傍に配置され、それぞれ被支持体1と間の距離を測定する。
図9に戻って、電磁石制御装置1000は、図1に示した電磁石制御装置100と同様のものであるが、指令軌跡計算装置111は、x1軸位置指令手段111aとx2軸位置指令手段111bとを有している。また、第1及び第2の位置制御装置13,14は、同じx軸方向の軸であってy軸方向に互いに所定距離離れたx1軸及びx2軸方向における被支持体1の位置を制御する。また、図1に示した電磁石制御装置100と、加算器13a,14aにフィードバックされる信号が異なる。また、フィードバック信号補正器801は、位置センサ7にて検出されるx1軸方向のフィードバック信号である位置検出信号Px1及び位置センサ8にて検出されるx2軸方向のフィードバック信号である位置検出信号Px2とに基づいて補正信号Px1cを加算器13aに出力する(詳細後述)。
フィードバック信号補正器802は、位置センサ7にて検出される位置検出信号Px1及び位置センサ8にて検出される位置検出信号Px2とに基づいて補正信号Px2cを加算器14aに出力する。x1軸方向の位置制御装置13は、フィードバック制御系である加算器13aとPID制御器13bとにより、フィードバック信号補正器801の補正信号Px1cと位置指令信号Sx1とが一致するように電磁石3(図10)の電流を制御する。演算器13dはx1軸方向の位置指令信号Sx1及びx2軸方向の位置指令信号Sx2に基づき所定の演算を行い補正信号Ff8x1を加算器13cへ出力する。加算器13cにおいては、PID制御器13bの出力と、演算器13dの出力Ff8x1とが加算されることにより、フィードバック制御系の制御信号であるPID制御器13bの出力が補正される。
x2軸方向の位置制御装置14は、フィードバック制御系である加算器14aとPID制御器14bとにより、フィードバック信号補正器802の補正信号Px2cと位置指令信号Sx2とが一致するように電磁石4(図10)の電流を制御する。演算器14dはx1軸方向の位置指令信号Sx1及びx2軸方向の位置指令信号Sx2に基づき所定の演算を行い補正信号Ff8x2を加算器14cへ出力する。加算器14cにおいては、PID制御器14bの出力と、演算器14dの出力Ff8x2とが加算されることにより、フィードバック制御系の制御信号であるPID制御器14bの出力が補正される。
次に、フィードバック信号補正器801及び802の動作を説明する。例えば、図10のように、電磁石3と電磁石4との距離すなわちx1軸とx2軸との間隔が10cmであり、位置センサ7,8が電磁石3,4の内側から1cmの位置に取り付けられている場合、位置センサ7の検出値をPx1、位置センサ8の検出値をPx2とし、それぞれの補正フィードバック値をPx1c、Px2cとすると、
Px1c=(9・Px1−Px2)/8
Px2c=(9・Px2−Px1)/8
のように計算することができる。これにより、電磁石3,4と被支持体1の吸引面の距離をより正確に推定することができる。
この実施の形態によれば、位置センサによる被支持体の検出位置と電磁石による被支持体の吸引位置のずれによる検出誤差による影響を軽減でき、被支持体1の位置を精度良く制御することができる。
実施の形態9.
図11は、この発明の実施の形態9を示す磁気支持装置の構成を示す構成図である。図11において、電磁石制御装置1100は、図9の電磁石制御装置1000に比して、次の点が異なるが、その制御動作については同様の動作をする。x1軸方向の位置制御装置113は、フィードバック信号補正器801の補正信号Px1cと位置指令信号Sx1とが一致するように電磁石3(図10)の電流を制御するフィードバック制御系である加算器13aとPID制御器13bとを有する。
また、演算器113dは、x1軸方向の位置指令信号Sx1に所定の演算を行い加算器113cへ出力する。加算器113cにおいては、PID制御器13bの出力と、演算器113dの出力と、x1軸用バイアス電流基準値とが加算されることにより、フィードバック制御系の制御信号であるPID制御器13bの出力が補正される。
x2軸方向の位置制御装置114は、フィードバック信号補正器802の補正信号Px2cと位置指令信号Sx2とが一致するように電磁石4(図10)の電流を制御するフィードバック制御系である加算器14aとPID制御器14bと有する。また、演算器114dは、x2軸方向の位置指令信号Sx2に所定の演算を行い加算器114cへ出力する。加算器114cにおいては、PID制御器14bの出力と、演算器114dの出力と、x2軸用バイアス電流基準値とが加算されることにより、フィードバック制御系の制御信号であるPID制御器14bの出力が補正される。その他の構成及びその動作については、図9及び図10に示したものと同様であるので、説明を省略する。
以上のように、この発明による磁気支持装置は、被支持体を磁気力により第一及び第二の軸方向からそれぞれ非接触にて支持する第一及び第二の電磁石と、第一の電磁石の近傍に配設され被支持体の位置を検出して第一の位置検出信号を発信する第一の位置センサと、第二の電磁石の近傍に配設され被支持体の位置を検出して第二の位置検出信号を発信する第二の位置センサと、被支持体の目標位置を指令する第一及び第二の制御目標位置指令信号を発信する第一及び第二の制御目標位置指令信号発信手段と、第一の位置検出信号と第一の制御目標位置指令信号とに基づいて第一の電磁石の電流を制御する第一の電流制御信号を発信する第一の電流制御信号発信手段と、第一及び第二の制御目標位置指令信号に基づいて第一の電流制御信号を補正する第一の信号補正手段と、第二の位置検出信号と第二の制御目標位置指令信号とに基づいて第二の電磁石の電流を制御する第二の電流制御信号を発信する第二の電流制御信号発信手段と、第一及び第二の制御目標位置指令信号に基づいて第二の電流制御信号を補正する第二の信号補正手段とを備えたので、一方の軸方向(例えばx軸方向)の移動が他方の軸方向(例えばy軸方向)の移動に与える影響を抑制し、過渡状態においても良好な制御性能を確保することができる。
そして、第一の信号補正手段は第一及び第二の位置検出信号の関数式に基づいて求めた第一の関数式補正値に基づき第一の電流制御信号を補正し、第二の信号補正手段は第一及び第二の位置検出信号の関数式に基づいて求めた第二の関数式補正値に基づき第二の電流制御信号を補正するものであることを特徴とするので、関数式を用いて計算することにより、容量の大きな記憶装置を設置する必要がなく、コストを削減できる。
さらに、第一の信号補正手段は第一及び第二の制御目標位置指令信号と第一及び第二の制御目標位置指令信号の時間変化分とに基づいて第一の電流制御信号を補正し、第二の信号補正手段は第一及び第二の制御目標位置指令信号と第一及び第二の制御目標位置指令信号の時間変化分とに基づいて第二の電流制御信号を補正するものであることを特徴とするので、静特性だけでなく、動特性の影響も抑制することができるため、さらに制御性能を向上させることができる。
また、第一の信号補正手段は第一及び第二の制御目標位置指令信号の各値に対応させて予め定められた第一の補正値に基づいて第一の電流制御信号を補正し、第二の信号補正手段は第一及び第二の制御目標位置指令信号の各値に対応させて予め定められた第二の補正値に基づいて第二の電流制御信号を補正するものであることを特徴とするので、計算を行うことなく補償値記憶手段から補償値を読み取ることができるため、処理速度を向上でき、さらに制御御性能を向上させることができる。また、必要に応じて実測値をそのまま使用することができるため、計算式における非線形性の考慮やパラメータ調整を要せず、制御が容易である。
そして、第一の信号補正手段は第一及び第二の制御目標位置指令信号の各値を丸める第一の丸め手段を有し丸められた第一及び第二の制御目標位置指令信号の各値に対応させて予め定められた第一の丸め補正値に基づいて第一の電流制御信号を補正し、第二の信号補正手段は第一及び第二の制御目標位置指令信号の各値を丸める第二の丸め手段を有し丸められた第一及び第二の制御目標位置指令信号の各値に対応させて予め定められた第二の丸め補正値に基づいて第二の電流制御信号を補正するものであることを特徴とするので、実測するデータや記憶するデータの量を削減できるため、装置の調整手順の簡略化や記憶装置の容量の削減ができ、コストを削減することができる。
さらに、第一の信号補正手段は第一及び第二の制御目標位置指令信号の各値に対応させて予め定められた第一の補間用データを記憶する第一の補間用データ記憶手段と第一の補間用データから補間法により第一の制御目標位置指令信号に応じた第一の補間補正値を求める第一の補間補正値算出手段とを有し第一の補間補正値に基づき第一の電流制御信号を補正するものであり、第二の信号補正手段は第一及び第二の制御目標位置指令信号の各値に対応させて予め定められた第二の補間用データを記憶する第二の補間用データ記憶手段と第二の補間用データから補間法により第二の制御目標位置指令信号に応じた第二の補間補正値を求める第二の補間補正値算出手段とを有し第一の補間補正値に基づき第二の電流制御信号を補正するものであることを特徴とするので、実測するデータや記憶するデータ量を削減でき、装置の調整手順の簡略化や記憶装置の容量の削減ができ、コストを削減することができる。装置の調整手順を簡略化できることや、記憶装置の容量を削減できるためコストを削減することができる。また、データを補間するため、より制御性能を向上させることができる。
また、第一の信号補正手段は第一の制御目標位置指令信号に基づいて求めた第一の演算補正値と第二の制御目標位置指令信号の値に基づいて求めた第二の演算補正値とに基づいて第一の電流制御信号を補正し、第二の信号補正手段は第一の制御目標位置指令信号に基づいて求めた第三の演算補正値と第二の制御目標位置指令信号の値に基づいて求めた第四の演算補正値に基づいて第二の電流制御信号を補正するものであることを特徴とするので、各位置指令信号についてそれぞれについて個別に所定の演算を行い各第一ないし第四の演算補正値を得るので、きめ細かい演算補正値を得ることができ、制御性能を向上させることができる。
そして、被支持体を磁気力により第一及び第二の軸方向からそれぞれ非接触にて支持する第一及び第二の電磁石と、第一の電磁石の近傍に配設され被支持体の位置を検出して第一の位置検出信号を発信する第一の位置センサと、第二の電磁石の近傍に配設され被支持体の位置を検出して第二の位置検出信号を発信する第二の位置センサと、被支持体の目標位置を指令する第一及び第二の制御目標位置指令信号を発信する第一及び第二の制御目標位置指令信号発信手段と、第一の位置検出信号と第一の制御目標位置指令信号とに基づいて第一の電磁石の電流を制御する第一の電流制御信号を発信する第一の電流制御信号発信手段と、第一及び第二の位置検出信号に基づいて第一の電流制御信号を補正する第一の信号補正手段と、第二の位置検出信号と第二の制御目標位置指令信号とに基づいて第二の電磁石の電流を制御する第二の電流制御信号を発信する第二の電流制御信号発信手段と、第一及び第二の位置検出信号に基づいて第二の電流制御信号を補正する第二の信号補正手段とを備えたので、第一及び第二の位置検出信号に基づいて第一及び第二の電流制御信号を補正することにより、他方の軸方向への移動により、電磁石と被支持体の距離が変動することによる影響を抑制し、制御性能を向上させることができる。特に、他方向のフィードバック信号を用いることで追従遅れによる影響を受けず補償することができるため、制御性能が向上する。
さらに、第一及び第二の軸は、互いに交差するものであることを特徴とするので、被支持体を直交配置れた第一及び第二の電磁石にて支持する場合において、良好な制御性能を得ることができる。
また、被支持体を磁気力により互いに平行な第一及び第二の軸方向からそれぞれ非接触にて支持する第一及び第二の電磁石と、第一の電磁石の近傍に配設され被支持体の位置を検出して第一の位置検出信号を発信する第一の位置センサと、第二の電磁石の近傍に配設され被支持体の位置を検出して第二の位置検出信号を発信する第二の位置センサと、第一及び第二の位置検出信号に基づいて補正した第一の補正位置検出信号を求める第一の補正位置信号算出手段と、第一及び第二の位置検出信号に基づいて補正した第二の補正位置検出信号を求める第二の補正位置信号算出手段と、被支持体の目標位置を指令する第一及び第二の制御目標位置指令信号を発信する第一及び第二の制御目標位置指令信号発信手段と、第一の補正位置検出信号と第一の制御目標位置指令信号とに基づいて第一の電磁石の電流を制御する第一の電流制御信号を発信する第一の電流制御信号発信手段と、第二の補正位置検出信号と第二の制御目標位置指令信号とに基づいて第二の電磁石の電流を制御する第二の電流制御信号を発信する第二の電流制御信号発信手段とを備えたので、位置センサによる被支持体の検出位置と電磁石による被支持体の吸引位置のずれによる検出誤差による影響を軽減でき、被支持体の位置を精度良く制御することができる。
この発明の実施の形態1である磁気支持装置の構成を示す構成図である。 この発明の実施の形態2である磁気支持装置の構成を示す構成図である。 この発明の実施の形態3である磁気支持装置の構成を示す構成図である。 この発明の実施の形態4である磁気支持装置の構成を示す構成図である。 この発明の実施の形態5である磁気支持装置の構成を示す構成図である。 この発明の実施の形態6である磁気支持装置の構成を示す構成図である。 図6におけるフィードフォワード値算出手段の動作を説明するための説明図である。 この発明の実施の形態7である磁気支持装置の構成を示す構成図である。 この発明の実施の形態8である磁気支持装置の構成を示す構成図である。 図9における磁気支持装置本体周辺機器の詳細構成を示す構成図である この発明の実施の形態9である磁気支持装置の構成を示す構成図である。
符号の説明
1 被支持体、3,4 電磁石、7,8 位置センサ、11 指令軌跡計算装置、
11a x軸位置指令手段、11b y軸位置指令手段、13,14 位置制御装置、
13a,14a 加算器、13b,14b PID制御器、13d,14d 演算器、
23,24 位置制御装置、23d,24d 演算器、33,34 位置制御装置、
33f,34f 補償値記憶手段、33g,34g 補償値読込手段、
43,44 位置制御装置、43f,44f 補償値記憶手段、
43g,44g 補償値読込手段、43h,44h 演算手段、
43j,43k,43j,43k 丸め演算手段、53,54 位置制御装置、
53f,54f データ記憶憶手段、53g,54g データ読込手段、
53h,54h フィードフォワード値算出手段、63,64 位置制御装置、
63a,63b,64a,64b 演算器、103,104 位置制御装置、
103d,104d 演算器、801,802 フィードバック信号補正器、
63a,63b,64a,64b 演算器、111 指令軌跡計算装置、
111a x軸位置指令手段、111b y軸位置指令手段、
113,114 位置制御装置、113d,114d 演算器。

Claims (10)

  1. 被支持体を磁気力により第一及び第二の軸方向からそれぞれ非接触にて支持する第一及び第二の電磁石と、上記第一の電磁石の近傍に配設され上記被支持体の位置を検出して第一の位置検出信号を発信する第一の位置センサと、上記第二の電磁石の近傍に配設され上記被支持体の位置を検出して第二の位置検出信号を発信する第二の位置センサと、上記被支持体の目標位置を指令する第一及び第二の制御目標位置指令信号を発信する第一及び第二の制御目標位置指令信号発信手段と、上記第一の位置検出信号と上記第一の制御目標位置指令信号とに基づいて上記第一の電磁石の電流を制御する第一の電流制御信号を発信する第一の電流制御信号発信手段と、上記第一及び第二の制御目標位置指令信号に基づいて上記第一の電流制御信号を補正する第一の信号補正手段と、上記第二の位置検出信号と上記第二の制御目標位置指令信号とに基づいて上記第二の電磁石の電流を制御する第二の電流制御信号を発信する第二の電流制御信号発信手段と、上記第一及び第二の制御目標位置指令信号に基づいて上記第二の電流制御信号を補正する第二の信号補正手段とを備えた磁気支持装置。
  2. 上記第一の信号補正手段は上記第一及び第二の位置検出信号の関数式に基づいて求めた第一の関数式補正値に基づき上記第一の電流制御信号を補正し、上記第二の信号補正手段は上記第一及び第二の位置検出信号の関数式に基づいて求めた第二の関数式補正値に基づき上記第二の電流制御信号を補正するものであることを特徴とする請求項1に記載の磁気支持装置。
  3. 上記第一の信号補正手段は上記第一及び第二の制御目標位置指令信号と上記第一及び第二の制御目標位置指令信号の時間変化分とに基づいて上記第一の電流制御信号を補正し、上記第二の信号補正手段は上記第一及び第二の制御目標位置指令信号と上記第一及び第二の制御目標位置指令信号の時間変化分とに基づいて上記第二の電流制御信号を補正するものであることを特徴とする請求項1に記載の磁気支持装置。
  4. 上記第一の信号補正手段は上記第一及び第二の制御目標位置指令信号の各値に対応させて予め定められた第一の補正値に基づいて上記第一の電流制御信号を補正し、上記第二の信号補正手段は上記第一及び第二の制御目標位置指令信号の各値に対応させて予め定められた第二の補正値に基づいて上記第二の電流制御信号を補正するものであることを特徴とする請求項1に記載の磁気支持装位置。
  5. 上記第一の信号補正手段は上記第一及び第二の制御目標位置指令信号の各値を丸める第一の丸め手段を有し丸められた上記第一及び第二の制御目標位置指令信号の各値に対応させて予め定められた第一の丸め補正値に基づいて上記第一の電流制御信号を補正し、上記第二の信号補正手段は上記第一及び第二の制御目標位置指令信号の各値を丸める第二の丸め手段を有し丸められた上記第一及び第二の制御目標位置指令信号の各値に対応させて予め定められた第二の丸め補正値に基づいて上記第二の電流制御信号を補正するものであることを特徴とする請求項4に記載の磁気支持装位置。
  6. 上記第一の信号補正手段は上記第一及び第二の制御目標位置指令信号の各値に対応させて予め定められた第一の補間用データを記憶する第一の補間用データ記憶手段と上記第一の補間用データから補間法により上記第一の制御目標位置指令信号に応じた第一の補間補正値を求める第一の補間補正値算出手段とを有し上記第一の補間補正値に基づき上記第一の電流制御信号を補正するものであり、上記第二の信号補正手段は上記第一及び第二の制御目標位置指令信号の各値に対応させて予め定められた第二の補間用データを記憶する第二の補間用データ記憶手段と上記第二の補間用データから補間法により上記第二の制御目標位置指令信号に応じた第二の補間補正値を求める第二の補間補正値算出手段とを有し上記第一の補間補正値に基づき上記第二の電流制御信号を補正するものであることを特徴とする請求項4に記載の磁気支持装置。
  7. 上記第一の信号補正手段は上記第一の制御目標位置指令信号に基づいて求めた第一の演算補正値と上記第二の制御目標位置指令信号の値に基づいて求めた第二の演算補正値とに基づいて上記第一の電流制御信号を補正し、上記第二の信号補正手段は上記第一の制御目標位置指令信号に基づいて求めた第三の演算補正値と上記第二の制御目標位置指令信号の値に基づいて求めた第四の演算補正値に基づいて上記第二の電流制御信号を補正するものであることを特徴とする請求項1に記載の磁気支持装位置。
  8. 被支持体を磁気力により第一及び第二の軸方向からそれぞれ非接触にて支持する第一及び第二の電磁石と、上記第一の電磁石の近傍に配設され上記被支持体の位置を検出して第一の位置検出信号を発信する第一の位置センサと、上記第二の電磁石の近傍に配設され上記被支持体の位置を検出して第二の位置検出信号を発信する第二の位置センサと、上記被支持体の目標位置を指令する第一及び第二の制御目標位置指令信号を発信する第一及び第二の制御目標位置指令信号発信手段と、上記第一の位置検出信号と上記第一の制御目標位置指令信号とに基づいて上記第一の電磁石の電流を制御する第一の電流制御信号を発信する第一の電流制御信号発信手段と、上記第一及び第二の位置検出信号に基づいて上記第一の電流制御信号を補正する第一の信号補正手段と、上記第二の位置検出信号と上記第二の制御目標位置指令信号とに基づいて上記第二の電磁石の電流を制御する第二の電流制御信号を発信する第二の電流制御信号発信手段と、上記第一及び第二の位置検出信号に基づいて上記第二の電流制御信号を補正する第二の信号補正手段とを備えた磁気支持装置。
  9. 上記第一及び第二の軸は、互いに交差するものであることを特徴とする請求項1ないし8のいずれか1項に記載の磁気支持装置。
  10. 被支持体を磁気力により互いに平行な第一及び第二の軸方向からそれぞれ非接触にて支持する第一及び第二の電磁石と、上記第一の電磁石の近傍に配設され上記被支持体の位置を検出して第一の位置検出信号を発信する第一の位置センサと、上記第二の電磁石の近傍に配設され上記被支持体の位置を検出して第二の位置検出信号を発信する第二の位置センサと、上記第一及び第二の位置検出信号に基づいて補正した第一の補正位置検出信号を求める第一の補正位置信号算出手段と、上記第一及び第二の位置検出信号に基づいて補正した第二の補正位置検出信号を求める第二の補正位置信号算出手段と、上記被支持体の目標位置を指令する第一及び第二の制御目標位置指令信号を発信する第一及び第二の制御目標位置指令信号発信手段と、上記第一の補正位置検出信号と上記第一の制御目標位置指令信号とに基づいて上記第一の電磁石の電流を制御する第一の電流制御信号を発信する第一の電流制御信号発信手段と、上記第二の補正位置検出信号と上記第二の制御目標位置指令信号とに基づいて上記第二の電磁石の電流を制御する第二の電流制御信号を発信する第二の電流制御信号発信手段とを備えた磁気支持装置。
JP2004117697A 2004-04-13 2004-04-13 磁気支持装置 Pending JP2005299813A (ja)

Priority Applications (1)

Application Number Priority Date Filing Date Title
JP2004117697A JP2005299813A (ja) 2004-04-13 2004-04-13 磁気支持装置

Applications Claiming Priority (1)

Application Number Priority Date Filing Date Title
JP2004117697A JP2005299813A (ja) 2004-04-13 2004-04-13 磁気支持装置

Publications (1)

Publication Number Publication Date
JP2005299813A true JP2005299813A (ja) 2005-10-27

Family

ID=35331586

Family Applications (1)

Application Number Title Priority Date Filing Date
JP2004117697A Pending JP2005299813A (ja) 2004-04-13 2004-04-13 磁気支持装置

Country Status (1)

Country Link
JP (1) JP2005299813A (ja)

Cited By (3)

* Cited by examiner, † Cited by third party
Publication number Priority date Publication date Assignee Title
CN100388620C (zh) * 2006-06-13 2008-05-14 上海微电子装备有限公司 一种提高永磁直线电机运动精度的方法
CN103901904A (zh) * 2012-12-28 2014-07-02 上海微电子装备有限公司 一种电机位置干扰力校准方法
JP2015010716A (ja) * 2013-06-28 2015-01-19 エスカエフ・マニュティック・メシャトロニク 改良された能動型磁気軸受制御システム

Cited By (4)

* Cited by examiner, † Cited by third party
Publication number Priority date Publication date Assignee Title
CN100388620C (zh) * 2006-06-13 2008-05-14 上海微电子装备有限公司 一种提高永磁直线电机运动精度的方法
CN103901904A (zh) * 2012-12-28 2014-07-02 上海微电子装备有限公司 一种电机位置干扰力校准方法
CN103901904B (zh) * 2012-12-28 2016-09-28 上海微电子装备有限公司 一种电机位置干扰力校准方法
JP2015010716A (ja) * 2013-06-28 2015-01-19 エスカエフ・マニュティック・メシャトロニク 改良された能動型磁気軸受制御システム

Similar Documents

Publication Publication Date Title
US20170008171A1 (en) Robot controller for robot which sets two objects in combined state
KR20110004788A (ko) 머니퓰레이터를 작동시키기 위한 방법 및 장치
US11691293B2 (en) Robot
US7348745B2 (en) Controller
CN113581288B (zh) 自动驾驶横向偏移动态修正方法、装置、设备及存储介质
TWI412908B (zh) 並聯驅動系統
JP2019181610A (ja) モータエンコーダ及びセンサを用いて学習制御を行うロボットシステム
CN106802141B (zh) 形状测量设备的控制方法
JP4639417B2 (ja) ロボットの制御装置
EP2930575B1 (en) Positioning control device
KR100450455B1 (ko) 서보 제어 방법
JP2005299813A (ja) 磁気支持装置
US20060144182A1 (en) Rotary shaft control apparatus
US20230152074A1 (en) Repeated determination of a position of a movable part of a coordinate measuring machine
JP2000330642A (ja) ステージの位置制御装置及び速度制御装置
KR100457411B1 (ko) 위치 제어 시스템
JP6767436B2 (ja) 自動機械及び制御装置
US20190204125A1 (en) Physical quantity measuring apparatus
JP2010038896A (ja) 速度検出装置および位置検出装置および位置決め装置
JPWO2009013985A1 (ja) 多自由度ステージ制御装置
KR20230106249A (ko) 산업용로봇 경로오차보상 시스템 및 이를 이용한 방법
JP2024005713A (ja) 計測システム、制御装置および計測方法
JP5361334B2 (ja) 産業機械
CN113383281A (zh) 控制装置以及控制程序
KR20200080871A (ko) 편차 제어부를 구비한 갠트리 스테이지의 제어 장치

Legal Events

Date Code Title Description
A621 Written request for application examination

Effective date: 20051209

Free format text: JAPANESE INTERMEDIATE CODE: A621

A977 Report on retrieval

Effective date: 20081031

Free format text: JAPANESE INTERMEDIATE CODE: A971007

A131 Notification of reasons for refusal

Free format text: JAPANESE INTERMEDIATE CODE: A131

Effective date: 20081111

A521 Written amendment

Effective date: 20090113

Free format text: JAPANESE INTERMEDIATE CODE: A523

A02 Decision of refusal

Effective date: 20090421

Free format text: JAPANESE INTERMEDIATE CODE: A02