JP2005299380A - 金属下地材と、その金属下地材を用いて施工する施工方法 - Google Patents

金属下地材と、その金属下地材を用いて施工する施工方法 Download PDF

Info

Publication number
JP2005299380A
JP2005299380A JP2005073787A JP2005073787A JP2005299380A JP 2005299380 A JP2005299380 A JP 2005299380A JP 2005073787 A JP2005073787 A JP 2005073787A JP 2005073787 A JP2005073787 A JP 2005073787A JP 2005299380 A JP2005299380 A JP 2005299380A
Authority
JP
Japan
Prior art keywords
base material
metal base
tile
tiles
fitting
Prior art date
Legal status (The legal status is an assumption and is not a legal conclusion. Google has not performed a legal analysis and makes no representation as to the accuracy of the status listed.)
Pending
Application number
JP2005073787A
Other languages
English (en)
Inventor
Satoshi Kondo
敏 近藤
Hiroshi Kurosawa
博 黒澤
Katsumi Takahara
克巳 高原
Takeshi Asakuma
武士 朝隈
Current Assignee (The listed assignees may be inaccurate. Google has not performed a legal analysis and makes no representation or warranty as to the accuracy of the list.)
Toho Sheet and Frame Co Ltd
Original Assignee
Toho Sheet and Frame Co Ltd
Priority date (The priority date is an assumption and is not a legal conclusion. Google has not performed a legal analysis and makes no representation as to the accuracy of the date listed.)
Filing date
Publication date
Application filed by Toho Sheet and Frame Co Ltd filed Critical Toho Sheet and Frame Co Ltd
Priority to JP2005073787A priority Critical patent/JP2005299380A/ja
Publication of JP2005299380A publication Critical patent/JP2005299380A/ja
Pending legal-status Critical Current

Links

Images

Landscapes

  • Finishing Walls (AREA)

Abstract

【課題】 市販の引っ掛け式タイルは、事前に金属サイディングにタイルを貼り付けることができず、タイルの引っ掛け部に接着部の位置関係を金属サイディングの働き幅の寸法に合わせることができていない。また、金属サイディングの嵌合部において、接合時に上下に位置する金属サイディングの表面の位置関係が直接的に一定になるため接合の左右で壁面が一定(不陸が出ないこと)にならないことが発生していた。
【解決手段】 金属下地材1の表面上にタイル裏面の引っ掛け部4を引っ掛ける係止部5を複数個設け、各係止部5と、一箇所または複数箇所に接着部6を複数箇所長手方向に連続して等間隔に形成し、一端部に嵌合凸部7を、他端部に他の金属下地材1の嵌合凸部7が挿入できる嵌合凹部13を形成し、しかも嵌合凸部7の先端に山形のハット状で背面方向に傾斜する凸部側傾斜面8を形成し、他端の嵌合凹部13にも同形状の凹部側傾斜面15を形成した金属下地材。
【選択図】図1

Description

本発明は、壁面、柱、フェンス等、種々のタイルを貼る必要がある部位に用いる金属下地材に関するものである。
従来、金属板を表面材とし、この表面材に矩形タイル状の凹凸模様を形成し、凹凸模様の境界線を表側角部の稜線と合致させてなる合成樹脂材を貼着させてパネル状に形成してなる金属サイディングにおいて、凸実と小孔とをそれぞれを対向する端部に形成し、少なくとも一方の端部における表側角部を側方に突出させてなることを特徴とする金属サイディング(例えば、特許文献1参照)が存在している。また、金属サイディングに係止部を形成し、現場合せで、前記係止部にタイルを引っ掛けて取り付ける考えのものは存在している。さらに、フラットな表面の金属サイディングに引っ掛りのない平板タイルを貼り付けるものが存在している。
特開平10−212814号公報(特許請求の範囲の欄、発明の詳細な説明の欄の{発明の実施の形態}段落{0015}〜{0026}、及び図1、図3、図4を参照)
しかしながら、上記従来技術の特許文献1に示されたものは、金属サイディングの表面材に直接タイル状の凹凸模様を形成したものであって、タイル状エンボス模様であって本物のタイル自体を貼り付けた金属サイディングではない。
さらに、金属サイディングに引っ掛け式タイルを取り付けていく際、従来のものは係止部に引っ掛けて取り付けていくのであるが、現場合せでないとできず、前もって金属サイディングにタイルを事前に取り付けて、現場に持ち込み、金属サイディングの繋ぎだけを行うことで、タイル貼り金属サイディングにすることができるものではない。タイルの働き幅の複数倍に合わせて金属サイディングの働き幅を決め、尚且つタイル裏面の引っ掛かり部に合わせた引っ掛け部と釘打ち部と接着部を該タイルに合わせて金属サイディングの表面に連続して形成し、該タイルをその表面に合わせて貼り付ける位置関係とし、事前に該タイルを貼り付けることができるものではなく、タイルの引っ掛け部の高さ寸法に容易に合わせることもできなかった。また、金属サイディングのジョイント部において、接合時に左右に位置する金属サイディングの表面の位置関係が一定(不陸が出ないこと)になるようにすることができず、上下に連続してジョイントする従来方式の縦目地の左右では壁面が折れ曲がって見えることもあった。また従来の技術では、タイルの重量で金属サイディングの働き幅が変わり、横目地が前面にせり出すことがあり、傾斜面を有する嵌合部形状でなかったため前面にせり出しが起こるという問題があった。
また、フラットな表面の金属サイディングに平板タイルを貼り付ける場合、平板タイル裏面全体に接着剤を塗布して貼り付けている。そのため、タイル間の目地に接着剤が表面から見えるため、砂を撒いて目地の化粧をしている。しかも、金属サイディング間の縦目地は、どうしても後で目地処理が必要になるという問題があった。
また、従来の金属サイディングは、その繋ぎ部である嵌合部を利用して直接に、柱、梁や胴縁等に嵌合部を貫通して縫い合わせるように釘、ビス、又はネジ釘等で固定すると外観上、好ましくなく、釘打ちすることができないので、耐負圧強度では嵌合部で外れ易く、また固定部にて釘打ちされているため、壁面の耐震強度を高めることはできなかった。
これを本発明は、嵌合部近傍の接着溝部である釘打ち凹み部で柱や胴縁等に嵌合部を縫い合わせるように金属下地材の繋ぎ合わせ部を貫通してビス止めできるものである。
上記課題を解決するための本発明の第1発明は、請求項1に記載された通りの金属下地材であり、次のようなものである。
引っ掛け式タイル用の金属下地材において、金属下地材の表面上にタイル裏面の引っ掛け部を引っ掛ける係止部を複数個設け、該各係止部と、一箇所または複数箇所に接着部を複数箇所長手方向に連続して等間隔に形成し、一端部に嵌合凸部を、他端部に他の金属下地材の嵌合凸部が挿入できる嵌合凹部を形成し、しかも前記嵌合凸部の下端近傍にタイルの先端部を配し、等ピッチ寸法で金属下地材の表面に複数列のタイルを配列して、該タイルを前記接着部に接着でき、前記係止部と接着部を利用して現地合せで取り付けることも、前もってタイルを取り付けておくことも可能なことを特徴とする金属下地材の繋ぎ目の上で仕上げがタイルを貼ることで行える構成である。
上記課題を解決するための本発明の第2発明は、請求項2に記載された通りの金属下地材であり、次のようなものである。
請求項1記載の発明に加えて、金属下地材に設けられた一端部に嵌合凸部を形成し、前記嵌合凸部に該金属下地材の上に積み重ねる金属下地材の他端の嵌合凹部の形状を山形のハット状で背面方向に少し下がるように傾斜する傾斜面を形成する構成である。
上記課題を解決するための本発明の第3発明は、請求項3に記載された通りの金属下地材であり、次のようなものである。
請求項1に記載の金属下地材において、金属下地材に設けられた一端部に形成した嵌合凸部の形状を山形のハット状で背面方向に少し下がるように傾斜する傾斜面を連続成形して形成し、前記嵌合凸部に該金属下地材の上に積み重ねる他の金属下地材の他端の嵌合凹部山形のハット状底部において、同方向の傾斜面に突き当てて嵌合するようにし、金属下地材の嵌合凹部表面側のリップ部が嵌合凸部の下の段差部に押し付けられて嵌合し、前記金属下地材は所定のピッチ寸法と表面の出入りの位置関係を一定に確保できる構成である。
上記課題を解決するための本発明の第4発明は、請求項4に記載された通りの金属下地材であり、次のようなものである。
請求項1〜請求項3のうち、いずれか1項に記載の発明に加えて、一端部の嵌合凸部に連続して延長した固定部を設ける構成である。
上記課題を解決するための本発明の第5発明は、請求項5に記載された通りの金属下地材であり、次のようなものである。
請求項1〜請求項4のうち、いずれか1項に記載の金属下地材の表面において、タイルの裏側に位置する部位で係止部以外の部位にネジ釘等の固着具で固着する金属下地材の表面から該金属下地材を取り付ける壁面に固定するための釘頭等が入り込む凹型溝、V型筋等段差からなる釘打ち用凹み部を形成し、それに使用することのできる部分と兼ねてタイルの裏面バリを逃げる溝または筋を形成する構成である。
上記課題を解決するための本発明の第6発明は、請求項6に記載された通りの金属下地材であり、次のようなものである。
請求項1〜請求項5のうち、いずれか1項に記載の金属下地材の表面に貼り付けるタイルの目地やタイル本体により金属下地材の嵌合時に発生する横目地が、タイルの横方向目地部の下、または近傍になるように係止部の位置を配置する構成である。
上記課題を解決するための本発明の第7発明は、請求項7に記載された通りの金属下地材であり、次のようなものである。
請求項1〜請求項6のうち、いずれか1項に記載の金属下地材の長さ方向に繋ぎ合わせた時に生じる縦目地部が、貼り付けるタイルの裏側になるように、該タイルを配置し、該縦目地部の防水性を高め、かつタイル間にできる目地が均一な目地構成になるように割り付ける構成である。
上記課題を解決するための本発明の第8発明は、請求項8に記載された通りの金属下地材であり、次のようなものである。
請求項1〜請求項7のうち、いずれか1項に記載の金属下地材の裏打ち材としてウレタンフォーム等の合成樹脂発泡材や石膏ボード、軽量セメント等の裏打ち材を金属下地材の裏側に裏打ちする構成である。
上記課題を解決するための本発明の第9発明は、請求項9に記載された通りの金属下地材であり、次のようなものである。
引っ掛け式タイル用の金属下地材において、金属下地材の表面上にタイル裏面の引っ掛け部を引っ掛ける係止部を複数個設け、該各係止部と、一箇所または複数箇所に接着部を複数箇所長手方向に連続して等間隔に形成し、一端部に平板状の嵌合凸部を形成して、他端部に他の金属下地材の嵌合凸部が嵌合挿入できるように逆U字形のスリット状の嵌合凹部を形成し、しかも前記嵌合凸部の下端近傍にタイルの先端部を配し、等ピッチ寸法で係止部以外の部位にネジ釘等の固着具で固着する金属下地材の表面から該金属下地材を取り付ける壁面に固定するための釘頭等が入り込む凹型溝、V型筋等からなる釘打ち用凹み部を形成し、金属下地材の表面に複数列のタイルを配列して、該タイルを前記接着部に接着でき、前記係止部と接着部を利用して現地合せでタイルを取り付けることも、前もってタイルを取り付けておくことも可能な金属下地材の繋ぎ目の仕上げがタイルで行える構成である。
上記課題を解決するための本発明の第10発明は、請求項10に記載された通りの金属下地材を使用して施工する施工方法であり、次のようなものである。
金属下地材の表面上にタイル裏面の引っ掛け部を引っ掛ける係止部を複数個設け、該各係止部と、一箇所または複数箇所に接着部を複数箇所長手方向に連続して等間隔に形成し、一端部に嵌合凸部を、他端部に他の同じ金属下地材の嵌合凸部が挿入できる嵌合凹部を形成し、等ピッチ寸法で金属下地材の表面に複数列のタイルを配列して、該タイルを接着できる金属下地材の固定部を用いて、壁面にネジ釘等で必要な箇所を固定し、さらに2枚目の金属下地材を嵌合して繋ぎ合わせ、2枚目の金属下地材の固定部にてネジ釘等で壁面、或いは胴縁、柱等の躯体に固定し、これを順次繰り返して取り付け、さらに金属下地材の中間部と長手方向の両端部の釘打ち用の凹み部において、ネジ釘等で壁面、或いは胴縁、柱等の躯体に固定し、仕上げに等ピッチ寸法で金属下地材の表面に複数列のタイルを配列してタイルの接着部でタイルを引っ掛けながらネジ釘等の頭の上にタイルを接着し、最後に繋ぎ目の上に同様にタイルを貼って仕上げを行う金属下地材を介して壁面にタイルを貼り付け施工する構成である。
上記課題を解決するための本発明の第11発明は、請求項11に記載された通りの金属下地材を使用して施工する施工方法であり、次のようなものである。
金属下地材の表面上にタイル裏面の引っ掛け部を引っ掛ける係止部を複数個設け、該各係止部と、一箇所または複数箇所に接着部を複数箇所長手方向に連続して等間隔に形成し、一端部に嵌合凸部を、他端部に他の同じ金属下地材の嵌合凸部が挿入できる嵌合凹部を形成し、等ピッチ寸法で金属下地材の表面に複数列のタイルを配列して、該タイルを接着できる金属下地材を用いて、最初の1枚目の金属下地材における嵌合凸部に連続して延長した固定部の略中央部1箇所で壁面にネジ釘等で留め付けて、続いて前記金属下地材の左右の両端部における繋ぎ部近傍で釘打ち用凹み部や、必要な箇所をネジ釘等で固定し、さらに2枚目の金属下地材を嵌合して継ぎ合わせ、前記金属下地材の固定部の略中央部1箇所で壁面にネジ釘等で留め付けし、同様に両端部や必要箇所にネジ釘等で固定し、この繋ぎ合わせた嵌合する部分の近傍の釘打ち用凹み部で、嵌合した部分をネジ釘等が貫通して壁面、あるいは胴縁、柱等の躯体にネジ釘等で固定し、これを順次繰り返して取り付け、さらに等ピッチ寸法で金属下地材の表面に複数列のタイルを配列してタイルの接着部でタイルを引っ掛けながら接着し、最後に繋ぎ目の上にタイルを貼って仕上げを行う金属下地材を介してタイルを貼り付け施工する構成である。
上記課題を解決するための本発明の第12発明は、請求項12に記載された通りの金属下地材を使用して施工する施工方法であり、次のようなものである。
金属下地材の表面上にタイル裏面の引っ掛け部を引っ掛ける係止部を複数個設け、該各係止部と、一箇所または複数箇所に接着部を複数箇所長手方向に連続して等間隔に形成し、一端部に嵌合凸部を、他端部に他の同じ金属下地材の嵌合凸部が挿入できる嵌合凹部を形成し、等ピッチ寸法で金属下地材の表面に複数列のタイルを配列して、該タイルを接着できる金属下地材を用いて、最初の1枚目の金属下地材の適宜中間部でネジ釘等で壁面に留め付けし、さらに2枚目の金属下地材の嵌合凹部と1枚目の金属下地材の嵌合凸部を嵌合して繋ぎ合わせ、この嵌合凹部と嵌合凸部の嵌合部において、ネジ釘等で壁面、或いは胴縁、柱等の躯体に固定し、これを順次繰り返して取り付け、さらに金属下地材の中間部と長手方向の両端部の釘打ち用の凹み部において、ネジ釘等で壁面、或いは胴縁、柱等の躯体に固定し、仮止めしたネジ釘等は本止めした後、仕上げに等ピッチ寸法で金属下地材の表面に複数列のタイルを配列してタイルの接着部でタイルを引っ掛けながらネジ釘等の頭の上にタイルを接着し、最後に繋ぎ目の上に同様にタイルを貼って仕上げを行う金属下地材を介して壁面にタイルを貼り付け施工する構成である。
本発明に係る金属下地材は、上記説明のような構成であるので、以下に記載する効果を奏する。
(1)タイルを工場等で事前に金属下地材にその表面の大半を貼っておくことができるため、事前のタイル貼り金属サイディングと同じ施工ができ、タイルを貼った建築壁面の製作コストの低減と施工工期の短縮を図ることができる。
(2)金属下地材の表面に不陸を発生させない嵌合構造で横方向に接続ができるため壁の仕上がりが良く、壁面品質を高める。且つ重量のあるタイルを貼り付けた金属下地材では、重量が増えるが壁面への施工が金属サイディングと同様の嵌合方式で仕上げられ、凸部傾斜面と凹部傾斜面で重量を支えるので作業を精度良く容易にすることができる。
(3)裏打ちされた金属下地材と裏打ちされない金属下地材の生産が同じ成形ロールで効率よく生産できるため量の面で、機械の稼働率を上げ、設備費回収率を低減することができる。また、同一タイルで外柱に巻き付ける施工等も裏打ち材付きの金属下地材を使った壁面と同じ仕上がりの外観が得られる。
(4)各種、係止部の引っ掛け代寸法の異なるタイルに対応できる係止部高さ調整機構を一部のロールの隙間を調整する方式で作ることができる。
(5)タイルの接着部と係止部との位置関係を所定の寸法で予めロール成形しておくため、タイルの寸法公差が若干あっても外観では均一に保つことができる。
(6)長年の使用に耐えるよう金属下地材の表面にタイルの裏側で釘やネジ釘の頭がタイルに当たらないように釘打ち用凹み部を兼ねた接着部を表面より凹まし、タイルの金属下地材として裏打ちなしで使用した時には嵌合部の厚さとほぼ同じ裏面で面合わせをすることができる。
(7)本発明の嵌合凸部及び嵌合凹部は、金属下地材のロール成形機で同時に形成するため寸法精度が良くなる。
(8)嵌合凸部及び嵌合凹部の加工精度が良いため、本発明の金属下地材を施工する施工者は余り高度な板金加工技術を必要とせず、またその施工速度を高めることができる。
(9)既存の裏打ち材のないタイル下地材は、下から積み上げるように、上に下地材を繋ぎ合わせて行くために、タイルを引っ掛ける係止部の所定ピッチ寸法に取り付けることが難しい作業であった。しかし本発明の請求項9記載の金属下地材では、下端のタイルの接着部の裏側で下側に入る積み重ね用の嵌合凹部の突き当て部を折り返して潰し、逆U字形の嵌合凹部を形成し、上端の段差部から先を真っ直ぐに延ばして形成した嵌合凸部とし、その先端を該逆U字形の嵌合凹部に前記嵌合凸部を挿入し突き当てることで所定ピッチを容易に出すことができる。
(10)本発明の請求項9に記載の金属下地材の平板状の嵌合凸部の挿入突き当て部は、係止部上端からの所定の嵌合寸法から金属下地材の金属板の板厚寸法を差し引いた寸法より若干少ない寸法で一定に形成して作ると、係止部上端の近傍の段差部に逆U字形のスリット状の嵌合凹部の前面が嵌合した時に当たるため、精度良く施工することができる。
(11)従来の金属下地材は、引っ掛け部のピッチを一定に施工するための工具(バカ棒とも言う)を使用するが、本発明に記載の請求項9の金属下地材は、直接積み重ねるため位置出し工具(バカ棒など)を使用しなくても良い。また、その分施工を早めることができる。
(12)本発明は、タイル等の表面材を金属下地材の表面に係止部と接着部にて固着するために、接着剤の使用量を大幅に減少でき、また接着剤が劣化して剥がれても、タイルは係止部によって引っ掛け部が係止されており、直ぐに落下することがない。
(13)タイルの重さや壁面に受ける風圧によって他の金属下地材の嵌合部においては、表面がずれて不陸を起こす可能性が多いが、本発明の金属下地材では凹部底部の突き当り部の傾斜面で背面方向に押し付け、リップ部が段差部に当り前面に出ることがない。また、金属下地材に使用する金属板のバネ性を利用して嵌合部に隙間を作らないように寸法関係をA<B<C<Dとすることにより達成でき、しかも嵌合部で重ね合わせる時にA寸法とC寸法の関係から上部の金属下地材を前面に少し傾斜させても差し込みやすくなり、金属下地材を挿入後に立てて落とし込むと傾斜面同士が突き当たりリップ部と押え部の働きで段差部に密着させることができる。その結果、嵌合部の挿入が容易になり、施工が早まり、上下の金属下地材間の表面の出入り(不陸)を一定に保つことができる効果がある。
(14)凸部傾斜面と凹部傾斜面とで嵌合部での重ね合わせ部が若干の傾斜角度を持たせ、広い面積で受けるため嵌合部が強度的に高まり、目地部の変形や不陸が生じないため、外観上均一な仕上がり面に仕上がる。タイル重量により傾斜面同士の滑りで表面が風圧などにより前面にずれて不陸が起きるのを防止する効果がある。
(15)本発明の請求項6に示すタイルの貼り付け方をすることにより、金属下地材の横方向の接続部上にタイルが貼られるため、横方向の接続のための縦目地の位置を上下の金属下地材で位置を違えて施工できる。そのため、壁面の全体に目地部の折れ曲りや不陸が発生し難い施工ができ、壁の仕上がり表面を綺麗に仕上げることができ、さらに防水性も高めることができる。また、金属下地材の繋がり部分の表面側には、タイルの裏面が重なるため、強風下の雨水等の浸入を防止する効果が高い。
(16)本発明の請求項1に示すタイルの貼り付けに際し、図2に示すように係止部と釘打ち用凹み部において、接着剤塗布位置に接着剤を連続的、または部分的に塗布して該タイルを接着して固定するため、接着剤の使用量を減らすことができる。さらに係止部の接着を、場合によっては、金属下地材の長手方向の端部近傍のみ実施して防水性を高めるためのみとすれば、更に接着剤使用量を減らすことができるという効果がある。
(17)本発明の請求項11、請求項12の施工方法で施工すると、壁全体が金属下地材の嵌合部で縫合され固定され、金属面で一体化された壁面は、耐震性や防火性で強度的に極めて優れたものになる。
(18)本発明の請求項12の施工方法で施工する際、金属下地材に裏打ち材があるものは、金属下地材の一端に設けられた嵌合凸部の先に形成した固定部の一部または全部を無くすことができ、金属原板の使用幅を減少でき、材料費が節減できる。
引っ掛け式タイル用の金属下地材において、金属下地材の表面上にタイル裏面の引っ掛け部を引っ掛ける係止部を複数個設け、該各係止部と、一箇所または複数箇所に接着部を複数箇所長手方向に連続して等間隔に形成し、一端部に嵌合凸部を、他端部に他の金属下地材の嵌合凸部が挿入できる嵌合凹部を形成し、しかも前記嵌合凸部の先端近傍にタイルの先端部を配するピッチ寸法で金属下地材の表面に複数列のタイルを配列して、該タイルを前記接着部に接着でき、この金属下地材に設けられた一端部に形成した前記嵌合凹部の形状を山形のハット状で背面方向に傾斜する傾斜面を連続成形して形成し、前記嵌合凸部に該金属下地材の上に積み重ね金属下地材の他端の凹部底部に突き当てて嵌合するようにし、所定のピッチ寸法を確保できるようにした金属下地材、さらにこの金属下地材の表面において、タイルの裏側に位置する部位で係止部以外の部位にネジ釘等の固着具で固着する金属下地材の表面から該金属下地材を取り付けて壁面に固定するための凹型溝、V型筋等からなる固着部を形成した前記係止部と接着部を利用して引っ掛け式タイルは現地合せで取り付けることも、前もって取り付けておくことも可能で、金属下地材の縦目地上の繋ぎ目の仕上げだけを行えば良い金属下地材である。また、裏打ち材を取り付け、金属下地材自体の強度を高めるのも良い。さらに、裏打ち材を全く使わない金属下地材を嵌合凸部と嵌合凹部の形成で仕上げるのも良い。この金属下地材は外壁の外断熱工法の部材等としても最適である。
また、この金属下地材は、嵌合部を縫合するようにネジ釘等で固定することができるため、耐風圧強度も高まるので、その場合、金属下地材1枚当りのネジ釘等の打ち付け本数を倍増した効果があり、高層建築物等への使用が期待できる。
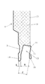
図1は、本発明の第一実施例である裏打ちされた金属下地材にタイルを貼り付けた状態を示す概略断面図、図2は、第一実施例における金属下地材の上下の嵌合接続部を示す拡大断面図、図3は、本発明の第一実施例における金属下地材の嵌合用凸部の部分拡大断面図、図4は同じく第一実施例における金属下地材の嵌合用凹部の部分拡大断面図、図5は、第二実施例である裏打ちがされてない金属下地材にタイルを貼り付けた状態を示す概略断面図、図6は、第二実施例における金属下地材の上下の嵌合接続部を示す概略拡大断面図、図7は、第三実施例であるタイル係止部の形状が第一、第二実施例と相違する金属下地材を示す概略断面図、図8は、本発明の金属下地材にタイルを貼り付けるタイル割り付け位置の一実施例を示す正面図、図9は、裏打ち材のない金属下地材を利用して、上下嵌合接続部で既存壁にネジ釘により固定したところを示す概略拡大断面図、図10は、裏打ち材のある金属下地材を利用して、上下嵌合接続部で胴縁・柱にネジ釘により一体的に固定したところを示す概略拡大断面図、図11は、引っ掛け式タイルの引っ掛け部の形状と、上方端部の固定部を取り除いた点が相違するもので、引っ掛け部を偏心ローラ等で下方に押しつぶすことで、曲り部26を形成して水抜き部25を設け易くした裏打ちされた金属下地材1にタイルaを貼り付けた状態を示す他の実施例の概略断面図、図12は、図1に示す実施例の改良型で、上方端部に設けた固定部のリブより先の部分を取り除いたもので、しかも、引っ掛け部の下の部分を偏心ローラ等で潰して凹みを造って、水抜き部25を形成し、裏打ちされた金属下地材1にタイルaを貼り付けた状態を示す他の実施例の概略断面図、図13は、本発明の金属下地材に倍サイズタイル、3倍サイズタイル、半サイズタイル等を組み合わせて貼り付けたタイル割り付け位置の他の実施例を示す正面図、図14は、本発明の図12に示す金属下地材1で水抜き部25を偏心ローラ等で押し付け凹ませた状態の一実施例を示す正面図、図15は、図11に示した金属下地材1の実施例における水抜き部25の形成の一手段として係止部を下方に折り曲げるだけで形成したものを示す正面から見た説明図、図16は、図12に示した金属下地材1の実施例における水抜き部25を偏心ローラ等で押し付け凹ませて凹み部27を形成する方法を示す説明図、図17は、本発明の第一の施工方法の例による固定方法で施工した金属下地材1の固定状態を示す概略拡大断面図である。
前記タイルaの接着部6と兼用の釘打ち用凹み部3を利用して、図9に示すように裏打ち材のない金属下地材20の場合、上下の金属下地材20間の連結部(嵌合部)においてタイルaの接着部6と兼用の釘打ち用凹み部3を利用して既存壁cにネジ釘bで固定する施工方法の一例を示す。
また、図10に示すように裏打ち材のある金属下地材1の場合、連結部において、タイルaの接着部6と兼用の釘打ち用凹み部3を利用して胴縁dを通して柱eにネジ釘bで固定する施工方法の一例を示す。
以上のように、連結部のタイルaの接着部6と兼用の釘打ち用凹み部3等の嵌合部でネジ釘bで固定するので、金属下地材1が互いに縫合され固定されるので、極めて強度的に優れたものになる。
また、図1、図5に示されている金属下地材1及び金属下地材20の働き幅方向の中間部の釘打ち用凹み部3でネジ釘b等で胴縁dや柱eに固定して、取り付け強度を増すことができるのはいうまでもない。
昨今の地震災害で家屋の倒壊は、外壁の強度が強ければ倒壊に至らないことが判明した。金属サイディングは、図17に示すように従来、固定部12のみで釘やビスで固定し柱に取り付けられるために、外壁の耐震強度を高める効果が少なく、地震で金属サイディング外壁の外れはないが、家屋の耐震強度の確保には余り寄与されないことが判明した。そこで本発明は、金属下地材の繋ぎ部を上下の金属下地材の嵌合部の接着溝部で表面からネジ釘等で嵌合部を縫い合わせるように金属下地材の繋ぎ合わせを貫通して胴縁・柱に固定することで、外壁全体を一体化でき、耐震強度を大幅に向上させることができる。
また、従来の金属サイディングでは、近隣建物の火災時には、火焔により繋ぎ目の嵌合部が開いて、火焔が壁内に侵入し、柱や裏面壁を燃やすことになるが、本発明の金属下地材は、嵌合部で上下の金属下地材を縫合することになるので、嵌合部が開くのを防止できる。また、端面のジョイント部でも細いピッチで釘止めできるため、火焔で金属下地材が膨らんで縦目地部で開くことが防止でき、柱の損焼を減少させることができる。
さらに、耐風圧性能も向上する。すなわち、従来の施工方法は図17に示す本発明の第一の施工方法の例の如く嵌合凸部の上方に設けた固定部のみで釘止めする方式であったので、金属サイディングの耐風圧試験で壁面の負圧が高くなると前面方向に嵌合部で外れてしまうため弱く、4階以上の高層建築物には使えなかった。しかし、本発明の金属下地材1は、表面2からネジ釘b等で脳天打ちでき、また嵌合部にもネジ釘bを打つことができるため、嵌合部の外れは生じ難く、ネジ釘bの引き抜き強度の限界まで負圧に耐えられることになり、主に台風等の強風で隣接ビル等の隙間で負圧が発生するため、従来の施工法では使用することができなかった場合にも、本発明の金属下地材1は使用できる。また、該金属下地材1の表面2にタイルを貼り付けるために釘等の頭が見えなくでき、外観上問題のない施工ができるため、金属下地材1の表面2から、ネジ釘b等の固定ができる。
本発明の金属下地材1では、使用ビルの高さに合わせて負圧が変わるため、m当りで負圧を計算し、安全率を見てネジ釘の本数を決定することができる。また、負圧の少ない場所では、従来の金属サイディングのように同じ施工方法で施工することもできることはいうまでもない。
次に、本発明について図1〜図8に基づいて具体的に実施例を説明すると、市販されている引っ掛け式タイルaの働き幅寸法の複数倍(偶数倍の方が扱い易い。)で金属下地材1の働き幅を決め、該タイルaの裏面形状に合わせ、尚且つ金属下地材1の表面2から施工時に、固定部12において壁下地に釘打ち等で固定するが、釘やネジ釘等を金属下地材1の釘打ち用凹み部3の中央部で脳天打ちでき、しかも釘やネジ釘の頭がタイルに触れない状態にするために釘打ち用凹み部3の深さを設定する。さらに、タイルaの裏面の引っ掛け部4を引っ掛ける矩形を一方向に潰して変形させ、引っ掛け高さ調整の容易な平行四辺形状に形成した係止部5と、タイルaを接着する凹状部の接着部6を複数のタイルaの列に合わせて金属下地材1の表面2に形成するものである。また、引っ掛け部は図7の点線のような傾斜面を利用して変形させ、高さを調整することもできる。
また、釘打ち用凹部3や接着部6の凹部はタイルaの足に残るバリ部を受けるように配置するとバリ部で接着面積が多く、強い接着力を得られ良い。また、バリ部の凹凸が吸収できる。なお、積極的に接着部6を形成して、接着位置を特定することも良いが、接着部6全てに接着剤を塗布しなくても適宜選択して塗布することもできるし、手作業であるので、図2で示すように接着部6でない接着剤塗布位置23に接着剤を塗布することでも良いことは言うまでもない。全てのタイルaにバリ部があるとは限らないが、同じように接着できることはいうまでもない。
また、本発明において接着部6と釘打ち用凹み部3はタイルの裏面バリを逃げる場所でもあるが、係止部5やその近傍にて接着して接着部6での接着を省略できることは言うまでもない。
なお、釘打ち用凹み部3は、特に別の位置に形成せずに接着部6を利用して、釘打ちを行うようにすることで兼用することもできる。また、釘打ちは施工場所によって、金属下地材1の両端部で中央部のタイルaの下になる位置で壁下地に働き幅当り、柱毎に1〜2本の釘打ちで固定するのが良い。また、耐風圧強度に合わせて釘打ち本数を決めることができる。場合によっては、中間部は無くし、嵌合部のみの釘打ちですますことも可能であることはいうまでもない。
また、金属下地材1の働き幅は、タイル幅の2倍から、広いもので2m程度まで作れるが、製品重量と取り扱い性で適宜決めるのが良い。
次に、本発明の前記金属下地材1の嵌合部について説明する。
図1、図2からも理解できるように、第一実施例はタイルaや金属下地材1の重量を受ける部分として一端の嵌合凸部7には、凸部傾斜面8と段差部9、傾斜面10、リブ24及び固定部12を形成し、他端の嵌合凹部13には他の金属下地材1の前記嵌合凸部7の段差部9に合わせたリップ部14と凸部傾斜面8に合わせた傾斜角度で若干幅の広い凹部傾斜面15と、受け部11と押え部16を形成するものである。そして嵌合部の寸法関係は、A<B<C<D、E≦F(図3、図4を参照)である。このようにすると、金属下地材1の施工性が良く、尚且つ重力の働きでリップ部14が段差部9に常に押し当てられる働きをするため、金属下地材1間の不陸が予め決められた寸法になり、E=Fの場合、不陸のない嵌合状態となり、Fが若干Eより大きい場合、金属下地材1の上面が若干表面的に下った状態となり、日光等で陰が見え難い状態を作れ、外観的に目地が目立たなく、寸法的に安定した材料として提供できる。
すなわち、図3、図4に示すように金属下地材1の嵌合凸部7にある段差部9の上端で傾斜面10の部分から先の成形を無くし、図5に示す第二実施例の裏打ちされない係止部付きタイル用の金属下地材20の一定幅の平板状の嵌合凸部17を連続して形成し、図4に示すように金属下地材1の嵌合凹部13の凹部傾斜面15と受け部11及び押え部16を延ばして下方へ潰し、スリット状の嵌合凹部18を形成し、裏打ち材19を付けない係止部付きタイル用金属下地材20を成形用ロールフォーミング機の成形ロールの殆どを使って嵌合凸部17と嵌合凹部18の成形ロールを追加することにより形成でき、表面部の成形ロールと合わせて使用すれば裏打ち材の無い平板状のタイル用金属下地材20の製品も製作できる。
また、従来は、タイル貼りを行うには、金属サイディングに平板型タイルを全面で貼り付けていたり、係止部の形成された金属サイディングにタイルを単に引っ掛けて取り付けていたために、金属サイディング長手方向の接続目地部に発生する縦目地の仕上げにタイル表面側より別部材を取り付けるため、外観が異なって見えると共に作業が複雑であった。
これに対して、本発明は、縦目地部の上に跨ぐタイルaの貼り付けが可能であり、図1、図5、図8に一例として示すように、タイルaを事前に貼って出荷し、外壁施工時に該金属下地材1を取り付けた後に貼り残し部に同じタイルaを後で金属下地材1の縦目地部を跨いで取り付け、施工を実施することで壁面全体の縦目地を違和感なく形成できる。勿論、目地形状は芋目地状等、種々のタイル貼り合せ形状にタイルaを事前に全面に貼って製品化することもできる。このタイルの貼り付けは2丁掛けタイル目地であるが、芋目地でも乱張りでも同様に両端部を残して貼れるものである。
またその場合、タイルaを金属下地材1の端面の片側で数mm以上タイル幅の90%以下の長さではみ出して貼り付け、他端部に貼り残し部を重ね代としてタイルaの貼り付け位置を設定しておくことも一例として可能である。
さらに、本発明の縦目地部にスポンジなどでタイルaの下になる部分でも防水性をより高める目地処理を行うことは可能で、より安定した防水性を確保できる。また、テープ等で縦目地部の防水処理をするのもよい。
また、別部材で、水抜き用の捨て板等を併用してもよいことはいうまでもない。また、金属下地材間の横目地部にはタイルaの横目地部の隙間が同じ直線上の位置にならないようにタイル貼り位置の関係を設定するのが防水性を高めるのに良い。
ウレタンフォームなどの合成樹脂発泡材で裏打ちする場合、タイルaの接着部6が発泡圧力の影響を受けて変形する量を予め計測して、その変形量に見合う量を事前に接着部6と釘打ち用凹み部3の段差部分を潰すロールをフォーミングロールに追加する方法や、また、タイルの接着はタイルのバリが発生している下側の接着部の1箇所のみでも良いが、引っ掛け部に接着してもよいことは言うまでもない。また、プレス成形による製品では専用の潰し工程を追加するなどして部分的に変形を加えて金属下地材を成形することもできる。ウレタンフォームなどの裏打ち材19を連続発泡成形させる発泡治具内における金属下地材1の断面状態を金属下地材1の表面材2としての金属板をウレタンフォーム連続発泡設備においてウレタン液を注入後に裏面材21を被せて連続発泡治具設備のローラーコンベア等の下治具と上治具(ウレタン発泡用)の間に挟み込んでウレタンフォームなどの裏打ち材19を成形する。その際、釘打ち用凹み部3が重なる部分に押え板を同時に挟み込んで成形し、釘打ち用凹み部3が重なって施工された状態でも金属下地材1の表面材2の不陸が発生しないように裏打ち材19と裏面材21の形状を形成する。但し、裏打ち材19の発泡圧力が小さい場合は、押え板を省略することができる。また、裏面材21は、紙製、プラスチック製、鋼板製、アルミ板製等を採用することができる。
また、発泡圧力が大きい場合に接着部6と釘打ち用凹み部3を潰さず、金属板を湾曲させないで接着部6を膨出させない方法としては、下治具と接着部6近傍も含めて押え板を厚くして隙間に合わせた物を夫々の接着部6近傍に挟んで発泡成形することができるが、タイルaの厚さが異なる場合で、引っ掛け部4の高さが変わる場合には厚さの異なる押え板を交換するなどの準備段取り作業が必要であることはいうまでもない。
次に、図1に示す金属下地材1の壁面への施工時には、固定部12において壁面に予め決められた位置や胴縁d等に釘やネジ釘等で釘打ちして留め付けするが、さらに取り付け強度を増す場合は、釘打ち用凹み部3において金属下地材1施工時にタイルaを予め貼らない部分を残し、その位置で壁面の下地にネジ釘b等で固定しておくと強固に壁面へ固定でき、また、金属下地材1の経時変化等で前面への膨らみを防止することができる。これらの釘打ち用凹み部3は、裏打ち材の無い係止部付きタイル用金属下地材20として使用する時には壁面下地への固定のための部位にもなる。
また、建物の構造強度の関係から該タイルは、金属下地材1の中間部で図13に示す如く、予め柱等にネジ止めされるように予定した位置で中間部と下端部において、1枚〜複数枚のタイルaを貼り付けずに、タイル貼り金属下地材1を製品化し、該金属下地材1を壁面に取り付け、施工時に該中間部の予定される位置に釘打ち等で固定した後に、タイルaをその上に貼り付けて構造強度の強い金属下地材とすることが可能である。
図9と図10に示す如く、金属下地材20、あるいは金属下地材1の嵌合部において、ネジ釘b等で嵌合部の鉄板を貫通して固定することが可能で、その上にタイルaが貼り繋がった状態を図示したが、このものは、金属下地材20、あるいは金属下地材1を嵌合部で縫合したことにより金属下地材1が既存壁cや柱e等により強固に固定できる。
以上、金属下地材1について説明したが、下地材としては、鉄板、各種メッキ鋼板、ステンレス鋼版、銅板、アルミニウム板や、その塗装板、及びそのラミネート板、樹脂板、アルミニウムや合成樹脂製押出し成形板等が対象になる。タイルaについては、石器質タイル、陶磁器質タイル、レンガ式タイルや石を削って作ったタイル、プラスチックや金属板で成形したタイル等、引っ掛け部を有するものは何でも使うことができる。
また、タイルa裏面の引っ掛け部4は、第一実施例の図1、図2に示す如く引っ掛りを良くするために鋭角の係り代を形成したもので、主に説明したが、斯かるタイルaを使用する場合には、耐風圧強度が少なくて良い場所では、該タイルaの下側の足部にて接着するだけで施工できることは言うまでもない。またさらに、図11の如く直角または若干の鈍角で出来たタイルa裏面の引っ掛け部4を形成したタイルaでも接着できる。この場合の金属下地材1の係止部5は、鋭角でなくても良く、タイルaの直角または若干の鈍角に対応して形成し、タイルaの貼り付け施工時にタイルaのずり落ちを防止できる程度の係止形状であれば良いことは言うまでもない。また、接着剤は、ネジ釘b等の頭部に塗布して同時にタイルaの接着を行うことにより、ネジ釘bの貫通による隙間のシールの役目を期待でき、防水性を向上できるものである。
また、裏打ち材19は、ウレタンフォーム等のプラスチックフォームの発泡材の他に、軽量セメント等の窯業系の裏打ち材でも製作でき、石膏ボード等の裏打ち材を所定の大きさに切断して、本発明の金属下地材1の裏面に接着しても良いことはいうまでもない。
次に、図7に基づいてタイル係止部の形状が違う第三実施例について説明する。
前記第一、第二実施例は、係止部5の形状が略矩形を潰して変形させ、平行四辺形状の三辺を使った形状に形成しているのに対して、この第三実施例は山形状三角形を一方向に倒すように潰して変形させ、係止部5を形成したものである。
なお、山形状三角形を一方向に倒すように潰して変形させ、係止部5を実線の高さに形成しているが、この係止部5をさらに潰して2点鎖線で示すように高さを低くしてタイルaの高さの違う種類に対応できるようにすることも可能である。この図7に示した係止部近傍の2点鎖線は、タイル係止寸法の浅い時に変形した一例を示すものである。
また、釘打ち用凹み部3とは別にV溝22を形成し、釘打ち用凹み部3は、接着部として利用し、V溝22を釘打ち部として釘等で壁下地に固定することもできる。また、釘打ち用凹み部3やV溝22はタイルaの足の裏にできるタイルバリを逃げる部分として、予め決めた位置に設定するのが良い。
凹みの深さや、V溝22の部分では、ネジ釘b等の頭の高さがタイルaの裏面との間の隙間に入るように成形して作るのが良い。また、釘打ち用凹み部3は、図12に示す如く段差状に形成して、釘頭がタイルaの裏面に当らないようにすれば良いことはいうまでもない。さらに、釘が打ち易いように浅い線溝を入れておくと施工が易くなることはいうまでない。
以上が第三実施例の特徴であり、その他の構成は第一、第二実施例と同様であるので詳細な説明は省略する。
なお、裏打ち材を付けない場合、請求項1〜7の金属下地材1の板厚は、厚くして剛性を高める必要があるが、裏打ち材を付ける場合には、それらの板厚を薄くできることは言うまでもない。また、請求項9の金属下地材1は嵌合部の裏側や釘打ち用凹み部3の裏側で壁下地に付くため、板厚を薄くできることは言うまでもない。また、請求項1、2の嵌合凸部7の形状は、先端に丸みや三角状の頭部を持たせて、滑り易く凹部13の凹部側傾斜面15の奥に突き当てて、ピッチ寸法を一定にすることも可能で、傾斜面の滑りで常に奥面の1箇所に突き当るようにする。
最後に本発明の第一の施工方法について、概略説明すると、本発明は金属下地材1の表面2上にタイル裏面の引っ掛け部4を引っ掛ける係止部5を複数個設け、該各係止部5と、一箇所または複数箇所に接着部6を複数箇所長手方向に連続して等間隔に形成し、一端部に嵌合凸部7を、他端部に他の同じ金属下地材1の嵌合凸部7が挿入できる嵌合凹部13を形成し、しかも前記嵌合凸部7の下端近傍にタイルaの先端部を配し、等ピッチ寸法で金属下地材1の表面2に複数列のタイルaを配列して、該タイルaを前記接着部6に接着でき、前記係止部5と接着部6を利用して現地合せで取り付けることも、前もってタイルaを取り付けておくことも可能なことを特徴とする金属下地材1を用いて、最初の1枚目の金属下地材における固定部12で壁面に固定して、続いて釘打ち用凹み部3のうち、必要な箇所をネジ釘bで固定し、さらに2枚目の金属下地材を嵌合して継ぎ合わせ、ネジ釘b等で固定し、これを順次繰り返して取り付け、さらに等ピッチ寸法で金属下地材1の表面2に複数列のタイルaを配列してタイルaの接着部6でタイルaを引っ掛けながら接着し、最後に繋ぎ目の上にタイルaを貼って仕上げを行う金属下地材1を介してタイルaを貼り付ける施工方法である。
本発明において該各係止部5と、一箇所または複数箇所の接着部6との位置関係の詳細は、以下の通りである。
本発明のタイルaを引っ掛ける係止部5と接着部6の位置関係は、係止部5に引っ掛けるタイルaの裏面の一部もしくは複数箇所で接着させる接着部6を言い、また、接着部6と釘打ち用凹み部3を兼用することもできる。また、釘打ち用凹み部3については、タイル裏面の間に釘の頭が納まる程度の隙間を有するものである。
また、本発明の第二の施工方法による場合は、金属下地材1の嵌合凸部7に連続的に延長して形成した固定部12の略中央部1箇所で壁面にネジ釘b等で留め付けし、該金属下地材1の左右の両端部における繋ぎ部近傍の釘打ち用凹み部3や必要な箇所をネジ釘b等で固定し、さらに、2枚目の金属下地材1を嵌合して同様に継ぎ合わせ、嵌合する部分の近傍の釘打ち用凹み部3で既存壁c、あるいは胴縁d、柱e等の躯体にネジ釘b等で固定し、これを順次繰り返して金属下地材1を壁面に取り付け、さらに等ピッチ寸法で金属下地材1の表面2に複数列のタイルaを配列して、タイルaの接着部6でタイルaを引っ掛けながら接着し、最後に繋ぎ目の上にタイルaを貼って仕上げを行う金属下地材1を介してタイルaを貼り付ける施工方法である。
また、本発明の第三の施工方法による場合は、金属下地材1の固定部12には、ネジ釘b等で固定する必要がなく、金属下地材1の略中央部1箇所で壁面に留め付けて、金属下地材1の下端の嵌合部上の釘打ち用凹み部3で既存壁c、あるいは胴縁d、柱e等の躯体にネジ釘b等で固定し、これを順次繰り返して取り付け、さらに等ピッチ寸法で金属下地材1の表面2に複数列のタイルaを配列して、タイルaの接着部6でタイルaを引っ掛けながら接着し、最後に繋ぎ目の上にタイルaを貼って仕上げを行う金属下地材1を介してタイルaを貼り付ける施工方法である。また、金属下地材形成時から、この部分のない形状のものにしておくこともできる。また、繋ぎ部近傍の釘打ち用凹み部3や必要な箇所に打つネジ釘bは、金属下地材1の働き幅の狭い物や、金属板の厚い物で剛性の高いものには、使わずに施工できることはいうまでもない。
本発明の第二あるいは第三の施工方法を採用すると、ネジ釘b等が金属下地材1の下端部の折り返し部で2枚を貫通して、他の金属下地材1の嵌合凸部7を貫通して縫合するため、強風で大きな負圧が掛っても、金属下地材1の鉄板3枚を打ち抜かないと鉄板はネジ頭部で破断しないため、3倍以上の引き抜き強度が期待でき、しかも金属下地材1の働き幅で、上端と下端の2箇所と略中間部でネジ釘b等で固定されることになり、釘の引き抜き強度の限界まで負圧に耐える施工ができるものである。
タイルの他にセラミックや天然石を加工して作った引っ掛け式タイルに替わる表面材や、陶器、レンガまたはセメントを固めて製作したタイルに替わる表面材や合成樹脂、金属板等を加工したタイル状表面材を貼る壁面等の外断熱や内断熱建物、鉄筋コンクリート建物等、及びそのリフォーム用の壁材、また鉄骨下地の建物の場合には、裏打ち材のない本発明の金属下地材の嵌合部で縫合して金属胴縁や柱等に張り付けて後に発泡セメント等を裏側から吹き付けて裏打ちすることも可能である。裏打ちのない金属下地材(図5)は、外断熱工法の外壁材やトンネルの両側の壁材にも利用することができる。
本発明の第一実施例に係る裏打ちされた金属下地材にタイルを貼り付けた状態を示す概略断面図である。 本発明の第一実施例に係る金属下地材の上下の嵌合接続部を示す拡大断面図である。 本発明の第一実施例に係る金属下地材の嵌合用凸部の部分拡大断面図である。 本発明の第一実施例に係る金属下地材の嵌合用凹部の部分拡大断面図である。 本発明の第二実施例に係る金属下地材にタイルを貼り付けた状態を示す概略断面図である。 本発明の第二実施例に係る金属下地材の上下の嵌合接続部を示す概略拡大断面図である。 本発明の第三実施例であるタイル係止部の形状が第一、第二実施例と相違する金属下地材を示す概略断面図である。 本発明の金属下地材にタイルを貼り付けるタイル割り付け位置の一実施例を示す正面図である。 本発明の第三の施工方法の一例に係る裏打ち材のない金属下地材を利用して、上下嵌合接続部で既存壁にネジ釘により固定したところを示す概略拡大部分断面図である。 本発明の第二の施工方法及び第三の施工方法の一例に係る裏打ち材のある金属下地材を利用して、上下嵌合接続部で胴縁・柱にネジ釘により一体的に固定したところを示す概略拡大部分断面図である。 引っ掛け式タイルの引っ掛け部の形状と、上方端部の固定部を取り除いた点が相違するもので、引っ掛け部を偏心ローラ等で折り曲げることで、曲り部を形成して水抜き部を設け水はけし易くした裏打ちされた金属下地材にタイルを貼り付けた状態を示す他の実施例の概略断面図である。 図1に示す実施例の改良型で、上方端部に設けた固定部のリブより先の部分を取り除いたもので、しかも、引っ掛け部を偏心ローラ等で潰して凹みを造り、水抜き部を形成した裏打ちされた金属下地材にタイルを貼り付けた状態を示す他の実施例の概略断面図である。 本発明の金属下地材に倍サイズタイル、3倍サイズタイル、半サイズタイル等を組み合わせて貼り付けたタイル割り付け位置の異なる他の実施例を示す正面図である。 本発明の金属下地材に水抜き部を偏心ローラ等で押し付け凹ませた状態の一実施例を示す正面図である。 図11に示した金属下地材の実施例における水抜き部の形成の一手段として係止部を下方に折り曲げるだけで水抜き部を形成したものを示す説明図である。 図12に示した金属下地材の実施例における水抜き部を偏心ローラ等で押し付け凹ませて形成する方法を示す説明図である。(イ)は水抜き部の部分拡大断面図、(ロ)はその平面図、(ハ)はその加工概念図である。 本発明の第一の施工方法の例における金属下地材の固定部において、固定した状態を示す概略拡大断面図である。
符号の説明
1・・・・金属下地材 2・・・・表面
3・・・・釘打ち用凹み部 4・・・・引っ掛け部
5・・・・係止部 6・・・・接着部
7・・・・嵌合凸部 8・・・・凸部側傾斜面
9・・・・段差部 10・・・・傾斜面
11・・・・受け部 12・・・・固定部
13・・・・嵌合凹部 14・・・・リップ部
15・・・・凹部側傾斜面 16・・・・押え部
17・・・・嵌合凸部 18・・・・嵌合凹部
19・・・・裏打ち材 20・・・・金属下地材
21・・・・裏面材 22・・・・V溝
23・・・・接着剤塗布位置 24・・・・リブ
25・・・・水抜き部 26・・・・曲がり部
27・・・・凹み部
a・・・・タイル b・・・・ネジ釘
c・・・・既存壁 d・・・・胴縁
e・・・・柱

Claims (12)

  1. 引っ掛け式タイル用の金属下地材において、金属下地材の表面上にタイル裏面の引っ掛け部を引っ掛ける係止部を複数個設け、該各係止部と、一箇所または複数箇所に接着部を複数箇所長手方向に連続して等間隔に形成し、一端部に嵌合凸部を、他端部に他の金属下地材の嵌合凸部が挿入できる嵌合凹部を形成し、しかも前記嵌合凸部の下端近傍にタイルの先端部を配し、等ピッチ寸法で金属下地材の表面に複数列のタイルを配列して、該タイルを前記接着部に接着でき、前記係止部と接着部を利用して現地合せで取り付けることも、前もってタイルを取り付けておくことも可能なことを特徴とする金属下地材の繋ぎ目の上で仕上げがタイルを貼ることで行える金属下地材。
  2. 金属下地材に設けられた一端部に嵌合凸部を形成し、前記嵌合凸部に該金属下地材の上に積み重ねる金属下地材の他端の嵌合凹部の形状を山形のハット状で背面方向に少し下がるように傾斜する傾斜面を形成したことを特徴とする請求項1記載の金属下地材。
  3. 金属下地材に設けられた一端部に形成した嵌合凸部の形状を山形のハット状で背面方向に少し下がるように傾斜する傾斜面を連続成形して形成し、前記嵌合凸部に該金属下地材の上に積み重ねる他の金属下地材の他端の嵌合凹部山形のハット状底部において、同方向の傾斜面に突き当てて嵌合するようにし、所定のピッチ寸法を確保できるようにしたことを特徴とする請求項1に記載の金属下地材。
  4. 一端部の嵌合凸部に連続して延長した固定部を設けたことを特徴とする請求項1〜請求項3のうち、いずれか1項に記載の金属下地材。
  5. 金属下地材の表面において、タイルの裏側に位置する部位で係止部以外の部位にネジ釘等の固着具で固着する金属下地材の表面から該金属下地材を取り付ける壁面に固定するための釘頭等が入り込む凹型溝、V型筋等からなる釘打ち用凹み部を形成し、それに使用することのできる部分と兼ねてタイルの裏面バリを逃げることができる溝または筋を形成したことを特徴とする請求項1〜請求項4のうち、いずれか1項に記載の金属下地材。
  6. 金属下地材の表面に貼り付けるタイルの横方向の目地は金属下地材の嵌合時に発生する横目地が、タイルの横方向目地部の下、または近傍になるように係止部の位置を配置したことを特徴とする請求項1〜請求項5のうち、いずれか1項に記載の金属下地材。
  7. 金属下地材の長さ方向に繋ぎ合わせた時に生じる縦目地部が、貼り付けるタイルの裏側になるように、該タイルを配置し、該縦目地部の防水性を高め、かつタイル間にできる目地が均一な目地構成になるように割り付けたことを特徴とする請求項1〜請求項6のうち、いずれか1項に記載の金属下地材。
  8. 金属下地材の裏打ち材としてウレタンフォーム等の合成樹脂発泡材や石膏ボード、軽量セメント等の裏打ち材を金属下地材の裏側に裏打ちしたことを特徴とする請求項1〜請求項7のうち、いずれか1項に記載の金属下地材。
  9. 引っ掛け式タイル用の金属下地材において、金属下地材の表面上にタイル裏面の引っ掛け部を引っ掛ける係止部を複数個設け、該各係止部と、一箇所または複数箇所に接着部を複数箇所長手方向に連続して等間隔に形成し、一端部に平板状の嵌合凸部を形成して、他端部に他の金属下地材の嵌合凸部が嵌合挿入できるように逆U字形のスリット状の嵌合凹部を形成し、しかも前記嵌合凸部の下端近傍にタイルの先端部を配し、等ピッチ寸法で係止部以外の部位にネジ釘等の固着具で固着する金属下地材の表面から該金属下地材を取り付ける壁面に固定するための釘頭等が入り込む凹型溝、V型筋等からなる釘打ち用凹み部を形成し、金属下地材の表面に複数列のタイルを配列して、該タイルを前記接着部に接着でき、前記係止部と接着部を利用して現地合せでタイルを取り付けることも、前もってタイルを取り付けておくことも可能なことを特徴とする金属下地材の繋ぎ目の仕上げがタイルで行える金属下地材。
  10. 金属下地材の表面上にタイル裏面の引っ掛け部を引っ掛ける係止部を複数個設け、該各係止部と、一箇所または複数箇所に接着部を複数箇所長手方向に連続して等間隔に形成し、一端部に嵌合凸部を、他端部に他の同じ金属下地材の嵌合凸部が挿入できる嵌合凹部を形成し、等ピッチ寸法で金属下地材の表面に複数列のタイルを配列して、該タイルを接着できる金属下地材の固定部を用いて、壁面にネジ釘等で必要な箇所を固定し、さらに2枚目の金属下地材を嵌合して繋ぎ合わせ、2枚目の金属下地材の固定部にてネジ釘等で壁面、或いは胴縁、柱等の躯体に固定し、これを順次繰り返して取り付け、さらに金属下地材の中間部と長手方向の両端部の釘打ち用の凹み部において、ネジ釘等で壁面、或いは胴縁、柱等の躯体に固定し、仕上げに等ピッチ寸法で金属下地材の表面に複数列のタイルを配列してタイルの接着部でタイルを引っ掛けながらネジ釘等の頭の上にタイルを接着し、最後に繋ぎ目の上に同様にタイルを貼って仕上げを行う金属下地材を介して壁面にタイルを貼り付け施工することを特徴とする施工方法。
  11. 金属下地材の表面上にタイル裏面の引っ掛け部を引っ掛ける係止部を複数個設け、該各係止部と、一箇所または複数箇所に接着部を複数箇所長手方向に連続して等間隔に形成し、一端部に嵌合凸部を、他端部に他の同じ金属下地材の嵌合凸部が挿入できる嵌合凹部を形成し、等ピッチ寸法で金属下地材の表面に複数列のタイルを配列して、該タイルを接着できる金属下地材を用いて、最初の1枚目の金属下地材における嵌合凸部に連続して延長した固定部略中央部1箇所で壁面にネジ釘等で留め付けて、続いて前記金属下地材の左右の両端部における繋ぎ部近傍で釘打ち用凹み部や、必要な箇所をネジ釘等で固定し、さらに2枚目の金属下地材を嵌合して継ぎ合わせ、前記金属下地材の固定部の略中央部1箇所で壁面にネジ釘等で留め付けし、同様に両端部や必要箇所にネジ釘等で固定し、この繋ぎ合わせた嵌合する部分の近傍の釘打ち用凹み部で、嵌合した部分をネジ釘等が貫通して壁面、あるいは胴縁、柱等の躯体にネジ釘等で固定し、これを順次繰り返して取り付け、さらに等ピッチ寸法で金属下地材の表面に複数列のタイルを配列してタイルの接着部でタイルを引っ掛けながら接着し、最後に繋ぎ目の上にタイルを貼って仕上げを行う金属下地材を介してタイルを貼り付け施工することを特徴とする施工方法。
  12. 金属下地材の表面上にタイル裏面の引っ掛け部を引っ掛ける係止部を複数個設け、該各係止部と、一箇所または複数箇所に接着部を複数箇所長手方向に連続して等間隔に形成し、一端部に嵌合凸部を、他端部に他の同じ金属下地材の嵌合凸部が挿入できる嵌合凹部を形成し、等ピッチ寸法で金属下地材の表面に複数列のタイルを配列して、該タイルを接着できる金属下地材を用いて、最初の1枚目の金属下地材の適宜中間部でネジ釘等で壁面に留め付けし、さらに2枚目の金属下地材の嵌合凹部と1枚目の金属下地材の嵌合凸部を嵌合して繋ぎ合わせ、この嵌合凹部と嵌合凸部の嵌合部において、ネジ釘等で壁面、或いは胴縁、柱等の躯体に固定し、これを順次繰り返して取り付け、さらに金属下地材の中間部と長手方向の両端部の釘打ち用の凹み部において、ネジ釘等で壁面、或いは胴縁、柱等の躯体に固定し、仮止めしたネジ釘等は本止めした後、仕上げに等ピッチ寸法で金属下地材の表面に複数列のタイルを配列してタイルの接着部でタイルを引っ掛けながらネジ釘等の頭の上にタイルを接着し、最後に繋ぎ目の上に同様にタイルを貼って仕上げを行う金属下地材を介して壁面にタイルを貼り付け施工することを特徴とする施工方法。
JP2005073787A 2004-03-17 2005-03-15 金属下地材と、その金属下地材を用いて施工する施工方法 Pending JP2005299380A (ja)

Priority Applications (1)

Application Number Priority Date Filing Date Title
JP2005073787A JP2005299380A (ja) 2004-03-17 2005-03-15 金属下地材と、その金属下地材を用いて施工する施工方法

Applications Claiming Priority (2)

Application Number Priority Date Filing Date Title
JP2004076976 2004-03-17
JP2005073787A JP2005299380A (ja) 2004-03-17 2005-03-15 金属下地材と、その金属下地材を用いて施工する施工方法

Publications (1)

Publication Number Publication Date
JP2005299380A true JP2005299380A (ja) 2005-10-27

Family

ID=35331258

Family Applications (1)

Application Number Title Priority Date Filing Date
JP2005073787A Pending JP2005299380A (ja) 2004-03-17 2005-03-15 金属下地材と、その金属下地材を用いて施工する施工方法

Country Status (1)

Country Link
JP (1) JP2005299380A (ja)

Cited By (2)

* Cited by examiner, † Cited by third party
Publication number Priority date Publication date Assignee Title
KR101088419B1 (ko) 2010-06-28 2011-12-01 엄경원 석재패널의 제조방법
JP2017133260A (ja) * 2016-01-28 2017-08-03 株式会社チユーオー 外装材

Citations (11)

* Cited by examiner, † Cited by third party
Publication number Priority date Publication date Assignee Title
JPS53105435U (ja) * 1977-01-28 1978-08-24
JPH01312150A (ja) * 1988-06-09 1989-12-15 Ig Tech Res Inc 硬質壁材の取付構造
JPH03129056A (ja) * 1989-10-13 1991-06-03 Tosutemu Sera Kk 外装ブロック固定下地基板
JPH03191166A (ja) * 1989-12-19 1991-08-21 Tosutemu Sera Kk タイル固定装置
JPH0413733U (ja) * 1990-05-25 1992-02-04
JPH0455559A (ja) * 1990-06-25 1992-02-24 Ask:Kk 化粧パネルのタイル施工方法
JPH0632563U (ja) * 1992-10-07 1994-04-28 東陶機器株式会社 乾式タイル取付け用ボード
JPH0776917A (ja) * 1993-09-08 1995-03-20 Daiwa House Ind Co Ltd タイル貼り建材
JPH07217054A (ja) * 1994-01-31 1995-08-15 Ig Tech Res Inc 耐火パネル
JPH08120889A (ja) * 1994-10-26 1996-05-14 Chiyuuo:Kk 外壁下地板
JPH11270021A (ja) * 1998-03-25 1999-10-05 Ig Tech Res Inc 建築用パネル

Patent Citations (11)

* Cited by examiner, † Cited by third party
Publication number Priority date Publication date Assignee Title
JPS53105435U (ja) * 1977-01-28 1978-08-24
JPH01312150A (ja) * 1988-06-09 1989-12-15 Ig Tech Res Inc 硬質壁材の取付構造
JPH03129056A (ja) * 1989-10-13 1991-06-03 Tosutemu Sera Kk 外装ブロック固定下地基板
JPH03191166A (ja) * 1989-12-19 1991-08-21 Tosutemu Sera Kk タイル固定装置
JPH0413733U (ja) * 1990-05-25 1992-02-04
JPH0455559A (ja) * 1990-06-25 1992-02-24 Ask:Kk 化粧パネルのタイル施工方法
JPH0632563U (ja) * 1992-10-07 1994-04-28 東陶機器株式会社 乾式タイル取付け用ボード
JPH0776917A (ja) * 1993-09-08 1995-03-20 Daiwa House Ind Co Ltd タイル貼り建材
JPH07217054A (ja) * 1994-01-31 1995-08-15 Ig Tech Res Inc 耐火パネル
JPH08120889A (ja) * 1994-10-26 1996-05-14 Chiyuuo:Kk 外壁下地板
JPH11270021A (ja) * 1998-03-25 1999-10-05 Ig Tech Res Inc 建築用パネル

Cited By (3)

* Cited by examiner, † Cited by third party
Publication number Priority date Publication date Assignee Title
KR101088419B1 (ko) 2010-06-28 2011-12-01 엄경원 석재패널의 제조방법
WO2012002623A1 (ko) * 2010-06-28 2012-01-05 Han Seong Ho 석재패널 및 이의 제조방법
JP2017133260A (ja) * 2016-01-28 2017-08-03 株式会社チユーオー 外装材

Similar Documents

Publication Publication Date Title
US7121051B2 (en) Panel for thin bricks and related systems and methods of use
US6516578B1 (en) Thin brick panel system
US5224318A (en) Molded protective exterior weather-resistant building panels
US7712277B2 (en) Building siding with horizontal panels installed
US9097024B2 (en) Foam insulation board
US20140215945A1 (en) Building siding systems and methods
US20080209851A1 (en) Apparatus for Aiding in the Installation and Sealing of Siding
US20100107531A1 (en) Thin brick matrix panel and related methods and systems
US2793403A (en) Building wall construction
NZ204099A (en) Grooved segmented panel simulating shingles
US20020043039A1 (en) Metal construction panel
US8099920B2 (en) External wall constructing structure
US20100000171A1 (en) Sheet metal cladding panel
US20090007516A1 (en) Building exterior panels and method
US5040348A (en) Shingle or shake panel
JP2005299380A (ja) 金属下地材と、その金属下地材を用いて施工する施工方法
JPH08333849A (ja) ベランダ等の断熱防水装置
US20090293407A1 (en) Building exterior panels and method
US10844603B2 (en) Roof deck assembly and method
JP2007077752A (ja) 乾式タイル張り用の重ね継ぎ式、または、羽重ね式金属下地材と、その金属下地材を用いて壁面に固定する施工方法
JP4527856B2 (ja) 外壁目地構造及び外壁目地施工方法
JPH038733Y2 (ja)
JPS62248751A (ja) 長尺部材の施工方法
JP3169092B2 (ja) 縦目地構造
JP5405713B2 (ja) 屋根用部材と隔板とそれらによる屋根改修構造

Legal Events

Date Code Title Description
A621 Written request for application examination

Effective date: 20080303

Free format text: JAPANESE INTERMEDIATE CODE: A621

A977 Report on retrieval

Effective date: 20100319

Free format text: JAPANESE INTERMEDIATE CODE: A971007

A131 Notification of reasons for refusal

Effective date: 20100330

Free format text: JAPANESE INTERMEDIATE CODE: A131

A521 Written amendment

Free format text: JAPANESE INTERMEDIATE CODE: A523

Effective date: 20100427

A131 Notification of reasons for refusal

Effective date: 20100817

Free format text: JAPANESE INTERMEDIATE CODE: A131

A02 Decision of refusal

Effective date: 20101214

Free format text: JAPANESE INTERMEDIATE CODE: A02