JP2005297838A - ステアリングロック装置 - Google Patents

ステアリングロック装置 Download PDF

Info

Publication number
JP2005297838A
JP2005297838A JP2004118813A JP2004118813A JP2005297838A JP 2005297838 A JP2005297838 A JP 2005297838A JP 2004118813 A JP2004118813 A JP 2004118813A JP 2004118813 A JP2004118813 A JP 2004118813A JP 2005297838 A JP2005297838 A JP 2005297838A
Authority
JP
Japan
Prior art keywords
lock
rotating body
spring
steering
control wire
Prior art date
Legal status (The legal status is an assumption and is not a legal conclusion. Google has not performed a legal analysis and makes no representation as to the accuracy of the status listed.)
Granted
Application number
JP2004118813A
Other languages
English (en)
Other versions
JP4230955B2 (ja
Inventor
Keisuke Fukushima
啓介 福島
Current Assignee (The listed assignees may be inaccurate. Google has not performed a legal analysis and makes no representation or warranty as to the accuracy of the list.)
U Shin Ltd
Original Assignee
Yuhshin Co Ltd
Yuhshin Seiki Kogyo KK
Priority date (The priority date is an assumption and is not a legal conclusion. Google has not performed a legal analysis and makes no representation as to the accuracy of the date listed.)
Filing date
Publication date
Application filed by Yuhshin Co Ltd, Yuhshin Seiki Kogyo KK filed Critical Yuhshin Co Ltd
Priority to JP2004118813A priority Critical patent/JP4230955B2/ja
Publication of JP2005297838A publication Critical patent/JP2005297838A/ja
Application granted granted Critical
Publication of JP4230955B2 publication Critical patent/JP4230955B2/ja
Anticipated expiration legal-status Critical
Expired - Fee Related legal-status Critical Current

Links

Images

Landscapes

  • Lock And Its Accessories (AREA)

Abstract

【課題】 操作部の回転体の回動規制を正確に行うステアリングロック装置を提供する。
【解決手段】 操作部10とロック部50とが分離したステアリングロック装置であって、ロック部50は、ロックボルト70と、ロックボルト70に係合してアンロック位置に保持する規制レバー72と、一端が規制レバー72に連結されたコントロールワイヤ13と、コントロールワイヤ13をロック部50側に引く方向に付勢する保持スプリング76とを備え、操作部10は、回動操作される回転体16と、コントロールワイヤ13の他端に取り付けられ回転体16の係合部24bに係合して回転体16の回動を規制する規制凸部42と、コントロールワイヤ13を操作部10側に引く方向に付勢するとともに規制凸部42を回転体16の係合部24bと係合する方向に付勢するケーブルスプリング44とを備え、ケーブルスプリング44の付勢力を保持スプリング76よりも強くしている。
【選択図】図1

Description

本発明は、例えば自動車等の車両のステアリングホイールをロックするためのステアリングロック装置に関する。
従来、例えば下記特許文献1に開示されるように、ステアリングロック装置を操作部とロック部とに分けて構成し、その2つをケーブルで連結して両部間の操作の連動をとるようにしたものがある。このタイプのステアリングロック装置における操作の連動には、
(1)ロック部がロック状態にある場合には、車両の電源操作を禁止するため、操作部における操作部材のLOCK位置からの回動を規制する、
(2)前記操作部材がACC位置、ON位置およびSTART位置のいずれかに操作されている場合には、ロック部においてステアリングシャフトをロックするロックボルトをアンロック状態に保持する、等がある。
特開平10−138871号公報
しかしながら、前記ケーブルは、通常、ワイヤの周りを外筒で覆って構成されており、前記外筒の内面とワイヤの外周面との間にわずかに隙間があいている。この隙間があるために、ワイヤを押し込んだときにワイヤが外筒内で少し曲がることで、同じようにワイヤを押したり引いたりしたときに、押したときと引いたときでケーブル内でのワイヤの移動量にわずかな差(以下、移動誤差という。)が生じることがある。
このようなワイヤの移動誤差があると、ワイヤを介しての微妙な動作が困難になる。例えば、前記特許文献1のステアリングロック装置について言えば、ワイヤの移動誤差や寸法誤差があると、前記(1)の動作において前記操作部材の回動規制を確実に行うことができず、前記操作部材に回動のがたつきが生じることがある。
そこで、前記課題を解決するために本発明は、イグニッションスイッチを含む操作部と、ステアリングシャフトをロックするロック部とが分離して設けられたステアリングロック装置であって、
前記ロック部は、前記ステアリングシャフトに係合するロック位置と前記ステアリングシャフトに係合しないアンロック位置とに移動可能なロックボルトと、
該ロックボルトに係合して前記ロックボルトをアンロック位置に保持するアンロック位置保持部材と、
一端が前記アンロック位置保持部材に連結されたコントロールワイヤと、
該コントロールワイヤを前記ロック部側に引く方向に付勢する保持スプリングとを備え、
前記操作部は、使用者によって回動操作される回転体と、
前記コントロールワイヤの他端に取り付けられ前記回転体の係合部に係合して該回転体の回動を規制する規制凸部と、
前記コントロールワイヤを前記操作部側に引く方向に付勢するとともに前記規制凸部を前記回転体の係合部と係合する方向に付勢するケーブルスプリングとを備え、
前記ケーブルスプリングの付勢力を前記保持スプリングの付勢力よりも強くしたことを特徴とするものである。
この構成によれば、規制凸部がケーブルスプリングの付勢力により移動して回転体と係合するようにしているため、コントロールワイヤの移動誤差が操作部の回動規制に影響を及ぼすことがなく、操作部の回転体の回動を正確に規制できる。
本発明のステアリングロック装置では、前記アンロック位置保持部材を押圧して前記ケーブルスプリングの付勢力に抗して前記コントロールワイヤを移動させる駆動機構を前記ロック部に設け、前記駆動機構は電気的駆動手段によって作動するようにしてもよい。
この構成によれば、電気的駆動手段によって作動する駆動機構によってアンロック位置保持部材と、コントロールワイヤを介して規制凸部とを移動させることができ、これにより操作部の回動操作規制を解除することができる。
また、本発明のステアリングロック装置では、前記駆動機構に、前記ロックボルトに形成された係合凹部と係合して前記ロックボルトを移動させる第1カム部と、前記アンロック位置保持部材を前記ロックボルト側に押圧する第2カム部とを備えた回転駆動されるカム部材が設けられてもよい。
この構成によれば、ロックボルト作動用の駆動機構によってアンロック位置保持部材を押圧して移動させるようにしたので、アンロック位置保持部材を移動させる専用の電気的駆動手段を設ける場合に比べて、部品点数を削減できる。
また、本発明のステアリングロック装置では、前記操作部に、前記回転体の所定の回動範囲において前記規制凸部を前記ケーブルスプリングの付勢力に抗して前記ロック部側に押した状態で保持する保持部が設けられ、前記規制凸部が前記保持部で保持されているときに前記アンロック位置保持部材は前記保持スプリングの付勢力によって前記ロックボルトと係合可能な位置に保持されるようにしてもよい。
この構成によれば、保持部によって規制凸部が保持されることでケーブルスプリングの付勢力がワイヤには直接作用せず、一方、アンロック位置保持部材は保持スプリングの付勢力によってロックボルト側に付勢される。すなわち、ワイヤを押すことでアンロック位置保持部材を作動させるのではないため、ワイヤの移動誤差によってアンロック位置保持部材の移動距離が短くなることはなく、確実にロックボルトに係合させることができる。
さらに、本発明のステアリングロック装置では、前記回転体の外周面には前記規制凸部が案内されるガイド溝が形成され、該ガイド溝は、前記回転体の円周方向に延びて設けられた前記保持部と、前記回転体の軸方向に延びて前記係合凸部が係合することで前記回転体の回動を規制する係合部とを含んでもよい。
上述したように、本発明のステアリングロック装置によれば、規制凸部がケーブルスプリングの付勢力により移動して回転体と係合するようにしているため、コントロールワイヤの移動誤差が操作部の回動規制に影響を及ぼすことがなく、操作部の回転体の回動を正確に規制できる。
以下に、本発明の実施の形態について添付図面を参照して説明する。
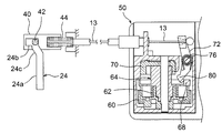
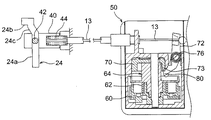
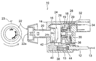
図1は本発明の一実施形態であるステアリングロック装置の操作部10の断面図、図2は本発明の一実施形態であるステアリングロック装置のロック部50の内部構造を示す側面図、図3はロック部50の内部構造を図2の底面側から見た状態で示す一部断面構成図である。なお、図1(図6A,6B,7A,7Bも同様)においては、便宜上、左側が「前」、右側が「後」とする。
本発明の一実施形態であるステアリングロック装置では、操作部10とロック部50とが分離して設けられており、両部10,50間の操作の連動をとるために操作部10とロック部50はケーブル12によって連結されている。
操作部10は、収納ケース14を備えている。収納ケース14内には、円柱状の回転体16が回動可能に配置されるとともに、前記回転体16に隣接してイグニッションスイッチ18が配置されている。
回転体16の前端面には、収納ケース14の外部まで延びる操作軸20が突設されている。操作軸20の端部には、操作ノブ22が取り付けられている。これにより、回転体16は、使用者による操作ノブ22の回動操作に伴って回動するようになっている。
操作ノブ22の表面22aには、LOCK、ACC、ON、STARTの4つの文字表示がなされている。これらの各表示の位置を収納ケース14の端面に形成した三角の指標23に合わせるように、使用者が操作ノブ22を回動操作することになる。以下において、上記4つの文字表示が前記指標23にそれぞれ合致している各回動位置を、LOCK位置、ACC位置、ON位置、START位置という。
回転体16の外周面には、後述する規制凸部を案内するガイド溝24が設けられている。ガイド溝24は、回転体16の円周方向に延びて形成された保持部24aと、回転体24の軸方向に延びて形成された係合部24bと、保持部24aの端部と係合部24bの後端部とを斜めに連絡する傾斜部24cとで構成されている。
回転体16の後端面には、シャフト26が突設されている。シャフト26は、イグニッションスイッチ18のロータケース19内に回動可能に収容されたロータ28に連結されている。ロータ28の後端面には、スプリング29によって後方に付勢された状態で可動接点30が取り付けられている。一方、イグニッションスイッチ18の後部のターミナルベース32には、複数の接触端子34が固定されており、各接触端子34の前端部が前記可動接点30と対向している。これにより、使用者が操作ノブ22を回動操作すると、回転体16を介してロータ28が回動し、その結果、可動接点30と接触端子34の接触状態が変わることにより所定のスイッチ操作が行われるようになっている。
なお、イグニッションスイッチ18のロータ28内に配置されているねじりコイルスプリング36は、START位置まで回動操作された操作ノブ22をON位置まで自動的に戻り回動させるための付勢力を与えるためのものである。
操作部10の収納ケース14の側部には、スライダーホルダ38が固定されている。スライダーホルダ38内には、スライダ40が前後方向(図1の左右方向)に摺動可能に配置されている。
スライダ40の側面には、規制凸部42が突設されている。ロック部50がロック状態にあるとき(すなわち操作ノブ23の回動位置がLOCK位置であるとき)、規制凸部42は前記回転体16のガイド溝24の係合部24bの前端部に進入して係合している。この状態では、回転体16および操作ノブ22の回動が規制されている。
規制凸部42を一体に有するスライダ40は、ケーブルスプリング44によって前方に付勢されている。また、スライダ40には、ケーブル12内を貫通するコントロールワイヤ13の端部が連結されている。これにより、ケーブルスプリング44は、コントロールワイヤ13をロック部50に対して操作部10側に引く方向に付勢するとともに、スライダ40の規制凸部42を回転体16の係合部24bの前端部と係合する方向に付勢するように働く。さらに、ケーブルスプリング44の付勢力は、後述するロック部50の保持スプリングの付勢力よりも強く設定されている。
続いて、図2,3を参照して、ロック部50について説明する。
ロック部50は、凹部51が形成されたステアリングシャフト52に隣接して配置されている。また、ロック部50には、一端が操作部10に連結されたケーブル12の他端が連結されている。
ロック部50は、電気的駆動手段である電動モータ54を備えている。電動モータ54の回転軸56には、ウォームギヤ58が固定されている。ウォームギヤ58には、軸59によって回動可能に支持されたウォームホイール60が噛合している。
ウォームホイール60は、ねじりコイルスプリング62を介してカム部材64が連結されている。カム部材64もまた、軸59によって回動可能に支持されている。これにより、カム部材64は、電動モータ54によって、ウォームギヤ58、ウォームホイール60およびねじりコイルスプリング62を介して回転駆動されるようになっている。また、カム部材64は、略楕円状の外形を有する第1カム部66と、外縁壁部64aから径方向内側に突出する第2カム部68とを備えている。第2カム部68は、図4に示すように、傾斜面68aを有している。
なお、ねじりコイルスプリング62の代わりにコイルスプリングを用いてもよく、コイルスプリングの一端側をカム部材64に係止させるとともに、他端側をウォームホイール60に係止させ、コイルスプリングの圧縮力によりカム部材64を回動駆動するようにしてもよい。
また、ロック部50は、ロックボルト70を備えている。ロックボルト70は、図2,4に示すように、複数パーツからなるケース61から突出した先端がステアリングシャフト52の凹部51に係合することでステアリングシャフト52の回動を規制するロック位置と、図5に示すように先端がケース61内に引っ込むことにより前記凹部51との係合が解除されてステアリングシャフト52が回動可能になるアンロック位置とに移動可能になっている。また、ロックボルト70の下部には、略矩形状にへこんだ係合凹部71が形成されている。この係合凹部71の内周壁にカム部材64の第1カム部66が係合している。これにより、ロックボルト70は、第1カム部66が回動することで、ロック位置またはアンロック位置に移動することになる。
さらに、ロック部50は、規制レバー(アンロック位置保持部材)72を備えている。規制レバー72は、軸74によって回動可能に支持されている。軸74の周囲には、保持スプリング76が配置されている。規制レバー72は、保持スプリング76によって、図2において時計回り方向に付勢されている。
規制レバー72の一端部には、係止玉78によって係止されたコントロールワイヤ13の端部が連結されている。規制レバー72は保持スプリング76によって時計回り方向に付勢されているので、保持スプリング76の付勢力は、規制レバー72の一端部に連結されたコントロールワイヤ13を操作部10に対してロック部50側に引く方向に作用する。
規制レバー72の他端部は、係合部80になっている。この係合部80は、ロック部50がロック状態にあるときには、カム部材64の外縁壁部64aの内面に当接している。また、規制レバー72の係合部80は、ロックボルト70がロック位置からアンロック位置に移動するときには、回動するカム部材64の第2カム部68によってロックボルト70側に押圧されるようになっている。
ロックボルト70には、段部からなる係合受部73が係合凹部71の側部に形成されている。ロックボルト70がアンロック位置に来たときに、保持スプリング76の付勢力によって時計回り方向に回動する規制レバー72の係合部80がロックボルト70の係合受部73に係合し、これによりロックボルト70がアンロック位置に保持されるようになっている。
なお、本実施形態においては、後述するように第2カム部68で係合部80を押圧して規制レバー72を回動させることにより操作部10のケーブルスプリング44の付勢力に抗してコントロールワイヤ13をロック部50側に引っ張って移動させるカム部材64が駆動機構を構成する。
次に、前記構成からなるステアリングロック装置の動作について説明する。
ステアリングロック装置がロック状態にあるとき、すなわち、ロック部50においてロックボルト70の先端がステアリングシャフト52の凹部51に係合してステアリングシャフト52の回動が規制された状態にあるとき、操作部10において操作ノブ22はLOCK位置にある。このとき、操作部10のケーブルスプリング44の付勢力はロック部50の保持スプリング76の付勢力よりも強いために、最も前方位置にまで移動しているスライダ40に連結されたコントロールワイヤ13は操作部10側に引っ張られた状態になっている。
この状態では、図6Aに示すように、スライダ40の規制凸部42は回転体16の係合部24bの前端部に係合しているため、回転体16および操作ノブ22のLOCK位置からの回動が規制されている。また、このときロック部50においては、規制レバー72の係合部80は、カム部材64の外縁壁部64aの内面に当接している。
このように、ロック状態では、規制凸部42がケーブルスプリング44の付勢力によって移動して回転体16の係合部24bに係合するようになっているため、コントロールワイヤの移動誤差が操作部10の回動規制に影響を及ぼすことがなく、操作部10の回転体16および操作ノブ22の回動を正確に規制できる。また、係合部24bを回転体16の軸方向、すなわち、規制凸部42が移動する方向に延びて形成しているため、コントロールワイヤ13に寸法誤差があっても、係合部24bと規制凸部42との係合が解除されることなく、確実に回転体16および操作ノブ22の回動を規制することができる。
ステアリングロック装置がロック状態にあるときに、電子キーを持った使用者が車両に乗り込むと、電子キーからの電波を受信した車体側の制御部(図示せず)が電子キーの認証を行う。そして、制御部は、認証が確認できたら、ロック部50の電動モータ54を作動させて、ステアリングシャフト52のロック解除動作を行う。
電動モータ54が作動してウォームギヤ58が回転すると、ウォームホイール60が連動して回転し、これに伴ってカム部材64が図2,4において反時計回り方向に回転する。これにより、第1カム部66がロックボルト70の係合凹部71の内周壁に当接しつつ回転することで、ロックボルト70がロック位置からアンロック位置へ向かって移動する。
カム部材64が回転することで第2カム部68も回転し、図6Bに示すように、第2カム部68の傾斜面68aが規制レバー72の係合部80をロックボルト70側に押圧する。これにより、規制レバー72が時計回り方向に回転し、規制レバー72の一端に連結されたコントロールワイヤ13が操作部10に対してロック部50側に引っ張られる。その結果、操作部10において、スライダ40が後退して、スライダ40の規制凸部42が回転体16の係合部24bの後端部に移動する。これにより、規制凸部42が回転体16のガイド溝24の傾斜部24cおよび保持部24aに進入可能になって、回転体16および操作ノブ22の回動規制が解除される。
なお、操作部10において規制凸部42が係合部24bの後端部壁面に当接することでコントロールワイヤ13はそれ以上の移動が規制されることにより、ロック部50において規制レバー72もそれ以上回転できなくなるために、規制レバー72の係合部80が第2カム部68の傾斜面68aの中ほどに当接した状態で、カム部材64の回転が停止する。ただし、ウォームホイール60は電動モータ54の駆動によってカム部材64の回転停止後も所定の回転位置まで回転し、これによりねじりコイルスプリング62がねじれて付勢力が蓄積されることになる。
このように、電動モータ54により作動するカム部材64によって規制レバー72と、コントロールワイヤ13を介して規制凸部42とを移動させることができ、これにより操作部10の回動操作規制を解除することができる。
また、ロックボルト70移動用のカム部材64によって規制レバー72を押圧して移動させるようにしたので、規制レバー72を移動させる専用の電気的駆動手段を設ける場合に比べて部品点数を削減できる。
その後、使用者が操作ノブ22をLOCK位置からACC位置、ON位置またはSTART位置へと回動操作すると、これに伴って回転体16が回転する。これにより、スライダ40の規制凸部42は、図7Aに示すように、回転体16のガイド溝24の係合部24bから傾斜部24cを経て保持部24aに進入して保持される。このとき、スライダ40は、規制凸部42が回転体16のガイド溝24に沿って移動することで、ケーブルスプリング44の付勢力に抗して後方に移動する。これにより、スライダ40に連結されたコントロールワイヤ13がロック部50側に押されて移動する。操作ノブ22(および回転体16)がACC位置、ON位置またはSTART位置に操作されている間は、規制凸部42は、回転体16の保持部24aによってケーブルスプリング44の付勢力に抗してロック部50側に押された状態に保持されることになる。
上記のようにコントロールワイヤ13がロック部50側に移動すると、規制レバー72は保持スプリング76の付勢力によって時計回り方向に回転する。規制レバー72の係合部80がロックボルト70側に移動して第2カム部68から離れると、カム部材64は上述したようにねじりコイルスプリング62に蓄積された付勢力によって図5に示す所定位置まで回転する。このとき、カム部材64の第1カム部66が回転することによってロックボルト70はアンロック位置に到達する。これにより、ロックボルト70の先端がステアリングシャフト52の凹部51から外れて、ステアリングシャフト52のロックが解除される。
また、ロックボルト70がアンロック位置に来たとき、保持スプリング76の付勢力によって時計回り方向に付勢されている規制レバー72の係合部80がロックボルト70の係合受部73に係合し、これによりロックボルト70はアンロック位置に確実に保持される。
このように、回転体16の保持部24aによってスライダ40の規制凸部42が保持されることでケーブルスプリング44の付勢力がコントロールワイヤ13には直接作用せず、一方、規制レバー72は保持スプリング76の付勢力によってロックボルト70側に付勢されている。すなわち、コントロールワイヤ13をロック部50側に押すことで規制レバー72を作動させるのではないため、コントロールワイヤ13の移動誤差によって規制レバー72の係合部80の移動距離が短くなることはなく、確実にロックボルト70に係合させることができる。
続いて、ステアリングロック装置をアンロック状態からロック状態にするときの動作について説明する。
使用者が操作ノブ22をON位置またはACC位置からLOCK位置に戻り回動操作すると、これに伴って回転体16も回転する。これにより、図7Bに示すように、スライダ40の規制凸部42は回転体16のガイド溝24の保持部24aから傾斜部24cを経て係合部24bへと移動する。このとき、スライダ40は、ガイド溝24の傾斜部24cによって規制凸部42が前方に押される押圧力と、ケーブルスプリング44の付勢力とによって前方に移動する。その結果、スライダ40に連結されたコントロールワイヤ13がロック部50に対して操作部10側に引っ張られて移動する。
このコントロールワイヤ13の操作部10側への移動により、ロック部50においては、規制レバー72が保持スプリング76の付勢力に抗して反時計回り方向に回転する。これにより、規制レバー72の係合部80がロックボルト70の係合受部73から外れて、ロックボルト70はアンロック位置に保持された状態が解除される。
前記操作ノブ22および回転体16の戻り回動操作を検知したイグニッションスイッチ18は、制御部に信号を送信する。この信号を受けた制御部は、電動モータ54を逆転駆動する。これにより、ウォームギヤ58およびウォームホイール60を介してカム部材64が図5において時計回り方向に回転する。その結果、ロックボルト70は、第1カム部66によって押されることでアンロック位置からロック位置に移動し、ステアリングシャフト52がロック状態になる。
カム部材64が回転して第2カム部68が規制レバー72の係合部80との対向位置を通過した後、ケーブルスプリング44の付勢力が保持スプリング76よりも強いために、操作部10においてスライダ40がケーブルスプリング44の付勢力によって前方に移動する。これにより、スライダ40の規制凸部42が回転体16の係合部24bの前端部に移動して係合し、その結果、操作ノブ22および回転体16の回動が規制された状態になる。
本発明の一実施形態のステアリングロック装置を構成する操作部の断面図。 本発明の一実施形態のステアリングロック装置を構成するロック部の内部構成を示す側面図。 図2のロック部を底面側から見た一部断面構成図。 ロック状態にあるロック部を示す図。 アンロック状態にあるロック部を示す図。 ロック状態にあるときの操作部のスライダの規制凸部と回転体のガイド溝との関係、および、ロック部の状態を示す図。 ロック状態にあるときの操作部のスライダの規制凸部と回転体のガイド溝との関係、および、ロック部の状態を示す図。 アンロック状態にあるときの操作部のスライダの規制凸部と回転体のガイド溝との関係、および、ロック部の状態を示す図。 アンロック状態にあるときの操作部のスライダの規制凸部と回転体のガイド溝との関係、および、ロック部の状態を示す図。
符号の説明
10…操作部
12…ケーブル
13…コントロールワイヤ
16…回転体
18…イグニッションスイッチ
22…操作ノブ
24…ガイド溝
24a…保持部
24b…係合部
24c…傾斜部
40…スライダ
42…規制凸部
44…ケーブルスプリング
50…ロック部
54…電動モータ(電気的駆動手段)
58…ウォームギヤ
60…ウォームホイール
62…ねじりコイルスプリング
64…カム部材(駆動機構)
66…第1カム部
68…第2カム部
70…ロックボルト
72…規制レバー(アンロック位置保持部材)
73…係合受部
76…保持スプリング
80…係合部

Claims (5)

  1. イグニッションスイッチを含む操作部と、ステアリングシャフトをロックするロック部とが分離して設けられたステアリングロック装置であって、
    前記ロック部は、前記ステアリングシャフトに係合するロック位置と前記ステアリングシャフトに係合しないアンロック位置とに移動可能なロックボルトと、
    該ロックボルトに係合して前記ロックボルトをアンロック位置に保持するアンロック位置保持部材と、
    一端が前記アンロック位置保持部材に連結されたコントロールワイヤと、
    該コントロールワイヤを前記ロック部側に引く方向に付勢する保持スプリングとを備え、
    前記操作部は、使用者によって回動操作される回転体と、
    前記コントロールワイヤの他端に取り付けられ前記回転体の係合部に係合して該回転体の回動を規制する規制凸部と、
    前記コントロールワイヤを前記操作部側に引く方向に付勢するとともに前記規制凸部を前記回転体の係合部と係合する方向に付勢するケーブルスプリングとを備え、
    前記ケーブルスプリングの付勢力を前記保持スプリングの付勢力よりも強くしたことを特徴とするステアリングロック装置。
  2. 前記アンロック位置保持部材を押圧して前記ケーブルスプリングの付勢力に抗して前記コントロールワイヤを移動させる駆動機構を前記ロック部に設け、前記駆動機構は電気的駆動手段によって作動するようにしたことを特徴とする請求項1に記載のステアリングロック装置。
  3. 前記駆動機構には、前記ロックボルトに形成された係合凹部と係合して前記ロックボルトを移動させる第1カム部と、前記アンロック位置保持部材を前記ロックボルト側に押圧する第2カム部とを備えた回転駆動されるカム部材が設けられていることを特徴とする請求項2に記載のステアリングロック装置。
  4. 前記操作部には、前記回転体の所定の回動範囲において前記規制凸部を前記ケーブルスプリングの付勢力に抗して前記ロック部側に押した状態で保持する保持部が設けられ、前記規制凸部が前記保持部で保持されているときに前記アンロック位置保持部材は前記保持スプリングの付勢力によって前記ロックボルトと係合可能な位置に保持されるようにしたことを特徴とする請求項1から3のいずれかに記載のステアリングロック装置。
  5. 前記回転体の外周面には前記規制凸部が案内されるガイド溝が形成され、該ガイド溝は、前記回転体の円周方向に延びて設けられた前記保持部と、前記回転体の軸方向に延びて前記係合凸部が係合することで前記回転体の回動を規制する係合部とを含むことを特徴とする請求項4に記載のステアリングロック装置。
JP2004118813A 2004-04-14 2004-04-14 ステアリングロック装置 Expired - Fee Related JP4230955B2 (ja)

Priority Applications (1)

Application Number Priority Date Filing Date Title
JP2004118813A JP4230955B2 (ja) 2004-04-14 2004-04-14 ステアリングロック装置

Applications Claiming Priority (1)

Application Number Priority Date Filing Date Title
JP2004118813A JP4230955B2 (ja) 2004-04-14 2004-04-14 ステアリングロック装置

Publications (2)

Publication Number Publication Date
JP2005297838A true JP2005297838A (ja) 2005-10-27
JP4230955B2 JP4230955B2 (ja) 2009-02-25

Family

ID=35329898

Family Applications (1)

Application Number Title Priority Date Filing Date
JP2004118813A Expired - Fee Related JP4230955B2 (ja) 2004-04-14 2004-04-14 ステアリングロック装置

Country Status (1)

Country Link
JP (1) JP4230955B2 (ja)

Cited By (1)

* Cited by examiner, † Cited by third party
Publication number Priority date Publication date Assignee Title
JP2013001142A (ja) * 2011-06-13 2013-01-07 Tokai Rika Co Ltd ステアリングロック装置

Cited By (1)

* Cited by examiner, † Cited by third party
Publication number Priority date Publication date Assignee Title
JP2013001142A (ja) * 2011-06-13 2013-01-07 Tokai Rika Co Ltd ステアリングロック装置

Also Published As

Publication number Publication date
JP4230955B2 (ja) 2009-02-25

Similar Documents

Publication Publication Date Title
JP4819729B2 (ja) ステアリングロック装置
JP3527394B2 (ja) ステアリングロック装置
JP4348245B2 (ja) ステアリングロック装置
JP6538409B2 (ja) 車両のハンドル装置
JP4413954B2 (ja) ステアリングロック装置
JP4671762B2 (ja) 電動ステアリングロック装置
JP4230955B2 (ja) ステアリングロック装置
JP5216678B2 (ja) ステアリングロック装置
JP4087748B2 (ja) 錠装置
JP5252899B2 (ja) 電動ステアリングロック装置
JP5022880B2 (ja) ステアリングロック装置
JP5007195B2 (ja) イグニッション操作装置
JP3657137B2 (ja) エンジン始動装置
JP5072485B2 (ja) ステアリングロック装置
JP5047753B2 (ja) ステアリングロック装置
JP4907469B2 (ja) ステアリングロック装置
JP5005485B2 (ja) ステアリングロック装置
JP3423899B2 (ja) ステアリングロック装置
JP4190902B2 (ja) ステアリングロック装置
JP5180018B2 (ja) ステアリングロック装置
JP2020101060A (ja) ドアラッチ装置
JP2571576Y2 (ja) ステアリングロック装置
JP2011086586A (ja) イグニッションスイッチ装置
JP2533683Y2 (ja) 車両用ステアリングロック装置
JP2573885Y2 (ja) ステアリングロック装置

Legal Events

Date Code Title Description
A621 Written request for application examination

Free format text: JAPANESE INTERMEDIATE CODE: A621

Effective date: 20060622

A977 Report on retrieval

Free format text: JAPANESE INTERMEDIATE CODE: A971007

Effective date: 20081104

TRDD Decision of grant or rejection written
A01 Written decision to grant a patent or to grant a registration (utility model)

Free format text: JAPANESE INTERMEDIATE CODE: A01

Effective date: 20081118

A01 Written decision to grant a patent or to grant a registration (utility model)

Free format text: JAPANESE INTERMEDIATE CODE: A01

A61 First payment of annual fees (during grant procedure)

Free format text: JAPANESE INTERMEDIATE CODE: A61

Effective date: 20081204

R150 Certificate of patent (=grant) or registration of utility model

Free format text: JAPANESE INTERMEDIATE CODE: R150

FPAY Renewal fee payment (prs date is renewal date of database)

Free format text: PAYMENT UNTIL: 20111212

Year of fee payment: 3

LAPS Cancellation because of no payment of annual fees