JP2005296813A - 超音波洗浄器 - Google Patents

超音波洗浄器 Download PDF

Info

Publication number
JP2005296813A
JP2005296813A JP2004117112A JP2004117112A JP2005296813A JP 2005296813 A JP2005296813 A JP 2005296813A JP 2004117112 A JP2004117112 A JP 2004117112A JP 2004117112 A JP2004117112 A JP 2004117112A JP 2005296813 A JP2005296813 A JP 2005296813A
Authority
JP
Japan
Prior art keywords
piezoelectric body
columnar piezoelectric
fiber reinforced
cleaning tank
ultrasonic cleaner
Prior art date
Legal status (The legal status is an assumption and is not a legal conclusion. Google has not performed a legal analysis and makes no representation as to the accuracy of the status listed.)
Pending
Application number
JP2004117112A
Other languages
English (en)
Other versions
JP2005296813A5 (ja
Inventor
Kazumasa Onishi
一正 大西
Current Assignee (The listed assignees may be inaccurate. Google has not performed a legal analysis and makes no representation or warranty as to the accuracy of the list.)
Individual
Original Assignee
Individual
Priority date (The priority date is an assumption and is not a legal conclusion. Google has not performed a legal analysis and makes no representation as to the accuracy of the date listed.)
Filing date
Publication date
Application filed by Individual filed Critical Individual
Priority to JP2004117112A priority Critical patent/JP2005296813A/ja
Publication of JP2005296813A publication Critical patent/JP2005296813A/ja
Publication of JP2005296813A5 publication Critical patent/JP2005296813A5/ja
Pending legal-status Critical Current

Links

Images

Landscapes

  • Cleaning By Liquid Or Steam (AREA)
  • Apparatuses For Generation Of Mechanical Vibrations (AREA)
  • Cleaning Or Drying Semiconductors (AREA)

Abstract

【課題】 洗浄ムラの発生を低減することのできる超音波洗浄器を提供すること。
【解決手段】 洗浄槽の底面もしくは側面の外側表面に、バインダ樹脂及びこのバインダ樹脂中に上記表面に平行に整列配置された複数本の高弾性繊維からなる繊維強化樹脂板が固定され、そして上記繊維強化樹脂板の洗浄槽側とは逆側の表面に、縦長の柱状圧電体の表面の対象位置に一対の電極が付設されてなる柱状圧電振動子の複数個が、それぞれの頂面もしくは底面にて固定されていることを特徴とする超音波洗浄器。
【選択図】 図4

Description

本発明は、超音波洗浄器に関する。
超音波洗浄器は、眼鏡や指輪などの日用品、カメラや時計に用いる精密機械部品、そして半導体素子の作製に用いるウエハなどの様々な物品の洗浄に用いられている。超音波洗浄器は、容器(洗浄槽)に入れた洗浄液中に洗浄対象の物品を浸し、そして洗浄液に超音波を付与することによって、物品に付着した汚れを取り除く器具である。超音波洗浄器は、洗浄液を入れる洗浄槽と、洗浄液に超音波を付与するための超音波振動子などから構成されている。洗浄液としては、物品に付着した汚れの種類により、水、有機溶媒、酸性溶液もしくはアルカリ性溶液などが用いられる。
図1から図3は、非特許文献1に記載の従来の超音波洗浄器の代表的な構成を示す断面図である。
図1の超音波洗浄器は、洗浄槽タイプと呼ばれており、洗浄液11を入れる洗浄槽12の底面に、超音波振動子13が固定された構成を有している。
図2の超音波洗浄器は、振動板タイプと呼ばれており、洗浄槽22の底板25が取り外し可能とされ、この底板25に超音波振動子23が固定された構成を有している。洗浄槽の底板25は、ボルト27やナット28などの固定具により洗浄槽22の底部に固定されている。洗浄槽22の底部には、洗浄液11の漏れを防止するパッキン26が備えられている。
図3の超音波洗浄器は、投込振動子タイプと呼ばれており、洗浄槽32の内部に、水密容器35の内側面に超音波振動子33が固定された構成の超音波付与装置が配置された構成を有している。
また、上記非特許文献1には、図1から図3に示す超音波洗浄器の他にも、洗浄槽の側面に超音波振動子が付設されたものなど、様々な構成の超音波洗浄器が記載されている。
超音波洗浄器には、小型のものを除いて、通常複数個の超音波振動子が用いられる。例えば、上記の洗浄槽タイプの超音波洗浄器の場合においては、その洗浄槽の底面に複数個の超音波振動子が固定される。このような構成の超音波洗浄器の場合、物品の洗浄ムラの発生を低減するためには、洗浄槽の底面に複数個の超音波振動子を高密度に配置して、洗浄槽の底面の全体をなるべく均一に超音波振動(上下方向に振動)させることが好ましい。ただし、一般には、超音波洗浄器の製造コストを考慮して、用いる超音波振動子の個数の上限が決定される。
複数個の超音波振動子を備える超音波洗浄器の場合、洗浄槽の底面の全体をなるべく均一に超音波振動させるために、各々の超音波振動子としては、底面との接触面積が大きい形状、すなわち横長の形状のもの(例、板状の圧電振動子)が従来は用いられている。
特許文献1においては、磁器製の洗浄槽の底面に音響整合層を介して板状の超音波振動子が固定された構成の超音波洗浄器が開示され、洗浄槽を磁器から形成することによって、腐食性を示す薬液を用いた洗浄が実現できるとされている。
特許文献2においては、洗浄槽の底面に、合成樹脂中に複数個の角柱状の圧電体を整列配置させ、その上下面を一対の電極で挟んだ構成の超音波振動子が固定された超音波洗浄器が開示され、上記角柱状の圧電体が板状の圧電体よりも電気機械変換効率が高く、この圧電体を備えた超音波振動子により1MHz程度以上の高い周波数の高エネルギーの超音波を洗浄槽内に発振できるため、サブミクロン単位の汚れを容易に洗浄できるとされている。
特許文献3には、母材樹脂中に高弾性繊維が整列配置された構成の音響振動制御材料が接合された圧電振動子が開示されている。音響振動制御材料の高弾性繊維は、その長さ方向に振動する音響振動の励起を抑え、そして繊維の長さ方向に直交する方向に振動する音響振動を伝達する。このため、圧電振動子の振動方向を、音響振動制御材料の高弾性繊維の長さ方向に直交する方向に制御できるとされている。
二橋裕之,「最新強力超音波技術」,初版,株式会社総合技術センター,昭和62年9月,p.223−224,p.228−232 特開2001−29907号公報(第1図) 特公平5−83313号公報 特開平7−284198号公報
上記のように、複数個の超音波振動子あるいは特許文献3に記載の超音波振動子の複数個の振動部(各々の圧電体がある部分)により、洗浄槽の底面を有る程度は均一に超音波振動させることができるため、洗浄ムラの発生を低減することはできる。しかしながら、洗浄槽の底面は、その超音波振動子(あるいは振動部)が配置された部位は大きく振動するものの、超音波振動子が配置されていない部位は小さく振動する。すなわち洗浄槽の底面は波打つように不均一に振動し易い。本発明者の研究によると、特に、超音波振動子として横長の形状のもの(例、板状の圧電振動子)を用いると、これを縦方向に所定の周波数で超音波振動させた場合に、振動子が前記周波数に対応する高次の共振を生じて横方向にも振動し易いため、洗浄槽の底面を上下方向に均一に超音波振動させ難い。
超音波洗浄器は、半導体素子作製用のウエハなどのように極めて均一に洗浄することが必要とされる物品の洗浄にも用いられるため、洗浄ムラの発生をさらに低減することが望ましい。
従って、本発明の目的は、洗浄ムラの発生を低減することのできる超音波洗浄器を提供することにある。
本発明は、洗浄槽の底面もしくは側面の外側表面に、バインダ樹脂及びこのバインダ樹脂中に上記表面に平行に整列配置された複数本の高弾性繊維からなる繊維強化樹脂板が固定され、そして上記繊維強化樹脂板の洗浄槽側とは逆側の表面に、縦長の柱状圧電体の表面の対象位置に一対の電極が付設されてなる柱状圧電振動子の複数個が、それぞれの頂面もしくは底面にて固定されていることを特徴とする超音波洗浄器にある。
この本発明の超音波洗浄器の好ましい態様は、下記の通りである。
(1)柱状圧電体が角柱状の圧電体であって、その高さ方向の長さが、頂面及び底面を構成するいずれの辺の長さに対しても1.3倍以上(特に、2.0〜8.0倍)である。
(2)一対の電極が柱状圧電体の側面に付設されている。
本発明はまた、洗浄槽の底面もしくは側面の内側表面に、バインダ樹脂及びこのバインダ樹脂中に上記表面に平行に整列配置された複数本の高弾性繊維からなる繊維強化樹脂板が固定され、そして上記洗浄槽の外側表面で、繊維強化樹脂板の固定領域に対応する領域に、縦長の柱状圧電体の表面の対象位置に一対の電極が付設されてなる柱状圧電振動子の複数個が、それぞれの頂面もしくは底面にて固定されていることを特徴とする超音波洗浄器にもある。
この本発明の超音波洗浄器の好ましい態様は、下記の通りである。
(1)柱状圧電体が角柱状の圧電体であって、その高さ方向の長さが、頂面及び底面を構成するいずれの辺の長さに対しても1.3倍以上(特に、2.0〜8.0倍)である。
(2)一対の電極が柱状圧電体の側面に付設されている。
本発明はまた、金属板の一方の表面に、バインダ樹脂及びこのバインダ樹脂中に上記表面に平行に整列配置された複数本の高弾性繊維からなる繊維強化樹脂板が固定され、そして上記繊維強化樹脂板の金属板側とは逆側の表面に、縦長の柱状圧電体の表面の対象位置に一対の電極が付設されてなる柱状圧電振動子の複数個が、それぞれの頂面もしくは底面にて固定されていることを特徴とする振動板にもある。
この本発明の振動板の好ましい態様は、下記の通りである。
(1)柱状圧電体が角柱状の圧電体であって、その高さ方向の長さが、頂面及び底面を構成するいずれの辺の長さに対しても1.3倍以上(特に、2.0〜8.0倍)である。
(2)一対の電極が柱状圧電体の側面に付設されている。
(3)洗浄槽の内部に設置して用いるためのものである。
本発明はまた、金属板の一方の表面に、バインダ樹脂及び該バインダ樹脂中に上記表面に平行に整列配置された複数本の高弾性繊維からなる繊維強化樹脂板が固定され、そして金属板の他方の表面で、繊維強化樹脂板の固定領域に対応する領域に、縦長の柱状圧電体の表面の対象位置に一対の電極が付設されてなる柱状圧電振動子の複数個が、それぞれの頂面もしくは底面にて固定されていることを特徴とする振動板にもある。
(1)柱状圧電体が角柱状の圧電体であって、その高さ方向の長さが、頂面及び底面を構成するいずれの辺の長さに対しても1.3倍以上(特に、2.0〜8.0倍)である。
(2)一対の電極が柱状圧電体の側面に付設されている。
(3)洗浄槽の内部に設置して用いるためのものである。
本発明の超音波洗浄器は、洗浄槽の底面もしくは側面の外側表面に、バインダ樹脂及びこのバインダ樹脂中に上記表面に平行に整列配置された複数本の高弾性繊維からなる繊維強化樹脂板が固定され、そして上記繊維強化樹脂板の洗浄槽側とは逆側の表面に、縦長の柱状圧電体の表面の対象位置に一対の電極が付設されてなる柱状圧電振動子の複数個が、それぞれの頂面もしくは底面にて固定されていることを特徴とする。
本発明の超音波洗浄器は、その各々の柱状圧電振動子の頂面を高さ方向に均一に超音波振動させ、そして繊維強化樹脂板により前記超音波振動が付与された洗浄槽の底面の全体を上下方向に均一に超音波振動させることができるため、洗浄ムラの発生が低減される。本発明の超音波洗浄器においては、その柱状圧電振動子に付与した電気エネルギーの大部分が洗浄槽の底面を上下に超音波振動させるために用いられる。従って、本発明の超音波洗浄器は、柱状圧電振動子に付与する電気エネルギーが同じである場合には、従来の超音波洗浄器よりも大きな超音波振動を洗浄液に付与することができるため、強い洗浄力を示す。
まず、本発明の超音波洗浄器を添付の図面を用いて説明する。図4は、本発明の超音波洗浄器の構成例を示す断面図であり、図5及び図6は、図4の超音波洗浄器の柱状圧電振動子及び繊維強化樹脂板を、それぞれ下側及び右側から見た図であり、そして図7は、図4の超音波洗浄器が備える柱状圧電振動子の構成を示す斜視図である。
図4から図7に示す超音波洗浄器40は、洗浄槽12の底面の外側表面に、バインダ樹脂及びこのバインダ樹脂中に上記表面に平行に整列配置された複数本の高弾性繊維(図示は略する)からなる繊維強化樹脂板44が固定され、そして繊維強化樹脂板44の洗浄槽12の側とは逆側の表面に、縦長の柱状圧電体46の表面の対象位置に一対の電極47a、47bが付設されてなる柱状圧電振動子43の複数個が、それぞれの頂面にて固定されていることを特徴とする。
洗浄槽12は、通常、ステンレススチールなどの金属材料から形成される。洗浄液として酸性溶液もしくはアルカリ性溶液のような腐食性の高い液体を用いる場合には、洗浄槽を、樹脂(例:塩化ビニル樹脂、フッ素樹脂)、ガラス、もしくはセラミックスなどから形成することが好ましい。洗浄槽12を金属材料から形成する場合には、洗浄槽12と繊維強化樹脂板44とが電気的に導通することを防止するために、洗浄槽12に絶縁材を介して繊維強化樹脂板44を付設しても良い。絶縁材の例としては、樹脂材料やガラスエポキシ材が挙げられる。絶縁材の厚みは、1mm以下、好ましくは0.5mm以下であることが好ましい。
図7に示すように、柱状圧電振動子43のそれぞれは、縦長の柱状圧電体46の表面の対象位置に一対の電極47a、47bが付設された構成を有している。柱状圧電体46は、例えば、ジルコン酸チタン酸鉛系の圧電セラミックから形成され、その幅(W)が4mmに、厚み(T)が2mmに、そして高さ(H)が8mmに設定されている。圧電体46は、例えば、その厚み方向に分極される。一対の電極47a、47bのそれぞれは、例えば、厚みが5μm程度のリン青銅や銀などの金属材料から形成された薄膜が用いられる。
複数個の柱状圧電振動子43は、例えば、エポキシ樹脂などにより繊維強化樹脂板44の表面に固定される。図4から図6に示すように、繊維強化樹脂板44の表面にフライスなどを用いて溝45を形成し、各々の柱状圧電振動子43を溝45に嵌め合わせるようにすると、振動子43の固定が容易となる。図4から図7に示す複数個の圧電振動子43は、間隔L1 及びL2 が、それぞれ8.67mm及び8.44mmとなるように繊維強化樹脂板44の表面に固定されている。
洗浄槽12の底面の外側表面に固定された繊維強化樹脂板44は、バインダ樹脂及びこのバインダ樹脂中に上記表面に平行に整列配置された複数本の高弾性繊維(図示は略する)から構成されている。図4の超音波洗浄器40の繊維強化樹脂板44には、そのバインダ樹脂としてエポキシ樹脂が、そして高弾性繊維として炭素繊維が用いられている。繊維強化樹脂板44は、炭素繊維を用いるために導電性を示す。このため、繊維強化樹脂板44に固定された複数個の柱状圧電振動子43は、それぞれその電極47aが繊維強化樹脂板44と電気的に接続されることとなる。従って、複数個の柱状圧電振動子43を超音波振動させるためには、繊維強化樹脂板44と各々の柱状圧電振動子43の電極47bとの間に交流電圧を印加すれば良い。
そして柱状圧電振動子43を高さ方向に超音波振動させるためには、その一対の電極47a、47bの間に、柱状圧電体46の高さ方向の長さにより定まる共振周波数に対応する周波数の交流電圧を印加する。柱状圧電体46は縦長の形状であるため、その高さ方向の長さは、頂面48及び底面49を構成するいずれの辺の長さよりも長い。このため柱状圧電体46の幅方向及び厚み方向のそれぞれの長さにより定まる共振周波数は、高さ方向の長さにより定まる共振周波数よりも高い。従って、柱状圧電振動子43を高さ方向に超音波振動させた場合には、柱状圧電体46はその幅及び厚みのいずれの方向においても共振しない。従って、柱状圧電振動子43の頂面の全体が、高さ方向に均一に超音波振動する。
柱状圧電振動子43の幅方向及び厚み方向のそれぞれにおける共振の発生を抑制するために、柱状圧電体46の高さ方向の長さは、圧電体46の頂面48及び底面49を構成するいずれの辺の長さに対しても1.3倍以上であることが好ましく、2.0〜8.0倍の範囲にあることがさらに好ましい。
このように縦長の柱状圧電振動子43の頂面は均一に超音波振動するものの、この柱状圧電振動子43の複数個を洗浄槽12の底面に直接固定しただけでは、上記のように洗浄槽12の底面が波打つように不均一に振動し易い。図4の超音波洗浄器40の底面に固定された繊維強化樹脂板44は、この洗浄槽12の底面の不均一な振動の発生を抑制して、洗浄槽12の底面を上下方向に均一に振動させるために用いられている。
繊維強化樹脂板44が備えられた高弾性繊維は、その長さ方向に伸縮し難い。このような繊維強化樹脂板44を洗浄槽12の底面の外側表面に固定すると、底面の波打つような不均一な振動の発生が抑制される。これは、洗浄槽12の底面が波打つように振動するためには、底面に固定された繊維強化樹脂板44の高弾性繊維が直線形から波形に変形するための、すなわち高弾性繊維をその長さ方向に伸ばすための大きなエネルギーが必要とされるためである。このため、複数個の柱状圧電振動子43により発生した超音波振動によって、洗浄槽12の底面の全体を上下方向に均一に超音波振動させることができる。
このように、図4の超音波洗浄器40は、その各々の柱状圧電振動子43の頂面を高さ方向に均一に超音波振動させ、そして繊維強化樹脂板44により前記超音波振動が付与された洗浄槽12の底面の全体を上下方向に均一に超音波振動させることができるため、洗浄ムラの発生が低減される。また、超音波洗浄器40の柱状圧電振動子43に付与した電気エネルギーの大部分は、洗浄槽12の底面を上下に超音波振動させるために用いられる。従って、図4の超音波洗浄器40は、圧電振動子に付与する電気エネルギーが同じである場合には、従来の超音波洗浄器よりも大きな超音波振動を洗浄液に付与することができるため、強い洗浄力を示す。
繊維強化樹脂板44の複数本の高弾性繊維は、洗浄槽12の底面の外側表面に平行に整列配置されていれば、その配置に特に制限はない。複数本の高弾性繊維は、洗浄槽12の底面の外側表面と平行な一方向に整列配置されていてもよいし、前記表面と平行で、かつ互いに直交する二方向に整列配置されていてもよい。
バインダ樹脂の例としては、エポキシ樹脂、ポリアミド樹脂、ポリイミド樹脂、PEEK(ポリエーテルエーテルケトン)樹脂、フェノール樹脂、不飽和ポリエステル樹脂、ポリカーボネート樹脂、およびポリアミドイミド樹脂などが挙げられる。
高弾性繊維の例としては、炭素繊維、炭化ケイ素繊維、ポリアミド繊維、およびアラミド繊維などが挙げられる。
洗浄槽12の底面を均一超音波振動させるためには、繊維強化樹脂板44の洗浄槽側の表面の面積を、なるべく洗浄槽の底面と一致する程度まで大きくすることが好ましい。また、洗浄対象の物品が大きい場合には洗浄槽は大型となり、その底面の面積も大きくなる。大型の洗浄槽の底面に繊維強化樹脂板を付設する場合には、洗浄槽の底面に沿って複数個の繊維強化樹脂板を付設しても良い。複数個の繊維強化樹脂板は、それらが互いに間隔を空けた状態で付設されていても良い。
繊維強化樹脂板44の厚みは、柱状圧電振動子43が発生する超音波振動の洗浄槽12の底面における反射量を低減するために、超音波振動の波長の1/4の厚みであることが好ましい。繊維強化樹脂板44の厚みは、繊維強化樹脂板中における超音波の減衰が大きい場合には、超音波振動の波長の1/4の厚みよりもさらに薄くすることが好ましい。
次に、図4の超音波洗浄器40を用いた物品の洗浄方法について説明する。まず、超音波洗浄器40の洗浄槽12に、例えば、水などの洗浄液11を入れる。次に、洗浄液11に洗浄対象の物品(図示は略する)を浸し、そして複数個の柱状圧電振動子43により洗浄液11に超音波振動を付与することにより、物品が超音波洗浄される。上記のように本発明の超音波洗浄器40を用いることにより、物品の洗浄ムラの発生が低減される。
洗浄に用いる超音波振動の周波数は、50乃至500kHzの範囲にあることが好ましい。柱状圧電振動子43が備える柱状圧電体46の高さは、通常、前記の超音波振動の周波数において共振するように、40mm乃至4mmの範囲に設定される。このような周波数の超音波振動を用いることにより、物品表面の損傷を抑え、かつ十分に強い洗浄力で物品を超音波洗浄することができる。
本発明の超音波洗浄器に用いられる縦長の柱状圧電体としては、円柱状の圧電体を用いることもできる。円柱状の圧電体の高さ方向の長さは、頂面及び底面のいずれの直径に対しても1.3倍以上(特に、2.0〜8.0倍)であることが好ましい。円柱状圧電体を用いる場合には、一対の電極はその頂面と底面に付設されていることが好ましい。なお、従来の超音波洗浄器には、円盤状の圧電振動子を一対の円柱状金属ブロックで挟み、これらをボルト締めした構成の縦長の円柱状ランジュバン振動子が用いられる場合もあるが、このランジュバン振動子は、一般に10〜50kHzの低い周波数の超音波振動を発生させるために用いられるものである。仮にランジュバン振動子を用いて、縦長の円柱状の形状を維持したまま、周波数が100kHzの超音波振動を発生させる場合にはその直径を1cm以下に、さらに周波数が500kHzの超音波振動を発生される場合には、その直径を4mm以下にする必要があり、その製造が極めて困難である。
本発明の超音波洗浄器に用いられる縦長の柱状圧電体としては、図7に示すような角柱状の圧電体を用いることが好ましく、さらにその側面に一対の電極が付設されていることが好ましい。一対の電極が角柱状圧電体の頂面と底面に付設されていると、圧電体の高さ方向の長さが大きくなるほど圧電体に加わる電界強度が小さくなり、圧電体を超音波振動させるために大きな交流電圧の印加が必要となるからである。柱状圧電振動子を、角柱状圧電体の側面に一対の電極が付設された構成にすると、用いる超音波振動の周波数が低い場合、すなわち圧電体の高さ方向の長さが大きい場合であっても、角柱状圧電体に大きな強度の電界を印加できるため、これを高さ方向に大きく振動させることができる。
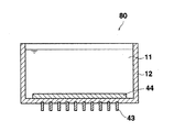
図8は、本発明の超音波洗浄器の別の構成例を示す断面図である。図8の超音波洗浄器80は、洗浄槽12の底面の内側表面に、バインダ樹脂及びこのバインダ樹脂中に上記表面に平行に整列配置された複数本の高弾性繊維からなる繊維強化樹脂板44が固定され、そして上記洗浄槽12の外側表面で、繊維強化樹脂板44の固定領域に対応する領域に、縦長の柱状圧電体の表面の対象位置に一対の電極が付設されてなる柱状圧電振動子43の複数個が、それぞれの頂面にて固定された構成を有している。
図8の超音波洗浄器80の構成は、繊維強化樹脂板44が洗浄槽12の底面の内側表面に付設されていること以外は、図4の超音波洗浄器40と同様である。繊維強化樹脂板44が洗浄槽の内側に付設されていても、洗浄槽の底面の不均一な振動の発生を低減することができる。このため図8の超音波洗浄器を用いて物品を洗浄することにより、物品表面の洗浄ムラの発生を低減することができる。
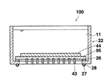
図9は、本発明の超音波洗浄器のさらに別の構成例を示す断面図である。図9の超音波洗浄器90の構成は、洗浄槽22の底板として脱着可能とされた金属板95が用いられていること以外は、図4の超音波洗浄器40と同様である。
金属板95、繊維強化樹脂板44、そして複数個の超音波振動子43により本発明の振動板が構成されている。図9に示す振動板は、金属板95の一方の表面に、バインダ樹脂及びこのバインダ樹脂中に上記表面に平行に整列配置された複数本の高弾性繊維からなる繊維強化樹脂板44が固定され、そして上記繊維強化樹脂板44の金属板95の側とは逆側の表面に、縦長の柱状圧電体の表面の対象位置に一対の電極が付設されてなる柱状圧電振動子43の複数個が、それぞれの頂面にて固定された構成を有している。
本発明の振動板は、洗浄槽22から脱着可能であるため、金属板95が腐食したり、振動板が破損などした場合であっても、別の振動板と容易に交換することができる。
図10は、本発明の超音波洗浄器のさらに別の構成例を示す断面図である。図10の超音波洗浄器100の構成は、洗浄槽22の底板として脱着可能とされた金属板95が用いられていること以外は、図8の超音波洗浄器80と同様である。
金属板95、繊維強化樹脂板44、そして複数個の超音波振動子43により本発明の振動板が構成されている。図10に示す振動板は、金属板95の一方の表面に、バインダ樹脂及び該バインダ樹脂中に上記表面に平行に整列配置された複数本の高弾性繊維からなる繊維強化樹脂板44が固定され、そして金属板95の他方の表面で、繊維強化樹脂板44の固定領域に対応する領域に、縦長の柱状圧電体の表面の対象位置に一対の電極が付設されてなる柱状圧電振動子43の複数個が、それぞれの頂面にて固定された構成を有している。
図11は、本発明の振動板の別の構成例と、その使用の態様を示す断面図である。図11に示す振動板は、金属板115の一方の表面に、バインダ樹脂及びこのバインダ樹脂中に上記表面に平行に整列配置された複数本の高弾性繊維からなる繊維強化樹脂板44が固定され、そして上記繊維強化樹脂板44の金属板115の側とは逆側の表面に、縦長の柱状圧電体の表面の対象位置に一対の電極が付設されてなる柱状圧電振動子43の複数個が、それぞれの頂面にて固定された構成を有している。
図11に示す振動板は、洗浄槽32の内部に設置して用いるためのものである。このため、振動板の複数個の柱状圧電振動子43が、水などの導電性を示す液体を洗浄液11として用いた場合に互いに電気的に短絡することを防止する必要がある。このため、振動板の金属板115は、その周端部が延長されて複数個の柱状圧電振動子43を収容する箱形とされている。なお、柱状圧電振動子43のそれぞれに接続する電気配線36は、箱に接続されたチューブの内部を通って洗浄槽32の外に引き出されている。なお、金属板115を箱形にする代わりに、例えば、振動板の複数個の柱状圧電振動子43を絶縁性の樹脂により覆うこともできる。
図12は、本発明の振動板のさらに別の構成例と、その使用の態様を示す断面図である。図12に示す振動板は、金属板115の一方の表面に、バインダ樹脂及び該バインダ樹脂中に上記表面に平行に整列配置された複数本の高弾性繊維からなる繊維強化樹脂板44が固定され、そして金属板115の他方の表面で、繊維強化樹脂板44の固定領域に対応する領域に、縦長の柱状圧電体の表面の対象位置に一対の電極が付設されてなる柱状圧電振動子43の複数個が、それぞれの頂面にて固定された構成を有している。
図12の振動板もまた、図11の振動板と同様に洗浄槽32の内部に設置して用いるためのものである。
従来の超音波洗浄器の構成例を示す断面図である。 従来の超音波洗浄器の別の構成例を示す断面図である。 従来の超音波洗浄器のさらに別の構成例を示す断面図である。 本発明の超音波洗浄器の構成例を示す断面図である。 図4の超音波洗浄器の柱状圧電振動子及び繊維強化樹脂板を下側から見た図である。 図4の超音波洗浄器の柱状圧電振動子及び繊維強化樹脂板を右側から見た図である。 図4の超音波洗浄器が備える柱状圧電振動子の構成を示す斜視図である。 本発明の超音波洗浄器の別の構成例を示す断面図である。 本発明の超音波洗浄器のさらに別の構成例を示す断面図である。 本発明の超音波洗浄器のさらに別の構成例を示す断面図である。 本発明の振動板の構成例と、その使用の態様を示す断面図である。 本発明の振動板の別の構成例と、その使用の態様を示す断面図である。
符号の説明
11 洗浄液
12、22、32 洗浄槽
13、23、33 超音波振動子
25 底板
26 パッキン
27 ボルト
28 ナット
35 水密容器
36 電気配線
40、80、90、100 超音波洗浄器
43 柱状圧電振動子
44 繊維強化樹脂板
45 溝
46 柱状圧電体
47a、47b 電極
48 柱状圧電体の頂面
49 柱状圧電体の底面
95、115 金属板
W 柱状圧電体の幅
T 柱状圧電体の厚み
H 柱状圧電体の高さ

Claims (14)

  1. 洗浄槽の底面もしくは側面の外側表面に、バインダ樹脂及び該バインダ樹脂中に上記表面に平行に整列配置された複数本の高弾性繊維からなる繊維強化樹脂板が固定され、そして該繊維強化樹脂板の洗浄槽側とは逆側の表面に、縦長の柱状圧電体の表面の対象位置に一対の電極が付設されてなる柱状圧電振動子の複数個が、それぞれの頂面もしくは底面にて固定されていることを特徴とする超音波洗浄器。
  2. 柱状圧電体が角柱状の圧電体であって、その高さ方向の長さが、頂面及び底面を構成するいずれの辺の長さに対しても1.3倍以上である請求項1に記載の超音波洗浄器。
  3. 一対の電極が柱状圧電体の側面に付設されている請求項1もしくは2に記載の超音波洗浄器。
  4. 洗浄槽の底面もしくは側面の内側表面に、バインダ樹脂及び該バインダ樹脂中に上記表面に平行に整列配置された複数本の高弾性繊維からなる繊維強化樹脂板が固定され、そして該洗浄槽の外側表面で、繊維強化樹脂板の固定領域に対応する領域に、縦長の柱状圧電体の表面の対象位置に一対の電極が付設されてなる柱状圧電振動子の複数個が、それぞれの頂面もしくは底面にて固定されていることを特徴とする超音波洗浄器。
  5. 柱状圧電体が角柱状の圧電体であって、その高さ方向の長さが、頂面及び底面を構成するいずれの辺の長さに対しても1.3倍以上である請求項4に記載の超音波洗浄器。
  6. 一対の電極が柱状圧電体の側面に付設されている請求項4もしくは5に記載の超音波洗浄器。
  7. 金属板の一方の表面に、バインダ樹脂及び該バインダ樹脂中に上記表面に平行に整列配置された複数本の高弾性繊維からなる繊維強化樹脂板が固定され、そして該繊維強化樹脂板の金属板側とは逆側の表面に、縦長の柱状圧電体の表面の対象位置に一対の電極が付設されてなる柱状圧電振動子の複数個が、それぞれの頂面もしくは底面にて固定されていることを特徴とする振動板。
  8. 柱状圧電体が角柱状の圧電体であって、その高さ方向の長さが、頂面及び底面を構成するいずれの辺の長さに対しても1.3倍以上である請求項7に記載の振動板。
  9. 一対の電極が柱状圧電体の側面に付設されている請求項7もしくは8に記載の振動板。
  10. 洗浄槽の内部に設置して用いるための請求項7乃至9のうちのいずれかの項に記載の振動板。
  11. 金属板の一方の表面に、バインダ樹脂及び該バインダ樹脂中に上記表面に平行に整列配置された複数本の高弾性繊維からなる繊維強化樹脂板が固定され、そして金属板の他方の表面で、繊維強化樹脂板の固定領域に対応する領域に、縦長の柱状圧電体の表面の対象位置に一対の電極が付設されてなる柱状圧電振動子の複数個が、それぞれの頂面もしくは底面にて固定されていることを特徴とする振動板。
  12. 柱状圧電体が角柱状の圧電体であって、その高さ方向の長さが、頂面及び底面を構成するいずれの辺の長さに対しても1.3倍以上である請求項11に記載の振動板。
  13. 一対の電極が柱状圧電体の側面に付設されている請求項11もしくは12に記載の振動板。
  14. 洗浄槽の内部に設置して用いるための請求項11乃至13のうちのいずれかの項に記載の振動板。
JP2004117112A 2004-04-12 2004-04-12 超音波洗浄器 Pending JP2005296813A (ja)

Priority Applications (1)

Application Number Priority Date Filing Date Title
JP2004117112A JP2005296813A (ja) 2004-04-12 2004-04-12 超音波洗浄器

Applications Claiming Priority (1)

Application Number Priority Date Filing Date Title
JP2004117112A JP2005296813A (ja) 2004-04-12 2004-04-12 超音波洗浄器

Publications (2)

Publication Number Publication Date
JP2005296813A true JP2005296813A (ja) 2005-10-27
JP2005296813A5 JP2005296813A5 (ja) 2007-05-31

Family

ID=35329007

Family Applications (1)

Application Number Title Priority Date Filing Date
JP2004117112A Pending JP2005296813A (ja) 2004-04-12 2004-04-12 超音波洗浄器

Country Status (1)

Country Link
JP (1) JP2005296813A (ja)

Cited By (3)

* Cited by examiner, † Cited by third party
Publication number Priority date Publication date Assignee Title
JP2008068221A (ja) * 2006-09-15 2008-03-27 Pre-Tech Co Ltd 超音波洗浄装置
CN103506348A (zh) * 2013-03-26 2014-01-15 新能(张家港)能源有限公司 一种二甲醚取样器清洗装置
CN113663980A (zh) * 2021-08-20 2021-11-19 陕西师范大学 多方向振动的超声换能器、超声清洗装置和清洗方法

Cited By (3)

* Cited by examiner, † Cited by third party
Publication number Priority date Publication date Assignee Title
JP2008068221A (ja) * 2006-09-15 2008-03-27 Pre-Tech Co Ltd 超音波洗浄装置
CN103506348A (zh) * 2013-03-26 2014-01-15 新能(张家港)能源有限公司 一种二甲醚取样器清洗装置
CN113663980A (zh) * 2021-08-20 2021-11-19 陕西师范大学 多方向振动的超声换能器、超声清洗装置和清洗方法

Similar Documents

Publication Publication Date Title
US8279712B2 (en) Composite transducer apparatus and system for processing a substrate and method of constructing the same
KR101431643B1 (ko) 정합된 트랜스듀서들 및 마운팅 플레이트를 구비한 메가소닉 다중주파수 장치
JP6802290B2 (ja) 超音波振動子及び超音波振動子を用いた超音波洗浄装置
US20130019893A1 (en) Ultrasonic cleaning method and apparatus
US9987666B2 (en) Composite transducer apparatus and system for processing a substrate and method of constructing the same
JP2009125645A (ja) 超音波洗浄装置及び超音波洗浄方法
JP2005296813A (ja) 超音波洗浄器
JP3839154B2 (ja) 超音波振動発生装置及び超音波洗浄装置
JP2004130248A (ja) 超音波洗浄器、超音波洗浄器用振動板、および超音波洗浄器用超音波付与装置
JP2007301538A (ja) 超音波洗浄器
US20130118536A1 (en) Ultrasonic precision cleaning apparatus
JPWO2006095738A1 (ja) 超音波洗浄器
KR200171544Y1 (ko) 압전세라믹스 진동자
JP2009082900A (ja) 超音波洗浄装置及び超音波洗浄方法
WO2025070708A1 (ja) 超音波振動装置、超音波洗浄装置、洗浄方法、および半導体装置の製造方法
JP2006150329A (ja) 超音波振動テーブル
WO2023181309A1 (ja) 振動子ユニット及び超音波減圧洗浄機
HK1174737A (en) Megasonic multifrequency apparatus with matched transducers and mounting plate
HK1174737B (en) Megasonic multifrequency apparatus with matched transducers and mounting plate
JP2007237157A (ja) 超音波洗浄装置
JP2005334984A (ja) 振動テーブル

Legal Events

Date Code Title Description
A521 Written amendment

Free format text: JAPANESE INTERMEDIATE CODE: A523

Effective date: 20070404

A621 Written request for application examination

Free format text: JAPANESE INTERMEDIATE CODE: A621

Effective date: 20070404

A977 Report on retrieval

Free format text: JAPANESE INTERMEDIATE CODE: A971007

Effective date: 20090602

A131 Notification of reasons for refusal

Free format text: JAPANESE INTERMEDIATE CODE: A131

Effective date: 20090901

A02 Decision of refusal

Effective date: 20100105

Free format text: JAPANESE INTERMEDIATE CODE: A02