JP2005296694A - 魚類選別台 - Google Patents

魚類選別台 Download PDF

Info

Publication number
JP2005296694A
JP2005296694A JP2004097999A JP2004097999A JP2005296694A JP 2005296694 A JP2005296694 A JP 2005296694A JP 2004097999 A JP2004097999 A JP 2004097999A JP 2004097999 A JP2004097999 A JP 2004097999A JP 2005296694 A JP2005296694 A JP 2005296694A
Authority
JP
Japan
Prior art keywords
fish
plate
bank
outlet
sorting
Prior art date
Legal status (The legal status is an assumption and is not a legal conclusion. Google has not performed a legal analysis and makes no representation as to the accuracy of the status listed.)
Granted
Application number
JP2004097999A
Other languages
English (en)
Other versions
JP4826978B2 (ja
Inventor
Yutaka Noumatsu
豊 能松
Current Assignee (The listed assignees may be inaccurate. Google has not performed a legal analysis and makes no representation or warranty as to the accuracy of the list.)
KAISUI MAREN KK
Original Assignee
KAISUI MAREN KK
Priority date (The priority date is an assumption and is not a legal conclusion. Google has not performed a legal analysis and makes no representation as to the accuracy of the date listed.)
Filing date
Publication date
Application filed by KAISUI MAREN KK filed Critical KAISUI MAREN KK
Priority to JP2004097999A priority Critical patent/JP4826978B2/ja
Publication of JP2005296694A publication Critical patent/JP2005296694A/ja
Application granted granted Critical
Publication of JP4826978B2 publication Critical patent/JP4826978B2/ja
Anticipated expiration legal-status Critical
Expired - Fee Related legal-status Critical Current

Links

Images

Classifications

    • YGENERAL TAGGING OF NEW TECHNOLOGICAL DEVELOPMENTS; GENERAL TAGGING OF CROSS-SECTIONAL TECHNOLOGIES SPANNING OVER SEVERAL SECTIONS OF THE IPC; TECHNICAL SUBJECTS COVERED BY FORMER USPC CROSS-REFERENCE ART COLLECTIONS [XRACs] AND DIGESTS
    • Y02TECHNOLOGIES OR APPLICATIONS FOR MITIGATION OR ADAPTATION AGAINST CLIMATE CHANGE
    • Y02ATECHNOLOGIES FOR ADAPTATION TO CLIMATE CHANGE
    • Y02A40/00Adaptation technologies in agriculture, forestry, livestock or agroalimentary production
    • Y02A40/80Adaptation technologies in agriculture, forestry, livestock or agroalimentary production in fisheries management
    • Y02A40/81Aquaculture, e.g. of fish

Landscapes

  • Farming Of Fish And Shellfish (AREA)
  • Sorting Of Articles (AREA)

Abstract

【課題】選別作業の能率化と作業空間の有効利用、及び衛生面の向上を目指した魚類選別台を提供することにある。
【解決手段】選別台板1と、該台板を支える支持脚7とを備え、選別台板は平板部12の上側外周囲に防魚堤4を、下側に脚係止部35を備え、防魚堤の数箇所に魚類取出口10と、該取出口の開閉口手段5とを備え、開閉口手段として、取出口側堤部の一方に収納部15を、他方に受け部25を備え、収納部内に遮蔽板6の基部6bを支承する上下揺動式手段51Aを備え、支持脚は上側に台板載置部72と、前記脚係止部に係合する被係止部73とを備え、上下に積み重ねが可能となるように下向きに広く開口しており、遮蔽板を一方取出口側堤部側に回動した時、収納部内に挿入して取出口を開口し、他方取出口側堤部側に回動した時、遮蔽板先部6aが受け部に挿入して取出口を閉鎖している。
【選択図】図1−1

Description

この本発明は、漁船より岸壁や漁港に陸揚げされた魚介類を、数人で魚種別に、或は同種の魚介類を大きさ別に選別する際に用いる魚類選別台に関する。
漁船による漁は、特定の魚種、例えばイカ、カニ、サンマ、イワシ、タラ、サケ、サバ、マグロ、タイ等の漁獲を目的に行われるが、目的以外の魚種も漁獲される。特に底引き網による漁では、多種類の魚種が漁獲される。大型漁船やトロール船にあっては、魚種の自動選別装置を備えるものもあるが、中小漁船にあっては、船内で人手により大まかに区分けしたり、漁港等に陸揚げした後に区分けしていた。
漁獲された多種類の魚種中に、珍味な魚や高級魚も含まれていることがあるし、同種魚であっても、大小があったり、傷がついていたりするので、これを人手で選別する必要があった。
魚種等の選別の多くは、陸揚げ場の岸壁や漁港において複数の空箱を準備し、例えば、第一空箱に大きい魚を、第二空箱に中くらいの魚を、第三空箱に小さい魚を区別して入れるか、競場の床面において大中小に区別していた。
また、漁港等の近くに木製の固定選別台を設置し、該選別台の上に漁獲した雑多な魚を載せ、これを数人の人手にて選別する場合もあった。
特開平10−229780号公報
しかしながら、自動選別装置は高価であるにも拘わらず、魚種選別ができず、しかも傷つきやすい問題点があった。陸揚げ漁港(岸壁)における選別は、少量の選別に適するも、大漁の選別には不適であった。また、木製固定選別台における選別は、陸揚げ漁港における選別より能率的であるも、陸揚げ位置が複数ある漁港にあっては、固定選別台を複数配置する必要があり、その固定選別台によって作業空間が占有される問題点があると共に、木製であるためささくれが生じ、ささくれにて魚や手指を傷つける問題点もあった。
そこで本発明は上記の事情に鑑みてなされたものであり、その目的は、選別作業の能率化と作業空間の有効利用、及び衛生面の向上を目指した魚類選別台を提供することにある。
本発明の魚類選別台は、請求項1として、一定の広さを有する選別台板と、該台板を下から支える支持脚とを備え、選別台板は平板部の上側外周囲に魚類の流出を阻止する防魚堤を、下側に脚係止部を備え、防魚堤と平板部の少なくとも1箇所に魚類の取出口と、該取出口の開閉口手段とを備えている。
請求項2は、請求項1の魚類選別台において、取出口に対する開閉口手段は、防魚堤に軸支した遮蔽板の回動にて開閉する堤軸支式手段と、遮蔽板の摺動にて開閉するスライド式手段と、遮蔽板の嵌脱にて開閉する嵌脱式手段と、平板部に軸支した遮蔽板の回動にて開閉する平板軸支式手段との何れか一方である。
請求項3は、請求項2の魚類選別台において、堤軸支式手段は、取出口側堤部の一方に収納部を、他方に受け部を備え、収納部と受け部は上向きに、且つ取出口に向けて開口し、収納部内に遮蔽板基部を横軸にて支承する上下揺動式手段であり、遮蔽板を一方取出口側堤部側に回動した時、収納部内に挿入して取出口を開口し、他方取出口側堤部側に回動した時、遮蔽板先部が受け部に挿入して取出口を閉鎖している。
請求項4は、請求項1,2,3の魚類選別台において、選別台板は上側部材と下側部材とから成る二重構造式台板であり、上側部材は平板部の上側外周囲に防魚堤を備え、下側部材は上側部材を裏面から均等に支持する支持部と、上側部材の外周部に重なる固定部と、脚係止部とを備え、支持部と固定部とを上側部材に着接している。
請求項5は、請求項1,2,3,4の魚類選別台において、支持脚は脚壁の上側に台板載置部と、選別台板の脚係止部に係合する被係止部とを備え、脚壁は補強リブを設け、上下に積み重ねが可能となるように下向きに広く開口している。
ここで選別台板とは、矩形状を成す平板部の上側外周囲に囲い部を設け、下側に脚係止部を有するものを言い、具体的には、上側部材の裏側に下側部材を着接した二重構造式台板と、上側部材の裏側に補強部材を着接した補強式台板とがあるが、一定量の魚類を溢れ出ないように収容するものであれば形状は自由である。
ここで上側部材とは、平板部の外周囲に防魚堤を設けるものを言い、下側部材とは、平板部を平滑に保つ支持部と、上側部材に着接する固定部とを備えるものを言う。
ここで脚係止部とは、選別台板の裏側二箇所に支持部と共に設けるもので、支持脚と嵌脱自在で、且つ嵌合状態において安定な凹部を言う。
ここで取出口とは、防魚堤や平板部の任意切欠部を言い、その切欠部から外部への魚類の排出を滑らかにする所を言う。
ここで開閉口手段の堤軸支式手段とは、上下揺動可能に軸支する上下揺動式手段と、水平旋回可能に軸支する水平旋回式手段とを言い、スライド式手段とは、防魚堤から出し入れする左右スライド式手段と、平板部に対して昇降する上下スライド式手段とを言い、嵌脱式手段とは、上下嵌脱式手段と前後嵌脱式手段とを言い、平板軸支式手段とは、平板部の一部に軸支する堤開閉式手段と平板開閉式手段とを言うが、取出口を開閉し得るものであれば、その手段は自由である。
ここで支持脚とは、選別台板を下から支えるもので、二体一組で使用するものを言い、特に下向きに広く開口する空部を備え、周壁に補強リブを備えることにより軽量化を図り、且つ、積み重ねを可能することが望ましい。
又、支持脚の下側に、高さ調整手段(ジャッキー、滑り止めを兼ねた接地部)を備えておけば、選別者の背丈に応じて台高さを加減し得る。
ここで被係止部とは、選別台板の脚係止部と嵌脱自在で、且つ嵌合状態において安定な突部を言うが、上記目的を達するものであれば形状は自由である。
本発明による魚類選別台は上記構造のとおりであるから、次に記載する効果を奏する。
請求項1の魚類選別台は、選別台板と、これを支える支持脚とから構成するものであるから、陸揚げに近い岸壁や漁港、或は競場等の適所に持ち運び、適所で組立て魚類を選別し得る。選別作業の終了後、分離してコンパクトに保管、又は格納しておける。このことにより、岸壁や漁港、或は競場等の作業空間を有効に使用できる。また、支持脚と選別台板との組立て分離は、工具等を用いずに簡単容易に、且つ安定状態で行える。
請求項2と請求項3の魚類選別台は、請求項1の特徴に加えて、開閉口手段として堤軸支式手段の内、遮蔽板基部を横軸にて支承する上下揺動式手段を採用しているので、遮蔽板を一方縦溝部側に回動するだけで取出口を開口し得るし、反対に他方縦溝部側に回動するだけで、取出口を閉鎖しえる。即ち、取出口の開閉が実に簡単容易である。
請求項4の魚類選別台は、請求項1,2,3の特徴に加えて、選別台板として、上側部材と下側部材とから成る二重構造式台板を採用しているので、負荷加重や耐久力が向上し、例え一度に大量の魚類を投入しても変形することがない。即ち、漁港等で荒っぽく使用しても、丈夫で長持ちする。しかも、製造も簡単容易になる。
請求項5の魚類選別台は、請求項1,2,3,4の特徴に加えて、支持脚の脚壁は下向きに広く開口しているので、上下に積み重ねておける。その結果、コンパクトに保管輸送し得る。しかも補強リブを備えているので、加重に対しても強い。
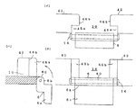
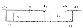
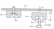
本発明による魚類選別台の最良形態を図1−1〜図1−4に基づき説明すれば、選別台板1と、該台板1を下から支える支持脚7とを備え、選別台板1は上側部材11と、上側部材11を裏面から均等に補強する下側部材12とから成る二重構造式台板1Aであり、その内、上側部材11は矩形状の平板部13の上側外周囲に魚類の流出を阻止する防魚堤4を備え、防魚堤4の任意個所に魚類の取出口10と、該取出口10の開閉口手段5とを備え、下側部材12は図9−1〜図9−3の如く、上側部材11の裏面に当設する支持部21と、上側部材11の外周部に重なる固定部22と、下向きに開口する脚係止部15とを設け、支持部21と固定部22とを上側部材11の裏面に着接して一体化するものであり、支持脚7は図10−1〜図10−4の如く、適宜高さを有する脚壁71の上側に台板載置部72と、脚係止部15に係合する被係止部73を、下側に接地部74を備え、且つ脚壁71に手掛け部76と、荷重方向に対する補強リブ75とを備え、積み重ねが可能となるように下向きに広く開口している。
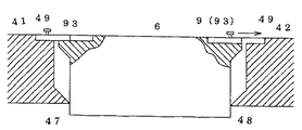
取出口10の開閉口手段5として、図1−5〜図1−7の如く防魚堤4に遮蔽板6を軸支持する堤軸支式手段5Aの内、防魚堤4の一方取出口側堤部41に遮蔽板6を上下揺動自在に軸支持する上下揺動式手段51Aを採用し、この上下揺動式手段51Aは、一方取出口側堤部41に遮蔽板長さHと遮蔽板厚さhより僅かに大きい収納部43を、他方取出口側堤部42に遮蔽板先部6aの受け部44を備え、収納部43と受け部44は共に上向きに、且つ取出口10に向けて開口し、収納部43に遮蔽板6の基部6bを挿入し、該基部6bと一方取出口側堤部41とに跨って横軸60を挿通し、横軸60を支点として上下揺動可能となるものである。
遮蔽板6を一方取出口側堤部41側に回動し、図1−5の如く収納部43に収まるまで深く回動することで取出口10が開口し、その遮蔽板6を他方取出口側堤部42側に向けて回動し、図1−6の如く遮蔽板先部6aが受け部44に収まることで取出口10が閉鎖する。
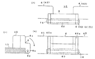
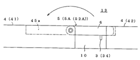
開閉口手段5の形態例を以下に説明すると、図2−1〜図2−3は、堤軸支式手段5Aの内、防魚堤4の一方取出口側堤部41に、遮蔽板6を縦軸50にて支承した水平旋回式手段52Aであり、この水平旋回式手段52Aは防魚堤4の取出口側堤部41,42の平板部13側に切欠部45a,46aを設け、その外側に薄肉部45b,46bを形成するものであり、切欠部45a,46aは天壁4a,4bを残して平板部13まで切欠し、一方の天壁4aと平板部13との間に遮蔽板基部6bを挿入し、これを縦軸50にて支承し、縦軸50を支点として水平旋回可能となるものであり、図2−2と図2−3の如く遮蔽板6を一方取出口側堤部41側に回動し、一方薄肉部45bに重ねることで取出口10は開口し、図2−1の如く遮蔽板6を他方取出口側堤部42側に回動し、遮蔽板先部6aを他方薄肉部46bに当接することで取出口10は閉鎖する。
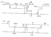
図3−1〜図3−3は、遮蔽板6を摺動して開閉するスライド式手段5Bであり、その第一実施例の遮蔽板6を防魚堤4の長手方向に摺動する左右スライド式手段51Bである。
左右スライド式手段51Bを上下揺動式手段51Aと相違する点について説明すれば、一方取出口側堤部41に収納部43を、他方取出口側堤部42に受け部44を備え、遮蔽板6を収納部43に収まるまで摺動することで取出口10は開口し、他方取出口側堤部42に向け手摺動し、図3−1の如く受け部44に収まることで取出口10は閉鎖する。
図4−1〜図4−3は、スライド式手段5Bの第二実施例で、遮蔽板6を取出口10に対して昇降する上下スライド式手段52Bである。
上下スライド式手段52Bを第一実施例と相違する点について説明すれば、取出口10に縦貫通長孔54を設け、取出口側堤部41,42に遮蔽板6の案内溝47,48を相対設し、案内溝47,48の下側に下降制限部47a,48aを設け、防魚堤高さSより僅かに長い遮蔽板6の上側に下降制限部47a,48aに当接する腕部6dを設け、上下動自在に嵌挿するものであり、図4−3の如く遮蔽板6の腕部6dが案内溝47,48の下降制限部47a,48aに当接するまで下降した時、遮蔽板6の上面が平板部13と面一となり、取出口10を開口し、図4−2の如く縦貫通長孔54より垂下した遮蔽板6の下側を押し上げ、所定の位置まで上昇した所で閉鎖維持手段9により降下を阻止し、取出口10は閉鎖する。
図5−1と図5−2は、遮蔽板6を嵌脱して開閉する嵌脱式手段5Cであり、その第一実施例の遮蔽板6を取出口10の上側から嵌脱する上下嵌脱式手段51Cである。
上下嵌脱式手段51Cを堤軸支式手段5A、及びスライド式手段5Bと相違する点について説明すれば、取出口側堤部41,42に案内溝47,48を相対設し、図5−2の如く遮蔽板6を案内溝47,48に添って降下挿入し、平板部13に当接するまで挿入することで取出口10は閉鎖し、その状態から遮蔽板6を案内溝47,48に添って上昇し、取外すことで取出口10は開口する。
この上下嵌脱式手段51Cにあっては、遮蔽板6を例えば一方取出口側堤部41に紐Rで取付けておくと紛失の恐れがないし、取出口10より取外した遮蔽板6を、例えば選別台板1の外側に垂下げておくことができる。
図6−1と図6−2は、嵌脱式手段5Cの第二実施例であり、且つ取出口10に対して前後方向より嵌脱する前後嵌脱式手段52Cである。
前後嵌脱式手段52Cを第一実施例と相違する点について説明すれば、取出口10を平板部13に向けて広口となるように形成し、取出口側堤部41,42の堤部端面41a,42aの少なくとも外寄り部に傾斜端面41b、42bを設け、遮蔽板6の両側面に堤部傾斜端面41b、42bに対応する被傾斜面6eを備え、
図6−1の如く取出口10の閉鎖時に、傾斜端面41b、42bと遮蔽板被傾斜面6eとが当接する。
図7−1と図7−2は、開閉口手段5の内、遮蔽板6を平板部13の一部に軸支する平板軸支式手段5Dであり、その第一実施例の遮蔽板6を取出口10より外側の平板部13に軸支する堤開閉式手段51Dである。
堤開閉式手段51Dを説明すれば、水平旋回式手段52Aと反対に、取出口側堤部41,42の外部側に切欠部45a,46aを、平板部13側に薄肉部45b,46bを設け、取出口10より外側の平板部13に支承部14を備え、遮蔽板6は薄肉部45b,46bに当接する遮蔽部6cと、支承部14に横軸60で軸支する基部6bとを段違いに設け、横軸60を中心にして上下揺動可能となるものであり、図7−1の如く取出口10の閉鎖時に、遮蔽部6cは薄肉部45b,46bに当接し、図7−2の如く取出口10は開口時に、遮蔽部6cは取出口10より外側の下方に回動している。
図8−1〜図8−3は、平板軸支式手段5Dの第二実施例であり、防魚堤4より内側の平板部13に軸支する平板開閉式手段52Dである。
平板開閉式手段52Dを第一実施例と相違する点について説明すれば、平板部13の防魚堤4側に上下方向に貫通する平板取出口10を設け、該取出口10側の裏面に支承部14を備え、遮蔽板6は取出口10より一回り小さく、その基部6bを支承部14に横軸60で軸支し、横軸60を中心にして上下揺動可能となるものであり、図8−1の如く取出口10の閉鎖時に、遮蔽板6は平板部13と面一となるまで上向きに回動した所で閉鎖維持手段9により降下を阻止し、図8−2と図8−3の如く取出口10の開口時に、遮蔽板6は支承部14より下方に向けて垂下する。
本発明による魚類選別台の実施例を、最良形態と相違する点について説明すると、選別台板1は上側部材11の裏面に補強部材20を着設する補強式台板1Bであり、補強式台板1Bの補強部材20は図11−1の如く縦桟部23と横桟部24とを適宜間隔で井桁状に連続し、縦桟部23と横桟部24との間に、下向きに開口する脚係止部15を形成するものである。
補強部材20を構成する縦桟部23と横桟部24は、角棒状や図11−2(イ)の如く角筒状を成し、その上面を上側部材11の裏面に着接して一体化するか、図11−2(ロ)の如くリップ溝型状を成し、リップを上側部材11の裏面に着接して一体化するものである。
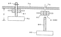
支持脚7の下側に高さ調整手段8を取付ければ、選別台板1の高さを使用現場に合わせて変更し得る。高さ調整手段8として、図14の如く嵩上げ式手段8Aと図15の如くジャッキー式手段8Bとを用いる。
その内、嵩上げ式手段8Aは接地体81に支持脚接地部74に設けた雌ねじ部7aに連通する貫通孔82を備え、接地体貫通孔82より接地部74の雌ねじ部7aに螺入する固定ボルト83にて固定するものであり、接地体厚さtを選択して固定することで、選別台板1の高さを可変するものである。
ジャッキー式手段8Bは、ねじ棒86を直立した接地体85と、ねじ棒86に螺合する手動ナット87とから成り、ねじ棒86を接地部74の抜き孔7bに相通し、選別台板1の自重によって手動ナット87に載置しており、手動ナット87の昇降にて可変高さTを調整するものである。
上下スライド式手段52Bにおける遮蔽板6の閉鎖維持手段9として、例えば図4−2の如く遮蔽板6の上昇状態において、遮蔽板6の腕部6dより下方の案内溝47,48にピン92を挿通するか、図13の如く遮蔽板6の上側に設けたスライド片93を取出口側堤部41,42に設けたガイド49までスライドするものである。(ガイド49とスライド片93とを反対に設けることも可能)
また、図6−1の如く前後嵌脱式手段52Cにおいて、遮蔽板6の両側面にノッチ91を設け、このノッチ91を堤部端面41a,42aの対抗面に設けた端面凹部41c,42cに係止する。(ノッチ91と凹部41c,42cとを反対に設けることも可能)
更に、平板開閉式手段52Dにおいて、例えば遮蔽板6の閉鎖回動時にノッチ91を後退し、閉鎖完了時にノッチ91が復帰して下降を阻止し、遮蔽板6の開口時に、ノッチ91を強制的に後退し、係止状態を開放することも可能である。
遮蔽板6に開閉操作を容易にする操作補助手段3を設けることが好ましい。例えば上下揺動式手段51Aにあっては、遮蔽板6の軸支位置を、遮蔽板6の中心より上側に偏心して軸支し、収納部43に上段部43aを備えておくことで、遮蔽板6の一部を収納部43より上側に露出する露出部31とし、この露出部31を把持して閉鎖回動し得るようにする。
左右スライド式手段51Bにあっては、図3−2と図3−3の如く、一方取出口側堤部41に収納部43から外部に連通する横貫通長孔53を備え、遮蔽板6の基部6bに、横貫通長孔53を貫通して外部に露出する把握部32を設け、この把握部32を把持してスライドする。
各開閉口手段5において、遮蔽板6の一部に窪み33を設け、この窪み32を利用して開閉することも可能であるし、遮蔽板6に摘み34を取付け、摘み34を把持して開閉することも可能である。
開閉口手段5は、堤軸支式手段5Aとスライド式手段5Bと嵌脱式手段5Cと平板軸支式手段5Dとに限定されるものではなく、取出口10を簡単に開閉し得るものであれば、その形態は自由である。
例えば、堤軸支式手段5Aの上下揺動式手段51Aにおいて、図12の如く一方取出口側堤部41の平板部13側に遮蔽板6を横軸60で片持ち支持し、横軸60を中心にして揺動することで、取出口10を開閉することも可能である。
選別台板1を構成する上側部材11と下側部材12、又は上側部材11と補強部材20、及び選別台板1を支える支持脚7は、合成樹脂製、特にFRPにて形成することが望ましい。
選別台板1の台板幅Lは200〜120cmが好ましいが、両側から作業できる範囲であれば自由であるし、取出口間隔Pは30〜100cmが好ましいが、隣の作業員とぶつからない範囲であれば自由である。
本発明による魚類選別台の最良形態を示す斜視図である。 選別台板の平面図である。 選別台板の正面図である。 選別台板の斜視図である。 開閉口手段の内、最良形態の堤軸支式手段(上下揺動式手段)を示す要部平面図である。 その閉鎖時の要部縦断面図である。 開口時の要部縦断面図である。 堤軸支式手段(水平旋回式手段)の閉鎖時における要部平面図である。 その開口時の要部横断面図である。 その開口時の要部縦断面図である。 スライド式手段の第一実施例(左右スライド式手段)における閉鎖時の要部横断面図である。 その開口時の要部横断面図である。 開口時の要部縦断面図である。 スライド式手段の第二実施例(上下スライド式手段)における要部平面図である。 閉鎖時の要部縦断面図である。 開口時の要部縦断面図である。 嵌脱式手段の第一実施例(上下嵌脱式手段)における閉鎖時の要部平面図である。 その開口時の要部縦断面図である。 嵌脱式手段の第二実施例(前後嵌脱式手段)における閉鎖時の一部切欠平面図である。 その開口時の要部平面図である。 平板軸支式手段の第一実施例(堤開閉式手段)における閉鎖時の要部平面図(イ)と正面図(ロ)と断面図(ハ)である。 その開口時の要部平面図(イ)と正面図(ロ)と断面図(ハ)である。 い断面図である。 平板軸支式手段の第二実施例(平板開閉式手段)における閉鎖時の要部縦断面図である。 その開口時の要部縦断面図である。 開口時の一部切欠平面図である。 下側部材の底面図である。 そのA−A断面図である。 その斜視図である。 支持脚の斜視図である。 その平面図である。 その正面図である。 その側面図である。 補強部材の斜視図である。 補強部材の形状例を示す要部斜視図である。 類例上下揺動式手段の開口時と閉鎖時の要部平面図である。 類例上下スライド式手段の一部切欠正面図である。 高さ調整手段の内、嵩上げ式を示す一部切側欠側面図である。 高さ調整手段の内、ジャッキー式を示す一部切側欠側面図である。
符号の説明
1 選別台板、1A 二重構造式台板、1B 補強式台板
11 上側部材、12 下側部材、13 平板部、14 支承部、15 脚係止部
20 補強部材、21 支持部、22 固定部、23 縦桟部、24 横桟部
3 操作補助手段、31 露出部、32 把握部、33 窪み、34 摘み
4 防魚堤、4a,4b 天壁
41,42 取出口側堤部
41a,42a 堤部端面、41b,42b 傾斜端面、41c,42c 端面凹部
43 収納部、43a 段部、44 受け部
45a,46a 切欠部、45b,46b 薄肉部
47,48 案内溝、47a,48a 下降制限部、49 ガイド
5 開閉口手段
5A 堤軸支式手段、51A 上下揺動式手段、52A 水平旋回式手段
5B スライド式手段、51B 左右スライド式手段、52B 上下スライド式手段
5C 嵌脱式手段、51C 上下嵌脱式手段、52C 前後嵌脱式手段
5D 平板軸支式手段、51D 堤開閉式手段、52D 平板開閉式手段
53 横貫通長孔、54 縦貫通長孔
6 遮蔽板、6a 先部、6b 基部、6c 遮蔽部、6d 腕部、6e 被傾斜面
50 縦軸、60 横軸
7 支持脚、7a 雌ねじ部、7b 抜き孔
71 脚壁、72 台板載置部、73 被係止部、74 接地部、75 補強リブ
76 手掛け部
8 高さ調整手段、8A 嵩上げ式手段、8B ジャッキー式手段
81,85 接地体、82 貫通孔、83 固定ボルト、86 ねじ棒
87 手動ナット
9 閉鎖維持手段、91 ノッチ、92 ピン、93 スライド片
10 取出口
R 紐
H 遮蔽板長さ、h 遮蔽板厚さ
T 可変高さ、t 接地体厚さ
L 台板幅、P 取出口間隔
S 防魚堤高さ

Claims (5)

  1. 一定の広さを有する選別台板(1)と、該台板(1)を下から支える支持脚(7)とを備え、選別台板(1)は平板部(13)の上側外周囲に魚類の流出を阻止する防魚堤(4)を、下側に脚係止部(15)を備え、防魚堤(4)と平板部(13)の少なくとも1箇所に魚類の取出口(10)と、該取出口(10)の開閉口手段(5)とを備えていることを特徴とする魚類選別台。
  2. 取出口(10)に対する開閉口手段(5)は、防魚堤(4)に軸支した遮蔽板(6)の回動にて開閉する堤軸支式手段(5A)と、遮蔽板(6)の摺動にて開閉するスライド式手段(5B)と、遮蔽板(6)の嵌脱にて開閉する嵌脱式手段(5C)と、平板部(13)に軸支した遮蔽板(6)の回動にて開閉する平板軸支式手段(5D)との何れか一方であることを特徴とする請求項1記載の魚類選別台。
  3. 堤軸支式手段(5A)は、取出口側堤部(41,42)の一方に収納部(43)を、他方に受け部(44)を備え、収納部(43)と受け部(44)は上向きに、且つ取出口(10)に向けて開口し、収納部(43)内に遮蔽板基部(6b)を横軸(60)にて支承する上下揺動式手段(51A)であり、遮蔽板(6)を一方取出口側堤部(41)側に回動した時、収納部(43)内に挿入して取出口(10)を開口し、他方取出口側堤部(42)側に回動した時、遮蔽板先部(6a)が受け部(44)に挿入して取出口(10)を閉鎖していることを特徴とする請求項2記載の魚類選別台。
  4. 選別台板(1)は上側部材(11)と下側部材(12)とから成る二重構造式台板(1A)であり、上側部材(11)は平板部(13)の上側外周囲に防魚堤(4)を備え、下側部材(12)は上側部材(11)を裏面から均等に支持する支持部(21)と、上側部材(11)の外周部に重なる固定部(22)と、脚係止部(15)とを備え、支持部(21)と固定部(22)とを上側部材(11)に着接していることを特徴とする請求項1,2または3記載の魚類選別台。
  5. 支持脚(7)は脚壁(71)の上側に台板載置部(72)と、選別台板(1)の脚係止部(15)に係合する被係止部(73)とを備え、脚壁(71)は補強リブ(75)を設け、上下に積み重ねが可能となるように下向きに広く開口していることを特徴とする請求項1,2,3または4記載の魚類選別台。
JP2004097999A 2004-03-30 2004-03-30 魚類選別台 Expired - Fee Related JP4826978B2 (ja)

Priority Applications (1)

Application Number Priority Date Filing Date Title
JP2004097999A JP4826978B2 (ja) 2004-03-30 2004-03-30 魚類選別台

Applications Claiming Priority (1)

Application Number Priority Date Filing Date Title
JP2004097999A JP4826978B2 (ja) 2004-03-30 2004-03-30 魚類選別台

Publications (2)

Publication Number Publication Date
JP2005296694A true JP2005296694A (ja) 2005-10-27
JP4826978B2 JP4826978B2 (ja) 2011-11-30

Family

ID=35328895

Family Applications (1)

Application Number Title Priority Date Filing Date
JP2004097999A Expired - Fee Related JP4826978B2 (ja) 2004-03-30 2004-03-30 魚類選別台

Country Status (1)

Country Link
JP (1) JP4826978B2 (ja)

Citations (6)

* Cited by examiner, † Cited by third party
Publication number Priority date Publication date Assignee Title
JPS51116849A (en) * 1975-04-07 1976-10-14 Du Pont Mitsui Fluorochem Co Ltd Powdered copolymers from ethylene and fluorine containing olefin
JPH03231092A (ja) * 1990-02-02 1991-10-15 Tatemi Sueshige 魚船における魚類選別装置
JPH03254619A (ja) * 1990-03-01 1991-11-13 Aaru Pii Toupura Kk 活魚運搬容器
JPH0793506A (ja) * 1992-12-11 1995-04-07 Seibu Polymer Corp 魚計数装置
JPH11165736A (ja) * 1997-12-03 1999-06-22 Nippon Zanpakku Kk 積み重ね容器
JP2002086075A (ja) * 2000-09-14 2002-03-26 Yutaka Sangyo Kikai Hanbai Kk 魚体選別装置と活〆装置

Patent Citations (6)

* Cited by examiner, † Cited by third party
Publication number Priority date Publication date Assignee Title
JPS51116849A (en) * 1975-04-07 1976-10-14 Du Pont Mitsui Fluorochem Co Ltd Powdered copolymers from ethylene and fluorine containing olefin
JPH03231092A (ja) * 1990-02-02 1991-10-15 Tatemi Sueshige 魚船における魚類選別装置
JPH03254619A (ja) * 1990-03-01 1991-11-13 Aaru Pii Toupura Kk 活魚運搬容器
JPH0793506A (ja) * 1992-12-11 1995-04-07 Seibu Polymer Corp 魚計数装置
JPH11165736A (ja) * 1997-12-03 1999-06-22 Nippon Zanpakku Kk 積み重ね容器
JP2002086075A (ja) * 2000-09-14 2002-03-26 Yutaka Sangyo Kikai Hanbai Kk 魚体選別装置と活〆装置

Also Published As

Publication number Publication date
JP4826978B2 (ja) 2011-11-30

Similar Documents

Publication Publication Date Title
AU781095B2 (en) Portable sink
EP1596653B1 (en) System for culture and storage of benthic organisms in an aquatic environment
US2936066A (en) Portable container for fishing tackle and other uses
US2629644A (en) Fishing tackle box
US5054669A (en) Portable lure container
US3985409A (en) Tackle box
US5636469A (en) Fishing tackle apparatus
EP1849356A1 (en) Foldable fish-trap
US4488623A (en) Canoe travel box
US3867782A (en) Crab trap
US5975002A (en) Storage system for marine craft
US3889805A (en) Fishing tackle rack
US5593061A (en) Fishing tackle storage and carrying apparatus
AU662016B2 (en) Multi-stage storage case for cassettes or cassette blocks
US4621588A (en) Shellfish cultivator
US20240130571A1 (en) Cutting board
JP2005296694A (ja) 魚類選別台
US2692007A (en) Fisherman's chair
US7040977B1 (en) Fish cleaning system
NO311961B1 (no) Dyrkingskasse for skjell
US4272904A (en) Crab pot handling apparatus and method
DE3436330C1 (de) Vorrichtung zum Fangen von Tieren
US20140165451A1 (en) Hands-Free Bait Storage and Retrieval Apparatus
KR200448531Y1 (ko) 낚시채비 정리용 가방
CN109090842B (zh) 一种便于清洁的课桌

Legal Events

Date Code Title Description
A621 Written request for application examination

Free format text: JAPANESE INTERMEDIATE CODE: A621

Effective date: 20070306

A977 Report on retrieval

Free format text: JAPANESE INTERMEDIATE CODE: A971007

Effective date: 20100318

A131 Notification of reasons for refusal

Free format text: JAPANESE INTERMEDIATE CODE: A131

Effective date: 20100427

A521 Request for written amendment filed

Free format text: JAPANESE INTERMEDIATE CODE: A523

Effective date: 20100622

A131 Notification of reasons for refusal

Free format text: JAPANESE INTERMEDIATE CODE: A131

Effective date: 20110322

A521 Request for written amendment filed

Free format text: JAPANESE INTERMEDIATE CODE: A523

Effective date: 20110513

A131 Notification of reasons for refusal

Free format text: JAPANESE INTERMEDIATE CODE: A131

Effective date: 20110607

A521 Request for written amendment filed

Free format text: JAPANESE INTERMEDIATE CODE: A523

Effective date: 20110715

TRDD Decision of grant or rejection written
A01 Written decision to grant a patent or to grant a registration (utility model)

Free format text: JAPANESE INTERMEDIATE CODE: A01

Effective date: 20110809

A01 Written decision to grant a patent or to grant a registration (utility model)

Free format text: JAPANESE INTERMEDIATE CODE: A01

A61 First payment of annual fees (during grant procedure)

Free format text: JAPANESE INTERMEDIATE CODE: A61

Effective date: 20110902

FPAY Renewal fee payment (event date is renewal date of database)

Free format text: PAYMENT UNTIL: 20140922

Year of fee payment: 3

R150 Certificate of patent or registration of utility model

Ref document number: 4826978

Country of ref document: JP

Free format text: JAPANESE INTERMEDIATE CODE: R150

R250 Receipt of annual fees

Free format text: JAPANESE INTERMEDIATE CODE: R250

R250 Receipt of annual fees

Free format text: JAPANESE INTERMEDIATE CODE: R250

R250 Receipt of annual fees

Free format text: JAPANESE INTERMEDIATE CODE: R250

R250 Receipt of annual fees

Free format text: JAPANESE INTERMEDIATE CODE: R250

R250 Receipt of annual fees

Free format text: JAPANESE INTERMEDIATE CODE: R250

R250 Receipt of annual fees

Free format text: JAPANESE INTERMEDIATE CODE: R250

R250 Receipt of annual fees

Free format text: JAPANESE INTERMEDIATE CODE: R250

LAPS Cancellation because of no payment of annual fees