JP2005295427A - 音響発生装置 - Google Patents
音響発生装置 Download PDFInfo
- Publication number
- JP2005295427A JP2005295427A JP2004110831A JP2004110831A JP2005295427A JP 2005295427 A JP2005295427 A JP 2005295427A JP 2004110831 A JP2004110831 A JP 2004110831A JP 2004110831 A JP2004110831 A JP 2004110831A JP 2005295427 A JP2005295427 A JP 2005295427A
- Authority
- JP
- Japan
- Prior art keywords
- sound
- magnet
- sound generating
- generating member
- coil
- Prior art date
- Legal status (The legal status is an assumption and is not a legal conclusion. Google has not performed a legal analysis and makes no representation as to the accuracy of the status listed.)
- Pending
Links
- 238000003780 insertion Methods 0.000 claims abstract description 36
- 230000037431 insertion Effects 0.000 claims abstract description 36
- 230000002093 peripheral effect Effects 0.000 claims abstract description 14
- 239000004020 conductor Substances 0.000 claims description 36
- 239000000463 material Substances 0.000 claims description 31
- 239000000696 magnetic material Substances 0.000 claims description 18
- 238000004804 winding Methods 0.000 description 9
- XEEYBQQBJWHFJM-UHFFFAOYSA-N Iron Chemical compound [Fe] XEEYBQQBJWHFJM-UHFFFAOYSA-N 0.000 description 8
- 239000011248 coating agent Substances 0.000 description 8
- 238000000576 coating method Methods 0.000 description 8
- 238000010586 diagram Methods 0.000 description 7
- 229920003002 synthetic resin Polymers 0.000 description 6
- 239000000057 synthetic resin Substances 0.000 description 6
- XUIMIQQOPSSXEZ-UHFFFAOYSA-N Silicon Chemical compound [Si] XUIMIQQOPSSXEZ-UHFFFAOYSA-N 0.000 description 4
- 229910052742 iron Inorganic materials 0.000 description 4
- 239000000565 sealant Substances 0.000 description 4
- 229910052710 silicon Inorganic materials 0.000 description 4
- 239000010703 silicon Substances 0.000 description 4
- 235000017166 Bambusa arundinacea Nutrition 0.000 description 3
- 235000017491 Bambusa tulda Nutrition 0.000 description 3
- 241001330002 Bambuseae Species 0.000 description 3
- RYGMFSIKBFXOCR-UHFFFAOYSA-N Copper Chemical compound [Cu] RYGMFSIKBFXOCR-UHFFFAOYSA-N 0.000 description 3
- 235000015334 Phyllostachys viridis Nutrition 0.000 description 3
- 229910052782 aluminium Inorganic materials 0.000 description 3
- XAGFODPZIPBFFR-UHFFFAOYSA-N aluminium Chemical compound [Al] XAGFODPZIPBFFR-UHFFFAOYSA-N 0.000 description 3
- 239000011425 bamboo Substances 0.000 description 3
- 230000005540 biological transmission Effects 0.000 description 3
- XLYOFNOQVPJJNP-UHFFFAOYSA-N water Substances O XLYOFNOQVPJJNP-UHFFFAOYSA-N 0.000 description 3
- 229910001369 Brass Inorganic materials 0.000 description 2
- 239000006096 absorbing agent Substances 0.000 description 2
- 230000004323 axial length Effects 0.000 description 2
- 239000010951 brass Substances 0.000 description 2
- 230000035876 healing Effects 0.000 description 2
- 230000035939 shock Effects 0.000 description 2
- 238000010521 absorption reaction Methods 0.000 description 1
- 239000012141 concentrate Substances 0.000 description 1
- 230000008878 coupling Effects 0.000 description 1
- 238000010168 coupling process Methods 0.000 description 1
- 238000005859 coupling reaction Methods 0.000 description 1
- 229910052751 metal Inorganic materials 0.000 description 1
- 239000002184 metal Substances 0.000 description 1
- 230000004048 modification Effects 0.000 description 1
- 238000012986 modification Methods 0.000 description 1
- 229920005989 resin Polymers 0.000 description 1
- 239000011347 resin Substances 0.000 description 1
- 229920002994 synthetic fiber Polymers 0.000 description 1
Images
Classifications
-
- A—HUMAN NECESSITIES
- A01—AGRICULTURE; FORESTRY; ANIMAL HUSBANDRY; HUNTING; TRAPPING; FISHING
- A01G—HORTICULTURE; CULTIVATION OF VEGETABLES, FLOWERS, RICE, FRUIT, VINES, HOPS OR SEAWEED; FORESTRY; WATERING
- A01G7/00—Botany in general
- A01G7/06—Treatment of growing trees or plants, e.g. for preventing decay of wood, for tingeing flowers or wood, for prolonging the life of plants
Landscapes
- Life Sciences & Earth Sciences (AREA)
- Biodiversity & Conservation Biology (AREA)
- Ecology (AREA)
- Forests & Forestry (AREA)
- Engineering & Computer Science (AREA)
- Wood Science & Technology (AREA)
- Botany (AREA)
- Environmental Sciences (AREA)
- Audible-Bandwidth Dynamoelectric Transducers Other Than Pickups (AREA)
- Details Of Audible-Bandwidth Transducers (AREA)
- Apparatuses For Generation Of Mechanical Vibrations (AREA)
Abstract
【課題】草花や木から音楽や声などの音響をより大きな音量で発生させることができる音響発生装置を提供する。
【解決手段】被音響発生装置10は、棒状の被音響発生部材2を挿入保持可能な保持穴12aを有する非磁性体により構成された被音響発生部材保持手段12及び保持穴12aの周方向に沿って被音響発生部材保持手段12の外周面に捲回された導線コイル13を有する振動部11と、振動部11を挿着することにより導線コイル13の外周面に対向配置される振動部挿着孔15cを有するマグネット15及び振動部挿着穴15cの軸方向両側からそれぞれマグネット15に取り付けられる一対のヨーク16、17を有する駆動部14とを備える。
【選択図】 図1
【解決手段】被音響発生装置10は、棒状の被音響発生部材2を挿入保持可能な保持穴12aを有する非磁性体により構成された被音響発生部材保持手段12及び保持穴12aの周方向に沿って被音響発生部材保持手段12の外周面に捲回された導線コイル13を有する振動部11と、振動部11を挿着することにより導線コイル13の外周面に対向配置される振動部挿着孔15cを有するマグネット15及び振動部挿着穴15cの軸方向両側からそれぞれマグネット15に取り付けられる一対のヨーク16、17を有する駆動部14とを備える。
【選択図】 図1
Description
本発明は、音響発生装置に関し、例えば草花や木から音楽や声などの音響を発生させる音響発生装置に関する。
花や音楽は、人の心を和ませる、いわゆる癒しの作用があると考えられている。したがって、花から音楽が聞こえれば、癒しの効果は相乗的に高められる。
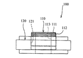
図13は、従来の音響発生装置100を説明する図である。
音響発生装置100は、草花や木などを挿入可能な挿入孔113が穿設された磁性コア111及びその磁性コア111の外周囲に沿って捲回された捲線112とを有するコイル部110と、そのコイル部110を挿着可能な挿着穴121を有するマグネット部120を備えている。
そして、磁性コア111の挿入孔113に草花等を挿入したコイル部110を、マグネット部120の挿着穴121内に装着し、捲線112の両端を音源機器の出力端子(図示せず)に接続して、その音源機器から出力される電気信号によりコイル部110を振動させて、草花等から音響を発生させることができる(例えば、特許文献1参照)。
しかしながら、上記従来の音響発生装置100の場合、磁性コア111は、その外周面に捲線112が捲回されて芯となるものであり、磁性体によって構成されている。このため、常にマグネット部120からの磁力を受けることとなり、マグネット部120の挿着穴121内におけるコイル部110の自由な振動が妨げられていた。したがって、捲線112への通電時にコイル部110を十分に振動させることができず、大音量の音響を発生させることは困難であった。
本発明は、上記課題に鑑みなされたものであり、その目的は、草花や木から音楽や声などの音響をより大きな音量で発生させることができる音響発生装置を提供することにある。
上記課題を解決する請求項1に記載の発明による音響発生装置は、草花や木などの棒状の被音響発生部材を挿入保持可能な保持穴を有する非磁性体により構成された被音響発生部材保持手段、及び保持穴の周方向に沿って被音響発生部材保持手段の外周面に捲回された導線コイルを有する振動部と、振動部を挿着することにより導線コイルの外周面に対向配置される振動部挿着孔を有するマグネット、及び振動部挿着穴の軸方向両側からそれぞれマグネットに取り付けられる一対のヨークを有する駆動部とを備え、被音響発生部材が被音響発生部材保持手段の保持穴に挿入保持された振動部を振動部挿着孔に挿着し、導線コイルの接続端子をテープデッキなどの音源機器の出力端子に接続し、出力端子から出力されて接続端子に入力される電気信号により導線コイルを振動させて被音響発生部材から音響を発生させるように構成したことを特徴とする。
請求項2に記載の発明は、請求項1に記載の音響発生装置において、被音響発生部材保持手段を薄肉の円筒部材により構成したことを特徴とする。
請求項3に記載の発明は、請求項1又は2に記載の音響発生装置において、マグネットを径方向に所定の厚さ幅を有するリング部材により構成し、ヨークをマグネットの外径よりも小さな外径を有する円盤部材により構成したことを特徴とする。
請求項4に記載の発明は、請求項1〜3のいずれかに記載の音響発生装置において、一対のヨークの間に導線コイルを介在させたことを特徴とする。
請求項5に記載の発明は、請求項1〜4のいずれかに記載の音響発生装置において、一対のヨークは、少なくとも一方が振動部挿着孔内に突出する突起部を有し、突起部の先端が導線コイルの端面との間に所定の間隙を有して対向する高さ位置に設定されていることを特徴とする。
請求項6に記載の発明は、請求項1〜5のいずれかに記載の音響発生装置において、マグネットは、花瓶などの容器の開口部に載置可能な形状を有し、マグネットと開口部との間に緩衝材が介在されることを特徴とする。
請求項7に記載の発明は、請求項1〜6のいずれかに記載の音響発生装置において、被音響発生部材保持手段は、上下方向に延在し、底部が水密的に閉鎖されていることを特徴とする。
請求項8に記載の発明による音響発生装置は、草花や木などの棒状の被音響発生部材に取り付け可能なアタッチメントと、アタッチメントに取り付けられてアタッチメントから突出する非磁性体からなる支柱及び支柱の外周面に捲回された導線コイルを有する振動部と、振動部を装着することにより導線コイルの外周面に対向配置される振動部挿着孔を有するマグネット、及び振動部挿着孔の軸方向両側からそれぞれマグネットに取り付けられる一対のヨークを有する駆動部と、を備え、アタッチメントを被音響発生部材に取り付け、導線コイルの接続端子をテープデッキなどの音源機器の出力端子に接続し、出力端子から出力されて接続端子に入力される電気信号により導線コイルを振動させて振動を支柱とアタッチメントを介して被音響発生部材に伝達し、被音響発生部材から音響を発生させるように構成したことを特徴とする。
請求項9に記載の発明は、請求項8に記載の音響発生装置において、支柱を薄肉の円筒部材により構成したことを特徴とする。
請求項1の発明によれば、音源機器からの電気信号に応じて導線コイルを保持穴の径方向に振動させることができる。そして、被音響発生部材保持手段を非磁性体により構成することで、マグネットの磁力に影響を受けることなく、導線コイルを自由に振動させることができる。したがって、導線コイルをより大きく振動させることができ、その振動を被音響発生部材保持手段を介して被音響発生部材に伝達することによって、被音響発生部材からより大きな音量の音響を直接に発生させることができる。
請求項2の発明によると、被音響発生部材保持手段を薄肉の円筒部材により構成したことで、導線コイルの径方向の振動を円筒部材の内径穴(保持穴)に保持されている被音響発生部材に効率的に伝達することができる。したがって、より大きな音量の音響を発生させることができる。
請求項3の発明によれば、マグネットを径方向に所定の厚さ幅を有するリング部材により構成し、ヨークをマグネットの外径よりも小さな外径を有する円盤状の平板部材により構成したことで、マグネットの磁力が振動部挿着孔内に集中するように磁力の通路を形成することができる。したがって、磁気ショートを防ぎ、より多くの磁力を導線コイルに作用させることができ、導線コイルをより強い力で径方向に振動させることができる。
請求項4の発明によれば、導線コイルを一対のヨークの間に介在させたので、マグネットの磁力を振動部挿着構内の導線コイルに集中するように磁力の通路を形成することができる。したがって、導線コイルをより強い力で振動させることができ、被音響発生部材から大音量の音響を発生させることができる。
請求項5の発明によれば、ヨークの突起部をコイルの端面に接近させて対向させることで、マグネットの磁力を振動部挿着孔内の導線コイルに更に集中させることができる。したがって、導線コイルをより強い力で振動させることができ、被音響発生部材から大音量の音響を発生させることができる。
請求項6の発明によると、棒状の被音響発生部材を花瓶などの容器に入れた状態で振動させることができる。また、緩衝材によってコイル部の振動が容器に伝達して容器から音響が発生するのを防止し、被音響発生部材のみから音響を発生させることができる。
請求項7の発明によると、被音響発生部材保持手段に水を貯留することができる。したがって、例えば被音響発生部材保持手段により保持している草花に水を与えることができ、花瓶として使用することもできる。
請求項8の発明によると、音源機器からの信号に応じて導線コイルを支柱の径方向に振動させることができる。そして、支柱を非磁性体により構成することで、マグネットの磁力に影響を受けることなく、導線コイルを自由に振動させることができる。したがって、導線コイルをより大きく振動させることができ、その振動を支柱とアタッチメントを介して被音響発生部材に伝達することによって、被音響発生部材からより大きな音量の音響を直接に発生させることができる。
また、アタッチメントにより被音響発生部材への取り付けを容易に行うことができる。特に、棒状の被音響発生部材の端部から挿着することが困難なものに対しても、その取付けを容易に行うことができる。
請求項9の発明によると、支柱を薄肉の円筒部材により構成することで、導線コイルの振動に応じて径方向に大きく振動させることができる。したがって、より大きな音量の音響を発生させることができる。
(第1実施の形態)
次に、第1実施の形態について図に基づいて説明する。図1は、第1実施の形態における音響発生装置10の構成を説明する図、図2は、音響発生装置10の分解図、図3は、音響発生装置10の使用状態を説明する図である。
次に、第1実施の形態について図に基づいて説明する。図1は、第1実施の形態における音響発生装置10の構成を説明する図、図2は、音響発生装置10の分解図、図3は、音響発生装置10の使用状態を説明する図である。
本実施の形態における音響発生装置10は、棒状の被音響発生部材の一例である花束2から音響を発生させるタイプのものである。音響発生装置10は、図3に示すように花瓶3の開口部に載せられており、テープデッキ1(音源機器)の出力端子に配線接続されている。
音響発生装置10は、図1及び図2に示すように、被音響発生部材保持手段12と導線コイル13により構成される振動部11、及びマグネット15と一対のヨーク16、17により構成される駆動部14を有している。
振動部11の被音響発生部材保持手段12は、例えば竹やアルミ、ベーク材などの非磁性体からなる薄肉の円筒部材によって構成されており、保持穴12aの内径は複数本の草花等を束ねた花束2を挿入可能な大きさに形成されている。
振動部11の導線コイル13は、銅線などの線材を被音響発生部材保持手段12の外周囲に所定回数だけ捲回されて形成されており、その始端と終端が一対の接続端子13aとして捲回部分より引き出されて外方に突出するように設けられている。
被音響発生部材保持手段12と導線コイル13は、外表面が図示していない合成樹脂製材料、例えばシリコンシーラント等のコーティング材によって被覆されて一体に構成されている。このコーティング材は、導線コイル13及び被音響発生部材保持手段12の振動がマグネット15及びヨーク16、17に伝達するのを抑制する緩衝材の役割を果たす。
一方、駆動部14のマグネット15は、径方向に所定の厚さ幅を有するリング形状を有しており、その中心には導線コイル13を挿着可能な振動部挿着孔15cが形成されている。振動部挿着孔15cは、導線コイル13との間に例えば1〜2mm程度の間隙を有して対向する大きさの内径を有している。マグネット15は、所定の磁力を有しており、上面15a側がN極で、下面15b側がS極となるように配置される。
駆動部14のヨーク16、17は、鉄などの磁性体からなり、マグネット15の上面15aと下面15bを覆う円盤状の平板部材により構成されている。マグネット15の上面に取り付けられるヨーク16は、その中心位置に導線コイル13を挿着可能な内径を有した開口穴16aが設けられている。そして、マグネット15の下面15bに取り付けられるヨーク17は、その中心位置に被音響発生部材保持手段12を挿入可能な内径を有した開口穴17aが設けられている。
このように、磁性体からなるヨーク16、17を用いてマグネット15を振動部挿着孔15cの軸方向両側から挟持することによって、マグネット15の上面15a側と下面15b側から磁力が拡散するのを防ぎ、磁力をマグネット15の振動部挿着孔15cに集中させるように構成している。
ヨーク16の開口穴16aは、ヨーク17の開口穴17aよりもコイル13の分だけ内径が大きく形成されており、マグネット15の磁力が導線コイル13に集中するように構成されている。
また、ヨーク16、17は、それぞれの外径がマグネット15の外径よりも小さく、マグネット15の外周部がヨーク16、17よりも径方向外方に突出する大きさに形成されている。これにより、磁気ショートを防ぎ、より多くの磁力を導線コイル13に作用させて、導線コイル13をより強い力で径方向に振動させることができる。
図1及び図2で符号18は、Oリングであり、被音響発生部材保持手段12に外嵌してヨーク17を上下から挟み込むように配置することにより、振動部11の振動を許容しつつ駆動部14に支持している。
上記構成を有する音響発生装置10を花瓶3の開口部に載せ、被音響発生部材保持手段12に花束2を装着し、導線コイル13の接続端子13aをテープデッキ1の出力端子(図示せず)に接続することによってセット状態とされる。
かかるセット状態で、テープデッキ1の出力端子から音楽等の電気信号を流すと、その電気信号は、接続端子13aに入力される。そして、導線コイル13に磁力を発生させる。したがって、マグネット15との磁力バランスにより電気信号に応じた振動が導線コイル13に発生し、その振動が花束2に伝達されて花束2から音楽等が流れる。
図3で符号19は、音響発生装置10と花瓶3との間に介在される緩衝材である。この緩衝材19は、音響発生装置10の振動が花瓶3に伝達して花瓶3から音響が発せられるのを防止するものであり、本実施の形態では、ゴムシートなどの振動吸収能力が高い合成樹脂製シートが採用されている。
第1実施の形態による音響発生装置10によれば、導線コイル13は、マグネット15の中央位置でマグネット15の径方向に移動して振動する。したがって、花束2をその長手方向に交差する水平方向に振動させることができ、花束2から大きな音量の音響を発生させることができる。
特に、導線コイル13が捲回される被音響発生部材保持手段12を非磁性体により構成したことで、マグネット15の磁力に影響を受けることなく、導線コイル13を自由に振動させることができる。よって、導線コイル13から被音響発生部材である花束2に大きな振動を伝達することができ、花束2から大きな音響を発生させることができる。また、被音響発生部材保持手段12を非磁性体としたことでインダクタンスを小さくすることができ、周波数特性の高音域における改善がなされ、高音をより大きく発生させることができる。
そして、被音響発生部材保持手段12を薄肉の円筒部材により構成することで、導線コイル10の振動により、被音響発生部材保持手段12を径方向に収縮する及び拡大する方向に振動させることができる。したがって、被音響発生部材保持手段12の振動を花束2に確実に伝達することができ、より大きな音量の音響を発生させることができる。
(第2実施の形態)
第2実施の形態における音響発生装置20は、第1実施の形態における音響発生装置10の変形例であり、同様に花瓶3の開口部に載せて花瓶3に活けてある花束2から音響を発生させるタイプのものである。
第2実施の形態における音響発生装置20は、第1実施の形態における音響発生装置10の変形例であり、同様に花瓶3の開口部に載せて花瓶3に活けてある花束2から音響を発生させるタイプのものである。
図4は、第2実施の形態における音響発生装置20の構成を説明する図、図5は、音響発生装置20の分解図である。尚、第1実施の形態と同様の構成要素には、同一の符号を付することでその詳細な説明を省略する。
この音響発生装置20で特徴的なことは、一対のヨーク26、27の間に導線コイル23を介在させたことである。
音響発生装置20は、図4及び図5に示すように、被音響発生部材保持手段12と導線コイル23により構成される振動部21、及びマグネット15と一対のヨーク26、27により構成される駆動部24を有している。
振動部21の導線コイル23は、導線などの線材を被音響発生部材保持手段12の外周囲に所定回数だけ捲回されて形成されており、その軸方向長さがマグネット15の軸方向長さよりも若干短い長さに設定されている。そして、導線コイル23の始端と終端が一対の接続端子23aとして捲回部分より引き出されて外方に突出するように設けられている。
被音響発生部材保持手段12と導線コイル23は、外表面が図示していない合成樹脂製材料、例えばシリコンシーラント等のコーティング材によって被覆されて一体に構成されている。このコーティング材は、導線コイル23及び品強発生部材保持手段12の振動がマグネット15及びヨーク26、27に伝達するのを抑制する緩衝材としての役割を果たす。
駆動部24のヨーク26、27は、鉄などの磁性体からなり、マグネット部15の上面15aと下面15bに接面して取り付けられる円盤状の平板部材によって構成されており、その中心位置には被音響発生部材保持手段22を挿着可能な内径を有した開口穴26a、27aが各々設けられている。ヨーク26、27の外径は、マグネット15の外径よりも小さく、マグネット15の外周部がヨーク26、27よりも径方向外方に突出する大きさに形成されており、磁気ショートを防ぎ、導線コイル23とマグネット15との間に発生する磁力をより大きくすることができるように構成している。
図4及び図5で符号28は、Oリングであり、被音響発生部材保持手段12の上方から被音響発生部材保持手段22に外嵌することにより、振動部11をその振動を許容しつつ駆動部14に支持している。
音響発生装置20の組み立ては、図5に示すように、まず、ヨーク27の上面にマグネット15を取り付けて、その上方から振動部21の被音響発生部材保持手段22を挿入し、導線コイル23を振動部挿着孔15c内に装着する。それから、被音響発生部材保持手段22の上方からヨーク26を挿着し、マグネット15の上面にヨーク26を取り付けることによって組み立てられる。
この組み立てにより、導線コイル23は、ヨーク26、27の間に介在され、振動部挿着孔15c内で下側の端面がヨーク27の上面との間に所定の間隙を有して対向しかつ上側の端面がヨーク26の下面との間に所定の間隙を有して対向する位置に配置される。
上記構成を有する音響発生装置20を図示していない花瓶の開口部に載せ、被音響発生部材保持手段22に花束2を装着し、導線コイル23の接続端子23aをテープデッキ1の出力端子(図示せず)に接続することによってセット状態とされる。
かかるセット状態でテープデッキの出力端子から音楽等の電気信号を出力すると、その電気信号は、接続端子23aに入力され、導線コイル23に磁力を発生させる。したがって、導線コイル23は電気信号に応じて振動し、その振動が花束2に伝達されて花束2から音楽が流れる。
第2実施の形態による音響発生装置20によれば、一対のヨーク26、27の間に導線コイル23を介在させたことにより、導線コイル23に作用する磁力を飛躍的に増大させることができる。したがって、導線コイル23を信号に応じて大きく振動させることができ、花束2からより大きな音量の音響を発生させることができる。
(第3実施の形態)
図6は、第3実施の形態における音響発生装置30の構成を説明する図、図7は、音響発生装置30の分解図、図8は、音響発生装置30の要部拡大図、図9は、音響発生装置30の使用状態を説明する図である。
図6は、第3実施の形態における音響発生装置30の構成を説明する図、図7は、音響発生装置30の分解図、図8は、音響発生装置30の要部拡大図、図9は、音響発生装置30の使用状態を説明する図である。
第2実施の形態における音響発生装置30は、被音響発生部材の一例である草花4を直接活けることができ、その活けた草花4から大きな音量の音響を直接に発生させるタイプのものである。音響発生装置30は、図6及び図7に示すように、被音響発生部材保持手段32と導線コイル33により構成される振動部31、及びマグネット35と一対のヨーク36、37により構成される駆動部34を有している。
振動部31の被音響発生部材保持手段32は、例えば竹やアルミ、真鍮、ベーク材などの非磁性体により構成されており、花束4を挿入可能な大きさの保持穴32aを有して軸方向に所定長さ延在する薄肉の円筒部材によって形成されている。そして、起立状態で所定量の水を貯留することができるように底部32bが水密的に閉鎖されている。
振動部31の導線コイル33は、銅線などの線材を被音響発生部材保持手段32の外周囲に所定回数だけ捲回して形成されており、その始端と終端が一対の接続端子33aとして捲回部分より引き出されて外方に突出するように設けられている。
被音響発生部材保持手段32と導線コイル33は、外表面が図示していない合成樹脂製材料、例えばシリコンシーラント等のコーティング材によって被覆されて一体に構成されている。このコーティング材は、導線コイル33及び被音響発生部材保持手段32の振動がマグネット35及びヨーク36、37に伝達するのを抑制する緩衝材としての役割を果たす。
一方、駆動部34のマグネット35は、所定の磁力を有しており、径方向に所定の厚さ幅を有するリング形状をなし、その中心には導線コイル33を挿着可能な振動部挿着孔35cが形成されている。振動部挿着孔35cは、導線コイル33との間に例えば1〜2mm程度の間隙を形成する大きさの内径を有している。本実施の形態では、マグネット35の上面35a側がN極で、下面35b側がS極に設定されている。
そして、駆動部34のヨーク36、37は、鉄などの磁性体からなり、ヨーク36は、マグネット35の上面35aに接面して取り付けられる円盤状の平板部材により構成されており、その中心位置には、被音響発生部材保持手段32を挿通可能な開口穴36aが開口形成されている。開口穴36aの内径は、図8に示すように、被音響発生部材保持手段32の外周面との間に所定の間隙を有して対向する大きさに設定されている。
ヨーク36の下面36cには、開口穴36aを軸方向に延長するように円筒状の突起部36bが突設されている。突起部36bは、開口穴36aと同一の内径を有し、マグネット35の振動部挿着孔35cに上方から嵌入可能な外径を有している。そして、その先端は、導線コイル33の軸方向端面との間に所定の間隙を有して対向する高さ位置に設定されている。
一方、ヨーク37は、マグネット35の下面35bに取り付けられる平板形状を有しており、その上面37aの中央位置には、円筒状の突起部37bが突設されている。突起部37bは、被音響発生部材保持手段32の下端部分に外嵌され所定の間隙を有して対向する内径と、マグネット35の振動部挿着孔35cに下側から嵌入可能な外径を有している。
このように磁性体からなるヨーク36、37を用いてマグネット35をその軸方向両側から挟持することによって、マグネット35の上面35a側と下面35b側から磁力が拡散するのを防ぎ、磁力をマグネット35の振動部挿着孔35cに集中させるように構成している。
また、ヨーク36、37は、それぞれの外径がマグネット35の外径よりも小さく、マグネット35の外周部がヨーク36、37よりも径方向外方に突出する大きさに形成されており、磁気のショートを防ぎ、導線コイル33とマグネット35との間に発生する磁力をより大きくすることができるように構成されている。
図6及び図7で符号38は、緩衝部材であり、ヨーク37の上面37aと被音響発生部材保持手段32の底部32bとの間に介在させることにより、振動部31の振動を許容しつつ被音響発生部材保持手段32を支持している。
上記構成を有する音響発生装置30をテーブルや棚の上に載せ、図9に示すように、被音響発生部材保持手段32に花束4を装着し、接続端子33aを図示していないテープデッキの出力端子に接続することによってセット状態とする。
そして、テープデッキの出力端子から音楽等の電気信号を流すと、その電気信号は、接続端子33aに入力され、導線コイル33に磁力を発生させる。したがって、電気信号に応じた振動が導線コイル33に発生し、その振動が被音響発生部材保持手段32から花束4に伝達されて、花束4から大きな音量の音楽等を流すことができる。
第2実施の形態による音響発生装置30によれば、導線コイル33は、マグネット35の径方向中央位置で径方向に移動して振動し、被音響発生部材保持手段32をその径方向に振動させることができる。したがって、花束4をその長手方向に交差する水平方向に振動させることができ、花束4から大きな音量の音楽を流すことができる。
特に、ヨーク36、37から導線コイル33に向かって突起部36b、37bを突設し、その先端部間に導線コイル33を介在させたことにより、ヨーク36とヨーク37との離間距離を短くし、その先端部間における磁力強度を距離の2乗に比例して増大させることができる。したがって、突起部36b、37bの間に介在されている導線コイル33に、より強力な磁力を作用させることができ、導線コイル33を大きく振動させて花束4からより大きな音量の音響を発生させることができる。
また、導線コイル33が捲回される被音響発生部材保持手段32を非磁性体により構成したことで、マグネット35の磁力に影響を受けることなく、導線コイル33を自由に振動可能な状態で支持することができる。よって、振動部31を大きく振動させることができ、花束4から従来よりも飛躍的に大きな音響を発生させることができる。また、被音響発生部材保持手段32を非磁性体としたことでインダクタンスを小さくすることができ、周波数特性の高音域における改善がなされ、高音をより大きく発生させることができる。
そして、被音響発生部材保持手段32を薄肉の円筒部材により構成することで、導線コイル33の振動により、被音響発生部材保持手段32を径方向に拡径及び収縮する振動させることができる。したがって、被音響発生部材保持手段32の振動を花束4に確実に伝達することができ、花束4からより大きな音量の音楽等を流すことができる。
(第4実施の形態)
図10は、第4実施の形態における音響発生装置40の構成を説明する図、図11は、音響発生装置40の分解図、図13は、音響発生装置40の使用状態を説明する図である。
図10は、第4実施の形態における音響発生装置40の構成を説明する図、図11は、音響発生装置40の分解図、図13は、音響発生装置40の使用状態を説明する図である。
本実施の形態における音響発生装置40は、図12に示すように、大地に植えられた樹木5の幹に取り付けるタイプのものである。音響発生装置40は、図10及び図11に示すように、アタッチメント41と、支柱43及び導線コイル44を備えた振動部42と、マグネット45及びヨーク46、47を備えた駆動部48によって構成されている。アタッチメント41は、金属片や合成樹脂などの硬質で振動を伝達しやすい材料によって構成されており、略平板形状を有し、その両端部には締結部材を取り付けるための挿通穴(図示せず)が開口形成されている。そして、アタッチメント41の略中央位置には、振動部42及び駆動部48をアタッチメント41に取り付けるための取付ボルト41aが垂直に突出するように設けられている。
振動部42の支柱43は、例えば竹、アルミ、真鍮、ベーク材などの非磁性体からなり、一定の内径を有して軸方向に延在する薄肉の円筒部材によって構成されている。支柱43の軸方向両端部は、一対の鏡板により閉塞されており、軸中心位置には、取付ボルト41aを挿通するための貫通孔43aが穿設されている。そして、その貫通孔43aに取付ボルト41aを挿通させて取付ナット41bで締め付けることによりアタッチメント41に一体となって振動可能に固定されている。
導線コイル44は、銅線などの線材を支柱43の外周囲に所定回数だけ捲回して形成されており、一対の接続端子(図示せず)が捲回部分より引き出されて導線コイル44の外方に突出するように設けられている。
支柱43と導線コイル44は、外表面が図示していない合成樹脂製材料、例えばシリコンシーラント等のコーティング材によって被覆されて一体に構成されている。このコーティング材は、導線コイル44及び支柱43の振動がマグネット45及びヨーク46、47に伝達するのを抑制する緩衝材としての役割を果たす。
駆動部48のマグネット45は、所定の磁力を有しており、径方向に所定厚さ幅を有するリング形状をなし、その中心には導線コイル44を挿着可能な振動部挿着孔45cが形成されている。振動部挿着孔45cは、導線コイル44の外周面44cとの間に例えば1〜2mm程度の間隙を形成する大きさの内径を有している。本実施の形態では、マグネット45の一方端面45a側がN極で、他方端面45b側がS極に設定されている。
駆動部48のヨーク46、47は、鉄などの磁性体によって構成されている。一方のヨーク46は、マグネット45の一方端面45aに接面して取り付けられる円盤状の平板部材によって構成されており、その中心には支柱43を挿入可能な開口穴46aが開口形成されている。そして、ヨーク46のマグネット45側の端面46aには、開口穴46aを軸方向に延長するように円筒状の突起部46bが突設されている。突起部46bは、開口穴46aと同一の内径を有して連続し、マグネット45の振動部挿着孔45cに上方から嵌入可能な外径を有している。そして、突起部46bの先端は、導線コイル44の一方端面44aとの間に所定の間隙を有して対向する高さ位置となるように形成されている。
他方のヨーク47は、マグネット45の他方端面45bに接面して取り付けられる円盤状の平板部材によって構成されており、マグネット45側の端面47aには、円筒状の突起部47bが形成されている。突起部47bは、支柱43の先端を挿入可能な内径と、マグネット45の振動部挿着孔45cに嵌入可能な外径を有している。そして、突起部47bの先端は、導線コイル44の他方端面44bとの間に所定の間隙を有して対向する高さ位置となるように設定されている。また、ヨーク47の中心位置には、取付ボルト41aを挿通するための貫通孔47cが設けられている。この貫通孔47cは、取付ボルト41aとの間に所定の間隙を有して離間する大きさの内径を有している。
また、各ヨーク46、47は、磁気ショートを防止すべく、それぞれの外径がマグネット45の外径よりも小さく、マグネット45の外周部がヨーク46、47よりも径方向外方に突出する大きさに形成されている。
上記の各構成部品を有する音響発生装置40の組み立ては、図11に示すように、マグネット45の一方端面45aにヨーク46を取り付けると共に、他方端面45b側から導線コイル44を有する支柱43を挿入し、その支柱43を取付ボルト41a及び取付ナット41bによりアタッチメント41に固定する。
そして、ヨーク47をマグネット45の他方端面45bに接面して取り付けると共に、ヨーク47の貫通孔47cに取付ボルト41aを挿通して取付ナット41cで締め付けることにより組み立てられる。
ヨーク47と支柱43との間及びヨーク47と取付ナット41cとの間には緩衝材49が介在されており、振動部42の振動が駆動部48に伝達されるのを抑制するために用いられている。
上記構成を有する音響発生装置40は、ロープなどの結合部材によりアタッチメント41を樹木5の幹などに取り付け、接続端子をテープデッキの出力端子に接続することによってセット状態とする。
そして、テープデッキの出力端子から音楽等の電気信号を流すと、その電気信号は、接続端子44aに入力され、導線コイル44に磁力を発生させる。したがって、電気信号に応じた振動が導線コイル44に発生する。導線コイル44の振動は、支柱43に伝達され、支柱43からアタッチメント41に伝達され、樹木5から音楽等が流れる。
音響発生装置40によれば、導線コイル44は、振動部挿着孔45c内で径方向に移動して振動し、支柱43をその径方向に振動させることができる。したがって、支柱43に大きな振動を発生させることができ、その振動をアタッチメント41から樹木5の幹に伝達し、樹木5から大きな音量の音響を発生させることができる。
特に、ヨーク46、47から導線コイル44に向かって突起部46b、47bを突設し、その先端部間に導線コイル44を介在させたことにより、ヨーク46とヨーク47との距離を短くすることができ、その先端部間の磁力強度をその距離の2乗に比例して増大させることができる。したがって、より強力な磁力を導線コイル44に作用させることができ、導線コイル44を大きく振動させることができる。これにより、樹木5からより大きな音量の音楽を流すことができる。
また、導線コイル44が捲回される支柱43を非磁性体により構成したことで、マグネット45の磁力に影響を受けることなく、導線コイル44を自由に振動させることができる。よって、振動部42を大きく振動させることができ、樹木5から従来よりも飛躍的に大きな音響を発生させることができる。
また、支柱43を非磁性体としたことでインダクタンスを小さくすることができ、周波数特性の高音域における改善がなされ、高音の出力を大きくすることができる。
そして、支柱43を薄肉の円筒部材により構成したことで、導線コイル44の振動により、支柱43を径方向に拡径及び収縮するように振動させることができる。したがって、支柱43の振動をアタッチメント41から樹木5に確実に伝達することができ、からより大きな音の音楽を流すことができる。
尚、本発明は、上述の実施の形態に限定されるものではなく、本発明の趣旨を逸脱しない範囲で種々の変更が可能である。例えば、上述の実施の形態では、被音響発生部材保持手段の例としてベーク材等を例に説明したが、非磁性体であって導線コイルの振動を効率よく伝達することができる材質のものであれば、他のものであっても良く、例えば合成樹脂製のパイプであっても良い。また、導線コイル13とマグネット15との間隙、或いは導線コイル23とヨーク26、27の間隙を1〜2mm程度として説明したが、これよりも狭く設定してもよい。
1 音源機器
2 花束
3 花瓶
4 花束
5 樹木
10、20、30 音響発生装置
11、21、31 振動部
12、22、32 被音響発生部材保持手段
13、23、33 導線コイル
14、24、34 駆動部
15、25、35 マグネット
16、17、26、27、36、37 ヨーク
38 緩衝材
40 音響発生装置
41 アタッチメント
42 振動部
43 支柱
44 導線コイル
45 マグネット
46、47 ヨーク
48 駆動部
49 緩衝材
2 花束
3 花瓶
4 花束
5 樹木
10、20、30 音響発生装置
11、21、31 振動部
12、22、32 被音響発生部材保持手段
13、23、33 導線コイル
14、24、34 駆動部
15、25、35 マグネット
16、17、26、27、36、37 ヨーク
38 緩衝材
40 音響発生装置
41 アタッチメント
42 振動部
43 支柱
44 導線コイル
45 マグネット
46、47 ヨーク
48 駆動部
49 緩衝材
Claims (9)
- 草花や木などの棒状の被音響発生部材を挿入保持可能な保持穴を有する非磁性体により構成された被音響発生部材保持手段、及び前記保持穴の周方向に沿って被音響発生部材保持手段の外周面に捲回された導線コイルを有する振動部と、
前記振動部を挿着することにより前記導線コイルの外周面に対向配置される振動部挿着孔を有するマグネット、及び前記振動部挿着穴の軸方向両側からそれぞれ前記マグネットに取り付けられる一対のヨークを有する駆動部と、を備え、
前記被音響発生部材が前記被音響発生部材保持手段の前記保持穴に挿入保持された前記振動部を前記振動部挿着孔に挿着し、前記導線コイルの接続端子をテープデッキなどの音源機器の出力端子に接続し、該出力端子から出力されて前記接続端子に入力される電気信号により前記導線コイルを振動させて前記被音響発生部材から音響を発生させるように構成したことを特徴とする音響発生装置。 - 前記被音響発生部材保持手段を薄肉の円筒部材により構成したことを特徴とする請求項1に記載の音響発生装置。
- 前記マグネットを径方向に所定の厚さ幅を有するリング部材により構成し、
前記ヨークを前記マグネットの外径よりも小さな外径を有する円盤状の平板部材により構成したことを特徴とする請求項1又は2に記載の音響発生装置。 - 前記一対のヨークの間に前記導線コイルを介在させたことを特徴とする請求項1〜3のいずれかに記載の音響発生装置。
- 前記一対のヨークは、少なくとも一方が前記振動部挿着孔内に突出する突起部を有し、該突起部の先端が前記導線コイルの端面との間に所定の間隙を有して対向する高さ位置に設定されていることを特徴とする請求項1〜4のいずれかに記載の音響発生装置。
- 前記マグネットは、花瓶などの容器の開口部に載置可能な形状を有し、
前記マグネットと前記開口部との間に緩衝材が介在されることを特徴とする請求項1〜5のいずれかに記載の音響発生装置。 - 前記被音響発生部材保持手段は、上下方向に延在し、底部が水密的に閉鎖されていることを特徴とする請求項1〜6のいずれかに記載の音響発生装置。
- 草花や木などの棒状の被音響発生部材に取り付け可能なアタッチメントと、
該アタッチメントに取り付けられて前記アタッチメントから突出する非磁性体からなる支柱及び該支柱の外周面に捲回された導線コイルを有する振動部と、
該振動部を装着することにより前記導線コイルの外周面に対向配置される振動部挿着孔を有するマグネット、及び前記振動部挿着孔の軸方向両側からそれぞれ前記マグネットに取り付けられる一対のヨークを有する駆動部と、を備え、
前記アタッチメントを前記被音響発生部材に取り付け、前記導線コイルの接続端子をテープデッキなどの音源機器の出力端子に接続し、該出力端子から出力されて前記接続端子に入力される電気信号により前記導線コイルを振動させて該振動を支柱と前記アタッチメントを介して前記被音響発生部材に伝達し、前記被音響発生部材から音響を発生させるように構成したことを特徴とする音響発生装置。 - 前記支柱を薄肉の円筒部材により構成したことを特徴とする請求項8に記載の音響発生装置。
Priority Applications (2)
| Application Number | Priority Date | Filing Date | Title |
|---|---|---|---|
| JP2004110831A JP2005295427A (ja) | 2004-04-05 | 2004-04-05 | 音響発生装置 |
| PCT/JP2005/006982 WO2005099299A1 (ja) | 2004-04-05 | 2005-04-04 | 音響発生装置 |
Applications Claiming Priority (1)
| Application Number | Priority Date | Filing Date | Title |
|---|---|---|---|
| JP2004110831A JP2005295427A (ja) | 2004-04-05 | 2004-04-05 | 音響発生装置 |
Publications (1)
| Publication Number | Publication Date |
|---|---|
| JP2005295427A true JP2005295427A (ja) | 2005-10-20 |
Family
ID=35125469
Family Applications (1)
| Application Number | Title | Priority Date | Filing Date |
|---|---|---|---|
| JP2004110831A Pending JP2005295427A (ja) | 2004-04-05 | 2004-04-05 | 音響発生装置 |
Country Status (2)
| Country | Link |
|---|---|
| JP (1) | JP2005295427A (ja) |
| WO (1) | WO2005099299A1 (ja) |
Cited By (1)
| Publication number | Priority date | Publication date | Assignee | Title |
|---|---|---|---|---|
| WO2006057427A1 (ja) * | 2004-11-26 | 2006-06-01 | Koga Takashi | 音響発生装置 |
Family Cites Families (4)
| Publication number | Priority date | Publication date | Assignee | Title |
|---|---|---|---|---|
| JPS63158084U (ja) * | 1987-04-03 | 1988-10-17 | ||
| JP3047602U (ja) * | 1997-09-30 | 1998-04-24 | キン−ルン リエン | 音声発生装置 |
| JP3353008B1 (ja) * | 2002-05-10 | 2002-12-03 | 敬司 古賀 | 音響発生装置 |
| JP3106593U (ja) * | 2004-07-14 | 2005-01-06 | 株式会社レッツ・コーポレーション | 音響出力装置 |
-
2004
- 2004-04-05 JP JP2004110831A patent/JP2005295427A/ja active Pending
-
2005
- 2005-04-04 WO PCT/JP2005/006982 patent/WO2005099299A1/ja not_active Ceased
Cited By (1)
| Publication number | Priority date | Publication date | Assignee | Title |
|---|---|---|---|---|
| WO2006057427A1 (ja) * | 2004-11-26 | 2006-06-01 | Koga Takashi | 音響発生装置 |
Also Published As
| Publication number | Publication date |
|---|---|
| WO2005099299A1 (ja) | 2005-10-20 |
Similar Documents
| Publication | Publication Date | Title |
|---|---|---|
| US6735322B1 (en) | Speaker | |
| FI20011412A7 (fi) | Värähtelykaiuttimen kaksoismagneettirakenne | |
| PL325284A1 (en) | Vibration transducer | |
| FI20010939A7 (fi) | Värähtelykaiutin | |
| US20210138508A1 (en) | Haptic Transducer Device and Insole for Receiving The Same | |
| KR20140013894A (ko) | 스피커 | |
| KR101485688B1 (ko) | 가동자석형 변환기 | |
| US20070160239A1 (en) | Bone conduction device and tympanum thereof | |
| JPH0356520B2 (ja) | ||
| JP2005295427A (ja) | 音響発生装置 | |
| JP3353008B1 (ja) | 音響発生装置 | |
| CN206585748U (zh) | 一种新型扬声器 | |
| JPS5936479B2 (ja) | 電磁型音響変換装置 | |
| JP4863614B2 (ja) | 音響発生装置 | |
| CN109348339B (zh) | 发声装置和耳机 | |
| KR20040069394A (ko) | 일체형 투웨이 스피커 | |
| KR100986562B1 (ko) | 자기 변형 구동기를 이용한 평판 진동형 스피커 | |
| JPH043700A (ja) | スピーカ及びスピーカの製造方法 | |
| KR20040079709A (ko) | 공간효율성 댐퍼를 구비하는 스피커 | |
| CN220965150U (zh) | 发声装置及电子设备 | |
| KR100507700B1 (ko) | 이중 자기 회로 구조를 가지는 스피커 | |
| KR20200025596A (ko) | 평면 패널 스피커 | |
| JP2008147732A (ja) | 骨伝導スピーカー | |
| KR200145349Y1 (ko) | 헤드폰의 일체형 바이브레이션 유니트 | |
| JP2002271894A (ja) | スピーカ |