JP2005295370A - 通信システム、移動無線端末、情報管理サーバ、および無線アクセスポイント装置。 - Google Patents

通信システム、移動無線端末、情報管理サーバ、および無線アクセスポイント装置。 Download PDF

Info

Publication number
JP2005295370A
JP2005295370A JP2004109887A JP2004109887A JP2005295370A JP 2005295370 A JP2005295370 A JP 2005295370A JP 2004109887 A JP2004109887 A JP 2004109887A JP 2004109887 A JP2004109887 A JP 2004109887A JP 2005295370 A JP2005295370 A JP 2005295370A
Authority
JP
Japan
Prior art keywords
access point
wireless access
wireless
information
point device
Prior art date
Legal status (The legal status is an assumption and is not a legal conclusion. Google has not performed a legal analysis and makes no representation as to the accuracy of the status listed.)
Granted
Application number
JP2004109887A
Other languages
English (en)
Other versions
JP4206954B2 (ja
Inventor
Jun Osai
潤 小佐井
Kazuoki Matsugatani
松ヶ谷  和沖
Current Assignee (The listed assignees may be inaccurate. Google has not performed a legal analysis and makes no representation or warranty as to the accuracy of the list.)
Denso Corp
Original Assignee
Denso Corp
Priority date (The priority date is an assumption and is not a legal conclusion. Google has not performed a legal analysis and makes no representation as to the accuracy of the date listed.)
Filing date
Publication date
Application filed by Denso Corp filed Critical Denso Corp
Priority to JP2004109887A priority Critical patent/JP4206954B2/ja
Publication of JP2005295370A publication Critical patent/JP2005295370A/ja
Application granted granted Critical
Publication of JP4206954B2 publication Critical patent/JP4206954B2/ja
Anticipated expiration legal-status Critical
Expired - Lifetime legal-status Critical Current

Links

Images

Landscapes

  • Small-Scale Networks (AREA)
  • Mobile Radio Communication Systems (AREA)

Abstract

【課題】 無線アクセスポイント装置との無線接続を介してネットワークに参加する移動無線端末が、自らの位置情報を送信するためにGPS受信機等の自位置特定装置を用いることなく、次々に無線アクセスポイント装置の認証情報を取得できるようにする。
【解決手段】 移動無線端末20は、通信可能範囲内14に入った無線アクセスポイント装置8から受信した情報管理サーバ5のアドレス宛に、無線アクセスポイント装置8の識別情報と認証情報の組を要求する。そして、情報管理サーバ5はその要求に基づいて、当該移動無線端末20に、自己の有する無線アクセスポイント装置8の識別情報と認証情報の組を送信する。そして当該移動無線端末20は、送信された識別情報と認証情報の組を受信し、この受信した識別情報に対応する認証情報を用いて当該無線アクセスポイント装置8と無線接続する。
【選択図】 図1

Description

本発明は、無線を用いた通信システムに関する。
従来、IEEE802.11の規格による無線LAN等、移動無線端末が無線アクセスポイント装置と無線接続することで、その無線アクセスポイント装置を介して通信ネットワークに参加する技術がある。
この技術においては、無線アクセスポイント装置に無線接続を試みた移動無線端末に対して無線接続を許すか拒否するかを判断するために、無線アクセスポイント装置と当該移動無線端末との間で認証を行う場合がある。この認証を成功させるためには、移動無線端末が当該無線アクセスポイント装置の認証情報を有していなければならない。
例えば上記した無線LANにおいては、移動無線端末は、無線接続しようとする対象の無線アクセスポイント装置に割り当てられた特定のWEPキー(IEEE802.11bにおいて規定される公開鍵暗号方式に用いられる秘密鍵)を用いた認証を行うことで初めてその無線接続を許される。
移動無線端末の場合、移動することで次々と異なる無線アクセスポイント装置と無線接続することが必要となる。したがって、移動に伴って次々に異なる無線アクセスポイント装置の認証情報を取得しなければならない。
このように、無線接続しようとする無線アクセスポイント装置の認証情報を移動無線端末が次々に取得するための技術としては、特許文献1に記載のような技術がある。この技術では、移動無線端末がGPS(Global Positioning System)受信機を用いることで自位置を特定し、その位置情報をサービスエージェントに送信する。サービスエージェントは、複数の無線アクセスポイント装置の認証情報等の設定情報および位置情報を有しており、移動無線端末から受けた位置情報に基づいて、移動無線端末が利用可能な無線アクセスポイント装置を特定する。そしてサービスエージェントは、その特定した無線アクセスポイント装置の設定情報を移動無線端末に送信するようになっている。
特開2002−164919号公報
しかし、特許文献1に記載の技術では、移動無線端末がサービスエージェントに自らの位置情報を送信しなければならないので、そのためにGPS受信機を有していなければならなかった。
本発明は上記点に鑑み、無線アクセスポイント装置との無線接続を介してネットワークに参加する移動無線端末が、自らの位置情報を送信するためにGPS受信機等の自位置特定装置を用いることなく、次々に無線LAN無線アクセスポイント装置の認証情報を取得できるようにすることを目的とする。
上記目的を達成するための請求項1に記載の発明は、複数の無線アクセスポイント装置と、前記複数の無線アクセスポイント装置のそれぞれの識別情報と認証情報の組を有する情報管理サーバと、移動無線端末と、を備え、前記複数の無線アクセスポイント装置のそれぞれは、自己の識別情報および前記情報管理サーバのアドレスを、自己の通信可能範囲内の移動無線端末に送信し、前記情報管理サーバは、前記移動無線端末からの要求に基づいて、当該移動無線端末に、自己の有する無線アクセスポイント装置の識別情報と認証情報の組を送信し、前記移動無線端末は、前記複数の無線アクセスポイント装置の少なくとも1つから受信した前記情報管理サーバのアドレス宛に、無線アクセスポイント装置の識別情報と認証情報の組を要求する要求手段と、前記要求手段の要求に基づいて前記情報管理サーバから送信された無線アクセスポイント装置の識別情報と認証情報の組を受信する受信手段と、前記受信手段が受信した識別情報を送信する無線アクセスポイント装置の通信可能範囲内に入っているとき、当該識別情報に対応する認証情報を用いて当該無線アクセスポイント装置と無線接続する無線接続手段と、を有することを特徴とする通信システムである。
通信システムがこのようになっているので、移動無線端末は、通信可能範囲内に入った無線アクセスポイント装置から受信した情報管理サーバのアドレス宛に、無線アクセスポイント装置の識別情報と認証情報の組を要求する。そして、情報管理サーバはその要求に基づいて、当該移動無線端末に、自己の有する無線アクセスポイント装置の識別情報と認証情報の組を送信する。そして当該移動無線端末は、送信された識別情報と認証情報の組を受信し、この受信した識別情報を送信する無線アクセスポイント装置の通信可能範囲内に入っているとき、当該識別情報に対応する認証情報を用いて当該無線アクセスポイント装置と無線接続する。
このように、移動無線端末は、情報管理サーバから無線アクセスポイント装置の識別情報と認証情報との組を受信し、無線アクセスポイント装置の通信可能範囲内に入っていることで受信する識別情報に基づいて、その無線アクセスポイント装置に合った適切な認証情報を用いて無線接続することができる。したがって、無線アクセスポイント装置との無線接続を介してネットワークに参加する移動無線端末が、自らの位置情報を送信するためにGPS受信機等の自位置特定装置を用いることなく、次々に無線アクセスポイント装置の認証情報を取得できるようになる。
なお、「無線アクセスポイント装置の認証情報」とは、「その無線アクセスポイント装置が無線接続を受け付けるために必要な認証情報」をいう。
また、請求項2に記載の発明は、請求項1に記載の通信システムにおいて、前記移動無線端末が有する要求手段は、自己がその無線通信可能範囲内に入った前記無線アクセスポイント装置から受信した前記情報管理サーバのアドレスおよび当該無線アクセスポイント装置の識別情報に基づいて、当該アドレス宛に、当該識別情報を含むデータを送信することで、当該無線アクセスポイント装置の識別情報と認証情報の組を要求し、前記情報管理サーバは、前記移動無線端末からの要求に基づいて、当該要求に係るデータに含まれる識別情報と、その識別情報に対応する認証情報の組を、当該移動無線端末に送信することを特徴とする。
また、請求項3に記載の発明は、複数の無線アクセスポイント装置と、前記複数の無線アクセスポイント装置のそれぞれの識別情報と認証情報の組を有する情報管理サーバと、移動無線端末と、を備え、前記複数の無線アクセスポイント装置のそれぞれは、自己の識別情報および前記情報管理サーバのアドレスを、自己の通信可能範囲内の移動無線端末に送信し、前記情報管理サーバは、当該要求に係るデータに含まれる識別情報に対応する認証情報を、当該移動無線端末に送信し、前記移動無線端末は、自己がその通信可能範囲内に入った前記無線アクセスポイント装置から受信した前記情報管理サーバのアドレスおよび当該無線アクセスポイント装置の識別情報に基づいて、当該アドレス宛に、当該識別情報を含むデータを送信することで、当該無線アクセスポイント装置の認証情報を要求する要求手段と、前記要求手段の要求に基づいて前記情報管理サーバから送信された当該無線アクセスポイント装置の認証情報を受信する受信手段と、当該認証情報を用いて当該無線アクセスポイント装置と無線接続する無線接続手段と、を有することを特徴とする通信システムである。
通信システムがこのようになっているので、移動無線端末は、通信可能範囲内に入った無線アクセスポイント装置から受信した情報管理サーバのアドレス宛に、受信した識別情報を含むデータを送信することで、当該無線アクセスポイント装置の識別情報と認証情報の組を要求する。そして、情報管理サーバはその要求に基づいて、当該移動無線端末に、要求された当該無線アクセスポイント装置の認証情報の組を送信する。そして当該移動無線端末は、送信された認証情報を受信し、当該無線アクセスポイント装置の通信可能範囲内に入っているとき、受信した認証情報を用いて当該無線アクセスポイント装置と無線接続する。
このように、移動無線端末は、情報管理サーバから通信可能範囲内に入っている無線アクセスポイント装置の認証情報を受信し、その認証情報を用いて当該無線アクセスポイント装置に無線接続することができる。したがって、無線アクセスポイント装置との無線接続を介してネットワークに参加する移動無線端末が、自らの位置情報を送信するためにGPS受信機等の自位置特定装置を用いることなく、次々に無線アクセスポイント装置の認証情報を取得できるようになる。
また、請求項4に記載の発明は、請求項1ないし3のいずれか1つに記載の通信システムにおいて、前記要求手段は、無線アクセスポイント装置との無線接続のための無線通信方法よりも無線接続可能性の高い無線通信方法を用いた無線通信により、前記情報管理サーバに要求することを特徴とする。
また、請求項5に記載の発明は、請求項1ないし4に記載の通信システムにおいて、前記情報管理サーバを複数有し、この複数の情報管理サーバのそれぞれが有する識別情報と認証情報の組は、全て同一の無線接続サービス提供業者が当該サービス提供のために設ける無線アクセスポイント装置についてのものであることを特徴とする。
このようにすることで、各無線接続サービス提供業者毎に情報管理サーバを設けることができる。
また、請求項6に記載の発明は、複数の無線アクセスポイント装置と、前記複数の無線アクセスポイント装置のそれぞれの識別情報と認証情報の組を有する情報管理サーバと、移動無線端末と、を備え、前記複数の無線アクセスポイント装置のそれぞれは、自己の識別情報を、自己の通信可能範囲内の移動無線端末に送信し、前記情報管理サーバは、当該移動無線端末に、自己の有する無線アクセスポイント装置の識別情報と認証情報の組を送信し、前記移動無線端末は、前記情報管理サーバから送信された無線アクセスポイント装置の識別情報と認証情報の組を受信する受信手段と、前記受信手段が受信した識別情報を送信する無線アクセスポイント装置の通信可能範囲内に入っているとき、当該識別情報に対応する認証情報を用いて当該無線アクセスポイント装置と無線接続する無線接続手段と、を有することを特徴とする通信システムである。
通信システムがこのようになっているので、移動無線端末は、情報管理サーバから、無線アクセスポイント装置の識別情報と認証情報の組を受信する。そして当該移動無線端末は、この受信した識別情報を送信する無線アクセスポイント装置の通信可能範囲内に入っているとき、当該識別情報に対応する認証情報を用いて当該無線アクセスポイント装置と無線接続する。
このように、移動無線端末は、情報管理サーバから無線アクセスポイント装置の識別情報と認証情報との組を受信し、無線アクセスポイント装置の通信可能範囲内に入っていることで受信する識別情報に基づいて、その無線アクセスポイント装置に合った適切な認証情報を用いて無線接続することができる。したがって、無線アクセスポイント装置との無線接続を介してネットワークに参加する移動無線端末が、自らの位置情報を送信するためにGPS受信機等の自位置特定装置を用いることなく、次々に無線アクセスポイント装置の認証情報を取得できるようになる。
また、請求項7に記載の発明は、請求項1ないし6のいずれか1つに記載の情報管理サーバである。
また、請求項8に記載の発明は、請求項1ないし6のいずれか1つに記載の移動無線端末である。
また、請求項9に記載の発明は、において、請求項1ないし6のいずれか1つに記載の無線アクセスポイント装置である。
(第1実施形態)
以下、本発明の第1実施形態について説明する。図1に、本発明の第1実施形態に係る通信システム100の構成を示す。
通信システム100においては、広域データ通信ネットワークであるインターネット1に、ISP(インターネットサービスプロバイダ)内ネットワーク2〜4が接続されている。ISPとは、移動無線端末20等のデータ通信端末をインターネットに接続させて参加させるサービスを提供する事業者であり、本実施形態においては、ISPは、無線LANによって無線アクセスポイント装置7〜12に無線接続する移動無線端末20をインターネット1に参加させるサービスを提供する無線接続サービス提供業者である。
ISP内ネットワークとは、このISPが当該サービスのために有する通信ネットワークであり、このISP内ネットワークには、DHCPサーバ等、移動無線端末20がインターネット1に接続するために必要な装置が接続されている。
ISP内ネットワーク2、3および4は、それぞれ異なる無線接続サービス提供業者の有する通信ネットワークである。ISP内ネットワーク2〜4には、それぞれ情報管理サーバ5、6が1つ接続されている。
また各ISP内ネットワーク2〜4には、図1に示すように、複数の無線LANの無線アクセスポイント装置7〜12が接続されている。各無線アクセスポイント装置7〜12は、それぞれ無線LANサービスエリア13〜18を形成する。
移動無線端末20は、車両等に搭載されることで移動し、無線LANによって無線アクセスポイント装置7〜12のいずれかに無線接続することで、インターネット1に参加することができる。
また、携帯電話サービスエリア19は、携帯電話の通信可能範囲内である。移動無線端末20は、携帯電話の通信によってもインターネット1に参加できるようになっている。
以下、無線アクセスポイント装置7〜12、情報管理サーバ5、6、およびISP内ネットワーク2の作動について説明する。
無線アクセスポイント装置7〜12のそれぞれは、通常の構成のコンピュータが、周知の無線LANインターフェースカード等の無線LANによる無線通信用装置を有し、さらに、ISP内ネットワーク3とインターネットのプロトコルで通信を行うための周知のネットワークインターフェースを有したものである。なお、無線LANサービスエリア13は、この無線通信用装置と移動無線端末20とが通信可能な範囲を示している。
これら無線アクセスポイント装置7〜12のそれぞれは、コンピュータがROM、HDD(ハードディスクドライブ)等に記憶したプログラムを実行することで、これら無線通信用装置およびネットワークインターフェースを用いた下記の動作を行う。
すなわち、無線アクセスポイント装置7〜12のぞれぞれは、それぞれの無線LANサービスエリアに入った移動無線端末から無線接続の要求を受けると、認証を行い、認証に成功した移動無線端末をインターネット1に参加させるための設定(IPアドレスの付与等)を行う。なお、無線アクセスポイント装置はIPアドレスの付与を行うDHCPサーバを兼ねていてもよいし、ISP内ネットワーク2に接続する他の機器がDHCPサーバの機能を有していてもよい。
ここで、認証とは、WEP(Wired Equivalent Privacy)キー等、各無線アクセスポイント装置によって異なる認証用の秘密鍵を移動無線端末が有しているかを判定するための周知の無線LANの公開鍵暗号方式による手続きをいう。
また、本実施形態の無線アクセスポイント装置7〜12のそれぞれは、同一のISP内ネットワークに接続された情報管理サーバのアドレス情報(例えばIPアドレス)をあらかじめ記憶しており、その情報を自己のID(識別情報)と共に定期的にブロードキャストしている。図2に、情報管理サーバ5、6のそれぞれがブロードキャストする情報の構成を示す。このブロードキャストされる情報は、暗号化されていない情報であり、各無線アクセスポイント装置の無線LANサービスエリアにいるどの移動端末でも受信および解読が可能な情報である。IDとしては、例えば無線アクセスポイント装置7の無線通信用装置に付与されたMAC(Media Access Control)アドレスを用いればよい。
次に、情報管理サーバの構成、作動について説明する。図3に、情報管理サーバの構成を示す。情報管理サーバは、通信部61、認証部62、設定情報払い出し部63、設定情報DB(データベース)64、および認証情報DB(データベース)65を有している。
通信部61は、ISP内ネットワークを介して他の装置とインターネットのプロトコルで通信するための周知のネットワークインターフェース装置である。
認証部62は、後述する無線アクセスポイント装置の設定情報の要求をISP内ネットワークを介して受けたときに、この要求元の装置の認証(パスワード認証等)を行うための装置である。認証部62は、この認証の際、HDD等の記憶媒体から成り、認証に必要な情報(例えばパスワード)を有する認証情報DB65から認証情報を読み出す。
設定情報DB64は、無線アクセスポイント装置毎の設定情報を有している。図4に、設定情報の構成を示す。無線アクセスポイント装置の設定情報は、無線アクセスポイント装置毎に、当該無線アクセスポイント装置のID、ESSID(Extended Service Set IDentifier)、WEPキー、チャンネルを有している。ESSIDとは、IEEE802.11に既定される、ネットワークの識別子の1つである。また、チャンネルとは、その無線アクセスポイント装置が無線LANの無線接続にどの周波数帯を用いているかの情報である。
なお、設定情報DB64が有する設定情報は、当該情報管理サーバが属するISP内ネットワークを保有する無線接続サービス事業者が有する無線アクセスポイント装置についての設定情報に限られる。例えば、情報管理サーバ5の設定情報DB64は、無線アクセスポイント装置7、無線アクセスポイント装置8、無線アクセスポイント装置9の設定情報を有しているが、無線アクセスポイント装置10〜12の設定情報は有していない。
設定情報払い出し部63は、認証部62が認証に成功したとき、設定情報DB64から、受けた要求のデータに含まれる無線アクセスポイント装置のIDに対応する設定情報、すなわち当該IDを有する無線アクセスポイント装置についての設定情報、を設定情報DB64から読み出し、通信部61を用いて当該要求元宛に、読み出した設定情報を送信する。図5に、送信する設定情報の構成を示す。
なお、認証部62、設定情報払い出し部63は、それぞれそれらの機能を実現するプログラムを実行するマイコン等で構成されていてもよいし、単一のマイコンが認証部62、設定情報払い出し部63の両方の機能を実現するプログラムを実行するようになっていてもよい。
図6に、このような情報管理サーバの作動の手順のフローチャートを示す。情報管理サーバにおいて、通信部61が移動無線端末20から特定の無線アクセスポイント装置の設定情報の要求を受けると(ステップ110)、認証部62が当該移動無線端末20の認証を行う(ステップ120)。認証に失敗すると、認証部62は移動無線端末20に接続拒否通知を行う(ステップ140)。認証に成功すると、認証部62からの通知等によってこれを検知した設定情報払い出し部63は、要求のデータに含まれるIDに対応する設定情報(IDおよびWEPキーを含む)、すなわち要求に係る無線アクセスポイント装置(図中ではAPと記す)の設定情報を設定情報DB64から検索(ステップ130)する。そして通信部61は、その検索された設定情報を要求元の移動無線端末20に送信する。
次に、移動無線端末20の構成および作動について説明する。図7に移動無線端末20のハードウェア構成を示す。移動無線端末20は、A無線通信機51、B無線通信機52、通信制御部53、アプリケーション部54を有している。
A無線通信機51は、周知の無線LANカード等の、無線アクセスポイント装置7〜12に接続するための無線通信装置である。B無線通信機52は、携帯電話サービスエリア19において携帯電話の基地局と無線接続し、その無線接続を介してデータ通信を行うための周知の無線通信装置である。
通信制御部53は、後述する様に、無線アクセスポイント装置に無線接続してインターネット1に参加するための作動を行う。
アプリケーション部54は、通信制御部53によって移動無線端末20がインターネット1に参加した後、インターネット1への接続を用いてメール送受信、Webデータ閲覧等のための作動を行う。
なお、通信制御部53、アプリケーション部54は、それぞれそれらの機能を実現するプログラムを実行するマイコン等で構成されていてもよいし、単一のマイコンが通信制御部53、アプリケーション部54の両方の機能を実現するプログラムを実行するようになっていてもよい。
図8に、移動無線端末20が無線アクセスポイント装置7〜12のいずれかと無線接続するために、当該無線アクセスポイント装置、情報管理サーバ等と行う通信のやりとりを示すシーケンス図である。この図に基づいて移動無線端末20の通信制御部53の作動を説明する。
無線アクセスポイント装置は上記したように定期的に対応情報管理サーバ(自己の設定情報を有する情報管理サーバ)のIPアドレスおよび自己のIDをブロードキャストしている。
通信制御部53は、このブロードキャストを受信するまでは、このブロードキャストをA無線通信機51が受信することを待つサーチモードにある(ステップ902)。
移動無線端末20が無線LANサービスエリア13〜無線LANサービスエリア17のいずれか、すなわち無線アクセスポイント装置7〜12のいずれかの無線通信可能範囲内に入ると(ステップ904)、A無線通信機51はこのブロードキャストを受信し(ステップ906)、当該無線アクセスポイント装置から受信したIPアドレスの情報管理サーバ宛に、当該無線アクセスポイント装置から受信したIDを含むデータを、この当該無線アクセスポイント装置の設定の要求として送信する(ステップ908)。なお、この際、併せて情報管理サーバにおける認証情報(パスワード等)もこの要求のデータに含める。
ただし、この情報管理サーバ5との通信は、A無線通信機51を用いずに、B無線通信機52を用いた電話回線で実現する(図1の経路21に相当する)。なおB無線通信機52で用いる通信方法としては、無線アクセスポイント装置との無線接続よりも接続可能性が高い方法であればよい。電話回線は、通信可能領域が広いので、無線LANよりも接続可能性が高い。このようにすることで、無線アクセスポイント装置と接続したいときには、高い確率で情報管理サーバ5と必ず接続できるようになる。
このデータを受けた情報管理サーバは、認証に成功すれば、当該要求に係る設定情報を送信する(図6のステップ130、150参照)。通信制御部53は、B無線通信機52を介してこの無線アクセスポイント装置の設定情報を受信する(ステップ910)。
そして通信制御部53は、受信した設定情報に含まれるESSID、チャンネル、WEPキーを用いて、当該無線アクセスポイント装置への無線接続を行う。具体的には、ESSID、チャンネルに基づいてA無線通信機51を設定および制御することで当該無線アクセスポイント装置にDHCPリクエストを含む接続要求を送信し(ステップ912)、この際にWEPキーを用いた認証を行い、その認証の成功に基づいて無線アクセスポイント装置から受けたDHCPレスポンスを含む接続許可を受信し(ステップ914)、その受信した情報に基づいてインターネット1に参加するための設定(IPアドレス設定等)を行う(ステップ916)。
そして設定が完了して(ステップ918)、A無線通信機51、無線アクセスポイント装置を介したインターネット1への参加が実現した以後は、アプリケーション部54からのデータの送受信要求等に基づいて、A無線通信機51を用いてインターネット1に対してデータの送受信を行う。
その後移動無線端末20が今まで接続していた無線LANサービスエリアから外に出ると(ステップ920)、通信制御部53はA無線通信機51がデータ受信を行えなくなったことを検知し、それに基づいて上記したサーチモードに戻る(ステップ922)。
そしてその後、また移動無線端末20が別の無線LANサービスエリアに入ると、上記と同様の作動を通信制御部53は繰り返す。なお、無線LANサービスエリアを移りながらも通信相手とのコネクションを維持するには、MobileIP等の技術を用いればよい。
このように、移動無線端末は、自己がその通信可能範囲内に入った無線アクセスポイント装置から受信した情報管理サーバのアドレスおよび無線アクセスポイント装置のIDに基づいて、当該アドレス宛に、当該IDを含むデータを送信することで、当該無線アクセスポイント装置の認証情報を要求し、その要求に基づいて情報管理サーバから送信された当該無線アクセスポイント装置の設定情報を受信し、当該設定情報を用いて当該無線アクセスポイント装置と無線接続する。
このように、移動無線端末20は、情報管理サーバから通信可能範囲内に入っている無線アクセスポイント装置の設定情報を受信し、その設定情報を用いて当該無線アクセスポイント装置に無線接続することができる。したがって、無線アクセスポイント装置との無線接続を介してインターネット1等の広域ネットワークに参加する移動無線端末が、自らの位置情報を送信するためにGPS受信機等の自位置特定装置を用いることなく、次々に無線アクセスポイント装置の認証情報を取得できるようになる。
なお、上記実施形態では、無線接続時に移動無線端末20に付与されるIPアドレスは、DHCPサーバによって割り当てられるが、このIPアドレスは、情報管理サーバから設定情報と共に移動無線端末20に送信されるようになっていてもよい。
(第2実施形態)
次に、本発明の第2実施形態について説明する。本実施形態では、第1実施形態において、それぞれ異なるISP内ネットワークに接続されている複数の無線LANサービスエリアが重なっており、移動無線端末20がその重なったエリアに進入した場合の作動について説明する。
図9に、このような場合の一例を示す。図9においては、移動無線端末20は、ISP内ネットワーク2に属する無線アクセスポイント装置7の無線LANサービスエリア13、ISP内ネットワーク3に属する無線アクセスポイント装置10の無線LANサービスエリア16、ISP内ネットワーク23に属する無線アクセスポイント装置24の無線LANサービスエリア25、の3つが重なる領域に進入している。
このような場合、移動無線端末20は、これら複数の無線アクセスポイント装置のいずれに対しても無線接続が可能であり、無線アクセスポイント装置7、無線アクセスポイント装置10、無線アクセスポイント装置24のそれぞれから異なる内容のIDとIPアドレスの組のブロードキャストを受信する。このような場合、移動無線端末20の通信制御部53は、は、下記(1)〜(4)のいずれか1つまたは複数の基準に基づいて、ブロードキャストを受けた無線アクセスポイント装置のうちのいずれを介してインターネット1に参加するかを選択する。
(1)移動無線端末20における受信電力が最も強い無線アクセスポイント装置
(2)接続に料金のかからない(低料金の)無線アクセスポイント装置
(3)インターネット1との通信速度が速い無線アクセスポイント装置
(4)現在無線接続している移動無線端末の数(同時接続数)が少ない無線アクセスポイント装置
本実施形態における無線接続のためのデータのやりとりを示すシーケンス図を図10に示し、この図に従って本実施形態の通信システム100の作動を説明する。なお、この作動のうち、第1実施形態と同等の部分についての記載は省略または簡略化する。
まず、無線アクセスポイント装置7(図中ではAP1と記す)、無線アクセスポイント装置10(図中ではAP2と記す)、無線アクセスポイント装置24(図中ではAP3と記す)のブロードキャストを受信できる位置に入ると(ステップ924)、通信制御部53は、受けたブロードキャストのそれぞれに含まれる情報管理サーバのアドレスの全てに対して、当該無線アクセスポイント装置の設定情報を要求する(ステップ926、928、930)。
そして、それぞれの情報管理サーバから設定情報を受信すると(ステップ932、934、936)、通信制御部53は、この受信した情報に基づいて、上記した基準で無線アクセスポイント装置を1つ選択する。このために、設定情報を送信する情報管理サーバ5は、当該無線アクセスポイント装置の接続料金、通信速度、同時無線接続数の情報を、設定情報と共に移動無線端末20に送信する。
なお、上記(1)の基準に示した受信電力等の、無線アクセスポイント装置とのやりとりだけで特定できる量に基づいて選択する場合には、ブロードキャストを受けた無線アクセスポイント装置に係る全ての情報管理サーバへの無線接続を行う前に、無線接続対象を選択するようになっていてもよい。
また、図11に示すように、無線アクセスポイント装置のブロードキャストのデータに、サーバのIPアドレス、無線アクセスポイント装置のIDのみならず、ISPの名称または識別情報を含めるようになっていてもよい。また、無線アクセスポイント装置は、当該ブロードキャストに、通信速度、同時接続数を含めるようになっていてもよい。このような場合は、上記(3)(4)の基準に基づいて移動無線端末20が選択を行う場合も、ブロードキャストを受けた全ての情報管理サーバ5に設定情報の要求をする必要はない。
また、各無線アクセスポイント装置は、自己の現在の同時接続数を記憶し、その同時接続数が所定の値を超えた場合に、ID、IPアドレス等のブロードキャストを停止するようになっていてもよい。
また、各サーバは、設定情報を有する無線アクセスポイント装置の現在の同時接続数の情報を当該無線アクセスポイント装置から定期的に受信するようになっており、その同時接続数が所定の値を超えた場合に、移動無線端末20に対してその同時接続数が所定の値を超えた無線アクセスポイント装置の設定情報を送信することを拒否するようになっていてもよい。
(第3実施形態)
次に、本発明の第3実施形態について説明する。図12に、本実施形態の通信システム100の構成を示す。本実施形態においては、移動無線端末20は、同一のISPの複数の無線アクセスポイント装置7〜9間をハンドオーバーする。そして移動無線端末20は、無線接続する無線アクセスポイント装置の無線LANサービスエリアに入る前に、その無線アクセスポイント装置の設定情報を情報管理サーバ5から取得する。
本実施形態の無線アクセスポイント装置7〜9の構成および作動は、第1実施形態の無線アクセスポイント装置と同等である。
本実施形態の情報管理サーバ5のハードウェア構成は第1実施形態と同等である。また、本実施形態の情報管理サーバ5の設定情報払い出し部63は、移動無線端末20から、無線アクセスポイント装置IDの情報を含むデータとして、周囲の無線アクセスポイント装置の設定情報の要求を受け、認証部62が認証に成功すると、受信したIDの無線アクセスポイント装置に隣接している無線アクセスポイント装置の設定情報を要求元の移動無線端末20に送信する。
なお、どの無線アクセスポイント装置と無線アクセスポイント装置とが隣接しているかの情報は、あらかじめ設定情報DB64に記憶されている。
図14に、本実施形態の情報管理サーバが送信する管理情報の一例を示す。図14に示す例では、AP2に隣接するAP1、AP3の設定情報が送信される。
また、情報管理サーバは、上記した周囲の無線アクセスポイント装置の設定情報の要求に基づいて、有している無線アクセスポイント装置の設定情報の全てを移動無線端末20に送信してもよいし、有している無線アクセスポイント装置の設定情報の一部を移動無線端末20に送信してもよい。
本実施形態の移動無線端末20のハードウェア構成は第1実施形態と同等である。本実施形態の移動無線端末20の通信制御部53の作動の流れを図13にフローチャートとして示す。
移動無線端末20の通信制御部53は、自己がその通信可能範囲内に入った無線アクセスポイント装置から受信した情報管理サーバのIPアドレスおよび無線アクセスポイント装置のIDに基づいて、当該アドレス宛に、当該IDを含むデータを送信することで、当該無線アクセスポイント装置の周囲の無線アクセスポイント装置の認証情報を要求する(ステップ410)。
そして、その要求に基づいて情報管理サーバから送信された無線アクセスポイント装置の設定情報を受信して、記憶媒体に記憶する(ステップ420)。
そして、移動無線端末20が、当該通信可能範囲内(図中ではAP2のエリアと記す)から出て他の無線LANサービスエリアに入る(ステップ430)と、当該無線アクセスポイント装置(図中ではAP3と記載)からのブロードキャストを受信し(ステップ440)、そのブロードキャストに含まれるIDと同じIDを有する情報管理サーバの設定情報を上記記憶媒体(図中ではAP情報記憶部と記す)から読み出し、この読み出した設定情報に基づいて、当該無線アクセスポイント装置を特定し、当該無線アクセスポイント装置7と認証等を行った後、無線接続する(ステップ450)。
(第4実施形態)
次に、第3実施形態において、移動無線端末20がGPS受信機等の位置測定装置を備えており、この位置測定装置からの情報に基づいて自己の現在位置を特定することができるようになっている場合の作動について説明する。
本実施形態における移動無線端末20の通信制御部53の作動を図15にフローチャートとして示す。
移動無線端末20の通信制御部53は、図13のステップ410と同様に情報管理サーバへ周囲の無線アクセスポイント装置の設定情報を要求し(ステップ510)、ステップ420と同様にその結果情報管理サーバから設定情報を受信し保存する(ステップ520)。
そしてその後、位置測定装置を用いて自位置を測定し、自位置が隣接する無線アクセスポイント装置の無線LANサービスエリア内(すなわち隣接エリア内)にあるか否かを判定する(ステップ540)。なお、移動無線端末20は、無線アクセスポイント装置の位置情報をあらかじめ有していてもよいし、ステップ520において情報管理サーバが当該位置情報を送信し、それを受信するようになっていてもよい。
隣接エリア内に入ると、ステップ520で記憶した設定情報から当該その隣接エリアの無線アクセスポイント装置の設定情報を読み出し、その設定情報に基づいてA無線通信機51等を設定し、当該無線アクセスポイント装置に無線接続を試みる(ステップ550)。
ただし、測定した位置情報の誤差等、諸々の理由で、当該隣接した無線アクセスポイント装置に無線接続できない場合があるので、当該無線アクセスポイント装置への無線接続が失敗したかを判定し(ステップ560)、失敗した場合は直前の無線アクセスポイント装置の設定情報に基づいて、直前の無線アクセスポイント装置に再度無線接続を行う。
なお、この場合、情報管理サーバは、移動無線端末20の進行方向にある無線アクセスポイント装置の設定情報のみを送信するようになっていてもよい。ただしこの場合に限り、移動無線端末20は自己の位置情報を情報管理サーバ5に送信する必要がある。
(第5実施形態)
次に、本発明の第5実施形態について説明する。図16に、本実施形態の通信システム100の構成を示す。本実施形態においては、移動無線端末20は、異なる無線アクセスポイント装置へ、すなわち、ISP内ネットワーク2に属する無線アクセスポイント装置8からISP内ネットワーク3に属する無線アクセスポイント装置10へ、ハンドオーバーする。
本実施形態の情報管理サーバ5、6、および無線アクセスポイント装置7〜11の構成および作動は、第1実施形態における情報管理サーバおよび無線アクセスポイント装置と同等である。また、本実施形態の移動無線端末20も、第1実施形態における移動無線端末20と同等の構成および作動を有する。
このような構成の移動無線端末20が、図16に示したように、異なるISPの無線アクセスポイント装置へハンドオーバーする場合、その作動の手順は、図17のようになる。
すなわち、ISP内ネットワーク2の無線アクセスポイント装置8に関する無線LANサービスエリア14外(図中ではAP2のエリア外と記す)に移動無線端末20が移動すると、(ステップ610)、他の無線アクセスポイント装置からのブロードキャストをサーチし(ステップ620)、ブロードキャストをA無線通信機51を介して受信すると、そのブロードキャストに含まれる情報管理サーバのIPアドレスにB無線通信機52を用いて接続し(ステップ630)、さらに当該ブロードキャストに含まれるIDの無線アクセスポイント装置の設定情報の要求を行うことで、当該設定情報を情報管理サーバから受信し(ステップ640)、その受信した設定情報を用いたA無線通信機51の設定を行い、当該無線アクセスポイント装置(図16中の無線アクセスポイント装置10に相当する)に無線接続する(ステップ650)。
(第6実施形態)
次に、本発明の第6実施形態について説明する。本実施形態も、第5実施形態と同様、移動無線端末20が異なるISPの無線アクセスポイント装置へハンドオーバーする場合についてのものである。
図18に、図16の無線LANサービスエリア14、無線LANサービスエリア16の領域を拡大した図を示す。第5実施形態においては、移動無線端末20は、無線LANサービスエリア14の外に出た場合に無線LANサービスエリア16を形成する無線アクセスポイント装置10からブロードキャスト情報を受信するようになっていた。本実施形態では、移動無線端末20は、無線LANサービスエリア14と無線LANサービスエリア16の交わる領域26にいるとき、すなわち異なるISPの無線アクセスポイント装置の両方の通信可能範囲内にいるときにハンドオーバーを実現する。すなわち、新たな無線アクセスポイント装置10からのブロードキャストを受信し、この受信したブロードキャストを当該無線アクセスポイント装置10への無線接続のために用いる。
本実施形態の情報管理サーバおよび無線アクセスポイント装置の構成および作動は、第1実施形態における情報管理サーバおよび無線アクセスポイント装置と同等である。
また、本実施形態の移動無線端末20は、第1実施形態のようなB無線通信機52を有している必要はないこと以外は、第1実施形態における移動無線端末20と同等の構成を有する。
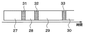
以下、図18の領域26でハンドオーバーを実現するための移動無線端末20の作動について説明する。図19に、この移動無線端末20の通信制御部53が実行する処理のフローチャートを示す。通信制御部53は、A無線通信機51を介して現在無線接続している無線アクセスポイント装置(図16においては無線アクセスポイント装置8、図19においてはAP2と記す)からの受信電力が低下したことを検知すると(ステップ710)、A無線通信機51の通信時間を時分割してブロードキャストのサーチを行う(ステッ720)。なお、通信制御部53は、受信電力を示す信号をA無線通信機51から受ける。
図20に、A無線通信機51の通信時間の時分割の様子を示す。A無線通信機51が通信に使用する時間帯27〜33において、大部分(例えば約8割)の時間帯27〜30は、通常の通信、すなわち現在無線接続している無線アクセスポイント装置を介した通信に用いられる。また、残りの時間帯31〜33は、他の無線アクセスポイント装置(図16においては無線アクセスポイント装置10)からのブロードキャストが送信されているかのサーチに用いられる。
ただし、サーチに用いられる時間帯は、等間隔で割り当てられるのではなく、ランダムに割り当てられる。このようにすることで、短時間のサーチにおいても他の無線アクセスポイント装置のブロードキャストを受信し易くなる。なお、無線アクセスポイント装置からのブロードキャストのタイミングをランダムにし、移動無線端末20におけるサーチのタイミングの割り振りが一定間隔となっていてもよい。
そして、通信制御部53は、他の無線アクセスポイント装置のブロードキャストを検出するまでこの時分割によるサーチを実行し(ステップ730)、検出すると、当該検出したブローキャストに含まれるID、情報管理サーバ(図16においては情報管理サーバ6)のIPアドレスに基づいて、A無線通信機51を用いて現在無線接続している対象の無線アクセスポイント装置を経由して、当該IPアドレスの情報管理サーバに接続し(ステップ740)、当該IDの設定情報を要求して受信し(ステップ750)、その受信した設定情報に基づいてA無線通信機51を設定し、今までの無線接続対象の無線アクセスポイント装置との無線接続を切断し、当該無線アクセスポイント装置に無線接続する(ステップ760)。
このように、移動無線端末20は、領域26内において、無線アクセスポイント装置8からの電力が弱くなってきたことを検知することに基づいて、A無線通信機51を用いて時分割で無線アクセスポイント装置8からの受信および無線アクセスポイント装置10からの受信を交互に行うことで、無線アクセスポイント装置10からのブロードキャストに含まれるIDおよび情報管理サーバ6のIPアドレスに基づいて、A無線通信機51を用いて現在無線接続中の無線アクセスポイント装置8を経由して情報管理サーバ6から無線アクセスポイント装置10の設定情報を受信し、この設定情報に基づいて新たな無線アクセスポイント装置10と無線接続する。
(第7実施形態)
次に、本発明の第7実施形態について説明する。本実施形態の移動無線端末20は、他の移動無線端末との通信を利用して、無線アクセスポイント装置の設定情報を入手するようになっている。
図21に、本実施形態の概念図を示す。道路70を、それぞれ移動無線端末20を搭載する車両71、72が走行している。車両72に搭載される移動無線端末20は、車両71の移動無線端末20から無線アクセスポイント装置APが送信しているブロードキャストを受信する。
図22に、本実施形態の移動無線端末20のハードウェア構成を示す。本実施形態は、第1実施形態の図7に示した移動無線端末20の構成に加え、C無線通信機55を有している。
C無線通信機55は、周知の無線LANカード等の、車車間で無線LANに既定のアドホック通信を行うための無線通信装置であり、通信制御部53によって制御される。
本実施形態の情報管理サーバおよび無線アクセスポイント装置の構成および作動は、第1実施形態と同等である。ただし、無線アクセスポイント装置7は、図23に示すようなデータ、すなわち、情報管理サーバのIPアドレス、情報管理サーバの有する秘密鍵に対応する公開鍵、自己のID、および自己の属するプロバイダ名(またはプロバイダID)をブロードキャストする。
本実施形態における車両71および車両72に搭載される移動無線端末20の作動を、図24のシーケンス図を用いて説明する。
車両71が無線アクセスポイント装置APの通信可能範囲内無線LANサービスエリア73にいるとき、車両71に搭載された移動無線端末20の通信制御部53は、無線アクセスポイント装置APからのブロードキャストを受信すると、その受信したブロードキャストに含まれるデータを、C無線通信機55を用いてアドホック通信で接続している他の車両の移動無線端末20に送信する(ステップ950)。無線LANサービスエリア73の外にいる車両72に搭載された移動無線端末20の通信制御部53は、車両71の移動無線端末20からのこのデータをC無線通信機55を介して受信すると、受信した情報管理サーバのIPアドレスに対する認証データ(自己のID、パスワード等)および自己の有する秘密鍵に対応する公開鍵を、受信した公開鍵を用いて暗号化し、暗号化したデータを、C無線通信機55を用いて、受信したデータの送信元である車両71の移動無線端末20に送信する(ステップ952)。図25に、車両72の移動無線端末20がここで送信するデータの構成を示す。
暗号化された移動無線端末20の認証データ(暗号化されたIDおよびパスワード)および車両72の公開鍵を受信した車両71の移動無線端末20は、自らが受信しているブロードキャストに含まれる情報管理サーバ5のIPアドレスに、当該ブロードキャストに含まれるIDの無線アクセスポイント装置についての設定情報の要求を、受信した認証データおよび公開鍵と共に、A無線通信機51またはB無線通信機52を用いて送信する(ステップ954)。
この車両71の移動無線端末20から送信されたデータを受信した情報管理サーバは、自らが有する秘密鍵を用いて、受信した認証データを復号した上で認証を行い、認証に成功すると、受信した要求に係るIDの設定情報を受信した公開鍵で暗号化し、この暗号化したデータを、要求元である車両71の移動無線端末20に送信する。
車両71の移動無線端末20の通信制御部53は、この設定情報を受信し(ステップ956)、この情報をC無線通信機55を用いて車両72の移動無線端末20に送信する(ステップ958)。
そして車両72の移動無線端末20の通信制御部53は、C無線通信機55を介してこの暗号化された設定情報を受信すると、自己の秘密鍵を用いてこの設定情報を復号し、この復号した設定情報に基づいてC無線通信機55による無線接続のための設定を行い(ステップ960)、そして車両72が無線LANサービスエリア73に入ると(ステップ962)、その設定に基づいて当該エリアの無線アクセスポイント装置に無線接続する。すなわちDHCPサーバまたはDHCPサーバ機能を有する無線アクセスポイント装置にDHCPリクエストを送信し(ステップ964)、その結果としてDHCPレスポンスを受信し(ステップ966)、そのDHCPレスポンスに基づいて使用するIPアドレス等を設定する(ステップ968)。
このように、無線アクセスポイント装置の無線LANサービスエリア73にいる移動無線端末20が、移動無線端末20間の通信を利用して、無線LANサービスエリア73内の移動無線端末20を介して無線接続のための情報を取得することで、無線LANサービスエリア73に入って後、素早く無線接続を確立することができる。
なお、車両72の移動無線端末20は、車両71の移動無線端末20からブロードキャスト情報を取得したとき、車2の通信機Bが使用可能な場合は、第1実施形態と同様にB無線通信機52を用いて情報管理サーバにアクセスし、無線アクセスポイント装置の設定情報を入手するようになっていてもよい。
また、車両71の移動無線端末20から送信される認証情報は情報管理サーバの公開鍵で暗号化され、情報管理サーバから車両72の移動無線端末20へ送信される設定情報は車両72の移動無線端末20の公開鍵で暗号化されるので、これらデータの送受信を中継する車両71の移動無線端末20において、これらデータの内容を盗聴することができず、情報の秘匿性が保たれる。
(第8実施形態)
次に、本発明の第8実施形態について説明する。図26に、本実施形態の概念図を示す。
本実施形態では、駐車場81に、無線アクセスポイント装置AP1、AP2が設置されており、それぞれが無線LANサービスエリア82、無線LANサービスエリア83を形成している。また、駐車場入り口85付近には、DSRC(境域通信)用の通信装置86があり、このDSRC通信装置86は、駐車場81に進入する際に車両84が必ず通る領域に通信可能範囲としてのDSRCサービスエリア87を形成している。
本実施形態の無線アクセスポイント装置AP1、AP2は、自己のIDのみをブロードキャストしている点以外は、第1実施形態と構成、作動を同一にする。
また、本実施形態のDSRC通信装置86は、第1実施形態の情報管理サーバ5において、通信部61を、DSRCの規格に従った無線信号の送受信を行う通信装置に置き換えたものと同等である。
また、本実施形態の移動無線端末20は、第1実施形態の移動無線端末20において、B無線通信機52を、DSRCの規格に従った無線信号の送受信を行う通信装置に置き換えたものと同等である。
このような無線アクセスポイント装置AP1、AP2、DSRC通信装置86と通信する移動無線端末20の作動の手順を図27に示す。
まず車両84がDSRCサービスエリア87(図27では狭域通信エリアと記す)に進入すると(ステップ810)、移動無線端末20の通信制御部53はB無線通信機52を用いてDSRCの通信をDSRC通信装置86と行い、この通信によって、無線アクセスポイント装置AP1、AP2についての設定情報を受信する(ステップ820)。このとき、DSRC通信装置86が送信して移動無線端末20が受信する設定情報の内容を図28に示す。この設定情報には、無線アクセスポイント装置AP1、AP2のそれぞれについての、ID、無線LANサービスエリアの地理的範囲、ESSID、WEPキー、チャンネル、移動無線端末20に付与されるIPアドレス、駐車場の課金情報、広告が含まれている。
なお、DSRC通信装置86と移動無線端末20とは、この設定情報の受け渡しの前に、第1実施形態で示したような認証を行ってもよいし、また、DSRC通信装置86は、設定情報をブロードキャストしていてもよい。
その後、車両84が無線LANサービスエリア82または無線LANサービスエリア83に進入すると、IDのブロードキャストをA無線通信機51を介して受信し、合致したIDを有する設定情報に基づいて、A無線通信機51による無線接続の設定を行う(ステップ830)。
このような無線アクセスポイント装置AP1、AP2、DSRC通信装置86、および移動無線端末20から成る通信システムの作動により、移動無線端末は、DSRC通信装置86から、無線アクセスポイント装置AP1、AP2の設定情報を受信する。そして当該移動無線端末20は、この受信したIDを送信する無線アクセスポイント装置AP1またはAP2の通信可能範囲内に入っているとき、当該IDに対応する設定情報を用いて当該無線アクセスポイント装置と無線接続する。
このように、移動無線端末20は、DSRC通信装置86から無線アクセスポイント装置AP1、AP2の設定情報を受信し、無線アクセスポイント装置AP1、AP2の通信可能範囲内に入っていることで受信するIDに基づいて、その無線アクセスポイント装置に合った適切な設定情報を用いて無線接続することができる。したがって、無線アクセスポイント装置AP1、AP2との無線接続を介してネットワークに参加する移動無線端末20が、自らの位置情報を送信するためにGPS受信機等の自位置特定装置を用いることなく、次々に無線アクセスポイント装置の認証情報を取得できるようになる。
なお、第8実施形態においては、DSRC通信装置86が情報管理サーバに相当する。
本発明の第1実施形態に係る通信システム100の構成を示す図である。 情報管理サーバ5、6のそれぞれがブロードキャストする情報の構成を示す図である。 情報管理サーバの構成を示す図である。 無線アクセスポイント装置7の設定情報の構成を示す図である。 送信される設定情報の構成を示す図である。 情報管理サーバの作動の手順のフローチャートである。 移動無線端末20のハードウェア構成を示す図である。 移動無線端末20が無線アクセスポイント装置7〜12のいずれかと無線接続するために、当該無線アクセスポイント装置、情報管理サーバ等と行う通信のやりとりを示すシーケンス図である。 それぞれ異なるISP内ネットワークに接続されている複数の無線LANサービスエリアが重なっており、移動無線端末20がその重なったエリアに進入した場合の一例を示す図である。 第2実施形態においける無線接続のためのデータのやりとりを示すシーケンス図である。 無線アクセスポイント装置のブロードキャストのデータに、サーバのIPアドレス、無線アクセスポイント装置のIDのみならず、ISPの名称または識別情報を含めた図である。 第3実施形態の通信システム100の構成を示す図である。 第3実施形態の移動無線端末20の通信制御部53の作動の流れを示すフローチャートである。 第3実施形態の情報管理サーバが送信する管理情報の一例を示す図である。 第4実施形態における移動無線端末20の通信制御部53の作動を示すフローチャートである。 第5実施形態の通信システム100の構成を示す図である。 第5実施形態における移動無線端末20が、異なるISPの無線アクセスポイント装置へハンドオーバーする場合の手順を示す図である。 図16の無線LANサービスエリア14、無線LANサービスエリア16の領域を拡大した図である。 第6実施形態における移動無線端末20の通信制御部53が実行する処理のフローチャートである。 A無線通信機51の通信時間の時分割の様子を示す図である。 第7実施形態の概念図である。 第7実施形態の移動無線端末20のハードウェア構成を示す図である。 第7実施形態において無線アクセスポイント装置7がブロードキャストするデータを示す図である。 第7実施形態において車両72の移動無線端末20が送信するデータの構成を示す図である。 車両72の移動無線端末20が送信するデータの構成を示す図である。 第8実施形態の概念図である。 第8実施形態における無線アクセスポイント装置AP1、AP2、DSRC通信装置86と通信する移動無線端末20の作動の手順を示す図である。 DSRC通信装置86が送信して移動無線端末20が受信する設定情報の内容を示す図である。
符号の説明
1…インターネット、2〜4…ISP内ネットワーク、5、6…情報管理サーバ、
7〜12…無線アクセスポイント装置、13〜18…無線LANサービスエリア、
19…携帯電話サービスエリア、20…移動無線端末、21…経路、
51…A無線通信機、52…B無線通信機、53…通信制御部、
54…アプリケーション部、55…C無線通信機、61…通信部、62…認証部、
63…設定情報払い出し部、64…設定情報DB、65…認証情報DB、
71、72…車両、73…無線LANサービスエリア、81…駐車場、
82、83…無線LANサービスエリア、84…車両、85…駐車場入り口、
86…DSRC通信装置、87…DSRCサービスエリア、100…通信システム。

Claims (9)

  1. 複数の無線アクセスポイント装置と、前記複数の無線アクセスポイント装置のそれぞれの識別情報と認証情報の組を有する情報管理サーバと、移動無線端末と、を備え、
    前記複数の無線アクセスポイント装置のそれぞれは、自己の識別情報および前記情報管理サーバのアドレスを、自己の通信可能範囲内の移動無線端末に送信し、
    前記情報管理サーバは、前記移動無線端末からの要求に基づいて、当該移動無線端末に、自己の有する無線アクセスポイント装置の識別情報と認証情報の組を送信し、
    前記移動無線端末は、前記複数の無線アクセスポイント装置の少なくとも1つから受信した前記情報管理サーバのアドレス宛に、無線アクセスポイント装置の識別情報と認証情報の組を要求する要求手段と、前記要求手段の要求に基づいて前記情報管理サーバから送信された無線アクセスポイント装置の識別情報と認証情報の組を受信する受信手段と、前記受信手段が受信した識別情報を送信する無線アクセスポイント装置の通信可能範囲内に入っているとき、当該識別情報に対応する認証情報を用いて当該無線アクセスポイント装置と無線接続する無線接続手段と、を有することを特徴とする通信システム。
  2. 前記移動無線端末が有する要求手段は、自己がその無線通信可能範囲内に入った前記無線アクセスポイント装置から受信した前記情報管理サーバのアドレスおよび当該無線アクセスポイント装置の識別情報に基づいて、当該アドレス宛に、当該識別情報を含むデータを送信することで、当該無線アクセスポイント装置の識別情報と認証情報の組を要求し、
    前記情報管理サーバは、前記移動無線端末からの要求に基づいて、当該要求に係るデータに含まれる識別情報と、その識別情報に対応する認証情報の組を、当該移動無線端末に送信することを特徴とする請求項1に記載の通信システム。
  3. 複数の無線アクセスポイント装置と、前記複数の無線アクセスポイント装置のそれぞれの識別情報と認証情報の組を有する情報管理サーバと、移動無線端末と、を備え、
    前記複数の無線アクセスポイント装置のそれぞれは、自己の識別情報および前記情報管理サーバのアドレスを、自己の通信可能範囲内の移動無線端末に送信し、
    前記情報管理サーバは、当該要求に係るデータに含まれる識別情報に対応する認証情報を、当該移動無線端末に送信し、
    前記移動無線端末は、自己がその通信可能範囲内に入った前記無線アクセスポイント装置から受信した前記情報管理サーバのアドレスおよび当該無線アクセスポイント装置の識別情報に基づいて、当該アドレス宛に、当該識別情報を含むデータを送信することで、当該無線アクセスポイント装置の認証情報を要求する要求手段と、前記要求手段の要求に基づいて前記情報管理サーバから送信された当該無線アクセスポイント装置の認証情報を受信する受信手段と、当該認証情報を用いて当該無線アクセスポイント装置と無線接続する無線接続手段と、を有することを特徴とする通信システム。
  4. 前記要求手段は、無線アクセスポイント装置との無線接続のための無線通信方法よりも無線接続可能性の高い無線通信方法を用いた無線通信により、前記情報管理サーバに要求することを特徴とする請求項1ないし3のいずれか1つに記載の通信システム。
  5. 前記情報管理サーバを複数有し、この複数の情報管理サーバのそれぞれが有する識別情報と認証情報の組は、全て同一の無線接続サービス提供業者が当該サービス提供のために設ける無線アクセスポイント装置についてのものであることを特徴とする請求項1ないし4のいずれか1つに記載の通信システム。
  6. 複数の無線アクセスポイント装置と、前記複数の無線アクセスポイント装置のそれぞれの識別情報と認証情報の組を有する情報管理サーバと、移動無線端末と、を備え、
    前記複数の無線アクセスポイント装置のそれぞれは、自己の識別情報を、自己の通信可能範囲内の移動無線端末に送信し、
    前記情報管理サーバは、当該移動無線端末に、自己の有する無線アクセスポイント装置の識別情報と認証情報の組を送信し、
    前記移動無線端末は、前記情報管理サーバから送信された無線アクセスポイント装置の識別情報と認証情報の組を受信する受信手段と、前記受信手段が受信した識別情報を送信する無線アクセスポイント装置の通信可能範囲内に入っているとき、当該識別情報に対応する認証情報を用いて当該無線アクセスポイント装置と無線接続する無線接続手段と、を有することを特徴とする通信システム。
  7. 請求項1ないし6のいずれか1つに記載の情報管理サーバ。
  8. 請求項1ないし6のいずれか1つに記載の移動無線端末。
  9. 請求項1ないし6のいずれか1つに記載の無線アクセスポイント装置。

JP2004109887A 2004-04-02 2004-04-02 通信システム、移動無線端末、情報管理サーバ、および無線アクセスポイント装置。 Expired - Lifetime JP4206954B2 (ja)

Priority Applications (1)

Application Number Priority Date Filing Date Title
JP2004109887A JP4206954B2 (ja) 2004-04-02 2004-04-02 通信システム、移動無線端末、情報管理サーバ、および無線アクセスポイント装置。

Applications Claiming Priority (1)

Application Number Priority Date Filing Date Title
JP2004109887A JP4206954B2 (ja) 2004-04-02 2004-04-02 通信システム、移動無線端末、情報管理サーバ、および無線アクセスポイント装置。

Publications (2)

Publication Number Publication Date
JP2005295370A true JP2005295370A (ja) 2005-10-20
JP4206954B2 JP4206954B2 (ja) 2009-01-14

Family

ID=35327787

Family Applications (1)

Application Number Title Priority Date Filing Date
JP2004109887A Expired - Lifetime JP4206954B2 (ja) 2004-04-02 2004-04-02 通信システム、移動無線端末、情報管理サーバ、および無線アクセスポイント装置。

Country Status (1)

Country Link
JP (1) JP4206954B2 (ja)

Cited By (12)

* Cited by examiner, † Cited by third party
Publication number Priority date Publication date Assignee Title
JP2007140743A (ja) * 2005-11-16 2007-06-07 Nippon Telegraph & Telephone East Corp 端末機器の接続設定システム、顧客認証装置、顧客データベース、端末機器の接続設定方法、顧客認証方法、顧客認証プログラム、端末機器の接続設定プログラム。
JP2008288771A (ja) * 2007-05-16 2008-11-27 Nec Infrontia Corp インターネットプロトコルアドレス設定システム及びそのアドレス設定方法
JP2009010718A (ja) * 2007-06-28 2009-01-15 Tokai Rika Co Ltd 車車間通信システム
WO2009022397A1 (ja) * 2007-08-10 2009-02-19 Panasonic Corporation 無線端末装置、ネットワーク接続方法及びプログラム
JP2009525666A (ja) * 2006-02-01 2009-07-09 エルジー エレクトロニクス インコーポレイティド 無線ランシステムにおける情報伝達方法
JP2011155521A (ja) * 2010-01-27 2011-08-11 Kyocera Corp 移動局装置および基地局装置の認証方法
JP2011249868A (ja) * 2010-05-21 2011-12-08 Ntt Docomo Inc 通信システム、無線通信装置及び通信方法
JP2012016021A (ja) 2005-09-28 2012-01-19 Qualcomm Inc 無線ネットワークアクセスパラメータを配信するシステムおよび方法
JP2014112803A (ja) * 2012-12-05 2014-06-19 Ishida Co Ltd ネットワークシステム、ネットワーク構成情報を設定する方法
JP2017169002A (ja) * 2016-03-15 2017-09-21 株式会社リコー 通信装置、通信方法、システム及びプログラム
JP2018526939A (ja) * 2015-09-07 2018-09-13 ソルボンヌ、ユニベルシテSorbonne Universite 無線ローカルエリアネットワーク通信プロトコルを使用することにより、モバイルクライアント局からのインターネットアクセスを確立するための方法およびシステム
JP2024512618A (ja) * 2021-05-28 2024-03-19 中興通訊股▲ふん▼有限公司 トラッカーのネットワーク自動制御方法、装置、機器、及び記憶媒体

Cited By (15)

* Cited by examiner, † Cited by third party
Publication number Priority date Publication date Assignee Title
JP2012016021A (ja) 2005-09-28 2012-01-19 Qualcomm Inc 無線ネットワークアクセスパラメータを配信するシステムおよび方法
JP2014096801A (ja) * 2005-09-28 2014-05-22 Qualcomm Incorporated 無線ネットワークアクセスパラメータを配信するシステムおよび方法
JP2007140743A (ja) * 2005-11-16 2007-06-07 Nippon Telegraph & Telephone East Corp 端末機器の接続設定システム、顧客認証装置、顧客データベース、端末機器の接続設定方法、顧客認証方法、顧客認証プログラム、端末機器の接続設定プログラム。
JP2009525666A (ja) * 2006-02-01 2009-07-09 エルジー エレクトロニクス インコーポレイティド 無線ランシステムにおける情報伝達方法
US8660100B2 (en) 2006-02-01 2014-02-25 Lg Electronics Inc. Method for transmitting information in wireless local area network system
JP2008288771A (ja) * 2007-05-16 2008-11-27 Nec Infrontia Corp インターネットプロトコルアドレス設定システム及びそのアドレス設定方法
JP2009010718A (ja) * 2007-06-28 2009-01-15 Tokai Rika Co Ltd 車車間通信システム
WO2009022397A1 (ja) * 2007-08-10 2009-02-19 Panasonic Corporation 無線端末装置、ネットワーク接続方法及びプログラム
JP2011155521A (ja) * 2010-01-27 2011-08-11 Kyocera Corp 移動局装置および基地局装置の認証方法
JP2011249868A (ja) * 2010-05-21 2011-12-08 Ntt Docomo Inc 通信システム、無線通信装置及び通信方法
JP2014112803A (ja) * 2012-12-05 2014-06-19 Ishida Co Ltd ネットワークシステム、ネットワーク構成情報を設定する方法
JP2018526939A (ja) * 2015-09-07 2018-09-13 ソルボンヌ、ユニベルシテSorbonne Universite 無線ローカルエリアネットワーク通信プロトコルを使用することにより、モバイルクライアント局からのインターネットアクセスを確立するための方法およびシステム
JP2017169002A (ja) * 2016-03-15 2017-09-21 株式会社リコー 通信装置、通信方法、システム及びプログラム
JP2024512618A (ja) * 2021-05-28 2024-03-19 中興通訊股▲ふん▼有限公司 トラッカーのネットワーク自動制御方法、装置、機器、及び記憶媒体
JP7596558B2 (ja) 2021-05-28 2024-12-09 中興通訊股▲ふん▼有限公司 トラッカーのネットワーク自動制御方法、装置、機器、及び記憶媒体

Also Published As

Publication number Publication date
JP4206954B2 (ja) 2009-01-14

Similar Documents

Publication Publication Date Title
US10264140B2 (en) Billing engine and method of use
US10637997B2 (en) Billing engine and method of use
KR100872005B1 (ko) 무선 로컬 영역 네트워크를 통해 네트워크 서비스 정보를이동국에 제공하는 방법 및 장치
US9894631B2 (en) Authentication using DHCP services in mesh networks
US9591525B2 (en) Efficient device handover/migration in mesh networks
KR20230054421A (ko) 셀룰러 슬라이싱된 네트워크들에서의 중계기 선택의 프라이버시
JP2015524234A (ja) ワイヤレス・ローカル・エリア・ネットワークへの高度なネットワーク・ハンドオフのためのシステムおよび方法
EP2661112A1 (en) Authentication using DHCP Services in Mesh Networks
EP2661127A1 (en) Efficient device handover/migration in mesh networks
JP4206954B2 (ja) 通信システム、移動無線端末、情報管理サーバ、および無線アクセスポイント装置。
JP6009242B2 (ja) ユーザ所有のアクセスポイントに第三者の無線端末を接続させる認証方法、アクセスポイント及びプログラム
CN201004628Y (zh) 多模无线传送/接收单元及无线局域网络基站
US7801517B2 (en) Methods, systems, and computer program products for implementing a roaming controlled wireless network and services
EP2257108A1 (en) Process and communication system for establishing intermittent connections between a moving system and external access points
JP6266064B2 (ja) ユーザ所有のアクセスポイントに第三者の無線端末を接続させる認証方法、アクセスポイント及びプログラム
CN113766434A (zh) 文件共享方法、装置、家庭云服务器及存储介质
Ott et al. Towards automated authentication for mobile users in WLAN hot-spots
EP3292673B1 (en) Billing engine and method of use
JP2010074481A (ja) Lanシステム、端末装置、利用申請装置、ユーザアカウント取得方法
KR101434750B1 (ko) 이동통신망에서 지리 정보를 이용한 무선랜 선인증 방법 및 장치
KR101242683B1 (ko) 센서네트워크를 위한 센서노드와 코어망 간의 통신방법
Mao Efficient Communication for Mobile Devices in the New Era
JP2004312350A (ja) Vpnシステム、vpn構築サーバおよびvpn構築方法
WO2020163377A1 (en) Billing engine and method of use
JP6266062B2 (ja) ユーザ所有のアクセスポイントに第三者の無線端末を接続させる認証方法、アクセスポイント及びプログラム

Legal Events

Date Code Title Description
A621 Written request for application examination

Free format text: JAPANESE INTERMEDIATE CODE: A621

Effective date: 20060516

A977 Report on retrieval

Free format text: JAPANESE INTERMEDIATE CODE: A971007

Effective date: 20080625

A131 Notification of reasons for refusal

Free format text: JAPANESE INTERMEDIATE CODE: A131

Effective date: 20080701

A521 Request for written amendment filed

Free format text: JAPANESE INTERMEDIATE CODE: A523

Effective date: 20080825

TRDD Decision of grant or rejection written
A01 Written decision to grant a patent or to grant a registration (utility model)

Free format text: JAPANESE INTERMEDIATE CODE: A01

Effective date: 20080924

A01 Written decision to grant a patent or to grant a registration (utility model)

Free format text: JAPANESE INTERMEDIATE CODE: A01

A61 First payment of annual fees (during grant procedure)

Free format text: JAPANESE INTERMEDIATE CODE: A61

Effective date: 20081007

R150 Certificate of patent or registration of utility model

Free format text: JAPANESE INTERMEDIATE CODE: R150

Ref document number: 4206954

Country of ref document: JP

Free format text: JAPANESE INTERMEDIATE CODE: R150

FPAY Renewal fee payment (event date is renewal date of database)

Free format text: PAYMENT UNTIL: 20111031

Year of fee payment: 3

FPAY Renewal fee payment (event date is renewal date of database)

Free format text: PAYMENT UNTIL: 20121031

Year of fee payment: 4

FPAY Renewal fee payment (event date is renewal date of database)

Free format text: PAYMENT UNTIL: 20121031

Year of fee payment: 4

FPAY Renewal fee payment (event date is renewal date of database)

Free format text: PAYMENT UNTIL: 20131031

Year of fee payment: 5

R250 Receipt of annual fees

Free format text: JAPANESE INTERMEDIATE CODE: R250

R250 Receipt of annual fees

Free format text: JAPANESE INTERMEDIATE CODE: R250

R250 Receipt of annual fees

Free format text: JAPANESE INTERMEDIATE CODE: R250

R250 Receipt of annual fees

Free format text: JAPANESE INTERMEDIATE CODE: R250

R250 Receipt of annual fees

Free format text: JAPANESE INTERMEDIATE CODE: R250

R250 Receipt of annual fees

Free format text: JAPANESE INTERMEDIATE CODE: R250

R250 Receipt of annual fees

Free format text: JAPANESE INTERMEDIATE CODE: R250

R250 Receipt of annual fees

Free format text: JAPANESE INTERMEDIATE CODE: R250

R250 Receipt of annual fees

Free format text: JAPANESE INTERMEDIATE CODE: R250

R250 Receipt of annual fees

Free format text: JAPANESE INTERMEDIATE CODE: R250

EXPY Cancellation because of completion of term