JP2005295093A - ライン光源及びイメージセンサ - Google Patents

ライン光源及びイメージセンサ Download PDF

Info

Publication number
JP2005295093A
JP2005295093A JP2004105676A JP2004105676A JP2005295093A JP 2005295093 A JP2005295093 A JP 2005295093A JP 2004105676 A JP2004105676 A JP 2004105676A JP 2004105676 A JP2004105676 A JP 2004105676A JP 2005295093 A JP2005295093 A JP 2005295093A
Authority
JP
Japan
Prior art keywords
light
light source
light guide
line
line light
Prior art date
Legal status (The legal status is an assumption and is not a legal conclusion. Google has not performed a legal analysis and makes no representation as to the accuracy of the status listed.)
Granted
Application number
JP2004105676A
Other languages
English (en)
Other versions
JP4259377B2 (ja
Inventor
Naoyuki Tokita
直幸 時田
Current Assignee (The listed assignees may be inaccurate. Google has not performed a legal analysis and makes no representation or warranty as to the accuracy of the list.)
Mitsubishi Electric Corp
Original Assignee
Mitsubishi Electric Corp
Priority date (The priority date is an assumption and is not a legal conclusion. Google has not performed a legal analysis and makes no representation as to the accuracy of the date listed.)
Filing date
Publication date
Application filed by Mitsubishi Electric Corp filed Critical Mitsubishi Electric Corp
Priority to JP2004105676A priority Critical patent/JP4259377B2/ja
Publication of JP2005295093A publication Critical patent/JP2005295093A/ja
Application granted granted Critical
Publication of JP4259377B2 publication Critical patent/JP4259377B2/ja
Anticipated expiration legal-status Critical
Expired - Lifetime legal-status Critical Current

Links

Images

Landscapes

  • Facsimile Scanning Arrangements (AREA)
  • Light Sources And Details Of Projection-Printing Devices (AREA)
  • Facsimile Heads (AREA)

Abstract

【課題】 導光体を用いたライン光源において、構造起因による発光不均一性を改善するライン光源を提供する。
【解決手段】 導光体カバー2に覆われた透明な部材からなる導光体3と、近傍に位置する光源1と、その光源1から照射された光を上記導光体3に入光させ、導光体3に描かれた拡散部4によって光を拡散させる構造を持つライン光源において、部品構造による不可避の照明不均一性を生じさせる場合において、その不均一を生じさせている個所に、光を制御するための拡散部4をたとえば塗料35を塗布することで、照明均一性を改善することができるようにしたものである。
【選択図】 図1

Description

本発明は複写機、ファクシミリなどの画像を読み取る画像入力装置に用いられる密着イメージセンサ用のライン光源及びこれを用いたイメージセンサに関するものである。
原稿などの画像情報を読み取る密着イメージセンサに使用されるライン光源として、例えば特開平8−163320号公報に開示されたものがある。以下、図を用いて従来のライン光源について説明する。図4はライン光源全体の斜視図である。図5はライン光源に用いられているLEDの発光部である。図6は図4におけるライン光源のEF断面図である。図7は図4におけるライン光源の長手方向の側面図である。
従来のライン光源は、LED発光部1を発光源としている。LED発光部1は、リードフレームと呼ばれる電極端子6を有し、実装基板5にLED(LIGHT EMITTED DIODE)チップ7と呼ばれる半導体発光素子を実装した構造となっている。上記実装基板5は、インサート成型と呼ばれる手法を用いて作製される。LED発光部1から照射された光30を導光体カバー2で覆われた透明な部材からなる導光体3に入光させる。この光は全反射角を維持しながら、導光体3を進行し、拡散部4と呼ばれる反射率60%以上を有する入射光を拡散反射する拡散部にあたって拡散光9となる。光出射面8からその拡散光9が照射される構造となっている。
特開平8−163320号
このようなライン光源をイメージセンサに用いた場合、イメージセンサの出力強度Iは、イメージセンサに使用するセンサICの感度S、ライン光源の光量B及び読取速度Tの積に比例する。したがって、これらのパラメータにより、I∝S×B×T と表すことができる。イメージセンサを高速に動作させるには、ライン光源の光量Bを大きくする必要がある。また、センサICの感度を大きくするためには、図8に示すように、センサICに実装されるP型半導体21とN型半導体22の接合によって構成されるフォトダイオード23の構成(図8参照)を考慮する必要がある。センサICは、上記フォトダイオード23と信号処理部(図示せず)とから構成される。
しかし、汎用のLSI半導体作製工程によって作製されたフォトダイオードの感度向上には限界がある。半導体の光電変換効率を飛躍的に向上させるには、CCDセンサー等のイメージセンサー用半導体作製工程を選択する必要があり、コスト的に問題点が多い。また、ライン光源の光量Bを大きくする方式として、図9に示すように、LEDチップ46の数量を増やし、それらを等間隔に基板47上に配置し、輝度向上を狙ったLEDアレイ方式45が一般的に知られている。しかし、この方式においてはLEDチップの製造上のばらつきにより、LED輝度がばらつく。その結果、照明ばらつきが生じ、LEDチップ実装間隔とLEDの発光指向性によっては、照射面における照明の均一性が悪化するという問題がある。
そこで、図4に示すような構成のライン光源を用い、より高輝度なLEDチップを使用することで高輝度かつ均一性を有するライン光源とする試みが行われている。発光部1で照射された光は導光体3に入光し、拡散部4にあたると減衰する。したがってライン光源の照明均一性を得るために、拡散部4を、入光面近くから遠くなるにつれて、「疎の状態」から「密の状態」、または、「細い状態」から「太い状態」となるように構成する。つまり、LED発光部1に近い側(光の強度が強いところ)では、拡散部4の密度(拡散部が設けられる導光体側面の単位面積当りの拡散部正味の面積)が低く、LED発光部1から遠い側(光の強度が弱いところ)では、拡散部4の密度が高くなっている。このような構成とすることにより、入射面から遠いところで光をより拡散させることが可能となり、照明均一性を得ている。
導光体3はコストが比較的安価な樹脂からなる透明部材からなっている。たとえば、アクリルなどである。アクリルなどの樹脂成型品においては製品の金型をもちい、その金型に高温に加熱された樹脂材料を圧力をかけて注入し、その後冷却して製品を製作する。このとき、金型に樹脂材料を注入する流路部分は一般的にゲートと呼ばれている。樹脂成形直後では、製品本体の形状と共にこの流路形状(上記金型ゲートに対応するゲート部31)が一体形状として成形される。そのため、鋭利なナイフ等でこの流路(ゲート部31)を切断している。
このゲート部31の表面は、ナイフ等で切断されていることから表面の平坦性が悪い不均一な領域となっている。通常、導光体は光を効率よく全反射角を維持できるよう導光するために、凹凸のない面で構成されている。この平坦性の悪化した部分に、導光された光が照射されると、全反射することなく散乱する。この散乱光は拡散部4と同様の役割を果たし、照明均一性に10〜20%程度影響を与えることとなる。図10は、ゲート部31を有するAB断面図を示すものである。ゲート部31によって散乱光が発生し、この散乱光が出射される。図7は図4におけるライン光源の側面発光強度の模式図を示す。図にしめすとおり、このAB断面の発光強度はEF断面の発光強度に比べ、10〜20%程度変動し、均一性を悪化させる。このため、導光体のゲート部は、光源から最も離れた、照明均一性に影響の少ない場所に作製されるのが一般的である。しかし、上記のとおりゲート部31の作製位置の制約を受けるため、樹脂成型において安定な場所にゲートを作製することができず、樹脂注入がしづらく成型条件が不安定になり、歩留まりを低下させる原因となっている。
請求項1に係るライン光源は、長手方向の側面に光出射面を形成した導光体と、この導光体の端部に配置され、上記導光体に光を入射する光源と、上記光出射面を形成した側面を除く上記導光体の側面を覆うカバーと、このカバーで覆われた上記導光体の一の側面に離散的に設けられ、上記入射光を拡散反射する拡散部と、この拡散部の設けられた側面とは異なる他の側面の所定領域に設けられ、上記入射光を吸収する吸収部とを備えたことを特徴とするものである。
また、請求項2に係るイメージセンサは、相対して設けられた請求項1に記載の第1及び第2のライン光源と、このライン光源からの光が原稿により反射され、その反射光を集光するロッドレンズアレイと、このロッドレンズアレイにより集光された反射光を検出するセンサICとを備えたことを特徴とするものである。
請求項1に係るライン光源は、高輝度かつ均一性を持った光源を提供できる。また、請求項2に係るイメージセンサは、請求項1に記載のライン光源を用いるので、読み取りばらつきのない良好な画像情報を読み取ることができ、良好な読取特性を有するスキャナー、複写機等の画像入力装置を提供できる。
実施例1.
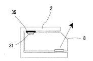
本発明のライン光源は、ゲート部31における光散乱を低減することができるものである。図1に、本発明のライン光源の斜視図を示す。図において、LED発光部1の構成は図5に示すものと同様であり説明を省略する。導光体3はアクリル等を材料とする樹脂成形品により製造され、断面5角形の柱状形態を有している。導光体カバー2は、白色の樹脂材を材料とし、断面コの字形状を有し、導光体3の所定の3側面(図では光の出射面8を除く3つの側面)を覆う構造となっている。この導光体カバー2は、導光体3の内面で全反射せず突き抜けてくる光を導光体3内に再反射し戻す機能を有する。また、外部から導光体3への雑音光の侵入を防止する補助的役目も果たす。
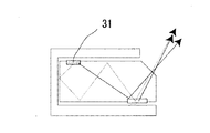
ゲート部31には、反射率の低い塗料、例えば、黒の色彩をもつ反射防止用の塗料35を塗布している。上記塗料35を塗布すると、ゲート部31からの散乱光の発生を塗料35が吸収抑制する。図2は、図1におけるライン光源のCD断面図を示す。図に示すように、CD断面の発光分布はEF断面(図4)と同一の発光分布を有することができ、光分布の均一なライン光源を提供することができる。導光体3に散乱光を発生する箇所が存在する場合、上記と同様の手法を用いることで、ライン光源の照明均一性を改善し、良好な光源を提供することができる。
なお、上記説明では、ゲート部31は、拡散部4の設けられた側面と相対する側面に設けられている場合について説明したが、これに限られるものではない。例えば、LED発光部1が設置されている導光体3の一端とは反対側の他端の面に設けることも可能である。この場合にもゲート部31を覆うように塗料35を塗布しゲート部からの散乱光を抑制する必要がある。
次に、図3により本発明のイメージセンサについて説明する。イメージセンサは、上記ライン光源11と光電変換を行うセンサIC12と呼ばれる半導体、センサIC12を実装するための基板13、ライン光源から照射された光を集光するレンズ15、透明な部材からなる平面を有する透明板16、及びこれらの構成部品12、13、15、及び16を保持する筐体14から構成されている。図に示すように、ライン光源11は相対する要に配置されている。これは、原稿17に両側から光を照射し、原稿の皺などにより影部分ができないようにするためである。レンズ15は、複数個のロッドレンズ(図示せず)によって構成された正立等倍結像用の、いわゆるロッドレンズアレイにより構成されている。イメージセンサは、ライン光源11から照射された光18が原稿17にあたり、その反射光19をレンズ15によって集光し、それをセンサIC12によって光電変換を行い、それを画像情報として出力する。
実施例1に係るライン光源の構成図である。 図1におけるライン光源のCD断面の図である。 実施例1に係るイメージセンサの断面図である。 従来のライン光源の構成図である。 ライン光源に用いられているLEDの発光部である。 図4におけるライン光源のEF断面の図である。 図4におけるライン光源の側面図である。 光電変換素子である半導体からなるフォトダイオードの断面図である。 LEDアレイ方式を用いたライン光源である。 図4におけるライン光源のAB断面の図である。
符号の説明
1 LED発光部、 2 導光体カバー、 3 導光体、 4 拡散部、 5 LED実装基板、 6 LED発光部電極端子、 7 LEDチップ、 8 導光体照射面(出射面)、 9 拡散光、 11 ライン光源、 12 センサIC、 13 基板、 14 筐体、 15 レンズ、 16 透明板、 17 原稿、 18 照射光、 19 原稿反射光、 21 P型半導体、 22 N型半導体、 23 フォトダイオード、 31 ゲート部、 32 拡散部、 35 拡散防止塗料、 45 LEDアレイ光源、 46 LEDチップ、 47 基板。

Claims (2)

  1. 長手方向の側面に光出射面を形成した導光体と、この導光体の端部に配置され、上記導光体に光を入射する光源と、上記光出射面を形成した側面を除く上記導光体の側面を覆うカバーと、このカバーで覆われた上記導光体の一の側面に離散的に設けられ、上記入射光を拡散反射する拡散部と、この拡散部の設けられた側面とは異なる他の側面の所定領域に設けられ、上記入射光を吸収する吸収部とを備えたことを特徴とするライン光源。
  2. 相対して設けられた請求項1に記載の第1及び第2のライン光源と、この第1及び第2のライン光源からの光が原稿により反射され、その反射光を集光するロッドレンズアレイと、このロッドレンズアレイにより集光された反射光を検出するセンサICとを備えたことを特徴とするイメージセンサ。
JP2004105676A 2004-03-31 2004-03-31 ライン光源及びイメージセンサ Expired - Lifetime JP4259377B2 (ja)

Priority Applications (1)

Application Number Priority Date Filing Date Title
JP2004105676A JP4259377B2 (ja) 2004-03-31 2004-03-31 ライン光源及びイメージセンサ

Applications Claiming Priority (1)

Application Number Priority Date Filing Date Title
JP2004105676A JP4259377B2 (ja) 2004-03-31 2004-03-31 ライン光源及びイメージセンサ

Publications (2)

Publication Number Publication Date
JP2005295093A true JP2005295093A (ja) 2005-10-20
JP4259377B2 JP4259377B2 (ja) 2009-04-30

Family

ID=35327564

Family Applications (1)

Application Number Title Priority Date Filing Date
JP2004105676A Expired - Lifetime JP4259377B2 (ja) 2004-03-31 2004-03-31 ライン光源及びイメージセンサ

Country Status (1)

Country Link
JP (1) JP4259377B2 (ja)

Cited By (5)

* Cited by examiner, † Cited by third party
Publication number Priority date Publication date Assignee Title
ITTO20090998A1 (it) * 2009-12-17 2011-06-18 Cts Cashpro Spa Sensore di immagine a contatto e metodo per migliorare la risposta di un sensore di immagine a contatto, in particolare per la scansione di banconote.
JP2011234150A (ja) * 2010-04-28 2011-11-17 Panasonic Corp 導光体並びにこれを備えた照明装置及び原稿読取装置
US8570616B2 (en) 2010-06-04 2013-10-29 Kabushiki Kaisha Toshiba Lighting device, image reading device, and image forming apparatus
JP2014033440A (ja) * 2012-07-13 2014-02-20 Canon Components Inc 照明装置、イメージセンサユニット、画像読取装置および画像形成装置
US10459156B2 (en) 2017-10-24 2019-10-29 Canon Kabushiki Kaisha Light guiding member and illumination device

Citations (7)

* Cited by examiner, † Cited by third party
Publication number Priority date Publication date Assignee Title
JPS61258718A (ja) * 1985-05-10 1986-11-17 Matsushita Electric Ind Co Ltd プラスチツク光学装置
JPS63179728A (ja) * 1987-01-21 1988-07-23 Hitachi Ltd プラスチツクレンズの製造方法
JPH0457172B2 (ja) * 1987-04-28 1992-09-10 Nissan Shatai Co
JPH10276297A (ja) * 1997-03-31 1998-10-13 Rohm Co Ltd 密着型カラーイメージセンサおよびその動作方法
JPH11269911A (ja) * 1998-01-30 1999-10-05 Caterpillar Inc 作業機械への用具の結合を確実にするための方法
JP2999680B2 (ja) * 1994-12-06 2000-01-17 日本板硝子株式会社 棒状照明装置およびそれを用いた原稿読み取り装置
JP2002131501A (ja) * 2000-10-26 2002-05-09 Konica Corp プラスチックレンズ及びその製造方法

Patent Citations (7)

* Cited by examiner, † Cited by third party
Publication number Priority date Publication date Assignee Title
JPS61258718A (ja) * 1985-05-10 1986-11-17 Matsushita Electric Ind Co Ltd プラスチツク光学装置
JPS63179728A (ja) * 1987-01-21 1988-07-23 Hitachi Ltd プラスチツクレンズの製造方法
JPH0457172B2 (ja) * 1987-04-28 1992-09-10 Nissan Shatai Co
JP2999680B2 (ja) * 1994-12-06 2000-01-17 日本板硝子株式会社 棒状照明装置およびそれを用いた原稿読み取り装置
JPH10276297A (ja) * 1997-03-31 1998-10-13 Rohm Co Ltd 密着型カラーイメージセンサおよびその動作方法
JPH11269911A (ja) * 1998-01-30 1999-10-05 Caterpillar Inc 作業機械への用具の結合を確実にするための方法
JP2002131501A (ja) * 2000-10-26 2002-05-09 Konica Corp プラスチックレンズ及びその製造方法

Cited By (5)

* Cited by examiner, † Cited by third party
Publication number Priority date Publication date Assignee Title
ITTO20090998A1 (it) * 2009-12-17 2011-06-18 Cts Cashpro Spa Sensore di immagine a contatto e metodo per migliorare la risposta di un sensore di immagine a contatto, in particolare per la scansione di banconote.
JP2011234150A (ja) * 2010-04-28 2011-11-17 Panasonic Corp 導光体並びにこれを備えた照明装置及び原稿読取装置
US8570616B2 (en) 2010-06-04 2013-10-29 Kabushiki Kaisha Toshiba Lighting device, image reading device, and image forming apparatus
JP2014033440A (ja) * 2012-07-13 2014-02-20 Canon Components Inc 照明装置、イメージセンサユニット、画像読取装置および画像形成装置
US10459156B2 (en) 2017-10-24 2019-10-29 Canon Kabushiki Kaisha Light guiding member and illumination device

Also Published As

Publication number Publication date
JP4259377B2 (ja) 2009-04-30

Similar Documents

Publication Publication Date Title
US7125151B2 (en) Line-illuminating device and image sensor
US6357903B1 (en) Line type illuminator
CN100515014C (zh) 图像读取装置
US9167121B2 (en) Lighting unit and image scanner using same
US9094562B2 (en) Image sensor unit and image reading apparatus using the image sensor unit
US10536603B2 (en) Light guide and image reading apparatus
JPH10241432A (ja) 照明装置及びこれを具備した情報処理装置
KR102826608B1 (ko) 디스플레이 장치, 백라이트 유닛, 발광모듈 및 렌즈
JP4259377B2 (ja) ライン光源及びイメージセンサ
CN111866300A (zh) 图像读取装置
JPH1175015A (ja) イメージセンサ
JP5618637B2 (ja) 原稿読取用光源装置
JP2012015987A (ja) 線状光源装置および画像読取装置
JP2015231163A (ja) 画像読取装置
JP6497944B2 (ja) 画像読取装置、導光体、照射装置
JP6075216B2 (ja) 照明装置、及びそれを用いた画像読み取り装置
CN101790698A (zh) 光学扫描仪照明系统及方法
CN114143409B (zh) 照明装置及图像读取装置
TWI496450B (zh) 光源模組及具有該光源模組之接觸式影像感測裝置
JP2007310806A (ja) 光学式反射型情報読み取りセンサおよび電子機器
JP6395988B1 (ja) 導光体及び画像読取装置
JP2000125080A (ja) 画像読み取り装置
JP3810928B2 (ja) 画像読み取り装置
CN102221162A (zh) 光源模块及具有该光源模块的接触式图像感测装置
JPH10126572A (ja) 密着型イメージセンサ、画像読み書きヘッド、および画像読み書き装置

Legal Events

Date Code Title Description
A621 Written request for application examination

Free format text: JAPANESE INTERMEDIATE CODE: A621

Effective date: 20060119

A131 Notification of reasons for refusal

Free format text: JAPANESE INTERMEDIATE CODE: A131

Effective date: 20081111

A521 Request for written amendment filed

Free format text: JAPANESE INTERMEDIATE CODE: A523

Effective date: 20081222

TRDD Decision of grant or rejection written
A01 Written decision to grant a patent or to grant a registration (utility model)

Free format text: JAPANESE INTERMEDIATE CODE: A01

Effective date: 20090120

A01 Written decision to grant a patent or to grant a registration (utility model)

Free format text: JAPANESE INTERMEDIATE CODE: A01

A61 First payment of annual fees (during grant procedure)

Free format text: JAPANESE INTERMEDIATE CODE: A61

Effective date: 20090202

FPAY Renewal fee payment (event date is renewal date of database)

Free format text: PAYMENT UNTIL: 20120220

Year of fee payment: 3

R151 Written notification of patent or utility model registration

Ref document number: 4259377

Country of ref document: JP

Free format text: JAPANESE INTERMEDIATE CODE: R151

FPAY Renewal fee payment (event date is renewal date of database)

Free format text: PAYMENT UNTIL: 20120220

Year of fee payment: 3

FPAY Renewal fee payment (event date is renewal date of database)

Free format text: PAYMENT UNTIL: 20130220

Year of fee payment: 4

FPAY Renewal fee payment (event date is renewal date of database)

Free format text: PAYMENT UNTIL: 20130220

Year of fee payment: 4

FPAY Renewal fee payment (event date is renewal date of database)

Free format text: PAYMENT UNTIL: 20140220

Year of fee payment: 5

R250 Receipt of annual fees

Free format text: JAPANESE INTERMEDIATE CODE: R250

R250 Receipt of annual fees

Free format text: JAPANESE INTERMEDIATE CODE: R250

R250 Receipt of annual fees

Free format text: JAPANESE INTERMEDIATE CODE: R250

R250 Receipt of annual fees

Free format text: JAPANESE INTERMEDIATE CODE: R250

R250 Receipt of annual fees

Free format text: JAPANESE INTERMEDIATE CODE: R250

R250 Receipt of annual fees

Free format text: JAPANESE INTERMEDIATE CODE: R250

R250 Receipt of annual fees

Free format text: JAPANESE INTERMEDIATE CODE: R250

R250 Receipt of annual fees

Free format text: JAPANESE INTERMEDIATE CODE: R250

R250 Receipt of annual fees

Free format text: JAPANESE INTERMEDIATE CODE: R250

EXPY Cancellation because of completion of term