JP2005294867A - 窒化物半導体素子の製造方法及び窒化物半導体素子 - Google Patents
窒化物半導体素子の製造方法及び窒化物半導体素子 Download PDFInfo
- Publication number
- JP2005294867A JP2005294867A JP2005186712A JP2005186712A JP2005294867A JP 2005294867 A JP2005294867 A JP 2005294867A JP 2005186712 A JP2005186712 A JP 2005186712A JP 2005186712 A JP2005186712 A JP 2005186712A JP 2005294867 A JP2005294867 A JP 2005294867A
- Authority
- JP
- Japan
- Prior art keywords
- layer
- nitride semiconductor
- active layer
- growth temperature
- temperature
- Prior art date
- Legal status (The legal status is an assumption and is not a legal conclusion. Google has not performed a legal analysis and makes no representation as to the accuracy of the status listed.)
- Pending
Links
Images
Landscapes
- Semiconductor Lasers (AREA)
- Led Devices (AREA)
Abstract
【課題】 活性層とその後に積層する窒化物半導体層の成長温度に起因する活性層の劣化等の問題を解決し、発光特性などの素子特性の優れた窒化物半導体素子を製造する方法を提供する。
【解決手段】 基体10上に気相成長した活性層13がInを含む混晶であり、前記活性層13のIn組成率がX(%)とされ、その気相成長後に積層される全ての窒化物半導体層の成長温度T(℃)が(1080−4.27X)以下の温度とすることにより、活性層13中での例えばIn−Nのボンドが切断されることによる窒素空孔の発生やIn金属化などの問題が未然に防止され該活性層の結晶性を良好に保つことできる。
【選択図】 図1
【解決手段】 基体10上に気相成長した活性層13がInを含む混晶であり、前記活性層13のIn組成率がX(%)とされ、その気相成長後に積層される全ての窒化物半導体層の成長温度T(℃)が(1080−4.27X)以下の温度とすることにより、活性層13中での例えばIn−Nのボンドが切断されることによる窒素空孔の発生やIn金属化などの問題が未然に防止され該活性層の結晶性を良好に保つことできる。
【選択図】 図1
Description
本発明は窒化ガリウム系化合物半導体などの窒化物半導体を基体上に成長させて製造する窒化物半導体素子の製造方法に関し、特に半導体発光ダイオードや半導体レーザーなどの半導体発光素子を製造する窒化物半導体素子の製造方法及び窒化物半導体素子に関する。
GaN、AlGaN、GaInNなどの窒化物(ナイトライド)系III−V族化合物半導体は、その禁制帯幅が1.8eVから6.2eVに亘っており、赤色から紫外線の発光が可能な発光素子の実現が理論上可能であるため、近年、注目を集めている。
この窒化物系III−V族化合物半導体により発光ダイオード(LED)や半導体レーザーを製造する場合には、GaN、AlGaN、GaInNなどを多層に積層し、発光層(活性層)をn型クラッド層およびp型クラッド層によりはさんだ構造を形成する必要がある。このような発光ダイオードまたは半導体レーザーとして、発光層をGaInN/GaN量子井戸構造またはGaInN/AlGaN量子井戸構造としたものがある。
このGaInN/GaN量子井戸構造またはGaInN/AlGaN量子井戸構造を形成する場合には、良好な結晶性を得るために、障壁層であるGaN層またはAlGaN層は1000℃程度の高温で成長させ、井戸層であるGaInN層は700から800℃程度の低温で成長させる必要がある。
しかしながら、井戸層であるGaInN層を700から800℃以下の低温で成長させた後、成長温度を1000℃程度に上昇させて障壁層であるGaN層またはAlGaN層を成長させると、下地のGaInN層が劣化し、発光強度が低下してしまうという問題が生ずる。これは、窒化ガリウム系化合物半導体では一般的に混晶の組成に応じて成長温度が異なっており、通常組成10〜20%のInGaNは700から800℃で成長されるが、GaNの最適な成長温度は1000℃以上である。このため、例えばInGaN層の後にGaN層を成長する場合には、GaNの最適な成長温度を適用するとInGaN層は成長温度よりも高い温度にさらされることになり、活性層の結晶性が低下する。この要因としてはInGaN層中でIn−Nのボンドが切断されることによる窒素空孔の発生とIn金属化などが挙げられる。また低温で積層した層にpn接合など有する場合にはn型もしくはp型不純物原子の拡散などにより特性が著しく悪化する。以上は、GaInN層の劣化についてであるが、同様な劣化は、Inを含む窒化物系III−V族化合物半導体層全般に起こり得るものである。
従って、InGaN層を活性層としてn型GaN層上に、活性層、p型GaN層を積層して作製される半導体発光デバイス(LED、LD)の場合には、InGaN層からなる活性層形成後にp型GaN層もしくはAlGaN層を成長するため活性層の劣化が発生する。特に活性層とp型GaN層の成長温度差が大きくなる長波長発光(可視光)デバイスの作製には性能劣化が顕著に現れる。
このような活性層より上層の成長層の成長温度に起因する問題を解決するための1つの技術として、膜厚が10から40nm程度のGaNキャップ層を低温で形成する方法が知られており、このような技術は特開平10−32349号公報に記載されている。ところが、GaNキャップ層だけを低温とした場合でも、その後に成長する層の成長温度が高い場合、同様なInGaN層からなる活性層の劣化という問題は再度生ずることになり、さらに有効な解決策が模索されているのが現状である。
さらに、活性層保護を目的として活性層形成後の膜の成長温度を下げた場合、一般に窒化ガリウム系化合物半導体は最適な成長温度よりも低い温度では成長ピットを生じやすく、例えば、基本的にn型GaN、InGaN活性層、p型GaNをこの順で積層した半導体発光デバイスではp型GaN層を950℃程度で成長すると成長ピットを生じやすく、リーク電流の増加につながる。これに対してp型GaN層を1000℃以上で成長すると成長ピットのない平坦な膜となるが、上記の理由で活性層の劣化につながることになる。
本発明は上述の技術的な課題に鑑み、活性層とその後に積層する窒化物半導体層の成長温度に起因する従来の問題を解決し、発光特性などの素子特性の優れた窒化物半導体素子を得ることができる窒化物半導体素子の製造方法及び窒化物半導体素子を提供することを目的とする。
本発明による窒化物半導体素子の製造方法は、基体上に気相成長した活性層がInを含む混晶であり、前記活性層のIn組成率がX(%)とされ、その気相成長後に積層される全ての窒化物半導体層の成長温度T(℃)が(1080−4.27X)以下の温度とされることを特徴とし、より好ましくは(980−4.27X)以下の温度とされることを特徴とする。
本発明製造方法によれば、活性層の成長後に積層される全ての窒化物半導体層の成長温度T(℃)は、活性層がInを含む混晶であってIn組成率がX(%)とされる場合に、そのIn組成率の一次関数を上限とするような挙動を示すことが実験データより得られている。すなわち、その実験データに基づき算出したところ、そのような1次関数は(1080−4.27X)で示されることが示されており、活性層の成長後に積層される全ての窒化物半導体層の成長温度T(℃)を(1080−4.27X)以下、より好ましくは(980−4.27X)以下とすることで、活性層の劣化を効果的に抑制することが可能である。
また、本発明の窒化物半導体素子は、第1の窒化物半導体層と、該第1の窒化物半導体層上に積層される活性層と、前記第1の窒化物半導体層と反対導電型とされ前記活性層上に積層される第2の窒化物半導体層とを有し、前記第2の窒化物半導体層の成長温度が900℃以下とされ、且つ前記第2の窒化物半導体層は平坦化面を呈する膜厚を有することを特徴とする。
この窒化物半導体素子によれば、活性層形成後に形成される第2の窒化物半導体層の成長において、900℃以下で成長する層を挿入することで平坦な膜を成長する。この第2の窒化物半導体層の平坦化面を呈する膜厚は、一例として50nm以上であり、望ましくは100nm以上である。窒化物半導体層を窒化ガリウム層とする場合、一般に950℃程度で成長される窒化ガリウム層は成長ピットを生じやすいが、逆にさらに低い900℃以下の低温で成長させた場合では、III族原子の表面拡散長の短くなるため成長ピットの少ない平坦な膜となる。このためデバイスを作製した場合にリーク電流などの低減を実現できる。
本発明の好適な実施形態について図面を参照しながら説明する。
本発明の第1の実施形態の窒化物半導体素子の製造方法は、基体上に活性層を第1の成長温度で気相成長し、その気相成長後に積層される全ての窒化物半導体層の成長温度を前記第1の成長温度から250℃高い温度以下、すなわち、本実施形態では、活性層の成長温度を基準として、それ以降に積層される全部の層の成長温度を活性層の成長温度から250℃高温を上限とし、より好ましくは150℃高い温度以下とする。
本発明の第1の実施形態の窒化物半導体素子の製造方法は、基体上に活性層を第1の成長温度で気相成長し、その気相成長後に積層される全ての窒化物半導体層の成長温度を前記第1の成長温度から250℃高い温度以下、すなわち、本実施形態では、活性層の成長温度を基準として、それ以降に積層される全部の層の成長温度を活性層の成長温度から250℃高温を上限とし、より好ましくは150℃高い温度以下とする。
この方法によれば、活性層形成後に積層される全ての層の成長温度が活性層を形成するための第1の成長温度から250℃高い温度以下、より好ましくは150℃高い温度以下とされ、活性層中での例えばIn−Nのボンドが切断されることによる窒素空孔の発生やIn金属化などが未然に防止されて、活性層の結晶性を良好に維持することが可能となる。
例えば活性層を650℃で成長した場合には900℃より高い温度には上げずに、各層を形成する。その上限よりも成長温度が高い場合には活性層が熱的に安定ではないため、活性層に劣化が生ずる。
例えば活性層を650℃で成長した場合には900℃より高い温度には上げずに、各層を形成する。その上限よりも成長温度が高い場合には活性層が熱的に安定ではないため、活性層に劣化が生ずる。
また、基体上に活性層を気相成長し、その気相成長後に積層される全ての窒化物半導体層の成長温度T(℃)は、活性層の発光波長をλ(nm)とした場合に(1350−0.75λ)以下の温度であることを特徴とし、より好ましくは(1250−0.75λ)以下の温度とされる。
この方法によれば、活性層の成長後に積層される全ての窒化物半導体層の成長温度T(℃)は、活性層の発光波長をλ(nm)とした場合にその発光波長の一次関数を上限とするような挙動を示すことが、実験データより得られており、その実験データに基づく1次関数は(1350−0.75λ)である。従って、活性層の成長後に積層される全ての窒化物半導体層の成長温度T(℃)を(1350−0.75λ)以下とすることで、より好ましくは(1250−0.75λ)以下の温度とすることで活性層の劣化を効果的に抑制することが可能である。
活性層はInを含む混晶とすることができ、代表的な材料はInGaN層である。Inを含むInGaNなどの混晶では長波長ほどInの組成が高く(また、低温で成長され)、In−NのボンドはGa−Nのボンドと比較して熱的に不安定なため、その後の成長温度を低くすることが好ましい。InGaN層で活性層を構成した場合の窒化物半導体素子の発光波長域は、370nm以上640nm以下とされる。ここで、窒化物半導体素子は主に発光ダイオード若しくは半導体レーザーなどの発光素子を含むものである。
[第1の実施形態]
次に、図1乃至図3を参照しながら、本実施形態の窒化物半導体素子の製造方法について説明する。
次に、図1乃至図3を参照しながら、本実施形態の窒化物半導体素子の製造方法について説明する。
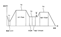
図1は本製造方法における成長温度の変化を示す図であり、低温バッファ層の形成時に成長温度T1(例えば約500℃)であったものが、シリコンドープのn型GaN層を形成する際に成長温度T2(例えば約1020℃)に昇温される。次いで、トリメチルガリウムの供給をいったん停止し、引き続き成長温度をT3(例えば約730℃)まで降温しながらキャリアガスをすべて窒素ガスに切り替えて、Ga原料としてトリメチルガリウム、In原料としてトリメチルインジウムを供給して30ÅのInGaNからなる活性層を形成する。
このInGaNからなる活性層の形成後、成長温度T3で連続してマグネシウムドープのAlGaNを形成し、その後、成長温度T4(例えば900℃)まで昇温しマグネシウムドープのp型GaNを形成している。
この成長温度の変化のグラフからも明らかなように、活性層であるInGaNの成長温度T3とその後に形成されるマグネシウムドープのp型GaNの成長温度T4の差(T4−T3)は、250℃を下回る170℃に過ぎず、従来のGaNの最適温度とされる1020℃ではマグネシウムドープのp型GaNは形成されていない。また、マグネシウムドープのp型GaNは活性層の形成後に成長される層の中で最も高温で成長される層であり、その他の活性層以後の各層はマグネシウムドープのp型GaNの成長温度T4よりは低い温度で形成されている。このため活性層以後の全部の層は活性層の成長温度から250℃高温を上限とする範囲内に収まっており、活性層中での例えばIn−Nのボンドが切断されることによる窒素空孔の発生やIn金属化などが未然に防止されて、活性層の結晶性を良好に維持することが可能となり、発光効率を改善することができる。
このような本実施形態の製造方法について、さらに図2、図3を参照しながらデバイス構造を用いて説明する。
先ず、図示しない有機金属気相成長装置内に2インチのサファイア基板10を設置し、反応炉内にキャリアガスとして例えばH2とN2との混合ガスを流し、例えば1050℃で20分間熱処理を行うことによりそのサファイア基板10の表面をサーマルクリーニングする。次いで、基板温度を例えば510℃(T1)に下げた後、反応炉内にN原料としてのアンモニア(NH3 )およびGa原料としてのトリメチルガリウム(TMGa、Ga(CH3 )3 )を供給し、主面をc面とするサファイア基板10上にGaNバッファ層を成長させる。このようなGaNバッファ層を形成した後、1020℃(T2)でシリコン(Si)ドープのn型GaN層12を3μm成長させる。シリコンの原料はシランガスである。
先ず、図示しない有機金属気相成長装置内に2インチのサファイア基板10を設置し、反応炉内にキャリアガスとして例えばH2とN2との混合ガスを流し、例えば1050℃で20分間熱処理を行うことによりそのサファイア基板10の表面をサーマルクリーニングする。次いで、基板温度を例えば510℃(T1)に下げた後、反応炉内にN原料としてのアンモニア(NH3 )およびGa原料としてのトリメチルガリウム(TMGa、Ga(CH3 )3 )を供給し、主面をc面とするサファイア基板10上にGaNバッファ層を成長させる。このようなGaNバッファ層を形成した後、1020℃(T2)でシリコン(Si)ドープのn型GaN層12を3μm成長させる。シリコンの原料はシランガスである。
トリメチルガリウムの供給をいったん停止し、引き続き成長温度を730℃(T3)まで降温しながらキャリアガスをすべて窒素ガスに切り替えて、Ga原料としてトリメチルガリウム、In原料としてトリメチルインジウムを供給して30ÅのInGaNからなるInGaN活性層13をn型GaN層12上に積層する。
成長温度を730℃(T3)としてInGaN活性層13を形成した後、図1のようにマグネシウムドープのAlGaN層形成することもできるが、AlGaN層を形成しなくとも良い。その後、Ga原料としてトリメチルガリウムとMg原料としてメチルシクロペンタジエニルマグネシウムを供給しながら昇温し、900℃(T4)でマグネシウムドープのp型GaN層14を200nm成長する。このマグネシウムドープのp型GaN層14の成長温度である900℃(T4)がInGaN活性層13の成長温度730℃(T3)から250℃以内の範囲であり、窒素空孔の発生やIn金属化などが未然に防止されて、活性層の結晶性を良好に維持することが可能となり、発光効率を改善することができる。従来の製法ではGaNの最適な成長温度である1020℃でマグネシウムドープのGaNを成長しており、活性層の成長温度よりもかなり高温であるため活性層にIn金属の析出が発生し、発光ダイオードの発光効率が悪いなどの問題が生じていたが、本実施形態によってこのような問題が解決されることになり、発光効率が向上する。
マグネシウムドープのp型GaN層14の成長後、800℃窒素ガス中でのアニールを行い、図3に示すように、p型GaN層14、InGaN活性層13、n型GaN層12の一部を除去して溝16を形成し、その溝16によって露出したn型GaN層12にTi/Al電極15からなるn側電極、p型GaN層14にNi/Pt/Au電極17からなるp側電極をそれぞれ形成Nして半導体発光ダイオードを完成する。
本実施形態では活性層成長温度を活性層13の成長温度に対して250℃以内(900℃-730℃=170℃)に抑えたため、活性層13にIn金属の析出は見られず、発光効率が向上する。通常マグネシウムドープのGaNはキャリア濃度が同一になるような条件で成長しても、図4に示すように結晶性の低下による移動度(mobility)の低下が生ずる。すなわち、成長温度が900℃以下では移動度があまり高くはならないことになり、その結果、素子の抵抗は高くなり、動作電圧は上昇することになる。しかしながら本実施形態では、注入電流に対する発光効率は結果的に上昇しており、デバイス特性が改善されることになる。
なお、本実施形態では、本発明をGaN系半導体発光素子の製造に適用した場合について説明したが、この発明はGaN系電界効果トランジスタ(FET)などのGaN系電子走行素子の製造に適用してもよい。また、上述の各GaN層の代りにAlx Ga1-x N層などを適宜用いることも可能である。
[第2の実施形態]
本実施形態は第1の実施形態とほぼ同様の構造を有するGaN系半導体発光素子を製造する方法の例であり、製造されるGaN系半導体発光素子の発光波長と活性層形成後に積層する窒化物半導体層の成長温度の関係に基づき、前記成長温度を選択してGaN系半導体発光素子を製造する方法を示す例である。
本実施形態は第1の実施形態とほぼ同様の構造を有するGaN系半導体発光素子を製造する方法の例であり、製造されるGaN系半導体発光素子の発光波長と活性層形成後に積層する窒化物半導体層の成長温度の関係に基づき、前記成長温度を選択してGaN系半導体発光素子を製造する方法を示す例である。
まず、本実施形態の技術的思想の根底に在るGaN系半導体発光素子の発光波長と活性層形成後に積層する窒化物半導体層の成長温度の関係について説明する。この関係は、本件発明者らが行った測定データより明らかとなった関係である。ここで測定について説明すると、前述の第1の実施形態のGaN系発光ダイオードと同様な構造あってn型GaN層、InGaN活性層、p型GaN層からなる発光ダイオード構造を活性層の成長条件を変更しながら形成し、その発光波長が異なるようにいくつかの素子を形成した。すなわち、InGaN活性層の発光波長が470nmとなるように成長した場合、その後のp型GaN層をすべて950℃以下で成長した場合には活性層中のIn金属の析出はなく顕著な発光効率の低下は見られなかったが、1020℃まで昇温してp型GaN層を成長した場合には活性層中にIn金属の析出が発生し、注入電流に対しての発光効率は低下した。これは主に析出したIn金属を介して発光に寄与しない無効電流が発生するためと考えられる。InGaN活性層の発光波長が470nmである場合、このような効率の低下の発生する温度はほぼ1000℃であった。また、発光波長が525nmとなるように成長した場合には、効率の低下しないp型GaNの成長温度の上限は950℃であった。さらにInGaN活性層の発光波長を成長400nmとなるように成長した場合には1020℃で成長しても顕著な効率の低下は見られなかった。
以上の測定データをプロットしたグラフが図5である。図5は活性層形成後に積層するp型GaN層の成長温度の上限と活性層の発光波長の関係を示す図である。図5に示すように、活性層形成後に積層するp型GaNの成長温度の上限と活性層の発光波長の関係は線形な関係であり、活性層の気相成長後に積層される全ての窒化物半導体層の成長温度T(℃)は、活性層の発光波長をλ(nm)とした場合に(1350−0.75λ)以下の温度とすることで、活性層の劣化が抑制されることになる。
この窒化物半導体層の成長温度T(℃)と発光波長λ(nm)の間の関係を基礎に発光ダイオードを作成する場合、発光波長λ(nm)が予め決められている場合には、その発光波長に基づき活性層の劣化が発生しないような活性層の気相成長後に積層される全ての窒化物半導体層の成長温度T(℃)を設定することができ、最終的に発光効率の優れた素子を製造できることになる。
[第3の実施形態]
本実施形態は活性層がInの混晶からなるGaN系半導体レーザーの例であり、図6及び図7を参照しながらその製造方法について説明する。
本実施形態は活性層がInの混晶からなるGaN系半導体レーザーの例であり、図6及び図7を参照しながらその製造方法について説明する。
先ず、第1の実施形態と同様にして、例えば1050℃でC面を主面とするサファイア基板20のサーマルクリーニングを行った後、例えば510℃の成長温度でGaNバッファ層若しくはAlNバッファ層を成長させる。このようなGaNバッファ層を形成した後、成長温度を約1020℃まで上昇させた後、アンドープのGaN層21を1μm、シリコン(Si)ドープのn型GaN層22を3μm成長させる。シリコンの原料はシランガスである。
シリコン(Si)ドープのn型GaN層22を形成した後、反応炉内にN原料としてのNH3およびGa原料としてのトリメチルガリウム(TMGa、Ga(CH3)3))に加えてAl原料としてのトリメチルアルミニウム(TMAl、Al(CH3 )3 )を供給し、n型AlGaNクラッド層23を成長させる。
次に、反応炉内へのトリメチルガリウム(TMGa)およびトリメチルアルミニウム(TMAl)の供給を停止し、NH3の供給はそのまま続けながら、成長温度を例えば700〜850℃(例えば、720℃)に下げた後、反応炉内に再びトリメチルガリウム(TMGa)を供給してn型GaNガイド層24を成長させる。次に、成長温度をそのまま700〜850℃に保持した状態で、反応炉内にN原料としてのNH3に加えてGa原料としてのトリメチルガリウム(TMGa)およびIn原料としてのトリメチルインジウム(TMIn)を供給する状態と、In原料としてのトリメチルインジウム(TMIn)の供給を止めながらGa原料としてのトリエチルガリウム(TEGa)の供給を続ける状態とを繰り返して、活性層25をInGaN(30Å)/GaN(50)Åの3周期程度の多重量子井戸(MQW)構造にする。ここで活性層25のIn組成は例えば約15%に設定される。
このような多重量子井戸(MQW)構造の活性層25を形成した後、NH3の供給はそのまま続けながら、成長温度を例えば700〜850℃(例えば、720℃)に維持し、反応炉内に再びトリメチルガリウム(TMGa)を供給してマグネシウムドープのp型GaNガイド層26を成長させる。反応炉内にN原料としてのNH3およびGa原料としてのトリメチルガリウム(TMGa)に加えてAl原料としてのトリメチルアルミニウム(TMAl)を供給し、p型AlGaNクラッド層27を成長させ、さらにトリメチルアルミニウム(TMAl)の供給を停止しながらGa原料としてのトリメチルガリウム(TMGa)とN原料としてのNH3を供給してp型GaNコンタクト層28を形成する。
ここで、活性層25以降の成長層であるp型GaNガイド層26、p型AlGaNクラッド層27、及びp型GaNコンタクト層28はそれぞれの成長温度T(℃)は(1080−4.27X)以下の温度に制御されている。すなわち、前述のように活性層25のIn組成率が15(%)であることから、上記関係式に基づいて約1016℃よりも低い温度に制御される。より詳しくは、p型GaNガイド層26、p型AlGaNクラッド層27は約720℃程度とされ、さらにp型GaNコンタクト層28は約900℃に制御され、それぞれ上限値である約1016℃(=1080−4.27X)よりも低い成長温度であるために、これらp型半導体層は活性層中の例えばIn−Nのボンドが切断されることによる窒素空孔の発生やIn金属化などが未然に防止されて、活性層の結晶性を良好に維持することが可能となり、発光効率を改善することができる。
この成長温度T(℃)の上限は、Inの組成比Xについて(1080−4.27X)となる関係で示されるが、Inの組成比Xが高いほうがより低温で成長する必要性が高く、経験値としてこのようなInの組成比Xについて(1080−4.27X)となる関係が得られている。
p型GaNガイド層26、p型AlGaNクラッド層27、及びp型GaNコンタクト層28の各p型窒化物半導体層を形成した後、図7に示すように、溝30を形成してn型窒化物半導体層であるn型GaN層22の面を露出し、その現れたn型GaN層22の面にn側電極としてAl/Ti電極29が形成され、最上層のp型GaNコンタクト層28上にはNi/Pt/Au電極31が形成される。
このような構造を有する本実施形態にかかるGaN系半導体レーザーは、多重量子井戸(MQW)構造を有する活性層25よりも後のp型GaNガイド層26、p型AlGaNクラッド層27、及びp型GaNコンタクト層28はそれぞれ成長温度がInの組成比Xに基づく上限以下であるため、活性層の劣化が未然に防止されることになり発光効率を高めることができる。
[第4の実施形態]
本実施形態は、第1の実施形態と同様な層構造を有するが、活性層の後で成長される窒化物半導体層の成長温度を900℃以下としその窒化物半導体層は平坦化面を呈する厚みを有することを特徴とする。
本実施形態は、第1の実施形態と同様な層構造を有するが、活性層の後で成長される窒化物半導体層の成長温度を900℃以下としその窒化物半導体層は平坦化面を呈する厚みを有することを特徴とする。
先ず、第1の実施形態と同様に、図示しない有機金属気相成長装置内にサファイア基板を設置し、反応炉内にキャリアガスとして例えばH2とN2との混合ガスを流し、例えば1050℃で20分間熱処理を行うことによりそのサファイア基板の表面をサーマルクリーニングする。次いで、基板温度を例えば510℃に下げた後、反応炉内にN原料としてのアンモニア(NH3 )およびGa原料としてのトリメチルガリウム(TMGa、Ga(CH3 )3 )を供給し、サファイア基板上にGaNバッファ層を成長させる。このようなGaNバッファ層を形成した後、1020℃でアンドープのGaN層を1μm、シリコン(Si)ドープのn型GaN層を3μm成長させる。シリコンの原料はシランガスである。
次にトリメチルガリウムの供給を一旦停止し、引き続き成長温度を730℃まで降温しながらキャリアガスをすべて窒素ガスに切り替えて、Ga原料としてトリメチルガリウム、In原料としてトリメチルインジウムを供給して30ÅのInGaNからなるInGaN活性層をn型GaN層上に積層する。
このようなInGaN活性層を形成した後、Ga原料としてトリメチルガリウムとMg原料としてメチルシクロペンタジエニルマグネシウムを供給しながら昇温し、約800℃でマグネシウムドープのp型GaN層を200nm成長する。この成長温度約800℃は、従来の製造方法と比較すると十分に低い温度であり、この成長温度ではGa原子の表面拡散長が短いためGaN層は一様に堆積し、平坦面を呈する膜として観察される。低温の成長であるため、このp型GaN層はキャリア濃度が1018cm−3程度になるように成長しても950℃で成長したものと比較して移動度が低く(図4)、動作電圧は若干向上しているが、電流注入の均一性もよくリーク電流も減少している。結果として、注入電流に対する発光効率は向上することになる。なお活性層の発光波長は470nmとされる。
一方、成長温度約800℃と言うようなかなりの低温ではなく、p型GaN層をすべて950℃で成長した場合では、活性層のIn析出はみられなかったものの、GaNの最適な成長温度である1000℃以上よりも低いため、表面は6つのS面から構成される逆六角錘形状の成長ピットで覆われる現象が生じ、なかにはp型GaN層の膜厚とほぼ等しい200nm程度の深さを有するピットもInGaN活性層から発生して、作製されたデバイスではこのピット部に電流が集中し、電流注入の均一性は悪く、またリーク電流に発生することが確認されている。
従って、成長温度約800℃としながら表面にピットなどの生じない平坦面を呈する厚みで窒化物半導体層を形成することで、素子特性の優れた半導体発光素子を製造できることになる。すなわち、活性層以降に成長ピットの生じ難い低温成長層を一層でも挿入することで成長ピットによるリーク電流の発生を抑制することができ、例えばGaNの場合、1000℃以上では成長ピットの少ない平坦ステップフロー成長を示すが、それより低い温度では6つのS面からなる逆六角錘形状の成長ピットが多くなる。しかし、さらに成長温度をさげるとIII族原子の表面拡散長が短くなるため逆に成長ピットは低減される。この低温の成長温度では点欠陥などの点で結晶性は悪化し例えば抵抗成分は増大することもあるが、平坦化面が形成されているためデバイス作成時のリーク電流を効果的に抑制することができることになる。
[第5の実施形態]
本実施形態の窒化物半導体素子は、低温で成長され且つ平坦面を呈する半導体層が活性層の後の層の一部に形成される例である。
本実施形態の窒化物半導体素子は、低温で成長され且つ平坦面を呈する半導体層が活性層の後の層の一部に形成される例である。
図8の(a)に示すように、第1の実施形態と同様に、図示しない有機金属気相成長装置内にサファイア基板40を設置し、例えば1050℃で20分間熱処理を行うことによりそのサファイア基板40の表面をサーマルクリーニングし、基板温度を例えば510℃に下げた後、反応炉内にN原料としてのアンモニア(NH3 )およびGa原料としてのトリメチルガリウム(TMGa、Ga(CH3)3 )を供給して、サファイア基板上にGaNバッファ層を成長させる。
このようなGaNバッファ層を形成した後、1020℃でアンドープのGaN層41を1μm、シリコン(Si)ドープのn型GaN層42を3μm成長させる。シリコンの原料はシランガスである。次にトリメチルガリウムの供給を一旦停止し、引き続き成長温度を730℃まで降温しながらキャリアガスをすべて窒素ガスに切り替えて、Ga原料としてトリメチルガリウム、In原料としてトリメチルインジウムを供給して30ÅのInGaNからなるInGaN活性層43をn型GaN層42上に積層する。
このようなInGaN活性層43を形成した後、Ga原料としてトリメチルガリウムとMg原料としてメチルシクロペンタジエニルマグネシウムを供給しながら昇温し、約800℃でマグネシウムドープのp型GaN層44を100nm成長させ、次いで、約950℃でマグネシウムドープのp型GaN層45をさらに100nm成長させる。
成長温度約800℃では、第4の実施形態と同様に、Ga原子の表面拡散長が短いためGaN層は一様に堆積し、平坦面を呈する膜が形成される。このp型GaN層44はキャリア濃度が1018cm−3程度になるように成長され電流注入の均一性もよくリーク電流も減少する。このp型GaN層44の上に形成される成長温度約950℃のp型GaN層45では、ピットが発生するものの、各ピットは950℃で成長したGaN層45の膜厚100Å程度の深さしかなく、全て800℃で成長した場合(第4の実施形態)と比較しても顕著な発光効率の低下とはならない。本件発明者らが行った実験データによっても、全て800℃で成長した場合(第4の実施形態)と比較しても顕著な発光効率の低下とはならないことが確かめられており、このように電極と接する層を高温とすることで電極との接触抵抗を減少でき、動作電圧はp型GaNをすべて800℃で成長した場合よりも低減できることが確認されている。
このような約950℃でマグネシウムドープのp型GaN層45をさらに100nm成長させた後、図8の(b)に示すように、溝46を形成してn型窒化物半導体層であるn型GaN層42の面を露出し、その現れたn型GaN層42の面にn側電極としてAl/Ti電極47が形成され、最上層のp型GaN層45上にはNi/Pt/Au電極48が形成されて、半導体発光ダイオードが完成する。
本実施形態の窒化物半導体素子では、活性層形成後の窒化物半導体層を低温成長ながら平坦化面を呈する膜とそれよりは成長温度の高い膜との組み合わせでとなる構造としており、ピットの発生を防止して電流の集中やリーク電流の発生を防止しながら、且つ電極との接触抵抗を減少できることになる。
[第6の実施形態]
本実施形態は、活性層が電界効果型トランジスタのチャンネル層に適用される電界効果型トランジスタの例である。
本実施形態は、活性層が電界効果型トランジスタのチャンネル層に適用される電界効果型トランジスタの例である。
その構造は、図9に示すように、第1の実施形態と同様に、図示しない有機金属気相成長装置内にサファイア基板50を設置し、例えば1050℃で20分間熱処理を行うことによりそのサファイア基板50の表面をサーマルクリーニングし、基板温度を例えば510℃に下げた後、反応炉内にN原料としてのアンモニア(NH3 )およびGa原料としてのトリメチルガリウム(TMGa、Ga(CH3 )3 )を供給して、サファイア基板上にGaNバッファ層を成長させる。
このようなGaNバッファ層を形成した後、1020℃でアンドープのGaN層51を2μm形成し、さらにガスをトリメチルアルミニウムを含むように切り換えてアンドープのAlGaN層52を2μm形成する。
次にトリメチルガリウムの供給を一旦停止し、引き続き成長温度を800℃まで降温しながらキャリアガスをすべて窒素ガスに切り替えて、Ga原料としてトリメチルガリウム、In原料としてトリメチルインジウムを供給して30ÅのInGaNからなるInGaNチャンネル層53をアンドープのAlGaN層52上に積層する。このときのInの組成率は例えば10%とされる。
このようなInGaNチャンネル層53を形成した後、Ga原料としてトリメチルガリウム、Al原料としてトリメチルアルミニウム、更にSi原料としてシランを供給しながら昇温し、約1040℃以下でシリコンドープのAlGaN層54を成長させて、素子を形成する。
この電界効果型トランジスタは、InGaNチャンネル層53部分が電界効果型トランジスタ(FET)のチャンネル層として機能し、この部分にゲート電極を絶縁膜を介して形成し、所要のゲート電圧を印加することでInGaN活性層53部分を走行する電子(キャリア)を制御し、それによってトランジスタの増幅機能を発揮することが可能である。特に、InGaNチャンネル層53を形成した後のシリコンドープAlGaN層54の成長温度は、約1040℃以下であり、チャンネル層53の成長温度に対して250℃以内(1040℃−800℃=240℃)に抑えられているため、チャンネル層として機能するInGaNチャンネル層53にIn金属の析出などは見られず、デバイス特性が改善されることになる。
上述したように、本発明の窒化物半導体素子の製造方法及び窒化物半導体素子によれば、活性層の成長温度や発光波長に対して、その後に積層する層の成長温度を低減することで活性層の劣化の少ないデバイスが実現できる。特に低い成長温度を必要とする長波長(例えば450nm以下)で発光するデバイスの場合は活性層におけるIn金属の析出なども抑制することができ、発光効率の改善などの性能の向上を実現できる。
また、本発明の窒化物半導体素子によれば、特に活性層形成後に900℃以下で成長する平坦化面を呈する層を挿入することで、単に成長温度を下げただけでは発生しやすい成長ピットの影響を低減でき、注入電流の均一性の向上やリーク電流の抑制を実現できることになる。
10,20、40、50 サファイア基板
21、41、51 アンドープのGaN層
12、22、42 n型GaN層
13、43 InGaN活性層
14、44、45 p型GaN層
23 n型AlGaNクラッド層
24 n型GaNガイド層
25 InGaN/GaN 活性層
26 p型GaNガイド層
27 p型AlGaNクラッド層
28 p型GaNコンタクト層
52 アンドープのAlGaN層
53 InGaNチャンネル層
54 シリコンドープのAlGaN層
21、41、51 アンドープのGaN層
12、22、42 n型GaN層
13、43 InGaN活性層
14、44、45 p型GaN層
23 n型AlGaNクラッド層
24 n型GaNガイド層
25 InGaN/GaN 活性層
26 p型GaNガイド層
27 p型AlGaNクラッド層
28 p型GaNコンタクト層
52 アンドープのAlGaN層
53 InGaNチャンネル層
54 シリコンドープのAlGaN層
Claims (8)
- 基体上に気相成長した活性層がInを含む混晶であり、
前記活性層のIn組成率がX(%)とされ、
その気相成長後に積層される全ての窒化物半導体層の成長温度T(℃)が(1080−4.27X)以下の温度とされる
ことを特徴とする窒化物半導体素子の製造方法。 - 前記気相成長後に積層される全ての窒化物半導体層の成長温度T(℃)は、(980−4.27X)以下の温度であることを特徴とする請求項1に記載の窒化物半導体素子の製造方法。
- 第1の窒化物半導体層と、
該第1の窒化物半導体層上に積層される活性層と、
前記第1の窒化物半導体層と反対導電型とされ前記活性層上に積層される第2の窒化物半導体層とを有し、
前記第2の窒化物半導体層は、成長温度が900℃以下とされ、且つ平坦化面を呈する厚みを有する
ことを特徴とする窒化物半導体素子。 - 前記第2の窒化物半導体層は50nm以上の厚みを有することを特徴とする請求項3に記載の窒化物半導体素子。
- 前記第2の窒化物半導体層は100nm以上の厚みを有することを特徴とする請求項3に記載の窒化物半導体素子。
- 前記第2の窒化物半導体層がp型であることを特徴とする請求項3に記載の窒化物半導体素子。
- 前記第2の窒化物半導体層がn型であることを特徴とする請求項3に記載の窒化物半導体素子。
- 前記窒化物半導体層は窒化ガリウム層であることを特徴とする請求項3に記載の窒化物半導体素子。
Priority Applications (1)
| Application Number | Priority Date | Filing Date | Title |
|---|---|---|---|
| JP2005186712A JP2005294867A (ja) | 2005-06-27 | 2005-06-27 | 窒化物半導体素子の製造方法及び窒化物半導体素子 |
Applications Claiming Priority (1)
| Application Number | Priority Date | Filing Date | Title |
|---|---|---|---|
| JP2005186712A JP2005294867A (ja) | 2005-06-27 | 2005-06-27 | 窒化物半導体素子の製造方法及び窒化物半導体素子 |
Related Parent Applications (1)
| Application Number | Title | Priority Date | Filing Date |
|---|---|---|---|
| JP2001121689A Division JP2002319702A (ja) | 2001-04-19 | 2001-04-19 | 窒化物半導体素子の製造方法、窒化物半導体素子 |
Publications (1)
| Publication Number | Publication Date |
|---|---|
| JP2005294867A true JP2005294867A (ja) | 2005-10-20 |
Family
ID=35327375
Family Applications (1)
| Application Number | Title | Priority Date | Filing Date |
|---|---|---|---|
| JP2005186712A Pending JP2005294867A (ja) | 2005-06-27 | 2005-06-27 | 窒化物半導体素子の製造方法及び窒化物半導体素子 |
Country Status (1)
| Country | Link |
|---|---|
| JP (1) | JP2005294867A (ja) |
Cited By (1)
| Publication number | Priority date | Publication date | Assignee | Title |
|---|---|---|---|---|
| JP2008227104A (ja) * | 2007-03-12 | 2008-09-25 | Denso Corp | レーザ装置及びその製造方法 |
-
2005
- 2005-06-27 JP JP2005186712A patent/JP2005294867A/ja active Pending
Cited By (1)
| Publication number | Priority date | Publication date | Assignee | Title |
|---|---|---|---|---|
| JP2008227104A (ja) * | 2007-03-12 | 2008-09-25 | Denso Corp | レーザ装置及びその製造方法 |
Similar Documents
| Publication | Publication Date | Title |
|---|---|---|
| KR100448662B1 (ko) | 질화물반도체소자 및 그 제조방법 | |
| US6720570B2 (en) | Gallium nitride-based semiconductor light emitting device | |
| JP2002319702A (ja) | 窒化物半導体素子の製造方法、窒化物半導体素子 | |
| CN110233190B (zh) | 发光设备 | |
| CN101373806B (zh) | 闪锌矿型氮化物半导体自支撑衬底、制造方法及发光装置 | |
| JP5322523B2 (ja) | 発光素子及びその製造方法 | |
| JP2006510234A5 (ja) | ||
| JP2008205514A (ja) | Iii−v族窒化物半導体素子 | |
| JP2006510234A (ja) | 窒化物半導体の発光素子及びその製造方法 | |
| JP2008021986A (ja) | 窒化物系半導体発光素子およびその製造方法 | |
| JP5048236B2 (ja) | 半導体発光素子、および半導体発光素子を作製する方法 | |
| JP3740744B2 (ja) | 半導体の成長方法 | |
| CN101765924B (zh) | 半导体发光器件和制造该半导体发光器件的方法 | |
| KR100931509B1 (ko) | 질화물 반도체 발광소자 및 그 제조방법 | |
| JP2006332258A (ja) | 窒化物半導体装置及びその製造方法 | |
| CN105098001A (zh) | 发光设备及其制造方法 | |
| WO2007046465A1 (ja) | 窒化物半導体素子およびその製法 | |
| JP2002208732A (ja) | 化合物半導体装置 | |
| JP5105738B2 (ja) | 窒化ガリウム系化合物半導体積層物の製造方法 | |
| JP2015115343A (ja) | 窒化物半導体素子の製造方法 | |
| KR101172059B1 (ko) | 질화물 반도체 발광소자 및 그 제조방법 | |
| KR100881053B1 (ko) | 질화물계 발광소자 | |
| JP2010021360A (ja) | Iii族窒化物発光素子を製造する方法、及びiii族窒化物発光素子 | |
| JP2005294867A (ja) | 窒化物半導体素子の製造方法及び窒化物半導体素子 | |
| KR101910563B1 (ko) | 전자 블록층을 갖는 질화물 반도체 소자 및 전자 블록층 성장 방법 |
Legal Events
| Date | Code | Title | Description |
|---|---|---|---|
| A131 | Notification of reasons for refusal |
Free format text: JAPANESE INTERMEDIATE CODE: A131 Effective date: 20081111 |
|
| A521 | Written amendment |
Free format text: JAPANESE INTERMEDIATE CODE: A523 Effective date: 20081217 |
|
| A02 | Decision of refusal |
Free format text: JAPANESE INTERMEDIATE CODE: A02 Effective date: 20090609 |