JP2005293770A - 光ピックアップ装置 - Google Patents
光ピックアップ装置 Download PDFInfo
- Publication number
- JP2005293770A JP2005293770A JP2004110334A JP2004110334A JP2005293770A JP 2005293770 A JP2005293770 A JP 2005293770A JP 2004110334 A JP2004110334 A JP 2004110334A JP 2004110334 A JP2004110334 A JP 2004110334A JP 2005293770 A JP2005293770 A JP 2005293770A
- Authority
- JP
- Japan
- Prior art keywords
- spherical aberration
- actuator
- optical
- pickup device
- optical system
- Prior art date
- Legal status (The legal status is an assumption and is not a legal conclusion. Google has not performed a legal analysis and makes no representation as to the accuracy of the status listed.)
- Pending
Links
- 230000003287 optical effect Effects 0.000 title claims abstract description 387
- 230000004075 alteration Effects 0.000 claims abstract description 135
- 239000011241 protective layer Substances 0.000 claims abstract description 74
- 230000004044 response Effects 0.000 claims abstract description 16
- 230000014509 gene expression Effects 0.000 claims description 6
- 239000010410 layer Substances 0.000 description 18
- 235000005811 Viola adunca Nutrition 0.000 description 9
- 240000009038 Viola odorata Species 0.000 description 9
- 235000013487 Viola odorata Nutrition 0.000 description 9
- 235000002254 Viola papilionacea Nutrition 0.000 description 9
- 230000008859 change Effects 0.000 description 9
- 238000004519 manufacturing process Methods 0.000 description 8
- 230000001105 regulatory effect Effects 0.000 description 6
- 238000009826 distribution Methods 0.000 description 5
- 230000004907 flux Effects 0.000 description 5
- 239000004065 semiconductor Substances 0.000 description 5
- 238000010586 diagram Methods 0.000 description 4
- 206010010071 Coma Diseases 0.000 description 3
- 230000008878 coupling Effects 0.000 description 3
- 238000010168 coupling process Methods 0.000 description 3
- 238000005859 coupling reaction Methods 0.000 description 3
- 238000000034 method Methods 0.000 description 3
- 238000006243 chemical reaction Methods 0.000 description 2
- 238000006073 displacement reaction Methods 0.000 description 2
- 230000020169 heat generation Effects 0.000 description 2
- 230000001681 protective effect Effects 0.000 description 2
- 230000009471 action Effects 0.000 description 1
- 230000007423 decrease Effects 0.000 description 1
- 238000001514 detection method Methods 0.000 description 1
- 239000006185 dispersion Substances 0.000 description 1
- 239000000463 material Substances 0.000 description 1
- 238000004904 shortening Methods 0.000 description 1
- 238000003860 storage Methods 0.000 description 1
- 239000000758 substrate Substances 0.000 description 1
Images
Landscapes
- Optical Head (AREA)
Abstract
【課題】
保護層の厚さの異なる3種類もしくはそれ以上の光情報記録媒体に対する情報の記録または再生が可能であるとともに、高密度光ディスクに対する情報の記録及び/または再生中に、発生する球面収差を良好に補正できる光ピックアップ装置を提供する。
【解決手段】
コリメートレンズCOLを、可動範囲が大きく応答周波数帯域が低いアクチュエータAC2と、可動範囲が小さく応答周波数帯域が高いアクチュエータAC3との2つのアクチュエータにより別々に光軸に沿って変移させる構成により、コリメートレンズCOLをアクチュエータAC2により変移させることで、高密度光ディスクHDとDVDとCDの保護層の厚さの差に起因する球面収差を補正し、コリメートレンズCOLをアクチュエータAC3により変移させることで、高密度光ディスクHDに対して情報の記録及び/または再生を行う際に、情報記録面RL1上に形成されたスポットの球面収差を補正することが可能である。
【選択図】 図1
保護層の厚さの異なる3種類もしくはそれ以上の光情報記録媒体に対する情報の記録または再生が可能であるとともに、高密度光ディスクに対する情報の記録及び/または再生中に、発生する球面収差を良好に補正できる光ピックアップ装置を提供する。
【解決手段】
コリメートレンズCOLを、可動範囲が大きく応答周波数帯域が低いアクチュエータAC2と、可動範囲が小さく応答周波数帯域が高いアクチュエータAC3との2つのアクチュエータにより別々に光軸に沿って変移させる構成により、コリメートレンズCOLをアクチュエータAC2により変移させることで、高密度光ディスクHDとDVDとCDの保護層の厚さの差に起因する球面収差を補正し、コリメートレンズCOLをアクチュエータAC3により変移させることで、高密度光ディスクHDに対して情報の記録及び/または再生を行う際に、情報記録面RL1上に形成されたスポットの球面収差を補正することが可能である。
【選択図】 図1
Description
本発明は、光情報記録媒体の情報の記録・再生のための光ピックアップ装置に関するものである。
近年、光ピックアップ装置において、光ディスクに記録された情報の再生や、光ディスクへの情報の記録のための光源として使用されるレーザ光源の短波長化が進み、例えば、青紫色半導体レーザや、第2高調波を利用して赤外半導体レーザの波長変換を行う青紫色SHGレーザ等、波長400〜420nmの青紫色レーザ光源が実用化されつつある。これら青紫色レーザ光源を使用すると、DVD(デジタルバーサタイルディスク)と同じ開口数(NA)の対物光学系を使用する場合で、直径12cmの光ディスクに対して、15〜20GBの情報の記録が可能となり、対物光学系のNAを0.85にまで高めた場合には、直径12cmの光ディスクに対して、23〜25GBの情報の記録が可能となる。以下、本明細書では、青紫色レーザ光源を使用する光ディスク及び光磁気ディスクを総称して「高密度光ディスク」という。
尚、NA0.85の対物光学系を使用する高密度光ディスクでは、光ディスクの傾き(スキュー)に起因して発生するコマ収差が増大するため、DVDにおける場合よりも保護層を薄く設計し(DVDの0.6mmに対して、0.1mm)、スキューによるコマ収差量を低減しているものがある。ところで、かかるタイプの高密度光ディスクに対して適切に情報の記録/再生ができると言うだけでは、光ディスクプレーヤ/レコーダの製品としての価値は十分なものとはいえない。現在において、多種多様な情報を記録したDVDやCD(コンパクトディスク)が販売されている現実をふまえると、高密度光ディスクに対して情報の記録/再生ができるだけでは足らず、例えばユーザが所有しているDVDやCDに対しても同様に適切に情報の記録/再生ができるようにすることが、高密度光ディスク用の光ディスクプレーヤ/レコーダとしての商品価値を高めることに通じるのである。このような背景から、高密度光ディスク用の光ディスクプレーヤ/レコーダに搭載される光ピックアップ装置は、高密度光ディスクとDVD、更にはCDとの何れに対しても互換性を維持しながら適切に情報を記録/再生できる性能を有することが望まれる。
高密度光ディスクとDVD、更にはCDとの何れに対しても互換性を維持しながら適切に情報を記録/再生できるようにする方法として、高密度光ディスク用の光学系とDVDやCD用の光学系とを情報を記録/再生する光ディスクの記録密度に応じて選択的に切り替える方法が考えられるが、複数の光学系が必要となるので、小型化に不利であり、またコストが増大する。
従って、光ピックアップ装置の構成を簡素化し、低コスト化を図るためには、互換性を有する光ピックアップ装置においても、高密度光ディスク用の光学系とDVDやCD用の光学系とを共通化して、光ピックアップ装置を構成する光学部品点数を極力減らすのが好ましい。そして、光ディスクに対向して配置される対物光学系を共通化することが光ピックアップ装置の構成の簡素化、低コスト化に最も有利となる。
ところで、高密度光ディスクを媒体とした光情報記録再生装置の光学系では、記録信号の高密度化、或いは高密度記録信号の再生のために、光源であるレーザの短波長化とともに対物光学系のNA化が図られている。
しかしながら、対物光学系の高NA化が図られてくると、CDやDVDのごとき比較的低密度な光ディスクを記録または再生する場合において、ほとんど無視できた問題でもより顕在化されることが予想される。
その問題の1つが、光ディスクの保護層(「透明基板」ともいう)の厚み誤差により生じる球面収差である。この球面収差は対物光学系のNAの4乗に比例して発生する。NAが比較的小さい従来のCDやDVDの場合には保護層の厚さの誤差による球面収差の発生量は十分小さいので、特別に球面収差を補正する必要はなかった。これに対し、対物光学系のNAが大きくなった場合、例えばNAを0.85とした場合には、保護層の厚み誤差の許容値は10μm以下となってしまう。ところが、現状の光ディスクの製造方法では安定して10μm以下の厚み誤差とすることは難しく、量産として成立しない恐れがある。したがって、光ピックアップ装置に光ディスクの保護層の厚み誤差による球面収差を補正する機能を搭載する。情報の記録/再生時の高密度光ディスクの回転速度は、DVDやCDのような従来の光ディスクに比べて早いため、高密度光ディスクの回転に追従して保護層の厚み誤差による球面収差補正を行うためには、応答速度の速いアクチュエータが要求される。
また、高密度光ディスクの規格の1つとして、0.1mm程度の保護層を用いることが提案されている。これは、対物光学系が高NA化されることにより光ディスクのそりや傾きによって大きく生じるコマ収差を抑えるためである。ところが、これによりCDやDVDと大きく保護層の厚さが異なってしまうので、少なくとも共通の対物レンズを用いることにより、コストを大幅に増大させることなく、これらの様々な規格の光ディスクの間の互換性をとることが要求される。
また、同一光束入射面側から保護層と情報記録層とを交互に2層積層した構造とすることで、記憶容量を2倍に高めた、いわゆる2層記録型の高密度光ディスクの開発が行われているが、高密度光ディスクでは、DVDよりも高NAの対物光学系を使用するので、このような2層記録型の高密度光ディスクを記録/再生しようとすると、情報記録層間のフォーカスジャンプの際に光束入射面からそれぞれの情報記録層までの厚さの違いによって球面収差が大きく発生してしまう。従って、高密度光ディスクシステムでは、情報記録層間のフォーカスジャンプの際は、対物レンズのフォーカシングを行うと同時に球面収差の補正も行わなければならない。
また、プラスチックレンズは、安価に安定した性能で大量生産が可能であるため、DVDやCDの対物光学系として広く使用されている。然るに、高密度光ディスクシステムにおいて対物光学系をプラスチックレンズとした場合には、温度変化に伴うプラスチックレンズの屈折率変化に起因して大きな球面収差が発生するため、温度変化に追従してかかる球面収差の補正を行う必要がある。
これらの問題を解決する手段として本発明者は、正レンズと負レンズとからなり、そのうち少なくとも一方を光軸に沿って変移可能としたビームエキスパンダを有する集光光学系を提案した(特許文献1)。さらに、光源からの発散光の発散角を変えるカップリングレンズを光軸に沿って変移可能とした集光光学系を提案した(特許文献2)。これらの集光光学系では、集光光学系中の可動要素の初期位置を変化させ、対物光学系に入射する光束の発散度を変えることで、高密度光ディスクと従来の光ディスクの両方に対して1つの光学系で情報の記録/再生を行うことが可能であり、更に、高密度光ディスクの保護層の厚み誤差による球面収差の補正や、2層以上の多層記録型の高密度光ディスクの情報の記録/再生や、プラスチックレンズの温度変化に伴う球面収差補正を行うことが可能となっている。
特開2002−82280号公報
特開2002−203333号公報
特開2002−334476号公報
しかしながら、特許文献1,2の集光光学系では、規格の異なる光ディスクの情報記録面のそれぞれの情報記録面に対し、保護層の厚さの違いによる球面収差を補正して良好なスポットを形成するのに必要な球面収差補正手段の可動要素の変移量は大きくなりがちであるので、可動域の大きなアクチュエータが必要である。しかし、一般に可動域の大きなアクチュエータは駆動速度が遅く、また精緻に可動要素の変移量を制御することは困難である。高密度光ディスクの対物光学系のNAは大きいため、球面収差補正手段の可動要素の位置誤差が大きいと、対物光学系の倍率誤差により球面収差が発生し、高密度光ディスクの情報記録面に形成されたスポットの正確な球面収差補正が行えない虞がある。一方、特許文献3においては、2つのアクチュエータを組み合わせて光学素子を駆動する光ピックアップ装置が開示されているが、これは2種類の光ディスクに対して情報の記録及び/又は再生を行うものであり、3種類以上の光ディスクに対して情報の記録及び/又は再生を行うことに関しては具体的な言及がない。
本発明は、このような問題に鑑みて提案されたものであり、保護層の厚さの異なる3種類もしくはそれ以上の光情報記録媒体に対する情報の記録または再生が可能であるとともに、高密度光ディスクに対する情報の記録及び/または再生中に、発生する球面収差を良好に補正できる光ピックアップ装置を提供することを目的とする。
請求項1に記載の光ピックアップ装置は、第1光源と、第2光源と、第3光源と、対物光学系とを有し、前記第1光源から射出される第1波長λ1の光束を前記対物光学系を介して、厚さt1の保護層を有する第1光情報記録媒体の情報記録面に集光させることによって情報の再生及び/又は記録を行い、前記第2光源から射出される第2波長λ2(λ2>λ1)の光束を前記対物光学系を介して、厚さt2(t2≧t1)の保護層を有する第2光情報記録媒体の情報記録面に集光させることによって情報の再生及び/又は記録を行い、前記第3光源から射出される第3波長λ3(λ3>λ2)の光束を前記対物光学系を介して、厚さt3(t3>t2)の保護層を有する第3光情報記録媒体の情報記録面に集光させることによって情報の再生及び/又は記録を行う光ピックアップ装置であって、
前記第1光源乃至第3光源と前記集光素子との間の光路中に、球面収差補正手段が設けられ、
前記球面収差補正手段は、光軸方向に沿って移動可能な可動レンズ群を少なくとも1つと、前記可動レンズ群を移動させるためのアクチュエータを少なくとも2つ有し、前記可動レンズ群を前記アクチュエータにより光軸方向に移動させることで、球面収差の補正を行うことを特徴とする。
前記第1光源乃至第3光源と前記集光素子との間の光路中に、球面収差補正手段が設けられ、
前記球面収差補正手段は、光軸方向に沿って移動可能な可動レンズ群を少なくとも1つと、前記可動レンズ群を移動させるためのアクチュエータを少なくとも2つ有し、前記可動レンズ群を前記アクチュエータにより光軸方向に移動させることで、球面収差の補正を行うことを特徴とする。
請求項2に記載の光ピックアップ装置は、請求項1に記載の発明において、前記2つのアクチュエータを第1アクチュエータ、第2アクチュエータとしたとき、以下の(1)式及び(2)式を満たすことを特徴する。
ΔL1>ΔL2 (1)
ΔSA1>ΔSA2 (2)
但し、
ΔL1:前記第1アクチュエータの可動範囲(mm)
ΔL2:前記第2アクチュエータの可動範囲(mm)
ΔSA1:前記第1アクチュエータが補正可能な球面収差量
ΔSA2:前記第2アクチュエータが補正可能な球面収差量
ΔL1>ΔL2 (1)
ΔSA1>ΔSA2 (2)
但し、
ΔL1:前記第1アクチュエータの可動範囲(mm)
ΔL2:前記第2アクチュエータの可動範囲(mm)
ΔSA1:前記第1アクチュエータが補正可能な球面収差量
ΔSA2:前記第2アクチュエータが補正可能な球面収差量
請求項3に記載の光ピックアップ装置は、請求項2に記載の発明において、以下の(3)式を満たすことを特徴とする。
F1<F2 (3)
但し、
F1:前記第1アクチュエータの応答周波数帯域(kHz)
F2:前記第2アクチュエータの応答周波数帯域(kHz)
F1<F2 (3)
但し、
F1:前記第1アクチュエータの応答周波数帯域(kHz)
F2:前記第2アクチュエータの応答周波数帯域(kHz)
請求項4に記載の光ピックアップ装置は、請求項2又は3に記載の発明において、前記球面収差補正手段は、前記t1と前記t2の差に起因する球面収差及び/又は前記t1と前記t3の差に起因する球面収差を、主として、前記第1アクチュエータにより前記可動レンズ群を移動させることにより補正することを特徴とする。
請求項5に記載の光ピックアップ装置は、請求項4に記載の発明において、前記球面収差補正手段は、前記t1と前記t2の差に起因する球面収差及び/又は前記t1と前記t3の差に起因する球面収差を補正する際に、前記第1アクチュエータにより前記可動レンズ群を粗動させたあと、前記第2アクチュエータにより前記可動レンズ群を微動させることを特徴とする。保護層の厚さの異なる光情報記録媒体を変更する場合、可動要素の初期位置決めを、第1のアクチュエータで粗動させ、その後に第2のアクチュエータで微動させることにより、正確にかつ高速に行うことができる。
請求項6に記載の光ピックアップ装置は、請求項2〜5のいずれかに記載の発明において、前記球面収差補正手段は、前記第1光情報記録媒体に対して情報の記録及び/又は再生を行う際に発生する球面収差を、主として、前記第2アクチュエータにより前記可動レンズ群を移動させることにより補正することを特徴とする。
上述の構成により、保護層と情報記録層とが複数積層された光情報記録媒体に対して情報の記録または再生を行う際に保護層の厚さの違いに起因して発生する球面収差の変動を第1のアクチュエータにより可動要素を比較的大きな変移量で変移させて補正でき、また、記録または再生中に集光光学系で発生する球面収差の変動を第2のアクチュエータにより可動要素を比較的高速にかつ精緻に変移させてリアルタイムに補正することができる。また、異なる記録層で記録または再生を行うように変更する場合、可動要素の初期位置決めを、第1のアクチュエータで粗動させ、その後に第2のアクチュエータで微動させることにより、正確にかつ高速に行うことができる。
請求項7に記載の光ピックアップ装置は、請求項1〜6のいずれかに記載の発明において、前記対物光学系は、第1波長λ1と厚さt1の保護層との組合せに対して球面収差補正が最適化されていることを特徴とする。
請求項8に記載の光ピックアップ装置は、請求項7に記載の発明において、前記対物光学系は、単レンズであることを特徴とする。
請求項9に記載の光ピックアップ装置は、請求項1〜6のいずれかに記載の発明において、前記対物光学系は、前記第1波長λ1と前記第2波長λ2の差に起因して前記集光素子で発生する球面収差及び/又は前記t1と前記t2の差に起因する球面収差を補正する機能を有する位相構造を有することを特徴とする。
請求項10に記載の光ピックアップ装置は、請求項1〜9のいずれかに記載の発明において、前記第1光源乃至前記第3光源の全てが一体化されて成ることを特徴とする。
規格が互いに異なる光情報記録媒体間の保護層の厚さの差に起因する球面収差量は大きいため、球面収差補正手段の可動レンズ群を変異させるアクチュエータには大きい可動範囲が要求される。一方で、この球面収差は、光ピックアップ装置により情報の記録/再生を行う前にこれを補正すればよいため、アクチュエータには高い周波数帯域が要求されない。そこで、球面収差補正手段の可動レンズ群を可動範囲が大きく、応答周波数帯域が低い第1アクチュエータにより可動レンズ群を変移させることで、規格が互いに異なる光情報記録媒体間の保護層の厚さの差に起因する球面収差を補正する。
また、高密度光ディスクに対して情報の記録および/または再生を行う際に情報記録面上に形成したスポットの球面収差を補正する場合には、対物光学系のNAが大きいため、球面収差補正手段の可動レンズ群の位置誤差が大きいと、対物光学系の倍率誤差により球面収差が発生し正確な球面収差補正が行えない。そこで、可動レンズ群を駆動させるアクチュエータには、精緻に位置制御を行える性能が要求される。また、情報の記録/再生時の高密度光ディスクの回転速度は、DVDやCDのような従来の光ディスクに比べて早いため、高密度光ディスクの回転に追従して球面収差補正を行うためには、応答速度の速いアクチュエータが要求される。一方で、高密度光ディスクのNAは大きいので、可動レンズ群を少し移動させるだけで比較的大きな球面収差を発生させることが出来るため、可動レンズ群を駆動させるアクチュエータにはそれほど大きな可動範囲は要求されない。そこで、可動範囲は小さいが、応答周波数帯域が高い第2アクチュエータにより球面収差補正手段の可動レンズ群を変移させることで、高密度光ディスクに対して情報の記録および/または再生を行う際に情報記録面上に形成したスポットの球面収差を補正する。
この際、高密度光ディスクに対して情報の記録および/または再生を行う際に、球面収差補正手段の可動レンズ群の位置調整により補正する球面収差の発生原因は、例えば、第1光源の製造誤差による波長ばらつき、温度変化に伴う対物光学系の屈折率変化や屈折率分布、2層ディスク、4層ディスク等の多層記録型の高密度光ディスクの情報記録層間のフォーカスジャンプ、高密度光ディスクの保護層の製造誤差による厚みばらつきや厚み分布、等である。
上述の構成により、保護層の厚さの異なる光情報記録媒体に対して情報の記録または再生を行う際に保護層の厚さの違いに起因して発生する球面収差の変動を第1のアクチュエータにより可動レンズ群を比較的大きな変移量で変移させて補正でき、また、高密度光ディスクに対して情報の記録または再生中に集光光学系で発生する球面収差の変動を第2のアクチュエータにより可動レンズ群を比較的高速にかつ精緻に変移させることができる。
尚、前記第1アクチュエータはステッピングモータやソレノイドであることにより可動レンズ群の可動範囲を大きくでき、また、前記第2アクチュエータはボイスコイルアクチュエータまたは圧電素子を利用したアクチュエータであることにより可動レンズ群を精緻にかつ高速に可動できる。
ステッピングモータやボイスコイルアクチュエータにより光学素子を光軸方向に移動させる技術は公知であるのでここでは詳細な説明は割愛する。また、圧電素子を利用したアクチュエータとしては、以下の文献に記載されているような、圧電素子を用いた小型リニアアクチュエータを使用することが出来る。
OPTICS DESIGN,No.26,16−21(2002)
OPTICS DESIGN,No.26,16−21(2002)
更に、前記球面収差補正手段の可動レンズ群はプラスチック材料から形成されていることが好ましい。このように可動レンズ群を軽量に構成することより、アクチュエータの駆動電流が小さくてすみ、より小型のアクチュエータを用いることができるので、光ピックアップ装置の小型化、軽量化を図ることができる。
また、前記球面収差補正手段の可動レンズ群は、1つでもあってもよいし2つであってもよい。即ち、第1アクチュエータと第2アクチュエータは同一の可動レンズ群を変移させる構成であってもよいし、第1アクチュエータと第2アクチュエータが別々の可動レンズ群を変移させる構成であってもよい。
また、規格が互いに異なる光情報記録媒体間の保護層の厚さの差に起因する球面収差を補正する際には、まず、第1アクチュエータにより可動レンズ群を粗動させた後に、第2アクチュエータにより可動レンズ群を微動させる構成としてもよい。これにより、可動レンズ群の位置決めを精緻に行うことができるので、より正確に球面収差の補正が行える。
上述した球面収差補正手段の具体的な形態としては、第1光源から射出される発散光束の発散角を変換して対物光学系に導くためのカップリングレンズであってもよいし、第1光源から射出される発散光束を平行光束に変換して対物光学系に導くためのコリメートレンズであってもよいし、第1光源から射出される発散光束の発散角を変換して対物光学系に導くためのカップリングレンズと対物光学系との間の光路中に配設されたエキスパンダー光学系であってもよい。
また、一般的に光学素子は、波長が短くなるほど、或いはNAが大きくなるほどその特性を出すことが難しくなる。そこで、対物光学系として、第1波長λ1と厚さt1の保護層の組合せに対して最適化された高密度光ディスク専用の対物光学系を使用する構成として、DVDやCDに対する互換は、球面収差補正手段の可動レンズ群を第1アクチュエータにより変移させて対物光学系の倍率を変化させることで行うのが好ましい。
より好ましくは、上記高密度光ディスク専用の対物光学系を、単レンズ構成とすることである。これにより、最も簡略な構成の対物光学系で、高密度光ディスク、DVD、CDに対してコンパチブルに情報の記録及び/または再生を行える光ピックアップ装置を提供できる。
或いは、対物光学系に厚さt1の保護層と厚さt2の保護層の差に起因する球面収差を補正するための位相構造を形成する構成としてもよい。この場合には、位相構造の機能により、高密度光ディスクと、DVDとの互換を行うことが可能となり、球面収差補正手段の機能により、高密度光ディスクCDとの互換を行うことが可能となる。ここで、位相構造は、第1波長λ1と第2波長λ2の差に起因して集光素子で発生する球面収差及び/又はt1とt2の差に起因する球面収差を補正する機能を有する。前者の場合は、t1とt2とが互いに同じである場合に相当し(例えば、t1=0.6mmのHD DVD(後述)とt2=0.6mmのDVD)、後者の場合は、t1とt2とが互いに異なる場合に相当する(例えば、t1=0.1mmのブルーレイディスク(後述)とt2=0.6mmのDVD)。対物光学系を上記のような構成とすることにより、DVDに対する情報の記録及び/または再生時の対物光学系の倍率を0(無限共役)とすることができ、対物光学系のトラッキング特性を良好なものにすることが可能となる。
また、また本発明による光ピックアップ装置は、波長が互いにことなる3つの光源をそれぞれ別体で配設構成に対しても適用可能であるが、3つの光源のうち少なくとも2つの光源が一体化された光源を使用すると、光ピックアップ装置の小型化やコストの削減に有利となる。特に、3つの光源全てが一体化された光源を使用するのが好ましい。これらの複数の光源が一体化された光源として、それぞれの光源の発光点を1つの半導体チップ上に形成した光源(所謂、1チップレーザ)を使用してもよいし、それぞれの光源を1つの筐体に納めた光源(所謂、1キャンレーザ)を使用しても良い。また、これらの複数の光源が一体化された光源と、光検出器とを更に一体化した光源モジュールを使用してもよい。
本明細書においては、情報の記録/再生用の光源として、青紫色半導体レーザや青紫色SHGレーザを使用する光ディスク(光情報記録媒体ともいう)を総称して「高密度光ディスク」といい、NA0.85の対物光学系により情報の記録/再生を行い、保護層の厚さが0.1mm程度である規格の光ディスク(例えば、BD:ブルーレイディスク)の他に、NA0.65乃至0.67の対物光学系により情報の記録/再生を行い、保護層の厚さが0.6mm程度である規格の光ディスク(例えば、HD DVD)も含むものとする。また、このような保護層をその情報記録面上に有する光ディスクの他に、情報記録面上に数〜数十nm程度の厚さの保護膜を有する光ディスクや、保護層或いは保護膜の厚さが0の光ディスクも含むものとする。また、本明細書においては、高密度光ディスクには、情報の記録/再生用の光源として、青紫色半導体レーザや青紫色SHGレーザを使用する光磁気ディスクも含まれるものとする。
更に、本明細書においては、DVDとは、DVD−ROM、DVD−Video、DVD−Audio、DVD−RAM、DVD−R、DVD−RW、DVD+R、DVD+RW等のDVD系列光ディスクの総称であり、CDとは、CD−ROM、CD−Audio、CD−Video、CD−R、CD−RW等のCD系列光ディスクの総称である。記録密度は、高密度光ディスクが最も高く、次いでDVD、CDの順に低くなる。
また、本明細書において、「対物光学系」とは、光ピックアップ装置において光ディスクに対向する位置に配置され、光源から射出された波長が互いに異なる光束を、記録密度が互いに異なる光ディスクのそれぞれの情報記録面上に集光する機能を有する集光素子を少なくとも含む光学系を指す。対物光学系は集光素子のみから構成されていても良く、かかる場合には、集光素子の光学面上に位相構造が形成される。
更に、上述の集光素子と一体となってアクチュエータによりトラッキング及びフォーカシングを行う光学素子がある場合には、これら光学素子と集光素子とから構成される光学系が対物光学系となる。対物光学系がこのように、複数の光学素子から構成される場合には、集光素子の光学面上に位相構造を形成しても良いが、位相構造の段差部分による光束のけられの影響を低減するためには、集光素子以外の光学素子の光学面上に位相構造を形成するのが好ましい。
本発明によれば、保護層の厚さの異なる3種類もしくはそれ以上の光情報記録媒体に対する情報の記録または再生が可能であるとともに、高密度光ディスクに対する情報の記録及び/または再生中に、発生する球面収差を良好に補正できる光ピックアップ装置を提供することができる。
以下、本発明による第1及び第2の実施の形態の光ピックアップ装置について図面を用いて説明する。
[第1の実施の形態]
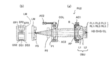
図1(a)は、高密度光ディスクHDとDVDとCDの何れに対しても適切に情報の記録/再生を行える第1の光ピックアップ装置PU1の構成を概略的に示す図であり、図1(b)は、第1の光ピックアップ装置PU1に用いる光源ユニットの正面図である。高密度光ディスクHDの光学的仕様は、波長λ1=408nm、保護層PL1の厚さt1=0.1mm、開口数NA1=0.85であり、DVDの光学的仕様は、波長λ2=658nm、保護層PL2の厚さt2=0.6mm、開口数NA2=0.65であり、CDの光学的仕様は、波長λ3=785nm、保護層PL3の厚さt2=1.2mm、開口数NA3=0.45である。但し、波長、保護層の厚さ、及び開口数の組合せはこれに限られない。
図1(a)は、高密度光ディスクHDとDVDとCDの何れに対しても適切に情報の記録/再生を行える第1の光ピックアップ装置PU1の構成を概略的に示す図であり、図1(b)は、第1の光ピックアップ装置PU1に用いる光源ユニットの正面図である。高密度光ディスクHDの光学的仕様は、波長λ1=408nm、保護層PL1の厚さt1=0.1mm、開口数NA1=0.85であり、DVDの光学的仕様は、波長λ2=658nm、保護層PL2の厚さt2=0.6mm、開口数NA2=0.65であり、CDの光学的仕様は、波長λ3=785nm、保護層PL3の厚さt2=1.2mm、開口数NA3=0.45である。但し、波長、保護層の厚さ、及び開口数の組合せはこれに限られない。
光ピックアップ装置PU1は、高密度光ディスクHDに対して情報の記録/再生を行う場合に発光され408nmのレーザ光束(第1光束)を射出する第1の発光点EP1(第1光源)と、DVDに対して情報の記録/再生を行う場合に発光され658nmのレーザ光束(第2光束)を射出する第2の発光点EP2(第2光源)と、CDに対して情報の記録/再生を行う場合に発光され785nmのレーザ光束(第3光束)を射出する第3の発光点EP3(第3光源)と、高密度光ディスクHDの情報記録面RL1からの反射光束を受光する第1の受光部DS1と、DVDの情報記録面RL2からの反射光束を受光する第2の受光部DS2と、CDの情報記録面RL3からの反射光束を受光する第3の受光部DS3と、プリズムPSとから構成されたレーザモジュールLM、波長λ1と保護層PL1の厚さt1とに対して球面収差補正が最適化された高密度光ディスクHD専用の対物光学系OBJ、DVD/CD用の開口制限素子AP、対物光学系OBJと開口制限素子APとの相対位置が不変となるように保持するための保持部材B、対物光学系OBJをフォーカシング/トラッキング駆動させるための2軸アクチュエータAC1、コリメートレンズCOL、負レンズE1と正レンズE2とから構成されたエキスパンダー光学系EXP、負レンズE1(可動レンズ群)を光軸方向に駆動させるための1軸アクチュエータAC2(第1アクチュエータ)、正レンズE2を(可動レンズ群)を光軸方向に駆動させるための1軸アクチュエータAC3(第2アクチュエータ)とから構成されている。本実施の形態においては、球面収差補正手段は、エキスパンダー光学系EXPと1軸アクチュエータAC2と1軸アクチュエータAC3とから構成される。
尚、本実施の形態においては、以下の(1)〜(3)式を満たす。
ΔL1>ΔL2 (1)
ΔSA1>ΔSA2 (2)
F1<F2 (3)
但し、
ΔL1:アクチュエータAC2の可動範囲(mm)
ΔL2:アクチュエータAC3の可動範囲(mm)
ΔSA1:アクチュエータAC2が補正可能な球面収差量
ΔSA2:アクチュエータAC3が補正可能な球面収差量
F1:アクチュエータAC2の応答周波数帯域(kHz)
F2:アクチュエータAC3の応答周波数帯域(kHz)
ΔL1>ΔL2 (1)
ΔSA1>ΔSA2 (2)
F1<F2 (3)
但し、
ΔL1:アクチュエータAC2の可動範囲(mm)
ΔL2:アクチュエータAC3の可動範囲(mm)
ΔSA1:アクチュエータAC2が補正可能な球面収差量
ΔSA2:アクチュエータAC3が補正可能な球面収差量
F1:アクチュエータAC2の応答周波数帯域(kHz)
F2:アクチュエータAC3の応答周波数帯域(kHz)
光ピックアップ装置PU1において、高密度光ディスクHDに対して情報の記録/再生を行う場合には、エキスパンダーレンズEXPから第1光束が平行光束の状態で射出されるように、1軸アクチュエータAC2により負レンズE1を所定位置(図1(a)でポジションP1)に移動させる。その後、レーザモジュールLMを作動させて第1の発光点EP1を発光させる。第1の発光点EP1から射出された発散光束は、図1(a)において実線でその光線経路を描いたように、プリズムPSで反射され、コリメートレンズCOLを経て平行光束とされ、エキスパンダー光学系EXPにより光束径が拡径され、図示しない絞りSTOにより光束径が規制され、開口制限素子APを透過し、対物光学系OBJによって第1保護層PL1を介して情報記録面RL1上に形成されるスポットとなる。対物光学系OBJは、その周辺に配置された2軸アクチュエータAC1によってフォーカシングやトラッキングを行う。情報記録面RL1で情報ピットにより変調された反射光束は、再び対物光学系OBJ、開口制限素子AP、エキスパンダー光学系EXPを透過し、コリメートレンズCOLによって収斂光束とされ、プリズムPS内部で2回反射され受光部DS1に集光する。そして、受光部DS1の出力信号を用いて高密度光ディスクHDに記録された情報を読み取ることができる。
この際、正レンズE2を1軸アクチュエータAC3により光軸方向に駆動させることで、高密度光ディスクHDの情報記録面RL1上に形成されたスポットの球面収差を補正する。正レンズE2の位置調整により補正する球面収差の発生原因は、例えば、第1光源の製造誤差による波長ばらつき、温度変化に伴う対物光学系OBJの屈折率変化や屈折率分布、2層ディスク、4層ディスク等の多層記録型の高密度光ディスクの情報記録層間のフォーカスジャンプ、保護層PL1の製造誤差による厚みばらつきや厚み分布、等である。
高密度光ディスクHDの開口数NA1が大きいため、球面収差を補正する際に正レンズE2の光軸方向の位置誤差が大きいと、対物光学系OBJの倍率誤差により球面収差が発生し、情報記録面RL1上に形成されたスポットの正確な球面収差補正が行えない。そこで、正レンズE2を駆動させる1軸アクチュエータAC3には、精緻に位置制御を行える性能が要求される。また、情報の記録/再生時の高密度光ディスクHDの回転速度は、DVDやCDのような従来の光ディスクに比べて早いため、高密度光ディスクHDの回転に追従して球面収差補正を行うためには、応答速度の速いアクチュエータが要求される。一方で、高密度光ディスクHDの開口数NA1は大きいので、正レンズE2を少し移動させるだけで比較的大きな球面収差を発生させることが出来るため、正レンズE2を駆動させる1軸アクチュエータAC3にはそれほど大きな可動範囲は要求されない。このような特性を有するアクチュエータとして、ボイスコイルアクチュエータや圧電素子を利用したアクチュエータがある。尚、保護層の厚さの異なる光ディスクを変更する場合、正レンズE2の初期位置決めを、1軸アクチュエータAC2で粗動させ、その後に1軸アクチュエータAC3で微動させることにより、正確にかつ高速に行うことができるので好ましい。
また、光ピックアップ装置PU1においてDVDに対して情報の記録/再生を行う場合には、保護層PL1の厚さt1と保護層PL2の厚さt2との差に起因する球面収差が補正されるように、負レンズE1と正レンズE2との間の距離が、高密度光ディスクHDに対して情報の記録/再生を行う場合よりも小さくなる位置(図1(a)でポジションP2)に1軸アクチュエータAC2により負レンズE1を移動させる。その後、レーザモジュールLMを作動させて第2の発光点EP2を発光させる。第2の発光点EP2から射出された発散光束は、図1(a)において点線でその光線経路を描いたように、プリズムPSで反射され、コリメートレンズCOLを経て略平行光束とされ、エキスパンダー光学系EXPを透過することにより発散光束に変換され、開口制限素子APにより光束径が規制された後、対物光学系OBJによって第2保護層PL2を介して情報記録面RL2上に形成されるスポットとなる。対物光学系OBJは、その周辺に配置された2軸アクチュエータAC1によってフォーカシングやトラッキングを行う。情報記録面RL2で情報ピットにより変調された反射光束は、再び対物光学系OBJ、開口制限素子AP、エキスパンダー光学系EXPを透過し、コリメートレンズCOLによって収斂光束とされ、プリズムPS内部で2回反射され受光部DS2に集光する。そして、受光部DS2の出力信号を用いてDVDに記録された情報を読み取ることができる。
また、光ピックアップ装置PU1においてCDに対して情報の記録/再生を行う場合には、保護層PL1の厚さt1と保護層PL3の厚さt3との差に起因する球面収差が補正されるように、負レンズE1と正レンズE2との間の距離が、DVDに対して情報の記録/再生を行う場合よりも小さくなる位置(図1(a)でポジションP3)に1軸アクチュエータAC1により負レンズE1を移動させる。その後、レーザモジュールLMを作動させて第3の発光点EP3を発光させる。第3の発光点EP3から射出された発散光束は、図1(a)において二点鎖線でその光線経路を描いたように、プリズムPSで反射され、コリメートレンズCOLを経て略平行光束とされ、エキスパンダー光学系EXPを透過することにより発散光束に変換され、開口制限素子APにより光束径が規制された後、対物光学系OBJによって第3保護層PL3を介して情報記録面RL3上に形成されるスポットとなる。対物光学系OBJは、その周辺に配置された2軸アクチュエータAC1によってフォーカシングやトラッキングを行う。情報記録面RL3で情報ピットにより変調された反射光束は、再び対物光学系OBJ、開口制限素子AP、エキスパンダー光学系EXPを透過し、コリメートレンズCOLによって収斂光束とされ、プリズムPS内部で2回反射され受光部DS3に集光する。そして、受光部DS3の出力信号を用いてCDに記録された情報を読み取ることができる。
保護層PL1の厚さt1と保護層PL2の厚さt2の差や、保護層PL1の厚さt1と保護層PL3の厚さt3との差に起因する球面収差量が大きいため、負レンズE1を大きく移動させる必要がある。一方で、DVDの開口数NA2やCDの開口数NA3は、高密度光ディスクHDの開口数NA1に比べて小さいので、球面収差を補正する際の負レンズE1の光軸方向の位置誤差に対しては比較的許容幅が大きい。このような特性を有するアクチュエータとして、ソレノイドやステッピングモータがある。
本実施の形態では、負レンズE1を1軸アクチュエータAC2で駆動させ、正レンズE2を1軸アクチュエータAC3で駆動させる構成としたが、負レンズE1或いは正レンズE2の一方のみを1軸アクチュエータAC2と1軸アクチュエータAC3で駆動させる構成としてもよい。
また、エキスパンダー光学系EXPを2群構成としたが、3群以上のレンズ群から構成される形態としてもよい。
[第2の実施の形態]
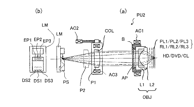
図2(a)は、高密度光ディスクHDとDVDとCDの何れに対しても適切に情報の記録/再生を行える第2の光ピックアップ装置PU2の構成を概略的に示す図であり、図2(b)は、第2の光ピックアップ装置PU2に用いる光源ユニットの正面図である。高密度光ディスクHDの光学的仕様は、波長λ1=408nm、保護層PL1の厚さt1=0.1mm、開口数NA1=0.85であり、DVDの光学的仕様は、波長λ2=658nm、保護層PL2の厚さt2=0.6mm、開口数NA2=0.65であり、CDの光学的仕様は、波長λ3=785nm、保護層PL3の厚さt2=1.2mm、開口数NA3=0.45である。但し、波長、保護層の厚さ、及び開口数の組合せはこれに限られない。
図2(a)は、高密度光ディスクHDとDVDとCDの何れに対しても適切に情報の記録/再生を行える第2の光ピックアップ装置PU2の構成を概略的に示す図であり、図2(b)は、第2の光ピックアップ装置PU2に用いる光源ユニットの正面図である。高密度光ディスクHDの光学的仕様は、波長λ1=408nm、保護層PL1の厚さt1=0.1mm、開口数NA1=0.85であり、DVDの光学的仕様は、波長λ2=658nm、保護層PL2の厚さt2=0.6mm、開口数NA2=0.65であり、CDの光学的仕様は、波長λ3=785nm、保護層PL3の厚さt2=1.2mm、開口数NA3=0.45である。但し、波長、保護層の厚さ、及び開口数の組合せはこれに限られない。
光ピックアップ装置PU2は、高密度光ディスクHDに対して情報の記録/再生を行う場合に発光され408nmのレーザ光束(第1光束)を射出する第1の発光点EP1(第1光源)と、DVDに対して情報の記録/再生を行う場合に発光され658nmのレーザ光束(第2光束)を射出する第2の発光点EP2(第2光源)と、CDに対して情報の記録/再生を行う場合に発光され785nmのレーザ光束(第3光束)を射出する第3の発光点EP3(第3光源)と、高密度光ディスクHDの情報記録面RL1からの反射光束を受光する第1の受光部DS1と、DVDの情報記録面RL2からの反射光束を受光する第2の受光部DS2と、CDの情報記録面RL3からの反射光束を受光する第3の受光部DS3と、プリズムPSとから構成されたレーザモジュールLM、光学面上に回折構造(位相構造)が構成された収差補正素子L1と、この収差補正素子を通過した光束を情報記録面上に集光する集光素子即ちレンズL2とから構成される対物光学系OBJ、DVD/CD用の開口制限素子AP、対物光学系OBJと開口制限素子APとの相対位置が不変となるように保持するための保持部材B、対物光学系OBJをフォーカシング/トラッキング駆動させるための2軸アクチュエータAC1、コリメートレンズCOL、コリメートレンズCOL(可動レンズ群)を光軸方向に駆動させるための1軸アクチュエータAC3(第2アクチュエータ)と、コリメートレンズCOLを1軸アクチュエータAC3ごと光軸方向に移動する1軸アクチュエータ(第1アクチュエータ)とから構成されている。本実施の形態においては、球面収差補正手段は、コリメートレンズCOLと1軸アクチュエータAC2と1軸アクチュエータAC3とから構成される。
尚、本実施の形態においては、以下の(1)〜(3)式を満たす。
ΔL1>ΔL2 (1)
ΔSA1>ΔSA2 (2)
F1<F2 (3)
但し、
ΔL1:アクチュエータAC2の可動範囲(mm)
ΔL2:アクチュエータAC3の可動範囲(mm)
ΔSA1:アクチュエータAC2が補正可能な球面収差量
ΔSA2:アクチュエータAC3が補正可能な球面収差量
F1:アクチュエータAC2の応答周波数帯域(kHz)
F2:アクチュエータAC3の応答周波数帯域(kHz)
ΔL1>ΔL2 (1)
ΔSA1>ΔSA2 (2)
F1<F2 (3)
但し、
ΔL1:アクチュエータAC2の可動範囲(mm)
ΔL2:アクチュエータAC3の可動範囲(mm)
ΔSA1:アクチュエータAC2が補正可能な球面収差量
ΔSA2:アクチュエータAC3が補正可能な球面収差量
F1:アクチュエータAC2の応答周波数帯域(kHz)
F2:アクチュエータAC3の応答周波数帯域(kHz)
次に、本実施の形態にかかる対物光学系OBJの構成について説明する。収差補正素子L1のレーザモジュールLM側の光学面上に形成された回折構造(その断面形状は階段形状である)は、保護層PL1の厚さt1と保護層PL2の厚さt2との差に起因する球面収差を補正するための構造である。対物光学系OBJは、回折構造で発生する第1光束のn次回折光(但しnは奇数)を、それぞれ、高密度光ディスクHDの情報記録面RL1上に集光させる。この回折構造の光路差関数は、保護層PL1の厚さt1と保護層PL2の厚さt2との差に起因する球面収差が補正させるように最適化されているため、保護層PL1の厚さt1と保護層PL3の厚さt3との差に起因する球面収差は完全に補正されずに残留するが、本実施の形態においては、後述するように、コリメートレンズCOLを1軸アクチュエータAC1で駆動することにより、この残留球面収差を補正することにより、高密度光ディスクHDとCDとの互換を達成している。
光ピックアップ装置PU2において、高密度光ディスクHDに対して情報の記録/再生を行う場合には、1軸アクチュエータAC2により負レンズE1を所定位置(図2(a)でポジションP1)に移動させる。その後、レーザモジュールLMを作動させて第1の発光点EP1を発光させる。第1の発光点EP1から射出された発散光束は、図2(a)において実線でその光線経路を描いたように、プリズムPSで反射され、コリメートレンズCOLを経て平行光束とされ、図示しない絞りSTOにより光束径が規制され、開口制限素子APを透過し、対物光学系OBJによって第1保護層PL1を介して情報記録面RL1上に形成されるスポットとなる。対物光学系OBJは、その周辺に配置された2軸アクチュエータAC1によってフォーカシングやトラッキングを行う。情報記録面RL1で情報ピットにより変調された反射光束は、再び対物光学系OBJ、開口制限素子APを透過し、コリメートレンズCOLによって収斂光束とされ、プリズムPS内部で2回反射され受光部DS1に集光する。そして、受光部DS1の出力信号を用いて高密度光ディスクHDに記録された情報を読み取ることができる。
この際、コリメートレンズCOLを1軸アクチュエータAC3により光軸方向に駆動させることで、高密度光ディスクHDの情報記録面RL1上に形成されたスポットの球面収差を補正する。コリメートレンズCOLの位置調整により補正する球面収差の発生原因は、第1の実施の形態での説明と同様である。又、第1の実施の形態での説明と同様に、1軸アクチュエータAC3として、ボイスコイルアクチュエータや圧電素子を利用したアクチュエータを用いるのが好ましい。
多層記録型の高密度光ディスクの情報記録層間のフォーカスジャンプ時に発生する球面収差や、高密度光ディスクの保護層の製造誤差による厚みばらつきや厚み分布等に起因する球面収差は、高密度光ディスクの回転に追従して補正する必要があるが、この際、応答周波数の高い1軸アクチュエータAC3にキックパルスを印加することで、高速に球面収差の変化を補正するのが好ましい。然るに、コリメートレンズCOLの移動量が大きくなる場合には、1軸アクチュエータAC3のDC的オフセットによる発熱が大きくなるという問題がある。この発熱を緩和するために、コリメートレンズCOLの移動に追従して、1軸アクチュエータAC2を駆動させ、コリメートレンズCOLの位置を調整するのが好ましい。
また、光ピックアップ装置PU2においてDVDに対して情報の記録/再生を行う場合には、第2光束がコリメートレンズCOLから平行光束の状態で射出されるように、対物光学系OBJとコリメートレンズCOLとの間の距離が、高密度光ディスクHDに対して情報の記録/再生を行う場合よりも大きくなるように1軸アクチュエータAC3によりコリメートレンズCOLを所定の位置(図2(a)では図示せず)に移動させる。その後、レーザモジュールLMを作動させて第2の発光点EP2を発光させる。第2の発光点EP2から射出された発散光束は、図2(a)において点線でその光線経路を描いたように、プリズムPSで反射され、コリメートレンズCOLを経て平行光束とされ、開口制限素子APにより光束径が規制された後、対物光学系OBJによって第2保護層PL2を介して情報記録面RL2上に形成されるスポットとなる。対物光学系OBJは、その周辺に配置された2軸アクチュエータAC1によってフォーカシングやトラッキングを行う。情報記録面RL2で情報ピットにより変調された反射光束は、再び対物光学系OBJ、開口制限素子APを透過し、コリメートレンズCOLによって収斂光束とされ、プリズムPS内部で2回反射され受光部DS2に集光する。そして、受光部DS2の出力信号を用いてDVDに記録された情報を読み取ることができる。
また、光ピックアップ装置PU2においてCDに対して情報の記録/再生を行う場合には、保護層PL1の厚さt1と保護層PL3の厚さt3との差に起因する球面収差が補正されるように、対物光学系OBJとコリメートレンズCOLとの間の距離が、高密度光ディスクHDに対して情報の記録/再生を行う場合よりも大きくなる位置(図2(a)でポジションP2)に1軸アクチュエータAC2によりコリメートレンズCOLを移動させる。その後、レーザモジュールLMを作動させて第3の発光点EP3を発光させる。第3の発光点EP3から射出された発散光束は、図2(a)において二点鎖線でその光線経路を描いたように、プリズムPSで反射され、コリメートレンズCOLを透過することにより発散光束に変換され、開口制限素子APにより光束径が規制された後、対物光学系OBJによって第3保護層PL3を介して情報記録面RL3上に形成されるスポットとなる。対物光学系OBJは、その周辺に配置された2軸アクチュエータAC1によってフォーカシングやトラッキングを行う。情報記録面RL3で情報ピットにより変調された反射光束は、再び対物光学系OBJ、開口制限素子APを透過し、コリメートレンズCOLによって収斂光束とされ、プリズムPS内部で2回反射され受光部DS3に集光する。そして、受光部DS3の出力信号を用いてCDに記録された情報を読み取ることができる。
本実施の形態では、収差補正素子L1の回折構造で発生する第1光束のn次回折光(但しnは奇数)を、高密度光ディスクHDの記録/再生時に使用する構成となっているため、第1光束の略半分の波長である第3光束に対しては、波長λ3の半整数倍の光路差が付加される。これにより、t1とt3の差に起因する球面収差を低減されるので、CDに対して情報の記録/再生を行う際の第3光束に対する対物光学系OBJの倍率の絶対値が大きくなり過ぎない。この結果、コリメートレンズCOLの移動量が小さくてすみ、また、対物光学系OBJのトラッキング特性を良好なものにすることが可能となる。
第1の実施の形態での説明と同様の理由により、1軸アクチュエータAC2、ソレノイドやステッピングモータを使用するのが好ましい。本実施の形態では、コリメートレンズCOLを1群構成としたが、2群以上のレンズ群から構成される形態としてもよい。また、収差補正素子L1に断面形状が階段形状である回折構造を形成したが、断面形状が鋸歯形状である回折構造を形成してもよく、複数の輪帯から構成され、各輪帯内が階段状に分割されたマルチレベル型回折構造を形成してもよい。また、複数の輪帯から構成され、各輪帯を分割する光軸方向の段差の方向が有効径内で逆となる光路差付与構造を、位相構造として形成してもよい。
また、上述した第1の光ピックアップ装置PU1、及び第2の光ピックアップ装置PU2において、高密度光ディスクHDの情報記録面RL1上に形成されたスポットの球面収差を検出し、その検出結果を基に球面収差誤差信号を生成し、この球面収差誤差信号がゼロとなるように球面収差補正手段を作動させるための球面収差検出手段を備えるのが好ましく、これにより、より正確に球面収差の補正を行うことが可能となる。
次に、本発明による光ピックアップ装置における球面収差補正手段と対物光学系とから構成される光学系として最適な光学系の実施例を説明する。
本実施例における非球面は、その面の頂点に接する平面からの変形量をX(mm)、光軸に垂直な方向の高さをh(mm)、曲率半径をr(mm)とするとき、次の数1に表1、2中の非球面係数A2iを代入した数式で表される。但し、κを円錐係数とする。
[数1]
X=(h2/r)/(1+√(1−(1+κ)(h/r)2)
+A2h2+A4h4+A6h6+・・・
X=(h2/r)/(1+√(1−(1+κ)(h/r)2)
+A2h2+A4h4+A6h6+・・・
また、また、本実施例におけるマルチレベル型回折構造は、透過波面に付加される光路差で表される。かかる光路差は、λを入射光束の波長、λBを製造波長、光軸に垂直な方向の高さをh(mm)、B2jを光路差関数係数、nを回折次数とするとき次の数2で定義される光路差関数φb(mm)で表される。
[数2]
φb=(λ/λB)×n×(B2h2+B4h4+B6h6+・・・)
φb=(λ/λB)×n×(B2h2+B4h4+B6h6+・・・)
表1、2において、NA1、f1、λ1、m1、t1は、それぞれ、高密度光ディスクHD使用時の対物光学系OBJの開口数、対物光学系OBJの焦点距離、対物光学系OBJの波長、対物光学系OBJの倍率、保護層の厚さであり、NA2、f2、λ2、m2、t2は、DVD使用時の同様の値であり、NA3、f3、λ3、m3、t3は、CD使用時の同様の値である。
また、r(mm)は曲率半径、d1(mm)、d2(mm)、d3(mm)は、それぞれ、高密度光ディスクHD使用時、DVD使用時、CD使用時のレンズ間隔、Nλ1、Nλ2、Nλ3は、それぞれ、波長λ1、波長λ2、波長λ3に対するレンズの屈折率、νdはd線のレンズのアッベ数である。
また、n1、n2、n3は、それぞれ、マルチレベル型回折構造で発生する第1光束、第2光束、第3光束の回折光の回折次数である。
実施例1の光学系は、ともにプラスチックレンズである負レンズと正レンズとから構成されたエキスパンダー光学系(球面収差補正手段)と、ともにプラスチックレンズである収差補正素子と集光素子とから構成された対物光学系とから構成される光学系である。その具体的な数値データを表1、2に示す。尚、これ以降(表のレンズデータ含む)において、10のべき乗数(例えば 2.5×10−3)を、E(例えば 2.5E―3)を用いて表すものとする。
対物光学系は、収差補正素子の光源側の光学面(表1において第5面)に形成したマルチレベル型回折構造の作用により、高密度光ディスクHDとDVDとの保護層の厚さの違いによる球面収差を補正したHD/DVD互換レンズである。尚、集光素子は、高密度光ディスクHDに対して球面収差補正が最適化されたレンズである。
このマルチレベル型回折構造は複数の輪帯から構成されており、各輪帯は階段状に5分割されている。各輪帯内の階段構造の段差Δは、Δ=2・λ1/(Nλ1−1)を満たす高さに設定されている。ここで、Nλ1は波長λ1における収差補正素子L1の屈折率である。この階段構造により第1光束に付加される光路差は2λ1であるので、第1光束はマルチレベル型回折構造により何ら作用を受けずにそのまま透過する。また、この階段構造により第3光束に付加される光路差は1λ3であるので、第3光束もマルチレベル型回折構造により何ら作用を受けずにそのまま透過する。一方、この階段構造により第2光束に付加される光路差は約0.2λ2であり、5分割された輪帯1つ分ではちょうど1λ2の光路差が付加されることになり、1次回折光が発生する。このように、第2光束のみを選択的に回折させることにより、t1とt2の差に起因する球面収差を補正している。
尚、マルチレベル型回折構造で発生する第1光束の0次回折光(透過光)の回折効率は100%、第2光束の1次回折光の回折効率は87%、第3光束の0次回折光(透過光)の回折効率は100%であり、何れの光束に対しても高い回折効率を得ている。
また、高密度光ディスクHDに対する情報の記録/再生時に、情報記録面上に形成されたスポットの球面収差を、第2アクチュエータにより負レンズを動かして、対物光学系の倍率を変化させることで補正する。
また、高密度光ディスクHDとCDとの保護層の厚さの違いによる球面収差は、エキスパンダーレンズの負レンズと正レンズとの間隔が高密度光ディスクHDの場合よりも広くなるように、第1アクチュエータにより負レンズを動かして、対物光学系の倍率を変化させることで補正している。
また、入射光束の波長が変わると、色収差の影響で、エキスパンダーレンズから射出される光束の発散度が変化する。そこで、DVDに対する記録/再生時には、エキスパンダーレンズから射出される第2光束が平行光束となるように、負レンズと正レンズとの間隔が高密度光ディスクHDの場合よりも広くなるように、第2アクチュエータにより、負レンズを動かしている。
AC1 第1アクチュエータ
AC2 第2アクチュエータ
AC3 第3アクチュエータ
AP 開口制限素子
COL コリメートレンズ
DS1 第1の受光部
DS2 第2の受光部
DS3 第3の受光部
E1 負レンズ
E2 正レンズ
EP1 第1の発光点
EP2 第2の発光点
EP3 第3の発光点
EXP エキスパンダー光学系
L1 収差補正素子
L2 集光素子
LM レーザモジュール
OBJ 対物光学系
PS プリズム
PU1 第1の光ピックアップ装置
PU2
第2の光ピックアップ装置
STO 絞り
AC2 第2アクチュエータ
AC3 第3アクチュエータ
AP 開口制限素子
COL コリメートレンズ
DS1 第1の受光部
DS2 第2の受光部
DS3 第3の受光部
E1 負レンズ
E2 正レンズ
EP1 第1の発光点
EP2 第2の発光点
EP3 第3の発光点
EXP エキスパンダー光学系
L1 収差補正素子
L2 集光素子
LM レーザモジュール
OBJ 対物光学系
PS プリズム
PU1 第1の光ピックアップ装置
PU2
第2の光ピックアップ装置
STO 絞り
Claims (10)
- 第1光源と、第2光源と、第3光源と、対物光学系とを有し、前記第1光源から射出される第1波長λ1の光束を前記対物光学系を介して、厚さt1の保護層を有する第1光情報記録媒体の情報記録面に集光させることによって情報の再生及び/又は記録を行い、前記第2光源から射出される第2波長λ2(λ2>λ1)の光束を前記対物光学系を介して、厚さt2(t2≧t1)の保護層を有する第2光情報記録媒体の情報記録面に集光させることによって情報の再生及び/又は記録を行い、前記第3光源から射出される第3波長λ3(λ3>λ2)の光束を前記対物光学系を介して、厚さt3(t3>t2)の保護層を有する第3光情報記録媒体の情報記録面に集光させることによって情報の再生及び/又は記録を行う光ピックアップ装置であって、
前記第1光源乃至第3光源と前記集光素子との間の光路中に、球面収差補正手段が設けられ、
前記球面収差補正手段は、光軸方向に沿って移動可能な可動レンズ群を少なくとも1つと、前記可動レンズ群を移動させるためのアクチュエータを少なくとも2つ有し、前記可動レンズ群を前記アクチュエータにより光軸方向に移動させることで、球面収差の補正を行うことを特徴とする光ピックアップ装置。 - 前記2つのアクチュエータを第1アクチュエータ、第2アクチュエータとしたとき、以下の(1)式及び(2)式を満たすことを特徴する請求項1に記載の光ピックアップ装置。
ΔL1>ΔL2 (1)
ΔSA1>ΔSA2 (2)
但し、
ΔL1:前記第1アクチュエータの可動範囲(mm)
ΔL2:前記第2アクチュエータの可動範囲(mm)
ΔSA1:前記第1アクチュエータが補正可能な球面収差量
ΔSA2:前記第2アクチュエータが補正可能な球面収差量 - 以下の(3)式を満たすことを特徴とする請求項2に記載の光ピックアップ装置。
F1<F2 (3)
但し、
F1:前記第1アクチュエータの応答周波数帯域(kHz)
F2:前記第2アクチュエータの応答周波数帯域(kHz) - 前記球面収差補正手段は、前記t1と前記t2の差に起因する球面収差及び/又は前記t1と前記t3の差に起因する球面収差を、主として、前記第1アクチュエータにより前記可動レンズ群を移動させることにより補正することを特徴とする請求項2又は3に記載の光ピックアップ装置。
- 前記球面収差補正手段は、前記t1と前記t2の差に起因する球面収差及び/又は前記t1と前記t3の差に起因する球面収差を補正する際に、前記第1アクチュエータにより前記可動レンズ群を粗動させたあと、前記第2アクチュエータにより前記可動レンズ群を微動させることを特徴とする請求項4に記載の光ピックアップ装置。
- 前記球面収差補正手段は、前記第1光情報記録媒体に対して情報の記録及び/又は再生を行う際に発生する球面収差を、主として、前記第2アクチュエータにより前記可動レンズ群を移動させることにより補正することを特徴とする請求項2乃至5の何れか一項に記載の光ピックアップ装置。
- 前記対物光学系は、第1波長λ1と厚さt1の保護層との組合せに対して球面収差補正が最適化されていることを特徴とする請求項1乃至6の何れか一項に記載の光ピックアップ装置。
- 前記対物光学系は、単レンズであることを特徴とする請求項7に記載の光ピックアップ装置。
- 前記対物光学系は、前記第1波長λ1と前記第2波長λ2の差に起因して前記集光素子で発生する球面収差及び/又は前記t1と前記t2の差に起因する球面収差を補正する機能を有する位相構造を有することを特徴とする請求項1乃至6の何れか一項に記載の光ピックアップ装置。
- 前記第1光源乃至前記第3光源の全てが一体化されて成ることを特徴とする請求項1乃至9の何れか一項に記載の光ピックアップ装置。
Priority Applications (1)
| Application Number | Priority Date | Filing Date | Title |
|---|---|---|---|
| JP2004110334A JP2005293770A (ja) | 2004-04-02 | 2004-04-02 | 光ピックアップ装置 |
Applications Claiming Priority (1)
| Application Number | Priority Date | Filing Date | Title |
|---|---|---|---|
| JP2004110334A JP2005293770A (ja) | 2004-04-02 | 2004-04-02 | 光ピックアップ装置 |
Publications (1)
| Publication Number | Publication Date |
|---|---|
| JP2005293770A true JP2005293770A (ja) | 2005-10-20 |
Family
ID=35326527
Family Applications (1)
| Application Number | Title | Priority Date | Filing Date |
|---|---|---|---|
| JP2004110334A Pending JP2005293770A (ja) | 2004-04-02 | 2004-04-02 | 光ピックアップ装置 |
Country Status (1)
| Country | Link |
|---|---|
| JP (1) | JP2005293770A (ja) |
Cited By (2)
| Publication number | Priority date | Publication date | Assignee | Title |
|---|---|---|---|---|
| US7848211B2 (en) | 2006-05-09 | 2010-12-07 | Sony Corporation | Objective lens apparatus, optical pickup apparatus, and optical disc driving apparatus |
| US7889621B2 (en) | 2007-05-08 | 2011-02-15 | Sony Corporation | Objective lens device, optical pickup device, optical-disc driving device and driving method of objective lens |
-
2004
- 2004-04-02 JP JP2004110334A patent/JP2005293770A/ja active Pending
Cited By (2)
| Publication number | Priority date | Publication date | Assignee | Title |
|---|---|---|---|---|
| US7848211B2 (en) | 2006-05-09 | 2010-12-07 | Sony Corporation | Objective lens apparatus, optical pickup apparatus, and optical disc driving apparatus |
| US7889621B2 (en) | 2007-05-08 | 2011-02-15 | Sony Corporation | Objective lens device, optical pickup device, optical-disc driving device and driving method of objective lens |
Similar Documents
| Publication | Publication Date | Title |
|---|---|---|
| WO2010013616A1 (ja) | 対物レンズ及び光ピックアップ装置 | |
| JPWO2005101393A1 (ja) | 光ピックアップ装置用の対物光学系、光ピックアップ装置、光情報記録媒体のドライブ装置、集光レンズ、及び光路合成素子 | |
| JP5071883B2 (ja) | 光ピックアップ装置及び対物光学素子 | |
| JP3953091B2 (ja) | 多焦点対物レンズ、光ピックアップ装置及び光情報記録再生装置 | |
| JP2006012394A (ja) | 光学系、光ピックアップ装置、及び光ディスクドライブ装置 | |
| JP2005108321A (ja) | 光ピックアップ装置及び光情報記録再生装置 | |
| JP5013117B2 (ja) | 光ピックアップ装置及び光ピックアップ装置用の対物光学素子 | |
| JPWO2005074388A1 (ja) | 光ピックアップ装置及び光情報記録及び/又は再生装置 | |
| JP4483864B2 (ja) | 対物光学系、光ピックアップ装置、及び光ディスクドライブ装置 | |
| JP2009110591A (ja) | 対物レンズ及び光ピックアップ装置 | |
| JP4400326B2 (ja) | 光ピックアップ光学系、光ピックアップ装置及び光ディスクドライブ装置 | |
| JP2009129515A (ja) | 対物光学素子及び光ピックアップ装置 | |
| JP2007128654A (ja) | 多焦点対物レンズ、光ピックアップ装置及び光情報記録再生装置 | |
| JP2009037717A (ja) | 対物光学素子及び光ピックアップ装置 | |
| JP5083621B2 (ja) | 対物レンズ及び光ピックアップ装置 | |
| JPWO2009128445A1 (ja) | 対物レンズ及び光ピックアップ装置 | |
| WO2006115081A1 (ja) | 光ピックアップ装置用対物光学素子、光ピックアップ装置用光学素子、光ピックアップ装置用対物光学素子ユニット及び光ピックアップ装置 | |
| JP2005293770A (ja) | 光ピックアップ装置 | |
| JP4462108B2 (ja) | 対物光学系、光ピックアップ装置、及び光ディスクドライブ装置 | |
| JP2005317105A (ja) | 光ピックアップ装置 | |
| JPWO2010004858A1 (ja) | 対物レンズ及び光ピックアップ装置 | |
| WO2010089933A1 (ja) | 対物レンズ及び光ピックアップ装置 | |
| JP2002050069A (ja) | 光ピックアップ装置用対物レンズ及び光ピックアップ装置 | |
| JP4573211B2 (ja) | 対物光学素子及び光ピックアップ装置 | |
| JP2011108358A (ja) | 光ピックアップ装置及び記録装置並びに再生装置 |
