JP2005293661A - 光記録媒体及び光学的記録装置 - Google Patents
光記録媒体及び光学的記録装置 Download PDFInfo
- Publication number
- JP2005293661A JP2005293661A JP2004103849A JP2004103849A JP2005293661A JP 2005293661 A JP2005293661 A JP 2005293661A JP 2004103849 A JP2004103849 A JP 2004103849A JP 2004103849 A JP2004103849 A JP 2004103849A JP 2005293661 A JP2005293661 A JP 2005293661A
- Authority
- JP
- Japan
- Prior art keywords
- recording
- recording medium
- information recording
- layer
- electrically conductive
- Prior art date
- Legal status (The legal status is an assumption and is not a legal conclusion. Google has not performed a legal analysis and makes no representation as to the accuracy of the status listed.)
- Granted
Links
Images
Landscapes
- Optical Record Carriers And Manufacture Thereof (AREA)
- Optical Recording Or Reproduction (AREA)
Abstract
【解決手段】記録媒体においては、互いに対向して配置されている第1及び第2の電気伝導層6A、6B、6C、6D間に透明状態及び着色状態の一方に遷移する記録層2A,2B,2Cが設けられ、第1及び第2の電気伝導層が電気抵抗体7A,7B,7Cで電気機械的に連結されている。この電気抵抗体は、外部から非接触で高抵抗及び低抵抗の一方に切り替えられる。電気抵抗体が高抵抗に切り替えられて第1及び第2の電気伝導層が絶縁された状態で、第1及び第2の電気伝導層間に電圧が印加され、記録層が着色される。この状態で光ビームが着色領域に照射されて記録マークが記録層に形成される。
【選択図】図1
Description
K. Kojima and M. Terao, 'Proposal of Multi-Information-Layer Electrically Selectable Optical Disk (ESD) using the Same Optics as DVD', WC5, ODS 2003, 15-17.
外部から非接触で高抵抗及び低抵抗の一方に切り替えられる電気抵抗体と、
互いに対向して配置され、前記電気抵抗体が低抵抗であるときに電気的に接続され、前記電気抵抗体が高抵抗にあるときに実質的に互いに絶縁される第1及び第2の電気伝導層と、
この第1及び第2の電気伝導層間に設けられ、前記第1及び第2の電気伝導層が絶縁された状態で、前記第1及び第2の電気伝導層間に印加される電圧に応じて透明状態及び着色状態の一方に遷移し、光ビームで記録マークが着色状態の領域に形成される記録層と、
を具備することを特徴とする情報記録媒体が提供される。
外部から非接触で高抵抗及び低抵抗の一方に夫々独立に切り替えられる第1及び第2の電気抵抗体と、
互いに対向して配置され、前記第1の電気抵抗体が低抵抗であるときに前記第1の抵抗体に電気的に接続され、前記第1の電気抵抗体が高抵抗にあるときに実質的に前記第1の抵抗体に対して絶縁される第1及び第2の電気伝導層と、
前記第2の電気伝導層に対向して配置され、前記第2の電気抵抗体が低抵抗であるときに前記第2の電気伝導層に電気的に接続され、前記第2の電気抵抗体が高抵抗にあるときに実質的に前記第2の電気伝導層に対して絶縁される第3の電気伝導層と、
この第1及び第2の電気伝導層間に設けられ、前記第1及び第2の電気伝導層が絶縁された状態で、前記第1及び第2の電気伝導層間に印加される電圧に応じて透明状態及び着色状態の一方に遷移し、光ビームで記録マークが着色状態の領域に形成される第1の記録層と、
前記第2及び第3の電気伝導層間に設けられ、前記第2及び第3の電気伝導層が絶縁された状態で、前記第2及び第3の電気伝導層間に印加される電圧に応じて透明状態及び着色状態の一方に遷移し、光ビームで記録マークが着色状態の領域に形成される第2の記録層と、
を具備することを特徴とする情報記録媒体が提供される。
外部から非接触で高抵抗及び低抵抗の一方に切り替えられる電気抵抗体、互いに対向して配置され、前記電気抵抗体が低抵抗であるときに電気的に接続され、前記電気抵抗体が高抵抗にあるときに実質的に互いに絶縁される第1及び第2の電気伝導層、及びこの第1及び第2の電気伝導層間に設けられ、透明状態及び着色状態の一方に遷移する記録層を具備する情報記録媒体と、
前記電気抵抗層を高抵抗として前記第1及び第2の電気伝導層を絶縁された状態として、前記第1及び第2の電気伝導層間に電圧を印加して前記記録層を前記着色状態に遷移させる電圧供給部と、
光ビームを前記記録層に向けて前記着色状態の領域に記録マークを形成するピックアップヘッドと、
を具備することを特徴とする情報記録再生装置が提供される。
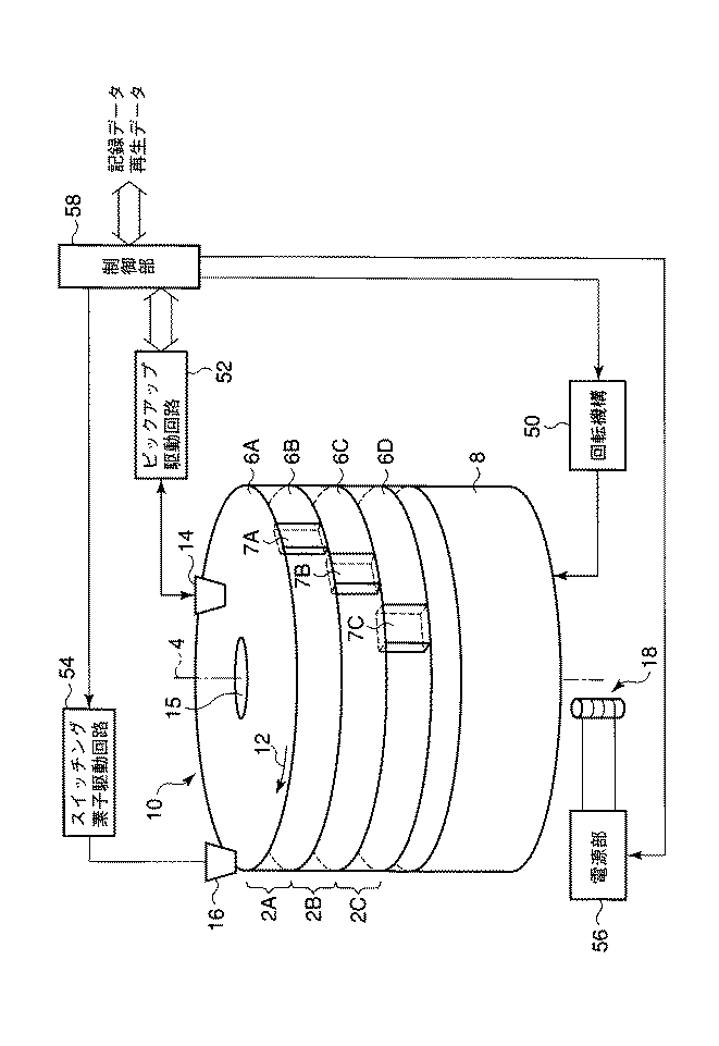
録層2A〜2Dが電気伝導層6A、6B、6C、6D、6Eの間に配置されている。このような構造において、コイル11A、11Bが電気伝導層6A、6C及び電気伝導層6C、6Eに接続され、コイル11A、11Bを電源とする2つの閉回路が形成されている。即ち、電気伝導層6A、6B、6Cが電気抵抗体7A、7Bを介して直列に接続されてコイル11Aに接続され、また、電気伝導層6C、6D、6Eが電気抵抗体7C、7Dを介して直列に接続されてコイル11Bに接続されている。
Claims (21)
- 外部から非接触で高抵抗及び低抵抗の一方に切り替えられる電気抵抗体と、
互いに対向して配置され、前記電気抵抗体が低抵抗であるときに電気的に接続され、前記電気抵抗体が高抵抗にあるときに実質的に互いに絶縁される第1及び第2の電気伝導層と、
この第1及び第2の電気伝導層間に設けられ、前記第1及び第2の電気伝導層が絶縁された状態で、前記第1及び第2の電気伝導層間に印加される電圧に応じて透明状態及び着色状態の一方に遷移し、光ビームで記録マークが着色状態の領域に形成される記録層と、
を具備することを特徴とする情報記録媒体。 - 外部から非接触で高抵抗及び低抵抗の一方に夫々独立に切り替えられる第1及び第2の電気抵抗体と、
互いに対向して配置され、前記第1の電気抵抗体が低抵抗であるときに前記第1の抵抗体に電気的に接続され、前記第1の電気抵抗体が高抵抗にあるときに実質的に前記第1の抵抗体に対して絶縁される第1及び第2の電気伝導層と、
前記第2の電気伝導層に対向して配置され、前記第2の電気抵抗体が低抵抗であるときに前記第2の電気伝導層に電気的に接続され、前記第2の電気抵抗体が高抵抗にあるときに実質的に前記第2の電気伝導層に対して絶縁される第3の電気伝導層と、
この第1及び第2の電気伝導層間に設けられ、前記第1及び第2の電気伝導層が絶縁された状態で、前記第1及び第2の電気伝導層間に印加される電圧に応じて透明状態及び着色状態の一方に遷移し、光ビームで記録マークが着色状態の領域に形成される第1の記録層と、
前記第2及び第3の電気伝導層間に設けられ、前記第2及び第3の電気伝導層が絶縁された状態で、前記第2及び第3の電気伝導層間に印加される電圧に応じて透明状態及び着色状態の一方に遷移し、光ビームで記録マークが着色状態の領域に形成される第2の記録層と、
を具備することを特徴とする情報記録媒体。 - 前記電気抵抗体は、光ビームの照射、磁束の付与又は加熱によって、高抵抗及び低抵抗の一方から他方に切り替えられることを特徴とする請求項1又は2に記載の情報記録媒体。
- 前記第1及び第2の電気抵抗体は、前記光ビーム、前記磁束又は前記熱を発生する発生源との間の相対的な移動路に沿って配置されることを特徴とすることを特徴とする請求項3に記載の情報記録媒体。
- 前記電気抵抗体は、光ビームの照射によって、高抵抗及び低抵抗の一方から他方に切り替えられ、前記電気抵抗体を通過した光ビームを吸収する吸収膜を更に具備することを特徴とする請求項1又は2に記載の情報記録媒体。
- 前記情報記録媒体が円板または回転体であることを特徴とする請求項1又は2に記載の情報記録媒体。
- 前記電気抵抗体が前記情報記録媒体の情報記録部位よりも内周側または外周側に配置されることを特徴とする請求項6に記載の情報記録媒体。
- 前記電圧を発生する為のコイルを更に具備することを特徴とする請求項1又は2に記載の情報記録媒体。
- 前記コイルの巻線が前記情報記録媒体の回転中心軸を内包するように巻かれていることを特徴とする請求項8に記載の情報記録媒体。
- 前記情報記録媒体が円板または回転体であり、前記コイルの巻線が前記情報記録媒体の回転中心軸の周囲に配置されていることを特徴とする請求項9に記載の情報記録媒体。
- 前記電気伝導層が複数の部分に分離され、独立に電圧が印加されることを特徴とする請求項1又は2に記載の情報記録媒体。
- 前記電気伝導層に接続される媒体電極が前記情報記録媒体の表面に露出されることを特徴とする請求項1又は2に記載の情報記録媒体。
- 前記記録層は、エレクトロクロミック材料を含むことを特徴とする請求項1又は2に記載の情報記録媒体。
- 外部から非接触で高抵抗及び低抵抗の一方に切り替えられる電気抵抗体、互いに対向して配置され、前記電気抵抗体が低抵抗であるときに電気的に接続され、前記電気抵抗体が高抵抗にあるときに実質的に互いに絶縁される第1及び第2の電気伝導層、及びこの第1及び第2の電気伝導層間に設けられ、透明状態及び着色状態の一方に遷移する記録層を具備する情報記録媒体と、
前記電気抵抗層を高抵抗として前記第1及び第2の電気伝導層を絶縁された状態として、前記第1及び第2の電気伝導層間に電圧を印加して前記記録層を前記着色状態に遷移させる電圧供給部と、
光ビームを前記記録層に向けて前記着色状態の領域に記録マークを形成するピックアップヘッドと、
を具備することを特徴とする情報記録再生装置。 - 光ビーム或いは磁束を発生するスイッチング素子であって、この光ビーム或いは磁束を前記電気抵抗体に向けて非接触で高抵抗及び低抵抗の一方に切り替えるスイッチング素子を更に具備することを特徴とする請求項16の情報記録再生装置。
- 前記情報記録媒体と前記スイッチング素子とを相対的に移動させる移動機構と、
この相対的移動に同期して前記スイッチング素子を附勢する附勢回路と、
を更に具備することを特徴とする請求項16の情報記録再生装置。 - 前記記録媒体をその回転中心軸周りに回転させる機構とを更に具備することを特徴とする請求項16の情報記録再生装置。
- 前記情報記録媒体は、第1及び第2の電気伝導層に電気的に接続されるコイルを備え、
前記電圧供給部は、前記コイルに磁束を供給して誘導起電力を生じさせる電磁石を更に具備することを特徴とする請求項16の情報記録再生装置。 - 前記情報記録媒体は、第1及び第2の電気伝導層に電気的に接続されるコイルを備え、
前記電圧供給部は、前記コイルに磁束を供給して誘導起電力を生じさせる永久磁石を更に具備することを特徴とする請求項16の情報記録再生装置。
Priority Applications (1)
| Application Number | Priority Date | Filing Date | Title |
|---|---|---|---|
| JP2004103849A JP4110111B2 (ja) | 2004-03-31 | 2004-03-31 | 光記録媒体及び光学的記録装置 |
Applications Claiming Priority (1)
| Application Number | Priority Date | Filing Date | Title |
|---|---|---|---|
| JP2004103849A JP4110111B2 (ja) | 2004-03-31 | 2004-03-31 | 光記録媒体及び光学的記録装置 |
Publications (2)
| Publication Number | Publication Date |
|---|---|
| JP2005293661A true JP2005293661A (ja) | 2005-10-20 |
| JP4110111B2 JP4110111B2 (ja) | 2008-07-02 |
Family
ID=35326440
Family Applications (1)
| Application Number | Title | Priority Date | Filing Date |
|---|---|---|---|
| JP2004103849A Expired - Fee Related JP4110111B2 (ja) | 2004-03-31 | 2004-03-31 | 光記録媒体及び光学的記録装置 |
Country Status (1)
| Country | Link |
|---|---|
| JP (1) | JP4110111B2 (ja) |
Cited By (1)
| Publication number | Priority date | Publication date | Assignee | Title |
|---|---|---|---|---|
| WO2007102298A1 (ja) * | 2006-03-09 | 2007-09-13 | Pioneer Corporation | 回転駆動装置及び電子ビーム照射装置 |
-
2004
- 2004-03-31 JP JP2004103849A patent/JP4110111B2/ja not_active Expired - Fee Related
Cited By (1)
| Publication number | Priority date | Publication date | Assignee | Title |
|---|---|---|---|---|
| WO2007102298A1 (ja) * | 2006-03-09 | 2007-09-13 | Pioneer Corporation | 回転駆動装置及び電子ビーム照射装置 |
Also Published As
| Publication number | Publication date |
|---|---|
| JP4110111B2 (ja) | 2008-07-02 |
Similar Documents
| Publication | Publication Date | Title |
|---|---|---|
| JP4120268B2 (ja) | 情報記録媒体および情報記録方法 | |
| US7263053B2 (en) | Information recording method and information recording apparatus | |
| TWI289833B (en) | Information recording device, information recording medium and information recording method | |
| JP4110111B2 (ja) | 光記録媒体及び光学的記録装置 | |
| JP2006031889A (ja) | 情報記録媒体、情報記録装置および情報記録方法 | |
| US20050052983A1 (en) | Method and apparatus for electro-optical disk memory | |
| JP2005175202A (ja) | 記録素子 | |
| JP2006268888A (ja) | 情報記録装置、情報記録媒体及び情報記録方法 | |
| JP4676372B2 (ja) | 多層光記録媒体、情報記録方法及び情報再生方法 | |
| JP2018533810A (ja) | 光学データ記憶用の媒体、システム、及び方法 | |
| JP2006520059A (ja) | 多層巻上げ情報担体 | |
| JP4165511B2 (ja) | 情報記録装置 | |
| KR20040056274A (ko) | 정보저장매체 및 이를 이용한 광학 장치 | |
| US20070001110A1 (en) | Optical scanning device | |
| JP4100398B2 (ja) | 情報記録媒体 | |
| WO2006043356A1 (ja) | 光学式記録媒体の記録再生方法、光学式記録媒体およびその記録再生装置 | |
| Orlic | Optical information storage and recovery | |
| JP4330129B2 (ja) | 光記録媒体、この光記録媒体の作製方法、光記録再生方法及び光情報記録再生装置 | |
| CN1805020B (zh) | 用于记录角度复用凹坑的设备 | |
| US20070058518A1 (en) | Imformation recording medium and method for manufacturing the same | |
| JP2005203046A (ja) | 情報記録媒体、情報記録方法及び記録装置 | |
| KR100590523B1 (ko) | 정보 기록용 미디어 및 이를 응용한 장치 및 정보기록/재생 방법 | |
| TW200522048A (en) | Multi-layer information carrier with switching circuit | |
| RU2003108835A (ru) | Устройство записи и воспроизведения для записи и воспроизведения информации на и с магнитооптического носителя записи | |
| JP2008165898A (ja) | 多層光記録媒体、情報記録方法及び情報再生方法 |
Legal Events
| Date | Code | Title | Description |
|---|---|---|---|
| A977 | Report on retrieval |
Free format text: JAPANESE INTERMEDIATE CODE: A971007 Effective date: 20060725 |
|
| A131 | Notification of reasons for refusal |
Free format text: JAPANESE INTERMEDIATE CODE: A131 Effective date: 20060808 |
|
| A521 | Request for written amendment filed |
Free format text: JAPANESE INTERMEDIATE CODE: A523 Effective date: 20061010 |
|
| A131 | Notification of reasons for refusal |
Free format text: JAPANESE INTERMEDIATE CODE: A131 Effective date: 20071218 |
|
| A521 | Request for written amendment filed |
Free format text: JAPANESE INTERMEDIATE CODE: A523 Effective date: 20080201 |
|
| TRDD | Decision of grant or rejection written | ||
| A01 | Written decision to grant a patent or to grant a registration (utility model) |
Free format text: JAPANESE INTERMEDIATE CODE: A01 Effective date: 20080401 |
|
| A61 | First payment of annual fees (during grant procedure) |
Free format text: JAPANESE INTERMEDIATE CODE: A61 Effective date: 20080407 |
|
| FPAY | Renewal fee payment (event date is renewal date of database) |
Free format text: PAYMENT UNTIL: 20110411 Year of fee payment: 3 |
|
| FPAY | Renewal fee payment (event date is renewal date of database) |
Free format text: PAYMENT UNTIL: 20110411 Year of fee payment: 3 |
|
| LAPS | Cancellation because of no payment of annual fees |
