JP2005293532A - パソコン用マウス操作補助一体化器具 - Google Patents
パソコン用マウス操作補助一体化器具 Download PDFInfo
- Publication number
- JP2005293532A JP2005293532A JP2004136873A JP2004136873A JP2005293532A JP 2005293532 A JP2005293532 A JP 2005293532A JP 2004136873 A JP2004136873 A JP 2004136873A JP 2004136873 A JP2004136873 A JP 2004136873A JP 2005293532 A JP2005293532 A JP 2005293532A
- Authority
- JP
- Japan
- Prior art keywords
- mouse
- moving platform
- arm support
- integrated
- personal computer
- Prior art date
- Legal status (The legal status is an assumption and is not a legal conclusion. Google has not performed a legal analysis and makes no representation as to the accuracy of the status listed.)
- Pending
Links
- 238000009434 installation Methods 0.000 claims description 2
- 241000699666 Mus <mouse, genus> Species 0.000 description 33
- 208000029152 Small face Diseases 0.000 description 3
- 241000928656 Mus tenellus Species 0.000 description 1
- 230000010354 integration Effects 0.000 description 1
- 230000007774 longterm Effects 0.000 description 1
Images
Landscapes
- Position Input By Displaying (AREA)
Abstract
【課題】パソコン用マウス操作補助一体化器具を提供する。
【解決手段】マウス操作台6と本体1を接合部8で一体化し、マット材7はマットで、移動できる用にマウス操作台6の上の面とマグネット接着され、一体化器具の取り付け横蝶番金具の右側の軸を中心に右方向横に90度範囲で開き操作に楽な姿勢が取れるように設け、縦方向蝶番の軸を中心に角度調整付傾斜を設け、移動台2と移動台3が自由自在に軽い操作で移動するパソコン用マウス操作補助一体化器具である。本体1の上の面の移動台2は車輪によって縦の方向に移動し、移動台2の上の面の移動台3は車輪によって横の方向に移動する。移動台3の上の面に腕支え4が設けられ、腕支え4の底面部が回転軸で移動台3の上の面の凹み部と勘合してマグネット接着され、腕支え4の上の面はクッション材5で構成される。
【選択図】図1
【解決手段】マウス操作台6と本体1を接合部8で一体化し、マット材7はマットで、移動できる用にマウス操作台6の上の面とマグネット接着され、一体化器具の取り付け横蝶番金具の右側の軸を中心に右方向横に90度範囲で開き操作に楽な姿勢が取れるように設け、縦方向蝶番の軸を中心に角度調整付傾斜を設け、移動台2と移動台3が自由自在に軽い操作で移動するパソコン用マウス操作補助一体化器具である。本体1の上の面の移動台2は車輪によって縦の方向に移動し、移動台2の上の面の移動台3は車輪によって横の方向に移動する。移動台3の上の面に腕支え4が設けられ、腕支え4の底面部が回転軸で移動台3の上の面の凹み部と勘合してマグネット接着され、腕支え4の上の面はクッション材5で構成される。
【選択図】図1
Description
本考案は、パソコン用マウスを操作する際、マウスを持った手の腕を支える補助具で、マウス操作台(6)と本体(1)を接合部(8)で一体化、横方向蝶番(11)を机などの小口面に取り付けた位置の右側の軸を中心に横方向右に90度範囲で開き、縦方向蝶番(10)の軸を中心に角度調整付傾斜を設け、縦、横の移動台、腕支えを設けた、パソコン用マウス操作補助一体化器具に関する。
パソコン用マウスは、机などの上でマウス操作用マットなどを敷き、アイコンのクリック操作などに使用頻度の高い器具として使用されている。
従来、パソコン用マウス操作は、机などの平面の上でマウス操作用マットなどを敷き使用するため長時間のマウス操作では、腕、肩が疲れやすいと言う問題があった。マウス操作スペースも腕を置くと奥行きが必要であった。
本考案は、上述の課題を解決するものであり、小スペースで構造も簡単、マウス操作台と本体を一体化して、縦方向、横方向、共に車輪を使用した移動台を設け、操作方向に伴う腕支えを設け、一体化器具の取り付け部を机などの小口面に取り付けた位置の右側の軸を中心に横方向右に90度範囲で開き、縦方向に角度調整付傾斜を設けることにより使い易く、マウス操作をする際、長時間の使用に対する疲れを軽減し微妙なマウス操作が簡易に行える、パソコン用マウス操作補助一体化器具を提供することを目的とする。
上記目的を達成するために、マウス操作台(6)と本体(1)を接合部(8)で一体化、(11)を机などの小口面に取り付けた位置の右側の軸を中心に横方向右に90度開き尚左利きの場合は逆方向、(10)の軸を中心に角度調整付傾斜を設け、本体(1)の上の面に縦方向移動台(2)、(2)の上の面に横方向移動台(3)、(2)と(3)共に車輪を設け操作に伴い移動、(3)の上の面に腕支え(4)、(4)の底面部が回転軸で(3)の凹み部と勘合してマグネット接着、(4)は操作方向に伴う、(4)の上の面にクッション材(5)を設け構成。(7)は操作用途に合わせ移動できる用にマグネットで(6)の上の面に接着、キーボードを叩く姿勢から平行して腕支えがあるのを特長とする。
このように構成された、パソコン用マウス操作補助一体化器具を使用する際、キーボードを叩く位置と平行して腕支え部に腕を置き、マウス操作に使用する。
したがって、使用する際、縦方向移動台、横方向移動台と共に車輪を設け、非常に軽く、腕支え部が操作方向に伴うため、全方向に自由自在に操作に応じ移動、腕支え上の面にはクッション材を使用して腕を支える。(7)は腕支えに腕を置く位置が変わるとマウスを操作する位置も変わるので(7)はマウス操作用途に合わせて移動(7)は(6)の上の面とマグネット接着する為、腕の長さや腕を支える位置に関係なく使用できる。机の小口面などに取り付けた(11)の右側の軸を中心に横方向右に90度の範囲で開き操作に楽な姿勢が無理なく取れて長時間の使用に疲れを軽減する。(10)の軸を中心に角度調整付傾斜を設け使用する為、楽な姿勢で無駄な力が入らず長時間の使用に疲れを軽減し、取り付けスペースも小さく、腕を支える位置もキーボードを叩く位置から平行してマウス操作が良好に行える。
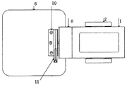
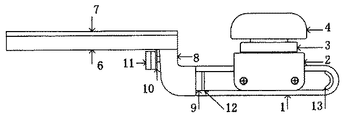
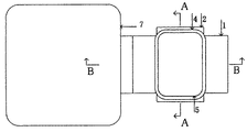
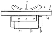
以下、本考案の一実施形態を図面に基づいて説明をする。[図1]は机の一部とパソコン用マウス、マウスコード、傾斜が解るように示した部分、横方向の蝶番に伴う一体化器具の開く範囲を示した部分、パソコン用マウス操作補助一体化器具の斜視図を示し。[図2]は平面図を示し。[図3]は裏面図を示し。[図4]は側面図を示し。[図5]は正面図を示し。[図6]は背面図を示し。[図7]は[図2]のA−A断面図を示し。[図8]は[図2]のB−B断面図を示している。
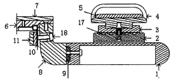
(11)は横方向の蝶番で、机などの小口面にネジで取り付け、片側は(10)にネジで留める、(10)と(6)ネジで留める。(6)と(8)ネジで留める(8)と(9)ネジで留める(9)と(1)ネジ留めをして一体化する。またはマウス操作台を使用しない場合は(9)を机の小口面などに取り付け(9)と(1)でネジで留める。
(1)は本体、(1)の上の面に縦方向移動台(2)、(2)は合計4個の車輪で縦方向え操作に伴い移動、(2)の上の面に横方向移動台(3)、(3)は合計8個の車輪で横方向え操作に伴い移動、(3)の上の面に腕支え(4)、(4)の上の面にクッション材(5)で構成。(2)と(3)はネジで可動固定、(3)の上の面の凹み部と(4)の底面回転軸部で勘合、(14)はマグネットで(4)の底面のビス部と接着、(4)は操作方向に伴う。
(6)はマウス操作台、(7)はマットでマウス操作用途に応じ移動(7)は(6)の上の面とマグネットで接着、(ア)はパソコン用マウス、(イ)はマウスのコード、(ウ)はマウス操作台の傾斜が解るように示した部分、(エ)横方向の蝶番に伴う一体化器具の開く範囲を示した部分。
(3)と(4)はマグネットで接着してあるため入れ替え自在であり、(4)は他の形状と取り替える事や回転軸部をバネに替えて上下のクッションの役目と回転軸として使用することが出来る。(13)は横方向のストッパーのクッション材。(16)は縦方向の車輪で(1)の左右の凹みに入り縦方向に操作に伴い移動。(17)は横方向の車輪で(2)の上の面の凹みに入り横方向に操作に伴い移動。(18)は角度調整用ネジ。
1 本体
2 縦方向移動台
3 横方向移動台
4 腕支え
5 クッション材
6 マウス操作台
7 マット材
8 接合台
9 取り付け金具
10 縦方向蝶番金具
11 横方向蝶番金具
12 車輪止めクッション材
13 車輪止めクッション材
14 マグネット
15 クッション材
16 縦方向移動台の車輪
17 横方向移動台の車輪
18 角度調整用ネジ
(ア)パソコン用マウス
(イ)パソコン用マウスコード
(ウ)傾斜が解るように示した部分
(エ)横方向蝶番に伴う一体化器具の開く範囲
2 縦方向移動台
3 横方向移動台
4 腕支え
5 クッション材
6 マウス操作台
7 マット材
8 接合台
9 取り付け金具
10 縦方向蝶番金具
11 横方向蝶番金具
12 車輪止めクッション材
13 車輪止めクッション材
14 マグネット
15 クッション材
16 縦方向移動台の車輪
17 横方向移動台の車輪
18 角度調整用ネジ
(ア)パソコン用マウス
(イ)パソコン用マウスコード
(ウ)傾斜が解るように示した部分
(エ)横方向蝶番に伴う一体化器具の開く範囲
Claims (1)
- マウス操作台(6)と本体(1)を接合部(8)で一体化、マット(7)はマウス操作用途に応じ移動できるように(6)の上の面にマグネットで接着できる用に設け、取り付け横蝶番金具(11)の右側の軸を中心に右方向横に90度の範囲で開き楽な操作姿勢が取れるように設け、縦蝶番金具(10)の軸を中心に角度調整付傾斜を設け、本体(1)の上の面に縦方向移動台(2)を設け、(2)の上の面に横方向移動台(3)を設け、(2)と(3)共に車輪を設け操作に伴い移動、(3)の上の面に腕支え(4)を設け、(4)の底面部が回転軸で(3)の上の面の凹み部と勘合しマグネットで接着(4)は操作方向に伴う、(4)の上の面にクッション材(5)を設け構成。パソコン用マウス操作補助一体化器具。
Priority Applications (1)
| Application Number | Priority Date | Filing Date | Title |
|---|---|---|---|
| JP2004136873A JP2005293532A (ja) | 2004-04-02 | 2004-04-02 | パソコン用マウス操作補助一体化器具 |
Applications Claiming Priority (1)
| Application Number | Priority Date | Filing Date | Title |
|---|---|---|---|
| JP2004136873A JP2005293532A (ja) | 2004-04-02 | 2004-04-02 | パソコン用マウス操作補助一体化器具 |
Publications (1)
| Publication Number | Publication Date |
|---|---|
| JP2005293532A true JP2005293532A (ja) | 2005-10-20 |
Family
ID=35326354
Family Applications (1)
| Application Number | Title | Priority Date | Filing Date |
|---|---|---|---|
| JP2004136873A Pending JP2005293532A (ja) | 2004-04-02 | 2004-04-02 | パソコン用マウス操作補助一体化器具 |
Country Status (1)
| Country | Link |
|---|---|
| JP (1) | JP2005293532A (ja) |
Cited By (3)
| Publication number | Priority date | Publication date | Assignee | Title |
|---|---|---|---|---|
| RU2344465C1 (ru) * | 2007-04-16 | 2009-01-20 | Андрей Валерьевич Груздев | Манипулятор для компьютера |
| JP5740013B1 (ja) * | 2014-01-08 | 2015-06-24 | 株式会社サン輝テクノ | アームサポート装置 |
| JP2020177610A (ja) * | 2019-04-22 | 2020-10-29 | 广州爵諾医療器械有限公司 | マウスパッド |
-
2004
- 2004-04-02 JP JP2004136873A patent/JP2005293532A/ja active Pending
Cited By (3)
| Publication number | Priority date | Publication date | Assignee | Title |
|---|---|---|---|---|
| RU2344465C1 (ru) * | 2007-04-16 | 2009-01-20 | Андрей Валерьевич Груздев | Манипулятор для компьютера |
| JP5740013B1 (ja) * | 2014-01-08 | 2015-06-24 | 株式会社サン輝テクノ | アームサポート装置 |
| JP2020177610A (ja) * | 2019-04-22 | 2020-10-29 | 广州爵諾医療器械有限公司 | マウスパッド |
Similar Documents
| Publication | Publication Date | Title |
|---|---|---|
| ES2919352T3 (es) | Ratón ajustable | |
| ATE382889T1 (de) | Ansichtsnavigation und vergrösserung eines tragbaren geräts mit einer anzeige | |
| JP2007516806A5 (ja) | ||
| WO2003090016A3 (en) | Stand for portable computer | |
| US10208891B2 (en) | Multi-arm display anti-toppling mechanism | |
| JP5409758B2 (ja) | 把持角度を調整可能な入力装置及び角度調整装置 | |
| WO2007082161A3 (en) | Adjustable work surface | |
| ATE445122T1 (de) | Einrichtung zum tragen einer anzeigevorrichtung | |
| WO2006133072A3 (en) | Adjustable support assembly | |
| JP2005293532A (ja) | パソコン用マウス操作補助一体化器具 | |
| CN202884428U (zh) | 手持携带行动装置的固定器 | |
| JP2013212570A (ja) | ロボットハンド | |
| KR20080111974A (ko) | 컴퓨터용 마우스 | |
| TWM391815U (en) | Sheath supporting frames for portable electronic device | |
| JP2021155988A (ja) | シャワー装置 | |
| CN213045955U (zh) | 一种双支臂旋转开合的人机交互工作台 | |
| JP2001115584A (ja) | パネル | |
| JP3560324B2 (ja) | デスク | |
| JPH08152852A (ja) | ディスプレイ保持装置 | |
| KR20100038944A (ko) | 다용도 거치대 | |
| WO2007046827A3 (en) | Adjustable armchair tray | |
| US20240393893A1 (en) | Posture-Adaptive Ferromagnetic Mousepad Magnetized Mouse System | |
| CN216901584U (zh) | 鼠标 | |
| WO2019171406A1 (en) | Facilitator device for the writing for computer keyboard | |
| JP6695042B2 (ja) | 立上がり動作補助具 |