JP2005292586A - Viewing angle control element, liquid crystal display device, electronic equipment - Google Patents

Viewing angle control element, liquid crystal display device, electronic equipment Download PDF

Info

Publication number
JP2005292586A
JP2005292586A JP2004109214A JP2004109214A JP2005292586A JP 2005292586 A JP2005292586 A JP 2005292586A JP 2004109214 A JP2004109214 A JP 2004109214A JP 2004109214 A JP2004109214 A JP 2004109214A JP 2005292586 A JP2005292586 A JP 2005292586A
Authority
JP
Japan
Prior art keywords
liquid crystal
viewing angle
crystal cell
angle control
display
Prior art date
Legal status (The legal status is an assumption and is not a legal conclusion. Google has not performed a legal analysis and makes no representation as to the accuracy of the status listed.)
Granted
Application number
JP2004109214A
Other languages
Japanese (ja)
Other versions
JP4367206B2 (en
Inventor
Osamu Okumura
治 奥村
Current Assignee (The listed assignees may be inaccurate. Google has not performed a legal analysis and makes no representation or warranty as to the accuracy of the list.)
Seiko Epson Corp
Original Assignee
Seiko Epson Corp
Priority date (The priority date is an assumption and is not a legal conclusion. Google has not performed a legal analysis and makes no representation as to the accuracy of the date listed.)
Filing date
Publication date
Application filed by Seiko Epson Corp filed Critical Seiko Epson Corp
Priority to JP2004109214A priority Critical patent/JP4367206B2/en
Publication of JP2005292586A publication Critical patent/JP2005292586A/en
Application granted granted Critical
Publication of JP4367206B2 publication Critical patent/JP4367206B2/en
Anticipated expiration legal-status Critical
Expired - Fee Related legal-status Critical Current

Links

Images

Landscapes

  • Liquid Crystal (AREA)
  • Polarising Elements (AREA)

Abstract

【課題】 広視角、狭視角の切り替え効果の高い視角制御素子、およびこれを用いること
により様々な使用環境や用途に適応可能な液晶表示装置を提供する。
【解決手段】 本発明の液晶表示装置は、一対の基板61,62と、一対の基板間に挟持
され、液晶分子をハイブリッド配向させてなる液晶層65と、液晶層に電界を印加するた
めの一対の電極63,64とを有する視角制御用液晶セル2と、表示用液晶セル1とを備
えている。片方の電極64がパターニングされており、表示領域内で電極64が存在する
箇所と存在しない箇所を有している。印加電圧によって液晶層65の液晶分子の配向状態
を変化させることで表示用液晶セル1の視角を制御する。
【選択図】 図4
PROBLEM TO BE SOLVED: To provide a viewing angle control element having a high switching effect between a wide viewing angle and a narrow viewing angle, and a liquid crystal display device adaptable to various usage environments and uses by using the viewing angle control element.
A liquid crystal display device according to the present invention includes a pair of substrates 61 and 62, a liquid crystal layer 65 sandwiched between the pair of substrates and in which liquid crystal molecules are hybrid-aligned, and an electric field applied to the liquid crystal layer. A viewing angle control liquid crystal cell 2 having a pair of electrodes 63 and 64 and a display liquid crystal cell 1 are provided. One electrode 64 is patterned and has a portion where the electrode 64 exists and a portion where it does not exist in the display region. The viewing angle of the display liquid crystal cell 1 is controlled by changing the alignment state of the liquid crystal molecules in the liquid crystal layer 65 according to the applied voltage.
[Selection] Figure 4

Description

本発明は、視角制御素子、液晶表示装置、電子機器に関し、特に広視角、狭視角の切り
替えが可能な視角制御素子、およびこれを備えた液晶表示装置に関するものである。
The present invention relates to a viewing angle control element, a liquid crystal display device, and an electronic device, and more particularly to a viewing angle control element capable of switching between a wide viewing angle and a narrow viewing angle, and a liquid crystal display device including the same.

液晶表示装置は、従来から視角が狭いという課題を有しており、広い視角特性が求めら
れている。特に、多人数で表示を見るテレビジョンやカーナビゲーション、デジタルカメ
ラなどを用途とするものがそうである。一方、使用者が一人で表示を見ているときに他人
には覗かれたくないという要求もあり、その場合は、逆に狭い視角特性が求められている
。例えば公共の場で使用するノートパソコンや携帯電話などを用途とするものがそうであ
る。近年、例えばノートパソコンでテレビ番組を見たり、携帯電話でゲームをしたりとい
うように、同じ機器であっても使い方によって視角の広/狭を切り替えたいという要求が
高まってきた。
Conventionally, liquid crystal display devices have a problem that the viewing angle is narrow, and a wide viewing angle characteristic is required. This is particularly the case for televisions, car navigation systems, digital cameras, and the like that are used for viewing by a large number of people. On the other hand, there is also a request that the user does not want to be looked at by others when viewing the display alone. In that case, narrow viewing angle characteristics are required. For example, those which are used for notebook computers and mobile phones used in public places. In recent years, there has been an increasing demand for switching the viewing angle between wide and narrow depending on how the same device is used, such as watching a TV program on a notebook computer or playing a game on a mobile phone.

このような要求に対して、表示用液晶素子に加えて位相差制御用液晶素子を備え、位相
差制御用液晶素子に印加する電圧を制御することによって視角特性を変化させようとする
ものが提案されている(例えば下記の特許文献1)。この特許文献1では、位相差制御用
液晶素子で用いる液晶モードとして、カイラルネマチック液晶、ホモジニアス液晶、ラン
ダム配向のネマチック液晶などが例示されている。
特開平11−174489号公報
In response to such demands, proposals have been made to provide a liquid crystal element for phase difference control in addition to a liquid crystal element for display, and to change the viewing angle characteristics by controlling the voltage applied to the liquid crystal element for phase difference control. (For example, Patent Document 1 below). Patent Document 1 exemplifies chiral nematic liquid crystal, homogeneous liquid crystal, random alignment nematic liquid crystal, and the like as the liquid crystal mode used in the liquid crystal element for phase difference control.
JP-A-11-174489

上記特許文献1では、位相差制御用液晶素子を用いることによって視角の広/狭を切り
替え可能であると述べているが、その効果は充分とは言えなかった。例えば特許文献1の
図4にはコントラスト比が10:1の等コントラスト曲線が示されており、狭視角化時に
は確かに広視角方向のコントラストが低下している。しかしながら、この程度の変化では
隣にいる人から表示が充分に視認されてしまう。一般に、コントラスト比が2:1まで低
下しても充分に表示を視認できるからである。
In Patent Document 1, it is stated that the viewing angle can be switched between wide and narrow by using a liquid crystal element for phase difference control, but the effect is not sufficient. For example, FIG. 4 of Patent Document 1 shows an isocontrast curve having a contrast ratio of 10: 1. When the viewing angle is narrowed, the contrast in the wide viewing angle direction surely decreases. However, with such a change, the display is sufficiently visually recognized by the person next to it. This is because, in general, the display can be sufficiently visually recognized even when the contrast ratio is reduced to 2: 1.

本発明は、上記の課題を解決するためになされたものであって、広視角、狭視角の切り
替え効果の高い視角制御素子、およびこれを用いることにより様々な使用環境や用途に適
応可能な液晶表示装置、電子機器を提供することを目的としている。
The present invention has been made to solve the above-described problems, and has a viewing angle control element having a high switching effect between a wide viewing angle and a narrow viewing angle, and a liquid crystal adaptable to various usage environments and uses by using the viewing angle control element. The object is to provide a display device and an electronic device.

上記の目的を達成するために、本発明の視角制御素子は、任意の表示装置に隣接配置し
て用いられ、前記表示装置の視角を制御する視角制御素子であって、一対の透光性基板と
、前記一対の透光性基板間に挟持された液晶層と、前記液晶層に電界を印加するための一
対の電極とを有する視角制御用液晶セルを備え、前記一対の電極のうちの少なくとも一方
の電極において、当該電極の前記表示装置の有効表示領域に対応する領域がパターニング
されており、前記一対の電極からの印加電圧によって前記液晶層の配向状態を変化させる
ことで前記表示装置の視角を制御することを特徴とする。
In order to achieve the above object, a viewing angle control element of the present invention is a viewing angle control element that is used adjacent to an arbitrary display device and controls the viewing angle of the display device, and a pair of translucent substrates A viewing angle control liquid crystal cell having a liquid crystal layer sandwiched between the pair of translucent substrates, and a pair of electrodes for applying an electric field to the liquid crystal layer, and at least one of the pair of electrodes In one electrode, a region of the electrode corresponding to the effective display region of the display device is patterned, and the viewing angle of the display device is changed by changing an alignment state of the liquid crystal layer by an applied voltage from the pair of electrodes. It is characterized by controlling.

液晶セルを用いて視角制御を行う技術は、上記特許文献1のように既に知られている。
しかしながら、本発明の視角制御素子においては、視角制御用液晶セルの液晶層に電界を
印加するための一対の電極を、表示装置の有効表示領域に対応する領域の全面にベタ状に
形成するのではなく、一対の電極のうちの少なくとも一方の電極側は表示装置の有効表示
領域に対応する領域内でパターニングしたものである。
A technique for performing viewing angle control using a liquid crystal cell is already known as in Patent Document 1 described above.
However, in the viewing angle control element of the present invention, a pair of electrodes for applying an electric field to the liquid crystal layer of the viewing angle control liquid crystal cell is formed in a solid shape over the entire area corresponding to the effective display area of the display device. Instead, at least one of the pair of electrodes is patterned in an area corresponding to the effective display area of the display device.

具体的な一例を挙げると、有効表示領域に対応する領域において、パターニングされた
電極が存在する部分と存在しない部分とを有する構成を挙げることができる。
この構成によれば、電極が存在する部分と存在しない部分を有しているため、電極に対
して電圧を印加しても液晶層にとっては電界が印加される箇所と印加されない箇所ができ
ることになる。そのため、明るい領域と暗い領域が近接することになり、人間の目にはこ
のような視角制御用液晶セルを通してその背面側にある表示を視認するのが困難になる。
これにより狭視角化が可能となり、電極に対して電圧を印加しなければ広視角化が可能と
なる。
As a specific example, a configuration having a portion where the patterned electrode is present and a portion where the patterned electrode is not present in the region corresponding to the effective display region can be given.
According to this configuration, since there are a portion where the electrode is present and a portion where the electrode is not present, a portion where the electric field is applied and a portion where the electric field is not applied are formed for the liquid crystal layer even when a voltage is applied to the electrode. . For this reason, the bright region and the dark region are close to each other, and it is difficult for the human eye to visually recognize the display on the back side through the viewing angle control liquid crystal cell.
As a result, a narrow viewing angle can be achieved, and a wide viewing angle can be achieved if no voltage is applied to the electrodes.

また、上記の電極が存在する部分と存在しない部分は、略等しい面積とすることが望ま
しい。
その理由は、明るい領域の面積が小さすぎると、暗い領域を通して背面側の表示が暗く
はなるものの透けて見えることになり、逆に明るい領域の面積が大きすぎると、背面側の
表示が直接見えてしまい、視角制限効果が得られないからである。
Further, it is desirable that the portion where the above electrode is present and the portion where the electrode is not present have substantially the same area.
The reason is that if the area of the bright area is too small, the display on the back side will become dark through the dark area, but it will show through, whereas if the area of the bright area is too large, the display on the back side will be directly visible. This is because the viewing angle limiting effect cannot be obtained.

また、電極が存在する部分と存在しない部分とは、交互に規則的に配列することが望ま
しい。この配列には、例えばチェッカーフラグ型、ストライプ型などを例示することがで
きる。また、その配列ピッチは、2mm以上、20mm以下であることが望ましい。
上述したように、明るい領域の面積が小さすぎたり、大きすぎたりすると、視角制限効
果が薄れるため、配列ピッチに関しても最適値があるが、上の数値が望ましいという具体
的な根拠については後述する。
In addition, it is desirable that the portions where the electrodes are present and the portions where the electrodes are not present are alternately arranged regularly. Examples of this arrangement include a checker flag type and a stripe type. The arrangement pitch is preferably 2 mm or more and 20 mm or less.
As described above, if the area of the bright region is too small or too large, the effect of limiting the viewing angle is diminished, so there is an optimum value for the arrangement pitch, but the specific reason why the above numerical value is desirable will be described later. .

あるいは、他の具体例を挙げると、有効表示領域に対応する領域において、パターニン
グされた電極が複数の領域に分割され、分割された個々の電極に対して個別に電圧が印加
可能とされた構成を挙げることができる。
この構成によれば、分割された複数の電極に対して個別に電圧を印加できるので、液晶
層に対する印加電界を場所によって変えることができる。そのため、明るい領域と暗い領
域が近接するように制御することが可能となり、人間の目にはこのような視角制御用液晶
セルを通してその背面側にある表示を視認するのが困難になる。これにより狭視角、広視
角の切り替えが可能となる。
Or, as another specific example, in the region corresponding to the effective display region, the patterned electrode is divided into a plurality of regions, and a voltage can be individually applied to each of the divided electrodes. Can be mentioned.
According to this configuration, since a voltage can be individually applied to the plurality of divided electrodes, the electric field applied to the liquid crystal layer can be changed depending on the location. Therefore, it is possible to control so that the bright region and the dark region are close to each other, and it becomes difficult for the human eye to visually recognize the display on the back side through such a viewing angle control liquid crystal cell. This makes it possible to switch between a narrow viewing angle and a wide viewing angle.

また、分割された個々の電極は、略等しい面積を有することが望ましい。
その理由は、上と同様、明るい領域の面積が小さすぎると、暗い領域を通して背面側の
表示が透けて見えることになり、逆に明るい領域の面積が大きすぎると、背面側の表示が
直接見えてしまい、視角制限効果が得られないからである。
Moreover, it is desirable that the divided individual electrodes have substantially the same area.
The reason for this is that, as above, if the area of the bright area is too small, the display on the back side can be seen through the dark area, and conversely if the area of the bright area is too large, the display on the back side can be seen directly. This is because the viewing angle limiting effect cannot be obtained.

本発明の液晶表示装置は、上記本発明の視角制御素子と、前記視角制御素子に隣接配置
された表示用液晶セルとを備えたことを特徴とする。
この構成によれば、本発明の視角制御素子を表示用液晶セルに隣接配置したことにより
広視角、狭視角の切り替え効果の高い表示が得られ、様々な使用環境や用途に適応可能な
液晶表示装置を実現することができる。
The liquid crystal display device of the present invention comprises the viewing angle control element of the present invention and a display liquid crystal cell disposed adjacent to the viewing angle control element.
According to this configuration, the viewing angle control element of the present invention is disposed adjacent to the display liquid crystal cell, so that a display with a high switching effect between a wide viewing angle and a narrow viewing angle can be obtained, and the liquid crystal display can be adapted to various usage environments and applications. An apparatus can be realized.

また、本発明の液晶表示装置は、前記表示用液晶セルの前記視角制御用液晶セルが配置
された側と反対側の外面に設けられた第1の偏光板と、前記視角制御用液晶セルの前記表
示用液晶セルが配置された側と反対側の外面に設けられた第2の偏光板と、前記表示用液
晶セルと前記視角制御用液晶セルとの間に設けられた第3の偏光板とを備えた構成とする
ことができる。なお、本明細書において液晶セルや基板の「外面」、「内面」という表現
を用いるが、「内面」とは各基板の主面のうち、液晶層側に向く面のことであり、「外面
」とはそれと反対側の面のことである。
この構成によれば、第1の偏光板と第2の偏光板とが表示用液晶セルを挟持することに
なり、これら偏光板が表示用液晶セルの偏光子と検光子として機能する。さらに、第2の
偏光板と第3の偏光板とが視角制御用液晶セルを挟持することになり、これら偏光板の光
軸配置を最適化することでより効果的な視角制限効果を得ることができる。
The liquid crystal display device of the present invention includes a first polarizing plate provided on an outer surface of the display liquid crystal cell opposite to the side on which the viewing angle control liquid crystal cell is disposed, and the viewing angle control liquid crystal cell. A second polarizing plate provided on the outer surface opposite to the side on which the display liquid crystal cell is disposed, and a third polarizing plate provided between the display liquid crystal cell and the viewing angle control liquid crystal cell It can be set as the structure provided with. In this specification, the expressions “outer surface” and “inner surface” of a liquid crystal cell or a substrate are used. The “inner surface” is a surface facing the liquid crystal layer side of the main surface of each substrate. "Is the opposite side.
According to this configuration, the first polarizing plate and the second polarizing plate sandwich the display liquid crystal cell, and these polarizing plates function as a polarizer and an analyzer of the display liquid crystal cell. Furthermore, the second polarizing plate and the third polarizing plate sandwich the viewing angle control liquid crystal cell, and a more effective viewing angle limiting effect can be obtained by optimizing the optical axis arrangement of these polarizing plates. Can do.

あるいは、本発明の液晶表示装置は、前記表示用液晶セルの前記視角制御用液晶セルが
配置された側と反対側の外面に設けられた第1の偏光板と、前記視角制御用液晶セルの前
記表示用液晶セルが配置された側と反対側の外面に設けられた第2の偏光板とを備えた構
成とすることができる。
この構成によれば、上記の構成と比べて偏光板が1枚少ない分だけ表示が明るくなり、
装置全体が薄型化できるという効果がある。それに加えて、表示用液晶セルと視角制御用
液晶セルとの間に偏光板がないことにより、2つの液晶セルの相互作用によって上記の構
成とは異なる作用、効果が得られ、より狭い範囲に視角を制限することもできる。これに
ついては後の実施の形態の項で詳述する。
Alternatively, the liquid crystal display device of the present invention includes a first polarizing plate provided on an outer surface of the display liquid crystal cell opposite to the side on which the viewing angle control liquid crystal cell is disposed, and the viewing angle control liquid crystal cell. It can be set as the structure provided with the 2nd polarizing plate provided in the outer surface on the opposite side to the side by which the said liquid crystal cell for a display is arrange | positioned.
According to this configuration, the display is brightened by one less polarizing plate than the above configuration,
There is an effect that the entire apparatus can be thinned. In addition, since there is no polarizing plate between the liquid crystal cell for display and the liquid crystal cell for viewing angle control, the action and effect different from the above configuration can be obtained due to the interaction of the two liquid crystal cells, and the narrower range. The viewing angle can also be limited. This will be described in detail later in the section of the embodiment.

本発明の電子機器は、上記本発明の液晶表示装置を備えたことを特徴とする。
この構成によれば、広視角、狭視角の切り替え効果の高い液晶表示部を有し、様々な使
用環境や用途に適応可能な電子機器を実現することができる。
An electronic apparatus according to the present invention includes the liquid crystal display device according to the present invention.
According to this configuration, it is possible to realize an electronic device that has a liquid crystal display unit that has a high switching effect between a wide viewing angle and a narrow viewing angle and can be adapted to various usage environments and applications.

[第1の実施の形態]
以下、本発明の第1の実施の形態を図1〜図9を参照して説明する。
本実施形態の液晶表示装置は、表示用液晶セルに視角制御用液晶セルを積層したもので
あるが、視角制御用液晶セルを用いて表示用液晶セルの視角特性を狭い角度範囲に制限す
るものであるから、表示用液晶セルは元来広視角の液晶モードであるVAN(Vertical A
ligned Nematic、垂直配向)、IPS(In-Plain Switching)等のモードを採用すること
が望ましい。ここでは、VANを例に取り、説明する。また、表示用液晶セルには、画素
スイッチング素子として薄膜ダイオード(Thin Film Diode, 以下、TFDと略記する)
を用いたアクティブマトリクス方式の透過型液晶表示装置の例を挙げる。なお、各図にお
いて、各層や各部材を図面上で認識可能な程度の大きさとするため、各層や各部材毎に縮
尺を異ならせてある。
[First Embodiment]
Hereinafter, a first embodiment of the present invention will be described with reference to FIGS.
The liquid crystal display device of this embodiment is a liquid crystal cell in which a viewing angle control liquid crystal cell is stacked on a display liquid crystal cell, and the viewing angle characteristics of the display liquid crystal cell are limited to a narrow angle range by using the viewing angle control liquid crystal cell. Therefore, the liquid crystal cell for display is originally a VAN (Vertical A) liquid crystal mode with a wide viewing angle.
It is desirable to adopt modes such as ligned nematic (vertical alignment) and IPS (In-Plain Switching). Here, the VAN will be described as an example. In the display liquid crystal cell, a thin film diode (hereinafter abbreviated as TFD) is used as a pixel switching element.
An example of an active matrix transmission type liquid crystal display device using the above will be given. In addition, in each figure, in order to make each layer and each member into a size that can be recognized on the drawing, the scale is varied for each layer and each member.

図1は、本実施形態の液晶表示装置100の表示用液晶セルについての等価回路を示し
ている。この液晶表示装置100は、走査信号駆動回路110およびデータ信号駆動回路
120を含んでいる。液晶表示装置100には、信号線、すなわち複数の走査線13と、
走査線13と交差する複数のデータ線9とが設けられ、走査線13は走査信号駆動回路1
10により駆動され、データ線9はデータ信号駆動回路120により駆動される。そして
、各画素領域150において、走査線13とデータ線9との間にTFD素子40と液晶表
示要素160(液晶層)とが直列に接続されている。なお、図1では、TFD素子40が
走査線13側に接続され、液晶表示要素160がデータ線9側に接続されているが、これ
とは逆にTFD素子40をデータ線9側に、液晶表示要素160を走査線13側に設ける
構成としても良い。
FIG. 1 shows an equivalent circuit for a display liquid crystal cell of the liquid crystal display device 100 of the present embodiment. The liquid crystal display device 100 includes a scanning signal driving circuit 110 and a data signal driving circuit 120. The liquid crystal display device 100 includes signal lines, that is, a plurality of scanning lines 13,
A plurality of data lines 9 intersecting with the scanning lines 13 are provided, and the scanning lines 13 are connected to the scanning signal driving circuit 1.
10, and the data line 9 is driven by the data signal drive circuit 120. In each pixel region 150, the TFD element 40 and the liquid crystal display element 160 (liquid crystal layer) are connected in series between the scanning line 13 and the data line 9. In FIG. 1, the TFD element 40 is connected to the scanning line 13 side and the liquid crystal display element 160 is connected to the data line 9 side. On the contrary, the TFD element 40 is connected to the data line 9 side and the liquid crystal display element 160 is connected to the data line 9 side. The display element 160 may be provided on the scanning line 13 side.

次に、図2に基づいて、本実施形態の液晶表示装置100の表示用液晶セルにおける電
極の平面構造(画素構造)について説明する。
図2に示すように、本実施形態の表示用液晶セルは、走査線13にTFD素子40を介
して接続された画素電極31がマトリクス状に設けられており、紙面の垂直方向に画素電
極31と対向するように対向電極9が短冊状(ストライプ状)に設けられている。対向電
極9は上述したデータ線のことであり、走査線13と交差する形のストライプ形状を有し
ている。本実施の形態において、各画素電極31が形成された個々の領域が1つのドット
領域であり、マトリクス状に配置された各ドット領域毎にTFD素子40が具備され、ド
ット領域毎に表示が可能な構造になっている。図2では簡易的に各画素電極を略矩形状に
図示したが、実際には後述するように島状部と連結部とを有している。ここで、TFD素
子40は走査線13と画素電極31とを電気的に接続するスイッチング素子であって、T
FD素子40は、Taを主成分とする第1導電膜と、第1導電膜の表面に形成され、Ta
を主成分とする絶縁膜と、絶縁膜の表面に形成され、Crを主成分とする第2導電
膜とを含むMIM(Metal-Insulator-Metal)構造を具備して構成されている。そして、
TFD素子40の第1導電膜が走査線13に接続され、第2導電膜が画素電極31に接続
されている。
Next, the planar structure (pixel structure) of the electrodes in the display liquid crystal cell of the liquid crystal display device 100 of the present embodiment will be described with reference to FIG.
As shown in FIG. 2, in the display liquid crystal cell of this embodiment, pixel electrodes 31 connected to the scanning lines 13 via the TFD elements 40 are provided in a matrix, and the pixel electrodes 31 are arranged in a direction perpendicular to the paper surface. The counter electrode 9 is provided in a strip shape (stripe shape) so as to oppose. The counter electrode 9 is the data line described above, and has a stripe shape that intersects the scanning line 13. In the present embodiment, each region where each pixel electrode 31 is formed is one dot region, and each dot region arranged in a matrix is provided with a TFD element 40, which can display each dot region. It has a simple structure. In FIG. 2, each pixel electrode is simply illustrated in a substantially rectangular shape, but actually has an island portion and a connecting portion as will be described later. Here, the TFD element 40 is a switching element for electrically connecting the scanning line 13 and the pixel electrode 31,
The FD element 40 is formed on the surface of the first conductive film having Ta as a main component and the first conductive film.
An MIM (Metal-Insulator-Metal) structure including an insulating film containing 2 O 3 as a main component and a second conductive film formed on the surface of the insulating film and containing Cr as a main component is provided. . And
A first conductive film of the TFD element 40 is connected to the scanning line 13, and a second conductive film is connected to the pixel electrode 31.

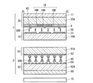
次に、図3、図4に基づいて、本実施の形態の液晶表示装置100の画素構成について
説明する。図3は表示用液晶セルの画素構成、特に画素電極31の平面構成を示す模式図
である。図4は視角制御用液晶セルを含む液晶表示装置全体の断面図であり、図3のA−
A’線に沿う断面図である。
本実施の形態の液晶表示装置100は、図3に示したように、データ線9および走査線
13等により囲まれた領域の内側に画素電極31を備えてなるドット領域を有している。
このドット領域内には、図3に示すように、1つのドット領域に対応して3原色のうちの
異なる色の1つの着色層が配設され、隣接する3つのドット領域(D1,D2,D3)で
各着色層16B(青色),16G(緑色),16R(赤色)を含む1つの画素を形成して
いる。
Next, a pixel configuration of the liquid crystal display device 100 according to the present embodiment will be described with reference to FIGS. FIG. 3 is a schematic diagram showing a pixel configuration of the display liquid crystal cell, particularly a planar configuration of the pixel electrode 31. FIG. 4 is a cross-sectional view of the entire liquid crystal display device including the viewing angle control liquid crystal cell.
It is sectional drawing which follows an A 'line.
As shown in FIG. 3, the liquid crystal display device 100 according to the present embodiment has a dot region including a pixel electrode 31 inside a region surrounded by the data lines 9 and the scanning lines 13.
In this dot area, as shown in FIG. 3, one colored layer of different colors among the three primary colors is arranged corresponding to one dot area, and adjacent three dot areas (D1, D2, D2) are arranged. In D3), one pixel including the colored layers 16B (blue), 16G (green), and 16R (red) is formed.

本実施の形態の液晶表示装置100は、図4に示すように、上側(使用者側)から見て
表示用液晶セル1、視角制御用液晶セル2、バックライト15がこの順に積層されている
。図4では表示用液晶セル1、視角制御用液晶セル2、バックライト15をそれぞれ離し
て図示しているが、実際には任意の手段を用いて密着させることが望ましい。
As shown in FIG. 4, the liquid crystal display device 100 according to the present embodiment has a display liquid crystal cell 1, a viewing angle control liquid crystal cell 2, and a backlight 15 stacked in this order as viewed from the upper side (user side). . In FIG. 4, the display liquid crystal cell 1, the viewing angle control liquid crystal cell 2, and the backlight 15 are illustrated separately from each other.

まず、表示用液晶セル1について説明する。
表示用液晶セル1においては、上基板(対向基板)25とこれに対向配置された下基板
(素子基板)10との間に、初期配向状態が垂直配向を呈する、誘電異方性が負の液晶材
料からなる液晶層50が挟持されている。なお、透過率向上のため、液晶層50にカイラ
ル剤を添加しても良い。
First, the display liquid crystal cell 1 will be described.
In the display liquid crystal cell 1, the initial alignment state is vertical alignment between the upper substrate (counter substrate) 25 and the lower substrate (element substrate) 10 disposed opposite thereto, and the dielectric anisotropy is negative. A liquid crystal layer 50 made of a liquid crystal material is sandwiched. A chiral agent may be added to the liquid crystal layer 50 in order to improve the transmittance.

上基板25は、ガラス、石英等の透光性材料からなる基板本体25Aの内面(基板本体
25Aの液晶層側)に、赤色着色層16R、緑色着色層16G、青色着色層16Bを有す
るカラーフィルタ16が設けられている。図4では図示を省略したが、各着色層16R,
16B,16Gの周囲は金属クロム等からなるブラックマトリクスBMで囲まれ、ブラッ
クマトリクスBMにより各ドット領域D1,D2,D3の境界が形成されている(図3参
照)。カラーフィルタ16上には、インジウム錫酸化物(Indium Tin Oxide, 以下、IT
Oと略記する)等の透明導電膜からなる対向電極9が形成され、対向電極9上にはポリイ
ミド等からなる配向膜(図示略)が形成されている。配向膜は液晶分子を膜面に対して垂
直に配向させる垂直配向膜として機能するものであり、ラビングなどの配向処理は施され
ていない。なお、図4において対向電極9は、紙面横方向に延びる形のストライプ状に形
成されており、紙面横方向に並ぶ複数のドット領域に共通の電極として機能する。また、
対向電極9上には、後述する配向制御手段としての突起43が液晶層50に向けて突出す
るように形成されている。突起43は樹脂等で形成されており、円錐状、円錐台状、多角
錐状、多角錐台状、あるいはこれらに丸みを加えた半球状等の形状をしている。
The upper substrate 25 is a color filter having a red colored layer 16R, a green colored layer 16G, and a blue colored layer 16B on the inner surface (the liquid crystal layer side of the substrate body 25A) of a substrate body 25A made of a light-transmitting material such as glass or quartz. 16 is provided. Although not shown in FIG. 4, each colored layer 16R,
The surroundings of 16B and 16G are surrounded by a black matrix BM made of metal chromium or the like, and the boundaries of the dot areas D1, D2, and D3 are formed by the black matrix BM (see FIG. 3). On the color filter 16, indium tin oxide (hereinafter referred to as IT)
A counter electrode 9 made of a transparent conductive film such as O) is formed, and an alignment film (not shown) made of polyimide or the like is formed on the counter electrode 9. The alignment film functions as a vertical alignment film that aligns liquid crystal molecules perpendicularly to the film surface, and is not subjected to alignment treatment such as rubbing. In FIG. 4, the counter electrode 9 is formed in a stripe shape extending in the horizontal direction on the paper surface and functions as a common electrode for a plurality of dot regions arranged in the horizontal direction on the paper surface. Also,
On the counter electrode 9, a protrusion 43 as an alignment control means described later is formed so as to protrude toward the liquid crystal layer 50. The protrusion 43 is made of resin or the like, and has a conical shape, a truncated cone shape, a polygonal pyramid shape, a polygonal truncated pyramid shape, or a hemispherical shape obtained by adding roundness to these.

下基板10は、石英、ガラス等の透光性材料からなる基板本体10Aの内面に、ITO
等の透明導電膜からなる画素電極31と、ポリイミド等からなる垂直配向機能を持つ配向
膜(図示略)とが形成されている。なお、図4ではTFD素子や走査線等の図示は省略し
ている。特に本実施の形態では、図3に示すように、画素電極31は複数の島状部31a
,31b,31cを含んで構成されており、各島状部31a,31b,31c同士が連結
部39を介して電気的に接続されて画素電極31を構成している。つまり、本実施形態で
は、各ドット領域D1,D2,D3を、略同じ形状の複数(図3では3つ)のサブドット
領域S1,S2,S3に分割して構成している。つまり、下基板10側の画素電極31が
、複数(図3では3つ)の島状部31a,31b,31cと、隣接する各島状部を互いに
電気的に接続する連結部39,39とを含んで構成されており、各島状部31a,31b
,31cがそれぞれサブドット領域S1,S2,S3を構成している。
The lower substrate 10 is formed on the inner surface of a substrate body 10A made of a translucent material such as quartz or glass with ITO.
A pixel electrode 31 made of a transparent conductive film or the like and an alignment film (not shown) made of polyimide or the like and having a vertical alignment function are formed. In FIG. 4, illustration of TFD elements, scanning lines, and the like is omitted. Particularly in the present embodiment, as shown in FIG. 3, the pixel electrode 31 includes a plurality of island portions 31a.
, 31b, 31c, and the island-shaped portions 31a, 31b, 31c are electrically connected via the connecting portion 39 to form the pixel electrode 31. That is, in the present embodiment, each dot area D1, D2, D3 is divided into a plurality of (three in FIG. 3) sub-dot areas S1, S2, S3 having substantially the same shape. That is, the pixel electrode 31 on the lower substrate 10 side includes a plurality (three in FIG. 3) of island-shaped portions 31a, 31b, and 31c and connecting portions 39 and 39 that electrically connect the adjacent island-shaped portions to each other. Each island-shaped part 31a, 31b
, 31c constitute sub-dot regions S1, S2, S3, respectively.

通常、カラー液晶表示装置では、1つのドット領域の縦横比が約3:1となるので、本
実施形態のように、1つのドット領域D1,D2,D3に3つのサブドット領域S1,S
2,S3を設けると、1つのサブドット領域の形状が略円形や略多角形となる。各サブド
ット領域S1,S2,S3(島状部31a,31b,31c)の形状は、図3では略正八
角形状であるが、これに限らず、例えば円形状、その他の多角形状のものとすることがで
きる。そして、画素電極31の正八角形状の各島状部31a,31b,31cの中央に、
前述した上基板25側の突起43が配置されている。液晶層50の液晶分子50Bは非選
択電圧印加(電圧オフ)時に垂直配向しているが、選択電圧印加(電圧オン)時にはこの
突起43による形状効果と画素電極31の島状部の持つフリンジ電界効果とが相俟って、
液晶分子50Bは360°全方位に倒れることになる。このような配向制御を行うことに
より、広視角化が図れる。あるいは、突起43に代えて、対向電極9をパターニングして
多角形または円形の開口部を設けても、同様の配向制御効果が得られる。
Usually, in a color liquid crystal display device, the aspect ratio of one dot area is about 3: 1. Therefore, as in the present embodiment, one dot area D1, D2, D3 includes three sub-dot areas S1, S.
When S2 and S3 are provided, the shape of one subdot region is substantially circular or substantially polygonal. The shape of each of the sub-dot regions S1, S2, S3 (island portions 31a, 31b, 31c) is a substantially regular octagonal shape in FIG. 3, but is not limited thereto, and is, for example, a circular shape or other polygonal shapes. can do. Then, in the center of each of the regular octagonal island portions 31a, 31b, 31c of the pixel electrode 31,
The above-described protrusion 43 on the upper substrate 25 side is disposed. The liquid crystal molecules 50B of the liquid crystal layer 50 are vertically aligned when a non-selection voltage is applied (voltage off). However, when the selection voltage is applied (voltage on), the shape effect by the protrusion 43 and the fringe electric field of the island-shaped portion of the pixel electrode 31 are obtained. Combined with the effect,
The liquid crystal molecules 50B will fall in all directions of 360 °. By performing such orientation control, a wide viewing angle can be achieved. Alternatively, the same orientation control effect can be obtained even if the counter electrode 9 is patterned to provide a polygonal or circular opening instead of the protrusion 43.

次に、視角制御用液晶セル2について説明する。
視角制御用液晶セル2においては、上基板61とこれに対向配置された下基板62との
間に、誘電異方性が正のネマチック液晶材料からなる液晶層65が挟持されている。上基
板61は、ガラス等の透光性材料からなる基板本体61Aの内面に、ITO等の透明導電
膜からなる上電極63が形成されている。同様に、下基板62側も、ガラス等の透光性材
料からなる基板本体62Aの内面に、ITO等の透明導電膜からなる下電極64が形成さ
れている。視角制御用液晶セル2においては、これら上電極63、下電極64はともにド
ット領域毎には分割されていないが、その平面形状が異なっている。上電極63は、上基
板61の内面に全面ベタ状に設けられている。一方、下電極64は、図5に示すように、
表示用液晶セル1の有効表示領域内において下基板62の内面にチェッカーフラグ状にパ
ターニングされている。すなわち、正方形状の電極が存在する部分と存在しない部分が縦
横に交互に配置されており、本実施形態では繰り返しピッチP(電極が存在する部分と存
在しない部分の寸法の和)が8mmに設定されている。またこの例では、チェッカーフラ
グパターンの縦横の配列方向は、表示用液晶セルの画素の縦横の配列方向と一致している
。なお、表示用液晶セル1の有効表示領域とは、実際に表示に寄与するドット領域D1,
D2,D3がマトリクス状に配列された箇所のことをいう。
Next, the viewing angle control liquid crystal cell 2 will be described.
In the viewing angle controlling liquid crystal cell 2, a liquid crystal layer 65 made of a nematic liquid crystal material having positive dielectric anisotropy is sandwiched between an upper substrate 61 and a lower substrate 62 disposed opposite thereto. In the upper substrate 61, an upper electrode 63 made of a transparent conductive film such as ITO is formed on the inner surface of a substrate body 61A made of a translucent material such as glass. Similarly, on the lower substrate 62 side, a lower electrode 64 made of a transparent conductive film such as ITO is formed on the inner surface of a substrate body 62A made of a translucent material such as glass. In the viewing angle control liquid crystal cell 2, the upper electrode 63 and the lower electrode 64 are not divided for each dot region, but their planar shapes are different. The upper electrode 63 is provided on the inner surface of the upper substrate 61 in a solid form. On the other hand, as shown in FIG.
In the effective display area of the liquid crystal cell 1 for display, the inner surface of the lower substrate 62 is patterned in a checker flag shape. That is, the portions where the square electrodes exist and the portions where they do not exist are alternately arranged vertically and horizontally, and in this embodiment, the repetition pitch P (the sum of the dimensions of the portions where the electrodes are present and the portions where the electrodes are not present) is set to 8 mm. Has been. In this example, the vertical and horizontal arrangement directions of the checker flag pattern coincide with the vertical and horizontal arrangement directions of the pixels of the display liquid crystal cell. The effective display area of the display liquid crystal cell 1 is the dot area D1, which actually contributes to display.
This refers to the place where D2 and D3 are arranged in a matrix.

液晶層65は、初期状態で液晶分子65Bが180°ツイストしたものである。このよ
うな初期配向状態は、例えば上基板61の上電極63上および下基板62の下電極64上
に水平配向用ポリイミド膜を塗布、焼成してラビング処理することによって得られる。そ
して、上電極63、下電極64間に電圧を印加することにより液晶層65の液晶分子を基
板面にほぼ垂直に立たせることができる。上述したように、液晶層65には誘電異方性が
正のネマチック液晶材料を用い、その複屈折率Δnと液晶層厚dとの積Δn・dを1.5
μmと設定する。
The liquid crystal layer 65 is a liquid crystal molecule 65B twisted by 180 ° in the initial state. Such an initial alignment state can be obtained, for example, by applying a horizontal alignment polyimide film on the upper electrode 63 of the upper substrate 61 and the lower electrode 64 of the lower substrate 62, baking, and rubbing. Then, by applying a voltage between the upper electrode 63 and the lower electrode 64, the liquid crystal molecules of the liquid crystal layer 65 can be made to stand substantially perpendicular to the substrate surface. As described above, a nematic liquid crystal material having a positive dielectric anisotropy is used for the liquid crystal layer 65, and the product Δn · d of the birefringence Δn and the liquid crystal layer thickness d is 1.5.
Set to μm.

また、表示用液晶セル1の上基板25の外面側に第1の偏光板17が設けられ、視角制
御用液晶セル2の下基板62の外面側に第2の偏光板66が設けられ、表示用液晶セル1
の下基板10と視角制御用液晶セル2の上基板61との間に第3の偏光板19が設けられ
ている。第2の偏光板66と第3の偏光板19とは、図6に示すように、互いの吸収軸方
向が平行になるように配置され、表示画面を正面から見たときに画面の上下方向(12時
−6時方向)に一致するように配置されている。また、第2の偏光板66および第3の偏
光板19の吸収軸と、視角制御用液晶セル2の法線方向から見た液晶層65の遅相軸の方
向とが平行になるように配置されている。視角制御用液晶セル2の液晶層65の遅相軸の
方向は視角制御用液晶セル2のラビング方向に一致するので、言い換えると、第2の偏光
板66および第3の偏光板19の吸収軸と視角制御用液晶セル2の上基板61のラビング
方向および下基板62のラビング方向とが平行に設定されている。よって、上基板61の
ラビング方向は、図6に示すように、画面の上下方向であって、12時から6時に向かう
方向とするか、あるいは6時から12時に向かう方向とする。なお、第1の偏光板17の
吸収軸は第2の偏光板66および第3の偏光板19の吸収軸と直交しており、表示用液晶
セルがノーマリーブラックの構成となっている。さらに、視角制御用液晶セル2の外面側
の第2の偏光板66の外側には、透過表示用光源となるバックライト15が設けられてい
る。
The first polarizing plate 17 is provided on the outer surface side of the upper substrate 25 of the display liquid crystal cell 1, and the second polarizing plate 66 is provided on the outer surface side of the lower substrate 62 of the viewing angle control liquid crystal cell 2. Liquid crystal cell 1
A third polarizing plate 19 is provided between the lower substrate 10 and the upper substrate 61 of the viewing angle control liquid crystal cell 2. As shown in FIG. 6, the second polarizing plate 66 and the third polarizing plate 19 are arranged so that the absorption axis directions of the second polarizing plate 66 and the third polarizing plate 19 are parallel to each other. It arrange | positions so that it may correspond (12: 00-6 o'clock direction). Also, the absorption axes of the second polarizing plate 66 and the third polarizing plate 19 are arranged so that the slow axis direction of the liquid crystal layer 65 viewed from the normal direction of the viewing angle controlling liquid crystal cell 2 is parallel. Has been. Since the slow axis direction of the liquid crystal layer 65 of the viewing angle control liquid crystal cell 2 coincides with the rubbing direction of the viewing angle control liquid crystal cell 2, in other words, the absorption axes of the second polarizing plate 66 and the third polarizing plate 19. And the rubbing direction of the upper substrate 61 and the rubbing direction of the lower substrate 62 are set in parallel. Therefore, the rubbing direction of the upper substrate 61 is a vertical direction of the screen as shown in FIG. 6 and is a direction from 12:00 to 6 o'clock, or a direction from 6 o'clock to 12 o'clock. The absorption axis of the first polarizing plate 17 is orthogonal to the absorption axes of the second polarizing plate 66 and the third polarizing plate 19, and the display liquid crystal cell has a normally black configuration. Further, a backlight 15 serving as a light source for transmissive display is provided outside the second polarizing plate 66 on the outer surface side of the viewing angle control liquid crystal cell 2.

上記構成の液晶表示装置においては、180°ツイスト配向を呈する液晶層65を持つ
視角制御用液晶セル2が備えられたことによって、選択電圧印加(電圧オン)時に表示用
液晶セル1が本来持つ視角を狭め、視角制限効果を発揮することができる。
その作用について以下、説明する。
すなわち、視角制御用液晶セル2のΔn・dが十分に大きいため、非選択電圧印加(電
圧オフ)時には旋光性が生じる。したがって、第2の偏光板66を透過した直線偏光は1
80°旋光して第3の偏光板19を透過する。一方、十分に高い電圧、例えば±10V、
100Hzの矩形波交流電圧を印加(電圧オン)すると、液晶が基板面に対してほぼ垂直
に立ち上がって複屈折性を失うため、やはり第2の偏光板66を透過した直線偏光は第3
の偏光板19を透過する。したがって、観察者がパネルの法線方向から見る限りにおいて
は、液晶層65に電圧を印加した場合と印加しない場合の区別が付かない。ということは
、電圧オン時にパネル法線方向から見た場合には、視角制御用液晶セル2のパターニング
された下電極64が存在する箇所と存在しない箇所との見分けが付かないことになる。と
ころが、液晶が基板面に対してほぼ垂直に立ち上がった状態においては、パネル法線方向
から外れた斜め方向から入射した光は位相差を感じることになるため、第2の偏光板66
を透過した直線偏光が第3の偏光板19を透過する成分が減り、暗くなる。したがって、
電圧オン時に斜め方向からは見た場合には、視角制御用液晶セル2のパターニングされた
下電極64が存在する箇所と存在しない箇所との区別が付くことになる。すなわち、明る
い領域と暗い領域が交互に近接して存在することになり、人間の目にはこのような視角制
御用液晶セル2を通して表示用液晶セル1の表示を視認するのが困難になる。これにより
狭視角化が可能となり、電極に対して電圧を印加しなければ広視角化が可能となる。
In the liquid crystal display device having the above-described configuration, the viewing angle control liquid crystal cell 2 having the liquid crystal layer 65 exhibiting 180 ° twist alignment is provided, so that the viewing angle inherent in the display liquid crystal cell 1 when a selection voltage is applied (voltage on). The effect of limiting the viewing angle can be exhibited.
The operation will be described below.
That is, since Δn · d of the viewing angle control liquid crystal cell 2 is sufficiently large, optical rotation occurs when a non-selection voltage is applied (voltage off). Therefore, the linearly polarized light transmitted through the second polarizing plate 66 is 1
The light is rotated by 80 ° and transmitted through the third polarizing plate 19. On the other hand, a sufficiently high voltage, for example ± 10V,
When a rectangular wave AC voltage of 100 Hz is applied (voltage on), the liquid crystal rises almost perpendicularly to the substrate surface and loses birefringence, so that the linearly polarized light transmitted through the second polarizing plate 66 is third.
The polarizing plate 19 is transmitted. Therefore, as long as the observer views from the normal direction of the panel, there is no distinction between when the voltage is applied to the liquid crystal layer 65 and when it is not applied. This means that when viewed from the normal direction of the panel when the voltage is on, it is impossible to distinguish between the location where the patterned lower electrode 64 of the viewing angle control liquid crystal cell 2 is present and the location where it is not present. However, in a state where the liquid crystal rises substantially perpendicular to the substrate surface, light incident from an oblique direction deviating from the normal direction of the panel feels a phase difference.
The component of the linearly polarized light that has passed through the third polarizing plate 19 is reduced and darkened. Therefore,
When viewed from an oblique direction when the voltage is turned on, it is possible to distinguish between a location where the patterned lower electrode 64 of the viewing angle control liquid crystal cell 2 is present and a location where it is not present. That is, bright areas and dark areas exist alternately close to each other, making it difficult for the human eye to visually recognize the display of the display liquid crystal cell 1 through the viewing angle control liquid crystal cell 2. As a result, a narrow viewing angle can be achieved, and a wide viewing angle can be achieved if no voltage is applied to the electrodes.

本実施形態における視角制御用液晶セルと第2の偏光板、第3の偏光板だけを用いて視
角特性を測定した結果を図7,図8に示す。図7は電圧オフ時、図8は電圧オン時(印加
電圧:±10V、周波数:100Hzの矩形波交流電圧印加時)の等透過率曲線を示して
おり、縦軸、横軸は液晶セル法線方向に対する極角(°)である。ただし、これはあくま
でも視角制御用液晶セルのみの視角特性であるから、液晶表示装置全体の視角特性はこれ
に表示用液晶セルの視角特性を掛け合わせたものになる。
電圧オフ時には、図7に示すように、全ての視角領域で透過率が42〜50%、すなわ
ち一方の直線偏光をほとんど透過するため、表示用液晶セルの広い視角特性がそのまま保
持されることになる。その一方、電圧オン時には、図8に示すように、透過率が低い領域
ができ、特に左右方向(3時−9時方向)で透過率0〜30%程度の領域が大きく生じる
ため、左右方向からの覗き見を効果的に防止することができる。
FIGS. 7 and 8 show the results of measuring the viewing angle characteristics using only the viewing angle control liquid crystal cell, the second polarizing plate, and the third polarizing plate in the present embodiment. FIG. 7 shows an equitransmittance curve when the voltage is off, and FIG. 8 shows an equitransmittance curve when the voltage is on (applied voltage: ± 10 V, frequency: 100 Hz rectangular wave AC voltage applied). Polar angle (°) with respect to the line direction. However, since this is only the viewing angle characteristic of the viewing angle control liquid crystal cell, the viewing angle characteristic of the entire liquid crystal display device is multiplied by the viewing angle characteristic of the display liquid crystal cell.
When the voltage is turned off, as shown in FIG. 7, the transmittance is 42 to 50% in all viewing angle regions, that is, one of the linearly polarized light is almost transmitted, so that the wide viewing angle characteristic of the display liquid crystal cell is maintained as it is. Become. On the other hand, when the voltage is turned on, as shown in FIG. 8, a region with low transmittance is formed, and particularly in the left-right direction (3 o'clock to 9 o'clock direction), a region with a transmittance of about 0 to 30% is generated. It is possible to effectively prevent peeping from.

また、図9は図7,図8における左右方向(3時−9時方向)の透過率を示すグラフで
ある。図9における横軸は極角(°)、縦軸は透過率(%)である。極角50°付近で透
過率がパネル法線方向透過率(極角0°における透過率)の1割以下まで低下しており、
表示が認識しにくくなっている。ところが、極角が40°程度になると、透過率がパネル
法線方向透過率(極角0°における透過率)の5割程度になるため、表示が認識できてし
まう。本実施の形態においては、視角制御用液晶セル2の下電極64をパターニングして
いるため、明るい領域と暗い領域とが近接してできることになる。そのコントラストは極
角40°では高々2しかないが、暗い領域の隣に明るい領域があり、その面積も等しいた
めに、暗い領域を通して表示用液晶セル1の表示を見ることが困難になる。なお、明るい
領域の面積が小さすぎると、暗い領域を通して背面側の表示が透けて見えることになり、
逆に明るい領域の面積が大きすぎると、背面側の表示が直接見えてしまうので、視角制限
効果が得られなくなる。一方、パネル法線方向からは、電圧が印加された部分も印加され
ない部分もほぼ同じ透過率であるから、視角制御用液晶セル2のオン/オフは表示用液晶
セル1の表示に影響を及ぼさない。
FIG. 9 is a graph showing the transmittance in the left-right direction (3 o'clock to 9 o'clock direction) in FIGS. In FIG. 9, the horizontal axis represents the polar angle (°), and the vertical axis represents the transmittance (%). The transmittance is reduced to 10% or less of the transmittance in the normal direction of the panel (transmittance at a polar angle of 0 °) near the polar angle of 50 °.
The display is difficult to recognize. However, when the polar angle is about 40 °, the transmittance is about 50% of the transmittance in the normal direction of the panel (transmittance at the polar angle of 0 °), and thus the display can be recognized. In the present embodiment, since the lower electrode 64 of the viewing angle control liquid crystal cell 2 is patterned, a bright region and a dark region can be formed close to each other. Although the contrast is only 2 at most at a polar angle of 40 °, there is a bright region next to the dark region, and the area is equal, so it is difficult to see the display of the display liquid crystal cell 1 through the dark region. If the area of the bright area is too small, the display on the back side can be seen through the dark area,
On the other hand, if the area of the bright region is too large, the display on the back side can be seen directly, and the viewing angle limiting effect cannot be obtained. On the other hand, from the normal direction of the panel, the portion to which the voltage is applied and the portion to which the voltage is not applied have substantially the same transmittance. Therefore, the on / off of the viewing angle control liquid crystal cell 2 affects the display of the display liquid crystal cell 1. Absent.

次に、本発明者は、視角制御用液晶セルのチェッカーフラグパターンのピッチを様々に
変化させ、3時方向の極角が40°の方向から表示用液晶セルの表示が認識できるか否か
を、8人の被験者に5点法で採点させた。その結果を図10に示す。図10の横軸はチェ
ッカーフラグパターンのピッチ(mm)、縦軸は見やすさである。表示パターンにはテキ
スト(文字列)を使用し、テキストのフォントの大きさは、高さ3mmと5mmの2種類
を用意した。見やすさの指標は、5点:「全て認識できる」、4点:「見にくいが認識で
きる」、3点:「所々認識できないがテキストの要旨は読み取れる」、2点:「所々認識
できるがテキストの要旨は読み取れない」、1点:「全く認識できない」、である。被験
者はこの5段階で採点し、図10の縦軸の見やすさの値は8人の点数の平均値を採った。
Next, the present inventor changes the pitch of the checker flag pattern of the viewing angle control liquid crystal cell in various ways, and determines whether or not the display of the display liquid crystal cell can be recognized from the direction where the polar angle in the 3 o'clock direction is 40 °. , 8 subjects were scored by the 5-point method. The result is shown in FIG. The horizontal axis in FIG. 10 is the checker flag pattern pitch (mm), and the vertical axis is the visibility. For the display pattern, text (character string) was used, and two types of text font sizes of 3 mm and 5 mm were prepared. The visibility indicators are 5 points: “All can be recognized”, 4 points: “It is difficult to see but can be recognized”, 3 points: “Somewhere can not be recognized but the gist of the text can be read”, 2 points: The gist cannot be read ”, 1 point:“ cannot be recognized at all ”. The subjects scored in these five stages, and the value of visibility on the vertical axis in FIG. 10 was the average of the scores of eight people.

図10に示すように、ピッチが2mmよりも小さい領域では、明るい領域と暗い領域と
が混じり合って、表示が多少薄暗くグレーになるだけで表示の認識には支障がなくなる。
一方、ピッチが20mmよりも大きい領域では、明るい領域が広くなってその部分のテキ
ストが読み取れるようになるとともに、暗い領域が明るい領域との対比で十分に暗くなっ
て見えなくなるため、表示が認識できてしまう。フォントの大きさはピッチが大きい領域
では多少影響するが、視角制限に対して最も効果があるピッチは、フォントの大きさに関
係なく、2mm以上、20mm以下(見やすさの平均値が2以下となる領域)であること
が判った。
As shown in FIG. 10, in the area where the pitch is smaller than 2 mm, the bright area and the dark area are mixed, and the display becomes slightly dim and gray, and there is no problem in the recognition of the display.
On the other hand, in the area where the pitch is larger than 20 mm, the bright area becomes wider so that the text of the portion can be read, and the dark area becomes sufficiently dark compared with the bright area so that the display cannot be recognized. End up. The size of the font is somewhat affected in the region where the pitch is large, but the most effective pitch for viewing angle restriction is 2 mm or more and 20 mm or less regardless of the size of the font (the average value of visibility is 2 or less). It was found that

なお、本実施形態では、視角制御用液晶セル2の下電極64をチェッカーフラグ状にパ
ターニングし、チェッカーフラグパターンの縦横の配列を表示用液晶セルの画素の縦横の
配列と一致させたが、パターン形状はこれに限るものではない。
例えば、図11に示す電極64aのように、同じチェッカーフラグパターンであっても
、表示用液晶セルの画素の縦横に対してチェッカーフラグパターンが斜めになるように配
置しても良い。この場合、視角制限効果は本実施形態と変わらないが、特にピッチが小さ
い場合に表示用液晶セルの画素とモアレが生じにくくなるという効果がある。
In the present embodiment, the lower electrode 64 of the viewing angle control liquid crystal cell 2 is patterned in a checker flag shape, and the vertical and horizontal arrangement of the checker flag pattern is made to coincide with the vertical and horizontal arrangement of the pixels of the display liquid crystal cell. The shape is not limited to this.
For example, like the electrode 64a shown in FIG. 11, even if the checker flag pattern is the same, the checker flag pattern may be arranged so as to be inclined with respect to the vertical and horizontal directions of the pixels of the liquid crystal cell for display. In this case, the viewing angle limiting effect is the same as that of the present embodiment, but there is an effect that moire and pixels of the liquid crystal cell for display are less likely to occur particularly when the pitch is small.

あるいは、図12に示す電極64bのように、ストライプ状のパターンとしても良い。
この場合も横書きのテキストに対する視角制限効果は変わらない。したがって、デザイン
上の要求があれば、選択しても良いパターンである。図11,図12のパターンの最適な
ピッチは、本実施形態と同様、2mm以上、20mm以下である。
Alternatively, a striped pattern may be used like the electrode 64b shown in FIG.
In this case, the effect of limiting the viewing angle on horizontally written text is not changed. Therefore, this pattern may be selected if there is a design requirement. The optimum pitch of the patterns in FIGS. 11 and 12 is 2 mm or more and 20 mm or less, as in this embodiment.

あるいは、図13に示す電極64cのように、より複雑なパターン、例えばテキスト等
を採用しても良い。この場合、視角制御用液晶セルのテキストと表示用液晶セルのテキス
トとが混ざり合って、より認識しにくくなるという効果が得られる。
Or you may employ | adopt a more complicated pattern, for example, a text etc. like the electrode 64c shown in FIG. In this case, it is possible to obtain an effect that the text in the viewing angle control liquid crystal cell and the text in the display liquid crystal cell are mixed and become difficult to recognize.

[第2の実施の形態]
以下、本発明の第2の実施の形態を図14を参照しつつ説明する。
本実施形態の液晶表示装置は、表示用液晶セル、視角制御用液晶セルの構成自体は第1
の実施の形態と同様であり、偏光板の構成が第1の実施の形態と異なるのみである。図1
4は本実施の形態の液晶表示装置の断面図であるが、図14において図4と共通の構成要
素には同一の符号を付し、説明は省略する。
[Second Embodiment]
Hereinafter, a second embodiment of the present invention will be described with reference to FIG.
The liquid crystal display device of the present embodiment is the first in the configuration of the display liquid crystal cell and the viewing angle control liquid crystal cell.
The configuration of the polarizing plate is different from that of the first embodiment. FIG.
4 is a cross-sectional view of the liquid crystal display device according to the present embodiment. In FIG. 14, the same reference numerals are given to the same components as those in FIG.

本実施の形態の液晶表示装置においては、図14に示すように、表示用液晶セル1の上
基板25の外面側に第1の偏光板17が設けられ、視角制御用液晶セル2の下基板62の
外面側に第2の偏光板66が設けられている。第1の実施の形態では表示用液晶セル1の
下基板10と視角制御用液晶セル2の上基板61との間に第3の偏光板19が設けられて
いたが、本実施の形態では第3の偏光板19が設けられていない。よって、本実施の形態
においては、表示用液晶セルの下基板と視角制御用液晶セルの上基板とを接着したり、1
枚の基板で兼用することも可能である。そうすれば、液晶表示装置の薄型化や部品点数の
削減を図ることができる。
In the liquid crystal display device of the present embodiment, as shown in FIG. 14, a first polarizing plate 17 is provided on the outer surface side of the upper substrate 25 of the display liquid crystal cell 1, and the lower substrate of the viewing angle control liquid crystal cell 2. A second polarizing plate 66 is provided on the outer surface side of 62. In the first embodiment, the third polarizing plate 19 is provided between the lower substrate 10 of the display liquid crystal cell 1 and the upper substrate 61 of the viewing angle control liquid crystal cell 2. However, in the present embodiment, the third polarizing plate 19 is provided. No. 3 polarizing plate 19 is not provided. Therefore, in the present embodiment, the lower substrate of the display liquid crystal cell and the upper substrate of the viewing angle control liquid crystal cell are bonded,
It is also possible to use a single substrate. Then, the liquid crystal display device can be thinned and the number of parts can be reduced.

このように、第3の偏光板19を使用しない場合も、視角制御用液晶セル2の電圧オン
/オフに係わらず、視角制御用液晶セル2を透過したバックライト光は直線偏光になって
いるため、法線方向の表示特性を損なうことがない。しかしながら、視角制御用液晶セル
2と表示用液晶セル1との相互作用によって、第1の実施の形態とは異なる作用、効果が
現れる。すなわち、本実施の形態では第3の偏光板19による検光がなされないため、第
1の実施の形態において視角制御用液晶セル2で暗くなった視角範囲、例えば図9におけ
る左右方向の極角50°付近において表示のポジネガ反転が起こる。つまり、視角制御用
液晶セル2の下電極64が存在する部分と存在しない部分(液晶層65に電圧が印加され
る部分と印加されない部分)とが、明暗のコントラストではなく、表示のポジネガのコン
トラストになるため、より表示が認識しにくくなる、という効果が生じる。さらに、本実
施の形態の場合、偏光板が1枚少ない分だけ、表示が明るくなり、装置の薄型化、部品点
数の削減が図れるという効果もある。
As described above, even when the third polarizing plate 19 is not used, the backlight light transmitted through the viewing angle control liquid crystal cell 2 is linearly polarized light regardless of the voltage on / off of the viewing angle control liquid crystal cell 2. Therefore, the display characteristics in the normal direction are not impaired. However, due to the interaction between the viewing angle control liquid crystal cell 2 and the display liquid crystal cell 1, different actions and effects from the first embodiment appear. That is, in the present embodiment, since the light is not analyzed by the third polarizing plate 19, the viewing angle range darkened in the viewing angle control liquid crystal cell 2 in the first embodiment, for example, the polar angle in the horizontal direction in FIG. The positive / negative reversal of the display occurs near 50 °. That is, the portion where the lower electrode 64 is present and the portion where the lower electrode 64 is not present (the portion where the voltage is applied to the liquid crystal layer 65 and the portion where the voltage is not applied) are not contrasts of light and dark, but positive / negative contrasts of display. Therefore, there is an effect that the display becomes more difficult to recognize. Further, in the case of the present embodiment, the display is brightened by the amount of one polarizing plate, and there is an effect that the apparatus can be thinned and the number of parts can be reduced.

[第3の実施の形態]
以下、本発明の第3の実施の形態を図15〜図18を参照しつつ説明する。
本実施形態の液晶表示装置は、表示用液晶セルの構成は第1の実施の形態と同様であっ
て、視角制御用液晶セルの液晶層および電極パターンが第1の実施の形態と異なるのみで
ある。図15は本実施の形態の液晶表示装置の断面図であるが、図15において図4と共
通の構成要素には同一の符号を付し、説明は省略する。
[Third Embodiment]
The third embodiment of the present invention will be described below with reference to FIGS.
In the liquid crystal display device of this embodiment, the configuration of the liquid crystal cell for display is the same as that of the first embodiment, and the liquid crystal layer and electrode pattern of the viewing angle control liquid crystal cell are different from those of the first embodiment. is there. FIG. 15 is a cross-sectional view of the liquid crystal display device according to the present embodiment. In FIG. 15, the same reference numerals are given to the same components as those in FIG.

本実施形態の液晶表示装置の特徴は、視角制御用液晶セルにハイブリッド液晶セルを用
いたことと、下電極のパターニング形状を変えたことである。
本実施形態の視角制御用液晶セル2Aにおいては、図15に示すように、上基板61と
下基板62との間に、初期配向状態がハイブリッド配向を呈する、誘電異方性が負の液晶
材料からなる液晶層75が挟持されている。液晶層75は、上基板61側界面でほぼ水平
配向、下基板62側界面でほぼ垂直配向を呈し、その間で液晶分子75Bのチルト角が連
続的に変化するハイブリッド配向を取っている。このような初期配向状態は、例えば上基
板61の上電極63上に水平配向用ポリイミド膜を塗布、焼成してラビング処理する一方
、下基板62の下電極64上に垂直配向用ポリイミド膜を塗布、焼成することによって得
られる。そして、上電極63、下電極64間に電圧を印加することにより液晶層65の液
晶分子75Bを基板面にほぼ平行に倒すことができる。なお、本実施の形態とは逆に、上
基板61側界面でほぼ垂直配向、下基板62側界面でほぼ水平配向を呈するようにしても
良い。上述したように、液晶層65には誘電異方性が負の液晶材料を用い、その複屈折率
Δnと液晶層厚dとの積Δn・dを6.0μmと設定する。
The liquid crystal display device of the present embodiment is characterized in that a hybrid liquid crystal cell is used as the viewing angle control liquid crystal cell and the patterning shape of the lower electrode is changed.
In the viewing angle controlling liquid crystal cell 2A of the present embodiment, as shown in FIG. 15, a liquid crystal material having a negative dielectric anisotropy in which an initial alignment state exhibits a hybrid alignment between an upper substrate 61 and a lower substrate 62. A liquid crystal layer 75 made of is sandwiched. The liquid crystal layer 75 exhibits a substantially horizontal alignment at the upper substrate 61 side interface and a substantially vertical alignment at the lower substrate 62 side interface, and has a hybrid alignment in which the tilt angle of the liquid crystal molecules 75B continuously changes. In such an initial alignment state, for example, a polyimide film for horizontal alignment is applied on the upper electrode 63 of the upper substrate 61, baked and rubbed, and a polyimide film for vertical alignment is applied on the lower electrode 64 of the lower substrate 62. Obtained by firing. Then, by applying a voltage between the upper electrode 63 and the lower electrode 64, the liquid crystal molecules 75B of the liquid crystal layer 65 can be tilted substantially parallel to the substrate surface. In contrast to the present embodiment, the upper substrate 61 side interface may be substantially vertical and the lower substrate 62 side interface may be substantially horizontal. As described above, a liquid crystal material having negative dielectric anisotropy is used for the liquid crystal layer 65, and the product Δn · d of the birefringence Δn and the liquid crystal layer thickness d is set to 6.0 μm.

上基板61の内面の上電極63は、基板61A上に全面ベタ状に形成されている。一方
、下基板62の内面の下電極74は、図16に示すように、複数の正方形パターンに分割
されるようにパターニングされている。そして、図中縦方向に並ぶ正方形パターンは1個
おきに接続されるとともに、横方向に隣接する正方形パターン列同士は分離され、さらに
1列おきに位置する正方形パターン列同士は接続されている。この構成により、図16に
おいて異なるハッチングを施した2つのチェッカーフラグパターンを有する第1電極74
a、第2電極74bに対して異なる電圧が印加可能となっている。第1電極74a,第2
電極74bのピッチPは15mmである。
The upper electrode 63 on the inner surface of the upper substrate 61 is formed in a solid shape on the entire surface of the substrate 61A. On the other hand, the lower electrode 74 on the inner surface of the lower substrate 62 is patterned so as to be divided into a plurality of square patterns as shown in FIG. In addition, every other square pattern arranged in the vertical direction in the drawing is connected, the square pattern rows adjacent in the horizontal direction are separated from each other, and the square pattern rows located every other row are connected. With this configuration, the first electrode 74 having two checker flag patterns which are hatched differently in FIG.
a, different voltages can be applied to the second electrode 74b. First electrode 74a, second
The pitch P of the electrodes 74b is 15 mm.

また、表示用液晶セル1の上基板25の外面側に第1の偏光板17が設けられ、視角制
御用液晶セル2Aの下基板62の外面側に第2の偏光板66が設けられ、表示用液晶セル
1の下基板10と視角制御用液晶セル2Aの上基板61との間に第3の偏光板19が設け
られている。第2の偏光板66と第3の偏光板19とは、図17に示すように、互いの吸
収軸方向が平行になるように配置され、表示画面を正面から見たときに画面の上下方向(
12時−6時方向)に一致するように配置されている。また、第2の偏光板66および第
3の偏光板19の吸収軸と、視角制御用液晶セル2Aの法線方向から見た液晶層65の遅
相軸の方向とが平行になるように配置されている。視角制御用液晶セル2Aの液晶層65
の遅相軸の方向は視角制御用液晶セル2Aの上基板61側のラビング方向に一致するので
、言い換えると、第2の偏光板66および第3の偏光板19の吸収軸と視角制御用液晶セ
ル2Aの上基板61のラビング方向が平行に設定されている。よって、上基板61のラビ
ング方向は、図17に示すように、画面の上下方向であって、12時から6時に向かう方
向とするか、あるいは6時から12時に向かう方向とする。
Further, the first polarizing plate 17 is provided on the outer surface side of the upper substrate 25 of the display liquid crystal cell 1, and the second polarizing plate 66 is provided on the outer surface side of the lower substrate 62 of the viewing angle control liquid crystal cell 2A. A third polarizing plate 19 is provided between the lower substrate 10 of the liquid crystal cell 1 and the upper substrate 61 of the viewing angle control liquid crystal cell 2A. As shown in FIG. 17, the second polarizing plate 66 and the third polarizing plate 19 are arranged so that the absorption axis directions of the second polarizing plate 66 and the third polarizing plate 19 are parallel to each other. (
12 o'clock-6 o'clock direction). Further, the absorption axes of the second polarizing plate 66 and the third polarizing plate 19 and the slow axis direction of the liquid crystal layer 65 viewed from the normal direction of the viewing angle controlling liquid crystal cell 2A are arranged in parallel. Has been. Liquid crystal layer 65 of viewing angle control liquid crystal cell 2A
The direction of the slow axis coincides with the rubbing direction on the upper substrate 61 side of the viewing angle control liquid crystal cell 2A. In other words, the absorption axes of the second polarizing plate 66 and the third polarizing plate 19 and the viewing angle control liquid crystal The rubbing direction of the upper substrate 61 of the cell 2A is set in parallel. Therefore, the rubbing direction of the upper substrate 61 is the vertical direction of the screen as shown in FIG. 17, and is the direction from 12:00 to 6 o'clock, or the direction from 6 o'clock to 12 o'clock.

上記構成の液晶表示装置においては、ハイブリッド配向を呈する液晶層75を持つ視角
制御用液晶セル2Aが備えられたことによって、非選択電圧印加(電圧オフ)時に表示用
液晶セル1が本来持つ視角を狭め、視角制限効果を発揮することができる。
例えば、図17に示す光軸配置において、視角制御用液晶セル2Aの法線方向からハイ
ブリッド配向の液晶層75を見ると、液晶分子75Bの遅相軸方向が液晶層75の上層か
ら下層まで直線上に重なって見える。これに対して、前記法線方向に対して斜めにハイブ
リッド配向の液晶層75を見ると、液晶分子75Bの遅相軸方向が液晶層65上層から下
層にかけて90°ねじれて見える。このことは、視角制御用液晶セル2Aの法線方向に対
して斜めに入射する光にとっては液晶層75が見かけ上90°ツイスト配向していること
を意味する。すなわち、斜めに入射する光には旋光性が生じ、バックライト15から射出
された後、第2の偏光板66を透過した直線偏光が旋光し、第3の偏光板19の吸収軸に
より吸収される。したがって、平行ニコルの下で、斜めから見たときにはあたかもノーマ
リーブラック型のTNモードのように表示が暗くなる一方、正面から見たときには旋光性
が生じないので表示用液晶セル1の表示の明るさが維持される。この効果は、後述する図
18から明らかなように第1の実施形態よりも大きい。
In the liquid crystal display device having the above-described configuration, the viewing angle control liquid crystal cell 2A having the liquid crystal layer 75 exhibiting the hybrid alignment is provided, so that the viewing angle inherent to the display liquid crystal cell 1 when the non-selection voltage is applied (voltage off) is provided. Narrowing and a viewing angle limiting effect can be exhibited.
For example, in the optical axis arrangement shown in FIG. 17, when the liquid crystal layer 75 in the hybrid orientation is viewed from the normal direction of the viewing angle control liquid crystal cell 2A, the slow axis direction of the liquid crystal molecules 75B is a straight line from the upper layer to the lower layer of the liquid crystal layer 75. It seems to overlap. On the other hand, when the liquid crystal layer 75 of hybrid alignment is viewed obliquely with respect to the normal direction, the slow axis direction of the liquid crystal molecules 75B appears to be twisted by 90 ° from the upper layer to the lower layer of the liquid crystal layer 65. This means that the liquid crystal layer 75 is apparently twisted by 90 ° for light incident obliquely with respect to the normal direction of the viewing angle control liquid crystal cell 2A. That is, optical rotation occurs in obliquely incident light, and after being emitted from the backlight 15, linearly polarized light transmitted through the second polarizing plate 66 is rotated and absorbed by the absorption axis of the third polarizing plate 19. The Therefore, under parallel Nicol, when viewed from an oblique direction, the display becomes dark as in a normally black TN mode, but when viewed from the front, no optical rotation occurs, so the display brightness of the display liquid crystal cell 1 is high. Is maintained. This effect is greater than that of the first embodiment, as will be apparent from FIG.

一方、選択電圧印加(電圧オン)時にはハイブリッド配向状態が崩れ、液晶層75に誘
電異方性が負の液晶材料を用いているので、全ての液晶分子が基板面に対してほぼ水平に
倒れる。このときは、視角制御用液晶セル2Aの法線方向の光は勿論のこと、斜めに入射
する光にとっても旋光性が生じない。したがって、ほぼ全ての視角範囲にわたって表示用
液晶セル1の表示の明るさが維持される。
On the other hand, when a selection voltage is applied (voltage on), the hybrid alignment state is lost, and the liquid crystal layer 75 uses a liquid crystal material having a negative dielectric anisotropy, so that all liquid crystal molecules are tilted almost horizontally with respect to the substrate surface. In this case, optical rotation does not occur for light incident in an oblique direction as well as light in the normal direction of the viewing angle control liquid crystal cell 2A. Therefore, the display brightness of the display liquid crystal cell 1 is maintained over almost the entire viewing angle range.

すなわち、本実施の形態においては、第1電極74a、第2電極74bをともに電圧オ
ンとすれば、視角を広げることができる。一方、第1電極74a、第2電極74bのいず
れか一方を電圧オン、他方を電圧オフとすれば、視角を狭めることができる。後者の場合
、視角制御用液晶セル2Aの電圧オン領域も電圧オフ領域も、セル法線方向の透過率は変
わらないため、視角制御用液晶セル2Aの電極パターンはセル法線方向から観察する人に
は認識されない。一方、斜め横方向から覗き見ようとする人にとっては、白黒のチェッカ
ーフラグパターンが重なって見えるため、著しく表示を認識し難くする、という効果が得
られる。また、本実施の形態では、分割された第1電極74aと第2電極74bとは略等
しい面積となっているため、十分な視角制限効果を得ることができる。明るい領域の面積
が小さすぎると、暗い領域を通して背面側の表示が透けて見えることになり、逆に明るい
領域の面積が大きすぎると、背面側の表示が直接見えてしまい、視角制限効果が得られな
いからである。
That is, in this embodiment, the viewing angle can be widened by turning on the voltage of both the first electrode 74a and the second electrode 74b. On the other hand, if one of the first electrode 74a and the second electrode 74b is turned on and the other is turned off, the viewing angle can be narrowed. In the latter case, since the transmittance in the cell normal direction does not change in the voltage-on region and the voltage-off region of the viewing angle control liquid crystal cell 2A, the electrode pattern of the viewing angle control liquid crystal cell 2A is viewed from the cell normal direction. Is not recognized. On the other hand, since the black and white checker flag patterns appear to overlap each other for a person who is peeping from an oblique lateral direction, an effect of remarkably making the display difficult to recognize is obtained. In the present embodiment, since the divided first electrode 74a and second electrode 74b have substantially the same area, a sufficient viewing angle limiting effect can be obtained. If the area of the bright area is too small, the display on the back side can be seen through the dark area. On the other hand, if the area of the bright area is too large, the display on the back side can be seen directly, and a viewing angle limiting effect is obtained. Because it is not possible.

本実施の形態における視角制御用液晶セルと第2の偏光板、第3の偏光板だけを用いて
3時−9時方向の透過率(視角特性)を測定した結果を図18に示す。電圧オフ時、電圧
オン時(印加電圧:±10V、周波数:100Hzの矩形波交流電圧印加時)のそれぞれ
の透過率を示しており、横軸は極角(°)、縦軸は透過率(%)である。ただし、これは
視角制御用液晶セルのみの視角特性であるから、液晶表示装置全体の視角特性はこれに表
示用液晶セルの視角特性を掛け合わせたものになる。さらに、ここでは複屈折率Δnと液
晶層厚dとの積Δn・dを変えており、Δn・dを1.5μm(実線)、3.0μm(破
線)、4.5μm(1点鎖線)、6.0μm(2点鎖線)としている。例えばΔn・dが
6.0μm(2点鎖線)の場合、極角40°付近で透過率がパネル法線方向透過率(極角
0°における透過率)の1割まで低下しており、これ以上極角が大きい視角方向からは表
示が認識しにくい。また、Δn・dの変化に伴って透過率特性も変化し、Δn・dが大き
くなる程、視角制限効果が大きい傾向を示す。したがって、視角制御用液晶セルの設計に
あたっては、用途に応じて最適なΔn・dの値を選択することで視角制限効果の度合を適
宜調整することができる。なお、第2の実施形態のように、第3の偏光板19を用いない
構成も可能である。その場合、第3の偏光板19を用いる場合よりも視角制御用液晶セル
のΔn・dの値を小さく、例えばΔn・d=1μm程度に設定した方が、ポジネガのコン
トラストがはっきりして表示がより認識し難くなる。
FIG. 18 shows the results of measuring the transmittance (viewing angle characteristics) in the 3 o'clock to 9 o'clock direction using only the viewing angle control liquid crystal cell, the second polarizing plate, and the third polarizing plate in the present embodiment. The respective transmissivities when the voltage is off and when the voltage is on (applied voltage: ± 10 V, frequency: when applying a rectangular wave AC voltage of 100 Hz) are shown, the horizontal axis is the polar angle (°), and the vertical axis is the transmissivity ( %). However, since this is the viewing angle characteristic of only the viewing angle control liquid crystal cell, the viewing angle characteristic of the entire liquid crystal display device is multiplied by the viewing angle characteristic of the display liquid crystal cell. Further, here, the product Δn · d of the birefringence Δn and the liquid crystal layer thickness d is changed, and Δn · d is 1.5 μm (solid line), 3.0 μm (dashed line), 4.5 μm (one-dot chain line). , 6.0 μm (two-dot chain line). For example, when Δn · d is 6.0 μm (two-dot chain line), the transmittance is reduced to 10% of the transmittance in the normal direction of the panel (transmittance at 0 ° polar angle) near the polar angle of 40 °. As described above, the display is difficult to recognize from the viewing angle direction where the polar angle is large. Further, the transmittance characteristic also changes with the change of Δn · d, and the greater the Δn · d, the larger the viewing angle limiting effect tends to be. Therefore, when designing the viewing angle control liquid crystal cell, the degree of the viewing angle limiting effect can be appropriately adjusted by selecting an optimal value of Δn · d according to the application. In addition, the structure which does not use the 3rd polarizing plate 19 like 2nd Embodiment is also possible. In that case, when the value of Δn · d of the viewing angle control liquid crystal cell is smaller than when the third polarizing plate 19 is used, for example, Δn · d = 1 μm is set, and the positive / negative contrast becomes clear. It becomes harder to recognize.

[電子機器]
次に、本発明の上記実施の形態の液晶表示装置を備えた電子機器の具体例について説明
する。
図19は、携帯電話の一例を示した斜視図である。図19において、符号1000は携
帯電話本体を示し、符号1001は上記液晶表示装置を用いた表示部を示している。この
ような携帯電話等の電子機器の表示部に、上記実施の形態の液晶表示装置を用いた場合、
広視角、狭視角の切り替え効果の高い液晶表示部を有し、様々な使用環境や用途に適応可
能な電子機器を実現することができる。その他の電子機器として、電子ブック、パーソナ
ルコンピュータ、ディジタルスチルカメラ、液晶テレビ、ビューファインダ型あるいはモ
ニタ直視型のビデオテープレコーダ、カーナビゲーション装置、ページャ、電子手帳、電
卓、ワードプロセッサ、ワークステーション、テレビ電話、POS端末、タッチパネルを
備えた機器等々に好適に用いることができる。
[Electronics]
Next, specific examples of the electronic apparatus including the liquid crystal display device according to the above embodiment of the present invention will be described.
FIG. 19 is a perspective view showing an example of a mobile phone. In FIG. 19, reference numeral 1000 denotes a mobile phone body, and reference numeral 1001 denotes a display unit using the liquid crystal display device. When the liquid crystal display device of the above embodiment is used for the display unit of such an electronic device as a mobile phone,
An electronic device having a liquid crystal display portion with a high switching effect between a wide viewing angle and a narrow viewing angle and adaptable to various usage environments and applications can be realized. Other electronic devices include electronic books, personal computers, digital still cameras, LCD TVs, viewfinder type or monitor direct-view type video tape recorders, car navigation devices, pagers, electronic notebooks, calculators, word processors, workstations, videophones, It can be suitably used for a POS terminal, a device equipped with a touch panel, and the like.

なお、本発明の技術範囲は上記実施の形態に限定されるものではなく、本発明の趣旨を
逸脱しない範囲において種々の変更を加えることが可能である。例えば上記実施の形態で
は、視角制御用液晶セルを、使用者側から見て表示用液晶セルの背面側(バックライト側
)に配置したが、表示用液晶セルの前面側(使用者側)に配置しても良い。その場合には
表示に奥行き感が生じてしまうが、同様の視角制限効果は得られる。また、上記実施の形
態では表示用液晶セルに透過型液晶表示装置を用いたが、反射型液晶表示装置、半透過反
射型液晶表示装置を用いることもできる。特にこれらの液晶表示装置では視差防止のため
に反射板を表示用液晶セルに内蔵することが多いため、視角制御用液晶セルを表示用液晶
セルの前面側(使用者側)に配置することが望ましい。また、本発明の視角制御素子は、
液晶表示装置のみならず、CRT(ブラウン管)、EL(エレクトロルミネッセンス)デ
ィスプレイ、PDP(プラズマディスプレイパネル)等に組み合わせて用いることができ
る。
The technical scope of the present invention is not limited to the above embodiment, and various modifications can be made without departing from the spirit of the present invention. For example, in the above embodiment, the viewing angle control liquid crystal cell is arranged on the back side (backlight side) of the display liquid crystal cell as viewed from the user side, but on the front side (user side) of the display liquid crystal cell. It may be arranged. In that case, a sense of depth occurs in the display, but the same viewing angle limiting effect can be obtained. In the above embodiment, a transmissive liquid crystal display device is used for the display liquid crystal cell. However, a reflective liquid crystal display device or a transflective liquid crystal display device can also be used. In particular, these liquid crystal display devices often incorporate a reflector in the display liquid crystal cell to prevent parallax, and therefore the viewing angle control liquid crystal cell may be disposed on the front side (user side) of the display liquid crystal cell. desirable. The viewing angle control element of the present invention is
It can be used in combination with not only a liquid crystal display device but also a CRT (Brown Tube), EL (Electroluminescence) display, PDP (Plasma Display Panel) or the like.

本発明の第1の実施形態の液晶表示装置の等価回路図である。1 is an equivalent circuit diagram of a liquid crystal display device according to a first embodiment of the present invention. 同、液晶表示装置のドット領域の構造を示す平面図である。FIG. 2 is a plan view showing the structure of a dot region of the liquid crystal display device. 同、液晶表示装置の1つの画素を示す平面図である。FIG. 3 is a plan view showing one pixel of the liquid crystal display device. 図3のA−A’線に沿う断面図である。FIG. 4 is a cross-sectional view taken along line A-A ′ of FIG. 3. 同、液晶表示装置の視角制御用液晶セルの下電極のパターンを示す平面図である。It is a top view which shows the pattern of the lower electrode of the liquid crystal cell for viewing angle control of a liquid crystal display device equally. 同、液晶表示装置における各偏光板とラビング方向との関係を示す図である。It is a figure which shows the relationship between each polarizing plate and a rubbing direction in a liquid crystal display device. 同、液晶表示装置の電圧オフ時の視角特性を示す図である。It is a figure which shows the viewing angle characteristic at the time of the voltage OFF of a liquid crystal display device equally. 同、液晶表示装置の電圧オン時の視角特性を示す図である。It is a figure which shows the viewing angle characteristic at the time of the voltage ON of a liquid crystal display device equally. 同、液晶表示装置の左右(3時−9時)方向の透過率を示す図である。It is a figure which shows the transmittance | permeability of the left-right (3 o'clock-9 o'clock) direction of a liquid crystal display device. 電極パターンのピッチと表示の見やすさとの関係を示すグラフである。It is a graph which shows the relationship between the pitch of an electrode pattern, and the visibility of a display. 同、電極パターンの他の例を示す図である。It is a figure which shows the other example of an electrode pattern equally. 同、図である。FIG. 同、図である。FIG. 本発明の第2の実施形態の液晶表示装置の断面図である。It is sectional drawing of the liquid crystal display device of the 2nd Embodiment of this invention. 本発明の第3の実施形態の液晶表示装置の断面図である。It is sectional drawing of the liquid crystal display device of the 3rd Embodiment of this invention. 同、液晶表示装置の視角制御用液晶セルの下電極のパターンを示す平面図である。It is a top view which shows the pattern of the lower electrode of the liquid crystal cell for viewing angle control of a liquid crystal display device equally. 同、液晶表示装置の各偏光板とラビング方向との関係を示す図である。It is a figure which shows the relationship between each polarizing plate of a liquid crystal display device, and a rubbing direction. 同、液晶表示装置の左右(3時−9時)方向の透過率を示す図である。It is a figure which shows the transmittance | permeability of the left-right (3 o'clock-9 o'clock) direction of a liquid crystal display device. 本発明の電子機器の一例を示す斜視図である。It is a perspective view which shows an example of the electronic device of this invention.

符号の説明Explanation of symbols

1…表示用液晶セル、2,2A…視角制御用液晶セル、17…第1の偏光板、19…第
3の偏光板、61…上基板、62…下基板、63…上電極、64,74…下電極、65,
75…液晶層、65B,75B…液晶分子、66…第2の偏光板。
DESCRIPTION OF SYMBOLS 1 ... Display liquid crystal cell, 2, 2A ... Viewing angle control liquid crystal cell, 17 ... 1st polarizing plate, 19 ... 3rd polarizing plate, 61 ... Upper substrate, 62 ... Lower substrate, 63 ... Upper electrode, 64, 74 ... lower electrode, 65,
75 ... Liquid crystal layer, 65B, 75B ... Liquid crystal molecule, 66 ... Second polarizing plate.

Claims (10)

任意の表示装置に隣接配置して用いられ、前記表示装置の視角を制御する視角制御素子
であって、
一対の透光性基板と、前記一対の透光性基板間に挟持された液晶層と、前記液晶層に電
界を印加するための一対の電極とを有する視角制御用液晶セルを備え、前記一対の電極の
うちの少なくとも一方の電極において、当該電極の前記表示装置の有効表示領域に対応す
る領域がパターニングされており、
前記一対の電極からの印加電圧によって前記液晶層の配向状態を変化させることで前記
表示装置の視角を制御することを特徴とする視角制御素子。
A viewing angle control element that is used adjacent to an arbitrary display device and controls the viewing angle of the display device,
A viewing angle control liquid crystal cell having a pair of translucent substrates, a liquid crystal layer sandwiched between the pair of translucent substrates, and a pair of electrodes for applying an electric field to the liquid crystal layer; In at least one of the electrodes, an area corresponding to the effective display area of the display device of the electrode is patterned,
A viewing angle control element that controls a viewing angle of the display device by changing an alignment state of the liquid crystal layer according to an applied voltage from the pair of electrodes.
前記有効表示領域に対応する領域において、前記パターニングされた電極が存在する部
分と存在しない部分とを有することを特徴とする請求項1に記載の視角制御素子。
The viewing angle control element according to claim 1, wherein a region corresponding to the effective display region has a portion where the patterned electrode is present and a portion where the patterned electrode is not present.
前記パターニングされた電極が存在する部分と存在しない部分とが略等しい面積とされ
たことを特徴とする請求項2に記載の視角制御素子。
The viewing angle control element according to claim 2, wherein a portion where the patterned electrode exists and a portion where the patterned electrode does not exist have substantially the same area.
前記パターニングされた電極が存在する部分と存在しない部分とが交互に規則的に配列
され、その配列ピッチが2mm以上、20mm以下であることを特徴とする請求項3に記
載の視角制御素子。
4. The viewing angle control element according to claim 3, wherein a portion where the patterned electrode exists and a portion where the patterned electrode does not exist are alternately and regularly arranged, and an arrangement pitch thereof is 2 mm or more and 20 mm or less.
前記有効表示領域に対応する領域において、前記パターニングされた電極が複数の領域
に分割され、分割された個々の電極に対して個別に電圧が印加可能とされたことを特徴と
する請求項1に記載の視角制御素子。
2. The region according to claim 1, wherein in the region corresponding to the effective display region, the patterned electrode is divided into a plurality of regions, and a voltage can be individually applied to each of the divided electrodes. The viewing angle control element described.
前記分割された複数の領域が略等しい面積を有することを特徴とする請求項5に記載の
視角制御素子。
The viewing angle control element according to claim 5, wherein the plurality of divided regions have substantially the same area.
請求項1ないし6のいずれか一項に記載の視角制御素子と、前記視角制御素子に隣接配
置された表示用液晶セルとを備えたことを特徴とする液晶表示装置。
A liquid crystal display device comprising: the viewing angle control element according to claim 1; and a display liquid crystal cell disposed adjacent to the viewing angle control element.
前記表示用液晶セルの前記視角制御用液晶セルが配置された側と反対側の外面に設けら
れた第1の偏光板と、前記視角制御用液晶セルの前記表示用液晶セルが配置された側と反
対側の外面に設けられた第2の偏光板と、前記表示用液晶セルと前記視角制御用液晶セル
との間に設けられた第3の偏光板とが備えられたことを特徴とする請求項7に記載の液晶
表示装置。
A first polarizing plate provided on an outer surface of the display liquid crystal cell opposite to a side on which the viewing angle control liquid crystal cell is disposed; and a side of the viewing angle control liquid crystal cell on which the display liquid crystal cell is disposed. And a third polarizing plate provided between the liquid crystal cell for display and the liquid crystal cell for viewing angle control. The liquid crystal display device according to claim 7.
前記表示用液晶セルの前記視角制御用液晶セルが配置された側と反対側の外面に設けら
れた第1の偏光板と、前記視角制御用液晶セルの前記表示用液晶セルが配置された側と反
対側の外面に設けられた第2の偏光板とが備えられたことを特徴とする請求項7に記載の
液晶表示装置。
A first polarizing plate provided on an outer surface of the display liquid crystal cell opposite to a side on which the viewing angle control liquid crystal cell is disposed; and a side of the viewing angle control liquid crystal cell on which the display liquid crystal cell is disposed. The liquid crystal display device according to claim 7, further comprising a second polarizing plate provided on an outer surface opposite to the first polarizing plate.
請求項7ないし9のいずれか一項に記載の液晶表示装置を備えたことを特徴とする電子
機器。
An electronic apparatus comprising the liquid crystal display device according to claim 7.
JP2004109214A 2004-04-01 2004-04-01 Viewing angle control element, liquid crystal display device, electronic equipment Expired - Fee Related JP4367206B2 (en)

Priority Applications (1)

Application Number Priority Date Filing Date Title
JP2004109214A JP4367206B2 (en) 2004-04-01 2004-04-01 Viewing angle control element, liquid crystal display device, electronic equipment

Applications Claiming Priority (1)

Application Number Priority Date Filing Date Title
JP2004109214A JP4367206B2 (en) 2004-04-01 2004-04-01 Viewing angle control element, liquid crystal display device, electronic equipment

Related Child Applications (1)

Application Number Title Priority Date Filing Date
JP2008221030A Division JP4450097B2 (en) 2008-08-29 2008-08-29 Viewing angle control element, liquid crystal display device, electronic equipment

Publications (2)

Publication Number Publication Date
JP2005292586A true JP2005292586A (en) 2005-10-20
JP4367206B2 JP4367206B2 (en) 2009-11-18

Family

ID=35325553

Family Applications (1)

Application Number Title Priority Date Filing Date
JP2004109214A Expired - Fee Related JP4367206B2 (en) 2004-04-01 2004-04-01 Viewing angle control element, liquid crystal display device, electronic equipment

Country Status (1)

Country Link
JP (1) JP4367206B2 (en)

Cited By (19)

* Cited by examiner, † Cited by third party
Publication number Priority date Publication date Assignee Title
JP2007178900A (en) * 2005-12-28 2007-07-12 Lg Philips Lcd Co Ltd Liquid crystal display device and method of manufacturing liquid crystal display device
JP2007199366A (en) * 2006-01-26 2007-08-09 Toshiba Matsushita Display Technology Co Ltd Liquid crystal display device
JPWO2006038574A1 (en) * 2004-10-04 2008-05-15 シャープ株式会社 Display device and electronic device
JP2008111901A (en) * 2006-10-30 2008-05-15 Epson Imaging Devices Corp Liquid crystal device and electronic device
WO2008129890A1 (en) * 2007-04-17 2008-10-30 Sharp Kabushiki Kaisha Display device, and electronic apparatus having the same
US7486350B2 (en) 2005-12-23 2009-02-03 Sharp Kabushiki Kaisha Display device, viewing angle control device, electronic display device, and multiple image display device
WO2009109124A1 (en) * 2008-03-04 2009-09-11 上海天马微电子有限公司 Liquid crystal display device with controllable viewing angle and driving method thereof
US7817106B2 (en) 2004-09-15 2010-10-19 Sharp Kabushiki Kaisha Display device, viewing angle control device, and electronic apparatus
US7834834B2 (en) 2004-09-07 2010-11-16 Sharp Kabushiki Kaisha Display device, viewing angle control device, and electronic apparatus
JP4762232B2 (en) * 2005-04-01 2011-08-31 シャープ株式会社 Portable information terminal device and display terminal device
US8031273B2 (en) 2004-09-17 2011-10-04 Sharp Kabushiki Kaisha Display device, viewing angle control device, and electronic device
US8094103B2 (en) 2004-08-31 2012-01-10 Sharp Kabushiki Kaisha Viewing-angle control device, display apparatus, method for controlling viewing-angle control device, viewing-angle control program, and storage medium storing the program
KR101109517B1 (en) 2005-12-29 2012-01-31 엘지디스플레이 주식회사 Viewing angle control system
US8144298B2 (en) 2005-12-28 2012-03-27 Lg Display Co., Ltd. FFS mode liquid crystal display device with viewing angle control region and display control region and method of fabricating the same
US8400386B2 (en) 2008-03-04 2013-03-19 Shanghai Tianma Micro-electronics Co., Ltd. Transflective liquid crystal display device
US9341872B2 (en) 2008-03-04 2016-05-17 Shanghai Tianma Micro-electronics Co., Ltd. Liquid crystal display device with controllable viewing angle and driving method thereof
CN115023644A (en) * 2022-04-06 2022-09-06 昆山龙腾光电股份有限公司 Display panel with switchable wide and narrow viewing angles, driving method and display device
WO2024031296A1 (en) * 2022-08-08 2024-02-15 昆山龙腾光电股份有限公司 Display panel having switchable wide and narrow viewing angles and driving method, and display device
WO2024239891A1 (en) * 2023-05-23 2024-11-28 京东方科技集团股份有限公司 Viewing angle control panel and display device

Families Citing this family (2)

* Cited by examiner, † Cited by third party
Publication number Priority date Publication date Assignee Title
JP5152352B2 (en) 2011-02-01 2013-02-27 凸版印刷株式会社 Liquid crystal display substrate and liquid crystal display device
CN110187527A (en) * 2019-02-27 2019-08-30 上海天马微电子有限公司 Liquid crystal display device and driving method thereof

Cited By (26)

* Cited by examiner, † Cited by third party
Publication number Priority date Publication date Assignee Title
US8094103B2 (en) 2004-08-31 2012-01-10 Sharp Kabushiki Kaisha Viewing-angle control device, display apparatus, method for controlling viewing-angle control device, viewing-angle control program, and storage medium storing the program
US7834834B2 (en) 2004-09-07 2010-11-16 Sharp Kabushiki Kaisha Display device, viewing angle control device, and electronic apparatus
US7817106B2 (en) 2004-09-15 2010-10-19 Sharp Kabushiki Kaisha Display device, viewing angle control device, and electronic apparatus
US8031273B2 (en) 2004-09-17 2011-10-04 Sharp Kabushiki Kaisha Display device, viewing angle control device, and electronic device
US8184145B2 (en) 2004-10-04 2012-05-22 Sharp Kabushiki Kaisha Display device and electronic apparatus
JP4629049B2 (en) * 2004-10-04 2011-02-09 シャープ株式会社 Display device and electronic device
JPWO2006038574A1 (en) * 2004-10-04 2008-05-15 シャープ株式会社 Display device and electronic device
JP4762232B2 (en) * 2005-04-01 2011-08-31 シャープ株式会社 Portable information terminal device and display terminal device
US7486350B2 (en) 2005-12-23 2009-02-03 Sharp Kabushiki Kaisha Display device, viewing angle control device, electronic display device, and multiple image display device
JP2007178900A (en) * 2005-12-28 2007-07-12 Lg Philips Lcd Co Ltd Liquid crystal display device and method of manufacturing liquid crystal display device
KR101254587B1 (en) * 2005-12-28 2013-04-15 엘지디스플레이 주식회사 liquid crystal display device and method for manufacturing the thereof
US8144298B2 (en) 2005-12-28 2012-03-27 Lg Display Co., Ltd. FFS mode liquid crystal display device with viewing angle control region and display control region and method of fabricating the same
KR101109517B1 (en) 2005-12-29 2012-01-31 엘지디스플레이 주식회사 Viewing angle control system
JP2007199366A (en) * 2006-01-26 2007-08-09 Toshiba Matsushita Display Technology Co Ltd Liquid crystal display device
JP2008111901A (en) * 2006-10-30 2008-05-15 Epson Imaging Devices Corp Liquid crystal device and electronic device
WO2008129890A1 (en) * 2007-04-17 2008-10-30 Sharp Kabushiki Kaisha Display device, and electronic apparatus having the same
WO2009109124A1 (en) * 2008-03-04 2009-09-11 上海天马微电子有限公司 Liquid crystal display device with controllable viewing angle and driving method thereof
US8400386B2 (en) 2008-03-04 2013-03-19 Shanghai Tianma Micro-electronics Co., Ltd. Transflective liquid crystal display device
US8482501B2 (en) 2008-03-04 2013-07-09 Shanghai Tianma Micro-electronics Co., Ltd. Liquid crystal display device with controllable viewing angle and driving method thereof
US9341872B2 (en) 2008-03-04 2016-05-17 Shanghai Tianma Micro-electronics Co., Ltd. Liquid crystal display device with controllable viewing angle and driving method thereof
CN115023644A (en) * 2022-04-06 2022-09-06 昆山龙腾光电股份有限公司 Display panel with switchable wide and narrow viewing angles, driving method and display device
CN115023644B (en) * 2022-04-06 2023-07-28 昆山龙腾光电股份有限公司 Wide and narrow viewing angle switchable display panel, driving method, and display device
WO2023193132A1 (en) * 2022-04-06 2023-10-12 昆山龙腾光电股份有限公司 Display panel capable of switching between wide and narrow viewing angles, driving method, and display device
US12292630B2 (en) 2022-04-06 2025-05-06 Infovision Optoelectronics (Kunshan) Co., Ltd. Display panel with switchable wide and narrow viewing angles, driving method and display device
WO2024031296A1 (en) * 2022-08-08 2024-02-15 昆山龙腾光电股份有限公司 Display panel having switchable wide and narrow viewing angles and driving method, and display device
WO2024239891A1 (en) * 2023-05-23 2024-11-28 京东方科技集团股份有限公司 Viewing angle control panel and display device

Also Published As

Publication number Publication date
JP4367206B2 (en) 2009-11-18

Similar Documents

Publication Publication Date Title
JP4285350B2 (en) Viewing angle control element and manufacturing method thereof, liquid crystal display device, electronic device
JP4367206B2 (en) Viewing angle control element, liquid crystal display device, electronic equipment
US7397528B2 (en) Liquid crystal display device and electronic apparatus
US20060050212A1 (en) Liquid crystal display device and electronic apparatus
JP4450097B2 (en) Viewing angle control element, liquid crystal display device, electronic equipment
JP2006011451A (en) Adjustable viewing angle LCD
JP3858882B2 (en) Liquid crystal display device and electronic device
JP3915792B2 (en) Liquid crystal display device and electronic device
JP2007058007A (en) Liquid crystal device and electronic apparatus
JP2005055595A (en) Liquid crystal display device, driving method thereof, and electronic apparatus
JP4930469B2 (en) Liquid crystal display device and electronic device
US11150520B2 (en) Liquid crystal display device
JP2006058734A (en) Liquid crystal display device and electronic device
US20050117098A1 (en) Liquid crystal display and electronic device
JP4483477B2 (en) Liquid crystal display device and electronic device
JP2004004938A (en) Liquid crystal display and electronic equipment
JP2003195287A (en) Liquid crystal display and electronic equipment
JP4067026B2 (en) Liquid crystal display device and electronic device
JP3607286B2 (en) Terminal device and portable terminal device
JP4001154B2 (en) Liquid crystal display device and electronic device
JP4145914B2 (en) Liquid crystal display device and electronic device
JP4513794B2 (en) Liquid crystal display
JP2005148136A (en) Liquid crystal display device and electronic device
JP4656112B2 (en) Liquid crystal display device
JP2001281653A (en) Liquid crystal devices and electronic equipment

Legal Events

Date Code Title Description
A621 Written request for application examination

Free format text: JAPANESE INTERMEDIATE CODE: A621

Effective date: 20060425

RD04 Notification of resignation of power of attorney

Free format text: JAPANESE INTERMEDIATE CODE: A7424

Effective date: 20070403

A977 Report on retrieval

Free format text: JAPANESE INTERMEDIATE CODE: A971007

Effective date: 20080530

A131 Notification of reasons for refusal

Free format text: JAPANESE INTERMEDIATE CODE: A131

Effective date: 20080701

A521 Written amendment

Free format text: JAPANESE INTERMEDIATE CODE: A523

Effective date: 20080829

A131 Notification of reasons for refusal

Free format text: JAPANESE INTERMEDIATE CODE: A131

Effective date: 20090526

A521 Written amendment

Free format text: JAPANESE INTERMEDIATE CODE: A523

Effective date: 20090709

TRDD Decision of grant or rejection written
A01 Written decision to grant a patent or to grant a registration (utility model)

Free format text: JAPANESE INTERMEDIATE CODE: A01

Effective date: 20090804

A01 Written decision to grant a patent or to grant a registration (utility model)

Free format text: JAPANESE INTERMEDIATE CODE: A01

A61 First payment of annual fees (during grant procedure)

Free format text: JAPANESE INTERMEDIATE CODE: A61

Effective date: 20090817

R150 Certificate of patent or registration of utility model

Free format text: JAPANESE INTERMEDIATE CODE: R150

FPAY Renewal fee payment (event date is renewal date of database)

Free format text: PAYMENT UNTIL: 20120904

Year of fee payment: 3

FPAY Renewal fee payment (event date is renewal date of database)

Free format text: PAYMENT UNTIL: 20130904

Year of fee payment: 4

S531 Written request for registration of change of domicile

Free format text: JAPANESE INTERMEDIATE CODE: R313531

R350 Written notification of registration of transfer

Free format text: JAPANESE INTERMEDIATE CODE: R350

LAPS Cancellation because of no payment of annual fees