JP2005291700A - 空気調和システム - Google Patents

空気調和システム Download PDF

Info

Publication number
JP2005291700A
JP2005291700A JP2005173412A JP2005173412A JP2005291700A JP 2005291700 A JP2005291700 A JP 2005291700A JP 2005173412 A JP2005173412 A JP 2005173412A JP 2005173412 A JP2005173412 A JP 2005173412A JP 2005291700 A JP2005291700 A JP 2005291700A
Authority
JP
Japan
Prior art keywords
air
heat
sensible heat
adsorption
refrigerant
Prior art date
Legal status (The legal status is an assumption and is not a legal conclusion. Google has not performed a legal analysis and makes no representation as to the accuracy of the status listed.)
Pending
Application number
JP2005173412A
Other languages
English (en)
Inventor
Ryusuke Fujiyoshi
竜介 藤吉
Tomohiro Yabu
知宏 薮
Current Assignee (The listed assignees may be inaccurate. Google has not performed a legal analysis and makes no representation or warranty as to the accuracy of the list.)
Daikin Industries Ltd
Original Assignee
Daikin Industries Ltd
Priority date (The priority date is an assumption and is not a legal conclusion. Google has not performed a legal analysis and makes no representation as to the accuracy of the date listed.)
Filing date
Publication date
Application filed by Daikin Industries Ltd filed Critical Daikin Industries Ltd
Priority to JP2005173412A priority Critical patent/JP2005291700A/ja
Publication of JP2005291700A publication Critical patent/JP2005291700A/ja
Pending legal-status Critical Current

Links

Images

Classifications

    • FMECHANICAL ENGINEERING; LIGHTING; HEATING; WEAPONS; BLASTING
    • F24HEATING; RANGES; VENTILATING
    • F24FAIR-CONDITIONING; AIR-HUMIDIFICATION; VENTILATION; USE OF AIR CURRENTS FOR SCREENING
    • F24F3/00Air-conditioning systems in which conditioned primary air is supplied from one or more central stations to distributing units in the rooms or spaces where it may receive secondary treatment; Apparatus specially designed for such systems
    • F24F3/12Air-conditioning systems in which conditioned primary air is supplied from one or more central stations to distributing units in the rooms or spaces where it may receive secondary treatment; Apparatus specially designed for such systems characterised by the treatment of the air otherwise than by heating and cooling
    • F24F3/14Air-conditioning systems in which conditioned primary air is supplied from one or more central stations to distributing units in the rooms or spaces where it may receive secondary treatment; Apparatus specially designed for such systems characterised by the treatment of the air otherwise than by heating and cooling by humidification; by dehumidification
    • F24F3/1411Air-conditioning systems in which conditioned primary air is supplied from one or more central stations to distributing units in the rooms or spaces where it may receive secondary treatment; Apparatus specially designed for such systems characterised by the treatment of the air otherwise than by heating and cooling by humidification; by dehumidification by absorbing or adsorbing water, e.g. using an hygroscopic desiccant
    • FMECHANICAL ENGINEERING; LIGHTING; HEATING; WEAPONS; BLASTING
    • F24HEATING; RANGES; VENTILATING
    • F24FAIR-CONDITIONING; AIR-HUMIDIFICATION; VENTILATION; USE OF AIR CURRENTS FOR SCREENING
    • F24F3/00Air-conditioning systems in which conditioned primary air is supplied from one or more central stations to distributing units in the rooms or spaces where it may receive secondary treatment; Apparatus specially designed for such systems
    • F24F3/12Air-conditioning systems in which conditioned primary air is supplied from one or more central stations to distributing units in the rooms or spaces where it may receive secondary treatment; Apparatus specially designed for such systems characterised by the treatment of the air otherwise than by heating and cooling
    • F24F3/14Air-conditioning systems in which conditioned primary air is supplied from one or more central stations to distributing units in the rooms or spaces where it may receive secondary treatment; Apparatus specially designed for such systems characterised by the treatment of the air otherwise than by heating and cooling by humidification; by dehumidification
    • F24F3/1411Air-conditioning systems in which conditioned primary air is supplied from one or more central stations to distributing units in the rooms or spaces where it may receive secondary treatment; Apparatus specially designed for such systems characterised by the treatment of the air otherwise than by heating and cooling by humidification; by dehumidification by absorbing or adsorbing water, e.g. using an hygroscopic desiccant
    • F24F3/1429Air-conditioning systems in which conditioned primary air is supplied from one or more central stations to distributing units in the rooms or spaces where it may receive secondary treatment; Apparatus specially designed for such systems characterised by the treatment of the air otherwise than by heating and cooling by humidification; by dehumidification by absorbing or adsorbing water, e.g. using an hygroscopic desiccant alternatively operating a heat exchanger in an absorbing/adsorbing mode and a heat exchanger in a regeneration mode

Landscapes

  • Engineering & Computer Science (AREA)
  • Chemical & Material Sciences (AREA)
  • Combustion & Propulsion (AREA)
  • Mechanical Engineering (AREA)
  • General Engineering & Computer Science (AREA)
  • Devices For Blowing Cold Air, Devices For Blowing Warm Air, And Means For Preventing Water Condensation In Air Conditioning Units (AREA)
  • Central Air Conditioning (AREA)
  • Air Conditioning Control Device (AREA)

Abstract

【課題】 吸着熱交換器を用いた空気調和装置を複数台設置する際に生じるコストアップや吸着熱交換器を内蔵するユニットのサイズが大きくなるのを抑える。
【解決手段】 空気調和システム1は、複数の利用ユニット2、3と、熱源ユニット6と、両ユニット間を接続する連絡配管7、8とを備え、屋内の潜熱負荷及び顕熱負荷を処理する。利用ユニット2は、表面に吸着剤が設けられた吸着熱交換器22、23を有し、その一方を冷媒の蒸発器として機能させて空気中の水分を吸着剤に吸着させる吸着動作と、その他方を冷媒の凝縮器として機能させて吸着剤から水分を脱離させる再生動作とを交互に行うことができる。利用ユニット3も、表面に吸着剤が設けられた吸着熱交換器32、33を有し、利用ユニット2と同様の吸着動作と再生動作とを行うことができる。熱源ユニット6は、圧縮機構11と、アキュムレータ62とを有する。
【選択図】 図1

Description

本発明は、空気調和システム、特に、蒸気圧縮式の冷凍サイクル運転を行うことによって、屋内の潜熱負荷及び顕熱負荷を処理する空気調和システムに関する。
従来より、屋内の冷房と除湿を行う空気調和装置が知られている(例えば、特許文献1参照。)。このような空気調和装置は、熱源側熱交換器としての室外熱交換器と空気熱交換器としての室内熱交換器とを有する蒸気圧縮式の冷媒回路を備えており、この冷媒回路内に冷媒を循環させて冷凍サイクル運転を行う。そして、この空気調和装置は、室内熱交換器における冷媒の蒸発温度を室内空気の露点温度よりも低く設定し、屋内の空気中の水分を凝縮させることで屋内の除湿を行っている。
一方、表面に吸着剤が設けられた熱交換器を備えた除湿装置も知られている(例えば、特許文献2参照。)。このような除湿装置は、吸着剤が設けられた2つの熱交換器を備えており、2つの熱交換器の一方において空気中の水分を吸着して除湿する吸着動作を行い、2つの熱交換器の他方において吸着された水分を脱離させる再生動作を行う。その際、水分を吸着する方の熱交換器には冷却塔で冷却された水が供給され、再生される熱交換器には温排水が供給される。そして、この除湿装置は、吸着動作及び再生動作によって除湿された空気を屋内へ供給するようになっている。
国際公開第03/029728号パンフレット 特開平7−265649号公報
上記前者の空気調和装置では、室内熱交換器での冷媒蒸発温度を屋内の空気の露点温度よりも低く設定し、空気中の水分を凝縮させることで屋内の潜熱負荷を処理している。つまり、室内熱交換器での冷媒の蒸発温度が屋内の空気の露点温度よりも高くても顕熱負荷の処理は可能であるが、その分だけ、潜熱負荷を処理するために室内熱交換器での冷媒の蒸発温度を低い値に設定しなければならなくなっている。このため、蒸気圧縮式の冷凍サイクルの高低圧差が大きくなり、圧縮機における消費動力が大きくなり、低いCOP(成績係数)しか得られないという問題があった。
また、上記後者の除湿装置では、冷却塔で冷却された冷却水、すなわち、屋内の温度に比べてそれほど温度の低くない冷却水を熱交換器へ供給している。したがって、この除湿装置では、屋内の潜熱負荷は処理できても顕熱負荷を処理できないという問題があった。
これに対して、本願発明者は、熱源側熱交換器と利用側熱交換器としての吸着熱交換器とを有する蒸気圧縮式の冷媒回路を備えた空気調和装置を発明している(例えば、特願2003−351268号参照。)。この空気調和装置は、表面に吸着剤が設けられた吸着熱交換器に空気中の水分を吸着させる吸着動作と吸着熱交換器から水分を脱離させる再生動作とを交互に行い、吸着熱交換器を通過した空気を屋内へ供給して屋内の顕熱負荷及び潜熱負荷を処理することができるものである。つまり、上記前者の空気調和装置のように空気中の水分を凝縮させて空気を除湿するのではなく、空気中の水分を吸着剤に吸着させて空気を除湿しているため、冷媒の蒸発温度を空気の露点温度よりも低く設定する必要がなく、冷媒の蒸発温度を空気の露点温度以上に設定しても空気の除湿が可能となる。このため、この空気調和装置によれば、空気を除湿する場合も冷媒の蒸発温度を従来よりも高い温度に設定することができ、冷凍サイクルの高低圧差を縮小することができる。この結果、圧縮機における消費動力を減らすことが可能となり、COPを向上させることができる。また、空気の除湿を行う場合に、吸着熱交換器において必要な冷媒の蒸発温度よりも低い温度に設定することによって、その屋内の顕熱負荷も併せて処理することができる。
そして、本願発明者は、上記の吸着熱交換器を用いた空気調和装置をビル等の建物に設置される空気調和システム(いわゆる、マルチ空気調和システム)に適用しようとしているが、このような大規模な空気調和システムにおいては、上記の吸着熱交換器を用いた空気調和装置を複数台設置しなければならないため、吸着熱交換器の数に応じて熱源としての圧縮機を設置しなければならなくなり、コストアップ及びメンテナンス箇所が多くなるという問題点が生じてしまう。しかも、空気調和装置の運転負荷の変動に伴う冷媒循環量の増減により各空気調和装置の冷媒回路内に余剰冷媒が生じるため、冷媒循環量の減少に伴って発生する余剰冷媒を溜めるためのレシーバを吸着熱交換器の数に対応して接続しなければならなくなり、さらなるコストアップや吸着熱交換器を内蔵するユニットのサイズが大きくなるという問題が生じてしまう。
本発明の課題は、吸着熱交換器を用いた空気調和装置を複数台設置する際に生じるコストアップや吸着熱交換器を内蔵するユニットのサイズが大きくなるのを抑えることにある。
第1の発明にかかる空気調和システムは、蒸気圧縮式の冷凍サイクル運転を行うことによって、屋内の潜熱負荷及び顕熱負荷を処理する空気調和システムであって、複数の利用側冷媒回路と、熱源側冷媒回路と、吐出ガス連絡配管と、吸入ガス連絡配管とを備えている。利用側冷媒回路は、表面に吸着剤が設けられた2つの吸着熱交換器を有しており、2つの吸着熱交換器の一方を冷媒の蒸発器として機能させて空気中の水分を吸着剤に吸着させる吸着動作と、2つの吸着熱交換器の他方を冷媒の凝縮器として機能させて前記吸着剤から水分を脱離させる再生動作とを2つの吸着熱交換器の間で交互に行うことで空気を除湿又は加湿することが可能である。熱源側冷媒回路は、圧縮機構と、圧縮機構の吸入側に接続される液溜容器とを有する。吐出ガス連絡配管は、圧縮機構の吐出側に接続されており、利用側冷媒回路と熱源側冷媒回路とを接続する。吸入ガス連絡配管は、圧縮機構の吸入側に接続される。空気調和システムは、吸着熱交換器を通過した空気を屋内に供給することが可能である。
この空気調和システムでは、吸着熱交換器の吸着動作及び再生動作を交互に行うことで吸着熱交換器を通過する空気を除湿又は加湿することによって主として屋内の潜熱負荷を処理することが可能な複数の利用側冷媒回路が、吐出ガス連絡配管及び吸入ガス連絡配管を介して熱源側冷媒回路に接続されることによって、いわゆる、マルチ空気調和システムを構成している。つまり、利用側冷媒回路との間で蒸気圧縮式の冷凍サイクル運転を行うための熱源を複数の利用側冷媒回路に共通の1つの熱源にまとめるようにしている。これにより、吸着熱交換器を用いた空気調和装置を複数台設置する際に生じるコストアップやメンテナンス箇所の増加を抑えることができる。
しかも、熱源側冷媒回路は、圧縮機構の吸入側に接続された液溜容器を有しており、この空気調和システムの運転負荷の変動に伴い、冷媒循環量が減少した場合に増加する余剰冷媒を溜めておくことができる。これにより、冷媒循環量の減少に伴って発生する余剰冷媒を溜めるためのレシーバを、利用側冷媒回路の数、すなわち、吸着熱交換器の数に対応して接続する必要がなくなり、これによるコストアップや吸着熱交換器を内蔵するユニットのサイズが大きくなるのを抑えることができる。
第2の発明にかかる空気調和システムは、第1の発明にかかる空気調和システムにおいて、熱源側冷媒回路は、圧縮機構の吐出側に接続される補助凝縮器を備えている。
この空気調和システムでは、圧縮機構の吐出側を流れる冷媒の一部を補助凝縮器によって凝縮させることによって、圧縮機構の吐出側の冷媒の圧力を低下させることができる。これにより、空気調和システムの運転負荷の変動に伴って冷媒循環量が減少することにより圧縮機構の吐出側の冷媒の圧力が一時的に増加する等の圧力変動が生じる場合であっても、吸着熱交換器を用いたマルチ空気調和システムを安定的に運転することができる。
第3の発明にかかる空気調和システムは、第1又は第2の発明にかかる空気調和システムにおいて、複数の第2の利用側冷媒回路と、第2の熱源側冷媒回路とを備えている。複数の第2の利用側冷媒回路は、空気熱交換器を有しており、冷媒と空気との熱交換を行うことが可能である。第2の熱源側冷媒回路は、第2の圧縮機構と熱源側熱交換器とを有している。空気調和システムは、空気熱交換器を通過した空気を屋内に供給することが可能である。
この空気調和システムでは、吸着熱交換器を有する複数の第1の利用側冷媒回路及び第1の熱源側熱交換器を含むシステムに加えて、空気熱交換器を通過する空気と熱交換することによって主として屋内の顕熱負荷を処理することが可能な複数の第2の利用側冷媒回路及び第2の熱源側冷媒回路を含むシステムを備えている。このため、吸着熱交換器を有する複数の第1の利用側冷媒回路及び第1の熱源側冷媒回路のシステムを主として屋内の潜熱負荷を処理する潜熱負荷処理システムとし、そして、空気熱交換器を有する複数の第2の利用側冷媒回路及び第2の熱源側冷媒回路のシステムを顕熱負荷処理システムとする空気調和システムを構成することができる。これにより、屋内の潜熱負荷及び顕熱負荷を2つの処理システムに分けて処理することができる。
第4の発明にかかる空気調和システムは、第3の発明にかかる空気調和システムにおいて、空気熱交換器のガス側に接続され、空気熱交換器を冷媒の蒸発器として機能させる際の空気熱交換器における冷媒の蒸発圧力を制御する圧力調節機構を備えている。
第5の発明にかかる空気調和システムは、第4の発明にかかる空気調和システムにおいて、屋内の空気の露点温度に基づいて、圧力調節機構によって、空気熱交換器を蒸発器として機能させる際の冷媒の蒸発圧力を制御する。
この空気調和システムでは、屋内の空気の露点温度に基づいて、例えば、空気熱交換器における冷媒の蒸発温度が屋内の空気の露点温度以下にならないように、圧力調節機構を制御することによって、空気熱交換器の表面において空気中の水分が結露しないようにして、空気熱交換器におけるドレン水の発生を抑えることができる。これにより、第2の利用側冷媒回路を有するユニットにドレン配管が不要となり、第2の利用側冷媒回路を有するユニットの設置工事の省力化を図ることができる。
ここで、屋内の空気の露点温度は、例えば、空気熱交換器を有するユニット内に設けられた露点センサを用いて、このユニット内に吸入される屋内の空気の露点温度を実測したり、空気熱交換器を有するユニットに設けられた温度・湿度センサを用いて、ユニット内に吸入される屋内の空気の温度及び湿度を実測してこれらの実測値から露点温度を演算してもよい。また、空気熱交換器を有するユニットが露点センサや温度・湿度センサを備えていない場合には、吸着熱交換器を有するユニットに設けられた露点センサ、温度・湿度センサの実測値を使用してもよい。
第6の発明にかかる空気調和システムは、第5の発明にかかる空気調和システムにおいて、空気熱交換器における冷媒の圧力を検出する圧力検出機構を備えている。空気調和システムは、屋内の空気の露点温度から目標蒸発圧力値を演算し、圧力調節機構によって、圧力検出機構によって検出された冷媒の蒸発圧力が目標蒸発圧力値以上となるように制御する。
この空気調和システムでは、圧力調節機構による空気熱交換器における冷媒の蒸発圧力の制御値として、露点温度ではなく圧力検出機構によって実測される空気熱交換器の冷媒の蒸発圧力を用いているため、露点温度を用いて冷媒の蒸発圧力を制御する場合に比べて制御応答性を向上させることができる。
第7の発明にかかる空気調和システムは、第6の発明にかかる空気調和システムにおいて、空気熱交換器における結露の有無を検出する結露検出機構を備えている。空気調和システムは、結露検出機構において結露が検出された場合に、目標蒸発圧力値を変更する。
この空気調和システムでは、結露検出機構によって空気熱交換器における結露を確実に検出するとともに、結露が検出された場合に、例えば、目標蒸発圧力値を高くする変更を行うことによって、空気熱交換器における冷媒の蒸発温度を高くして、空気熱交換器における結露を確実に防ぐことができる。
第8の発明にかかる空気調和システムは、第3〜6の発明のいずれかにかかる空気調和システムにおいて、空気熱交換器における結露の有無を検出する結露検出機構を備えている。空気調和システムは、結露検出機構において結露が検出された場合に、第2の圧縮機構を停止する。
この空気調和システムでは、結露検出機構によって空気熱交換器における結露を確実に検出するとともに、結露が検出された場合に、第2の圧縮機構を停止するようにしているため、空気熱交換器における結露を確実に防ぐことができる。
第9の発明にかかる空気調和システムは、第3〜6の発明のいずれかにかかる空気調和システムにおいて、空気熱交換器における結露の有無を検出する結露検出機構を備えている。第2の利用側冷媒回路は、空気熱交換器の液側に接続された利用側膨張弁を備えている。空気調和システムは、結露検出機構において結露が検出された場合に、利用側膨張弁を閉止する。
この空気調和システムでは、結露検出機構によって空気熱交換器における結露を確実に検出するとともに、結露が検出された場合に、利用側膨張弁を閉止するようにしているため、空気熱交換器における結露を確実に防ぐことができる。
以上の説明に述べたように、本発明によれば、以下の効果が得られる。
第1の発明では、吸着熱交換器を用いた空気調和装置を複数台設置する際に生じるコストアップやメンテナンス箇所の増加を抑えることができる。しかも、圧縮機構の吸入側に接続された液溜容器により、冷媒循環量の減少に伴って発生する余剰冷媒を溜めるためのレシーバを利用側冷媒回路の数、すなわち、吸着熱交換器の数に対応して接続する必要がなくなり、これによるコストアップや吸着熱交換器を内蔵するユニットのサイズが大きくなるのを抑えることができる。
第2の発明では、圧縮機構の吐出側の冷媒の圧力が一時的に増加する等の圧力変動が生じる場合であっても、吸着熱交換器を用いたマルチ空気調和システムを安定的に運転することができる。
第3の発明では、吸着熱交換器を有する複数の第1の利用側冷媒回路及び第1の熱源側冷媒回路のシステムを主として屋内の潜熱負荷を処理する潜熱負荷処理システムとし、そして、空気熱交換器を有する複数の第2の利用側冷媒回路及び第2の熱源側冷媒回路のシステムを顕熱負荷処理システムとする空気調和システムを構成することができるため、屋内の潜熱負荷及び顕熱負荷を2つの処理システムに分けて処理することができる。
第4及び第5の発明では、屋内の空気の露点温度に基づいて、例えば、空気熱交換器における冷媒の蒸発温度が屋内の空気の露点温度以下にならないように、圧力調節機構を制御することによって、空気熱交換器の表面において空気中の水分が結露しないようにして、空気熱交換器におけるドレン水の発生を抑えることができるため、第2の利用側冷媒回路を有するユニットにドレン配管が不要となり、第2の利用側冷媒回路を有するユニットの設置工事の省力化を図ることができる。
第6の発明では、圧力調節機構による空気熱交換器における冷媒の蒸発圧力の制御値として、露点温度ではなく圧力検出機構によって実測される空気熱交換器の冷媒の蒸発圧力を用いているため、露点温度を用いて冷媒の蒸発圧力を制御する場合に比べて制御応答性を向上させることができる。
第7の発明では、結露検出機構によって空気熱交換器における結露を確実に検出するとともに、結露が検出された場合に、例えば、目標蒸発圧力値を高くする変更を行うことによって、空気熱交換器における冷媒の蒸発温度を高くして、空気熱交換器における結露を確実に防ぐことができる。
第8の発明では、結露検出機構によって空気熱交換器における結露を確実に検出するとともに、結露が検出された場合に、第2の圧縮機構を停止するようにしているため、空気熱交換器における結露を確実に防ぐことができる。
第9の発明では、結露検出機構によって空気熱交換器における結露を確実に検出するとともに、結露が検出された場合に、利用側膨張弁を閉止するようにしているため、空気熱交換器における結露を確実に防ぐことができる。
以下、図面に基づいて、本発明にかかる空気調和システムの実施形態について説明する。
[第1実施形態]
(1)空気調和システムの構成
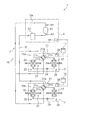
図1は、本発明にかかる第1実施形態の空気調和システム1の概略の冷媒回路図である。空気調和システム1は、蒸気圧縮式の冷凍サイクル運転を行うことによって、ビル等の屋内の潜熱負荷及び顕熱負荷を処理する空気調和システムである。空気調和システム1は、いわゆる、セパレート型のマルチ空気調和システムであり、主として、複数台(本実施形態では、2台)の利用ユニット2、3と、熱源ユニット6と、利用ユニット2、3と熱源ユニット6とを接続する連絡配管7、8とを備えている。本実施形態において、熱源ユニット6は、利用ユニット2、3に共通の熱源として機能する。また、本実施形態において、熱源ユニット6は、1台だけであるが、利用ユニット2、3の台数が多い場合等においては複数台を並列に接続していてもよい。
<利用ユニット>
利用ユニット2、3は、ビル等の屋内の天井に埋め込みや吊り下げ等により、壁掛け等により、又は、天井裏の空間に設置されている。利用ユニット2、3は、連絡配管7、8を介して熱源ユニット6に接続されており、熱源ユニット6との間で冷媒回路10を構成している。利用ユニット2、3は、この冷媒回路10内において冷媒を循環させて蒸気圧縮式の冷凍サイクル運転を行うことによって、屋内の潜熱負荷及び顕熱負荷を処理することが可能である。
次に、利用ユニット2、3の構成について説明する。尚、利用ユニット2と利用ユニット3とは同様の構成であるため、ここでは、利用ユニット2の構成のみ説明し、利用ユニット3の構成については、利用ユニット2の各部を示す20番台の符号の代わりに30番台の符号を付して、各部の説明を省略する。
利用ユニット2は、主として、冷媒回路10の一部を構成しており、空気を除湿又は加湿することが可能な利用側冷媒回路10aを備えている。この利用側冷媒回路10aは、主として、利用側四路切換弁21と、第1吸着熱交換器22と、第2吸着熱交換器23と、利用側膨張弁24とを備えている。
利用側四路切換弁21は、利用側冷媒回路10aに流入する冷媒の流路を切り換えるための弁であり、その第1ポート21aは吐出ガス連絡配管7を介して熱源ユニット6の圧縮機構61(後述)の吐出側に接続されており、その第2ポート21bは吸入ガス連絡配管8を介して熱源ユニット6の圧縮機構61の吸入側に接続されており、その第3ポート21cは第1吸着熱交換器22のガス側端部に接続されており、第4ポート21dは第2吸着熱交換器23のガス側端部に接続されている。そして、利用側四路切換弁21は、第1ポート21aと第3ポート21cとを接続するとともに第2ポート21bと第4ポート21dとを接続(第1状態、図1の利用側四路切換弁21の実線を参照)したり、第1ポート21aと第4ポート21dとを接続するとともに第2ポート21bと第3ポート21cとを接続(第2状態、図1の利用側四路切換弁21の破線を参照)する切り換えを行うことが可能である。
第1吸着熱交換器22及び第2吸着熱交換器23は、伝熱管と多数のフィンとにより構成されたクロスフィン式のフィン・アンド・チューブ型熱交換器である。具体的に、第1吸着熱交換器22及び第2吸着熱交換器23は、長方形板状に形成されたアルミニウム製の多数のフィンと、このフィンを貫通する銅製の伝熱管とを有している。尚、第1吸着熱交換器22及び第2吸着熱交換器23は、クロスフィン式のフィン・アンド・チューブ型熱交換器に限らず、他の形式の熱交換器、例えば、コルゲートフィン式の熱交換器等であってもよい。
第1吸着熱交換器22及び第2吸着熱交換器23は、そのフィンの表面に吸着剤がディップ成形(浸漬成形)により担持されている。尚、フィン及び伝熱管の表面に吸着剤を担持させる方法としては、ディップ成形に限らず、吸着剤としての性能を損なわない限り、どのような方法でその表面に吸着剤を担持してもよい。この吸着剤としては、ゼオライト、シリカゲル、活性炭、親水性又は吸水性を有する有機高分子ポリマー系材料、カルボン酸基又はスルホン酸基を有するイオン交換樹脂系材料、感温性高分子等の機能性高分子材料などを用いることが可能である。
第1吸着熱交換器22及び第2吸着熱交換器23は、その外側に空気を通過させながら冷媒の蒸発器として機能させることで、その表面に担持された吸着剤に空気中の水分が吸着させることができる。また、第1吸着熱交換器22及び第2吸着熱交換器23は、その外側に空気を通過させながら冷媒の凝縮器として機能させることで、その表面に担持された吸着剤に吸着された水分を脱離させることができる。
利用側膨張弁24は、第1吸着熱交換器22の液側端部と第2吸着熱交換器23の液側端部との間に接続された電動膨張弁であり、凝縮器として機能する第1吸着熱交換器22及び第2吸着熱交換器23の一方から蒸発器として機能する第1吸着熱交換器22及び第2吸着熱交換器23の他方に送られる冷媒を減圧することができる。
また、利用ユニット2は、詳細は図示しないが、屋外の空気(以下、屋外空気OAとする)をユニット内に吸入するための外気吸入口と、ユニット内から屋外に空気を排出するための排気口と、屋内の空気(以下、屋内空気RAとする)をユニット内に吸入するための内気吸入口と、ユニット内から屋内に吹き出される空気(以下、供給空気SAとする)を供給するための給気口と、排気口に連通するようにユニット内に配置された排気ファンと、給気口に連通するようにユニット内に配置された給気ファンと、空気流路を切り換えるためのダンパー等からなる切換機構とを備えている。これにより、利用ユニット2は、屋外空気OAを外気吸入口からユニット内に吸入して第1又は第2吸着熱交換器22、23を通過させた後に給気口から屋内に供給空気SAとして供給したり、屋外空気OAを外気吸入口からユニット内に吸入して第1又は第2吸着熱交換器22、23を通過させた後に排気口から屋外に排出空気EAとして排出したり、屋内空気RAを内気吸入口からユニット内に吸入して第1又は第2吸着熱交換器22、23を通過させた後に給気口から屋内に供給空気SAとして供給したり、屋内空気RAを内気吸入口からユニット内に吸入して第1又は第2吸着熱交換器22、23を通過させた後に排気口から屋外に排出空気EAとして排出することができるようになっている。
さらに、利用ユニット2は、ユニット内に吸入される屋内空気RAの温度及び相対湿度を検出するRA吸入温度・湿度センサ25と、ユニット内に吸入される屋外空気OAの温度及び相対湿度を検出するOA吸入温度・湿度センサ26と、ユニット内から屋内に供給される供給空気SAの温度を検出するSA供給温度センサ27と、利用ユニット2を構成する各部の動作を制御する利用側制御部28とを備えている。そして、利用側制御部28は、利用ユニット2の制御を行うために設けられたマイクロコンピュータやメモリを有しており、リモコン11及び後述の熱源ユニット6の熱源側制御部65を通じて、屋内の空気の目標温度及び目標湿度の入力信号等のやりとりを行ったり、熱源ユニット6との間で制御信号等のやりとりを行うこともできるようになっている。
<熱源ユニット>
熱源ユニット6は、ビル等の屋上等に設置されており、連絡配管7、8を介して利用ユニット2、3に接続されており、利用ユニット2、3との間で冷媒回路10を構成している。
次に、熱源ユニット6の構成について説明する。熱源ユニット6は、主として、冷媒回路10の一部を構成しており、熱源側冷媒回路10cを備えている。この熱源側冷媒回路10cは、主として、圧縮機構61と、圧縮機構61の吸入側に接続されるアキュムレータ62とを備えている。
圧縮機構61は、本実施形態において、インバータ制御により運転容量を可変することが可能な容積式圧縮機である。本実施形態において、圧縮機構61は、1台の圧縮機であるが、これに限定されず、利用ユニットの接続台数等に応じて、2台以上の圧縮機が並列に接続されたものであってもよい。
アキュムレータ62は、利用側冷媒回路10a、10bの運転負荷の変動に伴う冷媒循環量の増減により発生する余剰冷媒を溜める容器である。
また、熱源ユニット6は、圧縮機構61の吸入圧力を検出する吸入圧力センサ63と、圧縮機構61の吐出圧力を検出する吐出圧力センサ64と、熱源ユニット6を構成する各部の動作を制御する熱源側制御部65とを備えている。そして、熱源側制御部65は、利用ユニット2の制御を行うために設けられたマイクロコンピュータやメモリを有しており、上述の利用ユニット2、3の利用側制御部28、38及び熱源側制御部65を通じて、制御信号等のやりとりを行うことができるようになっている。
(2)空気調和システムの動作
次に、本実施形態の空気調和システム1の動作について説明する。空気調和システム1は、以下のような各種の除湿運転や加湿運転を行うことができる。
<全換気モード>
まず、全換気モードにおける除湿運転及び加湿運転について説明する。全換気モードにおいては、利用ユニット2、3の給気ファン及び排気ファンを運転すると、屋外空気OAが外気吸入口を通じてユニット内に吸入されて給気口を通じて供給空気SAとして屋内に供給され、屋内空気RAが内気吸入口を通じてユニット内に吸入されて排気口を通じて排出空気EAとして屋外に排出される運転が行われる。
全換気モードの除湿運転中の動作について、図2、図3及び図4を用いて説明する。ここで、図2及び図3は、空気調和システム1における全換気モードの除湿運転時の動作を示す概略の冷媒回路図である。図4は、空気調和システム1を運転した場合における制御フロー図である。
除湿運転中には、図2及び図3に示されるように、例えば、利用ユニット2においては、第1吸着熱交換器22が凝縮器となって第2吸着熱交換器23が蒸発器となる第1動作と、第2吸着熱交換器23が凝縮器となって第1吸着熱交換器22が蒸発器となる第2動作とが交互に繰り返される。利用ユニット3においても同様に、第1吸着熱交換器32が凝縮器となって第2吸着熱交換器33が蒸発器となる第1動作と、第2吸着熱交換器33が凝縮器となって第1吸着熱交換器32が蒸発器となる第2動作とが交互に繰り返される。
以下の説明では、2つの利用ユニット2、3の動作をまとめて記載する。
第1動作では、第1吸着熱交換器22、32についての再生動作と、第2吸着熱交換器23、33についての吸着動作とが並行して行われる。第1動作中は、図2に示されるように、利用側四路切換弁21、31が第1状態(図2の利用側四路切換弁21、31の実線を参照)に設定される。この状態で、圧縮機構61から吐出された高圧のガス冷媒は、吐出ガス連絡配管7、利用側四路切換弁21、31を通じて第1吸着熱交換器22、32に流入し、第1吸着熱交換器22、32を通過する間に凝縮する。そして、凝縮された冷媒は、利用側膨張弁24、34で減圧されて、その後、第2吸着熱交換器23、33を通過する間に蒸発し、利用側四路切換弁21、31、吸入ガス連絡配管8、アキュムレータ62を通じて圧縮機構61に再び吸入される(図2の冷媒回路10に付された矢印を参照)。
第1動作中において、第1吸着熱交換器22、32では、冷媒の凝縮により加熱された吸着剤から水分が脱離し、この脱離した水分が内気吸入口から吸入された屋内空気RAに付与される。第1吸着熱交換器22、32から脱離した水分は、屋内空気RAに同伴して排気口を通じて排出空気EAとして屋外へ排出される。第2吸着熱交換器23、33では、屋外空気OA中の水分が吸着剤に吸着されて屋外空気OAが除湿され、その際に生じた吸着熱が冷媒に吸熱されて冷媒が蒸発する。そして、第2吸着熱交換器23、33で除湿された屋外空気OAは、給気口を通って供給空気SAとして屋内へ供給される(図2の吸着熱交換器22、23、32、33の両側に付された矢印を参照)。
第2動作では、第1吸着熱交換器22、32についての吸着動作と、第2吸着熱交換器23、33についての再生動作とが並行して行われる。第2動作中は、図3に示されるように、利用側四路切換弁21、31が第2状態(図3の利用側四路切換弁21、31の破線を参照)に設定される。この状態で、圧縮機構61から吐出された高圧のガス冷媒は、吐出ガス連絡配管7、利用側四路切換弁21、31を通じて第2吸着熱交換器23、33に流入し、第2吸着熱交換器23、33を通過する間に凝縮する。そして、凝縮された冷媒は、利用側膨張弁24、34で減圧されて、その後、第1吸着熱交換器22、32を通過する間に蒸発し、利用側四路切換弁21、31、吸入ガス連絡配管8、アキュムレータ62を通じて圧縮機構61に再び吸入される(図3の冷媒回路10に付された矢印を参照)。
第2動作中において、第2吸着熱交換器23、33では、冷媒の凝縮により加熱された吸着剤から水分が脱離し、この脱離した水分が内気吸入口から吸入された屋内空気RAに付与される。第2吸着熱交換器23、33から脱離した水分は、屋内空気RAに同伴して排気口を通じて排出空気EAとして屋外へ排出される。第1吸着熱交換器22、32では、屋外空気OA中の水分が吸着剤に吸着されて屋外空気OAが除湿され、その際に生じた吸着熱が冷媒に吸熱されて冷媒が蒸発する。そして、第1吸着熱交換器22、32で除湿された屋外空気OAは、給気口を通って供給空気SAとして屋内へ供給される(図3の吸着熱交換器22、23、32、33の両側に付された矢印を参照)。
ここで、空気調和システム1において行われているシステム制御について説明する。
まず、リモコン11、12によって屋内の空気の目標温度及び目標相対湿度が設定されると、利用ユニット2、3の利用側制御部28、38には、これらの目標温度値及び目標相対湿度値とともに、RA吸入温度・湿度センサ25、35によって検出されたユニット内に吸入される屋内の空気の温度値及び相対湿度値と、OA吸入温度・湿度センサ26、36によって検出されたユニット内に吸入される屋外の空気の温度値及び相対湿度値とが入力される。
すると、ステップS1において、利用側制御部28、38は、屋内の空気の目標温度値及び目標相対湿度値からエンタルピの目標値又は絶対湿度の目標値を演算し、そして、RA吸入温度・湿度センサ25、35によって検出された温度値及び相対湿度値から屋内からユニット内に吸入される空気のエンタルピの現在値又は絶対湿度の現在値を演算し、両値の差(以下、必要潜熱能力値Δhとする)を演算する。ここで、必要潜熱能力値Δhは、上述のように屋内の空気のエンタルピの目標値又は絶対湿度の目標値と現在の屋内の空気のエンタルピ値又は絶対湿度値との差であるため、空気調和システム1において処理しなければならない潜熱負荷に相当するものである。そして、この必要潜熱能力値Δhの値を、利用ユニット2、3の処理能力を上げる必要があるかどうかを熱源側制御部65に知らせるための能力UP信号K1に変換する。例えば、Δhの絶対値が所定値よりも小さい場合(すなわち、屋内の空気の湿度値が目標湿度値に近い値であり、処理能力を増減する必要がない場合)には能力UP信号K1を「0」とし、Δhの絶対値が所定値よりも処理能力を上げなければならない方向に大きい場合(すなわち、除湿運転においては屋内の空気の湿度値が目標湿度値よりも高く、処理能力を上げる必要がある場合)には能力UP信号K1を「A」とし、Δhの絶対値が所定値よりも処理能力を下げなければならない方向に大きい場合(すなわち、除湿運転においては屋内の空気の湿度値が目標湿度値よりも低く、処理能力を下げる必要がある場合)には能力UP信号K1を「B」とする。
次に、ステップS2において、熱源側制御部65は、利用側制御部28、38から伝送された利用ユニット2、3の能力UP信号K1を用いて、目標凝縮温度値TcS1及び目標蒸発温度値TeS1を演算する。例えば、目標凝縮温度値TcS1は、現在の目標凝縮温度値に利用ユニット2、3の能力UP信号K1を加算することによって演算される。また、目標蒸発温度値TeS1は、現在の目標蒸発温度値に利用ユニット2、3の能力UP信号K1を減算することによって演算される。これにより、能力UP信号K1の値が「A」の場合には、目標凝縮温度値TcS1は高くなり、目標蒸発温度値TeS1は低くなる。
次に、ステップS3において、空気調和システム1全体の凝縮温度及び蒸発温度の実測値に相当する値であるシステム凝縮温度値Tc1及びシステム蒸発温度値Te1を演算する。例えば、システム凝縮温度値Tc1及びシステム蒸発温度値Te1は、吸入圧力センサ63によって検出された圧縮機構61の吸入圧力値及び吐出圧力センサ64によって検出された圧縮機構61の吐出圧力値を、これらの圧力値における冷媒の飽和温度に換算することによって演算される。そして、システム凝縮温度値Tc1に対する目標凝縮温度値TcS1の温度差ΔTc1及びシステム蒸発温度値Te1に対する目標蒸発温度値TeS1の温度差ΔTe1を演算し、これらの温度差を除算することによって圧縮機構61の運転容量の増減の要否及び増減幅を決定する。
このようにして決定された圧縮機構61の運転容量を用いて、圧縮機構61の運転容量を制御することで、屋内の空気の目標温度及び目標相対湿度に近づけるシステム制御を行っている。例えば、温度差ΔTc1から温度差ΔTe1を差し引いた値が正値の場合には圧縮機構61の運転容量を増加させ、逆に、温度差ΔTc1から温度差ΔTe1を差し引いた値が負値の場合には圧縮機構61の運転容量を減少させるように制御する。
ここで、第1吸着熱交換器22、32及び第2吸着熱交換器23、33は、これらの吸着動作及び再生動作によって、空気中の水分を吸着したりや吸着された水分を空気中に脱離させる処理(以下、潜熱処理とする)だけでなく、通過する空気を冷却や加熱して温度を変化させる処理(以下、顕熱処理とする)も行っている。吸着熱交換器において得られる潜熱処理能力及び顕熱処理能力を第1動作及び第2動作、すなわち、吸着動作及び再生動作の切換時間間隔を横軸として表示したグラフを図5に示す。これによると、切換時間間隔を短くした場合(図5の時間C、潜熱優先モードとする)には潜熱処理、すなわち、空気中の水分を吸着したりや脱離させる処理が優先して行われるが、切換時間間隔を長くした場合(図5の時間D、顕熱優先モードとする)には顕熱処理、すなわち、空気を冷却や加熱して温度を変化させる処理が優先して行われることがわかる。例えば、蒸発器として機能する第1吸着熱交換器22、32及び第2吸着熱交換器23、33に空気を接触させると、最初は主として表面に設けられた吸着剤によって水分を吸着するため、この際に発生する吸着熱を処理することになるが、吸着剤の水分吸着容量近くまで水分を吸着してしまうと、その後は、主として空気を冷却することになるからである。また、凝縮器として機能する第1吸着熱交換器22、32及び第2吸着熱交換器23、33に空気を接触させると、最初は、主として表面に設けられた吸着剤の加熱処理により吸着剤に吸着された水分が空気中に脱離されることになるが、吸着剤に吸着された水分がほぼ脱離されてしまうと、その後は、主として空気を加熱することになるからである。そして、この切換時間間隔を利用側制御部28、38からの指令により変更することによって、潜熱処理能力に対する顕熱処理能力の割合(以下、顕熱処理能力比とする)を変更することができるようになっている。尚、後述のように、空気調和システム1は、通常運転時においては、主として潜熱処理を行うため、切換時間間隔を時間C、すなわち、潜熱優先モードに設定されている。
このように、この空気調和システム1では、全換気モードの除湿運転において、屋外の空気を除湿するとともに、切換時間間隔に応じて得られる顕熱処理能力によって冷却を行って屋内に供給する冷房運転を行うことができる。
全換気モードの加湿運転中の動作について、図6及び図7を用いて説明する。ここで、図6及び図7は、空気調和システム1における全換気モードの加湿運転時の動作を示す概略の冷媒回路図である。尚、空気調和システム1において行われているシステム制御については、上述の全換気モードの除湿運転と同様であるため、説明を省略する。
加湿運転中には、図6及び図7に示されるように、例えば、利用ユニット2においては、第1吸着熱交換器22が凝縮器となって第2吸着熱交換器23が蒸発器となる第1動作と、第2吸着熱交換器23が凝縮器となって第1吸着熱交換器22が蒸発器となる第2動作とが交互に繰り返される。利用ユニット3においても同様に、第1吸着熱交換器32が凝縮器となって第2吸着熱交換器33が蒸発器となる第1動作と、第2吸着熱交換器33が凝縮器となって第1吸着熱交換器32が蒸発器となる第2動作とが交互に繰り返される。以下、第1動作及び第2動作中における冷媒回路10内の冷媒の流れについては、上述の全換気モードの除湿運転と同様であるため、説明を省略し、第1動作及び第2動作中における空気の流れについてのみ説明する。
第1動作中において、第1吸着熱交換器22、32では、冷媒の凝縮により加熱された吸着剤から水分が脱離し、この脱離した水分が外気吸入口から吸入された屋外空気OAに付与される。第1吸着熱交換器22、32から脱離した水分は、屋外空気OAに同伴して給気口を通じて供給空気SAとして屋内へ供給される。第2吸着熱交換器23、33では、屋内空気RA中の水分が吸着剤に吸着されて屋内空気RAが除湿され、その際に生じた吸着熱が冷媒に吸熱されて冷媒が蒸発する。そして、第2吸着熱交換器23、33で除湿された屋内空気RAは、排気口を通って排出空気EAとして屋外へ排出される(図6の吸着熱交換器22、23、32、33の両側に付された矢印を参照)。
第2動作中において、第2吸着熱交換器23、33では、冷媒の凝縮により加熱された吸着剤から水分が脱離し、この脱離した水分が外気吸入口から吸入された屋外空気OAに付与される。第2吸着熱交換器23、33から脱離した水分は、屋外空気OAに同伴して給気口を通じて供給空気SAとして屋内へ供給される。第1吸着熱交換器22、32では、屋内空気RA中の水分が吸着剤に吸着されて屋内空気RAが除湿され、その際に生じた吸着熱が冷媒に吸熱されて冷媒が蒸発する。そして、第1吸着熱交換器22、32で除湿された屋内空気RAは、排気口を通って排出空気EAとして屋外へ排出される(図7の吸着熱交換器22、23、32、33の両側に付された矢印を参照)。
ここで、第1吸着熱交換器22、32及び第2吸着熱交換器23、33は、上述の全換気モードの除湿運転と同様に、潜熱処理だけでなく、顕熱処理も行っている。
このように、この空気調和システム1では、全換気モードの加湿運転において、屋外の空気を加湿するとともに、切換時間間隔に応じて得られる顕熱処理能力によって加熱を行って屋内に供給する加湿運転を行うことができる。
<循環モード>
次に、循環モードにおける除湿運転及び加湿運転について説明する。循環モードにおいては、利用ユニット2、3の給気ファン及び排気ファンを運転すると、屋内空気RAが内気吸入口を通じてユニット内に吸入されて給気口を通じて供給空気SAとして屋内に供給され、屋外空気OAが外気吸入口を通じてユニット内に吸入されて排気口を通じて排出空気EAとして屋外に排出される運転が行われる。
循環モードの除湿運転中の動作について、図8及び図9を用いて説明する。ここで、図8及び図9は、空気調和システム1における循環モードの除湿運転時の動作を示す概略の冷媒回路図である。尚、空気調和システム1において行われているシステム制御については、上述の全換気モードの除湿運転と同様であるため、説明を省略する。
除湿運転中には、図8及び図9に示されるように、例えば、利用ユニット2においては、第1吸着熱交換器22が凝縮器となって第2吸着熱交換器23が蒸発器となる第1動作と、第2吸着熱交換器23が凝縮器となって第1吸着熱交換器22が蒸発器となる第2動作とが交互に繰り返される。利用ユニット3においても同様に、第1吸着熱交換器32が凝縮器となって第2吸着熱交換器33が蒸発器となる第1動作と、第2吸着熱交換器33が凝縮器となって第1吸着熱交換器32が蒸発器となる第2動作とが交互に繰り返される。以下、第1動作及び第2動作中における冷媒回路10内の冷媒の流れについては、上述の全換気モードの除湿運転と同様であるため、説明を省略し、第1動作及び第2動作中における空気の流れについてのみ説明する。
第1動作中において、第1吸着熱交換器22、32では、冷媒の凝縮により加熱された吸着剤から水分が脱離し、この脱離した水分が外気吸入口から吸入された屋外空気OAに付与される。第1吸着熱交換器22、32から脱離した水分は、屋外空気OAに同伴して排気口を通じて排出空気EAとして屋外へ排出される。第2吸着熱交換器23、33では、屋内空気RA中の水分が吸着剤に吸着されて屋内空気RAが除湿され、その際に生じた吸着熱が冷媒に吸熱されて冷媒が蒸発する。そして、第2吸着熱交換器23、33で除湿された屋内空気RAは、給気口を通って供給空気SAとして屋内へ供給される(図8の吸着熱交換器22、23、32、33の両側に付された矢印を参照)。
第2動作中において、第2吸着熱交換器23、33では、冷媒の凝縮により加熱された吸着剤から水分が脱離し、この脱離した水分が外気吸入口から吸入された屋外空気OAに付与される。第2吸着熱交換器23、33から脱離した水分は、屋外空気OAに同伴して排気口を通じて排出空気EAとして屋外へ排出される。第1吸着熱交換器22、32では、屋内空気RA中の水分が吸着剤に吸着されて屋内の空気が除湿され、その際に生じた吸着熱が冷媒に吸熱されて冷媒が蒸発する。そして、第1吸着熱交換器22、32で除湿された屋内空気RAは、給気口を通って供給空気SAとして屋内へ供給される(図9の吸着熱交換器22、23、32、33の両側に付された矢印を参照)。
ここで、第1吸着熱交換器22、32及び第2吸着熱交換器23、33は、潜熱処理だけでなく、顕熱処理も行っている。
このように、この空気調和システム1では、循環モードの除湿運転において、屋内の空気を除湿するとともに、切換時間間隔に応じて得られる顕熱処理能力によって冷却を行って屋内に供給する除湿運転を行うことができる。
循環モードの加湿運転中の動作について、図10及び図11を用いて説明する。ここで、図10及び図11は、空気調和システム1における循環モードの除湿運転時の動作を示す概略の冷媒回路図である。尚、空気調和システム1において行われているシステム制御については、上述の全換気モードの除湿運転と同様であるため、説明を省略する。
加湿運転中には、図10及び図11に示されるように、例えば、利用ユニット2においては、第1吸着熱交換器22が凝縮器となって第2吸着熱交換器23が蒸発器となる第1動作と、第2吸着熱交換器23が凝縮器となって第1吸着熱交換器22が蒸発器となる第2動作とが交互に繰り返される。利用ユニット3においても同様に、第1吸着熱交換器32が凝縮器となって第2吸着熱交換器33が蒸発器となる第1動作と、第2吸着熱交換器33が凝縮器となって第1吸着熱交換器32が蒸発器となる第2動作とが交互に繰り返される。以下、第1動作及び第2動作中における冷媒回路10内の冷媒の流れについては、上述の全換気モードの除湿運転と同様であるため、説明を省略し、第1動作及び第2動作中における空気の流れについてのみ説明する。
第1動作中において、第1吸着熱交換器22、32では、冷媒の凝縮により加熱された吸着剤から水分が脱離し、この脱離した水分が内気吸入口から吸入された屋内空気RAに付与される。第1吸着熱交換器22、32から脱離した水分は、屋内空気RAに同伴して給気口を通じて供給空気SAとして屋内へ供給される。第2吸着熱交換器23、33では、屋外空気OA中の水分が吸着剤に吸着されて屋外空気OAが除湿され、その際に生じた吸着熱が冷媒に吸熱されて冷媒が蒸発する。そして、第2吸着熱交換器23、33で除湿された屋外空気OAは、排気口を通って排出空気EAとして屋外へ排出される(図10の吸着熱交換器22、23、32、33の両側に付された矢印を参照)。
第2動作中において、第2吸着熱交換器23、33では、冷媒の凝縮により加熱された吸着剤から水分が脱離し、この脱離した水分が内気吸入口から吸入された屋内空気RAに付与される。第2吸着熱交換器23、33から脱離した水分は、屋内空気RAに同伴して給気口を通じて供給空気SAとして屋内へ供給される。第1吸着熱交換器22、32では、屋外空気OA中の水分が吸着剤に吸着されて屋外空気OAが除湿され、その際に生じた吸着熱が冷媒に吸熱されて冷媒が蒸発する。そして、第1吸着熱交換器22、32で除湿された屋外空気OAは、排気口を通って排出空気EAとして屋外へ排出される(図11の吸着熱交換器22、23、32、33の両側に付された矢印を参照)。
ここで、第1吸着熱交換器22、32及び第2吸着熱交換器23、33は、上述の全換気モードの除湿運転と同様に、潜熱処理だけでなく、顕熱処理も行っている。
このように、この空気調和システム1では、循環モードの加湿運転において、屋内の空気を加湿するとともに、切換時間間隔に応じて得られる顕熱処理能力によって加熱を行って屋内に供給する加湿暖房運転を行うことができる。
<給気モード>
次に、給気モードにおける除湿運転及び加湿運転について説明する。給気モードにおいては、利用ユニット2、3の給気ファン及び排気ファンを運転すると、屋外空気OAが外気吸入口を通じてユニット内に吸入されて給気口を通じて供給空気SAとして屋内に供給され、屋外空気OAが外気吸入口を通じてユニット内に吸入されて排気口を通じて排出空気EAとして屋外に排出される運転が行われる。
給気モードの除湿運転中の動作について、図12及び図13を用いて説明する。ここで、図12及び図13は、空気調和システム1における給気モードの除湿運転時の動作を示す概略の冷媒回路図である。尚、空気調和システム1において行われているシステム制御については、上述の全換気モードの除湿運転と同様であるため、説明を省略する。
除湿運転中には、図12及び図13に示されるように、例えば、利用ユニット2においては、第1吸着熱交換器22が凝縮器となって第2吸着熱交換器23が蒸発器となる第1動作と、第2吸着熱交換器23が凝縮器となって第1吸着熱交換器22が蒸発器となる第2動作とが交互に繰り返される。利用ユニット3においても同様に、第1吸着熱交換器32が凝縮器となって第2吸着熱交換器33が蒸発器となる第1動作と、第2吸着熱交換器33が凝縮器となって第1吸着熱交換器32が蒸発器となる第2動作とが交互に繰り返される。以下、第1動作及び第2動作中における冷媒回路10内の冷媒の流れについては、上述の全換気モードの除湿運転と同様であるため、説明を省略し、第1動作及び第2動作中における空気の流れについてのみ説明する。
第1動作中において、第1吸着熱交換器22、32では、冷媒の凝縮により加熱された吸着剤から水分が脱離し、この脱離した水分が外気吸入口から吸入された屋外空気OAに付与される。第1吸着熱交換器22、32から脱離した水分は、屋外空気OAに同伴して排気口を通じて排出空気EAとして屋外へ排出される。第2吸着熱交換器23、33では、屋外空気OA中の水分が吸着剤に吸着されて屋外空気OAが除湿され、その際に生じた吸着熱が冷媒に吸熱されて冷媒が蒸発する。そして、第2吸着熱交換器23、33で除湿された屋外空気OAは、給気口を通って供給空気SAとして屋内へ供給される(図12の吸着熱交換器22、23、32、33の両側に付された矢印を参照)。
第2動作中において、第2吸着熱交換器23、33では、冷媒の凝縮により加熱された吸着剤から水分が脱離し、この脱離した水分が外気吸入口から吸入された屋外空気OAに付与される。第2吸着熱交換器23、33から脱離した水分は、屋外空気OAに同伴して排気口を通じて排出空気EAとして屋外に排出される。第1吸着熱交換器22、32では、屋外空気OA中の水分が吸着剤に吸着されて屋外空気OAが除湿され、その際に生じた吸着熱が冷媒に吸熱されて冷媒が蒸発する。そして、第1吸着熱交換器22、32で除湿された屋外空気OAは、給気口を通って供給空気SAとして屋内へ供給される(図13の吸着熱交換器22、23、32、33の両側に付された矢印を参照)。
ここで、第1吸着熱交換器22、32及び第2吸着熱交換器23、33は、潜熱処理だけでなく、顕熱処理も行っている。
このように、この空気調和システム1では、給気モードの除湿運転において、屋外の空気を除湿するとともに、切換時間間隔に応じて得られる顕熱処理能力によって冷却を行って屋内に供給する除湿運転を行うことができる。
給気モードの加湿運転中の動作について、図14及び図15を用いて説明する。ここで、図14及び図15は、空気調和システム1における給気モードの加湿運転時の動作を示す概略の冷媒回路図である。尚、空気調和システム1において行われているシステム制御については、上述の全換気モードの除湿運転と同様であるため、説明を省略する。
加湿運転中には、図14及び図15に示されるように、例えば、利用ユニット2においては、第1吸着熱交換器22が凝縮器となって第2吸着熱交換器23が蒸発器となる第1動作と、第2吸着熱交換器23が凝縮器となって第1吸着熱交換器22が蒸発器となる第2動作とが交互に繰り返される。利用ユニット3においても同様に、第1吸着熱交換器32が凝縮器となって第2吸着熱交換器33が蒸発器となる第1動作と、第2吸着熱交換器33が凝縮器となって第1吸着熱交換器32が蒸発器となる第2動作とが交互に繰り返される。以下、第1動作及び第2動作中における冷媒回路10内の冷媒の流れについては、上述の全換気モードの除湿運転と同様であるため、説明を省略し、第1動作及び第2動作中における空気の流れについてのみ説明する。
第1動作中において、第1吸着熱交換器22、32では、冷媒の凝縮により加熱された吸着剤から水分が脱離し、この脱離した水分が外気吸入口から吸入された屋外空気OAに付与される。第1吸着熱交換器22、32から脱離した水分は、屋外空気OAに同伴して給気口を通じて供給空気SAとして屋内へ供給される。第2吸着熱交換器23、33では、屋外空気OA中の水分が吸着剤に吸着されて屋外の空気が除湿され、その際に生じた吸着熱が冷媒に吸熱されて冷媒が蒸発する。そして、第2吸着熱交換器23、33で除湿された屋外空気OAは、排気口を通って排出空気EAとして屋外へ排出される(図14の吸着熱交換器22、23、32、33の両側に付された矢印を参照)。
第2動作中において、第2吸着熱交換器23、33では、冷媒の凝縮により加熱された吸着剤から水分が脱離し、この脱離した水分が外気吸入口から吸入された屋外空気OAに付与される。第2吸着熱交換器23、33から脱離した水分は、屋外空気OAに同伴して給気口を通じて供給空気SAとして屋内へ供給される。第1吸着熱交換器22、32では、屋外空気OA中の水分が吸着剤に吸着されて屋外空気OAが除湿され、その際に生じた吸着熱が冷媒に吸熱されて冷媒が蒸発する。そして、第1吸着熱交換器22、32で除湿された屋外空気OAは、排気口を通って排出空気EAとして屋外へ排出される(図15の吸着熱交換器22、23、32、33の両側に付された矢印を参照)。
ここで、第1吸着熱交換器22、32及び第2吸着熱交換器23、33は、潜熱処理だけでなく、顕熱処理も行っている。
このように、この空気調和システム1では、給気モードの加湿運転において、屋外の空気を加湿するとともに、切換時間間隔に応じて得られる顕熱処理能力によって加熱を行って屋内に供給する加湿運転を行うことができる。
<排気モード>
次に、排気モードにおける除湿運転及び加湿運転について説明する。排気モードにおいては、利用ユニット2、3の給気ファン及び排気ファンを運転すると、屋内空気RAが内気吸入口を通じてユニット内に吸入されて給気口を通じて供給空気SAとして屋内に供給され、屋内空気RAが内気吸入口を通じてユニット内に吸入されて排気口を通じて排出空気EAとして屋外に排出される運転が行われる。
排気モードの除湿運転中の動作について、図16及び図17を用いて説明する。ここで、図16及び図17は、空気調和システム1における排気モードの除湿運転時の動作を示す概略の冷媒回路図である。尚、空気調和システム1において行われているシステム制御については、上述の全換気モードの除湿運転と同様であるため、説明を省略する。
除湿運転中には、図16及び図17に示されるように、例えば、利用ユニット2においては、第1吸着熱交換器22が凝縮器となって第2吸着熱交換器23が蒸発器となる第1動作と、第2吸着熱交換器23が凝縮器となって第1吸着熱交換器22が蒸発器となる第2動作とが交互に繰り返される。利用ユニット3においても同様に、第1吸着熱交換器32が凝縮器となって第2吸着熱交換器33が蒸発器となる第1動作と、第2吸着熱交換器33が凝縮器となって第1吸着熱交換器32が蒸発器となる第2動作とが交互に繰り返される。以下、第1動作及び第2動作中における冷媒回路10内の冷媒の流れについては、上述の全換気モードの除湿運転と同様であるため、説明を省略し、第1動作及び第2動作中における空気の流れについてのみ説明する。
第1動作中において、第1吸着熱交換器22、32では、冷媒の凝縮により加熱された吸着剤から水分が脱離し、この脱離した水分が内気吸入口から吸入された屋内空気RAに付与される。第1吸着熱交換器22、32から脱離した水分は、屋内空気RAに同伴して排気口を通じて排出空気EAとして屋外へ排出される。第2吸着熱交換器23、33では、屋内空気RA中の水分が吸着剤に吸着されて屋内空気RAが除湿され、その際に生じた吸着熱が冷媒に吸熱されて冷媒が蒸発する。そして、第2吸着熱交換器23、33で除湿された屋内空気RAは、給気口を通って供給空気SAとして屋内へ供給される(図16の吸着熱交換器22、23、32、33の両側に付された矢印を参照)。
第2動作中において、第2吸着熱交換器23、33では、冷媒の凝縮により加熱された吸着剤から水分が脱離し、この脱離した水分が内気吸入口から吸入された屋内空気RAに付与される。第2吸着熱交換器23、33から脱離した水分は、屋内空気RAに同伴して排気口を通じて排出空気EAとして屋外に排気される。第1吸着熱交換器22、32では、屋内空気RA中の水分が吸着剤に吸着されて屋内空気RAが除湿され、その際に生じた吸着熱が冷媒に吸熱されて冷媒が蒸発する。そして、第1吸着熱交換器22、32で除湿された屋内空気RAは、給気口を通って供給空気SAとして屋内へ供給される(図17の吸着熱交換器22、23、32、33の両側に付された矢印を参照)。
ここで、第1吸着熱交換器22、32及び第2吸着熱交換器23、33は、潜熱処理だけでなく、顕熱処理も行っている。
このように、この空気調和システム1では、排気モードの除湿運転において、屋内の空気を除湿するとともに、切換時間間隔に応じて得られる顕熱処理能力によって冷却を行って屋内に供給する除湿運転を行うことができる。
排気モードの加湿運転中の動作について、図18及び図19を用いて説明する。ここで、図18及び図19は、空気調和システム1における排気モードの加湿運転時の動作を示す概略の冷媒回路図である。空気調和システム1における排気モードの加湿運転時の動作を示す概略の冷媒回路図である。尚、空気調和システム1において行われているシステム制御については、上述の全換気モードの除湿運転と同様であるため、説明を省略する。
加湿運転中には、図18及び図19に示されるように、例えば、利用ユニット2においては、第1吸着熱交換器22が凝縮器となって第2吸着熱交換器23が蒸発器となる第1動作と、第2吸着熱交換器23が凝縮器となって第1吸着熱交換器22が蒸発器となる第2動作とが交互に繰り返される。利用ユニット3においても同様に、第1吸着熱交換器32が凝縮器となって第2吸着熱交換器33が蒸発器となる第1動作と、第2吸着熱交換器33が凝縮器となって第1吸着熱交換器32が蒸発器となる第2動作とが交互に繰り返される。以下、第1動作及び第2動作中における冷媒回路10内の冷媒の流れについては、上述の全換気モードの除湿運転と同様であるため、説明を省略し、第1動作及び第2動作中における空気の流れについてのみ説明する。
第1動作中において、第1吸着熱交換器22、32では、冷媒の凝縮により加熱された吸着剤から水分が脱離し、この脱離した水分が内気吸入口から吸入された屋内空気RAに付与される。第1吸着熱交換器22、32から脱離した水分は、屋内空気RAに同伴して給気口を通じて供給空気SAとして屋内へ供給される。第2吸着熱交換器23、33では、屋内空気RA中の水分が吸着剤に吸着されて屋内空気RAが除湿され、その際に生じた吸着熱が冷媒に吸熱されて冷媒が蒸発する。そして、第2吸着熱交換器23、33で除湿された屋内空気RAは、排気口を通って排出空気EAとして屋外へ排出される(図18の吸着熱交換器22、23、32、33の両側に付された矢印を参照)。
第2動作中において、第2吸着熱交換器23、33では、冷媒の凝縮により加熱された吸着剤から水分が脱離し、この脱離した水分が内気吸入口から吸入された屋内空気RAに付与される。第2吸着熱交換器23、33から脱離した水分は、屋内空気SAに同伴して給気口を通じて供給空気SAとして屋内へ供給される。第1吸着熱交換器22、32では、屋内空気RA中の水分が吸着剤に吸着されて屋内空気RAが除湿され、その際に生じた吸着熱が冷媒に吸熱されて冷媒が蒸発する。そして、第1吸着熱交換器22、32で除湿された屋内空気RAは、排気口を通って排出空気EAとして屋外へ排出される(図19の吸着熱交換器22、23、32、33の両側に付された矢印を参照)。
ここで、第1吸着熱交換器22、32及び第2吸着熱交換器23、33は、潜熱処理だけでなく、顕熱処理も行っている。
このように、この空気調和システム1では、排気モードの加湿運転において、屋内の空気を加湿するとともに、切換時間間隔に応じて得られる顕熱処理能力によって加熱を行って屋内に供給する加湿運転を行うことができる。
<部分負荷運転>
次に、空気調和システム1を部分負荷運転する場合の動作について説明する。例として、図20及び図21に示されるように、全換気モードにおける除湿運転状態において、利用ユニット3の運転を停止し、利用ユニット2のみが運転している場合について説明する。ここで、図20及び図21は、空気調和システム1における全換気モードの除湿運転時の部分負荷運転の動作を示す概略の冷媒回路図である。
まず、利用ユニット3の利用側膨張弁34を閉止し、かつ、給気ファンや排気ファンを停止することによって利用ユニット3の運転を停止させる。すると、空気調和システム1においては、利用ユニット3の吸着熱交換器32、33の伝熱面積分だけ空気調和システム1全体としての吸着熱交換器の伝熱面積が減少することになる。そうすると、吸着熱交換器22、23のうち蒸発器として機能する吸着熱交換器においては、冷媒の蒸発温度と空気との温度差が増加し、吸着熱交換器22、23のうち凝縮器として機能する吸着熱交換器においては、冷媒の凝縮温度と空気との温度差が増加することになる。
そうすると、熱源ユニット6の熱源側制御部65は、図4のステップS2において演算される目標凝縮温度値TcS1に対してシステム凝縮温度値Tc1が高くなり、目標蒸発温度値TeS1に対してシステム蒸発温度値Te1が低くなるため、結果的に、圧縮機構61の運転容量を減少させるように制御することになる。
すると、冷媒回路10内を循環する冷媒量が減少して、冷媒回路10内に余剰冷媒が発生する。この余剰冷媒は、吸着熱交換器22、23、32、33内に溜まり込むことなく、アキュムレータ62に溜まることになる。これにより、圧縮機構61の吸入圧力の低下や吐出圧力の上昇、又は、吸着熱交換器22、23、32、33内への冷媒の溜まり込み等が抑えられて、部分負荷運転が安定的に行われる。
(3)空気調和システムの特徴
本実施形態の空気調和システム1には、以下のような特徴がある。
(A)
本実施形態の空気調和システム1では、吸着熱交換器22、23、32、33の吸着動作及び再生動作を交互に行うことで吸着熱交換器22、23、32、33を通過する空気を除湿又は加湿することによって主として屋内の潜熱負荷を処理することが可能な複数の利用側冷媒回路10a、10bを備えた利用ユニット2、3が、吐出ガス連絡配管7及び吸入ガス連絡配管8を介して、圧縮機構61を有する熱源側冷媒回路10cを備えた熱源ユニット6に接続されることによって、いわゆる、マルチ空気調和システムを構成している。つまり、利用側冷媒回路との間で蒸気圧縮式の冷凍サイクル運転を行うための熱源を複数の利用側冷媒回路に共通の1つの熱源にまとめるようにしている。これにより、吸着熱交換器を用いた空気調和装置を複数台設置する際に生じるコストアップやメンテナンス箇所の増加を抑えることができる。
(B)
しかも、熱源側冷媒回路10cは、圧縮機構61の吸入側に接続された液溜容器としてのアキュムレータ62を有しており、空気調和システム1の運転負荷の変動に伴い、冷媒循環量が減少した場合に増加する余剰冷媒を溜めておくことができる。これにより、冷媒循環量の減少に伴って発生する余剰冷媒を溜めるためのレシーバを、利用側冷媒回路10a、10bの数、すなわち、吸着熱交換器22、23、32、33の数に対応して接続する必要がなくなり、これによるコストアップや吸着熱交換器22、23、32、33を内蔵する利用ユニット2、3のサイズが大きくなるのを抑えることができる。
(4)変形例
上述の実施形態の熱源ユニット6の熱源側冷媒回路10cにおいて、図22に示されるように、圧縮機構61の吐出側に補助凝縮器66を接続して、圧縮機構61から吐出されて利用ユニット2、3に送られる高圧のガス冷媒の一部を凝縮させることができるようにしてもよい。
本変形例において、補助凝縮器66は、圧縮機構61の吐出管68の一部をバイパスするように接続されており、圧縮機構61から吐出されて利用ユニット2、3に送られる高圧のガス冷媒の一部をバイパスして凝縮させた後に、再び吐出管68を流れる高圧のガス冷媒に合流させることで、高圧のガス冷媒の圧力を低下させることができるようになっている。しかも、補助凝縮器66の入口側には、電磁弁67が接続されているため、急激な運転負荷の減少が生じた場合等のように、圧縮機構61の吐出圧力が過度に上昇する場合にのみ使用できるようにもなっている。
本変形例では、圧縮機構61の吐出側を流れる冷媒の一部を補助凝縮器66によって凝縮させることによって、圧縮機構61の吐出側の冷媒の圧力を低下させることができる。これにより、空気調和システム1の運転負荷の変動に伴って冷媒循環量が減少することにより圧縮機構61の吐出側の冷媒の圧力が一時的に増加する等の圧力変動が生じる場合であっても、吸着熱交換器22、23、32、33を用いたマルチ空気調和システムを安定的に運転することができる。
[第2実施形態]
(1)空気調和システムの構成
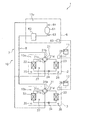
図23は、本発明にかかる第2実施形態の空気調和システム101の概略の冷媒回路図である。空気調和システム101は、蒸気圧縮式の冷凍サイクル運転を行うことによって、ビル等の屋内の潜熱負荷及び顕熱負荷を処理する空気調和システムである。空気調和システム101は、いわゆる、セパレート型のマルチ空気調和システムであり、主として屋内の潜熱負荷を処理する潜熱負荷処理システム201と、主として屋内の顕熱負荷を処理する顕熱負荷処理システム301とを備えている。
潜熱負荷処理システム201は、第1実施形態の空気調和システム1と同様の構成であるため、第1実施形態の利用ユニット2の各部を示す符号をすべて200番台の符号に変え、さらに、各部の名称として「潜熱系統」の文言を付するのみとし(例えば、利用ユニット2は、潜熱系統利用ユニット202とする)、ここでは、各部の説明を省略する。
顕熱負荷処理システム301は、主として、複数台(本実施形態では、2台)の顕熱系統利用ユニット302、303と、顕熱系統熱源ユニット306と、顕熱系統利用ユニット302、303と顕熱系統熱源ユニット306とを接続する顕熱系統連絡配管307、308とを備えている。本実施形態において、顕熱系統熱源ユニット306は、顕熱系統利用ユニット302、303に共通の熱源として機能する。また、本実施形態において、顕熱系統熱源ユニット306は、1台だけであるが、顕熱系統利用ユニット302、303の台数が多い場合等においては複数台を並列に接続していてもよい。
<顕熱系統利用ユニット>
顕熱系統利用ユニット302、303は、ビル等の屋内の天井に埋め込みや吊り下げ等により、壁掛け等により、又は、天井裏の空間に設置されている。顕熱系統利用ユニット302、303は、顕熱系統連絡配管307、308を介して顕熱系統熱源ユニット306に接続されており、顕熱系統熱源ユニット306との間で顕熱系統冷媒回路310を構成している。顕熱系統利用ユニット302、303は、この顕熱系統冷媒回路310内において冷媒を循環させて蒸気圧縮式の冷凍サイクル運転を行うことによって、主として屋内の顕熱負荷を処理することが可能である。そして、顕熱系統利用ユニット302は潜熱系統利用ユニット202と同じ空調空間に設置されており、顕熱系統利用ユニット303は潜熱系統利用ユニット203と同じ空調空間に設置されている。すなわち、潜熱系統利用ユニット202と顕熱系統利用ユニット302とがペアになって、ある空調空間の潜熱負荷及び顕熱負荷を処理しており、潜熱系統利用ユニット203と顕熱系統利用ユニット303とがペアになって、別の空調空間の潜熱負荷及び顕熱負荷を処理している。
次に、顕熱系統利用ユニット302、303の構成について説明する。尚、顕熱系統利用ユニット302と顕熱系統利用ユニット303とは同様の構成であるため、ここでは、顕熱系統利用ユニット302の構成のみ説明し、顕熱系統利用ユニット303の構成については、顕熱系統利用ユニット302の各部を示す320番台の符号の代わりに330番台の符号を付して、各部の説明を省略する。
顕熱系統利用ユニット302は、主として、顕熱系統冷媒回路310の一部を構成しており、空気を冷却又は加熱することが可能な顕熱系統利用側冷媒回路310aを備えている。この顕熱系統利用側冷媒回路310aは、主として、顕熱系統利用側膨張弁321と、空気熱交換器322とを備えている。本実施形態において、顕熱系統利用側膨張弁321は、冷媒流量の調節等を行うために、空気熱交換器322の液側に接続された電動膨張弁である。本実施形態において、空気熱交換器322は、伝熱管と多数のフィンとにより構成されたクロスフィン式のフィン・アンド・チューブ型熱交換器であり、冷媒と屋内空気RAとの熱交換を行うための機器である。本実施形態において、顕熱系統利用ユニット302は、ユニット内に屋内空気RAを吸入して、熱交換した後に、供給空気SAとして屋内に供給するための送風ファン(図示せず)を備えており、屋内空気RAと空気熱交換器322を流れる冷媒とを熱交換させることが可能である。
また、顕熱系統利用ユニット302には、各種のセンサが設けられている。空気熱交換器322の液側には液冷媒の温度を検出する液側温度センサ323が設けられており、空気熱交換器322のガス側にはガス冷媒の温度を検出するガス側温度センサ324が設けられている。さらに、顕熱系統利用ユニット302には、ユニット内に吸入される屋内空気RAの温度を検出するRA吸入温度センサ325が設けられている。また、顕熱系統利用ユニット302は、顕熱系統利用ユニット302を構成する各部の動作を制御する顕熱系統利用側制御部328を備えている。そして、顕熱系統利用側制御部328は、顕熱系統利用ユニット302の制御を行うために設けられたマイクロコンピュータやメモリを有しており、リモコン111を通じて、屋内の空気の目標温度及び目標湿度の入力信号等のやりとりを行ったり、顕熱系統熱源ユニット306との間で制御信号等のやりとりを行うこともできるようになっている。
<顕熱系統熱源ユニット>
顕熱系統熱源ユニット306は、ビル等の屋上等に設置されており、顕熱系統連絡配管307、308を介して顕熱系統利用ユニット302、303に接続されており、顕熱系統利用ユニット302、303との間で顕熱系統冷媒回路310を構成している。
次に、顕熱系統熱源ユニット306の構成について説明する。顕熱系統熱源ユニット306は、主として、顕熱系統冷媒回路310の一部を構成しており、顕熱系統熱源側冷媒回路310cを備えている。この顕熱系統熱源側冷媒回路310cは、主として、顕熱系統圧縮機構361と、顕熱系統熱源側四路切換弁362と、顕熱系統熱源側熱交換器363と、顕熱系統熱源側膨張弁364と、顕熱系統レシーバ368とを備えている。
顕熱系統圧縮機構361は、本実施形態において、インバータ制御により運転容量を可変することが可能な容積式圧縮機である。本実施形態において、顕熱系統圧縮機構361は、1台の圧縮機であるが、これに限定されず、顕熱系統利用ユニットの接続台数等に応じて、2台以上の圧縮機が並列に接続されたものであってもよい。
顕熱系統熱源側四路切換弁362は、冷房運転と暖房運転との切り換え時に、顕熱系統熱源側冷媒回路310c内における冷媒の流路を切り換えるための弁であり、その第1ポート362aは顕熱系統圧縮機構361の吐出側に接続されており、その第2ポート362bは顕熱系統圧縮機構361の吸入側に接続されており、その第3ポート362cは顕熱系統熱源側熱交換器363のガス側端部に接続されており、その第4ポート362dは顕熱系統ガス連絡配管308に接続されている。そして、顕熱系統熱源側四路切換弁362は、第1ポート362aと第3ポート362cとを接続するとともに第2ポート362bと第4ポート362dとを接続(冷房運転状態、図23の顕熱系統熱源側四路切換弁362の実線を参照)したり、第1ポート362aと第4ポート362dとを接続するとともに第2ポート362bと第3ポート362cとを接続(暖房運転状態、図23の顕熱系統熱源側四路切換弁362の破線を参照)する切り換えを行うことが可能である。
顕熱系統熱源側熱交換器363は、本実施形態において、伝熱管と多数のフィンとにより構成されたクロスフィン式のフィン・アンド・チューブ型熱交換器であり、空気を熱源として冷媒と熱交換するための機器である。本実施形態において、顕熱系統熱源ユニット306は、ユニット内に屋外の空気を取り込み、送り出すための室外ファン(図示せず)を備えており、屋外の空気と顕熱系統熱源側熱交換器363を流れる冷媒とを熱交換させることが可能である。
顕熱系統熱源側膨張弁364は、本実施形態において、顕熱系統液連絡配管307を介して顕熱系統熱源側熱交換器363と空気熱交換器322、332との間を流れる冷媒の流量の調節等を行うことが可能な電動膨張弁である。顕熱系統熱源側膨張弁364は、冷房運転時にはほぼ全開状態で使用され、暖房運転時には開度調節されて空気熱交換器322、332から顕熱系統液連絡配管307を介して顕熱系統熱源側熱交換器363に流入する冷媒を減圧するのに使用される。
顕熱系統レシーバ368は、顕熱系統熱源側熱交換器363と空気熱交換器322、332との間を流れる冷媒を一時的に溜めるための容器である。本実施形態において、顕熱系統レシーバ368は、顕熱系統熱源側膨張弁364と顕熱系統液連絡配管307との間に接続されている。
また、顕熱系統熱源ユニット306には、各種のセンサが設けられている。具体的には、顕熱系統熱源ユニット306は、顕熱系統圧縮機構361の吸入圧力を検出する顕熱系統吸入圧力センサ366と、顕熱系統圧縮機構361の吐出圧力を検出する顕熱系統吐出圧力センサ367と、顕熱系統熱源ユニット306を構成する各部の動作を制御する顕熱系統熱源側制御部365とを備えている。そして、顕熱系統熱源側制御部365は、顕熱系統熱源ユニット306の制御を行うために設けられたマイクロコンピュータやメモリを有しており、顕熱系統利用ユニット302、303の顕熱系統利用側制御部328、338との間で制御信号を伝送できるようになっている。また、顕熱系統熱源側制御部365は、潜熱系統熱源側制御部265との間でも制御信号等のやりとりを行うことができるようになっている。さらに、顕熱系統熱源側制御部365は、潜熱系統熱源側制御部265を介して潜熱系統利用側制御部228、238との間でも制御信号のやりとりを行うことができるようになっている。
(2)空気調和システムの動作
次に、本実施形態の空気調和システム101の動作について説明する。空気調和システム101は、屋内の潜熱負荷を潜熱負荷処理システム201で処理し、屋内の顕熱負荷を主として顕熱負荷処理システム301で処理することができる。以下に、各種の運転動作について説明する。
<除湿冷房運転>
まず、潜熱負荷処理システム201を全換気モードで除湿運転を行いつつ、顕熱負荷処理システム301で冷房運転を行う冷房除湿運転における動作について、図24、図25及び図26を用いて説明する。ここで、図24及び図25は、空気調和システム101における全換気モードの除湿冷房運転時の動作を示す概略の冷媒回路図である。図26は、空気調和システム101における通常運転時の制御フロー図である。尚、図26においては、潜熱系統利用ユニット202及び顕熱系統利用ユニット302のペアと潜熱系統利用ユニット203及び顕熱系統利用ユニット303のペアとは同様の制御フローであるため、潜熱系統利用ユニット202及び顕熱系統利用ユニット303のペアの制御フローの図示を省略している。
まず、潜熱負荷処理システム201の動作について説明する。
潜熱負荷処理システム201の潜熱系統利用ユニット202においては、上述の潜熱負荷処理システム201の単独運転時の場合と同様に、第1吸着熱交換器222が凝縮器となって第2吸着熱交換器223が蒸発器となる第1動作と、第2吸着熱交換器223が凝縮器となって第1吸着熱交換器222が蒸発器となる第2動作とが交互に繰り返される。潜熱系統利用ユニット203においても同様に、第1吸着熱交換器232が凝縮器となって第2吸着熱交換器233が蒸発器となる第1動作と、第2吸着熱交換器233が凝縮器となって第1吸着熱交換器232が蒸発器となる第2動作とが交互に繰り返される。
以下の説明では、2つの潜熱系統利用ユニット202、203の動作をまとめて記載する。
第1動作では、第1吸着熱交換器222、232についての再生動作と、第2吸着熱交換器223、233についての吸着動作とが並行して行われる。第1動作中は、図24に示されるように、潜熱系統利用側四路切換弁221、231が第1状態(図24の潜熱系統利用側四路切換弁221、231の実線を参照)に設定される。この状態で、潜熱系統圧縮機構261から吐出された高圧のガス冷媒は、潜熱系統吐出ガス連絡配管207、潜熱系統利用側四路切換弁221、231を通じて第1吸着熱交換器222、232に流入し、第1吸着熱交換器222、232を通過する間に凝縮する。そして、凝縮された冷媒は、潜熱系統利用側膨張弁224、234で減圧されて、その後、第2吸着熱交換器223、233を通過する間に蒸発し、潜熱系統利用側四路切換弁221、231、潜熱系統吸入ガス連絡配管208、潜熱系統アキュムレータ262を通じて潜熱系統圧縮機構261に再び吸入される(図24の潜熱系統冷媒回路210に付された矢印を参照)。
第1動作中において、第1吸着熱交換器222、232では、冷媒の凝縮により加熱された吸着剤から水分が脱離し、この脱離した水分が内気吸入口から吸入された屋内空気RAに付与される。第1吸着熱交換器222、232から脱離した水分は、屋内空気RAに同伴して排気口を通じて排出空気EAとして屋外へ排出される。第2吸着熱交換器223、233では、屋外空気OA中の水分が吸着剤に吸着されて屋外空気OAが除湿され、その際に生じた吸着熱が冷媒に吸熱されて冷媒が蒸発する。そして、第2吸着熱交換器223、233で除湿された屋外空気OAは、給気口を通って供給空気SAとして屋内へ供給される(図24の吸着熱交換器222、223、232、233の両側に付された矢印を参照)。
第2動作では、第1吸着熱交換器222、232についての吸着動作と、第2吸着熱交換器223、233についての再生動作とが並行して行われる。第2動作中は、図25に示されるように、潜熱系統利用側四路切換弁221、231が第2状態(図25の潜熱系統利用側四路切換弁221、231の破線を参照)に設定される。この状態で、潜熱系統圧縮機構261から吐出された高圧のガス冷媒は、潜熱系統吐出ガス連絡配管207、潜熱系統利用側四路切換弁221、231を通じて第2吸着熱交換器223、233に流入し、第2吸着熱交換器223、233を通過する間に凝縮する。そして、凝縮された冷媒は、潜熱系統利用側膨張弁224、234で減圧されて、その後、第1吸着熱交換器222、232を通過する間に蒸発し、潜熱系統利用側四路切換弁221、231、潜熱系統吸入ガス連絡配管208、潜熱系統アキュムレータ262を通じて潜熱系統圧縮機構261に再び吸入される(図25の潜熱系統冷媒回路210に付された矢印を参照)。
第2動作中において、第2吸着熱交換器223、233では、冷媒の凝縮により加熱された吸着剤から水分が脱離し、この脱離した水分が内気吸入口から吸入された屋内空気RAに付与される。第2吸着熱交換器23、33から脱離した水分は、屋内空気RAに同伴して排気口を通じて排出空気EAとして屋外へ排出される。第1吸着熱交換器222、232では、屋外空気OA中の水分が吸着剤に吸着されて屋外空気OAが除湿され、その際に生じた吸着熱が冷媒に吸熱されて冷媒が蒸発する。そして、第1吸着熱交換器222、232で除湿された屋外空気OAは、給気口を通って供給空気SAとして屋内へ供給される(図25の吸着熱交換器222、223、232、233の両側に付された矢印を参照)。
ここで、空気調和システム101において行われているシステム制御について、潜熱負荷処理システム201に着目して説明する。
まず、リモコン111、112によって目標温度及び目標相対湿度が設定されると、潜熱系統利用ユニット202、203の潜熱系統利用側制御部228、238には、これらの目標温度値及び目標相対湿度値とともに、RA吸入温度・湿度センサ225、235によって検出されたユニット内に吸入される屋内の空気の温度値及び相対湿度値と、OA吸入温度・湿度センサ226、236によって検出されたユニット内に吸入される屋外の空気の温度値及び相対湿度値とが入力される。
すると、ステップS11において、潜熱系統利用側制御部228、238は、屋内の空気の目標温度値及び目標相対湿度値からエンタルピの目標値又は絶対湿度の目標値を演算し、そして、RA吸入温度・湿度センサ225、235によって検出された温度値及び相対湿度値から屋内からユニット内に吸入される空気のエンタルピの現在値又は絶対湿度の現在値を演算し、両値の差である必要潜熱能力値Δhを演算する。そして、このΔhの値を、潜熱系統利用ユニット202、203の処理能力を上げる必要があるかどうかを潜熱系統熱源側制御部265に知らせるための能力UP信号K1に変換する。例えば、Δhの絶対値が所定値よりも小さい場合(すなわち、屋内の空気の湿度値が目標湿度値に近い値であり、処理能力を増減する必要がない場合)には能力UP信号K1を「0」とし、Δhの絶対値が所定値よりも処理能力を上げなければならない方向に大きい場合(すなわち、除湿運転においては屋内の空気の湿度値が目標湿度値よりも高く、処理能力を上げる必要がある場合)には能力UP信号K1を「A」とし、Δhの絶対値が所定値よりも処理能力を下げなければならない方向に大きい場合(すなわち、除湿運転においては屋内の空気の湿度値が目標湿度値よりも低く、処理能力を下げる必要がある場合)には能力UP信号K1を「B」とする。
次に、ステップS12において、潜熱系統熱源側制御部265は、潜熱系統利用側制御部228、238から潜熱系統熱源側制御部265へ伝送された潜熱系統利用ユニット202、203の能力UP信号K1を用いて、目標凝縮温度値TcS1及び目標蒸発温度値TeS1を演算する。例えば、目標凝縮温度値TcS1は、現在の目標凝縮温度値に潜熱系統利用ユニット202、203の能力UP信号K1を加算することによって演算される。また、目標蒸発温度値TeS1は、現在の目標蒸発温度値に潜熱系統利用ユニット202、203の能力UP信号K1を減算することによって演算される。これにより、能力UP信号K1の値が「A」の場合には、目標凝縮温度値TcS1は高くなり、目標蒸発温度値TeS1は低くなる。
次に、ステップS13において、潜熱負荷処理システム201全体の凝縮温度及び蒸発温度の実測値に相当する値であるシステム凝縮温度値Tc1及びシステム蒸発温度値Te1を演算する。例えば、システム凝縮温度値Tc1及びシステム蒸発温度値Te1は、潜熱系統吸入圧力センサ263によって検出された潜熱系統圧縮機構261の吸入圧力値及び潜熱系統吐出圧力センサ264によって検出された潜熱系統圧縮機構261の吐出圧力値を、これらの圧力値における冷媒の飽和温度に換算することによって演算される。そして、システム凝縮温度値Tc1に対する目標凝縮温度値TcS1の温度差ΔTc1及びシステム蒸発温度値Te1に対する目標蒸発温度値TeS1の温度差ΔTe1を演算し、これらの温度差を除算することによって潜熱系統圧縮機構261の運転容量の増減の要否及び増減幅を決定する。
このようにして決定された潜熱系統圧縮機構261の運転容量を用いて、潜熱系統圧縮機構261の運転容量を制御することで、屋内の空気の目標相対湿度に近づけるシステム制御を行っている。例えば、温度差ΔTc1から温度差ΔTe1を差し引いた値が正値の場合には潜熱系統圧縮機構261の運転容量を増加させ、逆に、温度差ΔTc1から温度差ΔTe1を差し引いた値が負値の場合には潜熱系統圧縮機構261の運転容量を減少させるように制御する。
次に、顕熱負荷処理システム301の動作について説明する。
顕熱負荷処理システム301の顕熱系統熱源ユニット306の顕熱系統熱源側四路切換弁362が冷房運転状態(第1ポート362aと第3ポート362cとが接続され、かつ、第2ポート362bと第4ポート362dとが接続された状態)になっている。また、顕熱系統利用ユニット302、303の顕熱系統利用側膨張弁321、331は、冷媒を減圧するように開度調節されている。顕熱系統熱源側膨張弁364は開けられた状態になっている。
このような顕熱系統冷媒回路310の状態において、顕熱系統熱源ユニット306の顕熱系統圧縮機構361を起動すると、顕熱系統圧縮機構361から吐出された高圧のガス冷媒は、顕熱系統熱源側四路切換弁362を通過して顕熱系統熱源側熱交換器363に流入し凝縮されて液冷媒となる。この液冷媒は、顕熱系統熱源側膨張弁364、顕熱系統レシーバ368及び顕熱系統液連絡配管307を通じて、顕熱系統利用ユニット302、303に送られる。そして、顕熱系統利用ユニット302、303に送られた液冷媒は、顕熱系統利用側膨張弁321、331で減圧された後、空気熱交換器322、332において、ユニット内に吸入された屋内空気RAとの熱交換によって蒸発して低圧のガス冷媒となる。このガス冷媒は、顕熱系統ガス連絡配管308を通じて顕熱系統熱源ユニット306の顕熱系統圧縮機構361に再び吸入される。一方、空気熱交換器322、332において冷媒との熱交換により冷却された屋内空気RAは、供給空気SAとして屋内に供給される。尚、顕熱系統利用側膨張弁321、331は、後述のように、空気熱交換器322、332における過熱度SH、すなわち、液側温度センサ323、333によって検出された空気熱交換器322、332の液側の冷媒温度値と、ガス側温度センサ324、334によって検出された空気熱交換器322、332のガス側の冷媒温度値との温度差が目標過熱度SHSになるように開度制御がなされている。
ここで、空気調和システム101において行われているシステム制御について、顕熱負荷処理システム301に着目して説明する。
まず、リモコン111、112によって目標温度が設定されると、顕熱系統利用ユニット302、303の顕熱系統利用側制御部328、338には、これらの目標温度値とともに、RA吸入温度センサ325、335によって検出されたユニット内に吸入される屋内の空気の温度値が入力される。
すると、ステップS14において、顕熱系統利用側制御部328、338は、屋内の空気の目標温度値とRA吸入温度・湿度センサ225、235によって検出された温度値との温度差(以下、必要顕熱能力値ΔTとする)を演算する。ここで、必要顕熱能力値ΔTは、上述のように屋内の空気の目標温度値と現在の屋内の空気の温度値との差であるため、空気調和システム101において処理しなければならない顕熱負荷に相当するものである。そして、この必要顕熱能力値ΔTの値を、顕熱系統利用ユニット302、303の処理能力を上げる必要があるかどうかを顕熱系統熱源側制御部365に知らせるための能力UP信号K2に変換する。例えば、ΔTの絶対値が所定値よりも小さい場合(すなわち、屋内の空気の温度値が目標温度値に近い値であり、処理能力を増減する必要がない場合)には能力UP信号K2を「0」とし、ΔTの絶対値が所定値よりも処理能力を上げなければならない方向に大きい場合(すなわち、冷房運転においては屋内の空気の温度値が目標温度値よりも高く、処理能力を上げる必要がある場合)には能力UP信号K2を「a」とし、ΔTの絶対値が所定値よりも処理能力を下げなければならない方向に大きい場合(すなわち、冷房運転においては屋内の空気の温度値が目標温度値よりも低く、処理能力を下げる必要がある場合)には能力UP信号K2を「b」とする。
次に、ステップS15において、顕熱系統利用側制御部328、338は、必要顕熱能力値ΔTの値に応じて、目標過熱度SHSの値を変更する。例えば、顕熱系統利用ユニット302、303の処理能力を下げる必要がある場合(能力UP信号K2が「b」の場合)には、目標過熱度SHSを大きくして、空気熱交換器322、332における冷媒と空気との交換熱量を小さくするように顕熱系統利用側膨張弁321、331の開度を制御する。
また、ステップS16において、顕熱系統熱源側制御部365は、顕熱系統利用側制御部328、338から顕熱系統熱源側制御部365へ伝送された顕熱系統利用ユニット302、303の能力UP信号K2を用いて、目標凝縮温度値TcS2及び目標蒸発温度値TeS2を演算する。例えば、目標凝縮温度値TcS2は、現在の目標凝縮温度値に顕熱系統利用ユニット302、303の能力UP信号K2を加算することによって演算される。また、目標蒸発温度値TeS2は、現在の目標蒸発温度値に顕熱系統利用ユニット302、303の能力UP信号K2を減算することによって演算される。これにより、能力UP信号K2の値が「a」の場合には、目標凝縮温度TcS2は高くなり、目標蒸発温度値TeS2は低くなる。尚、上述したように、潜熱負荷処理システム201においては潜熱処理とともに顕熱処理が行われるため、目標凝縮温度値TcS2及び目標蒸発温度値TeS2の演算をするにあたり、潜熱負荷処理システム201において潜熱負荷の処理とともに処理される顕熱負荷の処理能力(発生顕熱処理能力)を考慮した演算方法を採用しているが、ここでは説明せず、後述する。
次に、ステップS17において、顕熱負荷処理システム301全体の凝縮温度及び蒸発温度の実測値に相当する値であるシステム凝縮温度値Tc2及びシステム蒸発温度値Te2を演算する。例えば、システム凝縮温度値Tc2及びシステム蒸発温度値Te2は、顕熱系統吸入圧力センサ366によって検出された顕熱系統圧縮機構361の吸入圧力値及び顕熱系統吐出圧力センサ367によって検出された顕熱系統圧縮機構361の吐出圧力値を、これらの圧力値における冷媒の飽和温度に換算することによって演算される。そして、システム凝縮温度値Tc2に対する目標凝縮温度値TcS2の温度差ΔTc2及びシステム蒸発温度値Te2に対する目標蒸発温度値TeS2の温度差ΔTe2を演算する。そして、冷房運転の場合には、温度差ΔTe2から顕熱系統圧縮機構361の運転容量の増減の要否及び増減幅を決定する。
このようにして決定された顕熱系統圧縮機構361の運転容量を用いて、顕熱系統圧縮機構361の運転容量を制御することで、顕熱系統利用ユニット302、303の目標温度に近づけるシステム制御を行っている。例えば、温度差ΔTe2が正値の場合には顕熱系統圧縮機構361の運転容量を減少させ、逆に、温度差ΔTe2が負値の場合には顕熱系統圧縮機構361の運転容量を増加させるように制御する。
このように、この空気調和システム101では、空気調和システム101全体として処理しなければならない潜熱負荷(必要潜熱処理能力、Δhに相当)と、空気調和システム101全体として処理しなければならない顕熱負荷(必要顕熱処理能力、ΔTに相当)とが、潜熱負荷処理システム201及び顕熱負荷処理システム301を用いて処理されている。ここで、潜熱負荷処理システム201の処理能力の増減は、主として潜熱系統圧縮機構261の運転容量の制御によって行われている。また、顕熱負荷処理システム301の処理能力の増減は、主として顕熱系統圧縮機構361の運転容量の制御によって行われている。つまり、潜熱負荷処理システム201の処理能力の増減と、顕熱負荷処理システム301の処理能力の増減とは、基本的に別々に行われている。
一方、潜熱負荷処理システム201による潜熱負荷の処理においては、上述のように、吸着熱交換器222、223、232、233の吸着動作又は再生動作によって、潜熱負荷処理システム201において潜熱処理とともに顕熱処理が行われる。つまり、潜熱負荷処理システム201において潜熱処理とともに行われる顕熱処理の処理能力を発生顕熱処理能力Δtとすると、顕熱負荷処理システム301によって処理しなければならない顕熱負荷は、必要顕熱処理能力値ΔTから発生顕熱処理能力Δtを差し引いた分でよいことになる。それにもかかわらず、潜熱負荷処理システム201の処理能力の増減と顕熱負荷処理システム301の処理能力の増減とが基本的に別々に行われているため、顕熱負荷処理システム301の処理能力が発生顕熱処理能力Δtの分だけ過多になってしまう。
このため、この空気調和システム101では、上記のような関係を考慮して、以下のようなシステム制御を行っている。
まず、潜熱系統利用側制御部228、238においては、上述のRA吸入温度・湿度センサ225、235によって検出されたユニット内に吸入される屋内の空気の温度値及び相対湿度値等とともに、SA供給温度センサ227、237によって検出されたユニット内から屋内に供給される空気の温度値が入力されているため、ステップS18において、RA吸入温度・湿度センサ225、235によって検出された温度値と、SA供給温度センサ227、237によって検出された温度値との温度差である発生顕熱能力値Δtを演算する。そして、この発生顕熱能力値Δtの値を、顕熱系統利用ユニット302、303の処理能力を下げる必要があるかどうかを顕熱系統熱源側制御部365に知らせるための顕熱処理信号K3に変換する。例えば、Δtの絶対値が所定値よりも小さい場合(すなわち、潜熱系統利用ユニット202、203から屋内に供給される空気の温度値が屋内の空気の温度値に近い値であり、顕熱系統利用ユニット302、303の処理能力を増減する必要がない場合)には顕熱処理信号K3を「0」とし、Δtの絶対値が所定値よりも顕熱系統利用ユニット302、303の処理能力を下げなければならない方向に大きい場合(すなわち、冷房運転においては潜熱系統利用ユニット202、203から屋内に供給される空気の温度値が屋内の空気の温度値よりも低い値であり、顕熱系統利用ユニット302、303の処理能力を下げる必要がある場合)には顕熱処理信号K3を「a’」とする。
そして、ステップS16において、顕熱系統熱源側制御部365は、顕熱系統利用側制御部328、338から顕熱系統熱源側制御部365へ伝送された顕熱系統利用ユニット302、303の能力UP信号K2を用いて、目標凝縮温度値TcS2及び目標蒸発温度値TeS2を演算する際に、潜熱系統利用側制御部228、238から潜熱系統熱源側制御部265を通じて顕熱系統熱源側制御部365へ伝送された顕熱処理信号K3を考慮して演算する。目標凝縮温度値TcS2は、現在の目標凝縮温度値に顕熱系統利用ユニット302、303の能力UP信号K2を加算するとともに、顕熱処理信号K3を減算することによって演算される。また、目標蒸発温度値TeS2は、現在の目標蒸発温度値に顕熱系統利用ユニット302、303の能力UP信号K2を減算するとともに、顕熱処理信号K3を加算することによって演算される。これにより、顕熱処理信号K3の値が「a’」の場合には、目標凝縮温度TcS2は低くなり、目標蒸発温度値TeS2は高くなるため、結果的に、顕熱系統利用ユニット302、303の処理能力を下げる方向に目標凝縮温度値TcS2及び目標蒸発温度値TeS2の値を変更することができる。
そして、ステップS17において、冷房運転の場合には、顕熱処理信号K3を考慮した目標蒸発温度値TeS2に基づいて温度差ΔTe2を演算し、顕熱系統圧縮機構361の運転容量の増減の要否及び増減幅を決定する。
このようにして決定された顕熱系統圧縮機構361の運転容量を用いて、顕熱系統圧縮機構361の運転容量を制御することで、顕熱系統利用ユニット302、303の目標温度に近づけるシステム制御を行っている。例えば、温度差ΔTe2が正値の場合には顕熱系統圧縮機構361の運転容量を減少させ、逆に、温度差ΔTe2が負値の場合には顕熱系統圧縮機構361の運転容量を増加させるように制御する。
これにより、空気調和システム101では、潜熱負荷処理システム201において潜熱処理とともに行われる顕熱処理の処理能力である発生顕熱処理能力に相当する発生顕熱能力値Δtを演算し、この発生顕熱処理能力Δtを考慮して顕熱系統圧縮機構361の運転容量を制御することによって、顕熱負荷処理システム301における顕熱処理能力が過多にならないようにすることができる。これにより、屋内の目標空気温度に対する収束性を向上させることができる。
尚、ここでは、除湿冷房運転の例として、潜熱負荷処理システム201を全換気モードの除湿運転を行いながら顕熱負荷処理システム301の冷房運転を行う場合について説明したが、潜熱負荷処理システム201を循環モードや給気モード等の他のモードで除湿運転を行う場合であっても適用可能である。
<加湿暖房運転>
次に、潜熱負荷処理システム201を全換気モードで加湿運転を行いつつ、顕熱負荷処理システム301で暖房運転を行う加湿暖房運転における動作について、図26〜図28を用いて説明する。ここで、図27及び図28は、空気調和システム101における全換気モードの加湿暖房運転時の動作を示す概略の冷媒回路図である。
まず、潜熱負荷処理システム201の動作について説明する。
潜熱負荷処理システム201の潜熱系統利用ユニット202においては、上述の潜熱負荷処理システム201の単独運転時の場合と同様に、第1吸着熱交換器222が凝縮器となって第2吸着熱交換器223が蒸発器となる第1動作と、第2吸着熱交換器223が凝縮器となって第1吸着熱交換器222が蒸発器となる第2動作とが交互に繰り返される。潜熱系統利用ユニット203においても同様に、第1吸着熱交換器232が凝縮器となって第2吸着熱交換器233が蒸発器となる第1動作と、第2吸着熱交換器233が凝縮器となって第1吸着熱交換器232が蒸発器となる第2動作とが交互に繰り返される。
以下の説明では、2つの潜熱系統利用ユニット202、203の動作をまとめて記載する。
第1動作では、第1吸着熱交換器222、232についての再生動作と、第2吸着熱交換器223、233についての吸着動作とが並行して行われる。第1動作中は、図27に示されるように、潜熱系統利用側四路切換弁221、231が第1状態(図27の潜熱系統利用側四路切換弁221、231の実線を参照)に設定される。この状態で、潜熱系統圧縮機構261から吐出された高圧のガス冷媒は、潜熱系統吐出ガス連絡配管207、潜熱系統利用側四路切換弁221、231を通じて第1吸着熱交換器222、232に流入し、第1吸着熱交換器222、232を通過する間に凝縮する。そして、凝縮された冷媒は、潜熱系統利用側膨張弁224、234で減圧されて、その後、第2吸着熱交換器223、233を通過する間に蒸発し、潜熱系統利用側四路切換弁221、231、潜熱系統吸入ガス連絡配管208、潜熱系統アキュムレータ262を通じて潜熱系統圧縮機構261に再び吸入される(図27の潜熱系統冷媒回路210に付された矢印を参照)。
第1動作中において、第1吸着熱交換器222、232では、冷媒の凝縮により加熱された吸着剤から水分が脱離し、この脱離した水分が外気吸入口から吸入された屋外空気OAに付与される。第1吸着熱交換器222、232から脱離した水分は、屋外空気OAに同伴して給気口を通じて供給空気SAとして屋内へ供給される。第2吸着熱交換器223、233では、屋内空気RA中の水分が吸着剤に吸着されて屋内空気RAが除湿され、その際に生じた吸着熱が冷媒に吸熱されて冷媒が蒸発する。そして、第2吸着熱交換器223、233で除湿された屋内空気RAは、排気口を通って排出空気EAとして屋外へ排出される(図27の吸着熱交換器222、223、232、233の両側に付された矢印を参照)。
第2動作では、第1吸着熱交換器222、232についての吸着動作と、第2吸着熱交換器223、233についての再生動作とが並行して行われる。第2動作中は、図28に示されるように、潜熱系統利用側四路切換弁221、231が第2状態(図28の潜熱系統利用側四路切換弁221、231の破線を参照)に設定される。この状態で、潜熱系統圧縮機構261から吐出された高圧のガス冷媒は、潜熱系統吐出ガス連絡配管207、潜熱系統利用側四路切換弁221、231を通じて第2吸着熱交換器223、233に流入し、第2吸着熱交換器223、233を通過する間に凝縮する。そして、凝縮された冷媒は、潜熱系統利用側膨張弁224、234で減圧されて、その後、第1吸着熱交換器222、232を通過する間に蒸発し、潜熱系統利用側四路切換弁221、231、潜熱系統吸入ガス連絡配管208、潜熱系統アキュムレータ262を通じて潜熱系統圧縮機構261に再び吸入される(図28の潜熱系統冷媒回路210に付された矢印を参照)。
第2動作中において、第2吸着熱交換器223、233では、冷媒の凝縮により加熱された吸着剤から水分が脱離し、この脱離した水分が外気吸入口から吸入された屋外空気OAに付与される。第2吸着熱交換器223、233から脱離した水分は、屋外空気OAに同伴して給気口を通じて供給空気SAとして屋内へ供給される。第1吸着熱交換器222、232では、屋内空気RA中の水分が吸着剤に吸着されて屋内空気RAが除湿され、その際に生じた吸着熱が冷媒に吸熱されて冷媒が蒸発する。そして、第1吸着熱交換器222、232で除湿された屋内空気RAは、排気口を通って排出空気EAとして屋外へ排出される(図28の吸着熱交換器222、223、232、233の両側に付された矢印を参照)。
ここで、空気調和システム101において行われているシステム制御について、潜熱負荷処理システム201に着目して説明する。
まず、リモコン111、112によって目標温度及び目標相対湿度が設定されると、潜熱系統利用ユニット202、203の潜熱系統利用側制御部228、238には、これらの目標温度値及び目標相対湿度値とともに、RA吸入温度・湿度センサ225、235によって検出されたユニット内に吸入される屋内の空気の温度値及び相対湿度値と、OA吸入温度・湿度センサ226、236によって検出されたユニット内に吸入される屋外の空気の温度値及び相対湿度値とが入力される。
すると、ステップS11において、潜熱系統利用側制御部228、238は、屋内の空気の目標温度値及び目標相対湿度値からエンタルピの目標値又は絶対湿度の目標値を演算し、そして、RA吸入温度・湿度センサ225、235によって検出された温度値及び相対湿度値から屋内からユニット内に吸入される空気のエンタルピの現在値又は絶対湿度の現在値を演算し、両値の差である必要潜熱能力値Δhを演算する。そして、このΔhの値を、潜熱系統利用ユニット202、203の処理能力を上げる必要があるかどうかを潜熱系統熱源側制御部265に知らせるための能力UP信号K1に変換する。例えば、Δhの絶対値が所定値よりも小さい場合(すなわち、屋内の空気の湿度値が目標湿度値に近い値であり、処理能力を増減する必要がない場合)には能力UP信号K1を「0」とし、Δhの絶対値が所定値よりも処理能力を上げなければならない方向に大きい場合(すなわち、加湿運転においては屋内の空気の湿度値が目標湿度値よりも低く、処理能力を上げる必要がある場合)には能力UP信号K1を「A」とし、Δhの絶対値が所定値よりも処理能力を下げなければならない方向に大きい場合(すなわち、加湿運転においては屋内の空気の湿度値が目標湿度値よりも高く、処理能力を下げる必要がある場合)には能力UP信号K1を「B」とする。
次に、ステップS12において、潜熱系統熱源側制御部265は、潜熱系統利用側制御部228、238から潜熱系統熱源側制御部265へ伝送された潜熱系統利用ユニット202、203の能力UP信号K1を用いて、目標凝縮温度値TcS1及び目標蒸発温度値TeS1を演算する。例えば、目標凝縮温度値TcS1は、現在の目標凝縮温度値に潜熱系統利用ユニット202、203の能力UP信号K1を加算することによって演算される。また、目標蒸発温度値TeS1は、現在の目標蒸発温度値に潜熱系統利用ユニット202、203の能力UP信号K1を減算することによって演算される。これにより、能力UP信号K1の値が「A」の場合には、目標凝縮温度値TcS1は高くなり、目標蒸発温度値TeS1は低くなる。
次に、ステップS13において、潜熱負荷処理システム201全体の凝縮温度及び蒸発温度の実測値に相当する値であるシステム凝縮温度値Tc1及びシステム蒸発温度値Te1を演算する。例えば、システム凝縮温度値Tc1及びシステム蒸発温度値Te1は、潜熱系統吸入圧力センサ263によって検出された潜熱系統圧縮機構261の吸入圧力値及び潜熱系統吐出圧力センサ264によって検出された潜熱系統圧縮機構261の吐出圧力値を、これらの圧力値における冷媒の飽和温度に換算することによって演算される。そして、システム凝縮温度値Tc1に対する目標凝縮温度値TcS1の温度差ΔTc1及びシステム蒸発温度値Te1に対する目標蒸発温度値TeS1の温度差ΔTe1を演算し、これらの温度差を除算することによって潜熱系統圧縮機構261の運転容量の増減の要否及び増減幅を決定する。
このようにして決定された潜熱系統圧縮機構261の運転容量を用いて、潜熱系統圧縮機構261の運転容量を制御することで、屋内の空気の目標相対湿度に近づけるシステム制御を行っている。例えば、温度差ΔTc1から温度差ΔTe1を差し引いた値が正値の場合には潜熱系統圧縮機構261の運転容量を増加させ、逆に、温度差ΔTc1から温度差ΔTe1を差し引いた値が負値の場合には潜熱系統圧縮機構261の運転容量を減少させるように制御する。
次に、顕熱負荷処理システム301の動作について説明する。
顕熱負荷処理システム301の顕熱系統熱源ユニット306の顕熱系統熱源側四路切換弁362が暖房運転状態(第1ポート362aと第4ポート362dとが接続され、かつ、第2ポート362bと第3ポート362cとが接続された状態)になっている。また、顕熱系統利用ユニット302、303の顕熱系統利用側膨張弁321、331は、顕熱系統利用ユニット302、303の暖房負荷に応じて、開度調節されている。顕熱系統熱源側膨張弁364は、冷媒を減圧するように開度調節されている。
このような顕熱処理冷媒回路310の状態において、顕熱系統熱源ユニット306の顕熱系統圧縮機構361を起動すると、顕熱系統圧縮機構361から吐出された高圧のガス冷媒は、顕熱系統熱源側四路切換弁362、顕熱系統ガス連絡配管308を通じて、顕熱系統利用ユニット302、303に送られる。そして、顕熱系統利用ユニット302、303に送られた高圧のガス冷媒は、空気熱交換器322、332において、ユニット内に吸入された屋内空気RAとの熱交換によって凝縮されて液冷媒となり、顕熱系統利用側膨張弁321、331及び顕熱系統液連絡配管307を通じて、顕熱系統熱源ユニット306に送られる。一方、空気熱交換器322、332において冷媒との熱交換により加熱された屋内空気RAは、供給空気SAとして屋内に供給される。そして、顕熱系統熱源ユニット306に送られた液冷媒は、顕熱系統レシーバ368を通過し、顕熱系統熱源側膨張弁364で減圧された後に、顕熱系統熱源側熱交換器363で蒸発されて低圧のガス冷媒となり、顕熱系統熱源側四路切換弁362を通じて顕熱系統圧縮機構361に再び吸入される。尚、顕熱系統利用側膨張弁321、331は、後述のように、空気熱交換器322、332の過冷却度SC、すなわち、液側温度センサ323、333によって検出された空気熱交換器322、332の液側の冷媒温度値と、ガス側温度センサ324、334によって検出された空気熱交換器322、332のガス側の冷媒温度値との温度差が目標過冷却度SCSになるように開度制御がなされている。
ここで、空気調和システム101において行われているシステム制御について、顕熱負荷処理システム301に着目して説明する。
まず、リモコン111、112によって目標温度が設定されると、顕熱系統利用ユニット302、303の顕熱系統利用側制御部328、338には、これらの目標温度値とともに、RA吸入温度センサ325、335によって検出されたユニット内に吸入される屋内の空気の温度値が入力される。
すると、ステップS14において、顕熱系統利用側制御部328、338は、屋内の空気の目標温度値とRA吸入温度・湿度センサ225、235によって検出された温度値との温度差(以下、必要顕熱能力値ΔTとする)を演算する。ここで、必要顕熱能力値ΔTは、上述のように屋内の空気の目標温度値と現在の屋内の空気の温度値との差であるため、空気調和システム101において処理しなければならない顕熱負荷に相当するものである。そして、この必要顕熱能力値ΔTの値を、顕熱系統利用ユニット302、303の処理能力を上げる必要があるかどうかを顕熱系統熱源側制御部365に知らせるための能力UP信号K2に変換する。例えば、ΔTの絶対値が所定値よりも小さい場合(すなわち、屋内の空気の温度値が目標温度値に近い値であり、処理能力を増減する必要がない場合)には能力UP信号K2を「0」とし、ΔTの絶対値が所定値よりも処理能力を上げなければならない方向に大きい場合(すなわち、暖房運転においては屋内の空気の温度値が目標温度値よりも低く、処理能力を上げる必要がある場合)には能力UP信号K2を「a」とし、ΔTの絶対値が所定値よりも処理能力を下げなければならない方向に大きい場合(すなわち、暖房運転においては屋内の空気の温度値が目標温度値よりも高く、処理能力を下げる必要がある場合)には能力UP信号K2を「b」とする。
次に、ステップS15において、顕熱系統利用側制御部328、338は、必要顕熱能力値ΔTの値に応じて、目標過冷却度SCSの値を変更する。例えば、顕熱系統利用ユニット302、303の処理能力を下げる必要がある場合(能力UP信号K2が「b」の場合)には、目標過冷却度SCSを大きくして、空気熱交換器322、332における冷媒と空気との交換熱量を小さくするように顕熱系統利用側膨張弁321、331の開度を制御する。
また、ステップS16において、顕熱系統熱源側制御部365は、顕熱系統利用側制御部328、338から顕熱系統熱源側制御部365へ伝送された顕熱系統利用ユニット302、303の能力UP信号K2を用いて、目標凝縮温度値TcS2及び目標蒸発温度値TeS2を演算する。例えば、目標凝縮温度値TcS2は、現在の目標凝縮温度値に顕熱系統利用ユニット302、303の能力UP信号K2を加算することによって演算される。また、目標蒸発温度値TeS2は、現在の目標蒸発温度値に顕熱系統利用ユニット302、303の能力UP信号K2を減算することによって演算される。これにより、能力UP信号K2の値が「a」の場合には、目標凝縮温度TcS2は高くなり、目標蒸発温度値TeS2は低くなる。尚、上述したように、潜熱負荷処理システム201においては潜熱処理とともに顕熱処理が行われるため、目標凝縮温度値TcS2及び目標蒸発温度値TeS2の演算をするにあたり、潜熱負荷処理システム201において潜熱負荷の処理とともに処理される顕熱負荷の処理能力(発生顕熱処理能力)を考慮した演算方法を採用しているが、ここでは説明せず、後述する。
次に、ステップS17において、顕熱負荷処理システム301全体の凝縮温度及び蒸発温度の実測値に相当する値であるシステム凝縮温度値Tc2及びシステム蒸発温度値Te2を演算する。例えば、システム凝縮温度値Tc2及びシステム蒸発温度値Te2は、顕熱系統吸入圧力センサ366によって検出された顕熱系統圧縮機構361の吸入圧力値及び顕熱系統吐出圧力センサ367によって検出された顕熱系統圧縮機構361の吐出圧力値を、これらの圧力値における冷媒の飽和温度に換算することによって演算される。そして、システム凝縮温度値Tc2に対する目標凝縮温度値TcS2の温度差ΔTc2及びシステム蒸発温度値Te2に対する目標蒸発温度値TeS2の温度差ΔTe2を演算する。そして、暖房運転の場合には、温度差ΔTc2から顕熱系統圧縮機構361の運転容量の増減の要否及び増減幅を決定する。
このようにして決定された顕熱系統圧縮機構361の運転容量を用いて、顕熱系統圧縮機構361の運転容量を制御することで、顕熱系統利用ユニット302、303の目標温度に近づけるシステム制御を行っている。例えば、温度差ΔTc2が正値の場合には潜熱系統圧縮機構261の運転容量を増加させ、逆に、温度差ΔTc2が負値の場合には潜熱系統圧縮機構261の運転容量を減少させるように制御する。
この場合においても、吸着熱交換器222、223、232、233の吸着動作又は再生動作によって、潜熱負荷処理システム201において潜熱処理とともに顕熱処理が行われているため、顕熱負荷処理システム301の処理能力が発生顕熱処理能力Δtの分だけ過多になる現象が生じている。
このため、この空気調和システム101では、除湿冷房運転時と同様のシステム制御を行っている。
まず、潜熱系統利用側制御部228、238においては、上述のRA吸入温度・湿度センサ225、235によって検出されたユニット内に吸入される屋内の空気の温度値及び相対湿度値等とともに、SA供給温度センサ227、237によって検出されたユニット内から屋内に供給される空気の温度値が入力されているため、ステップS18において、RA吸入温度・湿度センサ225、235によって検出された温度値と、SA供給温度センサ227、237によって検出された温度値との温度差である発生顕熱能力値Δtを演算する。そして、この発生顕熱能力値Δtの値を、顕熱系統利用ユニット302、303の処理能力を下げる必要があるかどうかを顕熱系統熱源側制御部365に知らせるための顕熱処理信号K3に変換する。例えば、Δtの絶対値が所定値よりも小さい場合(すなわち、潜熱系統利用ユニット202、203から屋内に供給される空気の温度値が屋内の空気の温度値に近い値であり、顕熱系統利用ユニット302、303の処理能力を増減する必要がない場合)には顕熱処理信号K3を「0」とし、Δtの絶対値が所定値よりも顕熱系統利用ユニット302、303の処理能力を下げなければならない方向に大きい場合(すなわち、暖房運転においては潜熱系統利用ユニット202、203から屋内に供給される空気の温度値が屋内の空気の温度値よりも高い値であり、顕熱系統利用ユニット302、303の処理能力を下げる必要がある場合)には顕熱処理信号K3を「a’」とする。
そして、ステップS16において、顕熱系統熱源側制御部365は、顕熱系統利用側制御部328、338から顕熱系統熱源側制御部365へ伝送された顕熱系統利用ユニット302、303の能力UP信号K2を用いて、目標凝縮温度値TcS2及び目標蒸発温度値TeS2を演算する際に、潜熱系統利用側制御部228、238から潜熱系統熱源側制御部265を通じて顕熱系統熱源側制御部365へ伝送された顕熱処理信号K3を考慮して演算する。目標凝縮温度値TcS2は、現在の目標凝縮温度値に顕熱系統利用ユニット302、303の能力UP信号K2を加算するとともに、顕熱処理信号K3を減算することによって演算される。また、目標蒸発温度値TeS2は、現在の目標蒸発温度値に顕熱系統利用ユニット302、303の能力UP信号K2を減算するとともに、顕熱処理信号K3を加算することによって演算される。これにより、顕熱処理信号K3の値が「a’」の場合には、目標凝縮温度TcS2は低くなり、目標蒸発温度値TeS2は高くなるため、結果的に、顕熱系統利用ユニット302、303の処理能力を下げる方向に目標凝縮温度値TcS2及び目標蒸発温度値TeS2の値を変更することができる。
そして、ステップS17において、暖房運転の場合には、顕熱処理信号K3を考慮した目標凝縮温度値TcS2に基づいて温度差ΔTc2を演算し、顕熱系統圧縮機構361の運転容量の増減の要否及び増減幅を決定する。
このようにして決定された顕熱系統圧縮機構361の運転容量を用いて、顕熱系統圧縮機構361の運転容量を制御することで、顕熱系統利用ユニット302、303の目標温度に近づけるシステム制御を行っている。例えば、温度差ΔTc2が正値の場合には顕熱系統圧縮機構361の運転容量を増加させ、逆に、温度差ΔTc2が負値の場合には顕熱系統圧縮機構361の運転容量を減少させるように制御する。
これにより、空気調和システム101では、潜熱負荷処理システム201において潜熱処理とともに行われる顕熱処理の処理能力である発生顕熱処理能力に相当する発生顕熱能力値Δtを演算し、この発生顕熱処理能力Δtを考慮して顕熱系統圧縮機構361の運転容量を制御することによって、顕熱負荷処理システム301における顕熱処理能力が過多にならないようにすることができる。これにより、屋内の目標空気温度に対する収束性を向上させることができる。
尚、ここでは、加湿暖房運転の例として、潜熱負荷処理システム201を全換気モードの加湿運転を行いながら顕熱負荷処理システム301の暖房運転を行う場合について説明したが、潜熱負荷処理システム201を循環モードや給気モード等の他のモードで加湿運転を行う場合であっても適用可能である。
<システム起動>
次に、空気調和システム101の起動時の動作について、図5、図24、図25、図29及び図30を用いて説明する。ここで、図29は、空気調和システム101における第1のシステム起動時の動作を示す概略の冷媒回路図である。図30は、空気調和システム101における第2のシステム起動時の動作を示す概略の冷媒回路図である。
空気調和システム101の起動時の動作としては、以下に説明する3つの起動方法がある。第1のシステム起動方法は、屋外の空気を潜熱負荷処理システム201の吸着熱交換器222、223、232、233を通過させない状態で運転する方法である。第2のシステム起動方法は、潜熱負荷処理システム201の吸着熱交換器222、223、232、233の吸着動作及び再生動作の切り換えを停止した状態において、屋外の空気を潜熱負荷処理システム201の第1吸着熱交換器222、232及び第2吸着熱交換器223、233の一方を通過させた後に屋外に排出するとともに、屋内の空気を第1吸着熱交換器222、232及び第2吸着熱交換器223、233の他方を通過させた後に屋内に供給する運転方法である。第3のシステム起動方法は、吸着熱交換器222、223、232、233の吸着動作及び再生動作の切換時間間隔を通常運転時よりも長くして運転する方法である。
まず、第1のシステム起動時の動作について、顕熱負荷処理システム301が冷房運転されるものとして、図29を用いて説明する。
リモコン111、112から運転指令がされると、顕熱負荷処理システム301が起動して冷房運転が行われる。ここで、顕熱負荷処理システム301の冷房運転時の動作については、上述の除湿冷房運転時と同様であるため説明を省略する。
一方、潜熱負荷処理システム201においては、給気ファン、排気ファンやダンパー等の操作により、屋外の空気がユニット内に吸入されて潜熱系統利用ユニット202、203の吸着熱交換器222、223、232、233を通過しない状態にして起動する。
すると、潜熱系統利用ユニット202、203の吸着熱交換器222、223、232、233において冷媒と空気とが熱交換しない状態となっているため、潜熱系統熱源ユニット306の潜熱系統圧縮機構261が起動されず、潜熱負荷処理システム201において潜熱処理を行わない状態となる。
そして、このシステム起動時の動作は、所定の条件を満たした後に解除されて、通常の除湿冷房運転に移行される。例えば、潜熱系統熱源側制御部265に備えられたタイマーによって、システム起動から所定時間(例えば、30分程度)が経過した後に、このシステム起動時の動作を解除したり、リモコン111、112によって入力された屋内の空気の目標温度値とRA吸入温度センサ325、335によって検出されたユニット内に吸入される屋内の空気の温度値との温度差が所定の温度差(例えば、3℃)以下になった後に、このシステム起動時の動作を解除する。
このように、空気調和システム101では、システム起動時において、顕熱系統利用ユニット302、303の空気熱交換器322、332において熱交換された空気を屋内に供給することにより主として顕熱処理を行い、かつ、屋外の空気を潜熱系統利用ユニット202、203の吸着熱交換器222、223、232、233を通過させないようにして外気導入を行わないようにしているため、システム起動時に、潜熱負荷処理システムの空調能力が発揮されていない状態において外気からの熱負荷を導入することを防ぐことができるようになり、屋内の空気の目標温度に速く到達させることができる。これにより、吸着熱交換器222、223、232、233を有し主として屋内の潜熱負荷を処理する潜熱負荷処理システム201と、空気熱交換器322、332を有し主として屋内の顕熱負荷を処理する顕熱負荷処理システム301とから構成される空気調和システム101において、システム起動時に速く冷房を行うことができる。尚、ここでは、顕熱負荷処理システム301を冷房運転する場合について説明したが、暖房運転する場合でも、このシステム起動方法を適用することが可能である。
次に、第2のシステム起動時の動作について、顕熱負荷処理システム301が冷房運転されるものとして、図5及び図30を用いて説明する。
リモコン111、112から運転指令がされると、顕熱負荷処理システム301が起動して冷房運転が行われる。ここで、顕熱負荷処理システム301の冷房運転時の動作については、上述と同様であるため説明を省略する。
一方、潜熱負荷処理システム201においては、潜熱系統利用側四路切換弁221、231の切り換え動作を行わない状態で、かつ、ダンパー等の操作により循環モードと同じ空気流路に切り換えた状態で、潜熱系統利用ユニット202、203の給気ファン及び排気ファンを運転すると、屋内空気RAが内気吸入口を通じてユニット内に吸入されて給気口を通じて供給空気SAとして屋内に供給され、屋外空気OAが外気吸入口を通じてユニット内に吸入されて排気口を通じて排出空気EAが屋外に排出される運転が行われる。
このような運転を行うと、システム起動直後においては、この脱離した水分が外気吸入口から吸入された屋外空気OAに付与されて排気口を通じて排出空気EAとして屋外へ排出されるとともに、屋内空気RA中の水分が吸着剤に吸着されて屋内空気RAが除湿されて給気口を通って供給空気SAとして屋内へ供給される。しかし、システム起動からある程度時間が経過すると、図5に示されるように、吸着熱交換器222、223、232、233の吸着剤が水分吸着容量近くまで水分を吸着してしまい、その後は顕熱処理を主として行うようになるため、結果的に、潜熱負荷処理システム201を顕熱負荷を処理するためシステムとして機能させることになる。これにより、空気調和システム101全体としての顕熱処理能力を増加させて、屋内の顕熱処理を促進することができる。
そして、このシステム起動時の動作は、所定の条件を満たした後に解除されて、通常の除湿冷房運転に移行される。例えば、潜熱系統熱源側制御部265に備えられたタイマーによって、システム起動から所定時間(例えば、30分程度)が経過した後に、このシステム起動時の動作を解除したり、リモコン111、112によって入力された屋内の空気の目標温度値とRA吸入温度・湿度センサ225、235によって検出されたユニット内に吸入される屋内の空気の温度値との温度差が所定の温度差(例えば、3℃)以下になった後に、このシステム起動時の動作を解除する。
このように、空気調和システム101では、システム起動時において、顕熱系統利用ユニット302、303の空気熱交換器322、332において熱交換された空気を屋内に供給することにより主として顕熱処理を行い、かつ、吸着熱交換器222、223、232、233の吸着動作及び再生動作の切換を停止した状態において、吸着熱交換器222、223、232、233に屋外の空気を通過させた後に屋外に排出するようにして顕熱処理を行うようにしているため、システム起動時に、屋内の顕熱処理を促進して、屋内の空気の目標温度に速く到達させることができる。これにより、吸着熱交換器222、223、232、233を有し主として屋内の潜熱負荷を処理する潜熱負荷処理システム201と、空気熱交換器322、332を有し主として屋内の顕熱負荷を処理する顕熱負荷処理システム301とから構成される空気調和システム101において、システム起動時に速く冷房を行うことができる。尚、ここでは、顕熱負荷処理システム301を冷房運転する場合について説明したが、暖房運転する場合でも、このシステム起動方法を適用することが可能である。
次に、第3のシステム起動時の動作について、潜熱負荷処理システム201が全換気モードで除湿運転され、かつ、顕熱負荷処理システム301が冷房運転されるものとして、図5、図24及び図25を用いて説明する。
リモコン111、112から運転指令がされると、顕熱負荷処理システム301が起動して冷房運転が行われる。ここで、顕熱負荷処理システム301の冷房運転時の動作については、上述と同様であるため説明を省略する。
一方、潜熱負荷処理システム201においては、全換気モードで除湿運転がされる点では、上述と同様であるが、吸着動作及び再生動作の切換時間間隔が、通常運転で使用される潜熱処理を優先する切換時間間隔Cよりも長い、顕熱処理を優先する切換時間間隔Dに設定されている。このため、潜熱系統利用ユニット202、203の潜熱系統利用側四路切換弁221、231の切り換え動作がシステム起動時のみ通常運転時よりもゆっくりとした周期で行われる。すると、潜熱系統利用側四路切換弁221、231の切り換え直後は、吸着熱交換器222、223、232、233では主として潜熱処理が行われるが、時間Dが経過する時点では主として顕熱処理が行われることになり、結果的に、潜熱負荷処理システム201を主として顕熱負荷を処理するためシステムとして機能させることになる。これにより、空気調和システム101全体としての顕熱処理能力を増加させて、屋内の顕熱処理を促進することができる。
そして、このシステム起動時の動作は、所定の条件を満たした後に解除されて、通常の除湿冷房運転に移行される。例えば、潜熱系統熱源側制御部265に備えられたタイマーによって、システム起動から所定時間(例えば、30分程度)が経過した後に、このシステム起動時の動作を解除したり、リモコン111、112によって入力された屋内の空気の目標温度値とRA吸入温度・湿度センサ225、235によって検出されたユニット内に吸入される屋内の空気の温度値との温度差が所定の温度差(例えば、3℃)以下になった後に、このシステム起動時の動作を解除する。
このように、空気調和システム101では、システム起動時において、潜熱系統利用ユニット202、203の吸着熱交換器222、223、232、233における切換時間間隔を通常運転時よりも長くして主として顕熱処理を行うことによって屋内の目標温度に速く到達させることができる。これにより、吸着熱交換器222、223、232、233を有し主として屋内の潜熱負荷を処理する潜熱負荷処理システム201と、空気熱交換器322、332を有し主として屋内の顕熱負荷を処理する顕熱負荷処理システム301とから構成される空気調和システム101において、システム起動時に速く冷房を行うことができる。尚、ここでは、顕熱負荷処理システム301を冷房運転する場合について説明したが、暖房運転する場合でも、このシステム起動方法を適用することが可能である。また、ここでは、潜熱負荷処理システム201を全換気モードで運転した場合について説明したが、循環モードや給気モード等の他のモードにおいてもこのシステム起動方法を適用することが可能である。
(3)空気調和システムの特徴
本実施形態の空気調和システム101には、以下のような特徴がある。
(A)
本実施形態の空気調和システム101では、潜熱負荷処理システム201が第1実施形態の空気調和システム1と同じ構成であるため、この第1実施形態の空気調和システム1と同様な特徴を有している。
しかも、本実施形態の空気調和システム101では、吸着熱交換器222、223、232、233を有する潜熱系統利用側冷媒回路210a、210bを含む潜熱系統利用ユニット202、203と潜熱系統熱源側冷媒回路210cを含む潜熱系統熱源ユニット206とを備えた潜熱負荷処理システム201に加えて、空気熱交換器322、332を有する顕熱系統利用側冷媒回路310a、310bを含む顕熱系統利用ユニット302、303と顕熱系統熱源側冷媒回路310cを含む顕熱系統熱源ユニット306とを備えた顕熱負荷処理システム301をさらに備えている。これにより、屋内の潜熱負荷及び顕熱負荷を2つの処理システム201、301に分けて処理することができる。
(B)
本実施形態の空気調和システム101では、空気調和システム101全体として処理しなければならない潜熱負荷である必要潜熱処理能力(Δhに相当)と、空気調和システム101全体として処理しなければならない顕熱負荷である必要顕熱処理能力(ΔTに相当)とが、潜熱負荷処理システム201の潜熱系統冷媒回路210及び顕熱負荷処理システム301の顕熱系統冷媒回路310を用いて処理されている。ここで、潜熱系統冷媒回路210の処理能力の増減は、主として潜熱系統圧縮機構261の運転容量の制御によって行われている。また、顕熱系統冷媒回路310の処理能力の増減は、主として顕熱系統圧縮機構361の運転容量の制御によって行われている。つまり、潜熱系統冷媒回路210の処理能力の増減と、顕熱系統冷媒回路310の処理能力の増減とは、基本的に別々に行われている。
一方、潜熱系統冷媒回路210による潜熱負荷の処理においては、吸着熱交換器222、223、232、233の吸着動作又は再生動作によって、潜熱系統冷媒回路210において潜熱処理とともに顕熱処理が行われる。つまり、潜熱系統冷媒回路210において潜熱処理とともに行われる顕熱処理の処理能力を発生顕熱処理能力(Δtに相当)とすると、顕熱系統冷媒回路310によって処理しなければならない顕熱負荷は、必要潜熱処理能力から発生顕熱処理能力を差し引いた分でよいことになる。それにもかかわらず、潜熱系統冷媒回路210の処理能力の増減と顕熱系統冷媒回路310の処理能力の増減とが基本的に別々に行われているため、顕熱系統冷媒回路310の処理能力が発生顕熱処理能力の分だけ過多になってしまう。
これに対して、本実施形態の空気調和システム101では、吸着熱交換器222、223、232、233の吸着動作又は再生動作によって、潜熱系統冷媒回路210において潜熱処理とともに処理される顕熱負荷の処理能力に相当する発生顕熱処理能力値Δtを演算し、この発生顕熱処理能力値Δtを考慮して顕熱系統圧縮機構361の運転容量を制御することによって、顕熱系統冷媒回路310における顕熱処理能力が過多にならないようにすることができる。これにより、屋内の空気の目標温度に対する収束性を向上させることができる。
(C)
本実施形態の空気調和システム101では、システム起動時において、顕熱系統利用ユニット302、303の空気熱交換器322、332において熱交換された空気を屋内に供給することにより主として顕熱処理を行い、かつ、屋外の空気を潜熱系統利用ユニット202、203の吸着熱交換器222、223、232、233を通過させないようにして外気導入を行わないようにすることができるため、システム起動時に、潜熱負荷処理システムの空調能力が発揮されていない状態において外気からの熱負荷を導入することを防ぐことができるようになり、屋内の空気の目標温度に速く到達させることができる。これにより、これにより、吸着熱交換器222、223、232、233を有し主として屋内の潜熱負荷を処理する潜熱負荷処理システム201と、空気熱交換器322、332を有し主として屋内の顕熱負荷を処理する顕熱負荷処理システム301とから構成される空気調和システム101において、システム起動時に速く冷房及び暖房を行うことができる。
また、本実施形態の空気調和システム101では、システム起動時において、顕熱系統利用ユニット302、303の空気熱交換器322、332において熱交換された空気を屋内に供給することにより主として顕熱処理を行い、かつ、吸着熱交換器222、223、232、233の吸着動作及び再生動作の切換を停止した状態において、吸着熱交換器222、223、232、233に屋外の空気を通過させた後に屋外に排出するようにして顕熱処理を行うようにすることができるため、システム起動時に、屋内の顕熱処理を促進して、屋内の空気の目標温度に速く到達させることができる。これにより、吸着熱交換器222、223、232、233を有し主として屋内の潜熱負荷を処理する潜熱負荷処理システム201と、空気熱交換器322、332を有し主として屋内の顕熱負荷を処理する顕熱負荷処理システム301とから構成される空気調和システム101において、システム起動時に速く冷房及び暖房を行うことができる。
さらに、本実施形態の空気調和システム101では、システム起動時において、潜熱系統利用ユニット202、203の吸着熱交換器222、223、232、233における切換時間間隔を通常運転時よりも長くして主として顕熱処理を行うことによって、屋内の目標温度に速く到達させることができる。これにより、吸着熱交換器222、223、232、233を有し主として屋内の潜熱負荷を処理する潜熱負荷処理システム201と、空気熱交換器322、332を有し主として屋内の顕熱負荷を処理する顕熱負荷処理システム301とから構成される空気調和システム101において、システム起動時に速く冷房及び暖房を行うことができる。
しかも、これらのシステム起動時の運転動作は、システム起動から顕熱処理を行うのに十分な時間が経過した後に解除したり、屋内の空気の目標温度と屋内の空気の温度値との差が所定の温度差以下になった後に解除することで、潜熱負荷及び顕熱負荷を処理する通常運転に速やかに移行することができる。
(4)変形例
本実施形態の潜熱系統熱源ユニット206においても、図31に示されるように、第1実施形態の熱源ユニット6と同様に、潜熱系統補助凝縮器266を接続して、潜熱系統圧縮機構261から吐出されて潜熱系統利用ユニット202、203に送られる高圧のガス冷媒の一部を凝縮させることができるようにしてもよい。
[第3実施形態]
(1)空気調和システムの構成
図32は、本発明にかかる第3実施形態の空気調和システム401の概略の冷媒回路図である。空気調和システム401は、蒸気圧縮式の冷凍サイクル運転を行うことによって、ビル等の屋内の潜熱負荷及び顕熱負荷を処理する空気調和システムである。空気調和システム401は、いわゆる、セパレート型のマルチ空気調和システムであり、主として屋内の潜熱負荷を処理する潜熱負荷処理システム201と、主として屋内の顕熱負荷を処理する顕熱負荷処理システム501とを備えている。
潜熱負荷処理システム201は、第2実施形態の潜熱負荷処理システム201と同様の構成であるため、ここでは、各部の説明を省略する。
顕熱負荷処理システム501は、顕熱系統利用ユニット502、503に結露センサ526、536が設けられている点及びRA吸入温度・湿度センサ525、535が設けられている点が第2実施形態の顕熱負荷処理システム301と異なるが、他の構成については第2実施形態の空気調和システム101の顕熱負荷処理システム301と同様の構成であるため、第2実施形態の顕熱負荷処理システム301の各部を示す符号をすべて500番台の符号に変えるのみとし、ここでは、各部の説明を省略する。
結露センサ526、536は、空気熱交換器522、532における結露の有無を検出する結露検出機構として機能するように設けられている。尚、実施形態においては、結露センサ526、536を用いているが、これに限定されず、結露検出機構として機能すればよいため、結露センサの代わりにフロートスイッチを設けてもよい。
RA吸入温度・湿度センサ525、535は、ユニット内に吸入される屋内空気RAの温度及び相対湿度を検出する温度・湿度センサである。
また、本実施形態の顕熱系統利用ユニット502、503は、後述のように、除湿冷房運転をする際に空気熱交換器522、532において結露が生じないように冷房運転する、いわゆる、顕熱冷房運転を行うように制御されている。このため、顕熱系統利用ユニット502、503には、ドレン配管が接続されていない。
しかも、上述のとおり、潜熱負荷処理システム201に使用されている潜熱系統利用ユニット202、203は、吸着熱交換器222、223、232、233の吸着動作及び再生動作によって潜熱処理できるようになっているため、顕熱系統利用ユニット502、503と同様、ドレン配管が接続されていない。つまり、本実施形態の空気調和システム401全体として、ドレンレスシステムが実現されている。
(2)空気調和システムの動作
次に、本実施形態の空気調和システム401の動作について説明する。空気調和システム401は、屋内の潜熱負荷を潜熱負荷処理システム201で処理し、屋内の顕熱負荷のみを顕熱負荷処理システム501で処理することができる。以下に、各種の運転動作について説明する。
<ドレンレス除湿冷房運転>
潜熱負荷処理システム201を全換気モードで除湿運転を行いつつ、顕熱負荷処理システム501で顕熱冷房運転を行うドレンレス除湿冷房運転における動作について、図33、図34及び図35を用いて説明する。ここで、図33及び図34は、空気調和システム401における全換気モードのドレンレス除湿冷房運転時の動作を示す概略の冷媒回路図である。図35は、空気調和システム401における通常運転時の制御フロー図である。尚、図35においては、潜熱系統利用ユニット202及び顕熱系統利用ユニット502のペアと潜熱系統利用ユニット203及び顕熱系統利用ユニット503のペアとは同様の制御フローであるため、潜熱系統利用ユニット203及び顕熱系統利用ユニット503のペアの制御フローの図示を省略している。
まず、潜熱負荷処理システム201の動作について説明する。尚、ここでは、顕熱負荷処理システム501の顕熱冷房運転を実現するために必要な動作については後述するものとし、潜熱負荷処理システム201の基本的な動作について先に説明する。
潜熱負荷処理システム201の潜熱系統利用ユニット202においては、第2実施形態の空気調和システム101における除湿冷房運転時の場合と同様に、第1吸着熱交換器222が凝縮器となって第2吸着熱交換器223が蒸発器となる第1動作と、第2吸着熱交換器223が凝縮器となって第1吸着熱交換器222が蒸発器となる第2動作とが交互に繰り返される。潜熱系統利用ユニット203においても同様に、第1吸着熱交換器232が凝縮器となって第2吸着熱交換器233が蒸発器となる第1動作と、第2吸着熱交換器233が凝縮器となって第1吸着熱交換器232が蒸発器となる第2動作とが交互に繰り返される。
以下の説明では、2つの潜熱系統利用ユニット202、203の動作をまとめて記載する。
第1動作では、第1吸着熱交換器222、232についての再生動作と、第2吸着熱交換器223、233についての吸着動作とが並行して行われる。第1動作中は、図33に示されるように、潜熱系統利用側四路切換弁221、231が第1状態(図33の潜熱系統利用側四路切換弁221、231の実線を参照)に設定される。この状態で、潜熱系統圧縮機構261から吐出された高圧のガス冷媒は、潜熱系統吐出ガス連絡配管207、潜熱系統利用側四路切換弁221、231を通じて第1吸着熱交換器222、232に流入し、第1吸着熱交換器222、232を通過する間に凝縮する。そして、凝縮された冷媒は、潜熱系統利用側膨張弁224、234で減圧されて、その後、第2吸着熱交換器223、233を通過する間に蒸発し、潜熱系統利用側四路切換弁221、231、潜熱系統吸入ガス連絡配管208、潜熱系統アキュムレータ262を通じて潜熱系統圧縮機構261に再び吸入される(図33の潜熱系統冷媒回路210に付された矢印を参照)。
第1動作中において、第1吸着熱交換器222、232では、冷媒の凝縮により加熱された吸着剤から水分が脱離し、この脱離した水分が内気吸入口から吸入された屋内空気RAに付与される。第1吸着熱交換器222、232から脱離した水分は、屋内空気RAに同伴して排気口を通じて排出空気EAとして屋外へ排出される。第2吸着熱交換器223、233では、屋外空気OA中の水分が吸着剤に吸着されて屋外空気OAが除湿され、その際に生じた吸着熱が冷媒に吸熱されて冷媒が蒸発する。そして、第2吸着熱交換器223、233で除湿された屋外空気OAは、給気口を通って供給空気SAとして屋内へ供給される(図33の吸着熱交換器222、223、232、233の両側に付された矢印を参照)。
第2動作では、第1吸着熱交換器222、232についての吸着動作と、第2吸着熱交換器223、233についての再生動作とが並行して行われる。第2動作中は、図34に示されるように、潜熱系統利用側四路切換弁221、231が第2状態(図34の潜熱系統利用側四路切換弁221、231の破線を参照)に設定される。この状態で、潜熱系統圧縮機構261から吐出された高圧のガス冷媒は、潜熱系統吐出ガス連絡配管207、潜熱系統利用側四路切換弁221、231を通じて第2吸着熱交換器223、233に流入し、第2吸着熱交換器223、233を通過する間に凝縮する。そして、凝縮された冷媒は、潜熱系統利用側膨張弁224、234で減圧されて、その後、第1吸着熱交換器222、232を通過する間に蒸発し、潜熱系統利用側四路切換弁221、231、潜熱系統吸入ガス連絡配管208、潜熱系統アキュムレータ262を通じて潜熱系統圧縮機構261に再び吸入される(図34の潜熱系統冷媒回路210に付された矢印を参照)。
第2動作中において、第2吸着熱交換器223、233では、冷媒の凝縮により加熱された吸着剤から水分が脱離し、この脱離した水分が内気吸入口から吸入された屋内空気RAに付与される。第2吸着熱交換器23、33から脱離した水分は、屋内空気RAに同伴して排気口を通じて排出空気EAとして屋外へ排出される。第1吸着熱交換器222、232では、屋外空気OA中の水分が吸着剤に吸着されて屋外空気OAが除湿され、その際に生じた吸着熱が冷媒に吸熱されて冷媒が蒸発する。そして、第1吸着熱交換器222、232で除湿された屋外空気OAは、給気口を通って供給空気SAとして屋内へ供給される(図34の吸着熱交換器222、223、232、233の両側に付された矢印を参照)。
ここで、空気調和システム401において行われているシステム制御について、潜熱負荷処理システム201に着目して説明する。
まず、リモコン411、412によって目標温度及び目標相対湿度が設定されると、潜熱系統利用ユニット202、203の潜熱系統利用側制御部228、238には、これらの目標温度値及び目標相対湿度値とともに、RA吸入温度・湿度センサ225、235によって検出されたユニット内に吸入される屋内の空気の温度値及び相対湿度値と、OA吸入温度・湿度センサ226、236によって検出されたユニット内に吸入される屋外の空気の温度値及び相対湿度値とが入力される。
すると、ステップS41において、潜熱系統利用側制御部228、238は、屋内の空気の目標温度値及び目標相対湿度値からエンタルピの目標値又は絶対湿度の目標値を演算し、そして、RA吸入温度・湿度センサ225、235によって検出された温度値及び相対湿度値から屋内からユニット内に吸入される空気のエンタルピの現在値又は絶対湿度の現在値を演算し、両値の差である必要潜熱能力値Δhを演算する。そして、このΔhの値を、潜熱系統利用ユニット202、203の処理能力を上げる必要があるかどうかを潜熱系統熱源側制御部265に知らせるための能力UP信号K1に変換する。例えば、Δhの絶対値が所定値よりも小さい場合(すなわち、屋内の空気の湿度値が目標湿度値に近い値であり、処理能力を増減する必要がない場合)には能力UP信号K1を「0」とし、Δhの絶対値が所定値よりも処理能力を上げなければならない方向に大きい場合(すなわち、除湿運転においては屋内の空気の湿度値が目標湿度値よりも高く、処理能力を上げる必要がある場合)には能力UP信号K1を「A」とし、Δhの絶対値が所定値よりも処理能力を下げなければならない方向に大きい場合(すなわち、除湿運転においては屋内の空気の湿度値が目標湿度値よりも低く、処理能力を下げる必要がある場合)には能力UP信号K1を「B」とする。
次に、ステップS44において、潜熱系統熱源側制御部265は、ステップS42、S43(後述)を経て、潜熱系統利用側制御部228、238から潜熱系統熱源側制御部265へ伝送された潜熱系統利用ユニット202、203の能力UP信号K1を用いて、目標凝縮温度値TcS1及び目標蒸発温度値TeS1を演算する。例えば、目標凝縮温度値TcS1は、現在の目標凝縮温度値に潜熱系統利用ユニット202、203の能力UP信号K1を加算することによって演算される。また、目標蒸発温度値TeS1は、現在の目標蒸発温度値に潜熱系統利用ユニット202、203の能力UP信号K1を減算することによって演算される。これにより、能力UP信号K1の値が「A」の場合には、目標凝縮温度値TcS1は高くなり、目標蒸発温度値TeS1は低くなる。
次に、ステップS45において、潜熱負荷処理システム201全体の凝縮温度及び蒸発温度の実測値に相当する値であるシステム凝縮温度値Tc1及びシステム蒸発温度値Te1を演算する。例えば、システム凝縮温度値Tc1及びシステム蒸発温度値Te1は、潜熱系統吸入圧力センサ263によって検出された潜熱系統圧縮機構261の吸入圧力値及び潜熱系統吐出圧力センサ264によって検出された潜熱系統圧縮機構261の吐出圧力値を、これらの圧力値における冷媒の飽和温度に換算することによって演算される。そして、システム凝縮温度値Tc1に対する目標凝縮温度値TcS1の温度差ΔTc1及びシステム蒸発温度値Te1に対する目標蒸発温度値TeS1の温度差ΔTe1を演算し、これらの温度差を除算することによって潜熱系統圧縮機構261の運転容量の増減の要否及び増減幅を決定する。
このようにして決定された潜熱系統圧縮機構261の運転容量を用いて、潜熱系統圧縮機構261の運転容量を制御することで、屋内の空気の目標相対湿度に近づけるシステム制御を行っている。例えば、温度差ΔTc1から温度差ΔTe1を差し引いた値が正値の場合には潜熱系統圧縮機構261の運転容量を増加させ、逆に、温度差ΔTc1から温度差ΔTe1を差し引いた値が負値の場合には潜熱系統圧縮機構261の運転容量を減少させるように制御する。
次に、顕熱負荷処理システム501の動作について説明する。
顕熱負荷処理システム501の顕熱系統熱源ユニット506の顕熱系統熱源側四路切換弁562が冷房運転状態(第1ポート562aと第3ポート562cとが接続され、かつ、第2ポート562bと第4ポート562dとが接続された状態)になっている。また、顕熱系統利用ユニット502、503の顕熱系統利用側膨張弁521、531は、冷媒を減圧するように開度調節されている。顕熱系統熱源側膨張弁564は開けられた状態になっている。
このような顕熱系統冷媒回路510の状態において、顕熱系統熱源ユニット506の顕熱系統圧縮機構561を起動すると、顕熱系統圧縮機構561から吐出された高圧のガス冷媒は、顕熱系統熱源側四路切換弁562を通過して顕熱系統熱源側熱交換器563に流入し凝縮されて液冷媒となる。この液冷媒は、顕熱系統熱源側膨張弁564、顕熱系統レシーバ568及び顕熱系統液連絡配管507を通じて、顕熱系統利用ユニット502、503に送られる。そして、顕熱系統利用ユニット502、503に送られた液冷媒は、顕熱系統利用側膨張弁521、531で減圧された後、空気熱交換器522、532において、ユニット内に吸入された屋内空気RAとの熱交換によって蒸発して低圧のガス冷媒となる。このガス冷媒は、顕熱系統ガス連絡配管508を通じて顕熱系統熱源ユニット506の顕熱系統圧縮機構561に再び吸入される。一方、空気熱交換器522、532において冷媒との熱交換により冷却された屋内空気RAは、供給空気SAとして屋内に供給される。尚、顕熱系統利用側膨張弁521、531は、後述のように、空気熱交換器522、532における過熱度SH、すなわち、液側温度センサ523、533によって検出された空気熱交換器522、532の液側の冷媒温度値と、ガス側温度センサ524、534によって検出された空気熱交換器522、532のガス側の冷媒温度値との温度差が目標過熱度SHSになるように開度制御がなされている。
ここで、空気調和システム401において行われているシステム制御について、顕熱負荷処理システム501に着目して説明する。尚、ここでは、顕熱負荷処理システム501の顕熱冷房運転を実現するために必要な制御については後述するものとし、顕熱負荷処理システム501の基本的な制御について説明する。
まず、リモコン411、412によって目標温度が設定されると、顕熱系統利用ユニット502、503の顕熱系統利用側制御部528、538には、これらの目標温度値とともに、RA吸入温度・湿度センサ525、535によって検出されたユニット内に吸入される屋内の空気の温度値及び相対湿度値が入力される。
すると、ステップS46において、顕熱系統利用側制御部528、538は、屋内の空気の目標温度値とRA吸入温度・湿度センサ525、535によって検出された温度値との温度差(以下、必要顕熱能力値ΔTとする)を演算する。ここで、必要顕熱能力値ΔTは、上述のように屋内の空気の目標温度値と現在の屋内の空気の温度値との差であるため、空気調和システム401において処理しなければならない顕熱負荷に相当するものである。そして、この必要顕熱能力値ΔTの値を、顕熱系統利用ユニット502、503の処理能力を上げる必要があるかどうかを顕熱系統熱源側制御部565に知らせるための能力UP信号K2に変換する。例えば、ΔTの絶対値が所定値よりも小さい場合(すなわち、屋内の空気の温度値が目標温度値に近い値であり、処理能力を増減する必要がない場合)には能力UP信号K2を「0」とし、ΔTの絶対値が所定値よりも処理能力を上げなければならない方向に大きい場合(すなわち、冷房運転においては屋内の空気の温度値が目標温度値よりも高く、処理能力を上げる必要がある場合)には能力UP信号K2を「a」とし、ΔTの絶対値が所定値よりも処理能力を下げなければならない方向に大きい場合(すなわち、冷房運転においては屋内の空気の温度値が目標温度値よりも低く、処理能力を下げる必要がある場合)には能力UP信号K2を「b」とする。
次に、ステップS47において、顕熱系統利用側制御部528、538は、必要顕熱能力値ΔTの値に応じて、目標過熱度SHSの値を変更する。例えば、顕熱系統利用ユニット502、503の処理能力を下げる必要がある場合(能力UP信号K2が「b」の場合)には、目標過熱度SHSを大きくして、空気熱交換器522、532における冷媒と空気との交換熱量を小さくするように顕熱系統利用側膨張弁521、531の開度を制御する。
また、ステップS48において、顕熱系統熱源側制御部565は、顕熱系統利用側制御部528、538から顕熱系統熱源側制御部565へ伝送された顕熱系統利用ユニット502、503の能力UP信号K2を用いて、目標蒸発温度値TeS2を演算する。例えば、目標蒸発温度値TeS2は、現在の目標蒸発温度値に顕熱系統利用ユニット502、503の能力UP信号K2を減算することによって演算される。これにより、能力UP信号K2の値が「a」の場合には、目標蒸発温度値TeS2は低くなる。
次に、ステップS49、S50(後述)を経た後、ステップS51において、顕熱系統熱源側制御部565は、顕熱負荷処理システム501全体の凝縮温度及び蒸発温度の実測値に相当する値であるシステム蒸発温度値Te2を演算する。例えば、システム蒸発温度値Te2は、顕熱系統吸入圧力センサ566によって検出された顕熱系統圧縮機構561の吸入圧力値及び顕熱系統吐出圧力センサ567によって検出された顕熱系統圧縮機構561の吐出圧力値を、これらの圧力値における冷媒の飽和温度に換算することによって演算される。そして、システム蒸発温度値Te2に対する目標蒸発温度値TeS2の温度差ΔTe2を演算し、この温度差ΔTe2から顕熱系統圧縮機構561の運転容量の増減の要否及び増減幅を決定する。
このようにして決定された顕熱系統圧縮機構561の運転容量を用いて、顕熱系統圧縮機構561の運転容量を制御することで、顕熱系統利用ユニット502、503の目標温度に近づけるシステム制御を行っている。例えば、温度差ΔTe2が正値の場合には顕熱系統圧縮機構561の運転容量を減少させ、逆に、温度差ΔTe2が負値の場合には顕熱系統圧縮機構561の運転容量を増加させるように制御する。
ところで、この空気調和システム401では、上述のように、主として屋内の潜熱負荷を処理する潜熱処理が潜熱負荷処理システム201において行われており、顕熱負荷処理システム501において屋内の顕熱負荷のみを処理する顕熱冷房運転が行われている。さらに、潜熱負荷処理システム201による潜熱負荷処理においては、図5に示されるように、潜熱負荷処理システム201を構成する第1吸着熱交換器222、232及び第2吸着熱交換器223、233の吸着動作又は再生動作によって、潜熱処理だけでなく、顕熱処理も行っているため、結果的に潜熱処理とともに顕熱処理が行われている。
このため、この空気調和システム401では、上述の顕熱負荷処理システム501の顕熱冷房運転を実現しなければならない点と、潜熱負荷処理システム201において顕熱負荷の処理が行われる点とを考慮して、以下のようなシステム制御を行っている。
まず、ステップS52において、顕熱系統利用側制御部528、538は、RA吸入温度・湿度センサ525、535によって検出されたユニット内に吸入される屋内の空気の温度値及び相対湿度値から露点温度を演算し、空気熱交換器522、532において空気が結露しないように、すなわち、少なくともこの露点温度以上になるように空気熱交換器522、532内を流れる冷媒の最低蒸発温度値Te3を演算する。
次に、ステップS49において、顕熱系統熱源側制御部565は、顕熱系統利用側制御部528、538から顕熱系統熱源側制御部565に伝送された最低蒸発温度値Te3と、ステップS48において演算された目標蒸発温度値TeS2とを比較して、目標蒸発温度値TeS2が最低蒸発温度値Te3以上の値であれば、ステップS50において、ステップS48において演算された目標蒸発温度値TeS2をステップS51における顕熱系統圧縮機構561の運転容量の演算にそのまま使用する。一方、最低蒸発温度値Te3と、ステップS48において演算された目標蒸発温度値TeS2とを比較して、目標蒸発温度値TeS2が最低蒸発温度値Te3よりも小さい値であれば、ステップS53において、目標蒸発温度値TeS2を最低蒸発温度値Te3に置き換えて、ステップS51における顕熱系統圧縮機構561の運転容量の演算に使用する。
これにより、顕熱系統圧縮機構561の運転容量が、顕熱系統利用ユニット502、503の空気熱交換器522、532における空気中の水分が結露しないように決定されるため、顕熱冷房運転が実現できるようになっている。
一方、潜熱系統利用側制御部228、238においては、ステップS42において、吸着熱交換器222、223及び吸着熱交換器232、233における吸着動作及び再生動作の切換時間間隔が顕熱優先モード(例えば、図5の時間D)であり、かつ、能力UP信号K2が「b」である場合(顕熱系統利用側ユニット502、503における必要顕熱処理能力が小さくなった場合)には、ステップS54において、切換時間間隔を潜熱優先モード(例えば、図5の時間C)に変更する。逆に、その他の条件の場合には、ステップS43に移行する。
そして、ステップS43において、吸着熱交換器222、223及び吸着熱交換器232、233における吸着動作及び再生動作の切換時間間隔が潜熱優先モード(例えば、図5の時間C)であり、かつ、能力UP信号K2が「a」である場合(顕熱系統利用側ユニット502、503における必要顕熱処理能力が大きくなった場合)には、潜熱負荷処理システム201における顕熱処理能力を大きくすることができる。
これにより、空気調和システム401では、必要顕熱処理能力値ΔTが大きくなり、顕熱負荷処理システム501における顕熱処理能力を大きくする必要がある場合に、潜熱系統利用ユニット202、203の吸着熱交換器222、232、223、233の吸着動作及び再生動作の切換時間間隔を通常運転時(通常運転時は、潜熱優先モードの時間Cに設定されている)よりも長くすることによって、吸着熱交換器222、232、523、533において処理される潜熱処理能力を小さくするとともに顕熱処理能力を大きくする、すなわち、潜熱負荷処理システム201における顕熱処理能力比を高めることができるようになっているため、必要顕熱処理能力ΔTが大きくなる場合でも、顕熱負荷処理システム501の空気熱交換器522、532において空気中の水分が結露しないように運転して屋内の顕熱負荷のみを処理しつつ、必要顕熱処理能力の変動に追従させることができる。
尚、上述のドレンレス除湿冷房運転中に、顕熱負荷処理システム501の空気熱交換器522、532の蒸発温度が露点温度以下(すなわち、最低蒸発温度値Te3以下)になって結露センサ526、536において結露が検出された場合には、顕熱系統利用側制御部528、538が顕熱系統利用側膨張弁521、531を閉止させたり、顕熱系統利用側制御部528、538が顕熱系統熱源側制御部565に結露が検出されたことを知らせる信号を伝送して顕熱系統熱源側制御部565が顕熱系統圧縮機構561を停止させることによって、空気熱交換器522、532における結露を確実に防ぐことができる。
<ドレンレスシステム起動>
次に、空気調和システム401の起動時の動作について、図36、図37、図38及び図39を用いて説明する。空気調和システム401では、顕熱系統利用ユニット502、503の空気熱交換器522、532において結露が生じさせることなく、システム起動を行うドレンレスシステム起動が行われる。ここで、図36は、空気調和システム401における第1のドレンレスシステム起動時の動作を示す概略の冷媒回路図である。図37は、空気調和システム401のドレンレスシステム起動時の屋内の空気の状態を示す空気線図である。図38及び図39は、空気調和システム401における第2のドレンレスシステム起動時の動作を示す概略の冷媒回路図である。
空気調和システム401の起動時の動作としては、以下に説明する2つの起動方法がある。第1のドレンレスシステム起動方法は、顕熱負荷処理システム501による屋内の顕熱負荷の処理よりも潜熱負荷処理システム201による屋内の潜熱負荷の処理を優先する運転方法である。第2のドレンレスシステム起動の方法は、第1のドレンレスシステム起動の方法と同様に、顕熱負荷処理システム501による屋内の顕熱負荷の処理よりも潜熱負荷処理システム201による屋内の潜熱負荷の処理を優先しつつ、潜熱負荷処理システム501の潜熱系統利用ユニット202、203において、屋外の空気を第1吸着熱交換器222、232及び第2吸着熱交換器223、233のうち再生動作を行っている吸着熱交換器を通過させた後に屋外に排出するとともに、屋内の空気を第1吸着熱交換器222、232及び第2吸着熱交換器223、233のうち吸着動作を行っている吸着熱交換器を通過させた後に屋内に供給する運転方法である。
まず、第1のドレンレスシステム起動時の動作について、図36及び図37を用いて説明する。
リモコン411、412から運転指令がされると、顕熱負荷処理システム501を停止した状態で、潜熱負荷処理システム201が起動して除湿運転が行われる。ここで、潜熱負荷処理システム201の除湿運転時の動作については、上述のドレンレス除湿冷房運転時の動作(但し、切換時間間隔は潜熱優先モードの時間Cに固定)と同様であるため説明を省略する。
一方、顕熱負荷処理システム501は、例えば、顕熱系統利用側制御部528、538において、屋内の空気の温度値及び相対湿度値(具体的には、潜熱系統利用ユニット202、203のRA吸入温度・湿度センサ225、235や顕熱系統利用ユニット502、503のRA吸入温度・湿度センサ525、535によって検出される温度値及び相対湿度値)から屋内の空気の露点温度又は絶対湿度値を演算し、屋内の空気の露点温度又は絶対湿度の実測値が図37のハッチング領域に存在する場合(すなわち、屋内の空気の露点温度値や絶対湿度値が目標露点温度値や目標絶対湿度値よりも高い状態にある場合)には、屋内の空気の露点温度値又は絶対湿度値が目標露点温度値又は目標絶対湿度値以下になるまで停止状態を維持して、起動直後に空気熱交換器522、532において空気中の水分が結露するのを防ぐようにしている。ここで、目標露点温度値又は目標絶対湿度値は、例えば、リモコン411、412に入力された目標温度値及び目標湿度値から露点温度又は絶対湿度値を演算し、これらの露点温度又は絶対湿度値を目標露点温度値又は目標絶対湿度値とすることができる。また、リモコン411、412に入力された目標温度値及び目標湿度値から演算された露点温度又は絶対湿度値と、システム起動時に検出された潜熱系統利用ユニット202、203のRA吸入温度・湿度センサ225、235や顕熱系統利用ユニット502、503のRA吸入温度・湿度センサ525、535によって検出された温度値及び相対湿度値から演算された露点温度値又は絶対湿度値との中間程度の適当な露点温度値又は絶対湿度値にすることもできる。
そして、潜熱負荷処理システム201の運転によって目標露点温度値又は目標絶対湿度値に到達した後に、顕熱負荷処理システム501を起動して、上述のドレンレス除湿冷房運転を行うことで、屋内の空気の温度を目標温度まで冷却する。
このように、空気調和システム401では、顕熱負荷処理システム301による屋内の顕熱負荷の処理よりも潜熱負荷処理システム201による屋内の潜熱負荷の処理を優先するようにしているため、潜熱負荷処理システム201による潜熱処理を行うことで屋内の空気の湿度を十分に低下させて空気熱交換器522、532における冷媒の蒸発温度を低くできるようにした後に、顕熱負荷処理システム501によって顕熱処理を行うことができるようにしている。これにより、主として屋内の潜熱負荷を処理する吸着熱交換器222、223、232、233を有する潜熱系統利用ユニット202、203を備えた潜熱負荷処理システム201と、空気熱交換器522、532を有し空気熱交換器522、532において空気中の水分が結露しないように運転して屋内の顕熱負荷のみを処理する顕熱系統利用ユニット502、503を備えた顕熱負荷処理システム501とから構成される空気調和システム401において、屋内の空気の露点温度が高い条件の下で、システム起動を行う場合であっても、速く冷房を行うことができる。
次に、第2のドレンレスシステム起動時の動作について、図38及び図39を用いて説明する。
リモコン411、412から運転指令がされると、第1のドレンレスシステム起動時と同様に、顕熱負荷処理システム501を停止した状態で、潜熱負荷処理システム201が起動して除湿運転が行われる。ここで、潜熱負荷処理システム201の除湿運転時の動作については、全換気モードではなく、循環モードによって除湿運転を行う。尚、潜熱負荷処理システム501の潜熱系統冷媒回路210の制御については、ドレンレス除湿冷房運転時の動作(但し、切換時間間隔は潜熱優先モードの時間Cに固定)と同様である。また、潜熱負荷処理システム501の潜熱系統利用ユニット202、203の空気の流れについては、潜熱系統利用側四路切換弁221、231、給気ファン、排気ファンやダンパー等の操作により、屋内空気RAが内気吸入口を通じてユニット内に吸入されて給気口を通じて供給空気SAとして屋内に供給され、屋外空気OAが外気吸入口を通じてユニット内に吸入されて排気口を通じて排出空気EAとして屋外に排出される運転が行われる。
このように、空気調和システム401では、第2のドレンレスシステム起動時において、屋内の空気を循環しながら除湿運転(すなわち、循環モードの除湿運転)を行うことにより、屋外の空気が多湿状態である場合のように、屋外の空気を給気すると屋内の湿度が高くなるおそれがある場合等においても、屋内の空気を循環しながら除湿ができるため、速やかに目標露点温度値又は目標絶対湿度値に到達させることができて、顕熱負荷処理システム501による顕熱負荷の処理を行うことができる。
(3)空気調和システムの特徴
本実施形態の空気調和システム401には、以下のような特徴がある。
(A)
本実施形態の空気調和システム101では、潜熱負荷処理システム201が第1実施形態の空気調和システム1と同じ構成であるため、この第1実施形態の空気調和システム1と同様な特徴を有している。
しかも、本実施形態の空気調和システム101では、吸着熱交換器222、223、232、233を有する潜熱系統利用側冷媒回路210a、210bを含む潜熱系統利用ユニット202、203と潜熱系統熱源側冷媒回路210cを含む潜熱系統熱源ユニット206とを備えた潜熱負荷処理システム201に加えて、空気熱交換器322、332を有する顕熱系統利用側冷媒回路310a、310bを含む顕熱系統利用ユニット302、303と顕熱系統熱源側冷媒回路310cを含む顕熱系統熱源ユニット306とを備えた顕熱負荷処理システム301をさらに備えている。これにより、屋内の潜熱負荷及び顕熱負荷を2つの処理システム201、301に分けて処理することができる。
(B)
本実施形態の空気調和システム401では、必要顕熱処理能力が大きくなり、顕熱負荷処理システム501における顕熱処理能力を大きくする必要がある場合に、潜熱負荷処理システム201を構成する吸着熱交換器222、223、232、233の吸着動作及び再生動作の切換時間間隔を大きくすることによって、吸着熱交換器222、223、232、233において処理される潜熱処理能力を小さくするとともに顕熱処理能力を大きくする、すなわち、潜熱負荷処理システム201の顕熱処理能力比を大きくして、潜熱負荷処理システム201における顕熱処理能力を大きくすることができるようになっている。
これにより、主として屋内の潜熱負荷を処理する潜熱負荷処理システムと、空気中の水分が結露しないように運転して屋内の顕熱負荷のみを処理する顕熱負荷処理システムとを備えた空気調和システムにおいて、必要顕熱処理能力が大きくなる場合でも、顕熱負荷処理システムにおいて空気中の水分が結露しないように運転して屋内の顕熱負荷のみを処理しつつ、顕熱処理能力の変動に追従させることができる。
(C)
本実施形態の空気調和システム401では、システム起動時において、顕熱負荷処理システム501による屋内の顕熱負荷の処理よりも潜熱負荷処理システム201による屋内の潜熱負荷の処理を優先するようにしているため、潜熱負荷処理システム201による潜熱処理を行うことで屋内の空気の湿度を十分に低下させて空気熱交換器522、532の冷媒の蒸発温度を低くした後に、顕熱負荷処理システム501によって顕熱処理を行うことができるようになる。
より具体的には、システム起動時に、屋内空気の露点温度が目標露点温度値以下になるまでの間、又は、屋内空気の絶対湿度が目標絶対湿度値以下になるまでの間、顕熱負荷処理システム501による屋内の顕熱負荷の処理を停止することによって、潜熱負荷処理システム201による潜熱処理のみを行うことにより、できるだけ速やかに顕熱負荷処理システム501によって顕熱負荷を処理できるようにすることができるようになっている。
これにより、主として屋内の潜熱負荷を処理する吸着熱交換器222、223、232、233を有する潜熱負荷処理システム201と、空気熱交換器522、532を有し空気熱交換器522、532において空気中の水分が結露しないように運転して屋内の顕熱負荷のみを処理する顕熱負荷処理システム501とを組み合わせた空気調和システム401において、屋内の空気の露点温度が高い条件の下で、システム起動を行う場合であっても、空気熱交換器522、532における結露を防ぎつつ、速く冷房を行うことができる。
しかも、システム起動時に、屋外の空気を吸着熱交換器222、223、232、233のうち再生動作を行っている吸着熱交換器を通過させた後に屋外に排出するとともに、屋内の空気を吸着熱交換器222、223、232、233のうち吸着動作を行っている吸着熱交換器を通過させた後に再び屋内に供給されるようにすることが可能であり、これにより、システム起動時において、屋内の空気を循環しながら除湿運転を行うことにより、できるだけ速やかに顕熱負荷処理システム501によって顕熱負荷を処理できるようにすることができる。
(D)
本実施形態の空気調和システム401では、結露センサ526、536によって空気熱交換器522、532における結露を確実に検出するとともに、結露が検出された場合に、露点温度から演算される最低蒸発圧力値P3を変更することによって空気熱交換器522、532における冷媒の蒸発圧力を変更できるようにしたり、顕熱系統熱源ユニット506を構成する顕熱系統圧縮機構761を停止するようにしたり、顕熱系統利用ユニット502、503の顕熱系統利用側膨張弁521、531を閉止するようにしているため、空気熱交換器522、532における結露を確実に防ぐことができる。
(4)変形例1
上述の顕熱負荷処理システム501では、RA吸入温度・湿度センサ525、535によって検出された屋内の空気の温度及び相対湿度から屋内の空気の露点温度を演算して、空気熱交換器522、532における冷媒の最低蒸発温度値Te3を演算して、システム制御に使用しているが、図40に示されるように、顕熱系統利用ユニット502、503に露点センサ527、537を設けて、この露点センサ527、537によって検出された露点温度をシステム制御に使用するようにしてもよい。
(5)変形例2
本実施形態の潜熱系統熱源ユニット206においても、図41に示されるように、第1実施形態の熱源ユニット6と同様に、潜熱系統補助凝縮器266を接続して、潜熱系統圧縮機構261から吐出されて潜熱系統利用ユニット202、203に送られる高圧のガス冷媒の一部を凝縮させることができるようにしてもよい。
[第4実施形態]
(1)空気調和システムの構成
図42は、本発明にかかる第4実施形態の空気調和システム601の概略の冷媒回路図である。空気調和システム601は、蒸気圧縮式の冷凍サイクル運転を行うことによって、ビル等の屋内の潜熱負荷及び顕熱負荷を処理する空気調和システムである。空気調和システム701は、いわゆる、セパレート型のマルチ空気調和システムであり、主として屋内の潜熱負荷を処理する潜熱負荷処理システム201と、主として屋内の顕熱負荷を処理する顕熱負荷処理システム701とを備えている。
潜熱負荷処理システム201は、第2及び第3実施形態の潜熱負荷処理システム201と同様の構成であるため、ここでは、各部の説明を省略する。
顕熱負荷処理システム701は、顕熱系統利用ユニット702、703と顕熱系統ガス連絡配管708との間に接続された接続ユニット741、751を有する点のみが異なるが、他の構成については第3実施形態の空気調和システム401の顕熱負荷処理システム501と同様の構成であるため、第3実施形態の顕熱負荷処理システム501の各部を示す符号をすべて700番台の符号に変えるのみとし、ここでは、各部の説明を省略する。
接続ユニット741、751は、主として、蒸発圧力調節弁742、752と、蒸発圧力センサ743、753とを有している。蒸発圧力調節弁742、752は、顕熱系統利用ユニット702、703の空気熱交換器722、732を冷媒の蒸発器として機能させる際の空気熱交換器722、732における冷媒の蒸発圧力を制御する圧力調節機構として機能するように設けられた電動膨張弁である。蒸発圧力センサ743、753は、空気熱交換器722、732における冷媒の圧力を検出する圧力検出機構として機能するように設けられた圧力センサである。また、接続ユニット741、751は、蒸発圧力調節弁742、752の動作を制御するためのマイクロコンピュータやメモリを有する接続ユニット制御部744、754を備えている。そして、接続ユニット制御部744、754は、顕熱系統利用ユニット702、703の顕熱系統利用側制御部728、738との間で制御信号等を伝送できるようになっている。
(2)空気調和システムの動作
次に、本実施形態の空気調和システム601の動作について説明する。空気調和システム601は、屋内の潜熱負荷を潜熱負荷処理システム201で処理し、屋内の顕熱負荷のみを顕熱負荷処理システム701で処理することができる。以下に、各種の運転動作について説明する。
<ドレンレス除湿冷房運転>
潜熱負荷処理システム201を全換気モードで除湿運転を行いつつ、顕熱負荷処理システム701で顕熱冷房運転を行うドレンレス冷房運転における動作について、図43、図44、図45及び図46を用いて説明する。ここで、図43及び図44は、空気調和システム601における全換気モードのドレンレス除湿冷房運転時の動作を示す概略の冷媒回路図である。図45は、空気調和システム601における第1のドレンレス除湿冷房運転時の制御フロー図である。また、図46は、空気調和システム601における第2のドレンレス冷房運転時の制御フロー図である。尚、図45及び図46においては、潜熱系統利用ユニット202及び顕熱系統利用ユニット702のペアと潜熱系統利用ユニット203及び顕熱系統利用ユニット703のペアとは同様の制御フローであるため、潜熱系統利用ユニット203及び顕熱系統利用ユニット703のペアの制御フローの図示を省略している。
空気調和システム601のドレンレス除湿冷房運転時の動作としては、以下に説明する2つの運転方法がある。第1のドレンレス除湿冷房運転の方法は、接続ユニット741、751の蒸発圧力調節弁742、743を利用して空気熱交換器722、732における冷媒の蒸発圧力を最低蒸発温度値Te3(第3実施形態における最低蒸発温度値Te3と同じ)以上となるように制御する運転方法である。第2のドレン除湿冷房運転の方法は、第1のドレンレス除湿冷房運転の方法と同様に、接続ユニット741、751の蒸発圧力調節弁742、743を利用して空気熱交換器722、732における冷媒の蒸発圧力を最低蒸発温度値Te3(第3実施形態における最低蒸発温度値Te3と同じ)以上となるように制御しつつ、潜熱負荷処理システム201を構成する潜熱系統利用ユニット202、203の吸着熱交換器222、232、223、233の吸着動作及び再生動作の切換時間間隔を変更させる制御をする運転方法である。
まず、第1のドレンレス除湿冷房運転時の動作について、図43、図44及び図45を用いて説明する。
まず、潜熱負荷処理システム201の動作について説明する。尚、ここでは、顕熱負荷処理システム701の顕熱冷房運転を実現するために必要な動作については後述するものとし、潜熱負荷処理システム201の基本的な動作について先に説明する。
潜熱負荷処理システム201の潜熱系統利用ユニット202においては、第2実施形態の空気調和システム101における除湿冷房運転時の場合と同様に、第1吸着熱交換器222が凝縮器となって第2吸着熱交換器223が蒸発器となる第1動作と、第2吸着熱交換器223が凝縮器となって第1吸着熱交換器222が蒸発器となる第2動作とが交互に繰り返される。潜熱系統利用ユニット203においても同様に、第1吸着熱交換器232が凝縮器となって第2吸着熱交換器233が蒸発器となる第1動作と、第2吸着熱交換器233が凝縮器となって第1吸着熱交換器232が蒸発器となる第2動作とが交互に繰り返される。
以下の説明では、2つの潜熱系統利用ユニット202、203の動作をまとめて記載する。
第1動作では、第1吸着熱交換器222、232についての再生動作と、第2吸着熱交換器223、233についての吸着動作とが並行して行われる。第1動作中は、図43に示されるように、潜熱系統利用側四路切換弁221、231が第1状態(図43の潜熱系統利用側四路切換弁221、231の実線を参照)に設定される。この状態で、潜熱系統圧縮機構261から吐出された高圧のガス冷媒は、潜熱系統吐出ガス連絡配管207、潜熱系統利用側四路切換弁221、231を通じて第1吸着熱交換器222、232に流入し、第1吸着熱交換器222、232を通過する間に凝縮する。そして、凝縮された冷媒は、潜熱系統利用側膨張弁224、234で減圧されて、その後、第2吸着熱交換器223、233を通過する間に蒸発し、潜熱系統利用側四路切換弁221、231、潜熱系統吸入ガス連絡配管208、潜熱系統アキュムレータ262を通じて潜熱系統圧縮機構261に再び吸入される(図43の潜熱系統冷媒回路210に付された矢印を参照)。
第1動作中において、第1吸着熱交換器222、232では、冷媒の凝縮により加熱された吸着剤から水分が脱離し、この脱離した水分が内気吸入口から吸入された屋内空気RAに付与される。第1吸着熱交換器222、232から脱離した水分は、屋内空気RAに同伴して排気口を通じて排出空気EAとして屋外へ排出される。第2吸着熱交換器223、233では、屋外空気OA中の水分が吸着剤に吸着されて屋外空気OAが除湿され、その際に生じた吸着熱が冷媒に吸熱されて冷媒が蒸発する。そして、第2吸着熱交換器223、233で除湿された屋外空気OAは、給気口を通って供給空気SAとして屋内へ供給される(図43の吸着熱交換器222、223、232、233の両側に付された矢印を参照)。
第2動作では、第1吸着熱交換器222、232についての吸着動作と、第2吸着熱交換器223、233についての再生動作とが並行して行われる。第2動作中は、図44に示されるように、潜熱系統利用側四路切換弁221、231が第2状態(図44の潜熱系統利用側四路切換弁221、231の破線を参照)に設定される。この状態で、潜熱系統圧縮機構261から吐出された高圧のガス冷媒は、潜熱系統吐出ガス連絡配管207、潜熱系統利用側四路切換弁221、231を通じて第2吸着熱交換器223、233に流入し、第2吸着熱交換器223、233を通過する間に凝縮する。そして、凝縮された冷媒は、潜熱系統利用側膨張弁224、234で減圧されて、その後、第1吸着熱交換器222、232を通過する間に蒸発し、潜熱系統利用側四路切換弁221、231、潜熱系統吸入ガス連絡配管208、潜熱系統アキュムレータ262を通じて潜熱系統圧縮機構261に再び吸入される(図44の潜熱系統冷媒回路210に付された矢印を参照)。
第2動作中において、第2吸着熱交換器223、233では、冷媒の凝縮により加熱された吸着剤から水分が脱離し、この脱離した水分が内気吸入口から吸入された屋内空気RAに付与される。第2吸着熱交換器223、233から脱離した水分は、屋内空気RAに同伴して排気口を通じて排出空気EAとして屋外へ排出される。第1吸着熱交換器222、232では、屋外空気OA中の水分が吸着剤に吸着されて屋外空気OAが除湿され、その際に生じた吸着熱が冷媒に吸熱されて冷媒が蒸発する。そして、第1吸着熱交換器222、232で除湿された屋外空気OAは、給気口を通って供給空気SAとして屋内へ供給される(図44の吸着熱交換器222、223、232、233の両側に付された矢印を参照)。
ここで、空気調和システム601において行われているシステム制御について、潜熱負荷処理システム201に着目して説明する。
まず、リモコン611、612によって目標温度及び目標相対湿度が設定されると、潜熱系統利用ユニット202、203の潜熱系統利用側制御部228、238には、これらの目標温度値及び目標相対湿度値とともに、RA吸入温度・湿度センサ225、235によって検出されたユニット内に吸入される屋内の空気の温度値及び相対湿度値と、OA吸入温度・湿度センサ226、236によって検出されたユニット内に吸入される屋外の空気の温度値及び相対湿度値とが入力される。
すると、ステップS71において、潜熱系統利用側制御部228、238は、屋内の空気の目標温度値及び目標相対湿度値からエンタルピの目標値又は絶対湿度の目標値を演算し、そして、RA吸入温度・湿度センサ225、235によって検出された温度値及び相対湿度値から屋内からユニット内に吸入される空気のエンタルピの現在値又は絶対湿度の現在値を演算し、両値の差である必要潜熱能力値Δhを演算する。そして、このΔhの値を、潜熱系統利用ユニット202、203の処理能力を上げる必要があるかどうかを潜熱系統熱源側制御部265に知らせるための能力UP信号K1に変換する。例えば、Δhの絶対値が所定値よりも小さい場合(すなわち、屋内の空気の湿度値が目標湿度値に近い値であり、処理能力を増減する必要がない場合)には能力UP信号K1を「0」とし、Δhの絶対値が所定値よりも処理能力を上げなければならない方向に大きい場合(すなわち、除湿運転においては屋内の空気の湿度値が目標湿度値よりも高く、処理能力を上げる必要がある場合)には能力UP信号K1を「A」とし、Δhの絶対値が所定値よりも処理能力を下げなければならない方向に大きい場合(すなわち、除湿運転においては屋内の空気の湿度値が目標湿度値よりも低く、処理能力を下げる必要がある場合)には能力UP信号K1を「B」とする。
次に、ステップS72において、潜熱系統熱源側制御部265は、ステップS81、S82(後述)を経て、潜熱系統利用側制御部228、238から潜熱系統熱源側制御部265へ伝送された潜熱系統利用ユニット202、203の能力UP信号K1を用いて、目標凝縮温度値TcS1及び目標蒸発温度値TeS1を演算する。例えば、目標凝縮温度値TcS1は、現在の目標凝縮温度値に潜熱系統利用ユニット202、203の能力UP信号K1を加算することによって演算される。また、目標蒸発温度値TeS1は、現在の目標蒸発温度値に潜熱系統利用ユニット202、203の能力UP信号K1を減算することによって演算される。これにより、能力UP信号K1の値が「A」の場合には、目標凝縮温度値TcS1は高くなり、目標蒸発温度値TeS1は低くなる。
次に、ステップS73において、潜熱負荷処理システム201全体の凝縮温度及び蒸発温度の実測値に相当する値であるシステム凝縮温度値Tc1及びシステム蒸発温度値Te1を演算する。例えば、システム凝縮温度値Tc1及びシステム蒸発温度値Te1は、潜熱系統吸入圧力センサ263によって検出された潜熱系統圧縮機構261の吸入圧力値及び潜熱系統吐出圧力センサ264によって検出された潜熱系統圧縮機構261の吐出圧力値を、これらの圧力値における冷媒の飽和温度に換算することによって演算される。そして、システム凝縮温度値Tc1に対する目標凝縮温度値TcS1の温度差ΔTc1及びシステム蒸発温度値Te1に対する目標蒸発温度値TeS1の温度差ΔTe1を演算し、これらの温度差を除算することによって潜熱系統圧縮機構261の運転容量の増減の要否及び増減幅を決定する。
このようにして決定された潜熱系統圧縮機構261の運転容量を用いて、潜熱系統圧縮機構261の運転容量を制御することで、屋内の空気の目標相対湿度に近づけるシステム制御を行っている。例えば、温度差ΔTc1から温度差ΔTe1を差し引いた値が正値の場合には潜熱系統圧縮機構261の運転容量を増加させ、逆に、温度差ΔTc1から温度差ΔTe1を差し引いた値が負値の場合には潜熱系統圧縮機構261の運転容量を減少させるように制御する。
次に、顕熱負荷処理システム701の動作について説明する。
顕熱負荷処理システム701の顕熱系統熱源ユニット706の顕熱系統熱源側四路切換弁762が冷房運転状態(第1ポート762aと第3ポート762cとが接続され、かつ、第2ポート762bと第4ポート762dとが接続された状態)になっている。また、顕熱系統利用ユニット702、703の顕熱系統利用側膨張弁721、731は、冷媒を減圧するように開度調節されている。顕熱系統熱源側膨張弁764は開けられた状態になっている。
このような顕熱系統冷媒回路710の状態において、顕熱系統熱源ユニット706の顕熱系統圧縮機構761を起動すると、顕熱系統圧縮機構761から吐出された高圧のガス冷媒は、顕熱系統熱源側四路切換弁762を通過して顕熱系統熱源側熱交換器763に流入し凝縮されて液冷媒となる。この液冷媒は、顕熱系統熱源側膨張弁764、顕熱系統レシーバ768及び顕熱系統液連絡配管707を通じて、顕熱系統利用ユニット702、703に送られる。そして、顕熱系統利用ユニット702、703に送られた液冷媒は、顕熱系統利用側膨張弁721、731で減圧された後、空気熱交換器722、732において、ユニット内に吸入された屋内空気RAとの熱交換によって蒸発して低圧のガス冷媒となる。このガス冷媒は、顕熱系統ガス連絡配管708を通じて顕熱系統熱源ユニット706の顕熱系統圧縮機構761に再び吸入される。一方、空気熱交換器722、732において冷媒との熱交換により冷却された屋内空気RAは、供給空気SAとして屋内に供給される。尚、顕熱系統利用側膨張弁721、731は、後述のように、空気熱交換器722、732における過熱度SH、すなわち、液側温度センサ723、733によって検出された空気熱交換器722、732の液側の冷媒温度値と、ガス側温度センサ724、734によって検出された空気熱交換器722、732のガス側の冷媒温度値との温度差が目標過熱度SHSになるように開度制御がなされている。
ここで、空気調和システム601において行われているシステム制御について、顕熱負荷処理システム701に着目して説明する。尚、ここでは、顕熱負荷処理システム701の顕熱冷房運転を実現するために必要な制御については後述するものとし、顕熱負荷処理システム701の基本的な制御について説明する。
まず、リモコン611、612によって目標温度が設定されると、顕熱系統利用ユニット702、703の顕熱系統利用側制御部728、738には、これらの目標温度値とともに、RA吸入温度・湿度センサ725、735によって検出されたユニット内に吸入される屋内の空気の温度値及び相対湿度値が入力される。
すると、ステップS46において、顕熱系統利用側制御部728、738は、屋内の空気の目標温度値とRA吸入温度・湿度センサ725、735によって検出された温度値との温度差(以下、必要顕熱能力値ΔTとする)を演算する。ここで、必要顕熱能力値ΔTは、上述のように屋内の空気の目標温度値と現在の屋内の空気の温度値との差であるため、空気調和システム601において処理しなければならない顕熱負荷に相当するものである。そして、この必要顕熱能力値ΔTの値を、顕熱系統利用ユニット702、703の処理能力を上げる必要があるかどうかを顕熱系統熱源側制御部765に知らせるための能力UP信号K2に変換する。例えば、ΔTの絶対値が所定値よりも小さい場合(すなわち、屋内の空気の温度値が目標温度値に近い値であり、処理能力を増減する必要がない場合)には能力UP信号K2を「0」とし、ΔTの絶対値が所定値よりも処理能力を上げなければならない方向に大きい場合(すなわち、冷房運転においては屋内の空気の温度値が目標温度値よりも高く、処理能力を上げる必要がある場合)には能力UP信号K2を「a」とし、ΔTの絶対値が所定値よりも処理能力を下げなければならない方向に大きい場合(すなわち、冷房運転においては屋内の空気の温度値が目標温度値よりも低く、処理能力を下げる必要がある場合)には能力UP信号K2を「b」とする。
次に、ステップS75において、顕熱系統利用側制御部728、738は、必要顕熱能力値ΔTの値に応じて、目標過熱度SHSの値を変更する。例えば、顕熱系統利用ユニット502、503の処理能力を下げる必要がある場合(能力UP信号K2が「b」の場合)には、目標過熱度SHSを大きくして、空気熱交換器722、732における冷媒と空気との交換熱量を小さくするように顕熱系統利用側膨張弁721、731の開度を制御する。
また、ステップS76において、顕熱系統熱源側制御部765は、顕熱系統利用側制御部728、738から顕熱系統熱源側制御部765へ伝送された顕熱系統利用ユニット702、703の能力UP信号K2を用いて、目標蒸発温度値TeS2を演算する。例えば、目標蒸発温度値TeS2は、現在の目標蒸発温度値に顕熱系統利用ユニット702、703の能力UP信号K2を減算することによって演算される。これにより、能力UP信号K2の値が「a」の場合には、目標蒸発温度値TeS2は低くなる。
次に、ステップS77において、顕熱系統熱源側制御部565は、顕熱負荷処理システム701全体の凝縮温度及び蒸発温度の実測値に相当する値であるシステム蒸発温度値Te2を演算する。例えば、システム蒸発温度値Te2は、顕熱系統吸入圧力センサ766によって検出された顕熱系統圧縮機構761の吸入圧力値及び顕熱系統吐出圧力センサ767によって検出された顕熱系統圧縮機構761の吐出圧力値を、これらの圧力値における冷媒の飽和温度に換算することによって演算される。そして、システム蒸発温度値Te2に対する目標蒸発温度値TeS2の温度差ΔTe2を演算し、この温度差ΔTe2から顕熱系統圧縮機構761の運転容量の増減の要否及び増減幅を決定する。
このようにして決定された顕熱系統圧縮機構761の運転容量を用いて、顕熱系統圧縮機構761の運転容量を制御することで、顕熱系統利用ユニット702、703の目標温度に近づけるシステム制御を行っている。例えば、温度差ΔTe2が正値の場合には顕熱系統圧縮機構761の運転容量を減少させ、逆に、温度差ΔTe2が負値の場合には顕熱系統圧縮機構761の運転容量を増加させるように制御する。
ところで、この空気調和システム601では、上述のように、主として屋内の潜熱負荷を処理する潜熱処理が潜熱負荷処理システム201において行われており、顕熱負荷処理システム701において屋内の顕熱負荷のみを処理する顕熱冷房運転が行われている。そして、この空気調和システム601では、接続ユニット741、751の蒸発圧力調節弁742、752を用いて、以下のようなシステム制御を行うことによって、顕熱負荷処理システム701の顕熱冷房運転を実現している。
まず、ステップS78において、顕熱系統利用側制御部728、738においては、RA吸入温度・湿度センサ725、735によって検出されたユニット内に吸入される屋内の空気の温度値及び相対湿度値から露点温度を演算し、空気熱交換器722、732において空気が結露しないように、すなわち、少なくともこの露点温度以上になるように空気熱交換器722、732内を流れる冷媒の最低蒸発温度値Te3を演算する。
次に、ステップS79において、顕熱系統利用側制御部728、738から接続ユニット制御部744、754に伝送された最低蒸発温度値Te3を、この温度値Te3に対応する飽和圧力である最低蒸発圧力値P3に換算する。そして、ステップS80において、この最低蒸発圧力値P3と、蒸発圧力センサ743、753において検出された空気熱交換器722、732における冷媒の圧力値とを比較し、蒸発圧力センサ743、753において検出された空気熱交換器722、732における冷媒の圧力値が最低蒸発圧力値P3以上になるように、蒸発圧力調節弁742、752の開度を調節している。
これにより、顕熱系統圧縮機構761の運転容量が、必要顕熱処理能力値に応じて変更される場合であっても、蒸発圧力センサ743、753において検出された空気熱交換器722、732における冷媒の圧力値が、屋内の空気の露点温度に対応する最低蒸発圧力値P3以上となるように、蒸発圧力調節弁742、752によって調節されているため、顕熱冷房運転が実現できるようになっている。
尚、上記のドレンレス除湿冷房運転中に、顕熱負荷処理システム701の空気熱交換器722、732の蒸発温度が露点温度以下(すなわち、最低蒸発温度値Te3以下)になって結露センサ726、736において結露が検出された場合には、接続ユニット制御部744、754が、結露が検出された際の最低蒸発圧力値P3よりも高い圧力値になるように最低蒸発圧力値P3の値を補正したり、顕熱系統利用側制御部728、738が顕熱系統利用側膨張弁721、731を閉止させたり、顕熱系統利用側制御部728、738が顕熱系統熱源側制御部765に結露が検出されたことを知らせる信号を伝送して顕熱系統熱源側制御部765が顕熱系統圧縮機構761を停止させることによって、空気熱交換器722、732における結露を確実に防ぐことができる。
次に、第2のドレンレス除湿冷房運転時の動作について、図43、図44及び図46を用いて説明する。
上述の第1のドレンレス除湿冷房運転の方法では、屋内の潜熱負荷の処理が潜熱負荷処理システム201において行われており、顕熱負荷処理システム701において蒸発圧力調節弁742、752を用いて屋内の顕熱負荷のみを処理する顕熱冷房運転が行われている。つまり、潜熱負荷処理システム201及び顕熱負荷処理システム701で処理しなければならない潜熱処理能力(必要潜熱処理能力、Δhに相当)と、潜熱負荷処理システム801及び顕熱負荷処理システム701で処理しなければならない顕熱処理能力(必要顕熱処理能力、ΔTに相当)とは、潜熱負荷処理システム201及び顕熱負荷処理システム701を用いて処理されている。ここで、潜熱負荷処理システム201の処理能力の増減は、主として潜熱系統圧縮機構261の運転容量制御によって行われている。また、顕熱負荷処理システム701の処理能力の増減は、主として顕熱系統圧縮機構761の運転容量制御によって行われている。
そして、潜熱負荷処理システム201による潜熱負荷処理においては、図5に示されるように、潜熱負荷処理システム201を構成する第1吸着熱交換器222、232及び第2吸着熱交換器223、233の吸着動作又は再生動作によって、潜熱処理だけでなく、顕熱処理も行っているため、結果的に潜熱処理とともに顕熱処理が行われる。ここで、潜熱負荷処理システム201において潜熱処理とともに行われる顕熱処理の処理能力を発生顕熱処理能力とすると、顕熱負荷処理システムによって処理しなければならない顕熱負荷は、必要潜熱処理能力から発生顕熱処理能力を差し引いた分になる。
このため、第2のドレンレス除湿冷房運転の方法では、潜熱負荷処理システム201において顕熱負荷の処理が行われる点を考慮して、以下のようなシステム制御を行っている。尚、この第2のドレンレス除湿冷房運転の方法は、この運転方法に特有のステップS81〜S84を除くステップ(すなわち、ステップS71〜S80)については第1の運転方法における制御フローと同様であるため、説明を省略する。
潜熱系統利用側制御部228、238においては、ステップS81において、吸着熱交換器222、223及び吸着熱交換器232、233における吸着動作及び再生動作の切換時間間隔が顕熱優先モード(例えば、図5の時間D)であり、かつ、能力UP信号K2が「b」である場合(顕熱系統利用側ユニット702、703における必要顕熱処理能力が小さくなった場合)には、ステップS83において、切換時間間隔を潜熱優先(例えば、図5の時間C)に変更する。逆に、その他の条件の場合には、ステップS82に移行する。
そして、ステップS82において、吸着熱交換器222、223及び吸着熱交換器232、233における吸着動作及び再生動作の切換時間間隔が潜熱優先(例えば、図5の時間C)であり、かつ、能力UP信号K2が「a」である場合(顕熱系統利用側ユニット702、703における必要顕熱処理能力が大きくなった場合)には、ステップS84において、切換時間間隔を顕熱優先(例えば、図5の時間D)に変更して、潜熱負荷処理システム201における顕熱処理能力を大きくすることができる。
これにより、第2の運転方法では、必要顕熱処理能力値ΔTが大きくなり、顕熱負荷処理システム701における顕熱処理能力を大きくする必要がある場合に、潜熱系統利用ユニット202、203の吸着熱交換器222、232、223、233の吸着動作及び再生動作の切換時間間隔を大きくすることによって、吸着熱交換器222、232、223、233において処理される潜熱処理能力を小さくするとともに顕熱処理能力を大きくして潜熱負荷処理システムにおける顕熱処理能力を大きくする、すわわち、顕熱処理能力比を高めることができるようになっているため、必要顕熱処理能力ΔTが大きくなる場合でも、顕熱負荷処理システム701の空気熱交換器722、732において空気中の水分が結露しないように運転して屋内の顕熱負荷のみを処理しつつ、顕熱処理能力の変動に追従させることができる。
尚、第1の運転方法と同様に、上述のドレンレス除湿冷房運転中に、顕熱負荷処理システム701の空気熱交換器722、732の蒸発温度が露点温度以下(すなわち、最低蒸発温度値Te3以下)になって結露センサ726、736において結露が検出された場合には、接続ユニット制御部744、754が、結露が検出された際の最低蒸発圧力値P3よりも高い圧力値になるように最低蒸発圧力値P3の値を補正したり、顕熱系統利用側制御部728、738が顕熱系統利用側膨張弁721、731を閉止させたり、顕熱系統利用側制御部728、738が顕熱系統熱源側制御部765に結露が検出されたことを知らせる信号を伝送して顕熱系統熱源側制御部765が顕熱系統圧縮機構761を停止させることによって、空気熱交換器722、732における結露を確実に防ぐことができる。
また、この運転方法では、蒸発圧力調節弁742、752を併用しているため、顕熱系統圧縮機構761の運転容量が最小になり、顕熱系統圧縮機構761の吸入側のガス冷媒の温度が屋内の空気の露点温度以下になってしまう場合であっても、蒸発圧力調節弁742、752の開度を小さくすることによって、空気熱交換器722、732における結露を防ぎつつ、除湿冷房運転を継続することができる。
<ドレンレスシステム起動制御>
空気調和システム601のドレンレスシステム起動運転は、第3実施形態の空気調和システム401におけるドレンレス起動運転と同様であるため、説明を省略する。
(3)空気調和システムの特徴
本実施形態の空気調和システム601には、以下のような特徴がある。
(A)
本実施形態の空気調和システム601では、潜熱負荷処理システム201が第1実施形態の空気調和システム1と同じ構成であるため、空気調和システム1と同様な特徴を有している。
しかも、本実施形態の空気調和システム601では、吸着熱交換器222、223、232、233を有する潜熱系統利用側冷媒回路210a、210bを含む潜熱系統利用ユニット202、203と潜熱系統熱源側冷媒回路210cを含む潜熱系統熱源ユニット206とを備えた潜熱負荷処理システム201に加えて、空気熱交換器722、732を有する顕熱系統利用側冷媒回路710a、710bを含む顕熱系統利用ユニット702、703と顕熱系統熱源側冷媒回路710cを含む顕熱系統熱源ユニット706とを備えた顕熱負荷処理システム701をさらに備えている。これにより、屋内の潜熱負荷及び顕熱負荷を2つの処理システム201、701に分けて処理することができる。
(B)
本実施形態の空気調和システム601は、第3実施形態の空気調和システム401と同様、必要顕熱処理能力が大きくなり、顕熱負荷処理システム701における顕熱処理能力を大きくする必要がある場合に、潜熱負荷処理システム201を構成する吸着熱交換器222、223、232、233の吸着動作及び再生動作の切換時間間隔を長くすることによって、吸着熱交換器222、223、232、233において処理される潜熱処理能力を小さくするとともに顕熱処理能力を大きくする、すなわち、潜熱負荷処理システム201の顕熱処理能力比を大きくして、潜熱負荷処理システム201における顕熱処理能力を大きくすることができるため、顕熱負荷処理システム701において空気中の水分が結露しないように運転して屋内の顕熱負荷のみを処理しつつ、顕熱処理能力の変動に追従させることができる。
(C)
本実施形態の空気調和システム601では、屋内の空気の露点温度に基づいて、例えば、空気熱交換器722、732における冷媒の蒸発温度が屋内の空気の露点温度以下にならないように、蒸発圧力調節弁742、752を制御することによって、空気熱交換器722、732の表面において空気中の水分が結露しないようにして、空気熱交換器722、732におけるドレン水の発生を抑えることができる。これにより、第2の利用側冷媒回路710a、710bを有するユニットにドレン配管が不要となり、第2の利用側冷媒回路710a、710bを有するユニットの設置工事の省力化を図ることができる。
また、空気調和システム601では、蒸発圧力調節弁742、752による空気熱交換器722、732における冷媒の蒸発圧力の制御値として、露点温度ではなく蒸発圧力センサ743、753によって実測される空気熱交換器722、732の冷媒の蒸発圧力を用いているため、露点温度を用いて冷媒の蒸発圧力を制御する場合に比べて制御応答性を向上させることができる。
(D)
本実施形態の空気調和システム601では、結露センサ726、736によって空気熱交換器722、732における結露を確実に検出するとともに、結露が検出された場合に、露点温度から演算される最低蒸発圧力値P3を変更することによって空気熱交換器722、732における冷媒の蒸発圧力を変更できるようにしたり、顕熱系統熱源ユニット706を構成する顕熱系統圧縮機構761を停止するようにしたり、顕熱系統利用ユニット702、703の顕熱系統利用側膨張弁721、731を閉止するようにしているため、空気熱交換器722、732における結露を確実に防ぐことができる。
(4)変形例1
上述の顕熱負荷処理システム601では、RA吸入温度・湿度センサ725、735によって検出された屋内の空気の温度及び相対湿度から屋内の空気の露点温度を演算して、空気熱交換器722、732における冷媒の最低蒸発温度値Te3を演算して、システム制御に使用しているが、図47に示されるように、顕熱系統利用ユニット702、703に露点センサ727、737を設けて、この露点センサ727、737によって検出された露点温度をシステム制御に使用するようにしてもよい。
(5)変形例2
上述の顕熱負荷処理システム601では、蒸発圧力調節弁742、752及び蒸発圧力センサ743、753が顕熱系統利用ユニット702、703とは別の接続ユニット741、751に内蔵されているが、図48に示されるように、蒸発圧力調節弁742、752及び蒸発圧力センサ743、753が顕熱系統利用ユニット702、703が内蔵されていてもよい。この場合、顕熱系統利用側制御部728、738が接続ユニット制御部744、754の機能も内蔵することになる。
(6)変形例3
本実施形態の潜熱系統熱源ユニット206においても、図49に示されるように、第1実施形態の熱源ユニット6と同様に、潜熱系統補助凝縮器266を接続して、潜熱系統圧縮機構261から吐出されて潜熱系統利用ユニット202、203に送られる高圧のガス冷媒の一部を凝縮させることができるようにしてもよい。
[他の実施形態]
以上、本発明の実施形態について図面に基づいて説明したが、具体的な構成は、これらの実施形態に限られるものではなく、発明の要旨を逸脱しない範囲で変更可能である。
(A)
上述の第2、第3及び第4実施形態の空気調和システムにおいては、顕熱負荷処理システムとして、冷房及び暖房切換運転が可能なマルチ空気調和システムを適用しているが、これに限定されず、冷房専用のマルチ空気調和システムや冷房及び暖房同時運転が可能なマルチ空気調和システムを適用してもよい。
(B)
上述の第3及び第4実施形態の空気調和システムにおいては、顕熱系統利用ユニットに結露センサを設けているが、顕熱負荷処理システムの顕熱冷房運転を確実に行うことができる場合には、必ずしも設けておく必要はない。
本発明を利用すれば、吸着熱交換器を用いた空気調和装置を複数台設置する際に生じるコストアップや吸着熱交換器を内蔵するユニットのサイズが大きくなるのを抑えることができる。
本発明にかかる第1実施形態の空気調和システムの概略の冷媒回路図である。 第1実施形態の空気調和システムにおける全換気モードの除湿運転時の動作を示す概略の冷媒回路図である。 第1実施形態の空気調和システムにおける全換気モードの除湿運転時の動作を示す概略の冷媒回路図である。 第1実施形態の空気調和システムを運転した場合における制御フロー図である。 吸着熱交換器における潜熱処理能力及び顕熱処理能力を吸着動作及び再生動作の切換時間間隔を横軸として表示したグラフである。 第1実施形態の空気調和システムにおける全換気モードの加湿運転時の動作を示す概略の冷媒回路図である。 第1実施形態の空気調和システムにおける全換気モードの加湿運転時の動作を示す概略の冷媒回路図である。 第1実施形態の空気調和システムにおける循環モードの除湿運転時の動作を示す概略の冷媒回路図である。 第1実施形態の空気調和システムにおける循環モードの除湿運転時の動作を示す概略の冷媒回路図である。 第1実施形態の空気調和システムにおける循環モードの加湿運転時の動作を示す概略の冷媒回路図である。 第1実施形態の空気調和システムにおける循環モードの加湿運転時の動作を示す概略の冷媒回路図である。 第1実施形態の空気調和システムにおける給気モードの除湿運転時の動作を示す概略の冷媒回路図である。 第1実施形態の空気調和システムにおける給気モードの除湿運転時の動作を示す概略の冷媒回路図である。 第1実施形態の空気調和システムにおける給気モードの加湿運転時の動作を示す概略の冷媒回路図である。 第1実施形態の空気調和システムにおける給気モードの加湿運転時の動作を示す概略の冷媒回路図である。 第1実施形態の空気調和システムにおける排気モードの除湿運転時の動作を示す概略の冷媒回路図である。 第1実施形態の空気調和システムにおける排気モードの除湿運転時の動作を示す概略の冷媒回路図である。 第1実施形態の空気調和システムにおける排気モードの加湿運転時の動作を示す概略の冷媒回路図である。 第1実施形態の空気調和システムにおける排気モードの加湿運転時の動作を示す概略の冷媒回路図である。 第1実施形態の空気調和システムにおける全換気モードの除湿運転時の部分負荷運転の動作を示す概略の冷媒回路図である。 第1実施形態の空気調和システムにおける全換気モードの除湿運転時の部分負荷運転の動作を示す概略の冷媒回路図である。 第1実施形態の変形例にかかる空気調和システムの概略の冷媒回路図である。 本発明にかかる第2実施形態の空気調和システムの概略の冷媒回路図である。 第2実施形態の空気調和システムにおける全換気モードの除湿冷房運転時の動作を示す概略の冷媒回路図である。 第2実施形態の空気調和システムにおける全換気モードの除湿冷房運転時の動作を示す概略の冷媒回路図である。 第2実施形態の空気調和システムにおける通常運転時の制御フロー図である。 第2実施形態の空気調和システムにおける全換気モードの加湿暖房運転時の動作を示す概略の冷媒回路図である。 第2実施形態の空気調和システムにおける全換気モードの加湿暖房運転時の動作を示す概略の冷媒回路図である。 第2実施形態の空気調和システムにおけるシステム起動時の動作を示す概略の冷媒回路図である。 第2実施形態の空気調和システムにおけるシステム起動時の動作を示す概略の冷媒回路図である。 第2実施形態の変形例にかかる空気調和システムの概略の冷媒回路図である。 本発明にかかる第3実施形態の空気調和システムの概略の冷媒回路図である。 第3実施形態の空気調和システムにおける全換気モードのドレンレス除湿冷房運転時の動作を示す概略の冷媒回路図である。 第3実施形態の空気調和システムにおける全換気モードのドレンレス除湿冷房運転時の動作を示す概略の冷媒回路図である。 第3実施形態の空気調和システムにおけるドレンレス除湿冷房運転時の制御フロー図である。 第3実施形態の空気調和システムにおけるドレンレスシステム起動時の動作を示す概略の冷媒回路図である。 第3実施形態の空気調和システムのドレンレスシステム起動時の屋内の空気の状態を示す空気線図である。 第3実施形態の空気調和システムにおけるドレンレスシステム起動時の動作を示す概略の冷媒回路図である。 第3実施形態の空気調和システムにおけるドレンレスシステム起動時の動作を示す概略の冷媒回路図である。 第3実施形態の変形例1にかかる空気調和システムの概略の冷媒回路図である。 第3実施形態の変形例2にかかる空気調和システムの概略の冷媒回路図である。 本発明にかかる第4実施形態の空気調和システムの概略の冷媒回路図である。 第4実施形態の空気調和システムにおける全換気モードのドレンレス除湿冷房運転時の動作を示す概略の冷媒回路図である。 第4実施形態の空気調和システムにおける全換気モードのドレンレス除湿冷房運転時の動作を示す概略の冷媒回路図である。 第4実施形態の空気調和システムにおけるドレンレス除湿冷房運転時の制御フロー図である。 第4実施形態の空気調和システムにおけるドレンレス除湿冷房運転時の制御フロー図である。 第4実施形態の変形例1にかかる空気調和システムの概略の冷媒回路図である。 第4実施形態の変形例2にかかる空気調和システムの概略の冷媒回路図である。 第4実施形態の変形例3にかかる空気調和システムの概略の冷媒回路図である。
符号の説明
1、101、201、401、601 空気調和システム、潜熱負荷処理システム
10a、10b、210a、210b 利用側冷媒回路、潜熱系統利用側冷媒回路(第1の利用側冷媒回路)
10c、210c 熱源側冷媒回路、潜熱系統熱源側冷媒回路(第1の熱源側冷媒回路)
22、23、32、33、222、223、232、233 吸着熱交換器
61、261 圧縮機構、潜熱系統圧縮機構(第1の圧縮機構)
62、262 アキュムレータ、潜熱系統アキュムレータ(液溜容器)
7、207 吐出ガス連絡配管、潜熱系統吐出ガス連絡配管
8、208 吸入ガス連絡配管、潜熱系統吸入ガス連絡配管
66、266 補助凝縮器、潜熱系統補助凝縮器
310a、310b、510a、510b、710a、710b 顕熱系統利用側冷媒回路(第2の利用側冷媒回路)
310c、510c、710c 顕熱系統熱源側冷媒回路(第2の熱源側冷媒回路)
322、332、522、532、722、732 空気熱交換器
361、561、761 顕熱系統圧縮機構(第2の圧縮機構)
363、563、763 顕熱系統熱源側熱交換器
521、531、721、731 顕熱系統利用側膨張弁(利用側膨張弁)
526、536、726、736 結露センサ(結露検出機構)
742、752 蒸発圧力調節弁(圧力調節機構)
743、753 蒸発圧力センサ(圧力検出機構)
P3 最低蒸発圧力値(目標蒸発圧力値)

Claims (9)

  1. 蒸気圧縮式の冷凍サイクル運転を行うことによって、屋内の潜熱負荷及び顕熱負荷を処理する空気調和システムであって、
    表面に吸着剤が設けられた吸着熱交換器(22、23、32、33)(222、223、232、233)を有しており、冷媒の蒸発器として前記吸着熱交換器を機能させて空気中の水分を前記吸着剤に吸着させる吸着動作と、冷媒の凝縮器として前記吸着熱交換器を機能させて前記吸着剤から水分を脱離させる再生動作とを交互に行うことで空気を除湿又は加湿することが可能な複数の利用側冷媒回路(10a、10b)(210a、210b)と、
    圧縮機構(61)(261)と、前記圧縮機構の吸入側に接続される液溜容器(62)(262)とを有する熱源側冷媒回路(10c)(210c)と、
    前記圧縮機構の吐出側に接続されており前記利用側冷媒回路と前記熱源側冷媒回路とを接続する吐出ガス連絡配管(7、207)と、
    前記圧縮機構の吸入側に接続される吸入ガス連絡配管(8)(208)とを備え、
    前記吸着熱交換器を通過した空気を屋内に供給することが可能である、
    空気調和システム(1)(101)(201)(401)(601)。
  2. 前記熱源側冷媒回路(10c)(210c)は、前記圧縮機構(61)(261)の吐出側に接続される補助凝縮器(66)(266)を備えている、請求項1に記載の空気調和システム(1)(101)(201)(401)(601)。
  3. 空気熱交換器(322、332)(522、532)(722、732)を有しており、冷媒と空気との熱交換を行うことが可能な複数の第2の利用側冷媒回路(310a、310b)(510a、510b)(710a、710b)と、
    前記第2の利用側冷媒回路に接続されており、第2の圧縮機構(361)(561)(761)と熱源側熱交換器(363)(563)(763)とを有する第2の熱源側冷媒回路(310c)(510c)(710c)とを備え、
    前記空気熱交換器を通過した空気を屋内に供給することが可能である、
    請求項1又は2に記載の空気調和システム(101)(401)(601)。
  4. 前記空気熱交換器(722)(732)のガス側に接続され、前記空気熱交換器を冷媒の蒸発器として機能させる際の前記空気熱交換器における冷媒の蒸発圧力を制御する圧力調節機構(742)(752)を備えている、請求項3に記載の空気調和システム(610)。
  5. 屋内の空気の露点温度に基づいて、前記圧力調節機構(742)(752)によって、前記空気熱交換器(722)(732)を蒸発器として機能させる際の冷媒の蒸発圧力を制御する、請求項4に記載の空気調和システム(601)。
  6. 前記空気熱交換器(722)(732)における冷媒の圧力を検出する圧力検出機構(743、753)を備えており、
    屋内の空気の露点温度から目標蒸発圧力値(P3)を演算し、前記圧力調節機構によって、前記圧力検出機構によって検出された冷媒の蒸発圧力が前記目標蒸発圧力値以上となるように制御する、
    請求項5に記載の空気調和システム(601)。
  7. 前記空気熱交換器(722、732)における結露の有無を検出する結露検出機構(726、736)を備えており、
    前記結露検出機構において結露が検出された場合に、前記目標蒸発圧力値(P3)を変更する、
    請求項6に記載の空気調和システム(601)。
  8. 前記空気熱交換器(522、532)(722、732)における結露の有無を検出する結露検出機構(526、536)(726、736)を備えており、
    前記結露検出機構において結露が検出された場合に、前記第2の圧縮機構(561)(761)を停止する、
    請求項3〜6のいずれかに記載の空気調和システム(401)(601)。
  9. 前記空気熱交換器(522、532)(722、732)における結露の有無を検出する結露検出機構(526、536)(726、736)を備えており、
    前記第2の利用側冷媒回路(510a、510b)(710a、710b)は、前記空気熱交換器の液側に接続された利用側膨張弁(521、531)(721、731)を備えており、
    前記結露検出機構において結露が検出された場合に、前記利用側膨張弁を閉止する、
    請求項3〜6のいずれかに記載の空気調和システム(401)(601)。
JP2005173412A 2005-06-14 2005-06-14 空気調和システム Pending JP2005291700A (ja)

Priority Applications (1)

Application Number Priority Date Filing Date Title
JP2005173412A JP2005291700A (ja) 2005-06-14 2005-06-14 空気調和システム

Applications Claiming Priority (1)

Application Number Priority Date Filing Date Title
JP2005173412A JP2005291700A (ja) 2005-06-14 2005-06-14 空気調和システム

Related Parent Applications (1)

Application Number Title Priority Date Filing Date
JP2004105174A Division JP3709482B2 (ja) 2004-03-31 2004-03-31 空気調和システム

Publications (1)

Publication Number Publication Date
JP2005291700A true JP2005291700A (ja) 2005-10-20

Family

ID=35324815

Family Applications (1)

Application Number Title Priority Date Filing Date
JP2005173412A Pending JP2005291700A (ja) 2005-06-14 2005-06-14 空気調和システム

Country Status (1)

Country Link
JP (1) JP2005291700A (ja)

Cited By (7)

* Cited by examiner, † Cited by third party
Publication number Priority date Publication date Assignee Title
WO2009130885A1 (ja) * 2008-04-21 2009-10-29 ダイキン工業株式会社 調湿システム
JP2010085023A (ja) * 2008-09-30 2010-04-15 Daikin Ind Ltd 調湿システム
JP2010085030A (ja) * 2008-09-30 2010-04-15 Daikin Ind Ltd 調湿システム
JP2010085031A (ja) * 2008-09-30 2010-04-15 Daikin Ind Ltd 調湿システム
JP2010085028A (ja) * 2008-09-30 2010-04-15 Daikin Ind Ltd 調湿システム
EP2351969A4 (en) * 2008-09-10 2017-11-29 Daikin Industries, Ltd. Humidity control device
CN113375235A (zh) * 2021-07-06 2021-09-10 青岛腾远设计事务所有限公司 一种多管制多联机室外机

Cited By (11)

* Cited by examiner, † Cited by third party
Publication number Priority date Publication date Assignee Title
WO2009130885A1 (ja) * 2008-04-21 2009-10-29 ダイキン工業株式会社 調湿システム
JP2009264596A (ja) * 2008-04-21 2009-11-12 Daikin Ind Ltd 調湿システム
CN101981385A (zh) * 2008-04-21 2011-02-23 大金工业株式会社 调湿系统
CN101981385B (zh) * 2008-04-21 2013-07-10 大金工业株式会社 调湿系统
US8596551B2 (en) 2008-04-21 2013-12-03 Daikin Industries, Ltd. Humidity control system
EP2351969A4 (en) * 2008-09-10 2017-11-29 Daikin Industries, Ltd. Humidity control device
JP2010085023A (ja) * 2008-09-30 2010-04-15 Daikin Ind Ltd 調湿システム
JP2010085030A (ja) * 2008-09-30 2010-04-15 Daikin Ind Ltd 調湿システム
JP2010085031A (ja) * 2008-09-30 2010-04-15 Daikin Ind Ltd 調湿システム
JP2010085028A (ja) * 2008-09-30 2010-04-15 Daikin Ind Ltd 調湿システム
CN113375235A (zh) * 2021-07-06 2021-09-10 青岛腾远设计事务所有限公司 一种多管制多联机室外机

Similar Documents

Publication Publication Date Title
JP3709482B2 (ja) 空気調和システム
CN100445652C (zh) 空调系统
JP4993014B2 (ja) コントローラおよび空調処理システム
EP2741019B1 (en) Humidity controller and air conditioning system
JP5594030B2 (ja) コントローラ、調湿用制御部および空調処理システム
JP2005291700A (ja) 空気調和システム
JP4513380B2 (ja) 空気調和システム
JP4513382B2 (ja) 空気調和システム
JP2020012603A (ja) 空気調和システム
JP3742864B2 (ja) 空気調和システム
JP4258481B2 (ja) 空気調和システム
JP4513381B2 (ja) 空気調和システム
JP4311361B2 (ja) 空気調和システム
WO2021005657A1 (ja) 空気調和装置

Legal Events

Date Code Title Description
A521 Request for written amendment filed

Free format text: JAPANESE INTERMEDIATE CODE: A523

Effective date: 20050715

A621 Written request for application examination

Free format text: JAPANESE INTERMEDIATE CODE: A621

Effective date: 20050715

A977 Report on retrieval

Free format text: JAPANESE INTERMEDIATE CODE: A971007

Effective date: 20071221

A131 Notification of reasons for refusal

Free format text: JAPANESE INTERMEDIATE CODE: A131

Effective date: 20080108

A521 Request for written amendment filed

Free format text: JAPANESE INTERMEDIATE CODE: A523

Effective date: 20080307

A02 Decision of refusal

Free format text: JAPANESE INTERMEDIATE CODE: A02

Effective date: 20080902