JP2005290600A - 抄造成形体の製造方法 - Google Patents

抄造成形体の製造方法 Download PDF

Info

Publication number
JP2005290600A
JP2005290600A JP2004106238A JP2004106238A JP2005290600A JP 2005290600 A JP2005290600 A JP 2005290600A JP 2004106238 A JP2004106238 A JP 2004106238A JP 2004106238 A JP2004106238 A JP 2004106238A JP 2005290600 A JP2005290600 A JP 2005290600A
Authority
JP
Japan
Prior art keywords
papermaking
fiber
molding
mold
molded
Prior art date
Legal status (The legal status is an assumption and is not a legal conclusion. Google has not performed a legal analysis and makes no representation as to the accuracy of the status listed.)
Granted
Application number
JP2004106238A
Other languages
English (en)
Other versions
JP4439315B2 (ja
Inventor
Atsushi Sato
篤 佐藤
Masae Takagi
政栄 高城
Hiroshi Tomita
洋 富田
Current Assignee (The listed assignees may be inaccurate. Google has not performed a legal analysis and makes no representation or warranty as to the accuracy of the list.)
Kao Corp
Original Assignee
Kao Corp
Priority date (The priority date is an assumption and is not a legal conclusion. Google has not performed a legal analysis and makes no representation as to the accuracy of the date listed.)
Filing date
Publication date
Application filed by Kao Corp filed Critical Kao Corp
Priority to JP2004106238A priority Critical patent/JP4439315B2/ja
Publication of JP2005290600A publication Critical patent/JP2005290600A/ja
Application granted granted Critical
Publication of JP4439315B2 publication Critical patent/JP4439315B2/ja
Anticipated expiration legal-status Critical
Expired - Fee Related legal-status Critical Current

Links

Images

Landscapes

  • Paper (AREA)

Abstract

【課題】プレス成形時に成形型の成形面と接触して摩擦力が生じ易い表面形状を有する抄造成形体の製造に適する抄造成形体の製造方法を提供すること。
【解決手段】繊維材料を含む原料から、湿潤状態の繊維積層体2を抄造し、繊維積層体2を、該繊維積層体2の輪郭形状と相似の輪郭形状を有する成形面50を形成した弾性膜体5と成形型41との間に挟持して繊維積層体2を成形する。弾性膜体5の成形面50の前記輪郭形状の大きさを、湿潤状態の前記繊維積層体2の輪郭形状の大きさよりも小さくすることが好ましい。
【選択図】 図6

Description

本発明は、繊維材料を含む抄造成形体の製造方法に関する。
繊維材料を含む抄造成形体の製造方法には、前記繊維材料を含む原料スラリーから繊維積層体を抄造し、該繊維積層体をプレス型でプレス成形し、所望の抄造成形体を得る方法がある。
ところで、この方法では、繊維積層体をプレス成形する際に、例えば表面に凹凸部を有するような繊維積層体の場合は、当該繊維積層体が成形型の成形面と接触して摩擦が生じ易く、プレス成型時に当該表面部分が容易に破損し、所望の抄造成形体が得られない場合があった。特に薄肉で表面形状の精度が要求される抄造成形体を製造する際に、大きな問題であった。
一方、原料液から繊維等の原料成分を抄き取って抄造品を抄造した後、該抄造品をプレス成形して抄造製品とする従来技術として、例えば下記特許文献1に記載の技術が知られている。
この技術は、原料液から前記原料成分を所定形状のキャリアネットで抄き取って抄造製品を抄造し、前記キャリアネット上に抄造された前記抄造製品の上方に高伸展性の押さえシートを配し、前記キャリアネット側から前記抄造製品を介して前記押さえシートを真空吸引し、該キャリアネットで該抄造製品の表面仕上げを行ってから、プレス乾燥型で乾燥を行うものである。
ところで、この技術は、前記押さえシートの外周を把持した状態で当該押さえシートを真空吸引して伸展させているため、表面の凸部に、水平面部から略鉛直に立ち上がるか又は垂れ下がる面部を有する抄造製品の表面仕上げを行う場合には、特に当該抄造製品の角部の押圧が不足し、抄造製品が形状不良となり易い欠点がある。
特許第3005824号公報
本発明は、上述の課題に鑑みてなされたものであり、特にプレス成形時に成形型の成形面と接触して摩擦力が生じ易い表面形状を有する抄造成形体の製造に適する抄造成形体の製造方法を提供することを目的とする。
本発明は、繊維材料を含む原料から、湿潤状態の繊維積層体を抄造し、前記繊維積層体を、前記湿潤の繊維積層体の輪郭形状と略同一又は相似の輪郭形状を有する成形面を形成した弾性膜体と成形型との間に挟持して該繊維積層体を成形する抄造成形体の製造方法を提供することにより、前記目的を達成したものである。
本発明の抄造成形体の製造方法によれば、特に表面に凸部を有する抄造成形体において、所望の形状の角部が得られ、当該角部の破損等が生じにくい抄造成形体を製造することができる。
以下本発明を、その好ましい実施形態に基づいて図面を参照しながら説明する。
本実施形態の抄造成形体の製造方法は、まず、繊維材料を含む原料から湿潤状態の繊維積層体を抄造する。
前記原料に含まれる繊維材料としては、有機繊維、無機繊維等が挙げられる。
前記有機繊維としては、パルプ繊維、合成繊維等が挙げられる。有機繊維は、これらを単独で又は二種以上を選択して用いることができる。抄造によって多様な形態に成形ができ、脱水後と乾燥後も成形体としての強度を確保できること等を考慮すると、パルプ繊維が好ましい。
前記パルプ繊維としては、木材パルプ、コットンパルプ、リンターパルプ、竹やわらその他の非木材パルプが挙げられる。パルプ繊維は、これらのバージンパルプ若しくは古紙パルプを単独で又は二種以上を選択して用いることができる。パルプ繊維は、入手の容易性、環境保護、製造費用の低減等の点から、特に古紙パルプが好ましい。
前記有機繊維は、得られる抄造成形体表面の凸部の成形性、耐衝撃性等を考慮すると、平均繊維長は0.3〜2.0mm、特に0.5〜1.5mmが好ましい。
前記無機繊維は、前記有機繊維100重量部に対し、5〜200重量部、特に10〜100重量部配合することが好ましい。無機繊維を斯かる範囲で配合することで、抄造体に耐熱性が付与され、例えば当該抄造体を鋳物製造用部品として使用した場合、鋳物製造時のガスの発生量を低減させることができる。
前記無機繊維としては、炭素繊維、ロックウール等の人造鉱物繊維、セラミック繊維、天然鉱物繊維等が挙げられる。無機繊維は、単独で又は二以上を選択して用いることができる。
前記無機繊維は、得られる抄造成形体の成形性、脱水性等を考慮すると、平均繊維長は0.2〜10mm、特に0.5〜8mmが好ましい。
前記原料には、前記繊維材料以外に、無機粒子、熱硬化性樹脂等を固形成分として含ませることができる。
前記原料の液体成分としては、水、白水、低級アルコール又はこれらの組み合わせ等が挙げられるが、環境対応、コスト、取扱い容易性等の面から水が好ましい。前記液体成分には、凝集剤、分散剤、サイズ剤等を添加剤として含ませることができる。
前記原料における前記固形成分濃度は、抄紙効率(より均一な繊維積層体をなるべく短時間で形成すること)を考慮すると0.5〜5.0重量%が好ましい。
次に、繊維積層体に用いる抄造型について説明する。
図1(a)及び(b)に示すように、前記繊維積層体の抄造に用いる抄造型1は、型本体10と、型本体10の抄造面100に配された抄造ネット11とを備えている。抄造面100は、基面部100aから半円柱状に突出する凸部100bを有している。凸部100bの長さ方向の中間部には、さらに径が太くなった凸部100cが所定間隔をおいて2つ形成されている。凸部100b、100cの長さ方向の端面は、基面部100aから略鉛直に起立している。型本体10には、流体の流通路101が接続されている。型本体10の内部には、一端が抄造面100で開口し、他端が流通路101に通ずる流通路102が多数設けられている。流通路101の他端部は吸引ポンプ及び流体供給源に切り替え弁(いずれも図示せず。)を介して接続されている。
前記抄造ネット11には、従来からこの種の抄造成形体の製造に用いられている公知のものを使用することができる。
次に、前記原料及び抄造型1を用いた繊維積層体の抄造工程について説明する。
図2(a)に示すように、前記抄造型1の上面に、図1(a)の抄造面100を囲むように枠体103を配し、枠体103の上方の原料供給管104から前記原料を所定量注入する。そして、前記流通路101、102を通して前記原料を前記吸引ポンプで吸引して液体成分を排出するとともに、前記繊維材料を含む固形成分を前記抄造ネット11の表面に堆積させる。次に、図2(b)のように、液体成分の吸引による排出が完了し、抄造ネット11の表面に繊維積層体2が形成されたら、枠体103は退避させる。抄造された湿潤状態の繊維積層体2は、前記抄造面100の凸部100b、100cに対応し、基面部2aから突出する凸部2b、2cを有する(図6(a)参照)。繊維積層体2は、その凸部2b、2cの輪郭形状が、後述する弾性膜体5の成形面50の凹部50b、50c(図4参照)の輪郭形状よりも大きくなるように抄造される。
次に、前記抄造型1から前記繊維積層体2を脱型して後述する成形型4(図3参照)に移行する。
前記繊維積層体2の脱型方法に特に制限はないが、繊維積層体2の破損防止、ハンドリングの容易性等を考慮すると、図2(c)に示すように、抄造型1の抄造面100に対応した表面形状の当接面30に多数の吸引口31を有する吸引型3で、当該繊維積層体2を吸引することによって行うことが好ましい。この際、前記抄造型1の流通路101を通して前記流体供給源から圧縮空気等の流体を供給し、抄造ネット11からの繊維積層体2の離脱を補助することがより好ましい。
次に、繊維積層体2のプレス成形に用いる成形型について説明する。
図3(a)及び(b)に示すように、成形型4は、雄型40及び雌型41を備えたいわゆるプレス型である。雄型40及び雌型41の成形面(繊維積層体2と当接する面)400、410の形状は、製造する抄造成形体(図8参照)の表面形状と同一形状に設計されている。雄型40及び雌型41は、それらを組み合わせたときに繊維積層体2が収まる所定のクリアランス42が形成されるように設計されている。成形型4は、脱液型及び乾燥型を兼ねている。雄型40及び雌型41には、前記抄造型1と同様に、それぞれ流体の流通路401、411が接続されている。また、雄型40及び雌型41の内部には、一端が成形面400、410で多数開口し、他端が流通路401、411に通ずる流通路402、412が設けられている。流通路401、411の他端部は吸引ポンプ及び流体供給源に切り替え弁(いずれも図示せず。)を介して接続されている。また、雄型40及び雌型41の内部には加熱用のヒーター(図示せず)が配されている。成形型4の材質は、加工し易く軽量である点からアルミニウム又はその合金等の金属製が好ましい。
成形型4の雄型40及び雌型41で繊維積層体2をプレス成形するに先立って、図4に示すような弾性膜体5と、前記成形型4の一方(本実施形態では雄型40)によって繊維積層体2を挟持して抄造成形体を成形する。
図4に示す弾性膜体5の成形面50の輪郭形状及び寸法は、製造する抄造成形体の表面形状と同一寸法形状に設計されている。また、弾性膜体5は、その成形面50に前記繊維積層体2の凸部2b、2cを収容する凹部50b、50cを有しており、これらの凹部50b、50cの輪郭形状の大きさは、抄造された前記繊維積層体2の凸部2b、2cの輪郭形状の大きさよりも小さく設定されている。弾性膜体5は、チャンバー51の下側に気密に取り付けられている。チャンバー51には流通路52が接続されている。そして、この流通路52を通してチャンバー51内を吸引して負圧にしたり、チャンバー51内に流体を供給して加圧したりすることで、後述のように弾性膜体5を弾性変形させる。
このような成形面を有する弾性膜体5は、例えば、図5(a)〜(c)に示すように、製造する抄造成形体の最終的な形状を備えた通気性のモデル成形体60及び弾性シート53を用いて作製することができる。
まず、図5(a)に示すように、モデル成形体60を配した真空成形型6の上方に配する。このとき弾性シート53はその外縁部をフレーム54で挟持しておく。そして、弾性シート53をその上方からヒーター61で加熱して軟化させる。
次に、図5(b)に示すように、フレーム54又は真空成形型6を相対移動させ、弾性シート53でモデル成形型60を覆うとともに、弾性シート53の外縁部分を真空成形型6の外縁部に当接させる。
次に、前記真空成形型6の吸気路62、63を通して吸引を行い、モデル成形体60の外表面に弾性シート53を密着させて外郭形状を弾性シート53に転写し、弾性シート53を塑性変形させてその外郭形状を弾性シート53に賦形し、成形面50を形成する。そして、外郭形状が賦形された弾性シート53の外縁部をトリミングし、弾性膜体5の作製を完了する。モデル成形体60は、通気性を有していればその材質に特に制限はないが、コスト、成形性、種々の形状の成形体を容易に製造できること等を考慮すると、湿式抄造成形体を用いることが好ましい。
前記弾性シート53の材質としては、ウレタンゴム、シリコーンゴム、天然ゴム等が挙げられる。
弾性膜体5は、上述のように、真空成形によって作製することもできるし、圧空成形によって作製することもできる。また、積層コーティング、射出成形等によって作製することもできる。
前記弾性膜体5を上述のように弾性シート53を真空成形や圧空成形によって作製する場合には、当該弾性シート53の厚み(塑性変形前の厚み)は、当該弾性シート53への外郭形状の賦形のし易さ、耐久性、繊維積層体2の押圧のし易さ、コスト面等を考慮すると、0.3〜2.0mm、特に0.5〜1.0mmが好ましい。また、前記弾性シート53の厚みの均一性(塑性変形前)は、加熱時の伸びの均一性等を考慮すると、その厚みむらは±10%以下とするのがよい。
次に、弾性膜体5及び前記成形型4の雄型40を用いて維積層体2を所望の抄造成形体に成形する工程について更に詳しく説明する。
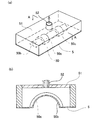
まず、図6(a)に示すように、前記繊維積層体2を雄型40の成形面400上に配する。そして、図6(b)に示すように、チャンバー51に取り付けられた弾性体膜5を繊維積層体2上に配するが、配する前に、チャンバー51に接続された流通路52を通してチャンバー51内を吸引し、その際に生じる負圧によって、弾性膜体5を弾性変形させて成形面50の輪郭形状を吸引前よりも大きくする。この状態で、図6(c)のように雄型40とチャンバー51を合体させると、弾性膜体5の成形面50の前記凹部50b、50c内に繊維積層体2の前記凸部2b、2cが収納され、繊維積層体2の凸部2b、2cの表面が被覆された状態で弾性膜体5が繊維積層体2上に配される。その後、前記流通路52を通した吸引を停止して前述の負圧を解除すると、弾性膜体5の成形面50が負圧前の大きさに戻るように弾性変形する。そして、この戻りの力によって、繊維積層体2の凸部2b、2cが弾性体膜5の成形面50の凹部50b、50cで締めつけられるように包まれる。この締めつけ力によって、成形後の繊維積層体2の凸部2b、2cの立ち上がり部分や角の部分の形状がシャープになり、立ち上がり部分や角の部分の強度が向上する。この弾性膜体5による成形は、加熱せずに行っても良いが、成形後の繊維積層体2の損傷を抑えるとともに、その後の乾燥効率を高める観点からは雄型40の前記ヒーターで加熱して行ってもよい。
次に、前記流通路52を通して流体を供給し、前記弾性膜体5で前記繊維積層体2を押圧して、繊維積層体中2の水分を除去する。この際、雄型40の前記流通路401、402を通して繊維積層体2を吸引し、水分の排出を促進することが好ましい。
前記弾性膜体5による前記繊維積層体2の押圧力は、水分の除去効率とコスト等を考慮すると、0.2〜0.6MPa、特に0.4〜0.5MPaが好ましい。前記流体としては、空気、不活性ガス等の気体、油、水等の液体等が挙げられるが、取り扱い性、コスト面等を考慮すると、空気が好ましい。
前記弾性膜体5によって繊維積層体2を押圧する際の前記繊維積層体2の液体成分含有率は、繊維積層体としての形状保持性、押圧効果等を考慮すると、55〜95重量%、特に60〜80重量%が好ましい。
前記弾性膜体5による押圧を所定時間行った後、前記流体の供給を停止するとともに、前記チャンバー51内から該流体を排出する。そして、流通路52を通してチャンバー51内を再度吸引し、前記弾性膜体5の成形面50の輪郭形状を再び大きくし、該成形面50による繊維積層体2の凸部の前述の締めつけ力を解除した後、図7(a)に示すように、前記チャンバー51及び前記弾性膜体5を退避させてこれらを前記繊維積層体2から分離する。
次に、前記繊維積層体2を図7(b)に示すように、雄型(一方の成形型)40と雌型41(他方の成形型)で挟みつけ、前記ヒーターで雄型40及び雌型41を加熱するとともに、前記流通路401、402、411、412(図3(b)参照)を通して繊維積層体2の液体成分を吸引して排出し、前記繊維積層体2を乾燥成形する。
乾燥成形時の前記成形型4の押圧力は、乾燥効率、成形精度等を考慮すると、0.3〜10MPa、特に〜0.5〜8MPaが好ましい。
前記繊維積層体2の乾燥温度(成形型の温度)は、繊維積層体2に応じて任意に設定可能であるが、繊維積層体の熱による損傷防止、乾燥後の繊維積層体の離型性等を考慮すると、120〜220℃、特に140〜170℃が好ましい。
前記繊維積層体2の乾燥後の液体成分含有率は、製造される抄造成型品に応じて任意に設定可能であるが、繊維積層体2に応じて任意に設定可能であるが、乾燥工程の短縮、すなわちコスト等を考慮すると、3〜20重量%、特に5〜10重量%とすることが好ましい。
乾燥成形終了後、図7(c)に示すように、雌型41を引き上げる。そして、繊維積層体2を雄型40から離型し、必要に応じて、不要部分の除去を施して、抄造成形体の製造を完了する。
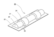
図8は、このようにして得られた抄造成形体を示すものであり、得られた抄造成形体20は、前記成形型4の成形面の凸部の形状が精度よく転写され、特に、周面部21や平面部22から略直角に屈曲する面部23、24及びそれらにより形成される角部(稜)25の転写性も良好である。また、角部の形状がシャープに出て、角部の強度が向上するため、角部に損傷が発生しにくい。
本実施形態により製造される抄造成形体の厚みは、任意に設定可能であるが、抄造成形体の強度、材料コスト等を考慮すると、0.5〜3.0mm、特に1.0〜1.5mmが好ましい。
本実施形態により製造される抄造成形体の密度は、任意に設定可能であるが、抄造成形体の強度、成形性等を考慮すると、0.3〜1.0g/cm3、特に0.5〜0.8g/cm3が好ましい。
抄造成形体の表面粗さ(Ra)は、平滑な表面が要求される場合は、20μ以下、特に5〜10μm、更には、3〜5μmが好ましい。ここで、Raは、市販の表面粗さ測定機により測定される。
このようにして得られた抄造成形体には、必要に応じ、塗装、印刷、ラベリング、樹脂フィルムのラミネート等を施すことができる。
本発明は、前記実施形態に制限されるものではなく、本発明の趣旨を逸脱しない範囲において、適宜変更することができる。
製造する抄造成形体の形態は、前記実施形態に制限されるものではなく、任意に設定することができる。例えば、抄造面に半円柱状の凸部(図1(a)の抄造面100に形成された2つの凸部100cをなくした形状の)とすることもできる。この場合にも、弾性膜体の成形面の凹部の輪郭形状の大きさを、抄造する繊維積層体の凸部の輪郭形状の大きさ(抄造型の抄造面の凸部の輪郭形状の大きさ)よりも若干小さく設計し、前記実施形態と同様にして成形することで、強度が向上した抄造成形体を得ることができる。
また、成形型の成形面における、抄造成形体の凸部又は凹部を成形するための面(成形面の基面部から立ち上がるか又は垂れ下がる面(縦壁))は、基面部に対して略垂直でもよいが、これに限定されず、テーパー(先細り)、逆テーパー(先太り)のような傾斜した面であってもよい。
また、前記実施形態では、繊維積層体を、凸部を有する形態に抄造し、弾性膜体を、該凸部を収容する凹部を有する形態としたが、逆に繊維積層体を、凹部を有する形態に抄造し、該凹部に収容される凸部を有する弾性膜体を用いて抄造成形体を製造することもできる。この場合は、弾性膜体の凸部の大きさを繊維積層体の凹部の大きさよりも小さくして、該凸部が該凹部に挿入され易くするのが好ましい。繊維積層体は雌型にセットし、弾性膜体は、前述と同様にチャンンバーに取り付けて、該雌型と該チャンバーを合体させて、前記凸部が前記凹部に収容された状態とし、チャンバー内に気体(通常は空気)を送り込んで弾性膜体を変形させると、前記凸部が大きくなって、これが前記凹部の表面を押圧するので、凹部の角部の強度が向上するとともに、角部の形状がシャープに出る。
以下、本発明をさらに具体的に説明する。
下記実施例1及び比較例1のようにして、下記寸法形状を有する抄造成形体を製造した。得られた抄造成形体の外観と成形性を下記のようにして評価した。
〔実施例1〕
<抄造成形体>
寸法形状:全幅55mm、長さ550mm、最高高さ30mm(凸部に対応する)、凸部の角度は略鉛直(約88°)。
下記原料から図8に示すような形態の抄造成形体を作製した。
<原料>
固形成分配合:パルプ繊維:シリカを主体とする無機繊維=1:3(重量比)。
液体成分:水
固形成分含有率%:2.5〜3.5重量%
<抄造条件>
抄造型本体の材質:アルミニウム合金
抄造型本体の抄造面の形状:前記抄造成形体の内表面と略同形状
抄造ネット:線径0.019mm、目開き40〜60メッシュ、材質はステンレス。
<弾性膜体による成形条件>
弾性膜体の材質:ウレタンゴム、平均膜厚は0.5mm。
成形型(雄型)材質:アルミニウム合金
成形型(雄型)成形面の形状:前記抄造成形体の外表面と略同形状
弾性膜体による押圧力:0.5MPa
<乾燥成形条件>
成形型(雌型)材質:アルミニウム合金
成形型(雌型)成形面形状:前記抄造成形体の内表面と略同形状
乾燥温度(金型温度):150℃
乾燥成形時の型間押圧力:0.6MPa
<抄造成形体の評価方法>
得られた抄造成形体の凸部の角部(角度は88°)に引き裂かれたような傷がないかどうかを目視により確認することによって評価した。
弾性膜体を用いずに、実施例1と同様の成形型を用いて下記脱水条件で脱水し、続けて実施例1と同様にして乾燥成形を行った以外は、実施例1と同様にして抄造成形体を作製した。
実施例1により得られた抄造成形体(本発明品)には、引き裂かれたような傷は認められず、表面の凸部の形状転写性に優れていた。これに対し、比較例1により得られた抄造成形体は、凸部の角部に引き裂かれたような傷が認められた。
本発明の抄造成形体の用途に特に制限はないが、例えば、各種用途に用いられる抄造容器、鋳型、ランナー等の鋳物製造用抄造品、特に、鉛直に近い壁面を有する容器、道具、部品等の各種の抄造成形体の製造に好適である。
本発明の抄造成形体の製造方法の一実施形態において用いられる抄造型を模式的に示す図であり、(a)は一部を破断視した斜視図、(b)は(a)のA−A断面図である。 本発明の抄造成形体の製造方法の一実施形態における抄造工程を模式的に示す断面図であり、(a)は原料の吸引抄造工程を示す図、(b)は枠体を退避させている状態を示す図、(c)は、繊維積層体を抄造型から脱型している状態を示す図である。 本発明の抄造成形体の製造方法の一実施形態において用いられる成形型を模式的に示す図であり、(a)は斜視図、(b)は成形型を突き合わせた状態の断面図である。 本発明の抄造成形体の製造方法の一実施形態において用いられる弾性膜体及び弾性膜体をチャンバーに取り付けた状態で模式的に示す図であり、(a)は斜視図、(b)は(a)のA−A断面図である。 弾性膜体の作製工程を模式的に示す断面図であり、(a)は弾性シート、真空成形型及びヒーターの配置状態を示す図、(b)は、真空成形型のモデル成形体を軟化させた弾性シートで被覆している図、(c)は真空成形により弾性シートにモデル成形体の表面形状を賦形している状態を示す図である。 本発明の抄造成形体の製造方法の一実施形態における、弾性膜体と成形型による繊維積層体への凹凸形状の賦形工程を示す斜視図であり、(a)は成形型に繊維積層体を配している状態を示す図、(b)は弾性膜体を繊維積層体上に弾性膜体を配している状態を示す図、(c)は弾性膜体及び成形型で繊維積層体を挟持した状態を示す図である。 本発明の抄造成形体の製造方法の一実施形態における、製造工程を模式的に示す斜視図であり、(a)は流体によって弾性膜体を加圧する状態を示す図であり、(b)は弾性膜体による繊維積層体への賦形を終えた状態を示す図であり、(c)は成形型によって繊維積層体を乾燥成形している状態を示す図である。 本発明の抄造成形体の製造方法の一実施形態により得られた抄造成形体を模式的に示す斜視図である。
符号の説明
1 抄造型
2 繊維積層体
2a 基面部
2b、2c 凸部
20 抄造成形体
3 吸引型
4 成形型
40 雄型
41 雌型
5 弾性膜体
50 成形面
50b、50c 凹部
51 チャンバー
53 弾性シート
6真空成形型

Claims (5)

  1. 繊維材料を含む原料から、湿潤状態の繊維積層体を抄造し、前記繊維積層体を、前記湿潤状態の繊維積層体の輪郭形状と略同一又は相似の輪郭形状を有する成形面を形成した弾性膜体と成形型との間に挟持して該繊維積層体を成形する抄造成形体の製造方法。
  2. 前記弾性膜体の前記成形面の前記輪郭形状の大きさを、湿潤状態の前記繊維積層体の輪郭形状の大きさよりも小さくする請求項1記載の抄造成形体の製造方法。
  3. 前記弾性膜体の前記成形面の輪郭形状が、製造する抄造成形体の表面形状と略同一形状である請求項1又は2記載の抄造成形体の製造方法。
  4. 前記弾性膜体を流体で加圧して前記繊維積層体を挟持する請求項1〜3の何れかに記載の抄造成形体の製造方法。
  5. 前記弾性膜体が弾性シートに前記輪郭形状の前記成形面を形成したものである請求項1〜4の何れかに記載の抄造成形体の製造方法。

JP2004106238A 2004-03-31 2004-03-31 抄造成形体の製造方法 Expired - Fee Related JP4439315B2 (ja)

Priority Applications (1)

Application Number Priority Date Filing Date Title
JP2004106238A JP4439315B2 (ja) 2004-03-31 2004-03-31 抄造成形体の製造方法

Applications Claiming Priority (1)

Application Number Priority Date Filing Date Title
JP2004106238A JP4439315B2 (ja) 2004-03-31 2004-03-31 抄造成形体の製造方法

Publications (2)

Publication Number Publication Date
JP2005290600A true JP2005290600A (ja) 2005-10-20
JP4439315B2 JP4439315B2 (ja) 2010-03-24

Family

ID=35323853

Family Applications (1)

Application Number Title Priority Date Filing Date
JP2004106238A Expired - Fee Related JP4439315B2 (ja) 2004-03-31 2004-03-31 抄造成形体の製造方法

Country Status (1)

Country Link
JP (1) JP4439315B2 (ja)

Cited By (7)

* Cited by examiner, † Cited by third party
Publication number Priority date Publication date Assignee Title
WO2006040976A1 (ja) * 2004-10-12 2006-04-20 Kao Corporation 繊維成形体の製造方法及び装置、繊維成形中間体並びに繊維成形体
JP2007175770A (ja) * 2005-11-30 2007-07-12 Kao Corp 鋳物製造用部品及びその製造方法
JP2007175771A (ja) * 2005-11-30 2007-07-12 Kao Corp 鋳物製造用部品及びその製造方法
WO2008026679A1 (fr) 2006-08-31 2008-03-06 Kao Corporation Moule de fabrication de papier et moulage de papier
JP2008081917A (ja) * 2006-08-31 2008-04-10 Kao Corp 抄造型及び抄造成形体
JP2009018339A (ja) * 2007-07-13 2009-01-29 Kao Corp 鋳型及び複合鋳型
EP1958717A4 (en) * 2005-11-30 2011-04-13 Kao Corp COMPONENT FOR THE PRODUCTION OF CAST PARTS AND METHOD FOR MANUFACTURING THE SAME

Cited By (8)

* Cited by examiner, † Cited by third party
Publication number Priority date Publication date Assignee Title
WO2006040976A1 (ja) * 2004-10-12 2006-04-20 Kao Corporation 繊維成形体の製造方法及び装置、繊維成形中間体並びに繊維成形体
JP2007175770A (ja) * 2005-11-30 2007-07-12 Kao Corp 鋳物製造用部品及びその製造方法
JP2007175771A (ja) * 2005-11-30 2007-07-12 Kao Corp 鋳物製造用部品及びその製造方法
EP1958717A4 (en) * 2005-11-30 2011-04-13 Kao Corp COMPONENT FOR THE PRODUCTION OF CAST PARTS AND METHOD FOR MANUFACTURING THE SAME
WO2008026679A1 (fr) 2006-08-31 2008-03-06 Kao Corporation Moule de fabrication de papier et moulage de papier
JP2008081917A (ja) * 2006-08-31 2008-04-10 Kao Corp 抄造型及び抄造成形体
EP2058063A4 (en) * 2006-08-31 2010-11-03 Kao Corp MOLD FOR MANUFACTURING PAPER AND MOLDING PAPER
JP2009018339A (ja) * 2007-07-13 2009-01-29 Kao Corp 鋳型及び複合鋳型

Also Published As

Publication number Publication date
JP4439315B2 (ja) 2010-03-24

Similar Documents

Publication Publication Date Title
EP1029978A3 (en) Process for producing a molded pulp article
WO2000058556A1 (en) Paper making mold for pulp mold molding production and method and device for producing pulp mold molding
JP4039908B2 (ja) パルプモールド断熱容器、その製造方法及び装置
WO2000044986A1 (en) Method of manufacturing pulp mold formed body
EP3331694B1 (en) Large lightweight molded material and method for its manufacture
JP4439315B2 (ja) 抄造成形体の製造方法
WO2023013642A1 (ja) パルプモールド成形品及びその製造方法
CN114585780B (zh) 环保可降解纤维材料制成的成型件的制造方法
TWI478801B (zh) 成形同時加飾纖維成形品及其製造方法
TWM538917U (zh) 紙塑蓋體及其成形裝置
JP2023063409A (ja) パルプモールド成形品及びその製造方法
CN100564672C (zh) 纤维成形体的制造方法及装置、纤维成形中间体和纤维成形体
JP3126714B2 (ja) パルプモールド成形体
JP7248176B2 (ja) パルプモールド成形品及びその製造方法
CN112626929B (zh) 一种吸浆均匀的纸浆模塑吸浆模具及用途
CN101410203A (zh) 抄浆模以及抄浆成型体
CN116601082A (zh) 纸浆模塑成形品及其制造方法
JP7248175B2 (ja) パルプモールド成形品及びその製造方法
JP3294601B2 (ja) 成形体
JP3872430B2 (ja) 成形品の製造方法
JP3519210B2 (ja) パルプ繊維成形体のアフタプレス用成形型
CN115450072A (zh) 吸浆成型模具组件
JP2002088698A (ja) パルプモールド成形体の乾燥型
JP3144551B2 (ja) パルプモールド成形体の製造方法
GB2301790A (en) Apparatus and method for pulp-moulding articles

Legal Events

Date Code Title Description
A621 Written request for application examination

Free format text: JAPANESE INTERMEDIATE CODE: A621

Effective date: 20070313

A977 Report on retrieval

Free format text: JAPANESE INTERMEDIATE CODE: A971007

Effective date: 20090925

A131 Notification of reasons for refusal

Effective date: 20090929

Free format text: JAPANESE INTERMEDIATE CODE: A131

A521 Written amendment

Effective date: 20091127

Free format text: JAPANESE INTERMEDIATE CODE: A523

TRDD Decision of grant or rejection written
A01 Written decision to grant a patent or to grant a registration (utility model)

Free format text: JAPANESE INTERMEDIATE CODE: A01

Effective date: 20100105

A01 Written decision to grant a patent or to grant a registration (utility model)

Free format text: JAPANESE INTERMEDIATE CODE: A01

A61 First payment of annual fees (during grant procedure)

Effective date: 20100105

Free format text: JAPANESE INTERMEDIATE CODE: A61

FPAY Renewal fee payment (prs date is renewal date of database)

Year of fee payment: 3

Free format text: PAYMENT UNTIL: 20130115

FPAY Renewal fee payment (prs date is renewal date of database)

Free format text: PAYMENT UNTIL: 20130115

Year of fee payment: 3

FPAY Renewal fee payment (prs date is renewal date of database)

Year of fee payment: 3

Free format text: PAYMENT UNTIL: 20130115

FPAY Renewal fee payment (prs date is renewal date of database)

Free format text: PAYMENT UNTIL: 20140115

Year of fee payment: 4

LAPS Cancellation because of no payment of annual fees