JP2005290311A - 粘着シート - Google Patents
粘着シート Download PDFInfo
- Publication number
- JP2005290311A JP2005290311A JP2004110840A JP2004110840A JP2005290311A JP 2005290311 A JP2005290311 A JP 2005290311A JP 2004110840 A JP2004110840 A JP 2004110840A JP 2004110840 A JP2004110840 A JP 2004110840A JP 2005290311 A JP2005290311 A JP 2005290311A
- Authority
- JP
- Japan
- Prior art keywords
- pressure
- biodegradable
- sensitive adhesive
- adhesive layer
- adhesive sheet
- Prior art date
- Legal status (The legal status is an assumption and is not a legal conclusion. Google has not performed a legal analysis and makes no representation as to the accuracy of the status listed.)
- Pending
Links
- 239000000853 adhesive Substances 0.000 title abstract description 14
- 230000001070 adhesive effect Effects 0.000 title abstract description 14
- 239000004820 Pressure-sensitive adhesive Substances 0.000 claims description 24
- 239000010410 layer Substances 0.000 claims description 12
- 238000010030 laminating Methods 0.000 claims 1
- 239000012790 adhesive layer Substances 0.000 abstract description 18
- 238000000354 decomposition reaction Methods 0.000 description 9
- 239000002689 soil Substances 0.000 description 6
- 238000004049 embossing Methods 0.000 description 5
- 238000000034 method Methods 0.000 description 4
- 230000003746 surface roughness Effects 0.000 description 4
- JOYRKODLDBILNP-UHFFFAOYSA-N Ethyl urethane Chemical compound CCOC(N)=O JOYRKODLDBILNP-UHFFFAOYSA-N 0.000 description 3
- 229920000704 biodegradable plastic Polymers 0.000 description 3
- 238000006065 biodegradation reaction Methods 0.000 description 3
- XLYOFNOQVPJJNP-UHFFFAOYSA-N water Substances O XLYOFNOQVPJJNP-UHFFFAOYSA-N 0.000 description 3
- 241000894006 Bacteria Species 0.000 description 2
- CURLTUGMZLYLDI-UHFFFAOYSA-N Carbon dioxide Chemical compound O=C=O CURLTUGMZLYLDI-UHFFFAOYSA-N 0.000 description 2
- QVGXLLKOCUKJST-UHFFFAOYSA-N atomic oxygen Chemical compound [O] QVGXLLKOCUKJST-UHFFFAOYSA-N 0.000 description 2
- 230000000052 comparative effect Effects 0.000 description 2
- 230000000694 effects Effects 0.000 description 2
- 239000001301 oxygen Substances 0.000 description 2
- 229910052760 oxygen Inorganic materials 0.000 description 2
- HGUFODBRKLSHSI-UHFFFAOYSA-N 2,3,7,8-tetrachloro-dibenzo-p-dioxin Chemical compound O1C2=CC(Cl)=C(Cl)C=C2OC2=C1C=C(Cl)C(Cl)=C2 HGUFODBRKLSHSI-UHFFFAOYSA-N 0.000 description 1
- KZBUYRJDOAKODT-UHFFFAOYSA-N Chlorine Chemical compound ClCl KZBUYRJDOAKODT-UHFFFAOYSA-N 0.000 description 1
- VEXZGXHMUGYJMC-UHFFFAOYSA-N Hydrochloric acid Chemical compound Cl VEXZGXHMUGYJMC-UHFFFAOYSA-N 0.000 description 1
- BZHJMEDXRYGGRV-UHFFFAOYSA-N Vinyl chloride Chemical compound ClC=C BZHJMEDXRYGGRV-UHFFFAOYSA-N 0.000 description 1
- 238000003916 acid precipitation Methods 0.000 description 1
- 239000002313 adhesive film Substances 0.000 description 1
- 229920003232 aliphatic polyester Polymers 0.000 description 1
- 229910002092 carbon dioxide Inorganic materials 0.000 description 1
- 239000001569 carbon dioxide Substances 0.000 description 1
- 239000003795 chemical substances by application Substances 0.000 description 1
- 239000004927 clay Substances 0.000 description 1
- 239000002361 compost Substances 0.000 description 1
- 238000011109 contamination Methods 0.000 description 1
- 230000006378 damage Effects 0.000 description 1
- 235000014113 dietary fatty acids Nutrition 0.000 description 1
- 230000007613 environmental effect Effects 0.000 description 1
- 229930195729 fatty acid Natural products 0.000 description 1
- 239000000194 fatty acid Substances 0.000 description 1
- 150000004665 fatty acids Chemical class 0.000 description 1
- 239000007789 gas Substances 0.000 description 1
- 229910000041 hydrogen chloride Inorganic materials 0.000 description 1
- IXCSERBJSXMMFS-UHFFFAOYSA-N hydrogen chloride Substances Cl.Cl IXCSERBJSXMMFS-UHFFFAOYSA-N 0.000 description 1
- 238000004519 manufacturing process Methods 0.000 description 1
- 239000000463 material Substances 0.000 description 1
- 238000005259 measurement Methods 0.000 description 1
- 244000005700 microbiome Species 0.000 description 1
- 229920003023 plastic Polymers 0.000 description 1
- 239000004033 plastic Substances 0.000 description 1
- 239000002985 plastic film Substances 0.000 description 1
- 229920006255 plastic film Polymers 0.000 description 1
- 229920000747 poly(lactic acid) Polymers 0.000 description 1
- 229920001610 polycaprolactone Polymers 0.000 description 1
- 239000004632 polycaprolactone Substances 0.000 description 1
- 229920000728 polyester Polymers 0.000 description 1
- 239000004626 polylactic acid Substances 0.000 description 1
- 229920006381 polylactic acid film Polymers 0.000 description 1
- 229920001296 polysiloxane Polymers 0.000 description 1
- 238000010792 warming Methods 0.000 description 1
Images
Landscapes
- Adhesive Tapes (AREA)
- Adhesives Or Adhesive Processes (AREA)
Abstract
【課題】 短時間で生分解することができ、環境を保護することができる粘着シートを提供する。
【解決手段】 生分解性フィルム1と、生分解性粘着層2と、剥離シート3が順次積層している。生分解性粘着層2の剥離シート3側の面4に、多数の微小凸部5が形成されている。微小凸部5の高さhは、粘着層2の厚さHの20%以上80%以下に設定されている。
【選択図】 図1
【解決手段】 生分解性フィルム1と、生分解性粘着層2と、剥離シート3が順次積層している。生分解性粘着層2の剥離シート3側の面4に、多数の微小凸部5が形成されている。微小凸部5の高さhは、粘着層2の厚さHの20%以上80%以下に設定されている。
【選択図】 図1
Description
本発明は、粘着シートに関する。
表面シートに一般的なプラスチックフィルムを用いた粘着シートは広く用いられている(例えば、特許文献1参照)。この種の粘着シートは、使用後、焼却もしくは土中に廃棄するなどして処理されている。
しかし、これらの処理には、次のような問題がある。
(1) 焼却した場合、焼却に要するエネルギーが大きく、また焼却時に発生する二酸化炭素が地球温暖化の原因となりうる。
(2) 表面シートが塩化ビニルの物を焼却した場合、その際に発生する塩化水素ガス、塩素ガスがダイオキシンの発生、酸性雨破壊の原因となる。
(3) 土中に廃棄した場合、プラスチック材料が土中において長期間安定に存在するので、土壌汚染の原因となる。また、土中の生態系を破壊することにもなる。
特開平6−278238号公報
しかし、これらの処理には、次のような問題がある。
(1) 焼却した場合、焼却に要するエネルギーが大きく、また焼却時に発生する二酸化炭素が地球温暖化の原因となりうる。
(2) 表面シートが塩化ビニルの物を焼却した場合、その際に発生する塩化水素ガス、塩素ガスがダイオキシンの発生、酸性雨破壊の原因となる。
(3) 土中に廃棄した場合、プラスチック材料が土中において長期間安定に存在するので、土壌汚染の原因となる。また、土中の生態系を破壊することにもなる。
解決しようとする課題は、廃棄処理後に環境を汚染する点である。
そこで、本発明に係る粘着シートは、生分解性フィルムと、生分解性粘着層と、剥離シートを順次積層させた粘着フィルムであって、上記生分解性粘着層の剥離シート側の面に、多数の微小凸部を形成したものである。
また、微小凸部の高さhを、粘着層の厚さHの20%以上80%以下に設定したものである。
また、微小凸部を格子状に配設したものである。
また、微小凸部を構成する各面が、微小凸部よりもさらに小さな極微小凹凸状である。
また、微小凸部の高さhを、粘着層の厚さHの20%以上80%以下に設定したものである。
また、微小凸部を格子状に配設したものである。
また、微小凸部を構成する各面が、微小凸部よりもさらに小さな極微小凹凸状である。
本発明の粘着シートによれば、短時間で生分解することができ、環境を保護することができる。
図1〜図3は、本発明の実施の一形態を示す。この粘着シートは、生分解性フィルム1と、生分解性粘着層2と、剥離シート3が順次積層している。生分解性フィルム1及び生分解性粘着層2は、生分解性プラスチックから成る。生分解性フィルム1は、例えば、脂肪酸ポリエステル系、脂肪族ポリエステル系、ポリカプロラクトン系等の生分解性プラスチックから成り、好ましくはポリ乳酸系の生分解性プラスチックから成る。生分解性粘着層2は、例えば、ウレタン粘着剤から成る。ウレタン粘着剤は、使用中は十分な安定性があり、かつ、廃棄処理時───すなわち、土やコンポスト中に廃棄する時───に水分、酸素により加水分解、酸化し低分子量化し、さらに微生物により生分解が進行する。
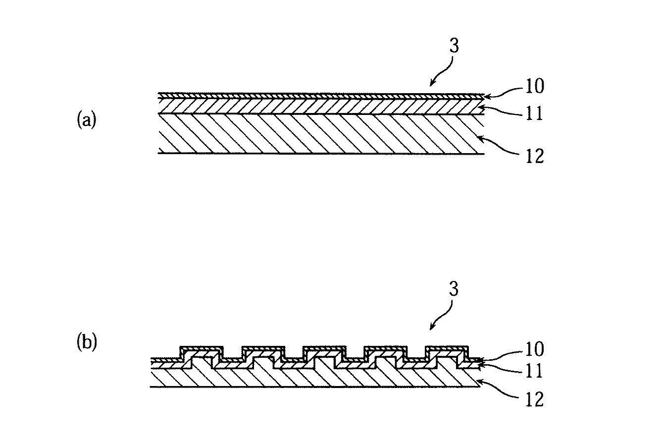
剥離シート3は、エンボス加工前の剥離シートとしては、エンボス加工できるものであれば種類は問わない。しかし、環境インパクトへの配慮及び適度な表面粗さの獲得の為、図4に示すごとく剥離剤層(シリコーン)10、クレーコート層11及び紙基材層12から成るものが好ましい。なお、図4(a) はエンボス加工前の剥離シート3を示し、図4(b) はエンボス加工後の剥離シート3を示す。
生分解性粘着層2の剥離シート3側の面4に、多数の微小凸部5が形成されている。微小凸部5は格子状に配設されている。(剥離シート3を離脱した状態で)粘着シートを廃棄処理時に、微小凸部5によって、粘着層2の表面積が増大し、生分解がより速く行なわれる。
微小凸部5の高さhは、粘着層2の厚さHの20%以上80%以下に設定されている。高さhが、厚さHの20%未満の場合、廃棄処理時に十分な表面積が得られず、分解速度が遅くなる。また、高さhが、厚さHの80%を越える場合、通常使用時に、水や空気の流通が大きすぎて、必要な性能を発揮できず、使用時に支障が発生する虞れがある。
微小凸部5を構成する各面6は、微小凸部5よりもさらに小さな極微小凹凸状である。
微小凸部5を構成する各面6は、微小凸部5よりもさらに小さな極微小凹凸状である。
次に、本発明の粘着シートの製造方法について説明する。
まず、一面7の表面粗さRa が 0.2μm 以上 1.3μm 以下の剥離シート3の上記一面7に、エンボス加工にて、(上述の微小凸部5に対応した形状の)微小凹部8を形成する。その後、剥離シート3の上記一面7に生分解性粘着剤9を塗布・乾燥して生分解性粘着層2を形成する。次に、生分解性粘着層2に生分解性フィルム1を貼合する。
まず、一面7の表面粗さRa が 0.2μm 以上 1.3μm 以下の剥離シート3の上記一面7に、エンボス加工にて、(上述の微小凸部5に対応した形状の)微小凹部8を形成する。その後、剥離シート3の上記一面7に生分解性粘着剤9を塗布・乾燥して生分解性粘着層2を形成する。次に、生分解性粘着層2に生分解性フィルム1を貼合する。
上述の表面粗さRa が 0.2μm より小さい場合、分解速度がより速くなるという効果がほとんど得られない。また、表面粗さRa が、 1.3μm を越える場合、粘着層2の粘着力が弱くなる虞れがあり、又見た目を美しく保つことができない。
上記方法で表1の構成の粘着シート No.1〜 No.3を作成した。エンボスは格子目エンボスとした。
また、比較例として粘着層2の表面がフラットな粘着シート No.4(すなわち、微小凸部5がない粘着シート)も作成した。
粘着シート No.1〜 No.4は、生分解性フィルム1にポリ乳酸フィルム、粘着層2にウレタン粘着剤を使用した。
これらの粘着シートより、それぞれ 100mm× 100mmの試料を切り出し、58℃±2℃の恒温に保たれたコンポスト中にて1ケ月間放置し、その後の分解率Pを算出した。
測定結果を、表1に示す。
また、比較例として粘着層2の表面がフラットな粘着シート No.4(すなわち、微小凸部5がない粘着シート)も作成した。
粘着シート No.1〜 No.4は、生分解性フィルム1にポリ乳酸フィルム、粘着層2にウレタン粘着剤を使用した。
これらの粘着シートより、それぞれ 100mm× 100mmの試料を切り出し、58℃±2℃の恒温に保たれたコンポスト中にて1ケ月間放置し、その後の分解率Pを算出した。
測定結果を、表1に示す。
表1より、いずれの実施例においても、比較例より分解率が高くなっていることが分かる。また、表面積の増加率が大きい方が、分解率Pが高くなることが分かる。すなわち、表面積(の増加率)が大きい方が、分解速度が速くなることが分かる。
なお、本発明は、設計変更可能であって、例えば、微小凸部5の形状はランダム(不規則)に配置するも良い。
以上のように、本発明は、生分解性フィルム1と、生分解性粘着層2と、剥離シート3を順次積層させた粘着フィルムであって、生分解性粘着層2の剥離シート3側の面4に、多数の微小凸部5を形成したので、使用時は必要な性能を発揮するとともに、廃棄処分時は、粘着層2の表面積の増大により、粘着層2が水や酸素による化学的分解、及び、バクテリアや細菌による生物的分解を受けやすくなり、粘着シート自体の分解速度を速める効果がある。そして、環境を保護することができる。
また、微小凸部5の高さhを、粘着層2の厚さHの20%以上80%以下に設定したので、適度な粘着力を有しつつ、廃棄処理時の分解速度を速めることができる。
また、微小凸部5の高さhを、粘着層2の厚さHの20%以上80%以下に設定したので、適度な粘着力を有しつつ、廃棄処理時の分解速度を速めることができる。
また、微小凸部5を格子状に配設したので、容易に製造することができる。また、規則性があるので、見た目が美しい。
また、微小凸部5を構成する各面6が、微小凸部5よりもさらに小さな極微小凹凸状であるので、適度な粘着力を有しつつ、廃棄処理時の分解速度をさらに速めることができる。
また、微小凸部5を構成する各面6が、微小凸部5よりもさらに小さな極微小凹凸状であるので、適度な粘着力を有しつつ、廃棄処理時の分解速度をさらに速めることができる。
1 生分解性フィルム
2 生分解性粘着層
3 剥離シート
4 面
5 微小凸部
6 面
H 厚さ
h 高さ
2 生分解性粘着層
3 剥離シート
4 面
5 微小凸部
6 面
H 厚さ
h 高さ
Claims (4)
- 生分解性フィルム(1)と、生分解性粘着層(2)と、剥離シート(3)を順次積層させた粘着フィルムであって、上記生分解性粘着層(2)の剥離シート(3)側の面(4)に、多数の微小凸部(5)を形成したことを特徴とする粘着シート。
- 微小凸部(5)の高さ(h)を、粘着層(2)の厚さ(H)の20%以上80%以下に設定した請求項1記載の粘着シート。
- 微小凸部(5)を格子状に配設した請求項1又は2記載の粘着シート。
- 微小凸部(5)を構成する各面(6)が、微小凸部(5)よりもさらに小さな極微小凹凸状である請求項1,2又は3記載の粘着シート。
Priority Applications (1)
| Application Number | Priority Date | Filing Date | Title |
|---|---|---|---|
| JP2004110840A JP2005290311A (ja) | 2004-04-05 | 2004-04-05 | 粘着シート |
Applications Claiming Priority (1)
| Application Number | Priority Date | Filing Date | Title |
|---|---|---|---|
| JP2004110840A JP2005290311A (ja) | 2004-04-05 | 2004-04-05 | 粘着シート |
Publications (1)
| Publication Number | Publication Date |
|---|---|
| JP2005290311A true JP2005290311A (ja) | 2005-10-20 |
Family
ID=35323602
Family Applications (1)
| Application Number | Title | Priority Date | Filing Date |
|---|---|---|---|
| JP2004110840A Pending JP2005290311A (ja) | 2004-04-05 | 2004-04-05 | 粘着シート |
Country Status (1)
| Country | Link |
|---|---|
| JP (1) | JP2005290311A (ja) |
Cited By (2)
| Publication number | Priority date | Publication date | Assignee | Title |
|---|---|---|---|---|
| KR20230014060A (ko) * | 2021-07-19 | 2023-01-27 | 가천대학교 산학협력단 | 미소절지동물 포집용 생분해성 점착 트랩 및 이를 이용한 미소절지동물의 포집 방법 |
| CN120544456A (zh) * | 2025-07-25 | 2025-08-26 | 晋江市绿雨彩色印刷有限公司 | 一种防磨损掉色的可降解吊牌及其印刷工艺 |
-
2004
- 2004-04-05 JP JP2004110840A patent/JP2005290311A/ja active Pending
Cited By (3)
| Publication number | Priority date | Publication date | Assignee | Title |
|---|---|---|---|---|
| KR20230014060A (ko) * | 2021-07-19 | 2023-01-27 | 가천대학교 산학협력단 | 미소절지동물 포집용 생분해성 점착 트랩 및 이를 이용한 미소절지동물의 포집 방법 |
| KR102857139B1 (ko) | 2021-07-19 | 2025-09-12 | 가천대학교 산학협력단 | 미소절지동물 포집용 생분해성 점착 트랩 및 이를 이용한 미소절지동물의 포집 방법 |
| CN120544456A (zh) * | 2025-07-25 | 2025-08-26 | 晋江市绿雨彩色印刷有限公司 | 一种防磨损掉色的可降解吊牌及其印刷工艺 |
Similar Documents
| Publication | Publication Date | Title |
|---|---|---|
| EP1616584A4 (en) | BIODEGRADABLE FILM WITH WAVE STRUCTURE | |
| KR101322099B1 (ko) | 친환경 생분해성 광고용 소재 | |
| TW200740891A (en) | Polyester film | |
| DE60203396D1 (de) | Mehrschichtige etiketthülse | |
| CA2478499A1 (en) | Elements for embossing and adhesive application | |
| DE60214226D1 (de) | Verfahren zur herstellung von folienstrukturen | |
| TW200604308A (en) | Heat-peelable adhesive sheet and process method for adherend using the same | |
| ATE313582T1 (de) | Bioabbaubare gesättigte/ungesättigte thermoplastische polyester | |
| MY127099A (en) | Radiation-curable heat-peelable pressure-sensitive adhesive sheet and process for producing cut pieces with the same | |
| TW200609322A (en) | Readily bondable tacky sheet and process for producing the same | |
| ATE288001T1 (de) | Flexible polymerfolie für aufgespannte strukturen,verfahren zu deren herstellung und unterdecke mit dieser folie | |
| JP2005290311A (ja) | 粘着シート | |
| JPH08272295A (ja) | 生分解性粘着シート | |
| JP2007022089A5 (ja) | ||
| USD587460S1 (en) | Sheet material with surface ornamentation | |
| JPH0744104A (ja) | 生分解性粘着ラベル | |
| BRPI0507566A (pt) | processo de fabricação e de recorte de elementos de formato relativamente pequeno, dispositivos correspondentes, elementos e folhas que comportam esses elementos | |
| JP2004166542A5 (ja) | ||
| JP4841107B2 (ja) | 粘着加工シート | |
| KR200265201Y1 (ko) | 방수벽지 | |
| JP3410160B2 (ja) | 生分解性粘着ラベル | |
| ATE470544T1 (de) | Siebmaterial, sowie herstellung und anwendungen desselben | |
| JP5850632B2 (ja) | 粘着シートと粘着シート構造体 | |
| JPH0740492A (ja) | 生分解性粘着テープ | |
| JPH11246832A (ja) | 粘着テープ |
