JP2005257611A - 流体の流れ計測装置 - Google Patents

流体の流れ計測装置 Download PDF

Info

Publication number
JP2005257611A
JP2005257611A JP2004072539A JP2004072539A JP2005257611A JP 2005257611 A JP2005257611 A JP 2005257611A JP 2004072539 A JP2004072539 A JP 2004072539A JP 2004072539 A JP2004072539 A JP 2004072539A JP 2005257611 A JP2005257611 A JP 2005257611A
Authority
JP
Japan
Prior art keywords
ultrasonic
fluid flow
measuring device
fluid
acoustic matching
Prior art date
Legal status (The legal status is an assumption and is not a legal conclusion. Google has not performed a legal analysis and makes no representation as to the accuracy of the status listed.)
Pending
Application number
JP2004072539A
Other languages
English (en)
Japanese (ja)
Other versions
JP2005257611A5 (enExample
Inventor
Yukio Nagaoka
行夫 長岡
Bunichi Shiba
文一 芝
Yuji Nakabayashi
裕治 中林
Current Assignee (The listed assignees may be inaccurate. Google has not performed a legal analysis and makes no representation or warranty as to the accuracy of the list.)
Panasonic Holdings Corp
Original Assignee
Matsushita Electric Industrial Co Ltd
Priority date (The priority date is an assumption and is not a legal conclusion. Google has not performed a legal analysis and makes no representation as to the accuracy of the date listed.)
Filing date
Publication date
Application filed by Matsushita Electric Industrial Co Ltd filed Critical Matsushita Electric Industrial Co Ltd
Priority to JP2004072539A priority Critical patent/JP2005257611A/ja
Publication of JP2005257611A publication Critical patent/JP2005257611A/ja
Publication of JP2005257611A5 publication Critical patent/JP2005257611A5/ja
Pending legal-status Critical Current

Links

Images

Landscapes

  • Measuring Volume Flow (AREA)
  • Transducers For Ultrasonic Waves (AREA)
JP2004072539A 2004-03-15 2004-03-15 流体の流れ計測装置 Pending JP2005257611A (ja)

Priority Applications (1)

Application Number Priority Date Filing Date Title
JP2004072539A JP2005257611A (ja) 2004-03-15 2004-03-15 流体の流れ計測装置

Applications Claiming Priority (1)

Application Number Priority Date Filing Date Title
JP2004072539A JP2005257611A (ja) 2004-03-15 2004-03-15 流体の流れ計測装置

Publications (2)

Publication Number Publication Date
JP2005257611A true JP2005257611A (ja) 2005-09-22
JP2005257611A5 JP2005257611A5 (enExample) 2007-05-10

Family

ID=35083458

Family Applications (1)

Application Number Title Priority Date Filing Date
JP2004072539A Pending JP2005257611A (ja) 2004-03-15 2004-03-15 流体の流れ計測装置

Country Status (1)

Country Link
JP (1) JP2005257611A (enExample)

Cited By (7)

* Cited by examiner, † Cited by third party
Publication number Priority date Publication date Assignee Title
JP2009041912A (ja) * 2007-08-06 2009-02-26 Tokyo Keiso Co Ltd 超音波流量計
JP2009510344A (ja) * 2005-09-29 2009-03-12 エアバス・ドイチュラント・ゲーエムベーハー 流体輸送管内の体積流量の低騒音スロットリング
JP2010145167A (ja) * 2008-12-17 2010-07-01 Ricoh Elemex Corp 超音波流量計
JP2012242090A (ja) * 2011-05-16 2012-12-10 Panasonic Corp 超音波流量計
CN104729602A (zh) * 2013-12-19 2015-06-24 西克股份公司 用于确定流速的超声波测量装置和方法
CN110972494A (zh) * 2018-08-01 2020-04-07 首尔大学校产学协力团 用于通过meta平板测量流速的超声换能器
JP2022085040A (ja) * 2020-11-27 2022-06-08 パナソニックIpマネジメント株式会社 音響整合層、超音波送受信器、及びこれを用いた超音波流速計、超音波流量計及び超音波濃度計

Citations (4)

* Cited by examiner, † Cited by third party
Publication number Priority date Publication date Assignee Title
JPH0943015A (ja) * 1995-08-03 1997-02-14 Matsushita Electric Ind Co Ltd 超音波式流量計
JP2002538421A (ja) * 1999-02-24 2002-11-12 ベルガミニ、ジオルジオ 超音波により気体流量を測定するための改良測定システム
JP2003302415A (ja) * 2002-04-09 2003-10-24 Kansai Gas Meter Co Ltd 超音波流速測定装置
JP2004072461A (ja) * 2002-08-07 2004-03-04 Matsushita Electric Ind Co Ltd 超音波送受波器およびそれを用いた超音波流量計

Patent Citations (4)

* Cited by examiner, † Cited by third party
Publication number Priority date Publication date Assignee Title
JPH0943015A (ja) * 1995-08-03 1997-02-14 Matsushita Electric Ind Co Ltd 超音波式流量計
JP2002538421A (ja) * 1999-02-24 2002-11-12 ベルガミニ、ジオルジオ 超音波により気体流量を測定するための改良測定システム
JP2003302415A (ja) * 2002-04-09 2003-10-24 Kansai Gas Meter Co Ltd 超音波流速測定装置
JP2004072461A (ja) * 2002-08-07 2004-03-04 Matsushita Electric Ind Co Ltd 超音波送受波器およびそれを用いた超音波流量計

Cited By (9)

* Cited by examiner, † Cited by third party
Publication number Priority date Publication date Assignee Title
JP2009510344A (ja) * 2005-09-29 2009-03-12 エアバス・ドイチュラント・ゲーエムベーハー 流体輸送管内の体積流量の低騒音スロットリング
JP2009041912A (ja) * 2007-08-06 2009-02-26 Tokyo Keiso Co Ltd 超音波流量計
JP2010145167A (ja) * 2008-12-17 2010-07-01 Ricoh Elemex Corp 超音波流量計
JP2012242090A (ja) * 2011-05-16 2012-12-10 Panasonic Corp 超音波流量計
CN104729602A (zh) * 2013-12-19 2015-06-24 西克股份公司 用于确定流速的超声波测量装置和方法
CN110972494A (zh) * 2018-08-01 2020-04-07 首尔大学校产学协力团 用于通过meta平板测量流速的超声换能器
CN110972494B (zh) * 2018-08-01 2021-06-04 首尔大学校产学协力团 用于通过meta平板测量流速的超声换能器
JP2022085040A (ja) * 2020-11-27 2022-06-08 パナソニックIpマネジメント株式会社 音響整合層、超音波送受信器、及びこれを用いた超音波流速計、超音波流量計及び超音波濃度計
JP7584039B2 (ja) 2020-11-27 2024-11-15 パナソニックIpマネジメント株式会社 音響整合層、超音波送受信器、及びこれを用いた超音波流速計、超音波流量計及び超音波濃度計

Similar Documents

Publication Publication Date Title
US9261389B2 (en) Ultrasonic flowmeter
EP2816327B1 (en) Ultrasonic flowmeter
JP7285450B2 (ja) 超音波流量計
WO2016166933A1 (ja) 流量計測装置
US20130264142A1 (en) Coupling element of an ultrasonic transducer for an ultrasonic, flow measuring device
CN107709937A (zh) 测量单元和流量计
WO2017122239A1 (ja) ガスメータ
WO2020031622A1 (ja) 超音波流量計
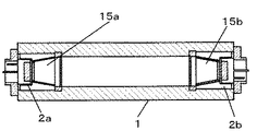
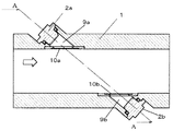
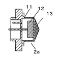
JP2005257611A (ja) 流体の流れ計測装置
JP7209139B2 (ja) 超音波流量計
EP3035006A2 (en) Apparatus and a method for providing a time measurement
JP4180396B2 (ja) 超音波流量計および超音波による流量計測方法
JP2011038870A (ja) 超音波流量計およびこれを用いた流速測定方法
JPH10274551A (ja) 超音波流量計
JP4939907B2 (ja) 気体用超音波流量計
JP4561071B2 (ja) 流量計測装置
JP6982737B2 (ja) 超音波流量計
JP4092977B2 (ja) 流量計測装置
JP2004212180A (ja) 流量計測装置
JP2002107194A (ja) 超音波流量計
JP3503578B2 (ja) 流量計測装置
JP2002228499A (ja) 超音波流量測定装置
Monsalve et al. Flow measurement by means of wideband acoustic signals in single-mode waveguides
JP2008014829A (ja) 超音波流量計
JP2022109347A (ja) 超音波流量計

Legal Events

Date Code Title Description
A521 Request for written amendment filed

Free format text: JAPANESE INTERMEDIATE CODE: A523

Effective date: 20070314

A621 Written request for application examination

Free format text: JAPANESE INTERMEDIATE CODE: A621

Effective date: 20070314

RD01 Notification of change of attorney

Free format text: JAPANESE INTERMEDIATE CODE: A7421

Effective date: 20070412

A977 Report on retrieval

Free format text: JAPANESE INTERMEDIATE CODE: A971007

Effective date: 20091118

RD01 Notification of change of attorney

Free format text: JAPANESE INTERMEDIATE CODE: A7421

Effective date: 20091120

A131 Notification of reasons for refusal

Free format text: JAPANESE INTERMEDIATE CODE: A131

Effective date: 20091208

A521 Request for written amendment filed

Free format text: JAPANESE INTERMEDIATE CODE: A523

Effective date: 20100118

A131 Notification of reasons for refusal

Free format text: JAPANESE INTERMEDIATE CODE: A131

Effective date: 20100209

A02 Decision of refusal

Free format text: JAPANESE INTERMEDIATE CODE: A02

Effective date: 20100608