JP2005190861A - バックライト - Google Patents

バックライト Download PDF

Info

Publication number
JP2005190861A
JP2005190861A JP2003431722A JP2003431722A JP2005190861A JP 2005190861 A JP2005190861 A JP 2005190861A JP 2003431722 A JP2003431722 A JP 2003431722A JP 2003431722 A JP2003431722 A JP 2003431722A JP 2005190861 A JP2005190861 A JP 2005190861A
Authority
JP
Japan
Prior art keywords
light
backlight
reflector
hid lamp
reflecting
Prior art date
Legal status (The legal status is an assumption and is not a legal conclusion. Google has not performed a legal analysis and makes no representation as to the accuracy of the status listed.)
Abandoned
Application number
JP2003431722A
Other languages
English (en)
Inventor
Shigeru Senzaki
茂 千崎
Current Assignee (The listed assignees may be inaccurate. Google has not performed a legal analysis and makes no representation or warranty as to the accuracy of the list.)
Toshiba Lighting and Technology Corp
Original Assignee
Harison Toshiba Lighting Corp
Priority date (The priority date is an assumption and is not a legal conclusion. Google has not performed a legal analysis and makes no representation as to the accuracy of the date listed.)
Filing date
Publication date
Application filed by Harison Toshiba Lighting Corp filed Critical Harison Toshiba Lighting Corp
Priority to JP2003431722A priority Critical patent/JP2005190861A/ja
Publication of JP2005190861A publication Critical patent/JP2005190861A/ja
Abandoned legal-status Critical Current

Links

Images

Landscapes

  • Light Guides In General And Applications Therefor (AREA)
  • Liquid Crystal (AREA)
  • Planar Illumination Modules (AREA)

Abstract

【課題】 少ない消費電力で高輝度なバックライトを提供する。
【解決手段】 ほぼ全方向に発光するショートアーク型のHIDランプ4と、このHIDランプ4を内包するとともに、断面が弧状でかつ全体的に細長い反射面3bおよびこの反射面端によって形成される細長い開口3aを有し、このHIDランプ4から入射される光のほとんどを開口3a側に反射するように構成された反射体3と、この反射体3の開口3aの一長辺側に、弧状の反射面3bとほぼ連続するように配設され、開口3aからの光の少なくとも一部を反射する面状の反射手段5と、この反射手段5に中空領域7を介して対向するとともに、光を透過可能に構成された平面状の出光手段6とを具備していることを特徴とする。
【選択図】 図1

Description

本発明は、一般に高輝度放電ランプまたは高圧放電ランプと呼ばれているHID(High Intensity Discharge)ランプを光源とした中空方式のバックライトに関するものである。
従来、液晶表示等に用いられるバックライトの方式としては、バックライトの出光面の背面側に光源を配置し、その正面側に光を出光する直下型方式、バックライトの内部に導光板を配置し、光源から発せられた光を導光板内で反射させながら出光面に光を導く導光板方式、および対向する出光面と反射面に中空の空間を形成し、光源からの光をその空間内で伝播しながら出光面より光を出射する中空方式が代表的である。
これらのバックライトの方式のうち、現在導光板方式が多く用いられている。この方式では、バックライトを大型化した場合、導光板も大型化しなければならず、そのためバックライトの重量が重くなってしまう。
そこで、現在、大型化の液晶テレビなどが注目を浴びる中で、この液晶表示に用いるバックライトとして、大型化しても軽量で、かつ厚さを薄く保つことができる中空方式のバックライトの研究がなされている。この中空方式のバックライトの例として図7がある。このバックライト101は、ハウジング102の底面に反射手段である反射シート103を設け、さらにこの反射シート103に対向するように光拡散手段である拡散シート104が設けられ、構成されている。そして、これらのシートの間には中空領域105が形成されており、この中空空間105に向けて光を出射する長尺状の光源106がバックライト101の側面に配置されている。光源106には、その出射光を中空空間105に導くように反射体107が配置されている。そして、これらで構成されたバックライト101の拡散シート104に液晶表示素子108が配置される。(たとえば、特許文献1参照。)。また、この種のバックライトの光源として、発光ダイオード(以後、LED)を用いたものも出願されている。(たとえば、特許文献2参照。)。
特開平11−72625号公報 特開2002−258764号公報
しかし、これらのようにCCFLやLEDを使用したバックライトは、所望の輝度を得るために複数のランプを使用しなければならず、その数が増えることで消費電力が増加するという問題があり、電力消費を抑えつつ、高い輝度を得ることはできなかった。
また、図7のような長尺状の光源106は、さまざまな方向に光を放射するので、その放出された光の損失を減らすために反射体107を備えている。しかし、その光源106は反射体103が形成している空間内で比較的大きな体積を占めているため、光源106で放射され、この反射体107に反射した光がその光源106に入射し、光を吸収して損失が発生してしまうという問題があった。そのため、反射体103に反射した光を効率良く中空領域105に出射しているとはいえず、そのランプ自身に入射した反射光の分だけ輝度が低下していた。
これらの課題を解決するバックライトを、HIDランプと呼ばれているものの中で、さらに放電のための電力が少ないショートアーク型のHIDランプを使用することで実現することができた。
従って、本発明は、少ない消費電力で高輝度なバックライトを提供することを目的とする。
上記目的を達成するために、本発明のバックライトは、ほぼ全方向に発光するショートアーク型のHIDランプと、このHIDランプを内包するとともに、断面が弧状でかつ全体的に細長い反射面およびこの反射面端によって形成される細長い開口を有し、このHIDランプから入射される光のほとんどを開口側に反射するように構成された反射体と、この反射体の開口の一長辺側に、弧状の反射面とほぼ連続するように配設され、開口からの光の少なくとも一部を反射する面状の反射手段と、この反射手段に中空領域を介して対向するとともに、光を透過可能に構成された平面状の出光手段とを具備していることを特徴とする。
したがって、本発明によれば、少ない消費電力で高い輝度が得られるバックライトを提供することができる。
(第1の実施の形態)
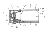
以下に、本発明の第1の実施の形態を図1乃至図5を参照して説明する。図1は、本発明の第1の実施の形態であるバックライトの断面図である。
このバックライト1は、ケース2、反射体3、HIDランプ4、反射手段5、出光手段6、中空領域7、透明フィルム8、プリズムシート9で構成されている。これらで構成されるバックライト1の発光面1aから光が面発光のように出射される。
ケース2は、バックライト1の構成要素を配置保持するものであり、例えばアルミニウムなどの軽量で丈夫な金属や樹脂などからなる。このケース2は、保持部2a、反射面2bなどを有している。
反射体3は、細長い面状の開口3aを形成する弧状の反射面3bを有し、ケース2の保持部2aに配置される。ここで、「弧状」とは正円状や放物線形状などを含んでいる。この反射体3は、例えば光輝アルミなどの反射率の高い金属などからなるが、反射率の高い材料でなくても、反射体3の形状を形成した金属の反射面3bに反射シートを貼るなどして反射損失を抑えたものを使用してもよい。また、この反射体3は図1のように開口3aの短手方向の断面が弧状の形状のみならず、開口3aの長手方向の断面が弧状の形状であってもよく、さらにまた、開口3aの短手方向および長手方向の断面が弧状の形状であってもよい。ここで、この実施例では反射体3の長手方向の端部も同様に反射体3の反射面として形成されているが、この端部は反射体3と一体に形成されなくてもよい。また、この反射体3はケース2と一体に形成されてもよい。
HIDランプ4は、本発明のバックライトに使用する光源であり、ショートアーク型で、高いランプ効率のものであればどんなものでもよい。ただし、望ましくは管壁負荷が40W/ cm2以上のものがよい。このHIDランプ4は、ほぼ球状の放電空間とその空間内に一対の電極を持ち、その電極に電圧を印加することで放電空間から光を発する。今回、電力35W、管壁負荷60W/ cm2、全光束3150lmの自動車の前照灯に使用されている電球工業会規格D2SのHIDランプを使用した。
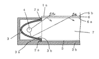
このHIDランプ4の配置位置および配置方法について図2および図3を参照して説明する。図2は、反射体3の長手方向の中間を開口3aに対して直角方向に中央付近を避けて切断した斜視図であり、図中の直線Xはその切断面上での反射体3の光軸を示し、直線Yは直線Xに垂直でHIDランプ4の中心を通る直線である。図3は、バックライト1にHIDランプ4を配置した光源付近の拡大図である。
まず、HIDランプ4の配置位置は、反射体3の反射面3bが形成する空間内、かつ反射体3の長手方向のほぼ中央に配置される。X方向については、HIDランプ4からの光がバックライト1の発光面1aの光源付近で偏って出射しにくいように、直線Xの矢印方向で弧状の反射体3に近接した場所に配置するのが望ましいが、少なくとも開口3aよりも直線Xの矢印方向側にあればよい。ここで、この段落において「配置した」とはHIDランプ4の放電空間の配置位置を示している。次にY方向については、基本的に反射体3の反射面3bが形成する空間の中央付近で良いが、X方向同様、HIDランプ4からの光がバックライト1の発光面1aの光源付近で偏って出射しにくいように反射体3のY方向長さの真中より直線Yの矢印方向に配置しても良い。ここで、ランプの個数については1個が望ましいが、複数使用しても構わない。
次に、本実施の形態ではHIDランプ4は、図4のように反射体3に対して反射手段5の方向から挿入配置される。ここで、このHIDランプ4は大きく分けて容器4aの部分と灯具4bの部分からなる。これらを挿入するために、反射体3にはこの容器4aが貫通する貫通孔3cが、ケース2には容器4aが通る貫通孔2cと灯具4bを固定する固定孔2dが空けられている。この貫通孔2c、3cの大きさは容器4aの部分が貫通する程度の大きさで、かつできる限り小さい方が望ましい。この貫通孔2c、3cに容器4aが貫通した後、HIDランプ4の放電空間が所定の位置になる場所で、灯具4bが固定孔2dによって固定される。この固定の方法は、単に灯具4bと固定具2dをさせるだけでもよいが、ネジ等で固定してもよい。このランプの挿入、固定の構造により、ランプ交換の際、簡単に取り付け、取り外しをすることができる。なおこの図では、HIDランプは水平に対して垂直方向に配置されているが、実際のバックライトではHIDランプはほぼ水平に配置されるようになる。
反射手段5は、HIDランプ4からの光を反射する面状のシートであり、反射体3の反射面3bの一端とほぼ連続に、ケース2の反射面2bに配設される。この反射手段5の光源に近い面には鏡面反射シートが、光源よりも遠い面には拡散反射シートが貼られている。このように貼り分けることで光源から遠いバックライト1の発光面1aに光を導くことができるが、このように貼り分けなくても、全面を拡散反射シートまたは鏡面反射シートなどの反射率の高いシートを貼るだけでもよい。ここで、ケース2の保持部2aを除く端面にも同じ様な反射手段が施されるのが望ましい。
出光手段6は、HIDランプ4からの直接光および反射体3や反射手段5により反射した光を出射する平面状のシートであり、中空領域7を介して反射手段5と対向配置される。この出光手段6には、中空領域7の側である背面6aから入射した光を、反中空領域7の側である正面6bに出射する際に拡散透過させる作用をし、発光面1aにおいてその付近の均斉度を向上させる拡散板が使用されている。また、この出光手段5には拡散板のみならず拡散シートなどでも代用できる。
透明フィルム8は、HIDランプ4からの直接光および反射体3や反射手段5による反射光を、透過または反射する薄い膜であり、出光手段6の背面6aに配設される。この透明フィルム8は透過性のあるフィルムならどんなものを使用してもよく、透明のシールなどを使用してもよい。このようなものを配設することで、バックライト1の発光面1aにおける均斉度を高めることができる。この詳細な説明については後で述べる。
また、この透明フィルム8の表面にドット印刷を施してもよい。このドット印刷は、印刷されたドットの部分に光が当たった場合、透過せず反射するというものである。このドット印刷によりバックライト1の発光面1aにおける出光の調節ができる。例えば、このドットを光源側から奥に向かうにつれて小さくなるように形成することで、発光面1aの光源付近における光の出射を少なくし、奥に向かうほど光が出射しやすくすることができる。
プリズムシート9は、バックライト1の発光面1a方向の正面輝度を高くするプリズム面と平面を持つシートであり、出光手段6の正面6bにプリズム面を発光面1a方向に向けて配設する。また、このようにプリズム面を発光面1a方向に向けて配設することにより、透明フィルム8と同じように均斉度を高める効果を得ることができる。この説明も後述する。さらに、このようなプリズムシートをもう一枚配設することで、より正面輝度と均斉度を上昇させることができる。
これらで構成されたバックライトが他のバックライトに比べどれくらい消費電力が少ないかを説明する。まず、本発明に使用したHIDランプ4は前述したように35Wで3150lmの全光束を発することができる。これに対し、CCFLを使用してこのHIDランプと同様の全光束を得ようとすると、一本約6Wのランプを12本程度使用しなければ同じくらいの全光束を得ることができず、したがってHIDランプの場合と比べて約2倍の電力を消費する。また、LEDに関しては、現在一般に使用されているものは、まだ白熱電球と同じくらいのランプ効率なのでCCFLを用いたバックライトよりもさらに電力消費が高いと考えられる。したがって、本発明のバックライトは従来と比較すると高輝度で大きな電力消費低減の効果が得られる。
また、HIDランプ4は反射体3の大きさに比べて小さな光源であるので、反射体3方向に放出され、そこで反射した光が光源自身に入射し、その光が損失となることが少なくなるので、輝度の低下を抑止することができる。
次に、出光手段6の背面6aに透明フィルム8を配設しない場合と配設した場合のバックライト1の発光面1aに出射する光の変化を図4および図5を用いて説明する。図4は、バックライト1の発光面1aに出光手段6のみを配設した光源付
近の拡大図、図5は出光手段6の背面6aに透明フィルム8を配設した光源付近の拡大図である。
図4では、HIDランプ4からの直接光、反射体3および反射手段5からの反射光は出光手段6の面に入射する。この際、この出光手段6として配設された拡散板は、その表面が凹凸形状であるため、さまざまな方向に出射または反射する。この出射光はこのバックライト1の発光面1aを面発光し、反射光は反射手段5の方向に反射されるため、光源から遠い発光面1aにある程度の光を導くことができる。したがって、均斉度の向上の効果を得られるが、拡散板だけでは満足のいく均斉度を得ることはできない。
これに対して図5では、さらに出光手段6の背面6aに透明フィルム8が配設されているため、この背面6aに入射する前に図のように光を反射することができる。これにより、さらに光源から離れたバックライト1の発光面1aに光を導くことができ、均斉度が向上する。この効果によって、出光手段6に拡散板を配設しただけのバックライトよりも均斉度が約20%向上するという実験結果が得られている。また、出光手段6の正面6bにプリズムシート9を配設することにより、同様の現象がこの出光手段6とプリズムシート9の平面との境界面でも発生し、さらに均斉度を高くすることができる。つまり、これらを配設することで再び中空領域7の方向に反射する光の割合を増やすことができる。すなわち、輝度が低くなりがちになる光源から離れたバックライト1の発光面1aに光を導くことができるようになるので、発光面1aにおける光の出光量を調節でき、結果として均斉度が向上する。
(第2の実施の形態)
図6は、本発明の第2の実施の形態であるバックライトの断面図である。この第2の実施の形態の各部について、図1の第1の実施の形態のバックライトの断面図の各部と同一部分は同一符号で示し、その説明を省略する。この第2の実施の形態が、第1の実施の形態と異なる点は、反射手段である反射手段5の形状が光源側から反光源側のバックライト1の発光面1aに向けて湾曲ししている点である。ここで、この反射手段の反射面は反射手段5だけで構成しているが、アルミニウムなどを弧状に形成し、その面に反射シートを配設したり、銀蒸着などを施したりしてもよい。
この反射手段の反射面が光源から離れるほど湾曲していることにより、第1の実施の形態により得られる効果に加え、光を光源から離れたバックライト1の発光面1aに効率良く出射させることができるため、さらに均斉度を高くすることができる。
また、この反射手段の形状は以上の構成に限定されるものではなく、種々の変形が可能である。
本発明による第1の実施の形態のバックライトの断面図。 反射体の長手方向の中間を開口面に対して直角な方向に切断した斜視図。 バックライトにHIDランプを配置した光源付近の拡大図。 バックライトの発光面に拡散板のみを配設したバックライトの光源付近の拡大図。 バックライトの発光面に拡散板および拡散板の背面に透明フィルムを配設した光源付近の拡大図。 ケースの出光面に拡散板とその背面に透明フィルム、正面にプリズムシートを配設した光源付近の拡大図。 従来のバックライトの断面図。
符号の説明
1 バックライト
2 ケース
3 反射体
4 HIDランプ
5 反射手段
6 出光手段
7 中空領域
8 透明フィルム
9 プリズムシート

Claims (5)

  1. ほぼ全方向に発光するショートアーク型のHIDランプと、このHIDランプを内包するとともに、断面が弧状でかつ全体的に細長い反射面およびこの反射面端によって形成される細長い開口を有し、このHIDランプから入射される光のほとんどを開口側に反射するように構成された反射体と、この反射体の開口の一長辺側に、弧状の反射面とほぼ連続するように配設され、開口からの光の少なくとも一部を反射する面状の反射手段と、この反射手段に中空領域を介して対向するとともに、光を透過可能に構成された平面状の出光手段とを具備していることを特徴とするバックライト。
  2. 前記出光手段が拡散板であることを特徴とするバックライト。
  3. 前記出光手段の前記中空領域側に透明フィルムが配設されていることを特徴とする請求項1または請求項2記載のバックライト。
  4. 前記出光手段の前記反中空領域側に少なくとも一枚プリズムシートが配設されていることを特徴とする請求項1乃至請求項3のいずれか一に記載のバックライト。
  5. 前記HIDランプは前記反射体に対して前記反射手段の方向から挿入配置することを特徴とする請求項1乃至請求項4のいずれか一に記載のバックライト。


JP2003431722A 2003-12-26 2003-12-26 バックライト Abandoned JP2005190861A (ja)

Priority Applications (1)

Application Number Priority Date Filing Date Title
JP2003431722A JP2005190861A (ja) 2003-12-26 2003-12-26 バックライト

Applications Claiming Priority (1)

Application Number Priority Date Filing Date Title
JP2003431722A JP2005190861A (ja) 2003-12-26 2003-12-26 バックライト

Publications (1)

Publication Number Publication Date
JP2005190861A true JP2005190861A (ja) 2005-07-14

Family

ID=34789638

Family Applications (1)

Application Number Title Priority Date Filing Date
JP2003431722A Abandoned JP2005190861A (ja) 2003-12-26 2003-12-26 バックライト

Country Status (1)

Country Link
JP (1) JP2005190861A (ja)

Cited By (4)

* Cited by examiner, † Cited by third party
Publication number Priority date Publication date Assignee Title
JP2008209779A (ja) * 2007-02-27 2008-09-11 Casio Comput Co Ltd 液晶表示装置
WO2009149010A1 (en) 2008-06-04 2009-12-10 3M Innovative Properties Company Hollow backlight with tilted light source
JP2011513897A (ja) * 2008-02-22 2011-04-28 スリーエム イノベイティブ プロパティズ カンパニー 選択的出力光束分布を有するバックライト及びそれを使用した表示システム
WO2016179873A1 (zh) * 2015-05-13 2016-11-17 武汉华星光电技术有限公司 背光模组及液晶显示器

Cited By (5)

* Cited by examiner, † Cited by third party
Publication number Priority date Publication date Assignee Title
JP2008209779A (ja) * 2007-02-27 2008-09-11 Casio Comput Co Ltd 液晶表示装置
JP2011513897A (ja) * 2008-02-22 2011-04-28 スリーエム イノベイティブ プロパティズ カンパニー 選択的出力光束分布を有するバックライト及びそれを使用した表示システム
WO2009149010A1 (en) 2008-06-04 2009-12-10 3M Innovative Properties Company Hollow backlight with tilted light source
CN102057319B (zh) * 2008-06-04 2014-02-26 3M创新有限公司 具有斜光源的中空背光源
WO2016179873A1 (zh) * 2015-05-13 2016-11-17 武汉华星光电技术有限公司 背光模组及液晶显示器

Similar Documents

Publication Publication Date Title
JP3952168B2 (ja) 電子機器、液晶表示装置および導光板
JP3537414B2 (ja) 電子機器において使用するための液晶表示装置
JP4524255B2 (ja) 面状照明装置
US6626562B2 (en) Low profile backlight optimized for liquid crystal displays
JP2005234397A (ja) 導光板、これを用いる面状照明装置および液晶表示装置
KR20060023452A (ko) 프리즘 시트, 백라이트 어셈블리 및 이를 갖는 액정표시장치
JP2009026708A (ja) 光源装置
US7134777B2 (en) Surface lighting device with closed oblique reflector
JP4895158B2 (ja) 液晶ディスプレイ
JP2007234385A (ja) バックライト装置
JP2010103060A (ja) 表示装置
JP4461759B2 (ja) 面発光装置および液晶表示装置
JP2005190861A (ja) バックライト
JP2003141922A (ja) 面発光装置
JP2006048968A (ja) 面光源装置及び液晶ディスプレイ
JP2005302659A (ja) 照明装置及びそれを備えた表示装置
JP2005216693A (ja) バックライト
CN104654141A (zh) 一种背光模组和显示装置
JP2001184925A (ja) サイドライト型面光源装置
KR20090080300A (ko) Led를 이용한 비상구 유도등
JPH11282388A (ja) 誘導灯装置
CN100361006C (zh) 液晶显示器的直下式背光单元
CN201885087U (zh) 背光源组件
JP2005322455A (ja) バックライト
JP2003029259A (ja) 液晶ディスプレイ

Legal Events

Date Code Title Description
A621 Written request for application examination

Free format text: JAPANESE INTERMEDIATE CODE: A621

Effective date: 20061213

RD02 Notification of acceptance of power of attorney

Free format text: JAPANESE INTERMEDIATE CODE: A7422

Effective date: 20061213

A521 Written amendment

Free format text: JAPANESE INTERMEDIATE CODE: A821

Effective date: 20061215

A977 Report on retrieval

Free format text: JAPANESE INTERMEDIATE CODE: A971007

Effective date: 20090212

A131 Notification of reasons for refusal

Free format text: JAPANESE INTERMEDIATE CODE: A131

Effective date: 20090407

A762 Written abandonment of application

Free format text: JAPANESE INTERMEDIATE CODE: A762

Effective date: 20090528