JP2004242595A - ペット洗浄装置 - Google Patents
ペット洗浄装置 Download PDFInfo
- Publication number
- JP2004242595A JP2004242595A JP2003036632A JP2003036632A JP2004242595A JP 2004242595 A JP2004242595 A JP 2004242595A JP 2003036632 A JP2003036632 A JP 2003036632A JP 2003036632 A JP2003036632 A JP 2003036632A JP 2004242595 A JP2004242595 A JP 2004242595A
- Authority
- JP
- Japan
- Prior art keywords
- cleaning
- pet
- liquid
- container
- rinsing
- Prior art date
- Legal status (The legal status is an assumption and is not a legal conclusion. Google has not performed a legal analysis and makes no representation as to the accuracy of the status listed.)
- Pending
Links
- 238000004140 cleaning Methods 0.000 title claims abstract description 273
- 241001465754 Metazoa Species 0.000 title abstract description 14
- 239000007788 liquid Substances 0.000 claims abstract description 288
- 238000001035 drying Methods 0.000 claims abstract description 24
- 238000005507 spraying Methods 0.000 claims abstract description 16
- XLYOFNOQVPJJNP-UHFFFAOYSA-N water Substances O XLYOFNOQVPJJNP-UHFFFAOYSA-N 0.000 claims description 90
- 239000008399 tap water Substances 0.000 claims description 23
- 235000020679 tap water Nutrition 0.000 claims description 23
- 238000010438 heat treatment Methods 0.000 claims description 11
- 238000007664 blowing Methods 0.000 claims description 4
- 241000282326 Felis catus Species 0.000 abstract description 3
- 238000005406 washing Methods 0.000 description 37
- 239000003599 detergent Substances 0.000 description 21
- 239000003795 chemical substances by application Substances 0.000 description 15
- 239000002453 shampoo Substances 0.000 description 7
- 230000008878 coupling Effects 0.000 description 5
- 238000010168 coupling process Methods 0.000 description 5
- 238000005859 coupling reaction Methods 0.000 description 5
- 241000282472 Canis lupus familiaris Species 0.000 description 4
- 238000010586 diagram Methods 0.000 description 3
- 238000007599 discharging Methods 0.000 description 3
- 239000008236 heating water Substances 0.000 description 3
- 238000000034 method Methods 0.000 description 3
- 239000007921 spray Substances 0.000 description 3
- 230000001419 dependent effect Effects 0.000 description 2
- 238000010981 drying operation Methods 0.000 description 2
- 239000000428 dust Substances 0.000 description 2
- 230000000694 effects Effects 0.000 description 2
- 239000002699 waste material Substances 0.000 description 2
- 239000002351 wastewater Substances 0.000 description 2
- 239000003814 drug Substances 0.000 description 1
- 229920001971 elastomer Polymers 0.000 description 1
- 238000001914 filtration Methods 0.000 description 1
- 239000000203 mixture Substances 0.000 description 1
- 229920002379 silicone rubber Polymers 0.000 description 1
- 239000004945 silicone rubber Substances 0.000 description 1
- 238000003756 stirring Methods 0.000 description 1
- 238000011144 upstream manufacturing Methods 0.000 description 1
- 238000010792 warming Methods 0.000 description 1
Images
Landscapes
- Cleaning By Liquid Or Steam (AREA)
Abstract
【課題】犬、猫等のペットを、それらの大きさに関わらず、洗浄及び乾燥可能なペット洗浄装置を提供する。
【解決手段】(a)ペット80を囲んで収納する排水口20付きの容器本体11と、容器本体11内に設けられてペット80に洗浄液及び濯ぎ液を吹き付ける複数の液吹き付け手段と、洗浄液又は濯ぎ液が吹き付けられて濡れたペット80に風を送り乾燥させる複数の送風口33とを有する洗浄容器35と、(b)液吹き付け手段に洗浄液及び濯ぎ液をそれぞれ供給する洗浄液供給手段及び濯ぎ液供給手段と、(c)送風口33に乾燥用の空気を送るブロア32とを有し、しかも、洗浄容器35の底部12には、洗浄容器35に収納するペット80の大きさによって、洗浄容器35の深さを調整する深さ調整手段36を備えている。
【選択図】 図1
【解決手段】(a)ペット80を囲んで収納する排水口20付きの容器本体11と、容器本体11内に設けられてペット80に洗浄液及び濯ぎ液を吹き付ける複数の液吹き付け手段と、洗浄液又は濯ぎ液が吹き付けられて濡れたペット80に風を送り乾燥させる複数の送風口33とを有する洗浄容器35と、(b)液吹き付け手段に洗浄液及び濯ぎ液をそれぞれ供給する洗浄液供給手段及び濯ぎ液供給手段と、(c)送風口33に乾燥用の空気を送るブロア32とを有し、しかも、洗浄容器35の底部12には、洗浄容器35に収納するペット80の大きさによって、洗浄容器35の深さを調整する深さ調整手段36を備えている。
【選択図】 図1
Description
【0001】
【発明の属する技術分野】
本発明は、犬、猫等のペットを、それらの大きさに関わらず、洗浄及び乾燥可能なペット洗浄装置に関する。
【0002】
【従来の技術】
従来の動物を収納して洗浄、乾燥するペット洗浄装置には、例えば、動物を収納するボックスの前後板と天板とが左右に分割され、左右に揺動する左右側板に前後板と天板とが連動して左右に開閉する収納ボックスを形成し、温水や洗剤を噴射する洗浄ノズルと、送風機構からの温風を排出する送風ノズルとを収納ボックスの内部に設けることにより、収納ボックスを大きく左右に開口し、動物自身が歩いて収納ボックス内部に入って行けるものがある(例えば、特許文献1参照)。これによって、動物を抱えて収納する必要がなく、中型犬や大型犬のような動物でも、容易に洗浄乾燥することができるようになっている。
【0003】
【特許文献1】
特許第2668651号公報
【0004】
【発明が解決しようとする課題】
しかしながら、特許文献1に記載されているような従来のペット洗浄装置は、前側上部の開口部から、動物の首を出すようにしているが、動物の大きさを考慮して高さ調節ができるような構造にはなっていないため、動物が小さい場合には、動物の足が収納ボックスの底につかず危険である。
本発明はかかる事情に鑑みてなされたもので、犬、猫等のペットを、それらの大きさに関わらず、洗浄及び乾燥可能なペット洗浄装置を提供することを目的とする。
【0005】
【課題を解決するための手段】
前記目的に沿う第1の発明に係るペット洗浄装置は、(a)ペットを囲んで収納する排水口付きの容器本体と、容器本体内に設けられてペットに洗浄液及び濯ぎ液を吹き付ける複数の液吹き付け手段と、洗浄液又は濯ぎ液が吹き付けられて濡れたペットに風を送り乾燥させる複数の送風口とを有する洗浄容器と、(b)液吹き付け手段に洗浄液及び濯ぎ液をそれぞれ供給する洗浄液供給手段及び濯ぎ液供給手段と、(c)送風口に乾燥用の空気を送るブロアとを有し、しかも、洗浄容器の底部には、洗浄容器に収納するペットの大きさによって、洗浄容器の深さを調整する深さ調整手段を備えている。これによって、ペットの大きさにより、洗浄容器の深さを調整して、洗浄、濯ぎ、乾燥を行うことができる。また、液吹き付け手段から勢いよく吹き付ける洗浄液及び濯ぎ液によって、ペットに付着したゴミ等も洗い流すことができると共に、マッサージ効果も期待できる。更に、ペットの洗浄作業、濯ぎ作業、乾燥作業を一つの装置で行うことができる。
【0006】
前記目的に沿う第2の発明に係るペット洗浄装置は、(a)ペットを囲んで収納する排水口付きの容器本体と、容器本体内に設けられてペットに洗浄液及び濯ぎ液を供給する液供給口と、洗浄液又は濯ぎ液によって濡れたペットに風を送り乾燥させる複数の送風口とを有する洗浄容器と、(b)液供給口に洗浄液及び濯ぎ液をそれぞれ供給する洗浄液供給手段及び濯ぎ液供給手段と、(c)送風口に乾燥用の空気を送るブロアとを有し、しかも、洗浄容器の底部には、洗浄容器に収納するペットの大きさによって、洗浄容器の深さを調整する深さ調整手段を備えている。これによって、ペットの大きさにより、洗浄容器の深さを調整して、洗浄、濯ぎ、乾燥を行うことができる。また、洗浄液供給手段及び濯ぎ液供給手段によって、ペットに洗浄液及び濯ぎ液を供給でき、効率よくペットを洗浄することができる。更に、ペット洗浄作業、濯ぎ作業、乾燥作業を一つの装置で行うことができる。
【0007】
第1及び第2の発明に係るペット洗浄装置において、洗浄容器の開口部の大きさは調整可能とすることができる。これによって、ペットの首の大きさによらず、ペットの頭を洗浄容器から外に出すことができる。
第1及び第2の発明に係るペット洗浄装置において、洗浄液供給手段は、ペット洗浄装置とは別に配置された湯沸かし器の給湯口に接続される継ぎ手を有し、洗浄液に、継ぎ手を介して供給されるお湯を使用してもよい。これによって、湯沸かし器の給湯口に接続して、洗浄液を供給するので、洗浄液を蓄えるタンクを必要とせず、ペット洗浄装置をコンパクトにすることができる。
【0008】
第1及び第2の発明に係るペット洗浄装置において、濯ぎ液供給手段は、ペット洗浄装置とは別に配置された湯沸かし器の給湯口に接続される継ぎ手を有し、濯ぎ液に、継ぎ手を介して供給されるお湯を使用してもよい。これによって、湯沸かし器の給湯口に接続して、濯ぎ液を供給するので、濯ぎ液を蓄えるタンクを必要とせず、ペット洗浄装置を小さくすることができる。
第1及び第2の発明に係るペット洗浄装置において、洗浄液供給手段は、水道水の蛇口に接続される継ぎ手と、継ぎ手から供給される水を加温する加温手段とを有し、洗浄液に、加温手段を介して供給される水道水を使用してもよい。これによって、水道水の蛇口に接続して、洗浄液を供給するので、洗浄液を蓄えるタンクを必要とせず、ペット洗浄装置を小さくすることができる。また、水道水を利用するので、水道水の給水栓があれば、簡単に洗浄液を供給でき、加温手段により、水道水を温めることができる。
【0009】
第1及び第2の発明に係るペット洗浄装置において、洗浄液供給手段は、洗浄液を貯留する洗浄液タンクと、洗浄液タンクから洗浄液を供給するポンプとを有してもよい。これによって、予め洗浄液タンクに洗剤を添加することができる。
第1及び第2の発明に係るペット洗浄装置において、洗浄容器の排水口には濾過器が設けられ、排水口から排出され、濾過器によって濾過された洗浄液を、洗浄液タンクに再び貯留させ、洗浄液を循環させることもできる。これによって、濾過器により排水中の汚物は除去され、衛生的である。また、洗浄液が無駄にならない。
第1及び第2の発明に係るペット洗浄装置において、深さ調整手段は、パンタグラフ機構を備えていてもよい。これによって、ペットを洗浄容器内に入れたまま洗浄容器の深さを変えることができる。
【0010】
【発明の実施の形態】
続いて、添付した図面を参照しつつ、本発明を具体化した実施の形態につき説明し、本発明の理解に供する。
ここで、図1は本発明の第1の実施の形態に係るペット洗浄装置の説明図、図2は同ペット洗浄装置の平断面図、図3は本発明の第2の実施の形態に係るペット洗浄装置の説明図、図4は本発明の第3の実施の形態に係るペット洗浄装置の平断面図、図5は同ペット洗浄装置の正断面図、図6は同ペット洗浄装置の側断面図である。
【0011】
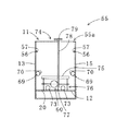
図1及び図2を参照して、本発明の第1の実施の形態に係るペット洗浄装置10を説明する。
ペット洗浄装置10は、洗浄容器35を備えている。洗浄容器35は、ペット80を囲んで収納する排水口20付きの容器本体11を有している。容器本体11は、底部12及び底部12の周囲に立設する側部13〜16を有する上方開放の箱形となっている。更に、容器本体11の底部12の中央部分には、容器本体11で使用した水を排出する排水口20が設けられ、排水口20の先部にはフレキシブルチューブ21が取付けられている。
【0012】
また、洗浄容器35は、容器本体11内に設けられてペット80に洗浄液及び濯ぎ液を吹き付ける複数の液吹き付け手段を構成する、複数のノズル23が所定の間隔で配設された液供給管22を有している。液供給管22は、複数、例えば側壁13〜16にそれぞれ2本ずつ設けられている。なお、ノズル23は、ノズル23から吹き付けられる洗浄液及び濯ぎ液がペット80に満遍なく吹き付けられるように配置されている。また、それぞれの液供給管22の基部には、これらを繋ぎ洗浄液及び濯ぎ液を供給する配管26aが取付けられている。配管26aの基部には、継ぎ手26が設けられている。
【0013】
更に、洗浄容器35は、洗浄液又は濯ぎ液が吹き付けられて濡れたペット80に風を送り乾燥させる複数の送風口33を有している。送風口33は、容器本体11の側部13、15に配設され、容器本体11の内側に向けて設けられている。ペット80の洗浄時に洗浄液及び濯ぎ液が送風口33に入らないように、送風口33にはシャッター34が設けられている。更に、送風口33には、乾燥用の空気を送る温度調節可能なヒータ付のブロア32が配設されている。
また、容器本体11にペット80を収納したときに、ペット80が首を出す、例えば、円形の開口枠17が設けられた蓋18により容器本体11が閉塞されている。また、開口枠17にはシリコンゴム、軟質ゴム等で形成され、中央部にペット80の首を出すための開口部を形成する切れ込み18aが設けられたフード19が取付けられ、ペット80を傷つけないようにしている。
【0014】
ペット洗浄装置10は、液供給管22に洗浄液を供給する洗浄液供給手段を備えている。洗浄液供給手段は、ペット洗浄装置10とは別に配置された湯沸かし器24の給湯口25に接続される継ぎ手26bと、洗浄容器35の継ぎ手26と継ぎ手26bを接続し、液供給管22に洗浄液を供給するフレキシブルチューブ27とを備えている。更に、洗浄液供給手段は、洗剤(例えば、シャンプー)が充填された洗剤容器30と、これに接続された電磁弁付きの洗剤供給管28とを備え、洗剤供給管28の他端は、フレキシブルチューブ27の中間部に接続されている。洗剤容器30に充填されている洗剤は、洗剤供給管28の電磁弁を開くことにより、湯沸かし器24からフレキシブルチューブ27を介して洗浄容器35に供給されるお湯に注入される。
【0015】
ペット洗浄装置10は、液供給管22に濯ぎ液を供給する濯ぎ液供給手段を備えている。洗浄液供給手段は、ペット洗浄装置10とは別に配置された湯沸かし器24の給湯口25に接続される継ぎ手26bと、洗浄容器35の継ぎ手26と継ぎ手26bを接続し、液供給管22に濯ぎ液を供給するフレキシブルチューブ27とを備えている。更に、濯ぎ液供給手段は、濯ぎ剤(例えば、リンス)が充填された濯ぎ剤容器31と、これに接続された電磁弁付きの濯ぎ剤供給管29とを備え、濯ぎ剤供給管29の他端は、フレキシブルチューブ27の中間部に接続されている。濯ぎ剤容器31に充填されている濯ぎ剤は、濯ぎ剤供給管29の電磁弁を開くことにより、湯沸かし器24からフレキシブルチューブ27を介して洗浄容器35に供給されるお湯に注入される。
また、フレキシブルチューブ27には、洗剤供給管28及び濯ぎ剤供給管29との接続部分よりも上流側(継ぎ手26b側)に弁31aが設けられている。
【0016】
なお、第1の実施の形態では、洗浄液供給手段及び濯ぎ液供給手段を構成する継ぎ手26b及びフレキシブルチューブ27は兼用して使用している。
また、本実施の形態では、洗浄容器35に、フレキシブルチューブ27を介して、湯沸かし器24に接続しているが、水道水の蛇口に接続してもよい。この場合には、継ぎ手26bから供給される水を加温する加温手段の一例である電熱ヒータをフレキシブルチューブ27の途中に設け、更に加温された水道水に、洗剤及び濯ぎ剤を注入してもよい。
【0017】
洗浄容器35には、容器本体11に収納するペット80の大きさによって、容器本体11の深さを調整する深さ調整手段が設けられている。本実施の形態では、深さ調整手段として、複数の高さの違うテーブル状の載置台を使用している。容器本体11の底部12には、これらの載置台のうち、ペット80の大きさに合う載置台36が配置されている。また、深さ調整手段として、ペット80の大きさに合わせて、板状物を複数枚重ねたものを使用してもよいが、排水口20を塞がないようにしなければならない。ジャッキやパンタグラフ状の昇降機を有する載置台としてもよく、手動、又は自動で昇降機の高さを調整してもよい。
【0018】
次に、ペット洗浄装置10を使用したペットの洗浄方法について説明する。
(1)容器本体11内に収納するペット80の大きさに合わせて、高さの違う複数の載置台の中から選択された載置台36を配置する。ペット80を載置台36に載せ、開口枠17に設けられたフード19の切れ込み18aをペット80の頭に通し、蓋18により容器本体11を閉塞する。
(2)弁31aを開き、湯沸かし器24からお湯を供給すると共に、洗剤供給管28の電磁弁を開き、洗剤容器30に充填されたシャンプーをお湯の中に注入して、お湯とシャンプーを混合した洗浄液を作り、この洗浄液を液供給管22を介して、ノズル23からペット80に吹き付け、ペット80を洗浄する。
(3)洗剤供給管28の電磁弁を閉じ、湯沸かし器24から供給されるお湯をペット80に吹き付け、ペット80に吹き付けられた洗浄液を洗い流す。
【0019】
(4)濯ぎ剤供給管29の電磁弁を開き、濯ぎ剤容器31に充填されたリンスをお湯の中に注入して、濯ぎ液とし、この濯ぎ液を液供給管22を介して、ノズル23からペット80に吹き付け、ペット80にリンスを行う。
(5)濯ぎ剤供給管29の電磁弁を閉じ、お湯だけをペット80に吹き付け、ペット80に吹き付けられた余分な濯ぎ液を流す。
(6)湯沸かし器24からのお湯の供給を停止すると共に、送風口33を閉塞しているシャッター34を開く。
(7)ブロア32から発生する温風を送風口33からペット80に吹き付けて、濡れたペット80を乾燥する。
(8)乾燥終了後、ペット80を取り出して、ペット80の洗浄を終了する。
【0020】
図3を参照して、本発明の第2の実施の形態に係るペット洗浄装置37を説明する。なお、ペット洗浄装置10と同一の構成要素については同一の番号を付してその詳しい説明を省略する。
ペット洗浄装置37は、洗浄容器37aを備えている。洗浄容器37aは、ペットを囲んで収納する排水口20付きの容器本体11を有している。容器本体11は、底部12及び底部12の周囲に立設する側部13〜16を有する上方開放の箱形となっている。更に、容器本体11の底部12の中央部分には、容器本体11で使用した水を排出する排水口20が設けられている。排水口20には、電磁弁38が取付けられ、電磁弁38の下方には濾過器39が設けられている。更に、濾過器39には、フレキシブルチューブ40が取付けられている。また、容器本体11の側部14下側には、排水口20とは別に、コック41付きの排水口42が設けられている。
【0021】
また、洗浄容器37aは、容器本体11の底部12に設けられ、ペットに洗浄液及び濯ぎ液をそれぞれ供給する液供給口である洗浄液供給口51、濯ぎ液供給口53を有している。また、容器本体11の側部16には、図示しない湯沸かし器から供給するお湯を図示しないフレキシブルチューブを介して、直接容器本体11に供給するコック付き給水栓54が配設された給水口54aが設けられている。
【0022】
更に、洗浄容器37aは、洗浄液又は濯ぎ液によって濡れたペットに風を送り乾燥させる複数の送風口33を有している。送風口33は、容器本体11の側部13、15に配設され、容器本体11の内側に向けて設けられている。更に、送風口33にはシャッター34が設けられている。更に、送風口33には、乾燥用の空気を送る温度調節可能なヒータ付のブロア32が配設されている。
また、容器本体11は、蓋18により閉塞されている。
【0023】
更に、ペット洗浄装置37は、洗浄液供給口51から容器本体11に洗浄液を供給する洗浄液供給手段を有している。洗浄液供給手段は、洗浄液を貯留する洗浄液タンク43、洗浄液タンク43から洗浄液を容器本体11に供給するポンプ44を有している。更に、洗浄液供給手段は、図示しない水道水の蛇口からの水を図示しないフレキシブルチューブを介して供給するコック付き給水栓48を備えている。
【0024】
また、ペット洗浄装置37は、濯ぎ液供給口53から容器本体11に濯ぎ液を供給する濯ぎ液供給手段を有している。濯ぎ液供給手段は、濯ぎ液を貯留する濯ぎ液タンク46、濯ぎ液タンク46から濯ぎ液を容器本体11に供給するポンプ47を有している。更に、濯ぎ液供給手段は、図示しない水道水の蛇口からの水を図示しないフレキシブルチューブを介して供給するコック付き給水栓49を備えている。
【0025】
更に、洗浄液タンク43及び濯ぎ液タンク46には、それぞれ水道水を温めるためのヒータ49a、49bが備えられ、冬場等の水道水が冷たいときには、水道水を温めて使用することができる。洗浄液タンク43及び濯ぎ液タンク46に水道水を貯留したあとに、それぞれに洗剤(例えば、シャンプー)、濯ぎ剤(例えば、リンス)を注入し、洗浄液及び濯ぎ液を作製する。
ここで、洗浄液タンク43と濯ぎ液タンク46は、タンク収納容器45に収納されている。更に、タンク収納容器45は、上部に洗浄容器37aが載せられている。
【0026】
洗浄容器37aには、容器本体11に収納するペットの大きさによって、容器本体11の深さを調整する深さ調整手段として、複数の高さの違うテーブル状の載置台を使用している。容器本体11の底部12には、これらの載置台のうち、ペットの大きさに合う載置台36が配置されている。また、深さ調整手段として、ペットの大きさに合わせて、板状物を複数枚重ねたものを使用してもよいが、排水口20、洗浄液供給口51、濯ぎ液供給口53、排水口42及び給水口54aを塞がないようにしなければならない。ジャッキやパンタグラフ状の昇降機を有する載置台としてもよく、手動、又は自動で昇降機の高さを調整してもよい。
【0027】
次に、ペット洗浄装置37を使用したペットの洗浄方法について説明する。
(1)洗浄液タンク43及び濯ぎ液タンク46に、それぞれコック付き給水栓48、49を開けて、水道水を供給し、貯留する。洗浄液タンク43及び濯ぎ液タンク46に、それぞれ洗剤(例えば、シャンプー)、濯ぎ液(例えば、リンス)を添加して、それぞれ洗浄液、濯ぎ液とする。場合により、ヒータ49a、49bによって、洗浄液及び濯ぎ液をそれぞれ加温する。
(2)容器本体11内にペットの大きさに合わせて選択した載置台36を配置する。ペットを載置台36に載せ、開口枠17に設けられたフード19の切れ込み18aをペットの頭に通し、蓋18により容器本体11を閉塞する。この時、排水口20の電磁弁38は閉止された状態である。
【0028】
(3)ポンプ44を稼働して、洗浄液タンク43内の洗浄液をフレキシブルチューブ50、洗浄液供給口51を介して、容器本体11に供給する。洗浄液は容器本体11内に溜まり、ペットを覆う。図示しない水流ファンにより、洗浄液が撹拌され、ペットを洗浄する。
(4)洗浄終了後、電磁弁38を開き、容器本体11内の洗浄液を濾過器39で濾過し、フレキシブルチューブ40を介して、再び、洗浄液タンク43に貯留する。これにより、洗浄液は再利用される。洗浄液は、濾過器39によって汚れが取れるまで数回循環させ、再使用することができる。汚れが取れなくなった場合には、コック41を開き、排水口42から洗浄液を排出する。
【0029】
(5)電磁弁38を閉じ、コック付き給水栓54から湯沸かし器の給湯口からのお湯を容器本体11内に供給し、ペットに付着した洗浄液を洗い落とし、コック41を開き、排水口42から排水を排出する。図示しない水流ファンを駆動して、お湯を撹拌してもよい。
(6)コック41を閉じ、ポンプ47を稼働して、濯ぎ液タンク46内の濯ぎ液をフレキシブルチューブ52、濯ぎ液供給口53を介して、容器本体11に供給する。濯ぎ液は容器本体11内に溜まり、ペットを覆う。図示しない水流ファンにより、濯ぎ液が撹拌され、ペットを濯ぐ。
【0030】
(7)濯ぎ終了後、コック41を開き、排水口42から濯ぎ液を排出する。
(8)コック41を閉じ、コック付き給水栓54から湯沸かし器の給湯口からのお湯を容器本体11内に供給し、ペットに付着した濯ぎ液を洗い落とし、コック41を開き、排水口42から排水を排出する。
(9)ブロア32の送風口33を閉塞しているシャッター34を開く。
(10)ブロア32から発生する温風を送風口33からペットに吹き付けて、濡れたペットを乾燥する。
(11)乾燥終了後、ペットを取り出して、ペットの洗浄を終了する。
【0031】
図4〜図6を参照して、本発明の第3の実施の形態に係るペット洗浄装置55を説明する。なお、ペット洗浄装置10、37と同一の構成要素については同一の番号を付してその詳しい説明を省略する。
ペット洗浄装置55は、洗浄容器55aを備えている。洗浄容器55aは、ペットを囲んで収納する容器本体11を有し、容器本体11は、底部12及び底部12の周囲に立設する側部13〜16を有する上方開放の箱形となっている。更に、容器本体11の底部12には、容器本体11で使用した水を排出する排水口20が設けられて、排水口20下部には図示しない電磁弁が取付けられている。また、ペットの洗浄時には、蓋18により、容器本体11を閉塞している(図1参照)。
【0032】
また、洗浄容器55aは、容器本体11内に設けられてペットに洗浄液及び濯ぎ液を吹き付ける複数の液吹き付け手段を構成する、複数のノズル57が所定の間隔で配設された液供給管56を有している。液供給管56は、容器本体11の側部13、15、16の上部側に設けられ、側部13、15側には、それぞれ4つのノズル57が設けられている。液供給管56の側部15側には、コック付き配管58が取付けられ、コック付き配管58の先部は湯沸かし器24の給湯口25に配設された継ぎ手26bと接続されている。なお、ノズル57は、ノズル57から吹き付けられる洗浄液及び濯ぎ液がペットに満遍なく吹き付けられるように配置されている。
更に、洗浄容器55aは、容器本体11の底部12に設けられてペットに洗浄液及び濯ぎ液を供給する液供給口59が複数、例えば8つ設けらた液供給管60を有している。
【0033】
また、洗浄容器55aには、容器本体11の側部14上部に、2つのオーバーフロー管61が設けられている。したがって、容器本体11内に多量に洗浄液又は濯ぎ液が供給された場合でも、余剰な洗浄液及び濯ぎ液がオーバーフロー管61に送られるので、容器本体11上部から溢れることはなくなる。更に、オーバーフロー管61の先部には、洗浄液及び濯ぎ液の汚れを濾過する濾過器62が設けられ、更に、洗浄液及び濯ぎ液を循環させるポンプ63が備えられている。ポンプ63には液供給管60が取付けられているので、容器本体11に溜められる洗浄液及び濯ぎ液はポンプ63によって循環することができる。液供給管60と液供給管56は、配管64によって接続されている。液供給管60と配管64は、3方に分岐した接続部65によって接続されている。また、接続部65とポンプ63との間には、コック66が設けられ、配管64には、接続部65と液供給管56との間にコック67が設けられている。
【0034】
更に、洗浄容器55aは、洗浄液又は濯ぎ液によって濡れたペットに風を送り乾燥させる複数の送風口70を有している。送風口70は、洗浄容器55aの外部に設けられた加温機能付きのブロア68から送られる乾燥した空気を、容器本体11内に供給する送風管69に、所定の間隔で多数設けられている。なお、送風管69は、ブロア68と接続され、側部13、15の中央部に水平に配置される二股の形状となっている。また、送風管69の二股の部分にはコック71が設けられ、コック71の下部には、二股に分かれ容器本体11の底部12中央に側部13と平行配置される多数の空気孔72を有する空気管73が取付けられている。
【0035】
容器本体11の底部12には、容器本体11に収納するペットの大きさによって、容器本体11の深さを調整する深さ調整手段の一例であるパンタグラフ機構74が備えられている。パンタグラフ機構74は、載置台75を支えるパンタグラフ本体76、パンタグラフ本体76の拡縮を行う一対のウォームギア77、及び自在継ぎ手78を介してウォームギア77を回転させるハンドル79により構成され、ハンドル79を回転させ、載置台75の高さを調整する。
【0036】
次に、ペット洗浄装置55を使用したペットの洗浄方法について説明する。
(1)ペットの大きさに合わせ、パンタグラフ機構74のハンドル79を回転させ、載置台75の高さの粗調整をして、ペットを載置台75に載せる。ペットの頭を開口枠17に設けられたフード19の切れ込み18aに通し、蓋18により容器本体11を閉塞する。
(2)コック付き配管58を介して、湯沸かし器24の給湯口25から、お湯を容器本体11へ供給し、お湯を容器本体11のオーバーフロー管61よりも高い位置まで溜める。洗剤を容器本体11内に添加し、洗浄液とする。
【0037】
(3)コック66を開き、ポンプ63を稼働させる。容器本体11内のお湯は、オーバーフロー管61、濾過器62、ポンプ63、液供給管60を介して、液供給口59から容器本体11へと循環する。
(4)ペットの洗浄終了後、ポンプ63を停止し、排水口20から洗浄液を排出する。
(5)コック付き配管58を介して、湯沸かし器24の給湯口25からお湯を容器本体11へ供給し、液供給管56を介して、ノズル57からお湯をペットに吹き付けて、洗浄液を洗い流す。
【0038】
(6)排水口20の電磁弁を閉じ、コック付き配管58を介して、湯沸かし器24の給湯口25からお湯を容器本体11へ供給し、お湯を容器本体11のオーバーフロー管61よりも高い位置まで溜める。濯ぎ剤を容器本体11内に添加し、濯ぎ液とする。
(7)なお、洗浄液又は濯ぎ液を容器本体11に溜めているときに、ブロア68から風を空気管73を介して、空気孔72から送って、洗浄液、濯ぎ液に空気(気泡)を注入してもよい。
【0039】
(8)コック66を開き、ポンプ63を稼働させる。容器本体11内のお湯は、オーバーフロー管61、濾過器62、ポンプ63、液供給管60を介して、液供給口59から容器本体11へと循環する。
(9)ペットの濯ぎ終了後、ポンプ63を停止し、排水口20から濯ぎ液を排出する。
(10)コック付き配管58を介して、湯沸かし器24の給湯口25からお湯を容器本体11へ供給し、液供給管56を介して、ノズル57からお湯をペットに吹き付けて、濯ぎ液を洗い流す。
【0040】
(11)ブロア68を稼働し、コック71を開き、送風管69を介して、送風口70から、ペットに空気を送り、濡れたペットを乾かす。更に、空気管73を介して、空気孔72から送風してもよい。この際にブロア68の加温機能により、温風を吹き付けることもできる。
(12)乾燥終了後、ペットを取り出して、ペットの洗浄を終了する。
【0041】
本発明は、前記した実施の形態に限定されるものではなく、本発明の要旨を変更しない範囲での変更は可能であり、例えば、前記したそれぞれの実施の形態や変形例の一部又は全部を組み合わせて本発明のペット洗浄装置を構成する場合も本発明の権利範囲に含まれる。
例えば、前記実施の形態のペット洗浄装置において、洗浄液及び濯ぎ液を吹き付ける液吹き付け手段は、同じノズルを使用したが、それぞれの液体によって別のノズルを用いてもよい。また、洗浄液及び濯ぎ液を容器本体に供給する洗浄液供給手段及び濯ぎ液供給手段は、同じ液供給管を使用したが、それぞれの液体によって別の液供給管を用いてもよい。
【0042】
更に、液供給管は、側部に各々2本ずつ底部に対して垂直方向に設けたが、液供給管の数、配置方向はこの限りでない。また、液供給管に配設されるノズルの数、液の噴出方向も限定されず、ペットに満遍なく洗浄液、濯ぎ液が吹き付けられればよい。
また、前記実施の形態では洗浄液タンクと濯ぎ液タンクを別々に設けたが、水タンクを設け、ポンプにより容器本体に水を供給する前に、洗剤(シャンプー)や濯ぎ剤(リンス)を添加するようにしてもよい。
更に、前記実施の形態ではシャンプー及びリンスを添加したが、ペットが病気になっているときには、薬剤を添加してもよい。
【0043】
【発明の効果】
請求項1及びこれに従属する請求項3〜9記載のペット洗浄装置においては、容器本体と、容器本体内に設けられてペットに洗浄液及び濯ぎ液を吹き付ける複数の液吹き付け手段と、濡れたペットに風を送り乾燥させる複数の送風口とを有する洗浄容器と、洗浄液供給手段及び濯ぎ液供給手段と、ブロアとを有し、洗浄容器の底部には、洗浄容器に収納するペットの大きさによって、洗浄容器の深さを調整する深さ調整手段を備えているので、ペットの大きさにより、洗浄容器の深さを調整して、洗浄、濯ぎ、乾燥を行うことができる。また、液吹き付け手段から勢いよく吹き付ける洗浄液及び濯ぎ液によって、ペットに付着したゴミ等も洗い流すことができる。更に、ペットの洗浄作業、濯ぎ作業、乾燥作業を一つの装置で行うことができる。
【0044】
請求項2及びこれに従属する請求項3〜9記載のペット洗浄装置においては、容器本体と、容器本体内に設けられてペットに洗浄液及び濯ぎ液を供給する液供給口と、濡れたペットに風を送り乾燥させる複数の送風口とを有する洗浄容器と、洗浄液供給手段及び濯ぎ液供給手段と、ブロアとを有し、洗浄容器の底部には、洗浄容器に収納するペットの大きさによって、洗浄容器の深さを調整する深さ調整手段を備えているので、ペットの大きさにより、洗浄容器の深さを調整して、洗浄、濯ぎ、乾燥を行うことができる。また、洗浄液供給手段及び濯ぎ液供給手段によって、ペットに洗浄液及び濯ぎ液を供給でき、効率よくペットを洗浄することができる。更に、ペット洗浄作業、濯ぎ作業、乾燥作業を一つの装置で行うことができる。
【0045】
特に、請求項3記載のペット洗浄装置においては、洗浄容器の開口部の大きさは調整可能となっているので、ペットの首の大きさによらず、ペットの頭を洗浄容器から外に出すことができる。
請求項4記載のペット洗浄装置においては、洗浄液供給手段は、ペット洗浄装置とは別に配置された湯沸かし器の給湯口に接続される継ぎ手を有し、洗浄液に、継ぎ手を介して供給されるお湯が使用されているので、洗浄液を蓄えるタンクを必要とせず、ペット洗浄装置を小さくすることができる。
【0046】
請求項5記載のペット洗浄装置においては、濯ぎ液供給手段は、ペット洗浄装置とは別に配置された湯沸かし器の給湯口に接続される継ぎ手を有し、濯ぎ液に、継ぎ手を介して供給されるお湯が使用されているので、濯ぎ液を蓄えるタンクを必要とせず、ペット洗浄装置を小さくすることができる。
特に、請求項6記載のペット洗浄装置においては、洗浄液供給手段は、水道水の蛇口に接続される継ぎ手と、継ぎ手から供給される水を加温する加温手段とを有し、洗浄液に、加温手段を介して供給される水道水が使用されているので、洗浄液を蓄えるタンクを必要とせず、ペット洗浄装置を小さくすることができる。また、水道水を利用するので、水道水の給水栓があれば、簡単に洗浄液を供給でき、加温手段により、水道水を温めることができる。
【0047】
請求項7記載のペット洗浄装置においては、洗浄液供給手段は、洗浄液を貯留する洗浄液タンクと、洗浄液タンクから洗浄液を供給するポンプとを有するので、予め洗浄液タンクに洗剤を添加することができる。
請求項8記載のペット洗浄装置においては、洗浄容器の排水口には濾過器が設けられ、排水口から排出され、濾過器によって濾過された洗浄液を、洗浄液タンクに再び貯留し、洗浄液を循環させるので、濾過器により排水中の汚物は除去され、衛生的である。また、洗浄液が無駄にならない。
請求項9記載のペット洗浄装置においては、深さ調整手段は、パンタグラフ機構を備えているので、ペットを洗浄容器内に入れたまま洗浄容器の深さを変えることができ、ペットの大きさが変わっても簡単に深さを変えることができる。
【図面の簡単な説明】
【図1】本発明の第1の実施の形態に係るペット洗浄装置の説明図である。
【図2】同ペット洗浄装置の平断面図である。
【図3】本発明の第2の実施の形態に係るペット洗浄装置の説明図である。
【図4】本発明の第3の実施の形態に係るペット洗浄装置の平断面図である。
【図5】同ペット洗浄装置の正断面図である。
【図6】同ペット洗浄装置の側断面図である。
【符号の説明】
10:ペット洗浄装置、11:容器本体、12:底部、13〜16:側部、17:開口枠、18:蓋、18a:切れ込み、19:フード、20:排水口、21:フレキシブルチューブ、22:液供給管、23:ノズル、24:湯沸かし器、25、給湯口、26:継ぎ手、26a:配管、26b:継ぎ手、27:フレキシブルチューブ、28:洗剤供給管、29:濯ぎ剤供給管、30:洗剤容器、31:濯ぎ剤容器、31a:弁、32:ブロア、33:送風口、34:シャッター、35:洗浄容器、36:載置台、37:ペット洗浄装置、37a:洗浄容器、38:電磁弁、39:濾過器、40:フレキシブルチューブ、41:コック、42:排水口、43:洗浄液タンク、44:ポンプ、45:タンク収納容器、46:濯ぎ液タンク、47:ポンプ、48、49:コック付き給水栓、49a、49b:ヒータ、50:フレキシブルチューブ、51:洗浄液供給口、52:フレキシブルチューブ、53:濯ぎ液供給口、54:コック付き給水栓、54a:給水口、55:ペット洗浄装置、55a:洗浄容器、56:液供給管、57:ノズル、58:コック付き配管、59:液供給口、60:液供給管、61:オーバーフロー管、62:濾過器、63:ポンプ、64:配管、65:接続部、66、67:コック、68:ブロア、69:送風管、70:送風口、71:コック、72:空気孔、73:空気管、74:パンタグラフ機構、75:載置台、76:パンタグラフ本体、77:ウォームギア、78:自在継ぎ手、79:ハンドル、80:ペット
【発明の属する技術分野】
本発明は、犬、猫等のペットを、それらの大きさに関わらず、洗浄及び乾燥可能なペット洗浄装置に関する。
【0002】
【従来の技術】
従来の動物を収納して洗浄、乾燥するペット洗浄装置には、例えば、動物を収納するボックスの前後板と天板とが左右に分割され、左右に揺動する左右側板に前後板と天板とが連動して左右に開閉する収納ボックスを形成し、温水や洗剤を噴射する洗浄ノズルと、送風機構からの温風を排出する送風ノズルとを収納ボックスの内部に設けることにより、収納ボックスを大きく左右に開口し、動物自身が歩いて収納ボックス内部に入って行けるものがある(例えば、特許文献1参照)。これによって、動物を抱えて収納する必要がなく、中型犬や大型犬のような動物でも、容易に洗浄乾燥することができるようになっている。
【0003】
【特許文献1】
特許第2668651号公報
【0004】
【発明が解決しようとする課題】
しかしながら、特許文献1に記載されているような従来のペット洗浄装置は、前側上部の開口部から、動物の首を出すようにしているが、動物の大きさを考慮して高さ調節ができるような構造にはなっていないため、動物が小さい場合には、動物の足が収納ボックスの底につかず危険である。
本発明はかかる事情に鑑みてなされたもので、犬、猫等のペットを、それらの大きさに関わらず、洗浄及び乾燥可能なペット洗浄装置を提供することを目的とする。
【0005】
【課題を解決するための手段】
前記目的に沿う第1の発明に係るペット洗浄装置は、(a)ペットを囲んで収納する排水口付きの容器本体と、容器本体内に設けられてペットに洗浄液及び濯ぎ液を吹き付ける複数の液吹き付け手段と、洗浄液又は濯ぎ液が吹き付けられて濡れたペットに風を送り乾燥させる複数の送風口とを有する洗浄容器と、(b)液吹き付け手段に洗浄液及び濯ぎ液をそれぞれ供給する洗浄液供給手段及び濯ぎ液供給手段と、(c)送風口に乾燥用の空気を送るブロアとを有し、しかも、洗浄容器の底部には、洗浄容器に収納するペットの大きさによって、洗浄容器の深さを調整する深さ調整手段を備えている。これによって、ペットの大きさにより、洗浄容器の深さを調整して、洗浄、濯ぎ、乾燥を行うことができる。また、液吹き付け手段から勢いよく吹き付ける洗浄液及び濯ぎ液によって、ペットに付着したゴミ等も洗い流すことができると共に、マッサージ効果も期待できる。更に、ペットの洗浄作業、濯ぎ作業、乾燥作業を一つの装置で行うことができる。
【0006】
前記目的に沿う第2の発明に係るペット洗浄装置は、(a)ペットを囲んで収納する排水口付きの容器本体と、容器本体内に設けられてペットに洗浄液及び濯ぎ液を供給する液供給口と、洗浄液又は濯ぎ液によって濡れたペットに風を送り乾燥させる複数の送風口とを有する洗浄容器と、(b)液供給口に洗浄液及び濯ぎ液をそれぞれ供給する洗浄液供給手段及び濯ぎ液供給手段と、(c)送風口に乾燥用の空気を送るブロアとを有し、しかも、洗浄容器の底部には、洗浄容器に収納するペットの大きさによって、洗浄容器の深さを調整する深さ調整手段を備えている。これによって、ペットの大きさにより、洗浄容器の深さを調整して、洗浄、濯ぎ、乾燥を行うことができる。また、洗浄液供給手段及び濯ぎ液供給手段によって、ペットに洗浄液及び濯ぎ液を供給でき、効率よくペットを洗浄することができる。更に、ペット洗浄作業、濯ぎ作業、乾燥作業を一つの装置で行うことができる。
【0007】
第1及び第2の発明に係るペット洗浄装置において、洗浄容器の開口部の大きさは調整可能とすることができる。これによって、ペットの首の大きさによらず、ペットの頭を洗浄容器から外に出すことができる。
第1及び第2の発明に係るペット洗浄装置において、洗浄液供給手段は、ペット洗浄装置とは別に配置された湯沸かし器の給湯口に接続される継ぎ手を有し、洗浄液に、継ぎ手を介して供給されるお湯を使用してもよい。これによって、湯沸かし器の給湯口に接続して、洗浄液を供給するので、洗浄液を蓄えるタンクを必要とせず、ペット洗浄装置をコンパクトにすることができる。
【0008】
第1及び第2の発明に係るペット洗浄装置において、濯ぎ液供給手段は、ペット洗浄装置とは別に配置された湯沸かし器の給湯口に接続される継ぎ手を有し、濯ぎ液に、継ぎ手を介して供給されるお湯を使用してもよい。これによって、湯沸かし器の給湯口に接続して、濯ぎ液を供給するので、濯ぎ液を蓄えるタンクを必要とせず、ペット洗浄装置を小さくすることができる。
第1及び第2の発明に係るペット洗浄装置において、洗浄液供給手段は、水道水の蛇口に接続される継ぎ手と、継ぎ手から供給される水を加温する加温手段とを有し、洗浄液に、加温手段を介して供給される水道水を使用してもよい。これによって、水道水の蛇口に接続して、洗浄液を供給するので、洗浄液を蓄えるタンクを必要とせず、ペット洗浄装置を小さくすることができる。また、水道水を利用するので、水道水の給水栓があれば、簡単に洗浄液を供給でき、加温手段により、水道水を温めることができる。
【0009】
第1及び第2の発明に係るペット洗浄装置において、洗浄液供給手段は、洗浄液を貯留する洗浄液タンクと、洗浄液タンクから洗浄液を供給するポンプとを有してもよい。これによって、予め洗浄液タンクに洗剤を添加することができる。
第1及び第2の発明に係るペット洗浄装置において、洗浄容器の排水口には濾過器が設けられ、排水口から排出され、濾過器によって濾過された洗浄液を、洗浄液タンクに再び貯留させ、洗浄液を循環させることもできる。これによって、濾過器により排水中の汚物は除去され、衛生的である。また、洗浄液が無駄にならない。
第1及び第2の発明に係るペット洗浄装置において、深さ調整手段は、パンタグラフ機構を備えていてもよい。これによって、ペットを洗浄容器内に入れたまま洗浄容器の深さを変えることができる。
【0010】
【発明の実施の形態】
続いて、添付した図面を参照しつつ、本発明を具体化した実施の形態につき説明し、本発明の理解に供する。
ここで、図1は本発明の第1の実施の形態に係るペット洗浄装置の説明図、図2は同ペット洗浄装置の平断面図、図3は本発明の第2の実施の形態に係るペット洗浄装置の説明図、図4は本発明の第3の実施の形態に係るペット洗浄装置の平断面図、図5は同ペット洗浄装置の正断面図、図6は同ペット洗浄装置の側断面図である。
【0011】
図1及び図2を参照して、本発明の第1の実施の形態に係るペット洗浄装置10を説明する。
ペット洗浄装置10は、洗浄容器35を備えている。洗浄容器35は、ペット80を囲んで収納する排水口20付きの容器本体11を有している。容器本体11は、底部12及び底部12の周囲に立設する側部13〜16を有する上方開放の箱形となっている。更に、容器本体11の底部12の中央部分には、容器本体11で使用した水を排出する排水口20が設けられ、排水口20の先部にはフレキシブルチューブ21が取付けられている。
【0012】
また、洗浄容器35は、容器本体11内に設けられてペット80に洗浄液及び濯ぎ液を吹き付ける複数の液吹き付け手段を構成する、複数のノズル23が所定の間隔で配設された液供給管22を有している。液供給管22は、複数、例えば側壁13〜16にそれぞれ2本ずつ設けられている。なお、ノズル23は、ノズル23から吹き付けられる洗浄液及び濯ぎ液がペット80に満遍なく吹き付けられるように配置されている。また、それぞれの液供給管22の基部には、これらを繋ぎ洗浄液及び濯ぎ液を供給する配管26aが取付けられている。配管26aの基部には、継ぎ手26が設けられている。
【0013】
更に、洗浄容器35は、洗浄液又は濯ぎ液が吹き付けられて濡れたペット80に風を送り乾燥させる複数の送風口33を有している。送風口33は、容器本体11の側部13、15に配設され、容器本体11の内側に向けて設けられている。ペット80の洗浄時に洗浄液及び濯ぎ液が送風口33に入らないように、送風口33にはシャッター34が設けられている。更に、送風口33には、乾燥用の空気を送る温度調節可能なヒータ付のブロア32が配設されている。
また、容器本体11にペット80を収納したときに、ペット80が首を出す、例えば、円形の開口枠17が設けられた蓋18により容器本体11が閉塞されている。また、開口枠17にはシリコンゴム、軟質ゴム等で形成され、中央部にペット80の首を出すための開口部を形成する切れ込み18aが設けられたフード19が取付けられ、ペット80を傷つけないようにしている。
【0014】
ペット洗浄装置10は、液供給管22に洗浄液を供給する洗浄液供給手段を備えている。洗浄液供給手段は、ペット洗浄装置10とは別に配置された湯沸かし器24の給湯口25に接続される継ぎ手26bと、洗浄容器35の継ぎ手26と継ぎ手26bを接続し、液供給管22に洗浄液を供給するフレキシブルチューブ27とを備えている。更に、洗浄液供給手段は、洗剤(例えば、シャンプー)が充填された洗剤容器30と、これに接続された電磁弁付きの洗剤供給管28とを備え、洗剤供給管28の他端は、フレキシブルチューブ27の中間部に接続されている。洗剤容器30に充填されている洗剤は、洗剤供給管28の電磁弁を開くことにより、湯沸かし器24からフレキシブルチューブ27を介して洗浄容器35に供給されるお湯に注入される。
【0015】
ペット洗浄装置10は、液供給管22に濯ぎ液を供給する濯ぎ液供給手段を備えている。洗浄液供給手段は、ペット洗浄装置10とは別に配置された湯沸かし器24の給湯口25に接続される継ぎ手26bと、洗浄容器35の継ぎ手26と継ぎ手26bを接続し、液供給管22に濯ぎ液を供給するフレキシブルチューブ27とを備えている。更に、濯ぎ液供給手段は、濯ぎ剤(例えば、リンス)が充填された濯ぎ剤容器31と、これに接続された電磁弁付きの濯ぎ剤供給管29とを備え、濯ぎ剤供給管29の他端は、フレキシブルチューブ27の中間部に接続されている。濯ぎ剤容器31に充填されている濯ぎ剤は、濯ぎ剤供給管29の電磁弁を開くことにより、湯沸かし器24からフレキシブルチューブ27を介して洗浄容器35に供給されるお湯に注入される。
また、フレキシブルチューブ27には、洗剤供給管28及び濯ぎ剤供給管29との接続部分よりも上流側(継ぎ手26b側)に弁31aが設けられている。
【0016】
なお、第1の実施の形態では、洗浄液供給手段及び濯ぎ液供給手段を構成する継ぎ手26b及びフレキシブルチューブ27は兼用して使用している。
また、本実施の形態では、洗浄容器35に、フレキシブルチューブ27を介して、湯沸かし器24に接続しているが、水道水の蛇口に接続してもよい。この場合には、継ぎ手26bから供給される水を加温する加温手段の一例である電熱ヒータをフレキシブルチューブ27の途中に設け、更に加温された水道水に、洗剤及び濯ぎ剤を注入してもよい。
【0017】
洗浄容器35には、容器本体11に収納するペット80の大きさによって、容器本体11の深さを調整する深さ調整手段が設けられている。本実施の形態では、深さ調整手段として、複数の高さの違うテーブル状の載置台を使用している。容器本体11の底部12には、これらの載置台のうち、ペット80の大きさに合う載置台36が配置されている。また、深さ調整手段として、ペット80の大きさに合わせて、板状物を複数枚重ねたものを使用してもよいが、排水口20を塞がないようにしなければならない。ジャッキやパンタグラフ状の昇降機を有する載置台としてもよく、手動、又は自動で昇降機の高さを調整してもよい。
【0018】
次に、ペット洗浄装置10を使用したペットの洗浄方法について説明する。
(1)容器本体11内に収納するペット80の大きさに合わせて、高さの違う複数の載置台の中から選択された載置台36を配置する。ペット80を載置台36に載せ、開口枠17に設けられたフード19の切れ込み18aをペット80の頭に通し、蓋18により容器本体11を閉塞する。
(2)弁31aを開き、湯沸かし器24からお湯を供給すると共に、洗剤供給管28の電磁弁を開き、洗剤容器30に充填されたシャンプーをお湯の中に注入して、お湯とシャンプーを混合した洗浄液を作り、この洗浄液を液供給管22を介して、ノズル23からペット80に吹き付け、ペット80を洗浄する。
(3)洗剤供給管28の電磁弁を閉じ、湯沸かし器24から供給されるお湯をペット80に吹き付け、ペット80に吹き付けられた洗浄液を洗い流す。
【0019】
(4)濯ぎ剤供給管29の電磁弁を開き、濯ぎ剤容器31に充填されたリンスをお湯の中に注入して、濯ぎ液とし、この濯ぎ液を液供給管22を介して、ノズル23からペット80に吹き付け、ペット80にリンスを行う。
(5)濯ぎ剤供給管29の電磁弁を閉じ、お湯だけをペット80に吹き付け、ペット80に吹き付けられた余分な濯ぎ液を流す。
(6)湯沸かし器24からのお湯の供給を停止すると共に、送風口33を閉塞しているシャッター34を開く。
(7)ブロア32から発生する温風を送風口33からペット80に吹き付けて、濡れたペット80を乾燥する。
(8)乾燥終了後、ペット80を取り出して、ペット80の洗浄を終了する。
【0020】
図3を参照して、本発明の第2の実施の形態に係るペット洗浄装置37を説明する。なお、ペット洗浄装置10と同一の構成要素については同一の番号を付してその詳しい説明を省略する。
ペット洗浄装置37は、洗浄容器37aを備えている。洗浄容器37aは、ペットを囲んで収納する排水口20付きの容器本体11を有している。容器本体11は、底部12及び底部12の周囲に立設する側部13〜16を有する上方開放の箱形となっている。更に、容器本体11の底部12の中央部分には、容器本体11で使用した水を排出する排水口20が設けられている。排水口20には、電磁弁38が取付けられ、電磁弁38の下方には濾過器39が設けられている。更に、濾過器39には、フレキシブルチューブ40が取付けられている。また、容器本体11の側部14下側には、排水口20とは別に、コック41付きの排水口42が設けられている。
【0021】
また、洗浄容器37aは、容器本体11の底部12に設けられ、ペットに洗浄液及び濯ぎ液をそれぞれ供給する液供給口である洗浄液供給口51、濯ぎ液供給口53を有している。また、容器本体11の側部16には、図示しない湯沸かし器から供給するお湯を図示しないフレキシブルチューブを介して、直接容器本体11に供給するコック付き給水栓54が配設された給水口54aが設けられている。
【0022】
更に、洗浄容器37aは、洗浄液又は濯ぎ液によって濡れたペットに風を送り乾燥させる複数の送風口33を有している。送風口33は、容器本体11の側部13、15に配設され、容器本体11の内側に向けて設けられている。更に、送風口33にはシャッター34が設けられている。更に、送風口33には、乾燥用の空気を送る温度調節可能なヒータ付のブロア32が配設されている。
また、容器本体11は、蓋18により閉塞されている。
【0023】
更に、ペット洗浄装置37は、洗浄液供給口51から容器本体11に洗浄液を供給する洗浄液供給手段を有している。洗浄液供給手段は、洗浄液を貯留する洗浄液タンク43、洗浄液タンク43から洗浄液を容器本体11に供給するポンプ44を有している。更に、洗浄液供給手段は、図示しない水道水の蛇口からの水を図示しないフレキシブルチューブを介して供給するコック付き給水栓48を備えている。
【0024】
また、ペット洗浄装置37は、濯ぎ液供給口53から容器本体11に濯ぎ液を供給する濯ぎ液供給手段を有している。濯ぎ液供給手段は、濯ぎ液を貯留する濯ぎ液タンク46、濯ぎ液タンク46から濯ぎ液を容器本体11に供給するポンプ47を有している。更に、濯ぎ液供給手段は、図示しない水道水の蛇口からの水を図示しないフレキシブルチューブを介して供給するコック付き給水栓49を備えている。
【0025】
更に、洗浄液タンク43及び濯ぎ液タンク46には、それぞれ水道水を温めるためのヒータ49a、49bが備えられ、冬場等の水道水が冷たいときには、水道水を温めて使用することができる。洗浄液タンク43及び濯ぎ液タンク46に水道水を貯留したあとに、それぞれに洗剤(例えば、シャンプー)、濯ぎ剤(例えば、リンス)を注入し、洗浄液及び濯ぎ液を作製する。
ここで、洗浄液タンク43と濯ぎ液タンク46は、タンク収納容器45に収納されている。更に、タンク収納容器45は、上部に洗浄容器37aが載せられている。
【0026】
洗浄容器37aには、容器本体11に収納するペットの大きさによって、容器本体11の深さを調整する深さ調整手段として、複数の高さの違うテーブル状の載置台を使用している。容器本体11の底部12には、これらの載置台のうち、ペットの大きさに合う載置台36が配置されている。また、深さ調整手段として、ペットの大きさに合わせて、板状物を複数枚重ねたものを使用してもよいが、排水口20、洗浄液供給口51、濯ぎ液供給口53、排水口42及び給水口54aを塞がないようにしなければならない。ジャッキやパンタグラフ状の昇降機を有する載置台としてもよく、手動、又は自動で昇降機の高さを調整してもよい。
【0027】
次に、ペット洗浄装置37を使用したペットの洗浄方法について説明する。
(1)洗浄液タンク43及び濯ぎ液タンク46に、それぞれコック付き給水栓48、49を開けて、水道水を供給し、貯留する。洗浄液タンク43及び濯ぎ液タンク46に、それぞれ洗剤(例えば、シャンプー)、濯ぎ液(例えば、リンス)を添加して、それぞれ洗浄液、濯ぎ液とする。場合により、ヒータ49a、49bによって、洗浄液及び濯ぎ液をそれぞれ加温する。
(2)容器本体11内にペットの大きさに合わせて選択した載置台36を配置する。ペットを載置台36に載せ、開口枠17に設けられたフード19の切れ込み18aをペットの頭に通し、蓋18により容器本体11を閉塞する。この時、排水口20の電磁弁38は閉止された状態である。
【0028】
(3)ポンプ44を稼働して、洗浄液タンク43内の洗浄液をフレキシブルチューブ50、洗浄液供給口51を介して、容器本体11に供給する。洗浄液は容器本体11内に溜まり、ペットを覆う。図示しない水流ファンにより、洗浄液が撹拌され、ペットを洗浄する。
(4)洗浄終了後、電磁弁38を開き、容器本体11内の洗浄液を濾過器39で濾過し、フレキシブルチューブ40を介して、再び、洗浄液タンク43に貯留する。これにより、洗浄液は再利用される。洗浄液は、濾過器39によって汚れが取れるまで数回循環させ、再使用することができる。汚れが取れなくなった場合には、コック41を開き、排水口42から洗浄液を排出する。
【0029】
(5)電磁弁38を閉じ、コック付き給水栓54から湯沸かし器の給湯口からのお湯を容器本体11内に供給し、ペットに付着した洗浄液を洗い落とし、コック41を開き、排水口42から排水を排出する。図示しない水流ファンを駆動して、お湯を撹拌してもよい。
(6)コック41を閉じ、ポンプ47を稼働して、濯ぎ液タンク46内の濯ぎ液をフレキシブルチューブ52、濯ぎ液供給口53を介して、容器本体11に供給する。濯ぎ液は容器本体11内に溜まり、ペットを覆う。図示しない水流ファンにより、濯ぎ液が撹拌され、ペットを濯ぐ。
【0030】
(7)濯ぎ終了後、コック41を開き、排水口42から濯ぎ液を排出する。
(8)コック41を閉じ、コック付き給水栓54から湯沸かし器の給湯口からのお湯を容器本体11内に供給し、ペットに付着した濯ぎ液を洗い落とし、コック41を開き、排水口42から排水を排出する。
(9)ブロア32の送風口33を閉塞しているシャッター34を開く。
(10)ブロア32から発生する温風を送風口33からペットに吹き付けて、濡れたペットを乾燥する。
(11)乾燥終了後、ペットを取り出して、ペットの洗浄を終了する。
【0031】
図4〜図6を参照して、本発明の第3の実施の形態に係るペット洗浄装置55を説明する。なお、ペット洗浄装置10、37と同一の構成要素については同一の番号を付してその詳しい説明を省略する。
ペット洗浄装置55は、洗浄容器55aを備えている。洗浄容器55aは、ペットを囲んで収納する容器本体11を有し、容器本体11は、底部12及び底部12の周囲に立設する側部13〜16を有する上方開放の箱形となっている。更に、容器本体11の底部12には、容器本体11で使用した水を排出する排水口20が設けられて、排水口20下部には図示しない電磁弁が取付けられている。また、ペットの洗浄時には、蓋18により、容器本体11を閉塞している(図1参照)。
【0032】
また、洗浄容器55aは、容器本体11内に設けられてペットに洗浄液及び濯ぎ液を吹き付ける複数の液吹き付け手段を構成する、複数のノズル57が所定の間隔で配設された液供給管56を有している。液供給管56は、容器本体11の側部13、15、16の上部側に設けられ、側部13、15側には、それぞれ4つのノズル57が設けられている。液供給管56の側部15側には、コック付き配管58が取付けられ、コック付き配管58の先部は湯沸かし器24の給湯口25に配設された継ぎ手26bと接続されている。なお、ノズル57は、ノズル57から吹き付けられる洗浄液及び濯ぎ液がペットに満遍なく吹き付けられるように配置されている。
更に、洗浄容器55aは、容器本体11の底部12に設けられてペットに洗浄液及び濯ぎ液を供給する液供給口59が複数、例えば8つ設けらた液供給管60を有している。
【0033】
また、洗浄容器55aには、容器本体11の側部14上部に、2つのオーバーフロー管61が設けられている。したがって、容器本体11内に多量に洗浄液又は濯ぎ液が供給された場合でも、余剰な洗浄液及び濯ぎ液がオーバーフロー管61に送られるので、容器本体11上部から溢れることはなくなる。更に、オーバーフロー管61の先部には、洗浄液及び濯ぎ液の汚れを濾過する濾過器62が設けられ、更に、洗浄液及び濯ぎ液を循環させるポンプ63が備えられている。ポンプ63には液供給管60が取付けられているので、容器本体11に溜められる洗浄液及び濯ぎ液はポンプ63によって循環することができる。液供給管60と液供給管56は、配管64によって接続されている。液供給管60と配管64は、3方に分岐した接続部65によって接続されている。また、接続部65とポンプ63との間には、コック66が設けられ、配管64には、接続部65と液供給管56との間にコック67が設けられている。
【0034】
更に、洗浄容器55aは、洗浄液又は濯ぎ液によって濡れたペットに風を送り乾燥させる複数の送風口70を有している。送風口70は、洗浄容器55aの外部に設けられた加温機能付きのブロア68から送られる乾燥した空気を、容器本体11内に供給する送風管69に、所定の間隔で多数設けられている。なお、送風管69は、ブロア68と接続され、側部13、15の中央部に水平に配置される二股の形状となっている。また、送風管69の二股の部分にはコック71が設けられ、コック71の下部には、二股に分かれ容器本体11の底部12中央に側部13と平行配置される多数の空気孔72を有する空気管73が取付けられている。
【0035】
容器本体11の底部12には、容器本体11に収納するペットの大きさによって、容器本体11の深さを調整する深さ調整手段の一例であるパンタグラフ機構74が備えられている。パンタグラフ機構74は、載置台75を支えるパンタグラフ本体76、パンタグラフ本体76の拡縮を行う一対のウォームギア77、及び自在継ぎ手78を介してウォームギア77を回転させるハンドル79により構成され、ハンドル79を回転させ、載置台75の高さを調整する。
【0036】
次に、ペット洗浄装置55を使用したペットの洗浄方法について説明する。
(1)ペットの大きさに合わせ、パンタグラフ機構74のハンドル79を回転させ、載置台75の高さの粗調整をして、ペットを載置台75に載せる。ペットの頭を開口枠17に設けられたフード19の切れ込み18aに通し、蓋18により容器本体11を閉塞する。
(2)コック付き配管58を介して、湯沸かし器24の給湯口25から、お湯を容器本体11へ供給し、お湯を容器本体11のオーバーフロー管61よりも高い位置まで溜める。洗剤を容器本体11内に添加し、洗浄液とする。
【0037】
(3)コック66を開き、ポンプ63を稼働させる。容器本体11内のお湯は、オーバーフロー管61、濾過器62、ポンプ63、液供給管60を介して、液供給口59から容器本体11へと循環する。
(4)ペットの洗浄終了後、ポンプ63を停止し、排水口20から洗浄液を排出する。
(5)コック付き配管58を介して、湯沸かし器24の給湯口25からお湯を容器本体11へ供給し、液供給管56を介して、ノズル57からお湯をペットに吹き付けて、洗浄液を洗い流す。
【0038】
(6)排水口20の電磁弁を閉じ、コック付き配管58を介して、湯沸かし器24の給湯口25からお湯を容器本体11へ供給し、お湯を容器本体11のオーバーフロー管61よりも高い位置まで溜める。濯ぎ剤を容器本体11内に添加し、濯ぎ液とする。
(7)なお、洗浄液又は濯ぎ液を容器本体11に溜めているときに、ブロア68から風を空気管73を介して、空気孔72から送って、洗浄液、濯ぎ液に空気(気泡)を注入してもよい。
【0039】
(8)コック66を開き、ポンプ63を稼働させる。容器本体11内のお湯は、オーバーフロー管61、濾過器62、ポンプ63、液供給管60を介して、液供給口59から容器本体11へと循環する。
(9)ペットの濯ぎ終了後、ポンプ63を停止し、排水口20から濯ぎ液を排出する。
(10)コック付き配管58を介して、湯沸かし器24の給湯口25からお湯を容器本体11へ供給し、液供給管56を介して、ノズル57からお湯をペットに吹き付けて、濯ぎ液を洗い流す。
【0040】
(11)ブロア68を稼働し、コック71を開き、送風管69を介して、送風口70から、ペットに空気を送り、濡れたペットを乾かす。更に、空気管73を介して、空気孔72から送風してもよい。この際にブロア68の加温機能により、温風を吹き付けることもできる。
(12)乾燥終了後、ペットを取り出して、ペットの洗浄を終了する。
【0041】
本発明は、前記した実施の形態に限定されるものではなく、本発明の要旨を変更しない範囲での変更は可能であり、例えば、前記したそれぞれの実施の形態や変形例の一部又は全部を組み合わせて本発明のペット洗浄装置を構成する場合も本発明の権利範囲に含まれる。
例えば、前記実施の形態のペット洗浄装置において、洗浄液及び濯ぎ液を吹き付ける液吹き付け手段は、同じノズルを使用したが、それぞれの液体によって別のノズルを用いてもよい。また、洗浄液及び濯ぎ液を容器本体に供給する洗浄液供給手段及び濯ぎ液供給手段は、同じ液供給管を使用したが、それぞれの液体によって別の液供給管を用いてもよい。
【0042】
更に、液供給管は、側部に各々2本ずつ底部に対して垂直方向に設けたが、液供給管の数、配置方向はこの限りでない。また、液供給管に配設されるノズルの数、液の噴出方向も限定されず、ペットに満遍なく洗浄液、濯ぎ液が吹き付けられればよい。
また、前記実施の形態では洗浄液タンクと濯ぎ液タンクを別々に設けたが、水タンクを設け、ポンプにより容器本体に水を供給する前に、洗剤(シャンプー)や濯ぎ剤(リンス)を添加するようにしてもよい。
更に、前記実施の形態ではシャンプー及びリンスを添加したが、ペットが病気になっているときには、薬剤を添加してもよい。
【0043】
【発明の効果】
請求項1及びこれに従属する請求項3〜9記載のペット洗浄装置においては、容器本体と、容器本体内に設けられてペットに洗浄液及び濯ぎ液を吹き付ける複数の液吹き付け手段と、濡れたペットに風を送り乾燥させる複数の送風口とを有する洗浄容器と、洗浄液供給手段及び濯ぎ液供給手段と、ブロアとを有し、洗浄容器の底部には、洗浄容器に収納するペットの大きさによって、洗浄容器の深さを調整する深さ調整手段を備えているので、ペットの大きさにより、洗浄容器の深さを調整して、洗浄、濯ぎ、乾燥を行うことができる。また、液吹き付け手段から勢いよく吹き付ける洗浄液及び濯ぎ液によって、ペットに付着したゴミ等も洗い流すことができる。更に、ペットの洗浄作業、濯ぎ作業、乾燥作業を一つの装置で行うことができる。
【0044】
請求項2及びこれに従属する請求項3〜9記載のペット洗浄装置においては、容器本体と、容器本体内に設けられてペットに洗浄液及び濯ぎ液を供給する液供給口と、濡れたペットに風を送り乾燥させる複数の送風口とを有する洗浄容器と、洗浄液供給手段及び濯ぎ液供給手段と、ブロアとを有し、洗浄容器の底部には、洗浄容器に収納するペットの大きさによって、洗浄容器の深さを調整する深さ調整手段を備えているので、ペットの大きさにより、洗浄容器の深さを調整して、洗浄、濯ぎ、乾燥を行うことができる。また、洗浄液供給手段及び濯ぎ液供給手段によって、ペットに洗浄液及び濯ぎ液を供給でき、効率よくペットを洗浄することができる。更に、ペット洗浄作業、濯ぎ作業、乾燥作業を一つの装置で行うことができる。
【0045】
特に、請求項3記載のペット洗浄装置においては、洗浄容器の開口部の大きさは調整可能となっているので、ペットの首の大きさによらず、ペットの頭を洗浄容器から外に出すことができる。
請求項4記載のペット洗浄装置においては、洗浄液供給手段は、ペット洗浄装置とは別に配置された湯沸かし器の給湯口に接続される継ぎ手を有し、洗浄液に、継ぎ手を介して供給されるお湯が使用されているので、洗浄液を蓄えるタンクを必要とせず、ペット洗浄装置を小さくすることができる。
【0046】
請求項5記載のペット洗浄装置においては、濯ぎ液供給手段は、ペット洗浄装置とは別に配置された湯沸かし器の給湯口に接続される継ぎ手を有し、濯ぎ液に、継ぎ手を介して供給されるお湯が使用されているので、濯ぎ液を蓄えるタンクを必要とせず、ペット洗浄装置を小さくすることができる。
特に、請求項6記載のペット洗浄装置においては、洗浄液供給手段は、水道水の蛇口に接続される継ぎ手と、継ぎ手から供給される水を加温する加温手段とを有し、洗浄液に、加温手段を介して供給される水道水が使用されているので、洗浄液を蓄えるタンクを必要とせず、ペット洗浄装置を小さくすることができる。また、水道水を利用するので、水道水の給水栓があれば、簡単に洗浄液を供給でき、加温手段により、水道水を温めることができる。
【0047】
請求項7記載のペット洗浄装置においては、洗浄液供給手段は、洗浄液を貯留する洗浄液タンクと、洗浄液タンクから洗浄液を供給するポンプとを有するので、予め洗浄液タンクに洗剤を添加することができる。
請求項8記載のペット洗浄装置においては、洗浄容器の排水口には濾過器が設けられ、排水口から排出され、濾過器によって濾過された洗浄液を、洗浄液タンクに再び貯留し、洗浄液を循環させるので、濾過器により排水中の汚物は除去され、衛生的である。また、洗浄液が無駄にならない。
請求項9記載のペット洗浄装置においては、深さ調整手段は、パンタグラフ機構を備えているので、ペットを洗浄容器内に入れたまま洗浄容器の深さを変えることができ、ペットの大きさが変わっても簡単に深さを変えることができる。
【図面の簡単な説明】
【図1】本発明の第1の実施の形態に係るペット洗浄装置の説明図である。
【図2】同ペット洗浄装置の平断面図である。
【図3】本発明の第2の実施の形態に係るペット洗浄装置の説明図である。
【図4】本発明の第3の実施の形態に係るペット洗浄装置の平断面図である。
【図5】同ペット洗浄装置の正断面図である。
【図6】同ペット洗浄装置の側断面図である。
【符号の説明】
10:ペット洗浄装置、11:容器本体、12:底部、13〜16:側部、17:開口枠、18:蓋、18a:切れ込み、19:フード、20:排水口、21:フレキシブルチューブ、22:液供給管、23:ノズル、24:湯沸かし器、25、給湯口、26:継ぎ手、26a:配管、26b:継ぎ手、27:フレキシブルチューブ、28:洗剤供給管、29:濯ぎ剤供給管、30:洗剤容器、31:濯ぎ剤容器、31a:弁、32:ブロア、33:送風口、34:シャッター、35:洗浄容器、36:載置台、37:ペット洗浄装置、37a:洗浄容器、38:電磁弁、39:濾過器、40:フレキシブルチューブ、41:コック、42:排水口、43:洗浄液タンク、44:ポンプ、45:タンク収納容器、46:濯ぎ液タンク、47:ポンプ、48、49:コック付き給水栓、49a、49b:ヒータ、50:フレキシブルチューブ、51:洗浄液供給口、52:フレキシブルチューブ、53:濯ぎ液供給口、54:コック付き給水栓、54a:給水口、55:ペット洗浄装置、55a:洗浄容器、56:液供給管、57:ノズル、58:コック付き配管、59:液供給口、60:液供給管、61:オーバーフロー管、62:濾過器、63:ポンプ、64:配管、65:接続部、66、67:コック、68:ブロア、69:送風管、70:送風口、71:コック、72:空気孔、73:空気管、74:パンタグラフ機構、75:載置台、76:パンタグラフ本体、77:ウォームギア、78:自在継ぎ手、79:ハンドル、80:ペット
Claims (9)
- (a)ペットを囲んで収納する排水口付きの容器本体と、該容器本体内に設けられてペットに洗浄液及び濯ぎ液を吹き付ける複数の液吹き付け手段と、洗浄液又は濯ぎ液が吹き付けられて濡れたペットに風を送り乾燥させる複数の送風口とを有する洗浄容器と、(b)前記液吹き付け手段に洗浄液及び濯ぎ液をそれぞれ供給する洗浄液供給手段及び濯ぎ液供給手段と、(c)前記送風口に乾燥用の空気を送るブロアとを有し、
しかも、前記洗浄容器の底部には、前記洗浄容器に収納するペットの大きさによって、前記洗浄容器の深さを調整する深さ調整手段を備えていることを特徴とするペット洗浄装置。 - (a)ペットを囲んで収納する排水口付きの容器本体と、該容器本体内に設けられてペットに洗浄液及び濯ぎ液を供給する液供給口と、洗浄液又は濯ぎ液によって濡れたペットに風を送り乾燥させる複数の送風口とを有する洗浄容器と、(b)前記液供給口に洗浄液及び濯ぎ液をそれぞれ供給する洗浄液供給手段及び濯ぎ液供給手段と、(c)前記送風口に乾燥用の空気を送るブロアとを有し、
しかも、前記洗浄容器の底部には、前記洗浄容器に収納するペットの大きさによって、前記洗浄容器の深さを調整する深さ調整手段を備えていることを特徴とするペット洗浄装置。 - 請求項1及び2のいずれか1項に記載のペット洗浄装置において、前記洗浄容器の開口部の大きさは調整可能となっていることを特徴とするペット洗浄装置。
- 請求項1〜3のいずれか1項に記載のペット洗浄装置において、前記洗浄液供給手段は、該ペット洗浄装置とは別に配置された湯沸かし器の給湯口に接続される継ぎ手を有し、洗浄液に、該継ぎ手を介して供給されるお湯が使用されていることを特徴とするペット洗浄装置。
- 請求項1〜3のいずれか1項に記載のペット洗浄装置において、前記濯ぎ液供給手段は、該ペット洗浄装置とは別に配置された湯沸かし器の給湯口に接続される継ぎ手を有し、濯ぎ液に、該継ぎ手を介して供給されるお湯が使用されていることを特徴とするペット洗浄装置。
- 請求項1〜3のいずれか1項に記載のペット洗浄装置において、前記洗浄液供給手段は、水道水の蛇口に接続される継ぎ手と、該継ぎ手から供給される水を加温する加温手段とを有し、洗浄液に、該加温手段を介して供給される水道水が使用されていることを特徴とするペット洗浄装置。
- 請求項1〜3のいずれか1項に記載のペット洗浄装置において、前記洗浄液供給手段は、洗浄液を貯留する洗浄液タンクと、該洗浄液タンクから洗浄液を供給するポンプとを有することを特徴とするペット洗浄装置。
- 請求項7記載のペット洗浄装置において、前記洗浄容器の排水口には濾過器が設けられ、前記排水口から排出され、前記濾過器によって濾過された洗浄液を、前記洗浄液タンクに再び貯留し、洗浄液を循環させることを特徴とするペット洗浄装置。
- 請求項1〜8のいずれか1項に記載のペット洗浄装置において、前記深さ調整手段は、パンタグラフ機構を備えていることを特徴とするペット洗浄装置。
Priority Applications (1)
| Application Number | Priority Date | Filing Date | Title |
|---|---|---|---|
| JP2003036632A JP2004242595A (ja) | 2003-02-14 | 2003-02-14 | ペット洗浄装置 |
Applications Claiming Priority (1)
| Application Number | Priority Date | Filing Date | Title |
|---|---|---|---|
| JP2003036632A JP2004242595A (ja) | 2003-02-14 | 2003-02-14 | ペット洗浄装置 |
Publications (1)
| Publication Number | Publication Date |
|---|---|
| JP2004242595A true JP2004242595A (ja) | 2004-09-02 |
Family
ID=33021660
Family Applications (1)
| Application Number | Title | Priority Date | Filing Date |
|---|---|---|---|
| JP2003036632A Pending JP2004242595A (ja) | 2003-02-14 | 2003-02-14 | ペット洗浄装置 |
Country Status (1)
| Country | Link |
|---|---|
| JP (1) | JP2004242595A (ja) |
Cited By (8)
| Publication number | Priority date | Publication date | Assignee | Title |
|---|---|---|---|---|
| CN105379637A (zh) * | 2015-12-03 | 2016-03-09 | 芒果物联网科技(常州)有限公司 | 一种智能宠物烘干机 |
| CN108739482A (zh) * | 2018-08-16 | 2018-11-06 | 莱克电气股份有限公司 | 一种带有风道切换的清洗机 |
| KR20200017742A (ko) * | 2018-08-09 | 2020-02-19 | 한남대학교 산학협력단 | 애완동물용 세척장치 |
| CN111771751A (zh) * | 2020-08-06 | 2020-10-16 | 深圳杰飒科技有限公司 | 一种宠物活性氧消毒器 |
| KR20210028942A (ko) * | 2019-09-05 | 2021-03-15 | 조성희 | 일체형 반려견 목욕시스템 |
| CN112788948A (zh) * | 2018-10-16 | 2021-05-11 | 朴孟錤 | 用于宠物的多屋 |
| KR20240019437A (ko) * | 2022-08-04 | 2024-02-14 | 김유진 | 애완동물용 마사지기 |
| WO2024221077A1 (pt) * | 2023-04-28 | 2024-10-31 | Lucio Rocha Nascimento Sergio | Máquina lavadora de animais domésticos |
-
2003
- 2003-02-14 JP JP2003036632A patent/JP2004242595A/ja active Pending
Cited By (12)
| Publication number | Priority date | Publication date | Assignee | Title |
|---|---|---|---|---|
| CN105379637A (zh) * | 2015-12-03 | 2016-03-09 | 芒果物联网科技(常州)有限公司 | 一种智能宠物烘干机 |
| KR20200017742A (ko) * | 2018-08-09 | 2020-02-19 | 한남대학교 산학협력단 | 애완동물용 세척장치 |
| KR102087516B1 (ko) * | 2018-08-09 | 2020-03-10 | 한남대학교 산학협력단 | 애완동물용 세척장치 |
| CN108739482A (zh) * | 2018-08-16 | 2018-11-06 | 莱克电气股份有限公司 | 一种带有风道切换的清洗机 |
| CN108739482B (zh) * | 2018-08-16 | 2023-10-20 | 莱克电气股份有限公司 | 一种带有风道切换的清洗机 |
| CN112788948A (zh) * | 2018-10-16 | 2021-05-11 | 朴孟錤 | 用于宠物的多屋 |
| KR20210028942A (ko) * | 2019-09-05 | 2021-03-15 | 조성희 | 일체형 반려견 목욕시스템 |
| KR102370016B1 (ko) | 2019-09-05 | 2022-03-04 | 조성희 | 일체형 반려견 목욕시스템 |
| CN111771751A (zh) * | 2020-08-06 | 2020-10-16 | 深圳杰飒科技有限公司 | 一种宠物活性氧消毒器 |
| KR20240019437A (ko) * | 2022-08-04 | 2024-02-14 | 김유진 | 애완동물용 마사지기 |
| KR102830782B1 (ko) * | 2022-08-04 | 2025-07-04 | 김유진 | 애완동물용 마사지기 |
| WO2024221077A1 (pt) * | 2023-04-28 | 2024-10-31 | Lucio Rocha Nascimento Sergio | Máquina lavadora de animais domésticos |
Similar Documents
| Publication | Publication Date | Title |
|---|---|---|
| CA2707181C (en) | Portable device and process to automatically cleanse and dry pets | |
| EP3855905B1 (en) | Pet bath | |
| US9986718B2 (en) | Automated animal washing systems | |
| US8061304B1 (en) | Small pet washing apparatus | |
| US20110297103A1 (en) | Pet bathtub | |
| JP3798005B2 (ja) | ペット洗浄乾燥装置 | |
| US11559171B2 (en) | Bath with elliptical air flow and/or moveable bottom | |
| ES2328293T3 (es) | Aparato de limpieza de circuitos involucrados en la preparacion de bebidas a base de leche. | |
| JP2004308230A (ja) | 便器用の身体洗浄ユニット | |
| KR102031225B1 (ko) | 애완동물 목욕장치 | |
| JP3104931U (ja) | ペット用お風呂装置 | |
| JP2004242595A (ja) | ペット洗浄装置 | |
| KR101525934B1 (ko) | 애완동물용 스파 | |
| CN110810265A (zh) | 一种宠物清洗机用冲洗设备 | |
| US20070289549A1 (en) | Automatic Hydromassage Machine for Household Pets | |
| KR200318534Y1 (ko) | 애완동물 자동 세척기 | |
| JP3532191B1 (ja) | ペット洗浄装置 | |
| KR20200123330A (ko) | 애완동물 목욕장치 | |
| JP2004298117A (ja) | 動物洗浄装置 | |
| JP3897951B2 (ja) | 洗浄機能付きシンク | |
| JPH11299382A (ja) | ペット用洗浄乾燥装置 | |
| CN219887069U (zh) | 具有吹干功能的排便装置 | |
| US12376564B1 (en) | Pet bath machine | |
| JPH11206259A (ja) | ペットの洗浄および乾燥方法ならびにそれに使用する装置 | |
| CN215690142U (zh) | 一种体模消毒装置 |