JP2004190852A - 流体制御器 - Google Patents

流体制御器 Download PDF

Info

Publication number
JP2004190852A
JP2004190852A JP2003271267A JP2003271267A JP2004190852A JP 2004190852 A JP2004190852 A JP 2004190852A JP 2003271267 A JP2003271267 A JP 2003271267A JP 2003271267 A JP2003271267 A JP 2003271267A JP 2004190852 A JP2004190852 A JP 2004190852A
Authority
JP
Japan
Prior art keywords
handle
open
cover
fluid
fluid passage
Prior art date
Legal status (The legal status is an assumption and is not a legal conclusion. Google has not performed a legal analysis and makes no representation as to the accuracy of the status listed.)
Granted
Application number
JP2003271267A
Other languages
English (en)
Other versions
JP4599813B2 (ja
Inventor
Kenji Tsubota
憲士 坪田
Ichiro Tokuda
伊知郎 徳田
Tsutomu Shinohara
努 篠原
Michio Yamaji
道雄 山路
Current Assignee (The listed assignees may be inaccurate. Google has not performed a legal analysis and makes no representation or warranty as to the accuracy of the list.)
Fujikin Inc
Original Assignee
Fujikin Inc
Priority date (The priority date is an assumption and is not a legal conclusion. Google has not performed a legal analysis and makes no representation as to the accuracy of the date listed.)
Filing date
Publication date
Application filed by Fujikin Inc filed Critical Fujikin Inc
Priority to JP2003271267A priority Critical patent/JP4599813B2/ja
Publication of JP2004190852A publication Critical patent/JP2004190852A/ja
Application granted granted Critical
Publication of JP4599813B2 publication Critical patent/JP4599813B2/ja
Anticipated expiration legal-status Critical
Expired - Lifetime legal-status Critical Current

Links

Images

Landscapes

  • Indication Of The Valve Opening Or Closing Status (AREA)

Abstract

【課題】 開閉表示機能を有しかつ構成が簡単な流体制御器を提供する。
【解決手段】 流体制御器は、回転させられることにより弁棒を上下移動させるハンドル31を備えている。ハンドル31が90°回転させられることにより閉と開とが切り替わるようになされるとともに、ハンドル31が平面より見て略長円形でかつその長手方向の中央部にくびれ部34aを有する形状とされ、カバー29上面に記載された開閉表示文字35がハンドル31のくびれ部34aから視認可能とされている。
【選択図】 図5

Description

この発明は、流体制御器に関し、特に、流体通路の遮断または開放を外から認知できる開閉状態機能付きの流体制御器に関する。
ハンドルを回転させることにより流体通路が開閉される制御器は、よく知られているが、この種の流体制御器では、流体が有害ガスなどである場合には、誤作動をなくすために流体通路の遮断または開放を外から認知できる開閉表示機能付きとすることが要望されている。開閉表示機能付きの制御器については、各種の提案がなされている(例えば、特許文献1参照)。
特開2000−9254号公報
特許文献1に記載の制御器では、開閉表示機能の付加が部品数の増加および構成の複雑化につながり、製造コストが高くつくという問題があった。
この発明の目的は、開閉表示機能を有しかつ構成が簡単な流体制御器を提供することにある。
この発明による制御器は、流体通路が設けられている本体と、上下移動させられることにより本体の通路を開閉する弁棒と、本体に固定されて弁棒を案内する円筒状ボンネットと、ボンネットの頂部に固定されたカバーと、カバーよりも上方に突出させられた弁棒上端部に固定され回転させられることにより弁棒を上下移動させるハンドルとを備えている制御器において、ハンドルが90°回転させられることにより通路の遮断開放状態が切り替わるようになされるとともに、ハンドルが平面より見てその中央部にくびれ部を有する形状とされ、カバー上面に記載された開閉表示文字がハンドルのくびれ部から視認可能とされていることを特徴とするものである。
ハンドル形状は、平面より見て略長円形、略長方形、略菱形などとなされ、その長手方向の中央部にくびれ部が設けられる。この場合に、ハンドルの長手方向と流体通路の方向が一致したときに開、ハンドルの長手方向と流体通路の方向が直交したときに閉とすることが好ましい。ハンドルを90°回転させた際に通路を遮断開放状態するための構成は、限定されるものでなく、カム手段、ねじ手段、ばね手段などが単独または組み合わされて構成される。
この発明の流体制御器によると、ハンドルの中央部にくびれ部を設けることにより、ハンドルの上から見た場合にこのくびれ部を通してカバー上面が視認可能となる。したがって、カバー上面に開または閉の文字などを記載しておくことにより、流体制御器が従来有していた機能を阻害することなくかつ部品数を増加させずに開閉表示を行うことができる。
ハンドルは、カバーに嵌め合わせられる嵌め合わせ部と、嵌め合わせ部の上端に一体に設けられかつ平面から見て中央部がくびれた把手部とからなることがある。このようにすると、ハンドルの制御器本体への取付けが容易となり、かつハンドル操作もしやすくなる。
ハンドルの嵌め合わせ部の周壁に、のぞき窓が設けられるとともに、カバー部の周面に、のぞき窓から視認可能な開閉表示文字が記載されていることがある。このようにすると、制御器の上方からだけでなく、側面からも開閉状態を確認することができ、誤操作の危険性をより少なくすることができる。
本体は、互いに180°離れた位置に設けられた2つの流体通路開口および各開口に配管を接続するための継手部を有していることがあり、また、本体は、互いに90°離れた位置に設けられた2つの流体通路開口および各開口に配管を接続するための継手部を有していることがあり、さらにまた、3つの流体通路開口および各開口に配管を接続するための継手部を有していることがあり、また、本体は、互いに90°離れた位置に設けられた4つの流体通路開口および各開口に配管を接続するための継手部を有していることがある。こうして、ハンドルとしては同じものを使用して、本体を変更することにより、2方弁、3方弁および4方弁のいずれにも対応することができる。この場合に、カバーの上面に90°おきに、開表示および閉表示のいずれか一方が施されていることが好ましい。
開口が2つの場合、カバーには、90°置きに「OPEN」および「CLOSE」が順に記載されるが、開口が3つ以上設けられる場合には、通常は、90°置きに「OPEN」および「CLOSE」が順に記載され、必要に応じ、すなわち、各開口の開閉状態により、「OPEN」または「CLOSE」の表示位置およびその数が適宜変更される。こうして、開閉表示文字の配列の変更だけで、2方弁、3方弁および4方弁のすべてに対応することができる。
この発明の実施の形態を、以下図面を参照して説明する。以下の説明において、左右は、図の左右をいうものとする。
図1から図4までは、この発明の流体制御器の実施形態を示している。図1および図2は、流体通路が開放された状態、図3および図4は、流体通路が閉鎖された状態をそれぞれ示している。
流体制御器(1)は、流体流入通路(2a)、流体流出通路(2b)および上方に向かって開口した凹所(2c)を有している直方体ブロック状本体(2)と、流体流入通路(2a)の周縁に設けられた環状弁座(3)と、環状弁座(3)に押圧または離間されて流体通路(2a)を開閉するダイヤフラム(弁体)(4)と、ダイヤフラム(4)を押さえる上下移動可能な弁体押さえ(5)と、本体(2)の凹所(2c)に下端部が挿入されて上方にのびる円筒状ボンネット(6)と、本体(2)の凹所(2c)内周に設けられためねじ部にねじ込まれてボンネット(6)を本体(2)に固定する筒状おねじ部材(7)と、筒状おねじ部材(7)よりも上方にあるボンネット(6)を覆うカバー(8)と、ボンネット(6)内に上下移動自在に挿入され下端が弁体押さえ(5)に当接し上端部がカバー(8)よりも上方に突出している弁棒(9)と、弁棒(9)上端部に固定され回転させられることにより弁棒(9)を上下移動させる開閉ハンドル(10)と、弁棒(9)下端部とボンネット(6)上端部との間に受け止められて弁棒(9)を下向きに付勢する圧縮コイルバネ(11)とを備えている。
本体(2)の流体流入通路(2a)は、一端が左方に向かって開口しかつ他端が凹所(2c)の底面中央部に開口し、流体流出通路(2b)は、一端が右方に向かって開口し他端が凹所(2c)の底面右部に開口している。
弁体押さえ(5)は、円柱状に形成されて、弁棒(9)の下端面に設けられた凹所に嵌め入れられて固定されている。ボンネット(6)の下端部は、本体(2)の凹所(2c)にきつく嵌め入れられて、ダイヤフラム(4)の外周部を本体(2)に固定している。
筒状おねじ部材(7)は、その下端がボンネット(6)の外周に設けられた段部に当接した状態で本体(2)の凹所(2c)の内周面に設けられためねじ部にねじ合わされることにより、本体(2)に固定されている。
カバー(8)は、その周壁を貫通する皿小ネジ(12)がボンネット(6)に設けられためねじにねじ込まれることにより、ボンネット(6)に固定されている。
カバー(8)の頂壁とボンネット(6)の頂面との間には、間隙が設けられており、この間隙に位置する弁棒(9)の部分には、水平軸(13)が貫通させられて、この両端部にそれぞれベアリング(14)が取り付けられている。ボンネット(6)の上端には、これらのベアリング(14)を案内する平面から見て環状でかつ高さ方向に滑らかな凹凸状とされた案内面(15)が形成されている。図1においては、案内面(15)のうちの180°離れた位置にある1対の凸部(15a)がベアリング(14)を支持しており、弁棒(9)は、上方すなわち流体通路開位置に位置させられている。弁棒(9)は、圧縮コイルばね(11)によって常に下向きに付勢されており、この付勢力によってベアリング(14)が案内面(15)の凸部(15a)に押圧されている。案内面(15)は、この凸部(15a)から周方向に移動するに連れて徐々に高さが低くなっていき、凸部(15a)から90°周方向に移動した位置において高さが最も低い凹部(15b)を有している。したがって、図1の状態から弁棒(9)が90°回転させられた図3の状態になるに際しては、圧縮コイルばね(11)の付勢力によって案内面(15)に押圧された状態で、ベアリング(14)が案内面(15)上を移動し、90°回転後に、案内面(15)のうちの1対の凹部(15b)がベアリング(14)を支持することになり、この結果、弁棒(9)は、下方すなわち流体通路閉位置に位置させられる。こうして、ハンドル(10)が90°回転させられることにより閉と開とが切り替わるようになされている。ハンドル(10)は、平面から見て略長円状とされており、その長手方向が流体通路方向と一致した際には、流体通路が開に、これより90°回転させられた際(その長手方向が流体通路方向と直交するようになった際)には、流体通路が閉になるように、ハンドル(10)の位置決めが行われている。
弁棒(9)は、下端部にフランジ(9a)を有しており、ボンネット(6)の下端部に、このフランジ(9a)を上下移動可能に案内する内周面およびフランジ(9a)の所定位置よりも上方への移動を阻止する段部が設けられている。弁棒(9)のフランジ(9a)よりも上方の部分には、ベアリング(16)を介してばね受け用リング(17)が取り付けられている。圧縮コイルばね(11)は、このばね受け用リング(17)とボンネット(6)の上部に設けられた環状の段部とによって受け止められている。
カバー(8)は、頂壁(8a)を有する円筒状とされており、その頂壁(8a)には、弁棒(9)上端部を挿通させる貫通孔が設けられている。そして、図2および図4に示すように、カバー(8)の頂壁(8a)の上面には、「OPEN」または「CLOSE」の開閉表示文字(18)(19)が記載されている。ハンドル(10)は、平面より見て略長円形でかつその長手方向の中央部にくびれ部(10a)を有する形状とされている。したがって、流体通路が開放されている際には、図2に示すように、カバー(8)の頂壁(8a)上面の左右方向の軸を挟むようにして記載された「OPEN」の開閉表示文字(18)がハンドル(10)のくびれ部(10a)から視認可能とされ、また、流体通路が閉鎖された際には、図4に示すように、カバー(8)の頂壁(8a)上面の左右方向の軸に沿って記載された「CLOSE」の開閉表示文字(19)がハンドル(10)のくびれ部(10a)から視認可能とされている。
上記実施形態では、ハンドル(10)がカバー(8)から離れて上方に突出しているが、以下に示すように、ハンドル(31)は、カバー(29)を覆うように形成することもできる。
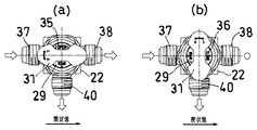
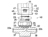
図5から図8までは、この発明の流体制御器の第2実施形態を示している。図5、図6および図7は、流体通路が開放された状態、図8は、流体通路が閉鎖された状態をそれぞれ示している。
流体制御器(21)は、流体流入通路(22a)、流体流出通路(22b)および上方に向かって開口した凹所(22c)を有している直方体ブロック状本体(22)と、流体流入通路(22a)の周縁に設けられた環状弁座(23)と、環状弁座(23)に押圧または離間されて流体通路(22a)を開閉するダイヤフラム(弁体)(24)と、ダイヤフラム(24)を押さえる上下移動可能な押さえ部(25a)が下端に取り付けられた上下移動可能なディスク(弁体押さえ)(25)と、本体(22)の凹所(22c)に下端部が挿入されて上方にのびる円筒状ボンネット(26)と、本体(22)の凹所(22c)外周に設けられたおねじ部にねじ合わされボンネット(26)を本体(22)に固定する袋ナット(27)と、袋ナット(27)よりも上方にあるボンネット(26)のおねじ部にねじ合わされたナット(28)と、ボンネット(26)上端部に回転不可能に取り付けられた円筒状カバー(29)と、ボンネット(26)内に上下移動自在に挿入され下端が弁体押さえ(25)に当接し上端部(30a)がカバー(29)よりも上方に突出している弁棒(30)と、弁棒(30)上端部(30a)にねじ(32)で固定され回転させられることにより弁棒(30)を上下移動させる開閉ハンドル(31)とを備えている。
各流体通路(22a)(22b)の開口には、おねじタイプの継手部(37)(38)が設けられている。
この実施形態では、ボンネット(26)の内周にめねじ部(26a)が設けられるとともに、弁棒(30)の中間部外周におねじ部(30b)が設けられ、これらのねじ部(26a)(30b)のねじ合わせによって、弁棒(30)が下方に移動し、弁体押さえ(25)が下方に移動させられる。
ハンドル(31)は、カバー(29)に嵌め合わせられる嵌め合わせ部(33)と、嵌め合わせ部(33)の上端に一体に設けられかつ平面から見て中央部がくびれた略長円状とされた把手部(34)とからなる。
嵌め合わせ部(33)は、輪郭形状が平面から見て略長円形の筒状とされており、カバー(29)外周に対応する円筒内周面(33a)を有している。把手部(34)のくびれ部(34a)に対応する嵌め合わせ部(33)の頂壁部分は、切り欠かれており、この切欠きすなわちのぞき窓(33b)からカバー(29)の頂面が露出させられている。カバー(29)の頂面には、「OPEN」または「CLOSE」の開閉表示文字(35)(36)が90°おきに記載されている。第2実施形態の流体制御器(21)は、第1実施形態のものと同じタイプの2方弁であり、ハンドル(31)は、その長手方向が流体通路方向と一致した際には、流体通路が開に、これより90°回転させられた際(その長手方向が流体通路方向と直交するようになった際)には、流体通路が閉になるように位置決めされており、流体通路が開放されている際には、図7に示すように、カバー(29)の頂面に対向状に記載された「OPEN」の開閉表示文字(35)がハンドル(31)の把手部(34)のくびれ部(34a)から視認可能とされ、また、流体通路が閉鎖された際には、図8に示すように、カバー(29)の頂面に対向状に記載された「CLOSE」の開閉表示文字(36)がハンドル(31)の把手部(34)のくびれ部(34a)から視認可能とされている。
上記第2の実施形態では、制御器(21)の本体(22)は、互いに180°離れた位置に設けられた2つの流体通路(22a)(22b)開口および各開口に配管を接続するための継手部(37)(38)を有している2方弁とされているが、以下に示すように、本体(22)を直方体ブロック状のままとするとともに、内部の流体通路を変更して継手部の設置位置を変更することにより、ハンドル(31)を同じ形状として、種々の流体制御器(21)を形成することができる。なお、図9から図14までの図において、白抜きの矢印は、通路開放状態を、白丸印は、通路閉鎖状態をそれぞれ示している。
図9に示す第3実施形態は、本体(22)が互いに90°離れた位置に設けられた2つの流体通路(図示略)開口および各開口に配管を接続するための継手部(37)(39)を有しているコーナー2方弁であり、ハンドル(31)は、その長手方向が流体流入通路方向と直交した際には、流体通路が開に(図9(a)参照)、これより90°回転させられた際(その長手方向が流体通路方向と一致するようになった際)には、流体通路が閉(図9(b)参照)になるように位置決めされており、流体通路が開放されている際には、カバー(29)の頂面に対向状に記載された「OPEN」の開閉表示文字(35)がハンドル(31)の把手部(34)のくびれ部(34a)から視認可能とされ、また、流体通路が閉鎖された際には、カバー(29)の頂面に対向状に記載された「CLOSE」の開閉表示文字(36)がハンドル(31)の把手部(34)のくびれ部(34a)から視認可能とされている。
図10に示す第4実施形態、図11に示す第5実施形態および図12に示す第6実施形態は、本体(22)が3つの流体通路(図示略)開口および各開口に配管を接続するための継手部(37)(38)(39)を有している3方弁であり、3方弁の場合には、入口を基準として、入口と直角方向が閉とされて、入口と直線方向が開とされる第1の型式(図10参照)、入口と直角方向が開とされて、入口と直線方向が閉とされる第2の型式(図11参照)、入口と直角方向および直線方向がともに閉とされる第3の型式(図12参照)の3つの使用形態があり得る。第1の型式では、図10に示されているように、カバー(29)上面には、入口から時計回りに「OPEN」、「OPEN」、「OPEN」、「CLOSE」の順で開閉文字(35)(36)が表示されている。また、第2の型式では、図11に示されているように、カバー(29)上面には、入口から時計回りに「OPEN」、「OPEN」、「CLOSE」、「OPEN」の順で開閉文字(35)(36)が表示されている。第3の型式では、図12に示されているように、カバー(29)上面には、入口から時計回りに「CLOSE」、「OPEN」、「CLOSE」、「OPEN」の順で開閉文字(35)(36)が表示されている。
図13に示す第7実施形態および図14に示す第8実施形態は、本体(22)が互いに90°離れた位置に設けられた4つの流体通路(図示略)開口および各開口に配管を接続するための継手部(37)(38)(39)(40)を有している4方弁であり、4方弁の場合には、3つの出口がすべて閉とされる第1の型式(図13参照)、入口から見て右の方向および左の方向が閉とされて、入口から見て真っ直ぐの方向が開とされる第2の型式(図14参照)、入口から見て左右の方向がいずれも閉とされて、入口から見て真っ直ぐの方向が開とされる第3の型式(図示略)、入口から見て左の方向および真っ直ぐの方向がいずれも閉とされて、入口から見て右の方向が開とされる第4の型式(図示略)などの使用形態があり得る。第1の型式では、図13に示されているように、カバー(29)上面には、入口から時計回りに「CLOSE」、「OPEN」、「CLOSE」、「OPEN」の順で開閉文字(35)(36)が表示さていれる。また、第2の型式では、図14に示されているように、カバー(29)上面には、入口から時計回りに「OPEN」、「OPEN」、「CLOSE」、「OPEN」の順で開閉文字(35)(36)が表示されている。第1および第2以外の型式については、同様に、カバー(29)上面に90°おきに、開表示「OPEN」(35)および閉表示「CLOSE」(36)のいずれか一方が施される。
図15から図17までは、この発明の流体制御器の第9実施形態を示している。図15および図16は、流体通路が開放された状態、図17は、流体通路が閉鎖された状態をそれぞれ示している。
この実施形態は、図5から図8までに示した第2実施形態に対し、ハンドルの構成が異なるだけであり、第2実施形態と同じものには同じ符号を付してその説明を省略する。
ハンドル(41)は、カバー(29)に嵌め合わせられる嵌め合わせ部(43)と、嵌め合わせ部(43)の上端に一体に設けられかつ平面から見て中央部がくびれた略長円状とされた把手部(44)とからなる。
嵌め合わせ部(43)は、輪郭形状が平面から見て略長円形の筒状とされており、カバー(29)外周に対応する円筒内周面(43a)を有している。把手部(44)のくびれ部(44a)に対応する嵌め合わせ部(43)の頂壁部分は、切り欠かれており、この切欠きすなわちのぞき窓(43b)からカバー(29)の頂面が露出させられている。カバー(29)の頂面には、「OPEN」または「CLOSE」の開閉表示文字(35)(36)が90°おきに記載されている。ハンドル(41)の嵌め合わせ部(43)の周壁には、側面のぞき窓(45)(46)が設けられており、これに対応するように、カバー部(29)の周面には、のぞき窓(45)(46)から視認可能な開閉表示文字(47)(48)が記載されている。のぞき窓は、90°おきに全部で4つ設けられており、180°離れたもの同士が同じ高さとされ、90°離れたもの同士は異なる高さとされている。高さが高い方が「OPEN」(47)の表示用、高さが低い方が「CLOSE」(48)の表示用とされている。高さの差は、ボンネット(26)のめねじ部(26a)および弁棒(30)のおねじ部(30b)のピッチの1/4とされている。
ハンドル(41)は、その長手方向が流体通路方向と一致した際には、流体通路が開に、これより90°回転させられた際(その長手方向が流体通路方向と直交するようになった際)には、流体通路が閉になるように位置決めされており、流体通路が開放されている際には、図15および図16に示すように、カバー(29)の頂面に対向状に記載された「OPEN」の開閉表示文字(47)がハンドル(41)の把手部(44)のくびれ部(44a)から視認可能とされるとともに、嵌め合わせ部(44)の周壁に設けられた側面のぞき窓(45)からも「OPEN」の開閉表示文字(47)が視認可能とされている。そして、この位置から、ハンドル(41)を90°回転させると、ハンドル(41)はカバー(29)に対して回転しながら下方に移動し、これにより、流体通路が閉鎖され、この際、カバー(29)の頂面に対向状に記載された「CLOSE」の開閉表示文字(図には現れず)がハンドル(41)の把手部(44)のくびれ部(44a)から視認可能とされるとともに、図17に示すように、嵌め合わせ部(44)の周壁に設けられた側面のぞき窓(46)からも「CLOSE」の開閉表示文字(48)が視認可能とされている。
この第9実施形態の流体制御器(40)によると、その開閉状態を上からも横からも確認することができるので、多数の流体制御器によって構成されている流体制御装置での開閉表示確認をより容易に行うことができる。第9実施形態の流体制御器(40)についても、図9から図14までに示した形態とできるのはもちろんである。
上記各実施形態においては、継手部(37)(38)(39)(40)の形状がおねじとされているが、継手部の形状は、おねじに限られるものではなく、公知の種々の継手部構造に変更することができる。
また、ハンドルを90°回転させた際に通路を遮断開放状態するための構成は、特に限定されるものでなく、例えば、第2実施形態以降のものにおいて、その遮断開放機構を第1実施形態のものに置き換えてももちろんよく、また、各実施形態のものにおいて、上記以外の種々の遮断開放機構を採用することもできる。
この発明による流体制御器の第1実施形態を示す断面図で、流体通路の開放状態を示している。 同平面図である。 この発明による流体制御器の第1実施形態を示す断面図で、流体通路の遮断状態を示している。 同平面図である。 この発明による流体制御器の第2実施形態を示す斜視図で、流体通路の開放状態を示している。 図5の垂直断面図である。 同平面図で、流体通路の開放状態を示している。 同平面図で、流体通路の遮断状態を示している。 この発明による流体制御器の第3実施形態を示す平面図である。 この発明による流体制御器の第4実施形態を示す平面図である。 この発明による流体制御器の第5実施形態を示す平面図である。 この発明による流体制御器の第6実施形態を示す平面図である。 この発明による流体制御器の第7実施形態を示す平面図である。 この発明による流体制御器の第8実施形態を示す平面図である。 この発明による流体制御器の第9実施形態を示す斜視図で、流体通路の開放状態を示している。 同正面図で、流体通路の開放状態を示している。 同正面図で、流体通路の閉鎖状態を示している。
符号の説明
(1) 流体制御器
(2) 本体
(2a)(2b) 流体通路
(6) ボンネット
(8) カバー
(9) 弁棒
(10) ハンドル
(10a) くびれ部
(18)(19) 開閉表示文字
(21) 流体制御器
(22) 本体
(22a)(22b)流体通路
(26) ボンネット
(29) カバー
(30) 弁棒
(31) ハンドル
(33) 嵌め合わせ部
(34) 把手部
(34a) くびれ部
(35)(36) 開閉表示文字
(37)(38) 継手部
(39)(40) 継手部
(45)(46) 側面のぞき窓
(47)(48) 開閉表示文字

Claims (8)

  1. 流体通路が設けられている本体と、上下移動させられることにより本体の通路を開閉する弁棒と、本体に固定されて弁棒を案内する円筒状ボンネットと、ボンネットの頂部に固定されたカバーと、カバーよりも上方に突出させられた弁棒上端部に固定され回転させられることにより弁棒を上下移動させるハンドルとを備えている流体制御器において、ハンドルが90°回転させられることにより通路の遮断開放状態が切り替わるようになされるとともに、ハンドルが平面より見てその中央部にくびれ部を有する形状とされ、カバー上面に記載された開閉表示文字がハンドルのくびれ部から視認可能とされていることを特徴とする流体制御器。
  2. ハンドルは、カバーに嵌め合わせられる嵌め合わせ部と、嵌め合わせ部の上端に一体に設けられかつ平面から見て中央部がくびれた把手部とからなる請求項1の流体制御器。
  3. ハンドルの嵌め合わせ部の周壁に、のぞき窓が設けられるとともに、カバー部の周面に、のぞき窓から視認可能な開閉表示文字が記載されている請求項1または2の流体制御器。
  4. 本体は、互いに180°離れた位置に設けられた2つの流体通路開口および各開口に配管を接続するための継手部を有している請求項1の流体制御器。
  5. 本体は、互いに90°離れた位置に設けられた2つの流体通路開口および各開口に配管を接続するための継手部を有している請求項1の流体制御器。
  6. 本体は、3つの流体通路開口および各開口に配管を接続するための継手部を有している請求項1の流体制御器。
  7. 本体は、互いに90°離れた位置に設けられた4つの流体通路開口および各開口に配管を接続するための継手部を有している請求項1の流体制御器。
  8. カバーの上面に90°おきに、開表示および閉表示のいずれか一方が施されている請求項4から7までのいずれか1項の流体制御器。
JP2003271267A 2002-11-28 2003-07-07 流体制御器 Expired - Lifetime JP4599813B2 (ja)

Priority Applications (1)

Application Number Priority Date Filing Date Title
JP2003271267A JP4599813B2 (ja) 2002-11-28 2003-07-07 流体制御器

Applications Claiming Priority (2)

Application Number Priority Date Filing Date Title
JP2002344870 2002-11-28
JP2003271267A JP4599813B2 (ja) 2002-11-28 2003-07-07 流体制御器

Publications (2)

Publication Number Publication Date
JP2004190852A true JP2004190852A (ja) 2004-07-08
JP4599813B2 JP4599813B2 (ja) 2010-12-15

Family

ID=32774838

Family Applications (1)

Application Number Title Priority Date Filing Date
JP2003271267A Expired - Lifetime JP4599813B2 (ja) 2002-11-28 2003-07-07 流体制御器

Country Status (1)

Country Link
JP (1) JP4599813B2 (ja)

Cited By (1)

* Cited by examiner, † Cited by third party
Publication number Priority date Publication date Assignee Title
JP2016121775A (ja) * 2014-12-25 2016-07-07 株式会社フジキン 流体制御器

Citations (7)

* Cited by examiner, † Cited by third party
Publication number Priority date Publication date Assignee Title
JPS49151123U (ja) * 1973-04-27 1974-12-27
JPS5635957U (ja) * 1979-08-30 1981-04-07
JPS56147977A (en) * 1980-04-19 1981-11-17 Kyowa Sangyo:Kk Automatic switching-valve
JPS57143462U (ja) * 1981-03-05 1982-09-08
JPH0575576U (ja) * 1992-03-13 1993-10-15 株式会社大東バルブ製作所 バルブ
JPH06241331A (ja) * 1993-02-18 1994-08-30 Motoyama Seisakusho:Kk 手動式弁装置
JPH07280134A (ja) * 1994-04-08 1995-10-27 Neriki:Kk 開閉表示装置付きバルブ

Patent Citations (7)

* Cited by examiner, † Cited by third party
Publication number Priority date Publication date Assignee Title
JPS49151123U (ja) * 1973-04-27 1974-12-27
JPS5635957U (ja) * 1979-08-30 1981-04-07
JPS56147977A (en) * 1980-04-19 1981-11-17 Kyowa Sangyo:Kk Automatic switching-valve
JPS57143462U (ja) * 1981-03-05 1982-09-08
JPH0575576U (ja) * 1992-03-13 1993-10-15 株式会社大東バルブ製作所 バルブ
JPH06241331A (ja) * 1993-02-18 1994-08-30 Motoyama Seisakusho:Kk 手動式弁装置
JPH07280134A (ja) * 1994-04-08 1995-10-27 Neriki:Kk 開閉表示装置付きバルブ

Cited By (1)

* Cited by examiner, † Cited by third party
Publication number Priority date Publication date Assignee Title
JP2016121775A (ja) * 2014-12-25 2016-07-07 株式会社フジキン 流体制御器

Also Published As

Publication number Publication date
JP4599813B2 (ja) 2010-12-15

Similar Documents

Publication Publication Date Title
KR900000624A (ko) 유체 제어 밸브
EP0247347B1 (en) Fluid flow control valve
KR200478984Y1 (ko) 초저온용 글로브 밸브
JP6371404B2 (ja) ボールバルブ
JP2012002355A (ja) 回転弁
US20120319024A1 (en) Fluid control device
KR102553277B1 (ko) 잠금 기구를 가지는 밸브 및 집적 밸브
CA2522853A1 (en) Fluid controller
US20060278280A1 (en) Check valve
KR101156605B1 (ko) 밸브 스템의 리프트 길이를 최적화한 게이트 밸브
JP2004190852A (ja) 流体制御器
KR101180126B1 (ko) 안전밸브장치
JPH0942489A (ja) 逆止め弁付ボールバルブ
WO2007145558A1 (en) Child-protecting safety capsule
CN220102109U (zh) 排水阀
US20110100756A1 (en) Oil Drain Connector Structure for Marine Filter
KR101118271B1 (ko) 벨로우즈 글로브 밸브
JP2010261466A (ja) ガス栓
GB2062810A (en) On-off spring valve for fluids
JP5094629B2 (ja) 止水栓
JP2008144836A (ja) メタルシートバタフライ弁
JP5988635B2 (ja)
JP2004132469A (ja) プラグバルブ
US995027A (en) Handle for cocks, faucets, and valves.
RU22646U1 (ru) Шаровой кран воздушной магистрали подвижного состава

Legal Events

Date Code Title Description
A621 Written request for application examination

Free format text: JAPANESE INTERMEDIATE CODE: A621

Effective date: 20060426

A977 Report on retrieval

Free format text: JAPANESE INTERMEDIATE CODE: A971007

Effective date: 20090205

A131 Notification of reasons for refusal

Free format text: JAPANESE INTERMEDIATE CODE: A131

Effective date: 20090224

A521 Request for written amendment filed

Free format text: JAPANESE INTERMEDIATE CODE: A523

Effective date: 20090423

A02 Decision of refusal

Free format text: JAPANESE INTERMEDIATE CODE: A02

Effective date: 20091027

A521 Request for written amendment filed

Free format text: JAPANESE INTERMEDIATE CODE: A523

Effective date: 20100125

A911 Transfer to examiner for re-examination before appeal (zenchi)

Free format text: JAPANESE INTERMEDIATE CODE: A911

Effective date: 20100128

A131 Notification of reasons for refusal

Free format text: JAPANESE INTERMEDIATE CODE: A131

Effective date: 20100511

A521 Request for written amendment filed

Free format text: JAPANESE INTERMEDIATE CODE: A523

Effective date: 20100709

TRDD Decision of grant or rejection written
A01 Written decision to grant a patent or to grant a registration (utility model)

Free format text: JAPANESE INTERMEDIATE CODE: A01

Effective date: 20100817

A01 Written decision to grant a patent or to grant a registration (utility model)

Free format text: JAPANESE INTERMEDIATE CODE: A01

A61 First payment of annual fees (during grant procedure)

Free format text: JAPANESE INTERMEDIATE CODE: A61

Effective date: 20100913

FPAY Renewal fee payment (event date is renewal date of database)

Free format text: PAYMENT UNTIL: 20131008

Year of fee payment: 3

R150 Certificate of patent or registration of utility model

Ref document number: 4599813

Country of ref document: JP

Free format text: JAPANESE INTERMEDIATE CODE: R150

Free format text: JAPANESE INTERMEDIATE CODE: R150

R250 Receipt of annual fees

Free format text: JAPANESE INTERMEDIATE CODE: R250

R250 Receipt of annual fees

Free format text: JAPANESE INTERMEDIATE CODE: R250

R250 Receipt of annual fees

Free format text: JAPANESE INTERMEDIATE CODE: R250

R250 Receipt of annual fees

Free format text: JAPANESE INTERMEDIATE CODE: R250

R250 Receipt of annual fees

Free format text: JAPANESE INTERMEDIATE CODE: R250

R250 Receipt of annual fees

Free format text: JAPANESE INTERMEDIATE CODE: R250

R250 Receipt of annual fees

Free format text: JAPANESE INTERMEDIATE CODE: R250

R250 Receipt of annual fees

Free format text: JAPANESE INTERMEDIATE CODE: R250

R250 Receipt of annual fees

Free format text: JAPANESE INTERMEDIATE CODE: R250

R250 Receipt of annual fees

Free format text: JAPANESE INTERMEDIATE CODE: R250

EXPY Cancellation because of completion of term