JP2004088744A - Two-port isolator and communication apparatus - Google Patents
Two-port isolator and communication apparatus Download PDFInfo
- Publication number
- JP2004088744A JP2004088744A JP2003176047A JP2003176047A JP2004088744A JP 2004088744 A JP2004088744 A JP 2004088744A JP 2003176047 A JP2003176047 A JP 2003176047A JP 2003176047 A JP2003176047 A JP 2003176047A JP 2004088744 A JP2004088744 A JP 2004088744A
- Authority
- JP
- Japan
- Prior art keywords
- port
- electrically connected
- input
- electrode
- output port
- Prior art date
- Legal status (The legal status is an assumption and is not a legal conclusion. Google has not performed a legal analysis and makes no representation as to the accuracy of the status listed.)
- Granted
Links
- 238000004891 communication Methods 0.000 title claims abstract description 10
- 239000003990 capacitor Substances 0.000 claims abstract description 103
- 239000000758 substrate Substances 0.000 claims description 50
- 229910000859 α-Fe Inorganic materials 0.000 claims description 24
- 230000005291 magnetic effect Effects 0.000 claims description 14
- 229910052751 metal Inorganic materials 0.000 description 15
- 239000002184 metal Substances 0.000 description 15
- 238000010586 diagram Methods 0.000 description 7
- 238000003780 insertion Methods 0.000 description 7
- 230000037431 insertion Effects 0.000 description 7
- 238000009966 trimming Methods 0.000 description 7
- 239000000463 material Substances 0.000 description 6
- 230000035699 permeability Effects 0.000 description 6
- 238000007747 plating Methods 0.000 description 5
- 229910000679 solder Inorganic materials 0.000 description 5
- 238000002955 isolation Methods 0.000 description 4
- 238000004519 manufacturing process Methods 0.000 description 4
- 238000000034 method Methods 0.000 description 4
- 230000001902 propagating effect Effects 0.000 description 4
- 229910052709 silver Inorganic materials 0.000 description 4
- 230000005540 biological transmission Effects 0.000 description 3
- 230000000052 comparative effect Effects 0.000 description 3
- 238000010304 firing Methods 0.000 description 3
- 230000001629 suppression Effects 0.000 description 3
- XEEYBQQBJWHFJM-UHFFFAOYSA-N Iron Chemical compound [Fe] XEEYBQQBJWHFJM-UHFFFAOYSA-N 0.000 description 2
- 229910052802 copper Inorganic materials 0.000 description 2
- 239000010949 copper Substances 0.000 description 2
- 238000005520 cutting process Methods 0.000 description 2
- 239000003989 dielectric material Substances 0.000 description 2
- 230000000694 effects Effects 0.000 description 2
- 238000010295 mobile communication Methods 0.000 description 2
- 239000000843 powder Substances 0.000 description 2
- 229910018072 Al 2 O 3 Inorganic materials 0.000 description 1
- OKTJSMMVPCPJKN-UHFFFAOYSA-N Carbon Chemical compound [C] OKTJSMMVPCPJKN-UHFFFAOYSA-N 0.000 description 1
- RYGMFSIKBFXOCR-UHFFFAOYSA-N Copper Chemical compound [Cu] RYGMFSIKBFXOCR-UHFFFAOYSA-N 0.000 description 1
- KJTLSVCANCCWHF-UHFFFAOYSA-N Ruthenium Chemical compound [Ru] KJTLSVCANCCWHF-UHFFFAOYSA-N 0.000 description 1
- 229910004298 SiO 2 Inorganic materials 0.000 description 1
- BQCADISMDOOEFD-UHFFFAOYSA-N Silver Chemical compound [Ag] BQCADISMDOOEFD-UHFFFAOYSA-N 0.000 description 1
- 239000000853 adhesive Substances 0.000 description 1
- 230000001070 adhesive effect Effects 0.000 description 1
- PNEYBMLMFCGWSK-UHFFFAOYSA-N aluminium oxide Inorganic materials [O-2].[O-2].[O-2].[Al+3].[Al+3] PNEYBMLMFCGWSK-UHFFFAOYSA-N 0.000 description 1
- 230000002238 attenuated effect Effects 0.000 description 1
- 229910052799 carbon Inorganic materials 0.000 description 1
- 239000011195 cermet Substances 0.000 description 1
- 239000011889 copper foil Substances 0.000 description 1
- 230000002542 deteriorative effect Effects 0.000 description 1
- 239000003302 ferromagnetic material Substances 0.000 description 1
- 229910052737 gold Inorganic materials 0.000 description 1
- 229910052742 iron Inorganic materials 0.000 description 1
- 238000005304 joining Methods 0.000 description 1
- 238000004080 punching Methods 0.000 description 1
- 229910052707 ruthenium Inorganic materials 0.000 description 1
- 239000004332 silver Substances 0.000 description 1
- 229910002076 stabilized zirconia Inorganic materials 0.000 description 1
- 238000004506 ultrasonic cleaning Methods 0.000 description 1
Images
Landscapes
- Non-Reversible Transmitting Devices (AREA)
- Coils Or Transformers For Communication (AREA)
Abstract
Description
【0001】
【発明の属する技術分野】
本発明は、2ポート型アイソレータ、特に、マイクロ波帯で使用される2ポート型アイソレータおよび通信装置に関する。
【0002】
【従来の技術】
一般に、アイソレータは、信号を伝送方向のみに通過させ、逆方向への伝送を阻止する機能を有しており、自動車電話、携帯電話などの移動体通信機器の送信回路部に使用されている。
【0003】
従来、この種のアイソレータとして、3ポート型アイソレータ(第1〜第3中心電極の三つの中心電極を有するアイソレータ)の場合には、特開2001−320205号公報や特開2001−320206号公報や特開平11−308013号公報や特開2000−114818号公報記載のものが知られている。また、2ポート型アイソレータ(第1中心電極および第2中心電極の二つの中心電極を有するアイソレータ)の場合には、特開2001−237613号公報や特開2001−185912号公報記載のものが知られている。
【0004】
ところが、これらの3ポート型アイソレータや2ポート型アイソレータは、信号が入力ポートP1から出力ポートP2に伝搬する際、二つの共振回路が共振し、挿入損失が大きくなるという問題があった。
【0005】
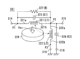
そこで、この問題を解消するため、特開平9−232818号公報の図11に記載の低損失の2ポート型アイソレータが提案されている。この2ポート型アイソレータの電気等価回路を図21に示す。2ポート型アイソレータ301は、第1中心電極321の一端部321aが、入力ポートP1を介して入力外部電極314に電気的に接続されている。第1中心電極321の他端部321bは、出力ポートP2を介して出力外部電極315に電気的に接続されている。
【0006】
一方、第2中心電極322の一端部322aは、出力ポートP2を介して出力外部電極315に電気的に接続されている。第2中心電極322の他端部322bは、第3ポートP3を介してアース外部電極316に電気的に接続されている。整合用コンデンサ325と抵抗327からなる並列RC回路は、入力ポートP1と出力ポートP2の間に電気的に接続されている。整合用コンデンサ326は出力ポートP2とアース外部電極316の間に電気的に接続されている。アース外部電極316はアースに電気的に接続されている。
【0007】
そして、第1中心電極321と整合用コンデンサ325にて、第1のLC並列共振回路を構成し、第2中心電極322と整合用コンデンサ326にて、第2のLC並列共振回路を構成している。この構成では、入力ポートP1から出力ポートP2に信号が伝搬する際、入力ポートP1と出力ポートP2間の第1のLC並列共振回路は共振することがなく、第2のLC並列共振回路が共振しているだけなので、挿入損失を小さくできる。
【0008】
【発明が解決しようとする課題】
ところで、特開2001−237613号公報などに記載された2ポート型アイソレータは、入力ポートとアース間、並びに、出力ポートとアース間にそれぞれ一つづつのLC並列共振回路を有しており、これらはいずれもローパスフィルタとして作用する。
【0009】
ところが、図21に示す従来の2ポート型アイソレータ301は、出力ポートP2とアース間に入っている第2のLC並列共振回路がローパスフィルタとして作用するのに対して、入力ポートP1と出力ポートP2間に入っている第1のLC並列共振回路はハイパスフィルタとして作用する。従って、移動体通信機器の使用周波数fの2倍波(2f)や3倍波(3f)での減衰量が、上記特開2001−237613号公報などに記載された2ポート型アイソレータよりも悪くなるという不具合があった。
【0010】
そこで、本発明の目的は、使用周波数fの2倍波(2f)や3倍波(3f)の伝搬を抑えることができる2ポート型アイソレータおよび通信装置を提供することにある。
【0011】
【課題を解決するための手段および作用】
前記目的を達成するため、本発明に係る2ポート型アイソレータは、
(a)永久磁石と、
(b)永久磁石により直流磁界が印加されるフェライトと、
(c)フェライトの主面もしくは内部に配置され、一端が第1入出力ポートに電気的に接続され、他端が第2入出力ポートに電気的に接続されている第1中心電極と、
(d)第1中心電極と電気的絶縁状態で交差してフェライトの主面もしくは内部に配置され、一端が第2入出力ポートに電気的に接続され、他端がアースに電気的に接続されている第2中心電極と、
(e)第1入出力ポートと第2入出力ポートの間に電気的に接続された第1整合用コンデンサと、
(f)第1入出力ポートと第2入出力ポートの間に電気的に接続された抵抗と、
(g)第2入出力ポートとアースの間に電気的に接続された、第2整合用コンデンサとインダクタの直列共振回路と、
を備えたことを特徴とする。第2整合用コンデンサとインダクタの直列共振回路の共振周波数は、使用周波数の2倍波と3倍波の間にあることが好ましい。
【0012】
また、本発明に係る2ポート型アイソレータは、
(h)永久磁石と、
(i)永久磁石により直流磁界が印加されるフェライトと、
(j)フェライトの主面もしくは内部に配置され、一端が第1入出力ポートに電気的に接続され、他端が第2入出力ポートに電気的に接続されている第1中心電極と、
(k)第1中心電極と電気的絶縁状態で交差して前記フェライトの主面もしくは内部に配置され、一端が第2入出力ポートに電気的に接続され、他端が第3ポートに電気的に接続されている第2中心電極と、
(l)第1入出力ポートと第2入出力ポートの間に電気的に接続された第1整合用コンデンサと、
(m)第1入出力ポートと第2入出力ポートの間に電気的に接続された抵抗と、
(n)第2入出力ポートと第3ポートの間に電気的に接続された第2整合用コンデンサと、
(o)第3ポートとアースの間に電気的に接続されたインダクタと、
を備えたことを特徴とする。第2中心電極のインダクタンスおよび第2整合用コンデンサからなる並列共振回路とインダクタとで構成された回路の共振周波数は、使用周波数の2倍波と3倍波の間にあることが好ましい。
【0013】
以上の構成により、第1中心電極を伝搬する使用周波数fの2倍波(2f)や3倍波(3f)を減衰させることができる。
【0014】
また、絶縁層を積み重ねて構成した積層基板に、第1整合用コンデンサおよび第2整合用コンデンサのそれぞれのコンデンサ電極とインダクタのインダクタ電極を設けたことを特徴とする。これにより、第1整合用コンデンサ、第2整合用コンデンサおよびインダクタ相互間のはんだによる接続箇所が減り、接続信頼性が向上する。
【0015】
また、本発明に係る通信装置は、上述の2ポート型アイソレータを備えることにより、周波数特性が向上する。
【0016】
【発明の実施の形態】
以下に、本発明に係る2ポート型アイソレータおよび通信装置の実施の形態について添付の図面を参照して説明する。
【0017】
[第1実施形態、図1〜図11]
本発明に係る2ポート型アイソレータの一実施形態の分解斜視図を図1に示す。該2ポート型アイソレータ1は、集中定数型アイソレータである。図1に示すように、2ポート型アイソレータ1は、概略、金属製上側ケース4と金属製下側ケース8とからなる金属ケースと、永久磁石9と、フェライト20と中心電極21,22とからなる中心電極組立体13と、積層基板30を備えている。
【0018】
金属製上側ケース4は略箱形状であり、上面部4aおよび四つの側面部4bからなる。金属製下側ケース8は、底面部8aおよび左右の側面部8bからなる。金属製上側ケース4および金属製下側ケース8は磁気回路を形成するため、例えば、軟鉄などの強磁性体からなる材料で形成され、その表面にAgやCuがめっきされる。
【0019】
中心電極組立体13は、円板状のマイクロ波フェライト20の上面に2組の第1および第2中心電極21,22を、絶縁層(図示せず)を介在させて直交して交差するように配置している。本第1実施形態では、中心電極21,22を二つのラインで構成した。第1中心電極21と第2中心電極22のそれぞれの両端部21a,21b、22a,22bは、フェライト20の下面に延在し、それぞれの端部21a〜22bが相互に分離している。
【0020】
中心電極21,22は銅箔を用いてフェライト20に巻きつけてもよいし、フェライト20上あるいは内部に銀ペーストを印刷して形成してもよい。あるいは、特開平9−232818号公報記載のように積層基板で形成されていてもよい。ただし、印刷した方が中心電極21,22の位置精度が高いので、積層基板30との接続が安定する。特に、今回のように微小な中心電極用接続電極51〜54(後述)で接続する場合には、中心電極21,22を印刷形成した方が信頼性、作業性が良い。
【0021】
積層基板30は、図2に示すように、中心電極用接続電極51〜54と、コンデンサ電極55,56や抵抗27を裏面に設けた誘電体シート41と、コンデンサ電極57,58を裏面に設けた誘電体シート42と、インダクタ電極(インダクタ)28を裏面に設けた誘電体シート43と、グランド電極59を裏面に設けた誘電体シート44と、側面ビアホール65を設けた誘電体シート45と、入力外部電極14や出力外部電極15やアース外部電極16を設けた誘電体シート46などにて構成されている。中心電極用接続電極51は入力ポートP1とされ、中心電極用接続電極53,54は出力ポートP2とされ、中心電極用接続電極52は第3ポートP3とされる。
【0022】
この積層基板30は、以下のようにして作製される。すなわち、誘電体シート41〜46は、Al2O3を主成分とし、SiO2,SrO,CaO,PbO,Na2O,K2O,MgO,BaO,CeO2,B2O3のうちの1種類あるいは複数種類を副成分として含む低温焼結誘電体材料にて作製する。
【0023】
さらに、積層基板30の焼成条件(特に焼成温度1000℃以下)では焼結せず、積層基板30の基板平面方向(X−Y方向)の焼成収縮を抑制する収縮抑制シート47,48を作製する。この収縮抑制シート47,48の材料は、アルミナ粉末および安定化ジルコニア粉末の混合材料である。シート41〜48の厚みは10μm〜200μm程度である。
【0024】
電極28,51〜59は、パターン印刷などの方法によりシート41〜44の裏面に形成される。電極28,51〜59の材料としては、抵抗率が低く、誘電体シート41〜46と同時焼成可能なAg,Cu,Ag−Pdなどが用いられる。電極28,51〜59の厚みは2μm〜20μm程度であり、通常は表皮厚の2倍以上に設定される。
【0025】
抵抗27は、パターン印刷等の方法により誘電体シート41の裏面に形成される。抵抗27の材料としては、サーメット、カーボン、ルテニウムなどが使用される。抵抗27は積層基板30の上面に印刷で形成してもよいし、チップ抵抗で形成してもよい。
【0026】
ビアホール60や側面ビアホール65や外部電極14〜16は、誘電体シート41〜46にレーザ加工やパンチング加工などにより、予めビアホール用孔を形成した後、そのビアホール用孔に導電ペーストを充填することにより形成される。
【0027】
中心電極用接続電極51〜54は、積層基板30の4辺のそれぞれの中央部近傍に配置されている。また、入力外部電極14および出力外部電極15も積層基板30の対向する2辺の中央部に配置されている。
【0028】
コンデンサ電極57は、誘電体シート42を間に挟んでコンデンサ電極55に対向して第1整合用コンデンサ25を構成する。さらに、コンデンサ電極58は、誘電体シート42を間に挟んでコンデンサ電極56に対向して第2整合用コンデンサ26を構成する。これら整合用コンデンサ25,26、抵抗27およびインダクタ28は、電極51〜54や外部電極14〜16やビアホール60,65とともに、積層基板30の内部に電気回路を構成する。
【0029】
以上の誘電体シート41〜46は積層され、さらに、誘電体シート41〜46の積層体の上下両側から収縮抑制シート47,48で挟み込んだ後、焼成される。これにより、焼結体が得られ、その後、超音波洗浄法や湿式ホーニング法によって、未焼結の収縮抑制材料を除去し、図1に示すような積層基板30とする。
【0030】
積層基板30の両端部には、それぞれ入力外部電極14、出力外部電極15およびアース外部電極16が設けられる。入力外部電極14はコンデンサ電極55に電気的に接続され、出力外部電極15はコンデンサ電極56に電気的に接続されている。アース外部電極16は、インダクタ電極28およびグランド電極59のそれぞれの端部に電気的に接続されている。この後、Niめっきを下地としてAuめっきが施される。Niめっきは、電極のAgとAuめっきの固着強度を強くする。Auめっきは、はんだ濡れ性を良くするとともに、導電率が高いのでアイソレータ1を低損失にできる。
【0031】
なお、この積層基板30は、通常、マザーボード状態で作成される。このマザーボードに所定のピッチでハーフカット溝を形成し、ハーフカット溝に沿って折ることにより、マザーボードから所望のサイズの積層基板30を得る。あるいは、マザーボードをダイサーやレーザなどで切断することにより、所望のサイズの積層基板30を切り出してもよい。
【0032】
こうして得られた積層基板30は、内部に整合用コンデンサ25,26、抵抗27およびインダクタ28を有している。整合用コンデンサ25,26は必要な静電容量値精度で製作される。しかし、トリミングをする場合には、整合用コンデンサ25,26と中心電極21,22を接続する前に行なわれる。つまり、積層基板30は、単体の状態で、内部(2層目)のコンデンサ電極55,56を表層の誘電体とともにトリミング(削除)される。トリミングには、例えば、切削機やYAGの基本波、2倍波、3倍波のレーザが用いられる。レーザを用いれば、早くかつ精度の良い加工が得られる。なお、トリミングは、マザーボード状態の積層基板30に対して効率良く行ってもよい。
【0033】
このように、積層基板30の上面に近いコンデンサ電極55,56をトリミング用コンデンサ電極としているので、トリミング時に除去する誘電体層の厚みを最小限にできる。さらに、トリミングの障害となる電極が少なくなるので(本第1実施形態の場合は接続電極51〜54のみ)、トリミング可能なコンデンサ電極領域が広くなり、静電容量調整範囲を広くできる。
【0034】
また、積層基板30には抵抗27も内蔵されており、整合用コンデンサ25,26と同様に抵抗27も、表層の誘電体とともにトリミングすることにより、抵抗値Rを調整することができる。抵抗27は1箇所でも幅が細くなると抵抗値Rが上がるので、幅方向の途中まで削る。
【0035】
以上の構成部品は以下のようにして組み立てられる。すなわち、図1に示すように、永久磁石9は金属製上側ケース4の天井に接着剤によって固定される。中心電極組立体13の中心電極21,22の各々の端部21a〜22bが積層基板30の表面に形成された中心電極用接続電極51〜54にはんだ80にて電気的に接続されることにより、積層基板30上に中心電極組立体13が実装される。なお、中心電極21,22と中心電極用接続電極51〜54のはんだ付けは、マザーボード状態の積層基板30に対して効率良く行ってもよい。
【0036】
積層基板30は金属製下側ケース8の底面部8a上に載置され、積層基板30の下面に配設されているグランド電極59がはんだ80によって底面部8aと接続固定される。これにより、アースポート16が底面部8aに電気的に容易に接続される。
【0037】
そして、金属製下側ケース8と金属製上側ケース4は、それぞれの側面部8bと4bをはんだ等で接合することにより金属ケースを構成し、ヨークとしても機能する。つまり、この金属ケースは、永久磁石9と中心電極組立体13と積層基板30を囲む磁路を形成する。また、永久磁石9はフェライト20に直流磁界を印加する。
【0038】
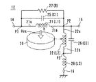
こうして、図3に示す2ポート型アイソレータ1が得られる。図4はアイソレータ1の電気等価回路図である。第1中心電極21の一端部21aは、入力ポートP1(中心電極用接続電極51)を介して入力外部電極14に電気的に接続されている。第1中心電極21の他端部21bは、出力ポートP2(中心電極用接続電極54)を介して出力外部電極15に電気的に接続されている。第2中心電極22の一端部22aは、出力ポートP2(中心電極用接続電極53)を介して出力外部電極15に電気的に接続されている。第2中心電極22の他端部22bは、第3ポートP3(中心電極用接続電極52)を介してアース外部電極16に電気的に接続されている。第1整合用コンデンサ25と抵抗27からなる並列RC回路は、入力ポートP1と出力ポートP2の間に電気的に接続されている。第2整合用コンデンサ26とインダクタ28の直列共振回路は出力ポートP2とアースの間に電気的に接続されている。第3ポートP3はアースに電気的に接続されている。
【0039】
なお、第2整合用コンデンサ26とインダクタ28の接続位置は入れ替えてもよい。すなわち、出力ポートP2側にインダクタ28を接続し、アース側に第2整合用コンデンサ26を接続してもよい。
【0040】
以上の構成からなる2ポート型アイソレータ1は、出力ポートP2とアースの間に第2整合用コンデンサ26とインダクタ28の直列共振回路を接続している。この直列共振回路はトラップ回路を形成しており、その共振周波数は使用周波数fの2倍波(2f)と3倍波(3f)の間に設定されている。そして、このトラップ回路によって、減衰極が2倍波(2f)と3倍波(3f)の間に形成される。これにより、第1中心電極21を伝搬する2倍波(2f)や3倍波(3f)の減衰量を大きくすることができる。
【0041】
前記トラップ回路のアドミッタンスYおよび共振周波数f(0)は、以下の(1)式と(2)式で表される。
Y=(ωC2)/j(ω2L3C2−1)、ω=2πf …(1)
f(0)=1/{2π(L3C2)1/2} …(2)
【0042】
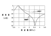
図5、図6、図7、図8および図9はそれぞれ、2ポート型アイソレータ1のアイソレーション特性、挿入損失特性、入力反射損失特性、出力反射損失特性および減衰特性を示すグラフである(実施例1の実線参照)。比較のために、図5〜図9には、図21に示した従来の2ポート型アイソレータ301の特性も併せて記載している(比較例1の点線参照)。表1−1は、第1および第2中心電極21,22のインダクタンスと整合用コンデンサ25,26の静電容量C1,C2とインダクタ28のインダクタンスL3の数値を示す。
【0043】
ここに、フェライト20としては、直径が2.0mmで厚みが0.4mmのものを使用した。そして、中心電極21,22の電極幅Wを0.2mmとし、電極間隔Sを0.2mmとし、電極長さlを2mmとすることにより、自己インダクタンスを0.7nHに設定した。抵抗27の抵抗値Rは、いずれも60Ωとした。表1−1中の中心電極21,22のインダクタンスは比透磁率を1と仮定した場合の自己インダクタンスで、実際にはこれにフェライト20などによる実効透磁率を掛けたものがインダクタンスL1,L2となる。また、実施例1において、19pFの第2整合用コンデンサ26と0.2nHのインダクタ28との直列共振回路のアドミッタンスYは、前記(1)式より、893MHz〜960MHzの帯域で、22pFのコンデンサのアドミッタンスと略等しい値となる。そして、この直列共振回路の共振周波数f(0)は、前記(2)式より、2.6GHz付近となる。
【0044】
表1−2は、使用周波数である893MHz〜960MHzでの帯域内最悪値と、2倍波(1786MHz〜1920MHz)の減衰量と、3倍波(2679MHz〜2880MHz)の減衰量とをまとめたものである。
【0045】
【表1】
【0046】
また、本第1実施形態は、入力外部電極14および出力外部電極15を、アイソレータ1の対向する一対の側面の中央位置に設けている。これにより、アイソレータ1を携帯電話などのプリント基板に実装する際、アイソレータ1を180°回転させれば、入力信号線路と出力信号線路が左右逆に配設されているプリント基板にも実装することが可能となる。従って、プリント基板の入力信号線路と出力信号線路の方向に合わせて2種類のアイソレータ1を作製する必要がなくなる。このため、アイソレータ1を低コスト化できる。
【0047】
特に、この2ポート型アイソレータ1は、ポートP1を入力ポートとした場合と、ポートP2を入力ポートとした場合とで、反射損失の周波数特性が大きく異なり、磁場方向反転(永久磁石9のNS方向反転)だけでなく、内部構造も変更した2種類のアイソレータ1を作製する必要があるので、低コスト化の効果は大きい。
【0048】
また、積層基板30に整合用コンデンサ25,26とインダクタ28を内蔵しているので、整合用コンデンサ25,26およびインダクタ28相互間のはんだによる接続箇所を減らすことができ、接続信頼性の高いアイソレータ1が得られる。さらに、部品点数および製造工数を低減できるので、低コストのアイソレータ1となる。
【0049】
また、積層基板30は、仕様に合わせて種々に変形できる。例えば、図10に示している積層基板30Aは、中心電極用接続電極51〜54と、コンデンサ電極55,56aや抵抗27を裏面に設けた誘電体シート41と、コンデンサ電極57aを裏面に設けた誘電体シート42と、コンデンサ電極56bやインダクタ電極28を裏面に設けた誘電体シート43と、グランド電極59を裏面に設けた誘電体シート44と、入力外部電極14や出力外部電極15やアース外部電極16を設けた誘電体シート46などにて構成されている。中心電極用接続電極51は入力ポートP1とされ、中心電極用接続電極53,54は出力ポートP2とされ、中心電極用接続電極52は第3ポートP3とされる。
【0050】
コンデンサ電極55は、誘電体シート42を間に挟んでコンデンサ電極57aの略左半分に対向して第1整合用コンデンサ25を構成する。さらに、コンデンサ電極56a,56bは、誘電体シート42,43を間に挟んでコンデンサ電極57aに対向して第2整合用コンデンサ26を構成する。これら整合用コンデンサ25,26、抵抗27およびインダクタ28は、電極51〜54や外部電極14〜16やビアホール60,65とともに、積層基板30Aの内部に電気回路を構成する。
【0051】
また、図11に示している積層基板30Bは、中心電極用接続電極51〜54と、コンデンサ電極55,59aや抵抗27を裏面に設けた誘電体シート41と、コンデンサ電極57,58aやインダクタ電極28を裏面に設けた誘電体シート42と、コンデンサ電極58bを裏面に設けた誘電体シート43と、グランド電極59を裏面に設けた誘電体シート44と、入力外部電極14や出力外部電極15やアース外部電極16を設けた誘電体シート46などにて構成されている。
【0052】
コンデンサ電極55は、誘電体シート42を間に挟んでコンデンサ電極57に対向して第1整合用コンデンサ25を構成する。さらに、コンデンサ電極58a,58bは、誘電体シート42,44を間に挟んでコンデンサ電極59aやグランド電極59に対向して第2整合用コンデンサ26を構成する。これら整合用コンデンサ25,26、抵抗27およびインダクタ28は、電極51〜54や外部電極14〜16やビアホール60,65とともに、積層基板30Bの内部に電気回路を構成する。
【0053】
[第2実施形態、図12〜図19]
第2実施形態の2ポート型アイソレータは、積層基板以外は前記第1実施形態の2ポート型アイソレータ1と同様のものである。従って、分解斜視図や外観斜視図は、前記第1実施形態の図1や図3と同様なものになる。
【0054】
図12に示すように、積層基板30Cは、中心電極用接続電極51〜54と、コンデンサ電極55,56や抵抗27を裏面に設けた誘電体シート41と、コンデンサ電極57,58を裏面に設けた誘電体シート42と、インダクタ28を裏面に設けた誘電体シート43と、グランド電極59を裏面に設けた誘電体シート44と、入力外部電極14や出力外部電極15やアース外部電極16を設けた誘電体シート46などにて構成されている。この積層基板30Cは、前記第1実施形態の積層基板30と同様の製法により作製される。
【0055】
コンデンサ電極57は、誘電体シート42を間に挟んでコンデンサ電極55に対向して整合用コンデンサ25を構成する。さらに、コンデンサ電極58は、誘電体シート42を間に挟んでコンデンサ電極56に対向して整合用コンデンサ26を構成する。
【0056】
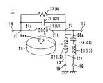
図13は、図12に示されている積層基板30Cを有した2ポート型アイソレータ1Cの電気等価回路図である。入力ポートP1と出力ポートP2の間には、第1中心電極21と第1整合用コンデンサ25と抵抗27からなる並列回路が接続されている。出力ポートP2と第3ポートP3の間には、第2中心電極22および第2整合用コンデンサ26からなる並列回路が接続されている。さらに、第3ポートP3とアース外部電極16の間には、インダクタ28が接続されている。
【0057】
以上の構成からなる2ポート型アイソレータ1Cは、出力ポートP2とアースの間に、第2中心電極22のインダクタンスL2および第2整合用コンデンサC2からなる並列共振回路とインダクタ28とを電気的に直列に接続している。このLC並列共振回路と直列インダクタからなる回路は、トラップ回路を形成しており、その共振周波数は、使用周波数の2倍波(2f)と3倍波(3f)の間に設定されている。そして、このトラップ回路によって、減衰極が2倍波と3倍波の間に形成される。これにより、挿入損失特性を劣化させることなく、第1中心電極21を伝搬する使用周波数fの2倍波や3倍波の減衰量を大きくすることができる。
【0058】
図14、図15、図16、図17および図18はそれぞれ、2ポート型アイソレータ1Cのアイソレーション特性、挿入損失特性、入力反射損失特性、出力反射損失特性および減衰特性を示すグラフである(実施例2の実線参照)。比較のために、図14〜図18には、図21に示した従来の2ポート型アイソレータ301の特性も併せて記載している(比較例2の点線参照)。表2−1は、第1および第2中心電極21,22のインダクタンスと整合用コンデンサ25,26の静電容量C1,C2とインダクタ28のインダクタンスL3の数値を示す。
【0059】
抵抗27の抵抗値Rは、いずれも60Ωとした。表2−1中のインダクタンスは比透磁率を1と仮定した場合の中心電極21,22の実質的な自己インダクタンスで、実際にはこれにフェライト20などによる実効透磁率を掛けたものがインダクタンスL1,L2となる。
【0060】
ここで、本第2実施形態のトラップ回路のインピーダンスZおよび共振周波数f(0)は、以下の(3)式と(4)式で表される。
Z=j{ωL3−ωL2/(ω2L2C2−1)}…(3)
f(0)=1/2π・[{(L2/L3)+1}/(L2C2)]1/2
=1/2π・[1/C2・{(1/L2)+(1/L3)}]1/2
…(4)
【0061】
従って、例えば、実効透磁率を2とすると、表2−1中の第2中心電極22の自己インダクタンスと整合用コンデンサ26の静電容量C2とインダクタ28のインダクタンスL3の数値を用いて、(4)式よりトラップ回路の共振周波数は2.6GHzとなることがわかる。なお、この場合、インダクタンスL2は、第2中心電極22の自己インダクタンスに実効透磁率の2を掛けた値となる。
【0062】
表2−2は、実施例2と比較例2のそれぞれの2ポート型アイソレータ1C,301の、使用周波数である893MHz〜960MHzでの帯域内最悪値と、2倍波(1786MHz〜1920MHz)の減衰量と、3倍波(2679MHz〜2880MHz)の減衰量とをまとめたものである。
【0063】
【表2】
【0064】
また、積層基板30Cは、仕様に合わせて種々に変形できる。例えば、図19に示している積層基板30Dは、中心電極用接続電極51〜54と、コンデンサ電極55,56aや抵抗27を裏面に設けた誘電体シート41と、コンデンサ電極57aを裏面に設けた誘電体シート42と、コンデンサ電極56bやインダクタ電極28を裏面に設けた誘電体シート43と、グランド電極59を裏面に設けた誘電体シート44と、入力外部電極14や出力外部電極15やアース外部電極16を設けた誘電体シート46などにて構成されている。中心電極用接続電極51は入力ポートP1とされ、中心電極用接続電極53,54は出力ポートP2とされ、中心電極用接続電極52は第3ポートP3とされる。
【0065】
コンデンサ電極55は、誘電体シート42を間に挟んでコンデンサ電極57aの略左半分に対向して第1整合用コンデンサ25を構成する。さらに、コンデンサ電極56a,56bは、誘電体シート42,43を間に挟んでコンデンサ電極57aに対向して第2整合用コンデンサ26を構成する。これら整合用コンデンサ25,26、抵抗27およびインダクタ28は、電極51〜54や外部電極14〜16やビアホール60,65とともに、積層基板30Dの内部に電気回路を構成する。
【0066】
[第3実施形態、図20]
第3実施形態は、本発明に係る通信装置として、携帯電話を例にして説明する。
【0067】
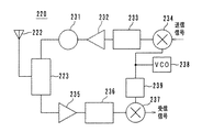
図20は携帯電話220のRF部分の電気回路ブロック図である。図20において、222はアンテナ素子、223はデュプレクサ、231は送信側アイソレータ、232は送信側増幅器、233は送信側段間用帯域通過フィルタ、234は送信側ミキサ、235は受信側増幅器、236は受信側段間用帯域通過フィルタ、237は受信側ミキサ、238は電圧制御発振器(VCO)、239はローカル用帯域通過フィルタである。
【0068】
ここに、送信側アイソレータ231として、前記第1または第2実施形態の2ポート型アイソレータ1,1Cを使用することができる。これらのアイソレータを実装することにより、周波数特性の向上した、かつ、信頼性の高い携帯電話を実現することができる。
【0069】
[他の実施形態]
なお、本発明は前記実施形態に限定するものではなく、その要旨の範囲内で種々に変更することができる。例えば、永久磁石9のN極とS極を反転させれば、入力ポートP1と出力ポートP2が入れ替わる。また、前記実施形態では、積層基板にインダクタ28を内蔵しているが、インダクタ28をチップインダクタや空芯コイルで形成してもよい。さらに、整合用コンデンサ25,26を単板コンデンサで形成してもよい。
【0070】
【発明の効果】
以上の説明で明らかなように、本発明によれば、第2入出力ポートとアースの間において第2整合用コンデンサに対して直列にインダクタを接続したり、第3ポートとアースの間においてインダクタを接続したりすることにより、トラップ回路を形成している。そして、このトラップ回路によって減衰極が形成されるので、第1中心電極を伝搬する使用周波数fの2倍波(2f)や3倍波(3f)を減衰することができる。この結果、高性能で信頼性が高くかつ小型の2ポート型アイソレータや通信装置を得ることができる。
【図面の簡単な説明】
【図1】本発明に係る2ポート型アイソレータの一実施形態を示す分解斜視図。
【図2】図1に示した積層基板の分解斜視図。
【図3】図1に示した2ポート型アイソレータの外観斜視図。
【図4】図1に示した2ポート型アイソレータの電気等価回路図。
【図5】アイソレーション特性を示すグラフ。
【図6】挿入損失特性を示すグラフ。
【図7】入力反射損失特性を示すグラフ。
【図8】出力反射損失特性を示すグラフ。
【図9】減衰特性を示すグラフ。
【図10】図1に示した積層基板の変形例を示す分解斜視図。
【図11】図1に示した積層基板の別の変形例を示す分解斜視図。
【図12】本発明に係る2ポート型アイソレータの別の実施形態に用いられる積層基板を示す分解斜視図。
【図13】図12に示した積層基板を用いた2ポート型アイソレータの電気等価回路図。
【図14】アイソレーション特性を示すグラフ。
【図15】挿入損失特性を示すグラフ。
【図16】入力反射損失特性を示すグラフ。
【図17】出力反射損失特性を示すグラフ。
【図18】減衰特性を示すグラフ。
【図19】図12に示した積層基板の変形例を示す分解斜視図。
【図20】本発明に係る通信装置の電気回路ブロック図。
【図21】従来の2ポート型アイソレータの電気等価回路図。
【符号の説明】
1,1C…集中定数型アイソレータ
4…金属製上側ケース
8…金属製下側ケース
9…永久磁石
13…中心電極組立体
14…入力外部電極
15…出力外部電極
16…アース外部電極
20…フェライト
21…第1中心電極
22…第2中心電極
21a,21b,22a,22b…端部
25,26…整合用コンデンサ
27…抵抗
28…インダクタ
30,30A,30B,30C,30D…積層基板
41〜46…誘電体シート
55,56,57,58…コンデンサ電極
59…グランド電極
220…携帯電話
P1…入力ポート(第1入出力ポート)
P2…出力ポート(第2入出力ポート)
P3…アースポート(第3ポート)[0001]
TECHNICAL FIELD OF THE INVENTION
The present invention relates to a two-port isolator, particularly to a two-port isolator and a communication device used in a microwave band.
[0002]
[Prior art]
Generally, an isolator has a function of passing a signal only in a transmission direction and preventing transmission in a reverse direction, and is used in a transmission circuit unit of a mobile communication device such as a car phone or a mobile phone.
[0003]
Conventionally, in the case of a three-port type isolator (an isolator having three center electrodes of first to third center electrodes) as this type of isolator, JP-A-2001-320205, JP-A-2001-320206, Japanese Patent Application Laid-Open Nos. Hei 11-308013 and 2000-114818 are known. In the case of a two-port isolator (an isolator having two center electrodes, a first center electrode and a second center electrode), those described in JP-A-2001-237613 and JP-A-2001-185912 are known. Have been.
[0004]
However, these three-port isolator and two-port isolator have a problem that when a signal propagates from the input port P1 to the output port P2, two resonance circuits resonate and insertion loss increases.
[0005]
In order to solve this problem, a low-loss two-port isolator described in FIG. 11 of Japanese Patent Application Laid-Open No. 9-232818 has been proposed. FIG. 21 shows an electric equivalent circuit of the two-port isolator. In the two-
[0006]
On the other hand, one
[0007]
The
[0008]
[Problems to be solved by the invention]
Incidentally, the two-port isolator described in JP-A-2001-237613 and the like has one LC parallel resonance circuit between the input port and the ground and between the output port and the ground. Each acts as a low-pass filter.
[0009]
However, in the conventional two-
[0010]
Therefore, an object of the present invention is to provide a two-port isolator and a communication device capable of suppressing propagation of a second harmonic (2f) or a third harmonic (3f) of a used frequency f.
[0011]
Means and action for solving the problem
In order to achieve the above object, a two-port isolator according to the present invention includes:
(A) a permanent magnet;
(B) a ferrite to which a DC magnetic field is applied by a permanent magnet;
(C) a first center electrode disposed on the main surface or inside of the ferrite, one end of which is electrically connected to the first input / output port, and the other end of which is electrically connected to the second input / output port;
(D) disposed on the main surface or inside of the ferrite so as to intersect the first center electrode in an electrically insulated state, one end being electrically connected to the second input / output port, and the other end being electrically connected to the ground; A second central electrode,
(E) a first matching capacitor electrically connected between the first input / output port and the second input / output port;
(F) a resistor electrically connected between the first input / output port and the second input / output port;
(G) a series resonant circuit of a second matching capacitor and an inductor electrically connected between the second input / output port and ground;
It is characterized by having. It is preferable that the resonance frequency of the series resonance circuit of the second matching capacitor and the inductor be between the second harmonic and the third harmonic of the operating frequency.
[0012]
Further, the two-port isolator according to the present invention includes:
(H) a permanent magnet;
(I) a ferrite to which a DC magnetic field is applied by a permanent magnet;
(J) a first center electrode disposed on the main surface or inside of the ferrite, one end of which is electrically connected to the first input / output port, and the other end of which is electrically connected to the second input / output port;
(K) disposed on the main surface or inside of the ferrite so as to intersect the first center electrode in an electrically insulated state, one end being electrically connected to the second input / output port, and the other end being electrically connected to the third port; A second central electrode connected to
(L) a first matching capacitor electrically connected between the first input / output port and the second input / output port;
(M) a resistor electrically connected between the first input / output port and the second input / output port;
(N) a second matching capacitor electrically connected between the second input / output port and the third port;
(O) an inductor electrically connected between the third port and ground;
It is characterized by having. It is preferable that the resonance frequency of the circuit composed of the inductor and the parallel resonance circuit including the inductance of the second center electrode and the second matching capacitor be between the second harmonic and the third harmonic of the operating frequency.
[0013]
With the above configuration, it is possible to attenuate the second harmonic (2f) or the third harmonic (3f) of the working frequency f propagating through the first center electrode.
[0014]
Further, the present invention is characterized in that respective capacitor electrodes of the first matching capacitor and the second matching capacitor and an inductor electrode of the inductor are provided on a laminated substrate formed by stacking insulating layers. This reduces the number of solder connections between the first matching capacitor, the second matching capacitor, and the inductor, and improves connection reliability.
[0015]
Further, the communication device according to the present invention includes the above-described two-port isolator, so that the frequency characteristics are improved.
[0016]
BEST MODE FOR CARRYING OUT THE INVENTION
Hereinafter, embodiments of a two-port isolator and a communication device according to the present invention will be described with reference to the accompanying drawings.
[0017]
[First Embodiment, FIGS. 1 to 11]
FIG. 1 is an exploded perspective view of one embodiment of a two-port isolator according to the present invention. The two-
[0018]
The metal upper case 4 has a substantially box shape, and includes an
[0019]
The
[0020]
The
[0021]
As shown in FIG. 2, the
[0022]
This
[0023]
Further,
[0024]
The
[0025]
The
[0026]
The via holes 60, the side via
[0027]
The center
[0028]
The
[0029]
The above-described
[0030]
An input
[0031]
Note that the
[0032]
The
[0033]
Since the
[0034]
The
[0035]
The above components are assembled as follows. That is, as shown in FIG. 1, the
[0036]
The
[0037]
The metal
[0038]
Thus, the two-
[0039]
The connection position between the
[0040]
In the two-
[0041]
The admittance Y and the resonance frequency f (0) of the trap circuit are expressed by the following equations (1) and (2).
Y = (ωC2) / j (ω 2 L3C2-1), ω = 2πf (1)
f (0) = 1 / {2π (L3C2) 1/2 } (2)
[0042]
FIGS. 5, 6, 7, 8 and 9 are graphs respectively showing the isolation characteristics, insertion loss characteristics, input reflection loss characteristics, output reflection loss characteristics and attenuation characteristics of the two-
[0043]
Here, a
[0044]
Table 1-2 summarizes the worst value in the band at the used frequency of 893 MHz to 960 MHz, the attenuation of the second harmonic (1786 MHz to 1920 MHz), and the attenuation of the third harmonic (2679 MHz to 2880 MHz). It is.
[0045]
[Table 1]
[0046]
In the first embodiment, the input
[0047]
In particular, the two-
[0048]
Also, since the matching
[0049]
Further, the
[0050]
The
[0051]
The
[0052]
The
[0053]
[Second Embodiment, FIGS. 12 to 19]
The two-port isolator of the second embodiment is the same as the two-
[0054]
As shown in FIG. 12, the
[0055]
The
[0056]
FIG. 13 is an electrical equivalent circuit diagram of a two-port isolator 1C having the laminated substrate 30C shown in FIG. A parallel circuit including a
[0057]
In the two-port isolator 1C having the above configuration, the parallel resonance circuit including the inductance L2 of the
[0058]
FIGS. 14, 15, 16, 17, and 18 are graphs showing the isolation characteristics, insertion loss characteristics, input reflection loss characteristics, output reflection loss characteristics, and attenuation characteristics of the two-port isolator 1C, respectively. (See the solid line in Example 2). For comparison, FIGS. 14 to 18 also show the characteristics of the conventional two-
[0059]
The resistance value R of each
[0060]
Here, the impedance Z and the resonance frequency f (0) of the trap circuit of the second embodiment are represented by the following equations (3) and (4).
Z = j {ωL3-ωL2 / (ω 2 L2C2-1)} (3)
f (0) = 1 / 2π · [{(L2 / L3) +1} / (L2C2)] 1/2
= 1 / 2π · [1 / C2 · {(1 / L2) + (1 / L3)}] 1/2
… (4)
[0061]
Therefore, for example, assuming that the effective magnetic permeability is 2, using the numerical values of the self-inductance of the
[0062]
Table 2-2 shows the worst values in the band at 893 MHz to 960 MHz, which are the operating frequencies, and attenuation of the second harmonic (1786 MHz to 1920 MHz) of the two-
[0063]
[Table 2]
[0064]
Further, the laminated substrate 30C can be variously deformed according to specifications. For example, the laminated substrate 30D shown in FIG. 19 has the center
[0065]
The
[0066]
[Third embodiment, FIG. 20]
In the third embodiment, a mobile phone will be described as an example of the communication device according to the present invention.
[0067]
FIG. 20 is an electric circuit block diagram of the RF portion of the
[0068]
Here, the two-
[0069]
[Other embodiments]
It should be noted that the present invention is not limited to the above embodiment, and can be variously modified within the scope of the gist. For example, if the N pole and the S pole of the
[0070]
【The invention's effect】
As apparent from the above description, according to the present invention, an inductor is connected in series to the second matching capacitor between the second input / output port and the ground, or an inductor is connected between the third port and the ground. Are connected to form a trap circuit. Since an attenuation pole is formed by the trap circuit, a second harmonic (2f) or a third harmonic (3f) of the operating frequency f propagating through the first center electrode can be attenuated. As a result, a high-performance, highly-reliable and small two-port isolator or communication device can be obtained.
[Brief description of the drawings]
FIG. 1 is an exploded perspective view showing an embodiment of a two-port isolator according to the present invention.
FIG. 2 is an exploded perspective view of the laminated substrate shown in FIG.
FIG. 3 is an external perspective view of the two-port isolator shown in FIG.
FIG. 4 is an electrical equivalent circuit diagram of the two-port isolator shown in FIG.
FIG. 5 is a graph showing isolation characteristics.
FIG. 6 is a graph showing insertion loss characteristics.
FIG. 7 is a graph showing input reflection loss characteristics.
FIG. 8 is a graph showing output return loss characteristics.
FIG. 9 is a graph showing attenuation characteristics.
FIG. 10 is an exploded perspective view showing a modified example of the laminated substrate shown in FIG. 1;
FIG. 11 is an exploded perspective view showing another modified example of the laminated substrate shown in FIG. 1;
FIG. 12 is an exploded perspective view showing a laminated substrate used in another embodiment of the two-port isolator according to the present invention.
FIG. 13 is an electrical equivalent circuit diagram of a two-port isolator using the laminated substrate shown in FIG.
FIG. 14 is a graph showing isolation characteristics.
FIG. 15 is a graph showing insertion loss characteristics.
FIG. 16 is a graph showing input reflection loss characteristics.
FIG. 17 is a graph showing output reflection loss characteristics.
FIG. 18 is a graph showing attenuation characteristics.
FIG. 19 is an exploded perspective view showing a modified example of the laminated substrate shown in FIG.
FIG. 20 is an electric circuit block diagram of a communication device according to the present invention.
FIG. 21 is an electrical equivalent circuit diagram of a conventional two-port isolator.
[Explanation of symbols]
Lumped constant type isolator 4 Metal
P2: Output port (second input / output port)
P3: Earth port (third port)
Claims (6)
前記永久磁石により直流磁界が印加されるフェライトと、
前記フェライトの主面もしくは内部に配置され、一端が第1入出力ポートに電気的に接続され、他端が第2入出力ポートに電気的に接続されている第1中心電極と、
前記第1中心電極と電気的絶縁状態で交差して前記フェライトの主面もしくは内部に配置され、一端が第2入出力ポートに電気的に接続され、他端がアースに電気的に接続されている第2中心電極と、
前記第1入出力ポートと前記第2入出力ポートの間に電気的に接続された第1整合用コンデンサと、
前記第1入出力ポートと前記第2入出力ポートの間に電気的に接続された抵抗と、
前記第2入出力ポートとアースの間に電気的に接続された、第2整合用コンデンサとインダクタの直列共振回路と、
を備えたことを特徴とする2ポート型アイソレータ。A permanent magnet,
A ferrite to which a DC magnetic field is applied by the permanent magnet;
A first center electrode disposed on the main surface or inside of the ferrite, one end of which is electrically connected to the first input / output port, and the other end of which is electrically connected to the second input / output port;
The ferrite is disposed on the main surface or inside of the ferrite so as to intersect with the first center electrode in an electrically insulated state, one end is electrically connected to the second input / output port, and the other end is electrically connected to the ground. A second central electrode,
A first matching capacitor electrically connected between the first input / output port and the second input / output port;
A resistor electrically connected between the first input / output port and the second input / output port;
A series resonant circuit of a second matching capacitor and an inductor electrically connected between the second input / output port and ground;
A two-port isolator comprising:
前記永久磁石により直流磁界が印加されるフェライトと、
前記フェライトの主面もしくは内部に配置され、一端が第1入出力ポートに電気的に接続され、他端が第2入出力ポートに電気的に接続されている第1中心電極と、
前記第1中心電極と電気的絶縁状態で交差して前記フェライトの主面もしくは内部に配置され、一端が第2入出力ポートに電気的に接続され、他端が第3ポートに電気的に接続されている第2中心電極と、
前記第1入出力ポートと前記第2入出力ポートの間に電気的に接続された第1整合用コンデンサと、
前記第1入出力ポートと前記第2入出力ポートの間に電気的に接続された抵抗と、
前記第2入出力ポートと前記第3ポートの間に電気的に接続された第2整合用コンデンサと、
前記第3ポートとアースの間に電気的に接続されたインダクタと、
を備えたことを特徴とする2ポート型アイソレータ。A permanent magnet,
A ferrite to which a DC magnetic field is applied by the permanent magnet;
A first center electrode disposed on the main surface or inside of the ferrite, one end of which is electrically connected to the first input / output port, and the other end of which is electrically connected to the second input / output port;
The ferrite is arranged on the main surface or inside of the ferrite so as to intersect with the first center electrode in an electrically insulated state, one end is electrically connected to the second input / output port, and the other end is electrically connected to the third port. A second central electrode,
A first matching capacitor electrically connected between the first input / output port and the second input / output port;
A resistor electrically connected between the first input / output port and the second input / output port;
A second matching capacitor electrically connected between the second input / output port and the third port;
An inductor electrically connected between the third port and ground;
A two-port isolator comprising:
Priority Applications (1)
| Application Number | Priority Date | Filing Date | Title |
|---|---|---|---|
| JP2003176047A JP3858852B2 (en) | 2002-07-04 | 2003-06-20 | 2-port isolator and communication device |
Applications Claiming Priority (2)
| Application Number | Priority Date | Filing Date | Title |
|---|---|---|---|
| JP2002196439 | 2002-07-04 | ||
| JP2003176047A JP3858852B2 (en) | 2002-07-04 | 2003-06-20 | 2-port isolator and communication device |
Publications (2)
| Publication Number | Publication Date |
|---|---|
| JP2004088744A true JP2004088744A (en) | 2004-03-18 |
| JP3858852B2 JP3858852B2 (en) | 2006-12-20 |
Family
ID=32072007
Family Applications (1)
| Application Number | Title | Priority Date | Filing Date |
|---|---|---|---|
| JP2003176047A Expired - Fee Related JP3858852B2 (en) | 2002-07-04 | 2003-06-20 | 2-port isolator and communication device |
Country Status (1)
| Country | Link |
|---|---|
| JP (1) | JP3858852B2 (en) |
Cited By (8)
| Publication number | Priority date | Publication date | Assignee | Title |
|---|---|---|---|---|
| JP2006050543A (en) * | 2004-07-07 | 2006-02-16 | Hitachi Metals Ltd | Non-reciprocal circuit device |
| WO2007049789A1 (en) * | 2005-10-28 | 2007-05-03 | Hitachi Metals, Ltd. | Irreversible circuit element |
| WO2007069768A1 (en) * | 2005-12-16 | 2007-06-21 | Hitachi Metals, Ltd. | Irreversible circuit element |
| US7239214B2 (en) | 2005-01-28 | 2007-07-03 | Murata Manufacturing Co., Ltd. | Two-port non-reciprocal circuit device and communication apparatus |
| WO2007091544A1 (en) * | 2006-02-08 | 2007-08-16 | Murata Manufacturing Co., Ltd. | Two-port type isolator, and communication device |
| JP2007306149A (en) * | 2006-05-09 | 2007-11-22 | Murata Mfg Co Ltd | Nonreciprocal circuit element and communication apparatus |
| JPWO2006011382A1 (en) * | 2004-07-30 | 2008-05-01 | 株式会社村田製作所 | 2-port isolator and communication device |
| JP2013236143A (en) * | 2012-05-07 | 2013-11-21 | Hitachi Metals Ltd | Isolator module |
-
2003
- 2003-06-20 JP JP2003176047A patent/JP3858852B2/en not_active Expired - Fee Related
Cited By (15)
| Publication number | Priority date | Publication date | Assignee | Title |
|---|---|---|---|---|
| JP2006050543A (en) * | 2004-07-07 | 2006-02-16 | Hitachi Metals Ltd | Non-reciprocal circuit device |
| JP4508192B2 (en) * | 2004-07-30 | 2010-07-21 | 株式会社村田製作所 | 2-port isolator and communication device |
| JPWO2006011382A1 (en) * | 2004-07-30 | 2008-05-01 | 株式会社村田製作所 | 2-port isolator and communication device |
| US7239214B2 (en) | 2005-01-28 | 2007-07-03 | Murata Manufacturing Co., Ltd. | Two-port non-reciprocal circuit device and communication apparatus |
| WO2007049789A1 (en) * | 2005-10-28 | 2007-05-03 | Hitachi Metals, Ltd. | Irreversible circuit element |
| KR101372979B1 (en) | 2005-10-28 | 2014-03-11 | 히타치 긴조쿠 가부시키가이샤 | Irreversible circuit element |
| JP4849269B2 (en) * | 2005-10-28 | 2012-01-11 | 日立金属株式会社 | Non-reciprocal circuit element |
| US7626471B2 (en) | 2005-10-28 | 2009-12-01 | Hitachi Metals, Ltd. | Non-reciprocal circuit device |
| JP5082858B2 (en) * | 2005-12-16 | 2012-11-28 | 日立金属株式会社 | Non-reciprocal circuit element |
| US7737801B2 (en) | 2005-12-16 | 2010-06-15 | Hitachi Metals, Ltd. | Non-reciprocal circuit device |
| WO2007069768A1 (en) * | 2005-12-16 | 2007-06-21 | Hitachi Metals, Ltd. | Irreversible circuit element |
| KR101307285B1 (en) * | 2005-12-16 | 2013-09-11 | 히타치 긴조쿠 가부시키가이샤 | Irreversible circuit element |
| WO2007091544A1 (en) * | 2006-02-08 | 2007-08-16 | Murata Manufacturing Co., Ltd. | Two-port type isolator, and communication device |
| JP2007306149A (en) * | 2006-05-09 | 2007-11-22 | Murata Mfg Co Ltd | Nonreciprocal circuit element and communication apparatus |
| JP2013236143A (en) * | 2012-05-07 | 2013-11-21 | Hitachi Metals Ltd | Isolator module |
Also Published As
| Publication number | Publication date |
|---|---|
| JP3858852B2 (en) | 2006-12-20 |
Similar Documents
| Publication | Publication Date | Title |
|---|---|---|
| JP2004254257A (en) | Wiring board with built-in low-pass filter | |
| JP2004289760A (en) | Wiring board with built-in low-pass filter | |
| US7443262B2 (en) | Two-port isolator, characteristic adjusting method therefor, and communication apparatus | |
| US6965276B2 (en) | Two port type isolator and communication device | |
| WO2007049789A1 (en) | Irreversible circuit element | |
| JP3835437B2 (en) | 2-port isolator and communication device | |
| US6992540B2 (en) | Two-port isolator and communication device | |
| JP4239916B2 (en) | 2-port isolator and communication device | |
| JP3858852B2 (en) | 2-port isolator and communication device | |
| JP3705253B2 (en) | 3-port non-reciprocal circuit device and communication device | |
| JP4197032B2 (en) | Two-port nonreciprocal circuit device and communication device | |
| US6900704B2 (en) | Two-port isolator and communication device | |
| JP4345680B2 (en) | Two-port nonreciprocal circuit device and communication device | |
| JP3852373B2 (en) | Two-port nonreciprocal circuit device and communication device | |
| JP2006050543A (en) | Non-reciprocal circuit device | |
| JP2007208943A (en) | Nonreciprocal circuit element and communication device | |
| JP4003650B2 (en) | Non-reciprocal circuit element, non-reciprocal circuit element mounting structure, and communication apparatus | |
| JP4293118B2 (en) | Non-reciprocal circuit device and communication device | |
| US6888432B2 (en) | Laminated substrate, method of producing the same, nonreciprocal circuit element, and communication device | |
| JP3829806B2 (en) | Multilayer substrate, multilayer substrate manufacturing method, non-reciprocal circuit device, and communication apparatus | |
| JP3176859B2 (en) | Dielectric filter | |
| JP2004023770A (en) | Irreversible circuit element and communication system | |
| JP2004350164A (en) | Nonreversible circuit element, manufacturing method of nonreversible circuit element and communication device | |
| JP2004296927A (en) | Wiring board for storing electronic components | |
| JP3948391B2 (en) | Non-reciprocal circuit device, manufacturing method thereof, and communication device |
Legal Events
| Date | Code | Title | Description |
|---|---|---|---|
| A621 | Written request for application examination |
Free format text: JAPANESE INTERMEDIATE CODE: A621 Effective date: 20050512 |
|
| A131 | Notification of reasons for refusal |
Free format text: JAPANESE INTERMEDIATE CODE: A131 Effective date: 20060620 |
|
| A521 | Request for written amendment filed |
Free format text: JAPANESE INTERMEDIATE CODE: A523 Effective date: 20060720 |
|
| TRDD | Decision of grant or rejection written | ||
| A01 | Written decision to grant a patent or to grant a registration (utility model) |
Free format text: JAPANESE INTERMEDIATE CODE: A01 Effective date: 20060829 |
|
| A61 | First payment of annual fees (during grant procedure) |
Free format text: JAPANESE INTERMEDIATE CODE: A61 Effective date: 20060911 |
|
| R150 | Certificate of patent or registration of utility model |
Ref document number: 3858852 Country of ref document: JP Free format text: JAPANESE INTERMEDIATE CODE: R150 Free format text: JAPANESE INTERMEDIATE CODE: R150 |
|
| FPAY | Renewal fee payment (event date is renewal date of database) |
Free format text: PAYMENT UNTIL: 20090929 Year of fee payment: 3 |
|
| FPAY | Renewal fee payment (event date is renewal date of database) |
Free format text: PAYMENT UNTIL: 20100929 Year of fee payment: 4 |
|
| FPAY | Renewal fee payment (event date is renewal date of database) |
Free format text: PAYMENT UNTIL: 20100929 Year of fee payment: 4 |
|
| FPAY | Renewal fee payment (event date is renewal date of database) |
Free format text: PAYMENT UNTIL: 20110929 Year of fee payment: 5 |
|
| FPAY | Renewal fee payment (event date is renewal date of database) |
Free format text: PAYMENT UNTIL: 20120929 Year of fee payment: 6 |
|
| FPAY | Renewal fee payment (event date is renewal date of database) |
Free format text: PAYMENT UNTIL: 20120929 Year of fee payment: 6 |
|
| FPAY | Renewal fee payment (event date is renewal date of database) |
Free format text: PAYMENT UNTIL: 20130929 Year of fee payment: 7 |
|
| LAPS | Cancellation because of no payment of annual fees |
