JP2004040736A - 画像情報送受信システム - Google Patents
画像情報送受信システム Download PDFInfo
- Publication number
- JP2004040736A JP2004040736A JP2002198935A JP2002198935A JP2004040736A JP 2004040736 A JP2004040736 A JP 2004040736A JP 2002198935 A JP2002198935 A JP 2002198935A JP 2002198935 A JP2002198935 A JP 2002198935A JP 2004040736 A JP2004040736 A JP 2004040736A
- Authority
- JP
- Japan
- Prior art keywords
- image information
- image
- information
- transmitting
- receiving device
- Prior art date
- Legal status (The legal status is an assumption and is not a legal conclusion. Google has not performed a legal analysis and makes no representation as to the accuracy of the status listed.)
- Pending
Links
Images
Landscapes
- Closed-Circuit Television Systems (AREA)
- Mobile Radio Communication Systems (AREA)
Abstract
【課題】撮影に適した位置に設置してある遠隔操作カメラを操作して自分を撮影し、画像の電子データを記憶した記録媒体を持ち帰ったり、インターネット上で閲覧可能とする。
【解決手段】見学者が携行している画像情報受信装置40が所定位置に設置してある位置情報発信装置200から位置情報を受信すると、画像情報受信装置40は撮影画像送信装置30にモニター画像要求信号を送信し、撮影画像送信装置30はモニター画像を表示する。見学者が画像情報受信装置40のシャッターボタンを押して撮影指示情報を送信すると、撮影画像送信装置30は撮影を実行し、無線送信手段を用いて撮影した画像情報を画像情報受信装置40に送信する。画像情報受信装置40は画像情報を受信し、記憶手段に記憶した後、再生する。撮影した画像情報は撮影した位置情報と個人識別情報と関連づけてネットワーク管理サーバー800に保存する。
【選択図】 図1
【解決手段】見学者が携行している画像情報受信装置40が所定位置に設置してある位置情報発信装置200から位置情報を受信すると、画像情報受信装置40は撮影画像送信装置30にモニター画像要求信号を送信し、撮影画像送信装置30はモニター画像を表示する。見学者が画像情報受信装置40のシャッターボタンを押して撮影指示情報を送信すると、撮影画像送信装置30は撮影を実行し、無線送信手段を用いて撮影した画像情報を画像情報受信装置40に送信する。画像情報受信装置40は画像情報を受信し、記憶手段に記憶した後、再生する。撮影した画像情報は撮影した位置情報と個人識別情報と関連づけてネットワーク管理サーバー800に保存する。
【選択図】 図1
Description
【0001】
【発明の属する技術分野】
博物館や展示場、美術館やイベント会場、テーマパークなどの記念写真の撮影に好適な場所に見学者が来たときに、見学者を撮影してその画像を見学者に提供する技術に関する。
【0002】
【従来の技術】
博物館や展示場だけでなく、名所旧跡、神社、仏閣、テーマパークなどの観光地では、誰もが記念写真を撮りたいと思う撮影スポットがある。記念写真は自分の姿を写すためこれらの撮影スポットにはいわゆる観光写真サービス業者が待機していて、観光客を特定の位置に立たせたり椅子に腰掛けさせて観光記念写真を撮影している。しかし、観光写真サービス業者は一箇所の撮影スポットに常駐しているのが普通である。最近、遊園地やテーマパークで、ジェットコースターのコースの途中にディジタルカメラを固定的に設置しておき、ジェットコースターが所定位置に接近したときに自動撮影し、ジェットコースターを降りてきた観光客に写真を見せて有料で提供するサービスが行なわれているが、やはり特定の撮影スポットに限定した写真撮影サービスにとどまっている。
【0003】
そこで複数箇所で撮影した写真を一元管理するものとして、特開2002−41703号公報に、複数の撮影スポットに設置したディジタルカメラをネットワーク接続し、撮影した写真映像を見学者のタグ番号毎に大容量ストレージにファイルし、入場者がテーマパークから出るときにこの電子のタグ番号で大容量ストレージにアクセスして、この入場者の写真を一括して提供するシステムが提案されている。
【0004】
【発明が解決しようとする課題】
本発明は、博物館等展示場内やテーマパーク内で見学者にとって撮影に好適とされる撮影ポイントに撮影画像送信装置により自動的に画像を撮影できる場所(以下、ピクチャースポットという)を作り、画像情報受信装置を携行した見学者がピクチャースポットに着くと、撮影画像送信装置がカメラで捉えたピクチャースポットの画像をモニター画面に映し出し、見学者が撮影画像送信装置を遠隔操作すると、撮影した画像情報を見学者の画像情報受信装置に無線送信して、撮影した画像情報をその場で見学者に提供するようにした画像情報送受信システムを提供することを第1の目的としている。
【0005】
また、博物館等展示施設のピクチャースポットで撮影した画像情報を受信した時には、画像情報受信装置の表示手段に、電子スタンプ帳にスタンプが押されたように表示して、撮影とスタンプラリーの楽しみが同時に味わえるようにした画像情報送受信システムを提供することを第2の目的としている。
【0006】
また、複数の見学者がそれぞれの画像情報受信装置に収集した画像情報を供与できるようにして、見学者同士のコミュニケーション手段として利用できるような画像情報送受信システムを提供することを第3の目的としている。
【0007】
そして、博物館等展示施設において、見学を終えた見学者の画像情報受信装置の記憶手段に蓄積したピクチャースポットの位置情報を抽出して集計し、ピクチャースポットの活用度合いを分析する分析装置を備えた画像情報送受信システムを提供することを第4の目的としている。
【0008】
更に、本発明は博物館等展示施設内で撮影した画像情報を記憶・蓄積した記録媒体を見学者が持ち帰るようにしたり、記憶、蓄積した画像情報と位置情報を見学者の個人識別情報と関連づけて、ネットワーク上のストーレージサーバーに保存しておいて、自宅からインターネットなどのネットワークを介してアクセスして自らの個人識別情報と関連づけて保存されている位置情報を基にストーレージサーバーの画像情報を閲覧したり、ダウンロードできるようにして思い出アルバム的、あるいは仮想博物館(バーチャルミュージアム)的に追体験できるようにした画像情報送受信システムを提供することを第5の目的としている。
【0009】
【課題を解決するための手段】
上記第1の課題を解決するために、本発明は、撮影に好適とされるピクチャースポットに位置情報を発信する位置情報発信装置を設置し、更にピクチャースポットを撮影する画像撮影手段と撮影制御手段と無線送受信手段を有する撮影画像送信装置とを設け、無線送受信手段と記憶手段と表示手段を有する画像情報受信装置を見学者に携行させ、予め識別情報を記憶させた画像情報受信装置が位置情報発信装置が発信した位置情報を受信し、画像情報受信装置が受信した位置情報を識別情報とともに撮影指示情報として撮影画像送信装置に送信すると、撮影画像送信装置は撮影を実行し、撮影した画像情報を画像情報受信装置に返信し、画像情報受信装置は画像情報を受信して記憶手段に記憶した後、表示手段に表示する画像情報送受信システムを構成している。
【0010】
これにより、見学者はピクチャースポットに予め設置されている撮影画像送信装置を遠隔操作して自分の姿を撮影し、撮影した画像情報を画像情報受信装置に送信させ、その場で撮影した画像を提供してもらうことができる。
【0011】
上記第2の課題を解決するために、本発明は、画像情報受信装置は画像情報の受信状況を表示する表示手段を有し、画像情報を受信したときには表示手段で表示する画像情報の受信状況の表示内容を更新するようにしている。
【0012】
これにより、撮影した画像情報を受信したときにスタンプ帳にスタンプを押すような受信状態表示を可能としている。
【0013】
上記第3の課題を解決するために、本発明は、画像情報受信装置は記憶手段に記憶した画像情報を特定する入力手段を有し、当該入力手段で特定した画像情報を他の画像情報受信装置に送信するようにしている。
【0014】
これにより、複数の見学者がそれぞれの画像情報受信装置で収集した画像情報を供与したり交換することができる。
【0015】
上記第4の課題を解決するために、本発明は、画像情報受信装置から記憶手段に記憶した画像情報と関連して記憶したピクチャースポットの位置情報を集計して集計結果を出力するようにしている。
【0016】
これにより、ピクチャースポットの位置情報を抽出して集計し、ピクチャースポットの活用度合いを分析した結果を入手することができる。
【0017】
上記第5の課題を解決するために、本発明は、画像情報受信装置の記憶手段の着脱可能な記録媒体に画像情報等を記録し、ネットワーク上にストーレージサーバーを接続し、該ストーレージサーバーに個人識別情報を登録するとともに、該個人識別情報毎に画像情報受信装置の記憶手段に記憶し蓄積した画像情報を位置情報と関連づけて保存し、ネットワークからアクセスすることにより、個人識別情報に関連づけて記憶された位置情報をもとにストーレージサーバーに蓄積されている画像情報を閲覧またはダウンロード可能にした画像情報送受信システムを構成している。
【0018】
これにより、画像情報等を記録した記録媒体を持ち帰ったり、ネットワークを介してアクセスして自らの個人識別情報と関連づけて保存されている位置情報を基にストーレージサーバーの画像情報を閲覧したり、ダウンロードできるようにして思い出アルバム的、あるいはバーチャルミュージアム的に追体験できるようにしている。
【0019】
【発明の実施の形態】
本発明の請求項1に記載の発明は、位置情報を発信する位置情報発信装置と、無線送受信手段と記憶手段と表示手段を有する画像情報受信装置と、画像撮影手段と撮影制御手段と無線送受信手段を有する撮影画像送信装置とを備え、予め識別情報を記憶させた画像情報受信装置が位置情報発信装置が発信した位置情報を受信し、画像情報受信装置が受信した位置情報を識別情報とともに撮影指示情報として撮影画像送信装置に送信すると、撮影画像送信装置は撮影を実行し、撮影した画像情報を画像情報受信装置に返信し、画像情報受信装置は画像情報を受信して記憶手段に記憶した後、表示手段に表示する構成を採る。
【0020】
この構成によれば、ピクチャースポットで位置情報を受信すると、予め設置されている撮影画像送信装置で自分の姿を撮影し、撮影した画像情報を画像情報受信装置に送信させ、その場で撮影した画像情報を入手して画像を見ることができる。
【0021】
請求項2に記載の発明は、請求項1記載の発明の撮影画像送信装置にモニター表示手段を更に備えたことにより、予め識別情報を記憶させた画像情報受信装置が位置情報発信装置が発信した位置情報を受信すると、画像情報受信装置は受信した位置情報を識別情報とともにモニター画像要求情報として撮影画像送信装置に送信し、撮影画像送信装置がモニター表示手段にモニター画像を表示しているときに、画像情報受信装置から撮影指示情報が送信されると、撮影画像送信装置は撮影を実行し、撮影した画像情報を画像情報受信装置に返信し、画像情報受信装置は画像情報を受信して記憶手段に記憶した後、表示手段に表示する構成を採る。
【0022】
この構成によれば、見学者は、モニター表示手段に表示されるモニター画像を見て、シャッターボタンを押すことが出きる。
【0023】
請求項3に記載の発明は、予め識別情報を記憶させた画像情報受信装置が位置情報発信装置が発信した位置情報を受信すると、画像情報受信装置は受信した位置情報を識別情報とともにモニター画像要求情報として撮影画像送信装置に送信し、撮影画像送信装置は撮影手段で撮影した画像情報をモニター画像として画像情報受信装置に返信し、画像情報受信装置の表示手段にモニター画像を表示しているときに、画像情報受信装置から撮影指示情報が送信されると、撮影画像送信装置は撮影を実行し、撮影した画像情報を画像情報受信装置に返信し、画像情報受信装置は画像情報を受信して記憶手段に記憶した後、表示手段に表示する構成を採る。
【0024】
この構成によれば、撮影画像送信装置にモニター表示手段が無くても、見学者は携行している画像情報受信装置の表示手段に表示されるモニター画像を見て撮影指示情報を出すことが出来る。
【0025】
請求項4に記載の発明は、撮影画像送信装置に位置情報と合成画像情報を関連づけて記憶した合成画像情報記憶手段と合成画像情報の読み出し手段を接続し、予め識別情報を記憶させた画像情報受信装置が位置情報発信装置が発信した位置情報を受信すると、画像情報受信装置は受信した位置情報を識別情報とともに撮影指示情報として撮影画像送信装置に送信し、撮影画像送信装置が合成画像情報記憶手段から位置情報に関連づけて記憶している合成画像情報を読み出して撮影画像送信装置の画像撮影手段で撮影した画像情報と合成した合成画像を画像情報受信装置に返信し、画像情報受信装置は画像情報を受信して記憶手段に記憶した後、表示手段に表示する構成を採る。
【0026】
この構成により、撮影画像送信装置の画像撮影手段で撮影した画像情報と予め画像合成情報記憶手段に記憶した合成画像情報を合成した合成画像を画像情報受信装置に返信し、画像情報受信装置に記憶した後、表示手段に合成画像を表示することができる。
【0027】
請求項5に記載の発明は、画像情報受信装置は画像情報の受信状況を表示する表示手段を有し、画像情報を受信したときには表示手段で表示する画像情報の受信状況の表示内容を更新する構成を採る。
【0028】
この構成により、スタンプ帳にスタンプを押すような受信状態表示が可能となる。
【0029】
請求項6に記載の発明は、画像情報受信装置に記憶手段に記憶した画像情報を特定する入力手段を有し、当該入力手段で特定した画像情報を他の画像情報受信装置に送信する構成を採る。
【0030】
この構成により、複数の見学者がそれぞれの画像情報受信装置で収集した画像情報を他の見学者の画像情報受信装置に供与することができる。
【0031】
請求項7に記載の発明は、画像情報受信装置に画像情報に対する評価情報を入力する入力手段を設け、入力した評価情報を評価した画像情報の位置情報に関連づけて記憶手段に記憶する構成を採る。
【0032】
この構成により、撮影した画像情報について、保存すべきものと保存するに価しないものを評価して、価値ある画像情報だけを持ち帰ったり、ネットワーク上に保存したりすることができる。
【0033】
請求項8に記載の発明は、画像情報受信装置から記憶手段に記憶した画像情報と関連して記憶したピクチャースポットの位置情報を集計して集計結果を出力する構成を採り、請求項9に記載の発明は、予め基準値を記憶しておいて集計結果と基準値を比較した結果を出力する構成を採る。
【0034】
上記、請求項8、請求項9の構成により、見学を終えた見学者の画像情報受信装置の記憶手段から蓄積した位置情報を受信して集計し、集計結果を基に受信される頻度の高い画像情報は何か、よく活用されるピクチャースポットはどこかを知るだけでなく、博物館等展示施設側の目論見である基準値と現実にどのような差があるかの対比ができる。
【0035】
請求項10に記載の発明は、ネットワーク上にストーレージサーバーを接続し、該ストーレージサーバーに個人識別情報を登録するとともに、該個人識別情報毎に画像情報受信装置の記憶手段に記憶し蓄積した画像情報を位置情報と関連づけて保存し、ネットワークからアクセスすることにより、個人識別情報に関連づけて記憶された位置情報をもとにストーレージサーバーに蓄積されている画像情報を閲覧またはダウンロード可能にした画像情報送受信システムを構成している。
【0036】
このことにより、ストーレージサーバーに保存した個人識別情報と位置情報を基に画像情報を閲覧したり、ダウンロードして画像情報を閲覧することができる。
【0037】
請求項11に記載の発明は、位置情報を表示した位置情報表示手段と、位置情報表示手段に表示された位置情報と画像情報を受信する画像情報受信装置の識別情報を入力して送信する撮影指示送信手段と、無線送受信手段と記憶手段と表示手段を有する画像情報受信装置と、画像撮影手段と撮影制御手段と無線送受信手段を有する撮影画像送信装置とを備え、位置情報表示手段に表示された位置情報と画像情報を受信する画像情報受信装置の識別情報が撮影指示送信手段に入力され、撮影画像送信装置に送信されると、撮影画像送信装置は撮影を実行し、撮影した画像情報を画像情報受信装置に返信し、画像情報受信装置は画像情報を受信して記憶手段に記憶した後、表示手段に表示する構成を採る。
【0038】
この構成により、位置情報発信装置の代わりに単に位置情報を記載した表示板がピクチャースポットに立ててあった場合でも、撮影指示送信手段からその位置情報と画像を受信する画像情報受信装置の識別番号を入力して、撮影指示情報として、ピクチャースポットに設置してある撮影画像送信装置に送信し、撮影画像送信装置にピクチャースポットの画像を撮影させて、画像情報を撮影指示情報で指示した画像情報受信装置に送信させることができる。
【0039】
特に、撮影指示送信手段と画像情報受信装置を一つの装置で構成し、その装置をブルートゥースの短距離無線送受信手段や赤外線通信手段を設けた携帯電話機やディジタルカメラで構成すれば、見学者はピクチャースポットで、専用装置でない画像情報受信装置で撮影指示と画像情報の受信を行うことができる。
【0040】
以下、本発明の画像情報送受信システムを適用した実施の形態について、博物館を例にして図面を参照して具体的に説明する。
【0041】
(実施の形態1)
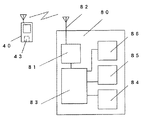
図1は、本発明の第1の態様に係る画像情報送受信システムの概略構成図である。博物館10の展示台11上に展示された展示物である恐竜20の近傍には、予め撮影に好適とされる撮影ポイントを「ピクチャースポット」として選出して、位置情報を発信する位置情報発信装置21,22,23を設置している。位置情報発信装置21,22,23は、ブルートゥース等の短距離無線技術による無線送受信手段を内蔵しており、図1で破線の円210、220、230に示すように50センチメートルから5メートル程度の通信伝播距離に位置情報を間欠的に発信している。伝播距離の設定は、撮影に好適とされるピクチャースポットの大きさで決めている。博物館内には撮影画像送信装置30が設置してある。撮影画像送信装置30は、ディジタルカメラやビデオカメラ等の画像撮影手段900、モニター画像表示と撮影ガイド情報を出力するとともに撮影手順をコントロールする撮影制御手段700、見学者が携行する画像情報受信装置と画像等の無線送受信を行なう無線送受信手段として機能するアクセスポイント300から構成されている。撮影画像送信装置30は博物館内のネットワークを管理するネットワーク管理サーバー800に接続している。ネットワーク管理サーバー800には、合成画像情報記憶手段801と、撮影した画像情報を記憶する撮影画像記憶手段802が設けてある。見学者は画像情報受信装置40を携行して見学する。
【0042】
なお、画像情報受信装置40には入館時に予め識別情報としての識別番号、例えば数字「40」や見学者が指定する言語の識別子、例えば日本語なら「JP」、そして個人識別情報であるID番号、パスワード等を登録できるようにしてあり、博物館側は上記項目を登録してから見学者に画像情報受信装置40を貸し出すようにしている。
【0043】
なお、図1ではアクセスポイント300、画像撮影手段900、撮影制御手段700はそれぞれ一つだけを示しているが、展示場の広さに応じて展示場のあちこちに複数のアクセスポイントを設け、一つのアクセスポイントについて更に複数の画像撮影手段900と撮影制御手段700を接続した形で構成することにしている。
【0044】
図1で、画像情報受信装置40を携行した見学者が博物館に入ると、第一のピクチャースポットに置かれている位置情報発信装置21が発信している位置情報、例えば数字「21」を画像情報受信装置40が受信する。画像情報受信装置40は、受信した位置情報「21」と画像情報受信装置40の識別番号「40」、日本語の識別子「JP」とモニター画像送信要求信号、例えば記号「**」を「2140JP**」というモニター画像要求情報として撮影画像送信装置30に送信する。撮影画像送信装置30は、位置情報「21」のピクチャースポットの画像情報を合成画像情報記憶手段801に位置情報「21」と関連づけて記憶している日本語の合成画像情報と合成してモニター表示手段701に表示する。
【0045】
図2にモニター表示手段701に表示された合成画像の一例を示す。図2では、撮影された恐竜の頭部と見学者の写真の下に、日本語で「恐竜の頭とAさん」「A博物館 2002/6/16」というテロップの合成画像を示している。モニター画像要求情報の言語の識別子がフランス語「FR」であれば、フランス語のテロップが合成される。
【0046】
モニター画像を見た見学者が画像情報受信装置40のシャッターボタンを押すと、画像情報受信装置40は、位置情報「21」、識別番号「40」、日本語の識別子「JP」と撮影指示信号、例えば記号「##」を「2140JP##」という撮影指示情報として撮影画像送信装置30に送信する。撮影画像送信装置30は合成画像の画像情報を画像情報受信装置40に送信する。画像情報受信装置40は、送信されてきた合成画像を記憶手段に記憶した後、表示手段に表示する。また設定により、撮影画像送信装置30から画像情報を画像情報受信装置40に送信すると同時に、同じ画像情報をネットワーク管理サーバー800の撮影画像記憶手段802に個人識別情報のID番号と関連づけて記憶しておくこともできる。
【0047】
以下同様に、見学者が博物館内を移動して、第二、第三のピクチャースポットに置いてある位置情報発信装置22,23にそれぞれ近づいたときは、上記と同様の手順でモニター表示手段701のモニター画面を見ながら、画像情報受信装置のシャッターボタンを押すと、それぞれの位置で撮影された画像に識別子で特定される合成画像情報が合成された画像を画像情報受信装置40で受信し、記憶し、画像情報受信装置40の表示手段で見ることが出来る。
【0048】
図3に撮影画像送信装置30と、ネットワーク管理サーバー800と、見学者が携行する画像情報受信装置40と、位置情報発信装置200のブロック図を示す。撮影画像送信装置30は、既に述べたように画像情報受信装置と無線送受信するアクセスポイント300と画像撮影手段900と撮影制御手段700から構成されている。そして、撮影画像送信装置30は、博物館側のネットワーク管理サーバー800と接続している。
【0049】
アクセスポイント300には、無線制御を行う制御手段301と、ブルートゥース等の短距離無線技術による無線送受信手段302と、アンテナ303と図示しない電源装置を持っている。
【0050】
画像撮影手段900は、ディジタルカメラやビデオカメラのような撮影手段901とシャッター手段902を有し、シャッター手段902に撮影指示信号が送信されると撮影を行うように構成されている。
【0051】
撮影制御手段700は、画像をモニター表示するモニター表示手段701と制御部702を有し、制御部702は画像情報受信装置を携行している見学者向けの撮影ガイド情報、例えば「ピクチャーポイントに着きました。頭上のカメラを見て、モニター画面で画像を確認してシャッターボタンを押してください。」などというメッセージを生成したり、画像情報受信装置から送信されてくる撮影指示信号を画像撮影手段のシャッター手段902に転送して撮影手段901で撮影を実行させ、撮影した画像情報と後述する合成画像情報記憶手段801の合成画像情報を合成したり、アクセスポイント300の無線送受信手段302により、画像情報受信装置40に画像情報を送信する一連の撮影制御を行っている。
【0052】
ネットワーク管理サーバー800には合成画像情報記憶手段801と撮影画像記憶手段802と、画像情報の読出し書込み手段803と、ネットワーク管理手段804を有し、インターネット等のネットワーク60に接続している。合成画像情報記憶手段801にはピクチャースポットを簡単に解説するテロップとしての短い文章や、日付やロゴマークの他に差替えて合成する合成用画像または結合して合成する合成用画像などの合成画像情報を記憶している。特に、各国語対応をするために複数の言語で作成されたそれぞれの合成画像情報に言語ごとに異なる識別子をつけて記憶しているので、識別子に応じた言語の画像情報が自動的に読み出されて合成されるようにしてある。撮影画像記憶手段802には、画像情報受信装置40に送信した画像情報を個人識別情報と関連付けて記憶できるようにしている。ただし記憶容量を確保しておくために、例えば入館者全員を対象にするのではなく、対価を支払って撮影した画像をネットワーク上に所定期間保存することにした見学者の画像情報に限定するなどの制限を行っている。
【0053】
画像情報受信装置40は、ブルートゥース等の短距離無線技術による無線送受信手段41を内蔵しておりアンテナ42を介して撮影画像送信装置30から受信した画像情報と位置情報を記憶手段43に記憶する。記憶手段43にはカード型メモリーやフロッピーディスク等の着脱可能な記録媒体430が装着してあり見学終了後は、記録媒体430を取り出して見学者が持ち帰ることができる。45は表示手段であり、46は電源装置、47はスピーカである。48はイヤホン装置であり、独立した筐体にアンテナ481、ブルートゥース送受信手段482、スピーカ483と電源装置484を内蔵して、撮影画像送信装置30が送信してくる前述の撮影ガイド情報をスピーカ483に出力している。49は見学者が操作できる操作手段であり、シャッターボタン50と見学終了ボタン51を制御手段44に接続し、それぞれの操作信号を入力する入力手段の機能を果たしている。また、操作手段49には送信ボタン52と送信要求ボタン53、スクロールキー54、撮影要求ボタン55、図示しない再生ボタンが設けてあり、操作手段49で特定したピクチャースポットの位置情報と関連付けて記憶している画像情報を他の画像情報受信装置に送信する信号や、画像情報を特定するための信号や、送信を要求する信号、一度画像を撮影したことのあるピクチャースポットで再び撮影を要求する信号、画像情報を再生して表示する信号を入力できるようにしている。
【0054】
操作手段49にはキーボードが無いが、この例ではキーボードのコネクター56を制御手段44に接続しておいて、図示しない外付けのキーボードからテキストデータを入力できるようにしている。このことにより、ピクチャースポットで撮影した画像にテキストデータを貼り付ける形で、解説レポートや図4に示すような絵日記や絵葉書を作成して記憶手段43に保存することができる。
【0055】
記録媒体430には、博物館の何処にピクチャースポットがあるかを示した見取り図等の展示場情報を予め電子データをコピーするなどの方法で記憶させてある。制御手段44は撮影画像送信装置30から受信した画像情報がどのピクチャースポットに関連しているかを位置情報で識別し、画像情報と位置情報を関連付けて記憶するようにしている。また、制御手段44は送信されてきた画像情報を記録媒体430に記憶させると、展示場情報を読み出し、画像情報受信装置40の表示手段45に博物館の見取り図に画像情報を受信したピクチャースポットに撮影済みマークをつけてあたかもスタンプ帳にスタンプを押したように表示するようにしている。
【0056】
位置情報発信装置200は、ブルートゥース等の短距離無線技術による無線送受信手段201と図示しない電源手段を内蔵しており、送信出力を設定することにより50センチメートルから5メートル程度の通信伝播距離に位置情報をアンテナ202から間欠的に発信している。
【0057】
図5のフローチャートを用いて本発明の画像情報送受信システムの基本的な送受信の動作を説明する。まず、入館時に博物館側で画像情報受信装置40の記憶手段43に画像情報受信装置40の識別番号、見学者が指定する言語の識別子を登録し、更に収集した画像情報を電子データの形でネットワーク保存することを希望する見学者が個人識別情報としてID番号とパスワードを自ら登録してから見学を開始する(ステップ1)。見学者が展示場の入り口にある位置情報発信装置21に近づくと携行している画像情報受信装置40が位置情報を受信する(ステップ2)。受信した位置情報のピクチャースポットが見学者がはじめて撮影する場所であれば(ステップ3)、位置情報と画像情報受信装置40の識別番号、見学者の指定する言語の識別子とモニター画像送信要求信号をワンセットにしたモニター画像要求情報を撮影画像送信装置30を構成しているアクセスポイント300に送信する。アクセスポイント300はモニター画像要求情報を受信すると、制御部702にモニター画像要求情報を転送し、制御部702が画像撮影手段900に受信した位置情報のあるピクチャースポットの画像を撮影させ、ネットワーク管理サーバー800の合成画像情報記憶手段801から位置情報と識別子で特定される合成画像情報を読み出して合成した合成画像をモニター表示手段701に動画または静止画のモニター画像を表示する(ステップ4)。モニター表示手段701にモニター画像を表示中に、画像情報受信装置40から撮影指示情報、いわゆるシャッター信号が送られてくると(ステップ5)、制御部702は、画像撮影手段900に撮影させ、モニター表示手段701に表示していた画像情報を画像情報受信装置40にアクセスポイント300の無線送受信手段302を用いて返信する(ステップ6)。画像情報受信装置40は画像情報を受信するとピクチャースポットの位置情報と関連付けて記憶手段43に記憶し、蓄積する(ステップ7)。画像情報受信装置40は画像情報を表示手段45に表示する(ステップ8)。そして撮影要求ボタン55が押されなければ(ステップ9)、画像情報を受信したピクチャースポットに撮影済みマークを印した展示場見取り図を表示する(ステップ10)。再生ボタンが押されず(ステップ11)、見学終了ボタンも押されなかったときは、新たなピクチャースポットの位置情報をサーチする(ステップ12)。ステップ13,ステップ14は後述する。
【0058】
もし画像を撮り直したいときは、ピクチャースポットに順番待ちの他の見学者がいれば、一度ピクチャースポットから出て、再度ピクチャースポットに入り、ステップ2,ステップ3からステップ8にジャンプした後、ステップ9で撮影要求ボタン55を押してステップ4からステップ8までの撮影処理ステップを実行する。もし、他に見学者がいなければ、ステップ8で表示された画像を見て、直ぐに撮影要求ボタン55を押してステップ4からステップ8までの撮影処理ステップを実行することが出来るようにしている。
【0059】
その後、見学者が恐竜の胴体部に近づくと胴体部のピクチャースポットに置かれた位置情報発信装置22から位置情報を受信する。以下同様に撮影画像送信装置30のモニター表示手段701に見学者が胴体部近くのピクチャースポットにいるモニター画像が表示されるので、見学者は画像情報受信装置40でシャッターボタン50を押して、画像撮影手段900で撮影させ、合成画像情報記憶手段801のテロップ画像を合成した画像情報を受信する。新たに撮影要求ボタンが押されなければ、展示場の見取り図に撮影済みマークを付けたものを表示する。そして、見学者がしっぽ部に移動すれば同様にしっぽ部のピクチャースポットの画像情報を受信する。
【0060】
なお、図5のフローチャートには示していないが、合成画像情報記憶手段801には、一つの位置情報に対して識別子をつけた複数の合成画像情報を記憶しておいて、画像情報要求信号に含まれている識別子に対応する合成画像情報を読み出して合成画像を作成するようにしているので、他の合成画像情報を望む見学者には表示手段45に識別子を表示することにより、図8に示す操作手段49のスクロルキー54で他の合成画像情報を選択させ、送信要求ボタン53を押させることで撮影画像送信装置30に識別子に対応した合成画像情報との合成画像を要求できるようにしている。例えばテロップ画像を日本文から英文に変えるという簡単なことから、図6に示すように、撮影した画像611が恐竜の頭部もしっぽも写っていないときに、合成画像情報として恐竜頭部の画像612の識別子としっぽ部の画像613の識別子を合成用画像に選択して、611、612、613の画像を合成して見学者の画像と恐竜の全体像の写った合成画像614を作成させて画像情報受信装置40に送信させることも可能である。
【0061】
図7は、画像情報受信装置40の記憶手段43の記憶テーブルを示している。記憶テーブルには、見学順序431、ピクチャースポットの位置情報432、撮影時刻433、ピクチャースポット名434、撮影状況435を記憶するようにしている。図7には画像情報そのものを示していないが、位置情報432と関連づけて記憶している。なお既述のように、画像情報受信装置40のコネクター56に、図示していない外付けのキーボードを接続して、図4に示したように画像情報に関連づけて記憶したテキストメモは図7の記憶テーブルのメモの有無欄436に「メモ1」「メモ2」のようにピクチャースポットの位置情報と関連づけて記憶される。
【0062】
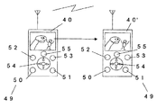
図8は見学者が携行する画像情報受信装置40に画像情報の受信、記憶、再生機能に加えて、他の画像情報受信装置40’へ転送する機能を実行している状況を示している。送信したい他の画像情報受信装置40’の識別番号を入力し、送信する画像情報を操作手段49のスクロルキー54で選択し送信ボタン52を押すことにより、制御手段44により該当するピクチャースポットの位置情報と記憶されている画像情報を記憶手段43から読み出して無線送受信手段41により、アンテナ42から他の画像情報受信装置40’に送信している。送信された側の他の画像情報受信装置40’は、撮影画像送信装置30から画像情報を受信したときと同様に、画像情報を自らの記憶手段43に記憶する。このことにより、複数の見学者がそれぞれ収集した画像情報を供与できるようにしている。また、送信要求ボタン53を押して他方の画像情報受信装置に対して特定の位置情報に対応する画像情報の送信を要求できるようにしている。
【0063】
図9は本発明の画像情報送受信システムによる展示場の機器の概略構成図を展示場を斜め上方から見た見取り図として示している。なお、図1と同じ部分については同じ番号を付している。博物館10の出口付近の固定台13上に設置した博物館側の画像情報受信装置400は、基本的には見学者の携行する画像情報受信装置40と同じ構成であるが、記憶手段に展示場の全てのピクチャースポットで予め撮影した画像情報を蓄積し、かつネットワーク管理サーバー800と接続して、ネットワーク管理サーバーの合成画像情報記憶手段801に記憶してある合成画像情報を読み出せるようにしている点が異なる。展示場の出口付近に近づいた見学者に対して、見学者が撮影できなかったピクチャースポットの画像情報の中で、どうしても入手したい画像情報や合成し直したい合成画像情報について、例えば一つや二つなど数量を限定して取り込めるようにしている。博物館側の画像情報受信装置400に画像情報の送信を要求すると、博物館側の画像情報受信装置400は、要求してきた画像情報受信装置40の識別番号について、情報提供済みかどうかを確認し、情報提供していなければ、画像情報を一つや二つなど限定した数量だけ送信するようにしている。見学者は入手できなかった画像情報を入手でき、博物館側としては、画像情報受信装置400の送信記録を見ることにより見学者が館内で欲しかったのに撮影できなかったピクチャースポットは何処か、欲しかった合成画像は何かを知ることが出来る。
【0064】
図10は、画像情報受信装置40の記憶手段43に記憶させた画像情報を一つずつピクチャースポットの位置情報とともに表示手段45に表示し、持ち帰る電子データまたはネットワーク上に保存する電子データとしての評価を入力するようにした画像情報受信装置40を示している。表示手段45には記憶手段43に記憶した画像情報と位置情報432、ピクチャースポット名434と、評価欄A、B、Cをそれぞれ表示し、操作手段49のひとつである中央に決定キーを有するスクロールキー54で評価欄の何れか一つを選択させるようにしている。画像情報について「A.保存するデータ」、「B.とりあえず残しておくデータ」、「C.捨てるデータ」のいずれかを選択させることにより評価結果を記憶手段43に画像情報の付加情報として追加記憶可能にしている。画像情報を有料で提供するときは、前記A、B、Cの評価結果に基づいてC評価された画像情報を記憶手段43から消去し、A、Bが付された数を集計して請求額を自動集計する。
【0065】
次に図9に示した博物館10の出口付近の自動計算手段80について、図5のフローチャートで説明していなかったステップ13とステップ14とともに説明する。なお、自動計算手段80は、見学者が画像情報受信装置40に蓄積したピクチャースポットの位置情報を分析する分析装置としての役割を果たしている。
【0066】
自動計算手段80に近づいた見学者が、携行している画像情報受信装置40の見学終了ボタン51を押すと(ステップ12)、画像情報受信装置40は、入館時に記憶手段43に記憶した識別番号、言語の識別子、個人識別情報であるIDとパスワードと、蓄積したピクチャースポットの位置情報432と画像情報などを自動計算手段80に送信する(ステップ13)。これで画像情報受信装置は動作を停止し、画像情報受信装置を携行した見学は終了する(ステップ14)。
【0067】
なお、図5のフローチャートのステップ1で、画像情報を電子データの形でネットワーク保存することを希望する見学者が個人識別情報としてID番号とパスワードを自分で登録すると説明したが、上記ステップ12で見学終了ボタン51を押す前に、例えば図11のように画像情報受信装置の表示手段45に、記憶手段43に記憶した画像を一覧表示して内容を表示して確認した上でIDとパスワードを見学者本人に入力して貰うようにしてもよい。
【0068】
図12に自動計算手段80のブロック図を示す。自動計算手段80は、図9の出口付近の固定台13上に設置され、出口に近づいた見学者の画像情報受信装置40から位置情報432や撮影時刻433を前述のように受信して蓄積し、撮影に利用されたピクチャースポットの位置情報集計装置として、人気の高いピクチャースポットを求めたり、撮影時刻集計装置としてピクチャースポットごとの撮影時刻がどのように分布しているかなどの集計結果を出力する装置である。
【0069】
自動計算手段80はアンテナ82を介して送受信手段81で受信した前記の情報を制御手段83により、記憶手段84に蓄積し、計算手段85で集計し、集計結果を出力手段86に出力する。また、記憶手段84には目的とする計算ごとに博物館側としての目論見値を予め基準値として記憶しておき、集計結果を基準値と比較した結果を表示手段や印刷手段からなる出力手段86に出力するようにしている。
【0070】
図13に自動計算手段80の出力結果の一例を示す。グラフの横軸には位置情報を、縦軸には撮影された頻度を出力している。図13の棒グラフは、予め記憶させた基準値である目論見値を示し、折れ線グラフは実績値を示している。目論見値と実績値の両者を比較した結果を出力するようにしているので、例えば目論見では、恐竜の頭部(21)と胴体部(22)も同じ程度で写真撮影されると予想していたのに、見学者は胴体部(22)では写真撮影していないか、撮影してもC評価を付けて捨ててしまって残っていないことが分かる。この結果に対して博物館側は、利用されない胴体部をピクチャースポットから外して、位置情報発信装置22を撤去する決断ができる。なお、博物館側の画像情報受信装置400から取得した画像情報も自動計算手段80で集計できるので、「見学者が恐竜の胴体部の前に立ち、恐竜の全体像つまり頭部からしっぽまで全体が撮影された画像」が沢山取得されているという結果が出ていれば、胴体部のピクチャースポットでの撮影には合成画像情報記憶手段801に記憶した恐竜の全体像つまり頭部からしっぽまで全体が撮影された画像と見学者の姿を合成するようにしたほうが良いという判断が導かれる。このように、自動計算手段80は単に位置情報集計装置として累計結果を示すだけでなく、分析装置としての機能を果たしている。
【0071】
次に、図9の出口付近の固定台13上に設置した博物館側のネットワーク管理サーバー800について説明する。博物館側のネットワーク管理サーバー800は、撮影画像送信装置30に接続されているだけでなく、個人識別情報、画像情報の他に、自動計算手段80で画像情報受信装置を携行した見学者が画像情報を撮影した位置情報とその他の関連情報をネットワーク上で管理するネットワーク管理手段804を有しており、自動計算手段80やネットワーク60にケーブル14で接続している。
【0072】
図14は、インターネットのネットワークシステムの構成を示すブロック図である。60はネットワークであり、61はネットワークに接続されたストーレージサーバーであり、見学者の個人識別情報と見学者が博物館内で画像を撮影したピクチャースポットの位置情報とその位置情報に関連づけられた画像情報を蓄積するデータベース62と、ネットワーク60を介して送受信を行なう送受信手段63から構成されている。既に図5のフローチャートのステップ13によって、博物館の出口付近で、博物館の自動計算手段80が見学者の個人識別情報であるID番号とパスワードと見学者が蓄積した位置情報432、時刻情報433と撮影状況435と位置情報に関連づけられた画像情報を受信済みであるので、博物館側のネットワーク管理サーバー800は自動計算手段80から、ネットワーク管理に必要なデータを抽出して、ストーレージサーバー61のデータベース62に向けて送信する。データベース62は少なくとも送受信手段63により送信されてきたID番号とパスワードと位置情報432と撮影状況435と位置情報に関連づけられた画像情報を見学者ごとの記憶領域に保存蓄積する。ストーレージサーバー61のデータベース62に見学者の記憶領域が確保され個人識別情報が記憶されると、その見学者はネットワーク上の登録者として前記ID番号とパスワードを用いてストーレージサーバー61にアクセスできることになる。
【0073】
データベース62は送受信手段63によりネットワークを介して自動読み出し可能にしているため、見学者は後日、ネットワーク60に自宅のパソコン65やインターネット接続機能付き携帯電話等の通信端末を接続してIDとパスワードを入力して、データベース62に保存蓄積されている位置情報を使って、データベース62に保存蓄積されている博物館のピクチャースポットに関する画像情報を読み出して、自ら見学してきた内容を思い出アルバムとして追体験して楽しむことが出来るようにしている。特にインターネット接続機能付き携帯電話で読み出せば、友人、仲間と見学してきた博物館について談笑しているときに、ネットワークから取り出して見せることが出来るという効果がある。
【0074】
また、博物館側としてストーレージサーバー61のデータベース62に、展示場で受信可能としていた全ての画像情報を蓄積しておくことにより、希望者には一部又は全ての画像情報を有料でダウンロードする送信処理を行うこともできるようにしている。
【0075】
データベース62には博物館の展示場の見取り図や、展示物を解説した展示情報を展示物の位置情報と関連付けて記憶し、ネットワーク60を介して閲覧可能にしてあるので、見学者は実際に撮影してきたピクチャースポットの画像と展示情報を組み合わせて、仮想博物館(バーチャルミュージアム)として閲覧しなおすことができる。見学順序は実際に見学したときの見学順序でも、それ以外の見学順序でも閲覧することができる。また、再び博物館を訪問したときには、貸し出される画像情報受信装置40にデータベース62に保存蓄積した位置情報等を取り込むことができるので、前回の続きから未だ撮影していないピクチャースポットで画像情報を収集することができる。
【0076】
図15は、見学者が自宅のパソコン65で、ネットワーク60を介して読み出したバーチャルミュージアム70を表示した画面の一例を示す。ここでは、バーチャルミュージアム70は、展示情報71と見学アルバム72という二つの情報ファイルを閲覧することができる。見学アルバム72では、現実に見学してきた順番にアルバム風に画像情報を再現することができる。
【0077】
なお、上記の説明では、画像情報受信装置40を博物館側が見学者に貸与する専用端末と位置づけて説明したが、ブルートゥースの通信手段や赤外線通信手段を備えた携帯電話装置やディジタルカメラを用いて、位置情報発信装置から発信されている位置情報を受信できて、撮影画像送信装置にモニター画像要求情報や撮影指示情報を送信出来るように構成して有れば、本発明の画像情報送受信システムの画像情報受信装置40として使用することが出来る。
【0078】
(実施の形態2)
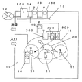
図16に本発明の第二の実施の形態を示す。前述した第一の実施の形態では博物館に本発明を適用した場合を説明したが、図16はテーマパークでよくみられる見学者が小舟に乗って見学するタイプのアトラクションに本発明の画像情報送受信システムを適用した例を示している。図16では川15が川上から川下に一つのループを描いて流れており、舟16に見学者が乗船して島17の周りを一周する様になっている。舟16に乗った見学者は画像情報受信装置40を携行しており、島17には撮影画像送信装置30とネットワーク管理サーバー800が設置されている。撮影画像送信装置30は一つのアクセスポイント300と複数の画像撮影手段900と撮影制御手段700が放射線状に配置されている。ループ状の川の外側には、風景写真パネル18が並べられていて、それぞれのパネルには位置情報発信装置24などが取り付けられている。見学者が携行する画像情報受信装置40がパネル18に取り付けられた位置情報発信装置24に接近して、位置情報を受信すると、画像情報受信装置40は受信した位置情報と予め画像情報受信装置40の記憶手段43に記憶してある識別番号と識別子をワンセットにした撮影指示情報として、アクセスポイント300に送信できるようになる。撮影制御手段700のモニター表示手段701にはモニター画像が表示されるので、舟に乗っている見学者が自分たちがモニター表示手段701に映し出されたときに、画像情報受信装置40のシャッターボタン50を押すと、画像撮影手段900が風景写真パネル18をバックにした見学者を撮影し、画像情報を画像情報受信装置40に送信する。画像情報受信装置40は画像情報を受信し、記憶手段に記憶して表示する。シャッターボタン50については、画像情報受信装置40が位置情報を受信してから所定時間経過したときに自動的に押されるモードにしておくと、見学者はループ状の川を舟でポーズを取って一周するだけで多数の風景を背景にした写真を順次撮影することが出来る。このように、モニター表示手段701を画像撮影手段900が撮影している画像を常時表示するようにしておけば、画像情報受信装置40からいちいちモニター画像要求情報を撮影画像送信装置30に送信しなくて済むという効果がある。
【0079】
(実施の形態3)
図17に本発明の第三の実施の形態を示す。既に説明した第一の実施の形態、第二の実施の形態では、撮影画像送信装置30は展示場内に固定されていたが、第三の実施の形態では、撮影画像送信装置30を移動式に構成した点、撮影制御手段700にモニター表示手段701を設けていない点が異なっている。
【0080】
図17では自走式案内ロボット910を展示場で撮影サービスロボットとして用いるようにした本発明の画像情報送受信システムの適用例である。自走式案内ロボット910はモーター914の駆動により車輪913で博物館10内の展示台11上を走行する。自走式案内ロボットの筐体外部の固定台911上には、位置情報発信装置25を固定し、自走式案内ロボットの筐体内に画像撮影手段900と撮影制御手段700とアクセスポイント300を収納している。アクセスポイント300とネットワーク管理サーバー800はアンテナ303とアンテナ805を介して無線通信で情報を送受信するように構成している。他の構成は図1と同じであり、同じ構成要素には同じ番号を付している。
【0081】
図17で、自走式案内ロボット910は「こんにちは撮影サービスロボットです。僕の前に立ってカメラを見つめてご自分の画像情報受信装置のシャッターボタンを押してね。」というメッセージを出させて展示台11上を走行させる。見学者が携行している画像情報受信装置40が自走式案内ロボット910に接近して、画像情報受信装置40は位置情報発信装置25が発信している位置情報を受信すると、受信した位置情報と予め記憶手段に記憶してある識別番号と識別子をワンセットにした撮影指示情報として、アクセスポイント300に送信することができるようになる。自走式案内ロボット910の前に立ちカメラを見つめて自分が携行している画像情報受信装置のシャッターボタンを押せば、画像撮影手段900は自走式ロボットの前方の画像を撮影し、見学者の画像情報受信装置40に撮影した画像情報を送信する。画像情報受信装置40が画像情報を受信し、記憶手段に記憶して表示するのは既に説明した第一の実施の形態、第二の実施の形態と同じである。このように、テーマパークなどで多数の自走式ロボットを歩かせ、通りすがりの人々の写真を撮って、その人々が携行している画像情報受信装置に撮影した画像を送信することが出来る。特に、シャッターボタンは見学者が自分で押せるので、通りすがりの人にカメラを渡して撮影して貰うよりは気楽にタイミング良く撮影できるという効果がある。
【0082】
(実施の形態4)
図18は、本発明の第四の実施の形態を示したもので、図1の位置情報発信装置の代わりに、位置情報番号を記載した位置情報プレートが展示物である恐竜の近くのピクチャースポットに置かれている。この例では、図1で示した位置情報発信装置が無いので、画像情報受信装置40が位置情報を受信することはない。しかし、画像情報受信装置40のコネクタ56に図示しない外付けキーボードを接続して、ピクチャースポットに置いてある位置情報プレートを見学者が見て、外付けキーボードから位置情報を入力しシャッターボタン50を押して、位置情報と画像情報受信装置の識別番号をワンセットにして撮影指示情報として撮影画像送信装置30に送信すれば、撮影画像送信装置30は位置情報で特定されるピクチャースポットの画像を撮影して、画像情報を撮影指示情報で指示された画像情報受信装置に送信するので、位置情報発信装置が無くてもピクチャースポットで撮影した画像を見ることが出来る。そしてブルートゥースの短距離無線送受信手段や赤外線通信手段を設けた携帯電話装置やディジタルカメラなどの無線携帯端末装置を用いれば、専用の画像情報受信装置40を用いなくても本発明の画像情報送受信システムを実現することが可能である。
【0083】
なお、本発明の趣旨を逸脱しない範囲において種々の変形、応用は可能であり、室内外にピクチャースポットを設けて、撮影画像送信装置に見学者の姿を撮影させて、見学者の画像情報受信装置に撮影した画像情報をその場で送信して提供してしまうことができるので、博物館やテーマパークが大容量のデータベースを持たなくて済み、また博物館やテーマパークの出口で撮影した画像をもらう人々が長蛇の列を作らなくて済むという効果がある。
【0084】
なお、画像情報を印刷することについては説明しなかったが、ネットワーク管理サーバー800に図示していない印刷手段を接続し、その印刷手段を用いて画像情報を印刷したり、博物館内やテーマパーク内またはそれぞれの出口にブルートゥースの短距離無線送受信手段や赤外線通信手段を設けたプリンターを設置して、画像情報受信装置40に記憶した画像情報を印刷するようにしている。
【0085】
【発明の効果】
以上説明したように、本発明によれば、画像情報受信装置40を携行した見学者が博物館等のピクチャースポットに入って見学者が画像情報受信装置40のシャッターボタン50を押すと、撮影画像送信装置30が撮影した画像情報を画像情報受信装置40に無線送信し、その場で撮影した画像を見せたり、画像情報を記憶手段に記憶して蓄積して持ち帰らせたり、インターネット上に保存してネットワークを介して閲覧することが出来るという効果がある。
【0086】
また、ネットワーク管理サーバー800の合成画像情報記憶手段801には、一つの位置情報に対して識別子をつけた複数種類の合成画像情報を記憶しておき、画像情報要求信号に識別子が含まれていたときは、識別子に対応する合成画像情報を送信するようにしている。そのため、合成画像情報の言語ごとに異なる識別子をつけておくことにより、見学者が希望する言語の合成画像情報を撮影した生の画像に合成させることが出来る。また、内容の異なる複数の合成画像情報を差替え画像用に記憶しておいて見学者の好みに応じて合成画像情報を利用できるようにしている。
【0087】
また、博物館等展示施設を回ってピクチャースポットで撮影した画像情報を受信した時には、携行している画像情報受信装置の表示手段にスタンプ帳にスタンプが自動的に押されるように表示してピクチャースポットでの撮影とスタンプラリーの楽しみを同時に味わうこともできる。
【0088】
また、複数の見学者がそれぞれの画像情報受信装置に収集した画像情報を供与できるようにして、見学者同士のコミュニケーション手段として利用できる利点もある。
【0089】
更に、本発明は博物館等展示施設として見学者の携行した画像情報受信装置から、撮影したピクチャースポットの位置情報を集計したり、基準値との比較結果を出力することにより、サービスの改善資料が得られるという効果もある。
【0090】
また、合成画像情報を記憶しているのはネットワーク管理サーバー800の合成画像情報記憶手段801だけであり、合成画像情報の追加変更に伴う書き替え作業は、合成画像情報記憶手段801の記憶内容を書き替えるだけでよいという利点がある。そのため、集計結果や計算結果に基づいて合成画像画像情報の追加削除を自動的に短時間に行うこともできる。
【0091】
そして、見学者が博物館等展示場内で撮影した画像の電子データを記録媒体にコピーして持ち帰ったり、記憶した画像の電子データをネットワーク上のストーレージサーバーに保存しておいて、インターネットなどのネットワークを介してアクセスしたり、ダウンロードして、思い出アルバムのように自宅で再現して楽しめるという効果がある。
【0092】
以上、従来は写真撮影に好適の撮影スポットがあったとしても、自分では撮影できなかった角度からの画像情報を、遠隔操作カメラを用いて見学者が携行する画像情報受信装置のシャッターボタン50を押して撮影し、撮影した画像を画像情報受信装置に取り込み、記憶手段に記憶、蓄積して持ち帰ることができるようにしただけでなく、見学終了後、インターネットなどのネットワークから見学者が自宅等で再び閲覧することができるという効果と博物館やテーマパーク側が撮影状況などの管理情報の集計分析結果を入手できるという今までにない特有の効果がある。
【図面の簡単な説明】
【図1】本発明の第1の実施形態における画像情報送受信システムの概略構成図
【図2】本発明の撮影画像送信装置のモニター表示手段の表示画面の一例を示す図
【図3】本発明の画像情報送受信システムを構成する機器のブロック図
【図4】本発明の画像情報受信装置の表示手段の表示画面に文章を書き込んだ一例を示す図
【図5】本発明の基本的な送受信の動作を説明するフローチャート
【図6】本発明の合成画像情報を用いて合成画像を作成する概念図
【図7】本発明の画像情報受信装置の記憶手段の記憶テーブルの一例を示す図
【図8】本発明の画像情報受信装置間の画像情報の送信状態を示す概略図
【図9】本発明の画像情報送受信システムによる展示場の機器の概略構成図
【図10】本発明の画像情報受信装置の操作中の表示動作の一例を示す図
【図11】本発明の画像情報受信装置の表示手段の表示画面の他の一例を示す図
【図12】本発明の自動計算手段のブロック図
【図13】本発明の自動計算手段に表示された計算結果の一例を示す図
【図14】本発明のインターネットのネットワークシステムの構成を示すブロック図
【図15】本発明のネットワークを介して仮想博物館を表示した一例を示す図
【図16】本発明の第2の実施形態における画像情報送受信システムの概略構成図
【図17】本発明の第3の実施形態における画像情報送受信システムの概略構成図
【図18】本発明の第4の実施形態における画像情報送受信システムの概略構成図
【符号の説明】
21,22,23 位置情報発信装置
40,400 画像情報受信装置
41 無線送受信手段
43 記憶手段
45 表示手段
49 操作手段
50 シャッターボタン
60 ネットワーク
61 ストーレージサーバー
62 データベース
63 送受信手段
80 自動計算手段
300 アクセスポイント
301 制御手段
302 無線送受信手段
700 撮影制御手段
800 ネットワーク管理サーバー
801 合成画像情報記憶手段
802 撮影画像記憶手段
900 画像撮影手段
【発明の属する技術分野】
博物館や展示場、美術館やイベント会場、テーマパークなどの記念写真の撮影に好適な場所に見学者が来たときに、見学者を撮影してその画像を見学者に提供する技術に関する。
【0002】
【従来の技術】
博物館や展示場だけでなく、名所旧跡、神社、仏閣、テーマパークなどの観光地では、誰もが記念写真を撮りたいと思う撮影スポットがある。記念写真は自分の姿を写すためこれらの撮影スポットにはいわゆる観光写真サービス業者が待機していて、観光客を特定の位置に立たせたり椅子に腰掛けさせて観光記念写真を撮影している。しかし、観光写真サービス業者は一箇所の撮影スポットに常駐しているのが普通である。最近、遊園地やテーマパークで、ジェットコースターのコースの途中にディジタルカメラを固定的に設置しておき、ジェットコースターが所定位置に接近したときに自動撮影し、ジェットコースターを降りてきた観光客に写真を見せて有料で提供するサービスが行なわれているが、やはり特定の撮影スポットに限定した写真撮影サービスにとどまっている。
【0003】
そこで複数箇所で撮影した写真を一元管理するものとして、特開2002−41703号公報に、複数の撮影スポットに設置したディジタルカメラをネットワーク接続し、撮影した写真映像を見学者のタグ番号毎に大容量ストレージにファイルし、入場者がテーマパークから出るときにこの電子のタグ番号で大容量ストレージにアクセスして、この入場者の写真を一括して提供するシステムが提案されている。
【0004】
【発明が解決しようとする課題】
本発明は、博物館等展示場内やテーマパーク内で見学者にとって撮影に好適とされる撮影ポイントに撮影画像送信装置により自動的に画像を撮影できる場所(以下、ピクチャースポットという)を作り、画像情報受信装置を携行した見学者がピクチャースポットに着くと、撮影画像送信装置がカメラで捉えたピクチャースポットの画像をモニター画面に映し出し、見学者が撮影画像送信装置を遠隔操作すると、撮影した画像情報を見学者の画像情報受信装置に無線送信して、撮影した画像情報をその場で見学者に提供するようにした画像情報送受信システムを提供することを第1の目的としている。
【0005】
また、博物館等展示施設のピクチャースポットで撮影した画像情報を受信した時には、画像情報受信装置の表示手段に、電子スタンプ帳にスタンプが押されたように表示して、撮影とスタンプラリーの楽しみが同時に味わえるようにした画像情報送受信システムを提供することを第2の目的としている。
【0006】
また、複数の見学者がそれぞれの画像情報受信装置に収集した画像情報を供与できるようにして、見学者同士のコミュニケーション手段として利用できるような画像情報送受信システムを提供することを第3の目的としている。
【0007】
そして、博物館等展示施設において、見学を終えた見学者の画像情報受信装置の記憶手段に蓄積したピクチャースポットの位置情報を抽出して集計し、ピクチャースポットの活用度合いを分析する分析装置を備えた画像情報送受信システムを提供することを第4の目的としている。
【0008】
更に、本発明は博物館等展示施設内で撮影した画像情報を記憶・蓄積した記録媒体を見学者が持ち帰るようにしたり、記憶、蓄積した画像情報と位置情報を見学者の個人識別情報と関連づけて、ネットワーク上のストーレージサーバーに保存しておいて、自宅からインターネットなどのネットワークを介してアクセスして自らの個人識別情報と関連づけて保存されている位置情報を基にストーレージサーバーの画像情報を閲覧したり、ダウンロードできるようにして思い出アルバム的、あるいは仮想博物館(バーチャルミュージアム)的に追体験できるようにした画像情報送受信システムを提供することを第5の目的としている。
【0009】
【課題を解決するための手段】
上記第1の課題を解決するために、本発明は、撮影に好適とされるピクチャースポットに位置情報を発信する位置情報発信装置を設置し、更にピクチャースポットを撮影する画像撮影手段と撮影制御手段と無線送受信手段を有する撮影画像送信装置とを設け、無線送受信手段と記憶手段と表示手段を有する画像情報受信装置を見学者に携行させ、予め識別情報を記憶させた画像情報受信装置が位置情報発信装置が発信した位置情報を受信し、画像情報受信装置が受信した位置情報を識別情報とともに撮影指示情報として撮影画像送信装置に送信すると、撮影画像送信装置は撮影を実行し、撮影した画像情報を画像情報受信装置に返信し、画像情報受信装置は画像情報を受信して記憶手段に記憶した後、表示手段に表示する画像情報送受信システムを構成している。
【0010】
これにより、見学者はピクチャースポットに予め設置されている撮影画像送信装置を遠隔操作して自分の姿を撮影し、撮影した画像情報を画像情報受信装置に送信させ、その場で撮影した画像を提供してもらうことができる。
【0011】
上記第2の課題を解決するために、本発明は、画像情報受信装置は画像情報の受信状況を表示する表示手段を有し、画像情報を受信したときには表示手段で表示する画像情報の受信状況の表示内容を更新するようにしている。
【0012】
これにより、撮影した画像情報を受信したときにスタンプ帳にスタンプを押すような受信状態表示を可能としている。
【0013】
上記第3の課題を解決するために、本発明は、画像情報受信装置は記憶手段に記憶した画像情報を特定する入力手段を有し、当該入力手段で特定した画像情報を他の画像情報受信装置に送信するようにしている。
【0014】
これにより、複数の見学者がそれぞれの画像情報受信装置で収集した画像情報を供与したり交換することができる。
【0015】
上記第4の課題を解決するために、本発明は、画像情報受信装置から記憶手段に記憶した画像情報と関連して記憶したピクチャースポットの位置情報を集計して集計結果を出力するようにしている。
【0016】
これにより、ピクチャースポットの位置情報を抽出して集計し、ピクチャースポットの活用度合いを分析した結果を入手することができる。
【0017】
上記第5の課題を解決するために、本発明は、画像情報受信装置の記憶手段の着脱可能な記録媒体に画像情報等を記録し、ネットワーク上にストーレージサーバーを接続し、該ストーレージサーバーに個人識別情報を登録するとともに、該個人識別情報毎に画像情報受信装置の記憶手段に記憶し蓄積した画像情報を位置情報と関連づけて保存し、ネットワークからアクセスすることにより、個人識別情報に関連づけて記憶された位置情報をもとにストーレージサーバーに蓄積されている画像情報を閲覧またはダウンロード可能にした画像情報送受信システムを構成している。
【0018】
これにより、画像情報等を記録した記録媒体を持ち帰ったり、ネットワークを介してアクセスして自らの個人識別情報と関連づけて保存されている位置情報を基にストーレージサーバーの画像情報を閲覧したり、ダウンロードできるようにして思い出アルバム的、あるいはバーチャルミュージアム的に追体験できるようにしている。
【0019】
【発明の実施の形態】
本発明の請求項1に記載の発明は、位置情報を発信する位置情報発信装置と、無線送受信手段と記憶手段と表示手段を有する画像情報受信装置と、画像撮影手段と撮影制御手段と無線送受信手段を有する撮影画像送信装置とを備え、予め識別情報を記憶させた画像情報受信装置が位置情報発信装置が発信した位置情報を受信し、画像情報受信装置が受信した位置情報を識別情報とともに撮影指示情報として撮影画像送信装置に送信すると、撮影画像送信装置は撮影を実行し、撮影した画像情報を画像情報受信装置に返信し、画像情報受信装置は画像情報を受信して記憶手段に記憶した後、表示手段に表示する構成を採る。
【0020】
この構成によれば、ピクチャースポットで位置情報を受信すると、予め設置されている撮影画像送信装置で自分の姿を撮影し、撮影した画像情報を画像情報受信装置に送信させ、その場で撮影した画像情報を入手して画像を見ることができる。
【0021】
請求項2に記載の発明は、請求項1記載の発明の撮影画像送信装置にモニター表示手段を更に備えたことにより、予め識別情報を記憶させた画像情報受信装置が位置情報発信装置が発信した位置情報を受信すると、画像情報受信装置は受信した位置情報を識別情報とともにモニター画像要求情報として撮影画像送信装置に送信し、撮影画像送信装置がモニター表示手段にモニター画像を表示しているときに、画像情報受信装置から撮影指示情報が送信されると、撮影画像送信装置は撮影を実行し、撮影した画像情報を画像情報受信装置に返信し、画像情報受信装置は画像情報を受信して記憶手段に記憶した後、表示手段に表示する構成を採る。
【0022】
この構成によれば、見学者は、モニター表示手段に表示されるモニター画像を見て、シャッターボタンを押すことが出きる。
【0023】
請求項3に記載の発明は、予め識別情報を記憶させた画像情報受信装置が位置情報発信装置が発信した位置情報を受信すると、画像情報受信装置は受信した位置情報を識別情報とともにモニター画像要求情報として撮影画像送信装置に送信し、撮影画像送信装置は撮影手段で撮影した画像情報をモニター画像として画像情報受信装置に返信し、画像情報受信装置の表示手段にモニター画像を表示しているときに、画像情報受信装置から撮影指示情報が送信されると、撮影画像送信装置は撮影を実行し、撮影した画像情報を画像情報受信装置に返信し、画像情報受信装置は画像情報を受信して記憶手段に記憶した後、表示手段に表示する構成を採る。
【0024】
この構成によれば、撮影画像送信装置にモニター表示手段が無くても、見学者は携行している画像情報受信装置の表示手段に表示されるモニター画像を見て撮影指示情報を出すことが出来る。
【0025】
請求項4に記載の発明は、撮影画像送信装置に位置情報と合成画像情報を関連づけて記憶した合成画像情報記憶手段と合成画像情報の読み出し手段を接続し、予め識別情報を記憶させた画像情報受信装置が位置情報発信装置が発信した位置情報を受信すると、画像情報受信装置は受信した位置情報を識別情報とともに撮影指示情報として撮影画像送信装置に送信し、撮影画像送信装置が合成画像情報記憶手段から位置情報に関連づけて記憶している合成画像情報を読み出して撮影画像送信装置の画像撮影手段で撮影した画像情報と合成した合成画像を画像情報受信装置に返信し、画像情報受信装置は画像情報を受信して記憶手段に記憶した後、表示手段に表示する構成を採る。
【0026】
この構成により、撮影画像送信装置の画像撮影手段で撮影した画像情報と予め画像合成情報記憶手段に記憶した合成画像情報を合成した合成画像を画像情報受信装置に返信し、画像情報受信装置に記憶した後、表示手段に合成画像を表示することができる。
【0027】
請求項5に記載の発明は、画像情報受信装置は画像情報の受信状況を表示する表示手段を有し、画像情報を受信したときには表示手段で表示する画像情報の受信状況の表示内容を更新する構成を採る。
【0028】
この構成により、スタンプ帳にスタンプを押すような受信状態表示が可能となる。
【0029】
請求項6に記載の発明は、画像情報受信装置に記憶手段に記憶した画像情報を特定する入力手段を有し、当該入力手段で特定した画像情報を他の画像情報受信装置に送信する構成を採る。
【0030】
この構成により、複数の見学者がそれぞれの画像情報受信装置で収集した画像情報を他の見学者の画像情報受信装置に供与することができる。
【0031】
請求項7に記載の発明は、画像情報受信装置に画像情報に対する評価情報を入力する入力手段を設け、入力した評価情報を評価した画像情報の位置情報に関連づけて記憶手段に記憶する構成を採る。
【0032】
この構成により、撮影した画像情報について、保存すべきものと保存するに価しないものを評価して、価値ある画像情報だけを持ち帰ったり、ネットワーク上に保存したりすることができる。
【0033】
請求項8に記載の発明は、画像情報受信装置から記憶手段に記憶した画像情報と関連して記憶したピクチャースポットの位置情報を集計して集計結果を出力する構成を採り、請求項9に記載の発明は、予め基準値を記憶しておいて集計結果と基準値を比較した結果を出力する構成を採る。
【0034】
上記、請求項8、請求項9の構成により、見学を終えた見学者の画像情報受信装置の記憶手段から蓄積した位置情報を受信して集計し、集計結果を基に受信される頻度の高い画像情報は何か、よく活用されるピクチャースポットはどこかを知るだけでなく、博物館等展示施設側の目論見である基準値と現実にどのような差があるかの対比ができる。
【0035】
請求項10に記載の発明は、ネットワーク上にストーレージサーバーを接続し、該ストーレージサーバーに個人識別情報を登録するとともに、該個人識別情報毎に画像情報受信装置の記憶手段に記憶し蓄積した画像情報を位置情報と関連づけて保存し、ネットワークからアクセスすることにより、個人識別情報に関連づけて記憶された位置情報をもとにストーレージサーバーに蓄積されている画像情報を閲覧またはダウンロード可能にした画像情報送受信システムを構成している。
【0036】
このことにより、ストーレージサーバーに保存した個人識別情報と位置情報を基に画像情報を閲覧したり、ダウンロードして画像情報を閲覧することができる。
【0037】
請求項11に記載の発明は、位置情報を表示した位置情報表示手段と、位置情報表示手段に表示された位置情報と画像情報を受信する画像情報受信装置の識別情報を入力して送信する撮影指示送信手段と、無線送受信手段と記憶手段と表示手段を有する画像情報受信装置と、画像撮影手段と撮影制御手段と無線送受信手段を有する撮影画像送信装置とを備え、位置情報表示手段に表示された位置情報と画像情報を受信する画像情報受信装置の識別情報が撮影指示送信手段に入力され、撮影画像送信装置に送信されると、撮影画像送信装置は撮影を実行し、撮影した画像情報を画像情報受信装置に返信し、画像情報受信装置は画像情報を受信して記憶手段に記憶した後、表示手段に表示する構成を採る。
【0038】
この構成により、位置情報発信装置の代わりに単に位置情報を記載した表示板がピクチャースポットに立ててあった場合でも、撮影指示送信手段からその位置情報と画像を受信する画像情報受信装置の識別番号を入力して、撮影指示情報として、ピクチャースポットに設置してある撮影画像送信装置に送信し、撮影画像送信装置にピクチャースポットの画像を撮影させて、画像情報を撮影指示情報で指示した画像情報受信装置に送信させることができる。
【0039】
特に、撮影指示送信手段と画像情報受信装置を一つの装置で構成し、その装置をブルートゥースの短距離無線送受信手段や赤外線通信手段を設けた携帯電話機やディジタルカメラで構成すれば、見学者はピクチャースポットで、専用装置でない画像情報受信装置で撮影指示と画像情報の受信を行うことができる。
【0040】
以下、本発明の画像情報送受信システムを適用した実施の形態について、博物館を例にして図面を参照して具体的に説明する。
【0041】
(実施の形態1)
図1は、本発明の第1の態様に係る画像情報送受信システムの概略構成図である。博物館10の展示台11上に展示された展示物である恐竜20の近傍には、予め撮影に好適とされる撮影ポイントを「ピクチャースポット」として選出して、位置情報を発信する位置情報発信装置21,22,23を設置している。位置情報発信装置21,22,23は、ブルートゥース等の短距離無線技術による無線送受信手段を内蔵しており、図1で破線の円210、220、230に示すように50センチメートルから5メートル程度の通信伝播距離に位置情報を間欠的に発信している。伝播距離の設定は、撮影に好適とされるピクチャースポットの大きさで決めている。博物館内には撮影画像送信装置30が設置してある。撮影画像送信装置30は、ディジタルカメラやビデオカメラ等の画像撮影手段900、モニター画像表示と撮影ガイド情報を出力するとともに撮影手順をコントロールする撮影制御手段700、見学者が携行する画像情報受信装置と画像等の無線送受信を行なう無線送受信手段として機能するアクセスポイント300から構成されている。撮影画像送信装置30は博物館内のネットワークを管理するネットワーク管理サーバー800に接続している。ネットワーク管理サーバー800には、合成画像情報記憶手段801と、撮影した画像情報を記憶する撮影画像記憶手段802が設けてある。見学者は画像情報受信装置40を携行して見学する。
【0042】
なお、画像情報受信装置40には入館時に予め識別情報としての識別番号、例えば数字「40」や見学者が指定する言語の識別子、例えば日本語なら「JP」、そして個人識別情報であるID番号、パスワード等を登録できるようにしてあり、博物館側は上記項目を登録してから見学者に画像情報受信装置40を貸し出すようにしている。
【0043】
なお、図1ではアクセスポイント300、画像撮影手段900、撮影制御手段700はそれぞれ一つだけを示しているが、展示場の広さに応じて展示場のあちこちに複数のアクセスポイントを設け、一つのアクセスポイントについて更に複数の画像撮影手段900と撮影制御手段700を接続した形で構成することにしている。
【0044】
図1で、画像情報受信装置40を携行した見学者が博物館に入ると、第一のピクチャースポットに置かれている位置情報発信装置21が発信している位置情報、例えば数字「21」を画像情報受信装置40が受信する。画像情報受信装置40は、受信した位置情報「21」と画像情報受信装置40の識別番号「40」、日本語の識別子「JP」とモニター画像送信要求信号、例えば記号「**」を「2140JP**」というモニター画像要求情報として撮影画像送信装置30に送信する。撮影画像送信装置30は、位置情報「21」のピクチャースポットの画像情報を合成画像情報記憶手段801に位置情報「21」と関連づけて記憶している日本語の合成画像情報と合成してモニター表示手段701に表示する。
【0045】
図2にモニター表示手段701に表示された合成画像の一例を示す。図2では、撮影された恐竜の頭部と見学者の写真の下に、日本語で「恐竜の頭とAさん」「A博物館 2002/6/16」というテロップの合成画像を示している。モニター画像要求情報の言語の識別子がフランス語「FR」であれば、フランス語のテロップが合成される。
【0046】
モニター画像を見た見学者が画像情報受信装置40のシャッターボタンを押すと、画像情報受信装置40は、位置情報「21」、識別番号「40」、日本語の識別子「JP」と撮影指示信号、例えば記号「##」を「2140JP##」という撮影指示情報として撮影画像送信装置30に送信する。撮影画像送信装置30は合成画像の画像情報を画像情報受信装置40に送信する。画像情報受信装置40は、送信されてきた合成画像を記憶手段に記憶した後、表示手段に表示する。また設定により、撮影画像送信装置30から画像情報を画像情報受信装置40に送信すると同時に、同じ画像情報をネットワーク管理サーバー800の撮影画像記憶手段802に個人識別情報のID番号と関連づけて記憶しておくこともできる。
【0047】
以下同様に、見学者が博物館内を移動して、第二、第三のピクチャースポットに置いてある位置情報発信装置22,23にそれぞれ近づいたときは、上記と同様の手順でモニター表示手段701のモニター画面を見ながら、画像情報受信装置のシャッターボタンを押すと、それぞれの位置で撮影された画像に識別子で特定される合成画像情報が合成された画像を画像情報受信装置40で受信し、記憶し、画像情報受信装置40の表示手段で見ることが出来る。
【0048】
図3に撮影画像送信装置30と、ネットワーク管理サーバー800と、見学者が携行する画像情報受信装置40と、位置情報発信装置200のブロック図を示す。撮影画像送信装置30は、既に述べたように画像情報受信装置と無線送受信するアクセスポイント300と画像撮影手段900と撮影制御手段700から構成されている。そして、撮影画像送信装置30は、博物館側のネットワーク管理サーバー800と接続している。
【0049】
アクセスポイント300には、無線制御を行う制御手段301と、ブルートゥース等の短距離無線技術による無線送受信手段302と、アンテナ303と図示しない電源装置を持っている。
【0050】
画像撮影手段900は、ディジタルカメラやビデオカメラのような撮影手段901とシャッター手段902を有し、シャッター手段902に撮影指示信号が送信されると撮影を行うように構成されている。
【0051】
撮影制御手段700は、画像をモニター表示するモニター表示手段701と制御部702を有し、制御部702は画像情報受信装置を携行している見学者向けの撮影ガイド情報、例えば「ピクチャーポイントに着きました。頭上のカメラを見て、モニター画面で画像を確認してシャッターボタンを押してください。」などというメッセージを生成したり、画像情報受信装置から送信されてくる撮影指示信号を画像撮影手段のシャッター手段902に転送して撮影手段901で撮影を実行させ、撮影した画像情報と後述する合成画像情報記憶手段801の合成画像情報を合成したり、アクセスポイント300の無線送受信手段302により、画像情報受信装置40に画像情報を送信する一連の撮影制御を行っている。
【0052】
ネットワーク管理サーバー800には合成画像情報記憶手段801と撮影画像記憶手段802と、画像情報の読出し書込み手段803と、ネットワーク管理手段804を有し、インターネット等のネットワーク60に接続している。合成画像情報記憶手段801にはピクチャースポットを簡単に解説するテロップとしての短い文章や、日付やロゴマークの他に差替えて合成する合成用画像または結合して合成する合成用画像などの合成画像情報を記憶している。特に、各国語対応をするために複数の言語で作成されたそれぞれの合成画像情報に言語ごとに異なる識別子をつけて記憶しているので、識別子に応じた言語の画像情報が自動的に読み出されて合成されるようにしてある。撮影画像記憶手段802には、画像情報受信装置40に送信した画像情報を個人識別情報と関連付けて記憶できるようにしている。ただし記憶容量を確保しておくために、例えば入館者全員を対象にするのではなく、対価を支払って撮影した画像をネットワーク上に所定期間保存することにした見学者の画像情報に限定するなどの制限を行っている。
【0053】
画像情報受信装置40は、ブルートゥース等の短距離無線技術による無線送受信手段41を内蔵しておりアンテナ42を介して撮影画像送信装置30から受信した画像情報と位置情報を記憶手段43に記憶する。記憶手段43にはカード型メモリーやフロッピーディスク等の着脱可能な記録媒体430が装着してあり見学終了後は、記録媒体430を取り出して見学者が持ち帰ることができる。45は表示手段であり、46は電源装置、47はスピーカである。48はイヤホン装置であり、独立した筐体にアンテナ481、ブルートゥース送受信手段482、スピーカ483と電源装置484を内蔵して、撮影画像送信装置30が送信してくる前述の撮影ガイド情報をスピーカ483に出力している。49は見学者が操作できる操作手段であり、シャッターボタン50と見学終了ボタン51を制御手段44に接続し、それぞれの操作信号を入力する入力手段の機能を果たしている。また、操作手段49には送信ボタン52と送信要求ボタン53、スクロールキー54、撮影要求ボタン55、図示しない再生ボタンが設けてあり、操作手段49で特定したピクチャースポットの位置情報と関連付けて記憶している画像情報を他の画像情報受信装置に送信する信号や、画像情報を特定するための信号や、送信を要求する信号、一度画像を撮影したことのあるピクチャースポットで再び撮影を要求する信号、画像情報を再生して表示する信号を入力できるようにしている。
【0054】
操作手段49にはキーボードが無いが、この例ではキーボードのコネクター56を制御手段44に接続しておいて、図示しない外付けのキーボードからテキストデータを入力できるようにしている。このことにより、ピクチャースポットで撮影した画像にテキストデータを貼り付ける形で、解説レポートや図4に示すような絵日記や絵葉書を作成して記憶手段43に保存することができる。
【0055】
記録媒体430には、博物館の何処にピクチャースポットがあるかを示した見取り図等の展示場情報を予め電子データをコピーするなどの方法で記憶させてある。制御手段44は撮影画像送信装置30から受信した画像情報がどのピクチャースポットに関連しているかを位置情報で識別し、画像情報と位置情報を関連付けて記憶するようにしている。また、制御手段44は送信されてきた画像情報を記録媒体430に記憶させると、展示場情報を読み出し、画像情報受信装置40の表示手段45に博物館の見取り図に画像情報を受信したピクチャースポットに撮影済みマークをつけてあたかもスタンプ帳にスタンプを押したように表示するようにしている。
【0056】
位置情報発信装置200は、ブルートゥース等の短距離無線技術による無線送受信手段201と図示しない電源手段を内蔵しており、送信出力を設定することにより50センチメートルから5メートル程度の通信伝播距離に位置情報をアンテナ202から間欠的に発信している。
【0057】
図5のフローチャートを用いて本発明の画像情報送受信システムの基本的な送受信の動作を説明する。まず、入館時に博物館側で画像情報受信装置40の記憶手段43に画像情報受信装置40の識別番号、見学者が指定する言語の識別子を登録し、更に収集した画像情報を電子データの形でネットワーク保存することを希望する見学者が個人識別情報としてID番号とパスワードを自ら登録してから見学を開始する(ステップ1)。見学者が展示場の入り口にある位置情報発信装置21に近づくと携行している画像情報受信装置40が位置情報を受信する(ステップ2)。受信した位置情報のピクチャースポットが見学者がはじめて撮影する場所であれば(ステップ3)、位置情報と画像情報受信装置40の識別番号、見学者の指定する言語の識別子とモニター画像送信要求信号をワンセットにしたモニター画像要求情報を撮影画像送信装置30を構成しているアクセスポイント300に送信する。アクセスポイント300はモニター画像要求情報を受信すると、制御部702にモニター画像要求情報を転送し、制御部702が画像撮影手段900に受信した位置情報のあるピクチャースポットの画像を撮影させ、ネットワーク管理サーバー800の合成画像情報記憶手段801から位置情報と識別子で特定される合成画像情報を読み出して合成した合成画像をモニター表示手段701に動画または静止画のモニター画像を表示する(ステップ4)。モニター表示手段701にモニター画像を表示中に、画像情報受信装置40から撮影指示情報、いわゆるシャッター信号が送られてくると(ステップ5)、制御部702は、画像撮影手段900に撮影させ、モニター表示手段701に表示していた画像情報を画像情報受信装置40にアクセスポイント300の無線送受信手段302を用いて返信する(ステップ6)。画像情報受信装置40は画像情報を受信するとピクチャースポットの位置情報と関連付けて記憶手段43に記憶し、蓄積する(ステップ7)。画像情報受信装置40は画像情報を表示手段45に表示する(ステップ8)。そして撮影要求ボタン55が押されなければ(ステップ9)、画像情報を受信したピクチャースポットに撮影済みマークを印した展示場見取り図を表示する(ステップ10)。再生ボタンが押されず(ステップ11)、見学終了ボタンも押されなかったときは、新たなピクチャースポットの位置情報をサーチする(ステップ12)。ステップ13,ステップ14は後述する。
【0058】
もし画像を撮り直したいときは、ピクチャースポットに順番待ちの他の見学者がいれば、一度ピクチャースポットから出て、再度ピクチャースポットに入り、ステップ2,ステップ3からステップ8にジャンプした後、ステップ9で撮影要求ボタン55を押してステップ4からステップ8までの撮影処理ステップを実行する。もし、他に見学者がいなければ、ステップ8で表示された画像を見て、直ぐに撮影要求ボタン55を押してステップ4からステップ8までの撮影処理ステップを実行することが出来るようにしている。
【0059】
その後、見学者が恐竜の胴体部に近づくと胴体部のピクチャースポットに置かれた位置情報発信装置22から位置情報を受信する。以下同様に撮影画像送信装置30のモニター表示手段701に見学者が胴体部近くのピクチャースポットにいるモニター画像が表示されるので、見学者は画像情報受信装置40でシャッターボタン50を押して、画像撮影手段900で撮影させ、合成画像情報記憶手段801のテロップ画像を合成した画像情報を受信する。新たに撮影要求ボタンが押されなければ、展示場の見取り図に撮影済みマークを付けたものを表示する。そして、見学者がしっぽ部に移動すれば同様にしっぽ部のピクチャースポットの画像情報を受信する。
【0060】
なお、図5のフローチャートには示していないが、合成画像情報記憶手段801には、一つの位置情報に対して識別子をつけた複数の合成画像情報を記憶しておいて、画像情報要求信号に含まれている識別子に対応する合成画像情報を読み出して合成画像を作成するようにしているので、他の合成画像情報を望む見学者には表示手段45に識別子を表示することにより、図8に示す操作手段49のスクロルキー54で他の合成画像情報を選択させ、送信要求ボタン53を押させることで撮影画像送信装置30に識別子に対応した合成画像情報との合成画像を要求できるようにしている。例えばテロップ画像を日本文から英文に変えるという簡単なことから、図6に示すように、撮影した画像611が恐竜の頭部もしっぽも写っていないときに、合成画像情報として恐竜頭部の画像612の識別子としっぽ部の画像613の識別子を合成用画像に選択して、611、612、613の画像を合成して見学者の画像と恐竜の全体像の写った合成画像614を作成させて画像情報受信装置40に送信させることも可能である。
【0061】
図7は、画像情報受信装置40の記憶手段43の記憶テーブルを示している。記憶テーブルには、見学順序431、ピクチャースポットの位置情報432、撮影時刻433、ピクチャースポット名434、撮影状況435を記憶するようにしている。図7には画像情報そのものを示していないが、位置情報432と関連づけて記憶している。なお既述のように、画像情報受信装置40のコネクター56に、図示していない外付けのキーボードを接続して、図4に示したように画像情報に関連づけて記憶したテキストメモは図7の記憶テーブルのメモの有無欄436に「メモ1」「メモ2」のようにピクチャースポットの位置情報と関連づけて記憶される。
【0062】
図8は見学者が携行する画像情報受信装置40に画像情報の受信、記憶、再生機能に加えて、他の画像情報受信装置40’へ転送する機能を実行している状況を示している。送信したい他の画像情報受信装置40’の識別番号を入力し、送信する画像情報を操作手段49のスクロルキー54で選択し送信ボタン52を押すことにより、制御手段44により該当するピクチャースポットの位置情報と記憶されている画像情報を記憶手段43から読み出して無線送受信手段41により、アンテナ42から他の画像情報受信装置40’に送信している。送信された側の他の画像情報受信装置40’は、撮影画像送信装置30から画像情報を受信したときと同様に、画像情報を自らの記憶手段43に記憶する。このことにより、複数の見学者がそれぞれ収集した画像情報を供与できるようにしている。また、送信要求ボタン53を押して他方の画像情報受信装置に対して特定の位置情報に対応する画像情報の送信を要求できるようにしている。
【0063】
図9は本発明の画像情報送受信システムによる展示場の機器の概略構成図を展示場を斜め上方から見た見取り図として示している。なお、図1と同じ部分については同じ番号を付している。博物館10の出口付近の固定台13上に設置した博物館側の画像情報受信装置400は、基本的には見学者の携行する画像情報受信装置40と同じ構成であるが、記憶手段に展示場の全てのピクチャースポットで予め撮影した画像情報を蓄積し、かつネットワーク管理サーバー800と接続して、ネットワーク管理サーバーの合成画像情報記憶手段801に記憶してある合成画像情報を読み出せるようにしている点が異なる。展示場の出口付近に近づいた見学者に対して、見学者が撮影できなかったピクチャースポットの画像情報の中で、どうしても入手したい画像情報や合成し直したい合成画像情報について、例えば一つや二つなど数量を限定して取り込めるようにしている。博物館側の画像情報受信装置400に画像情報の送信を要求すると、博物館側の画像情報受信装置400は、要求してきた画像情報受信装置40の識別番号について、情報提供済みかどうかを確認し、情報提供していなければ、画像情報を一つや二つなど限定した数量だけ送信するようにしている。見学者は入手できなかった画像情報を入手でき、博物館側としては、画像情報受信装置400の送信記録を見ることにより見学者が館内で欲しかったのに撮影できなかったピクチャースポットは何処か、欲しかった合成画像は何かを知ることが出来る。
【0064】
図10は、画像情報受信装置40の記憶手段43に記憶させた画像情報を一つずつピクチャースポットの位置情報とともに表示手段45に表示し、持ち帰る電子データまたはネットワーク上に保存する電子データとしての評価を入力するようにした画像情報受信装置40を示している。表示手段45には記憶手段43に記憶した画像情報と位置情報432、ピクチャースポット名434と、評価欄A、B、Cをそれぞれ表示し、操作手段49のひとつである中央に決定キーを有するスクロールキー54で評価欄の何れか一つを選択させるようにしている。画像情報について「A.保存するデータ」、「B.とりあえず残しておくデータ」、「C.捨てるデータ」のいずれかを選択させることにより評価結果を記憶手段43に画像情報の付加情報として追加記憶可能にしている。画像情報を有料で提供するときは、前記A、B、Cの評価結果に基づいてC評価された画像情報を記憶手段43から消去し、A、Bが付された数を集計して請求額を自動集計する。
【0065】
次に図9に示した博物館10の出口付近の自動計算手段80について、図5のフローチャートで説明していなかったステップ13とステップ14とともに説明する。なお、自動計算手段80は、見学者が画像情報受信装置40に蓄積したピクチャースポットの位置情報を分析する分析装置としての役割を果たしている。
【0066】
自動計算手段80に近づいた見学者が、携行している画像情報受信装置40の見学終了ボタン51を押すと(ステップ12)、画像情報受信装置40は、入館時に記憶手段43に記憶した識別番号、言語の識別子、個人識別情報であるIDとパスワードと、蓄積したピクチャースポットの位置情報432と画像情報などを自動計算手段80に送信する(ステップ13)。これで画像情報受信装置は動作を停止し、画像情報受信装置を携行した見学は終了する(ステップ14)。
【0067】
なお、図5のフローチャートのステップ1で、画像情報を電子データの形でネットワーク保存することを希望する見学者が個人識別情報としてID番号とパスワードを自分で登録すると説明したが、上記ステップ12で見学終了ボタン51を押す前に、例えば図11のように画像情報受信装置の表示手段45に、記憶手段43に記憶した画像を一覧表示して内容を表示して確認した上でIDとパスワードを見学者本人に入力して貰うようにしてもよい。
【0068】
図12に自動計算手段80のブロック図を示す。自動計算手段80は、図9の出口付近の固定台13上に設置され、出口に近づいた見学者の画像情報受信装置40から位置情報432や撮影時刻433を前述のように受信して蓄積し、撮影に利用されたピクチャースポットの位置情報集計装置として、人気の高いピクチャースポットを求めたり、撮影時刻集計装置としてピクチャースポットごとの撮影時刻がどのように分布しているかなどの集計結果を出力する装置である。
【0069】
自動計算手段80はアンテナ82を介して送受信手段81で受信した前記の情報を制御手段83により、記憶手段84に蓄積し、計算手段85で集計し、集計結果を出力手段86に出力する。また、記憶手段84には目的とする計算ごとに博物館側としての目論見値を予め基準値として記憶しておき、集計結果を基準値と比較した結果を表示手段や印刷手段からなる出力手段86に出力するようにしている。
【0070】
図13に自動計算手段80の出力結果の一例を示す。グラフの横軸には位置情報を、縦軸には撮影された頻度を出力している。図13の棒グラフは、予め記憶させた基準値である目論見値を示し、折れ線グラフは実績値を示している。目論見値と実績値の両者を比較した結果を出力するようにしているので、例えば目論見では、恐竜の頭部(21)と胴体部(22)も同じ程度で写真撮影されると予想していたのに、見学者は胴体部(22)では写真撮影していないか、撮影してもC評価を付けて捨ててしまって残っていないことが分かる。この結果に対して博物館側は、利用されない胴体部をピクチャースポットから外して、位置情報発信装置22を撤去する決断ができる。なお、博物館側の画像情報受信装置400から取得した画像情報も自動計算手段80で集計できるので、「見学者が恐竜の胴体部の前に立ち、恐竜の全体像つまり頭部からしっぽまで全体が撮影された画像」が沢山取得されているという結果が出ていれば、胴体部のピクチャースポットでの撮影には合成画像情報記憶手段801に記憶した恐竜の全体像つまり頭部からしっぽまで全体が撮影された画像と見学者の姿を合成するようにしたほうが良いという判断が導かれる。このように、自動計算手段80は単に位置情報集計装置として累計結果を示すだけでなく、分析装置としての機能を果たしている。
【0071】
次に、図9の出口付近の固定台13上に設置した博物館側のネットワーク管理サーバー800について説明する。博物館側のネットワーク管理サーバー800は、撮影画像送信装置30に接続されているだけでなく、個人識別情報、画像情報の他に、自動計算手段80で画像情報受信装置を携行した見学者が画像情報を撮影した位置情報とその他の関連情報をネットワーク上で管理するネットワーク管理手段804を有しており、自動計算手段80やネットワーク60にケーブル14で接続している。
【0072】
図14は、インターネットのネットワークシステムの構成を示すブロック図である。60はネットワークであり、61はネットワークに接続されたストーレージサーバーであり、見学者の個人識別情報と見学者が博物館内で画像を撮影したピクチャースポットの位置情報とその位置情報に関連づけられた画像情報を蓄積するデータベース62と、ネットワーク60を介して送受信を行なう送受信手段63から構成されている。既に図5のフローチャートのステップ13によって、博物館の出口付近で、博物館の自動計算手段80が見学者の個人識別情報であるID番号とパスワードと見学者が蓄積した位置情報432、時刻情報433と撮影状況435と位置情報に関連づけられた画像情報を受信済みであるので、博物館側のネットワーク管理サーバー800は自動計算手段80から、ネットワーク管理に必要なデータを抽出して、ストーレージサーバー61のデータベース62に向けて送信する。データベース62は少なくとも送受信手段63により送信されてきたID番号とパスワードと位置情報432と撮影状況435と位置情報に関連づけられた画像情報を見学者ごとの記憶領域に保存蓄積する。ストーレージサーバー61のデータベース62に見学者の記憶領域が確保され個人識別情報が記憶されると、その見学者はネットワーク上の登録者として前記ID番号とパスワードを用いてストーレージサーバー61にアクセスできることになる。
【0073】
データベース62は送受信手段63によりネットワークを介して自動読み出し可能にしているため、見学者は後日、ネットワーク60に自宅のパソコン65やインターネット接続機能付き携帯電話等の通信端末を接続してIDとパスワードを入力して、データベース62に保存蓄積されている位置情報を使って、データベース62に保存蓄積されている博物館のピクチャースポットに関する画像情報を読み出して、自ら見学してきた内容を思い出アルバムとして追体験して楽しむことが出来るようにしている。特にインターネット接続機能付き携帯電話で読み出せば、友人、仲間と見学してきた博物館について談笑しているときに、ネットワークから取り出して見せることが出来るという効果がある。
【0074】
また、博物館側としてストーレージサーバー61のデータベース62に、展示場で受信可能としていた全ての画像情報を蓄積しておくことにより、希望者には一部又は全ての画像情報を有料でダウンロードする送信処理を行うこともできるようにしている。
【0075】
データベース62には博物館の展示場の見取り図や、展示物を解説した展示情報を展示物の位置情報と関連付けて記憶し、ネットワーク60を介して閲覧可能にしてあるので、見学者は実際に撮影してきたピクチャースポットの画像と展示情報を組み合わせて、仮想博物館(バーチャルミュージアム)として閲覧しなおすことができる。見学順序は実際に見学したときの見学順序でも、それ以外の見学順序でも閲覧することができる。また、再び博物館を訪問したときには、貸し出される画像情報受信装置40にデータベース62に保存蓄積した位置情報等を取り込むことができるので、前回の続きから未だ撮影していないピクチャースポットで画像情報を収集することができる。
【0076】
図15は、見学者が自宅のパソコン65で、ネットワーク60を介して読み出したバーチャルミュージアム70を表示した画面の一例を示す。ここでは、バーチャルミュージアム70は、展示情報71と見学アルバム72という二つの情報ファイルを閲覧することができる。見学アルバム72では、現実に見学してきた順番にアルバム風に画像情報を再現することができる。
【0077】
なお、上記の説明では、画像情報受信装置40を博物館側が見学者に貸与する専用端末と位置づけて説明したが、ブルートゥースの通信手段や赤外線通信手段を備えた携帯電話装置やディジタルカメラを用いて、位置情報発信装置から発信されている位置情報を受信できて、撮影画像送信装置にモニター画像要求情報や撮影指示情報を送信出来るように構成して有れば、本発明の画像情報送受信システムの画像情報受信装置40として使用することが出来る。
【0078】
(実施の形態2)
図16に本発明の第二の実施の形態を示す。前述した第一の実施の形態では博物館に本発明を適用した場合を説明したが、図16はテーマパークでよくみられる見学者が小舟に乗って見学するタイプのアトラクションに本発明の画像情報送受信システムを適用した例を示している。図16では川15が川上から川下に一つのループを描いて流れており、舟16に見学者が乗船して島17の周りを一周する様になっている。舟16に乗った見学者は画像情報受信装置40を携行しており、島17には撮影画像送信装置30とネットワーク管理サーバー800が設置されている。撮影画像送信装置30は一つのアクセスポイント300と複数の画像撮影手段900と撮影制御手段700が放射線状に配置されている。ループ状の川の外側には、風景写真パネル18が並べられていて、それぞれのパネルには位置情報発信装置24などが取り付けられている。見学者が携行する画像情報受信装置40がパネル18に取り付けられた位置情報発信装置24に接近して、位置情報を受信すると、画像情報受信装置40は受信した位置情報と予め画像情報受信装置40の記憶手段43に記憶してある識別番号と識別子をワンセットにした撮影指示情報として、アクセスポイント300に送信できるようになる。撮影制御手段700のモニター表示手段701にはモニター画像が表示されるので、舟に乗っている見学者が自分たちがモニター表示手段701に映し出されたときに、画像情報受信装置40のシャッターボタン50を押すと、画像撮影手段900が風景写真パネル18をバックにした見学者を撮影し、画像情報を画像情報受信装置40に送信する。画像情報受信装置40は画像情報を受信し、記憶手段に記憶して表示する。シャッターボタン50については、画像情報受信装置40が位置情報を受信してから所定時間経過したときに自動的に押されるモードにしておくと、見学者はループ状の川を舟でポーズを取って一周するだけで多数の風景を背景にした写真を順次撮影することが出来る。このように、モニター表示手段701を画像撮影手段900が撮影している画像を常時表示するようにしておけば、画像情報受信装置40からいちいちモニター画像要求情報を撮影画像送信装置30に送信しなくて済むという効果がある。
【0079】
(実施の形態3)
図17に本発明の第三の実施の形態を示す。既に説明した第一の実施の形態、第二の実施の形態では、撮影画像送信装置30は展示場内に固定されていたが、第三の実施の形態では、撮影画像送信装置30を移動式に構成した点、撮影制御手段700にモニター表示手段701を設けていない点が異なっている。
【0080】
図17では自走式案内ロボット910を展示場で撮影サービスロボットとして用いるようにした本発明の画像情報送受信システムの適用例である。自走式案内ロボット910はモーター914の駆動により車輪913で博物館10内の展示台11上を走行する。自走式案内ロボットの筐体外部の固定台911上には、位置情報発信装置25を固定し、自走式案内ロボットの筐体内に画像撮影手段900と撮影制御手段700とアクセスポイント300を収納している。アクセスポイント300とネットワーク管理サーバー800はアンテナ303とアンテナ805を介して無線通信で情報を送受信するように構成している。他の構成は図1と同じであり、同じ構成要素には同じ番号を付している。
【0081】
図17で、自走式案内ロボット910は「こんにちは撮影サービスロボットです。僕の前に立ってカメラを見つめてご自分の画像情報受信装置のシャッターボタンを押してね。」というメッセージを出させて展示台11上を走行させる。見学者が携行している画像情報受信装置40が自走式案内ロボット910に接近して、画像情報受信装置40は位置情報発信装置25が発信している位置情報を受信すると、受信した位置情報と予め記憶手段に記憶してある識別番号と識別子をワンセットにした撮影指示情報として、アクセスポイント300に送信することができるようになる。自走式案内ロボット910の前に立ちカメラを見つめて自分が携行している画像情報受信装置のシャッターボタンを押せば、画像撮影手段900は自走式ロボットの前方の画像を撮影し、見学者の画像情報受信装置40に撮影した画像情報を送信する。画像情報受信装置40が画像情報を受信し、記憶手段に記憶して表示するのは既に説明した第一の実施の形態、第二の実施の形態と同じである。このように、テーマパークなどで多数の自走式ロボットを歩かせ、通りすがりの人々の写真を撮って、その人々が携行している画像情報受信装置に撮影した画像を送信することが出来る。特に、シャッターボタンは見学者が自分で押せるので、通りすがりの人にカメラを渡して撮影して貰うよりは気楽にタイミング良く撮影できるという効果がある。
【0082】
(実施の形態4)
図18は、本発明の第四の実施の形態を示したもので、図1の位置情報発信装置の代わりに、位置情報番号を記載した位置情報プレートが展示物である恐竜の近くのピクチャースポットに置かれている。この例では、図1で示した位置情報発信装置が無いので、画像情報受信装置40が位置情報を受信することはない。しかし、画像情報受信装置40のコネクタ56に図示しない外付けキーボードを接続して、ピクチャースポットに置いてある位置情報プレートを見学者が見て、外付けキーボードから位置情報を入力しシャッターボタン50を押して、位置情報と画像情報受信装置の識別番号をワンセットにして撮影指示情報として撮影画像送信装置30に送信すれば、撮影画像送信装置30は位置情報で特定されるピクチャースポットの画像を撮影して、画像情報を撮影指示情報で指示された画像情報受信装置に送信するので、位置情報発信装置が無くてもピクチャースポットで撮影した画像を見ることが出来る。そしてブルートゥースの短距離無線送受信手段や赤外線通信手段を設けた携帯電話装置やディジタルカメラなどの無線携帯端末装置を用いれば、専用の画像情報受信装置40を用いなくても本発明の画像情報送受信システムを実現することが可能である。
【0083】
なお、本発明の趣旨を逸脱しない範囲において種々の変形、応用は可能であり、室内外にピクチャースポットを設けて、撮影画像送信装置に見学者の姿を撮影させて、見学者の画像情報受信装置に撮影した画像情報をその場で送信して提供してしまうことができるので、博物館やテーマパークが大容量のデータベースを持たなくて済み、また博物館やテーマパークの出口で撮影した画像をもらう人々が長蛇の列を作らなくて済むという効果がある。
【0084】
なお、画像情報を印刷することについては説明しなかったが、ネットワーク管理サーバー800に図示していない印刷手段を接続し、その印刷手段を用いて画像情報を印刷したり、博物館内やテーマパーク内またはそれぞれの出口にブルートゥースの短距離無線送受信手段や赤外線通信手段を設けたプリンターを設置して、画像情報受信装置40に記憶した画像情報を印刷するようにしている。
【0085】
【発明の効果】
以上説明したように、本発明によれば、画像情報受信装置40を携行した見学者が博物館等のピクチャースポットに入って見学者が画像情報受信装置40のシャッターボタン50を押すと、撮影画像送信装置30が撮影した画像情報を画像情報受信装置40に無線送信し、その場で撮影した画像を見せたり、画像情報を記憶手段に記憶して蓄積して持ち帰らせたり、インターネット上に保存してネットワークを介して閲覧することが出来るという効果がある。
【0086】
また、ネットワーク管理サーバー800の合成画像情報記憶手段801には、一つの位置情報に対して識別子をつけた複数種類の合成画像情報を記憶しておき、画像情報要求信号に識別子が含まれていたときは、識別子に対応する合成画像情報を送信するようにしている。そのため、合成画像情報の言語ごとに異なる識別子をつけておくことにより、見学者が希望する言語の合成画像情報を撮影した生の画像に合成させることが出来る。また、内容の異なる複数の合成画像情報を差替え画像用に記憶しておいて見学者の好みに応じて合成画像情報を利用できるようにしている。
【0087】
また、博物館等展示施設を回ってピクチャースポットで撮影した画像情報を受信した時には、携行している画像情報受信装置の表示手段にスタンプ帳にスタンプが自動的に押されるように表示してピクチャースポットでの撮影とスタンプラリーの楽しみを同時に味わうこともできる。
【0088】
また、複数の見学者がそれぞれの画像情報受信装置に収集した画像情報を供与できるようにして、見学者同士のコミュニケーション手段として利用できる利点もある。
【0089】
更に、本発明は博物館等展示施設として見学者の携行した画像情報受信装置から、撮影したピクチャースポットの位置情報を集計したり、基準値との比較結果を出力することにより、サービスの改善資料が得られるという効果もある。
【0090】
また、合成画像情報を記憶しているのはネットワーク管理サーバー800の合成画像情報記憶手段801だけであり、合成画像情報の追加変更に伴う書き替え作業は、合成画像情報記憶手段801の記憶内容を書き替えるだけでよいという利点がある。そのため、集計結果や計算結果に基づいて合成画像画像情報の追加削除を自動的に短時間に行うこともできる。
【0091】
そして、見学者が博物館等展示場内で撮影した画像の電子データを記録媒体にコピーして持ち帰ったり、記憶した画像の電子データをネットワーク上のストーレージサーバーに保存しておいて、インターネットなどのネットワークを介してアクセスしたり、ダウンロードして、思い出アルバムのように自宅で再現して楽しめるという効果がある。
【0092】
以上、従来は写真撮影に好適の撮影スポットがあったとしても、自分では撮影できなかった角度からの画像情報を、遠隔操作カメラを用いて見学者が携行する画像情報受信装置のシャッターボタン50を押して撮影し、撮影した画像を画像情報受信装置に取り込み、記憶手段に記憶、蓄積して持ち帰ることができるようにしただけでなく、見学終了後、インターネットなどのネットワークから見学者が自宅等で再び閲覧することができるという効果と博物館やテーマパーク側が撮影状況などの管理情報の集計分析結果を入手できるという今までにない特有の効果がある。
【図面の簡単な説明】
【図1】本発明の第1の実施形態における画像情報送受信システムの概略構成図
【図2】本発明の撮影画像送信装置のモニター表示手段の表示画面の一例を示す図
【図3】本発明の画像情報送受信システムを構成する機器のブロック図
【図4】本発明の画像情報受信装置の表示手段の表示画面に文章を書き込んだ一例を示す図
【図5】本発明の基本的な送受信の動作を説明するフローチャート
【図6】本発明の合成画像情報を用いて合成画像を作成する概念図
【図7】本発明の画像情報受信装置の記憶手段の記憶テーブルの一例を示す図
【図8】本発明の画像情報受信装置間の画像情報の送信状態を示す概略図
【図9】本発明の画像情報送受信システムによる展示場の機器の概略構成図
【図10】本発明の画像情報受信装置の操作中の表示動作の一例を示す図
【図11】本発明の画像情報受信装置の表示手段の表示画面の他の一例を示す図
【図12】本発明の自動計算手段のブロック図
【図13】本発明の自動計算手段に表示された計算結果の一例を示す図
【図14】本発明のインターネットのネットワークシステムの構成を示すブロック図
【図15】本発明のネットワークを介して仮想博物館を表示した一例を示す図
【図16】本発明の第2の実施形態における画像情報送受信システムの概略構成図
【図17】本発明の第3の実施形態における画像情報送受信システムの概略構成図
【図18】本発明の第4の実施形態における画像情報送受信システムの概略構成図
【符号の説明】
21,22,23 位置情報発信装置
40,400 画像情報受信装置
41 無線送受信手段
43 記憶手段
45 表示手段
49 操作手段
50 シャッターボタン
60 ネットワーク
61 ストーレージサーバー
62 データベース
63 送受信手段
80 自動計算手段
300 アクセスポイント
301 制御手段
302 無線送受信手段
700 撮影制御手段
800 ネットワーク管理サーバー
801 合成画像情報記憶手段
802 撮影画像記憶手段
900 画像撮影手段
Claims (11)
- 位置情報を発信する位置情報発信装置と、
無線送受信手段と記憶手段と表示手段を有する画像情報受信装置と、
画像撮影手段と撮影制御手段と無線送受信手段を有する撮影画像送信装置とを備え、
予め識別情報を記憶させた前記画像情報受信装置が前記位置情報発信装置が発信した位置情報を受信し、前記画像情報受信装置が受信した位置情報を前記識別情報とともに撮影指示情報として前記撮影画像送信装置に送信すると、前記撮影画像送信装置は撮影を実行し、撮影した画像情報を前記画像情報受信装置に返信し、前記画像情報受信装置は画像情報を受信して記憶手段に記憶した後、表示手段に表示するよう構成した画像情報送受信システム。 - 前記撮影画像送信装置にモニター表示手段を更に備えた構成として、
予め識別情報を記憶させた前記画像情報受信装置が前記位置情報発信装置が発信した位置情報を受信すると、前記画像情報受信装置は受信した位置情報を前記識別情報とともにモニター画像要求情報として前記撮影画像送信装置に送信し、前記撮影画像送信装置がモニター表示手段にモニター画像を表示しているときに、前記画像情報受信装置から撮影指示情報が送信されると、前記撮影画像送信装置は撮影を実行し、撮影した画像情報を前記画像情報受信装置に返信し、前記画像情報受信装置は画像情報を受信して記憶手段に記憶した後、表示手段に表示するよう構成した請求項1記載の画像情報送受信システム。 - 予め識別情報を記憶させた前記画像情報受信装置が前記位置情報発信装置が発信した位置情報を受信すると、前記画像情報受信装置は受信した位置情報を前記識別情報とともにモニター画像要求情報として前記撮影画像送信装置に送信し、前記撮影画像送信装置は撮影手段で撮影した画像情報をモニター画像として前記画像情報受信装置に返信し、前記画像情報受信装置の表示手段にモニター画像を表示しているときに、前記画像情報受信装置から撮影指示情報が送信されると、前記撮影画像送信装置は撮影を実行し、撮影した画像情報を前記画像情報受信装置に返信し、前記画像情報受信装置は画像情報を受信して記憶手段に記憶した後、表示手段に表示するよう構成した請求項1記載の画像情報送受信システム。
- 前記撮影画像送信装置に位置情報と合成画像情報を関連づけて記憶した合成画像情報記憶手段と合成画像情報の読み出し手段を接続し、
予め識別情報を記憶させた前記画像情報受信装置が前記位置情報発信装置が発信した位置情報を受信すると、前記画像情報受信装置は受信した位置情報を前記識別情報とともに撮影指示情報として前記撮影画像送信装置に送信し、前記撮影画像送信装置が合成画像情報記憶手段から位置情報に関連づけて記憶している合成画像情報を読み出して、前記撮影画像送信装置の画像撮影手段で撮影した画像情報と合成した合成画像を前記画像情報受信装置に返信し、前記画像情報受信装置は画像情報を受信して記憶手段に記憶した後、表示手段に表示するよう構成した請求項1から請求項3のいずれかに記載の画像情報送受信システム。 - 前記画像情報受信装置は画像情報の受信状況を表示する表示手段を有し、画像情報を受信したときには前記表示手段で表示する画像情報の受信状況の表示内容を更新するようにした請求項1から請求項3のいずれかに記載の画像情報送受信システム。
- 前記画像情報受信装置は記憶手段に記憶した画像情報を特定する入力手段を有し、当該入力手段で特定した画像情報を他の画像情報受信装置に送信するようにした請求項1から請求項3のいずれかに記載の画像情報送受信システム。
- 前記画像情報受信装置に画像情報に対する評価情報を入力する入力手段を設け、入力した評価情報を評価した画像情報の位置情報に関連づけて記憶手段に記憶するようにした請求項1から請求項3のいずれかに記載の画像情報送受信システム。
- 前記画像情報受信装置から記憶手段に画像情報と関連づけて記憶した位置情報を集計して集計結果を出力する位置情報集計装置を設けた請求項1から請求項3のいずれかに記載の画像情報送受信システム。
- 予め基準値を記憶しておいて前記集計結果と基準値を比較した結果を位置情報集計装置に出力させるようにした請求項8記載の画像情報送受信システム。
- ネットワーク上にストーレージサーバーを接続し、該ストーレージサーバーに個人識別情報を登録するとともに、該個人識別情報毎に前記画像情報受信装置の記憶手段に記憶し蓄積した画像情報を位置情報と関連づけて保存し、ネットワークからアクセスすることにより、個人識別情報に関連づけて記憶された前記位置情報をもとに前記ストーレージサーバーに蓄積されている画像情報を閲覧またはダウンロード可能にした請求項1から請求項3のいずれかに記載の画像情報送受信システム。
- 位置情報を表示した位置情報表示手段と、
前記位置情報表示手段に表示された位置情報と画像情報を受信する画像情報受信装置の識別情報を入力して送信する撮影指示送信手段と、
無線送受信手段と記憶手段と表示手段を有する画像情報受信装置と、
画像撮影手段と撮影制御手段と無線送受信手段を有する撮影画像送信装置とを備え、
前記位置情報表示手段に表示された位置情報と画像情報を受信する画像情報受信装置の識別情報が前記撮影指示送信手段に入力され、前記撮影画像送信装置に送信されると、前記撮影画像送信装置は撮影を実行し、撮影した画像情報を前記画像情報受信装置に返信し、前記画像情報受信装置は画像情報を受信して記憶手段に記憶した後、表示手段に表示するよう構成した画像情報送受信システム。
Priority Applications (1)
| Application Number | Priority Date | Filing Date | Title |
|---|---|---|---|
| JP2002198935A JP2004040736A (ja) | 2002-07-08 | 2002-07-08 | 画像情報送受信システム |
Applications Claiming Priority (1)
| Application Number | Priority Date | Filing Date | Title |
|---|---|---|---|
| JP2002198935A JP2004040736A (ja) | 2002-07-08 | 2002-07-08 | 画像情報送受信システム |
Publications (1)
| Publication Number | Publication Date |
|---|---|
| JP2004040736A true JP2004040736A (ja) | 2004-02-05 |
Family
ID=31706252
Family Applications (1)
| Application Number | Title | Priority Date | Filing Date |
|---|---|---|---|
| JP2002198935A Pending JP2004040736A (ja) | 2002-07-08 | 2002-07-08 | 画像情報送受信システム |
Country Status (1)
| Country | Link |
|---|---|
| JP (1) | JP2004040736A (ja) |
Cited By (5)
| Publication number | Priority date | Publication date | Assignee | Title |
|---|---|---|---|---|
| JP2006174195A (ja) * | 2004-12-17 | 2006-06-29 | Hitachi Ltd | 映像サービスシステム |
| EP1901560A3 (en) * | 2006-09-13 | 2009-03-04 | Fujitsu Limited | Photographic system |
| JP2014022807A (ja) * | 2012-07-13 | 2014-02-03 | Micware Co Ltd | 撮影システム、端末装置、撮影方法、およびプログラム |
| JP5830729B1 (ja) * | 2014-11-07 | 2015-12-09 | 株式会社ビアンコネロ | 携帯通信端末を所持するユーザーを自動もしくは手動にて撮影する撮影及び映像配信システム |
| CN113401738A (zh) * | 2020-03-16 | 2021-09-17 | 奥的斯电梯公司 | 电梯运行管理方法和装置、电梯系统以及可读存储介质 |
-
2002
- 2002-07-08 JP JP2002198935A patent/JP2004040736A/ja active Pending
Cited By (8)
| Publication number | Priority date | Publication date | Assignee | Title |
|---|---|---|---|---|
| JP2006174195A (ja) * | 2004-12-17 | 2006-06-29 | Hitachi Ltd | 映像サービスシステム |
| EP1901560A3 (en) * | 2006-09-13 | 2009-03-04 | Fujitsu Limited | Photographic system |
| US8237806B2 (en) | 2006-09-13 | 2012-08-07 | Fujitsu Limited | Photographic system |
| JP2014022807A (ja) * | 2012-07-13 | 2014-02-03 | Micware Co Ltd | 撮影システム、端末装置、撮影方法、およびプログラム |
| JP5830729B1 (ja) * | 2014-11-07 | 2015-12-09 | 株式会社ビアンコネロ | 携帯通信端末を所持するユーザーを自動もしくは手動にて撮影する撮影及び映像配信システム |
| WO2016072121A1 (ja) * | 2014-11-07 | 2016-05-12 | 株式会社ビアンコネロ | 携帯通信端末を所持するユーザーを自動もしくは手動にて撮影する撮影及び映像配信システム |
| US10142534B2 (en) | 2014-11-07 | 2018-11-27 | Bianconero, Inc. | Image-capturing and image-distributing system for automatically or manually capturing image of user carrying mobile communication terminal |
| CN113401738A (zh) * | 2020-03-16 | 2021-09-17 | 奥的斯电梯公司 | 电梯运行管理方法和装置、电梯系统以及可读存储介质 |
Similar Documents
| Publication | Publication Date | Title |
|---|---|---|
| US9270841B2 (en) | Interactive image capture, marketing and distribution | |
| US20070188626A1 (en) | Producing enhanced photographic products from images captured at known events | |
| US20080174676A1 (en) | Producing enhanced photographic products from images captured at known events | |
| EP1427192A1 (en) | INFORMATION−ADDED IMAGE PICKUP METHOD, IMAGE PICKUP APPARATUS AND INFORMATION DELIVERY APPARATUS USED FOR THE METHOD, AND INFORMATION-ADDED IMAGE PICKUP SYSTEM | |
| US20070188803A1 (en) | Photographic image service system | |
| JP2006180074A (ja) | 画像編集装置、撮像装置、画像編集方法、プログラム | |
| JP4256655B2 (ja) | 画像識別装置、注文処理装置及び画像識別方法 | |
| JP2002170059A (ja) | データ配信システム及び装置並びに方法 | |
| US20060039674A1 (en) | Image editing apparatus, method, and program | |
| JP5278840B1 (ja) | 写真撮影遊戯システム、サーバ、画像提供方法及び画像提供プログラム。 | |
| JP2005198063A (ja) | サービスサーバおよびプリントサービス方法 | |
| CN113014832B (zh) | 影像编辑系统及影像编辑方法 | |
| JP7633544B2 (ja) | プログラム、撮影装置 | |
| JP5596844B2 (ja) | 画像処理装置、画像処理システム及び画像処理方法 | |
| JP5800319B2 (ja) | 土産用動画配信システム | |
| US20060050166A1 (en) | Digital still camera | |
| JP4750158B2 (ja) | 撮影支援装置 | |
| JP2004040736A (ja) | 画像情報送受信システム | |
| JP2004320441A (ja) | 撮影システム、撮影方法、端末装置、撮影装置、映像制作装置 | |
| US9270840B2 (en) | Site image capture and marketing system and associated methods | |
| US20130275257A1 (en) | Interactive image capture, marketing and distribution | |
| JP6849851B2 (ja) | 撮影システム、撮影装置及びユーザ撮影方法 | |
| JP7081091B2 (ja) | 撮影編集プログラム、携帯端末、及び撮影編集システム | |
| JP2008042700A (ja) | プリントシステム | |
| JP5409852B2 (ja) | 仮想風景表示装置及び仮想風景表示方法 |