EP3665415B1 - Système de sécurité pour un réservoir de pression - Google Patents

Système de sécurité pour un réservoir de pression Download PDF

Info

Publication number
EP3665415B1
EP3665415B1 EP18758832.2A EP18758832A EP3665415B1 EP 3665415 B1 EP3665415 B1 EP 3665415B1 EP 18758832 A EP18758832 A EP 18758832A EP 3665415 B1 EP3665415 B1 EP 3665415B1
Authority
EP
European Patent Office
Prior art keywords
valve
gas
connection
pressure accumulator
safety
Prior art date
Legal status (The legal status is an assumption and is not a legal conclusion. Google has not performed a legal analysis and makes no representation as to the accuracy of the status listed.)
Active
Application number
EP18758832.2A
Other languages
German (de)
English (en)
Other versions
EP3665415A1 (fr
Inventor
Thomas Kreutzer
Thomas GÖTZ
Current Assignee (The listed assignees may be inaccurate. Google has not performed a legal analysis and makes no representation or warranty as to the accuracy of the list.)
Hydac Technology GmbH
Original Assignee
Hydac Technology GmbH
Priority date (The priority date is an assumption and is not a legal conclusion. Google has not performed a legal analysis and makes no representation as to the accuracy of the date listed.)
Filing date
Publication date
Application filed by Hydac Technology GmbH filed Critical Hydac Technology GmbH
Publication of EP3665415A1 publication Critical patent/EP3665415A1/fr
Application granted granted Critical
Publication of EP3665415B1 publication Critical patent/EP3665415B1/fr
Active legal-status Critical Current
Anticipated expiration legal-status Critical

Links

Images

Classifications

    • FMECHANICAL ENGINEERING; LIGHTING; HEATING; WEAPONS; BLASTING
    • F17STORING OR DISTRIBUTING GASES OR LIQUIDS
    • F17CVESSELS FOR CONTAINING OR STORING COMPRESSED, LIQUEFIED OR SOLIDIFIED GASES; FIXED-CAPACITY GAS-HOLDERS; FILLING VESSELS WITH, OR DISCHARGING FROM VESSELS, COMPRESSED, LIQUEFIED, OR SOLIDIFIED GASES
    • F17C13/00Details of vessels or of the filling or discharging of vessels
    • F17C13/04Arrangement or mounting of valves
    • FMECHANICAL ENGINEERING; LIGHTING; HEATING; WEAPONS; BLASTING
    • F15FLUID-PRESSURE ACTUATORS; HYDRAULICS OR PNEUMATICS IN GENERAL
    • F15BSYSTEMS ACTING BY MEANS OF FLUIDS IN GENERAL; FLUID-PRESSURE ACTUATORS, e.g. SERVOMOTORS; DETAILS OF FLUID-PRESSURE SYSTEMS, NOT OTHERWISE PROVIDED FOR
    • F15B20/00Safety arrangements for fluid actuator systems; Applications of safety devices in fluid actuator systems; Emergency measures for fluid actuator systems
    • F15B20/007Overload
    • FMECHANICAL ENGINEERING; LIGHTING; HEATING; WEAPONS; BLASTING
    • F15FLUID-PRESSURE ACTUATORS; HYDRAULICS OR PNEUMATICS IN GENERAL
    • F15BSYSTEMS ACTING BY MEANS OF FLUIDS IN GENERAL; FLUID-PRESSURE ACTUATORS, e.g. SERVOMOTORS; DETAILS OF FLUID-PRESSURE SYSTEMS, NOT OTHERWISE PROVIDED FOR
    • F15B1/00Installations or systems with accumulators; Supply reservoir or sump assemblies
    • F15B1/02Installations or systems with accumulators
    • F15B1/04Accumulators
    • F15B1/08Accumulators using a gas cushion; Gas charging devices; Indicators or floats therefor
    • FMECHANICAL ENGINEERING; LIGHTING; HEATING; WEAPONS; BLASTING
    • F15FLUID-PRESSURE ACTUATORS; HYDRAULICS OR PNEUMATICS IN GENERAL
    • F15BSYSTEMS ACTING BY MEANS OF FLUIDS IN GENERAL; FLUID-PRESSURE ACTUATORS, e.g. SERVOMOTORS; DETAILS OF FLUID-PRESSURE SYSTEMS, NOT OTHERWISE PROVIDED FOR
    • F15B20/00Safety arrangements for fluid actuator systems; Applications of safety devices in fluid actuator systems; Emergency measures for fluid actuator systems
    • FMECHANICAL ENGINEERING; LIGHTING; HEATING; WEAPONS; BLASTING
    • F15FLUID-PRESSURE ACTUATORS; HYDRAULICS OR PNEUMATICS IN GENERAL
    • F15BSYSTEMS ACTING BY MEANS OF FLUIDS IN GENERAL; FLUID-PRESSURE ACTUATORS, e.g. SERVOMOTORS; DETAILS OF FLUID-PRESSURE SYSTEMS, NOT OTHERWISE PROVIDED FOR
    • F15B21/00Common features of fluid actuator systems; Fluid-pressure actuator systems or details thereof, not covered by any other group of this subclass
    • F15B21/005Filling or draining of fluid systems
    • FMECHANICAL ENGINEERING; LIGHTING; HEATING; WEAPONS; BLASTING
    • F15FLUID-PRESSURE ACTUATORS; HYDRAULICS OR PNEUMATICS IN GENERAL
    • F15BSYSTEMS ACTING BY MEANS OF FLUIDS IN GENERAL; FLUID-PRESSURE ACTUATORS, e.g. SERVOMOTORS; DETAILS OF FLUID-PRESSURE SYSTEMS, NOT OTHERWISE PROVIDED FOR
    • F15B2211/00Circuits for servomotor systems
    • F15B2211/40Flow control
    • F15B2211/41Flow control characterised by the positions of the valve element
    • FMECHANICAL ENGINEERING; LIGHTING; HEATING; WEAPONS; BLASTING
    • F15FLUID-PRESSURE ACTUATORS; HYDRAULICS OR PNEUMATICS IN GENERAL
    • F15BSYSTEMS ACTING BY MEANS OF FLUIDS IN GENERAL; FLUID-PRESSURE ACTUATORS, e.g. SERVOMOTORS; DETAILS OF FLUID-PRESSURE SYSTEMS, NOT OTHERWISE PROVIDED FOR
    • F15B2211/00Circuits for servomotor systems
    • F15B2211/40Flow control
    • F15B2211/41Flow control characterised by the positions of the valve element
    • F15B2211/411Flow control characterised by the positions of the valve element the positions being discrete
    • FMECHANICAL ENGINEERING; LIGHTING; HEATING; WEAPONS; BLASTING
    • F15FLUID-PRESSURE ACTUATORS; HYDRAULICS OR PNEUMATICS IN GENERAL
    • F15BSYSTEMS ACTING BY MEANS OF FLUIDS IN GENERAL; FLUID-PRESSURE ACTUATORS, e.g. SERVOMOTORS; DETAILS OF FLUID-PRESSURE SYSTEMS, NOT OTHERWISE PROVIDED FOR
    • F15B2211/00Circuits for servomotor systems
    • F15B2211/40Flow control
    • F15B2211/42Flow control characterised by the type of actuation
    • F15B2211/421Flow control characterised by the type of actuation mechanically
    • F15B2211/423Flow control characterised by the type of actuation mechanically manually, e.g. by using a lever or pedal
    • FMECHANICAL ENGINEERING; LIGHTING; HEATING; WEAPONS; BLASTING
    • F15FLUID-PRESSURE ACTUATORS; HYDRAULICS OR PNEUMATICS IN GENERAL
    • F15BSYSTEMS ACTING BY MEANS OF FLUIDS IN GENERAL; FLUID-PRESSURE ACTUATORS, e.g. SERVOMOTORS; DETAILS OF FLUID-PRESSURE SYSTEMS, NOT OTHERWISE PROVIDED FOR
    • F15B2211/00Circuits for servomotor systems
    • F15B2211/50Pressure control
    • F15B2211/505Pressure control characterised by the type of pressure control means
    • F15B2211/50509Pressure control characterised by the type of pressure control means the pressure control means controlling a pressure upstream of the pressure control means
    • F15B2211/50518Pressure control characterised by the type of pressure control means the pressure control means controlling a pressure upstream of the pressure control means using pressure relief valves
    • FMECHANICAL ENGINEERING; LIGHTING; HEATING; WEAPONS; BLASTING
    • F15FLUID-PRESSURE ACTUATORS; HYDRAULICS OR PNEUMATICS IN GENERAL
    • F15BSYSTEMS ACTING BY MEANS OF FLUIDS IN GENERAL; FLUID-PRESSURE ACTUATORS, e.g. SERVOMOTORS; DETAILS OF FLUID-PRESSURE SYSTEMS, NOT OTHERWISE PROVIDED FOR
    • F15B2211/00Circuits for servomotor systems
    • F15B2211/80Other types of control related to particular problems or conditions
    • F15B2211/875Control measures for coping with failures
    • F15B2211/8757Control measures for coping with failures using redundant components or assemblies
    • FMECHANICAL ENGINEERING; LIGHTING; HEATING; WEAPONS; BLASTING
    • F17STORING OR DISTRIBUTING GASES OR LIQUIDS
    • F17CVESSELS FOR CONTAINING OR STORING COMPRESSED, LIQUEFIED OR SOLIDIFIED GASES; FIXED-CAPACITY GAS-HOLDERS; FILLING VESSELS WITH, OR DISCHARGING FROM VESSELS, COMPRESSED, LIQUEFIED, OR SOLIDIFIED GASES
    • F17C2205/00Vessel construction, in particular mounting arrangements, attachments or identifications means
    • F17C2205/03Fluid connections, filters, valves, closure means or other attachments
    • F17C2205/0302Fittings, valves, filters, or components in connection with the gas storage device
    • F17C2205/0323Valves
    • F17C2205/0329Valves manually actuated
    • FMECHANICAL ENGINEERING; LIGHTING; HEATING; WEAPONS; BLASTING
    • F17STORING OR DISTRIBUTING GASES OR LIQUIDS
    • F17CVESSELS FOR CONTAINING OR STORING COMPRESSED, LIQUEFIED OR SOLIDIFIED GASES; FIXED-CAPACITY GAS-HOLDERS; FILLING VESSELS WITH, OR DISCHARGING FROM VESSELS, COMPRESSED, LIQUEFIED, OR SOLIDIFIED GASES
    • F17C2205/00Vessel construction, in particular mounting arrangements, attachments or identifications means
    • F17C2205/03Fluid connections, filters, valves, closure means or other attachments
    • F17C2205/0302Fittings, valves, filters, or components in connection with the gas storage device
    • F17C2205/0323Valves
    • F17C2205/0332Safety valves or pressure relief valves
    • FMECHANICAL ENGINEERING; LIGHTING; HEATING; WEAPONS; BLASTING
    • F17STORING OR DISTRIBUTING GASES OR LIQUIDS
    • F17CVESSELS FOR CONTAINING OR STORING COMPRESSED, LIQUEFIED OR SOLIDIFIED GASES; FIXED-CAPACITY GAS-HOLDERS; FILLING VESSELS WITH, OR DISCHARGING FROM VESSELS, COMPRESSED, LIQUEFIED, OR SOLIDIFIED GASES
    • F17C2205/00Vessel construction, in particular mounting arrangements, attachments or identifications means
    • F17C2205/03Fluid connections, filters, valves, closure means or other attachments
    • F17C2205/0302Fittings, valves, filters, or components in connection with the gas storage device
    • F17C2205/0382Constructional details of valves, regulators
    • F17C2205/0385Constructional details of valves, regulators in blocks or units
    • FMECHANICAL ENGINEERING; LIGHTING; HEATING; WEAPONS; BLASTING
    • F17STORING OR DISTRIBUTING GASES OR LIQUIDS
    • F17CVESSELS FOR CONTAINING OR STORING COMPRESSED, LIQUEFIED OR SOLIDIFIED GASES; FIXED-CAPACITY GAS-HOLDERS; FILLING VESSELS WITH, OR DISCHARGING FROM VESSELS, COMPRESSED, LIQUEFIED, OR SOLIDIFIED GASES
    • F17C2221/00Handled fluid, in particular type of fluid
    • F17C2221/01Pure fluids
    • F17C2221/014Nitrogen

Definitions

  • the invention relates to a security system having the features in the preamble of claim 1.
  • a safety system of this type is used in various hydraulic supply systems and is known, for example, from the "Storage Technology" product catalogue, No. D 3.553.4/03.16 from HYDAC INTERNATIONAL.
  • the well-known solution is used for filling and testing hydraulic accumulator systems with a so-called back-up version.
  • the known valve block has various fluid connections, in particular for connecting a filling and testing device, a manometer, downstream nitrogen bottles, a pressure accumulator in the form of a hydraulic accumulator and at least one gas safety valve.
  • the hydraulic accumulator preferably in the form of a piston accumulator, is permanently connected with its gas side to the gas safety valve.
  • the liquid side of the hydraulic accumulator which is separated from the gas side by a separating element such as a longitudinally movable separating piston in an accumulator housing, is connected to a hydraulic supply system, for example in the form of a conventional hydraulic working circuit. Furthermore, a shut-off valve is present in the valve block, which in its open position the fluid path between the possibly connected, downstream Releases nitrogen bottles and the hydraulic accumulator for a gas-carrying connection with the nitrogen gas and blocks this fluid path in its closed position.
  • a shut-off valve is present in the valve block, which in its open position the fluid path between the possibly connected, downstream Releases nitrogen bottles and the hydraulic accumulator for a gas-carrying connection with the nitrogen gas and blocks this fluid path in its closed position.
  • the EP 2 857 727 A1 describes a safety system with the features in the preamble of claim 1 with a valve block to which at least one gas safety valve is connected in a detachable manner, with at least one controllable valve in or on the valve block and with at least one pressure accumulator accommodating a gaseous pressure medium, which is attached to the valve block in is also connected in a removable manner, with a gas-carrying connection running at least in sections within the valve block between the respectively connected pressure accumulator and the respectively connected gas safety valve being able to be blocked or released by means of the valve.
  • the object of the invention is to create a security system with improved functionality and for saving resources.
  • a safety device which includes the controllable valve, ensures that the gas-carrying connection to the respectively connected pressure accumulator is interrupted in order to remove a gas safety valve from the valve block and the connection leading to at least one other gas safety valve is maintained in such a way that a permanent gas-carrying connection is established between this respective pressure accumulator and this respective other gas safety valve during the changing process of the one gas safety valve and its renewed commissioning.
  • a gas-carrying connection running at least in sections within the valve block between the respectively connected pressure accumulator and the respectively connected gas safety valve can be blocked or released by means of the valve, a particularly high level of safety is achieved.
  • the respective gas safety valve can be opened if necessary remove from the valve block, provided that the associated valve in or on the valve block is brought into its closed position and to this extent is safely decoupled on the gas side from the respectively connected pressure accumulator, which consists of a hydraulic accumulator or a gas accumulator, such as a nitrogen bottle or another, at least partially gas-carrying pressure vessel, such as a storage tank or the like.
  • the safety system according to the invention opens up the possibility of shutting off the gas safety valve connected to the valve block of the safety system via an associated, controllable valve, without suffering significant gas losses on the part of the respective pressure accumulator system connected to the valve block and without hydraulic system parts having to be depressurized.
  • Pressure accumulators within the meaning of the invention include all containers suitable and used for holding a fluid, in particular a gas, such as pressure containers, hydraulic accumulators, gas cylinders, in particular nitrogen cylinders, and the like. It goes without saying that the pressure accumulator used in the safety system according to the invention is not restricted to the language definitions customary in individual areas.
  • the respective accumulator is a pressure vessel that exclusively is filled or can be filled with the gaseous pressure medium, such as a nitrogen cylinder or a hydraulic accumulator, in particular in the form of a bellows, membrane, accumulator or piston, the separating element of which, accommodated in an accumulator housing, separates a gas side from a liquid side.
  • the gaseous pressure medium such as a nitrogen cylinder or a hydraulic accumulator, in particular in the form of a bellows, membrane, accumulator or piston, the separating element of which, accommodated in an accumulator housing, separates a gas side from a liquid side.
  • the safety system ensures in particular that during commissioning and continuous operation of a hydraulic supply system, the gas safety valve, which is set to a maximum response pressure, is permanently in contact with the gas side of the pressure accumulator connected from its liquid side to a hydraulic system or plant, for example in the form of a hydraulic accumulator remains connected.
  • the gas safety valve which is set to a maximum response pressure
  • the gas safety valve can be removed from the valve block for cleaning and/or maintenance purposes, while the other gas safety valve remaining on the valve block continues to perform the described safety function for the hydraulic supply system and its system parts.
  • Such gas safety valves are regularly formed from pressure-limiting valves whose gas outlet side leading to the environment is covered by a mesh grid or a sieve in order to possibly in the In the event of safety, people in the vicinity are to be protected from the high-pressure discharged compressed gas.
  • the safety device is based on a mechanical locking concept, a mechanical control concept, an electrical monitoring concept or a chip-controlled actuation concept for the controllable valve in each case. Due to the design of the safety device that meets the requirements and is adapted to the respective application, a safe shut-off of the pressure accumulator is ensured during operation with little susceptibility to faults and errors, for example before removing an associated gas safety valve.
  • Mechanical concepts for locking or valve control offer the advantage of high robustness and low maintenance.
  • An electrical or chip-controlled concept for the monitoring or the actuation offers the advantage of a small installation space requirement and the possibility of remote monitoring when using a corresponding data transmission.
  • two ball valves which can preferably be actuated by hand, are provided for the implementation of the mechanical locking concept, which are each connected to an assignable gas safety valve and carry the control discs, which in the mutually locked state ensure that a ball valve its open position connects the associated gas safety valve to the pressure accumulator via a gas-carrying connection and the other ball valve in its blocking position for removing the associated gas safety valve from the valve block, for example for replacement or maintenance purposes, blocks another associated connection to the respective pressure accumulator.
  • the control discs are an integral part of a mechanical locking mechanism for the actuation elements of the ball valves and are preferably arranged on an outside of the valve block. As soon as a ball valve is blocked to remove the associated gas safety valve, the associated control disk is locked with at least one control disk of another gas safety valve in such a way that the other gas safety valve is blocked and securely held in the open, operationally safe position. Thus, when a gas safety valve is removed and removed, at least one functional additional gas safety valve is connected to the valve block in its open position, which then exclusively performs the safety function.
  • two hand levers of the ball valves can be used to actuate one of the control disks in the direction of a closed position of the ball valve, which has a cutout on the outer circumference which corresponds to a correspondingly designed cutout on the outer circumference of the other control disc cooperates in that a rotational movement of the respective ball valve is enabled or blocked by means of the associated hand lever.
  • the respective section particularly preferably has an arcuate contour with a curvature comparable to the outer circumference of the control disk.
  • the respective other control disk engages in such a shaped cutout in such a way that the associated hand lever is blocked in the selected position and an unintentional or intentional changing of this position is not possible.
  • the gas safety valves have a cylindrical basic shape and are arranged on the underside of the valve block.
  • the hand levers for actuating the associated ball valves are preferably arranged on a side of the valve block that is accessible to an operator, with a vertical direction generally being the open position and a horizontal one being the open position Direction indicates the closed position of the associated ball valve.
  • the cutouts in adjacent hand levers are particularly preferably arranged in such a way that when the two hand levers are in the open position, the cutouts are arranged adjacent and opposite one another in such a way that when one hand lever is moved into the closed position, the associated control disk fits into the cutout on the other control disk of the other hand lever is moved in and thereby also blocking their movement into the closed position.
  • Two or more gas safety valves are preferably arranged next to one another, forming a row, on the valve block. Accordingly, two or more hand levers with associated control disks are arranged next to one another, forming a row, on the side of the valve block.
  • control disc interacts with a limit stop on the valve block in such a way that the hand lever can be pivoted from an opening direction parallel to the longitudinal direction of the respective gas safety valve by 90° into a blocking position transverse to this longitudinal alignment and vice versa. This results in the advantage of error-free operation when pivoting the respective hand lever into one of its positions.
  • a 3-way ball valve is used as a controllable valve for the implementation of the mechanical control concept, which in its one switching position connects a gas safety valve via a connection to the pressure accumulator in a gas-carrying manner and another gas safety valve by blocking an associated other Connection decoupled from the accumulator, in a further switching position the other gas safety valve connected via the other connection to the accumulator gas-carrying and a gas safety valve through Lock the one connection is decoupled.
  • two separate ball valves for the two gas safety valves can be omitted. Regardless of the switching position of the 3-way ball valve, a gas safety valve is then connected to the pressure accumulator and a gas safety valve is separated from it, so that at least one gas safety valve always assumes the safety function for the pressure accumulator.
  • the position of the controllable valve is monitored by means of a sensor system with regard to its open and/or closed position, and operation of the hydraulic supply system is only made possible by a higher-level controller if when the sensors determine and transmit to the controller that the respective gas-carrying connection between the gas safety valve and the pressure accumulator is actually released via the controllable valve.
  • a higher-level controller if when the sensors determine and transmit to the controller that the respective gas-carrying connection between the gas safety valve and the pressure accumulator is actually released via the controllable valve.
  • a control chip is provided for the realization of the chip-controlled actuation concept, which is used on the control of the hydraulic supply system and enables its operation in the first place, but when it is removed the supply system is shut down and when it is used on the controllable valve the assignable gas safety valve then on the gas side from the pressure accumulator by blocking the associated connection decoupled.
  • operation of the hydraulic supply system is only possible if the control chip releases the gas safety valve back into its open position after removal and this chip is reinserted in the control system to enable operation of the connected hydraulic system again.
  • valve block has at least one additional supply connection, via which at least one additional pressure accumulator, preferably a gas pressure accumulator, can be connected, which, in its open position, is connected to the respective pressure accumulator to carry gas, preferably to the gas side, via a check valve arranged within the valve block connected to a hydraulic accumulator.
  • gas can then be taken from the gas supply of the storage bottle via the additional supply connection and routed to the gas side of the hydraulic accumulator in order to increase the working capacity of this hydraulic accumulator in this way.
  • valve block has at least one additional connection point to which a filling and testing device can be connected, which is connected directly to the pressure accumulator via a filling and testing connection in the valve block, preferably connected to the gas side of a hydraulic accumulator in the form of a piston accumulator , Is, and that this filling and testing connection is connected to a further connection between the respective further pressure accumulator and the pressure accumulator via a non-return valve which opens in the direction of the respective controllable valve.
  • Properties of the gas such as temperature and pressure of the gas volume, can be monitored and recorded via the filling and testing device.
  • Figures 1a to 1c each show a side view of a valve block 10, on the underside of which a first gas safety valve 12 and a second gas safety valve 14 are arranged.
  • the gas safety valves 12, 14 are each fitted with a plug of a ball valve 50, 52 (see Fig. Figure 3a , b) assigned.
  • the chicks of the ball valves 50, 52 are arranged separately from one another via a first hand lever 16 and a second hand lever 18 between an open switch position and a closed switch position and can be switched back and forth.
  • switching position of the two hand levers 16, 18, these are each in the vertical direction, parallel to the cylindrical gas safety valves 12, 14, aligned and therefore shown in their open switching position.
  • the associated hand lever 16 or 18 In the closed switch position, the associated hand lever 16 or 18 is aligned horizontally, as in Fig. 1b for the second hand lever 18 and in 1c shown for the first hand lever 16. While the hand lever 16 is designed to run straight, the other hand lever 18 is cranked so that it can be swiveled over the hand lever 16 if necessary (see Fig. 2 ).
  • the connection to the gas side 45 is one in the Figures 1a to 1c not shown pressure accumulator 42 (see Figure 3a and 3b ) separated via the associated ball valve 50 or 52 and the removal of the associated gas safety valve 12 or 14 is possible in a safe manner, which will be explained in more detail below.
  • a third hand lever 20 is arranged on the outside of the valve block 10, via which a plug of a further third ball valve 54 (see Fig. Figure 3a , b) is operable.
  • the connection 22 is in the direction of the Figures 1a, b , c and 2 arranged on the underside of the cuboid valve block 10.
  • a filling and testing connection point 24 for a gas-side filling and testing device not shown in detail
  • a pressure connection 26 for a connection of the pressure accumulator 42.
  • a measuring device 28 in the form of an electrical pressure transducer is also provided on the upper side of the valve block 10 .
  • the side surface of the valve block 10 shown on the right is a pressure gauge connection 34 for a pressure gauge 44 (see Fig. 3a to 6 ) educated.
  • the first and the second hand lever 16, 18 are each connected to a circular control disk 30a, 30b, which are each arranged coaxially to the axis of rotation of the associated hand lever 16, 18 on the front face of the valve block 10.
  • the third hand lever 20 has a conventional disk 30c for rotation limitation.
  • the ring-shaped control discs 30a, 30b for the hand levers 16, 18 each have a segmented and concave cutout 32a, 32b with an arcuate contour.
  • the two cutouts 32a, 32b are arranged opposite one another.
  • the design and arrangement of the cutouts 32a, 32b is selected such that when the second hand lever 18 is moved clockwise into the closed switch position, comparable to the representation according to FIG Fig. 1b , the second control disk 30b is positively moved on the outer circumference with its outer contour, which is convex to this extent, into the first, concave recess 32a on the first control disk 30a of the first hand lever 16 .
  • the first hand lever 16 is mechanically locked in the open, vertical switch position shown by the control disks 30a, 30b.
  • the first control disk 30a with its convex or arcuate outer circumference is moved clockwise into the closed switch position when the first hand lever 16 is moved, as in FIG 1c shown, moved into the second, concave cutout 32b on the second control disk 30b and accordingly the second hand lever 18 in the 1c securely locked in the open, vertical switching position shown.
  • Two stop limits 15a, 15b protruding like pins are also provided on the valve block 10, each of which defines the rotational movement of the associated hand lever 16, 18 by 90° into the open and the closed switching position and are formed adjacent to the cutout 32a, 32b of the respective control disk 30a, 30b Stop lugs interact.
  • the pertinent limit stop is common with ball valves, so that this is not discussed in detail; in particular, individual details have been omitted from the figures for the sake of clarity.
  • a stop limiter 15c for a lug formed on the control disk 30c is also shown, which limits the corresponding rotational movement of the third hand lever 20.
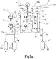
  • Figure 3a shows a hydraulic circuit diagram for a first exemplary embodiment of the valve block 10 with a first valve connection 36 (see Fig. 1a ) for the first gas safety valve 12 and a second valve connection 38 (see Fig. 1b ) for the second gas safety valve 14.
  • Two additional pressure accumulators 40a, 40b designed as gas accumulators in the form of conventional nitrogen refill bottles, are connected to the valve block 10 at the supply connection 22, for example.
  • a pressure reservoir 42 also connected to the pressure port 26 , designed as a pressure vessel in the form of a nitrogen bottle that is filled exclusively with a gaseous pressure medium.
  • the manometer 44 is connected to the manometer connection 34 and the measuring device 28 is connected to a measuring connection 48 .
  • the pressure gauge 44 and the measuring device 28 of conventional design are connected to the associated connections 34 and 48 on the valve block 10 via quick-acting couplings 46a, 46b to carry fluid and pressure.
  • the pressure accumulator 42 can be filled with nitrogen from the reloading cylinders 40a, 40b. The filled reservoir 42 can then be removed from the valve block 10 and a new reservoir 42 can be filled again.
  • a supply network (not shown) could also take the place of the individual storage bottles 40a, 40b, from which the storage 42 can then be filled.
  • a pressure accumulator 42 in the form of a gas storage bottle shown as an example, a large number of such gas-carrying storage systems can also be connected to the connection 26 of the valve block 10 (not shown).
  • valve block 10 In the valve block 10 are several interconnected fluid connections between the first valve port 36, the second valve port 38, the supply port 22, the pressure port 26, the Filling and test connection point 24, the measuring connection 48 and the pressure gauge connection 34 are formed.
  • the connections are made as bores in the valve block 10 made of a metal material.
  • a first connecting section 21 leads from the first valve port 36 to a first crossing point 23, and a second connecting section 25 leads from the second valve port 38 to a second crossing point 27.
  • the first crossing point 23 and the second crossing point 27 are arranged in a third connecting section 29, which extends from the measuring port 48 runs to a third crossing point 31 inside the valve block 10 .
  • a fourth connection section 33 runs from the supply connection 22 to the pressure connection 26.
  • the third crossing point 31 and a fourth crossing point 35 are arranged.
  • the fourth crossing point 35 is the end of a filling and testing connection 37 beginning at the filling and testing connection point 24.
  • a fifth crossing point 39 is arranged in the filling and testing connection 37, which represents the end of a fifth connection section 41 beginning at the first crossing point 23.
  • a sixth crossing point 43 is arranged in the first connecting section 21 between the first valve connection 36 and the first crossing point 22 , which represents the end of a sixth connecting section 45 beginning at the manometer connection 34 .
  • first line section 47 between the first gas safety valve 12 and the first valve port 36
  • second line section 49 between the second gas safety valve 14 and the second valve port 38
  • third line sections 51, 51a, 51b between the other pressure accumulators 40a, 40b and the supply port 22
  • fourth line section 53 between the pressure accumulator or gas storage bottle 42 and the pressure connection 26
  • fifth line sections 55a, 55b, 55c between the measuring device 28 and the measuring connection 48 and continuing from the measuring device 28 and sixth line sections 57a, 57b between the pressure gauge 44 and the pressure gauge connection 34 are present.
  • the first ball valve 50 is arranged in the first connecting section 21 and the second ball valve 52 is arranged in the second connecting section 25.
  • the third ball valve 54 is arranged between the third 31 and fourth crossing point 35, and a check valve 56 is connected parallel to this in the fifth connecting section 41 between the first 23 and fifth crossing point 39, which valve opens in the direction of the first crossing point 23 .
  • the individual ball valves 50, 52, 54 are actuated individually by hand via the associated hand levers 16, 18, 20. From the fourth crossing point 35 arranged adjacent to the pressure connection 26, the filling and testing connection 37 leads directly to the filling and testing connection point 24.
  • Figure 3b is essentially identical to Figure 3a and differs from this solution shown in that instead of a gas storage bottle 42 designed as a pressure container, a pressure accumulator 42 designed as a hydraulic accumulator in the form of a piston accumulator is connected to the pressure connection 26 of the valve block 10 .
  • a pressure accumulator 42 designed as a hydraulic accumulator in the form of a piston accumulator is connected to the pressure connection 26 of the valve block 10 .
  • a hydraulic supply system 43 is connected as an example, regularly consisting of a hydraulic working circuit, such as a motor-pump unit, a storage tank, hydraulic consumers, control and monitoring devices, etc. (not shown).
  • This safety function is also implemented when the other pressure accumulators 40a, 40b are separated on the gas side from the gas side 45 of the pressure accumulator 42 by closing the other third ball valve 54.
  • the pressure is equalized via the non-return valve 56, which opens in the direction of the two gas safety valves 12, 14 and to this extent the associated, working gas regularly leading in the form of nitrogen gas, releases connections in the valve block 10 for the purpose of pressure reduction.
  • the piston 49 of the pressure accumulator 42 designed as a piston accumulator separates the gas side 45 from the liquid side 47, which leads to the supply system 43.
  • the inside 4 shown circuit diagram for a second embodiment of the security system differs from that in the Figure 3a and 3b shown first embodiment in that instead of the two ball valves 50, 52 only a 3-way ball valve 58 in the connections from the gas safety valves 12, 14 to the respective pressure accumulator 42 is arranged is. Due to the arrangement of the 3-way ball valve 58, the wiring of the connections in the valve block 10 is modified in such a way that the first connection section 21 and the second connection section 25 each end at the ball valve 58 and from this a common connection section 59 to a common crossing point 61 in the third Connecting section 29 leads.
  • the pressure gauge 44 is also connected to the third connection portion 29 via the sixth connection portion 45 .
  • the wiring of the fourth connection section 33, the fifth connection section 41 and the filling and test connection 37 are unchanged.
  • the pressure accumulators 40a, 40b, 42 are in 4 not shown for the sake of simplicity.
  • the bottles 40a, 40b also do not necessarily have to be connected to the connection 22, which then has to be closed if it is unoccupied.
  • the safety functions with the two gas safety valves 12, 14 and the associated ball valves 50, 52 are also reduced if only one corresponding pressure accumulator 42 is connected to the connection 26 of the valve block 10.
  • the circuit diagram shown in the form of a hydraulic circuit diagram for a third exemplary embodiment of the safety system includes a first monitoring device 60 in the first connecting section 21 for electrically or electronically monitoring one connection from the first gas safety valve 12 to the pressure accumulator 42 and a second comparable monitoring device 62 in the second connecting section 25 for monitoring the other connection from the second gas safety valve 14 to the pressure accumulator 42 at connections 3, 2 of the 3-way ball valve 58 is formed. Otherwise, the representation corresponds to figure 5 essentially the representation according to the 4 .
  • FIG. 6 circuit diagram for an embodiment of a safety system, which is not part of the invention, only one gas safety valve 12 is provided and only one monitoring device 60, as presented above, in the first connection section 21 for monitoring the one connection from the gas safety valve 12 to the pressure accumulator 42 on the associated ball valve 50 present.
  • This monitoring device 60 can optionally monitor the open and/or closed position of the ball valve 50 electrically or electronically.
  • the representation of 6 differs from that in the Figure 3a and 3b shown first embodiment in particular that the second gas safety valve 14, the second line section 49, the second valve port 38, the second connecting portion 25 together with the second crossing point 27 and the second ball valve 52 are omitted.
  • a redundant mechanical locking or valve control concept is implemented in the exemplary embodiments of the safety system shown.
  • the two associated 2-way ball valves 50, 52 can be mutually blocked in the direction of their respective horizontal closed position via the control disks 30a, 30b, so that only one ball valve 50 or 52 can reach its blocked position at a time, which means that the gas-carrying safety function is always only one of the two connected gas safety valves 12 or 14 overrides.
  • the valve control concept according to the 4 operator guidance is achieved in the sense that, regardless of the operator's will, at least as seen from the valve position of the valve 58, a gas safety valve 12, 14 is always kept in its safety function.
  • an electrical or electronic monitoring concept is implemented via at least one monitoring device 60, 62 on the 3-way ball valve 58 or on a ball valve 50. It is understood that combinations of such a monitoring concept according to the Figures 5 and 6 with a mechanical locking or valve control concept according to the Figure 3a , 3b and 4 can be combined with one another on the valve block 10 for reasons of redundancy.
  • the blocking of the gas connection from the gas safety valve 12, 14 to the respective pressure accumulator 42 can be monitored via at least one monitoring device 60, 62, with the monitoring device 60, 62 generating a corresponding control and/or monitoring signal for a higher-level control device (not shown). can.
  • the active replacement of a gas safety valve 12, 14 can be monitored manually on the valve block 10 and the valves 50, 52, 58 can be brought into the open or closed switching position as required.
  • the gas side 45 of the respective pressure accumulator 42 can be checked via a filling and testing device 28 (not shown) to be connected to the filling and testing connection point 24 and optionally refillable.
  • the third ball valve 54 remains open so that the working gas from the gas supply of the other pressure accumulators 40a, 40b can flow via the third line sections 51, 51a, 51b to can flow to the supply port 22, further via the fourth connecting section 33 to the pressure port 26 and further via the fourth line section 53 to the pressure accumulator 42 if necessary.
  • the associated pressure profile can be monitored via the pressure gauge 44 connected to the pressure gauge connection 34 .
  • the pressure in the safety system can be monitored electrically via the pressure transducer 28 . If the gas supply in the respective additional pressure accumulator 40a, 40b also has to be filled up, assuming that the additional pressure accumulators 40a, 40b are also connected to the valve block 10 via the connection point 22, this happens simultaneously with the gas side 45 of the respective pressure accumulator when the ball valve 54 is open 42 and, if necessary, with the ball valve 54 closed via the non-return valve 56. The relevant filling via the connection point 24 then continues until the pressure equilibrium established between the further pressure accumulators 40a, 40b, the refilling device at the connection point 24 and the respective pressure accumulator 42 the check valve 56 increasingly reaches its closed position.
  • FIG. 7a and 7b An alternative embodiment of the security system is in the Figure 7a and 7b shown, the system according to Figure 7a is not part of the invention.
  • the valve block 10 is compared to that in the Figures 1a to 1c shown embodiment designed comparatively small and encloses one in the perspective view of Figure 7a and 7b not shown 3-way ball valve.
  • the ball valve can be actuated between its switch positions via a hand lever 16 rotatably arranged on the valve block 10 .
  • the valve block 10 with the components arranged thereon forms a separate structural unit which is arranged on an end face 64 of a pressure accumulator 42 .
  • a connecting piece 66 bent at right angles is inserted into a passage opening on the end face 64 , the valve block 10 being firmly connected to the connecting piece 66 .
  • a gas safety valve 12 and a bursting disk 68 are arranged on the valve block 10 .
  • the gas safety valve 12 and the bursting disc 68 are aligned horizontally and are arranged on opposite sides of the valve block 10 .
  • the bursting disk 68 has the function that when the gas safety valve 12 is connected, this is kept free from damage in the event of excessive pressure loads due to the rupturing of the bursting disk 68 .
  • a gas-carrying connection between the gas safety valve 12 and the pressure accumulator 42 can be blocked or released via the 3-way ball valve arranged in the valve block 10 .
  • the 3-way ball valve has an L or T bore, with the central connection leading to the pressure accumulator 42 and the gas safety valve 12 and/or the bursting disc 68 being attached to the other connections.
  • the second variant of the safety system shown differs from that in Figure 7a
  • the first variant shown is that instead of the bursting disc 68 a second gas safety valve 14 is arranged on the valve block 10 .
  • This has the advantage that when removing one of the two gas safety valves 12, 14 by the respective other gas safety valves 14, 12 remaining on the valve block 10 ensure a continuous safety function.

Landscapes

  • Engineering & Computer Science (AREA)
  • Mechanical Engineering (AREA)
  • General Engineering & Computer Science (AREA)
  • Physics & Mathematics (AREA)
  • Fluid Mechanics (AREA)
  • Chemical & Material Sciences (AREA)
  • Analytical Chemistry (AREA)
  • Filling Or Discharging Of Gas Storage Vessels (AREA)
  • Fluid-Pressure Circuits (AREA)
  • Supply Devices, Intensifiers, Converters, And Telemotors (AREA)

Claims (11)

  1. Système de sécurité comprenant un valve-bloc (10), auquel est raccordé, d'une manière pouvant être retirée, au moins une vanne (12, 14) de sécurité pour du gaz, comprenant au moins une vanne (50, 52, 58) pouvant être commandée dans ou sur le valve-bloc (10) et comprenant au moins un accumulateur (42) de pression recevant un fluide gazeux sous pression, qui est raccordé, en pouvant être retiré pareillement, au valve-bloc (10), dans lequel une liaison conduisant du gaz et s'étendant par tronçons au sein du valve-bloc (10) peut, au moyen de la vanne (50, 52, 58), être bloquée ou libérée entre l'accumulateur (42) de pression raccordé respectivement la vanne (12, 14) de sécurité de gaz raccordée respectivement, caractérisé en ce que, au valve-bloc (10) sont raccordés au moins deux vannes (12, 14) de sécurité pour du gaz, et en ce qu'au moyen d'un dispositif de sécurité, qui comprend la vanne (50, 52, 58) pouvant être commandée, il est assuré que, pour retirer une vanne (12, 14) de sécurité pour du gaz du valve-bloc (10), la liaison conduisant du gaz à l'accumulateur (42) de pression raccordé respectivement est interrompue et la liaison conduisant à au moins une autre vanne (12, 14) de sécurité pour du gaz reste conservée de manière à ce qu'une liaison permanente conduisant du gaz entre cet accumulateur (42) de pression respectif et cette autre vanne (12, 14) de sécurité pour du gaz respective soit ménagée pendant l'opération de changement de la une vanne (12, 14) de sécurité pour du gaz et sa mise en fonctionnement à nouveau.
  2. Système de sécurité suivant la revendication 1, caractérisé en ce que l'accumulateur (42) de pression respectif est un récipient tenant la pression, qui est rempli exclusivement du fluide gazeux sous pression ou qui peut l'être, ou un hydro-accumulateur, dont l'organe (49) de séparation reçu dans l'enveloppe de l'accumulateur sépare un côté (45) pour du gaz d'un côté (47) pour du liquide.
  3. Système de sécurité suivant l'une des revendications précédentes, caractérisé en ce qu'à la base du dispositif de sécurité, il y a
    - un concept de verrouillage mécanique,
    - un concept de commande mécanique,
    - un concept de contrôle électrique ou
    - un concept d'actionnement commandé par puce
    pour la vanne (50, 52, 58) respective pouvant être commandée.
  4. Système de sécurité suivant la revendication 3, caractérisé en ce que, pour la réalisation du concept de verrouillage mécanique, il est prévu deux robinets (50, 52) à boisseau pouvant être actionnés à la main, qui sont raccordés de manière à conduire du gaz respectivement à une vanne (12, 14) de sécurité pour du gaz pouvant être associée et qui portent des disques (30a, 30b) de commande, qui assurent dans l'état verrouillé mutuellement qu'un robinet (50) à boisseau, dans sa position ouverte, relie en conduisant le gaz la vanne (12) de sécurité pour du gaz, qui lui appartient, à l'accumulateur (42) de pression par l'intermédiaire d'une liaison et que l'autre robinet (52) à boisseau, dans sa position de blocage, bloque, pour un retrait de la vanne (14) de sécurité pour du gaz, qui lui appartient, du valve-bloc (10), une autre liaison, qui lui appartient, allant à l'accumulateur (40a, 40b, 42) de pression respectif.
  5. Système de sécurité suivant la revendication 4, caractérisé en ce qu'au moyen de deux leviers (16, 18) à main des robinets (50, 52) à boisseau, à partir d'une direction d'ouverture commune, respectivement l'un des disques (30a, 30b) de commande peut être actionné en direction d'une position de fermeture du robinet (50, 52) à boisseau, disque qui a, du côté du pourtour extérieur, une découpe (32a, 32b), qui coopère avec une découpe (32a, 32b) constituée de manière correspondante sur le pourtour de l'autre disque (30a, 30b) de commande, de manière à rendre possible ou à bloquer un mouvement de rotation du robinet (50, 52) à boisseau respectif au moyen du levier (16, 18) à main, qui lui appartient.
  6. Système de sécurité suivant la revendication 5, caractérisé en ce que le disque (30a, 30b) de commande respectif coopère avec une limitation (35a, 35b) par butée du valve-bloc (10), de manière à ce que le levier (16, 18) à main puisse pivoter à partir d'un sens d'ouverture, parallèlement à la direction longitudinale de la vanne (12, 14) de sécurité respective pour du gaz, de 90° dans une position de blocage transversalement à cette direction longitudinale et inversement.
  7. Système de sécurité suivant la revendication 3, caractérisé en ce que, pour la réalisation du concept de commande mécanique, il est utilisé, comme vanne pouvant être commandée, un robinet (58) à boisseau à 3 voies qui, dans l'une de ses positions de manœuvre, relie en conduisant du gaz une vanne (12) de sécurité pour du gaz à l'accumulateur (42) de pression par une liaison et découple une autre vanne (14) de sécurité pour du gaz de l'accumulateur (42) de pression par blocage d'une autre liaison, qui lui appartient, et en ce que, dans autre position de manœuvre, l'autre vanne (14) de sécurité pour du gaz est reliée en conduisant du gaz à l'accumulateur (42) de pression par l'autre liaison et la une vanne (12) de sécurité pour du gaz est découplée par blocage de la une liaison.
  8. Système de sécurité suivant l'une des revendications 3 à 7, caractérisé en ce que, pour la réalisation du concept de contrôle électrique, au moyen d'un dispositif (60, 62) de capteurs, la position de la vanne (50, 58) respective pouvant être commandée est contrôlée en ce qui concerne sa position d'ouverture et/ou de fermeture, et en ce qu'un fonctionnement du système d'alimentation hydraulique n'est, par une commande supérieure hiérarchiquement, rendu possible que si le dispositif (60, 62) de capteurs constate et transmet à la commande que la liaison conduisant du gaz respective entre la vanne (12, 14) de sécurité pour du gaz et l'accumulateur (42) de pression est libérée par la vanne (50, 58) pouvant être commandée.
  9. Système de sécurité suivant l'une des revendications 3 à 8, caractérisé en ce que, pour la réalisation du concept d'actionnement commandé par puce, il est prévu une puce de commande qui, utilisée sur la commande du système d'alimentation hydraulique, on rend possible le fonctionnement, dont le retrait met à l'arrêt le système d'alimentation et dont l'insertion sur la vanne (50, 52, 58) pouvant être commandée, découple la vanne (12, 14) de sécurité pour du gaz respective pouvant être associée, du côté du gaz, de l'accumulateur (42) de pression par blocage de la liaison, qui lui appartient.
  10. Système de sécurité suivant l'une des revendications précédentes, caractérisé en ce que le valve-bloc (10) a au moins un autre raccord (22) d'alimentation, par lequel au moins un autre accumulateur (40a, 40b) de pression, de préférence un accumulateur de pression par du gaz, peut être raccordé, lequel, par une vanne (54) d'arrêt, montée à l'intérieur du valve-bloc (10), est reliée en conduisant du gaz dans sa position ouverte à l'accumulateur (42) de pression respectif en étant, de préférence, raccordée au côté (45) pour du gaz d'un accumulateur hydraulique.
  11. Système de sécurité suivant la revendication 10, caractérisé en ce que le valve-bloc (10) a au moins un autre point (24) de raccordement, auquel peut être raccordé un dispositif (28) de remplissage et de contrôle qui, par une liaison de remplissage et de contrôle dans le valve-bloc (10), est relié en conduisant du gaz directement à l'accumulateur (42) de pression respectif et en ce que cette liaison de remplissage et de contrôle est, par un clapet (56) antiretour, qui s'ouvre en direction de la vanne (50, 52, 58) respective pouvant être commandée, raccordé à une autre liaison entre l'autre accumulateur (40a, 40b) de pression respectif et l'accumulateur (42) de pression respectif.
EP18758832.2A 2017-08-12 2018-08-09 Système de sécurité pour un réservoir de pression Active EP3665415B1 (fr)

Applications Claiming Priority (2)

Application Number Priority Date Filing Date Title
DE102017007628.6A DE102017007628A1 (de) 2017-08-12 2017-08-12 Sicherheitssystem
PCT/EP2018/071644 WO2019034529A1 (fr) 2017-08-12 2018-08-09 Système de sécurité pour un accumulateur de pression

Publications (2)

Publication Number Publication Date
EP3665415A1 EP3665415A1 (fr) 2020-06-17
EP3665415B1 true EP3665415B1 (fr) 2022-12-28

Family

ID=63311986

Family Applications (1)

Application Number Title Priority Date Filing Date
EP18758832.2A Active EP3665415B1 (fr) 2017-08-12 2018-08-09 Système de sécurité pour un réservoir de pression

Country Status (7)

Country Link
US (1) US11112062B2 (fr)
EP (1) EP3665415B1 (fr)
JP (1) JP7261180B2 (fr)
KR (1) KR102608476B1 (fr)
CN (1) CN212029152U (fr)
DE (1) DE102017007628A1 (fr)
WO (1) WO2019034529A1 (fr)

Families Citing this family (7)

* Cited by examiner, † Cited by third party
Publication number Priority date Publication date Assignee Title
DE102017221073A1 (de) * 2017-11-24 2019-05-29 Bayerische Motoren Werke Aktiengesellschaft Sicherheitsventil für einen Druckbehälter mit einer Auslöseleitung sowie Druckbehältersystem
WO2022204745A1 (fr) * 2021-04-01 2022-10-06 Cryoshelter Gmbh Système de contrôle de la fiabilité de fonctionnement d'une soupape de surpression
CN113251012A (zh) * 2021-06-04 2021-08-13 萨驰智能装备股份有限公司 一种防爆液压系统及轮胎硫化机
DE102021130250A1 (de) 2021-11-19 2023-05-25 Bayerische Motoren Werke Aktiengesellschaft Ventilbaugruppe, Druckbehältersystem, Fahrzeug und Verfahren zum Ablassen von Brennstoff
US20240151358A1 (en) * 2022-11-07 2024-05-09 General Electric Company Integrated cryogenic hydrogen tank systems and methods for operating the same
CN116658471A (zh) * 2023-06-08 2023-08-29 阳春新钢铁有限责任公司 一种双高线立活套气缸阀台的快速切换装置及使用方法
CN118423318B (zh) * 2024-07-04 2024-09-27 江苏沙钢钢铁有限公司 一种液压蓄能器自动充气装置

Family Cites Families (10)

* Cited by examiner, † Cited by third party
Publication number Priority date Publication date Assignee Title
DE244387C (fr)
US4076176A (en) * 1976-12-27 1978-02-28 Allis-Chalmers Corporation Gas distribution manifold arrangement and methods for use with plurality of hydropneumatic hydraulic accumulators
DD244387A1 (de) * 1985-12-11 1987-04-01 Schwerin Hydraulik Schaltung fuer hydraulische druckspeichersysteme
JPH0516459Y2 (fr) * 1987-03-30 1993-04-30
DE102010008636A1 (de) * 2010-02-18 2011-08-18 Siemens Aktiengesellschaft, 80333 Vorrichtung zum Bereitstellen eines Versorgungsdruckes
FR2972504B1 (fr) * 2011-03-09 2014-06-27 Olaer Ind Sa Installation comportant au moins un accumulateur hydropneumatique a entretien automatise
JP5354051B2 (ja) * 2012-04-09 2013-11-27 ユニマテック株式会社 パーフルオロエラストマー組成物
WO2013183871A1 (fr) 2012-06-04 2013-12-12 영도산업 주식회사 Ensemble vanne de régulation de fluide
FR3024204B1 (fr) 2014-07-28 2016-07-15 Cahouet Dispositif de fermeture de vanne par actionnement du clapet de detente
DE102014013098B3 (de) * 2014-09-03 2015-12-03 Samson Aktiengesellschaft Stellungsregler für ein pneumatisches Stellgerät

Also Published As

Publication number Publication date
US11112062B2 (en) 2021-09-07
KR20200038939A (ko) 2020-04-14
JP2020529553A (ja) 2020-10-08
US20200149683A1 (en) 2020-05-14
WO2019034529A1 (fr) 2019-02-21
JP7261180B2 (ja) 2023-04-19
DE102017007628A1 (de) 2019-02-14
EP3665415A1 (fr) 2020-06-17
KR102608476B1 (ko) 2023-12-05
CN212029152U (zh) 2020-11-27

Similar Documents

Publication Publication Date Title
EP3665415B1 (fr) Système de sécurité pour un réservoir de pression
EP2728242B1 (fr) Système d'accumulation de pression et procédé de fonctionnement d'un système d'accumulation de pression
EP3713649A1 (fr) Installation d'extinction à eau et procédé correspondant pour le contrôle de l'installation d'extinction à eau
EP3178997A2 (fr) Ventileinheit für schnellwechsler sowie schnellwechselsystem
EP0054602B1 (fr) Soupape d'arrêt contrôlée par son propre fluide
EP3256743A1 (fr) Soupape pourvue d'un tiroir de distribution guidé mobile longitudinalement dans un corps de soupape
DE2541734A1 (de) Rohrbruchsicherheitseinrichtung fuer erdgasleitungen u.dgl.
DE102014010174B4 (de) Elektrohydraulisches Lenksystem und mobile Arbeitsmaschine
DE4222864C2 (de) Sicherheitseinrichtung für Anschlüsse und/oder Ventile
DE102005019783A1 (de) Niveauregelanlage für ein Kraftfahrzeug
DE202011109158U1 (de) Elektrohydraulische Sicherheitssteuerung
EP3524862B1 (fr) Dispositif de commutation
DE102014215719A1 (de) Tankeinrichtung in einem Fahrzeug
WO2018082939A2 (fr) Dispositif, commande et module de filtre permettant de produire des pièces moulées sous pression, ainsi que procédé associé
DE102022111767B3 (de) Schwenkgelenk für einen Roboter
DE29710127U1 (de) Elektrohydraulische Spannvorrichtung
DE102016008106A1 (de) Tankventil
WO2015185619A2 (fr) Vanne multivoies, en particulier vanne à 6/2 voies, et agencement de vannes multivoies
DE102012105350A1 (de) Ventil für eine Getränkeabfüllanlage, bevorzugt Ventil für ein Füllorgan einer Getränkeabfüllanlage
DE1584148C3 (fr)
DE202019102432U1 (de) Filtervorrichtung zum Filtern von Fluiden
EP1271027B1 (fr) Dispositif de soupape
EP4574221A1 (fr) Vanne automatique pour systèmes de lutte contre l'incendie et de lutte contre l'incendie
WO2023285239A1 (fr) Soupape d'arrêt pour un système de fluide sous pression d'un véhicule ferroviaire, système de fluide sous pression pour un véhicule ferroviaire, et véhicule ferroviaire
EP3091239A1 (fr) Dispositif de securite

Legal Events

Date Code Title Description
STAA Information on the status of an ep patent application or granted ep patent

Free format text: STATUS: UNKNOWN

STAA Information on the status of an ep patent application or granted ep patent

Free format text: STATUS: THE INTERNATIONAL PUBLICATION HAS BEEN MADE

PUAI Public reference made under article 153(3) epc to a published international application that has entered the european phase

Free format text: ORIGINAL CODE: 0009012

STAA Information on the status of an ep patent application or granted ep patent

Free format text: STATUS: REQUEST FOR EXAMINATION WAS MADE

17P Request for examination filed

Effective date: 20200312

AK Designated contracting states

Kind code of ref document: A1

Designated state(s): AL AT BE BG CH CY CZ DE DK EE ES FI FR GB GR HR HU IE IS IT LI LT LU LV MC MK MT NL NO PL PT RO RS SE SI SK SM TR

AX Request for extension of the european patent

Extension state: BA ME

DAV Request for validation of the european patent (deleted)
DAX Request for extension of the european patent (deleted)
RAP3 Party data changed (applicant data changed or rights of an application transferred)

Owner name: HYDAC TECHNOLOGY GMBH

GRAP Despatch of communication of intention to grant a patent

Free format text: ORIGINAL CODE: EPIDOSNIGR1

STAA Information on the status of an ep patent application or granted ep patent

Free format text: STATUS: GRANT OF PATENT IS INTENDED

INTG Intention to grant announced

Effective date: 20220930

GRAS Grant fee paid

Free format text: ORIGINAL CODE: EPIDOSNIGR3

GRAA (expected) grant

Free format text: ORIGINAL CODE: 0009210

STAA Information on the status of an ep patent application or granted ep patent

Free format text: STATUS: THE PATENT HAS BEEN GRANTED

AK Designated contracting states

Kind code of ref document: B1

Designated state(s): AL AT BE BG CH CY CZ DE DK EE ES FI FR GB GR HR HU IE IS IT LI LT LU LV MC MK MT NL NO PL PT RO RS SE SI SK SM TR

REG Reference to a national code

Ref country code: GB

Ref legal event code: FG4D

Free format text: NOT ENGLISH

REG Reference to a national code

Ref country code: CH

Ref legal event code: EP

REG Reference to a national code

Ref country code: DE

Ref legal event code: R096

Ref document number: 502018011327

Country of ref document: DE

REG Reference to a national code

Ref country code: AT

Ref legal event code: REF

Ref document number: 1540722

Country of ref document: AT

Kind code of ref document: T

Effective date: 20230115

REG Reference to a national code

Ref country code: IE

Ref legal event code: FG4D

Free format text: LANGUAGE OF EP DOCUMENT: GERMAN

REG Reference to a national code

Ref country code: LT

Ref legal event code: MG9D

PG25 Lapsed in a contracting state [announced via postgrant information from national office to epo]

Ref country code: SE

Free format text: LAPSE BECAUSE OF FAILURE TO SUBMIT A TRANSLATION OF THE DESCRIPTION OR TO PAY THE FEE WITHIN THE PRESCRIBED TIME-LIMIT

Effective date: 20221228

Ref country code: NO

Free format text: LAPSE BECAUSE OF FAILURE TO SUBMIT A TRANSLATION OF THE DESCRIPTION OR TO PAY THE FEE WITHIN THE PRESCRIBED TIME-LIMIT

Effective date: 20230328

Ref country code: LT

Free format text: LAPSE BECAUSE OF FAILURE TO SUBMIT A TRANSLATION OF THE DESCRIPTION OR TO PAY THE FEE WITHIN THE PRESCRIBED TIME-LIMIT

Effective date: 20221228

Ref country code: FI

Free format text: LAPSE BECAUSE OF FAILURE TO SUBMIT A TRANSLATION OF THE DESCRIPTION OR TO PAY THE FEE WITHIN THE PRESCRIBED TIME-LIMIT

Effective date: 20221228

REG Reference to a national code

Ref country code: NL

Ref legal event code: MP

Effective date: 20221228

PG25 Lapsed in a contracting state [announced via postgrant information from national office to epo]

Ref country code: RS

Free format text: LAPSE BECAUSE OF FAILURE TO SUBMIT A TRANSLATION OF THE DESCRIPTION OR TO PAY THE FEE WITHIN THE PRESCRIBED TIME-LIMIT

Effective date: 20221228

Ref country code: LV

Free format text: LAPSE BECAUSE OF FAILURE TO SUBMIT A TRANSLATION OF THE DESCRIPTION OR TO PAY THE FEE WITHIN THE PRESCRIBED TIME-LIMIT

Effective date: 20221228

Ref country code: HR

Free format text: LAPSE BECAUSE OF FAILURE TO SUBMIT A TRANSLATION OF THE DESCRIPTION OR TO PAY THE FEE WITHIN THE PRESCRIBED TIME-LIMIT

Effective date: 20221228

Ref country code: GR

Free format text: LAPSE BECAUSE OF FAILURE TO SUBMIT A TRANSLATION OF THE DESCRIPTION OR TO PAY THE FEE WITHIN THE PRESCRIBED TIME-LIMIT

Effective date: 20230329

PG25 Lapsed in a contracting state [announced via postgrant information from national office to epo]

Ref country code: NL

Free format text: LAPSE BECAUSE OF FAILURE TO SUBMIT A TRANSLATION OF THE DESCRIPTION OR TO PAY THE FEE WITHIN THE PRESCRIBED TIME-LIMIT

Effective date: 20221228

PG25 Lapsed in a contracting state [announced via postgrant information from national office to epo]

Ref country code: SM

Free format text: LAPSE BECAUSE OF FAILURE TO SUBMIT A TRANSLATION OF THE DESCRIPTION OR TO PAY THE FEE WITHIN THE PRESCRIBED TIME-LIMIT

Effective date: 20221228

Ref country code: RO

Free format text: LAPSE BECAUSE OF FAILURE TO SUBMIT A TRANSLATION OF THE DESCRIPTION OR TO PAY THE FEE WITHIN THE PRESCRIBED TIME-LIMIT

Effective date: 20221228

Ref country code: PT

Free format text: LAPSE BECAUSE OF FAILURE TO SUBMIT A TRANSLATION OF THE DESCRIPTION OR TO PAY THE FEE WITHIN THE PRESCRIBED TIME-LIMIT

Effective date: 20230428

Ref country code: ES

Free format text: LAPSE BECAUSE OF FAILURE TO SUBMIT A TRANSLATION OF THE DESCRIPTION OR TO PAY THE FEE WITHIN THE PRESCRIBED TIME-LIMIT

Effective date: 20221228

Ref country code: EE

Free format text: LAPSE BECAUSE OF FAILURE TO SUBMIT A TRANSLATION OF THE DESCRIPTION OR TO PAY THE FEE WITHIN THE PRESCRIBED TIME-LIMIT

Effective date: 20221228

Ref country code: CZ

Free format text: LAPSE BECAUSE OF FAILURE TO SUBMIT A TRANSLATION OF THE DESCRIPTION OR TO PAY THE FEE WITHIN THE PRESCRIBED TIME-LIMIT

Effective date: 20221228

PG25 Lapsed in a contracting state [announced via postgrant information from national office to epo]

Ref country code: SK

Free format text: LAPSE BECAUSE OF FAILURE TO SUBMIT A TRANSLATION OF THE DESCRIPTION OR TO PAY THE FEE WITHIN THE PRESCRIBED TIME-LIMIT

Effective date: 20221228

Ref country code: PL

Free format text: LAPSE BECAUSE OF FAILURE TO SUBMIT A TRANSLATION OF THE DESCRIPTION OR TO PAY THE FEE WITHIN THE PRESCRIBED TIME-LIMIT

Effective date: 20221228

Ref country code: IS

Free format text: LAPSE BECAUSE OF FAILURE TO SUBMIT A TRANSLATION OF THE DESCRIPTION OR TO PAY THE FEE WITHIN THE PRESCRIBED TIME-LIMIT

Effective date: 20230428

Ref country code: AL

Free format text: LAPSE BECAUSE OF FAILURE TO SUBMIT A TRANSLATION OF THE DESCRIPTION OR TO PAY THE FEE WITHIN THE PRESCRIBED TIME-LIMIT

Effective date: 20221228

REG Reference to a national code

Ref country code: DE

Ref legal event code: R097

Ref document number: 502018011327

Country of ref document: DE

PG25 Lapsed in a contracting state [announced via postgrant information from national office to epo]

Ref country code: DK

Free format text: LAPSE BECAUSE OF FAILURE TO SUBMIT A TRANSLATION OF THE DESCRIPTION OR TO PAY THE FEE WITHIN THE PRESCRIBED TIME-LIMIT

Effective date: 20221228

PLBE No opposition filed within time limit

Free format text: ORIGINAL CODE: 0009261

STAA Information on the status of an ep patent application or granted ep patent

Free format text: STATUS: NO OPPOSITION FILED WITHIN TIME LIMIT

26N No opposition filed

Effective date: 20230929

PG25 Lapsed in a contracting state [announced via postgrant information from national office to epo]

Ref country code: SI

Free format text: LAPSE BECAUSE OF FAILURE TO SUBMIT A TRANSLATION OF THE DESCRIPTION OR TO PAY THE FEE WITHIN THE PRESCRIBED TIME-LIMIT

Effective date: 20221228

PG25 Lapsed in a contracting state [announced via postgrant information from national office to epo]

Ref country code: MC

Free format text: LAPSE BECAUSE OF FAILURE TO SUBMIT A TRANSLATION OF THE DESCRIPTION OR TO PAY THE FEE WITHIN THE PRESCRIBED TIME-LIMIT

Effective date: 20221228

REG Reference to a national code

Ref country code: CH

Ref legal event code: PL

PG25 Lapsed in a contracting state [announced via postgrant information from national office to epo]

Ref country code: MC

Free format text: LAPSE BECAUSE OF FAILURE TO SUBMIT A TRANSLATION OF THE DESCRIPTION OR TO PAY THE FEE WITHIN THE PRESCRIBED TIME-LIMIT

Effective date: 20221228

PG25 Lapsed in a contracting state [announced via postgrant information from national office to epo]

Ref country code: LU

Free format text: LAPSE BECAUSE OF NON-PAYMENT OF DUE FEES

Effective date: 20230809

PG25 Lapsed in a contracting state [announced via postgrant information from national office to epo]

Ref country code: LU

Free format text: LAPSE BECAUSE OF NON-PAYMENT OF DUE FEES

Effective date: 20230809

Ref country code: CH

Free format text: LAPSE BECAUSE OF NON-PAYMENT OF DUE FEES

Effective date: 20230831

REG Reference to a national code

Ref country code: BE

Ref legal event code: MM

Effective date: 20230831

REG Reference to a national code

Ref country code: IE

Ref legal event code: MM4A

PG25 Lapsed in a contracting state [announced via postgrant information from national office to epo]

Ref country code: IE

Free format text: LAPSE BECAUSE OF NON-PAYMENT OF DUE FEES

Effective date: 20230809

PG25 Lapsed in a contracting state [announced via postgrant information from national office to epo]

Ref country code: IE

Free format text: LAPSE BECAUSE OF NON-PAYMENT OF DUE FEES

Effective date: 20230809

PG25 Lapsed in a contracting state [announced via postgrant information from national office to epo]

Ref country code: BE

Free format text: LAPSE BECAUSE OF NON-PAYMENT OF DUE FEES

Effective date: 20230831

REG Reference to a national code

Ref country code: AT

Ref legal event code: MM01

Ref document number: 1540722

Country of ref document: AT

Kind code of ref document: T

Effective date: 20230809

PG25 Lapsed in a contracting state [announced via postgrant information from national office to epo]

Ref country code: AT

Free format text: LAPSE BECAUSE OF NON-PAYMENT OF DUE FEES

Effective date: 20230809

PG25 Lapsed in a contracting state [announced via postgrant information from national office to epo]

Ref country code: AT

Free format text: LAPSE BECAUSE OF NON-PAYMENT OF DUE FEES

Effective date: 20230809

PG25 Lapsed in a contracting state [announced via postgrant information from national office to epo]

Ref country code: BG

Free format text: LAPSE BECAUSE OF FAILURE TO SUBMIT A TRANSLATION OF THE DESCRIPTION OR TO PAY THE FEE WITHIN THE PRESCRIBED TIME-LIMIT

Effective date: 20221228

PG25 Lapsed in a contracting state [announced via postgrant information from national office to epo]

Ref country code: BG

Free format text: LAPSE BECAUSE OF FAILURE TO SUBMIT A TRANSLATION OF THE DESCRIPTION OR TO PAY THE FEE WITHIN THE PRESCRIBED TIME-LIMIT

Effective date: 20221228

PGFP Annual fee paid to national office [announced via postgrant information from national office to epo]

Ref country code: GB

Payment date: 20250611

Year of fee payment: 8

PG25 Lapsed in a contracting state [announced via postgrant information from national office to epo]

Ref country code: CY

Free format text: LAPSE BECAUSE OF FAILURE TO SUBMIT A TRANSLATION OF THE DESCRIPTION OR TO PAY THE FEE WITHIN THE PRESCRIBED TIME-LIMIT; INVALID AB INITIO

Effective date: 20180809

PG25 Lapsed in a contracting state [announced via postgrant information from national office to epo]

Ref country code: HU

Free format text: LAPSE BECAUSE OF FAILURE TO SUBMIT A TRANSLATION OF THE DESCRIPTION OR TO PAY THE FEE WITHIN THE PRESCRIBED TIME-LIMIT; INVALID AB INITIO

Effective date: 20180809

PGFP Annual fee paid to national office [announced via postgrant information from national office to epo]

Ref country code: DE

Payment date: 20250831

Year of fee payment: 8

PGFP Annual fee paid to national office [announced via postgrant information from national office to epo]

Ref country code: IT

Payment date: 20250710

Year of fee payment: 8

PGFP Annual fee paid to national office [announced via postgrant information from national office to epo]

Ref country code: FR

Payment date: 20250722

Year of fee payment: 8

PG25 Lapsed in a contracting state [announced via postgrant information from national office to epo]

Ref country code: TR

Free format text: LAPSE BECAUSE OF FAILURE TO SUBMIT A TRANSLATION OF THE DESCRIPTION OR TO PAY THE FEE WITHIN THE PRESCRIBED TIME-LIMIT

Effective date: 20221228