EP3633074A1 - Kathodenplatte für metallgalvanotechnik und herstellungsverfahren dafür - Google Patents

Kathodenplatte für metallgalvanotechnik und herstellungsverfahren dafür Download PDF

Info

Publication number
EP3633074A1
EP3633074A1 EP18809926.1A EP18809926A EP3633074A1 EP 3633074 A1 EP3633074 A1 EP 3633074A1 EP 18809926 A EP18809926 A EP 18809926A EP 3633074 A1 EP3633074 A1 EP 3633074A1
Authority
EP
European Patent Office
Prior art keywords
conductive film
cathode plate
protrusion
section
metal plate
Prior art date
Legal status (The legal status is an assumption and is not a legal conclusion. Google has not performed a legal analysis and makes no representation as to the accuracy of the status listed.)
Granted
Application number
EP18809926.1A
Other languages
English (en)
French (fr)
Other versions
EP3633074B1 (de
EP3633074A4 (de
Inventor
Hiroto Watanabe
Itsumi Matsuoka
Yusuke SENBA
Hiroshi Kobayashi
Current Assignee (The listed assignees may be inaccurate. Google has not performed a legal analysis and makes no representation or warranty as to the accuracy of the list.)
Sumitomo Metal Mining Co Ltd
Original Assignee
Sumitomo Metal Mining Co Ltd
Priority date (The priority date is an assumption and is not a legal conclusion. Google has not performed a legal analysis and makes no representation as to the accuracy of the date listed.)
Filing date
Publication date
Application filed by Sumitomo Metal Mining Co Ltd filed Critical Sumitomo Metal Mining Co Ltd
Publication of EP3633074A1 publication Critical patent/EP3633074A1/de
Publication of EP3633074A4 publication Critical patent/EP3633074A4/de
Application granted granted Critical
Publication of EP3633074B1 publication Critical patent/EP3633074B1/de
Active legal-status Critical Current
Anticipated expiration legal-status Critical

Links

Images

Classifications

    • CCHEMISTRY; METALLURGY
    • C25ELECTROLYTIC OR ELECTROPHORETIC PROCESSES; APPARATUS THEREFOR
    • C25DPROCESSES FOR THE ELECTROLYTIC OR ELECTROPHORETIC PRODUCTION OF COATINGS; ELECTROFORMING; APPARATUS THEREFOR
    • C25D17/00Constructional parts, or assemblies thereof, of cells for electrolytic coating
    • C25D17/16Apparatus for electrolytic coating of small objects in bulk
    • CCHEMISTRY; METALLURGY
    • C23COATING METALLIC MATERIAL; COATING MATERIAL WITH METALLIC MATERIAL; CHEMICAL SURFACE TREATMENT; DIFFUSION TREATMENT OF METALLIC MATERIAL; COATING BY VACUUM EVAPORATION, BY SPUTTERING, BY ION IMPLANTATION OR BY CHEMICAL VAPOUR DEPOSITION, IN GENERAL; INHIBITING CORROSION OF METALLIC MATERIAL OR INCRUSTATION IN GENERAL
    • C23FNON-MECHANICAL REMOVAL OF METALLIC MATERIAL FROM SURFACE; INHIBITING CORROSION OF METALLIC MATERIAL OR INCRUSTATION IN GENERAL; MULTI-STEP PROCESSES FOR SURFACE TREATMENT OF METALLIC MATERIAL INVOLVING AT LEAST ONE PROCESS PROVIDED FOR IN CLASS C23 AND AT LEAST ONE PROCESS COVERED BY SUBCLASS C21D OR C22F OR CLASS C25
    • C23F1/00Etching metallic material by chemical means
    • C23F1/02Local etching
    • CCHEMISTRY; METALLURGY
    • C23COATING METALLIC MATERIAL; COATING MATERIAL WITH METALLIC MATERIAL; CHEMICAL SURFACE TREATMENT; DIFFUSION TREATMENT OF METALLIC MATERIAL; COATING BY VACUUM EVAPORATION, BY SPUTTERING, BY ION IMPLANTATION OR BY CHEMICAL VAPOUR DEPOSITION, IN GENERAL; INHIBITING CORROSION OF METALLIC MATERIAL OR INCRUSTATION IN GENERAL
    • C23FNON-MECHANICAL REMOVAL OF METALLIC MATERIAL FROM SURFACE; INHIBITING CORROSION OF METALLIC MATERIAL OR INCRUSTATION IN GENERAL; MULTI-STEP PROCESSES FOR SURFACE TREATMENT OF METALLIC MATERIAL INVOLVING AT LEAST ONE PROCESS PROVIDED FOR IN CLASS C23 AND AT LEAST ONE PROCESS COVERED BY SUBCLASS C21D OR C22F OR CLASS C25
    • C23F1/00Etching metallic material by chemical means
    • C23F1/02Local etching
    • C23F1/04Chemical milling
    • CCHEMISTRY; METALLURGY
    • C25ELECTROLYTIC OR ELECTROPHORETIC PROCESSES; APPARATUS THEREFOR
    • C25CPROCESSES FOR THE ELECTROLYTIC PRODUCTION, RECOVERY OR REFINING OF METALS; APPARATUS THEREFOR
    • C25C1/00Electrolytic production, recovery or refining of metals by electrolysis of solutions
    • C25C1/06Electrolytic production, recovery or refining of metals by electrolysis of solutions or iron group metals, refractory metals or manganese
    • C25C1/08Electrolytic production, recovery or refining of metals by electrolysis of solutions or iron group metals, refractory metals or manganese of nickel or cobalt
    • CCHEMISTRY; METALLURGY
    • C25ELECTROLYTIC OR ELECTROPHORETIC PROCESSES; APPARATUS THEREFOR
    • C25CPROCESSES FOR THE ELECTROLYTIC PRODUCTION, RECOVERY OR REFINING OF METALS; APPARATUS THEREFOR
    • C25C7/00Constructional parts, or assemblies thereof, of cells; Servicing or operating of cells
    • C25C7/02Electrodes; Connections thereof
    • CCHEMISTRY; METALLURGY
    • C25ELECTROLYTIC OR ELECTROPHORETIC PROCESSES; APPARATUS THEREFOR
    • C25DPROCESSES FOR THE ELECTROLYTIC OR ELECTROPHORETIC PRODUCTION OF COATINGS; ELECTROFORMING; APPARATUS THEREFOR
    • C25D1/00Electroforming
    • C25D1/0033D structures, e.g. superposed patterned layers
    • CCHEMISTRY; METALLURGY
    • C25ELECTROLYTIC OR ELECTROPHORETIC PROCESSES; APPARATUS THEREFOR
    • C25DPROCESSES FOR THE ELECTROLYTIC OR ELECTROPHORETIC PRODUCTION OF COATINGS; ELECTROFORMING; APPARATUS THEREFOR
    • C25D1/00Electroforming
    • C25D1/20Separation of the formed objects from the electrodes with no destruction of said electrodes
    • CCHEMISTRY; METALLURGY
    • C25ELECTROLYTIC OR ELECTROPHORETIC PROCESSES; APPARATUS THEREFOR
    • C25DPROCESSES FOR THE ELECTROLYTIC OR ELECTROPHORETIC PRODUCTION OF COATINGS; ELECTROFORMING; APPARATUS THEREFOR
    • C25D17/00Constructional parts, or assemblies thereof, of cells for electrolytic coating
    • C25D17/10Electrodes, e.g. composition, counter electrode
    • C25D17/12Shape or form

Definitions

  • the small mass-shaped electric nickel for example, can be manufactured by using a cathode plate on which a plurality of circular conductive sections are arranged at regular intervals, by precipitating nickel on the conductive section with electrolysis, and then, by peeling off electrodeposited nickel from the conductive section. According to such a method, it is possible to effectively manufacture a plurality of small mass-shaped electric nickels from one cathode plate.
  • the present invention has been made in consideration of such circumstances of the related art, an object thereof is to provide a cathode plate for metal electrodeposition in which a non-conductive film on a metal plate is less likely to be lost, and thus, can be repeatedly used, and even in a case where the non-conductive film is lost, maintenance becomes easy, and a manufacturing method for the same.
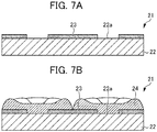
  • the non-conductive film 3 is not particularly limited insofar as the non-conductive film has non-conductivity, and is formed of a material that is less corrosive with respect to an electrolysis solution to be used.
  • the non-conductive film 3 is configured of a thermosetting resin or a photocurable resin (an ultraviolet curable resin or the like), from the viewpoint of easy film formation.
  • an insulating resin such as an epoxy-based resin, a phenolic resin, a polyamide-based resin, a polyimide-based resin is exemplified.
  • the cathode plate 1 was prepared as with Example 1, except that the height L1 of the protrusion 2a of the metal plate 2 was 40 ⁇ m.
  • the height L2 of the substantially vertical section 2d was measured by the laser displacement meter, and thus, was 30 ⁇ m on average
  • the height L3 of the inclined section 2e was 10 ⁇ m on average
  • the length L4 of the inclined section 2e was 50 ⁇ m on average.

Landscapes

  • Chemical & Material Sciences (AREA)
  • Organic Chemistry (AREA)
  • Engineering & Computer Science (AREA)
  • Chemical Kinetics & Catalysis (AREA)
  • Materials Engineering (AREA)
  • Metallurgy (AREA)
  • Electrochemistry (AREA)
  • General Chemical & Material Sciences (AREA)
  • Mechanical Engineering (AREA)
  • Crystallography & Structural Chemistry (AREA)
  • Electrolytic Production Of Metals (AREA)
  • ing And Chemical Polishing (AREA)
  • Milling Processes (AREA)
EP18809926.1A 2017-05-29 2018-03-29 Kathodenplatte für metallgalvanotechnik und herstellungsverfahren dafür Active EP3633074B1 (de)

Applications Claiming Priority (2)

Application Number Priority Date Filing Date Title
JP2017105796A JP6500937B2 (ja) 2017-05-29 2017-05-29 金属電着用陰極板及びその製造方法
PCT/JP2018/013187 WO2018220979A1 (ja) 2017-05-29 2018-03-29 金属電着用陰極板及びその製造方法

Publications (3)

Publication Number Publication Date
EP3633074A1 true EP3633074A1 (de) 2020-04-08
EP3633074A4 EP3633074A4 (de) 2021-03-10
EP3633074B1 EP3633074B1 (de) 2022-10-05

Family

ID=64454726

Family Applications (1)

Application Number Title Priority Date Filing Date
EP18809926.1A Active EP3633074B1 (de) 2017-05-29 2018-03-29 Kathodenplatte für metallgalvanotechnik und herstellungsverfahren dafür

Country Status (5)

Country Link
EP (1) EP3633074B1 (de)
JP (1) JP6500937B2 (de)
CN (1) CN110546310B (de)
CA (1) CA3064525C (de)
WO (1) WO2018220979A1 (de)

Families Citing this family (6)

* Cited by examiner, † Cited by third party
Publication number Priority date Publication date Assignee Title
JP7188219B2 (ja) * 2019-03-25 2022-12-13 住友金属鉱山株式会社 金属電着用の陰極板
JP7188216B2 (ja) * 2019-03-25 2022-12-13 住友金属鉱山株式会社 金属電着用の陰極板の製造方法
JP7188217B2 (ja) * 2019-03-25 2022-12-13 住友金属鉱山株式会社 金属電着用の陰極板の製造方法
JP7238524B2 (ja) * 2019-03-25 2023-03-14 住友金属鉱山株式会社 金属電着用の陰極板
JP7188218B2 (ja) * 2019-03-25 2022-12-13 住友金属鉱山株式会社 金属電着用の陰極板
JP2021095594A (ja) * 2019-12-13 2021-06-24 住友金属鉱山株式会社 ボタン型電気ニッケルの製造方法

Family Cites Families (9)

* Cited by examiner, † Cited by third party
Publication number Priority date Publication date Assignee Title
US3668081A (en) * 1971-03-17 1972-06-06 Int Nickel Co Production of electrolytic metal
GB1573449A (en) * 1976-04-01 1980-08-20 Falconbridge Nickel Mines Ltd Reusable electrolysis cathode
US4040915A (en) * 1976-06-15 1977-08-09 The International Nickel Company, Inc. Method for producing regular electronickel or S nickel rounds from electroplating baths giving highly stressed deposits
JPS6038678Y2 (ja) * 1981-05-15 1985-11-19 住友金属鉱山株式会社 金属電着用母板
JPH10317197A (ja) * 1997-05-14 1998-12-02 Sumitomo Metal Mining Co Ltd メッキ用電気ニッケル、その製造用陰極板及び製造方法
CN1218071C (zh) * 2000-06-30 2005-09-07 霍尼韦尔国际公司 用于加工金属的方法和设备以及由此生产出的金属
AU2009291494B2 (en) * 2008-09-09 2015-05-07 Glencore Technology Pty Limited A cathode and a method of forming a cathode
KR101664540B1 (ko) * 2014-04-02 2016-10-25 오씨아이 주식회사 전해 도금용 전극 및 이를 포함하는 전해 도금 장치
KR101894427B1 (ko) * 2014-07-15 2018-09-04 드 노라 페르멜렉 가부시키가이샤 전해용 음극 및 전해용 음극의 제조 방법

Also Published As

Publication number Publication date
JP2018199857A (ja) 2018-12-20
CN110546310B (zh) 2020-09-15
CA3064525A1 (en) 2018-12-06
JP6500937B2 (ja) 2019-04-17
CA3064525C (en) 2020-03-24
CN110546310A (zh) 2019-12-06
WO2018220979A1 (ja) 2018-12-06
EP3633074B1 (de) 2022-10-05
EP3633074A4 (de) 2021-03-10

Similar Documents

Publication Publication Date Title
EP3633074B1 (de) Kathodenplatte für metallgalvanotechnik und herstellungsverfahren dafür
CN102149855B (zh) 电铸方法
EP3489395A1 (de) Metallische elektrotauchkathodenplatte und herstellungsverfahren dafür
KR101889165B1 (ko) 증착용 마스크 제조방법, 이에 의해 제조된 증착용 마스크 및 이를 이용한 유기 발광 소자 제조방법
CN101899699A (zh) 电解金属箔制造装置和用于该装置的电极的制造方法以及使用该装置得到的电解金属箔
US20200095697A1 (en) Manufacturing Apparatus of Electrolytic Copper Foil
US3695927A (en) Electrodeposition process for producing perforated foils with raised portions at the edges of the holes
KR20180072494A (ko) 철-니켈 합금 포일 제조장치
JP2018012864A (ja) 金属電着用陰極板及びその製造方法
KR101282327B1 (ko) 미세 금속 패턴을 가지는 필름 제조 방법
CN101713086B (zh) 一种连接器端子电镀模具
JP7188217B2 (ja) 金属電着用の陰極板の製造方法
JP7188216B2 (ja) 金属電着用の陰極板の製造方法
JP7188218B2 (ja) 金属電着用の陰極板
JP2019108592A (ja) ボタン型電気ニッケルの製造用母板、その製造方法、及びそれを用いたボタン型電気ニッケルの製造方法
JP7238524B2 (ja) 金属電着用の陰極板
JP7188219B2 (ja) 金属電着用の陰極板
JP6737036B2 (ja) 金属電着用陰極板及びその製造方法
JP6737035B2 (ja) 金属電着用陰極板及びその製造方法
US8012329B2 (en) Dimensional control in electroforms
CN113416924B (zh) 遮罩、遮罩的制造方法及用于制造遮罩的母模
JP6760191B2 (ja) 特殊形状電着物の製造方法
TW202120328A (zh) 孔洞結構及其製作方法以及包含孔洞結構之異材質接合結構及其製作方法
JP2003082491A (ja) 微細電鋳用金型とその製造方法

Legal Events

Date Code Title Description
STAA Information on the status of an ep patent application or granted ep patent

Free format text: STATUS: THE INTERNATIONAL PUBLICATION HAS BEEN MADE

PUAI Public reference made under article 153(3) epc to a published international application that has entered the european phase

Free format text: ORIGINAL CODE: 0009012

STAA Information on the status of an ep patent application or granted ep patent

Free format text: STATUS: REQUEST FOR EXAMINATION WAS MADE

17P Request for examination filed

Effective date: 20191218

AK Designated contracting states

Kind code of ref document: A1

Designated state(s): AL AT BE BG CH CY CZ DE DK EE ES FI FR GB GR HR HU IE IS IT LI LT LU LV MC MK MT NL NO PL PT RO RS SE SI SK SM TR

AX Request for extension of the european patent

Extension state: BA ME

DAV Request for validation of the european patent (deleted)
DAX Request for extension of the european patent (deleted)
A4 Supplementary search report drawn up and despatched

Effective date: 20210208

RIC1 Information provided on ipc code assigned before grant

Ipc: C25C 7/02 20060101AFI20210202BHEP

Ipc: C25D 17/12 20060101ALI20210202BHEP

Ipc: C25D 1/20 20060101ALI20210202BHEP

Ipc: C23F 1/02 20060101ALI20210202BHEP

Ipc: C25D 17/16 20060101ALI20210202BHEP

Ipc: C25C 1/08 20060101ALI20210202BHEP

Ipc: C25D 1/00 20060101ALI20210202BHEP

STAA Information on the status of an ep patent application or granted ep patent

Free format text: STATUS: EXAMINATION IS IN PROGRESS

17Q First examination report despatched

Effective date: 20211104

RIC1 Information provided on ipc code assigned before grant

Ipc: C23F 1/04 20060101ALI20220524BHEP

Ipc: C25D 17/16 20060101ALI20220524BHEP

Ipc: C25D 1/20 20060101ALI20220524BHEP

Ipc: C25D 1/00 20060101ALI20220524BHEP

Ipc: C25D 17/12 20060101ALI20220524BHEP

Ipc: C25C 1/08 20060101ALI20220524BHEP

Ipc: C23F 1/02 20060101ALI20220524BHEP

Ipc: C25C 7/02 20060101AFI20220524BHEP

GRAP Despatch of communication of intention to grant a patent

Free format text: ORIGINAL CODE: EPIDOSNIGR1

STAA Information on the status of an ep patent application or granted ep patent

Free format text: STATUS: GRANT OF PATENT IS INTENDED

INTG Intention to grant announced

Effective date: 20220704

GRAS Grant fee paid

Free format text: ORIGINAL CODE: EPIDOSNIGR3

GRAA (expected) grant

Free format text: ORIGINAL CODE: 0009210

STAA Information on the status of an ep patent application or granted ep patent

Free format text: STATUS: THE PATENT HAS BEEN GRANTED

AK Designated contracting states

Kind code of ref document: B1

Designated state(s): AL AT BE BG CH CY CZ DE DK EE ES FI FR GB GR HR HU IE IS IT LI LT LU LV MC MK MT NL NO PL PT RO RS SE SI SK SM TR

REG Reference to a national code

Ref country code: GB

Ref legal event code: FG4D

REG Reference to a national code

Ref country code: CH

Ref legal event code: EP

REG Reference to a national code

Ref country code: AT

Ref legal event code: REF

Ref document number: 1522807

Country of ref document: AT

Kind code of ref document: T

Effective date: 20221015

REG Reference to a national code

Ref country code: IE

Ref legal event code: FG4D

REG Reference to a national code

Ref country code: DE

Ref legal event code: R096

Ref document number: 602018041478

Country of ref document: DE

REG Reference to a national code

Ref country code: NO

Ref legal event code: T2

Effective date: 20221005

REG Reference to a national code

Ref country code: LT

Ref legal event code: MG9D

REG Reference to a national code

Ref country code: NL

Ref legal event code: MP

Effective date: 20221005

REG Reference to a national code

Ref country code: AT

Ref legal event code: MK05

Ref document number: 1522807

Country of ref document: AT

Kind code of ref document: T

Effective date: 20221005

PG25 Lapsed in a contracting state [announced via postgrant information from national office to epo]

Ref country code: NL

Free format text: LAPSE BECAUSE OF FAILURE TO SUBMIT A TRANSLATION OF THE DESCRIPTION OR TO PAY THE FEE WITHIN THE PRESCRIBED TIME-LIMIT

Effective date: 20221005

PG25 Lapsed in a contracting state [announced via postgrant information from national office to epo]

Ref country code: SE

Free format text: LAPSE BECAUSE OF FAILURE TO SUBMIT A TRANSLATION OF THE DESCRIPTION OR TO PAY THE FEE WITHIN THE PRESCRIBED TIME-LIMIT

Effective date: 20221005

Ref country code: PT

Free format text: LAPSE BECAUSE OF FAILURE TO SUBMIT A TRANSLATION OF THE DESCRIPTION OR TO PAY THE FEE WITHIN THE PRESCRIBED TIME-LIMIT

Effective date: 20230206

Ref country code: LT

Free format text: LAPSE BECAUSE OF FAILURE TO SUBMIT A TRANSLATION OF THE DESCRIPTION OR TO PAY THE FEE WITHIN THE PRESCRIBED TIME-LIMIT

Effective date: 20221005

Ref country code: FI

Free format text: LAPSE BECAUSE OF FAILURE TO SUBMIT A TRANSLATION OF THE DESCRIPTION OR TO PAY THE FEE WITHIN THE PRESCRIBED TIME-LIMIT

Effective date: 20221005

Ref country code: ES

Free format text: LAPSE BECAUSE OF FAILURE TO SUBMIT A TRANSLATION OF THE DESCRIPTION OR TO PAY THE FEE WITHIN THE PRESCRIBED TIME-LIMIT

Effective date: 20221005

Ref country code: AT

Free format text: LAPSE BECAUSE OF FAILURE TO SUBMIT A TRANSLATION OF THE DESCRIPTION OR TO PAY THE FEE WITHIN THE PRESCRIBED TIME-LIMIT

Effective date: 20221005

PG25 Lapsed in a contracting state [announced via postgrant information from national office to epo]

Ref country code: RS

Free format text: LAPSE BECAUSE OF FAILURE TO SUBMIT A TRANSLATION OF THE DESCRIPTION OR TO PAY THE FEE WITHIN THE PRESCRIBED TIME-LIMIT

Effective date: 20221005

Ref country code: PL

Free format text: LAPSE BECAUSE OF FAILURE TO SUBMIT A TRANSLATION OF THE DESCRIPTION OR TO PAY THE FEE WITHIN THE PRESCRIBED TIME-LIMIT

Effective date: 20221005

Ref country code: LV

Free format text: LAPSE BECAUSE OF FAILURE TO SUBMIT A TRANSLATION OF THE DESCRIPTION OR TO PAY THE FEE WITHIN THE PRESCRIBED TIME-LIMIT

Effective date: 20221005

Ref country code: IS

Free format text: LAPSE BECAUSE OF FAILURE TO SUBMIT A TRANSLATION OF THE DESCRIPTION OR TO PAY THE FEE WITHIN THE PRESCRIBED TIME-LIMIT

Effective date: 20230205

Ref country code: HR

Free format text: LAPSE BECAUSE OF FAILURE TO SUBMIT A TRANSLATION OF THE DESCRIPTION OR TO PAY THE FEE WITHIN THE PRESCRIBED TIME-LIMIT

Effective date: 20221005

Ref country code: GR

Free format text: LAPSE BECAUSE OF FAILURE TO SUBMIT A TRANSLATION OF THE DESCRIPTION OR TO PAY THE FEE WITHIN THE PRESCRIBED TIME-LIMIT

Effective date: 20230106

REG Reference to a national code

Ref country code: DE

Ref legal event code: R097

Ref document number: 602018041478

Country of ref document: DE

PG25 Lapsed in a contracting state [announced via postgrant information from national office to epo]

Ref country code: SM

Free format text: LAPSE BECAUSE OF FAILURE TO SUBMIT A TRANSLATION OF THE DESCRIPTION OR TO PAY THE FEE WITHIN THE PRESCRIBED TIME-LIMIT

Effective date: 20221005

Ref country code: RO

Free format text: LAPSE BECAUSE OF FAILURE TO SUBMIT A TRANSLATION OF THE DESCRIPTION OR TO PAY THE FEE WITHIN THE PRESCRIBED TIME-LIMIT

Effective date: 20221005

Ref country code: EE

Free format text: LAPSE BECAUSE OF FAILURE TO SUBMIT A TRANSLATION OF THE DESCRIPTION OR TO PAY THE FEE WITHIN THE PRESCRIBED TIME-LIMIT

Effective date: 20221005

Ref country code: DK

Free format text: LAPSE BECAUSE OF FAILURE TO SUBMIT A TRANSLATION OF THE DESCRIPTION OR TO PAY THE FEE WITHIN THE PRESCRIBED TIME-LIMIT

Effective date: 20221005

Ref country code: CZ

Free format text: LAPSE BECAUSE OF FAILURE TO SUBMIT A TRANSLATION OF THE DESCRIPTION OR TO PAY THE FEE WITHIN THE PRESCRIBED TIME-LIMIT

Effective date: 20221005

PLBE No opposition filed within time limit

Free format text: ORIGINAL CODE: 0009261

STAA Information on the status of an ep patent application or granted ep patent

Free format text: STATUS: NO OPPOSITION FILED WITHIN TIME LIMIT

PG25 Lapsed in a contracting state [announced via postgrant information from national office to epo]

Ref country code: SK

Free format text: LAPSE BECAUSE OF FAILURE TO SUBMIT A TRANSLATION OF THE DESCRIPTION OR TO PAY THE FEE WITHIN THE PRESCRIBED TIME-LIMIT

Effective date: 20221005

Ref country code: AL

Free format text: LAPSE BECAUSE OF FAILURE TO SUBMIT A TRANSLATION OF THE DESCRIPTION OR TO PAY THE FEE WITHIN THE PRESCRIBED TIME-LIMIT

Effective date: 20221005

26N No opposition filed

Effective date: 20230706

REG Reference to a national code

Ref country code: DE

Ref legal event code: R119

Ref document number: 602018041478

Country of ref document: DE

PG25 Lapsed in a contracting state [announced via postgrant information from national office to epo]

Ref country code: MC

Free format text: LAPSE BECAUSE OF FAILURE TO SUBMIT A TRANSLATION OF THE DESCRIPTION OR TO PAY THE FEE WITHIN THE PRESCRIBED TIME-LIMIT

Effective date: 20221005

REG Reference to a national code

Ref country code: CH

Ref legal event code: PL

GBPC Gb: european patent ceased through non-payment of renewal fee

Effective date: 20230329

PG25 Lapsed in a contracting state [announced via postgrant information from national office to epo]

Ref country code: SI

Free format text: LAPSE BECAUSE OF FAILURE TO SUBMIT A TRANSLATION OF THE DESCRIPTION OR TO PAY THE FEE WITHIN THE PRESCRIBED TIME-LIMIT

Effective date: 20221005

REG Reference to a national code

Ref country code: BE

Ref legal event code: MM

Effective date: 20230331

PG25 Lapsed in a contracting state [announced via postgrant information from national office to epo]

Ref country code: LU

Free format text: LAPSE BECAUSE OF NON-PAYMENT OF DUE FEES

Effective date: 20230329

REG Reference to a national code

Ref country code: IE

Ref legal event code: MM4A

PG25 Lapsed in a contracting state [announced via postgrant information from national office to epo]

Ref country code: GB

Free format text: LAPSE BECAUSE OF NON-PAYMENT OF DUE FEES

Effective date: 20230329

PG25 Lapsed in a contracting state [announced via postgrant information from national office to epo]

Ref country code: LI

Free format text: LAPSE BECAUSE OF NON-PAYMENT OF DUE FEES

Effective date: 20230331

Ref country code: IE

Free format text: LAPSE BECAUSE OF NON-PAYMENT OF DUE FEES

Effective date: 20230329

Ref country code: GB

Free format text: LAPSE BECAUSE OF NON-PAYMENT OF DUE FEES

Effective date: 20230329

Ref country code: FR

Free format text: LAPSE BECAUSE OF NON-PAYMENT OF DUE FEES

Effective date: 20230331

Ref country code: DE

Free format text: LAPSE BECAUSE OF NON-PAYMENT OF DUE FEES

Effective date: 20231003

Ref country code: CH

Free format text: LAPSE BECAUSE OF NON-PAYMENT OF DUE FEES

Effective date: 20230331

PG25 Lapsed in a contracting state [announced via postgrant information from national office to epo]

Ref country code: BE

Free format text: LAPSE BECAUSE OF NON-PAYMENT OF DUE FEES

Effective date: 20230331

PG25 Lapsed in a contracting state [announced via postgrant information from national office to epo]

Ref country code: IT

Free format text: LAPSE BECAUSE OF FAILURE TO SUBMIT A TRANSLATION OF THE DESCRIPTION OR TO PAY THE FEE WITHIN THE PRESCRIBED TIME-LIMIT

Effective date: 20221005

PG25 Lapsed in a contracting state [announced via postgrant information from national office to epo]

Ref country code: BG

Free format text: LAPSE BECAUSE OF FAILURE TO SUBMIT A TRANSLATION OF THE DESCRIPTION OR TO PAY THE FEE WITHIN THE PRESCRIBED TIME-LIMIT

Effective date: 20221005

PG25 Lapsed in a contracting state [announced via postgrant information from national office to epo]

Ref country code: BG

Free format text: LAPSE BECAUSE OF FAILURE TO SUBMIT A TRANSLATION OF THE DESCRIPTION OR TO PAY THE FEE WITHIN THE PRESCRIBED TIME-LIMIT

Effective date: 20221005

PGFP Annual fee paid to national office [announced via postgrant information from national office to epo]

Ref country code: NO

Payment date: 20250312

Year of fee payment: 8

PG25 Lapsed in a contracting state [announced via postgrant information from national office to epo]

Ref country code: CY

Free format text: LAPSE BECAUSE OF FAILURE TO SUBMIT A TRANSLATION OF THE DESCRIPTION OR TO PAY THE FEE WITHIN THE PRESCRIBED TIME-LIMIT; INVALID AB INITIO

Effective date: 20180329

PG25 Lapsed in a contracting state [announced via postgrant information from national office to epo]

Ref country code: HU

Free format text: LAPSE BECAUSE OF FAILURE TO SUBMIT A TRANSLATION OF THE DESCRIPTION OR TO PAY THE FEE WITHIN THE PRESCRIBED TIME-LIMIT; INVALID AB INITIO

Effective date: 20180329

PG25 Lapsed in a contracting state [announced via postgrant information from national office to epo]

Ref country code: TR

Free format text: LAPSE BECAUSE OF FAILURE TO SUBMIT A TRANSLATION OF THE DESCRIPTION OR TO PAY THE FEE WITHIN THE PRESCRIBED TIME-LIMIT

Effective date: 20221005