EP3497362B1 - Insulation system - Google Patents

Insulation system Download PDF

Info

Publication number
EP3497362B1
EP3497362B1 EP17754204.0A EP17754204A EP3497362B1 EP 3497362 B1 EP3497362 B1 EP 3497362B1 EP 17754204 A EP17754204 A EP 17754204A EP 3497362 B1 EP3497362 B1 EP 3497362B1
Authority
EP
European Patent Office
Prior art keywords
layer
tank
foam
layers
impervious
Prior art date
Legal status (The legal status is an assumption and is not a legal conclusion. Google has not performed a legal analysis and makes no representation as to the accuracy of the status listed.)
Active
Application number
EP17754204.0A
Other languages
German (de)
English (en)
French (fr)
Other versions
EP3497362A1 (en
Inventor
Per Ivar NIKOLAISEN
Current Assignee (The listed assignees may be inaccurate. Google has not performed a legal analysis and makes no representation or warranty as to the accuracy of the list.)
Lnt Marine Pte Ltd
Original Assignee
Lnt Marine Pte Ltd
Priority date (The priority date is an assumption and is not a legal conclusion. Google has not performed a legal analysis and makes no representation as to the accuracy of the date listed.)
Filing date
Publication date
Application filed by Lnt Marine Pte Ltd filed Critical Lnt Marine Pte Ltd
Priority to HRP20240287TT priority Critical patent/HRP20240287T1/hr
Publication of EP3497362A1 publication Critical patent/EP3497362A1/en
Application granted granted Critical
Publication of EP3497362B1 publication Critical patent/EP3497362B1/en
Active legal-status Critical Current
Anticipated expiration legal-status Critical

Links

Images

Classifications

    • FMECHANICAL ENGINEERING; LIGHTING; HEATING; WEAPONS; BLASTING
    • F17STORING OR DISTRIBUTING GASES OR LIQUIDS
    • F17CVESSELS FOR CONTAINING OR STORING COMPRESSED, LIQUEFIED OR SOLIDIFIED GASES; FIXED-CAPACITY GAS-HOLDERS; FILLING VESSELS WITH, OR DISCHARGING FROM VESSELS, COMPRESSED, LIQUEFIED, OR SOLIDIFIED GASES
    • F17C3/00Vessels not under pressure
    • F17C3/02Vessels not under pressure with provision for thermal insulation
    • F17C3/025Bulk storage in barges or on ships
    • FMECHANICAL ENGINEERING; LIGHTING; HEATING; WEAPONS; BLASTING
    • F17STORING OR DISTRIBUTING GASES OR LIQUIDS
    • F17CVESSELS FOR CONTAINING OR STORING COMPRESSED, LIQUEFIED OR SOLIDIFIED GASES; FIXED-CAPACITY GAS-HOLDERS; FILLING VESSELS WITH, OR DISCHARGING FROM VESSELS, COMPRESSED, LIQUEFIED, OR SOLIDIFIED GASES
    • F17C1/00Pressure vessels, e.g. gas cylinder, gas tank, replaceable cartridge
    • F17C1/14Pressure vessels, e.g. gas cylinder, gas tank, replaceable cartridge constructed of aluminium; constructed of non-magnetic steel
    • FMECHANICAL ENGINEERING; LIGHTING; HEATING; WEAPONS; BLASTING
    • F17STORING OR DISTRIBUTING GASES OR LIQUIDS
    • F17CVESSELS FOR CONTAINING OR STORING COMPRESSED, LIQUEFIED OR SOLIDIFIED GASES; FIXED-CAPACITY GAS-HOLDERS; FILLING VESSELS WITH, OR DISCHARGING FROM VESSELS, COMPRESSED, LIQUEFIED, OR SOLIDIFIED GASES
    • F17C1/00Pressure vessels, e.g. gas cylinder, gas tank, replaceable cartridge
    • F17C1/12Pressure vessels, e.g. gas cylinder, gas tank, replaceable cartridge with provision for thermal insulation
    • FMECHANICAL ENGINEERING; LIGHTING; HEATING; WEAPONS; BLASTING
    • F17STORING OR DISTRIBUTING GASES OR LIQUIDS
    • F17CVESSELS FOR CONTAINING OR STORING COMPRESSED, LIQUEFIED OR SOLIDIFIED GASES; FIXED-CAPACITY GAS-HOLDERS; FILLING VESSELS WITH, OR DISCHARGING FROM VESSELS, COMPRESSED, LIQUEFIED, OR SOLIDIFIED GASES
    • F17C1/00Pressure vessels, e.g. gas cylinder, gas tank, replaceable cartridge
    • F17C1/16Pressure vessels, e.g. gas cylinder, gas tank, replaceable cartridge constructed of plastics materials
    • FMECHANICAL ENGINEERING; LIGHTING; HEATING; WEAPONS; BLASTING
    • F17STORING OR DISTRIBUTING GASES OR LIQUIDS
    • F17CVESSELS FOR CONTAINING OR STORING COMPRESSED, LIQUEFIED OR SOLIDIFIED GASES; FIXED-CAPACITY GAS-HOLDERS; FILLING VESSELS WITH, OR DISCHARGING FROM VESSELS, COMPRESSED, LIQUEFIED, OR SOLIDIFIED GASES
    • F17C3/00Vessels not under pressure
    • F17C3/02Vessels not under pressure with provision for thermal insulation
    • FMECHANICAL ENGINEERING; LIGHTING; HEATING; WEAPONS; BLASTING
    • F17STORING OR DISTRIBUTING GASES OR LIQUIDS
    • F17CVESSELS FOR CONTAINING OR STORING COMPRESSED, LIQUEFIED OR SOLIDIFIED GASES; FIXED-CAPACITY GAS-HOLDERS; FILLING VESSELS WITH, OR DISCHARGING FROM VESSELS, COMPRESSED, LIQUEFIED, OR SOLIDIFIED GASES
    • F17C3/00Vessels not under pressure
    • F17C3/02Vessels not under pressure with provision for thermal insulation
    • F17C3/04Vessels not under pressure with provision for thermal insulation by insulating layers
    • FMECHANICAL ENGINEERING; LIGHTING; HEATING; WEAPONS; BLASTING
    • F17STORING OR DISTRIBUTING GASES OR LIQUIDS
    • F17CVESSELS FOR CONTAINING OR STORING COMPRESSED, LIQUEFIED OR SOLIDIFIED GASES; FIXED-CAPACITY GAS-HOLDERS; FILLING VESSELS WITH, OR DISCHARGING FROM VESSELS, COMPRESSED, LIQUEFIED, OR SOLIDIFIED GASES
    • F17C2201/00Vessel construction, in particular geometry, arrangement or size
    • F17C2201/01Shape
    • F17C2201/0104Shape cylindrical
    • FMECHANICAL ENGINEERING; LIGHTING; HEATING; WEAPONS; BLASTING
    • F17STORING OR DISTRIBUTING GASES OR LIQUIDS
    • F17CVESSELS FOR CONTAINING OR STORING COMPRESSED, LIQUEFIED OR SOLIDIFIED GASES; FIXED-CAPACITY GAS-HOLDERS; FILLING VESSELS WITH, OR DISCHARGING FROM VESSELS, COMPRESSED, LIQUEFIED, OR SOLIDIFIED GASES
    • F17C2201/00Vessel construction, in particular geometry, arrangement or size
    • F17C2201/05Size
    • F17C2201/052Size large (>1000 m3)
    • FMECHANICAL ENGINEERING; LIGHTING; HEATING; WEAPONS; BLASTING
    • F17STORING OR DISTRIBUTING GASES OR LIQUIDS
    • F17CVESSELS FOR CONTAINING OR STORING COMPRESSED, LIQUEFIED OR SOLIDIFIED GASES; FIXED-CAPACITY GAS-HOLDERS; FILLING VESSELS WITH, OR DISCHARGING FROM VESSELS, COMPRESSED, LIQUEFIED, OR SOLIDIFIED GASES
    • F17C2203/00Vessel construction, in particular walls or details thereof
    • F17C2203/03Thermal insulations
    • F17C2203/0304Thermal insulations by solid means
    • FMECHANICAL ENGINEERING; LIGHTING; HEATING; WEAPONS; BLASTING
    • F17STORING OR DISTRIBUTING GASES OR LIQUIDS
    • F17CVESSELS FOR CONTAINING OR STORING COMPRESSED, LIQUEFIED OR SOLIDIFIED GASES; FIXED-CAPACITY GAS-HOLDERS; FILLING VESSELS WITH, OR DISCHARGING FROM VESSELS, COMPRESSED, LIQUEFIED, OR SOLIDIFIED GASES
    • F17C2203/00Vessel construction, in particular walls or details thereof
    • F17C2203/03Thermal insulations
    • F17C2203/0304Thermal insulations by solid means
    • F17C2203/0329Foam
    • FMECHANICAL ENGINEERING; LIGHTING; HEATING; WEAPONS; BLASTING
    • F17STORING OR DISTRIBUTING GASES OR LIQUIDS
    • F17CVESSELS FOR CONTAINING OR STORING COMPRESSED, LIQUEFIED OR SOLIDIFIED GASES; FIXED-CAPACITY GAS-HOLDERS; FILLING VESSELS WITH, OR DISCHARGING FROM VESSELS, COMPRESSED, LIQUEFIED, OR SOLIDIFIED GASES
    • F17C2203/00Vessel construction, in particular walls or details thereof
    • F17C2203/03Thermal insulations
    • F17C2203/0304Thermal insulations by solid means
    • F17C2203/0329Foam
    • F17C2203/0333Polyurethane
    • FMECHANICAL ENGINEERING; LIGHTING; HEATING; WEAPONS; BLASTING
    • F17STORING OR DISTRIBUTING GASES OR LIQUIDS
    • F17CVESSELS FOR CONTAINING OR STORING COMPRESSED, LIQUEFIED OR SOLIDIFIED GASES; FIXED-CAPACITY GAS-HOLDERS; FILLING VESSELS WITH, OR DISCHARGING FROM VESSELS, COMPRESSED, LIQUEFIED, OR SOLIDIFIED GASES
    • F17C2203/00Vessel construction, in particular walls or details thereof
    • F17C2203/03Thermal insulations
    • F17C2203/0304Thermal insulations by solid means
    • F17C2203/0345Fibres
    • F17C2203/035Glass wool
    • FMECHANICAL ENGINEERING; LIGHTING; HEATING; WEAPONS; BLASTING
    • F17STORING OR DISTRIBUTING GASES OR LIQUIDS
    • F17CVESSELS FOR CONTAINING OR STORING COMPRESSED, LIQUEFIED OR SOLIDIFIED GASES; FIXED-CAPACITY GAS-HOLDERS; FILLING VESSELS WITH, OR DISCHARGING FROM VESSELS, COMPRESSED, LIQUEFIED, OR SOLIDIFIED GASES
    • F17C2203/00Vessel construction, in particular walls or details thereof
    • F17C2203/03Thermal insulations
    • F17C2203/0304Thermal insulations by solid means
    • F17C2203/0358Thermal insulations by solid means in form of panels
    • FMECHANICAL ENGINEERING; LIGHTING; HEATING; WEAPONS; BLASTING
    • F17STORING OR DISTRIBUTING GASES OR LIQUIDS
    • F17CVESSELS FOR CONTAINING OR STORING COMPRESSED, LIQUEFIED OR SOLIDIFIED GASES; FIXED-CAPACITY GAS-HOLDERS; FILLING VESSELS WITH, OR DISCHARGING FROM VESSELS, COMPRESSED, LIQUEFIED, OR SOLIDIFIED GASES
    • F17C2203/00Vessel construction, in particular walls or details thereof
    • F17C2203/06Materials for walls or layers thereof; Properties or structures of walls or their materials
    • F17C2203/0602Wall structures; Special features thereof
    • F17C2203/0607Coatings
    • FMECHANICAL ENGINEERING; LIGHTING; HEATING; WEAPONS; BLASTING
    • F17STORING OR DISTRIBUTING GASES OR LIQUIDS
    • F17CVESSELS FOR CONTAINING OR STORING COMPRESSED, LIQUEFIED OR SOLIDIFIED GASES; FIXED-CAPACITY GAS-HOLDERS; FILLING VESSELS WITH, OR DISCHARGING FROM VESSELS, COMPRESSED, LIQUEFIED, OR SOLIDIFIED GASES
    • F17C2203/00Vessel construction, in particular walls or details thereof
    • F17C2203/06Materials for walls or layers thereof; Properties or structures of walls or their materials
    • F17C2203/0602Wall structures; Special features thereof
    • F17C2203/0612Wall structures
    • F17C2203/0614Single wall
    • F17C2203/0619Single wall with two layers
    • FMECHANICAL ENGINEERING; LIGHTING; HEATING; WEAPONS; BLASTING
    • F17STORING OR DISTRIBUTING GASES OR LIQUIDS
    • F17CVESSELS FOR CONTAINING OR STORING COMPRESSED, LIQUEFIED OR SOLIDIFIED GASES; FIXED-CAPACITY GAS-HOLDERS; FILLING VESSELS WITH, OR DISCHARGING FROM VESSELS, COMPRESSED, LIQUEFIED, OR SOLIDIFIED GASES
    • F17C2203/00Vessel construction, in particular walls or details thereof
    • F17C2203/06Materials for walls or layers thereof; Properties or structures of walls or their materials
    • F17C2203/0602Wall structures; Special features thereof
    • F17C2203/0612Wall structures
    • F17C2203/0614Single wall
    • F17C2203/0621Single wall with three layers
    • FMECHANICAL ENGINEERING; LIGHTING; HEATING; WEAPONS; BLASTING
    • F17STORING OR DISTRIBUTING GASES OR LIQUIDS
    • F17CVESSELS FOR CONTAINING OR STORING COMPRESSED, LIQUEFIED OR SOLIDIFIED GASES; FIXED-CAPACITY GAS-HOLDERS; FILLING VESSELS WITH, OR DISCHARGING FROM VESSELS, COMPRESSED, LIQUEFIED, OR SOLIDIFIED GASES
    • F17C2203/00Vessel construction, in particular walls or details thereof
    • F17C2203/06Materials for walls or layers thereof; Properties or structures of walls or their materials
    • F17C2203/0602Wall structures; Special features thereof
    • F17C2203/0612Wall structures
    • F17C2203/0614Single wall
    • F17C2203/0624Single wall with four or more layers
    • FMECHANICAL ENGINEERING; LIGHTING; HEATING; WEAPONS; BLASTING
    • F17STORING OR DISTRIBUTING GASES OR LIQUIDS
    • F17CVESSELS FOR CONTAINING OR STORING COMPRESSED, LIQUEFIED OR SOLIDIFIED GASES; FIXED-CAPACITY GAS-HOLDERS; FILLING VESSELS WITH, OR DISCHARGING FROM VESSELS, COMPRESSED, LIQUEFIED, OR SOLIDIFIED GASES
    • F17C2203/00Vessel construction, in particular walls or details thereof
    • F17C2203/06Materials for walls or layers thereof; Properties or structures of walls or their materials
    • F17C2203/0634Materials for walls or layers thereof
    • F17C2203/0636Metals
    • F17C2203/0646Aluminium
    • FMECHANICAL ENGINEERING; LIGHTING; HEATING; WEAPONS; BLASTING
    • F17STORING OR DISTRIBUTING GASES OR LIQUIDS
    • F17CVESSELS FOR CONTAINING OR STORING COMPRESSED, LIQUEFIED OR SOLIDIFIED GASES; FIXED-CAPACITY GAS-HOLDERS; FILLING VESSELS WITH, OR DISCHARGING FROM VESSELS, COMPRESSED, LIQUEFIED, OR SOLIDIFIED GASES
    • F17C2209/00Vessel construction, in particular methods of manufacturing
    • F17C2209/22Assembling processes
    • F17C2209/225Spraying
    • FMECHANICAL ENGINEERING; LIGHTING; HEATING; WEAPONS; BLASTING
    • F17STORING OR DISTRIBUTING GASES OR LIQUIDS
    • F17CVESSELS FOR CONTAINING OR STORING COMPRESSED, LIQUEFIED OR SOLIDIFIED GASES; FIXED-CAPACITY GAS-HOLDERS; FILLING VESSELS WITH, OR DISCHARGING FROM VESSELS, COMPRESSED, LIQUEFIED, OR SOLIDIFIED GASES
    • F17C2221/00Handled fluid, in particular type of fluid
    • F17C2221/03Mixtures
    • F17C2221/032Hydrocarbons
    • F17C2221/033Methane, e.g. natural gas, CNG, LNG, GNL, GNC, PLNG
    • FMECHANICAL ENGINEERING; LIGHTING; HEATING; WEAPONS; BLASTING
    • F17STORING OR DISTRIBUTING GASES OR LIQUIDS
    • F17CVESSELS FOR CONTAINING OR STORING COMPRESSED, LIQUEFIED OR SOLIDIFIED GASES; FIXED-CAPACITY GAS-HOLDERS; FILLING VESSELS WITH, OR DISCHARGING FROM VESSELS, COMPRESSED, LIQUEFIED, OR SOLIDIFIED GASES
    • F17C2223/00Handled fluid before transfer, i.e. state of fluid when stored in the vessel or before transfer from the vessel
    • F17C2223/01Handled fluid before transfer, i.e. state of fluid when stored in the vessel or before transfer from the vessel characterised by the phase
    • F17C2223/0146Two-phase
    • F17C2223/0153Liquefied gas, e.g. LPG, GPL
    • F17C2223/0161Liquefied gas, e.g. LPG, GPL cryogenic, e.g. LNG, GNL, PLNG
    • FMECHANICAL ENGINEERING; LIGHTING; HEATING; WEAPONS; BLASTING
    • F17STORING OR DISTRIBUTING GASES OR LIQUIDS
    • F17CVESSELS FOR CONTAINING OR STORING COMPRESSED, LIQUEFIED OR SOLIDIFIED GASES; FIXED-CAPACITY GAS-HOLDERS; FILLING VESSELS WITH, OR DISCHARGING FROM VESSELS, COMPRESSED, LIQUEFIED, OR SOLIDIFIED GASES
    • F17C2270/00Applications
    • F17C2270/01Applications for fluid transport or storage
    • F17C2270/0102Applications for fluid transport or storage on or in the water
    • F17C2270/0105Ships
    • FMECHANICAL ENGINEERING; LIGHTING; HEATING; WEAPONS; BLASTING
    • F17STORING OR DISTRIBUTING GASES OR LIQUIDS
    • F17CVESSELS FOR CONTAINING OR STORING COMPRESSED, LIQUEFIED OR SOLIDIFIED GASES; FIXED-CAPACITY GAS-HOLDERS; FILLING VESSELS WITH, OR DISCHARGING FROM VESSELS, COMPRESSED, LIQUEFIED, OR SOLIDIFIED GASES
    • F17C2270/00Applications
    • F17C2270/01Applications for fluid transport or storage
    • F17C2270/0102Applications for fluid transport or storage on or in the water
    • F17C2270/0105Ships
    • F17C2270/0107Wall panels

Definitions

  • the present invention is concerned with the transportation of liquefied gases and particularly (but not exclusively) liquefied natural gas (LNG).
  • LNG liquefied natural gas
  • the invention is concerned with a novel insulation arrangement for a particular type of LNG tank, known in the industry as an IMO type-C LNG tank.
  • Such tanks can be used to transport LNG as a cargo but can additionally be used as a fuel tank for ocean going vessels thus allowing LNG to be used to fuel a ship with consequential environmental benefits.
  • the invention may also be applied to other tanks for transporting cryogenic liquids such as liquefied propane gas (LPG) or liquefied ethylene gas (LEG).
  • cryogenic liquids such as liquefied propane gas (LPG) or liquefied ethylene gas (LEG).
  • a common tank that is used for LNG is a type C tank which is in the form of a sphere or cylinder acting as a pressure vessel to contain the LNG.
  • the rules stipulate a range of technical characteristics a tank must have in order for a tank to be certified as safe to use.
  • Cryogenic liquids such as LNG are transported / stored at extremely low temperatures i.e. minus 163 degrees C and these temperatures must be maintained to keep the gas in a liquid form.
  • One technique to insulate such a tank is to apply a sprayed on foam insulation to the outside of the tank.
  • foam insulation typically, polyurethane is applied or sprayed onto the exterior of the LNG tank.
  • Such spray foam materials are convenient to apply and cost effective and are very popular with ship constructors owing to the cost effective nature of the insulation that can be applied. It is also very easy to apply.
  • the combination of LNG type C tanks and spray foam insulation allows LNG to be safely transported either in large volumes as a cargo or as a fuel for a ship.
  • the present invention as described herein, provides an effective way to insulate a ship LNG fuel tank.
  • the new system and method further enhances the advantages of spray foam insulation and prolongs the insulation efficiency. It can also advantageously provide an added fire barrier to an LNG tank.
  • Examples of existing prior art include US 8,297,468 , which relates to holding vessels or fuel tanks for liquefied natural gas; and US 4,106,424 , which relates to large marine containers for storage of liquefied gases.
  • GB1516150A discloses thermally insulated containers for liquefied gas. GB1516150A does not disclose a first layer on the outer surface of a tank being a sprayed foam polyurethane layer comprising a plurality of individual polyurethane sub-layers, wherein the sub-layers have different densities.
  • KR20130053727A discloses a cargo tank building method for LPG..
  • a method of insulating a tank for containing liquefied gas comprising the steps of sequentially applying a plurality of layers to the outer surface of the tank, said sequential layers comprising:
  • an additional layer may be applied of: (C) an outer cladding layer applied to the second layer.
  • the above advantageously provides a multi-layered insulation system in which a foam layer is encapsulated or sealed between the tank itself and a further impervious layer.
  • a gas tight metallic vapour barrier may be provided to the first layer. This forms a vapour tight barrier around the foam and the tank which has not previously been conceived
  • the barrier is a metallic barrier providing the impervious property of the insulation system.
  • the metallic barrier may include a self-adhesive layer to connect it to the foam or may be applied with a separate adhesive.
  • a tank, foam insulating layer and impervious vapour barrier has not previously been considering and thus there is also provided a liquefied natural gas tank comprising a first foam layer surrounding the tank and a second impervious barrier surrounding the first foam layer.
  • an LNG fuel tank may be provided with a foam insulation and a barrier surrounding the foam which is impervious to vapour and liquids as will be discussed further herein.
  • the impervious barrier provides multiple advantages.
  • the impervious barrier prevents humidity from entering into the open cavities or cells within the foam layer itself which can damage and degrade the foam.
  • the inventor has established that such an impervious layer prevents the emission of CO 2 (also known as the blowing agent) and the ingress of air into the foam cells which advantageously prevents ageing or degradation of the foam layer.
  • CO 2 also known as the blowing agent
  • the blowing agent is used to expand the foam and remains in the cells after expansion. This might emigrate from the cells over time and reduce the thermal properties of the insulation.
  • Polyurethane (PU) foams are blown with a combination of CO 2 , obtained through the chemical reaction between precisely dosed quantities of water in the polyol blend and the isocyanate component, and with high molecular weight blowing agents such as hydrofluorocarbons (namely HFC-365mfc, HFC-227ea and/or HFC-245fa) and/or other fluorinated- or chlorofluorinated- olefins (namely HCFO-1233zd, HFO-1336mzz).
  • HFC-365mfc namely HFC-365mfc, HFC-227ea and/or HFC-245fa
  • other fluorinated- or chlorofluorinated- olefins namely HCFO-1233zd, HFO-1336mzz.
  • Other suitable blowing agents may also be used either at the present time or in the future.
  • a new combination of a foam layer with an impervious encapsulating layer significantly minimizes the ageing of the thermal properties of the insulation layer by both preventing the ingress of ambient air (oxygen) into the cells within the foam and the egress of CO 2 from inside the cells of the foam.
  • the present insulating layer significantly reduces polyurethane foam ageing thus substantially improving the operating life of insulation layers.
  • impervious is intended herein to refer to a layer that prevents gas and liquid from passing through the layer in either direction.
  • the first foam layer maybe applied to the tank surface using various techniques.
  • the foam layer may for example be applied using a spray-on technique using a spray gun. This allows the foam to be easily and quickly applied to large tank surfaces.
  • An expanded polyurethane foam is particularly convenient to apply in this manner.
  • the foam layer may be a premix of polyol and isocyanate.
  • the foam layer may be a single layer of foam in some applications. However, to maximise the insulating properties the foam layer may be formed of a plurality of individual polyurethane sub-layers, each applied over a preceding layer.
  • the sub-layers may be any suitable thickness.
  • the foam layer may be formed of a plurality of sub-layers, each layer being between 5mm and 35mm in thickness.
  • the total thickness may be 300mm measured from the tank outer wall
  • a sub-layer closer to the tank may have a density greater than 50kg/m 3 and a subsequent layer may have a density greater than 40 kg/m 3 . It has been established by the inventor that such a combination of layers and differing densities optimised the insulation properties and mechanical strength of the insulating layer. Both are of importance in an LNG application.
  • the densities of the foam layers may be substantially the same. This simplifies the application process and provides a uniform density of foam.
  • thermal performance can be further enhanced if the first 50mm of foam layer measured from the tank surface has a density of greater than 50kg/m 3 and the remaining depth of the foam layer has a density greater than 40kg/m 3 .
  • the layer may be provided with glass fibres within the foam. This may be incorporated into the sprayed polyurethane mix or may be applied as one or more mesh layers. This advantageously acts as a crack preventer.
  • a polyurethane primer is applied to the tank before the foam is applied. This improves the bonding strength between the foam and the tank surface.
  • the impervious layer is impervious to gas and liquid but specifically prevents air from penetrating into and CO 2 from diffusing out of the cells of the foam.
  • the impervious layer may advantageously be an aluminium foil with a polymeric backing layer and an optional self-adhesive coating.
  • Such a combination of aluminium foil and polymeric backing provides the desired impervious quality in combination with flexibility and ease of application to the outer surface of the foam layer. Thus a vapour tight barrier is formed.
  • the polymeric layer advantageously self-seals if punctured because of the elastic nature of the material.
  • the integrity of the impervious seal is not compromised if the layer is accidentally punctured.
  • the impervious layer may use a polymeric backing layer such as butyl rubber.
  • the impervious layer may further be provided with a self-adhesive layer facing the foam side of the impervious layer to provide a bonding surface to hold the layer in position against the foam.
  • the insulating layer may further be enhanced with the inclusion of an optional fire retardant layer or coating.
  • a third fire retardant layer may be provided between the impervious layer and the outer cladding.
  • This fire retardant layer may be a mineral wool layer such as a stone wool / mineral wool fire retardant layer.
  • Other similar A60 fire retardant or insulating layers may also be used.
  • the outer layer of the insulating system may advantageously be in the form of an aluminium, galvanised steel or stainless steel layer surrounding the preceding layer. This may for example be installed as a plurality of panels or rings which tessellate to encapsulate the preceding layers.
  • the cladding provides structural strength to the insulating system and protects the inner layers. In effect the outer cladding layer and tank wall create a cavity in which the insulating foam, impervious layer and fire retardant are securely contained and protected.
  • cryogenic transport tank including, for example, an IMO type-C tank.
  • an IMO type-C tank comprising an outer insulation layer, said layer comprising:
  • the tank may be provided with a further layer around layer (B), namely: (C) a third cladding layer surrounding the second layer.
  • Such a tank may further comprise an optional third fire retardant layer between the second impervious layer and the cladding layer as described above.
  • coating is used herein to refer to a layer including, but not limited to, an aluminium foil with a butyl rubber layer attached thereto.
  • a further aspect of an invention described herein extends to an ocean going vessel (such as a cryogenic transport ship) in accordance with claim 15.
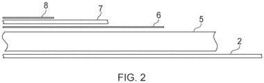
  • Figure 1 shows an LNG tank 1 incorporating an insulation system as described herein.
  • Such a tank 1 comprises an inner tank body 2 which in figure 1 is generally cylindrical but other shapes may equally benefit from the insulation system described herein.
  • the tank body comprises supports 3 (only 1 being shown) which are the means of supporting the tank on the ship's deck/structure.
  • the insulation layer comprises 4 main layers each with different properties and thickness:
  • each layer surrounds the preceding layer with the tank 2 housed within the insulation system.
  • the outer layer 8 may be applied directly onto layer 6.
  • Figure 2 shows a cross-section of the insulation system shown in figure 1 .
  • the main thickness of the insulation system is the polyurethane layer.
  • a polyurethane primer is applied to the outer surface of the tank 2 to assist in bonding the polyurethane foam layer 5 to the tank 2.
  • the invention is not limited to the specific embodiment described below which provides an IMO type-C tank with an average thermal conductivity K-Value of approx. 0.085W/m2 K and has an overall insulation thickness 300mm of PU foam and 50mm of Rockwool fire retardant wool. This represents just one example of the application of the invention.
  • the foam applied is a premix of polyol and isocyanate manufactured by Tagos Srl These components are brought together and sprayed to the tank surface through a conventional spray gun.
  • a polyurethane primer is applied to the tank surface prior to the foam application to improve the bonding strength between the foam and the tank surface.
  • the foam is sprayed to the tank surface in several layers to build up the total specified insulation thickness of approximately 300mm.
  • the thickness for each layer is 5 to 35 mm.
  • the first 50mm of the foam has a density of 60 kg/m 3 and the remaining 250 mm a density of 40 kg/m 3 .
  • the foam density variation will be obtained by utilizing different polyol formulations having the correct specification of free-rise and installed applied foam density. Alternatively, to simplify installation a single density could be used for all foam layers, however, this example is not covered by the appended claims.
  • a aluminium foil with a butyl rubber backing is applied all over the foam's outer surface to form a vapor tight barrier.
  • This may be using a self-adhesive layer on the metal or using a separate adhesive.
  • the vapor barrier will self-close or seal in the event of an accidental puncture by virtue of the elasticity of the backing.
  • the metal cladding may be selected from a range of materials and thicknesses.
  • the cladding is 0.6mm thick stainless steel (SS 316L).
  • Metal strapping band to be applied in a sufficient pattern circumferential and longitudinal around the tank to make a fixation arrangement for the metal cladding.
  • the metal cladding is fixed with overlapping joints to the strapping band by use of pop rivets or screws.
  • Each joint between cladding sheets are salad with sealant.
  • an insulation layer similar to an A60 fire insulation layer may be applied all over the impervious layer surface and fastened by conventional steel strapping bands.
  • a suitable material is manufactured by Rockwool. The thickness may be between 3-to 80mm.
  • the 0.6mm SS 316L cladding is then applied outside the Rockwool insulation fixed to the strapping band outside the Rockwool.
  • the metal cladding and the fire blankets provide integrated fire and mechanical protection.
  • a Glass Reinforced Polyester to be applied on the outer surface of the stainless steel cladding.
  • the thickness of the GRP may be >2mm and this protects the stainless steel from the effects of seawater in cases where the tank is located on the deck of a ship.
  • Each of the layers is applied so as to surround the preceding layer.
  • the insulation system maintains the LNG at the required low terriperature. inside the tank 2.
  • a fuel or cargo tank on an ocean going vessel incorporating this system exhibits improved operational life and reliability owing to the fact that the insulating foam layer does not degrade as is the case with conventional insulation systems.

Landscapes

  • Engineering & Computer Science (AREA)
  • Mechanical Engineering (AREA)
  • General Engineering & Computer Science (AREA)
  • Physics & Mathematics (AREA)
  • Thermal Sciences (AREA)
  • Filling Or Discharging Of Gas Storage Vessels (AREA)
EP17754204.0A 2016-08-09 2017-08-09 Insulation system Active EP3497362B1 (en)

Priority Applications (1)

Application Number Priority Date Filing Date Title
HRP20240287TT HRP20240287T1 (hr) 2016-08-09 2017-08-09 Izolacijski sustav

Applications Claiming Priority (2)

Application Number Priority Date Filing Date Title
GB1613693.9A GB2555773B (en) 2016-08-09 2016-08-09 LNG Tank insulation system comprising polyurethane foam and impervious coating
PCT/IB2017/054863 WO2018029613A1 (en) 2016-08-09 2017-08-09 Insulation system

Publications (2)

Publication Number Publication Date
EP3497362A1 EP3497362A1 (en) 2019-06-19
EP3497362B1 true EP3497362B1 (en) 2024-02-14

Family

ID=59649970

Family Applications (1)

Application Number Title Priority Date Filing Date
EP17754204.0A Active EP3497362B1 (en) 2016-08-09 2017-08-09 Insulation system

Country Status (6)

Country Link
EP (1) EP3497362B1 (pl)
ES (1) ES2973509T3 (pl)
GB (1) GB2555773B (pl)
HR (1) HRP20240287T1 (pl)
PL (1) PL3497362T3 (pl)
WO (1) WO2018029613A1 (pl)

Families Citing this family (2)

* Cited by examiner, † Cited by third party
Publication number Priority date Publication date Assignee Title
NO346027B1 (en) * 2020-07-09 2022-01-10 Lnt Marine Pte Ltd Method for applying insulation to a combined cylindrical tank, a combined cylindrical tank and use thereof
CN112660630A (zh) * 2020-12-11 2021-04-16 酷泰克保温科技江苏有限公司 一种超大型低温液灌绝缘层加工工艺

Citations (3)

* Cited by examiner, † Cited by third party
Publication number Priority date Publication date Assignee Title
GB1516150A (en) * 1974-09-20 1978-06-28 Nihon Soflan Chem & Eng Co Ltd Thermally insulated containers for liquefied gas
JPH0726718B2 (ja) * 1986-05-06 1995-03-29 三菱重工業株式会社 ロケツトタンク軽量断熱構造体
KR20130053727A (ko) * 2011-11-16 2013-05-24 현대중공업 주식회사 Lpg 선박의 카고 탱크에 대한 시공방법

Family Cites Families (5)

* Cited by examiner, † Cited by third party
Publication number Priority date Publication date Assignee Title
US3655086A (en) * 1970-10-09 1972-04-11 Cryotan Inc Receptacles for the storage of liquefied gases at cryogenic temperatures
US4106424A (en) * 1977-05-26 1978-08-15 General Dynamics Corporation Insulated marine container for liquefied gas
US8297468B1 (en) * 2004-05-20 2012-10-30 The United States Of America As Represented By The Administrator Of The National Aeronautics And Space Administration Fuel tank for liquefied natural gas
CN201228850Y (zh) * 2008-07-10 2009-04-29 上海海事大学 一种液化天然气绝热保温装置
JP2017075636A (ja) * 2015-10-14 2017-04-20 株式会社フォームテック メンブレン型液化ガスタンク防熱壁用の断熱パネル

Patent Citations (3)

* Cited by examiner, † Cited by third party
Publication number Priority date Publication date Assignee Title
GB1516150A (en) * 1974-09-20 1978-06-28 Nihon Soflan Chem & Eng Co Ltd Thermally insulated containers for liquefied gas
JPH0726718B2 (ja) * 1986-05-06 1995-03-29 三菱重工業株式会社 ロケツトタンク軽量断熱構造体
KR20130053727A (ko) * 2011-11-16 2013-05-24 현대중공업 주식회사 Lpg 선박의 카고 탱크에 대한 시공방법

Also Published As

Publication number Publication date
WO2018029613A1 (en) 2018-02-15
EP3497362A1 (en) 2019-06-19
HRP20240287T1 (hr) 2024-05-24
ES2973509T3 (es) 2024-06-20
PL3497362T3 (pl) 2024-07-01
GB2555773B (en) 2019-06-12
GB2555773A (en) 2018-05-16

Similar Documents

Publication Publication Date Title
JP6145727B2 (ja) 真空断熱材、ならびに、これを用いた断熱容器、住宅壁、輸送機器、水素輸送タンカー、およびlng輸送タンカー
CN103748401B (zh) 密封绝热罐
JP6929681B2 (ja) タンク壁製造用の断熱縁ブロック
US9676456B2 (en) Arrangement for containment of liquid natural gas (LNG)
KR20160056847A (ko) 진공 단열재를 구비하는 단열 용기
KR102331504B1 (ko) 발포 합성 폼으로 제조된 절연부품을 위한 강제 확산 처리
EP3411623B1 (en) Improved liquid natural gas storage tank design
KR102320577B1 (ko) 극저온 액화가스가 저장되는 압력식 저장탱크의 단열구조
EP3497362B1 (en) Insulation system
JP5916422B2 (ja) 液化ガスタンクの保冷構造、液化ガスタンク及び浮体構造物
KR20220036383A (ko) 액화가스 저장탱크의 단열시스템 및 그 시공방법
JP6062510B2 (ja) 液化ガスタンクの保冷構造、液化ガスタンク及び浮体構造物
KR102365770B1 (ko) 격납 시스템 및 그 제조 방법
KR102384171B1 (ko) 독립형 액화가스 저장탱크의 단열시스템
KR20210157232A (ko) 액화 가스 저장 탱크의 단열 구조
KR20220036384A (ko) 액화가스 저장탱크의 단열시스템 및 그 시공방법
KR102788421B1 (ko) 액화 가스 저장 탱크
AU2019231331A1 (en) Containment system for storing and transporting bulk liquid
KR102788286B1 (ko) 액화 가스 저장 탱크의 단열 구조물
US20240240753A1 (en) Method for applying insulation to a combined cylindrical tank, a combined cylindrical tank and use thereof
KR20220142131A (ko) 액화가스 저장탱크의 단열구조 및 상기 액화가스 저장탱크의 단열구조 형성방법
KR20220036382A (ko) 액화가스 저장탱크의 단열시스템 및 그 시공방법
JP2003336794A (ja) ジメチルエーテル貯蔵容器
JP2004036687A (ja) ジメチルエーテル貯蔵容器

Legal Events

Date Code Title Description
REG Reference to a national code

Ref country code: HR

Ref legal event code: TUEP

Ref document number: P20240287T

Country of ref document: HR

STAA Information on the status of an ep patent application or granted ep patent

Free format text: STATUS: UNKNOWN

STAA Information on the status of an ep patent application or granted ep patent

Free format text: STATUS: THE INTERNATIONAL PUBLICATION HAS BEEN MADE

PUAI Public reference made under article 153(3) epc to a published international application that has entered the european phase

Free format text: ORIGINAL CODE: 0009012

STAA Information on the status of an ep patent application or granted ep patent

Free format text: STATUS: REQUEST FOR EXAMINATION WAS MADE

17P Request for examination filed

Effective date: 20190307

AK Designated contracting states

Kind code of ref document: A1

Designated state(s): AL AT BE BG CH CY CZ DE DK EE ES FI FR GB GR HR HU IE IS IT LI LT LU LV MC MK MT NL NO PL PT RO RS SE SI SK SM TR

AX Request for extension of the european patent

Extension state: BA ME

DAV Request for validation of the european patent (deleted)
DAX Request for extension of the european patent (deleted)
STAA Information on the status of an ep patent application or granted ep patent

Free format text: STATUS: EXAMINATION IS IN PROGRESS

17Q First examination report despatched

Effective date: 20211105

GRAP Despatch of communication of intention to grant a patent

Free format text: ORIGINAL CODE: EPIDOSNIGR1

STAA Information on the status of an ep patent application or granted ep patent

Free format text: STATUS: GRANT OF PATENT IS INTENDED

INTG Intention to grant announced

Effective date: 20230919

RAP3 Party data changed (applicant data changed or rights of an application transferred)

Owner name: LNT MARINE PTE. LTD.

GRAS Grant fee paid

Free format text: ORIGINAL CODE: EPIDOSNIGR3

GRAA (expected) grant

Free format text: ORIGINAL CODE: 0009210

STAA Information on the status of an ep patent application or granted ep patent

Free format text: STATUS: THE PATENT HAS BEEN GRANTED

AK Designated contracting states

Kind code of ref document: B1

Designated state(s): AL AT BE BG CH CY CZ DE DK EE ES FI FR GR HR HU IE IS IT LI LT LU LV MC MK MT NL NO PL PT RO RS SE SI SK SM TR

RBV Designated contracting states (corrected)

Designated state(s): AL AT BE BG CH CY CZ DE DK EE ES FI FR GR HR HU IE IS IT LI LT LU LV MC MK MT NL NO PL PT RO RS SE SI SK SM TR

REG Reference to a national code

Ref country code: CH

Ref legal event code: EP

REG Reference to a national code

Ref country code: DE

Ref legal event code: R096

Ref document number: 602017079146

Country of ref document: DE

REG Reference to a national code

Ref country code: IE

Ref legal event code: FG4D

REG Reference to a national code

Ref country code: EE

Ref legal event code: FG4A

Ref document number: E024138

Country of ref document: EE

Effective date: 20240313

REG Reference to a national code

Ref country code: HR

Ref legal event code: T1PR

Ref document number: P20240287

Country of ref document: HR

REG Reference to a national code

Ref country code: LT

Ref legal event code: MG9D

REG Reference to a national code

Ref country code: NL

Ref legal event code: MP

Effective date: 20240214

PG25 Lapsed in a contracting state [announced via postgrant information from national office to epo]

Ref country code: IS

Free format text: LAPSE BECAUSE OF FAILURE TO SUBMIT A TRANSLATION OF THE DESCRIPTION OR TO PAY THE FEE WITHIN THE PRESCRIBED TIME-LIMIT

Effective date: 20240614

PG25 Lapsed in a contracting state [announced via postgrant information from national office to epo]

Ref country code: LT

Free format text: LAPSE BECAUSE OF FAILURE TO SUBMIT A TRANSLATION OF THE DESCRIPTION OR TO PAY THE FEE WITHIN THE PRESCRIBED TIME-LIMIT

Effective date: 20240214

PG25 Lapsed in a contracting state [announced via postgrant information from national office to epo]

Ref country code: GR

Free format text: LAPSE BECAUSE OF FAILURE TO SUBMIT A TRANSLATION OF THE DESCRIPTION OR TO PAY THE FEE WITHIN THE PRESCRIBED TIME-LIMIT

Effective date: 20240515

REG Reference to a national code

Ref country code: AT

Ref legal event code: MK05

Ref document number: 1657299

Country of ref document: AT

Kind code of ref document: T

Effective date: 20240214

PG25 Lapsed in a contracting state [announced via postgrant information from national office to epo]

Ref country code: RS

Free format text: LAPSE BECAUSE OF FAILURE TO SUBMIT A TRANSLATION OF THE DESCRIPTION OR TO PAY THE FEE WITHIN THE PRESCRIBED TIME-LIMIT

Effective date: 20240514

Ref country code: NL

Free format text: LAPSE BECAUSE OF FAILURE TO SUBMIT A TRANSLATION OF THE DESCRIPTION OR TO PAY THE FEE WITHIN THE PRESCRIBED TIME-LIMIT

Effective date: 20240214

PG25 Lapsed in a contracting state [announced via postgrant information from national office to epo]

Ref country code: AT

Free format text: LAPSE BECAUSE OF FAILURE TO SUBMIT A TRANSLATION OF THE DESCRIPTION OR TO PAY THE FEE WITHIN THE PRESCRIBED TIME-LIMIT

Effective date: 20240214

PG25 Lapsed in a contracting state [announced via postgrant information from national office to epo]

Ref country code: RS

Free format text: LAPSE BECAUSE OF FAILURE TO SUBMIT A TRANSLATION OF THE DESCRIPTION OR TO PAY THE FEE WITHIN THE PRESCRIBED TIME-LIMIT

Effective date: 20240514

Ref country code: NL

Free format text: LAPSE BECAUSE OF FAILURE TO SUBMIT A TRANSLATION OF THE DESCRIPTION OR TO PAY THE FEE WITHIN THE PRESCRIBED TIME-LIMIT

Effective date: 20240214

Ref country code: LT

Free format text: LAPSE BECAUSE OF FAILURE TO SUBMIT A TRANSLATION OF THE DESCRIPTION OR TO PAY THE FEE WITHIN THE PRESCRIBED TIME-LIMIT

Effective date: 20240214

Ref country code: IS

Free format text: LAPSE BECAUSE OF FAILURE TO SUBMIT A TRANSLATION OF THE DESCRIPTION OR TO PAY THE FEE WITHIN THE PRESCRIBED TIME-LIMIT

Effective date: 20240614

Ref country code: GR

Free format text: LAPSE BECAUSE OF FAILURE TO SUBMIT A TRANSLATION OF THE DESCRIPTION OR TO PAY THE FEE WITHIN THE PRESCRIBED TIME-LIMIT

Effective date: 20240515

Ref country code: FI

Free format text: LAPSE BECAUSE OF FAILURE TO SUBMIT A TRANSLATION OF THE DESCRIPTION OR TO PAY THE FEE WITHIN THE PRESCRIBED TIME-LIMIT

Effective date: 20240214

Ref country code: BG

Free format text: LAPSE BECAUSE OF FAILURE TO SUBMIT A TRANSLATION OF THE DESCRIPTION OR TO PAY THE FEE WITHIN THE PRESCRIBED TIME-LIMIT

Effective date: 20240214

Ref country code: AT

Free format text: LAPSE BECAUSE OF FAILURE TO SUBMIT A TRANSLATION OF THE DESCRIPTION OR TO PAY THE FEE WITHIN THE PRESCRIBED TIME-LIMIT

Effective date: 20240214

PG25 Lapsed in a contracting state [announced via postgrant information from national office to epo]

Ref country code: PT

Free format text: LAPSE BECAUSE OF FAILURE TO SUBMIT A TRANSLATION OF THE DESCRIPTION OR TO PAY THE FEE WITHIN THE PRESCRIBED TIME-LIMIT

Effective date: 20240614

REG Reference to a national code

Ref country code: HR

Ref legal event code: ODRP

Ref document number: P20240287

Country of ref document: HR

Payment date: 20240726

Year of fee payment: 8

PG25 Lapsed in a contracting state [announced via postgrant information from national office to epo]

Ref country code: SE

Free format text: LAPSE BECAUSE OF FAILURE TO SUBMIT A TRANSLATION OF THE DESCRIPTION OR TO PAY THE FEE WITHIN THE PRESCRIBED TIME-LIMIT

Effective date: 20240214

Ref country code: PT

Free format text: LAPSE BECAUSE OF FAILURE TO SUBMIT A TRANSLATION OF THE DESCRIPTION OR TO PAY THE FEE WITHIN THE PRESCRIBED TIME-LIMIT

Effective date: 20240614

Ref country code: LV

Free format text: LAPSE BECAUSE OF FAILURE TO SUBMIT A TRANSLATION OF THE DESCRIPTION OR TO PAY THE FEE WITHIN THE PRESCRIBED TIME-LIMIT

Effective date: 20240214

PG25 Lapsed in a contracting state [announced via postgrant information from national office to epo]

Ref country code: DK

Free format text: LAPSE BECAUSE OF FAILURE TO SUBMIT A TRANSLATION OF THE DESCRIPTION OR TO PAY THE FEE WITHIN THE PRESCRIBED TIME-LIMIT

Effective date: 20240214

PG25 Lapsed in a contracting state [announced via postgrant information from national office to epo]

Ref country code: SM

Free format text: LAPSE BECAUSE OF FAILURE TO SUBMIT A TRANSLATION OF THE DESCRIPTION OR TO PAY THE FEE WITHIN THE PRESCRIBED TIME-LIMIT

Effective date: 20240214

PG25 Lapsed in a contracting state [announced via postgrant information from national office to epo]

Ref country code: CZ

Free format text: LAPSE BECAUSE OF FAILURE TO SUBMIT A TRANSLATION OF THE DESCRIPTION OR TO PAY THE FEE WITHIN THE PRESCRIBED TIME-LIMIT

Effective date: 20240214

PG25 Lapsed in a contracting state [announced via postgrant information from national office to epo]

Ref country code: SK

Free format text: LAPSE BECAUSE OF FAILURE TO SUBMIT A TRANSLATION OF THE DESCRIPTION OR TO PAY THE FEE WITHIN THE PRESCRIBED TIME-LIMIT

Effective date: 20240214

PG25 Lapsed in a contracting state [announced via postgrant information from national office to epo]

Ref country code: SM

Free format text: LAPSE BECAUSE OF FAILURE TO SUBMIT A TRANSLATION OF THE DESCRIPTION OR TO PAY THE FEE WITHIN THE PRESCRIBED TIME-LIMIT

Effective date: 20240214

Ref country code: SK

Free format text: LAPSE BECAUSE OF FAILURE TO SUBMIT A TRANSLATION OF THE DESCRIPTION OR TO PAY THE FEE WITHIN THE PRESCRIBED TIME-LIMIT

Effective date: 20240214

Ref country code: RO

Free format text: LAPSE BECAUSE OF FAILURE TO SUBMIT A TRANSLATION OF THE DESCRIPTION OR TO PAY THE FEE WITHIN THE PRESCRIBED TIME-LIMIT

Effective date: 20240214

Ref country code: DK

Free format text: LAPSE BECAUSE OF FAILURE TO SUBMIT A TRANSLATION OF THE DESCRIPTION OR TO PAY THE FEE WITHIN THE PRESCRIBED TIME-LIMIT

Effective date: 20240214

Ref country code: CZ

Free format text: LAPSE BECAUSE OF FAILURE TO SUBMIT A TRANSLATION OF THE DESCRIPTION OR TO PAY THE FEE WITHIN THE PRESCRIBED TIME-LIMIT

Effective date: 20240214

REG Reference to a national code

Ref country code: DE

Ref legal event code: R097

Ref document number: 602017079146

Country of ref document: DE

PLBE No opposition filed within time limit

Free format text: ORIGINAL CODE: 0009261

STAA Information on the status of an ep patent application or granted ep patent

Free format text: STATUS: NO OPPOSITION FILED WITHIN TIME LIMIT

26N No opposition filed

Effective date: 20241115

REG Reference to a national code

Ref country code: CH

Ref legal event code: PL

PG25 Lapsed in a contracting state [announced via postgrant information from national office to epo]

Ref country code: LU

Free format text: LAPSE BECAUSE OF NON-PAYMENT OF DUE FEES

Effective date: 20240809

PG25 Lapsed in a contracting state [announced via postgrant information from national office to epo]

Ref country code: SI

Free format text: LAPSE BECAUSE OF FAILURE TO SUBMIT A TRANSLATION OF THE DESCRIPTION OR TO PAY THE FEE WITHIN THE PRESCRIBED TIME-LIMIT

Effective date: 20240214

Ref country code: MC

Free format text: LAPSE BECAUSE OF FAILURE TO SUBMIT A TRANSLATION OF THE DESCRIPTION OR TO PAY THE FEE WITHIN THE PRESCRIBED TIME-LIMIT

Effective date: 20240214

Ref country code: CH

Free format text: LAPSE BECAUSE OF NON-PAYMENT OF DUE FEES

Effective date: 20240831

REG Reference to a national code

Ref country code: BE

Ref legal event code: MM

Effective date: 20240831

PGFP Annual fee paid to national office [announced via postgrant information from national office to epo]

Ref country code: PL

Payment date: 20250616

Year of fee payment: 9

PGFP Annual fee paid to national office [announced via postgrant information from national office to epo]

Ref country code: NO

Payment date: 20250610

Year of fee payment: 9

PG25 Lapsed in a contracting state [announced via postgrant information from national office to epo]

Ref country code: BE

Free format text: LAPSE BECAUSE OF NON-PAYMENT OF DUE FEES

Effective date: 20240831

PGFP Annual fee paid to national office [announced via postgrant information from national office to epo]

Ref country code: HR

Payment date: 20250620

Year of fee payment: 9

PGFP Annual fee paid to national office [announced via postgrant information from national office to epo]

Ref country code: EE

Payment date: 20250626

Year of fee payment: 9

Ref country code: FR

Payment date: 20250611

Year of fee payment: 9

PGFP Annual fee paid to national office [announced via postgrant information from national office to epo]

Ref country code: TR

Payment date: 20250617

Year of fee payment: 9

PG25 Lapsed in a contracting state [announced via postgrant information from national office to epo]

Ref country code: IE

Free format text: LAPSE BECAUSE OF NON-PAYMENT OF DUE FEES

Effective date: 20240809

REG Reference to a national code

Ref country code: HR

Ref legal event code: ODRP

Ref document number: P20240287

Country of ref document: HR

Payment date: 20250620

Year of fee payment: 9

PGFP Annual fee paid to national office [announced via postgrant information from national office to epo]

Ref country code: ES

Payment date: 20250912

Year of fee payment: 9

PGFP Annual fee paid to national office [announced via postgrant information from national office to epo]

Ref country code: DE

Payment date: 20250610

Year of fee payment: 9

PGFP Annual fee paid to national office [announced via postgrant information from national office to epo]

Ref country code: IT

Payment date: 20250613

Year of fee payment: 9

PG25 Lapsed in a contracting state [announced via postgrant information from national office to epo]

Ref country code: CY

Free format text: LAPSE BECAUSE OF FAILURE TO SUBMIT A TRANSLATION OF THE DESCRIPTION OR TO PAY THE FEE WITHIN THE PRESCRIBED TIME-LIMIT; INVALID AB INITIO

Effective date: 20170809