EP3486503B1 - Konstruktionen und verfahren zur herstellung von verbindungen für verbundkomponenten unter dominanter biegelast - Google Patents

Konstruktionen und verfahren zur herstellung von verbindungen für verbundkomponenten unter dominanter biegelast Download PDF

Info

Publication number
EP3486503B1
EP3486503B1 EP18205239.9A EP18205239A EP3486503B1 EP 3486503 B1 EP3486503 B1 EP 3486503B1 EP 18205239 A EP18205239 A EP 18205239A EP 3486503 B1 EP3486503 B1 EP 3486503B1
Authority
EP
European Patent Office
Prior art keywords
composite tube
inner member
composite
undulated
various embodiments
Prior art date
Legal status (The legal status is an assumption and is not a legal conclusion. Google has not performed a legal analysis and makes no representation as to the accuracy of the status listed.)
Active
Application number
EP18205239.9A
Other languages
English (en)
French (fr)
Other versions
EP3486503A1 (de
Inventor
Mark R. Gurvich
Georgios S. Zafiris
Rony GANIS
Current Assignee (The listed assignees may be inaccurate. Google has not performed a legal analysis and makes no representation or warranty as to the accuracy of the list.)
Goodrich Corp
Original Assignee
Goodrich Corp
Priority date (The priority date is an assumption and is not a legal conclusion. Google has not performed a legal analysis and makes no representation as to the accuracy of the date listed.)
Filing date
Publication date
Application filed by Goodrich Corp filed Critical Goodrich Corp
Publication of EP3486503A1 publication Critical patent/EP3486503A1/de
Application granted granted Critical
Publication of EP3486503B1 publication Critical patent/EP3486503B1/de
Active legal-status Critical Current
Anticipated expiration legal-status Critical

Links

Images

Classifications

    • FMECHANICAL ENGINEERING; LIGHTING; HEATING; WEAPONS; BLASTING
    • F16ENGINEERING ELEMENTS AND UNITS; GENERAL MEASURES FOR PRODUCING AND MAINTAINING EFFECTIVE FUNCTIONING OF MACHINES OR INSTALLATIONS; THERMAL INSULATION IN GENERAL
    • F16BDEVICES FOR FASTENING OR SECURING CONSTRUCTIONAL ELEMENTS OR MACHINE PARTS TOGETHER, e.g. NAILS, BOLTS, CIRCLIPS, CLAMPS, CLIPS OR WEDGES; JOINTS OR JOINTING
    • F16B7/00Connections of rods or tubes, e.g. of non-circular section, mutually, including resilient connections
    • F16B7/02Connections of rods or tubes, e.g. of non-circular section, mutually, including resilient connections with conical parts
    • FMECHANICAL ENGINEERING; LIGHTING; HEATING; WEAPONS; BLASTING
    • F16ENGINEERING ELEMENTS AND UNITS; GENERAL MEASURES FOR PRODUCING AND MAINTAINING EFFECTIVE FUNCTIONING OF MACHINES OR INSTALLATIONS; THERMAL INSULATION IN GENERAL
    • F16CSHAFTS; FLEXIBLE SHAFTS; ELEMENTS OR CRANKSHAFT MECHANISMS; ROTARY BODIES OTHER THAN GEARING ELEMENTS; BEARINGS
    • F16C3/00Shafts; Axles; Cranks; Eccentrics
    • F16C3/02Shafts; Axles
    • F16C3/026Shafts made of fibre reinforced resin
    • BPERFORMING OPERATIONS; TRANSPORTING
    • B29WORKING OF PLASTICS; WORKING OF SUBSTANCES IN A PLASTIC STATE IN GENERAL
    • B29CSHAPING OR JOINING OF PLASTICS; SHAPING OF MATERIAL IN A PLASTIC STATE, NOT OTHERWISE PROVIDED FOR; AFTER-TREATMENT OF THE SHAPED PRODUCTS, e.g. REPAIRING
    • B29C43/00Compression moulding, i.e. applying external pressure to flow the moulding material; Apparatus therefor
    • B29C43/02Compression moulding, i.e. applying external pressure to flow the moulding material; Apparatus therefor of articles of definite length, i.e. discrete articles
    • FMECHANICAL ENGINEERING; LIGHTING; HEATING; WEAPONS; BLASTING
    • F16ENGINEERING ELEMENTS AND UNITS; GENERAL MEASURES FOR PRODUCING AND MAINTAINING EFFECTIVE FUNCTIONING OF MACHINES OR INSTALLATIONS; THERMAL INSULATION IN GENERAL
    • F16CSHAFTS; FLEXIBLE SHAFTS; ELEMENTS OR CRANKSHAFT MECHANISMS; ROTARY BODIES OTHER THAN GEARING ELEMENTS; BEARINGS
    • F16C7/00Connecting-rods or like links pivoted at both ends; Construction of connecting-rod heads
    • F16C7/02Constructions of connecting-rods with constant length
    • F16C7/026Constructions of connecting-rods with constant length made of fibre reinforced resin
    • FMECHANICAL ENGINEERING; LIGHTING; HEATING; WEAPONS; BLASTING
    • F16ENGINEERING ELEMENTS AND UNITS; GENERAL MEASURES FOR PRODUCING AND MAINTAINING EFFECTIVE FUNCTIONING OF MACHINES OR INSTALLATIONS; THERMAL INSULATION IN GENERAL
    • F16DCOUPLINGS FOR TRANSMITTING ROTATION; CLUTCHES; BRAKES
    • F16D1/00Couplings for rigidly connecting two coaxial shafts or other movable machine elements
    • F16D1/06Couplings for rigidly connecting two coaxial shafts or other movable machine elements for attachment of a member on a shaft or on a shaft-end
    • F16D1/064Couplings for rigidly connecting two coaxial shafts or other movable machine elements for attachment of a member on a shaft or on a shaft-end non-disconnectable
    • F16D1/072Couplings for rigidly connecting two coaxial shafts or other movable machine elements for attachment of a member on a shaft or on a shaft-end non-disconnectable involving plastic deformation
    • FMECHANICAL ENGINEERING; LIGHTING; HEATING; WEAPONS; BLASTING
    • F16ENGINEERING ELEMENTS AND UNITS; GENERAL MEASURES FOR PRODUCING AND MAINTAINING EFFECTIVE FUNCTIONING OF MACHINES OR INSTALLATIONS; THERMAL INSULATION IN GENERAL
    • F16BDEVICES FOR FASTENING OR SECURING CONSTRUCTIONAL ELEMENTS OR MACHINE PARTS TOGETHER, e.g. NAILS, BOLTS, CIRCLIPS, CLAMPS, CLIPS OR WEDGES; JOINTS OR JOINTING
    • F16B11/00Connecting constructional elements or machine parts by sticking or pressing them together, e.g. cold pressure welding
    • F16B11/006Connecting constructional elements or machine parts by sticking or pressing them together, e.g. cold pressure welding by gluing
    • F16B11/008Connecting constructional elements or machine parts by sticking or pressing them together, e.g. cold pressure welding by gluing of tubular elements or rods in coaxial engagement
    • YGENERAL TAGGING OF NEW TECHNOLOGICAL DEVELOPMENTS; GENERAL TAGGING OF CROSS-SECTIONAL TECHNOLOGIES SPANNING OVER SEVERAL SECTIONS OF THE IPC; TECHNICAL SUBJECTS COVERED BY FORMER USPC CROSS-REFERENCE ART COLLECTIONS [XRACs] AND DIGESTS
    • Y10TECHNICAL SUBJECTS COVERED BY FORMER USPC
    • Y10TTECHNICAL SUBJECTS COVERED BY FORMER US CLASSIFICATION
    • Y10T403/00Joints and connections
    • Y10T403/49Member deformed in situ

Definitions

  • the present disclosure relates generally to joints, and more specifically to joints having composite components.
  • Landing gear composite components may be designed as composite cylindrical elements with a tubular shape.
  • Typical composite material comprises, but not limited to polymer matrix composite, or other hybrid material. These components may undergo complex conditions including axial, torsional, and bending loads.
  • Typical wedge joint designs utilized primarily to handle and transfer axial loads may be associated with a risk of excessive slipping between the composite tube and the metallic or composite wedge parts when exposed to bending loads, leading to potentially severe stress re-distribution and risk of damage or tube/joint separation.
  • US 4353268A relates to connecting rods for the transmission of force or power.
  • a composite tube joint comprising an end of a composite tube, an inner member disposed within the end, wherein an outer surface of the inner member has a complementary shape to an inner surface of the end, an outer member concentrically surrounding the end of the composite tube, and a first undulated surface configured to mitigate movement of the end relative to at least one of the inner member and the outer member.
  • the first undulated surface is disposed on the outer surface of the inner member, the first undulated surface is configured to physically restrict the end from moving relative to the inner member.
  • the composite tube joint further comprises a second undulated surface disposed on an inner surface of the outer member, the second undulated surface configured to physically restrict the end from moving relative to the outer member.
  • the end is compressed between the outer member and the inner member, and the first undulated surface is configured to physically restrict the end from moving relative to at least one of the inner member and the outer member in response to a bending moment being applied to the composite tube joint.
  • the inner member comprises at least one of a first metallic material or a first composite material
  • the outer member comprises at least one of a second metallic material or a second composite material.
  • the outer surface of the inner member engages the inner surface of the end.
  • the inner surface of the outer member engages an outer surface of the end.
  • the end comprises a flared end, a converging end, a cylindrical end, or combinations thereof.
  • a method for forming a composite tube joint comprising disposing at least one composite layer to concentrically surround an inner member, disposing an outer member to concentrically surround an end of the composite layer, compressing the at least one composite layer between the inner member and the outer member, and forming an undulated surface on the composite layer in response to the compressing.
  • the undulated surface is formed on an outer surface of the composite layer in response to an undulated inner surface of the outer member engaging the composite layer in response to the compressing.
  • a second undulated surface is formed on an inner surface of the composite layer in response to an undulated outer surface of the inner member engaging the composite layer in response to the compressing.
  • the method further comprises removing the outer member from the composite layer.
  • the method further comprises removing the inner member from the composite layer.
  • any reference to attached, fixed, connected or the like may include permanent, removable, temporary, partial, full and/or any other possible attachment option. Additionally, any reference to without contact (or similar phrases) may also include reduced contact or minimal contact. Surface shading lines may be used throughout the figures to denote different parts but not necessarily to denote the same or different materials. In some cases, reference coordinates may be specific to each figure.
  • the present disclosure describes composite components having at least one end of a composite tube and at least one composite tube joint formed thereon.
  • the composite tube joint may include an end of the composite tube, an inner member, and an outer member.
  • the inner member and the outer member may be made from a material including, but not limited to, metals, composites, ceramics, wood, polymers, and glass.
  • a composite may comprise a polymer matrix composite.
  • the composite may comprise a polymer matrix composite reinforced by fibers such as a carbon, glass, organic fibers, or combinations thereof.
  • Such composite tube joints may be used in aircraft systems, such as, for example, landing gear systems. However, the systems and methods of the present disclosure may be suitable for use in non-aircraft systems as well.
  • a composite tube joint of the present disclosure includes an end of a composite tube, an inner member, and an outer member.
  • a composite tube joint may experience bending loads.
  • Composite tube joints having undulated surfaces, of the present disclosure may mitigate slipping of the composite tube with respect to an inner member and/or an outer member of the composite tube joint.
  • a composite tube joint of the present disclosure may be useful for various components including, but not limited to, linkages, connecting rods, actuator rods, struts, and structural supports.
  • Composite tube joint 201 and composite tube joint 202 may be disposed at either end of a composite tube 200. Although illustrated as having a composite tube joint 201 at a first end and a composite tube joint 202 at a second end, it is contemplated herein that composite tube 200 may comprise only one composite tube joint 201.
  • composite tube joint 202 may experience an axial load, represented by arrow 290. The axial load may be a tensile load or a compressive load.
  • Composite tube joint 202 may experience a bending moment, represented by arrow 292.
  • Composite tube joint 202 may experience a torque load, represented by arrow 294.
  • Composite tube joint 300 may include an end of composite tube 310, an inner member 320, and an outer member 330.
  • Composite tube 310 may extend along a centerline axis 302.
  • composite tube 310, inner member 320, and outer member 330 may be concentric with respect to centerline axis 302.
  • Composite tube 310 may comprise a composite material, such as a polymer matrix composite for example.
  • Inner member 320 and outer member 330 may comprise a metallic material or a composite material.
  • Inner member 320 and outer member 330 may comprise a polymer matrix composite.
  • Composite tube 310 may comprise an end (also referred to herein as a flared end) 314.
  • inner member 320 may be positioned within flared end 314.
  • Flared end 314 may comprise a frustoconical geometry.
  • Inner member 320 may comprise a frustoconical geometry.
  • the geometry of inner member 320 may be complementary to the geometry of flared end 314.
  • Inner member 320 may be positioned within flared end 314 and held under compression by components located outside of composite tube 310.
  • inner member 320 may be placed within flared end 314 during formation of composite tube 310 and flared end 314.
  • inner member 320 may be placed within flared end 314 after formation of composite tube 310 and flared end 314.
  • Inner member 320 may comprise an outer surface 322. Outer surface 322 may engage with flared end 314. In various embodiments, outer surface 322 may engage with an inner surface 312 of composite tube 310. Inner member 320 may be configured to be pushed into (in the negative z-direction) composite tube 310 by components located outside of composite tube 310 (e.g., outer member 330). Flared end 314 may be compressed between inner member 320 and outer member 330.
  • Composite tube joint 300 may experience a bending moment M.
  • outer member 330 may rotate in the counter-clockwise direction relative to composite tube 310.
  • outer surface 316 may slip (directions of the slip are represented by arrows N) relative to inner surface 332 in response to bending moment M.
  • outer member 330 may be coupled to inner member 320 via one or more fasteners 393.
  • Fastener 393 may comprise a bolt, for example.
  • fastener 393 may hold inner member 320 in compression with outer member 330.
  • Composite tube joint 301 may include an end of a composite tube 311, an inner member 321, and an outer member 331.
  • Composite tube 311 may extend along a centerline axis 303.
  • composite tube 311, inner member 321, and outer member 331 may be concentric with respect to centerline axis 303.
  • Composite tube joint 301 may be similar to composite tube joint 300 except that composite tube 311 comprises an end (also referred to herein as a converging end) 315, instead of a flared end 314, with momentary reference to FIG. 3A .
  • an outer surface 323 of inner member 321 may comprise a geometry which is complementary to the geometry of an inner surface 313 of converging end 315
  • an inner surface 333 of outer member 331 may comprise a geometry which is complementary to the geometry of an outer surface 317 of converging end 315.
  • Composite tube joint 301 may experience a bending moment M.
  • inner member 321 may move in the counter-clockwise direction relative to composite tube 311.
  • inner surface 333 may slip relative to outer surface 317 in response to bending moment M.
  • outer surface 323 may slip relative to inner surface 313, in response to bending moment M.
  • outer member 331 may be coupled to inner member 321 via one or more fasteners 394.
  • Fasteners 394 may comprise a bolt, for example.
  • fasteners 394 may hold inner member 321 in compression with outer member 331.
  • a composite tube joint is illustrated, in accordance with various embodiments, with respect to a composite tube having a flared end. It is contemplated herein that similar embodiments may be used for a composite tube joint having a composite tube with a converging end. Furthermore, it is contemplated herein that a composite tube joint of the present disclosure may comprises a composite tube having a combination of a flared end and converging end, for example, having an end that increases in diameter and then decreases in diameter along a direction. Furthermore, although described with respect to an inner member, the undulations described in FIGs. 4A through FIG. 9C may be equally applicable to an outer member as well.
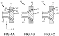
  • FIG. 4A, FIG. 4B, and FIG. 4C elements with like element numbering are intended to be the same and will not necessarily be repeated for the sake of clarity.
  • Composite tube joint 401 includes an end of a composite tube 410, an inner member 420, and an outer member 431.
  • outer member 431 may comprise an undulated inner surface 432.
  • Composite tube joint 402 is illustrated, in accordance with various embodiments.
  • Composite tube joint 402 includes an end of a composite tube 410, an inner member 421, and an outer member 430.
  • inner member 421 may comprise an undulated outer surface 422.
  • Composite tube joint 403 is illustrated, in accordance with various embodiments.
  • Composite tube joint 403 includes composite tube 410, inner member 421, and outer member 431.
  • composite tube joint 401 is illustrated in a compressed position, in accordance with various embodiments.
  • Flared end 414 of composite tube 410 may be compressed between inner member 420 and outer member 431 (e.g., in response to inner member 420 moving in the negative Z-direction with respect to outer member 431, and/or in response to outer member 431 moving in the positive Z-direction with respect to inner member 420).
  • Outer surface 416 of flared end 414 may become deformed in response to flared end 414 being compressed between outer member 431 and inner member 420.
  • the geometry of outer surface 416 may become complementary to undulated inner surface 432 in response to flared end 414 being compressed between outer member 431 and inner member 420.
  • outer surface 416 may comprise an undulated surface in response to flared end 414 being compressed between outer member 431 and inner member 420.
  • inner surface 412 may similarly deform in accordance with the geometry of inner member 420.
  • inner surface 412 may comprise an undulated surface in response to flared end 414 being compressed between outer member 431 (or outer member 430) and inner member 421, with momentary reference to FIG. 4B .
  • flared end 414 may comprise an undulated outer surface 416 and a smooth inner surface 412, for example using the composite tube joint 401 (see FIG. 4A ).
  • flared end 414 may comprise an undulated inner surface 412 and a smooth outer surface 416, for example using the composite tube joint 402 (see FIG. 4B ). Furthermore, flared end 414 may comprise both an undulated outer surface 416 and an undulated inner surface 412, for example using the composite tube joint 403 (see FIG. 4C ).
  • inner member 320 may be similar to inner member 420, with combined reference to FIG. 3A and FIG. 4A . In various embodiments, inner member 320 may be similar to inner member 421, with combined reference to FIG. 3A and FIG. 4B .
  • Undulations 551 are illustrated, in accordance with various embodiments.
  • Undulations 551 may comprise a plurality of periodically displaced waves 557.
  • Undulations 551 may be oriented in the hoop direction.
  • undulations 551 may be oriented perpendicular with respect to centerline axis 502.
  • Orienting undulations 551 perpendicular with respect to centerline axis 502 may mitigate slipping between inner member 520 and an adjacent member (e.g., composite tube 410, see FIG. 4B ) in response to a bending moment being applied to inner member 520 (e.g., as described with respect to FIG. 3A and FIG. 3B ).
  • undulations 551 may physically restrict inner member 520 from slipping relative to composite tube 410 in response to bending moment M, with momentary reference to FIG. 3A and FIG. 3B .
  • Undulations 552 are illustrated, in accordance with various embodiments. Undulations 552 may comprise groupings of waves 558, each group spaced apart from the adjacent group.
  • Undulations 553 are illustrated, in accordance with various embodiments. Undulations 553 may comprise a plurality of non-periodically displaced waves 559.
  • an inner member 620 comprising an undulated outer surface 622 is illustrated, in accordance with various embodiments. Although illustrated as inner member 620, it is contemplated herein that the features described with respect to FIGs. 6A through 6B may similarly apply to an outer member.
  • Undulations 651 may be oriented at an angle different than ninety degrees with respect to centerline axis 602. Stated differently, undulations 651 may be oriented at a non-zero angle ⁇ with respect to the hoop direction (i.e., the tangential direction with respect to centerline axis 602).
  • Orienting undulations 651 at angle ⁇ with respect to the hoop direction may mitigate slipping of inner member 620 with respect to an adjacent member (e.g., composite tube 410, see FIG. 4B ) in response to a torque being applied to inner member 620.
  • undulations 651 may physically restrict inner member from rotating about centerline axis 602 with respect to composite tube 410.
  • angle ⁇ may be variable along centerline axis 602.
  • undulations 651 may be optimal for helping mitigate movement of the inner member in the Z-direction relative to the composite tube (e.g., inner member 420 from moving relative to flared end 414), in response to a bending moment applied to the inner member.
  • angle ⁇ is ninety degrees
  • undulations 651 may be optimal for helping mitigate movement of the inner member relative to the composite tube (e.g., inner member 420 from moving relative to flared end 414) in response to a torque applied to the inner member.
  • angle ⁇ may be chosen according to a predetermined ratio, or a range of such ratios, of moment and torque being applied to the composite tube joint.
  • Undulated outer surface 623 may comprise a first plurality of undulations 652 oriented at an angle different than ninety degrees with respect to centerline axis 602 and a second plurality of undulations 653 oriented at an angle different than ninety degrees with respect to centerline axis 602. Stated differently, undulated outer surface 623 may comprise a first plurality of undulations 652 oriented at a non-zero angle ⁇ 1 with respect to the hoop direction and a second plurality of undulations 653 oriented at a non-zero angle ⁇ 2 with respect to the hoop direction.
  • first plurality of undulations 652 may overlap second plurality of undulations 653.
  • angle ⁇ 1 may be between zero and ninety degrees (0°-90°).
  • angle ⁇ 2 may be between zero and ninety degrees (0°-90°).
  • angle ⁇ 1 may be variable along centerline axis 602.
  • angle ⁇ 2 may be variable along centerline axis 602.
  • Undulated outer surface 721 comprise a first plurality of undulations 752 oriented perpendicular with respect to centerline axis 702 and a second plurality of undulations 753 oriented perpendicular with respect to first plurality of undulations 752.
  • First plurality of undulations 752 may circumferentially surround centerline axis 702.
  • First plurality of undulations 752 will be oriented concentric with respect to centerline axis 702.
  • Second plurality of undulations 753 may be defined by projections of centerline axis 702 onto undulated outer surface 721.
  • inner member 720 may resist both moments and torques.
  • FIG. 7B illustrates a cross-section view of inner member 720 taken parallel to centerline axis 702.
  • FIG. 7B may best illustrate a profile of first plurality of undulations 752.
  • FIG. 7C illustrates a cross-section view of inner member 720 taken perpendicular to centerline axis 702, in accordance with various embodiments.
  • FIG. 7C may best illustrate a profile of second plurality of undulations 753.
  • plurality of undulations 753 may define a continuously wavy surface, as illustrated in FIG. 7C .
  • plurality of undulations 753 may define distinct channels 754 disposed circumferentially along a circular surface 755, as illustrated in FIG. 7D .
  • Undulations 754 may be implemented through a subtractive manufacturing process.
  • Undulations 754 may be implemented through an additive manufacturing process.
  • Inner member 820a may comprise an original profile 821 before undulations are formed onto inner member 820a.
  • a plurality of undulations 851 may be formed into inner member 820a via a subtractive manufacturing process.
  • inner member 820b may be formed from inner member 820a by forming plurality of undulations 851 into inner member 820a via a subtractive manufacturing process.
  • plurality of undulations 851 may extend towards centerline axis 802 with respect to original profile 821.
  • a plurality of undulations 852 may be formed onto inner member 820a via an additive manufacturing process.
  • inner member 820c may be formed from inner member 820a by forming plurality of undulations 852 onto inner member 820a via an additive manufacturing process.
  • plurality of undulations 852 may extend away from centerline axis 802 with respect to original profile 821.
  • a plurality of undulations 853 may be formed onto inner member 820a via both an additive manufacturing process and a subtractive manufacturing process.
  • inner member 820d may be formed from inner member 820a by forming plurality of undulations 853 onto inner member 820a via both an additive manufacturing process and a subtractive manufacturing process.
  • plurality of undulations 853 may extend both towards centerline axis 802 and away from centerline axis 802 with respect to original profile 821.
  • a composite tube 910 may be formed by laying composite sheets or layers in a desired shape and bonding the layers together using resins, adhesives, or other bonding agents.
  • composite tube 910 may be formed using a fiber-wound fabrication process, wherein fiber is continuously wound onto a form and bonded together using resins, adhesives, or other bonding agents. Any manner of forming composite tube 910 is within the scope of the present disclosure.
  • An exemplary form 905, comprising an internal liner 915 and an internal end part 925, for forming composite tube 910 is illustrated in FIG. 9A .
  • internal liner 915 may be made from a metal.
  • internal end part 925 may be made from a metal.
  • Liner 915 and internal end part 925 may be made from a composite, ceramic, wood, or other material. Internal liner 915 and internal end part 925 may aid in maintaining a shape of composite tube 910 during a composite layup process.
  • a composite layup process may include spinning composite fibers around internal liner 915 and/or internal end part 925 and/or placing composite pre-preg sheets around internal liner 915 and/or internal end part 925 to form a composite layer 990.
  • the composite layup process may further include disposing an external end part 935 to surround composite layer 990.
  • composite layer 990 may be compressed between internal end part 925 and external end part 935.
  • Undulations such as those described herein with respect to FIGs. 4A through 8D may be disposed on the outer surface of internal end part 925 and/or the inner surface of external end part 935. Thus, undulations may be formed onto composite layer 990 as a result of the compression, similar to undulated outer surface 416 of FIG. 4A for example.
  • internal liner 915 and/or internal end part 925 may comprise a mandrel configured to be removed during the layup process (e.g., after the composite fibers are partially cured or fully cured).
  • internal liner 915 and/or internal end part 925 may remain within composite tube 910 after the composite layup process, for example to increase strength and/or stiffness properties of composite tube 910.
  • inner member 421 may be similar to internal end part 925, with momentary reference to FIG. 4B .
  • Composite tube joint 901 is illustrated, in accordance with various embodiments.
  • Composite tube joint 901 may include an end (also referred to herein as a cylindrical end) 964 of a composite tube 960, an inner member 970, and an outer member 981.
  • Composite tube 960 may comprise the end 964.
  • composite tube 960, inner member 970, and outer member 981 may each comprise a cylindrical geometry.
  • outer member 981 may comprise an undulated inner surface 982.
  • Composite tube joint 902 may include the end of a composite tube 960, an inner member 971, and an outer member 980.
  • inner member 971 may comprise an undulated outer surface 972.
  • Composite tube joint 903 is illustrated, in accordance with various embodiments.
  • Composite tube joint 903 may include the end of composite tube 960, inner member 971, and outer member 981.
  • composite tube joint 901 is illustrated in a compressed position, in accordance with various embodiments.
  • End 964 of composite tube 960 may be compressed between inner member 970 and outer member 981 (e.g., in response to inner member 970 moving in the negative Z-direction with respect to outer member 981, and/or in response to outer member 981 moving in the positive Z-direction with respect to inner member 970).
  • Outer surface 965 of end 964 may become deformed in response to end 964 being compressed between outer member 981 and inner member 970. Stated differently, the geometry of outer surface 965 may become complementary to undulated inner surface 982in response to end 964 being compressed between outer member 981 and inner member 970.
  • outer surface 965 may comprise an undulated surface in response to end 964 being compressed between outer member 981 and inner member 970.
  • inner surface 966 may similarly deform in accordance with the geometry of inner member 970.
  • inner surface 966 may comprise an undulated surface in response to end 964 being compressed between outer member 981 (or outer member 980) and inner member 971, with momentary reference to FIG. 10B .
  • end 964 may comprise an undulated outer surface 965 and a smooth inner surface 966, for example using the composite tube joint 901 (see FIG. 10A ).
  • end 964 may comprise an undulated inner surface 966 and a smooth outer surface 965, for example using the composite tube joint 902 (see FIG. 10B ).
  • end 964 may comprise both an undulated outer surface 965 and an undulated inner surface 966, for example using the composite tube joint 903 (see FIG. 10C ).
  • Method 100 includes disposing a composite layer to surround an inner member (step 110).
  • Method 100 includes disposing an outer member to surround an end of the composite layer (step 120).
  • Method 100 includes compressing the composite layer between the inner member and the outer member (step 130).
  • Method 100 includes forming an undulated surface on the composite layer in response to the compressing (step 140).
  • step 110 may include disposing one or more composite layers 990 to concentrically surround internal end part (also referred to herein as an inner member) 925.
  • Step 120 may include disposing external end part (also referred to herein as an outer member) 935 to concentrically surround an end of composite layer 990.
  • Step 130 may include compressing the one or more composite layers 990 between internal end part 925 and external end part 935.
  • Step 140 may include forming an undulated surface (e.g., undulated outer surface 416 of FIG. 4A ) on composite layer 990 in response to the compressing.
  • the forming process at step 140 may include curing in the case of thermoset polymeric matrix.
  • the forming process at step 140 may include solidification in the case of thermoplastic polymeric matrix.
  • Method 101 is illustrated for forming a composite tube joint, in accordance with various embodiments.
  • Method 101 may be similar to method 100 of FIG. 11A , except that method 101 further includes removing the outer member from the composite layer (step 150) and/or removing the inner member from the composite layer (step 160).
  • step 150 may include removing external end part 935 from composite layer 990.
  • step 160 may include removing internal end part 925 from composite layer 990.
  • Method 102 is illustrated for forming a composite tube joint, in accordance with various embodiments.
  • Method 102 may be similar to method 101 of FIG. 11B , except that method 102 further includes forming a second undulated surface on the composite layer in response to the compressing (step 145).
  • step 145 may include forming an undulated surface (e.g., undulated inner surface 412 of FIG. 4B and/or FIG. 4C ) on composite layer 990 in response to the compressing.
  • an undulated surface e.g., undulated inner surface 412 of FIG. 4B and/or FIG. 4C
  • references to "one embodiment,” “an embodiment,” “an example embodiment,” etc. indicate that the embodiment described may include a particular feature, structure, or characteristic, but every embodiment may not necessarily include the particular feature, structure, or characteristic. Moreover, such phrases are not necessarily referring to the same embodiment. Further, when a particular feature, structure, or characteristic is described in connection with an embodiment, it is submitted that it is within the knowledge of one skilled in the art to affect such feature, structure, or characteristic in connection with other embodiments whether or not explicitly described. After reading the description, it will be apparent to one skilled in the relevant art(s) how to implement the disclosure in alternative embodiments.

Landscapes

  • Engineering & Computer Science (AREA)
  • General Engineering & Computer Science (AREA)
  • Mechanical Engineering (AREA)
  • Ocean & Marine Engineering (AREA)
  • Rigid Pipes And Flexible Pipes (AREA)

Claims (9)

  1. Verbundrohrverbindung (401), umfassend:
    ein Ende eines Verbundrohrs (410);
    ein Innenelement (420), das innerhalb des Endes angeordnet ist, wobei eine Außenfläche des Innenelements eine komplementäre Form zu einer Innenfläche des Endes aufweist;
    ein Außenelement (431), das das Ende des Verbundrohrs konzentrisch umgibt; und
    eine erste gewellte Fläche (721), die zum Abschwächen einer Bewegung des Endes relativ zu mindestens einem von dem Innenelement (420) und dem Außenelement (431) ausgelegt ist, wobei sich das Verbundrohr (410) entlang einer Mittellinienachse (702) erstreckt, wobei die erste gewellte Fläche (721) auf der Außenfläche des Innenelements (421) angeordnet ist, wobei die erste gewellte Fläche (721) zum physischen Beschränken einer Bewegung des Endes relativ zu dem Innenelement (421) ausgelegt ist; dadurch gekennzeichnet, dass die erste gewellte Fläche (721) eine erste Vielzahl von Wellen (752) umfasst, die senkrecht in Bezug zu der Mittellinienachse (702) ausgerichtet ist, und die erste gewellte Fläche eine zweite Vielzahl von Wellen (753) umfasst, die in einem von null verschiedenen Winkel zu der ersten Vielzahl von Wellen (752) ausgerichtet ist.
  2. Verbundrohrverbindung nach Anspruch 1, ferner umfassend eine zweite gewellte Fläche (432), die an einer Innenfläche des Außenelements (431) angeordnet ist, wobei die zweite gewellte Fläche (432) zum physischen Beschränken einer Bewegung des Endes relativ zu dem Außenelement (431) ausgelegt ist.
  3. Verbundrohrverbindung nach einem der vorhergehenden Ansprüche, wobei das Ende zwischen dem Außenelement (431) und dem Innenelement (420) komprimiert ist und die erste gewellte Fläche (721) als Reaktion auf das Anlegen eines Biegemoments an die Verbundrohrverbindung zum physischen Beschränken einer Bewegung des Endes relativ zu mindestens einem von dem Innenelement (420) und dem Außenelement (431) ausgelegt ist; und/oder
    wobei das Innenelement (420) mindestens eines von einem ersten metallischen Material oder einem ersten Verbundmaterial umfasst und das Außenelement (431) mindestens eines von einem zweiten metallischen Material oder einem zweiten Verbundmaterial umfasst.
  4. Verbundrohrverbindung nach Anspruch 2, wobei die Außenfläche des Innenelements (420) mit der Innenfläche des Endes in Eingriff steht.
  5. Verbundrohrverbindung nach Anspruch 3, wobei die Innenfläche des Außenelements (431) mit einer Außenfläche des Endes in Eingriff steht.
  6. Verbundrohrverbindung nach einem der vorhergehenden Ansprüche, wobei das Ende mindestens eines von einem aufgeweiteten Ende, einem zusammenlaufenden Ende oder einem zylindrischen Ende umfasst.
  7. Verfahren zur Bildung einer Verbundrohrverbindung (401) eines Endes eines Verbundrohrs (410), umfassend:
    Anordnen mindestens einer Verbundschicht zum konzentrischen Umgeben eines Innenelements (420);
    Anordnen eines Außenelements (431) zum konzentrischen Umgeben eines Endes der Verbundschicht;
    Komprimieren der mindestens einen Verbundschicht zwischen dem Innenelement und dem Außenelement; und
    Bilden einer ersten gewellten Fläche (721) auf der Verbundschicht als Reaktion auf das Komprimieren; wobei die gewellte Fläche als Reaktion auf ein Eingreifen einer gewellten Innenfläche des Außenelements in die Verbundschicht als Reaktion auf das Komprimieren auf einer Außenfläche der Verbundschicht gebildet wird, wobei sich das Verbundrohr (410) entlang einer Mittellinienachse (702) erstreckt; dadurch gekennzeichnet, dass die erste gewellte Fläche (721) eine erste Vielzahl von Wellen (752) umfasst, die senkrecht in Bezug zu der Mittellinienachse (702) ausgerichtet ist, und die erste gewellte Fläche (721) eine zweite Vielzahl von Wellen (753) umfasst, die in einem von null verschiedenen Winkel zu der ersten Vielzahl von Wellen (752) ausgerichtet ist.
  8. Verfahren nach Anspruch 7, wobei als Reaktion auf ein Eingreifen einer gewellten Außenfläche des Innenelements in die Verbundschicht als Reaktion auf das Komprimieren eine zweite gewellte Fläche auf einer Innenfläche der Verbundschicht gebildet wird.
  9. Verfahren nach einem der Ansprüche 7 oder 8, ferner umfassend Entfernen des Außenelements von der Verbundschicht und vorzugsweise ferner umfassend Entfernen des Innenelements von der Verbundschicht.
EP18205239.9A 2017-11-16 2018-11-08 Konstruktionen und verfahren zur herstellung von verbindungen für verbundkomponenten unter dominanter biegelast Active EP3486503B1 (de)

Applications Claiming Priority (1)

Application Number Priority Date Filing Date Title
US15/815,114 US10935068B2 (en) 2017-11-16 2017-11-16 Designs and methods of making of joints for composite components under dominant bending load

Publications (2)

Publication Number Publication Date
EP3486503A1 EP3486503A1 (de) 2019-05-22
EP3486503B1 true EP3486503B1 (de) 2025-02-19

Family

ID=64564538

Family Applications (1)

Application Number Title Priority Date Filing Date
EP18205239.9A Active EP3486503B1 (de) 2017-11-16 2018-11-08 Konstruktionen und verfahren zur herstellung von verbindungen für verbundkomponenten unter dominanter biegelast

Country Status (2)

Country Link
US (1) US10935068B2 (de)
EP (1) EP3486503B1 (de)

Families Citing this family (5)

* Cited by examiner, † Cited by third party
Publication number Priority date Publication date Assignee Title
US10927883B2 (en) * 2017-07-11 2021-02-23 Goodrich Corporation Composite joint assembly
US10823213B2 (en) * 2018-06-08 2020-11-03 Goodrich Corporation Composite joint assembly
DE102019006280A1 (de) * 2019-09-05 2021-03-11 Albany Engineered Composites, Inc. Verfahren zur Herstellung einer formschlüssigen Lasteinleitung für stabförmige Fasernbundstrukturen sowie deren Gestaltung
EP3859175B1 (de) 2020-01-29 2025-09-17 Crompton Technology Group Limited Endanschlüsse aus verbundwerkstoff
CN114894599B (zh) * 2022-03-29 2025-09-12 江苏恒神股份有限公司 一种复合材料压力容器接头试验工装及试验方法

Family Cites Families (18)

* Cited by examiner, † Cited by third party
Publication number Priority date Publication date Assignee Title
DE871230C (de) * 1942-02-27 1953-03-19 Ehrenreich & Cie A Befestigung von Zapfen in Rohrenden
US4353268A (en) 1976-03-10 1982-10-12 Avions Marcel Dassault-Breguet Aviation Connecting rods
US4238540A (en) * 1979-05-29 1980-12-09 Celanese Corporation Fiber reinforced composite shaft with metallic connector sleeves mounted by connector ring interlock
GB2051303A (en) 1979-05-29 1981-01-14 Celanese Corp Fibre-reinforced composite shaft with metallic connector sleeves
US4279275A (en) * 1979-08-06 1981-07-21 Ford Aerospace & Communications Corporation Mechanical joinder of composite shaft to metallic end members
EP0270484B1 (de) 1986-12-04 1990-03-07 Siemens Aktiengesellschaft Faserverstärkte Druck- oder Zugstange
JPS63199914A (ja) * 1987-02-13 1988-08-18 Nkk Corp 繊維強化プラスチツク製プロペラシヤフトの継手接合方法
JPH03288012A (ja) * 1990-04-04 1991-12-18 Ship & Ooshiyan Zaidan 金属製フランジ付繊維強化プラスチック軸の製造方法
SU1742090A1 (ru) * 1990-06-25 1992-06-23 Пермский политехнический институт Способ соединени труб
JP3419324B2 (ja) 1998-10-13 2003-06-23 株式会社豊田自動織機 Frp製筒体と金属部品との接合方法及び軸部品
GB2424464B (en) 2005-03-22 2007-02-14 Crompton Technology Group Ltd Composite transmission shaft joint
DE102007051517B4 (de) * 2006-12-22 2020-02-27 Leichtbau-Zentrum Sachsen Gmbh Hohlwelle aus Faserverbundwerkstoff und darauf zu befestigende Funktionselemente
RU2340803C1 (ru) 2007-04-25 2008-12-10 ФГОУ ВПО Казанский государственный архитектурно-строительный университет (ФГОУ ВПО КГАСУ) Вал
DE102009022989A1 (de) * 2009-04-01 2010-10-14 Becker Marine Systems Gmbh & Co. Kg Ruderschaft
GB2473007B (en) 2009-08-26 2012-11-21 Messier Dowty Ltd Apparatus comprising an end fitting connected to a body
DE102012022198A1 (de) * 2012-11-13 2014-05-28 Rolls-Royce Deutschland Ltd & Co Kg Welle eines Gasturbinentriebwerks, insbesondere einer Radialwelle oder einer zur Maschinenachse in einem Winkel angeordneten Welle
US9956987B2 (en) * 2013-11-22 2018-05-01 Jtekt Corporation Manufacturing method of bar component and bar component
GB201508021D0 (en) 2015-05-11 2015-06-24 Sigma Composites Ltd Fibre reinforced polymer matrix composite torque tubes or shafts

Also Published As

Publication number Publication date
EP3486503A1 (de) 2019-05-22
US20190145448A1 (en) 2019-05-16
US10935068B2 (en) 2021-03-02

Similar Documents

Publication Publication Date Title
EP3486503B1 (de) Konstruktionen und verfahren zur herstellung von verbindungen für verbundkomponenten unter dominanter biegelast
EP2790898B1 (de) Zusammengesetzter holm und herstellungsverfahren dafür
EP3332946B1 (de) Verbundgelenkanordnung
JP6189312B2 (ja) 内部補剛を有する管状複合ストラットおよびそれを作製するための方法
CN102548742B (zh) 包括连接至本体的端部接头的产品
EP3608090B1 (de) Verbundverbinder und verfahren zur herstellung davon
EP3427927B1 (de) Verbundgelenkanordnung
US10457011B2 (en) Composite columnar structure having co-bonded reinforcement and fabrication method
US12092137B2 (en) Hybrid metallic/composite joint with enhanced strength
US20200378433A1 (en) Drive shaft
EP3306118A1 (de) Hybrides metall-/verbundgelenk mit verbesserter leistung
US10823213B2 (en) Composite joint assembly
EP3680093B1 (de) Hybrides metall-/verbundbauteil für drehmoment-, biege-, scher- und axialbelastung und verfahren zu dessen herstellung
EP3508336B1 (de) Hybrid-metall-/verbundstoff-axialzug-/druckkeulengelenk

Legal Events

Date Code Title Description
PUAI Public reference made under article 153(3) epc to a published international application that has entered the european phase

Free format text: ORIGINAL CODE: 0009012

STAA Information on the status of an ep patent application or granted ep patent

Free format text: STATUS: THE APPLICATION HAS BEEN PUBLISHED

AK Designated contracting states

Kind code of ref document: A1

Designated state(s): AL AT BE BG CH CY CZ DE DK EE ES FI FR GB GR HR HU IE IS IT LI LT LU LV MC MK MT NL NO PL PT RO RS SE SI SK SM TR

AX Request for extension of the european patent

Extension state: BA ME

STAA Information on the status of an ep patent application or granted ep patent

Free format text: STATUS: REQUEST FOR EXAMINATION WAS MADE

17P Request for examination filed

Effective date: 20191121

RBV Designated contracting states (corrected)

Designated state(s): AL AT BE BG CH CY CZ DE DK EE ES FI FR GB GR HR HU IE IS IT LI LT LU LV MC MK MT NL NO PL PT RO RS SE SI SK SM TR

STAA Information on the status of an ep patent application or granted ep patent

Free format text: STATUS: EXAMINATION IS IN PROGRESS

17Q First examination report despatched

Effective date: 20220131

P01 Opt-out of the competence of the unified patent court (upc) registered

Effective date: 20230922

GRAP Despatch of communication of intention to grant a patent

Free format text: ORIGINAL CODE: EPIDOSNIGR1

STAA Information on the status of an ep patent application or granted ep patent

Free format text: STATUS: GRANT OF PATENT IS INTENDED

INTG Intention to grant announced

Effective date: 20240930

GRAS Grant fee paid

Free format text: ORIGINAL CODE: EPIDOSNIGR3

GRAA (expected) grant

Free format text: ORIGINAL CODE: 0009210

STAA Information on the status of an ep patent application or granted ep patent

Free format text: STATUS: THE PATENT HAS BEEN GRANTED

AK Designated contracting states

Kind code of ref document: B1

Designated state(s): AL AT BE BG CH CY CZ DE DK EE ES FI FR GB GR HR HU IE IS IT LI LT LU LV MC MK MT NL NO PL PT RO RS SE SI SK SM TR

REG Reference to a national code

Ref country code: GB

Ref legal event code: FG4D

REG Reference to a national code

Ref country code: CH

Ref legal event code: EP

REG Reference to a national code

Ref country code: IE

Ref legal event code: FG4D

REG Reference to a national code

Ref country code: DE

Ref legal event code: R096

Ref document number: 602018079277

Country of ref document: DE

REG Reference to a national code

Ref country code: NL

Ref legal event code: MP

Effective date: 20250219

PG25 Lapsed in a contracting state [announced via postgrant information from national office to epo]

Ref country code: RS

Free format text: LAPSE BECAUSE OF FAILURE TO SUBMIT A TRANSLATION OF THE DESCRIPTION OR TO PAY THE FEE WITHIN THE PRESCRIBED TIME-LIMIT

Effective date: 20250519

PG25 Lapsed in a contracting state [announced via postgrant information from national office to epo]

Ref country code: FI

Free format text: LAPSE BECAUSE OF FAILURE TO SUBMIT A TRANSLATION OF THE DESCRIPTION OR TO PAY THE FEE WITHIN THE PRESCRIBED TIME-LIMIT

Effective date: 20250219

PG25 Lapsed in a contracting state [announced via postgrant information from national office to epo]

Ref country code: PL

Free format text: LAPSE BECAUSE OF FAILURE TO SUBMIT A TRANSLATION OF THE DESCRIPTION OR TO PAY THE FEE WITHIN THE PRESCRIBED TIME-LIMIT

Effective date: 20250219

PG25 Lapsed in a contracting state [announced via postgrant information from national office to epo]

Ref country code: ES

Free format text: LAPSE BECAUSE OF FAILURE TO SUBMIT A TRANSLATION OF THE DESCRIPTION OR TO PAY THE FEE WITHIN THE PRESCRIBED TIME-LIMIT

Effective date: 20250219

REG Reference to a national code

Ref country code: LT

Ref legal event code: MG9D

PG25 Lapsed in a contracting state [announced via postgrant information from national office to epo]

Ref country code: IS

Free format text: LAPSE BECAUSE OF FAILURE TO SUBMIT A TRANSLATION OF THE DESCRIPTION OR TO PAY THE FEE WITHIN THE PRESCRIBED TIME-LIMIT

Effective date: 20250619

Ref country code: NO

Free format text: LAPSE BECAUSE OF FAILURE TO SUBMIT A TRANSLATION OF THE DESCRIPTION OR TO PAY THE FEE WITHIN THE PRESCRIBED TIME-LIMIT

Effective date: 20250519

PG25 Lapsed in a contracting state [announced via postgrant information from national office to epo]

Ref country code: NL

Free format text: LAPSE BECAUSE OF FAILURE TO SUBMIT A TRANSLATION OF THE DESCRIPTION OR TO PAY THE FEE WITHIN THE PRESCRIBED TIME-LIMIT

Effective date: 20250219

PG25 Lapsed in a contracting state [announced via postgrant information from national office to epo]

Ref country code: HR

Free format text: LAPSE BECAUSE OF FAILURE TO SUBMIT A TRANSLATION OF THE DESCRIPTION OR TO PAY THE FEE WITHIN THE PRESCRIBED TIME-LIMIT

Effective date: 20250219

PG25 Lapsed in a contracting state [announced via postgrant information from national office to epo]

Ref country code: LV

Free format text: LAPSE BECAUSE OF FAILURE TO SUBMIT A TRANSLATION OF THE DESCRIPTION OR TO PAY THE FEE WITHIN THE PRESCRIBED TIME-LIMIT

Effective date: 20250219

Ref country code: PT

Free format text: LAPSE BECAUSE OF FAILURE TO SUBMIT A TRANSLATION OF THE DESCRIPTION OR TO PAY THE FEE WITHIN THE PRESCRIBED TIME-LIMIT

Effective date: 20250620

PG25 Lapsed in a contracting state [announced via postgrant information from national office to epo]

Ref country code: GR

Free format text: LAPSE BECAUSE OF FAILURE TO SUBMIT A TRANSLATION OF THE DESCRIPTION OR TO PAY THE FEE WITHIN THE PRESCRIBED TIME-LIMIT

Effective date: 20250520

Ref country code: BG

Free format text: LAPSE BECAUSE OF FAILURE TO SUBMIT A TRANSLATION OF THE DESCRIPTION OR TO PAY THE FEE WITHIN THE PRESCRIBED TIME-LIMIT

Effective date: 20250219

REG Reference to a national code

Ref country code: AT

Ref legal event code: MK05

Ref document number: 1768507

Country of ref document: AT

Kind code of ref document: T

Effective date: 20250219

PG25 Lapsed in a contracting state [announced via postgrant information from national office to epo]

Ref country code: SE

Free format text: LAPSE BECAUSE OF FAILURE TO SUBMIT A TRANSLATION OF THE DESCRIPTION OR TO PAY THE FEE WITHIN THE PRESCRIBED TIME-LIMIT

Effective date: 20250219

PG25 Lapsed in a contracting state [announced via postgrant information from national office to epo]

Ref country code: SM

Free format text: LAPSE BECAUSE OF FAILURE TO SUBMIT A TRANSLATION OF THE DESCRIPTION OR TO PAY THE FEE WITHIN THE PRESCRIBED TIME-LIMIT

Effective date: 20250219

PG25 Lapsed in a contracting state [announced via postgrant information from national office to epo]

Ref country code: DK

Free format text: LAPSE BECAUSE OF FAILURE TO SUBMIT A TRANSLATION OF THE DESCRIPTION OR TO PAY THE FEE WITHIN THE PRESCRIBED TIME-LIMIT

Effective date: 20250219

PG25 Lapsed in a contracting state [announced via postgrant information from national office to epo]

Ref country code: IT

Free format text: LAPSE BECAUSE OF FAILURE TO SUBMIT A TRANSLATION OF THE DESCRIPTION OR TO PAY THE FEE WITHIN THE PRESCRIBED TIME-LIMIT

Effective date: 20250219

PG25 Lapsed in a contracting state [announced via postgrant information from national office to epo]

Ref country code: AT

Free format text: LAPSE BECAUSE OF FAILURE TO SUBMIT A TRANSLATION OF THE DESCRIPTION OR TO PAY THE FEE WITHIN THE PRESCRIBED TIME-LIMIT

Effective date: 20250219

PG25 Lapsed in a contracting state [announced via postgrant information from national office to epo]

Ref country code: EE

Free format text: LAPSE BECAUSE OF FAILURE TO SUBMIT A TRANSLATION OF THE DESCRIPTION OR TO PAY THE FEE WITHIN THE PRESCRIBED TIME-LIMIT

Effective date: 20250219

Ref country code: CZ

Free format text: LAPSE BECAUSE OF FAILURE TO SUBMIT A TRANSLATION OF THE DESCRIPTION OR TO PAY THE FEE WITHIN THE PRESCRIBED TIME-LIMIT

Effective date: 20250219

PG25 Lapsed in a contracting state [announced via postgrant information from national office to epo]

Ref country code: RO

Free format text: LAPSE BECAUSE OF FAILURE TO SUBMIT A TRANSLATION OF THE DESCRIPTION OR TO PAY THE FEE WITHIN THE PRESCRIBED TIME-LIMIT

Effective date: 20250219

PG25 Lapsed in a contracting state [announced via postgrant information from national office to epo]

Ref country code: SK

Free format text: LAPSE BECAUSE OF FAILURE TO SUBMIT A TRANSLATION OF THE DESCRIPTION OR TO PAY THE FEE WITHIN THE PRESCRIBED TIME-LIMIT

Effective date: 20250219