EP3475609B1 - Procédé de combustion de combustible dans une chambre de combustion cylindrique - Google Patents

Procédé de combustion de combustible dans une chambre de combustion cylindrique Download PDF

Info

Publication number
EP3475609B1
EP3475609B1 EP17732472.0A EP17732472A EP3475609B1 EP 3475609 B1 EP3475609 B1 EP 3475609B1 EP 17732472 A EP17732472 A EP 17732472A EP 3475609 B1 EP3475609 B1 EP 3475609B1
Authority
EP
European Patent Office
Prior art keywords
burner
combustion chamber
fuel
jet
oxidising gas
Prior art date
Legal status (The legal status is an assumption and is not a legal conclusion. Google has not performed a legal analysis and makes no representation as to the accuracy of the status listed.)
Active
Application number
EP17732472.0A
Other languages
German (de)
English (en)
Other versions
EP3475609A1 (fr
Inventor
Ziad Habib
Current Assignee (The listed assignees may be inaccurate. Google has not performed a legal analysis and makes no representation or warranty as to the accuracy of the list.)
Lhoist Recherche et Developpement SA
Original Assignee
Lhoist Recherche et Developpement SA
Priority date (The priority date is an assumption and is not a legal conclusion. Google has not performed a legal analysis and makes no representation as to the accuracy of the date listed.)
Filing date
Publication date
Family has litigation
First worldwide family litigation filed litigation Critical https://patents.darts-ip.com/?family=56551093&utm_source=google_patent&utm_medium=platform_link&utm_campaign=public_patent_search&patent=EP3475609(B1) "Global patent litigation dataset” by Darts-ip is licensed under a Creative Commons Attribution 4.0 International License.
Application filed by Lhoist Recherche et Developpement SA filed Critical Lhoist Recherche et Developpement SA
Priority to HRP20220707TT priority Critical patent/HRP20220707T1/hr
Priority to SI201731156T priority patent/SI3475609T1/sl
Publication of EP3475609A1 publication Critical patent/EP3475609A1/fr
Application granted granted Critical
Publication of EP3475609B1 publication Critical patent/EP3475609B1/fr
Active legal-status Critical Current
Anticipated expiration legal-status Critical

Links

Images

Classifications

    • FMECHANICAL ENGINEERING; LIGHTING; HEATING; WEAPONS; BLASTING
    • F23COMBUSTION APPARATUS; COMBUSTION PROCESSES
    • F23DBURNERS
    • F23D1/00Burners for combustion of pulverulent fuel
    • F23D1/02Vortex burners, e.g. for cyclone-type combustion apparatus
    • FMECHANICAL ENGINEERING; LIGHTING; HEATING; WEAPONS; BLASTING
    • F23COMBUSTION APPARATUS; COMBUSTION PROCESSES
    • F23CMETHODS OR APPARATUS FOR COMBUSTION USING FLUID FUEL OR SOLID FUEL SUSPENDED IN  A CARRIER GAS OR AIR 
    • F23C3/00Combustion apparatus characterised by the shape of the combustion chamber
    • F23C3/002Combustion apparatus characterised by the shape of the combustion chamber the chamber having an elongated tubular form, e.g. for a radiant tube
    • FMECHANICAL ENGINEERING; LIGHTING; HEATING; WEAPONS; BLASTING
    • F23COMBUSTION APPARATUS; COMBUSTION PROCESSES
    • F23DBURNERS
    • F23D99/00Subject matter not provided for in other groups of this subclass
    • F23D99/002Burners specially adapted for specific applications
    • F23D99/004Burners specially adapted for specific applications for use in particular heating operations

Definitions

  • furnaces In the field of the calcination of mineral rocks, in particular limestone and dolomitic rocks, various types of furnaces are used, in particular rotary furnaces, shaft furnaces, and in particular annular straight furnaces.
  • FIG. 1 An example of a burner not in accordance with the invention is represented schematically according to an axial section on the picture 3a and in perspective on the figure 4a .
  • the burner comprises a fuel conduit 120 surrounded by a cylindrical sleeve 121 comprising a flared portion 127 towards the end of the nose of the burner and comprising a plurality of holes 128.
  • the cylindrical sleeve 121 forms with the conduit 120 an annular space through which passes a combustible gas 126.
  • the sleeve 121 and the conduit 120 are included in an outer casing 122 (shown on the picture 3a , not shown on the figure 4a ) so that the nose of the conduit 120 protrudes from the flared portion 127 of the sleeve 121 and from the nose of the outer casing 122, that the flared portion 127 of the sleeve is recessed with respect to the nose of the outer casing 122.
  • Axial primary air 105 can circulate between a space formed by the outer casing 122 and the sleeve 121, as well as by the plurality of holes 128 on the flared part of the sleeve.
  • annular straight furnaces are small and short. They are sized for natural gas which burns instantaneously according to the “as soon as mixed, as soon as burned” law of homogeneous combustion (gas-gas combustion). In these chambers, too, the air required for combustion arrives premixed with recirculated flue gases, which have a reduced oxygen concentration.
  • the object of the present invention is to remedy these drawbacks and therefore to propose a combustion method applicable in the combustion chambers of furnaces, in particular of existing furnaces, which is effective with a consumption of only pulverulent solid fuel.
  • a combustion process has been provided as indicated at the beginning, in which the jet of solid fuel has an axial component of projection in the same direction as said direction of propagation of the combustion gas in the cylindrical combustion chamber and wherein the ratio of the specific momentum rate of the burner to the specific momentum rate of the combustion gas is equal to or less than 1.0 and greater than zero.
  • the specific momentum rate is the measure of the force of a jet (eg burner jet or oxidant current) divided by the burner power.
  • the basic principle in the design of burners is that a burner must have a significant and sufficient momentum flow rate (injection speed x mass flow rate) for the central fuel jet to be able to draw in the oxidizer arriving at its periphery, thereby forcing the fuel/oxidant mixture, which accelerates combustion.
  • the aerodynamics of a flame of traditional design is therefore determined by the burner itself (see figure 1 ).
  • the process according to the present invention is based on an aerodynamics which is determined by the oxidant arriving in the combustion chamber.
  • the oxidizer here forces the fuel to enter its current by adapting the momentum rate of the burner to that of the oxidizer (see figure 2 ). It is therefore no longer the jet of fuel which is the driving force, it is the fuel which is driven by the oxidizer. This results in an increased residence time of the fuel, with the effect of making it possible to use a fuel only in a solid pulverulent form and to obtain total combustion of this fuel in the combustion chamber.
  • this momentum flow rate of the burner it is possible, for example, to increase the fuel injection section in the nose of the burner, which has the immediate effect of reducing the fuel injection speed while maintaining unchanged the flow rates of fuel and oxidizer and the speed of the oxidizer and this has no influence on the operation of the furnace itself.
  • This is a minor and easy modification to the burner nose, with immediate effect on the claimed ratio between specific momentum rates being adapted to become equal to or less than 1.0.
  • this ratio will be between 0.5 and 0.9.
  • the cylindrical combustion chamber has first and second axial ends and the jet of pulverulent solid fuel is projected by the burner from the first axial end of the combustion chamber towards the second axial end.
  • the burner is arranged in a peephole provided in the front wall of the first end of the combustion chamber. The jet of solid fuel can thus come into contact with the oxidizer over the entire length of the combustion chamber.
  • the combustion gas is mainly a flue gas recirculated, for example from the calcining furnace.
  • This flue gas can be enriched with oxygen, for example by supplying air.
  • the combustion gas is fed tangentially into the combustion chamber at said first end thereof, so as to form a helical current of combustion gas around the jet of fuel projected by the burner.
  • This favors the fuel-oxidizer mixture.
  • provision can also be made for the combustion gas to be fed into the combustion chamber at said first end of the latter, parallel to its axis and around the jet of fuel projected by the burner.
  • the propagation of the combustion gas must in any case follow a direction of propagation towards the downstream end of the combustion chamber.
  • the method according to the invention is intended to be preferably implemented in a lower combustion chamber of a straight annular kiln for calcining limestone or dolomitic rock.
  • the present invention also relates to such a combustion chamber comprising, at a first axial end, a burner arranged to project a jet of pulverulent solid fuel into this chamber, and optionally an axial primary air flow, and a supply inlet for an oxidizing gas arranged so as to form a current of oxidizing gas in a direction of propagation around the jet of fuel projected by the burner, the burner being arranged to project the solid fuel in an axial component of projection having the same direction as the direction propagation of the current of oxidizing gas in the cylindrical combustion chamber, so as to allow the implementation of the method according to the invention.
  • It also relates to a straight annular kiln for calcining limestone or dolomitic rock, comprising at least one such combustion chamber as well as a straight annular kiln for calcining limestone or dolomitic rock, implementing a process according to the invention.
  • the specific momentum flow rate of the burner (transport air + coal) is much higher than that of the oxidizer.
  • this combustion chamber 1 is illustrated schematically.
  • the fuel is projected by the burner 2 at a very high injection speed 3 and the injection cone 4 formed by the fuel projected out of the nose of the burner has a very tapered shape. Thanks to this high injection speed, the oxidizer 5, fed around the jet of fuel, is sucked into it.
  • a conventional annular straight furnace for calcining limestone or dolomitic rock comprises an outer cylinder 6 and an inner cylinder 7 forming an annular space 8 into which the material to be fired descends.
  • the raw material is introduced from the top of the furnace at 9 and the cooked product is discharged from the bottom at 10.
  • the fuel is injected at two levels, through several upper 11 and lower 12 combustion chambers (from 4 to 6 chambers depending on oven capacity). In general, 1/3 of the fuel is injected into chambers 11 and 2/3 into chambers 12. All of the fumes from the upper chambers 11 and part of the fumes from the lower chambers 12 are drawn upwards by a ventilation fan. draw 13, therefore against the current of the movement of the material load.
  • this oxidizing gas 31 arrives at each of the chambers 12 tangentially to the axis of the chamber and therefore to the jet of the burner 18 injected axially. As a result, the combustion gas 31 acquires a rotational movement which induces a centrifugal force pushing the combustion gas 31 towards the walls of the cylindrical combustion chamber.
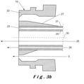
  • the figure 3b shows an axial section of a burner embodiment according to the invention.
  • the burner comprises a sleeve 21 comprising a central duct 20 through which the pulverulent solid fuel is fed.
  • the sleeve 21 further comprises at least one additional conduit 23 through which combustible gas 26 can be supplied when the oven is switched on, and only then.
  • An outer casing 22 envelops sleeve 21 and forms with it a space through which axial primary air 5 can be supplied to aid combustion.
  • the outer casing 22 comprises a portion 19 whose internal diameter progressively reduces towards the nose of the burner, and the sleeve comprises a portion 27 whose external diameter gradually increases towards the nose of the burner so as to reduce the space between the nose of the outer casing 22 and the nose of the sleeve 21.
  • This reduction in space between the outer casing 22 and the sleeve makes it possible to increase the injection speed of the axial primary air 5 into the combustion chamber without having to provide a high flow of axial primary air.
  • the nose of the outer casing 22, the nose of the sleeve 21, the nose of the central conduit 20 and the nose of said at least one additional conduit 23 pass through a plane orthogonal to the axis 30 of the burner.
  • the figure 4b shows a perspective view of a first embodiment of the burner according to the invention.
  • the sleeve 21 comprises a central duct 20 through which the pulverulent solid fuel is fed.
  • the sleeve 21 further comprises an additional duct 23 forming a thin annular space, through which combustible gas 26 can be supplied at the moment of ignition of the furnace, and only at that moment.
  • An outer casing 22 (not shown in the figure 4b ) envelops sleeve 21 and forms a space through which axial primary air 5 can be supplied to aid combustion.
  • the figure 4c shows a perspective view of another embodiment of the burner according to the invention.
  • the sleeve 21 comprises a central duct 20 through which the pulverulent solid fuel is fed.
  • the sleeve 21 further comprises a plurality of additional ducts 23 distributed around the central duct 20, these additional ducts 23 through which combustible gas 26 can be supplied when the oven is switched on, and only at this time.
  • An outer casing 22 (not shown in the figure 4c ) envelops sleeve 21 and forms a space through which axial primary air 5 can be supplied to aid combustion.
  • a reduction in the space between the sleeve 21 and the outer casing 22 can be achieved only by reducing the internal diameter of the casing 22 at the level of the nose of the burner and keeping the external diameter of the sleeve 21 constant, or alternatively by increasing the external diameter of the sleeve 21 at the level of the nose of the burner while keeping the internal diameter of the casing 22 constant.
  • This reduction in space between the sleeve 21 and the casing makes it possible to provide a higher primary air injection speed at the outlet of the burner.
  • the internal diameter of the envelope 22, the external diameter of the sleeve 21 and the space between the sleeve 21 and the external envelope remain constant.
  • the axial primary air flow or the volume of the sleeve 21 or the volume of the interior of the casing 22 are adapted to allow the axial primary air to exit at a predefined speed at the nose of the burner.
  • the figure 5 shows a diagram of an annular furnace and includes a representation of one embodiment of a cylindrical combustion chamber 12 according to the invention.
  • the combustion chamber comprises an inlet forming the casing 22 of the burner 18 and the axis 30 of the burner is preferably located in the axis 30' of the cylindrical combustion chamber 12.
  • the combustion chamber 12 further comprises an oxidizing gas inlet 31 located tangentially with respect to the axis 30, 30' of the burner and of the cylindrical combustion chamber, as described above.
  • the combustion gases are then evacuated from the combustion chamber through a conduit.
  • the injection speed of the fuel transported by air is obtained by passing through the pipe 20 which has a section of 0.001 m 2 .
  • the "force" of the burner i.e. its specific flow rate of momentum (axial primary air + transport air + coal) is still slightly greater than that of the oxidizer, but it is insufficient to suck the oxidizer into the fuel. It is not to be compared with that of the rotary kiln described above. And we therefore observe an unsatisfactory combustion with a furnace having the disadvantages described above.
  • This arrangement allows a residence time of the particles increased drastically in the combustion chamber and therefore the oxygen is better available and the combustion is complete inside the combustion chamber.

Landscapes

  • Engineering & Computer Science (AREA)
  • Chemical & Material Sciences (AREA)
  • Combustion & Propulsion (AREA)
  • Mechanical Engineering (AREA)
  • General Engineering & Computer Science (AREA)
  • Pre-Mixing And Non-Premixing Gas Burner (AREA)
  • Muffle Furnaces And Rotary Kilns (AREA)
  • Fluidized-Bed Combustion And Resonant Combustion (AREA)

Description

  • La présente invention est relative à un procédé de combustion de combustible dans une chambre de combustion cylindrique, comprenant, dans cette chambre de combustion,
    • une projection, à partir d'un brûleur, d'un jet de combustible solide pulvérulent déplacé par un air de transport, et éventuellement d'un flux d'air primaire, et
    • une alimentation en un gaz comburant suivant un sens de propagation de manière à former un courant de gaz comburant autour du jet de combustible projeté par le brûleur, à une température occasionnant une combustion du combustible.
  • Dans le domaine de la calcination de roches minérales, en particulier de roches calcaires et dolomitiques, on utilise différents types de fours, notamment des fours rotatifs, des fours à cuve, et en particulier des fours droits annulaires.
  • Ces fours droits annulaires mettent en œuvre, pour chauffer la matière, des chambres de combustion supérieures et inférieures. Les chambres de combustion inférieures sont à l'origine conçues pour fonctionner avec du gaz naturel comme combustible et celui-ci brûle quasiment instantanément.
  • Or, il devient de plus en plus souhaitable de pouvoir remplacer, dans ces fours actuellement en service, le gaz combustible par un combustible moins coûteux, en particulier un combustible solide pulvérulent du type poudre de charbon, de coke ou de lignite, pépins de raisins, noyaux d'olives, sciure de bois, etc.
  • Un exemple non conforme à l'invention de brûleur est représenté schématiquement selon une coupe axiale sur la figure 3a et en perspective sur la figure 4a. Le brûleur comprend un conduit de combustible 120 entouré d'un manchon cylindrique 121 comprenant une portion évasée 127 vers l'extrémité du nez du brûleur et comprenant une pluralité de trous 128. Le manchon cylindrique 121 forme avec le conduit 120 un espace annulaire au travers duquel passe un gaz combustible 126. Le manchon 121 et le conduit 120 sont inclus dans une enveloppe externe 122 (représentée sur la figure 3a, non représentée sur la figure 4a) de telle sorte que le nez du conduit 120 dépasse de la portion évasée 127 du manchon 121 et du nez de l'enveloppe externe 122, que la portion évasée 127 du manchon soit en retrait par rapport au nez de l'enveloppe externe 122. De l'air primaire axial 105 peut circuler entre un espace formé par l'enveloppe externe 122 et le manchon 121, ainsi que par la pluralité de trous 128 sur la partie évasée du manchon.
  • L'alimentation des brûleurs dans les chambres de combustion inférieures de fours annulaires de calcination par un tel combustible pulvérulent solide s'est toutefois avérée, lors d'essais expérimentaux effectués par la demanderesse, difficilement appropriée. En effet la combustion est incomplète, ce qui conduit à une combustion des imbrûlés non plus dans la chambre de combustion, mais dans le lit de matière et même dans le cylindre intérieur du four annulaire, par lequel les gaz de fumée chauds sont récupérés. Il en résulte une détérioration de la qualité du produit cuit (perte de réactivité) et de la productivité (arrêts fréquents du four pour le nettoyer). Et on en arrive à devoir continuer à mettre en œuvre du gaz combustible en combinaison avec du combustible solide pulvérulent pour éviter ces problèmes. La diminution de prix escomptée en est ainsi largement réduite.
  • Il faut noter que les chambres de combustion inférieures des fours droits annulaires sont petites et courtes. Elles sont dimensionnées pour du gaz naturel qui brûle instantanément suivant la loi de « aussitôt mélangé, aussitôt brûlé » d'une combustion homogène (combustion gaz-gaz). Dans ces chambres également l'air nécessaire à la combustion arrive prémélangé avec des gaz de fumée remis en circulation, lesquels présentent une concentration réduite en oxygène.
  • Quand du combustible solide est projeté dans la chambre de combustion, la situation est différente, on est devant une combustion hétérogène (solide-gaz) où la loi de « aussitôt mélangé, aussitôt brûlé » n'est plus d'application. Le temps de combustion est très supérieur et dépend de beaucoup de facteurs, tels que la taille des particules, la réactivité de la surface solide, la disponibilité de l'oxygène près de la surface solide.
  • Simplement remplacer du combustible gazeux par du combustible solide dans des chambres de combustion existantes s'est donc avéré réellement problématique.
  • En vue d'améliorer la combustion du combustible solide, on a déjà prévu des artifices mécaniques qui obligent le combustible solide à se mélanger plus intimement au comburant (voir par exemple BE 1015604 , qui décrit un procédé et une chambre de combustion selon le préambule des revendications 1 et 10 respectivement, et EP2143998 ).
  • Cependant de tels systèmes restent compliqués et coûteux à la fabrication et surtout à la maintenance. Ils présentent des risques non négligeables de dysfonctionnement, tels que bouchages, usure rapide des pièces mécaniques, etc.
  • La présente invention a pour but de porter remède à ces inconvénients et donc de proposer un procédé de combustion applicable dans les chambres de combustion de fours, en particulier de fours existants, qui soit efficace avec une consommation uniquement de combustible solide pulvérulent.
  • Pour résoudre ce problème on a prévu un procédé de combustion tel qu'indiqué au début, dans lequel le jet de combustible solide présente une composante axiale de projection dans un même sens que ledit sens de propagation du gaz comburant dans la chambre de combustion cylindrique et dans lequel le rapport entre débit spécifique de quantité de mouvement du brûleur et débit spécifique de quantité de mouvement du gaz comburant est égal ou inférieur à 1,0 et supérieur à zéro.
  • Le débit spécifique de quantité de mouvement est la mesure de la force d'un jet (par exemple jet du brûleur ou courant du comburant) divisée par la puissance du brûleur.
  • Le débit spécifique de quantité de mouvement du brûleur utilisé est calculé selon l'équation (1) suivante : Gax _ br u ^ leur = Qmcs + Qmat × Vinj / P + Qmap × Vap / P ,
    Figure imgb0001
    • Qmcs = débit massique du combustible solide (kg/sec),
    • Qmat = débit massique de l'air de transport (kg/sec),
    • Qmap = débit massique de l'air primaire (kg/sec),
    • Vinj = vitesse d'injection axiale du combustible (m/sec)
    • Vap = vitesse d'injection axiale de l'air primaire, et
    • P = puissance du brûleur (MW).
  • La vitesse d'injection axiale se calcule selon l'équation (2) suivante :
    • Pour le combustible
      • Vinj = Qvat/Sb, où
      • Qvat = débit volumique réel de l'air de transport (m3/sec), et
      • Sb = section droite du conduit d'injection du combustible dans le brûleur (m2).
    • Pour l'air primaire
      • Vap= Qvap/Sap
      • Qvap = débit volumique réel de l'air primaire (m3/sec)
      • Sap = section droite du conduit d'injection de l'air primaire dans le brûleur (m2)
  • La puissance du brûleur se calcule selon l'équation (3) suivante :
    • P = Qmcs x PCI, où
    • PCI = pouvoir calorifique inférieur du combustible (MJ/kg).
  • Le débit spécifique de quantité de mouvement du gaz comburant est calculé selon l'équation (4) suivante : Gax _ comburant = Qmgc × Vgc / P ,
    Figure imgb0002
    • Qmgc = débit massique du gaz comburant (kg/sec), et
    • Vgc = vitesse axiale du gaz comburant autour du jet de combustible solide (m/sec).
  • La vitesse axiale du gaz comburant se calcule selon l'équation (5) suivante :
    • Vgc = Qvgc/Sch, où
    • Qvgc = débit volumique du gaz comburant (m3/sec), et
    • Sch = section droite de la chambre de combustion (m2).
  • Le principe de base dans la conception des brûleurs est qu'un brûleur doit avoir un débit de quantité de mouvement (vitesse d'injection x débit massique) important et suffisant pour que le jet central de combustible puisse aspirer le comburant arrivant à sa périphérie, en forçant ainsi le mélange combustible/comburant, ce qui accélère la combustion. L'aérodynamique d'une flamme de conception traditionnelle est donc déterminée par le brûleur lui-même (voir figure 1).
  • Au contraire, le procédé suivant la présente invention s'appuie sur une aérodynamique qui est déterminée par le comburant arrivant dans la chambre de combustion. Le comburant force ici le combustible à pénétrer dans son courant par une adaptation du débit de quantité de mouvement du brûleur à celle du comburant (voir figure 2). Ce n'est donc plus le jet de combustible qui est moteur, c'est le combustible qui est entraîné par le comburant. Il en résulte un temps de séjour augmenté du combustible, avec pour effet la possibilité de mettre en œuvre un combustible uniquement sous une forme solide pulvérulente et d'obtenir une combustion totale de ce combustible dans la chambre de combustion.
  • Pour adapter ce débit de quantité de mouvement du brûleur on peut par exemple prévoir d'augmenter la section d'injection du combustible dans le nez du brûleur, ce qui a pour effet immédiat de diminuer la vitesse d'injection du combustible tout en conservant inchangés les débits de combustible et de comburant et la vitesse du comburant et ce qui est sans influence sur le fonctionnement du four lui-même. Il s'agit d'une modification mineure et aisée du nez du brûleur, avec effet immédiat sur le rapport revendiqué entre les débits spécifiques de quantité de mouvement qui est adapté de façon à devenir égal ou inférieur à 1,0. De préférence ce rapport sera compris entre 0,5 et 0,9.
  • Suivant un mode de réalisation du procédé suivant l'invention, la chambre de combustion cylindrique présente une première et une seconde extrémités axiales et le jet de combustible solide pulvérulent est projeté par le brûleur depuis la première extrémité axiale de la chambre de combustion vers la seconde extrémité axiale. Avantageusement le brûleur est agencé dans un ouvreau prévu dans la paroi frontale de la première extrémité de la chambre de combustion. Le jet de combustible solide peut ainsi entrer en contact avec le comburant sur toute la longueur de la chambre de combustion.
  • Suivant l'invention le gaz comburant est principalement un gaz de fumée remis en circulation, par exemple depuis le four de calcination. Ce gaz de fumée peut être enrichi en oxygène, par exemple par un apport d'air.
  • Avantageusement, le gaz comburant est alimenté tangentiellement dans la chambre de combustion à ladite première extrémité de celle-ci, de manière à former un courant hélicoïdal de gaz comburant autour du jet de combustible projeté par le brûleur. Cela favorise le mélange combustible-comburant. On peut naturellement aussi prévoir que le gaz comburant soit alimenté dans la chambre de combustion à ladite première extrémité de celle-ci, parallèlement à son axe et autour du jet de combustible projeté par le brûleur. La propagation du gaz comburant doit de toute manière suivre un sens de propagation vers l'extrémité aval de la chambre de combustion.
  • Pour favoriser encore en outre le mélange combustible-comburant on peut prévoir, suivant l'invention, une mise en rotation partielle ou totale du jet de combustible transporté par de l'air de transport. Celle-ci peut par exemple être obtenue en donnant un mouvement de rotation à l'air de transport, à l'aide d'ailettes directrices.
  • Le procédé suivant l'invention est prévu pour être de préférence mis en oeuvre dans une chambre de combustion inférieure de four droit annulaire de calcination de roche calcaire ou dolomitique.
  • La présente invention concerne également une telle chambre de combustion comprenant, à une première extrémité axiale, un brûleur agencé pour projeter un jet de combustible solide pulvérulent dans cette chambre, et éventuellement un flux d'air primaire axial, et une entrée d'alimentation pour un gaz comburant disposée de manière à former un courant de gaz comburant suivant un sens de propagation autour du jet de combustible projeté par le brûleur, le brûleur étant agencé pour projeter le combustible solide suivant une composante axiale de projection ayant un même sens que le sens de propagation du courant de gaz comburant dans la chambre de combustion cylindrique, de manière à permettre la mise en œuvre du procédé suivant l'invention. Elle concerne aussi un four droit annulaire de calcination de roche calcaire ou dolomitique, comprenant au moins une telle chambre de combustion ainsi qu'un four droit annulaire de calcination de roche calcaire ou dolomitique, mettant en œuvre un procédé suivant l'invention.
  • L'invention va à présent être décrite de manière plus détaillée en se référant aux dessins annexés donnés à titre non limitatif.
    • La figure 1 représente de manière schématique une projection non conforme à l'invention d'un jet de combustible solide pulvérulent dans un four rotatif conventionnel.
    • La figure 2 représente de manière schématique une projection suivant l'invention d'un combustible solide pulvérulent dans une chambre de combustion par exemple de four de calcination droit annulaire.
    • La figure 3a représente une vue schématique selon une coupe longitudinale d'un brûleur non conforme à l'invention.
    • La figure 3b représente une vue en coupe axiale d'un brûleur utilisable pour la mise en oeuvre du procédé suivant l'invention.
    • La figure 4a représente une vue schématique en perspective d'un brûleur non conforme à l'invention.
    • La figure 4b représente une vue schématique en perspective d'une forme de réalisation d'un brûleur utilisable pour la mise en œuvre du procédé suivant l'invention.
    • La figure 4c représente une vue schématique en perspective d'une autre forme de réalisation d'un brûleur utilisable pour la mise en œuvre du procédé selon l'invention.
    • La figure 5 représente une vue en coupe axiale d'un four de calcination droit annulaire pourvu de chambres de combustion inférieures mettant en œuvre le procédé suivant l'invention.
  • Sur les différents dessins les éléments identiques portent les mêmes références.
  • Il est usuel de mettre en œuvre, dans les chambres de combustion de fours rotatifs industriels, des brûleurs qui sont alimentés uniquement en combustible solide pulvérulent. Les conditions prévues pour le fonctionnement de brûleurs de ce genre, dont la puissance est de 66 MW, dans un four rotatif dont le débit est de 1100t/jour sont résumées dans le tableau 1 ci-dessous. Tableau 1
    Débit T (°C) Vitesse (m/sec) Gax (N/MW)
    Comburant* 165806 m3/h 550 2,5 0,74
    Air de transport 22127 m3/h 50 60 6,10
    Charbon 9000 kg/h 50 60 2,28
    Total brûleur 8,38
    Gax_brûleur/Gax_comburant 11,29
    *Le comburant est dans ce cas de l'air.
  • Comme on peut le constater le débit spécifique de quantité de mouvement du brûleur (air de transport + charbon) est très supérieur à celui du comburant.
  • Sur la figure 1 cette chambre de combustion 1 est illustrée de manière schématique. Le combustible est projeté par le brûleur 2 à une vitesse d'injection 3 très élevée et le cône d'injection 4 formé par le combustible projeté hors du nez du brûleur a une forme très effilée. Grâce à cette vitesse d'injection élevée le comburant 5, alimenté autour du jet de combustible, est aspiré dans celui-ci.
  • Ainsi qu'il ressort de la figure 5, un four droit annulaire usuel pour la calcination de roche calcaire ou dolomitique comprend un cylindre extérieur 6 et un cylindre intérieur 7 formant un espace annulaire 8 dans lequel descend la matière à cuire. La matière crue est introduite par le haut du four en 9 et le produit cuit est déchargé par le bas en 10. Le combustible est injecté à deux niveaux, à travers plusieurs chambres de combustion supérieures 11 et inférieures 12 (de 4 à 6 chambres selon la capacité du four). De manière générale, 1/3 du combustible est injecté dans les chambres 11 et 2/3 dans les chambres 12. La totalité des fumées des chambres supérieures 11 et une partie des fumées des chambres inférieures 12 sont tirées vers le haut par un ventilateur de tirage 13, donc à contre-courant du mouvement de la charge de matière. Dans cette zone il se produit une calcination à contre-courant. L'autre partie des gaz de fumées des chambres de combustion inférieures 12 est tirée vers le bas par une dépression créée au niveau des ouïes de reprise 14 prévues dans le cylindre intérieur 7, plus bas que les chambres de combustion 12. C'est la zone de calcination en co-courant. Au niveau des ouïes les fumées de la zone de calcination en co-courant se mélangent avec l'air de refroidissement introduit au bas du four en 15. Ce mélange forme les fumées de recirculation qui, en 16, sont récupérées du cylindre intérieur 7 et ramenées aux chambres de combustion inférieures 12 pour y devenir le gaz comburant. Par un conduit 17, ce gaz comburant 31 arrive à chacune des chambres 12 de manière tangentielle à l'axe de la chambre et donc au jet du brûleur 18 injecté axialement. De ce fait, le gaz comburant 31 acquiert un mouvement rotationnel qui induit une force centrifuge poussant le gaz comburant 31 vers les parois de la chambre de combustion cylindrique.
  • Des essais expérimentaux ont alors été réalisés pour appliquer à chacune des chambres de combustion d'un tel four de calcination annulaire usuel une alimentation du brûleur uniquement en combustible solide pulvérulent.
  • La figure 3b représente une coupe axiale d'une forme de réalisation de brûleur selon l'invention. Le brûleur comprend un manchon 21 comprenant un conduit central 20 par lequel est amené le combustible solide pulvérulent. Le manchon 21 comprend en outre au moins un conduit supplémentaire 23 par lequel du gaz combustible 26 peut être alimenté au moment de l'allumage du four, et uniquement à ce moment-là. Une enveloppe externe 22 enveloppe le manchon 21 et forme avec lui un espace au travers duquel de l'air primaire axial 5 peut être alimenté pour aider à la combustion. L'enveloppe externe 22 comprend une portion 19 dont le diamètre interne se réduit progressivement vers le nez du brûleur, et le manchon comprend une portion 27 dont le diamètre externe augmente progressivement vers le nez du brûleur de sorte à réduire l'espace entre le nez de l'enveloppe externe 22 et le nez du manchon 21. Cette réduction d'espace entre l'enveloppe externe 22 et le manchon permet d'augmenter la vitesse d'injection de l'air primaire axial 5 dans la chambre de combustion sans avoir à fournir un débit élevé d'air primaire axial. Le nez de l'enveloppe externe 22, le nez du manchon 21, le nez du conduit central 20 et le nez dudit au moins un conduit supplémentaire 23 passent par un plan orthogonal à l'axe 30 du brûleur.
  • La figure 4b représente une vue en perspective d'une première forme de réalisation de brûleur suivant l'invention. Le manchon 21 comprend un conduit central 20 par lequel est amené le combustible solide pulvérulent. Le manchon 21 comprend en outre un conduit supplémentaire 23 formant un mince espace annulaire, par lequel du gaz combustible 26 peut être alimenté au moment de l'allumage du four, et uniquement à ce moment-là. Une enveloppe externe 22 (non représentée sur la figure 4b) enveloppe le manchon 21 et forme un espace au travers duquel de l'air primaire axial 5 peut être alimenté pour aider à la combustion.
  • La figure 4c représente une vue en perspective d'une autre forme de réalisation du brûleur suivant l'invention. Le manchon 21 comprend un conduit central 20 par lequel est amené le combustible solide pulvérulent. Le manchon 21 comprend en outre une pluralité de conduits supplémentaires 23 répartis autour du conduit central 20, ces conduits supplémentaires 23 par lequel du gaz combustible 26 peut être alimenté au moment de l'allumage du four, et uniquement à ce moment-là. Une enveloppe externe 22 (non représentée sur la figure 4c) enveloppe le manchon 21 et forme un espace au travers duquel de l'air primaire axial 5 peut être alimenté pour aider à la combustion.
  • Selon d'autres formes de réalisations possibles du brûleur, une réduction d'espace entre le manchon 21 et l'enveloppe externe 22 peut être réalisée uniquement en diminuant le diamètre interne de l'enveloppe 22 au niveau du nez du brûleur et en gardant le diamètre externe du manchon 21 constant, ou alternativement en augmentant le diamètre externe du manchon 21 au niveau du nez du bruleur tout en gardant le diamètre interne de l'enveloppe 22 constant. Cette réduction d'espace entre le manchon 21 et l'enveloppe permet de fournir une vitesse d'injection d'air primaire plus élevée à la sortie du brûleur.
  • Selon une autre forme de réalisation possible du brûleur, le diamètre interne de l'enveloppe 22, le diamètre externe du manchon 21 et l'espace entre le manchon 21 et l'enveloppe externe restent constant. Dans ce cas, le débit d'air primaire axial ou le volume du manchon 21 ou le volume de l'intérieur de l'enveloppe 22 sont adaptés pour permettre à l'air primaire axial de sortir à une vitesse prédéfinie au nez du brûleur.
  • La figure 5 représente un schéma d'un four annulaire et comprend une représentation d'une forme de réalisation d'une chambre de combustion 12 cylindrique selon l'invention. Dans cette forme de réalisation, la chambre de combustion comprend une entrée formant l'enveloppe 22 du brûleur 18 et l'axe 30 du brûleur est préférablement situé dans l'axe 30' de la chambre de combustion cylindrique 12. La chambre de combustion 12 comprend en outre une entrée de gaz comburant 31 située tangentiellement par rapport à l'axe 30, 30' du brûleur et de la chambre de combustion cylindrique, tel que décrit plus haut. Les gaz de combustion sont ensuite évacués de la chambre de combustion par un conduit.
  • Les conditions prévues pour le fonctionnement d'un brûleur tel que décrit à l'aide de l'exemple de la figure 3b, dont la puissance est de 1,13 MW, dans un four annulaire doté de 4 chambres de combustion inférieures et dont le débit de chaux est de 150t/jour, sont résumées dans le tableau 2 ci-dessous. Tableau 2
    Débit T(°C) Vitesse (m/sec) Gax (N/MW)
    Comburant* 10995 m3/h 700 6,1 5,99
    Air primaire axial 700 m3/h 200 34 1,89
    Air de transport 199 m3/h 50 60 3,19
    Charbon 185 kg/h 50 60 2,73
    Total brûleur 7,81
    Gax_brûleur/Gax_comburant 1,30
    *Le comburant est dans ce cas formé des gaz de recirculation.
  • La vitesse d'injection du combustible transporté par de l'air est obtenue par passage dans le conduit 20 qui présente une section de 0,001 m2. La « force » du brûleur, c'est-à-dire son débit spécifique de quantité de mouvement (air primaire axial + air de transport + charbon) est encore légèrement supérieure à celle du comburant, mais elle est insuffisante pour aspirer le comburant dans le combustible. Elle n'est pas à comparer avec celle du four rotatif décrit plus haut. Et on observe donc une combustion insatisfaisante avec un four présentant les inconvénients décrits précédemment.
  • On a à présent prévu, pour un four de calcination annulaire ayant le même débit de chaux de 150 t/jour et doté de chambres de combustion inférieures identiques avec des brûleurs de même puissance, de diminuer le débit spécifique de quantité de mouvement du brûleur, au contraire de ce qu'aurait imaginé l'homme de métier sur base de ses connaissances. Les conditions nouvelles appliquées sont celles indiquées dans le tableau 3. Tableau 3
    Débit T(°C) Vitesse (m/sec) Gax (N/MW)
    Comburant* 10995 m3/h 700 6,1 5,99
    Air primaire axial 700 m3/h 200 34 1,89
    Air de transport 199 m3/h 50 35 1,85
    Charbon 185 kg/h 50 35 1,58
    Total brûleur 5,32
    Gax_brûleur/Gax_comburant 0,88
    *Le comburant est dans ce cas formé des gaz de recirculation.
  • Comme on peut le constater, seule la vitesse d'injection du combustible solide pulvérulent déplacé par l'air de transport a été modifiée, à presque la moitié de sa valeur. Une telle modification a pu être obtenue par une adaptation de la section du conduit 20, à une valeur de 0,002 m2. Cette modification mineure a induit l'obtention d'un rapport entre débit spécifique de quantité de mouvement du brûleur et débit spécifique de quantité de mouvement du comburant nettement inférieur à 1.
  • D'une manière surprenante, on a alors constaté que cette simple modification donnait lieu à une flamme, initiée très vite, aussi rapidement qu'avec du gaz naturel, et surtout que, à présent, c'était le combustible qui était aspiré dans le courant hélicoïdal du gaz comburant.
  • Ce phénomène est représenté de manière schématique sur la figure 2. Etant donné sa vitesse d'injection 3 faible, le combustible projeté par le brûleur 2 forme un cône de projection 4 plus ouvert et il est en outre aspiré dans le courant de gaz comburant qui devient le moteur.
  • Une expérience identique a été réalisée sur un brûleur, dont la puissance est de 1,81 MW, dans un four droit annulaire doté de 5 chambres de combustion et dont le débit est de 300t/jour. Les conditions de fonctionnement avec un brûleur dont la section du conduit d'alimentation de combustible est de 0,001 m2 sont données dans le tableau 4. Tableau 4
    Débit T(°C) Vitesse (m/sec) Gax (N/MW)
    Comburant* 17592 m3/h 700 6,2 6,13
    Air primaire axial 1400 m3/h 200 34 1,89
    Air de transport 318 m3/h 50 60 3,19
    Charbon 296 kg/h 50 60 2,73
    Total brûleur 7,81
    Gax_brûleur/Gax_comburant 1,27
    *Le comburant est dans ce cas formé des gaz de recirculation.
  • Ce résultat s'est avéré insatisfaisant pour obtenir un mélange satisfaisant combustible-comburant dans la chambre de combustion et donc une combustion totale du combustible solide pulvérulent dans celle-ci.
  • En modifiant la vitesse d'injection du combustible, par un agrandissement de la section du conduit d'injection à 0,002 m2, on obtient les conditions données dans le tableau 5 ci-dessous : Tableau 5
    Débit T(°C) Vitesse (m/sec) Gax (N/MW)
    Comburant* 17592 m3/h 700 6,2 6,13
    Air primaire axial 1400 m3/h 200 34 1,89
    Air de transport 318 m3/h 50 35 1,86
    Charbon 296 kg/h 50 35 1,59
    Total brûleur 5,34
    Gax_brûleur/Gax_comburant 0,87
    *Le comburant est dans ce cas formé des gaz de recirculation.
  • Cet agencement permet un temps de séjour des particules augmenté drastiquement dans la chambre de combustion et donc l'oxygène est mieux disponible et la combustion est complète à l'intérieur de la chambre de combustion.
  • Il doit être entendu que la présente invention n'est nullement limitée aux modes de réalisation indiqués ci-dessus et que bien des modifications peuvent y être apportées sans sortir du cadre des revendications annexées.
  • On peut par exemple ajouter un mouvement propre au brûleur, soit en ajoutant des ailettes de rotation dans le circuit du combustible solide pulvérulent, soit en ajoutant des ailettes de rotation au circuit d'air de transport ou au circuit d'air primaire axial, ou encore une combinaison de ces mesures. On peut aussi ajouter en périphérie du brûleur un circuit d'air supplémentaire amené en rotation pour aider à l'ouverture du cône de projection du combustible dans la chambre.
  • On peut aussi injecter le combustible directement dans le courant de gaz comburant, par exemple au point d'arrivée de celui-ci dans la chambre de combustion, mais avant sa mise en rotation.
  • Il est aussi tout à fait envisageable de ne pas alimenter d'air primaire dans le brûleur, ce qui peut modifier les valeurs du rapport revendiqué par rapport à celles obtenues avec un brûleur dans lequel de l'air primaire est fourni.
  • Dans un brûleur sans air primaire, lorsqu'on met en œuvre un jet de combustible à une vitesse d'injection Vinj égale à 15 m/sec, le rapport revendiqué peut même devenir égal à 0,25. A une vitesse d'injection Vinj de 45 m/sec, il sera alors de 0,74.

Claims (12)

  1. Procédé de combustion de combustible dans une chambre de combustion cylindrique (1), comprenant, dans cette chambre de combustion,
    - une projection, à partir d'un brûleur (2), d'un jet de combustible solide pulvérulent (3) déplacé par un air de transport, et éventuellement d'un flux d'air primaire, et
    - une alimentation en un gaz comburant (5) suivant un sens de propagation de manière à former un courant de gaz comburant autour du jet de combustible projeté par le brûleur, à une température occasionnant une combustion du combustible,
    caractérisé en ce que le jet de combustible solide présente une composante axiale de projection dans un même sens que ledit sens de propagation du gaz comburant dans la chambre de combustion cylindrique, et en ce que le rapport entre débit spécifique de quantité de mouvement du brûleur et débit spécifique de quantité de mouvement du gaz comburant est égal ou inférieur à 1,0 et supérieur à zéro.
  2. Procédé suivant la revendication 1, caractérisé en ce que le rapport entre débit spécifique de quantité de mouvement du brûleur et débit spécifique de quantité de mouvement du gaz comburant est compris entre 0,25 et 0,9.
  3. Procédé suivant l'une ou l'autre des revendications 1 et 2, caractérisé en ce que la chambre de combustion cylindrique présente une première et une seconde extrémités axiales et en ce que le jet de combustible solide pulvérulent est projeté par le brûleur depuis la première extrémité axiale de la chambre de combustion vers la seconde extrémité axiale.
  4. Procédé suivant la revendication 3, caractérisé en ce que le gaz comburant est alimenté tangentiellement dans la chambre de combustion à ladite première extrémité de celle-ci, de manière à former un courant hélicoïdal de gaz comburant autour du jet de combustible projeté par le brûleur.
  5. Procédé suivant la revendication 3, caractérisé en ce que le gaz comburant est alimenté dans la chambre de combustion à ladite première extrémité de celle-ci, parallèlement à son axe et autour du jet de combustible projeté par le brûleur.
  6. Procédé suivant l'une quelconque des revendications 1 à 5, caractérisé en ce qu'il comprend une mise en rotation partielle ou totale du jet de combustible transporté par de l'air de transport.
  7. Procédé suivant l'une quelconque des revendications 1 à 6, caractérisé en ce qu'il comprend une mise en rotation partielle ou totale du flux d'air primaire.
  8. Procédé suivant l'une quelconque des revendications 1 à 7, caractérisé en ce que le gaz comburant est un gaz de fumée remis en circulation.
  9. Procédé suivant l'une quelconque des revendications 1 à 8, caractérisé en ce que ladite chambre de combustion est une chambre de combustion inférieure de four droit annulaire de calcination de roche minérale.
  10. Chambre de combustion cylindrique (1) comprenant, à une première extrémité axiale, un brûleur (2) agencé pour projeter un combustible solide pulvérulent (3) dans cette chambre et une entrée d'alimentation pour un gaz comburant (5) disposée de manière à former un courant de gaz comburant suivant un sens de propagation autour du jet de combustible projeté par le brûleur, caractérisée en ce que le brûleur est agencé pour projeter le combustible solide suivant une composante axiale de projection ayant un même sens que ledit sens de propagation des gaz dans la chambre de combustion cylindrique, cette chambre étant agencée et dimensionnée pour la mise en œuvre du procédé suivant l'une quelconque des revendications 1 à 9.
  11. Four droit annulaire de calcination de roche minérale, comprenant au moins une chambre de combustion suivant la revendication 10.
  12. Mise en œuvre d'un procédé selon l'une quelconque des revendications 1 à 9 dans un four droit annulaire de calcination de roche minérale.
EP17732472.0A 2016-06-28 2017-06-28 Procédé de combustion de combustible dans une chambre de combustion cylindrique Active EP3475609B1 (fr)

Priority Applications (2)

Application Number Priority Date Filing Date Title
HRP20220707TT HRP20220707T1 (hr) 2016-06-28 2017-06-28 Postupak za izgaranje goriva u cilindričnoj komori za izgaranje
SI201731156T SI3475609T1 (sl) 2016-06-28 2017-06-28 Postopek za zgorevanje goriva v cilindrični zgorevalni komori

Applications Claiming Priority (2)

Application Number Priority Date Filing Date Title
BE20165489A BE1023896B1 (fr) 2016-06-28 2016-06-28 Procede de combustion de combustible dans une chambre de combustion tubulaire
PCT/EP2017/066018 WO2018002151A1 (fr) 2016-06-28 2017-06-28 Procédé de combustion de combustible dans une chambre de combustion cylindrique

Publications (2)

Publication Number Publication Date
EP3475609A1 EP3475609A1 (fr) 2019-05-01
EP3475609B1 true EP3475609B1 (fr) 2022-03-09

Family

ID=56551093

Family Applications (1)

Application Number Title Priority Date Filing Date
EP17732472.0A Active EP3475609B1 (fr) 2016-06-28 2017-06-28 Procédé de combustion de combustible dans une chambre de combustion cylindrique

Country Status (8)

Country Link
EP (1) EP3475609B1 (fr)
BE (2) BE1023896B1 (fr)
ES (1) ES2915900T3 (fr)
FR (1) FR3053102B1 (fr)
HR (1) HRP20220707T1 (fr)
PL (1) PL3475609T3 (fr)
SI (1) SI3475609T1 (fr)
WO (1) WO2018002151A1 (fr)

Families Citing this family (2)

* Cited by examiner, † Cited by third party
Publication number Priority date Publication date Assignee Title
EP3805640A1 (fr) 2019-10-09 2021-04-14 S.A. Lhoist Recherche Et Developpement Chambre de combustion pour un four annulaire à arbre vertical et procédé de combustion dans une telle chambre de combustion
BE1028191B9 (fr) 2020-04-07 2021-11-30 Lhoist Rech Et Developpement Sa Procédé de calcination de chaux ou dolomie et four droit annulaire mis en œuvre

Citations (3)

* Cited by examiner, † Cited by third party
Publication number Priority date Publication date Assignee Title
DE4102610A1 (de) 1991-01-25 1992-07-30 Ver Kraftwerks Ag Peitz Nieder Kohlenstaub-drallbrenner
EP1033532A1 (fr) 1999-03-03 2000-09-06 Hitachi, Ltd. Brûleur à charbon pulvérisé, et appareil de combustion à charbon pulvérisé
WO2010004009A2 (fr) 2008-07-11 2010-01-14 Rheinkalk Gmbh Unité brûleur et dispositif brûleur pour combustible solide pulvérulent

Family Cites Families (2)

* Cited by examiner, † Cited by third party
Publication number Priority date Publication date Assignee Title
DE10232373B4 (de) * 2002-07-17 2009-04-02 Schoppe, Fritz, Dr.-Ing. Verfahren zur Erhöhung der Flammstabilität bei Kohlenstaubfeuerungen und Vorrichtung zur Ausführung des Verfahrens
US20060169181A1 (en) * 2003-02-24 2006-08-03 Posco Method and burner apparatus for injecting a pulverized coal into rotary kilns, method and apparatus for producing cao using them

Patent Citations (3)

* Cited by examiner, † Cited by third party
Publication number Priority date Publication date Assignee Title
DE4102610A1 (de) 1991-01-25 1992-07-30 Ver Kraftwerks Ag Peitz Nieder Kohlenstaub-drallbrenner
EP1033532A1 (fr) 1999-03-03 2000-09-06 Hitachi, Ltd. Brûleur à charbon pulvérisé, et appareil de combustion à charbon pulvérisé
WO2010004009A2 (fr) 2008-07-11 2010-01-14 Rheinkalk Gmbh Unité brûleur et dispositif brûleur pour combustible solide pulvérulent

Non-Patent Citations (4)

* Cited by examiner, † Cited by third party
Title
ABBAS; COSTEN T; LOCKWOOD P G; F C: "Solid Fuel Utilzation: From Coal to Biomass", TWENTY-SIXTH SYMPOSIUM (INTERNATIONAL) ON COMBUSTION/THE COMBUSTION INSTITUTE, vol. 26, no. 2, 1996, pages 3041 - 3058, XP022031905
M.A. HASSAN ET AL.: "Influence of Different Firing Parameters on the Performance of a Pulverized Coal Furnace", SEVENTH ANNUAL INTERNATIONAL PITTSBURGH COAL CONFERENCE, 1990, pages 960 - 968, XP093011246
T. LOCKWOOD: "Developments in oxyfuel combustion of coal", IES CLEAN COAL CENTRE, 2014, pages 1 - 122, XP093011252
T. MATERN ET AL.: "Optimization of a Pulverized Brown Coal Burner", COMBUST. SCI. AND TECH., vol. 121, 1996, pages 255 - 269, XP093011245

Also Published As

Publication number Publication date
SI3475609T1 (sl) 2022-08-31
BE1024784B1 (fr) 2018-07-02
HRP20220707T1 (hr) 2022-07-22
BE1024784B9 (fr) 2018-07-30
ES2915900T3 (es) 2022-06-27
BE1024784A9 (fr) 2018-07-24
PL3475609T3 (pl) 2022-07-18
BE1023896B1 (fr) 2017-09-06
WO2018002151A1 (fr) 2018-01-04
FR3053102A1 (fr) 2017-12-29
BE1024784A1 (fr) 2018-06-27
FR3053102B1 (fr) 2021-10-15
EP3475609A1 (fr) 2019-05-01

Similar Documents

Publication Publication Date Title
EP0033285B1 (fr) Dispositif de mélange avec turbulence de fluides gazeux et de particules solides
FR2485692A1 (fr) Procede et bruleur pour produire une combustion a faible teneur en oxydes d'azote des gaz d'echappement dans un tube radiant
FR2625295A1 (fr) Procede et appareil destines a assurer la combustion etagee d'un melange combustible-comburant diminuant la production d'oxydes d'azote
EP1031790B1 (fr) Perfectionnements apportés aux brûleurs à flamme plate
WO2015055916A1 (fr) Brûleur de gaz pauvre
EP3475609B1 (fr) Procédé de combustion de combustible dans une chambre de combustion cylindrique
FR2782780A1 (fr) Procede de combustion pour bruler un combustible
EP1907754B1 (fr) Procédé et installation de combustion de gaz combustible pauvre, sans soutien, à l'aide d'un brûleur et brûleur associé
EP1065461B1 (fr) Prodédé de combustion, applicable à la fabrication de ciment.
EP3724144B1 (fr) Installation de production de clinker et procédé de production de clinker dans une telle installation
FR2795716A1 (fr) Procede de calcination d'un materiau a base de minerai
CA2657537C (fr) Bruleur et procede pour la mise en oeuvre alternee d'une oxycombustion et d'une aerocombustion
EP2407716A1 (fr) Brûleur pour le traitement d'un gaz acide combustible et four à réaction adapté
EP1913321B1 (fr) Procede de calcination d'un materiau a faible emission de nox
CH655944A5 (fr) Appareil pour la calcination du coke.
FR2463360A1 (fr) Installation de combustion a combustibles solides
EP3903029B1 (fr) Brûleur a flamme ajustable
WO2009101361A2 (fr) Procede de chauffage d'un cru mineral dans un four de cuisson de type four tunnel
FR3006037B1 (fr) Bruleur de four rotatif asymetrique
EP2314921A2 (fr) Procédé de fonctionnement d'une chaudière
FR2773388A1 (fr) Procede et dispositif pour la combustion de combustible solide pulverise
WO2014086660A1 (fr) Brûleur
FR2521548A1 (fr) Procede pour la calcination de matieres brutes minerales et dispositif pour la mise en oeuvre d'un tel procede
EP3813992B1 (fr) Enrichissement en oxygène et combustion d'un combustible en forme de particules solides entraînées par un gaz porteur

Legal Events

Date Code Title Description
REG Reference to a national code

Ref country code: HR

Ref legal event code: TUEP

Ref document number: P20220707T

Country of ref document: HR

STAA Information on the status of an ep patent application or granted ep patent

Free format text: STATUS: UNKNOWN

STAA Information on the status of an ep patent application or granted ep patent

Free format text: STATUS: THE INTERNATIONAL PUBLICATION HAS BEEN MADE

PUAI Public reference made under article 153(3) epc to a published international application that has entered the european phase

Free format text: ORIGINAL CODE: 0009012

STAA Information on the status of an ep patent application or granted ep patent

Free format text: STATUS: REQUEST FOR EXAMINATION WAS MADE

17P Request for examination filed

Effective date: 20190122

AK Designated contracting states

Kind code of ref document: A1

Designated state(s): AL AT BE BG CH CY CZ DE DK EE ES FI FR GB GR HR HU IE IS IT LI LT LU LV MC MK MT NL NO PL PT RO RS SE SI SK SM TR

AX Request for extension of the european patent

Extension state: BA ME

DAV Request for validation of the european patent (deleted)
DAX Request for extension of the european patent (deleted)
GRAP Despatch of communication of intention to grant a patent

Free format text: ORIGINAL CODE: EPIDOSNIGR1

STAA Information on the status of an ep patent application or granted ep patent

Free format text: STATUS: GRANT OF PATENT IS INTENDED

INTG Intention to grant announced

Effective date: 20210927

GRAS Grant fee paid

Free format text: ORIGINAL CODE: EPIDOSNIGR3

GRAA (expected) grant

Free format text: ORIGINAL CODE: 0009210

STAA Information on the status of an ep patent application or granted ep patent

Free format text: STATUS: THE PATENT HAS BEEN GRANTED

AK Designated contracting states

Kind code of ref document: B1

Designated state(s): AL AT BE BG CH CY CZ DE DK EE ES FI FR GB GR HR HU IE IS IT LI LT LU LV MC MK MT NL NO PL PT RO RS SE SI SK SM TR

REG Reference to a national code

Ref country code: CH

Ref legal event code: EP

Ref country code: AT

Ref legal event code: REF

Ref document number: 1474465

Country of ref document: AT

Kind code of ref document: T

Effective date: 20220315

REG Reference to a national code

Ref country code: DE

Ref legal event code: R096

Ref document number: 602017054336

Country of ref document: DE

REG Reference to a national code

Ref country code: IE

Ref legal event code: FG4D

Free format text: LANGUAGE OF EP DOCUMENT: FRENCH

REG Reference to a national code

Ref country code: RO

Ref legal event code: EPE

REG Reference to a national code

Ref country code: LT

Ref legal event code: MG9D

Ref country code: ES

Ref legal event code: FG2A

Ref document number: 2915900

Country of ref document: ES

Kind code of ref document: T3

Effective date: 20220627

REG Reference to a national code

Ref country code: SE

Ref legal event code: TRGR

REG Reference to a national code

Ref country code: HR

Ref legal event code: ODRP

Ref document number: P20220707T

Country of ref document: HR

Payment date: 20220615

Year of fee payment: 6

REG Reference to a national code

Ref country code: NL

Ref legal event code: MP

Effective date: 20220309

REG Reference to a national code

Ref country code: HR

Ref legal event code: T1PR

Ref document number: P20220707

Country of ref document: HR

PG25 Lapsed in a contracting state [announced via postgrant information from national office to epo]

Ref country code: RS

Free format text: LAPSE BECAUSE OF FAILURE TO SUBMIT A TRANSLATION OF THE DESCRIPTION OR TO PAY THE FEE WITHIN THE PRESCRIBED TIME-LIMIT

Effective date: 20220309

Ref country code: NO

Free format text: LAPSE BECAUSE OF FAILURE TO SUBMIT A TRANSLATION OF THE DESCRIPTION OR TO PAY THE FEE WITHIN THE PRESCRIBED TIME-LIMIT

Effective date: 20220609

Ref country code: LT

Free format text: LAPSE BECAUSE OF FAILURE TO SUBMIT A TRANSLATION OF THE DESCRIPTION OR TO PAY THE FEE WITHIN THE PRESCRIBED TIME-LIMIT

Effective date: 20220309

Ref country code: BG

Free format text: LAPSE BECAUSE OF FAILURE TO SUBMIT A TRANSLATION OF THE DESCRIPTION OR TO PAY THE FEE WITHIN THE PRESCRIBED TIME-LIMIT

Effective date: 20220609

REG Reference to a national code

Ref country code: AT

Ref legal event code: MK05

Ref document number: 1474465

Country of ref document: AT

Kind code of ref document: T

Effective date: 20220309

REG Reference to a national code

Ref country code: GR

Ref legal event code: EP

Ref document number: 20220401154

Country of ref document: GR

Effective date: 20220707

PG25 Lapsed in a contracting state [announced via postgrant information from national office to epo]

Ref country code: LV

Free format text: LAPSE BECAUSE OF FAILURE TO SUBMIT A TRANSLATION OF THE DESCRIPTION OR TO PAY THE FEE WITHIN THE PRESCRIBED TIME-LIMIT

Effective date: 20220309

Ref country code: FI

Free format text: LAPSE BECAUSE OF FAILURE TO SUBMIT A TRANSLATION OF THE DESCRIPTION OR TO PAY THE FEE WITHIN THE PRESCRIBED TIME-LIMIT

Effective date: 20220309

PG25 Lapsed in a contracting state [announced via postgrant information from national office to epo]

Ref country code: NL

Free format text: LAPSE BECAUSE OF FAILURE TO SUBMIT A TRANSLATION OF THE DESCRIPTION OR TO PAY THE FEE WITHIN THE PRESCRIBED TIME-LIMIT

Effective date: 20220309

PG25 Lapsed in a contracting state [announced via postgrant information from national office to epo]

Ref country code: SM

Free format text: LAPSE BECAUSE OF FAILURE TO SUBMIT A TRANSLATION OF THE DESCRIPTION OR TO PAY THE FEE WITHIN THE PRESCRIBED TIME-LIMIT

Effective date: 20220309

Ref country code: PT

Free format text: LAPSE BECAUSE OF FAILURE TO SUBMIT A TRANSLATION OF THE DESCRIPTION OR TO PAY THE FEE WITHIN THE PRESCRIBED TIME-LIMIT

Effective date: 20220711

Ref country code: EE

Free format text: LAPSE BECAUSE OF FAILURE TO SUBMIT A TRANSLATION OF THE DESCRIPTION OR TO PAY THE FEE WITHIN THE PRESCRIBED TIME-LIMIT

Effective date: 20220309

Ref country code: AT

Free format text: LAPSE BECAUSE OF FAILURE TO SUBMIT A TRANSLATION OF THE DESCRIPTION OR TO PAY THE FEE WITHIN THE PRESCRIBED TIME-LIMIT

Effective date: 20220309

PG25 Lapsed in a contracting state [announced via postgrant information from national office to epo]

Ref country code: IS

Free format text: LAPSE BECAUSE OF FAILURE TO SUBMIT A TRANSLATION OF THE DESCRIPTION OR TO PAY THE FEE WITHIN THE PRESCRIBED TIME-LIMIT

Effective date: 20220709

Ref country code: AL

Free format text: LAPSE BECAUSE OF FAILURE TO SUBMIT A TRANSLATION OF THE DESCRIPTION OR TO PAY THE FEE WITHIN THE PRESCRIBED TIME-LIMIT

Effective date: 20220309

REG Reference to a national code

Ref country code: DE

Ref legal event code: R026

Ref document number: 602017054336

Country of ref document: DE

PLBI Opposition filed

Free format text: ORIGINAL CODE: 0009260

PLAB Opposition data, opponent's data or that of the opponent's representative modified

Free format text: ORIGINAL CODE: 0009299OPPO

PLAX Notice of opposition and request to file observation + time limit sent

Free format text: ORIGINAL CODE: EPIDOSNOBS2

26 Opposition filed

Opponent name: FELS VERTRIEBS- UND SERVICE GMBH & CO. KG

Effective date: 20221208

R26 Opposition filed (corrected)

Opponent name: FELS VERTRIEBS- UND SERVICE GMBH & CO. KG

Effective date: 20221208

PG25 Lapsed in a contracting state [announced via postgrant information from national office to epo]

Ref country code: MC

Free format text: LAPSE BECAUSE OF FAILURE TO SUBMIT A TRANSLATION OF THE DESCRIPTION OR TO PAY THE FEE WITHIN THE PRESCRIBED TIME-LIMIT

Effective date: 20220309

Ref country code: DK

Free format text: LAPSE BECAUSE OF FAILURE TO SUBMIT A TRANSLATION OF THE DESCRIPTION OR TO PAY THE FEE WITHIN THE PRESCRIBED TIME-LIMIT

Effective date: 20220309

GBPC Gb: european patent ceased through non-payment of renewal fee

Effective date: 20220628

PLBB Reply of patent proprietor to notice(s) of opposition received

Free format text: ORIGINAL CODE: EPIDOSNOBS3

PG25 Lapsed in a contracting state [announced via postgrant information from national office to epo]

Ref country code: GB

Free format text: LAPSE BECAUSE OF NON-PAYMENT OF DUE FEES

Effective date: 20220628

P01 Opt-out of the competence of the unified patent court (upc) registered

Effective date: 20230526

REG Reference to a national code

Ref country code: HR

Ref legal event code: ODRP

Ref document number: P20220707

Country of ref document: HR

Payment date: 20230608

Year of fee payment: 7

PG25 Lapsed in a contracting state [announced via postgrant information from national office to epo]

Ref country code: HU

Free format text: LAPSE BECAUSE OF FAILURE TO SUBMIT A TRANSLATION OF THE DESCRIPTION OR TO PAY THE FEE WITHIN THE PRESCRIBED TIME-LIMIT; INVALID AB INITIO

Effective date: 20170628

PG25 Lapsed in a contracting state [announced via postgrant information from national office to epo]

Ref country code: MK

Free format text: LAPSE BECAUSE OF FAILURE TO SUBMIT A TRANSLATION OF THE DESCRIPTION OR TO PAY THE FEE WITHIN THE PRESCRIBED TIME-LIMIT

Effective date: 20220309

Ref country code: CY

Free format text: LAPSE BECAUSE OF FAILURE TO SUBMIT A TRANSLATION OF THE DESCRIPTION OR TO PAY THE FEE WITHIN THE PRESCRIBED TIME-LIMIT

Effective date: 20220309

PGFP Annual fee paid to national office [announced via postgrant information from national office to epo]

Ref country code: IE

Payment date: 20240618

Year of fee payment: 8

REG Reference to a national code

Ref country code: HR

Ref legal event code: ODRP

Ref document number: P20220707

Country of ref document: HR

Payment date: 20240611

Year of fee payment: 8

PGFP Annual fee paid to national office [announced via postgrant information from national office to epo]

Ref country code: GR

Payment date: 20240619

Year of fee payment: 8

Ref country code: LU

Payment date: 20240625

Year of fee payment: 8

PGFP Annual fee paid to national office [announced via postgrant information from national office to epo]

Ref country code: HR

Payment date: 20240611

Year of fee payment: 8

PGFP Annual fee paid to national office [announced via postgrant information from national office to epo]

Ref country code: SK

Payment date: 20240610

Year of fee payment: 8

PGFP Annual fee paid to national office [announced via postgrant information from national office to epo]

Ref country code: RO

Payment date: 20240625

Year of fee payment: 8

Ref country code: SI

Payment date: 20240607

Year of fee payment: 8

PGFP Annual fee paid to national office [announced via postgrant information from national office to epo]

Ref country code: TR

Payment date: 20240611

Year of fee payment: 8

Ref country code: SE

Payment date: 20240624

Year of fee payment: 8

APBP Date of receipt of notice of appeal recorded

Free format text: ORIGINAL CODE: EPIDOSNNOA2O

APAH Appeal reference modified

Free format text: ORIGINAL CODE: EPIDOSCREFNO

APAW Appeal reference deleted

Free format text: ORIGINAL CODE: EPIDOSDREFNO

PG25 Lapsed in a contracting state [announced via postgrant information from national office to epo]

Ref country code: MT

Free format text: LAPSE BECAUSE OF FAILURE TO SUBMIT A TRANSLATION OF THE DESCRIPTION OR TO PAY THE FEE WITHIN THE PRESCRIBED TIME-LIMIT

Effective date: 20220309

PGFP Annual fee paid to national office [announced via postgrant information from national office to epo]

Ref country code: IT

Payment date: 20240619

Year of fee payment: 8

PGFP Annual fee paid to national office [announced via postgrant information from national office to epo]

Ref country code: CH

Payment date: 20240701

Year of fee payment: 8

APBQ Date of receipt of statement of grounds of appeal recorded

Free format text: ORIGINAL CODE: EPIDOSNNOA3O

PGFP Annual fee paid to national office [announced via postgrant information from national office to epo]

Ref country code: PL

Payment date: 20250605

Year of fee payment: 9

Ref country code: DE

Payment date: 20250626

Year of fee payment: 9

PGFP Annual fee paid to national office [announced via postgrant information from national office to epo]

Ref country code: BE

Payment date: 20250527

Year of fee payment: 9

PGFP Annual fee paid to national office [announced via postgrant information from national office to epo]

Ref country code: FR

Payment date: 20250521

Year of fee payment: 9

PGFP Annual fee paid to national office [announced via postgrant information from national office to epo]

Ref country code: CZ

Payment date: 20250616

Year of fee payment: 9

PGFP Annual fee paid to national office [announced via postgrant information from national office to epo]

Ref country code: ES

Payment date: 20250710

Year of fee payment: 9

REG Reference to a national code

Ref country code: HR

Ref legal event code: PBON

Ref document number: P20220707

Country of ref document: HR

Effective date: 20250628

PG25 Lapsed in a contracting state [announced via postgrant information from national office to epo]

Ref country code: RO

Free format text: LAPSE BECAUSE OF NON-PAYMENT OF DUE FEES

Effective date: 20250628

REG Reference to a national code

Ref country code: CH

Ref legal event code: H13

Free format text: ST27 STATUS EVENT CODE: U-0-0-H10-H13 (AS PROVIDED BY THE NATIONAL OFFICE)

Effective date: 20260127

REG Reference to a national code

Ref country code: SE

Ref legal event code: EUG

PLAB Opposition data, opponent's data or that of the opponent's representative modified

Free format text: ORIGINAL CODE: 0009299OPPO

REG Reference to a national code

Ref country code: CH

Ref legal event code: L10

Free format text: ST27 STATUS EVENT CODE: U-0-0-L10-L00 (AS PROVIDED BY THE NATIONAL OFFICE)

Effective date: 20260211

Ref country code: SK

Ref legal event code: MM4A

Ref document number: E 39942

Country of ref document: SK

Effective date: 20250628

PG25 Lapsed in a contracting state [announced via postgrant information from national office to epo]

Ref country code: LU

Free format text: LAPSE BECAUSE OF NON-PAYMENT OF DUE FEES

Effective date: 20250628

R26 Opposition filed (corrected)

Opponent name: FELS-WERKE GMBH

Effective date: 20221208