EP3428563A1 - Entnahme/zuspeisung von gas zur beeinflussung von radialer flüssigkeitsmigration - Google Patents

Entnahme/zuspeisung von gas zur beeinflussung von radialer flüssigkeitsmigration Download PDF

Info

Publication number
EP3428563A1
EP3428563A1 EP18020309.3A EP18020309A EP3428563A1 EP 3428563 A1 EP3428563 A1 EP 3428563A1 EP 18020309 A EP18020309 A EP 18020309A EP 3428563 A1 EP3428563 A1 EP 3428563A1
Authority
EP
European Patent Office
Prior art keywords
heat exchanger
tube
gaseous phase
layers
medium
Prior art date
Legal status (The legal status is an assumption and is not a legal conclusion. Google has not performed a legal analysis and makes no representation as to the accuracy of the status listed.)
Withdrawn
Application number
EP18020309.3A
Other languages
English (en)
French (fr)
Inventor
Manfred Steinbauer
Christiane Kerber
Manfred Schönberger
Jürgen Spreemann
Eva Müller
Konrad Braun
Florian Deichsel
Luis Matamoros
Current Assignee (The listed assignees may be inaccurate. Google has not performed a legal analysis and makes no representation or warranty as to the accuracy of the list.)
Linde GmbH
Original Assignee
Linde GmbH
Priority date (The priority date is an assumption and is not a legal conclusion. Google has not performed a legal analysis and makes no representation as to the accuracy of the date listed.)
Filing date
Publication date
Application filed by Linde GmbH filed Critical Linde GmbH
Publication of EP3428563A1 publication Critical patent/EP3428563A1/de
Withdrawn legal-status Critical Current

Links

Images

Classifications

    • FMECHANICAL ENGINEERING; LIGHTING; HEATING; WEAPONS; BLASTING
    • F28HEAT EXCHANGE IN GENERAL
    • F28DHEAT-EXCHANGE APPARATUS, NOT PROVIDED FOR IN ANOTHER SUBCLASS, IN WHICH THE HEAT-EXCHANGE MEDIA DO NOT COME INTO DIRECT CONTACT
    • F28D7/00Heat-exchange apparatus having stationary tubular conduit assemblies for both heat-exchange media, the media being in contact with different sides of a conduit wall
    • F28D7/02Heat-exchange apparatus having stationary tubular conduit assemblies for both heat-exchange media, the media being in contact with different sides of a conduit wall the conduits being helically coiled
    • FMECHANICAL ENGINEERING; LIGHTING; HEATING; WEAPONS; BLASTING
    • F28HEAT EXCHANGE IN GENERAL
    • F28DHEAT-EXCHANGE APPARATUS, NOT PROVIDED FOR IN ANOTHER SUBCLASS, IN WHICH THE HEAT-EXCHANGE MEDIA DO NOT COME INTO DIRECT CONTACT
    • F28D7/00Heat-exchange apparatus having stationary tubular conduit assemblies for both heat-exchange media, the media being in contact with different sides of a conduit wall
    • F28D7/02Heat-exchange apparatus having stationary tubular conduit assemblies for both heat-exchange media, the media being in contact with different sides of a conduit wall the conduits being helically coiled
    • F28D7/024Heat-exchange apparatus having stationary tubular conduit assemblies for both heat-exchange media, the media being in contact with different sides of a conduit wall the conduits being helically coiled the conduits of only one medium being helically coiled tubes, the coils having a cylindrical configuration
    • FMECHANICAL ENGINEERING; LIGHTING; HEATING; WEAPONS; BLASTING
    • F25REFRIGERATION OR COOLING; COMBINED HEATING AND REFRIGERATION SYSTEMS; HEAT PUMP SYSTEMS; MANUFACTURE OR STORAGE OF ICE; LIQUEFACTION SOLIDIFICATION OF GASES
    • F25JLIQUEFACTION, SOLIDIFICATION OR SEPARATION OF GASES OR GASEOUS OR LIQUEFIED GASEOUS MIXTURES BY PRESSURE AND COLD TREATMENT OR BY BRINGING THEM INTO THE SUPERCRITICAL STATE
    • F25J5/00Arrangements of cold exchangers or cold accumulators in separation or liquefaction plants
    • F25J5/002Arrangements of cold exchangers or cold accumulators in separation or liquefaction plants for continuously recuperating cold, i.e. in a so-called recuperative heat exchanger
    • FMECHANICAL ENGINEERING; LIGHTING; HEATING; WEAPONS; BLASTING
    • F28HEAT EXCHANGE IN GENERAL
    • F28DHEAT-EXCHANGE APPARATUS, NOT PROVIDED FOR IN ANOTHER SUBCLASS, IN WHICH THE HEAT-EXCHANGE MEDIA DO NOT COME INTO DIRECT CONTACT
    • F28D7/00Heat-exchange apparatus having stationary tubular conduit assemblies for both heat-exchange media, the media being in contact with different sides of a conduit wall
    • F28D7/16Heat-exchange apparatus having stationary tubular conduit assemblies for both heat-exchange media, the media being in contact with different sides of a conduit wall the conduits being arranged in parallel spaced relation
    • F28D7/1615Heat-exchange apparatus having stationary tubular conduit assemblies for both heat-exchange media, the media being in contact with different sides of a conduit wall the conduits being arranged in parallel spaced relation the conduits being inside a casing and extending at an angle to the longitudinal axis of the casing; the conduits crossing the conduit for the other heat exchange medium
    • F28D7/1623Heat-exchange apparatus having stationary tubular conduit assemblies for both heat-exchange media, the media being in contact with different sides of a conduit wall the conduits being arranged in parallel spaced relation the conduits being inside a casing and extending at an angle to the longitudinal axis of the casing; the conduits crossing the conduit for the other heat exchange medium with particular pattern of flow of the heat exchange media, e.g. change of flow direction
    • FMECHANICAL ENGINEERING; LIGHTING; HEATING; WEAPONS; BLASTING
    • F28HEAT EXCHANGE IN GENERAL
    • F28FDETAILS OF HEAT-EXCHANGE AND HEAT-TRANSFER APPARATUS, OF GENERAL APPLICATION
    • F28F13/00Arrangements for modifying heat-transfer, e.g. increasing, decreasing
    • F28F13/06Arrangements for modifying heat-transfer, e.g. increasing, decreasing by affecting the pattern of flow of the heat-exchange media
    • FMECHANICAL ENGINEERING; LIGHTING; HEATING; WEAPONS; BLASTING
    • F28HEAT EXCHANGE IN GENERAL
    • F28FDETAILS OF HEAT-EXCHANGE AND HEAT-TRANSFER APPARATUS, OF GENERAL APPLICATION
    • F28F27/00Control arrangements or safety devices specially adapted for heat-exchange or heat-transfer apparatus
    • FMECHANICAL ENGINEERING; LIGHTING; HEATING; WEAPONS; BLASTING
    • F28HEAT EXCHANGE IN GENERAL
    • F28FDETAILS OF HEAT-EXCHANGE AND HEAT-TRANSFER APPARATUS, OF GENERAL APPLICATION
    • F28F9/00Casings; Header boxes; Auxiliary supports for elements; Auxiliary members within casings
    • F28F9/007Auxiliary supports for elements
    • F28F9/013Auxiliary supports for elements for tubes or tube-assemblies
    • FMECHANICAL ENGINEERING; LIGHTING; HEATING; WEAPONS; BLASTING
    • F28HEAT EXCHANGE IN GENERAL
    • F28FDETAILS OF HEAT-EXCHANGE AND HEAT-TRANSFER APPARATUS, OF GENERAL APPLICATION
    • F28F9/00Casings; Header boxes; Auxiliary supports for elements; Auxiliary members within casings
    • F28F9/02Header boxes; End plates
    • F28F9/0234Header boxes; End plates having a second heat exchanger disposed there within, e.g. oil cooler
    • FMECHANICAL ENGINEERING; LIGHTING; HEATING; WEAPONS; BLASTING
    • F25REFRIGERATION OR COOLING; COMBINED HEATING AND REFRIGERATION SYSTEMS; HEAT PUMP SYSTEMS; MANUFACTURE OR STORAGE OF ICE; LIQUEFACTION SOLIDIFICATION OF GASES
    • F25JLIQUEFACTION, SOLIDIFICATION OR SEPARATION OF GASES OR GASEOUS OR LIQUEFIED GASEOUS MIXTURES BY PRESSURE AND COLD TREATMENT OR BY BRINGING THEM INTO THE SUPERCRITICAL STATE
    • F25J2245/00Processes or apparatus involving steps for recycling of process streams
    • F25J2245/02Recycle of a stream in general, e.g. a by-pass stream
    • FMECHANICAL ENGINEERING; LIGHTING; HEATING; WEAPONS; BLASTING
    • F25REFRIGERATION OR COOLING; COMBINED HEATING AND REFRIGERATION SYSTEMS; HEAT PUMP SYSTEMS; MANUFACTURE OR STORAGE OF ICE; LIQUEFACTION SOLIDIFICATION OF GASES
    • F25JLIQUEFACTION, SOLIDIFICATION OR SEPARATION OF GASES OR GASEOUS OR LIQUEFIED GASEOUS MIXTURES BY PRESSURE AND COLD TREATMENT OR BY BRINGING THEM INTO THE SUPERCRITICAL STATE
    • F25J2290/00Other details not covered by groups F25J2200/00 - F25J2280/00
    • F25J2290/32Details on header or distribution passages of heat exchangers, e.g. of reboiler-condenser or plate heat exchangers
    • FMECHANICAL ENGINEERING; LIGHTING; HEATING; WEAPONS; BLASTING
    • F28HEAT EXCHANGE IN GENERAL
    • F28DHEAT-EXCHANGE APPARATUS, NOT PROVIDED FOR IN ANOTHER SUBCLASS, IN WHICH THE HEAT-EXCHANGE MEDIA DO NOT COME INTO DIRECT CONTACT
    • F28D21/00Heat-exchange apparatus not covered by any of the groups F28D1/00 - F28D20/00
    • F28D2021/0019Other heat exchangers for particular applications; Heat exchange systems not otherwise provided for
    • F28D2021/0033Other heat exchangers for particular applications; Heat exchange systems not otherwise provided for for cryogenic applications
    • FMECHANICAL ENGINEERING; LIGHTING; HEATING; WEAPONS; BLASTING
    • F28HEAT EXCHANGE IN GENERAL
    • F28DHEAT-EXCHANGE APPARATUS, NOT PROVIDED FOR IN ANOTHER SUBCLASS, IN WHICH THE HEAT-EXCHANGE MEDIA DO NOT COME INTO DIRECT CONTACT
    • F28D21/00Heat-exchange apparatus not covered by any of the groups F28D1/00 - F28D20/00
    • F28D2021/0019Other heat exchangers for particular applications; Heat exchange systems not otherwise provided for
    • F28D2021/0061Other heat exchangers for particular applications; Heat exchange systems not otherwise provided for for phase-change applications
    • FMECHANICAL ENGINEERING; LIGHTING; HEATING; WEAPONS; BLASTING
    • F28HEAT EXCHANGE IN GENERAL
    • F28FDETAILS OF HEAT-EXCHANGE AND HEAT-TRANSFER APPARATUS, OF GENERAL APPLICATION
    • F28F9/00Casings; Header boxes; Auxiliary supports for elements; Auxiliary members within casings
    • F28F9/22Arrangements for directing heat-exchange media into successive compartments, e.g. arrangements of guide plates
    • F28F2009/222Particular guide plates, baffles or deflectors, e.g. having particular orientation relative to an elongated casing or conduit
    • F28F2009/224Longitudinal partitions
    • FMECHANICAL ENGINEERING; LIGHTING; HEATING; WEAPONS; BLASTING
    • F28HEAT EXCHANGE IN GENERAL
    • F28FDETAILS OF HEAT-EXCHANGE AND HEAT-TRANSFER APPARATUS, OF GENERAL APPLICATION
    • F28F2250/00Arrangements for modifying the flow of the heat exchange media, e.g. flow guiding means; Particular flow patterns
    • F28F2250/06Derivation channels, e.g. bypass
    • FMECHANICAL ENGINEERING; LIGHTING; HEATING; WEAPONS; BLASTING
    • F28HEAT EXCHANGE IN GENERAL
    • F28FDETAILS OF HEAT-EXCHANGE AND HEAT-TRANSFER APPARATUS, OF GENERAL APPLICATION
    • F28F27/00Control arrangements or safety devices specially adapted for heat-exchange or heat-transfer apparatus
    • F28F27/02Control arrangements or safety devices specially adapted for heat-exchange or heat-transfer apparatus for controlling the distribution of heat-exchange media between different channels

Definitions

  • the invention relates to a wound heat exchanger according to claim 1.
  • Such wound heat exchangers are e.g. used in physical scrubbing for acid gas removal (e.g., rectisol process), in ethylene plants, or in liquefied natural gas (LNG) plants.
  • acid gas removal e.g., rectisol process
  • LNG liquefied natural gas
  • Liquid on the shell side of such heat exchangers with falling film evaporation is deflected in most cases in the direction of the outer tube layers of the tube bundle. This misallocation of the liquid leads to a local undersupply of the tube bundle with coolant in the region of the inner tube layers of the tube bundle and therefore to performance losses of the heat exchanger.
  • the present invention is therefore an object of the invention to provide a wound heat exchanger, which counteracts such performance losses.
  • the heat exchanger has a gas discharge device, via which a portion of the gaseous phase from the region of the inner pipe layers from the shell space can be discharged, wherein the gas discharge of the heat exchanger at least one laxative flow path for the gaseous phase with a in the region of the inner Pipe layers in the shell space arranged inlet opening, and wherein the at least one laxative flow path through a tube of an inner layer of the tube bundle tube, in particular by a tube of an innermost layer of the tube bundle, is formed (or such an inner or innermost tube has).
  • the invention provides that the heat exchanger has a gas supply device, via which a gaseous phase of the first medium in the region of the outer pipe layers can be fed into the jacket space.
  • the tube bundle wound onto the core tube has a plurality n of superimposed tube layers, with an even number n of tube layers starting from the core tube all tube layers up to the n / 2-th tube layer in the sense of the present invention as inner tube layers whereas the outwardly following pipe layers (ie from the (n / 2 + 1) -th pipe layer to the n-th pipe layer) are considered as outer pipe layers.
  • the inner (n-1) / 2 pipe layers are understood as inner pipe layers and the remaining pipe layers as outer pipe layers.
  • the removal of the gaseous phase takes place in the region of the innermost layer of tubes and the supply of the gaseous phase in the region of the outermost layer of tubes.
  • a pressure drop in the radial direction of the tube bundle (towards the outside towards the jacket) can advantageously be reduced or avoided, so that a pressure in the jacket space which is as constant as possible is present in the radial direction.
  • This increases the effectiveness of the heat exchanger, as this reduces or avoids the above-mentioned deflection of the liquid.
  • the radial direction of the tube bundle designates a direction which is perpendicular to the longitudinal axis of the jacket and points outwards towards the jacket, while the axial direction coincides with the longitudinal axis.
  • the core tube is preferably arranged coaxially to the longitudinal axis in the shell space and extends correspondingly in the axial direction.
  • the liquid phase can be applied from the top of the tube bundle in a known manner.
  • a liquid distributor used for distributing the liquid phase can also immediately carry out a separation of the liquid phase from the gaseous phase of the first medium.
  • the separation of the liquid phase from the gaseous phase can also be carried out in separate units.
  • the liquid distributor can direct the liquid phase, for example, via a gap running around the jacket or via pipes into an underlying annular channel with distribution arms.
  • the liquid phase can be introduced via a central opening in the core tube and then fed to a distributor in the form of a pressure distributor.
  • Such liquid distributor are eg in the DE 10 2004 040 974 A1 described in detail. Other liquid distributors are also conceivable.
  • the at least one discharging flow path runs at least in sections in the core tube, e.g. instead of a laxative flow path, which is formed by a tube of an inner tube layer of the tube bundle, in particular by a tube of an innermost tube layer of the tube bundle (see also above).
  • the inlet opening may be formed in the wall of the core tube.
  • the laxative flow path through a wall of the Core tube be passed, wherein the inlet opening is arranged outside the core tube in the region of the inner tube layers or flush with a surface of the wall of the core tube.
  • the inlet opening can be arranged in the radial direction of the tube bundle between the surface of the wall of the core tube and an innermost tube layer.
  • the at least one laxative flow path can be formed by a pipeline.
  • the inlet opening can be formed in particular in a wall of the relevant tube.
  • the heat exchanger has a shirt surrounding the tube bundle, which surrounds the outer tube layers.
  • a shirt may have a hollow cylindrical shape and serves to suppress a bypass flow of the first medium past the tube bundle in the jacket space.
  • the shirt preferably surrounds the tube bundle closely.
  • the heat exchanger or the gas supply device for supplying a gaseous phase of the first medium has at least one feeding flow path which has an outlet opening arranged in the area of the outer tube layers in the jacket space or opening into the jacket space ,
  • the at least one feeding flow path is at least partially guided on an outwardly facing outside of the shirt (ie in the radial direction further out than the shirt, so that there the shirt between the tube bundle and the feeding flow path) or by a tube of an outer tube layer of the tube bundle, in particular by a tube of an outermost layer of the tube bundle, is formed (or such an outer or outer tube).
  • the outlet opening may be formed in the shirt.
  • the feeding flow path may be passed through the shirt, wherein the outlet opening may be disposed within a jacket space portion surrounding the shirt in the region of the outer tube layers or may terminate flush with an inside of the shirt.
  • the outlet opening can be arranged in the radial direction of the tube bundle between the inside of the shirt and an outermost tube layer.
  • the at least one feeding flow path may be e.g. be formed by a pipeline.
  • the heat exchanger or the gas removal device has a plurality of laxative flow paths for the gaseous phase of the first medium, each having an inlet opening, wherein the inlet openings are respectively arranged in the area of the inner tube layers in the shell space. Furthermore, the inlet openings are preferably arranged along the longitudinal axis at different heights. The individual inlet openings can be designed according to one of the above variants.
  • the heat exchanger or the gas supply device prefferably has a plurality of feeding flow paths for the gaseous phase of the first medium, each having an outlet opening, the outlet openings each being arranged in the area of the outer tube layers in the jacket space, and in particular, the outlet openings along the longitudinal axis are arranged at different heights.
  • a pipe or a pipe which represents a discharging or an infeed flow path, have a plurality of inlet and outlet openings, which are arranged, for example, behind one another along the respective pipe or the respective pipe.
  • a plurality of flow paths to the respective inlet or outlet opening by means of a provide a single pipe or a single pipe.
  • the heat exchanger is designed to control the feeding of the gaseous phase via the gas supply device and / or the removal of the gaseous phase via the gas discharge device or depending on an actual pressure distribution measured in the jacket space or in the Mantelraum measured actual temperature distribution to regulate.
  • the temperature distribution in the shell space changes according to the pressure distribution, so that the temperature distribution for controlling the gas removal or supply is suitable.
  • a closed-loop control provision is made, in particular, for the heat exchanger to regulate the supply and / or discharge of the gaseous phase in such a way that the actual pressure distribution in the jacket space is approached to a target pressure distribution and / or the actual temperature distribution is approximated to a setpoint temperature distribution, in which case the pressure of the target pressure distribution in radial
  • the temperature of the setpoint temperature distribution in the radial direction is in each case constant, in particular in each case at least at a defined height of the jacket space (eg at the level of the discharge and / or supply of the gaseous phase) or in a defined manner Mantelraumabsacrificing along the longitudinal axis of the shell.
  • the heat exchanger is configured such that along the longitudinal axis over the entire length of the tube bundle, a portion of the gaseous phase can be removed from the region of the inner tube layers via a plurality of inlet openings and / or gaseous phase of the first medium in the region of the outer tube layers can be supplied via a plurality of outlet openings, so that in particular on the entire length of the tube bundle, the actual pressure distribution or the actual temperature distribution of a target pressure distribution or nominal temperature distribution is approximated at which the pressure or the temperature in the radial direction respectively is preferably constant and in the axial direction (ie along the longitudinal axis) follows a predefined or desired course.
  • the heat exchanger according to the invention can have the sensors described below for measuring an actual pressure distribution or an actual temperature distribution.
  • the at least one laxative flow path or the gas discharge device for controlling or regulating the discharge of the gaseous phase has a valve.
  • the at least one feeding flow path or the gas supply device for controlling or regulating the supply of the gaseous phase can have a valve.
  • the at least one laxative flow path via a compressor, in particular a controllable or controllable compressor with the at least one feeding flow path is in flow connection or can be brought.
  • a discharged from the inner layers of the tube bundle from the shell space gaseous phase in a variable or controllable or controllable manner the jacket space after appropriate compression in the outer tube layers are fed again.
  • the individual pipe layers abut each other via spacers.
  • the core tube receives the load of the tubes of the tube bundle, wherein in particular the load of the tube layers is removed inwards via the respective spacers.
  • the heat exchanger has a first conduit, via which the first medium (in particular two-phase) can be introduced into the heat exchanger or the jacket space, and / or in that the heat exchanger has a second conduit via which the first medium is removable from the heat exchanger or from the jacket space of the heat exchanger.
  • the first line may e.g. connected to a neck of the heat exchanger (e.g., at an upper portion of the heat exchanger).
  • the second conduit may also be connected to a nozzle of the heat exchanger (e.g., at a lower portion of the heat exchanger).
  • the heat exchanger has a first flow connection between the gas discharge device and the first line, so that a gaseous phase of the first medium or a process stream can be withdrawn from the gas discharge device via the first flow connection and can be introduced into the first line.
  • the heat exchanger can also have a first flow connection between the gas discharge device and the second line, so that a gaseous phase of the first medium or a process stream can be withdrawn from the gas discharge device via the first flow connection and can be introduced into the second line.
  • the heat exchanger has a second flow connection between the gas supply device and the first line, so that a gaseous phase of the first medium or a process stream via the second flow connection from the first line into the gas supply device can be introduced.
  • the heat exchanger can also have a second flow connection between the gas supply device and the second line, so that a gaseous phase of the first medium or a process flow via the second flow connection can be introduced from the second line into the gas supply device.
  • the first flow connection can also connect the gas discharge device to the jacket space away from the first or second line (in particular at any point of the jacket of the heat exchanger).
  • the second flow connection can furthermore connect the gas supply device to the jacket space away from the first or second line (in particular at any point of the jacket of the heat exchanger).
  • the first and / or the second flow connection can also have a buffer storage for a gaseous phase of the first medium and in particular also a compressor and / or a valve (see also below).
  • a compressor By means of the compressor, the first medium can be transported through the respective flow connection.
  • the valve serves to set or interrupt the flow of the gaseous phase of the first medium.
  • a process plant which has a heat exchanger according to the invention and a first component and a first flow connection between the gas discharge device and the first component of the system, so that a process stream of the system (eg a gaseous phase of the first medium ) is introduced from the gas discharge device via the flow connection in the first component.
  • the system may comprise a second component and a second flow connection between the gas supply device and the second component, so that a process stream (eg a gaseous phase of the first medium) can be withdrawn from the second component via the second flow connection and introduced into the gas supply device ,
  • the first or the second components can each be an apparatus or part of the installation in which the first medium is conducted (for example a gas buffer and / or a compressor) and / or treated in any other way.
  • the first and the second component can each be a plant part or apparatus, from which a gaseous phase of the first medium or a process stream is transported to the gas supply device (eg via a line) and / or to a gaseous one Phase of the first medium is transported starting from the gas removal device (eg via a line).
  • the first component may be identical to the second component.
  • a method for operating a heat exchanger which uses in particular a heat exchanger according to the invention, wherein a first medium having a liquid phase and a gaseous phase is guided in a jacket space of the heat exchanger surrounded by a jacket, and indirectly exchanges heat with a second medium, which is guided in an arranged in the shell space tube bundle having a plurality of tubes for receiving the second medium, which are wound helically in several layers of pipe on a core tube of the heat exchanger, extending along a longitudinal axis of the shell in the shell space wherein the tube bundle comprises a plurality of inner tube layers surrounding the core tube and a plurality of outer tube layers surrounding the inner tube layers and the core tube, and wherein at least a portion of the gaseous phase from the region of the inner tube layer n is discharged from the jacket space (in particular to lower a pressure in the jacket space there), in particular via the Gasabloom wisdom, and / or wherein a gaseous phase
  • the removal and / or the feeding of the gaseous phase is controlled or controlled as a function of an actual pressure distribution or actual temperature distribution measured in the jacket space (see above).
  • the actual pressure distribution can be measured with a plurality of pressure sensors provided in the jacket space or by means of a fiber-optic sensor installed through the jacket space.
  • effects of the pressure on a photoconductive fiber e.g., glass fiber
  • an actual temperature distribution can be measured in the jacket space by means of a fiber-optic sensor or by means of at least one light-conducting fiber (for example glass fiber) of such a sensor. It is conceivable to measure both an actual temperature distribution and an actual pressure distribution with a fiber-optic sensor.
  • the fiber optic sensor or a be guided along the tubes of the tube bundle, so that a 3D actual temperature distribution is measurable.
  • the heat exchanger controls the supply and / or discharge of the gaseous phase so that the actual pressure distribution in the shell space is approached a target pressure distribution or the actual temperature distribution in the shell space of a target temperature distribution is approximated, in particular the pressure of the target pressure distribution in a Radial direction of the tube bundle is in each case constant, in particular at least at a defined height of the jacket space (eg at the level of the discharge and / or supply of the gaseous phase) or in a defined jacket space portion along the longitudinal axis of the jacket.
  • the temperature of the setpoint temperature distribution in the radial direction is constant, in particular at least at a defined height of the jacket space (for example at the level of the discharge and / or supply of the gaseous phase) or in a defined jacket space portion along the longitudinal axis of the jacket.
  • a portion of the gaseous phase is removed from the region of the inner tube layers along the longitudinal axis over the entire length of the tube bundle via a plurality of inlet openings and / or gaseous phase of the first medium in the region of the outer layers via a plurality of outlet openings, so that in particular over the entire length of the tube bundle, the actual pressure distribution or the actual temperature distribution of a target pressure distribution or desired temperature distribution is approximated, in which the pressure or the temperature in the radial direction is constant and in the axial direction (ie along the longitudinal axis) follows a predefined course.
  • Such a heat exchanger may also be further developed by the features or embodiments described herein.
  • FIGS. 1 to 4 each show an embodiment of a wound heat exchanger according to the invention 1.
  • the wound heat exchanger 1 each have a preferably at least partially cylindrical shell 5, which surrounds a shell space 6 of the heat exchanger 1 and arranged in the shell space 6 tube bundle 3, the plurality of tubes 30 may be helically wound on a core tube 300, wherein the core tube 300 is arranged in particular coaxially to a longitudinal axis z of the heat exchanger 1 and the shell 5, along which the jacket 5 extends.
  • the tubes 30 of the tube bundle 3 are helically wound on the core tube 300, in particular in a plurality of tube layers, the individual tube layers being supported on one another by spacer elements 10, so that the entire weight of the tube layers can ultimately be removed by the core tube 300.
  • the tube bundle 3 therefore has, correspondingly in the radial direction R, an innermost tube layer 4aa, which is arranged adjacent to the core tube 300, and a tube layer 4bb which is in the radial direction R.
  • the pipe layers of the tube bundle 3 can be divided according to the above definition into inner pipe layers 4a and 4b outer pipe layers.
  • the tube bundle 3 of FIGS. 1 to 4 can eg according to FIG. 5 be formed, for reasons of clarity, the gas discharge 43 and the gas supply 53 (see below) are not shown.
  • Said longitudinal axis z is preferably parallel to the vertical.
  • the wound heat exchanger 1 a particular cylindrical shirt 7, which surrounds the tube bundle 3.
  • the shirt 7 has an inner side 7a which faces the tube bundle 3, in particular the outermost tube layer 4bb, and an outer side 7b facing away from the inner side 7a, which faces the jacket 5.
  • the shirt 7 serves to suppress a bypass flow in the shell space 6 on the tube bundle 3 over.
  • a liquid phase F of a first medium M is introduced from above by means of a liquid distributor V, which then enters into indirect heat transfer with a second medium M 'guided in the tubes 30 of the tube bundle 3.
  • the liquid distributor V may comprise a plurality of arms A, e.g. be fed via the core tube 300 with liquid F.
  • the liquid distributor V is for clarity only in the FIG. 1 drawn, but is also in the embodiments according to FIGS. 2 to 5 provided and by type FIG. 1 configured.
  • the respective radial direction R is perpendicular to the longitudinal axis z or the core tube 300, wherein the longitudinal axis z coincides with the axial direction of the tube bundle 3.
  • FIG. 1 shown embodiment of the heat exchanger 1 according to the invention that the heat exchanger 1 is adapted to a portion of the gaseous phase G by means of a gas discharge 43 from the region of the inner tube layers 4a, 4aa from the Remove jacket space 6.
  • a gas discharge 43 from the region of the inner tube layers 4a, 4aa from the Remove jacket space 6.
  • the gas removal device 43 of the heat exchanger 1 at least one outflowing flow path 40 for the gaseous phase G with an inlet opening 41 arranged in the area of the inner pipe layers 4a in the shell space 6, wherein, for example, the at least one laxative flow path 40 through a pipe 30 an inner pipe layer 4a, in particular an innermost layer of pipe 4aa, the Tube bundle 3 is formed.
  • the heat exchanger 1 or the gas discharge device 43 according to a second variant (see. FIG. 1 ) have an at least partially extending in an inner space of the core tube 300, laxative flow path 40 for the gaseous phase G, with an arranged in the region of the inner tube layers 4a in the shell space 6 inlet opening 41, which is formed in the present example, in a wall of the core tube 300.
  • valve 8 is in the Fig. 1 only for the flow path 40 running in the interior of the core tube 300.
  • the valve 8 is preferably set so that an actual temperature distribution measured in the jacket space 6 is approximated to a desired setpoint temperature distribution.
  • the control can also be carried out so that a measured actual pressure distribution is approximated to a desired target pressure distribution.
  • the temperature or the pressure can be measured in the jacket space, for example in a known manner by means of a light-conducting fiber L or other suitable sensors (see also above).
  • a photoconductive fiber L may, for example, be laid along the tubes 30 and is in the FIG. 1 indicated schematically.
  • FIG. 2 shows a modification of the in FIG. 1 shown embodiment, in contrast to FIG. 1 is provided, the gaseous phase G does not deduct in the region of the inner pipe layers 4a, 4aa from the shell space 6, but 4b, in particular in the region of the outermost layer of pipe 4b, in the shell space 6 initiate in the region of the outer pipe layers.
  • the heat exchanger 1 a gas supply device 53 with at least one feeding flow path 50 for the gaseous phase G, which runs according to a first variant on the outside 7b of the shirt 7, as well as within the jacket space 6. It is of course also conceivable to have such a flow path 50 outside the jacket 5 to move and then pass through the jacket 5 and the shirt 7 therethrough. Furthermore, such a flow path 50 alternatively according to a likewise in the FIG. 2 shown second variant by a tube 30 of an outer tube layer 4b of the tube bundle 3, in particular by a tube 30 of an outermost tube layer 4bb of the tube bundle 3, be formed.
  • the at least one feeding flow path 50 has an outlet opening 51 which is presently formed in the shirt 7 (or alternatively in said tube 30 of the outermost tube layer 4b, 4bb) so that the introduced gaseous phase G is the outermost one Pipe layer 4bb applied.
  • the pressure in the jacket space 6 can be increased, in particular in the area of the outer pipe layers 4b, so that overall a pressure P which is as constant as possible in the radial direction R results.
  • Also in the FIG. 2 can of course be provided along the longitudinal axis z a plurality of inlet openings 51, so that the pressure as above based on the FIG. 1 already described on the entire length of the tube bundle along the longitudinal axis z is positively influenced.
  • valve 8 in particular both for the feeding flow path 50 having said tube 30 of the outermost tube layer 4b, 4bb and alternatively for that on the outside 7b of the shirt 7 extending feeder flow path 50.
  • the valve 8 in the Fig. 2 only for the flow path 50 running on the outside 7b of the shirt 7.
  • the valve 8 is preferably set in such a way that an actual pressure distribution P measured in the jacket space 6 or alternatively a measured actual temperature distribution is approximated to a corresponding desired pressure distribution or desired temperature distribution.
  • FIG. 3 also the possibility of the respective embodiments according to FIG. 1 and FIG. 2 to combine, so that both a gaseous phase G of the first medium M from the shell space 6 is removable and can be fed.
  • the two flow paths 40, 50 can be regulated Compressor 9 are in flow communication, so that a withdrawn from the shell space 6 in the region of the inner pipe layers 4a gaseous phase G by means of the compressor 9 is variably compressible and again in the shell space 6 in the region of the outer pipe layers 4b can be introduced.
  • the gaseous medium G is guided in a circuit.
  • the compressor 9 is for the sake of simplicity in the FIG.
  • additional flow paths 40, 50 which in some embodiments according to FIGS. 1 to 4 can be used in addition to the tube bundle 3 to deduct a gaseous phase G spatially targeted from the shell space 6 or spatially targeted in the shell space 6 to specifically influence pressure or temperature gradients, in principle, such as above, of course, individual tubes 30 of the tube bundle 3 are used, which are located at the desired location, for example, a tube 30 from the outermost layer of tubes 4bb for introducing the gaseous phase G or a tube 30 from the innermost tube layer 4aa for discharging gaseous phase G.
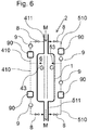
  • FIGS. 6 and 7 Further embodiments of a heat exchanger 1 according to the invention or a system 2 comprising the heat exchanger 1, which relate to the interconnection of the gas discharge or gas supply means 43, 53.
  • the heat exchanger 1 has a first line 411, via which the shell-side first medium M (in particular two-phase), for example, in an upper portion of the heat exchanger 1 and in the shell space 6 is fed.
  • the shell-side first medium M in particular two-phase
  • the heat exchanger 1 can have a second line 511, via which the shell-side first medium M can be removed from the jacket space 6 or heat exchanger.
  • the second line 511 may be e.g. be provided at a lower portion of the heat exchanger 1.
  • the gas discharge device 43 is connected to the first line 411 via a first flow connection 410, so that part of a gaseous phase G of the first medium M via the gas discharge device 43 and the first flow connection 410 the shell space 6 of the heat exchanger 1 is removable and can be fed into the first line 411.
  • the gas discharge device 43 may be connected via a first flow connection 410 with the second line 511, so that a part of the gaseous phase G of the first medium M via the gas discharge 43 and the first flow connection 410 from the shell space 6 of the heat exchanger 1 is removable and in the second line 511 can be fed.
  • the gas supply device 53 can also be connected to the first line 411 via a second flow connection 510, so that part of the gaseous phase G of the first medium M can be fed from the first line 411 into the gas supply device 53 via the second flow connection 510.
  • the gas supply device 53 may be connected via a second flow connection 510 to the second line 511, so that part of the gaseous phase G of the first medium M from the second line 511 can be fed into the gas supply device 53 via the second flow connection 510.
  • the first or the second flow connection 410, 510 can have a gas buffer store 90, a compressor 9 and, in particular, a valve 8, via which the flow of the gaseous phase G of the first medium M can be set or interrupted.
  • the heat exchanger 1 thus forms here together with the respective gas storage tank 90, compressor 9 and valve 8 a process plant 2 or part of such a plant 2, in which the first medium M represents a process stream.
  • the shell-side first medium M is a mixture of refrigerants.
  • the first medium M can also be a process stream from another part of the plant 2.
  • the gas discharge device 43 is connected at any point (in particular away from the two lines 411, 511) to the jacket space 6 of the heat exchanger 1 via the first flow connection 410, so that the first medium M is discharged via the gas discharge device 43 (and in particular via the valve 8, the gas buffer memory 90 and the compressor 9) can be pulled off the jacket space 6 and introduced back into the jacket space 6.
  • the gas discharge device 43 is connected at any point (in particular away from the two lines 411, 511) to the jacket space 6 of the heat exchanger 1 via the first flow connection 410, so that the first medium M is discharged via the gas discharge device 43 (and in particular via the valve 8, the gas buffer memory 90 and the compressor 9) can be pulled off the jacket space 6 and introduced back into the jacket space 6.
  • the gas supply means 53 via the second flow connection 510 also at any point (in particular off the two lines 411, 511) be connected to the shell space 6 of the heat exchanger 1, so that the first medium M via the second flow connection 510 (in particular via the gas buffer memory 90, the compressor 9 and the valve 8) can be removed from the shell space 6 and introduced back into the shell space 6 via the gas supply device 53.
  • the in the FIGS. 6 and 7 Of course, flow connections 410, 510 shown can also be combined with one another in any desired manner.

Landscapes

  • Engineering & Computer Science (AREA)
  • Physics & Mathematics (AREA)
  • Thermal Sciences (AREA)
  • Mechanical Engineering (AREA)
  • General Engineering & Computer Science (AREA)
  • Heat-Exchange Devices With Radiators And Conduit Assemblies (AREA)

Abstract

Die Erfindung betrifft einen Wärmeübertrager (1) zur indirekten Wärmeübertragung zwischen einem ersten Medium (M), das eine flüssige Phase (F) sowie eine gasförmige Phase (G) aufweist, und einem zweiten Medium (M'), mit: einem Mantel (5), der einen Mantelraum (6) umgibt und sich entlang einer Längsachse (z) erstreckt, wobei der Mantelraum zur Aufnahme des ersten Mediums dient, und einem im Mantelraum (6) angeordneten Rohrbündel (3) aufweisend mehrere Rohre (30) zur Aufnahme des zweiten Mediums (M'), die helikal in mehreren Rohrlagen auf ein Kernrohr (300) des Wärmeübertragers (1) gewickelt sind, das sich entlang der Längsachse (z) des Mantels (5) im Mantelraum (6) erstreckt, wobei das Rohrbündel (3) eine Mehrzahl an inneren Rohrlagen (4a, 4aa) aufweist, die das Kernrohr (300) umgeben sowie eine Mehrzahl an äußeren Rohrlagen (4b, 4bb), die die inneren Rohrlagen (4a, 4aa) sowie das Kernrohr (300) umgeben. Insbesondere ist vorgesehen, dass der Wärmeübertrager (1) dazu ausgebildet ist, einen Teil der gasförmigen Phase (G) über eine Gasabführeinrichtung (43) aus dem Bereich der inneren Rohrlagen (4a, 4aa) aus dem Mantelraum (6) abzuführen und/oder eine gasförmige Phase (G) des ersten Mediums (M) im Bereich der äußeren Rohrlagen (4b, 4bb) über eine Gaszuführeinrichtung (53) in den Mantelraum (6) zuzuführen.

Description

  • Die Erfindung betrifft einen gewickelten Wärmeübertrager gemäß Anspruch 1.
  • Derartige gewickelte Wärmeübertrager werden z.B. bei physikalischen Wäschen zur Sauergasentfernung (z.B. Rectisolverfahren), in Ethylenanlagen oder in Anlagen zur Herstellung von flüssigem Erdgas (LNG) verwendet.
  • Flüssigkeit auf der Mantelseite von derartigen Wärmeübertragern mit Fallfilmverdampfung wird in den meisten Fällen in Richtung der äußeren Rohrlagen des Rohrbündels abgelenkt. Diese Fehlverteilung der Flüssigkeit führt zu einer lokalen Unterversorgung des Rohrbündels mit Kühlmittel im Bereich der inneren Rohrlagen des Rohrbündels und daher zu Performance-Einbußen des Wärmeübertragers.
  • Hiervon ausgehend liegt der vorliegenden Erfindung daher die Aufgabe zugrunde, einen gewickelten Wärmeübertrager bereitzustellen, der derartigen Performance-Einbußen entgegenwirkt.
  • Diese Aufgabe wird durch einen Wärmeübertrager mit den Merkmalen des Anspruchs 1 sowie durch ein Verfahren mit den Merkmalen des Anspruchs 14 gelöst. Vorteilhafte Ausgestaltungen dieser Aspekte der vorliegenden Erfindung sind in den entsprechenden Unteransprüchen angegeben und werden nachfolgend beschrieben.
  • Gemäß Anspruch 1 wird ein Wärmeübertrager zur indirekten Wärmeübertragung zwischen einem ersten Medium, das eine flüssige Phase sowie eine gasförmige Phase aufweist, und einem zweiten Medium offenbart, mit:
    • einem Mantel, der einen Mantelraum umgibt und sich entlang einer Längsachse erstreckt, wobei der Mantelraum zur Aufnahme des ersten Mediums dient, und
    • einem im Mantelraum angeordneten Rohrbündel aufweisend mehrere Rohre zur Aufnahme des zweiten Mediums, die helikal in mehreren Rohrlagen auf ein Kernrohr des Wärmeübertragers gewickelt sind, das sich entlang der Längsachse des Mantels im Mantelraum erstreckt, wobei das Rohrbündel eine Mehrzahl an inneren Rohrlagen aufweist, die das Kernrohr umgeben sowie eine Mehrzahl an äußeren Rohrlagen, die die inneren Rohrlagen sowie das Kernrohr umgeben.
  • Erfindungsgemäß ist nun vorgesehen, dass der Wärmeübertrager eine Gasabführeinrichtung aufweist, über die ein Teil der gasförmigen Phase aus dem Bereich der inneren Rohrlagen aus dem Mantelraum abführbar ist, wobei die Gasabführeinrichtung des Wärmeübertragers zumindest einen abführenden Strömungspfad für die gasförmige Phase mit einer im Bereich der inneren Rohrlagen im Mantelraum angeordneten Einlassöffnung aufweist, und wobei der mindestens eine abführende Strömungspfad durch ein Rohr einer inneren Rohrlage des Rohrbündels, insbesondere durch ein Rohr einer innersten Rohrlage des Rohrbündels, gebildet wird (bzw. ein solches inneres oder innerstes Rohr aufweist).
  • Alternativ oder ergänzend ist erfindungsgemäß vorgesehen, dass der Wärmeübertrager eine Gaszuführeinrichtung aufweist, über die eine gasförmige Phase des ersten Mediums im Bereich der äußeren Rohrlagen in den Mantelraum zuführbar ist.
  • Das auf das Kernrohr gewickelte Rohrbündel weist in einer radialen Richtung betrachtet eine Mehrzahl n an übereinander liegenden Rohrlagen auf, wobei bei einer geraden Anzahl n an Rohrlagen ausgehend vom Kernrohr alle Rohrlagen bis zur n/2-ten Rohrlage im Sinne der vorliegenden Erfindung als innere Rohrlagen verstanden werden, wohingegen die darauf nach außen hin folgenden Rohrlagen (also von der (n/2+1)-ten Rohrlage bis zur n-ten Rohrlage) als äußere Rohrlagen aufgefasst werden. Bei einer ungeraden Anzahl an Rohrlagen werden die inneren (n-1)/2 Rohrlagen als innere Rohrlagen verstanden und die restlichen Rohrlagen als äußere Rohrlagen.
  • Gemäß einer Ausführungsform der Erfindung findet das Abführen der gasförmigen Phase im Bereich der innersten Rohrlage und das Zuführen der gasförmigen Phase im Bereich der äußersten Rohrlage statt.
  • Aufgrund der Erfindung kann in vorteilhafter Weise ein Druckabfall in radialer Richtung des Rohrbündels (nach außen zum Mantel hin) vermindert oder vermieden werden, so dass in radialer Richtung ein möglichst konstanter Druck im Mantelraum vorliegt. Dies erhöht die Effektivität des Wärmeübertragers, da hierdurch die oben genannte Ablenkung der Flüssigkeit verringert bzw. vermieden wird.
  • Die radiale Richtung des Rohrbündels bezeichnet vorliegend eine Richtung, die senkrecht auf der Längsachse des Mantels steht und nach außen hin zum Mantel weist, während die axiale Richtung mit der Längsachse zusammenfällt. Das Kernrohr ist vorzugweise koaxial zur Längsachse im Mantelraum angeordnet und erstreckt sich entsprechend in der axialen Richtung.
  • Die flüssige Phase kann von oben auf das Rohrbündel in bekannter Weise aufgegeben werden. Hierbei kann ein zum Verteilen der flüssigen Phase verwendeter Flüssigkeitsverteiler auch gleich eine Trennung der flüssigen Phase von der gasförmigen Phase des ersten Mediums vornehmen. Die Trennung der flüssigen Phase von der gasförmigen Phase kann jedoch auch in separaten Einheiten vorgenommen werden. Der Flüssigkeitsverteiler kann die flüssige Phase z.B. über einen am Mantel umlaufenden Spalt oder über Rohre in einen darunter liegenden Ringkanal mit Verteilerarmen leiten. Alternativ kann die flüssige Phase über eine zentrale Öffnung in das Kernrohr eingeleitet werden und sodann einem Verteiler in Form eines Druckverteilers zugeleitet werden. Derartige Flüssigkeitsverteiler sind z.B. in der DE 10 2004 040 974 A1 im Detail beschrieben. Andere Flüssigkeitsverteiler sind ebenfalls denkbar.
  • Weiterhin ist gemäß einer Ausführungsform des erfindungsgemäßen Wärmeübertragers denkbar, dass der mindestens eine abführende Strömungspfad zumindest abschnittsweise im Kernrohr verläuft, z.B. anstelle eines abführenden Strömungspfades, der durch ein Rohr einer inneren Rohrlage des Rohrbündels, insbesondere durch ein Rohr einer innersten Rohrlage des Rohrbündels, gebildet wird (siehe auch oben).
  • Bei einem zumindest abschnittsweise im Kernrohr geführten abführenden Strömungspfad kann die Einlassöffnung in der Wandung des Kernrohres ausgebildet sein. Alternativ kann der abführende Strömungspfad durch eine Wandung des Kernrohres hindurchgeführt sein, wobei die Einlassöffnung außerhalb des Kernrohres im Bereich der inneren Rohrlagen angeordnet ist oder bündig mit einer Oberfläche der Wandung des Kernrohres abschließt. Ferner kann die Einlassöffnung in radialer Richtung des Rohrbündels zwischen der Oberfläche der Wandung des Kernrohres und einer innersten Rohrlage angeordnet sein.
  • Grundsätzlich kann der mindestens eine abführende Strömungspfad durch eine Rohrleitung gebildet sein.
  • Weiterhin kann bei einem durch ein Rohr einer inneren bzw. der innersten Rohrlage gebildeten abführenden Strömungspfad die Einlassöffnung insbesondere in einer Wandung des betreffenden Rohres ausgebildet sein.
  • Weiterhin ist gemäß einer Ausführungsform des erfindungsgemäßen Wärmeübertragers vorgesehen, dass der Wärmeübertrager ein das Rohrbündel umgebendes Hemd aufweist, das die äußeren Rohrlagen umgibt. Ein solches Hemd kann eine hohlzylindrische Form aufweisen und dient dazu, eine Bypassströmung des ersten Mediums am Rohrbündel vorbei im Mantelraum zu unterdrücken. Hierzu umgreift das Hemd das Rohrbündel bevorzugt eng.
  • Weiterhin ist gemäß einer bevorzugten Ausführungsform des erfindungsgemäßen Wärmeübertragers vorgesehen, dass der Wärmeübertrager bzw. die Gaszuführeinrichtung zum Zuführen einer gasförmigen Phase des ersten Mediums zumindest einen zuführenden Strömungspfad aufweist, der eine im Bereich der äußeren Rohrlagen im Mantelraum angeordnete bzw. in den Mantelraum mündende Auslassöffnung aufweist.
  • Gemäß einer Ausführungsform des erfindungsgemäßen Wärmeübertragers ist hierbei vorgesehen, dass der mindestens eine zuführende Strömungspfad zumindest abschnittsweise auf einer nach außen weisenden Außenseite des Hemdes geführt ist (also in radialer Richtung weiter außen verläuft als das Hemd, so dass das dort das Hemd zwischen dem Rohrbündel und dem zuführenden Strömungspfad verläuft) oder durch ein Rohr einer äußeren Rohrlage des Rohrbündels, insbesondere durch ein Rohr einer äußersten Rohrlage des Rohrbündels, gebildet wird (bzw. ein solches äußeres oder äußerstes Rohr) aufweist.
  • Bei einem zumindest abschnittsweise auf der Außenseite des Hemdes geführten zuführenden Strömungspfad kann die Auslassöffnung im Hemd ausgebildet sein. Alternativ kann der zuführende Strömungspfad durch das Hemd hindurchgeführt sein, wobei die Auslassöffnung innerhalb eines vom Hemd umgebenden Mantelraumabschnitts im Bereich der äußeren Rohrlagen angeordnet sein kann oder bündig mit einer Innenseite des Hemdes abschließen kann. Weiterhin kann die Auslassöffnung in radialer Richtung des Rohrbündels zwischen der Innenseite des Hemdes und einer äußersten Rohrlage angeordnet sein.
  • Grundsätzlich kann der mindestens eine zuführende Strömungspfad z.B. durch eine Rohrleitung gebildet sein.
  • Weiterhin ist gemäß einer Ausführungsform des erfindungsgemäßem Wärmeübertragers vorgesehen, dass der Wärmeübertrager bzw. die Gasabführeinrichtung mehrere abführende Strömungspfade für die gasförmige Phase des ersten Mediums mit jeweils einer Einlassöffnung aufweist, wobei die Einlassöffnungen jeweils im Bereich der inneren Rohrlagen im Mantelraum angeordnet sind. Bevorzugt sind weiterhin die Einlassöffnungen entlang der Längsachse in unterschiedlichen Höhen angeordnet. Die einzelnen Einlassöffnungen können dabei gemäß einer der oben stehenden Varianten ausgebildet sein.
  • Vorzugsweise ist gemäß einer weiteren Ausführungsform des erfindungsgemäßen Wärmeübertragers vorgesehen, dass der Wärmeübertrager bzw. die Gaszuführeinrichtung mehrere zuführende Strömungspfade für die gasförmige Phase des ersten Mediums mit jeweils einer Auslassöffnung aufweist, wobei die Auslassöffnungen jeweils im Bereich der äußeren Rohrlagen im Mantelraum angeordnet sind, und wobei insbesondere die Auslassöffnungen entlang der Längsachse in unterschiedlichen Höhen angeordnet sind.
  • Insbesondere kann ein Rohr bzw. eine Rohrleitung, die einen abführenden oder einen zuführenden Strömungspfad darstellt, mehrere Einlass- bzw. Auslassöffnungen aufweisen, die zum Beispiel hintereinander entlang des jeweiligen Rohres bzw. der jeweiligen Rohrleitung angeordnet sind. Auf diese Weise lässt sich jeweils eine Vielzahl an Strömungspfaden zur jeweiligen Einlass- bzw. Auslassöffnung mittels eines einzelnen Rohres bzw. einer einzelnen Rohrleitung bereitstellen. Es besteht natürlich auch die Möglichkeit, für jede Einlass- bzw. Auslassöffnung ein separates Rohr bzw. eine separate Rohrleitung vorzusehen.
  • Vorzugsweise ist gemäß einer weiteren Ausführungsform des erfindungsgemäßen Wärmeübertragers vorgesehen, dass der Wärmeübertrager dazu ausgebildet ist, das Zuführen der gasförmigen Phase über die Gaszuführeinrichtung und/oder das Abführen der gasförmigen Phase über die Gasabführeinrichtung zu steuern oder in Abhängigkeit einer im Mantelraum gemessenen Istdruckverteilung oder einer im Mantelraum gemessenen Isttemperaturverteilung zu regeln.
  • Hierbei ist zu beachten, dass die Temperaturverteilung im Mantelraum sich entsprechend der Druckverteilung ändert, so dass auch die Temperaturverteilung zum Regeln der Gasabfuhr bzw. -zufuhr geeignet ist.
  • Bei einer Regelung ist insbesondere vorgesehen, dass der Wärmeübertrager die Zuführung und/oder Abführung der gasförmigen Phase so regelt, dass die Istdruckverteilung im Mantelraum einer Solldruckverteilung annähert wird und/oder dass die Isttemperaturverteilung einer Solltemperaturveteilung angenähert wird, wobei insbesondere der Druck der Solldruckverteilung in radialer Richtung des Rohrbündels jeweils konstant ist, und wobei insbesondere die Temperatur der Solltemperaturverteilung in radialer Richtung jeweils konstant ist, und zwar insbesondere jeweils zumindest auf einer definierten Höhe des Mantelraumes (z.B. auf Höhe der Abführung und/oder Zuführung der gasförmigen Phase) oder in einem definierten Mantelraumabschnitt entlang der Längsachse des Mantels.
  • Vorzugsweise ist der Wärmeübertrager in einer Ausführungsform so konfiguriert, dass entlang der Längsachse über die gesamte Länge des Rohrbündels über eine Mehrzahl an Einlassöffnungen ein Teil der gasförmigen Phase aus dem Bereich der inneren Rohrlagen abführbar und/oder gasförmige Phase des ersten Mediums im Bereich der äußeren Rohrlagen über eine Mehrzahl an Auslassöffnungen zuführbar ist, so dass insbesondere auf der gesamten Länge des Rohrbündels die Istdruckverteilung bzw. die Isttemperaturverteilung einer Solldruckverteilung bzw. Solltemperaturverteilung angenähert wird, bei der der Druck bzw. die Temperatur in radialer Richtung jeweils bevorzugt konstant ist sowie in axialer Richtung (also entlang der Längsachse) einem vordefinierten bzw. gewünschten Verlauf folgt.
  • Der erfindungsgemäße Wärmeübertrager kann zur Messung einer Istdruckverteilung oder eine Isttemperaturverteilung die weiter unten beschriebenen Sensoren aufweisen.
  • Weiterhin ist gemäß einer Ausführungsform des erfindungsgemäßen Wärmeübertragers vorgesehen, dass der mindestens eine abführende Strömungspfad bzw. die Gasabführeinrichtung zum Steuern oder Regeln der Abführung der gasförmigen Phase ein Ventil aufweist.
  • In gleicher Weise kann der mindestens eine zuführende Strömungspfad bzw. die Gaszuführeinrichtung zum Steuern oder Regeln der Zuführung der gasförmigen Phase ein Ventil aufweisen.
  • Gemäß einer weiteren Ausführungsform des erfindungsgemäßen Wärmeübertragers ist vorgesehen, dass der mindestens eine abführende Strömungspfad über einen Verdichter, insbesondere einen steuer- oder regelbaren Verdichter mit dem mindestens einen zuführenden Strömungspfad in Strömungsverbindung steht bzw. bringbar ist. Auf diese Weise kann eine von den inneren Lagen des Rohrbündels aus dem Mantelraum abgeführte gasförmige Phase in variabler bzw. steuer- oder regelbarer Weise dem Mantelraum nach entsprechender Verdichtung im Bereich der äußeren Rohrlagen wieder zugeführt werden.
  • Weiterhin ist gemäß einer Ausführungsform des erfindungsgemäßen Wärmeübertragers vorgesehen, dass die einzelnen Rohrlagen über Abstandshalter aneinander anliegen. Bevorzugt nimmt das Kernrohr die Last der Rohre des Rohrbündels auf, wobei insbesondere die Last der Rohrlagen über die jeweiligen Abstandshalter nach innen abgetragen wird.
  • Gemäß einer weiteren Ausführungsform des erfindungsgemäßen Wärmeübertragers ist vorgesehen, dass der Wärmeübertrager eine erste Leitung aufweist, über die das erste Medium (insbesondere zweiphasig) in den Wärmeübertrager bzw. den Mantelraum einleitbar ist, und/oder dass der Wärmeübertrager eine zweite Leitung aufweist, über die das erste Medium aus dem Wärmeübertrager bzw. aus dem Mantelraum des Wärmeübertragers abziehbar ist.
  • Die erste Leitung kann z.B. an einen Stutzen des Wärmeübertragers angeschlossen sein (z.B. an einem oberen Abschnitt des Wärmeübertragers). Die zweite Leitung kann ebenfalls an einen Stutzen des Wärmeübertragers angeschlossen sein (z.B. an einem unteren Abschnitt des Wärmeübertragers).
  • Gemäß einer weiteren Ausführungsform weist der Wärmeübertrager eine erste Strömungsverbindung zwischen der Gasabführeinrichtung und der ersten Leitung auf, so dass eine gasförmige Phase des ersten Mediums bzw. ein Prozessstrom über die erste Strömungsverbindung aus der Gasabführeinrichtung abziehbar ist und in die erste Leitung einleitbar ist.
  • Weiterhin kann der Wärmeübertrager auch gemäß einer weiteren Ausführungsform eine erste Strömungsverbindung zwischen der Gasabführeinrichtung und der zweiten Leitung aufweisen, so dass eine gasförmige Phase des ersten Mediums bzw. ein Prozessstrom über die erste Strömungsverbindung aus der Gasabführeinrichtung abziehbar ist und in die zweite Leitung einleitbar ist.
  • Weiterhin ist gemäß einer Ausführungsform der Erfindung vorgesehen, dass der Wärmeübertrager eine zweite Strömungsverbindung zwischen der Gaszuführeinrichtung und der ersten Leitung aufweist, so dass eine gasförmige Phase des ersten Mediums bzw. ein Prozessstrom über die zweite Strömungsverbindung aus der ersten Leitung in die Gaszuführeinrichtung einleitbar ist.
  • Weiterhin kann der Wärmeübertrager auch gemäß einer weiteren Ausführungsform eine zweite Strömungsverbindung zwischen der Gaszuführeinrichtung und der zweiten Leitung aufweisen, so dass eine gasförmige Phase des ersten Mediums bzw. ein Prozessstrom über die zweite Strömungsverbindung aus der zweiten Leitung in die Gaszuführeinrichtung einleitbar ist.
  • Weiterhin kann die erste Strömungsverbindung gemäß einer Ausführungsform auch die Gasabführeinrichtung abseits der ersten bzw. zweiten Leitung mit dem Mantelraum verbinden (insbesondere an einer beliebigen Stelle des Mantels des Wärmeübertragers).
  • Analog hierzu kann des Weiteren auch die zweite Strömungsverbindung gemäß einer Ausführungsform die Gaszuführeinrichtung abseits der ersten bzw. zweiten Leitung mit dem Mantelraum verbinden (insbesondere an einer beliebigen Stelle des Mantels des Wärmeübertragers).
  • Grundsätzlich kann die erste und/oder die zweite Strömungsverbindung gemäß einer Ausführungsform auch einen Pufferspeicher für eine gasförmige Phase des ersten Mediums sowie insbesondere auch einen Verdichter und/oder ein Ventil aufweisen (siehe auch unten). Mittels des Verdichters kann das erste Medium durch die jeweilige Strömungsverbindung transportiert werden. Das Ventil dient zum Einstellen bzw. Unterbrechen des Stromes der gasförmigen Phase des ersten Mediums.
  • Gemäß einem weiteren Aspekt der vorliegenden Erfindung ist eine verfahrenstechnische Anlage vorgesehen, die einen erfindungsgemäßen Wärmeübertrager aufweist sowie eine erste Komponente und eine erste Strömungsverbindung zwischen der Gasabführeinrichtung und der ersten Komponente der Anlage, so dass ein Prozessstrom der Anlage (z.B. eine gasförmige Phase des ersten Mediums) aus der Gasabführeinrichtung über die Strömungsverbindung in die erste Komponente einleitbar ist. Ergänzend oder alternativ kann die Anlage eine zweite Komponente sowie eine zweite Strömungsverbindung zwischen der Gaszuführeinrichtung und der zweiten Komponente aufweisen, so dass ein Prozessstrom (z.B. eine gasförmige Phase des ersten Mediums) über die zweite Strömungsverbindung aus der zweiten Komponente abziehbar und in die Gaszuführeinrichtung einleitbar ist.
  • Bei der ersten oder der zweiten Komponenten kann es sich jeweils um einen Apparat bzw. Anlagenteil der Anlage handeln, in dem das erste Medium geführt wird (z.B. ein Gaspufferspeicher und/oder ein Verdichter) und/oder in sonstiger Weise behandelt wird. Es kann sich bei der ersten und der zweiten Komponente des Weiteren jeweils um einen Anlagenteil bzw. Apparat handeln, von dem eine gasförmige Phase des ersten Mediums bzw. ein Prozessstrom zur Gaszuführeinrichtung transportiert wird (z.B. über eine Leitung) und/oder zu dem eine gasförmige Phase des ersten Mediums ausgehend von der Gasabführeinrichtung (z.B. über eine Leitung) transportiert wird. Die erste Komponente kann mit der zweiten Komponente identisch sein.
  • Gemäß einem weiteren Aspekt der vorliegenden Erfindung wird ein Verfahren zum Betreiben eines Wärmeübertragers vorgeschlagen, das insbesondere einen erfindungsgemäßen Wärmeübertrager verwendet, wobei ein erstes Medium, das eine flüssige Phase sowie eine gasförmige Phase aufweist, in einem von einem Mantel umgebenen Mantelraum des Wärmeübertragers geführt wird und indirekt Wärme mit einem zweiten Medium austauscht, das in einem im Mantelraum angeordneten Rohrbündel geführt wird, das mehrere Rohre zur Aufnahme des zweiten Mediums aufweist, die helikal in mehreren Rohrlagen auf ein Kernrohr des Wärmeübertragers gewickelt sind, das sich entlang einer Längsachse des Mantels im Mantelraum erstreckt, wobei das Rohrbündel eine Mehrzahl an inneren Rohrlagen aufweist, die das Kernrohr umgeben sowie eine Mehrzahl an äußeren Rohrlagen, die die inneren Rohrlagen sowie das Kernrohr umgeben, und wobei zumindest ein Teil der gasförmigen Phase aus dem Bereich der inneren Rohrlagen aus dem Mantelraum abgeführt wird (insbesondere um dort einen Druck im Mantelraum abzusenken), und zwar insbesondere über die Gasabführeinrichtung, und/oder wobei eine gasförmige Phase des ersten Mediums im Bereich der äußeren Rohrlagen in den Mantelraum zugeführt wird (insbesondere um dort einen Druck im Mantelraum anzuheben), und zwar insbesondere über die Gaszuführeinrichtung.
  • Gemäß einer Ausführungsform des erfindungsgemäßen Verfahrens ist vorgesehen, dass das Abführen und/oder das Zuführen der gasförmigen Phase gesteuert wird oder in Abhängigkeit einer im Mantelraum gemessenen Istdruckverteilung bzw. Isttemperaturverteilung (siehe oben) geregelt wird. Die Istdruckverteilung kann mit einer Mehrzahl an im Mantelraum vorgesehenen Drucksensoren oder mittels eines durch den Mantelraum verlegten faseroptischen Sensors gemessen werden. Hierbei werden in bekannter Weise Auswirkungen des Drucks auf eine lichtleitende Faser (z.B. Glasfaser) gemessen. Alternativ oder ergänzend kann im Mantelraum mittels eines faseroptischen Sensors bzw. mittels zumindest einer lichtleitenden Faser (z.B. Glasfaser) eines solchen Sensors eine Isttemperaturverteilung gemessen werden. Es ist denkbar sowohl eine Isttemperaturverteilung als auch eine Istdruckverteilung mit einem faseroptischer Sensor zu messen.
  • Insbesondere für den Fall, dass mittels des faseroptischen Sensors eine Isttemperaturverteilung gemessen wird (und diese zum Regeln der Zufuhr bzw. Abfuhr der gasförmigen Phase verwendet wird), kann der faseroptische Sensor bzw. eine lichtleitende Faser, insbesondere Glasfaser, des Sensors, entlang der Rohre des Rohrbündels verlegt sein, so dass eine 3D-Isttemperaturverteilung messbar ist.
  • Bei einer Regelung ist insbesondere vorgesehen, dass der Wärmeübertrager die Zuführung und/oder Abführung der gasförmigen Phase so regelt, dass die Istdruckverteilung im Mantelraum einer Solldruckverteilung annähert wird oder das die Isttemperaturverteilung im Mantelraum einer Solltemperaturverteilung angenähert wird, wobei insbesondere der Druck der Solldruckverteilung in einer radialer Richtung des Rohrbündels jeweils konstant ist, und zwar insbesondere zumindest auf einer definierten Höhe des Mantelraumes (z.B. auf Höhe der Abführung und/oder Zuführung der gasförmigen Phase) oder in einem definierten Mantelraumabschnitt entlang der Längsachse des Mantels. In gleicher Weise ist insbesondere die Temperatur der Solltemperaturverteilung in radialer Richtung konstant, und zwar insbesondere zumindest auf einer definierten Höhe des Mantelraumes (z.B. auf Höhe der Abführung und/oder Zuführung der gasförmigen Phase) oder in einem definierten Mantelraumabschnitt entlang der Längsachse des Mantels.
  • Vorzugsweise wird entlang der Längsachse über die gesamte Länge des Rohrbündels über eine Mehrzahl an Einlassöffnungen ein Teil der gasförmigen Phase aus dem Bereich der inneren Rohrlagen abgeführt und/oder gasförmige Phase des ersten Mediums im Bereich der äußeren Lagen über eine Mehrzahl an Auslassöffnungen zugeführt, so dass insbesondere auf der gesamten Länge des Rohrbündels die Istdruckverteilung bzw. die Isttemperaturverteilung einer Solldruckverteilung bzw. Solltemperaturverteilung angenähert wird, bei der der Druck bzw. die Temperatur in radialer Richtung jeweils konstant ist sowie in axialer Richtung (also entlang der Längsachse) einem vordefinierten Verlauf folgt.
  • Schließlich wird gemäß einem weiteren Aspekt der vorliegenden Erfindung ein Wärmeübertrager zur indirekten Wärmeübertragung zwischen einem ersten Medium, das eine flüssige Phase sowie eine gasförmige Phase aufweist, und einem zweiten Medium offenbart, mit:
    • einem Mantel, der einen Mantelraum umgibt und sich entlang einer Längsachse erstreckt, wobei der Mantelraum zur Aufnahme des ersten Mediums dient, und
    • einem im Mantelraum angeordneten Rohrbündel aufweisend mehrere Rohre zur Aufnahme des zweiten Mediums, die helikal in mehreren Rohrlagen auf ein Kernrohr des Wärmeübertragers gewickelt sind, das sich entlang der Längsachse des Mantels im Mantelraum erstreckt, wobei das Rohrbündel eine Mehrzahl an inneren Rohrlagen aufweist, die das Kernrohr umgeben sowie eine Mehrzahl an äußeren Rohrlagen, die die inneren Rohrlagen sowie das Kernrohr umgeben,
    • wobei der Wärmeübertrager dazu ausgebildet ist,
      • einen Teil der gasförmigen Phase über eine Gasabführeinrichtung aus dem Bereich der inneren Rohrlagen aus dem Mantelraum abzuführen
        und/oder
      • eine gasförmige Phase des ersten Mediums im Bereich der äußeren Rohrlagen über eine Gaszuführeinrichtung in den Mantelraum zuzuführen.
  • Ein derartiger Wärmeübertrager kann ebenfalls durch die hierin beschriebenen Merkmale bzw. Ausführungsformen weitergebildet werden.
  • Weitere Einzelheiten und Vorteile der Erfindung sollen durch die nachfolgende Figurenbeschreibung eines Ausführungsbeispiels anhand der Figuren erläutert werden.
  • Es zeigen:
  • Fig. 1
    Ausführungsformen eines erfindungsgemäßen Wärmeübertragers, bei dem eine gasförmige Phase über das Kernrohr im Bereich der innersten Rohrlage aus dem Mantelraum abziehbar ist;
    Fig. 2
    weitere Ausführungsformen eines erfindungsgemäßen Wärmeübertragers, bei dem eine gasförmige Phase über das Hemd im Bereich der äußersten Rohrlage in den Mantelraum einleitbar ist;
    Fig. 3
    eine weitere Ausführungsform, bei der sowohl die Zufuhr als auch die Abfuhr der gasförmigen Phase gemäß den Figuren 1 und 2 möglich ist; und
    Fig. 4
    eine Abwandlung der in der Figur 3 gezeigten Ausführungsform;
    Fig. 5
    eine perspektivische Ansicht des Rohrbündels des in den Figuren 1 bis 4 gezeigten Wärmeübertragers;
    Fig. 6
    eine Vielzahl verschiedener Ausführungsformen hinsichtlich Strömungsverbindungen der Gaszuführ- bzw. Gasabführeinrichtung mit Komponenten des Wärmeübertragers bzw. einer Anlage, in die der Wärmeübertrager eingebunden sein kann; und
    Fig. 7
    weitere Ausführungsformen hinsichtlich Strömungsverbindungen der Gaszuführ- bzw. Gasabführeinrichtung mit Komponenten des Wärmeübertragers bzw. einer Anlage, in die der Wärmeübertrager eingebunden sein kann.
  • Die Figuren 1 bis 4 zeigen jeweils eine Ausführungsform eines erfindungsgemäßen gewickelten Wärmeübertragers 1. In der jeweiligen Ausführungsform weist der gewickelte Wärmeübertrager 1 jeweils einen vorzugsweise zumindest abschnittsweise zylindrischen Mantel 5 auf, der einen Mantelraum 6 des Wärmeübertrager 1 umgibt sowie ein in dem Mantelraum 6 angeordnetes Rohrbündel 3, das mehrere Rohre 30 aufweisen kann, die helikal auf ein Kernrohr 300 gewickelt sein können, wobei das Kernrohr 300 insbesondere koaxial zu einer Längsachse z des Wärmeübertragers 1 bzw. des Mantels 5 angeordnet ist, entlang der sich der Mantel 5 erstreckt.
  • Die Rohre 30 des Rohrbündels 3 sind insbesondere in mehreren Rohrlagen helikal auf das Kernrohr 300 gewickelt, wobei die einzelnen Rohrlagen über Abstandselemente 10 an einander abgestützt sind, sodass das gesamte Gewicht der Rohrlagen letztlich durch das Kernrohr 300 abgetragen werden kann. Das Rohrbündel 3 weist daher entsprechend in radialer Richtung R eine innerste Rohrlage 4aa auf, die benachbart zum Kernrohr 300 angeordnet ist, sowie eine in radialer Richtung R äußerste Rohrlagen 4bb. Die Rohrlagen des Rohrbündels 3 können dabei gemäß der oben dargelegten Definition in innere Rohrlagen 4a sowie äußere Rohrlagen 4b unterteilt werden.
  • Das Rohrbündel 3 der Figuren 1 bis 4 kann z.B. gemäß Figur 5 ausgebildet sein, wobei hier der Übersichtlichkeit halber die Gasabführeinrichtung 43 bzw. die Gaszuführeinrichtung 53 (siehe unten) nicht gezeigt werden.
  • Die besagte Längsachse z verläuft vorzugsweise parallel zur Vertikalen. Weiterhin weist der gewickelte Wärmeübertrager 1 ein insbesondere zylindrisches Hemd 7 auf, das das Rohrbündel 3 umgibt. Hierbei weist das Hemd 7 eine Innenseite 7a auf, die dem Rohrbündel 3, insbesondere der äußersten Rohrlage 4bb, zugewandt ist, sowie eine der Innenseite 7a abgewandte Außenseite 7b, die dem Mantel 5 zugewandt ist. Das Hemd 7 dient dazu, eine Bypassströmung im Mantelraum 6 am Rohrbündel 3 vorbei zu unterdrücken.
  • Auf das Rohrbündel 3 wird von oben eine flüssige Phase F eines ersten Mediums M mittels eines Flüssigkeitsverteilers V aufgegeben, die sodann in eine indirekte Wärmeübertragung mit einem in den Rohren 30 des Rohrbündels 3 geführten zweiten Medium M' tritt. Der Flüssigkeitsverteiler V kann mehrere Arme A aufweisen, die z.B. über das Kernrohr 300 mit Flüssigkeit F beschickt werden.
  • Der Flüssigkeitsverteiler V ist der Übersichtlichkeit halber lediglich in der Figur 1 eingezeichnet, ist jedoch auch bei den Ausführungsformen gemäß Figuren 2 bis 5 vorgesehen und nach Art der Figur 1 konfiguriert.
  • Bei einem gewickelten Wärmeübertrager 1 kann sich dabei eine Ungleichverteilung der flüssigen Phase F des ersten Mediums M ergeben, bei der die flüssige Phase F nach außen zum Mantel 5 hin gedrängt wird. Hierdurch ergibt sich vor allem in radialer Richtung R des Rohrbündels 3 ein Druckabfall in Richtung des Mantels 6 bzw. eine entsprechende Temperaturverteilung, die der Effizienz des Wärmeübertragers 1 abträglich ist.
  • Die jeweilige radiale Richtung R steht dabei senkrecht auf der Längsachse z bzw. dem Kernrohr 300, wobei die Längsachse z mit der axialen Richtung des Rohrbündels 3 zusammenfällt.
  • Um einen derartigen Druckabfall einer im Mantelraum messbaren Istdruckverteilung P auszugleichen, ist gemäß einer ersten, in der Figur 1 gezeigten Ausführungsform des erfindungsgemäßen Wärmeübertragers 1 vorgesehen, dass der Wärmeübertrager 1 dazu ausgebildet ist, einen Teil der gasförmigen Phase G mittels einer Gasabführeinrichtung 43 aus dem Bereich der inneren Rohrlagen 4a, 4aa aus dem Mantelraum 6 abzuführen. In der Figur 1 sind dabei zwei alternative Varianten dargestellt, die nachfolgend näher beschrieben werden.
  • Insbesondere weist die Gasabführeinrichtung 43 des Wärmeübertragers 1 in einer ersten Variante gemäß Figur 1 zumindest einen abführenden Strömungspfad 40 für die gasförmige Phase G mit einer im Bereich der inneren Rohrlagen 4a im Mantelraum 6 angeordneten Einlassöffnung 41 auf, wobei z.B. der mindestens eine abführende Strömungspfad 40 durch ein Rohr 30 einer inneren Rohrlage 4a, insbesondere einer innersten Rohrlage 4aa, des Rohrbündels 3 gebildet wird.
  • Alternativ hierzu kann der Wärmeübertrager 1 bzw. die Gasabführeinrichtung 43 gemäß einer zweiten Variante (vgl. Figur 1) einen zumindest abschnittsweise in einem Innenraum des Kernrohrs 300 verlaufenden, abführenden Strömungspfad 40 für die gasförmige Phase G aufweisen, mit einer im Bereich der inneren Rohrlagen 4a im Mantelraum 6 angeordneten Einlassöffnung 41, die vorliegend z.B. in einer Wandung des Kernrohrs 300 ausgebildet ist.
  • Somit ist mittels des abführenden Strömungspfades 40 zumindest ein Teil der gasförmigen Phase G des ersten Mediums M aus dem Mantelraum abziehbar und zwar vorliegend im Bereich der innersten Rohrlage 4aa. Hierdurch kann an der Entnahmestelle, d.h., an der Einlassöffnung 41 die in der Figur 1 erzeugte Istdruckverteilung P erzeugt werden, die in radialer Richtung R einen möglichst konstanten Druck aufweist. Derartige Entnahmestellen bzw. Einlassöffnungen 41 können in der Figur 1 entlang der gesamten Länge des Rohrbündels 3 entlang der Längsachse z vorgesehen werden, um für das gesamte Rohrbündel 3 einen in radialer Richtung R möglichst konstanten Druck bzw. eine in radialer Richtung R möglichst konstante Temperatur zu erzielen. Eine Regelung der Abfuhr der gasförmigen Phase G kann mittels eines Ventils 8 erfolgen. Dies gilt insbesondere sowohl für den das besagte Rohr 30 der inneren bzw. innersten Rohrlage 4a, 4aa aufweisenden abführenden Strömungspfad 40 (erste Variante) als auch für den zumindest abschnittsweise im Innenraum des Kernrohrs 300 verlaufenden abführenden Strömungspfad 40 (zweite Variante). Der Einfachheit halber ist das Ventil 8 in der Fig. 1 nur für den im Innenraum des Kernrohrs 300 verlaufenden Strömungspfad 40 gezeigt.
  • Das Ventil 8 wird vorzugsweise so gestellt, dass eine im Mantelraum 6 gemessene Isttemperaturverteilung an eine gewünschte Solltemperaturverteilung angenähert wird. Alternativ kann die Regelung auch so erfolgen, dass eine gemessene Istdruckverteilung an eine gewünschte Solldruckverteilung angenähert wird. Die Temperatur oder der Druck kann im Mantelraum z.B. in bekannter Weise mittels einer lichtleitenden Faser L oder sonstigen geeigneten Sensoren gemessen werden (siehe auch oben). Eine lichtleitende Faser L kann z.B. entlang der Rohre 30 verlegt sein und ist in der Figur 1 schematisch angedeutet.
  • Figur 2 zeigt eine Abwandlung der in der Figur 1 gezeigten Ausführungsform, wobei im Unterschied zur Figur 1 vorgesehen ist, die gasförmige Phase G nicht im Bereich der inneren Rohrlagen 4a, 4aa aus dem Mantelraum 6 abzuziehen, sondern im Bereich der äußeren Rohrlagen 4b, insbesondere im Bereich der äußersten Rohrlage 4b, in den Mantelraum 6 einzuleiten.
  • Hierzu weist der Wärmeübertrager 1 gemäß Figur 2 eine Gaszuführeinrichtung 53 mit zumindest einem zuführenden Strömungspfad 50 für die gasförmige Phase G auf, der gemäß einer ersten Variante auf der Außenseite 7b des Hemdes 7 verläuft, sowie innerhalb des Mantelraums 6. Es ist natürlich auch denkbar, einen derartigen Strömungspfad 50 außerhalb des Mantels 5 zu verlegen und dann durch den Mantel 5 und das Hemd 7 hindurch zu führen. Weiterhin kann ein solcher Strömungspfad 50 alternativ gemäß einer ebenfalls in der Figur 2 gezeigten zweiten Variante durch ein Rohr 30 einer äußeren Rohrlage 4b des Rohrbündels 3, insbesondere durch ein Rohr 30 einer äußersten Rohrlage 4bb des Rohrbündels 3, gebildet sein.
  • Wie in der Figur 2 gezeigt ist, weist der mindestens eine zuführende Strömungspfad 50 eine Auslassöffnung 51 auf, die vorliegend im Hemd 7 ausgebildet ist (oder alternativ in dem besagten Rohr 30 der äußeren bzw. äußersten Rohrlage 4b, 4bb), sodass die eingeleitete gasförmige Phase G vorliegend die äußerste Rohrlage 4bb beaufschlagt. Hierdurch lässt sich insbesondere im Bereich der äußeren Rohrlagen 4b der Druck im Mantelraum 6 erhöhen, sodass insgesamt ein in radialer Richtung R möglichst konstanter Druck P resultiert. Auch in der Figur 2 können natürlich entlang der Längsachse z mehrere Einlassöffnungen 51 vorgesehen sein, so dass der Druck wie oben anhand der Figur 1 bereits beschrieben auf der gesamten Länge des Rohrbündels entlang der Längsachse z positiv beeinflussbar ist. Auch gemäß Figur 2 kann eine Regelung der Zufuhr der gasförmigen Phase G mittels eines Ventils 8 erfolgen, und zwar insbesondere sowohl für den das besagte Rohr 30 der äußeren bzw. äußersten Rohrlage 4b, 4bb aufweisenden zuführenden Strömungspfad 50 als auch alternativ für den auf der Außenseite 7b des Hemdes 7 verlaufenden zuführenden Strömungspfad 50. Der Einfachheit halber ist das Ventil 8 in der Fig. 2 nur für den auf der Außenseite 7b des Hemdes 7 verlaufenden Strömungspfad 50 gezeigt.
  • Das Ventil 8 wird bevorzugt so gestellt, dass eine im Mantelraum 6 gemessene Istdruckverteilung P bzw. alternativ eine gemessene Isttemperaturverteilung einer entsprechenden Solldruckverteilung bzw. Solltemperaturverteilung angenähert wird.
  • Weiterhin besteht natürlich gemäß Figur 3 auch die Möglichkeit, die jeweiligen Ausführungsformen gemäß Figur 1 und Figur 2 zu kombinieren, sodass sowohl eine gasförmige Phase G des ersten Mediums M aus dem Mantelraum 6 abziehbar als auch zuführbar ist.
  • Diesbezüglich zeigt die Figur 4 eine Abwandlung der in der Figur 3 gezeigten Ausführungsform, wobei hier zum Regeln der Abfuhr der gasförmigen Phase G über den mindestens einen abführenden Strömungspfad 40 bzw. zum Regeln der Zufuhr der gasförmigen Phase G über den mindestens einen zuführenden Strömungspfad 50 vorgesehen ist, dass die beiden Strömungspfade 40,50 über einen regelbaren Verdichter 9 in Strömungsverbindung stehen, sodass eine aus dem Mantelraum 6 im Bereich der inneren Rohrlagen 4a abgezogene gasförmige Phase G mittels des Verdichters 9 variabel verdichtbar und wieder in den Mantelraum 6 im Bereich der äußeren Rohrlagen 4b einleitbar ist. Hier wird also das gasförmige Medium G in einem Kreislauf geführt. Der Verdichter 9 ist der Einfachheit halber in der Figur 4 nur für den im Innenraum des Kernrohrs 300 verlaufenden Strömungspfad 40 bzw. den auf der Außenseite 7b des Hemdes 7 verlaufenden Strömungspfad 50 gezeigt, kann jedoch natürlich auch verwendet werden, wenn die beiden Strömungspfade 40, 50 z.B. durch ein Rohr 30 einer inneren oder innersten Rohrlage 4a, 4aa und durch ein Rohr 30 einer äußeren oder äußersten Rohrlage 4b, 4bb gebildet sind.
  • Anstelle einer Regelung der Zufuhr bzw. Abfuhr der gasförmigen Phase G kann in den Figuren 1 bis 4 natürlich auch eine Steuerung der besagten Zufuhr bzw. Abfuhr der gasförmigen Phase G vorgesehen sein.
  • Anstelle zusätzlicher Strömungspfade 40, 50, die in einigen Ausführungsformen gemäß Figuren 1 bis 4 zusätzlich zum Rohrbündel 3 verwendet werden, um eine gasförmige Phase G aus dem Mantelraum 6 räumlich gezielt abzuziehen bzw. in den Mantelraum 6 räumlich gezielt einzuleiten um Druck- bzw. Temperaturverläufe gezielt zu beeinflussen, können grundsätzlich, wie z.B. oben beschrieben, natürlich auch einzelne Rohre 30 des Rohrbündels 3 verwendet werden, die an der gewünschten Stelle liegen, z.B. ein Rohr 30 aus der äußersten Rohrlage 4bb zum Einleiten der gasförmigen Phase G oder ein Rohr 30 aus der innersten Rohrlage 4aa zum Abführen von gasförmiger Phase G.
  • Neben den oben bereits dargestellten Möglichkeiten einer Strömungsverbindung der Gasabführeinrichtung 43 bzw. Gaszuführeinrichtung 53 mit Komponenten des Wärmeübertragers 1 zeigen die Figuren 6 und 7 weitere Ausführungsformen eines erfindungsgemäßen Wärmeübertragers 1 bzw. einer den Wärmeübertrager 1 aufweisenden Anlage 2, die die Verschaltung der Gasabführ- bzw. Gaszuführeinrichtung 43, 53 betreffen.
  • So kann gemäß Figur 6 vorgesehen sein, dass der Wärmeübertrager 1 eine erste Leitung 411 aufweist, über die das mantelseitige erste Medium M (insbesondere zweiphasig) z.B. in einen oberen Abschnitt des Wärmeübertragers 1 bzw. in den Mantelraum 6 eingespeist wird.
  • Weiterhin kann der Wärmeübertrager 1 eine zweite Leitung 511 aufweisen, über die das mantelseitige erste Medium M aus dem Mantelraum 6 bzw. Wärmeübertrager abziehbar ist. Die zweite Leitung 511 kann z.B. an einem unteren Abschnitt des Wärmeübertragers 1 vorgesehen sein.
  • Hinsichtlich der Leitung 411 bzw. 511 kann vorgesehen sein, dass die Gasabführeinrichtung 43 über eine erste Strömungsverbindung 410 mit der ersten Leitung 411 verbunden ist, so dass ein Teil einer gasförmigen Phase G des ersten Mediums M über die Gasabführeinrichtung 43 und die erste Strömungsverbindung 410 aus dem Mantelraum 6 des Wärmeübertragers 1 abziehbar ist und in die erste Leitung 411 einspeisbar ist.
  • Alternativ hierzu kann die Gasabführeinrichtung 43 über eine erste Strömungsverbindung 410 mit der zweiten Leitung 511 verbunden sein, so dass ein Teil der gasförmigen Phase G des ersten Mediums M über die Gasabführeinrichtung 43 und die erste Strömungsverbindung 410 aus dem Mantelraum 6 des Wärmeübertragers 1 abziehbar ist und in die zweite Leitung 511 einspeisbar ist.
  • Weiterhin kann auch die Gaszuführeinrichtung 53 über eine zweite Strömungsverbindung 510 mit der ersten Leitung 411 verbunden sein, so dass ein Teil der gasförmigen Phase G des ersten Mediums M von der ersten Leitung 411 über die zweite Strömungsverbindung 510 in die Gaszuführeinrichtung 53 einspeisbar ist.
  • Alternativ hierzu kann die Gaszuführeinrichtung 53 über eine zweite Strömungsverbindung 510 mit der zweiten Leitung 511 verbunden sein, so dass ein Teil der gasförmigen Phase G des ersten Mediums M aus der zweiten Leitung 511 über die zweite Strömungsverbindung 510 in die Gaszuführeinrichtung 53 einspeisbar ist.
  • Gemäß Figur 6 kann die erste bzw. die zweite Strömungsverbindung 410, 510 einen Gaspufferspeicher 90, einen Verdichter 9 sowie insbesondere ein Ventil 8 aufweisen, über das der Strom der gasförmigen Phase G des ersten Mediums M einstellbar bzw. unterbrechbar ist. Der Wärmeübertrager 1 bildet hier also zusammen mit dem jeweiligen Gaspufferspeicher 90, Verdichter 9 sowie Ventil 8 eine verfahrenstechnische Anlage 2 oder ein Teil einer solchen Anlage 2, in der das erste Medium M einen Prozessstrom darstellt. Wird der Wärmeübertrager 1 bzw. die Anlage 2 z.B. gemäß eines Ausführungsbeispiels zur Verflüssigung von Erdgas eingesetzt, ist das mantelseitige erste Medium M eine Mischung von Kältemitteln. Grundsätzlich kann das erste Medium M auch ein Prozessstrom aus einem anderen Anlagenteil der Anlage 2 sein.
  • Im Hinblick auf Fig. 6 ist zu beachten, dass Fig. 6 der Einfachheit halber verschiedene Ausführungsformen in einer Figur vereinigt, d.h., alle möglichen Strömungsverbindungen 410 bzw. 510 zwischen der Gaszuführ- bzw. Gasabführeinrichtung 53, 43 und der ersten bzw. zweiten Leitung 411, 511 zeigt, wobei jedoch die Gasabführeinrichtung 43 insbesondere lediglich über eine der beiden genannten Strömungsverbindungen 410 mit der ersten Leitung 411 bzw. mit der zweiten Leitung 511 verbunden ist. Gleiches gilt insbesondere für die Gaszuführeinrichtung 53 hinsichtlich der beiden gezeigten zweiten Strömungsverbindungen 510.
  • Weiterhin kann gemäß Figur 7 auch vorgesehen sein, dass die Gasabführeinrichtung 43 über die erste Strömungsverbindung 410 an beliebiger Stelle (insbesondere abseits der beiden Leitungen 411, 511) mit dem Mantelraum 6 des Wärmeübertragers 1 verbunden ist, so dass das erste Medium M über die Gasabführeinrichtung 43 (und insbesondere über das Ventil 8, den Gaspufferspeicher 90 und den Verdichter 9) aus dem Mantelraum 6 abziehbar und wieder in den Mantelraum 6 einleitbar ist. In vergleichbarer Weise kann gemäß Figur 7 die Gaszuführeinrichtung 53 über die zweite Strömungsverbindung 510 ebenfalls an beliebiger Stelle (insbesondere abseits der beiden Leitungen 411, 511) mit dem Mantelraum 6 des Wärmeübertragers 1 verbunden sein, so dass das erste Medium M über die zweite Strömungsverbindung 510 (insbesondere über den Gaspufferspeicher 90, den Verdichter 9 und das Ventil 8) aus dem Mantelraum 6 abziehbar und über die Gaszuführeinrichtung 53 wieder in den Mantelraum 6 einleitbar ist. Die in den Figuren 6 und 7 gezeigten Strömungsverbindungen 410, 510 können natürlich auch in beliebiger Weise miteinander kombiniert werden.
  • Sofern zusätzliche Strömungspfade 40, 50 verwendet werden, hat die vorliegende Erfindung den weiteren Vorteil, dass bereits bestehende gewickelte Wärmeübertrager besonders einfach mit den besagten Strömungspfaden 40, 50 nachgerüstet werden können, so dass auch hier eine Performance-Verbesserung erzielbar ist. Bezugszeichenliste
    1 Wärmeübertrager
    3 Rohrbündel
    4a, 4aa Innere Rohrlage
    4b, 4bb äußere Rohrlage
    5 Mantel
    6 Mantelraum
    7 Hemd
    7a Innenseite
    7b Außenseite
    8 Ventil
    9 Verdichter
    10 Abstandshalter
    30 Rohre
    43 Gasabführeinrichtung
    40 Abführender Strömungspfad
    41 Einlassöffnung
    53 Gaszuführeinrichtung
    50 Zuführender Strömungspfad
    51 Auslassöffnung
    300 Kernrohr
    410 Erste Strömungsverbindung
    411 Erste Leitung
    510 Zweite Strömungsverbindung
    511 Zweite Leitung
    90 Gaspufferspeicher
    F Flüssige Phase
    G Gasförmige Phase
    M erstes Medium
    M' zweites Medium
    P Istdruckverteilung
    L Lichtleitende Faser bzw. faseroptischer Sensor
    R Radiale Richtung
    Z Längsachse

Claims (14)

  1. Wärmeübertrager (1) zur indirekten Wärmeübertragung zwischen einem ersten Medium (M), das eine flüssige Phase (F) sowie eine gasförmige Phase (G) aufweist, und einem zweiten Medium (M'), mit
    - einem Mantel (5), der einen Mantelraum (6) umgibt und sich entlang einer Längsachse (z) erstreckt, wobei der Mantelraum zur Aufnahme des ersten Mediums dient,
    - einem im Mantelraum (6) angeordneten Rohrbündel (3) aufweisend mehrere Rohre (30) zur Aufnahme des zweiten Mediums (M'), die helikal in mehreren Rohrlagen auf ein Kernrohr (300) des Wärmeübertragers (1) gewickelt sind, das sich entlang der Längsachse (z) des Mantels (5) im Mantelraum (6) erstreckt, wobei das Rohrbündel (3) eine Mehrzahl an inneren Rohrlagen (4a, 4aa) aufweist, die das Kernrohr (300) umgeben sowie eine Mehrzahl an äußeren Rohrlagen (4b, 4bb), die die inneren Rohrlagen (4a, 4aa) sowie das Kernrohr (300) umgeben,
    dadurch gekennzeichnet,
    dass der Wärmeübertrager (1) dazu ausgebildet ist,
    - einen Teil der gasförmigen Phase (G) über eine Gasabführeinrichtung (43) aus dem Bereich der inneren Rohrlagen (4a, 4aa) aus dem Mantelraum (6) abzuführen, wobei die Gasabführeinrichtung (43) des Wärmeübertragers (1) zumindest einen abführenden Strömungspfad (40) für die gasförmige Phase (G) mit einer im Bereich der inneren Rohrlagen (4a) im Mantelraum (6) angeordneten Einlassöffnung (41) aufweist, und wobei der mindestens eine abführende Strömungspfad (40) durch ein Rohr (30) einer inneren Rohrlage (4a) des Rohrbündels (3) gebildet wird,
    und/oder
    - eine gasförmige Phase (G) des ersten Mediums (M) im Bereich der äußeren Rohrlagen (4b, 4bb) über eine Gaszuführeinrichtung (53) in den Mantelraum (6) zuzuführen.
  2. Wärmeübertrager nach Anspruch 1, dadurch gekennzeichnet, dass der Wärmeübertrager (1) ein das Rohrbündel (3) umgebendes Hemd (7) aufweist, das die äußeren Rohrlagen (4b, 4bb) umgibt.
  3. Wärmeübertrager nach einem der vorhergehenden Ansprüche, dadurch gekennzeichnet, dass die Gaszuführeinrichtung (53) des Wärmeübertragers (1) zumindest einen zuführenden Strömungspfad (50) für die gasförmige Phase (G) aufweist, der eine im Bereich der äußeren Rohrlagen (4b) im Mantelraum (6) angeordnete Auslassöffnung (51) aufweist.
  4. Wärmeübertrager nach Anspruch 3, dadurch gekennzeichnet, dass der mindestens eine zuführenden Strömungspfad (50) zumindest abschnittsweise auf einer nach außen weisenden Außenseite (7b) des Hemdes (7) geführt ist oder durch ein Rohr (30) einer äußeren Rohrlage (4b) des Rohrbündels, insbesondere durch ein Rohr (30) einer äußersten Rohrlage (4bb) des Rohrbündels (3), gebildet wird.
  5. Wärmeübertrager nach einem der vorhergehenden Ansprüche, dadurch gekennzeichnet, dass die Gasabführeinrichtung (43) des Wärmeübertragers (1) mehrere abführende Strömungspfade (40) für die gasförmige Phase (G) des ersten Mediums (M) mit jeweils einer Einlassöffnung (41) aufweist, wobei die Einlassöffnungen (41) jeweils im Bereich der inneren Rohrlagen (4a) im Mantelraum (6) angeordnet sind und wobei insbesondere die Einlassöffnungen (41) entlang der Längsachse (z) in unterschiedlichen Höhen angeordnet sind.
  6. Wärmeübertrager nach einem der vorhergehenden Ansprüche, dadurch gekennzeichnet, dass die Gaszuführeinrichtung (53) des Wärmeübertragers (1) mehrere zuführende Strömungspfade (50) für die gasförmige Phase (G) des ersten Mediums (M) mit jeweils einer Auslassöffnung (51) aufweist, wobei die Auslassöffnungen (51) jeweils im Bereich der äußeren Rohrlagen (4b) im Mantelraum (6) angeordnet sind, und wobei insbesondere die Auslassöffnungen (51) entlang der Längsachse (z) in unterschiedlichen Höhen angeordnet sind.
  7. Wärmeübertrager nach einem der vorhergehenden Ansprüche, dadurch gekennzeichnet, dass der Wärmeübertrager (1) dazu ausgebildet ist, das Zuführen der gasförmigen Phase (G) über die Gaszuführungseinrichtung (53) und/oder das Abführen der gasförmigen Phase (G) über die Gasabführeinrichtung (41) zu steuern oder in Abhängigkeit einer im Mantelraum (6) gemessenen Istdruckverteilung (P) oder Isttemperaturverteilung zu regeln.
  8. Wärmeübertrager nach einem der vorhergehenden Ansprüche, dadurch gekennzeichnet, dass der mindestens eine abführende Strömungspfad (40) zum Steuern oder Regeln der Abführung der gasförmigen Phase (G) ein Ventil (8) aufweist, und/oder dass der mindestens eine zuführende Strömungspfad (50) zum Steuern oder Regeln der Zuführung der gasförmigen Phase (G) ein Ventil (8) aufweist.
  9. Wärmeübertrager nach einem der Ansprüche 1 bis 7, dadurch gekennzeichnet, dass der mindestens eine abführende Strömungspfad (40) über einen Verdichter (9) mit dem mindestens einen zuführenden Strömungspfad (50) in Strömungsverbindung steht.
  10. Wärmeübertrager nach einem der vorhergehenden Ansprüche, dadurch gekennzeichnet, dass die einzelnen Rohrlagen (4a, 4b) über Abstandshalter (10) aneinander anliegen.
  11. Wärmeübertrager nach einem der vorhergehenden Ansprüche, dadurch gekennzeichnet, dass das Kernrohr (300) die Last der Rohre (30) des Rohrbündels (3) aufnimmt.
  12. Anlage (2), aufweisend einen Wärmeübertrager (1) nach einem der vorhergehenden Ansprüche sowie eine erste Komponente (90) und eine erste Strömungsverbindung (410) zwischen der Gasabführeinrichtung (43) und der ersten Komponente (90) der Anlage, so dass ein Prozessstrom (M) der Anlage, der insbesondere eine gasförmige Phase (G) des ersten Mediums (M) aufweist, aus der Gasabführeinrichtung (41) über die Strömungsverbindung (410) in die erste Komponente (90) einleitbar ist, und/oder dass die Anlage (2) eine zweite Komponente (90) sowie eine zweite Strömungsverbindung (510) zwischen der Gaszuführeinrichtung (53) und der zweiten Komponente (90) aufweist, so dass ein Prozessstrom (M) der Anlage (2), der insbesondere eine gasförmige Phase (G) des ersten Mediums (M) aufweist, über die zweite Strömungsverbindung (510) aus der zweiten Komponente (90) abziehbar und in die Gaszuführeinrichtung (53) einleitbar ist.
  13. Verfahren zum Betreiben eines Wärmeübertragers (1) nach einem der vorhergehenden Ansprüche, wobei ein erstes Medium (M), das eine flüssige Phase (F) sowie eine gasförmige Phase (G) aufweist, in einem von einem Mantel (5) umgebenden Mantelraum (6) des Wärmeübertragers (1) geführt wird und indirekt Wärme mit einem zweiten Medium (M') austauscht, das in einem im Mantelraum (6) angeordneten Rohrbündel (3) geführt wird, das mehrere Rohre (30) zur Aufnahme des zweiten Mediums (M') aufweist, die helikal in mehreren Rohrlagen (4a, 4b) auf ein Kernrohr (300) des Wärmeübertragers (1) gewickelt sind, das sich entlang einer Längsachse (z) des Mantels (5) im Mantelraum (6) erstreckt, wobei das Rohrbündel (3) eine Mehrzahl an inneren Rohrlagen (4a) aufweist, die das Kernrohr (300) umgeben, sowie eine Mehrzahl an äußeren Rohrlagen (4b), die die inneren Rohrlagen (4a) sowie das Kernrohr (300) umgeben, und wobei ein Teil der gasförmigen Phase (G) aus dem Bereich der inneren Rohrlagen (4a, 4aa) aus dem Mantelraum (6) abgeführt wird und/oder wobei eine gasförmige Phase (G) des ersten Mediums (M) im Bereich der äußeren Rohrlagen (4b, 4bb) in den Mantelraum (6) zugeführt wird.
  14. Verfahren nach Anspruch 13, wobei das Abführen und/oder das Zuführen der gasförmigen Phase (G) gesteuert wird oder in Abhängigkeit einer im Mantelraum (6) gemessenen Istdruckverteilung (P) oder Isttemperaturverteilung geregelt wird.
EP18020309.3A 2017-07-10 2018-07-03 Entnahme/zuspeisung von gas zur beeinflussung von radialer flüssigkeitsmigration Withdrawn EP3428563A1 (de)

Applications Claiming Priority (1)

Application Number Priority Date Filing Date Title
EP17020286 2017-07-10

Publications (1)

Publication Number Publication Date
EP3428563A1 true EP3428563A1 (de) 2019-01-16

Family

ID=59315368

Family Applications (1)

Application Number Title Priority Date Filing Date
EP18020309.3A Withdrawn EP3428563A1 (de) 2017-07-10 2018-07-03 Entnahme/zuspeisung von gas zur beeinflussung von radialer flüssigkeitsmigration

Country Status (4)

Country Link
US (1) US20190011191A1 (de)
EP (1) EP3428563A1 (de)
CN (1) CN109237964A (de)
RU (1) RU2018125310A (de)

Cited By (2)

* Cited by examiner, † Cited by third party
Publication number Priority date Publication date Assignee Title
DE102018000468A1 (de) * 2018-01-22 2019-07-25 Linde Aktiengesellschaft Gewickelter Wärmeübertrager mit Abscheider im Kernrohr
WO2022268360A1 (de) * 2021-06-23 2022-12-29 Linde Gmbh Regelbare eindüsung zur realisierung unterschiedlicher lokaler kältemittelverteilung

Families Citing this family (3)

* Cited by examiner, † Cited by third party
Publication number Priority date Publication date Assignee Title
EP3719433A1 (de) * 2019-04-02 2020-10-07 Linde GmbH Regelbarer flüssigkeitsverteiler eines gewickelten wärmeübertragers zur realisierung unterschiedlicher flüssigkeitsbelastungen
CN113338844B (zh) 2020-03-03 2023-04-25 中国石油天然气股份有限公司 金属可溶球座、坐封系统及坐封方法
US20230147084A1 (en) 2021-11-05 2023-05-11 Air Products And Chemicals, Inc. Mitigation of Shell-Side Liquid Maldistribution in Coil Wound Heat Exchanger Bundles

Citations (4)

* Cited by examiner, † Cited by third party
Publication number Priority date Publication date Assignee Title
DE102004040974A1 (de) 2004-08-24 2006-03-02 Linde Ag Gewickelter Wärmetauscher
EP2249112A2 (de) * 2009-05-07 2010-11-10 Peter Huber Kältemaschinenbau Gmbh Vorrichtung zum Temperieren eines Temperierfluids
WO2015007375A1 (de) * 2013-07-16 2015-01-22 Linde Aktiengesellschaft Wärmeübertrager mit elastischem element
EP2857782A1 (de) * 2013-10-04 2015-04-08 Shell International Research Maatschappij B.V. Wärmetauscher mit gewickelter Spule und Verfahren zur Kühlung eines Prozessstroms

Family Cites Families (12)

* Cited by examiner, † Cited by third party
Publication number Priority date Publication date Assignee Title
SU411884A1 (de) * 1971-08-02 1974-01-25
CH613274A5 (de) * 1976-11-17 1979-09-14 Sulzer Ag
DE3136589A1 (de) * 1981-09-15 1983-03-31 Bayer Ag Temperierbarer statischer mischer und reaktor
US6770120B2 (en) * 2002-05-01 2004-08-03 Praxair Technology, Inc. Radial adsorption gas separation apparatus and method of use
US6878186B2 (en) * 2003-09-09 2005-04-12 David Lloyd Neary Pure vacuum swing adsorption system and apparatus
US7311763B2 (en) * 2005-04-22 2007-12-25 David Lloyd Neary Gas separation vessel apparatus
TWI322882B (en) * 2006-02-24 2010-04-01 Lg Chemical Ltd Annular distributor having guide vane to improve flow rate distribution, reactor/heat exchanger including the annular distributor and method of producing unsaturated aldehyde or unsaturated acid from olefin by catalytic gas phase oxidation in the reactor
IT1391947B1 (it) * 2008-11-18 2012-02-02 Euroklimat S P A Evaporatore antigelo
US8313561B2 (en) * 2010-10-05 2012-11-20 Praxair Technology, Inc. Radial bed vessels having uniform flow distribution
CN204952860U (zh) * 2015-05-20 2016-01-13 武汉东海石化重型装备有限公司 一种立式缠绕管式反应器
EP3159054B1 (de) * 2015-10-19 2018-08-29 Nederman Holding AB Verdampfer
US10378826B2 (en) * 2016-10-14 2019-08-13 Colmac Coil Manufacturing, Inc. Heat Exchanger

Patent Citations (4)

* Cited by examiner, † Cited by third party
Publication number Priority date Publication date Assignee Title
DE102004040974A1 (de) 2004-08-24 2006-03-02 Linde Ag Gewickelter Wärmetauscher
EP2249112A2 (de) * 2009-05-07 2010-11-10 Peter Huber Kältemaschinenbau Gmbh Vorrichtung zum Temperieren eines Temperierfluids
WO2015007375A1 (de) * 2013-07-16 2015-01-22 Linde Aktiengesellschaft Wärmeübertrager mit elastischem element
EP2857782A1 (de) * 2013-10-04 2015-04-08 Shell International Research Maatschappij B.V. Wärmetauscher mit gewickelter Spule und Verfahren zur Kühlung eines Prozessstroms

Cited By (2)

* Cited by examiner, † Cited by third party
Publication number Priority date Publication date Assignee Title
DE102018000468A1 (de) * 2018-01-22 2019-07-25 Linde Aktiengesellschaft Gewickelter Wärmeübertrager mit Abscheider im Kernrohr
WO2022268360A1 (de) * 2021-06-23 2022-12-29 Linde Gmbh Regelbare eindüsung zur realisierung unterschiedlicher lokaler kältemittelverteilung

Also Published As

Publication number Publication date
US20190011191A1 (en) 2019-01-10
CN109237964A (zh) 2019-01-18
RU2018125310A (ru) 2020-01-13

Similar Documents

Publication Publication Date Title
EP3428563A1 (de) Entnahme/zuspeisung von gas zur beeinflussung von radialer flüssigkeitsmigration
EP1982819B1 (de) Verfahren und Vorrichtung zur Kühlung eines Folienschlauches bei der Blasfolienherstellung
EP3719434B1 (de) Regelbarer flüssigkeitsverteiler eines gewickelten wärmeübertragers zur realisierung unterschiedlicher flüssigkeitsbelastungen
DE102010004418A1 (de) UHT-Anlage zur Wärmebehandlung von temperatursensiblen Lebensmittelprodukten und Verfahren zur Wärmebehandlung von temperatursensiblen Lebensmittelprodukten in einer UHT-Anlage
WO2008009357A1 (de) Stoff- oder wärmeaustauscherkolonne mit übereinander angeordneten stoff- bzw. wärmeaustauscherbereichen wie rohrbündeln
EP3430338B1 (de) Trenneinrichtung für gewickelte wärmeübertrager zum trennen einer gasförmigen phase von einer flüssigen phase eines zweiphasigen mantelseitig geführten mediums
EP3128278B1 (de) Zufuhr und entnahme von rohrströmen mit zwischentemperatur bei gewickelten wärmeübertragern
DE19518323A1 (de) Verfahren und Vorrichtung zum unterbrechungsfreien Wärmetausch
EP3443287B1 (de) Gewickelter wärmeübertrager
WO2017167458A1 (de) Gewickelter wärmeübertrager
EP2912394B1 (de) Gewickelter wärmeübertrager mit einer mehrzahl von einlässen und verfahren zur anpassung einer heizfläche des wärmeübertragers
EP2052839B1 (de) Vorrichtung mit einem steuerbaren Hauptkühlgasring mit Gleichrichtereinheit und einem Zusatzkühlgasring
EP0171558B1 (de) Wärmeübertrager
DE4412563A1 (de) Einrichtung und Verfahren zum Kühlen einer zu fertigenden Lichtleitfaser
DE2813808C2 (de)
DE102012005569A1 (de) Wärmetauscher mit Sektionen
EP4359718B1 (de) Regelbare eindüsung zur realisierung unterschiedlicher lokaler kältemittelverteilung
DE102016013459A1 (de) Verfahren zur Temperaturänderung eines Fluids mittels eines Rohrbündelwärmetauschers und Rohrbündelwärmetauscher
EP4337908B1 (de) Gewickelter wärmetauscher und verfahren
DE102015010793A1 (de) Kühlring für eine Blasfolienanlage, Blasfolienanlage und Verfahren zum Betreiben einer solchen Blasfolienanlage
EP3088159B1 (de) Kühlring und verfahren zur aussenkühlung einer schlauchfolie aus thermoplastischem kunststoff bei deren herstellung
DE102008056085A1 (de) Verfahren zum Steuern einer Umlaufschmierung und Umlaufschmiersystem
DE3439051A1 (de) Stoffauflaufvorrichtung fuer eine papiermaschine
DE2425539A1 (de) Kombinierter feuchtigkeitsabscheider und ueberhitzer
EP1249662B1 (de) Dampferzeuger

Legal Events

Date Code Title Description
PUAI Public reference made under article 153(3) epc to a published international application that has entered the european phase

Free format text: ORIGINAL CODE: 0009012

STAA Information on the status of an ep patent application or granted ep patent

Free format text: STATUS: THE APPLICATION HAS BEEN PUBLISHED

AK Designated contracting states

Kind code of ref document: A1

Designated state(s): AL AT BE BG CH CY CZ DE DK EE ES FI FR GB GR HR HU IE IS IT LI LT LU LV MC MK MT NL NO PL PT RO RS SE SI SK SM TR

AX Request for extension of the european patent

Extension state: BA ME

STAA Information on the status of an ep patent application or granted ep patent

Free format text: STATUS: REQUEST FOR EXAMINATION WAS MADE

17P Request for examination filed

Effective date: 20190624

RBV Designated contracting states (corrected)

Designated state(s): AL AT BE BG CH CY CZ DE DK EE ES FI FR GB GR HR HU IE IS IT LI LT LU LV MC MK MT NL NO PL PT RO RS SE SI SK SM TR

STAA Information on the status of an ep patent application or granted ep patent

Free format text: STATUS: EXAMINATION IS IN PROGRESS

17Q First examination report despatched

Effective date: 20200506

RAP1 Party data changed (applicant data changed or rights of an application transferred)

Owner name: LINDE GMBH

GRAP Despatch of communication of intention to grant a patent

Free format text: ORIGINAL CODE: EPIDOSNIGR1

STAA Information on the status of an ep patent application or granted ep patent

Free format text: STATUS: GRANT OF PATENT IS INTENDED

INTG Intention to grant announced

Effective date: 20210225

STAA Information on the status of an ep patent application or granted ep patent

Free format text: STATUS: THE APPLICATION IS DEEMED TO BE WITHDRAWN

18D Application deemed to be withdrawn

Effective date: 20210708