EP3404331B1 - Gasturbinenbrennkammer mit einer brennstoffluftmischeranordnung - Google Patents

Gasturbinenbrennkammer mit einer brennstoffluftmischeranordnung Download PDF

Info

Publication number
EP3404331B1
EP3404331B1 EP18173047.4A EP18173047A EP3404331B1 EP 3404331 B1 EP3404331 B1 EP 3404331B1 EP 18173047 A EP18173047 A EP 18173047A EP 3404331 B1 EP3404331 B1 EP 3404331B1
Authority
EP
European Patent Office
Prior art keywords
combustor
fuel
round
swirler
fuel air
Prior art date
Legal status (The legal status is an assumption and is not a legal conclusion. Google has not performed a legal analysis and makes no representation as to the accuracy of the status listed.)
Active
Application number
EP18173047.4A
Other languages
English (en)
French (fr)
Other versions
EP3404331A1 (de
Inventor
Theodore R. Strickland
Current Assignee (The listed assignees may be inaccurate. Google has not performed a legal analysis and makes no representation or warranty as to the accuracy of the list.)
RTX Corp
Original Assignee
Raytheon Technologies Corp
Priority date (The priority date is an assumption and is not a legal conclusion. Google has not performed a legal analysis and makes no representation as to the accuracy of the date listed.)
Filing date
Publication date
Application filed by Raytheon Technologies Corp filed Critical Raytheon Technologies Corp
Publication of EP3404331A1 publication Critical patent/EP3404331A1/de
Application granted granted Critical
Publication of EP3404331B1 publication Critical patent/EP3404331B1/de
Active legal-status Critical Current
Anticipated expiration legal-status Critical

Links

Images

Classifications

    • FMECHANICAL ENGINEERING; LIGHTING; HEATING; WEAPONS; BLASTING
    • F23COMBUSTION APPARATUS; COMBUSTION PROCESSES
    • F23RGENERATING COMBUSTION PRODUCTS OF HIGH PRESSURE OR HIGH VELOCITY, e.g. GAS-TURBINE COMBUSTION CHAMBERS
    • F23R3/00Continuous combustion chambers using liquid or gaseous fuel
    • F23R3/28Continuous combustion chambers using liquid or gaseous fuel characterised by the fuel supply
    • F23R3/286Continuous combustion chambers using liquid or gaseous fuel characterised by the fuel supply having fuel-air premixing devices
    • FMECHANICAL ENGINEERING; LIGHTING; HEATING; WEAPONS; BLASTING
    • F23COMBUSTION APPARATUS; COMBUSTION PROCESSES
    • F23RGENERATING COMBUSTION PRODUCTS OF HIGH PRESSURE OR HIGH VELOCITY, e.g. GAS-TURBINE COMBUSTION CHAMBERS
    • F23R3/00Continuous combustion chambers using liquid or gaseous fuel
    • F23R3/002Wall structures
    • FMECHANICAL ENGINEERING; LIGHTING; HEATING; WEAPONS; BLASTING
    • F23COMBUSTION APPARATUS; COMBUSTION PROCESSES
    • F23RGENERATING COMBUSTION PRODUCTS OF HIGH PRESSURE OR HIGH VELOCITY, e.g. GAS-TURBINE COMBUSTION CHAMBERS
    • F23R3/00Continuous combustion chambers using liquid or gaseous fuel
    • F23R3/02Continuous combustion chambers using liquid or gaseous fuel characterised by the air-flow or gas-flow configuration
    • F23R3/04Air inlet arrangements
    • F23R3/10Air inlet arrangements for primary air
    • F23R3/12Air inlet arrangements for primary air inducing a vortex
    • F23R3/14Air inlet arrangements for primary air inducing a vortex by using swirl vanes

Definitions

  • the present disclosure relates to a gas turbine engine and, more particularly, to a fuel air mixer assembly for a combustor section therefor.
  • Gas turbine engines such as those which power modern commercial and military aircraft, include a compressor for pressurizing a supply of air, a combustor for burning a hydrocarbon fuel in the presence of the pressurized air, and a turbine for extracting energy from the resultant combustion gases.
  • the combustor generally includes radially spaced apart inner and outer wall assemblies that define an annular combustion chamber therebetween.
  • Gas turbine combustors typically utilize a fuel nozzle integrated with air introduction that effectively mixes the fuel spray with air to generate a fine spray for ignition and continuous combustion.
  • the fuel air mixer assembly in most modern combustors includes a swirler where one or more air passages interact with one or more fuel passages from a fuel nozzle.
  • the fuel air mixer assembly includes slots or holes radially outboard of the fuel nozzle to interact as a system to provide an atomized fuel-air mixture that is conical in shape.
  • These axisymmetric conical fuel air mixtures provide flame patterns which form uniform periodic horseshoe shaped impact, or "touchdown regions,” on the combustor wall surfaces which may ultimately form hot spots that may result in premature failure.
  • US 2014/165578 A1 discloses a combustor having an ovate shaped swirler arranged around a fuel injector.
  • a further prior art fuel air mixer assembly is disclosed in US 5,937,653 A .
  • a combustor according to one aspect of the present invention is provided as recited in claim 1.
  • An aspect of the present disclosure includes, wherein the non-round fuel nozzle includes a multiple of fuel jets, a first of the multiple of fuel jets of a size different than a second of the multiple of fuel jets.
  • a further aspect of the present disclosure includes, wherein the non-round fuel nozzle is elliptical in cross-section.
  • a further aspect of the present disclosure includes, wherein the non-round fuel nozzle is rectilinear in cross-section.
  • a further aspect of the present disclosure includes, wherein the non-round swirler of each of the respective multiple of fuel air mixer assemblies is arranged such that a major axis of the cross-section thereof is clocked relative to the major axis of an adjacent one of the multiple of mixer assemblies.
  • a further aspect of the present disclosure includes, wherein the swirler of each of the respective multiple of fuel air mixer assemblies is arranged such that a major axis of the cross-section thereof is clocked to define a circular distribution around an engine central longitudinal axis.
  • a further aspect of the present disclosure includes, wherein the fuel-air mixture pattern from each of the respective multiple of fuel air mixer assemblies at least partially overlaps an adjacent one of the respective multiple of mixer assemblies.
  • a further aspect of the present disclosure includes, wherein the swirler of each of the respective multiple of fuel air mixer assemblies is arranged such that a major axis of the cross-section thereof is oriented to be generally parallel with respect to an inner and outer combustor liner assembly.
  • a further aspect of the present disclosure includes, wherein the swirler of each of the respective multiple of fuel air mixer assemblies is arranged such that a major axis of the cross-section thereof is clocked with respect to an inner and outer combustor liner assembly.
  • a further aspect of the present disclosure includes, wherein the swirler of each of the respective multiple of fuel air mixer assemblies is arranged such that a major axis of the cross-section thereof is clocked to form a circular arrangement around an engine axis.
  • a further aspect of the present disclosure includes, wherein the swirler of at least one of the multiple of fuel air mixer assemblies is arranged such that a major axis of a cross-section thereof is clocked relative to at least one other of the multiple of mixer assemblies.
  • a further aspect of the present disclosure includes, wherein the fuel nozzle of at least one of the multiple of fuel air mixer assemblies is arranged such that a major axis of a cross-section thereof is clocked relative to at least one other of the multiple of mixer assemblies.
  • Lock refers to the rotational position of the non-round swirler around the swirler axis.
  • FIG. 1 schematically illustrates a gas turbine engine 20.
  • the gas turbine engine 20 is disclosed herein as a two-spool turbofan that generally incorporates a fan section 22, a compressor section 24, a combustor section 26 and a turbine section 28.
  • the fan section 22 drives air along a bypass flowpath while the compressor section 24 drives air along a core flowpath for compression and communication into the combustor section 26 then expansion through the turbine section 28.
  • a turbofan in the disclosed non-limiting embodiment, it should be appreciated that the concepts described herein are not limited to use with turbofans as the teachings may be applied to other types of turbine engines such as a turbojets, turboshafts, and three-spool (plus fan) turbofans.
  • the engine 20 generally includes a low spool 30 and a high spool 32 mounted for rotation about an engine central longitudinal axis A relative to an engine static structure 36 via several bearing structures 38.
  • the low spool 30 generally includes an inner shaft 40 that interconnects a fan 42, a low pressure compressor (“LPC”) 44 and a low pressure turbine (“LPT”) 46.
  • the inner shaft 40 drives the fan 42 directly or through a geared architecture 48 to drive the fan 42 at a lower speed than the low spool 30.
  • An exemplary reduction transmission is an epicyclic transmission, namely a planetary or star gear system.
  • the high spool 32 includes an outer shaft 50 that interconnects a high pressure compressor (“HPC”) 52 and high pressure turbine (“HPT”) 54.
  • a combustor 56 is arranged between the high pressure compressor 52 and the high pressure turbine 54.
  • the inner shaft 40 and the outer shaft 50 are concentric and rotate about the engine central longitudinal axis A which is collinear with their longitudinal axes.
  • Core airflow is compressed by the LPC 44, then the HPC 52, mixed with the fuel and burned in the combustor 56, then expanded over the HPT 54 and the LPT 46.
  • the HPT 54 and LPT 46 rotationally drive the respective low spool 30 and high spool 32 in response to the expansion.
  • the combustor section 26 generally includes a combustor 56 with an outer combustor wall assembly 60, an inner combustor wall assembly 62 and a diffuser case module 64.
  • the outer combustor wall assembly 60 and the inner combustor wall assembly 62 are spaced apart such that a combustion chamber 66 is defined therebetween.
  • the combustion chamber 66 is generally annular in shape.
  • the outer combustor wall assembly 60 is spaced radially inward from an outer diffuser case 64A of the diffuser case module 64 to define an outer annular plenum 76.
  • the inner combustor wall assembly 62 is spaced radially outward from an inner diffuser case 64B of the diffuser case module 64 to define an inner annular plenum 78. It should be appreciated that although a particular combustor is illustrated, other combustor types with various combustor liner arrangements will also benefit herefrom. It should be further appreciated that the disclosed cooling flow paths are but an illustrated embodiment and should not be limited only thereto.
  • the combustor wall assemblies 60, 62 contain the combustion products for direction toward the turbine section 28.
  • Each combustor wall assembly 60, 62 generally include a respective support shell 68, 70 which supports one or more liner panels 72, 74 mounted to a hot side of the respective support shell 68, 70.
  • the combustor wall assemblies 60, 62 may also be referred to as combustor liner assemblies. Although a dual wall liner assembly is illustrated, a single-wall liner may also benefit herefrom.
  • Each of the liner panels 72, 74 may be generally rectilinear and manufactured of, for example, a nickel based super alloy, ceramic or other temperature resistant material and are arranged to form a liner array.
  • the liner array includes a multiple of forward liner panels 72A, 72B and the multiple of aft liner panels 74A, 74B.
  • the multiple of forward liner panels 72A, 72B and the multiple of aft liner panels 74A, 74B are arranged to line the hot side of the inner shell 70 ( FIG. 3 ).
  • the combustor 56 further includes a forward assembly 80 immediately downstream of the compressor section 24 to receive compressed airflow therefrom.
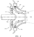
  • the forward assembly 80 generally includes an annular hood 82, a bulkhead assembly 84, a multiple of fuel injectors 86 and a multiple of swirlers 114, 116.
  • the multiple of fuel injectors 86 and the multiple of swirlers 114, 116 define a multiple of fuel air mixer assemblies 102 ( FIG. 4 ) for a Rich-Quench-Lean (RQL) combustor that directs the fuel-air mixture into the combustor chamber generally along an axis F, also referred to as a swirler axis F.
  • RQL Rich-Quench-Lean
  • the bulkhead assembly 84 includes a bulkhead support shell 96 secured to the combustor wall assemblies 60, 62, and a multiple of circumferentially distributed bulkhead liner panels 98 secured to the bulkhead support shell 96 ( FIG. 2 ).
  • the annular hood 82 extends radially between, and is secured to, the forwardmost ends of the combustor wall assemblies 60, 62.
  • the annular hood 82 includes a multiple of circumferentially distributed hood ports 94 that accommodate the respective fuel injectors 86 and direct air into the forward end of the combustion chamber 66 through the respective swirler 114, 116.
  • the forward assembly 80 introduces primary combustion air into the forward section of the combustion chamber 66 while the remainder enters the outer annular plenum 76 and the inner annular plenum 78.
  • the multiple of fuel air mixer assemblies 102 and adjacent structure generate a blended fuel-air mixture that supports stable combustion in the combustion chamber 66.
  • the outer and inner support shells 68, 70 are mounted to a first row of Nozzle Guide Vanes (NGVs) 54A in the HPT 54 to define a combustor exit.
  • NGVs 54A are static engine components which direct combustion gases onto a first turbine rotor in the turbine section 28 to facilitate the conversion of pressure energy into kinetic energy.
  • each of the multiple of fuel air mixer assemblies 102 includes a fuel nozzle 100 of the fuel injector 86 that is at least partially received within the non-round swirler 114, 116 to generate a non axis-symmetric shaped fuel-air mixture spray pattern 104.
  • the fuel nozzle 100 is non-round.
  • Each fuel nozzle 100 is located within the respective non-round swirler 114, 116 to mix the fuel into the pressurized air for distribution into the combustion chamber 66.
  • a "swirler” may generate, for example, a counterrotating swirl, a specific swirl which provides a resultant swirl or a residual net swirl which may be further directed at an angle. It should be appreciated that various combinations thereof may alternatively be utilized.
  • the non-round swirler 114, 116 may be machined or cast from high temperature alloys, or may be grown by additive manufacturing due to the nature of the shape.
  • the non-round swirler 114, 116 is elliptical in cross section to generate the non axis-symmetric (e.g., elliptical) fuel-air mixture pattern 104 ( FIG. 5 ).
  • the adjective "elliptical” is used herein as an example swirler or swirler component having a major diameter extending in a radial direction greater than a minor diameter extending in a circumferential direction about the axis F.
  • the non-round swirler 114, 116 includes an inner shroud 108 positioned around the fuel nozzle 100 to form a fuel air exit 109 and an outer shroud 110 positioned radially outward from the inner shroud 108 to define an air exit 113 ( FIG. 6 ).
  • a fuel nozzle guide 111 may house the fuel nozzle 100 to form a rear housing in relation to the swirler body 114, 116 to retain the fuel nozzle 100 therein and to accommodate thermal excursions.
  • a plurality of swirler vanes 112, 118 are positioned between the shrouds 108 and fuel nozzle guide 111 such that combustion air may enter into the combustion chamber through a plurality of air passages between the swirler vanes 112, 118.
  • a first swirler 114 is positioned around the nozzle 100 as described above and a second swirler 116 is positioned radially outward from the first swirler 114.
  • the inner shroud 108 and the outer shroud 110 of the second swirler 116 may be joined by a second plurality of vanes 118.
  • the elliptical fuel-air mixture pattern 104 and resultant elliptical flame pattern may be beneficial compared to a fully conical axis-symmetric spray in that the elliptical fuel-air mixture pattern 104 orientation can be tailored to the combustion chamber ( FIG. 5 ).
  • the combustor wall assemblies 60, 62 are essentially concentric rings that capture the flame for direction to the HPT 54.
  • the elliptical flame pattern of each fuel air mixer assembly 102 is appropriately clocked to minimize impact on the combustor wall assemblies 60, 62 ( FIG. 6 ).
  • the volume of the combustor is related to combustion efficiency, emissions, and ultimately, the exit temperature profile.
  • the combustor wall assemblies 60, 62 often create a boundary and recirculation zone critical to ignition and flame stabilization, however the combustor wall assemblies 60, 62 can be impacted by the flame pattern which result in local hot spots.
  • the non-round swirler 114, 116 maintains the inner and outer recirculation zones to facilitate flame stabilization while limiting the flame impact upon the combustor wall assemblies 60, 62.
  • the non-round swirlers 114, 116 are arranged such that each of the elliptical spray patterns 104 are generally oriented such that a major axis 103 thereof is clocked around the engine axis A.
  • Each of the elliptical spray patterns 104 is clocked to define a circular distribution in which the Z-axis thereof is collinear with the engine central longitudinal axis A in an X-Y-Z coordinate system.
  • the engine central longitudinal axis A represents the Z-axis in the X-Y-Z coordinate system of the non-round swirler 114, 116 with respect to the arrangement of the elliptical spray pattern 104.
  • each of the adjacent elliptical spray patterns 104 provides an overlap area 105 which facilitates a contiguous annular flame pattern while limiting the flame spread in the radial minor axis 107 direction to minimize a "touchdown region" on the surfaces of the inner and outer combustor wall assemblies 60, 62.
  • the spray pattern of the fuel air mixture exiting the swirlers 114, 116 and thus the resulting flame is an elliptical, or curved elliptical shape that minimizes the impact against the inner and outer combustor wall assemblies 60, 62.
  • the spreading of the fuel spray and flame radially around the annulus between the combustor wall assemblies 60, 62 provides a more uniform hot gas mixture as opposed to local conical hot spots with cooler areas therebetween, yet minimizes impact on the combustor wall assemblies 60, 62.
  • the shape of the fuel spray and resulting flame can be tailored in shape by the swirler shape and/or air passages thereof as well as the fuel nozzle spray pattern. That is, the major axis 103 of the non-round swirler 114, 116 coincides with a major axis of the non-round fuel nozzle 100. Furthermore, the non-round fuel nozzle 100 can also be tailored or clocked with respect to the shape of the non-round swirler 114, 116 to further enhance circumferential mixing while minimizing flame touchdown size and shape. This may further minimize global cooling air usage as well as locally resulting in a far more durable system as well as enhanced combustion characteristics such as stability and exit temperature uniformity.
  • the non-round fuel nozzle 100A is of an elliptical shape to correspond with the generally non-round swirler 114, 116 for further control of the spray pattern.
  • the non-round fuel nozzle 100B is of a rectilinear or flat shape that is oriented with the generally non-round swirler 114, 116 for further control of the spray pattern.
  • the fuel nozzle 100C may alternatively include a multiple of fuel jets 200 that include fuel jets 200A, 200B that are of differing sizes to effect the non-round spray pattern. That is, the distribution of fuel jet sizes provides non axis-symmetric fuel spray pattern even though the fuel nozzle body 202 is round, in a configuration outside the wording of the claims.
  • the fuel nozzle body 202 is non-round but the fuel jets 200 are tailored in size to provide various fuel spray patterns to interact with the non-round swirler 114, 116 to optimize flame exit temperature uniformity.
  • the non-round swirler 114, 116 orients the elliptical spray pattern 104 such that the flame has minimal impact on the combustor wall assemblies 60, 62. This can reduce the requirements for cooling air to maintain metal temperatures below the material melting point. Furthermore, reduced cooling air usage facilitates more efficient downstream tailoring of the exit temperature quality of the combustor to enhance overall engine efficiency and specific fuel consumption.
  • the non-round swirler 114, 116 is non axis-symmetric, the circumferential distance between the swirlers 114, 116 ( FIG. 5 ) can also be optimized to improve exit temperature quality, which results in a hot gas profile that exits the combustor 66 in a more uniform manner. This, for example, translates to improved turbine vane and airfoil durability that may be a significant driver for engine maintenance costs.

Landscapes

  • Engineering & Computer Science (AREA)
  • Chemical & Material Sciences (AREA)
  • Combustion & Propulsion (AREA)
  • Mechanical Engineering (AREA)
  • General Engineering & Computer Science (AREA)

Claims (13)

  1. Brennkammer (56) für ein Gasturbinentriebwerk (20), umfassend:
    eine Vielzahl von Kraftstoff-Luft-Mischerbaugruppen (102), die um eine Triebwerksmittellängsachse (A) definiert ist, wobei jede der Kraftstoff-Luft-Mischerbaugruppen (102) einen nicht runden Verwirbler (114, 116), der entlang einer Verwirblerachse (F) angeordnet ist, und eine Kraftstofföffnung (100) umfasst, die mindestens teilweise innerhalb des nicht runden Verwirblers (114, 116) aufgenommen ist und entlang der Verwirblerachse (F) angeordnet ist, wobei der nicht runde Verwirbler (114, 116) elliptisch im Querschnitt ist, und jede der Kraftstoff-Luft-Mischerbaugruppen (102) betreibbar ist, um ein nicht rundes Kraftstoff-Luft-Gemischsprühmuster bereitzustellen,
    dadurch gekennzeichnet, dass die Kraftstofföffnung (100) jeder der Kraftstoff-Luft-Mischerbaugruppen (102) nicht rund im Querschnitt ist und so angeordnet ist, dass eine Hauptachse ihres Querschnitts um die Triebwerksachse (A) getaktet ist.
  2. Brennkammer nach Anspruch 1, wobei eine Hauptachse (103) des Querschnitts des nicht runden Verwirblers (114, 116) mit der Hauptachse des Querschnitts der Kraftstofföffnung (100) zusammenfällt.
  3. Brennkammer nach Anspruch 1 oder 2, wobei die Kraftstofföffnung (100) eine Vielzahl von Kraftstoffdüsen (200A, 200B) beinhaltet und eine erste der Kraftstoffdüsen (200A, 200B) eine andere Größe als eine zweite der Kraftstoffdüsen (200A, 200B) hat.
  4. Brennkammer nach Anspruch 1, 2 oder 3, wobei die Kraftstofföffnung (100) elliptisch (100A) oder rechteckig (100B) im Querschnitt ist.
  5. Brennkammer nach einem vorstehenden Anspruch, wobei jedes nicht runde Kraftstoff-Luft-Gemischsprühmuster mindestens teilweise ein angrenzendes nicht rundes Kraftstoff-Luft-Gemischsprühmuster überlappt.
  6. Brennkammer nach einem vorstehenden Anspruch, wobei jede der Kraftstoff-Luft-Mischerbaugruppen (102) in Bezug auf die Umfangsposition innerhalb der Brennkammer (56) getaktet ist.
  7. Brennkammer nach einem vorstehenden Anspruch, wobei der nicht runde Verwirbler (114, 116) jeder der Kraftstoff-Luft-Mischerbaugruppen (102) so angeordnet ist, dass eine Hauptachse (103) des Querschnitts davon in Bezug auf die Hauptachse (103) des Querschnitts einer angrenzenden einen der Kraftstoff-Luft-Mischerbaugruppen (102) getaktet ist.
  8. Brennkammer nach einem vorstehenden Anspruch, wobei der nicht runde Verwirbler (114, 116) jeder der Kraftstoff-Luft-Mischerbaugruppen (102) so angeordnet ist, dass eine Hauptachse (103) des Querschnitts davon getaktet ist, um eine kreisförmige Verteilung um eine Triebwerksachse zu definieren.
  9. Brennkammer nach einem vorstehenden Anspruch, wobei das nicht runde Kraftstoff-Luft-Gemischsprühmuster aus jeder der Kraftstoff-Luft-Mischerbaugruppen (102) mindestens teilweise eine angrenzende eine der Kraftstoff-Luft-Mischerbaugruppen (102) überlappt.
  10. Brennkammer nach einem vorstehenden Anspruch, wobei der nicht runde Verwirbler (114, 116) jeder der Kraftstoff-Luft-Mischerbaugruppen (102) so angeordnet ist, dass eine Hauptachse (103) des Querschnitts davon so ausgerichtet ist, dass sie im Allgemeinen parallel in Bezug auf eine innere und eine äußere Brennkammerwandbaugruppe (60, 62) ist.
  11. Brennkammer nach einem der Ansprüche 1 bis 9, wobei der nicht runde Verwirbler (114, 116) jeder der Kraftstoff-Luft-Mischerbaugruppen (102) so angeordnet ist, dass eine Hauptachse (103) des Querschnitts davon in Bezug auf eine innere und eine äußere Brennkammerwandbaugruppe (60, 62) getaktet ist.
  12. Brennkammer nach einem vorstehenden Anspruch, wobei der nicht runde Verwirbler (114, 116) mindestens einer der Kraftstoff-Luft-Mischerbaugruppen (102) so angeordnet ist, dass eine Hauptachse (103) des Querschnitts davon in Bezug auf mindestens eine andere der Kraftstoff-Luft-Mischerbaugruppen (102) getaktet ist.
  13. Brennkammer nach einem vorstehenden Anspruch, wobei die Kraftstofföffnung (100) mindestens einer der Kraftstoff-Luft-Mischerbaugruppen (102) so angeordnet ist, dass eine Hauptachse des Querschnitts davon in Bezug auf mindestens eine andere der Kraftstoff-Luft-Mischerbaugruppen (102) getaktet ist.
EP18173047.4A 2017-05-18 2018-05-17 Gasturbinenbrennkammer mit einer brennstoffluftmischeranordnung Active EP3404331B1 (de)

Applications Claiming Priority (1)

Application Number Priority Date Filing Date Title
US15/599,252 US20180335214A1 (en) 2017-05-18 2017-05-18 Fuel air mixer assembly for a gas turbine engine combustor

Publications (2)

Publication Number Publication Date
EP3404331A1 EP3404331A1 (de) 2018-11-21
EP3404331B1 true EP3404331B1 (de) 2022-07-06

Family

ID=62200331

Family Applications (1)

Application Number Title Priority Date Filing Date
EP18173047.4A Active EP3404331B1 (de) 2017-05-18 2018-05-17 Gasturbinenbrennkammer mit einer brennstoffluftmischeranordnung

Country Status (2)

Country Link
US (1) US20180335214A1 (de)
EP (1) EP3404331B1 (de)

Families Citing this family (11)

* Cited by examiner, † Cited by third party
Publication number Priority date Publication date Assignee Title
US10591163B2 (en) * 2017-07-21 2020-03-17 United Technologies Corporation Swirler for combustor of gas turbine engine
GB201806631D0 (en) * 2018-04-24 2018-06-06 Rolls Royce Plc A combustion chamber arrangement and a gas turbine engine comprising a combustion chamber arrangement
CN110345513B (zh) * 2019-07-12 2021-04-16 中国航发沈阳发动机研究所 一种分级燃烧的旋流雾化装置
JP7446077B2 (ja) * 2019-10-04 2024-03-08 三菱重工業株式会社 ガスタービン用燃焼器、ガスタービン及び油燃料の燃焼方法
US11378275B2 (en) * 2019-12-06 2022-07-05 Raytheon Technologies Corporation High shear swirler with recessed fuel filmer for a gas turbine engine
CN112240568B (zh) * 2020-09-11 2022-10-28 北京动力机械研究所 一种用于加热器稳定燃烧的水冷筒形整流器
US11725824B2 (en) 2021-04-08 2023-08-15 Raytheon Technologies Corporation Turbulence generator mixer for rotating detonation engine
US12092332B2 (en) * 2021-12-29 2024-09-17 General Electric Company Fuel nozzle and swirler
FR3142533A1 (fr) * 2022-11-28 2024-05-31 Safran Aircraft Engines Chambre de combustion pour turbomachine
US20250362018A1 (en) * 2024-05-22 2025-11-27 General Electric Company Turbine engine having a fuel nozzle including a curvilinear structure
GB202408246D0 (en) * 2024-06-10 2024-07-24 Rolls Royce Plc fuel spray nozzles

Citations (1)

* Cited by examiner, † Cited by third party
Publication number Priority date Publication date Assignee Title
US9303875B2 (en) * 2012-02-08 2016-04-05 Rolls-Royce Deutschland Ltd & Co Kg Gas-turbine combustion chamber having non-symmetrical fuel nozzles

Family Cites Families (22)

* Cited by examiner, † Cited by third party
Publication number Priority date Publication date Assignee Title
US1445208A (en) * 1920-12-30 1923-02-13 Chauncey B Forward Oil burner
US2012139A (en) * 1933-07-24 1935-08-20 Peabody Engineering Corp Atomizer
DE1934474A1 (de) * 1968-07-09 1970-01-15 Lucas Industries Ltd Zerstaeuberduese
US3521824A (en) * 1968-10-11 1970-07-28 Delavan Manufacturing Co Air-liquid flat spray nozzle
US3763650A (en) * 1971-07-26 1973-10-09 Westinghouse Electric Corp Gas turbine temperature profiling structure
US4218020A (en) * 1979-02-23 1980-08-19 General Motors Corporation Elliptical airblast nozzle
US4991398A (en) * 1989-01-12 1991-02-12 United Technologies Corporation Combustor fuel nozzle arrangement
US5373694A (en) * 1992-11-17 1994-12-20 United Technologies Corporation Combustor seal and support
FR2751054B1 (fr) * 1996-07-11 1998-09-18 Snecma Chambre de combustion anti-nox a injection de carburant de type annulaire
US6119459A (en) * 1998-08-18 2000-09-19 Alliedsignal Inc. Elliptical axial combustor swirler
DE10348604A1 (de) * 2003-10-20 2005-07-28 Rolls-Royce Deutschland Ltd & Co Kg Kraftstoffeinspritzdüse mit filmartiger Kraftstoffplatzierung
DE102006032429A1 (de) * 2006-07-13 2008-02-21 Rolls-Royce Deutschland Ltd & Co Kg Kraftstoffeinspritzvorrichtung für eine Fluggasturbine
EP2151630B1 (de) * 2008-08-04 2011-10-12 Siemens Aktiengesellschaft Swirler
US8474265B2 (en) * 2009-07-29 2013-07-02 General Electric Company Fuel nozzle for a turbine combustor, and methods of forming same
US9366440B2 (en) * 2012-01-04 2016-06-14 General Electric Company Fuel nozzles with mixing tubes surrounding a liquid fuel cartridge for injecting fuel in a gas turbine combustor
US9322336B2 (en) * 2012-12-06 2016-04-26 General Electric Company Fuel nozzle for gas turbine
GB201222304D0 (en) * 2012-12-12 2013-01-23 Rolls Royce Plc A fuel injector and a gas turbine engine combustion chamber
US9376985B2 (en) * 2012-12-17 2016-06-28 United Technologies Corporation Ovate swirler assembly for combustors
US9404656B2 (en) * 2012-12-17 2016-08-02 United Technologies Corporation Oblong swirler assembly for combustors
US9791153B2 (en) * 2015-02-27 2017-10-17 United Technologies Corporation Line replaceable fuel nozzle apparatus, system and method
US20170003023A1 (en) * 2015-07-01 2017-01-05 Profire Energy, Inc Dual trim valve cartridge and system
GB201516977D0 (en) * 2015-09-25 2015-11-11 Rolls Royce Plc A Fuel Injector For A Gas Turbine Engine Combustion Chamber

Patent Citations (1)

* Cited by examiner, † Cited by third party
Publication number Priority date Publication date Assignee Title
US9303875B2 (en) * 2012-02-08 2016-04-05 Rolls-Royce Deutschland Ltd & Co Kg Gas-turbine combustion chamber having non-symmetrical fuel nozzles

Also Published As

Publication number Publication date
EP3404331A1 (de) 2018-11-21
US20180335214A1 (en) 2018-11-22

Similar Documents

Publication Publication Date Title
EP3404331B1 (de) Gasturbinenbrennkammer mit einer brennstoffluftmischeranordnung
EP3301361B1 (de) Pilot-/haupttreibstoffwechsel in einer axialstufenbrennkammer für einen gasturbinenmotor
EP3008391B1 (de) Brennkammer mit axialer stufung für einen gasturbinenmotor
US11156359B2 (en) Combustor liner panel end rail with diffused interface passage for a gas turbine engine combustor
EP3301372B1 (de) Umlaufende kraftstoffverlagerung und -beaufschlagung in einer axial gestuften brennkammer für einen gasturbinenmotor
EP2895796B1 (de) Leichtgewichtiger wirbler für eine gasturbinenbrennkammer und verfahren zur herstellung
US11365884B2 (en) Radial fuel shifting and biasing in an axial staged combustor for a gas turbine engine
EP3087266B1 (de) Mehrfach durchströmte verdünnungsöffnungskonfiguration für einen gasturbinenmotor und betriebsverfahren
US10830448B2 (en) Combustor liner panel with a multiple of heat transfer augmentors for a gas turbine engine combustor
EP3333486B1 (de) Hauptmischer für eine gasturbinenmotorbrennkammer
US11226102B2 (en) Fuel nozzle for a gas turbine engine
US10830433B2 (en) Axial non-linear interface for combustor liner panels in a gas turbine combustor

Legal Events

Date Code Title Description
PUAI Public reference made under article 153(3) epc to a published international application that has entered the european phase

Free format text: ORIGINAL CODE: 0009012

STAA Information on the status of an ep patent application or granted ep patent

Free format text: STATUS: THE APPLICATION HAS BEEN PUBLISHED

AK Designated contracting states

Kind code of ref document: A1

Designated state(s): AL AT BE BG CH CY CZ DE DK EE ES FI FR GB GR HR HU IE IS IT LI LT LU LV MC MK MT NL NO PL PT RO RS SE SI SK SM TR

AX Request for extension of the european patent

Extension state: BA ME

STAA Information on the status of an ep patent application or granted ep patent

Free format text: STATUS: REQUEST FOR EXAMINATION WAS MADE

17P Request for examination filed

Effective date: 20190521

RBV Designated contracting states (corrected)

Designated state(s): AL AT BE BG CH CY CZ DE DK EE ES FI FR GB GR HR HU IE IS IT LI LT LU LV MC MK MT NL NO PL PT RO RS SE SI SK SM TR

STAA Information on the status of an ep patent application or granted ep patent

Free format text: STATUS: EXAMINATION IS IN PROGRESS

17Q First examination report despatched

Effective date: 20200619

RAP1 Party data changed (applicant data changed or rights of an application transferred)

Owner name: RAYTHEON TECHNOLOGIES CORPORATION

GRAP Despatch of communication of intention to grant a patent

Free format text: ORIGINAL CODE: EPIDOSNIGR1

STAA Information on the status of an ep patent application or granted ep patent

Free format text: STATUS: GRANT OF PATENT IS INTENDED

INTG Intention to grant announced

Effective date: 20210624

GRAJ Information related to disapproval of communication of intention to grant by the applicant or resumption of examination proceedings by the epo deleted

Free format text: ORIGINAL CODE: EPIDOSDIGR1

STAA Information on the status of an ep patent application or granted ep patent

Free format text: STATUS: EXAMINATION IS IN PROGRESS

INTC Intention to grant announced (deleted)
GRAJ Information related to disapproval of communication of intention to grant by the applicant or resumption of examination proceedings by the epo deleted

Free format text: ORIGINAL CODE: EPIDOSDIGR1

STAA Information on the status of an ep patent application or granted ep patent

Free format text: STATUS: GRANT OF PATENT IS INTENDED

GRAP Despatch of communication of intention to grant a patent

Free format text: ORIGINAL CODE: EPIDOSNIGR1

INTG Intention to grant announced

Effective date: 20220114

GRAS Grant fee paid

Free format text: ORIGINAL CODE: EPIDOSNIGR3

GRAA (expected) grant

Free format text: ORIGINAL CODE: 0009210

STAA Information on the status of an ep patent application or granted ep patent

Free format text: STATUS: THE PATENT HAS BEEN GRANTED

AK Designated contracting states

Kind code of ref document: B1

Designated state(s): AL AT BE BG CH CY CZ DE DK EE ES FI FR GB GR HR HU IE IS IT LI LT LU LV MC MK MT NL NO PL PT RO RS SE SI SK SM TR

REG Reference to a national code

Ref country code: AT

Ref legal event code: REF

Ref document number: 1503103

Country of ref document: AT

Kind code of ref document: T

Effective date: 20220715

Ref country code: CH

Ref legal event code: EP

REG Reference to a national code

Ref country code: DE

Ref legal event code: R096

Ref document number: 602018037490

Country of ref document: DE

REG Reference to a national code

Ref country code: IE

Ref legal event code: FG4D

REG Reference to a national code

Ref country code: LT

Ref legal event code: MG9D

REG Reference to a national code

Ref country code: NL

Ref legal event code: MP

Effective date: 20220706

PG25 Lapsed in a contracting state [announced via postgrant information from national office to epo]

Ref country code: SE

Free format text: LAPSE BECAUSE OF FAILURE TO SUBMIT A TRANSLATION OF THE DESCRIPTION OR TO PAY THE FEE WITHIN THE PRESCRIBED TIME-LIMIT

Effective date: 20220706

Ref country code: RS

Free format text: LAPSE BECAUSE OF FAILURE TO SUBMIT A TRANSLATION OF THE DESCRIPTION OR TO PAY THE FEE WITHIN THE PRESCRIBED TIME-LIMIT

Effective date: 20220706

Ref country code: PT

Free format text: LAPSE BECAUSE OF FAILURE TO SUBMIT A TRANSLATION OF THE DESCRIPTION OR TO PAY THE FEE WITHIN THE PRESCRIBED TIME-LIMIT

Effective date: 20221107

Ref country code: NO

Free format text: LAPSE BECAUSE OF FAILURE TO SUBMIT A TRANSLATION OF THE DESCRIPTION OR TO PAY THE FEE WITHIN THE PRESCRIBED TIME-LIMIT

Effective date: 20221006

Ref country code: NL

Free format text: LAPSE BECAUSE OF FAILURE TO SUBMIT A TRANSLATION OF THE DESCRIPTION OR TO PAY THE FEE WITHIN THE PRESCRIBED TIME-LIMIT

Effective date: 20220706

Ref country code: LV

Free format text: LAPSE BECAUSE OF FAILURE TO SUBMIT A TRANSLATION OF THE DESCRIPTION OR TO PAY THE FEE WITHIN THE PRESCRIBED TIME-LIMIT

Effective date: 20220706

Ref country code: LT

Free format text: LAPSE BECAUSE OF FAILURE TO SUBMIT A TRANSLATION OF THE DESCRIPTION OR TO PAY THE FEE WITHIN THE PRESCRIBED TIME-LIMIT

Effective date: 20220706

Ref country code: FI

Free format text: LAPSE BECAUSE OF FAILURE TO SUBMIT A TRANSLATION OF THE DESCRIPTION OR TO PAY THE FEE WITHIN THE PRESCRIBED TIME-LIMIT

Effective date: 20220706

Ref country code: ES

Free format text: LAPSE BECAUSE OF FAILURE TO SUBMIT A TRANSLATION OF THE DESCRIPTION OR TO PAY THE FEE WITHIN THE PRESCRIBED TIME-LIMIT

Effective date: 20220706

REG Reference to a national code

Ref country code: AT

Ref legal event code: MK05

Ref document number: 1503103

Country of ref document: AT

Kind code of ref document: T

Effective date: 20220706

PG25 Lapsed in a contracting state [announced via postgrant information from national office to epo]

Ref country code: PL

Free format text: LAPSE BECAUSE OF FAILURE TO SUBMIT A TRANSLATION OF THE DESCRIPTION OR TO PAY THE FEE WITHIN THE PRESCRIBED TIME-LIMIT

Effective date: 20220706

Ref country code: IS

Free format text: LAPSE BECAUSE OF FAILURE TO SUBMIT A TRANSLATION OF THE DESCRIPTION OR TO PAY THE FEE WITHIN THE PRESCRIBED TIME-LIMIT

Effective date: 20221106

Ref country code: HR

Free format text: LAPSE BECAUSE OF FAILURE TO SUBMIT A TRANSLATION OF THE DESCRIPTION OR TO PAY THE FEE WITHIN THE PRESCRIBED TIME-LIMIT

Effective date: 20220706

Ref country code: GR

Free format text: LAPSE BECAUSE OF FAILURE TO SUBMIT A TRANSLATION OF THE DESCRIPTION OR TO PAY THE FEE WITHIN THE PRESCRIBED TIME-LIMIT

Effective date: 20221007

REG Reference to a national code

Ref country code: DE

Ref legal event code: R097

Ref document number: 602018037490

Country of ref document: DE

PG25 Lapsed in a contracting state [announced via postgrant information from national office to epo]

Ref country code: SM

Free format text: LAPSE BECAUSE OF FAILURE TO SUBMIT A TRANSLATION OF THE DESCRIPTION OR TO PAY THE FEE WITHIN THE PRESCRIBED TIME-LIMIT

Effective date: 20220706

Ref country code: RO

Free format text: LAPSE BECAUSE OF FAILURE TO SUBMIT A TRANSLATION OF THE DESCRIPTION OR TO PAY THE FEE WITHIN THE PRESCRIBED TIME-LIMIT

Effective date: 20220706

Ref country code: DK

Free format text: LAPSE BECAUSE OF FAILURE TO SUBMIT A TRANSLATION OF THE DESCRIPTION OR TO PAY THE FEE WITHIN THE PRESCRIBED TIME-LIMIT

Effective date: 20220706

Ref country code: CZ

Free format text: LAPSE BECAUSE OF FAILURE TO SUBMIT A TRANSLATION OF THE DESCRIPTION OR TO PAY THE FEE WITHIN THE PRESCRIBED TIME-LIMIT

Effective date: 20220706

Ref country code: AT

Free format text: LAPSE BECAUSE OF FAILURE TO SUBMIT A TRANSLATION OF THE DESCRIPTION OR TO PAY THE FEE WITHIN THE PRESCRIBED TIME-LIMIT

Effective date: 20220706

PLBE No opposition filed within time limit

Free format text: ORIGINAL CODE: 0009261

STAA Information on the status of an ep patent application or granted ep patent

Free format text: STATUS: NO OPPOSITION FILED WITHIN TIME LIMIT

PG25 Lapsed in a contracting state [announced via postgrant information from national office to epo]

Ref country code: SK

Free format text: LAPSE BECAUSE OF FAILURE TO SUBMIT A TRANSLATION OF THE DESCRIPTION OR TO PAY THE FEE WITHIN THE PRESCRIBED TIME-LIMIT

Effective date: 20220706

Ref country code: EE

Free format text: LAPSE BECAUSE OF FAILURE TO SUBMIT A TRANSLATION OF THE DESCRIPTION OR TO PAY THE FEE WITHIN THE PRESCRIBED TIME-LIMIT

Effective date: 20220706

26N No opposition filed

Effective date: 20230411

P01 Opt-out of the competence of the unified patent court (upc) registered

Effective date: 20230521

PG25 Lapsed in a contracting state [announced via postgrant information from national office to epo]

Ref country code: AL

Free format text: LAPSE BECAUSE OF FAILURE TO SUBMIT A TRANSLATION OF THE DESCRIPTION OR TO PAY THE FEE WITHIN THE PRESCRIBED TIME-LIMIT

Effective date: 20220706

PG25 Lapsed in a contracting state [announced via postgrant information from national office to epo]

Ref country code: SI

Free format text: LAPSE BECAUSE OF FAILURE TO SUBMIT A TRANSLATION OF THE DESCRIPTION OR TO PAY THE FEE WITHIN THE PRESCRIBED TIME-LIMIT

Effective date: 20220706

REG Reference to a national code

Ref country code: CH

Ref legal event code: PL

PG25 Lapsed in a contracting state [announced via postgrant information from national office to epo]

Ref country code: MC

Free format text: LAPSE BECAUSE OF FAILURE TO SUBMIT A TRANSLATION OF THE DESCRIPTION OR TO PAY THE FEE WITHIN THE PRESCRIBED TIME-LIMIT

Effective date: 20220706

REG Reference to a national code

Ref country code: BE

Ref legal event code: MM

Effective date: 20230531

PG25 Lapsed in a contracting state [announced via postgrant information from national office to epo]

Ref country code: MC

Free format text: LAPSE BECAUSE OF FAILURE TO SUBMIT A TRANSLATION OF THE DESCRIPTION OR TO PAY THE FEE WITHIN THE PRESCRIBED TIME-LIMIT

Effective date: 20220706

Ref country code: LU

Free format text: LAPSE BECAUSE OF NON-PAYMENT OF DUE FEES

Effective date: 20230517

Ref country code: LI

Free format text: LAPSE BECAUSE OF NON-PAYMENT OF DUE FEES

Effective date: 20230531

Ref country code: IT

Free format text: LAPSE BECAUSE OF FAILURE TO SUBMIT A TRANSLATION OF THE DESCRIPTION OR TO PAY THE FEE WITHIN THE PRESCRIBED TIME-LIMIT

Effective date: 20220706

Ref country code: CH

Free format text: LAPSE BECAUSE OF NON-PAYMENT OF DUE FEES

Effective date: 20230531

REG Reference to a national code

Ref country code: IE

Ref legal event code: MM4A

PG25 Lapsed in a contracting state [announced via postgrant information from national office to epo]

Ref country code: IE

Free format text: LAPSE BECAUSE OF NON-PAYMENT OF DUE FEES

Effective date: 20230517

PG25 Lapsed in a contracting state [announced via postgrant information from national office to epo]

Ref country code: IE

Free format text: LAPSE BECAUSE OF NON-PAYMENT OF DUE FEES

Effective date: 20230517

PG25 Lapsed in a contracting state [announced via postgrant information from national office to epo]

Ref country code: BE

Free format text: LAPSE BECAUSE OF NON-PAYMENT OF DUE FEES

Effective date: 20230531

PG25 Lapsed in a contracting state [announced via postgrant information from national office to epo]

Ref country code: BG

Free format text: LAPSE BECAUSE OF FAILURE TO SUBMIT A TRANSLATION OF THE DESCRIPTION OR TO PAY THE FEE WITHIN THE PRESCRIBED TIME-LIMIT

Effective date: 20220706

PG25 Lapsed in a contracting state [announced via postgrant information from national office to epo]

Ref country code: BG

Free format text: LAPSE BECAUSE OF FAILURE TO SUBMIT A TRANSLATION OF THE DESCRIPTION OR TO PAY THE FEE WITHIN THE PRESCRIBED TIME-LIMIT

Effective date: 20220706

PGFP Annual fee paid to national office [announced via postgrant information from national office to epo]

Ref country code: DE

Payment date: 20250423

Year of fee payment: 8

PGFP Annual fee paid to national office [announced via postgrant information from national office to epo]

Ref country code: GB

Payment date: 20250423

Year of fee payment: 8

PGFP Annual fee paid to national office [announced via postgrant information from national office to epo]

Ref country code: FR

Payment date: 20250423

Year of fee payment: 8

PG25 Lapsed in a contracting state [announced via postgrant information from national office to epo]

Ref country code: CY

Free format text: LAPSE BECAUSE OF FAILURE TO SUBMIT A TRANSLATION OF THE DESCRIPTION OR TO PAY THE FEE WITHIN THE PRESCRIBED TIME-LIMIT; INVALID AB INITIO

Effective date: 20180517

PG25 Lapsed in a contracting state [announced via postgrant information from national office to epo]

Ref country code: HU

Free format text: LAPSE BECAUSE OF FAILURE TO SUBMIT A TRANSLATION OF THE DESCRIPTION OR TO PAY THE FEE WITHIN THE PRESCRIBED TIME-LIMIT; INVALID AB INITIO

Effective date: 20180517

REG Reference to a national code

Ref country code: DE

Ref legal event code: R081

Ref document number: 602018037490

Country of ref document: DE

Owner name: RTX CORPORATION (N.D.GES.D. STAATES DELAWARE),, US

Free format text: FORMER OWNER: RAYTHEON TECHNOLOGIES CORPORATION, FARMINGTON, CT, US

PG25 Lapsed in a contracting state [announced via postgrant information from national office to epo]

Ref country code: TR

Free format text: LAPSE BECAUSE OF FAILURE TO SUBMIT A TRANSLATION OF THE DESCRIPTION OR TO PAY THE FEE WITHIN THE PRESCRIBED TIME-LIMIT

Effective date: 20220706