EP3379641B1 - Hf-filter zur verbesserung der pimd-leistung - Google Patents

Hf-filter zur verbesserung der pimd-leistung Download PDF

Info

Publication number
EP3379641B1
EP3379641B1 EP17169475.5A EP17169475A EP3379641B1 EP 3379641 B1 EP3379641 B1 EP 3379641B1 EP 17169475 A EP17169475 A EP 17169475A EP 3379641 B1 EP3379641 B1 EP 3379641B1
Authority
EP
European Patent Office
Prior art keywords
filter
cover
washer
housing
joined
Prior art date
Legal status (The legal status is an assumption and is not a legal conclusion. Google has not performed a legal analysis and makes no representation as to the accuracy of the status listed.)
Active
Application number
EP17169475.5A
Other languages
English (en)
French (fr)
Other versions
EP3379641A1 (de
Inventor
Dong-Wan Chun
Sung Soo Chung
Jung Geun Park
Current Assignee (The listed assignees may be inaccurate. Google has not performed a legal analysis and makes no representation or warranty as to the accuracy of the list.)
Ace Technology Co Ltd
Original Assignee
Ace Technology Co Ltd
Priority date (The priority date is an assumption and is not a legal conclusion. Google has not performed a legal analysis and makes no representation as to the accuracy of the date listed.)
Filing date
Publication date
Application filed by Ace Technology Co Ltd filed Critical Ace Technology Co Ltd
Publication of EP3379641A1 publication Critical patent/EP3379641A1/de
Application granted granted Critical
Publication of EP3379641B1 publication Critical patent/EP3379641B1/de
Active legal-status Critical Current
Anticipated expiration legal-status Critical

Links

Images

Classifications

    • HELECTRICITY
    • H01ELECTRIC ELEMENTS
    • H01PWAVEGUIDES; RESONATORS, LINES, OR OTHER DEVICES OF THE WAVEGUIDE TYPE
    • H01P1/00Auxiliary devices
    • H01P1/20Frequency-selective devices, e.g. filters
    • H01P1/201Filters for transverse electromagnetic waves
    • H01P1/205Comb or interdigital filters; Cascaded coaxial cavities
    • HELECTRICITY
    • H01ELECTRIC ELEMENTS
    • H01PWAVEGUIDES; RESONATORS, LINES, OR OTHER DEVICES OF THE WAVEGUIDE TYPE
    • H01P1/00Auxiliary devices
    • H01P1/20Frequency-selective devices, e.g. filters
    • H01P1/207Hollow waveguide filters
    • HELECTRICITY
    • H01ELECTRIC ELEMENTS
    • H01PWAVEGUIDES; RESONATORS, LINES, OR OTHER DEVICES OF THE WAVEGUIDE TYPE
    • H01P1/00Auxiliary devices
    • H01P1/04Fixed joints
    • HELECTRICITY
    • H01ELECTRIC ELEMENTS
    • H01PWAVEGUIDES; RESONATORS, LINES, OR OTHER DEVICES OF THE WAVEGUIDE TYPE
    • H01P1/00Auxiliary devices
    • H01P1/20Frequency-selective devices, e.g. filters
    • H01P1/207Hollow waveguide filters
    • H01P1/208Cascaded cavities; Cascaded resonators inside a hollow waveguide structure
    • H01P1/2084Cascaded cavities; Cascaded resonators inside a hollow waveguide structure with dielectric resonators
    • HELECTRICITY
    • H01ELECTRIC ELEMENTS
    • H01PWAVEGUIDES; RESONATORS, LINES, OR OTHER DEVICES OF THE WAVEGUIDE TYPE
    • H01P7/00Resonators of the waveguide type
    • H01P7/04Coaxial resonators
    • HELECTRICITY
    • H01ELECTRIC ELEMENTS
    • H01PWAVEGUIDES; RESONATORS, LINES, OR OTHER DEVICES OF THE WAVEGUIDE TYPE
    • H01P7/00Resonators of the waveguide type
    • H01P7/10Dielectric resonators
    • HELECTRICITY
    • H01ELECTRIC ELEMENTS
    • H01PWAVEGUIDES; RESONATORS, LINES, OR OTHER DEVICES OF THE WAVEGUIDE TYPE
    • H01P1/00Auxiliary devices
    • H01P1/30Auxiliary devices for compensation of, or protection against, temperature or moisture effects ; for improving power handling capability

Definitions

  • the present invention relates to an RF filter, more particularly to an RF filter for improving PIMD performance.
  • Filters using coaxial resonators are often used, due to the advantages they provide in terms of cost as compared with filters using dielectric resonators such as ceramic filters and monoblock filters.
  • dielectric resonators such as ceramic filters and monoblock filters.
  • the existing coaxial resonator is limited in terms of how small a size it can have.
  • the use of the smaller-sized dielectric resonator such as the TM mode resonator is gaining popularity, especially for implementing ultra-small filters.
  • the dielectric resonator entails the drawback that, because of a difference in thermal expansion coefficients between the dielectric resonator element and the housing, thermal contraction and expansion due to temperature changes can result in the dielectric resonator elements becoming unsecure or providing inadequate contact, which in turn may cause the properties of the filter to change.
  • the coaxial resonator can provide several advantages.
  • the coaxial resonator is advantageous in making small size filters operating at lower frequencies.
  • the coaxial resonator may also improve power handling, which may be important with a small size filter.
  • the air gap between the cover lid and top surface of conventional coaxial resonator may be replaced by a dielectric disk, which may make it easier to control the shift in frequency caused by temperature changes, as a suitable thermal expansion coefficient can be chosen for the dielectric disk.
  • a modified resonator design for use can include a dielectric disk placed on top of a coaxial resonator made of metal. This would enable smaller filters operate at lower frequencies of below 1GHz.
  • the present invention aims to provide an RF filter for improving PIMD performance where the resonator can be secured in a stable manner and the RF filter is capable of improving PIMD performance.
  • An embodiment of the present invention provides an RF filter for improving PIMD performance that includes: a housing which has at least one cavity formed therein and includes a dielectric resonator held in the cavity; washers joined to an upper portion and a lower portion of the dielectric resonator, where the washers are shaped as circular plates and are made of a metallic material; and a cover joined to an upper portion of the housing.
  • a washer protrusion is formed on one side of each washer and the washer protrusion increases in height along a direction moving away from the center of the washer, with the washer configured to contact the cover or the housing.
  • a screw is formed on at least one of the washers joined to the upper portion and the lower portion of the dielectric resonator and protrudes from one side of the washer.
  • a male thread may be formed on an outer perimeter of the screw, a slot or a hole may be formed in the housing and the cover, the slot or hole having a female thread formed in an inner perimeter thereof corresponding to the male thread of the screw, and the screw may be inserted into the slot or hole to be joined with the cover or the housing.
  • the dielectric resonator and the washer may be joined by way of soldering.
  • the RF filter may further include a pressing member joined to the cover.
  • An insertion area may be formed in the cover to receive the pressing member as it is inserted therethrough.
  • a thin part having a smaller thickness compared to the main body of the cover may be formed in the insertion area.
  • the pressing member may be inserted through the insertion area to press the thin part, and the thin part is configured to contact the washer.
  • the pressing member may include an elastic member capable of applying an elastic force.
  • the RF filter may further include a tuning bolt joined to the cover, where the tuning bolt may be inserted into the cavity.
  • the tuning bolt may be formed from a metallic material, and the tuning bolt may be configured such that its insertion depth is adjustable and securable.
  • the material of the housing and the cover may include metal.
  • An embodiment of the present invention makes it possible to secure the resonator in a stable manner and improve PIMD performance.
  • first and second may be used to describe various elements, such elements must not be limited to the above terms.
  • the above terms are used only to distinguish one element from another.
  • a first element may be referred to as a second element without departing from the scope of rights of the present invention, and likewise a second element may be referred to as a first element.
  • FIG. 1 is an exploded perspective view of an RF filter for improving PIMD performance according to a first disclosed embodiment of the present invention.
  • an RF filter for improving PIMD performance can include a housing 100, a cover 110, dielectric resonators 104, and a multiple number of pressing members 200.
  • the housing 100 may serve as the main body of the filter, and a multiple number of cavities 102 may be formed inside the housing.
  • FIG. 1 illustrates an example in which there are five cavities 102 formed, the number of cavities 102 can be changed as necessary.
  • a dielectric resonator 104 may be mounted in each of the cavities 102.
  • the dielectric resonator 104 may be made from a dielectric material and may have a generally cylindrical shape.
  • a washer 350 may be joined to an upper portion of the dielectric resonator 104, the washer 350 positioned to contact the cover 110 of the filter. A structure that allows stable contact between the washer 350 and the cover 110 is described herein.
  • the housing 100 can be made using an aluminum material as a base and applying a silver plating treatment over the base.
  • the silver plating can be applied to provide high electrical conductivity.
  • a housing plated with a metal other than silver, such as copper for example, can also be used.
  • the multiple cavities 102 may be defined by the housing 100 and by multiple partitions installed inside the housing 100.
  • the numbers of cavities 102 and resonators 104 formed in the housing 100 are associated with the insertion loss and attenuation properties of the filter.
  • a greater number of cavities 102 and resonators 104 can provide higher attenuation properties but can also increase insertion loss. That is, increasing the number of cavities and resonators may provide better attenuation properties but increase insertion loss, posing a trade-off between the attenuation properties and the insertion loss.
  • the cover 110 may be joined to the upper portion of the housing 100, which may be the open side of the housing 100.
  • the cover 110 may be joined to the upper portion of the housing 100 to form the closed structure of the housing 100. Due to the joining of the cover 110, the inside of the filter can be shielded from electromagnetic waves.
  • the cover 110 can also be formed by preparing a base structure of aluminum and applying a silver plating or copper plating treatment on the base structure.
  • the cover 110 and the housing 100 can be joined by using any of a variety of joining methods.
  • the cover 110 can be joined to the housing 100 by using bolts or by soldering, etc.
  • a multiple number of insertion areas 450 may be formed in the cover 110, and into each of the multiple insertion areas 450, a pressing member 200 may be inserted
  • the housing 100 and cover 110 of the filter may have a ground potential, and in order to obtain the desired electrical properties and provide a strong fastening of the dielectric resonators 104, it is necessary to tightly press the washer 350 onto the cover 110.
  • the pressing member 200 may serve to provide the pressure needed for the tight pressing.
  • the positions of the insertion areas 450 formed in the cover 110 may correspond to the positions of the dielectric resonators 104.
  • the insertion areas 450 can be formed over the dielectric resonators 104, and in cases where there are five resonators installed, there may be five insertion areas 450 formed in the cover.
  • the pressing members 200 may each be inserted into an insertion area 450, with the number of pressing members 200 corresponding to the number of insertion areas 450.
  • the pressing member 200 may be inserted into the insertion area 450 such that it can press the cover 110 and thus provide a stable contact between the cover 110 and the washer 350.
  • FIG. 2 illustrates the structure of a dielectric resonator in an RF filter for improving PIMD performance according to the first disclosed embodiment of the present invention.
  • a washer 350 may be joined to the dielectric resonator 104.
  • the washer 350 can be joined to the dielectric resonator 104 by using soldering.
  • An RF filter for improving PIMD performance according to the first disclosed embodiment of the present invention can thus have the washer 350 joined to the dielectric resonator 104 using soldering, to thereby reduce the occurrence of PIMD and improve PIMD performance.
  • metal plating such as silver plating for example, can be applied to the top and bottom of the dielectric resonator 104.
  • the washer 350 can be formed from a metallic material and can be shaped as a circular plate. Also, on one side of the washer 350, a washer protrusion 355 can be formed protruding in the direction of the cover 110, where the washer protrusion 355 can be shaped such that it increases in height along a direction moving away from the center. Because of the washer protrusion 355, the washer 350 can be formed with a greater height on the outer side compared to the height on the inner side. The combined height of the dielectric resonator 104 and the washer 350 joined together may correspond to the height of the inside of the housing, allowing the washer 350 to contact the cover 110 of the filter. As the washer protrusion 355 of the washer 350 is pressed by the cover 110, the dielectric resonator 104 joined to the washer 350 can be firmly secured.
  • an RF filter for improving PIMD performance may be structured such that the washer 350 and the cover 110 engage in linear contact instead of planar contact, thereby allowing improvements in the PIMD performance.
  • FIG 3 is an exploded perspective view of a pressing member applicable to an RF filter for improving PIMD performance according to the first disclosed embodiment of the present invention.
  • a pressing member 200 can include an insert part 210 and an elastic member 212.
  • the pressing member 200 may be inserted through the insertion area of the cover 110, where the insert part 210 can have a cylindrical structure with a male thread formed on the outer perimeter.
  • the insert part 210 may be made from a metallic material
  • the elastic member 212 may be joined to a lower portion of the insert part 210.
  • the elastic member 212 can be joined to the lower portion of the insert part 210 by bonding.
  • various joining methods other than bonding can also be used
  • the elastic member 212 can have the shape of a circular plate.
  • the elastic member 212 is an element for pressing the cover 110.
  • Materials such as silicone-based rubber, for example, can be used for the elastic member 212.
  • FIG. 4 is a cross-sectional view of an area where a pressing member is to be applied in an RF filter for improving PIMD performance according to the first disclosed embodiment of the present invention.
  • the cover of an RF filter for improving PIMD performance can include a main body 400 and a thin part 410.
  • the main body 400 may have a particular thickness, and at a particular part of the main body 400, the thin part 410 may be formed, which has a smaller thickness than that of the main body 400.
  • an insertion area 450 may be formed in the main body 400 at which the pressing member 200 can be inserted
  • the thin part 410 may be shaped as a circular plate.
  • the thickness of the thin part 410 can be set to such an extent that a deformation can occur according to the pressing applied by the pressing member 200.
  • a thread may be formed in the inner perimeter of the insertion area 450 that is formed due to the difference in thickness between the main body 400 and the thin part 410.
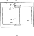
  • FIG. 5 is a cross-sectional view of a cavity in an RF filter for improving PIMD performance according to a first disclosed embodiment of the present invention.
  • the pressing member 200 may be inserted in the insertion area 450 that is formed by the thickness difference between the main body 400 and the thin part 410 of the filter cover.
  • the pressing member 200 can be inserted into the insertion area 450 by way of a screw joint.
  • the insert part 210 may be rotated and inserted into the insertion area. The rotation of the insert part 210 may be performed until the insert part 210 is completely placed in the insertion area 450.
  • a hole can be formed in the cover 110 for joining a tuning bolt.
  • the tuning bolt can be inserted through the cover 110 by a screw joint.
  • the tuning bolt can be inserted by rotation, and the insertion depth of the tuning bolt can be adjusted based on the degree of rotation.
  • the tuning bolt may be inserted into the housing 100, the tuning bolt used for tuning the properties of the filter. By adjusting the insertion depth of the tuning bolt, it is possible to tune the resonance frequency of the filter. When the desired resonance frequency is obtained by the tuning, the position of the tuning bolt may be secured by using a nut.
  • the elastic member 212 joined to the lower portion of the insert part 210 may press the thin part 410 of the insertion area 450. Since the thin part 410 may have a thickness that allows a deformation in shape according to the pressure applied, the thin part may be directed in a downward direction according to the pressing of the elastic member 212. It is also possible to form a pressing protrusion 211, for pressing a particular region of the elastic member 212, at a lower portion of the insert part 210, so as to have the pressing protrusion 211 apply pressure on the elastic member 212.
  • the elastic member 212 made from silicone rubber for example, may provide an elastic force, making it possible to press on the thin part 410 continuously.
  • a washer 350a may be joined to the upper end of the dielectric resonator 104 by way of soldering, and a washer 350b may be joined also to the lower end by way of soldering.
  • the thin part 410 of the cover 110 may contact the washer protrusion 355 of the washer 350a.
  • the height of the dielectric resonator 104 may be similar to the height of the inside of the housing 100.
  • the washer 350b may be soldered to the lower end of the dielectric resonator 104 to allow the thin part 410 of the cover 110 to contact the washer protrusion 355 of the washer 350a, and indentations can be formed in the housing 100 according to the thicknesses of the washers 350a, 350b.
  • the elastic member 212 of the pressing member 200 may press the thin part 410 as it is inserted into the insertion area 450, and due to the pressing by the pressing member 200, the washer protrusion 355 can be made to contact the thin part 410 in a more stable manner.
  • the pressing protrusion 211 can be positioned in alignment with the washer protrusion 355.
  • the elastic member 212 of the pressing member 200 is made of an elastic material, such as silicone rubber for example, it is capable of pressing the thin part 410 continuously due to its restorative force. Therefore, even if a vibration, etc., is applied to the filter, the washer 350a can maintain contact with the thin part 410 in a stable manner.
  • an RF filter for improving PIMD performance can have washers 350a, 350b soldered to the upper end and lower end of a dielectric resonator 104 and can have the pressing member 200 joined to the cover 110 such that the elastic member 212 presses the thin part 410.
  • the washer 350a at the upper end of the dielectric resonator 104 may be secured in tight contact with the thin part 410, while the washer 350b at the lower end of the dielectric resonator 104 may be secured in tight contact with the housing 100.
  • FIG. 5 illustrates the manner in which the dielectric resonator 104 and washer 350 contact the cover 110 within one cavity
  • the structure shown in FIG. 5 can be formed in each of the cavities.
  • An RF filter for improving PIMD performance according to a second disclosed embodiment of the present invention can include a washer on which a screw is formed.
  • FIG. 6 is a cross-sectional view of a cavity in an RF filter for improving PIMD performance according to the second disclosed embodiment of the present invention.
  • a screw 357 having a thread formed therein can be formed on the washer 350' joined to the lower end of the dielectric resonator 104.
  • the screw 357 can be formed protruding and extending along the same direction as the washer protrusion 355.
  • a hole in which a thread shaped in correspondence to the screw 357 can be formed in the housing 100, and the screw 357 can be inserted into the hole formed in the housing 100.
  • the washer 350' at the lower end of the dielectric resonator 104 may be firmly secured to the housing 100 by way of the screw 357, while the washer 350 at the upper end of the dielectric resonator 104 can be secured to the cover 110 by the same structure as that of the RF filter for improving PIMD performance according to the first disclosed embodiment of the present invention.
  • the dielectric resonator 104 soldered to the washers 350, 350' can be firmly secured to the housing 100 and the cover 110.
  • a washer having a screw can also be joined to the upper end of the dielectric resonator.
  • FIG 7 is a cross-sectional view of a cavity in an RF filter for improving PIMD performance according to the third disclosed embodiment of the present invention.
  • screws 357 having threads formed therein can be formed on the washers 350'a, 350'b.
  • the screw 357 can be formed protruding and extending along the same direction as the washer protrusion 355.
  • holes in which threads shaped in correspondence to the screw 357 can be formed in the housing 100 and the cover 110 or the insert part 210', and the screw 357 can be inserted into the holes formed in the housing 100 and the cover 110 or insert part 210'.
  • the washer 350'b at the lower end of the dielectric resonator 104 may be firmly secured to the housing 100 by way of the screw 357, while the washer 350'a at the upper end of the dielectric resonator 104 can be secured by joining with the cover 110 or the insert part 210'.
  • the insert part 210' can have the shape of a nut, while holes can be formed in the elastic member 212 and the thin part 410.
  • the insert part 210' can press on the elastic member 212, the elastic member 212 can press on the thin part 410, and consequently the thin part 410 can maintain contact with the washer protrusion 355 of the washer 350'a in a stable manner, so that the washer 350'a may be secured to the cover 110.
  • the dielectric resonator 104 soldered to the washers 350'a, 350'b can be firmly secured to the housing 100 and the cover 110.
  • FIG 8 is a cross-sectional view of a cavity in an RF filter for improving PIMD performance according to a fourth disclosed embodiment of the present invention.
  • the washer 350 joined to the lower end of the dielectric resonator 104 may not have a screw formed thereon, and only the washer 350' joined to the upper end of the dielectric resonator 104 may a screw 357 formed thereon.
  • the dielectric resonator 104 can be secured to and kept in contact with the housing 100 by way of a structure similar to that described for the first disclosed embodiment and can be secured to and kept in contact with the cover 110 by way of a structure similar to that described for the third disclosed embodiment.
  • FIG. 9 is an exploded perspective view of an RF filter for improving PIMD performance according to a first example not forming part of the claimed invention.
  • an RF filter for improving PIMD performance can include a housing 600, a cover 610, metal resonators 604, and a multiple number of pressing members 700.
  • the housing 600 may serve as the main body of the filter, and a multiple number of cavities 602 may be formed inside the housing. Although FIG. 9 illustrates an example in which there are five cavities 602 formed, the number of cavities 602 can be changed as necessary.
  • a metal resonator 604 may be mounted in each of the cavities 602.
  • the metal resonator 604 can be made from a metallic material and can be structured to have a generally cylindrical shape with a cylindrical slot formed inside.
  • a dielectric disk 800 may be joined to an upper portion of the metal resonator 604.
  • the dielectric disk 800 may be used to increase the capacitance formed between the metal resonator 604 and the cover 610 of the filter. By using the dielectric disk 800 to increasing the capacitance, it is possible to fabricate the metal resonator 604 in a smaller size.
  • a washer 850 may be joined to an upper portion of the dielectric disk 800, the washer 850 positioned to contact the cover 610 of the filter. A structure that allows stable contact between the washer 850 and the cover 610 is described herein.
  • the housing 600 can be made using an aluminum material as a base and applying a silver plating treatment over the base.
  • the silver plating can be applied to provide high electrical conductivity.
  • a housing 600 plated with a metal other than silver, such as copper for example, can also be used.
  • the multiple cavities 602 may be defined by the housing 600 and by multiple partitions installed inside the housing 600.
  • the numbers of cavities 602 and resonators 604 formed in the housing 600 are associated with the insertion loss and attenuation properties of the filter.
  • a greater number of cavities 602 and resonators 604 can provide higher attenuation properties but can also increase insertion loss. That is, increasing the number of cavities and resonators may provide better attenuation properties but increase insertion loss, posing a trade-off between the attenuation properties and the insertion loss.
  • the cover 610 may be joined to the upper portion of the housing 600, which may be the open side of the housing 600.
  • the cover 610 may be joined to the upper portion of the housing 600 to form the closed structure of the housing 600. Due to the joining of the cover 610, the inside of the filter can be shielded from electromagnetic waves.
  • the cover 610 can also be formed by preparing a base structure of aluminum and applying a silver plating or copper plating treatment on the base structure.
  • the cover 610 and the housing 600 can be joined by using any of a variety of joining methods.
  • the cover 610 can be joined to the housing 600 by using bolts or by soldering, etc.
  • a multiple number of insertion areas 950 may be formed in the cover 610, and into each of the multiple insertion areas 950, a pressing member 700 may be inserted
  • the housing 600 and cover 610 of the filter may have a ground potential, and in order to obtain the desired electrical properties and provide a strong fastening of the dielectric disk 800, it is necessary to tightly press the washer 850 onto the cover 610.
  • the pressing member 700 may serve to provide the pressure needed for the tight pressing.
  • the positions of the insertion areas 950 formed in the cover 610 may correspond to the positions of the metal resonators 604.
  • the insertion areas 950 can be formed over the metal resonators 604, and in cases where there are five metal resonators installed, there may be five insertion areas 950 formed in the cover.
  • the pressing members 700 may each be inserted into an insertion area 950, with the number of pressing members 700 corresponding to the number of insertion areas 950.
  • the pressing member 700 may be inserted into the insertion area 950 such that it can press the cover 610 and thus provide a stable contact between the cover 610 and the washer 850.
  • FIG. 10 illustrates the structure of a metal resonator in an RF filter for improving PIMD performance according to the first example not forming part of the claimed invention.
  • a dielectric disk 800 may be joined to the metal resonator 604.
  • the dielectric disk 800 can be joined to the metal resonator 604 by using soldering.
  • An RF filter for improving PIMD performance according to the first example not forming part of the claimed invention can thus have the dielectric disk 800 joined to the metal resonator 604 using soldering, to thereby reduce the occurrence of PIMD (passive intermodulation distortion) and prevent degradations in properties.
  • metal plating such as silver plating for example, can be applied to the top and bottom of the dielectric disk 800.
  • the dielectric disk 800 may have an annular shape and have a hole formed therein.
  • the hole inside the dielectric disk and the hole or slot formed in the metal resonator 604 are where a tuning bolt, described later on, is to be inserted
  • the dielectric disk 800 may be a dielectric having a high dielectric constant, and because of the high dielectric constant of the ceramic dielectric, the capacitance formed between the metal resonator 604 and the cover 610 may be increased
  • the sizes of the metal resonators 604 and the cavities 602 may be determined by the operating frequency of the filter. The lower the operating frequency, the larger the sizes needed for the metal resonators 604 and the cavities 602.
  • the dielectric disk 800 may increase the capacitance between the cover 610 and the metal resonator 604, so that the sizes of the metal resonators 604 and cavities 602 can be reduced compared to the case in which there are no dielectric disks 800.
  • a washer 850 may be joined.
  • the washer 850 can be joined to the upper portion of the dielectric disk 800 by using soldering.
  • An RF filter for improving PIMD performance according to the first example not forming part of the claimed invention can thus have the washer 850 joined to the dielectric disk 800 using soldering, to thereby reduce the occurrence of PIMD and prevent degradations in properties.
  • metal plating such as including silver plating for example, can be applied to the top and bottom of the dielectric disk 800.
  • the washer 850 can be formed from a metallic material and can have an annular shape with a hole formed inside. Also, on one side of the washer 850, a washer protrusion 855 can be formed protruding in the direction of the cover 610, where the washer protrusion 855 can be shaped such that it increases in height along a direction moving away from the center. Because of the washer protrusion 855, the washer 850 can be formed with a greater height on the outer side compared to the height on the inner side.
  • the combined height of the metal resonator 604, dielectric disk 800, and washer 850 joined together may correspond to the height of the inside of the housing, allowing the washer 850 to contact the cover 610 of the filter. As the washer protrusion 855 of the washer 850 is pressed by the cover 610, the dielectric disk 800 and metal resonator 604 joined to the washer 850 can be firmly secured
  • an RF filter for improving PIMD performance may be structured such that the washer 850 and the cover 610 engage in linear contact instead of planar contact, thereby allowing improvements in the PIMD performance.
  • a fastening hole 655 can be formed in the lower surface of the metal resonator 604.
  • a fastening member 650 can be inserted into the fastening hole 655 to secure the metal resonator 604 onto the housing.
  • FIG 11 is an exploded perspective view of a pressing member applicable to an RF filter for improving PIMD performance according to the first example not forming part of the claimed invention.
  • a pressing member 700 can include an insert part 710, an elastic member 712, and a tuning bolt 714.
  • the pressing member 700 may be inserted through the insertion area of the cover 610, where the insert part 710 can have a cylindrical structure with a male thread formed on the outer perimeter.
  • the insert part 710 may be made from a metallic material
  • An insertion hole 720 may be formed in a center portion of the insert part 710, and the tuning bolt 714 may be joined at the insertion hole 720.
  • a thread may be formed in the inner perimeter of the insertion hole 720 of the insert part 710, and a thread may also be formed on the outer perimeter of the tuning bolt 714, so that the tuning bolt may be inserted through the insertion hole 720 by way of a screw joint.
  • the tuning bolt 714 can be inserted through the insertion hole 720 by rotation, and the insertion depth can be adjusted based on the degree of rotation.
  • the elastic member 712 may be joined to a lower portion of the insert part 710.
  • the elastic member 712 can be joined to the lower portion of the insert part 710 by bonding.
  • various joining methods other than bonding can also be used.
  • the elastic member 712 can have an annular shape with a hole formed in the center.
  • the elastic member 712 may be the component for pressing the cover 610, and a rubber of a silicone material, for example, can be used for the elastic member 712.
  • FIG. 12 is a cross-sectional view of an area where a pressing member is to be applied in an RF filter for improving PIMD performance according to the first example not forming part of the claimed invention.
  • the cover of an RF filter for improving PIMD performance according to the first example not forming part of the claimed invention can include a main body 900, a thin part 910, and a hole 920.
  • the main body 900 may have a particular thickness, and at a particular part of the main body 900, the thin part 910 may be formed, which has a smaller thickness than that of the main body 900.
  • an insertion area 950 may be formed in the main body 900 at which the pressing member 700 can be inserted.
  • the thin part 910 may an annular shape and may have a hole 920 formed in the center portion of the thin part 910.
  • the thickness of the thin part 910 may be set to such an extent that a deformation can occur according to the pressing by the pressing member 700.
  • the thin part 910 may preferably take the shape of a circular ring, and the hole 920 may also preferably be of a circular shape.
  • the insertion area 950 formed by the difference in thickness between the main body 900 and the thin part 910, may have a thread formed in its inner perimeter.
  • FIG. 13 is a cross-sectional view of a cavity in an RF filter for improving PIMD performance according to the first example not forming part of the claimed invention.
  • the pressing member 700 may be inserted in the insertion area 950 that is formed by the thickness difference between the main body 900 and the thin part 910 of the filter cover.
  • the pressing member 700 can be inserted into the insertion area 950 by way of a screw joint.
  • the insert part 710 of the pressing member 700 may be rotated and inserted into the insertion area. The rotation of the insert part 710 may be performed until the insert part 710 is completely placed in the insertion area 950.
  • a tuning bolt 714 may be inserted in the hole 920 formed in the insertion area 950.
  • the tuning bolt 714 may be inserted into the housing 600 through the hole 920, the tuning bolt 714 used for tuning the resonance frequency of the filter.
  • the insertion depth of the tuning bolt 714 it is possible to tune the resonance frequency of the filter.
  • the position of the tuning bolt 714 may be secured by using a nut 716.
  • the elastic member 712 joined to the lower portion of the insert part 710 may press the thin part 910 of the insertion area 950. Since the thin part 910 may have a thickness that allows a deformation in shape according to the pressure applied, the thin part may be directed in a downward direction according to the pressing of the elastic member 712. It is also possible to form a pressing protrusion 711, for pressing a particular region of the elastic member 712, at a lower portion of the insert part 710, so as to have the pressing protrusion 711 apply pressure on the elastic member 712.
  • the elastic member 712 made from silicone rubber for example, may provide an elastic force, making it possible to press on the thin part 910 continuously.
  • the thin part 910 of the cover 610 may contact the washer protrusion 855 of the washer 850.
  • the height of the metal resonator 604 may be similar to the height of the inside of the housing 600.
  • a housing protrusion 670 can be formed on the housing 600 at a portion under the metal resonator 604, and also a resonator protrusion 660 can be formed on a bwer surface of the metal resonator 604.
  • the resonator protrusion 660 can facilitate the firm securing of the metal resonator 604 relative to the housing 600.
  • the structure providing linear contact instead of planar contact with respect to the housing 600 can improve PIMD properties.
  • the elastic member 712 of the pressing member 700 may press the thin part 910 as it is inserted into the insertion area 950, and due to the pressing by the pressing member 700, the washer protrusion 855 can be made to contact the thin part 910 in a more stable manner.
  • the pressing protrusion 711 can be positioned in alignment with the washer protrusion 855.
  • the elastic member 712 of the pressing member 700 is made of an elastic material, such as silicone rubber for example, it is capable of pressing the thin part 910 continuously due to its restorative force. Therefore, even if a vibration, etc., is applied to the filter, the washer 850 can maintain contact with the thin part 910 in a stable manner.
  • a fastening member 650 can be inserted into the fastening hole 655 of the metal resonator 604 to secure the metal resonator 604 onto the housing.
  • FIG. 13 illustrates the manner in which the metal resonator 604 and the dielectric disk 800 maintain contact and the washer 850 and the cover 610 maintain contact within one cavity
  • the structure shown in FIG. 13 can be formed in each of the cavities.
  • FIG. 14 is a plan view of the interior of an RF filter for improving PIMD performance according to the first example not forming part of the claimed invention.
  • the cavity filter may be equipped with an input port 500 and an output port 502, where the RF signals for filtering may be inputted through the input port 500, and the filtered output signals may be outputted through the output port 502.
  • FIG. 14 illustrates an example in which there are five cavities 602 and five resonators 604, and in which the filtering is performed by way of resonance in each of the cavities.
  • a metal resonator 604 may be included in each cavity 602, and the resonance frequency achieved in each cavity may be determined by the size and form of the metal resonator 604.

Landscapes

  • Physics & Mathematics (AREA)
  • Electromagnetism (AREA)
  • Control Of Motors That Do Not Use Commutators (AREA)

Claims (8)

  1. HF-Filter zum Verbessern der PIMD Leistung, wobei das RF-Filter Folgendes umfasst:
    ein Gehäuse (100) mit mindestens einem darin ausgebildeten Hohlraum (102), wobei das Gehäuse einen dielektrischen Resonator (104) umfasst, der in dem Hohlraum gehalten wird;
    Unterlegscheiben (350, 350' 350'a, 350'b), die mit einem oberen Abschnitt und einem unteren Abschnitt des dielektrischen Resonators verbunden sind, wobei die Unterlegscheiben als kreisförmige Platten geformt sind und aus einem metallischen Material gebildet sind; und
    eine Abdeckung (110), die mit einem oberen Abschnitt des Gehäuses verbunden ist, wobei jede der Unterlegscheiben einen Unterlegscheibenvorsprung aufweist, der auf einer Seite davon ausgebildet ist und in Richtung der Abdeckung oder des Gehäuses vorsteht, wobei der Unterlegscheibenvorsprung entlang einer Richtung, die sich von der Mitte der Unterlegscheibe wegbewegt, in der Höhe zunimmt, und der Unterlegscheibenvorsprung konfiguriert ist zum Kontaktieren der Abdeckung oder des Gehäuses,
    dadurch gekennzeichnet, dass
    mindestens eine der Unterlegscheiben, die mit dem oberen Abschnitt und dem unteren Abschnitt des dielektrischen Resonators verbunden ist, eine Schraube (357) aufweist, die an der Unterlegscheibe gebildet ist und von einer Seite davon vorsteht.
  2. HF-Filter zum Verbessern der PIMD-Leistung nach Anspruch 1, wobei die Schraube ein an ihrem Außenumfang ausgebildetes Außengewinde aufweist, das Gehäuse oder die Abdeckung einen darin ausgebildeten Schlitz oder ein Loch aufweist, der Schlitz oder das Loch ein an seinem Innenumfang ausgebildetes Innengewinde aufweist, das zu dem Außengewinde der Schraube korrespondiert, und die Schraube in den Schlitz oder das Loch eingesetzt wird, um mit der Abdeckung oder dem Gehäuse verbunden zu werden.
  3. HF-Filter zum Verbessern der PIMD-Leistung nach Anspruch 1, wobei der dielektrische Resonator und die Unterlegscheibe durch Löten verbunden sind.
  4. HF-Filter zum Verbessern der PIMD-Leistung nach Anspruch 1, wobei das HF-Filter ferner ein mit der Abdeckung verbundenes Presselement umfasst, wobei die Abdeckung einen darin ausgebildeten Einführungsbereich aufweist, wobei der Einführungsbereich so konfiguriert ist, dass er das durch ihn eingeführte Presselement aufnimmt, wobei der Einführungsbereich einen darin ausgebildeten dünnen Teil aufweist, wobei der dünne Teil eine geringere Dicke im Vergleich zu einem Hauptkörper der Abdeckung aufweist, wobei das Presselement konfiguriert ist, dass es durch den Einführungsbereich eingeführt wird, um den dünnen Teil zu pressen, und wobei der dünne Teil so konfiguriert ist, dass er die Unterlegscheibe kontaktiert.
  5. HF-Filter zum Verbessern der PIMD-Leistung nach Anspruch 4, wobei das Presselement ein elastisches Element umfasst, das in der Lage ist, eine elastische Kraft aufzubringen.
  6. HF-Filter zum Verbessern der PIMD-Leistung nach Anspruch 1, ferner umfassend einen mit der Abdeckung verbundenen Abstimmbolzen,
    wobei der Abstimmbolzen in den Hohlraum eingesetzt ist.
  7. HF-Filter zum Verbessern der PIMD-Leistung nach Anspruch 6, wobei der Abstimmbolzen aus einem metallischen Material gebildet ist und der Abstimmbolzen so konfiguriert ist, dass eine Einstecktiefe davon einstellbar und sicherbar ist.
  8. HF-Filter zum Verbessern der PIMD-Leistung nach Anspruch 1, wobei ein Material des Gehäuses und der Abdeckung Metall ist.
EP17169475.5A 2017-03-22 2017-05-04 Hf-filter zur verbesserung der pimd-leistung Active EP3379641B1 (de)

Applications Claiming Priority (1)

Application Number Priority Date Filing Date Title
KR1020170036230A KR102343774B1 (ko) 2017-03-22 2017-03-22 Pimd 성능 향상을 위한 rf 필터

Publications (2)

Publication Number Publication Date
EP3379641A1 EP3379641A1 (de) 2018-09-26
EP3379641B1 true EP3379641B1 (de) 2021-03-10

Family

ID=58669722

Family Applications (1)

Application Number Title Priority Date Filing Date
EP17169475.5A Active EP3379641B1 (de) 2017-03-22 2017-05-04 Hf-filter zur verbesserung der pimd-leistung

Country Status (4)

Country Link
US (1) US10084222B1 (de)
EP (1) EP3379641B1 (de)
KR (1) KR102343774B1 (de)
CN (1) CN108631030B (de)

Families Citing this family (7)

* Cited by examiner, † Cited by third party
Publication number Priority date Publication date Assignee Title
KR101980791B1 (ko) * 2016-02-05 2019-05-21 스피너 게엠베하 Pim 측정들을 위한 필터 구조물들
JP7266685B2 (ja) * 2018-12-28 2023-04-28 華為技術有限公司 Tmモード・フィルタおよびtmモード・フィルタの製造方法
CN109786908B (zh) * 2019-03-11 2024-02-23 深圳市安特无线设备有限公司 调谐盖板及应用该盖板的滤波器
WO2022058034A1 (en) 2020-09-21 2022-03-24 Telefonaktiebolaget Lm Ericsson (Publ) A filter arrangement for mobile communication antennas and a mobile communication antenna comprising a filter arrangement
CN113394540B (zh) * 2021-06-10 2022-08-02 京信射频技术(广州)有限公司 谐振腔结构、谐振器、滤波器与通信装置
KR102527996B1 (ko) * 2022-11-14 2023-05-03 (주)이랑텍 비공진기를 사용한 rf 캐비티 필터
CN116345094B (zh) * 2023-03-31 2025-10-03 大富科技(安徽)股份有限公司 滤波器及通信装置

Family Cites Families (12)

* Cited by examiner, † Cited by third party
Publication number Priority date Publication date Assignee Title
WO2004105173A1 (en) * 2003-05-21 2004-12-02 Kmw Inc. Radio frequency filter
KR101072284B1 (ko) * 2008-08-01 2011-10-11 주식회사 케이엠더블유 고주파 필터의 유전체 공진기 및 그 조립 방법
CN201673987U (zh) * 2010-03-30 2010-12-15 深圳市威富通讯技术有限公司 滤波器
KR101386941B1 (ko) * 2012-10-10 2014-04-18 주식회사 이너트론 조립식 대역 저지 필터
EP3079200B1 (de) * 2013-12-30 2019-04-24 Huawei Technologies Co., Ltd. Resonator, filter, duplexer, multiplexer und kommunikationsvorrichtung
EP2903084B1 (de) * 2014-02-04 2019-01-16 Alcatel Lucent Resonatoranordnung und Filter
CN104979609A (zh) * 2014-04-01 2015-10-14 Ace技术株式会社 腔体滤波器
US9425493B2 (en) * 2014-09-09 2016-08-23 Alcatel Lucent Cavity resonator filters with pedestal-based dielectric resonators
CN204315703U (zh) * 2014-12-26 2015-05-06 东莞鸿爱斯通信科技有限公司 Tm模介质谐振器
KR101712602B1 (ko) * 2015-05-21 2017-03-06 (주)웨이브텍 유전체 공진기
CN205069824U (zh) * 2015-09-30 2016-03-02 李登峰 高性能介质滤波器
CN205452495U (zh) * 2015-12-30 2016-08-10 深圳市大富科技股份有限公司 腔体滤波器

Non-Patent Citations (1)

* Cited by examiner, † Cited by third party
Title
None *

Also Published As

Publication number Publication date
KR102343774B1 (ko) 2021-12-28
CN108631030A (zh) 2018-10-09
CN108631030B (zh) 2020-05-19
KR20180107631A (ko) 2018-10-02
EP3379641A1 (de) 2018-09-26
US20180277914A1 (en) 2018-09-27
US10084222B1 (en) 2018-09-25

Similar Documents

Publication Publication Date Title
EP3379641B1 (de) Hf-filter zur verbesserung der pimd-leistung
US9397377B2 (en) Cavity filter
US10205210B2 (en) Cavity filter including ceramic resonator
US6002311A (en) Dielectric TM mode resonator for RF filters
US10840577B2 (en) Resonator and communications apparatus
US10090573B2 (en) High-frequency shielded housing, in particular high-frequency shielded filter housing
KR101826799B1 (ko) 커플링 부재를 포함하는 세라믹 공진기 필터
KR20130050623A (ko) 유전체 공진기 필터
CA3006389A1 (en) Dielectric resonator and filter
CN107394332B (zh) 共用端口耦合装置及微波腔体器件
EP3133691B1 (de) Dielektrisches filter mit transversalem magnetmodus (tm)
KR20170043826A (ko) 유전체 공진기를 이용하는 소형 rf 필터
CN208062224U (zh) 一种c波段电调腔体滤波器
EP3384551B1 (de) Koaxialer resonator mit dielektrischer scheibe
CN108448215A (zh) 一种c波段电调腔体滤波器
KR101605863B1 (ko) 유전체 공진기 필터
US11996599B2 (en) Resonant cavity filters including coupling tuning by resonator rotation
KR101208165B1 (ko) 안정적인 접지 구조를 가지는 유전체 공진기 필터
KR20160008486A (ko) 동축 공진기를 포함하는 캐비티 필터
JP2004072730A (ja) 誘電体フィルタ、通信機器、共振周波数を制御する方法
CN220628193U (zh) 滤波器及通信设备
JPS5881301A (ja) 誘電体フイルタ
KR20160008392A (ko) 동축 공진기를 포함하는 캐비티 필터
KR20040043232A (ko) 무선 주파수 필터의 커버 고정 수단
WO2017092807A1 (en) Filter assembly

Legal Events

Date Code Title Description
PUAI Public reference made under article 153(3) epc to a published international application that has entered the european phase

Free format text: ORIGINAL CODE: 0009012

STAA Information on the status of an ep patent application or granted ep patent

Free format text: STATUS: THE APPLICATION HAS BEEN PUBLISHED

AK Designated contracting states

Kind code of ref document: A1

Designated state(s): AL AT BE BG CH CY CZ DE DK EE ES FI FR GB GR HR HU IE IS IT LI LT LU LV MC MK MT NL NO PL PT RO RS SE SI SK SM TR

AX Request for extension of the european patent

Extension state: BA ME

STAA Information on the status of an ep patent application or granted ep patent

Free format text: STATUS: REQUEST FOR EXAMINATION WAS MADE

17P Request for examination filed

Effective date: 20190313

RBV Designated contracting states (corrected)

Designated state(s): AL AT BE BG CH CY CZ DE DK EE ES FI FR GB GR HR HU IE IS IT LI LT LU LV MC MK MT NL NO PL PT RO RS SE SI SK SM TR

STAA Information on the status of an ep patent application or granted ep patent

Free format text: STATUS: EXAMINATION IS IN PROGRESS

17Q First examination report despatched

Effective date: 20191024

GRAP Despatch of communication of intention to grant a patent

Free format text: ORIGINAL CODE: EPIDOSNIGR1

STAA Information on the status of an ep patent application or granted ep patent

Free format text: STATUS: GRANT OF PATENT IS INTENDED

INTG Intention to grant announced

Effective date: 20200928

GRAS Grant fee paid

Free format text: ORIGINAL CODE: EPIDOSNIGR3

GRAA (expected) grant

Free format text: ORIGINAL CODE: 0009210

STAA Information on the status of an ep patent application or granted ep patent

Free format text: STATUS: THE PATENT HAS BEEN GRANTED

AK Designated contracting states

Kind code of ref document: B1

Designated state(s): AL AT BE BG CH CY CZ DE DK EE ES FI FR GB GR HR HU IE IS IT LI LT LU LV MC MK MT NL NO PL PT RO RS SE SI SK SM TR

REG Reference to a national code

Ref country code: GB

Ref legal event code: FG4D

REG Reference to a national code

Ref country code: AT

Ref legal event code: REF

Ref document number: 1370818

Country of ref document: AT

Kind code of ref document: T

Effective date: 20210315

Ref country code: CH

Ref legal event code: EP

REG Reference to a national code

Ref country code: IE

Ref legal event code: FG4D

REG Reference to a national code

Ref country code: DE

Ref legal event code: R096

Ref document number: 602017034162

Country of ref document: DE

REG Reference to a national code

Ref country code: LT

Ref legal event code: MG9D

PG25 Lapsed in a contracting state [announced via postgrant information from national office to epo]

Ref country code: FI

Free format text: LAPSE BECAUSE OF FAILURE TO SUBMIT A TRANSLATION OF THE DESCRIPTION OR TO PAY THE FEE WITHIN THE PRESCRIBED TIME-LIMIT

Effective date: 20210310

Ref country code: HR

Free format text: LAPSE BECAUSE OF FAILURE TO SUBMIT A TRANSLATION OF THE DESCRIPTION OR TO PAY THE FEE WITHIN THE PRESCRIBED TIME-LIMIT

Effective date: 20210310

Ref country code: GR

Free format text: LAPSE BECAUSE OF FAILURE TO SUBMIT A TRANSLATION OF THE DESCRIPTION OR TO PAY THE FEE WITHIN THE PRESCRIBED TIME-LIMIT

Effective date: 20210611

Ref country code: NO

Free format text: LAPSE BECAUSE OF FAILURE TO SUBMIT A TRANSLATION OF THE DESCRIPTION OR TO PAY THE FEE WITHIN THE PRESCRIBED TIME-LIMIT

Effective date: 20210610

Ref country code: LT

Free format text: LAPSE BECAUSE OF FAILURE TO SUBMIT A TRANSLATION OF THE DESCRIPTION OR TO PAY THE FEE WITHIN THE PRESCRIBED TIME-LIMIT

Effective date: 20210310

Ref country code: BG

Free format text: LAPSE BECAUSE OF FAILURE TO SUBMIT A TRANSLATION OF THE DESCRIPTION OR TO PAY THE FEE WITHIN THE PRESCRIBED TIME-LIMIT

Effective date: 20210610

REG Reference to a national code

Ref country code: AT

Ref legal event code: MK05

Ref document number: 1370818

Country of ref document: AT

Kind code of ref document: T

Effective date: 20210310

REG Reference to a national code

Ref country code: NL

Ref legal event code: MP

Effective date: 20210310

PG25 Lapsed in a contracting state [announced via postgrant information from national office to epo]

Ref country code: SE

Free format text: LAPSE BECAUSE OF FAILURE TO SUBMIT A TRANSLATION OF THE DESCRIPTION OR TO PAY THE FEE WITHIN THE PRESCRIBED TIME-LIMIT

Effective date: 20210310

Ref country code: RS

Free format text: LAPSE BECAUSE OF FAILURE TO SUBMIT A TRANSLATION OF THE DESCRIPTION OR TO PAY THE FEE WITHIN THE PRESCRIBED TIME-LIMIT

Effective date: 20210310

Ref country code: LV

Free format text: LAPSE BECAUSE OF FAILURE TO SUBMIT A TRANSLATION OF THE DESCRIPTION OR TO PAY THE FEE WITHIN THE PRESCRIBED TIME-LIMIT

Effective date: 20210310

PG25 Lapsed in a contracting state [announced via postgrant information from national office to epo]

Ref country code: NL

Free format text: LAPSE BECAUSE OF FAILURE TO SUBMIT A TRANSLATION OF THE DESCRIPTION OR TO PAY THE FEE WITHIN THE PRESCRIBED TIME-LIMIT

Effective date: 20210310

PG25 Lapsed in a contracting state [announced via postgrant information from national office to epo]

Ref country code: EE

Free format text: LAPSE BECAUSE OF FAILURE TO SUBMIT A TRANSLATION OF THE DESCRIPTION OR TO PAY THE FEE WITHIN THE PRESCRIBED TIME-LIMIT

Effective date: 20210310

Ref country code: CZ

Free format text: LAPSE BECAUSE OF FAILURE TO SUBMIT A TRANSLATION OF THE DESCRIPTION OR TO PAY THE FEE WITHIN THE PRESCRIBED TIME-LIMIT

Effective date: 20210310

Ref country code: SM

Free format text: LAPSE BECAUSE OF FAILURE TO SUBMIT A TRANSLATION OF THE DESCRIPTION OR TO PAY THE FEE WITHIN THE PRESCRIBED TIME-LIMIT

Effective date: 20210310

Ref country code: AT

Free format text: LAPSE BECAUSE OF FAILURE TO SUBMIT A TRANSLATION OF THE DESCRIPTION OR TO PAY THE FEE WITHIN THE PRESCRIBED TIME-LIMIT

Effective date: 20210310

PG25 Lapsed in a contracting state [announced via postgrant information from national office to epo]

Ref country code: IS

Free format text: LAPSE BECAUSE OF FAILURE TO SUBMIT A TRANSLATION OF THE DESCRIPTION OR TO PAY THE FEE WITHIN THE PRESCRIBED TIME-LIMIT

Effective date: 20210710

Ref country code: PL

Free format text: LAPSE BECAUSE OF FAILURE TO SUBMIT A TRANSLATION OF THE DESCRIPTION OR TO PAY THE FEE WITHIN THE PRESCRIBED TIME-LIMIT

Effective date: 20210310

Ref country code: PT

Free format text: LAPSE BECAUSE OF FAILURE TO SUBMIT A TRANSLATION OF THE DESCRIPTION OR TO PAY THE FEE WITHIN THE PRESCRIBED TIME-LIMIT

Effective date: 20210712

Ref country code: RO

Free format text: LAPSE BECAUSE OF FAILURE TO SUBMIT A TRANSLATION OF THE DESCRIPTION OR TO PAY THE FEE WITHIN THE PRESCRIBED TIME-LIMIT

Effective date: 20210310

Ref country code: SK

Free format text: LAPSE BECAUSE OF FAILURE TO SUBMIT A TRANSLATION OF THE DESCRIPTION OR TO PAY THE FEE WITHIN THE PRESCRIBED TIME-LIMIT

Effective date: 20210310

REG Reference to a national code

Ref country code: DE

Ref legal event code: R097

Ref document number: 602017034162

Country of ref document: DE

REG Reference to a national code

Ref country code: CH

Ref legal event code: PL

PLBE No opposition filed within time limit

Free format text: ORIGINAL CODE: 0009261

STAA Information on the status of an ep patent application or granted ep patent

Free format text: STATUS: NO OPPOSITION FILED WITHIN TIME LIMIT

PG25 Lapsed in a contracting state [announced via postgrant information from national office to epo]

Ref country code: LU

Free format text: LAPSE BECAUSE OF NON-PAYMENT OF DUE FEES

Effective date: 20210504

Ref country code: LI

Free format text: LAPSE BECAUSE OF NON-PAYMENT OF DUE FEES

Effective date: 20210531

Ref country code: MC

Free format text: LAPSE BECAUSE OF FAILURE TO SUBMIT A TRANSLATION OF THE DESCRIPTION OR TO PAY THE FEE WITHIN THE PRESCRIBED TIME-LIMIT

Effective date: 20210310

Ref country code: DK

Free format text: LAPSE BECAUSE OF FAILURE TO SUBMIT A TRANSLATION OF THE DESCRIPTION OR TO PAY THE FEE WITHIN THE PRESCRIBED TIME-LIMIT

Effective date: 20210310

Ref country code: CH

Free format text: LAPSE BECAUSE OF NON-PAYMENT OF DUE FEES

Effective date: 20210531

Ref country code: AL

Free format text: LAPSE BECAUSE OF FAILURE TO SUBMIT A TRANSLATION OF THE DESCRIPTION OR TO PAY THE FEE WITHIN THE PRESCRIBED TIME-LIMIT

Effective date: 20210310

Ref country code: ES

Free format text: LAPSE BECAUSE OF FAILURE TO SUBMIT A TRANSLATION OF THE DESCRIPTION OR TO PAY THE FEE WITHIN THE PRESCRIBED TIME-LIMIT

Effective date: 20210310

REG Reference to a national code

Ref country code: BE

Ref legal event code: MM

Effective date: 20210531

26N No opposition filed

Effective date: 20211213

PG25 Lapsed in a contracting state [announced via postgrant information from national office to epo]

Ref country code: SI

Free format text: LAPSE BECAUSE OF FAILURE TO SUBMIT A TRANSLATION OF THE DESCRIPTION OR TO PAY THE FEE WITHIN THE PRESCRIBED TIME-LIMIT

Effective date: 20210310

PG25 Lapsed in a contracting state [announced via postgrant information from national office to epo]

Ref country code: IT

Free format text: LAPSE BECAUSE OF FAILURE TO SUBMIT A TRANSLATION OF THE DESCRIPTION OR TO PAY THE FEE WITHIN THE PRESCRIBED TIME-LIMIT

Effective date: 20210310

Ref country code: IE

Free format text: LAPSE BECAUSE OF NON-PAYMENT OF DUE FEES

Effective date: 20210504

PG25 Lapsed in a contracting state [announced via postgrant information from national office to epo]

Ref country code: IS

Free format text: LAPSE BECAUSE OF FAILURE TO SUBMIT A TRANSLATION OF THE DESCRIPTION OR TO PAY THE FEE WITHIN THE PRESCRIBED TIME-LIMIT

Effective date: 20210710

PG25 Lapsed in a contracting state [announced via postgrant information from national office to epo]

Ref country code: BE

Free format text: LAPSE BECAUSE OF NON-PAYMENT OF DUE FEES

Effective date: 20210531

PG25 Lapsed in a contracting state [announced via postgrant information from national office to epo]

Ref country code: CY

Free format text: LAPSE BECAUSE OF FAILURE TO SUBMIT A TRANSLATION OF THE DESCRIPTION OR TO PAY THE FEE WITHIN THE PRESCRIBED TIME-LIMIT

Effective date: 20210310

PG25 Lapsed in a contracting state [announced via postgrant information from national office to epo]

Ref country code: HU

Free format text: LAPSE BECAUSE OF FAILURE TO SUBMIT A TRANSLATION OF THE DESCRIPTION OR TO PAY THE FEE WITHIN THE PRESCRIBED TIME-LIMIT; INVALID AB INITIO

Effective date: 20170504

PG25 Lapsed in a contracting state [announced via postgrant information from national office to epo]

Ref country code: MK

Free format text: LAPSE BECAUSE OF FAILURE TO SUBMIT A TRANSLATION OF THE DESCRIPTION OR TO PAY THE FEE WITHIN THE PRESCRIBED TIME-LIMIT

Effective date: 20210310

PGFP Annual fee paid to national office [announced via postgrant information from national office to epo]

Ref country code: GB

Payment date: 20240422

Year of fee payment: 8

PGFP Annual fee paid to national office [announced via postgrant information from national office to epo]

Ref country code: DE

Payment date: 20240422

Year of fee payment: 8

PGFP Annual fee paid to national office [announced via postgrant information from national office to epo]

Ref country code: FR

Payment date: 20240423

Year of fee payment: 8

PG25 Lapsed in a contracting state [announced via postgrant information from national office to epo]

Ref country code: MT

Free format text: LAPSE BECAUSE OF FAILURE TO SUBMIT A TRANSLATION OF THE DESCRIPTION OR TO PAY THE FEE WITHIN THE PRESCRIBED TIME-LIMIT

Effective date: 20210310

REG Reference to a national code

Ref country code: DE

Ref legal event code: R119

Ref document number: 602017034162

Country of ref document: DE

PG25 Lapsed in a contracting state [announced via postgrant information from national office to epo]

Ref country code: TR

Free format text: LAPSE BECAUSE OF FAILURE TO SUBMIT A TRANSLATION OF THE DESCRIPTION OR TO PAY THE FEE WITHIN THE PRESCRIBED TIME-LIMIT

Effective date: 20210310

GBPC Gb: european patent ceased through non-payment of renewal fee

Effective date: 20250504