EP3258325B1 - Axe horloger - Google Patents

Axe horloger Download PDF

Info

Publication number
EP3258325B1
EP3258325B1 EP16174244.0A EP16174244A EP3258325B1 EP 3258325 B1 EP3258325 B1 EP 3258325B1 EP 16174244 A EP16174244 A EP 16174244A EP 3258325 B1 EP3258325 B1 EP 3258325B1
Authority
EP
European Patent Office
Prior art keywords
shaft
less
pivot
guide
functional portion
Prior art date
Legal status (The legal status is an assumption and is not a legal conclusion. Google has not performed a legal analysis and makes no representation as to the accuracy of the status listed.)
Active
Application number
EP16174244.0A
Other languages
German (de)
English (en)
Other versions
EP3258325A1 (fr
Inventor
Vannina Linck
Current Assignee (The listed assignees may be inaccurate. Google has not performed a legal analysis and makes no representation or warranty as to the accuracy of the list.)
Rolex SA
Original Assignee
Rolex SA
Priority date (The priority date is an assumption and is not a legal conclusion. Google has not performed a legal analysis and makes no representation as to the accuracy of the date listed.)
Filing date
Publication date
Family has litigation
First worldwide family litigation filed litigation Critical https://patents.darts-ip.com/?family=56120978&utm_source=google_patent&utm_medium=platform_link&utm_campaign=public_patent_search&patent=EP3258325(B1) "Global patent litigation dataset” by Darts-ip is licensed under a Creative Commons Attribution 4.0 International License.
Application filed by Rolex SA filed Critical Rolex SA
Priority to EP16174244.0A priority Critical patent/EP3258325B1/fr
Priority to EP19183765.7A priority patent/EP3584640B1/fr
Priority to EP22216886.6A priority patent/EP4177677A1/fr
Priority to US15/618,859 priority patent/US20170357213A1/en
Priority to CN201710439362.4A priority patent/CN107490950B/zh
Priority to CN202110419759.3A priority patent/CN113110010A/zh
Priority to JP2017114859A priority patent/JP7214335B2/ja
Priority to CH00766/17A priority patent/CH712552B1/fr
Publication of EP3258325A1 publication Critical patent/EP3258325A1/fr
Publication of EP3258325B1 publication Critical patent/EP3258325B1/fr
Application granted granted Critical
Priority to US17/877,578 priority patent/US11982977B2/en
Priority to JP2022176828A priority patent/JP2023011848A/ja
Priority to US18/661,843 priority patent/US20240295853A1/en
Priority to JP2025043328A priority patent/JP2025090819A/ja
Active legal-status Critical Current
Anticipated expiration legal-status Critical

Links

Images

Classifications

    • GPHYSICS
    • G04HOROLOGY
    • G04BMECHANICALLY-DRIVEN CLOCKS OR WATCHES; MECHANICAL PARTS OF CLOCKS OR WATCHES IN GENERAL; TIME PIECES USING THE POSITION OF THE SUN, MOON OR STARS
    • G04B1/00Driving mechanisms
    • G04B1/10Driving mechanisms with mainspring
    • G04B1/16Barrels; Arbors; Barrel axles
    • GPHYSICS
    • G04HOROLOGY
    • G04BMECHANICALLY-DRIVEN CLOCKS OR WATCHES; MECHANICAL PARTS OF CLOCKS OR WATCHES IN GENERAL; TIME PIECES USING THE POSITION OF THE SUN, MOON OR STARS
    • G04B13/00Gearwork
    • G04B13/02Wheels; Pinions; Spindles; Pivots
    • GPHYSICS
    • G04HOROLOGY
    • G04BMECHANICALLY-DRIVEN CLOCKS OR WATCHES; MECHANICAL PARTS OF CLOCKS OR WATCHES IN GENERAL; TIME PIECES USING THE POSITION OF THE SUN, MOON OR STARS
    • G04B13/00Gearwork
    • G04B13/02Wheels; Pinions; Spindles; Pivots
    • G04B13/021Wheels; Pinions; Spindles; Pivots elastic fitting with a spindle, axis or shaft
    • G04B13/022Wheels; Pinions; Spindles; Pivots elastic fitting with a spindle, axis or shaft with parts made of hard material, e.g. silicon, diamond, sapphire, quartz and the like
    • GPHYSICS
    • G04HOROLOGY
    • G04BMECHANICALLY-DRIVEN CLOCKS OR WATCHES; MECHANICAL PARTS OF CLOCKS OR WATCHES IN GENERAL; TIME PIECES USING THE POSITION OF THE SUN, MOON OR STARS
    • G04B15/00Escapements
    • G04B15/14Component parts or constructional details, e.g. construction of the lever or the escape wheel
    • GPHYSICS
    • G04HOROLOGY
    • G04BMECHANICALLY-DRIVEN CLOCKS OR WATCHES; MECHANICAL PARTS OF CLOCKS OR WATCHES IN GENERAL; TIME PIECES USING THE POSITION OF THE SUN, MOON OR STARS
    • G04B17/00Mechanisms for stabilising frequency
    • G04B17/04Oscillators acting by spring tension
    • G04B17/06Oscillators with hairsprings, e.g. balance
    • G04B17/063Balance construction
    • GPHYSICS
    • G04HOROLOGY
    • G04BMECHANICALLY-DRIVEN CLOCKS OR WATCHES; MECHANICAL PARTS OF CLOCKS OR WATCHES IN GENERAL; TIME PIECES USING THE POSITION OF THE SUN, MOON OR STARS
    • G04B17/00Mechanisms for stabilising frequency
    • G04B17/32Component parts or constructional details, e.g. collet, stud, virole or piton
    • GPHYSICS
    • G04HOROLOGY
    • G04BMECHANICALLY-DRIVEN CLOCKS OR WATCHES; MECHANICAL PARTS OF CLOCKS OR WATCHES IN GENERAL; TIME PIECES USING THE POSITION OF THE SUN, MOON OR STARS
    • G04B17/00Mechanisms for stabilising frequency
    • G04B17/32Component parts or constructional details, e.g. collet, stud, virole or piton
    • G04B17/34Component parts or constructional details, e.g. collet, stud, virole or piton for fastening the hairspring onto the balance
    • GPHYSICS
    • G04HOROLOGY
    • G04BMECHANICALLY-DRIVEN CLOCKS OR WATCHES; MECHANICAL PARTS OF CLOCKS OR WATCHES IN GENERAL; TIME PIECES USING THE POSITION OF THE SUN, MOON OR STARS
    • G04B31/00Bearings; Point suspensions or counter-point suspensions; Pivot bearings; Single parts therefor
    • GPHYSICS
    • G04HOROLOGY
    • G04BMECHANICALLY-DRIVEN CLOCKS OR WATCHES; MECHANICAL PARTS OF CLOCKS OR WATCHES IN GENERAL; TIME PIECES USING THE POSITION OF THE SUN, MOON OR STARS
    • G04B31/00Bearings; Point suspensions or counter-point suspensions; Pivot bearings; Single parts therefor
    • G04B31/06Manufacture or mounting processes

Definitions

  • the invention relates to a watch axis, including a balance shaft.
  • the invention also relates to an oscillator or a watch movement or a timepiece comprising such an axis.
  • the balance shaft is an essential component of the watchmaking regulating organ.
  • the balance shaft comprises at each end a tigeron extending by a pivot.
  • the balance shaft carries the spiral spring and oscillates on its pivots in bearings.
  • the tigers and pivots of the axis constituting zones of lesser mechanical strength are designed to take up the forces involved. Nevertheless, in certain cases, especially during high-intensity shocks, the pivots can be mated to the ground. against their respective bearing because of their small size, especially their small diameter.
  • the watch axes are traditionally cut in a steel 20AP, then quenched.
  • the pivots are then rolled to obtain the desired surface condition and surface hardness.
  • the hardness typically reaches at least 700HV.
  • the 20AP steel shafts or made of other metallic materials, whether hardened or not, require this driving operation at the pivots to ensure the manufacturing accuracy, resistance over time, with respect to wear but also with respect to shocks, and to ensure the optimal operation of the movement by controlling the tribological parameters.
  • This operation which consists of steps of polishing and surface hardening of the surface of the pivot, is complex and delicate, and requires a great know-how which is strongly related to the control of the process by the person skilled in the art who 'applied.
  • 20AP steel contains lead (0.2% by weight) and will soon have to be replaced by another lead-free steel such as FinemacTM (or 20C1A).
  • the manufacturing of these axes is identical: they are turned from bar before tempering, then heat-treated and tempered to increase the hardness. A relaxation annealing ensures a release of internal stresses and prevents these axes from breaking like glass during shocks. This steel has the main lack of hardness at the pivots and therefore also require a rolling operation to achieve the final properties required.
  • These axes 20AP steel or Finemac are also ferromagnetic and can induce gait disturbances if the movements they are equipped with are subject to magnetic fields, residual magnetization.
  • nitriding or carburizing surface treatment to form nitrides or chromium carbides would have the intended effect in terms of hardening of the surface, but would result in a loss of corrosion resistance detrimental to the quality of the components and the product.
  • the patent application EP2757423 discloses a solution for curing an austenitic steel or an austenitic cobalt alloy or an austenitic nickel alloy by means of a thermochemical treatment, aimed at integrating into the interstitial sites of the crystal lattice of the alloy atoms carbon or nitrogen to strengthen the material before driving the pivot, while limiting the risk of corrosion of the axis.
  • the hardnesses thus reached are close to 1000 HV, which theoretically positions this type of parts to a better level than the 20AP steel parts.
  • Such axes also require a rolling at the pivots to reach the final dimension, in particular to obtain a surface condition to obtain adequate performance in terms of chronometry.
  • Such a solution is therefore not optimal insofar as it requires at least two axis processing steps: a superficial hardening step followed by a second rolling step.
  • An alternative described in the patent application EP2757424 and to overcome the rolling is to constitute all or part of the axis, but in any case or the pivots, metal material hardened by hard ceramic particles (composite metal matrix or MMC). It is a material partially composed of particles of hardness greater than or equal to 1000 HV, of size between 0.1 and 5 microns.
  • the materials given as examples comprise 92% of the particles of tungsten carbide (WC) embedded in a nickel matrix, which are mixed before being injected into a mold in the shape of the axis. After injection, the blank thus obtained is sintered and the axis is polished, especially at the pivots, using a diamond paste.
  • a composite metal matrix spindle with 92% WC and 8% nickel has a tenacity of 8 MPa.m 1/2 and a hardness greater than 1300 HV.
  • the use of composites comprising particles which are likely to become detached carries a risk .
  • the object of the invention is to provide a watch axis to overcome the disadvantages mentioned above and to improve the watch axes known from the prior art.
  • the invention proposes a hard and tenacious watch axis and whose manufacturing process is simplified.
  • a horological axis according to the invention is defined by claim 1.
  • An axis-guide assembly according to the invention is defined by claim 10.
  • An oscillator according to the invention is defined by claim 13.
  • a watch movement according to the invention is defined by claim 14.
  • a timepiece according to the invention is defined by claim 15.
  • the timepiece is for example a watch, in particular a wristwatch.
  • the timepiece comprises a watch movement 110, in particular a mechanical movement.
  • the watch movement comprises an oscillator 100, in particular a balance oscillator 8 - spiral.
  • the pendulum is for example driven on a balance axis 1.
  • the axis 1 comprises a first pivot 21a, a first beam 22a, a portion 33 for receiving a plate 9, a plate 34 for receiving the balance 8, a portion 32 for receiving the balance 8, a portion 31 for receiving a spiral hoop (not shown), a second pivot 21b and a second hinge 22b.
  • the tigeron portion has a dimension greater than 0.1 mm, or even greater than 0.2 mm, or even greater than 0.25 mm in at least one direction, or even in all directions.
  • the pivot portion has a dimension greater than 0.04 mm, or even greater than 0.05 mm, or even greater than 0.1 mm in at least one direction, or even in all directions.
  • the first portion of tigeron comprises a longitudinal section of the tigeron (or at least the outer surface of a section of the tigeron) over a length of at least 0.2 mm.
  • the first pivot portion comprises a longitudinal portion of the pivot (or at least the outer surface of a portion of the pivot) over a length of at least 0.1 mm.
  • the first and second pivots 21a, 21b provide a pivot function and a force recovery function in case of shock or, more generally, in case of acceleration experienced by the timepiece equipped with the axis.
  • the first and second tiberns 22a and 22b provide a force recovery function in case of impact or, more generally, in case of acceleration experienced by the timepiece equipped with the axis.
  • the portions 31, 32 and 33 each provide a reception function.
  • the second functional portion has a second outer diameter D2 less than 2 mm, or even less than 1 mm, or even less than 0.5 mm.
  • the second functional portion is ceramic.
  • the ratio of the dimension of the second diameter to the dimension of the first diameter is less than 0.9, or even less than 0.8, or even less than 0.6, or even less than 0.5, or even less than 0.4.
  • first functional portion and / or the second functional portion is ceramic means that this functional portion is entirely ceramic.
  • the embodiment of the functional portion made of a material composed of ceramic grains bonded together by a non-ceramic matrix, such as a metal matrix, is excluded.
  • ceramic is meant a homogeneous or substantially homogeneous material, including at the microscopic level.
  • the ceramic is homogeneous in at least one direction, or even in all directions, over a distance greater than 6 ⁇ m, or even greater than 10 ⁇ m, or even greater than 20 ⁇ m. More preferably, the ceramic does not have any non-ceramic material in at least one direction, or even in all directions, over a distance greater than 6 microns, or even greater than 10 microns, or even greater than 20 microns.
  • zirconium oxide and / or alumina may be the predominant elements in ceramics. Nevertheless, the proportion by weight or mole of zirconium oxide and / or alumina may be less than 50%.
  • the ceramic may be predominantly or mainly (in mass or in mole) composed of silicon nitride.
  • silicon nitride may be the predominant element in ceramics. Nevertheless, the proportion by weight or mole of silicon nitride may be less than 50%.
  • ceramics can be one of the ceramics of the table below: Main component Secondary component (s) and proportions Commercial references / resulting composition Hardness [HV1] Stress at break [MPa] Toughness [MPa.m 1 ⁇ 2] ZrO 2 Y 2 O 3 3 mol% TOSOH TZ3Y 1200-1400 900 - 1500 5 to 10 ZrO 2 MgO 3.5wt% Metoxit PSZ 1500 1500 10 ZrO 2 Al 2 O 3 20wt% TOSOH TZ3Y20A 1400-1600 1600-2000 5 to 8 Y 2 O 3 3 mol% ZrO 2 Al 2 O 3 21.5wt% Panasonic NanoZr 1100-1300 900-1300 8 to 18 CeO 2 10.6wt% If 3 N 4 KYOCERA SN-235P 1200-1600 600-850 5 to 8.8 B 4 C TiB 2 5 to 6.9 TiB 2 CNT TiB 2 - TiC - CNT 3 to 5.2
  • the injection or pressing of a preform which only the ends would be ground optimizes the process, including a gain in manufacturing cycle time.
  • CIP cold isostatic pressing
  • Ceramics also offer the additional advantage of being non-magnetic, and not influencing the movement of the timepiece when it is subjected to a magnetic field, especially a magnetic field greater than 32 kA / m (400G). .
  • the entire axis is made of ceramic.
  • the ceramic portion to the first functional portion which includes at least one pivot and / or at least one tigeron.
  • the first portion has a surface of revolution, in particular a cylindrical surface or a conical surface or a frustoconical surface or a curved generating surface.
  • the tiger and the pivot may be confused or at least not be delimited by a straight border as a scope.
  • the tigeron and the pivot may be separated by a frustoconical surface or a curved generating surface.
  • Two variants of a first embodiment of an assembly 41 comprising an axis 1 as described above and at least one guide 51, in particular a bearing 51, the axis being intended to rotate or to pivot in the at least one level, are represented respectively on the figures 2 and 3 .
  • the guide may be in the form of a conventional damping bearing.
  • the at least one Bearing 51 comprises a pivoting stone 511 provided to cooperate with a cylindrical or frustoconical section of a pivot 21 'and a support stone 512 provided to cooperate with an end 212' of the pivot. The stones thus cooperate with the pivot 21 'to pivot and receive, or define axially, the axis in the guide.
  • the axis 1 comprises a pivot 21 'having a convex or convex end 212'.
  • the axis 1 comprises a pivot 21 "having an end 212" hollow or concave.
  • a second embodiment of an assembly 42 comprising an axis 1 as described above and at least one guide, in particular a bearing 52, the axis being intended to rotate or to pivot in the at least one guide, is represented on the figure 4 .
  • the at least one guide 52 comprises a race 521 and balls 522, the balls cooperating by contact on a pivot 21 * with a conical end 212 * to guide the axis in the guide.
  • the end of the pivot 21 * could alternatively present a frustoconical surface. The balls thus roll on both the raceway and the pivot.
  • FIGS. 6 and 7 illustrate the advantages of a ball bearing intended to cooperate with a balance-type oscillator. Indeed, we see on figures 6 and 7 , respectively obtained by measuring in different clock positions an oscillator cooperating with a conventional damping bearing and by measuring in different clock positions an oscillator cooperating with a ball bearing, that the operation of the oscillator oscillator cooperating with a ball bearing has deviations quality factor between the different clock positions lower than those induced by the operation of the oscillator cooperating with a conventional damping bearing.
  • the use of ceramics for the manufacture of the balls and the pivot makes it possible to optimize the use of a ball bearing and to significantly reduce the differences in the quality factor between the different watch positions occupied by the piece. watchmaking.
  • a second embodiment of a watch axis 1 'according to the invention is described below with reference to the figure 5 .
  • This axis 1 ' is intended to be mounted on a pivot axis 6, in particular a pivot axis made of a separate material, in particular a free-cutting steel.
  • the first functional portion may comprise a pivot 2a
  • the second functional portion may for example be in the form of a portion 35 intended to be fixed, in particular by driving or welding, within a bore 36 formed on the body of the pivot axis 6.
  • the invention has been described previously applied to a balance shaft. However, this invention can obviously be applied to any other watch axis, for example a pivot axis of a watchmaker such as a mobile taking part in the finishing line of a watch movement, in particular a center mobile, or a mobile of medium, or a mobile of small average, or a mobile of seconds.
  • a pivot axis of a watchmaker such as a mobile taking part in the finishing line of a watch movement, in particular a center mobile, or a mobile of medium, or a mobile of small average, or a mobile of seconds.
  • a horological axis according to the invention can also be implemented in the context of an optimization of a clock escapement and thus allow the pivoting of an anchor wheel or a blocker or an anchor taking part in the exhaust.
  • this invention can be applied to any watch mobile taking part in an additional horological function, such as a calendar or a chronograph.
  • the first functional portion can provide a translation function.
  • the watch axis is here in the form of a pin 1 "comprising a first functional portion 2a which is in the form of a rod 22a.The latter cooperates with a groove 53 formed within a watch component, for example a hammer 91 chronograph, so as to guide in translation said component, in particular to guide in translation said component in the longitudinal direction of said groove.
  • the pin 1 has a second functional portion which is in the form of a rod 45 intended to be driven within a bore 46 of a blank 81.
  • the first and second functional portions are delimited by a range 450, including a plate 450.
  • the ceramic parts do not require heat treatment or rolling, to obtain high wear resistance performance.

Landscapes

  • Physics & Mathematics (AREA)
  • General Physics & Mathematics (AREA)
  • Engineering & Computer Science (AREA)
  • Manufacturing & Machinery (AREA)
  • Sliding-Contact Bearings (AREA)
  • Compositions Of Oxide Ceramics (AREA)
  • Rolling Contact Bearings (AREA)
  • Electromechanical Clocks (AREA)

Description

  • L'invention concerne un axe horloger, notamment un axe de balancier. L'invention concerne aussi un oscillateur ou un mouvement horloger ou une pièce d'horlogerie comprenant un tel axe.
  • L'axe de balancier est un composant essentiel de l'organe réglant horloger. L'axe de balancier comprend à chaque extrémité un tigeron se prolongeant par un pivot. L'axe de balancier porte notamment le ressort spiral et oscille sur ses pivots dans des paliers. Lors de chocs, les tigerons et les pivots de l'axe constituant des zones de moindre résistance mécanique sont prévus pour reprendre les efforts en jeu. Néanmoins, dans certains cas, notamment lors de chocs de forte intensité, les pivots peuvent être matés à l'encontre de leur palier respectif du fait de leurs faibles dimensions, notamment de leur faible diamètre.
  • L'axe se doit donc:
    • d'avoir une haute limite élastique pour ne pas se déformer plastiquement lors de chocs importants,
    • d'être tenace pour ne pas de rompre lors des chocs importants, et
    • d'être dur, principalement au niveau des pivots, de manière à ne pas s'user ni se marquer lors des chocs courants, et afin d'optimiser le facteur de qualité et l'isochronisme de la pièce d'horlogerie qu'il équipe, l'axe étant constamment en mouvement.
  • Les axes horlogers sont traditionnellement décolletés dans un acier 20AP, puis trempés. Les pivots sont ensuite roulés pour obtenir l'état de surface et la dureté superficielle requis. La dureté atteint typiquement au moins 700HV. Les axes en acier 20AP ou réalisés dans d'autres matériaux métalliques, qu'ils aient été durcis ou non, nécessitent cette opération de roulage au niveau des pivots pour en assurer la précision de fabrication, la tenue dans le temps, par rapport à l'usure mais également par rapport aux chocs, ainsi que pour assurer le fonctionnement optimal du mouvement par la maîtrise des paramètres tribologiques. Cette opération, qui consiste en des étapes de polissage et d'écrouissage superficiel de la surface du pivot, est complexe et délicate, et requiert un grand savoir-faire qui est fortement lié à la maîtrise du procédé par l'homme du métier qui l'applique. Par ailleurs, l'acier 20AP contient du plomb (0.2 % en masse) et devra prochainement être remplacé par un autre acier sans plomb comme le FinemacTM (ou 20C1A). La fabrication de ces axes est identique : ils sont décolletés à partir de barre avant trempe, puis traités thermiquement et trempés pour en augmenter la dureté. Un recuit de détente permet d'assurer une libération des contraintes internes et évite que ces axes ne se brisent comme du verre lors des chocs. Cet acier a pour principal défaut de manquer de dureté au niveau des pivots et de nécessiter de ce fait également une opération de roulage pour atteindre les propriétés finales requises. Ces axes en acier 20AP ou en Finemac sont également ferromagnétiques et peuvent induire des perturbations de la marche si les mouvements dont ils sont équipés sont soumis à des champs magnétiques, par magnétisation résiduelle.
  • Des alternatives à ces axes en acier 20AP ou en Finemac existent, avec des axes en acier austénitique ou en alliages austénitiques à base de cobalt ou de nickel durcis par implantation d'ions carbone ou azote. Ils sont également roulés pour améliorer leurs propriétés. Selon la demande de brevet EP2757423 , des axes ont été réalisés dans un acier inoxydable austénitique de type 316L, dans le but de minimiser la sensibilité aux champs magnétiques, mais les résistances obtenues, de même que les duretés, sont en deçà des caractéristiques requises pour assurer la tenue à l'usure. La solution d'y apposer un revêtement de type DLC (Diamond Like Carbon) a été envisagée, mais des risques de délamination important ont été identifiés. De même, un traitement de surface par nitruration ou carburation destiné à former des nitrures ou des carbures de chrome aurait l'effet envisagé en termes de durcissement de la surface, mais entraînerait une perte de tenue en corrosion préjudiciable à la qualité des composants et du produit. La demande de brevet EP2757423 divulgue une solution de durcissement d'un acier austénitique ou d'un alliage de cobalt austénitique ou d'un alliage de nickel austénitique au moyen d'un traitement thermochimique, visant à intégrer dans les sites interstitiels du réseau cristallin de l'alliage des atomes de carbone ou d'azote destinés à renforcer la matière avant de procéder au roulage du pivot, tout en limitant les risques de corrosion de l'axe. Les duretés ainsi atteintes sont proches de 1000 HV, ce qui positionne théoriquement ce type de pièces à un meilleur niveau que les pièces en acier 20AP.
  • De tels axes nécessitent toutefois aussi un roulage au niveau des pivots pour atteindre la dimension finale, afin d'obtenir notamment un état de surface permettant d'obtenir des performances adéquates en termes de chronométrie. Une telle solution n'est donc pas optimale dans la mesure où celle-ci requiert à minima deux étapes de traitement de l'axe : une étape de durcissement superficielle suivie d'une deuxième étape de roulage.
  • Une alternative décrite dans la demande de brevet EP2757424 et permettant de s'affranchir du roulage est de constituer tout ou partie de l'axe, mais en tous les cas le ou les pivots, en matière métallique durcie par des particules dures en céramique (composite à matrice métallique ou MMC). Il s'agit d'une matière partiellement composée de particules de dureté supérieure ou égale à 1000 HV, de taille entre 0.1 et 5 microns. Les matières données en exemple comportent 92% des particules de carbure de tungstène (WC) intégrées à une matrice de nickel, qui sont mélangées avant d'être injectées dans un moule à la forme de l'axe. Après injection, l'ébauche ainsi obtenue est frittée et l'axe est poli, notamment au niveau des pivots, à l'aide d'une pâte diamantée. Un axe en composite à matrice métallique à 92% de WC et 8% de nickel présente une ténacité de 8 MPa.m1/2 et une dureté supérieure à 1300 HV. Au vu des dimensions typiques des pivots, de l'ordre de 60 microns, et de l'importance de la concentricité et de l'état de surface, l'utilisation de composites comprenant des particules qui risquent de s'en détacher comporte un risque. Il n'existe en effet que peu de recul, dans les dimensions horlogères, sur le comportement à l'usure de ce type de matériaux. Il est à craindre que le détachement des particules de renfort ne viennent prétériter l'intégrité géométrique du ou des pivots.
  • Le but de l'invention est de fournir un axe horloger permettant de remédier aux inconvénients mentionnés précédemment et d'améliorer les axes horlogers connus de l'art antérieur. En particulier, l'invention propose un axe horloger dur et tenace et dont le procédé de fabrication est simplifié.
  • A cette fin, un axe horloger selon l'invention est défini par la revendication 1.
  • Différents modes de réalisation de l'axe horloger selon l'invention sont définis par les revendications 2 à 9.
  • Un ensemble axe-guidage selon l'invention est défini par la revendication 10.
  • Différents modes de réalisation de l'ensemble selon l'invention sont définis par les revendications 11 et 12.
  • Un oscillateur selon l'invention est défini par la revendication 13.
  • Un mouvement horloger selon l'invention est défini par la revendication 14.
  • Une pièce d'horlogerie selon l'invention est définie par la revendication 15.
  • Les figures annexées représentent, à titre d'exemple, trois modes de réalisation d'un axe horloger selon l'invention, différents modes de réalisation de systèmes selon l'invention et un mode de réalisation d'une pièce d'horlogerie selon l'invention.
    • La figure 1 est une vue d'un premier mode de réalisation d'une pièce d'horlogerie selon l'invention, comprenant un premier mode de réalisation d'un axe selon l'invention.
    • La figure 2 est une vue d'une première variante d'un premier mode de réalisation d'un ensemble axe-guidage selon l'invention.
    • La figure 3 est une vue d'une deuxième variante du premier mode de réalisation de l'ensemble axe-guidage selon l'invention.
    • La figure 4 est une vue d'un deuxième mode de réalisation de l'ensemble axe-guidage selon l'invention.
    • La figure 5 est une vue d'un deuxième mode de réalisation de l'axe selon l'invention.
    • La figure 6 est un graphique des variations de facteur de qualité d'un oscillateur balancier-spiral dans différentes positions horlogères, l'oscillateur étant équipé d'un palier amortisseur classique.
    • La figure 7 est un graphique des variations de facteur de qualité d'un oscillateur balancier-spiral dans différentes positions horlogères, l'oscillateur étant équipé d'un palier à billes.
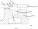
    • La figure 8 est une vue d'un troisième mode de réalisation de l'axe selon l'invention.
    • La figure 9 est une vue en coupe selon le plan A-A de la figure 8 du troisième mode de réalisation de l'axe selon l'invention.
  • Un mode de réalisation d'une pièce d'horlogerie 120 est décrit ci-après en référence à la figure 1. La pièce d'horlogerie est par exemple une montre, en particulier une montre bracelet. La pièce d'horlogerie comprend un mouvement horloger 110, en particulier un mouvement mécanique. Le mouvement horloger comprend un oscillateur 100, notamment un oscillateur balancier 8 - spiral. Le balancier est par exemple chassé sur un axe 1 de balancier.
  • L'axe de balancier 1 comprend une première portion fonctionnelle 2a ; 2b incluant :
    • au moins une partie 221a ; 221b d'un tigeron 22a ; 22b, et/ou
    • au moins une partie 211a ; 211b d'un pivot 21a ; 21b.
    La première portion fonctionnelle est en céramique et la première portion fonctionnelle présente un premier diamètre extérieur D1 inférieur à 0.5 mm, voire inférieur à 0.4 mm, voire inférieur à 0.2 mm, voire inférieur à 0.1 mm.
  • Dans le premier mode de réalisation représenté sur la figure 1, l'axe 1 comprend un premier pivot 21a, un premier tigeron 22a, une portion 33 de réception d'un plateau 9, une assiette 34 de réception du balancier 8, une portion 32 de réception du balancier 8, une portion 31 de réception d'une virole du spiral (non représentée), un deuxième pivot 21b et un deuxième tigeron 22b. Avantageusement, la partie de tigeron présente une dimension supérieure à 0.1 mm, voire supérieure à 0.2 mm, voire supérieure à 0.25 mm selon au moins une direction, voire selon toutes les directions. Avantageusement, la partie de pivot présente une dimension supérieure à 0.04 mm, voire supérieure à 0.05 mm, voire supérieure à 0.1 mm selon au moins une direction, voire selon toutes les directions, De préférence, la première partie de tigeron comprend un tronçon longitudinal du tigeron (ou au moins la surface externe d'un tronçon du tigeron) sur une longueur d'au moins 0.2 mm. De préférence, la première partie de pivot comprend un tronçon longitudinal du pivot (ou au moins la surface externe d'un tronçon du pivot) sur une longueur d'au moins 0.1 mm.
  • Dans le premier mode de réalisation représenté sur la figure 1, l'axe 1 comprend deux premières portions fonctionnelles 2a et 2b incluant chacune :
    • au moins une partie 221a ; 221b d'un tigeron 22a ; 22b, et/ou
    • au moins une partie 211a ; 211b d'un pivot 21a ; 21b.
    Dans le premier mode de réalisation représenté sur la figure 1, les deux premières portions fonctionnelles sont en céramique et chacune des deux premières portions fonctionnelles présente un premier diamètre extérieur D1 inférieur à 0.5 mm, voire inférieur à 0.4 mm, voire inférieur à 0.2 mm, voire inférieur à 0.1 mm.
  • La première portion fonctionnelle peut assurer des fonctions diverses telles que notamment :
    • une fonction de guidage, notamment en pivotement et/ou translation, c'est-à-dire que la portion présente une surface de contact avec un autre composant, en particulier un guidage, pour assurer le pivotement et/ou la translation et qu'il y a un contact et un mouvement relatif entre la portion et cet autre composant, et/ou
    • une fonction de réception, c'est-à-dire que la portion présente une surface de contact avec un autre composant pour assurer le positionnement et/ou le maintien de l'autre composant sur la portion, et/ou
    • une fonction d'engrènement, c'est-à-dire que la portion présente une surface de contact en forme de dents avec un autre composant pour assurer l'engrènement entre la portion et cet autre composant, et/ou
    • une fonction de transmission d'efforts ou de reprise d'efforts, c'est-à-dire que la portion est sollicitée mécaniquement.
  • Dans le premier mode de réalisation représenté sur la figure 1, les premier et deuxième pivots 21a, 21b assurent une fonction de pivotement et une fonction de reprise d'efforts en cas de choc ou, plus généralement, en cas d'accélération subie par la pièce d'horlogerie équipée de l'axe. Les premier et deuxième tigerons 22a et 22b assurent une fonction de reprise d'efforts en cas de choc ou, plus généralement, en cas d'accélération subie par la pièce d'horlogerie équipée de l'axe.
  • L'axe peut aussi présenter une deuxième portion fonctionnelle 3, notamment :
    • une deuxième portion fonctionnelle de réception 31, 32, 33 ; 34 d'un composant horloger, notamment du balancier 8, du plateau 9, de la virole de ressort-spiral, voire d'une roue dentée ou d'un autre axe 6 dans un autre mode de réalisation qui sera décrit plus bas, ou
    • une deuxième portion de pivotement d'un composant horloger, comme une roue, sur l'axe dans un autre mode de réalisation, de façon à permettre le pivotement de ce composant horloger vis-à-vis de l'axe, ou
    • une deuxième portion d'engrènement, notamment une denture, dans un autre mode de réalisation.
  • Dans le premier mode de réalisation représenté sur la figure 1, les portions 31, 32 et 33 assurent chacune une fonction de réception.
  • Avantageusement, la deuxième portion fonctionnelle présente un deuxième diamètre extérieur D2 inférieur à 2 mm, voire inférieur à 1 mm, voire inférieur à 0.5 mm. De préférence, la deuxième portion fonctionnelle est en céramique.
  • Avantageusement encore, le rapport de la dimension du deuxième diamètre sur la dimension du premier diamètre est inférieur à 0.9, voire inférieur à 0.8, voire inférieur à 0.6, voire inférieur à 0.5, voire inférieur à 0.4.
  • Le fait que la première portion fonctionnelle et/ou la deuxième portion fonctionnelle soit en céramique signifie que cette portion fonctionnelle est intégralement en céramique. La réalisation de la portion fonctionnelle en un matériau composé de grains de céramique liés entre eux par une matrice non céramique, comme une matrice métallique, est exclue. Par « céramique », on entend un matériau homogène ou sensiblement homogène, y compris au niveau microscopique. De préférence, la céramique est homogène dans au moins une direction, voire dans toutes les directions, sur une distance supérieure à 6 µm, voire supérieure à 10 µm, voire supérieure à 20 µm. De préférence encore, la céramique ne présente pas de matériau non-céramique dans au moins une direction, voire dans toutes les directions, sur une distance supérieure à 6 µm, voire supérieure à 10 µm, voire supérieure à 20 µm.
  • Avantageusement, la céramique est majoritairement ou principalement (en masse ou en mole) composée :
    • d'oxyde de zirconium, et/ou
    • d'alumine.
  • Ainsi, l'oxyde de zirconium et/ou l'alumine peuvent être les éléments prépondérants dans la céramique. Néanmoins, la proportion en masse ou en mole d'oxyde de zirconium et/ou d'alumine peut être inférieure à 50 %.
  • Eventuellement, la céramique comprend, en plus de l'oxyde de zirconium et/ou de l'alumine, un ou plusieurs des éléments suivants :
    • nanotubes de carbone,
    • graphène,
    • fullérènes,
    • oxyde d'yttrium,
    • oxyde de cérium,
    • carbure de zirconium,
    • carbure de silicium,
    • carbure de titane,
    • borure de zirconium,
    • nitrure de bore,
    • nitrure de titane et
    • nitrure de silicium.
  • Alternativement, la céramique peut être majoritairement ou principalement (en masse ou en mole) composée de nitrure de silicium.
  • Ainsi, le nitrure de silicium peut être l'élément prépondérant dans la céramique. Néanmoins, la proportion en masse ou en mole de nitrure de silicium peut être inférieure à 50 %.
  • Eventuellement, la céramique comprend, en plus du nitrure de silicium, un ou plusieurs des éléments suivants :
    • nanotubes de carbone,
    • graphène,
    • fullérènes,
    • oxyde de zirconium,
    • oxyde d'aluminium,
    • oxyde d'yttrium,
    • oxyde de cérium,
    • carbure de zirconium,
    • carbure de silicium,
    • carbure de titane,
    • borure de zirconium,
    • nitrure de bore et
    • nitrure de titane.
  • Par exemple, la céramique peut être l'une des céramiques du tableau ci-dessous :
    Composant principal Composant(s) secondaire(s) et proportions Références commerciales / composition résultante Dureté [HV1] Contrainte à la rupture [MPa] Ténacité [MPa.m ½]
    ZrO2 Y2O3 3% mol TOSOH TZ3Y 1200-1400 900 - 1500 5 à 10
    ZrO2 MgO 3.5wt% Metoxit PSZ 1500 1500 10
    ZrO2 Al2O3 20wt% TOSOH TZ3Y20A 1400-1600 1600-2000 5 à 8
    Y2O3 3% mol
    ZrO2 Al2O3 21.5wt% Panasonic NanoZr 1100-1300 900-1300 8 à 18
    CeO2 10.6wt%
    Si3N4 KYOCERA SN-235P 1200-1600 600-850 5 à 8.8
    B4C TiB2 5 à 6.9
    TiB2 CNT TiB2 - TiC - CNT 3 à 5.2
  • Il peut être envisagé de réaliser un axe à partir d'un fil extrudé en céramique, à l'aide de différentes meules diamant. A l'issue de ces étapes, les pièces peuvent être conformes géométriquement et d'une dureté suffisante pour se passer de post-traitement.
  • Alternativement, l'injection ou le pressage d'une préforme dont seules les extrémités seraient meulées permet d'optimiser le procédé, notamment par un gain du temps de cycle de fabrication.
  • Alternativement encore, d'autres techniques de fabrication permettent d'améliorer encore les propriétés des pièces obtenues, comme le pressage isostatique à froid (CIP), en réduisant le nombre de défauts présents dans la matière avant qu'elle ne soit usinée. Ceci augmente notamment sa ténacité.
  • De par les propriétés intrinsèques des céramiques citées précédemment, extrêmement dures, les pivots ne se marquent pas lors des chocs et la performance est maintenue dans la durée. Avantageusement, en cas de choc important, ces pivots ne se déformeront pas, a contrario des pivots en acier qui peuvent plier et de ce fait porter atteinte à la chronométrie de la pièce d'horlogerie. Ainsi, les céramiques telles que présentées plus haut permettent de maintenir l'intégrité géométrique des pivots dans le temps.
  • Les céramiques offrent par ailleurs l'avantage supplémentaire d'être amagnétiques, et de ne pas influencer la marche de la pièce d'horlogerie lorsqu'elle est soumise à un champ magnétique, notamment un champ magnétique supérieur à 32 kA/m (400G).
  • Avantageusement, l'entier de l'axe est réalisé en céramique. Toutefois, il est envisageable de limiter la partie en céramique à la première portion fonctionnelle qui inclut au moins un pivot et/ou au moins un tigeron.
  • Avantageusement, la première portion présente une surface de révolution, notamment une surface cylindrique ou une surface conique ou une surface tronconique ou une surface à génératrice courbe. Le tigeron et le pivot peuvent être confondus ou tout au moins ne pas être délimités par une frontière franche comme une portée. Par exemple, le tigeron et le pivot peuvent être séparés par une surface tronconique ou une surface à génératrice courbe.
  • Deux variantes d'un premier mode de réalisation d'un ensemble 41 comprenant un axe 1 tel que décrit précédemment et au moins un guidage 51, notamment un palier 51, l'axe étant destiné à tourner ou à pivoter dans l'au moins un palier, sont représentées respectivement sur les figures 2 et 3.
  • Le guidage peut se présenter sous la forme d'un palier amortisseur conventionnel. Ainsi, dans le premier mode de réalisation, l'au moins un palier 51 comprend une pierre de pivotement 511 prévue pour coopérer avec une section cylindrique ou tronconique d'un pivot 21' et une pierre de contre appui 512 prévue pour coopérer avec une extrémité 212' du pivot. Les pierres coopèrent donc avec le pivot 21' pour pivoter et réceptionner, ou délimiter axialement, l'axe dans le guidage.
  • Dans la première variante du premier mode de réalisation de l'ensemble, l'axe 1 comprend un pivot 21' présentant une extrémité 212' bombée ou convexe.
  • Dans la deuxième variante du premier mode de réalisation de l'ensemble, l'axe 1 comprend un pivot 21" présentant une extrémité 212" creusée ou concave.
  • Le fait d'avoir des axes en céramique, matériau à la fois dur et tenace, permet d'obtenir des géométries qui peuvent optimiser et pérenniser le contact au niveau du pivot et du palier dans lequel il pivote, notamment au niveau des extrémités de pivot. Ceci serait difficilement envisageable avec les alliages conventionnels tels que l'acier 20AP roulés où le risque de perte de performances au porter serait plus important, du fait notamment de pressions de contact trop conséquentes.
  • Un deuxième mode de réalisation d'un ensemble 42 comprenant un axe 1 tel que décrit précédemment et au moins un guidage, notamment un palier 52, l'axe étant destiné à tourner ou à pivoter dans l'au moins un guidage, est représenté sur la figure 4. Dans ce deuxième mode de réalisation, l'au moins un guidage 52 comprend un chemin de roulement 521 et des billes 522, les billes coopérant par contact sur un pivot 21* doté d'une extrémité conique 212* pour guider l'axe dans le guidage. Bien entendu, l'extrémité du pivot 21* pourrait alternativement présenter une surface tronconique. Les billes roulent ainsi à la fois sur le chemin de roulement et sur le pivot.
  • Les figures 6 et 7 illustrent les avantages d'un palier à billes prévu pour coopérer avec un oscillateur de type balancier-spiral. En effet, on voit sur les figures 6 et 7, obtenues respectivement en mesurant dans différentes positions horlogères un oscillateur coopérant avec un palier amortisseur classique et en mesurant dans différentes positions horlogères un oscillateur coopérant avec un palier à billes, que le fonctionnement de l'oscillateur oscillateur coopérant avec un palier à billes présente des écarts de facteur de qualité entre les différentes positions horlogère plus faibles que ceux induits par le fonctionnement de l'oscillateur coopérant avec un palier amortisseur classique.
  • Toutefois, il est essentiel, pour le bon fonctionnement du pivotement et la réduction des écarts de marche en position, que la géométrie des pivots soit pérenne dans le temps, quelles que soient les contraintes et chocs subis par la montre, ceci pour toutes les géométries de pivots. Ceci est encore plus critique dans certains cas : en effet, si un pivot associé à un palier à billes se mate ou présente des déformations plastiques suite à des chocs, une grande partie de l'avantage de la solution est perdue.
  • Ainsi, l'emploi des céramiques pour la fabrication des billes et du pivot permet d'optimiser l'utilisation d'un palier à billes et de réduire de manière importante les écarts de facteur de qualité entre les différentes positions horlogère qu'occupe la pièce d'horlogerie.
  • Un deuxième mode de réalisation d'un axe horloger 1' selon l'invention est décrit ci-après en référence à la figure 5.
  • Cet axe 1' est prévu pour être rapporté sur un axe de pivotement 6, notamment un axe de pivotement fait d'un matériau distinct, notamment un acier de décolletage.
  • Ainsi, la première portion fonctionnelle peut comprendre un pivot 2a, mais la deuxième portion fonctionnelle peut par exemple se présenter sous la forme d'une portion 35 destinée à être fixée, notamment par chassage ou soudage, au sein d'un alésage 36 formé sur le corps de l'axe 6 de pivotement.
  • L'invention a été décrite précédemment appliquée à un axe de balancier. Toutefois, cette invention peut évidemment être appliquée à tout autre axe horloger, par exemple un axe de pivotement d'un mobile horloger tel qu'un mobile prenant part à la chaîne de finissage d'un mouvement horloger, en particulier un mobile de centre, ou un mobile de grande moyenne, ou un mobile de petite moyenne, ou un mobile des secondes.
  • Un axe horloger selon l'invention peut également être mis en œuvre dans le cadre d'une optimisation d'un échappement horloger et ainsi permettre le pivotement d'une roue d'ancre ou d'un bloqueur ou d'une ancre prenant part à l'échappement. Bien entendu, cette invention peut être appliquée à tout mobile horloger prenant part à une fonction horlogère additionnelle, tel qu'un calendrier ou un chronographe.
  • Dans un mode de réalisation alternatif, représenté sur les figures 8 et 9, la première portion fonctionnelle peut assurer une fonction de translation. L'axe horloger se présente ici sous la forme d'une goupille 1" comprenant une première portion fonctionnelle 2a qui se présente sous la forme d'un tigeron 22a. Ce dernier coopère avec une rainure 53 formée au sein d'un composant horloger, par exemple un marteau 91 de chronographe, de façon à guider en translation ledit composant, notamment guider en translation ledit composant selon la direction longitudinale de ladite rainure. La goupille 1" présente une deuxième portion fonctionnelle qui se présente sous la forme d'un tigeron 45 prévu pour être chassé au sein d'un alésage 46 d'une ébauche 81 d'horlogerie. Dans ce mode de réalisation, les première et deuxième portions fonctionnelles sont délimitées par une portée 450, notamment une assiette 450.
  • Une fois mises en forme, les pièces en céramique ne nécessitent ni traitement thermique, ni roulage, pour obtenir de hautes performances de résistance à l'usure.

Claims (15)

  1. Axe horloger (1 ; 1' ; 1"), notamment axe de balancier (1), comprenant une première portion fonctionnelle (2a ; 2b) incluant au moins une partie (221a; 221b) d'un tigeron (22a; 22b) et/ou au moins une partie (211a ; 211b) d'un pivot (21a ; 21b ; 21' ; 21" ; 21*), caractérisé en ce que la première portion fonctionnelle est intégralement en céramique et un premier diamètre extérieur (D1) de la première portion fonctionnelle est inférieur à 0.5 mm, voire inférieur à 0.4 mm, voire inférieur à 0.2 mm, voire inférieur à 0.1 mm.
  2. Axe selon la revendication précédente, caractérisé en ce que la céramique est majoritairement composée :
    - d'oxyde de zirconium, ou
    - d'alumine, ou
    - d'une combinaison de ces deux oxydes,
    éventuellement additionnée de l'un ou de plusieurs des éléments suivants :
    - nanotubes de carbone,
    - graphène,
    - fullérènes,
    - oxyde d'yttrium,
    - oxyde de cérium,
    - carbure de zirconium,
    - carbure de silicium,
    - carbure de titane,
    - borure de zirconium,
    - nitrure de bore,
    - nitrure de titane, et
    - nitrure de silicium.
  3. Axe selon la revendication 1, caractérisé en ce que la céramique est majoritairement composée de nitrure de silicium, éventuellement additionnée de l'un ou de plusieurs des éléments suivants :
    - nanotubes de carbone,
    - graphène,
    - fullérènes,
    - oxyde de zirconium,
    - oxyde d'aluminium,
    - oxyde d'yttrium,
    - oxyde de cérium,
    - carbure de zirconium,
    - carbure de silicium,
    - carbure de titane,
    - borure de zirconium,
    - nitrure de bore et
    - nitrure de titane.
  4. Axe selon l'une des revendications précédentes, caractérisé en ce que la première portion présente une surface de révolution, notamment une surface cylindrique ou une surface conique ou une surface tronconique ou une surface à génératrice courbe.
  5. Axe selon l'une des revendications précédentes, caractérisé en ce que l'axe ou la première portion fonctionnelle présente une extrémité convexe (212') ou concave (212") ou conique (212*) ou tronconique.
  6. Axe selon l'une des revendications précédentes, caractérisé en ce qu'il présente une deuxième portion fonctionnelle (3), notamment :
    - une deuxième portion fonctionnelle de réception (31, 32, 33 ; 34 ; 35 ; 45) d'un composant horloger, notamment un balancier, un plateau, une virole de ressort-spiral, une roue dentée, un autre axe (6), une ébauche (81) ou
    - une deuxième portion de pivotement d'un composant horloger sur l'axe, ou
    - une deuxième portion d'engrènement, notamment une denture.
  7. Axe selon la revendication précédente, caractérisé en ce que la deuxième portion fonctionnelle présente un deuxième diamètre extérieur (D2) inférieur à 2 mm, voire inférieur à 1 mm, voire inférieur à 0.5 mm.
  8. Axe selon la revendication précédente, caractérisé en ce que le rapport de la dimension du deuxième diamètre sur la dimension du premier diamètre est inférieur à 0.9, voire inférieur à 0.8, voire inférieur à 0.6, voire inférieur à 0.5, voire inférieur à 0.4.
  9. Axe selon l'une des revendications précédentes, caractérisé en ce que l'axe est réalisé intégralement en céramique.
  10. Ensemble (41 ; 42) comprenant un axe (1) selon l'une des revendications précédentes et au moins un guidage (51 ; 52 ; 53), notamment un palier (51 ; 52) ou une rainure (53), l'axe étant destiné à :
    - tourner ou pivoter dans l'au moins un guidage ; et/ou
    - se translater dans l'au moins un guidage.
  11. Ensemble (41) selon la revendication précédente, caractérisé en ce que l'au moins un guidage (51) comprend une pierre de pivotement (511) et une pierre de contre appui (512), les pierres coopérant avec le pivot pour guider l'axe dans le guidage.
  12. Ensemble (42) selon la revendication 10, caractérisé en ce que l'au moins un guidage (52) comprend un chemin de roulement (521) et des billes (522), les billes coopérant par contact sur le pivot (21*) pour guider l'axe dans le guidage.
  13. Oscillateur (100) du type balancier-spiral comprenant un axe (1 ; 1') selon l'une des revendications 1 à 9 et/ou un ensemble selon l'une des revendications 10 à 12.
  14. Mouvement horloger (110) comprenant un oscillateur (100) selon la revendication précédente et/ou un ensemble selon l'une des revendications 10 à 12 et/ou un axe (1 ; 1' ; 1") selon l'une des revendications 1 à 9.
  15. Pièce d'horlogerie (120) comprenant un mouvement horloger (110) selon la revendication précédente et/ou un oscillateur (100) selon la revendication 13 et/ou un ensemble selon l'une des revendications 10 à 12 et/ou un axe (1 ; 1' ; 1") selon l'une des revendications 1 à 9.
EP16174244.0A 2016-06-13 2016-06-13 Axe horloger Active EP3258325B1 (fr)

Priority Applications (12)

Application Number Priority Date Filing Date Title
EP16174244.0A EP3258325B1 (fr) 2016-06-13 2016-06-13 Axe horloger
EP19183765.7A EP3584640B1 (fr) 2016-06-13 2016-06-13 Oscillateur horloger
EP22216886.6A EP4177677A1 (fr) 2016-06-13 2016-06-13 Axe horloger
US15/618,859 US20170357213A1 (en) 2016-06-13 2017-06-09 Timepiece shaft
JP2017114859A JP7214335B2 (ja) 2016-06-13 2017-06-12 時計軸
CN202110419759.3A CN113110010A (zh) 2016-06-13 2017-06-12 计时器的轴
CN201710439362.4A CN107490950B (zh) 2016-06-13 2017-06-12 计时器的轴
CH00766/17A CH712552B1 (fr) 2016-06-13 2017-06-13 Axe horloger, ainsi qu'ensemble axe-guidage, oscillateur balancier-spiral, mouvement horloger et pièce d'horlogerie comprenant un tel axe.
US17/877,578 US11982977B2 (en) 2016-06-13 2022-07-29 Method of manufacturing a timepiece shaft
JP2022176828A JP2023011848A (ja) 2016-06-13 2022-11-04 時計軸
US18/661,843 US20240295853A1 (en) 2016-06-13 2024-05-13 Timepiece shaft
JP2025043328A JP2025090819A (ja) 2016-06-13 2025-03-18 時計軸と、少なくとも1つのガイドとを含む、組立品

Applications Claiming Priority (1)

Application Number Priority Date Filing Date Title
EP16174244.0A EP3258325B1 (fr) 2016-06-13 2016-06-13 Axe horloger

Related Child Applications (3)

Application Number Title Priority Date Filing Date
EP19183765.7A Division EP3584640B1 (fr) 2016-06-13 2016-06-13 Oscillateur horloger
EP19183765.7A Division-Into EP3584640B1 (fr) 2016-06-13 2016-06-13 Oscillateur horloger
EP22216886.6A Division EP4177677A1 (fr) 2016-06-13 2016-06-13 Axe horloger

Publications (2)

Publication Number Publication Date
EP3258325A1 EP3258325A1 (fr) 2017-12-20
EP3258325B1 true EP3258325B1 (fr) 2019-10-30

Family

ID=56120978

Family Applications (3)

Application Number Title Priority Date Filing Date
EP22216886.6A Pending EP4177677A1 (fr) 2016-06-13 2016-06-13 Axe horloger
EP19183765.7A Revoked EP3584640B1 (fr) 2016-06-13 2016-06-13 Oscillateur horloger
EP16174244.0A Active EP3258325B1 (fr) 2016-06-13 2016-06-13 Axe horloger

Family Applications Before (2)

Application Number Title Priority Date Filing Date
EP22216886.6A Pending EP4177677A1 (fr) 2016-06-13 2016-06-13 Axe horloger
EP19183765.7A Revoked EP3584640B1 (fr) 2016-06-13 2016-06-13 Oscillateur horloger

Country Status (5)

Country Link
US (3) US20170357213A1 (fr)
EP (3) EP4177677A1 (fr)
JP (3) JP7214335B2 (fr)
CN (2) CN107490950B (fr)
CH (1) CH712552B1 (fr)

Cited By (2)

* Cited by examiner, † Cited by third party
Publication number Priority date Publication date Assignee Title
EP4242753A1 (fr) 2022-03-11 2023-09-13 ETA SA Manufacture Horlogère Suisse Dispositif pour guider un arbre d'un balancier a ressort spiral
EP4242752A1 (fr) 2022-03-11 2023-09-13 ETA SA Manufacture Horlogère Suisse Dispositif pour guider un arbre d'un balancier a ressort spiral

Families Citing this family (14)

* Cited by examiner, † Cited by third party
Publication number Priority date Publication date Assignee Title
EP4177677A1 (fr) * 2016-06-13 2023-05-10 Rolex Sa Axe horloger
EP3273304B1 (fr) * 2016-07-19 2021-11-10 Nivarox-FAR S.A. Pièce pour mouvement d'horlogerie
EP3594757B1 (fr) * 2018-07-10 2021-05-26 Blancpain SA Composant d'horlogerie avec partie arbree amagnetique en ceramique
JP7143675B2 (ja) * 2018-08-14 2022-09-29 セイコーエプソン株式会社 時計用部品、ムーブメントおよび時計
EP3627238A1 (fr) * 2018-09-21 2020-03-25 Nivarox-FAR S.A. Organe de maintien élastique pour la fixation d'un composant d'horlogerie sur un élément de support
CH715613A1 (fr) * 2018-12-06 2020-06-15 Richemont Int Sa Procédé de réalisation d'un axe de balancier et axe de balancier.
EP3671368B1 (fr) 2018-12-20 2022-11-23 The Swatch Group Research and Development Ltd Palier, notamment amortisseur de choc, et mobile tournant d'un mouvement horloger
EP3722887A1 (fr) 2019-04-12 2020-10-14 Rolex Sa Procede de realisation d'une surface de revolution d'un composant horloger
EP3742236B1 (fr) * 2019-05-23 2025-04-09 Rolex Sa Dispositif horloger comprenant un premier composant fixé sur un deuxième composant par déformation plastique
WO2023036928A1 (fr) 2021-09-09 2023-03-16 Rolex Sa Élément inertiel pour mouvement horloger
JP2023132511A (ja) * 2022-03-11 2023-09-22 セイコーウオッチ株式会社 緩急針、ムーブメント及び時計
JP2025533082A (ja) 2022-10-03 2025-10-03 ロレックス・ソシエテ・アノニム 時計シャフト
EP4386485A1 (fr) 2022-12-16 2024-06-19 Rolex Sa Procédé de fabrication d'un composant horloger
EP4625063A1 (fr) * 2024-03-28 2025-10-01 Richemont International S.A. Balancier de mouvement horloger et procede de fabrication d'un tel balancier

Citations (12)

* Cited by examiner, † Cited by third party
Publication number Priority date Publication date Assignee Title
CH269552A (fr) 1946-10-19 1950-07-15 Linde Air Prod Co Dispositif à pivot.
GB655161A (en) 1946-10-19 1951-07-11 Linde Air Prod Co Improvements in the pivotal mountings of machine or instrument parts
JPS5135528B2 (fr) 1973-05-02 1976-10-02
JP3055407B2 (ja) 1993-12-24 2000-06-26 セイコーエプソン株式会社 時計用摺動部品およびその製造方法、および時計
US6755566B2 (en) 2001-02-15 2004-06-29 Konrad Damasko Clockwork
GB2416408B (en) 2003-10-20 2006-06-07 Gideon Levingston Balance wheel, balance spring and other components and assemblies for a mechanical oscillator system and method of manufacture
EP2142965B1 (fr) 2007-04-26 2010-11-10 ETA SA Manufacture Horlogère Suisse Dispositif de pivotement d'un arbre dans une piece d'horlogerie
EP2735540A1 (fr) 2012-11-22 2014-05-28 Diamaze Microtechnology S.A. Composant micromécanique composite ayant un revêtement, son procédé de fabrication et son utilisation
EP2757424A1 (fr) 2013-01-17 2014-07-23 Omega SA Pièce pour mouvement d'horlogerie
CH702431B1 (fr) 2009-12-21 2015-05-29 Suisse Electronique Microtech Procédé de fabrication d'une pièce micromécanique.
WO2015185423A2 (fr) 2014-06-03 2015-12-10 Nivarox-Far S.A. Composant horloger en materiaux soudes
EP2727880B1 (fr) 2012-11-05 2016-06-08 GFD Gesellschaft für Diamantprodukte mbH Composant micromécanique tridimensionnel chanfreiné pour mouvement d'horlogerie et son procédé de fabrication

Family Cites Families (29)

* Cited by examiner, † Cited by third party
Publication number Priority date Publication date Assignee Title
US2027788A (en) * 1934-03-08 1936-01-14 Norton Co Bearing
JPS484508Y1 (fr) * 1968-10-22 1973-02-05
NL7107454A (fr) 1971-05-29 1972-12-01
JPH1081562A (ja) * 1996-09-02 1998-03-31 Sumitomo Electric Ind Ltd 黒色ジルコニア焼結体およびその製造方法
JP3631621B2 (ja) * 1998-08-31 2005-03-23 京セラ株式会社 時計用文字盤
JP2002071842A (ja) * 2000-09-04 2002-03-12 Citizen Watch Co Ltd アナログ式電子時計
EP1233314A1 (fr) * 2001-02-15 2002-08-21 DAMASKO, Konrad Mouvement d'horlogerie
US20020135108A1 (en) * 2001-03-23 2002-09-26 Billiet Romain L. Polycrystalline watch jewels and method of fabrication thereof
JP3616593B2 (ja) * 2001-10-30 2005-02-02 リズム時計工業株式会社 振り子装置
FR2842313B1 (fr) 2002-07-12 2004-10-22 Gideon Levingston Oscilliateur mecanique (systeme balancier et ressort spiral) en materiaux permettant d'atteindre un niveau superieur de precision, applique a un mouvement d'horlogerie ou autre instrument de precision
ATE416401T1 (de) * 2005-06-28 2008-12-15 Eta Sa Mft Horlogere Suisse Verstärktes mikromechanisches teil
EP2102717B1 (fr) 2006-12-21 2013-06-26 CompliTime S.A. Oscillateur mecanique pour une piece d'horlogerie
CH700154B1 (fr) * 2008-12-24 2014-03-14 Complitime Sa Pièce d'horlogerie comprenant un organe de pivotement.
JP5526870B2 (ja) * 2009-04-06 2014-06-18 セイコーエプソン株式会社 時計輪列、および時計
JP2013238627A (ja) * 2009-04-06 2013-11-28 Seiko Epson Corp 時計輪列、および時計
JP5435635B2 (ja) * 2009-10-07 2014-03-05 セイコーインスツル株式会社 時計用軸受ユニット、ムーブメントおよび携帯用時計
JP5455115B2 (ja) 2009-10-07 2014-03-26 セイコーインスツル株式会社 時計用軸受、ムーブメントおよび携帯用時計
JP5135528B2 (ja) 2010-04-28 2013-02-06 セイコーインスツル株式会社 電鋳部品の製造方法と機械式時計およびアナログ電子時計
US9016933B2 (en) * 2011-07-29 2015-04-28 Rolex S.A. Balance wheel assembly with optimized pivoting
EP2771743B8 (fr) 2011-10-24 2025-01-01 Rolex S.A. Oscillateur de mouvement horloger
CH705836B1 (fr) 2011-12-02 2016-01-15 Lvmh Swiss Mft Sa Pièce d'horlogerie.
CH705905B1 (fr) * 2011-12-15 2023-05-31 Eta Sa Mft Horlogere Suisse Palier antichoc à membrane pour pièce d'horlogerie.
CH705906B1 (fr) * 2011-12-15 2017-07-14 Eta Sa Mft Horlogère Suisse Système amortisseur de chocs pour un axe d'un mobile d'une pièce d'horlogerie.
JP2013170821A (ja) * 2012-02-17 2013-09-02 Seiko Instruments Inc 時計用軸受ユニット、ムーブメント及び時計
CH707060B1 (fr) * 2012-10-04 2017-05-31 Swatch Group Res & Dev Ltd Afficheur horloger lumineux.
EP2757423B1 (fr) 2013-01-17 2018-07-11 Omega SA Pièce pour mouvement d'horlogerie
CH708654A2 (fr) * 2013-10-01 2015-04-15 Rado Montres Sa Procédé de fabrication d'un élément céramique incrusté d'une pièce d'horlogerie et pièces d'horlogerie incluant de tels éléments.
EP2952979B1 (fr) * 2014-06-03 2017-03-01 Nivarox-FAR S.A. Composant horloger à base de verre photostructurable
EP4177677A1 (fr) * 2016-06-13 2023-05-10 Rolex Sa Axe horloger

Patent Citations (12)

* Cited by examiner, † Cited by third party
Publication number Priority date Publication date Assignee Title
CH269552A (fr) 1946-10-19 1950-07-15 Linde Air Prod Co Dispositif à pivot.
GB655161A (en) 1946-10-19 1951-07-11 Linde Air Prod Co Improvements in the pivotal mountings of machine or instrument parts
JPS5135528B2 (fr) 1973-05-02 1976-10-02
JP3055407B2 (ja) 1993-12-24 2000-06-26 セイコーエプソン株式会社 時計用摺動部品およびその製造方法、および時計
US6755566B2 (en) 2001-02-15 2004-06-29 Konrad Damasko Clockwork
GB2416408B (en) 2003-10-20 2006-06-07 Gideon Levingston Balance wheel, balance spring and other components and assemblies for a mechanical oscillator system and method of manufacture
EP2142965B1 (fr) 2007-04-26 2010-11-10 ETA SA Manufacture Horlogère Suisse Dispositif de pivotement d'un arbre dans une piece d'horlogerie
CH702431B1 (fr) 2009-12-21 2015-05-29 Suisse Electronique Microtech Procédé de fabrication d'une pièce micromécanique.
EP2727880B1 (fr) 2012-11-05 2016-06-08 GFD Gesellschaft für Diamantprodukte mbH Composant micromécanique tridimensionnel chanfreiné pour mouvement d'horlogerie et son procédé de fabrication
EP2735540A1 (fr) 2012-11-22 2014-05-28 Diamaze Microtechnology S.A. Composant micromécanique composite ayant un revêtement, son procédé de fabrication et son utilisation
EP2757424A1 (fr) 2013-01-17 2014-07-23 Omega SA Pièce pour mouvement d'horlogerie
WO2015185423A2 (fr) 2014-06-03 2015-12-10 Nivarox-Far S.A. Composant horloger en materiaux soudes

Non-Patent Citations (2)

* Cited by examiner, † Cited by third party
Title
DANIELS GEORGE: "La montre : Principes et méthodes de fabrication. Passage", 1 January 1993, EDITIONS SCRIPTAR S.A., LA CONVERSION/SUISSE, pages: 80 - 81, XP055791472
NARDIN M, BOOLSKY R.: "Nouveaux pivotages de balanciers", 06 CONGRÈS INTL. DE CHRONO, 1 January 1959 (1959-01-01), pages 695 - 700, XP055791478

Cited By (2)

* Cited by examiner, † Cited by third party
Publication number Priority date Publication date Assignee Title
EP4242753A1 (fr) 2022-03-11 2023-09-13 ETA SA Manufacture Horlogère Suisse Dispositif pour guider un arbre d'un balancier a ressort spiral
EP4242752A1 (fr) 2022-03-11 2023-09-13 ETA SA Manufacture Horlogère Suisse Dispositif pour guider un arbre d'un balancier a ressort spiral

Also Published As

Publication number Publication date
CN107490950B (zh) 2021-05-07
CH712552B1 (fr) 2021-12-15
JP2023011848A (ja) 2023-01-24
US20240295853A1 (en) 2024-09-05
EP3584640A1 (fr) 2019-12-25
EP3584640B1 (fr) 2023-01-11
US11982977B2 (en) 2024-05-14
US20220373977A1 (en) 2022-11-24
EP4177677A1 (fr) 2023-05-10
JP7214335B2 (ja) 2023-01-30
CN107490950A (zh) 2017-12-19
CH712552A2 (fr) 2017-12-15
CN113110010A (zh) 2021-07-13
US20170357213A1 (en) 2017-12-14
JP2025090819A (ja) 2025-06-17
EP3258325A1 (fr) 2017-12-20
JP2018028529A (ja) 2018-02-22

Similar Documents

Publication Publication Date Title
EP3258325B1 (fr) Axe horloger
EP2757424B1 (fr) Pièce pour mouvement d'horlogerie
EP2757423B1 (fr) Pièce pour mouvement d'horlogerie
EP3743538B1 (fr) Axe de pivotement d'un organe reglant et son procédé de fabrication
EP3273303B1 (fr) Pièce pour mouvement d'horlogerie
CH707504A2 (fr) Axe de pivotement en métal pour mouvement horloger et procédé de fabrication d'un tel axe.
CH712719A2 (fr) Composant horloger pour mouvement d'horlogerie.
EP3273304B1 (fr) Pièce pour mouvement d'horlogerie
EP3273305B1 (fr) Pièce pour mouvement d'horlogerie
EP3800511B1 (fr) Axe de pivotement d'un organe réglant
EP3940112B1 (fr) Procede d amelioration d'un materiau de piece horlogere
CH718551A2 (fr) Procédé de fabrication d'un axe de pivotement de type horloger.
WO2022223477A1 (fr) Composant horloger et procede de fabrication d'un tel composant horloger
EP4327162A1 (fr) Procede de fabrication d'un axe de pivotement de type horloger
CH707505B1 (fr) Axe de pivotement en métal pour mouvement horloger et procédé de fabrication d'un tel axe.
CH718549A2 (fr) Composant horloger et procédé de fabrication d'un tel composant horloger.
CH716664A2 (fr) Composant horloger amagnétique et dur, notamment axe de pivotement d'un organe réglant.
CH712720A2 (fr) Axe de pivotement pour mouvement horloger.

Legal Events

Date Code Title Description
PUAI Public reference made under article 153(3) epc to a published international application that has entered the european phase

Free format text: ORIGINAL CODE: 0009012

STAA Information on the status of an ep patent application or granted ep patent

Free format text: STATUS: THE APPLICATION HAS BEEN PUBLISHED

AK Designated contracting states

Kind code of ref document: A1

Designated state(s): AL AT BE BG CH CY CZ DE DK EE ES FI FR GB GR HR HU IE IS IT LI LT LU LV MC MK MT NL NO PL PT RO RS SE SI SK SM TR

AX Request for extension of the european patent

Extension state: BA ME

STAA Information on the status of an ep patent application or granted ep patent

Free format text: STATUS: REQUEST FOR EXAMINATION WAS MADE

17P Request for examination filed

Effective date: 20180619

RBV Designated contracting states (corrected)

Designated state(s): AL AT BE BG CH CY CZ DE DK EE ES FI FR GB GR HR HU IE IS IT LI LT LU LV MC MK MT NL NO PL PT RO RS SE SI SK SM TR

GRAP Despatch of communication of intention to grant a patent

Free format text: ORIGINAL CODE: EPIDOSNIGR1

STAA Information on the status of an ep patent application or granted ep patent

Free format text: STATUS: GRANT OF PATENT IS INTENDED

INTG Intention to grant announced

Effective date: 20190111

TPAC Observations filed by third parties

Free format text: ORIGINAL CODE: EPIDOSNTIPA

TPAC Observations filed by third parties

Free format text: ORIGINAL CODE: EPIDOSNTIPA

GRAJ Information related to disapproval of communication of intention to grant by the applicant or resumption of examination proceedings by the epo deleted

Free format text: ORIGINAL CODE: EPIDOSDIGR1

STAA Information on the status of an ep patent application or granted ep patent

Free format text: STATUS: REQUEST FOR EXAMINATION WAS MADE

GRAP Despatch of communication of intention to grant a patent

Free format text: ORIGINAL CODE: EPIDOSNIGR1

STAA Information on the status of an ep patent application or granted ep patent

Free format text: STATUS: GRANT OF PATENT IS INTENDED

INTC Intention to grant announced (deleted)
INTG Intention to grant announced

Effective date: 20190514

GRAS Grant fee paid

Free format text: ORIGINAL CODE: EPIDOSNIGR3

GRAA (expected) grant

Free format text: ORIGINAL CODE: 0009210

STAA Information on the status of an ep patent application or granted ep patent

Free format text: STATUS: THE PATENT HAS BEEN GRANTED

AK Designated contracting states

Kind code of ref document: B1

Designated state(s): AL AT BE BG CH CY CZ DE DK EE ES FI FR GB GR HR HU IE IS IT LI LT LU LV MC MK MT NL NO PL PT RO RS SE SI SK SM TR

REG Reference to a national code

Ref country code: GB

Ref legal event code: FG4D

Free format text: NOT ENGLISH

REG Reference to a national code

Ref country code: CH

Ref legal event code: EP

REG Reference to a national code

Ref country code: AT

Ref legal event code: REF

Ref document number: 1196808

Country of ref document: AT

Kind code of ref document: T

Effective date: 20191115

REG Reference to a national code

Ref country code: DE

Ref legal event code: R096

Ref document number: 602016023190

Country of ref document: DE

REG Reference to a national code

Ref country code: IE

Ref legal event code: FG4D

Free format text: LANGUAGE OF EP DOCUMENT: FRENCH

REG Reference to a national code

Ref country code: CH

Ref legal event code: NV

Representative=s name: MOINAS AND SAVOYE SARL, CH

REG Reference to a national code

Ref country code: LT

Ref legal event code: MG4D

PG25 Lapsed in a contracting state [announced via postgrant information from national office to epo]

Ref country code: BG

Free format text: LAPSE BECAUSE OF FAILURE TO SUBMIT A TRANSLATION OF THE DESCRIPTION OR TO PAY THE FEE WITHIN THE PRESCRIBED TIME-LIMIT

Effective date: 20200130

Ref country code: FI

Free format text: LAPSE BECAUSE OF FAILURE TO SUBMIT A TRANSLATION OF THE DESCRIPTION OR TO PAY THE FEE WITHIN THE PRESCRIBED TIME-LIMIT

Effective date: 20191030

Ref country code: NO

Free format text: LAPSE BECAUSE OF FAILURE TO SUBMIT A TRANSLATION OF THE DESCRIPTION OR TO PAY THE FEE WITHIN THE PRESCRIBED TIME-LIMIT

Effective date: 20200130

Ref country code: GR

Free format text: LAPSE BECAUSE OF FAILURE TO SUBMIT A TRANSLATION OF THE DESCRIPTION OR TO PAY THE FEE WITHIN THE PRESCRIBED TIME-LIMIT

Effective date: 20200131

Ref country code: PL

Free format text: LAPSE BECAUSE OF FAILURE TO SUBMIT A TRANSLATION OF THE DESCRIPTION OR TO PAY THE FEE WITHIN THE PRESCRIBED TIME-LIMIT

Effective date: 20191030

Ref country code: LV

Free format text: LAPSE BECAUSE OF FAILURE TO SUBMIT A TRANSLATION OF THE DESCRIPTION OR TO PAY THE FEE WITHIN THE PRESCRIBED TIME-LIMIT

Effective date: 20191030

Ref country code: SE

Free format text: LAPSE BECAUSE OF FAILURE TO SUBMIT A TRANSLATION OF THE DESCRIPTION OR TO PAY THE FEE WITHIN THE PRESCRIBED TIME-LIMIT

Effective date: 20191030

Ref country code: PT

Free format text: LAPSE BECAUSE OF FAILURE TO SUBMIT A TRANSLATION OF THE DESCRIPTION OR TO PAY THE FEE WITHIN THE PRESCRIBED TIME-LIMIT

Effective date: 20200302

Ref country code: LT

Free format text: LAPSE BECAUSE OF FAILURE TO SUBMIT A TRANSLATION OF THE DESCRIPTION OR TO PAY THE FEE WITHIN THE PRESCRIBED TIME-LIMIT

Effective date: 20191030

Ref country code: NL

Free format text: LAPSE BECAUSE OF FAILURE TO SUBMIT A TRANSLATION OF THE DESCRIPTION OR TO PAY THE FEE WITHIN THE PRESCRIBED TIME-LIMIT

Effective date: 20191030

REG Reference to a national code

Ref country code: NL

Ref legal event code: MP

Effective date: 20191030

PG25 Lapsed in a contracting state [announced via postgrant information from national office to epo]

Ref country code: HR

Free format text: LAPSE BECAUSE OF FAILURE TO SUBMIT A TRANSLATION OF THE DESCRIPTION OR TO PAY THE FEE WITHIN THE PRESCRIBED TIME-LIMIT

Effective date: 20191030

Ref country code: IS

Free format text: LAPSE BECAUSE OF FAILURE TO SUBMIT A TRANSLATION OF THE DESCRIPTION OR TO PAY THE FEE WITHIN THE PRESCRIBED TIME-LIMIT

Effective date: 20200229

Ref country code: RS

Free format text: LAPSE BECAUSE OF FAILURE TO SUBMIT A TRANSLATION OF THE DESCRIPTION OR TO PAY THE FEE WITHIN THE PRESCRIBED TIME-LIMIT

Effective date: 20191030

PG25 Lapsed in a contracting state [announced via postgrant information from national office to epo]

Ref country code: AL

Free format text: LAPSE BECAUSE OF FAILURE TO SUBMIT A TRANSLATION OF THE DESCRIPTION OR TO PAY THE FEE WITHIN THE PRESCRIBED TIME-LIMIT

Effective date: 20191030

REG Reference to a national code

Ref country code: DE

Ref legal event code: R026

Ref document number: 602016023190

Country of ref document: DE

PG25 Lapsed in a contracting state [announced via postgrant information from national office to epo]

Ref country code: DK

Free format text: LAPSE BECAUSE OF FAILURE TO SUBMIT A TRANSLATION OF THE DESCRIPTION OR TO PAY THE FEE WITHIN THE PRESCRIBED TIME-LIMIT

Effective date: 20191030

Ref country code: EE

Free format text: LAPSE BECAUSE OF FAILURE TO SUBMIT A TRANSLATION OF THE DESCRIPTION OR TO PAY THE FEE WITHIN THE PRESCRIBED TIME-LIMIT

Effective date: 20191030

Ref country code: RO

Free format text: LAPSE BECAUSE OF FAILURE TO SUBMIT A TRANSLATION OF THE DESCRIPTION OR TO PAY THE FEE WITHIN THE PRESCRIBED TIME-LIMIT

Effective date: 20191030

Ref country code: CZ

Free format text: LAPSE BECAUSE OF FAILURE TO SUBMIT A TRANSLATION OF THE DESCRIPTION OR TO PAY THE FEE WITHIN THE PRESCRIBED TIME-LIMIT

Effective date: 20191030

PLBI Opposition filed

Free format text: ORIGINAL CODE: 0009260

PLAX Notice of opposition and request to file observation + time limit sent

Free format text: ORIGINAL CODE: EPIDOSNOBS2

REG Reference to a national code

Ref country code: AT

Ref legal event code: MK05

Ref document number: 1196808

Country of ref document: AT

Kind code of ref document: T

Effective date: 20191030

PG25 Lapsed in a contracting state [announced via postgrant information from national office to epo]

Ref country code: IT

Free format text: LAPSE BECAUSE OF FAILURE TO SUBMIT A TRANSLATION OF THE DESCRIPTION OR TO PAY THE FEE WITHIN THE PRESCRIBED TIME-LIMIT

Effective date: 20191030

Ref country code: SM

Free format text: LAPSE BECAUSE OF FAILURE TO SUBMIT A TRANSLATION OF THE DESCRIPTION OR TO PAY THE FEE WITHIN THE PRESCRIBED TIME-LIMIT

Effective date: 20191030

Ref country code: SK

Free format text: LAPSE BECAUSE OF FAILURE TO SUBMIT A TRANSLATION OF THE DESCRIPTION OR TO PAY THE FEE WITHIN THE PRESCRIBED TIME-LIMIT

Effective date: 20191030

26 Opposition filed

Opponent name: ICB INGENIEURS CONSEILS EN BREVETS SA

Effective date: 20200729

PG25 Lapsed in a contracting state [announced via postgrant information from national office to epo]

Ref country code: ES

Free format text: LAPSE BECAUSE OF FAILURE TO SUBMIT A TRANSLATION OF THE DESCRIPTION OR TO PAY THE FEE WITHIN THE PRESCRIBED TIME-LIMIT

Effective date: 20191030

PG25 Lapsed in a contracting state [announced via postgrant information from national office to epo]

Ref country code: AT

Free format text: LAPSE BECAUSE OF FAILURE TO SUBMIT A TRANSLATION OF THE DESCRIPTION OR TO PAY THE FEE WITHIN THE PRESCRIBED TIME-LIMIT

Effective date: 20191030

Ref country code: SI

Free format text: LAPSE BECAUSE OF FAILURE TO SUBMIT A TRANSLATION OF THE DESCRIPTION OR TO PAY THE FEE WITHIN THE PRESCRIBED TIME-LIMIT

Effective date: 20191030

PLBB Reply of patent proprietor to notice(s) of opposition received

Free format text: ORIGINAL CODE: EPIDOSNOBS3

PG25 Lapsed in a contracting state [announced via postgrant information from national office to epo]

Ref country code: MC

Free format text: LAPSE BECAUSE OF FAILURE TO SUBMIT A TRANSLATION OF THE DESCRIPTION OR TO PAY THE FEE WITHIN THE PRESCRIBED TIME-LIMIT

Effective date: 20191030

PG25 Lapsed in a contracting state [announced via postgrant information from national office to epo]

Ref country code: LU

Free format text: LAPSE BECAUSE OF NON-PAYMENT OF DUE FEES

Effective date: 20200613

REG Reference to a national code

Ref country code: BE

Ref legal event code: MM

Effective date: 20200630

PG25 Lapsed in a contracting state [announced via postgrant information from national office to epo]

Ref country code: IE

Free format text: LAPSE BECAUSE OF NON-PAYMENT OF DUE FEES

Effective date: 20200613

PG25 Lapsed in a contracting state [announced via postgrant information from national office to epo]

Ref country code: BE

Free format text: LAPSE BECAUSE OF NON-PAYMENT OF DUE FEES

Effective date: 20200630

PG25 Lapsed in a contracting state [announced via postgrant information from national office to epo]

Ref country code: TR

Free format text: LAPSE BECAUSE OF FAILURE TO SUBMIT A TRANSLATION OF THE DESCRIPTION OR TO PAY THE FEE WITHIN THE PRESCRIBED TIME-LIMIT

Effective date: 20191030

Ref country code: MT

Free format text: LAPSE BECAUSE OF FAILURE TO SUBMIT A TRANSLATION OF THE DESCRIPTION OR TO PAY THE FEE WITHIN THE PRESCRIBED TIME-LIMIT

Effective date: 20191030

Ref country code: CY

Free format text: LAPSE BECAUSE OF FAILURE TO SUBMIT A TRANSLATION OF THE DESCRIPTION OR TO PAY THE FEE WITHIN THE PRESCRIBED TIME-LIMIT

Effective date: 20191030

PG25 Lapsed in a contracting state [announced via postgrant information from national office to epo]

Ref country code: MK

Free format text: LAPSE BECAUSE OF FAILURE TO SUBMIT A TRANSLATION OF THE DESCRIPTION OR TO PAY THE FEE WITHIN THE PRESCRIBED TIME-LIMIT

Effective date: 20191030

APAH Appeal reference modified

Free format text: ORIGINAL CODE: EPIDOSCREFNO

APBM Appeal reference recorded

Free format text: ORIGINAL CODE: EPIDOSNREFNO

APBP Date of receipt of notice of appeal recorded

Free format text: ORIGINAL CODE: EPIDOSNNOA2O

APAH Appeal reference modified

Free format text: ORIGINAL CODE: EPIDOSCREFNO

P01 Opt-out of the competence of the unified patent court (upc) registered

Effective date: 20230529

APBQ Date of receipt of statement of grounds of appeal recorded

Free format text: ORIGINAL CODE: EPIDOSNNOA3O

APAH Appeal reference modified

Free format text: ORIGINAL CODE: EPIDOSCREFNO

TPAC Observations filed by third parties

Free format text: ORIGINAL CODE: EPIDOSNTIPA

PGFP Annual fee paid to national office [announced via postgrant information from national office to epo]

Ref country code: DE

Payment date: 20250617

Year of fee payment: 10

PGFP Annual fee paid to national office [announced via postgrant information from national office to epo]

Ref country code: GB

Payment date: 20250625

Year of fee payment: 10

PGFP Annual fee paid to national office [announced via postgrant information from national office to epo]

Ref country code: FR

Payment date: 20250630

Year of fee payment: 10

PGFP Annual fee paid to national office [announced via postgrant information from national office to epo]

Ref country code: CH

Payment date: 20250701

Year of fee payment: 10

PLAB Opposition data, opponent's data or that of the opponent's representative modified

Free format text: ORIGINAL CODE: 0009299OPPO

R26 Opposition filed (corrected)

Opponent name: ICB INGENIEURS CONSEILS EN BREVETS SA

Effective date: 20200729

APBU Appeal procedure closed

Free format text: ORIGINAL CODE: EPIDOSNNOA9O