EP3248752A1 - Herstellungsverfahrensteuerungssysteme und -verfahren - Google Patents

Herstellungsverfahrensteuerungssysteme und -verfahren Download PDF

Info

Publication number
EP3248752A1
EP3248752A1 EP17172316.6A EP17172316A EP3248752A1 EP 3248752 A1 EP3248752 A1 EP 3248752A1 EP 17172316 A EP17172316 A EP 17172316A EP 3248752 A1 EP3248752 A1 EP 3248752A1
Authority
EP
European Patent Office
Prior art keywords
data
assembly
pin
component
valve
Prior art date
Legal status (The legal status is an assumption and is not a legal conclusion. Google has not performed a legal analysis and makes no representation as to the accuracy of the status listed.)
Granted
Application number
EP17172316.6A
Other languages
English (en)
French (fr)
Other versions
EP3248752B1 (de
Inventor
Ashley Stone
Current Assignee (The listed assignees may be inaccurate. Google has not performed a legal analysis and makes no representation or warranty as to the accuracy of the list.)
Individual
Original Assignee
Individual
Priority date (The priority date is an assumption and is not a legal conclusion. Google has not performed a legal analysis and makes no representation as to the accuracy of the date listed.)
Filing date
Publication date
Priority claimed from US15/166,597 external-priority patent/US10528024B2/en
Application filed by Individual filed Critical Individual
Publication of EP3248752A1 publication Critical patent/EP3248752A1/de
Application granted granted Critical
Publication of EP3248752B1 publication Critical patent/EP3248752B1/de
Active legal-status Critical Current
Anticipated expiration legal-status Critical

Links

Images

Classifications

    • BPERFORMING OPERATIONS; TRANSPORTING
    • B29WORKING OF PLASTICS; WORKING OF SUBSTANCES IN A PLASTIC STATE IN GENERAL
    • B29CSHAPING OR JOINING OF PLASTICS; SHAPING OF MATERIAL IN A PLASTIC STATE, NOT OTHERWISE PROVIDED FOR; AFTER-TREATMENT OF THE SHAPED PRODUCTS, e.g. REPAIRING
    • B29C45/00Injection moulding, i.e. forcing the required volume of moulding material through a nozzle into a closed mould; Apparatus therefor
    • B29C45/17Component parts, details or accessories; Auxiliary operations
    • B29C45/76Measuring, controlling or regulating
    • B29C45/766Measuring, controlling or regulating the setting or resetting of moulding conditions, e.g. before starting a cycle
    • BPERFORMING OPERATIONS; TRANSPORTING
    • B29WORKING OF PLASTICS; WORKING OF SUBSTANCES IN A PLASTIC STATE IN GENERAL
    • B29CSHAPING OR JOINING OF PLASTICS; SHAPING OF MATERIAL IN A PLASTIC STATE, NOT OTHERWISE PROVIDED FOR; AFTER-TREATMENT OF THE SHAPED PRODUCTS, e.g. REPAIRING
    • B29C45/00Injection moulding, i.e. forcing the required volume of moulding material through a nozzle into a closed mould; Apparatus therefor
    • B29C45/17Component parts, details or accessories; Auxiliary operations
    • B29C45/26Moulds
    • B29C45/27Sprue channels ; Runner channels or runner nozzles
    • B29C45/28Closure devices therefor
    • B29C45/2806Closure devices therefor consisting of needle valve systems
    • B29C45/281Drive means therefor
    • BPERFORMING OPERATIONS; TRANSPORTING
    • B29WORKING OF PLASTICS; WORKING OF SUBSTANCES IN A PLASTIC STATE IN GENERAL
    • B29CSHAPING OR JOINING OF PLASTICS; SHAPING OF MATERIAL IN A PLASTIC STATE, NOT OTHERWISE PROVIDED FOR; AFTER-TREATMENT OF THE SHAPED PRODUCTS, e.g. REPAIRING
    • B29C45/00Injection moulding, i.e. forcing the required volume of moulding material through a nozzle into a closed mould; Apparatus therefor
    • B29C45/17Component parts, details or accessories; Auxiliary operations
    • B29C45/76Measuring, controlling or regulating
    • B29C45/768Detecting defective moulding conditions
    • GPHYSICS
    • G05CONTROLLING; REGULATING
    • G05BCONTROL OR REGULATING SYSTEMS IN GENERAL; FUNCTIONAL ELEMENTS OF SUCH SYSTEMS; MONITORING OR TESTING ARRANGEMENTS FOR SUCH SYSTEMS OR ELEMENTS
    • G05B13/00Adaptive control systems, i.e. systems automatically adjusting themselves to have a performance which is optimum according to some preassigned criterion
    • G05B13/02Adaptive control systems, i.e. systems automatically adjusting themselves to have a performance which is optimum according to some preassigned criterion electric
    • G05B13/0205Adaptive control systems, i.e. systems automatically adjusting themselves to have a performance which is optimum according to some preassigned criterion electric not using a model or a simulator of the controlled system
    • G05B13/024Adaptive control systems, i.e. systems automatically adjusting themselves to have a performance which is optimum according to some preassigned criterion electric not using a model or a simulator of the controlled system in which a parameter or coefficient is automatically adjusted to optimise the performance
    • BPERFORMING OPERATIONS; TRANSPORTING
    • B29WORKING OF PLASTICS; WORKING OF SUBSTANCES IN A PLASTIC STATE IN GENERAL
    • B29CSHAPING OR JOINING OF PLASTICS; SHAPING OF MATERIAL IN A PLASTIC STATE, NOT OTHERWISE PROVIDED FOR; AFTER-TREATMENT OF THE SHAPED PRODUCTS, e.g. REPAIRING
    • B29C2945/00Indexing scheme relating to injection moulding, i.e. forcing the required volume of moulding material through a nozzle into a closed mould
    • B29C2945/76Measuring, controlling or regulating
    • B29C2945/76494Controlled parameter
    • B29C2945/76505Force
    • BPERFORMING OPERATIONS; TRANSPORTING
    • B29WORKING OF PLASTICS; WORKING OF SUBSTANCES IN A PLASTIC STATE IN GENERAL
    • B29CSHAPING OR JOINING OF PLASTICS; SHAPING OF MATERIAL IN A PLASTIC STATE, NOT OTHERWISE PROVIDED FOR; AFTER-TREATMENT OF THE SHAPED PRODUCTS, e.g. REPAIRING
    • B29C2945/00Indexing scheme relating to injection moulding, i.e. forcing the required volume of moulding material through a nozzle into a closed mould
    • B29C2945/76Measuring, controlling or regulating
    • B29C2945/76494Controlled parameter
    • B29C2945/76568Position
    • B29C2945/76575Position end position
    • BPERFORMING OPERATIONS; TRANSPORTING
    • B29WORKING OF PLASTICS; WORKING OF SUBSTANCES IN A PLASTIC STATE IN GENERAL
    • B29CSHAPING OR JOINING OF PLASTICS; SHAPING OF MATERIAL IN A PLASTIC STATE, NOT OTHERWISE PROVIDED FOR; AFTER-TREATMENT OF THE SHAPED PRODUCTS, e.g. REPAIRING
    • B29C2945/00Indexing scheme relating to injection moulding, i.e. forcing the required volume of moulding material through a nozzle into a closed mould
    • B29C2945/76Measuring, controlling or regulating
    • B29C2945/76655Location of control
    • B29C2945/76732Mould
    • B29C2945/76752Mould runners, nozzles
    • B29C2945/76755Mould runners, nozzles nozzles
    • BPERFORMING OPERATIONS; TRANSPORTING
    • B29WORKING OF PLASTICS; WORKING OF SUBSTANCES IN A PLASTIC STATE IN GENERAL
    • B29CSHAPING OR JOINING OF PLASTICS; SHAPING OF MATERIAL IN A PLASTIC STATE, NOT OTHERWISE PROVIDED FOR; AFTER-TREATMENT OF THE SHAPED PRODUCTS, e.g. REPAIRING
    • B29C2945/00Indexing scheme relating to injection moulding, i.e. forcing the required volume of moulding material through a nozzle into a closed mould
    • B29C2945/76Measuring, controlling or regulating
    • B29C2945/76929Controlling method
    • B29C2945/76936The operating conditions are corrected in the next phase or cycle
    • BPERFORMING OPERATIONS; TRANSPORTING
    • B29WORKING OF PLASTICS; WORKING OF SUBSTANCES IN A PLASTIC STATE IN GENERAL
    • B29CSHAPING OR JOINING OF PLASTICS; SHAPING OF MATERIAL IN A PLASTIC STATE, NOT OTHERWISE PROVIDED FOR; AFTER-TREATMENT OF THE SHAPED PRODUCTS, e.g. REPAIRING
    • B29C2945/00Indexing scheme relating to injection moulding, i.e. forcing the required volume of moulding material through a nozzle into a closed mould
    • B29C2945/76Measuring, controlling or regulating
    • B29C2945/76929Controlling method
    • B29C2945/76939Using stored or historical data sets
    • B29C2945/76949Using stored or historical data sets using a learning system, i.e. the system accumulates experience from previous occurrences, e.g. adaptive control

Definitions

  • the present invention relates to a process control for a manufacturing process, such as a molding systems and methods for controlling such a process.
  • the present invention is exemplified by application to a molding system, more specifically, to a hot-runner system, a melt flow modular assembly, an injection molding method, an injection mold, hot runner, and a valve gate device but is applicable to other manufacturing processes.
  • Injection molding (British English: moulding) is a manufacturing process for producing parts from both thermoplastic and thermosetting plastic or other materials, including metals, glasses, elastomers and confections. Material is fed into a heated barrel, mixed, and forced into a mold cavity where it cools and hardens to the configuration of the cavity. After a product is designed, usually by an industrial designer or an engineer, molds are made by a mold maker (or toolmaker) from metal, usually either steel or aluminum, and precision-machined to form the features of the desired part. Injection molding is widely used for manufacturing a variety of parts, from the smallest component to entire body panels of cars.
  • Injection molding utilizes a ram or screw-type plunger to force molten plastic material into a mold cavity; this produces a solid or open-ended shape that has conformed to the contour of the mold. It is most commonly used to process both thermoplastic and thermosetting polymers, with the former being considerably more prolific in terms of annual material volumes processed.
  • Thermoplastics are prevalent due to characteristics which make them highly suitable for injection molding, such as the ease with which they may be recycled, their versatility allowing them to be used in a wide variety of applications, and their ability to soften and flow upon heating.
  • Injection molding consists of high-pressure injection of the molten plastics material, referred to as plastic melt, into a mold, which shapes or forms the polymer into a desired shape.
  • Molds can be of a single cavity or multiple cavities. In multiple cavity molds, each cavity can be identical and form the same parts or can differ and produce multiple different geometries during a single cycle. Molds are generally made from tool steels, but stainless steels and aluminum molds are suitable for certain applications.
  • Aluminum molds typically are ill-suited for high-volume production or parts with narrow dimensional tolerances, as they have inferior mechanical properties and are more prone to wear, damage, and deformation during injection and clamping cycles; however, they are more cost-effective in low volume applications as mold fabrication costs and time are considerably reduced. Many steel molds are designed to process well over a million parts during their lifetime and can cost hundreds of thousands of dollars to fabricate.
  • the material is fed forward through a check valve and collects at the front of the screw into a volume known as a shot.
  • the shot is the volume of material, which is used to fill the mold cavity, compensate for shrinkage, and provide a cushion (approximately 10% of the total shot volume which remains in the barrel and prevents the screw from bottoming out) to transfer pressure from the screw to the mold cavity.
  • the material is forced at high pressure and velocity through a gate and into the part-forming cavity by moving the screw along its axis.
  • the process normally utilizes a transfer position corresponding to a 95-98% full cavity where the screw shifts from a constant velocity to a constant pressure control.
  • the packing pressure is applied, which completes mold filling and compensates for thermal shrinkage, which is quite high for thermoplastics relative to many other materials.
  • thermal gating the packing pressure is applied until the material located in the mold gate (cavity entrance) solidifies.
  • the gate is normally the first place to solidify through its entire thickness due to its small size. Once the gate solidifies, no more material can enter the cavity; accordingly, the screw returns and acquires material for the next cycle while the material within the mold cools so that it can be ejected and be dimensionally stable.
  • This cooling duration is dramatically reduced using cooling lines to circulate water or oil from a thermolator or preferably using an organic refrigerant.
  • the mold opens and an array of pins, ejectors, etc. is driven forward to remove the article from the mold, referred to a "demolding". Then, the mold closes and the process is repeated.
  • the thermal gating where the closing of the gate is accomplished by solidified plastic, is possible for small flow requirements with a melt flow channel with small gates.
  • a valve gated hot runner is used in which mechanical valves control the flow of melt from a common supply, or hot runner, to the mold.
  • a modulating assembly modulates the melt flow. Faster cycle time may be attained because no gate cooling is required to shut off the melt flow, and no gate re-heating is required to open the gate to the melt flow.
  • a parting line, sprue, gate marks, valve pin marks, and ejector pin marks are usually present on the final part, often even after prolonged cooling time. None of these features are typically desired, but are unavoidable due to the nature of the process. Gate marks occur at the gate that joins the melt-delivery channels (sprue and runner) to the part-forming cavity. Parting line and ejector pin marks result from minute misalignments. The wear, gaseous vents, clearances for adjacent parts in relative motion, and/or dimensional differences of the mating surfaces contacting the injected polymer also create marks on the molded surface of the part.
  • mold components are often designed with materials of various coefficients of thermal expansion. These factors cannot be simultaneously accounted for, without astronomical increases in the cost of design, fabrication, processing, and the part quality monitoring. The skillful mold and part designers, will position these aesthetic detriments in hidden areas, if feasible.
  • the gate marks and gate residuals are called vestige.
  • the molding quality is directly apportioned to shape, configuration, degradation of the vestige and vestige height and shape.
  • the gate quality is nowadays-major issue in injection molding art, particularly for food and beverage packaging.
  • melt flow modulating assemblies or flow inhibiting techniques known in the field of injection molds, namely, thermal gating in which the gate at the exit of the nozzle is rapidly cooled at the completion of the injection operation to form a solid or semi-solid plug of the material being injected into the gate; and valve gating in which a mechanical means is employed to inhibit the flow of material being injected into the mold cavity.
  • Valve gating systems are generally of one of two types, namely inline and lateral systems of gate closing. A wide variety of systems of each type have been developed. Referring now to the inline gating choices, there is in the art of the injection molding, mainly three types of valve gate closing choices: axial pin motion, rotary pin motion with shutoff, and a rotary pin with dynamic melt flow control without positive shutoff.
  • valve mechanisms used in the injection molding industry are constructed in such a way as to move a valve pin assembly in an axial direction along the nozzle melt channel from fully open to fully closed position. This is the predominant structure when comparing based on the motion of the valve pin.
  • valve pin may be shielded, as in U.S. Patent No. 4,412,807 which shows an apparatus in which the plastic flow channel in the nozzle is kept separate from the valve pin in an effort to avoid dividing the melt stream.
  • the channel is a crescent shaped cross section, which is known to be less than ideal for encouraging plastic flow, especially in the opposing sharp corners.
  • the valve pin when the valve pin is in the open position to let plastic material to pass into the mold cavity, it creates a stagnant area of poor plastic flow directly adjacent the front face of the pin. These areas of poor plastic flow can result in material degradation, which can adversely affect the performance and physical properties of the molded product.
  • U.S. Patent No. 4,925,384 shows a similar design that permits the plastic to come into contact with the valve pin but restricts it from passing around the pin to form a weld line.
  • This patent describes an approach that does not cause pronounced division of the melt flow.
  • This design also suffers from a melt channel with sluggish flow areas and requires difficult and expensive machining processes to produce the nozzle housing, having an unusual melt channel cross section.
  • valve gates may be structured to rotate the pin and close or open the gate that way.
  • U.S. Patent No. 3,873,656 shows a valve having taps, which rotate to open or close. This is similar to the approach described above. It is not compact or easy to manufacture and has sharp edges, susceptible to damage, where it mates with the sprue channels.
  • a rotating nozzle is shown in U.K. Patent No. 872,101 .
  • the entire injection unit nozzle rotates on an axis parallel to the flow of plastic as opposed to the perpendicular or angular rotation axis of the two patents mentioned previously.
  • the nozzle front portion remains in forced contact with the delivery bushing, to prevent plastic leakage between the two.
  • the construction shown is very bulky, consuming a substantial amount of space.
  • U.S. Patent Publication No. 2007/0065538 A1 A further example to improve melt flow delivery, and melt flow temperature uniformity as well as hot runner balancing is attempted in the application of the rotating pin is disclosed in U.S. Patent Publication No. 2007/0065538 A1 .
  • the valve pin is operatively connected to a motor that has fast acceleration and deceleration rates.
  • the valve pin is made in the form of an Archimedean screw or screw pump so that the pin is positioned within the melt flow assembly in the hot-runner nozzle.
  • the valve-pin By rotating and pumping melt flow in the direction of the melt flow, the valve-pin "pump" reduces pressure drop within the melt flow assembly, supposable creating favorable melt delivery and melt conditioning.
  • this valve gate molding system can effectively produce acceptable quality gate vestige mark and at the same time ensure that the closing of the gate is accomplished by rotation of the pin screw "pump" within melt in the melt flow assembly and at the same time improve temperature uniformity of the melt in the hot-runner nozzle.
  • a valve pin aligned with the gate is moved parallel to the direction of movement of molten material (generally referred to as "melt") through the gate, between a position wherein the pin extends into the gate to block flow through the gate, and a position wherein the pin is retracted from the gate permitting flow there-through into the mold cavity.
  • the valve pin is located inside the injection nozzle and is at least partially within the flow path of the melt.
  • inline valve gating suffers from a variety of problems.
  • One common problem is wear of the valve pin due to contact with the nozzle and/or gate, which can lead to leaks or failure of the valve.
  • Another common problem is the conversion of the melt from the tubular flow entering the nozzle to an annular (or other non-continuous) flow, which is caused by the valve pin or other related components being within the melt flow.
  • Such a non-continuous flow can result in weld or knot lines in the molded product produced as the melt flow recombines within the gate or mold cavity, and this can result in weakened or unacceptable molded products.
  • This is particularly a problem when molding preforms for water containers where good part appearance and gate quality are an essential for successful sales of bottled water or other clear liquids.
  • the water bottles are made in a two-stage process and, require in a first stage to produce a preform, and in a second-stage the preform is air inflated against a cavity of the mold in a shape of the bottle.
  • the bottle preforms are made from the polyethylene terephthalate, abbreviated as PET.
  • PET preform molding process in particular, requires tubular melt flow, and having the pin inside the melt flow, does not help improve melt flow in the molding process.
  • the molten plastic material is injected into the mold cavity under very high pressure, often above 15,000 PSI. Once injected, in a short injection time, often less than one second, molten plastic enters cooling and solidification phase lasting 2 to 30 seconds. During this process, a definite time is selected, within hold time in the process, when to close the valve gate. Closing valve gate means that gate volume should be filled by pin tip volume so as to block plastic flow through the gate.
  • valve pin assembly accomplishes this.
  • valve pin conical surface and gate conical surface each have a complementary sealing surface. When these surfaces are brought together the flow of the material through the gate stops.
  • the gate closing is initiated just about when the cavity is filled, and the injection time hold interval is about to end. After the valve pin is fully forward and in a predominantly closed position, no more plastic melt is possible to enter the cavity. Mold cooling helps to remove heat from the molded part and helps to solidify the part and cool it so that can be handled in post molding cooling process.
  • the post molding process by itself is the complex process when molding PET preforms or any food packaging containers like K-cups. The post molding process often requires specialty equipment and additional complexities.
  • valve pin stays closed until the mold is fully open and perhaps even just before mold fully closed position after ejection of the molded part.
  • timing when to start opening the valve gate is largely dependent on the valve pin driving apparatus.
  • valve gate pin configuration As noted above, there are various options for the valve gate pin configuration and ways for opening and closing the gate. There are, however, only a few options for powering the valve pins. It is known in the art of injection molding and hot runners to provide an electrical or fluid actuator to power the pin of the valve gate.
  • the pressure of the air supply in each location is different and is very difficult to ensure consistent high air pressure at each valve pin location. Even when air pressure is available, often in range 75 PSI (pounds per square inch) to 120 PSI, flow rate, cleanliness and capacity of the air compressors may not be always adequate.
  • Often just differences in hose length will change the mold performance due to different air supply pressure seen by each valve gate.
  • the piston seal stiction alone, in the multi cavity mold may be different at different operating temperatures is material and illustrates the level of randomness involved in these systems.
  • the mechanical tolerance, location in the mold, air supply line arrangements, and environmental contamination, maybe enough to result in less than an optimal valve gate opening or closing time.
  • the pin can only be positioned at the fully open position or at the fully closed position, and cannot be positioned between these two positions, unless additional pistons or complexities are installed. Moreover, as the compressed air temperature varies during the day, this inhibits molding good parts without continuous process adjustments and monitoring.
  • a further disadvantage of the air piston operated valve gates is that they are relatively easy to get contaminated by the PET dust or air impurities and then get slow to move and not very accurate in the closing position of the pin.
  • a further disadvantage is that the air exhaust contaminates freshly molded parts, and parts for medical and food packaging industry are very sensitive to parts cleanliness.
  • Hydraulic pistons are often used for large valve gated assemblies and relatively high axial force requirements, but using hydraulic oil and mist in the vicinity of freshly molded medical or food packaging parts, is not acceptable.
  • Electric motors with rotary motion are being used for generating axial motion.
  • the motors and gear transmission assemblies are very large in volume and mostly not suitable for applications with a higher number of cavities.
  • valve gate pin for regulating a flow of molten material into a mold is operated by the electric motor.
  • the electric motor operates via a mechanical transmission to move the valve pin, and infinitely positions the valve pin between the fully closed position and the fully open position by using a position feedback device in a closed loop servo control mode.
  • Various electric motors are proposed for this application, but servo controls of this nature are largely impractical for high cavitation molds where 96 to 144 individual PET preforms may be molded within each machine cycle.
  • U.S. Patent No. 5,556,582 describes the system wherein an adjustable valve pin is operated by the servo controlled motor.
  • the valve pin can be dynamically adjusted by a computer according to pressure data read at or near the injection gate. If multiple valves are used, each is independently controlled. A hot runner nozzle is not provided. Also, as the system is used, the repetitive actions of the valve pin cause significant wear on the tip of the valve pin. This wear, is a result of the repeated impact with the mold cavity.
  • an adjustable valve is provided that is adjusted by the close loop servo system, while the plastic melt material is flowing through the gate into the mold cavity.
  • the computer controls the servo motor, based on a sensor in the cavity, preferably stated as being cavity pressure closed loop servo system. This control is complex and not easy to implement in large cavitation molds.
  • U.S. Patent No. 6,294,122 B1 describes the system of driving the pin axially along the nozzle melt channel in a closed-loop control by operatively connecting the pin with linearly moving mechanical transmission assembly, which converts the rotational movement of the motor assembly into linear motion.
  • the conversion assembly is a gearbox or screw and a nut threadingly engaged with each other or alternatively driven by the rack and pinion gear assembly.
  • Positioning is based on the proportional integral and derivative (PID) controls getting position feedback from an encoder.
  • PID proportional integral and derivative
  • the motor gear assembly use is therefore limited to large molds often used in automotive applications where fast pin closing moves are not required.
  • having bulky motor and a gearbox between the molding platens of the injection machine limits the opening stroke and type of the parts that can be molded with this arrangement. Again this is generally not practical for high cavitation counts and high production rates.
  • U.S. Patent Publication No. 2011/0293761 A1 describes a system where a plurality of pins is attached to an electro-magnetically driven plate so the valve pins are movable responsive to movement of the actuation plate.
  • No proposed driving logic is offered as to how to control the largely uncontrollable force at the end of the stroke.
  • valve pin assembly It would also likely result in a very slow movement of the valve pin assembly because it would take substantial time to establish a magnetic field in a large magnetic storage like electromagnets, and to subsequently reverse that field.
  • To collapse the electromagnetic field in assemblies of this size is a lengthy and involved process, even when sophisticated electronic devices are used.
  • the magnetic structures of this size and mass do not allow for fast current switching, because the collapsing magnetic field and changing polarity will generate back electromotive force of significant proportions. Simply, a large mass does not lend itself for fast opening and closing valve pins.
  • valve pin It is critical for the valve pin to arrive exactly at the end of the stroke with exactly near zero velocity. This is often defined in state of the art as perfect "soft landing".
  • the receiving end actuator must do exactly as much work as was done against friction and adhesive force of the melt along the entire transition from open-to-close or vice versa. If the actuator does not do this much work, the valve pin will stop before the end of the stroke. If the actuator does any more than the exact correct work, the valve pin arrives at the end of the stroke with non-zero velocity where it can impact valve seat if contacts it, or imparts the shock and vibration on the valve pin assembly by impacting against a hard stop. The non-uniform force, and other effects cause disturbances of the valve pin assembly and make this system very difficult to control.
  • valve pin activation and control techniques offer individually controlled valve pin structure in a small and compact size that will move the pin axially along the melt flow channel, without any interconnecting, converting mechanical transmission elements to reduce speed, or convert power or convert torque.
  • These and other systems require installation of the position or process feedback devices in areas that has limited space.
  • the mechanical structures have very small structural safety margins, and any additional requirements for installation of any feedback devices make the systems very complex. This is particularly difficult in applications with an increased number of cavity drops and reduced drop to drop (pitch) spacing.
  • Feedback controls either open loop or closed loop systems.
  • Feedback systems have part of their output signal "fed back" to the input for comparison with the desired set point condition.
  • the type of feedback signal can result either in positive feedback or negative feedback.
  • a controller In a closed-loop system, a controller is used to compare the output of a system with the required condition and convert the error into a control action designed to reduce the error and bring the output of the system back to the desired response. Then closed-loop control systems use feedback to determine the actual input to the system and can have more than one feedback loop.
  • Closed-loop control systems have many advantages over open-loop systems.
  • One advantage is the fact that the use of feedback makes the system response relatively insensitive to external disturbances and internal variations in system parameters such as temperature.
  • the sensor is the thermocouple. (TC). It measures the temperature at the single point and controller is attempting to maintain the same temperature at that point. Even if this is possible, quality of the final product may not be good, because of the very many variables that can affect the part physical dimensions, and perhaps flow characteristic of the melt.
  • a method of controlling a manufacturing process having a machine to form a material in to a component comprises the steps of establishing an initial set of operating parameters for the machine, producing an initial component from the machine, inspecting the component to determine its acceptability relative to a desired component, determining a variation in the operating parameters to improve the acceptability of the component, effecting changes in the operating parameters and inspecting subsequent components to determine their acceptability.
  • a machine to form a component includes a production system to form the component from a material, and an inspection system to determine acceptability of the component relative to a reference.
  • a data store retains information obtained from the inspection system, and a knowledge management system for analyzing and predicting data accesses the data store and determines variations in operating parameters of the production system.
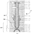
  • a manufacturing process is exemplified by a hot runner system (100) that receives plastic in a molten state from an injection nozzle (10).
  • the nozzle (10) is part of an injection machine that includes a hopper (12), heater (not shown), and feed screw (14) as is well known in the art.
  • a control (180) controls operation of the machine to perform the required sequence of operations to produce molded product.
  • the feed screw (14) delivers the plastic material under pressure to the nozzle (10) from where it is delivered through interconnected melt passages (16) to respective mold cavities (141).
  • the cavities (141) are formed within mold plate assemblies (140) that meet along a common face.
  • the mold plate assembly (140) includes a movable part (140a), and fixed part (140b) may be separated to allow access to the cavity (141) for ejection of a molded article, and are held closed during molding to contain the molten plastic.
  • the fixed part (140b) is connected to a cavity plate assembly (119) that includes a manifold plate 120 to define the melt passages 16.
  • a backup plate (121) supports the cavity plate assembly (119) to permit the cavity plate (119, 120) to be changed readily without dismantling the entire hot runner system.
  • Flow through the melt passages (16) in to the cavities (141) is controlled by a gate valve assembly (18) that is located in the backup plate (121) and extends through the cavity plate assembly (119) to the cavities (141).
  • the gate valve assembly may be incorporated in the moveable part (140a) of the mold plate assembly (140) where the configuration of the molded article permits.
  • the cavity plate assembly (119) is configured for a multi cavity gated arrangement with a gate valve assembly (18) associated with each cavity (141).
  • the gate valve assembly (18) is shown in greater detail in Figure 2 and includes a melt flow modulating assembly (102) and an actuator assembly (101).
  • the modulating assembly (102) includes a manifold bushing (132) that connects through a manifold (131) located in a cavity of manifold plate (120) to the melt passages (16).
  • the bushing (132) is connected to an injection nozzle (113) that includes a melt flow channel (112) to convey melt to a nozzle tip (114).
  • a backup pad (130) supports the bushing (132) against axial displacement.
  • a valve pin (110) extends from the actuator assembly (101) through the modulating assembly (102) to control the melt flow from the nozzle tip (114).
  • the manifold plate (120) is used to house the manifold (131) and to distribute molten plastic to each drop, as represented by an injection nozzle (113).
  • the injection nozzle (113) is sealably attached to manifold bushing (132) via a seal off (115) and detachably connects the manifold bushing (132) with the injection nozzle (113).
  • Each the injection nozzles (113) is heated and the melt flow channel (112) extends therethrough from the rear end to the front end, and flowing into a mold gate (160) located at the interface of the mold plate (140) and the cavity plate assembly (119).
  • the mold gate (160) is defined by a recess at the intersection of cavity plate assembly (119) and mold plate assembly (140) that may have a conical shape.
  • the frontal end of the drop is the nozzle tip (114) and is a commonly replaceable part of the injection nozzle.
  • the actuator (101) is illustrated as a Lorentz force actuator assembly (101) hereafter referred to as the LFAA assembly (101).
  • a Lorentz force actuator provides a linear force output proportional to a drive current and thereby allows the force generated by the actuator to be modulated by modulating the current supplied.
  • the LFAA assembly (101) is generally placed in the metal pocket machined in the backup plate (121).
  • the backup plate (121) is water-cooled, and the LFAA assembly (101) is in at least partial thermal communication with the backup plate (121).
  • the LFAA assembly (101) is thermally communicating with the backup plate (121) via a partially threaded connection or other type of connection means to permit thermal transfer.
  • the LFAA assembly (101) when cylindrically shaped, can be placed in the pocket by partially or fully threaded connection that acts as a thermal bridge and improves cooling of the LFAA assembly (101).
  • a square-shaped configuration of the LFAA assembly (101) can be installed with an interference fit generated by the operating temperature of the Lorentz force actuator assembly (101) and the backup plate (121), or by partially connecting the structure of the LFAA assembly (101) with the backup plate (121) by cover plates (252) extending across the pocket.
  • a major advantage of this type of the installation is that the LFAA assembly (101) is accessible from the back of the backup plate (121) but at the same time, the installed LFAA assemblies (101), being solid steel structure, strengthen the backup plate (121) at the point where the manifold backup pad (130) ( FIG. 2 and 4 ) transfers the seal-off forces generated by the melt through the manifold bushing (132) from an injection nozzle seal off interface (115).
  • valve gate actuator such as the LFAA assembly (101)
  • this short duty cycle (pulsed) force generation is used to position the valve pin assembly (110) in a desired position along a melt flow path (112).
  • the LFAA assembly (101) has at least two distinct assemblies: the magnetic closed circuit assembly, and the electrical closed circuit assembly.
  • the LFAA assembly (101) has generally two distinct mechanical assemblies acting as the magnetic closed circuit assembly as well as structural parts.
  • a yoke magnetic assembly (105) is used to conduct magnetic force, but also provides a peripheral wall that bounds all parts of the LFAA assembly (101).
  • a core magnetic assembly (106) is located within the yoke magnetic assembly 105.
  • An annular air gap (116) is located between the core magnetic assembly (106) and the yoke magnetic assembly (105).
  • An electrical coil (104) is located in the air gap (116).
  • the coil (104) is wound on a bobbin (108) that passes between the assemblies (105, 106) and has a base (145) connected to one end of pin (110), as described below.
  • a yoke permanent magnet assembly (107) is placed between the inner surface of the yoke magnetic assembly (105) and the core magnetic assembly (106), and thus creates the magnetic flux.
  • the core magnetic assembly (106) and the yoke magnetic assembly (105) are preferably made from the electronic and magnetic alloys with high magnetic permeability; the higher the permeability, the better the magnetic performance of the magnetic material.
  • the core magnetic assembly (106) presents a low magnetic resistance return path for the magnetic induction generated by the strong permanent magnets. These two parts are operatively connected to make up mainly uninterrupted closed magnetic circuit for the magnetic induction from the strong permanent magnets to pass perpendicularly through.
  • High saturation properties of the yoke magnetic assembly (105) allow for higher peak current in the coil, and therefore higher induction values before saturation is reached. This allows for the designs of the LFAA assembly (101) that will function with greater force and efficiency, but maintain a linear relationship between current and generated force, according to the Lorentz Force Law.
  • Some of the exemplary magnetic alloys suitable for high force applications are: Iron-Cobalt or Nickel-Iron alloys with high magnetic permeability and high flux density. Uses of the 430FR type of the ferritic chromium steel alloys have demonstrated good usability of the application in the preferred embodiments.
  • the magnetic flux path of the core magnetic assembly (106) and the yoke magnetic assembly (105) is arranged so that the magnetic flux generated by the core magnetic assembly (106), or the yoke magnetic assembly (105), or both the yoke magnetic assembly (105) and the core magnetic assembly (106), which may be permanent magnets, are perpendicular to the electrical coil (104) within the air gap (116), so that when an externally applied current conducts through the electrical coil (104), the electrical coil (104) will be displaced axially along the axial magnetic air gap (116), and the amount of the displacement is linearly proportional to the applied current.
  • the yoke permanent magnet assembly (107) can be made from any high quality permanent magnets in the form of the magnet bars or elongated arcuate segments, magnetized through the thickness of the bars or segments, and suitably arranged to cover the inner surface of the yoke magnetic assembly (105) in a way to create a uniform unipolar field in the axial magnetic air gap (116).
  • a neodymium magnet also known as NdFeB, NIB, or Neo magnet
  • NdFeB also known as NdFeB, NIB, or Neo magnet
  • the neodymium magnet is a permanent magnet made from an alloy of neodymium, iron, and boron to form the Nd2Fe14B tetragonal crystalline structure resistant to demagnetization.
  • General Motors and Sumitomo Special Metals developed these neodymium permanent magnets in 1982, but only recently are these magnets being made readily available.
  • the neodymium magnet has replaced other types of magnets in the many applications in modern products that require strong permanent magnets. The most preferred type is in the class N52, specifically designed for demanding mechatronic applications and is readily available. This type of the permanent magnet is not susceptible to demagnetization due to high current flow in the electrical coil (104).
  • the permanent magnets (107) could also be placed on the core magnetic assembly (106).
  • the permanent magnet assemblies could also be distributed between the core magnetic assembly (106) and the yoke permanent magnet assembly (107). These assemblies can be paralleled by using sets of the electrical coils in parallel, where multiple coils would be acting on the valve pin assembly (110) and thus increasing the axial force.
  • a high density magnetic field in the axial magnetic air gap (116) is achieved by the LFAA assembly (101).
  • Other types of the magnetic structures like a ring magnet with radial magnetization can be used as long as a uniform, high density, unipolar magnetic field is produced within the axial magnetic air gap (116).
  • square bar magnets (117) are used to create a uniform magnetic field in the axial magnetic air gap (116) so that force due to a current in the electrical coil (104) is acting in the axial direction and is centered to drive the valve pin assembly (110) axially along the melt flow channel (112), and not imparting any side forces on the valve pin assembly (110).
  • Bar magnets are used because no strong permanent magnet is available today in the form of the radially magnetized ring due to difficulty in manufacturing, but these may be available for consideration in a preferred embodiment in the future.
  • an electrical coil (104) is wound onto a coil bobbin (108) that is positioned between the core magnetic assembly (106) and the yoke magnetic assembly (105), and is free to move along the axial magnetic air gap (116).
  • the electrical coil (104) is preferably made from a highly conductive material like silver and/or copper but an aluminum coil may be used in some applications.
  • the electrical coil (104) may be wound on the coil bobbin (108), which is made from plastic composites. A fine balance is made between the number of turns and the required axial force. Preference is given to structures without a separate coil bobbin (108) where the electrical coil (104) has a winding and coil binder, or hardening resins act together as self-supporting structures with solid integrity.
  • the electrical coil (104) made from the rectangular profile wire, intertwines with the Kapton ribbons or fibers and baked in a high temperature resin, has the strength to support impulse forces expected in the preferred embodiment of this invention.
  • An electrical coil can be made from segmented individual turns, preferably flat stamped, and only when assembled together are all the turns (of the coil) electrically interconnected.
  • the electrical coil (104) in form of a "slinky", and/or made from silver or pure copper material, can provide a distinct advantage in the preferred embodiments because the electrical coil (104) may provide a structure without the coil bobbin (108).
  • TRADEMARK DuPont
  • TRADEMARK DuPont Kapton
  • TRADEMARK TRADEMARK
  • MT polyimide film a homogeneous film possessing three times the thermal conductivity and cut-through strength of the standard Kapton (TRADEMARK) HN film.
  • This polyimide film has thermal conductivity properties that make it ideal for use in dissipating and managing heat in electronic assemblies, such as printed circuit boards and electrical coils with high integrity windings. It is anticipated that other materials and forms can be used for making reliable coils and, therefore, expand the applicability of this invention.
  • High coil integrity is required due to high acceleration and deceleration rates of the electrical coil (104).
  • the material used in the electrical coil (104), in some embodiments, could be made from highly conductive soft magnetic alloys, to reduce the effective air gap and to increase the valve-pin closing force.
  • the opening force may be nonlinear and may be reduced with the use of such a coil.
  • highly conductive graphite used in the electrical coil (104) when combined with oriented thermally-and-electrically-conductive nano-material structures with high axial integrity may be used to support the axial force, and may be an example for some embodiments.
  • the air gap may be filled in with nano-magnetic fluids.
  • Flexible power leads connect the electrical coil (104) to the control (180) that provides a current pulse electrical signal.
  • Suitable flat litz wire or flat flexible ribbon can be used for this application.
  • a mechanical pin locking assembly (126) is installed in the bottom portion of the yoke magnetic assembly (105).
  • a pin-locking slide (122) is made to move laterally along lock slide guides (125).
  • the assembly (126) includes a pair of jaws 502 that are slidably mounted on the guides (125).
  • Each of the jaws (502) has a recess (503) configured to conform to the outer surface of the sliding pin (110).
  • the opposed faces of the jaws (502) have magnetic holding springs (501) embedded therein to provide an attractive force in the direction of closing around the valve pin assembly (110).
  • the pin (110) includes surface formations such as a lock thread 330, intended to be engaged by the jaws (502) and prevent the valve pin assembly (110) from moving axially when operating power from the LFAA assembly (101) is removed within the cycle of the molding of the plastics parts.
  • the axial length of the surface formations is equal to an approximate length of the total axial stroke of the valve pin assembly (110).
  • a pin-locking coil (123) is placed inside the yoke magnetic assembly (105) just below the pin-locking slide (122).
  • a set of pin locking permanent magnets (124) is carried by each of the jaws (502) so as to be horizontally disposed above the coil (123). Energization of the coil (123) causes the magnets (124) to apply a force to separate the jaws (502) and thereby release the valve pin assembly (110) to allow axial movement when the LFAA assembly (101) is energized.
  • the valve pin assembly (110) has a surface formation indicated at 330 that provides a locking feature.
  • the pin-locking feature (330) is formed as a thread and is positioned some distance from the distal end of the valve pin assembly (110), and is located in the axial position of the mechanical pin locking assembly (126).
  • the pin-locking feature (330) is operatively engaged by the jaws of the lock slide guides (125) to prevent any axial movement of the valve pin assembly (110) when the LFAA assembly (101) is de-energized. In this way, the pin-locking feature (144) operatively arrests motion of the valve pin assembly (110) during a gate open condition or a gate closed condition within a molding operation.
  • valve pin assembly (110) allows for long power off time with a separate instance of a mechanical pin locking assembly (126) as will be discussed below.
  • the pin-locking coil (123) and the electrical coil (104) can be energized in a required sequence determined by the mold sequence controller (180), or can be energized at the same time to open the pin-locking slide (122) and move the valve pin assembly (110) axially.
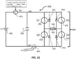
  • the control of the coils (104,123) is provided by the electronic valve gate drive controller (400) that is part of the controller (180) and is shown as simplified block diagram in Figure 10 .
  • An energy storage capacitor (405) is provided and is capable of storing and discharging, on demand, a certain calibrated amount of electrical energy into the electrical coil (104) of FIG. 1 .
  • the energy storage capacitor (405) is operatively connected to conduct an electrical charge via the electrical wire supply (406) and the electrical wire return line (407) to the electronic switch Q1 (410) and the electronic switch Q3 (430).
  • the electronic switch Q1 (410) and the electronic switch Q3 (430) operatively control the directional flow of the electrical current through the actuator coil (403) of the LFAA assembly (401).
  • a second set of electronic switches Q2 (420) and Q4 (440) facilitates the flow of the electrical current through the actuator coil (403) by being operatively switched on and off in a precisely determined order and with particular timing based on the input from the control computer.
  • the electronic switch Q1 (410) and the electronic switch Q2 (420) cannot be in an operatively ON state at the same time; this will cause a short circuit to the energy storage capacitor (405). Also, the electronic switch Q3 (430) and the electronic switch Q4 (440) cannot be closed in the ON state at the same time.
  • a duty cycle controller Qo (402) is provided to optimize and control the level of charge in the energy storage capacitor (405).
  • the duty cycle controller Qo (402) charges the energy storage capacitor (405) via the electrical conductors that are suitably connected from the energy storage capacitor (405) to the duty cycle controller Qo (402).
  • the duty cycle controller Qo (402) operatively charges the energy storage capacitor (405) in a predetermined and controlled sequence, operatively based and referenced to the operational cycle of the molding apparatus.
  • the LFAA assembly (101) is intended to operate only with a limited duty cycle. In the preferred embodiment, the duty cycle should not exceed 25%. In another embodiment, process demand for a short cooling time duty cycle may be less than 10%.
  • the axial move time is preferably less than 10 ms (milliseconds).
  • the duty cycle indicates both how often the LFAA assembly (101) will operate and how much time there is between operations. Because the power lost to inefficiency dissipates as heat, the actuator component with the lowest allowable temperature, usually the actuator coil (104), establishes the duty-cycle limit for the complete instance of the LFAA assembly (101).
  • the duty cycle is relatively easy to determine if the LFAA assembly (101) is used on a molding machine, since the repeatable cycle of the molding machine has intervals when the LFAA assembly (101) is demanded to be energized (during valve closing or opening only), and de-energized (during mold cooling and part handling time).
  • the provision of the pin locking assembly 126 enables a very short electrical actuator power ON time as there is no longer a need to maintain power to the actuator coil (104) once the valve gate (110) is closed or the valve gate (160) is opened.
  • the actuator coil (104) is ON only during the axial translation of the valve pin assembly (110) from the first preferred position (usually open), to the second preferred position (usually closed).
  • the LFAA assembly (101) is locked into preferred positions with no demand for power.
  • the pin-locking stroke of the jaws (122) is very short, usually only as much as is required to maintain the arrest position of the valve pin assembly (110). It is anticipated that the opening time of the pin locking assembly (126) is scheduled before the valve pin assembly (110) is directed to move, although some overlapping in sequence may be conceivable.
  • the LFAA assembly (101) Operating on the edge of the molding's power curves, i.e. shortest possible mold cycle time, might incur the risk of the LFAA assembly (101) running hot. However, the generous cooling time available for solidification of the plastic in the mold enables heat in the coil (104) to be dissipated. In most applications, molding PET or other food and medical moldings, where the duty cycle is 5% or less, the LFAA assembly (101) can run to the limit of its power curves, once the backup plate cooling is effective.
  • the duty cycle of the electrical locking coil (123) has no limit on duty cycle because the coil impedance limits the excessively high current flow to cause any overheating.
  • the longer part of the operational cycle of the valve pin assembly (110) is normally maintained by the permanent magnets, and all coils are without power and are self-cooled and are getting ready for the next movement cycle of short duration.
  • the shape of the pulse is selected to provide an optimum velocity profile in both the closing and opening direction. It will be appreciated that a more aggressive declaration can be obtained by reversing the direction of current flow in the coil 104 during movement, and that the pulse shape may be different between opening and closing directions.
  • the pin locking assembly (126) Upon attainment of the open and closed position, the pin locking assembly (126) will de-energize and lock the valve pin assembly (110) in the targeted preferred position. No power is applied, nor is required, for the locking coil to hold the valve pin assembly (110) in the arrested position. In a preferred embodiment of this invention, the force of permanent magnets (501) locks the valve pin assembly (110). When the valve pin assembly (110) is locked, the electronic switch Q1 (410) and the electronic switch Q4 (440) are open (OFF).
  • the duty cycle controller Qo (402) requests re-charging of the energy storage capacitor (405) from the suitable bus voltage power supply (480) according to demanded charge levels.
  • the request for movement of the pin (110) from the closed position to the open position may be initiated by closing the electronic switch Q3 (430) and the electronic switch Q2 (420).
  • the locking coil is energized to release the latch and permit movement of the pin (110).
  • the controller (402) provides a current pulse to move the pin (110) to the closed position and decelerate it at the closed position.
  • the latch is released to hold the pin (110).
  • transition time of the coil and energizing coil (123) in the modern power switching device is a fraction of a microsecond, modulation and intervention in the shape of the energy pulse is possible to ensure formation of an accurate and most desirable pulse shape.
  • Total stroke time for the axial distance of about 7 to about 9 mm (millimeters) is demonstrated to be about 5 to about 10 milliseconds, and is largely dependent on the size of the coil assembly of the LFAA assembly (101).
  • control pin movement (110) by coil (104) and the high forces available make it possible, in the preferred embodiment, to profile the end of the stroke to best meet the demanding quality of the gate vestige without using complex servo controlled positioning based on the position feedback device.
  • the primary parameter for controlling movement of the pin (110) is the current supplied from the capacitor Q5.
  • the rate of current is 50 to 100 A/millisecond (amperes per millisecond), and the limit for the peak current is set by comparing the current feedback from a current feedback device (455) at the electronic valve gate drive controller (400) and the set peak current.
  • the set peak current is an operator-controlled set point from the operator machine interface computer (182) and is based on the preferred axial position for the valve pin assembly (110). This input, the capacitor charge, may be generated by the operator based on the part quality observed or it may be automatically selected from a molding parameter set data matrix.
  • the log matrix in the form of the lookup table can be implemented to compare the vestige quality with the valve pin position, as attained using a selected current pulse shape, and use this information as a teaching tool for an optimum new position set point of the valve pin assembly (110).
  • Controlling the current through the electrical coil based on a certain set value may be accomplished by implementing the hysteretic control model where the hysteretic control circuit in the valve gate controller turns the electronic switch Q1 (410) or the electronic switch Q3 (430) OFF when the current amplitude reaches the upper set point value, and then turns the electronic switches back ON when it reaches the preset lower values amplitude point.
  • Valve pin positioning accuracy of plus or minus five micrometers can be achieved by implementation of-Iterative Learning Control (ILC) in valve pin positioning in the hot runner systems or injection molding, and can improve valve pin positioning.
  • ILC Interlead Control
  • ILC is shown schematically in Figure 15 and is a method of improving control parameters for systems that function in a repetitive manner.
  • the repetition involved in valve positioning provides typical conditions to use iterative learning techniques.
  • ILC can be implemented in any system that is required to perform the same action for millions of cycles with high precision.
  • Each repetition or cycle allows the system to improve tracking accuracy, gradually learning the required input needed to track the reference to a small margin of error.
  • the learning process uses information from previous repetitions to improve the control signal, ultimately enabling a suitable control action to be found.
  • fuzzy logic can be implemented as part of the ILC. Improved parameters for the ILC algorithms can be attained through the use of external sensor feedback. These sensors could include; x-ray sensors, electromagnetic sensors, or other appropriate sensors that would provide meaningful information.
  • the ILC algorithms and fuzzy logic parameters can be updated in real-time or through analysis of previously collected and stored data, as will be described more fully below with respect to an alternative embodiment of molding apparatus.
  • the result of the combination of real-time dynamic parameter modification is a self-tuning system that will have automated tracking accuracy of the open loop valve pin positioning.
  • the fuzzy system is used to precisely position the valve pin tip of FIG. 3 without installing any physical motion or position feedback device or structure within the valve pin stroke. Turning back to FIG.
  • the inherent characteristic of the actuator coil (403) of the LFAA assembly (104) to slow down in the magnetic field when coil terminals are short-circuited can be operatively used to slow down the axial movement of the coil of the LFAA assembly (104). This can be accomplished by opening the electronic switch Q2 (420) and the electronic switch Q4 (440), and closing the electronic switch Q1 (410) and the electronic switch Q3 (430).
  • the flyback diodes (451, 452, 453, 454) functionally support the switching operation of the electronic valve gate drive controller (400).
  • the operation of the gate valve assembly will now be described, assuming initially that the pin (110) is held in an open, i.e. retracted position by the jaws 502 engaging a lower portion of the screw thread (144).
  • the coils (104, 123) are de-energized and the jaws held closed by action of the magnets (501).
  • the first step in the operation of the LFAA assembly (101) involves application of the suitable electrical current pulse through the electrical coil (104) ( FIG. 2 ), and at the same time the application of the voltage to the pin-locking coil (123).
  • the pin-locking coil (123) reacts with the pin locking permanent magnets (124) and separates the jaws to unlock the valve pin assembly (110).
  • the current applied to the electrical coil (104) operatively reacts to a magnetic field from the permanent magnets, generates a force perpendicular to the current flow through the electrical coil (104), i.e. in the axial direction of the pin 110. Therefore accelerates the valve pin assembly (110) in the direction of the actuator force pushing downward to close the mold gate as per FIG. 1 .
  • the next step in the operation of the LFAA assembly (101) is to decelerate the valve pin assembly (110) to the gate closing point, but not to impact the mold gate (160) and to cause any damage by hard stops.
  • the electronic valve gate drive controller (400) modulates the current pulse to follow the shape of the current profile in the controller memory predetermined by experiments for the type of the product that is being molded.
  • the electronic valve gate drive controller (400) follows a shape of the current signal already stored in the controller memory within the proportional hysteresis bandwidth and based on the current feedback from the electronic drive controller, and determines optimal deceleration slope of the current pulse.
  • the electronic valve gate drive controller (400) has the ability to brake by shorting the electrical coil (104) by switching the appropriate electronic switches in FIG.
  • the electronic switch Q1 (410) and the electronic switch Q3 (430) are set OFF, and the electronic switch Q2 (420) and the electronic switch Q4 (440) are set ON) to accurately stop the valve pin assembly (110) and "soft land” the valve pin assembly (110) into a gate closed position or any preferred position within the axial stroke of the LFAA assembly (101).
  • the pin-locking coil (123) de-energizes, and the jaws (502) moved under the influence of the magnets (501) to operatively engage the threaded portion (144) (a high friction area) of the valve pin assembly (110) by the attractive force of the magnetic holding springs (501) in FIG. 5 . Any residual motion of the valve pin assembly (110) is arrested. In this condition, no current is required to hold the valve pin assembly (110) in a gate-closed position, as shown in FIG. 5 .
  • valve pin assembly (110) extends through the mold gate (160) and blocks the flow of the molding material through the mold gate (160) (or the mold gate channel).
  • the next step involves cooling of the moldings in the mold cavity (141), ejecting the molded part from the mold cavity (141) by opening mold (140), and closing the injection mold.
  • the cooling process of plastic parts takes time.
  • Plastic solidification and part removal from the mold cavity (141) is at best five to ten times longer than the time to inject molten material into the mold.
  • the mold core portion (140a) and the mold cavity portion (140b) are movable relative to each other, and when the part has solidified, the mold is opened and the part ejected. After ejection, the mold core portion (140a) and the mold cavity portion (140b) are positioned to abut each other so that the mold cavity (141) is formed, and the resin or the molding material may again be injected into the mold cavity (141).
  • the controller (400) thus energizes coil (104) to retract the pin (110) and the coil (123) to release the jaws (502).
  • the pin (110) is retracted and braked by the current pulse from the controller (400) and the jaws again engaged to hold the pin (110) in the open position.
  • the mold gate (160) is opened by moving the valve pin assembly (110) upward in the preferred position within the axial stroke of the valve pin assembly (110).
  • the valve pin assembly (110) is designed to open and/or increase the cross-sectional area of the mold gate (160) with the coil bobbin (108) and the pin-locking coil (123) energized, to allow the flow of molten resin into the mold cavity (141).
  • the axial stroke can be 8 to 10 mm (millimeters) which is deemed sufficient to avoid adverse effect of the annular flow for most medical moldings and the molding PET preforms.
  • the LFAA assembly (101) exploits the inherent characteristic of the injection molding process and the hot-runner system (100), where the plastic cooling takes a much longer time in the process than the injection of the polymer the molding material) into the mold cavity (141). Therefore, it is possible to operate the LFAA assembly (101) in a condition of significant current pulse overdrive, limited only by the thermal limitations of the LFAA assembly (101).
  • the method for modulating melt flow within the hot-runner system is obtained by generating a significant axial electrical force for a very short time lasting 5 to 20 ms (milliseconds).
  • the valve pin assembly (110) moves along the melt flow channel (112) by the LFAA assembly (101) when powered from the current pulse power supply (480).
  • positioning is accomplished by controlling the pulse current amplitude as a function of time. This allows the actuator operation only during axial movement of the electrical coil (104), leading to reduced operational time within the thermal limitation of the electrical coil (104).
  • the electrical coil (104) is de-energized but locked by the magnetic holding springs (501) of the permanent magnet.
  • the magnetic holding springs (501) rely on magnetic attraction or repulsion to control the force of the locking mechanism.
  • the magnetic holding springs (501) have a significant life and are a very consistent and reliable means of creating a spring force.
  • FIG. 12 An alternative embodiment of a Lorentz force actuator assembly is shown in Figure 12 , in which like components are identified by like reference numerals with a suffix "a" for clarity.
  • a Lorentz force actuator assembly (101a) is operatively connected to a valve pin assembly (110a) having a yoke magnetic conductor (105a) and a core magnetic conductor (106a).
  • the core magnetic conductor (106a) and the yoke magnetic conductor (105a) operatively support permanent magnets facing an axial air gap (116a).
  • a yoke permanent magnet assembly and a core permanent magnet assembly (209) are each facing an electrical coil wound as a self-supporting structure or being structurally supported by the coil bobbin (108a).
  • a base plate magnetic conductor (206) is provided to close the magnetic circuit.
  • the electrical coil (104a), designed to conduct a high current pulse, is placed on the coil bobbin (108a) that is designed to operatively move along the air gap (116a) in the axial direction under an electrical force acting in concert with a permanent magnet field in the air gap (116a), thus creating suitable a condition to generate an electrical force that is perpendicular to the coil current flow and, by definition, in a direction according to polarity of the current pulse. This force is directly and linearly proportional to the current amplitude and increases in the valve pin closing direction.
  • a pin locking assembly (126a) is positioned at the distal end of a valve pin retainer (240), and the pin locking assembly (126a) operatively arrests any movement of the valve pin assembly (110a) when the electrical locking coil (123a) is de-energized. There is a locking slides air gap (220) between the electrical locking coil (123) and the locking magnet (124a). The pin locking jaws (502a) are guided by the locking slide bearings (125a). When the electrical locking coil (123a) de-energizes, the permanent magnet assembly attracts the two jaws toward each other to close and engage the pin locking rib (230) formed on the pin 110a and to arrest any motion of the valve pin assembly (110a).
  • the pin locking assembly (126a) can be placed along a length of the valve pin assembly (110a), as well as attached to any axially moving part. Magnetic holding springs as shown in Figure 5 are used for attracting the pin locking jaws (502a) around the valve pin assembly (110a).
  • an actuator cover plate (252) is installed.
  • the actuator cover plate (252) is also preferably manufactured from a soft magnetic material.
  • the actuator cover plate (252) has an opening 253 where a valve pin retainer (254) can be guided during the axial movements of the valve pin assembly (110a). This opening can also be used as an access for accurate pin height adjustments.
  • the electrical coil bobbin guides (250) are provided to prevent potential side loading on the valve pin assembly (110a) and improve axial motion of the electrical coil (104a).
  • Pin upper position holding magnets (251) are provided for some embodiments to hold the pin (110a) in an open position.
  • valve pin assembly (110a) and the electrical coil (104a) generating the axial motion additional guides (250) are incorporated in the bobbin (108a).
  • Rib (230) is formed as a conical portion of progressively enlarged diameter which thereby provides a radial abutment surface facing the actuator (101a). A number of such ribs may be provided a discreet location on the pin (110a) to provide multiple stable positions.
  • the jaws (502a) operatively engage the valve pin assembly (110a) through the pin locking rib (230) and are separated as the pin (110) moves toward the closed position by the electrical coil (104a).
  • the coil (123a) I used to separate the jaws (502a) to release the pin (110a) to move to the open position.
  • the electrical locking coil (123a) is placed below a locking magnet to ensure better coil cooling by the backup plate (121 from FIG. 1 ).
  • the locking magnet may be a permanent magnet.
  • the pin locking assembly (126a) operatively engages the valve pin assembly (110a) against the pin locking rib (230) in a pin closed position.
  • the pin upper position holding magnets (251) are used as an alternative to bi-directional locking.
  • FIG. 13 A further embodiment is shown in FIG. 13 where like elements are identified with like reference numerals with a suffix "b" for clarity.
  • a valve pin retainer (254b) shown at the distal end of the valve pin assembly (110b) with a suitably arranged structure for precise adjustments of the valve pin protrusion, in a form of a valve pin height adjustment assembly (651).
  • a valve pin height adjustment assembly (651) comprises a valve pin guide bushing (604) and a fine-tuning pin indicator providing auditory and visual measure of adjustments in certain "clicks". Each incremental position represents selectively 5 to 25 micrometers of linear movement of the valve pin assembly (110b).
  • a slot (606) is a slot for inserting an adjusting tool for tensioning the magnetic holding springs (501).
  • a rotary arrangement using rotary locking slides may be used. This can include a rotating lock using a collet assembly that can effectively maintain the valve pin assembly (110) at rest when the power to the LFAA assembly (101) is turned off.
  • a method for arresting or locking the axial movement of the valve pin assembly (110) can be done by utilizing principles of a smart material that changes the volume or the linear dimension by the application of the electrical signal.
  • Some materials of this nature are crystals like quartz, often used to generate and receive a signal.
  • Other well-known materials sensitive to a voltage charge are lead zirconate-titanate or well known as PZT.
  • PZT lead zirconate-titanate
  • the science and art of smart materials are replete with materials that can change size by the application of an electrical charge.
  • Material properties like electrostriction, or crystal material matrix reconfiguration, or molecular or particular realignment, are some of the properties of materials like Nitinol, electro rheological fluids or nano- ferofluides, etc.
  • valve pin assembly (110) operatively incorporates an electrically-charge sensitive smart material that contracts radially when the electrical signal is applied to opposite axial sides of the smart material (in the form of an insert) to maintain easier axial motion of the valve pin assembly (110).
  • the smart material recovers in the normal condition of zero energy state where the majority diameter is larger than the average diameter of the valve pin assembly (110). This may create a friction force against a tightly fitted valve pin assembly (110), and the surrounding coaxial structure may arrest any motion of the valve pin assembly (110).
  • FIG. 16 to 20 a further embodiment of a molding system and its control system is shown in Figures 16 to 20 .
  • the manufacturing process is exemplified as a metal casting machine, such as is used in the production of "alloy" wheels, although the general applicability to other processes, particularly the molding of other parts, including plastic parts will be appreciated.
  • the molding machine will produce a part and transfer it into an inspection system (IS) with at least one part inspection sensor from those well known in the state of the art, like X-ray, UV, IR or visible light.
  • the inspection system IS will look into, for example, gate vestige of the molded article, which is related to the pin position, and create an image or set of digital data that characterizes this specific part vestige quality. Assuming that, when compared to drawing digital data from the design, the part is good and acceptable, the process will automatically transfer serialized set of digital data created by the inspection system and store it in the Good Part Data Set block (GPDS) shown in Fig. 16 .
  • GPDS Good Part Data Set block
  • this GPDS data will also be shared with the KSDAP (Knowledge System for Data Analyzing and Prediction) which function block contains all mathematical algorithms for retrieving necessary information to comparing data and running algorithms to determine if a change to the process is required. Since in this step no changes are warranted because the process has generated good part vestige, information about part will be transferred into Parameter Generator (PG) to create new relevant set of inputs that do not change the process at this moment.
  • PG Parameter Generator
  • the machine continues to produce parts with the valve stem positioning as before where the iterative learning controls maintains status. The process continues, and inspection continues, until the inspection system detects variations in the gate vestige.
  • One of solution is producing visible image of good vestige as an image template and correlate this image with proper valve stem position and compare template with following images produced (template matching).
  • BPDS Bad Part Data Set base
  • the KSDAP takes BPDS and compares it to information from GPDS and creates set of parameters indicating need to adjust the valve stem to improve vestige.
  • This information is now transferred to PG to generate new set of inputs for the machine (of any kind, molding, casting, CNC, additive mfg. or valve positioning) to iteratively adjust, in particular example, stem position and injection pressure.
  • PS Production system
  • This arrangement may of course be applied to inspection of any produced part and use of the data from the inspection, compare it to data from data bases of good and/or bad parts and compare this to original data set for the design model data set (DMDS) and determine in the KSDAP how to increment the process parameters to create new set of inputs to the machine that will produce next good part and continually do that for the production run, until interrupted by the operator locally at the machine or remotely stopped by the intelligent system operator.
  • DMDS design model data set
  • a more detailed example of the application of the invention is its use in the die-casting of an alloy wheel rim shown in the Fig 19 .
  • a production system PS represents the typical well known die-casting machine. This machine may be any machine according to standard state of the art, high pressure, low pressure, cold chamber, hot chamber, or thixomolding® injection molding machine as well as MAXIcastTM semi-solid casting machine as described in US patent application US 2015/0266086 , the contents of which are incorporated herein by reference.
  • the material is supplied to the mold cavity from a solid feedstock which is melted to slurry and processed to the runner system associated with the mold used to produce the product.
  • the production system PS has the controls necessary to adjust the operating parameters of the die casting machine as described above, including an iterative learning control to adjust operation of the valve. Once cast, the die cast wheels are ejected from the production system PS and transferred to an inspection system IS.
  • the Inspection system(s) accepts the cast parts and proceeds with automatic inspection according to one of the known or customized testing and inspection protocols.
  • the items are inspected for critical dimension or other critical features of the part. If for example, linear dimension of the item is critical for quality, the linear dimension of the parts is measured and digitized preferably by electromagnetic measurements like laser. If however surface appearance is critical to quality feature measurement for surface irregularities with one of the well-known methods is utilized.
  • the surface profile and roughness of a machined work piece are two of the most important product quality characteristics and in most cases a technical requirement for mechanical products. Achieving the desired surface quality of the finished castings is of great importance for the functional behavior of a part.
  • the process-dependent nature of the surface quality mechanism along with the numerous uncontrollable factors that influence pertinent phenomena, make it important to implement an accurate prediction model. Final improvements in prediction of surface profile using modern neural network may be used to ensure desired high quality surface of the part.
  • the integrated knowledge management system IKMS is organized as a network of interconnected functional modules that co-operate to produce molded components, assess their quality according to a variety of criteria, collect and store data on the components and adjust the production process as necessary to attain the desired quality.
  • the system includes the production cell PS that produces the molded component and delivers it to an inspection system IS.
  • the inspection system collects data indicative of the quality of the component and associates the information with a unique identifier indicative of the component that is stored in the part identifier PI.
  • the part identifier PI delivers the data to a knowledge system KSDAP which communicates with a summing junction where the manual input at the process start from the user interface is provided.
  • the output of the summing junction is used to generate operating parameters PG used as inputs to the production cell PS.
  • the part identification PI and knowledge system KSDAP exchange information with supplementary data sets that include an original production data set OPDS that represents the original input parameters determined by the operator at the process start, and a good part data set GPDS which represents the corresponding parameters for those parts that pass the quality criteria at the inspection system IS. Similarly, a bad part data set is compiled from the parameters of components that fail the criteria set by the inspection system IS.
  • a DMDS data set containing a 3D representation of the component is also available to the knowledge system and the part identification.
  • the inspection system may also communicate via communication module WiC to remote locations to share data on similar production facilities.
  • the Production System may not need to be modified or any different than the ones readily available on the market today which typically have suitable interface communication channels, to ensure fast data exchange. Data exchange over the communication channel is used to accept input parameter, transfer output parameters to inspection system and communication with a part identification module (PI), Knowledge System as well as various data set data basis as shown in the Fig 16 . It is understood that Production System (PS) may include all required auxiliary equipment commonly associated with Production System inputs and outputs.
  • PI part identification module
  • Knowledge System may include all required auxiliary equipment commonly associated with Production System inputs and outputs.
  • An event log of the process parameters for each cast part is made available to Original Production Data Set (OPDS) for warehousing and future processing.
  • OPDS Original Production Data Set
  • Each part cast in the PS will get assigned unique identification code for tracking and further processing.
  • the part is serialized and ejected from the machine, it is then sent to at least one inspection system(s) for inspection and analysis. It is understood that inspection system (IS) can be remote or distributed as well as fully integrated in each production system (PS).
  • this data set of the bad part will be stored in the Bad Part Data set (BPDS) and some valuable information from the bad part will be used to accelerate convergence by using in the new parameters generation for the subsequent casting.
  • BPDS Bad Part Data set
  • Output from the inspection system module is in digital or analog format suitable to be transferred to part identification module to associate information about part received from inspection system (IS) and store it with production System (PS) original production data set (OPDS). It is also envisioned that some of the inspection and OPDS data sets will also be transferred to centralized or distributed data centers via wireless communication networks or Internet in the cloud for further comparisons or processing. Some other location may be molding similar or same part and inspection system from this location may be beneficially used to improve quality of the remote castings.
  • the parts identification (PI) module associates production data set for each part and inspection system data sets and pass this to other modules as required.
  • the PI data set will contain critical to quality parameters and defect recognition data based criteria's.
  • the part machine parameters and inspection system parameters are available to other parameters data base structures for further processing and assignments via regular communication channels indicated with thin line.
  • Critical communication protocols are used for high volume data exchange between data buses and production and inspection system and are shown in Fig. 16 with a thick line.
  • KSDAP Knowledge System for Data Analyzing and Prediction
  • LSTM Long Short-Term Memory
  • RNN K-Nearest Neighbor algorithm
  • RCE Restricted Coulomb Energy algorithm
  • SPC QLF by Taguchi, fuzzy logic and ILC.
  • the Knowledge System for Data Analyzing and Prediction manipulates the data received to extract information applicable to the control of the production system PS.
  • the KSDAP compares the digital information data set for each part from the inspection systems with prior similar parts information data sets and determines best strategy for part quality improvements.
  • the KSDAP ensures that only relevant data sets are modified and prepared to be iteratively varied so that changes to some parameters does not lead to worsening of others and convergence takes much longer to be attained.
  • Various algorithms are used to prepare data set for Parameter Generator (PG).
  • the Parameter Generator utilizes vector Iterative learning control (ILC) to modify relevant parameters determined in KSDAP data base to ensure that next iterative process leads to improved part quality.
  • ILC vector Iterative learning control
  • An example is provided above where the single axis positioning of the valve pin operated by the electromagnetic actuator in molding apparatus implements ILC to slowly approach desired pin position or control melt flow through the gate.
  • the Parameter Generator PG may influence other multiple machine axes and processes like heat and pressure to attain the required quality of the component.
  • Finalized input parameters are generated as machine inputs at the parameter generator PG and directly communicated to Production System to execute as new iteratively improved set of inputs.
  • At least one of the set of data for following data bases is used: Good Part Data Set (GPDS), Bad Part Data Set (BPDS), Designed 3D model Data Set (DMDS) as well as Original Production Data Set (OPDS) for generating and iteratively improving at least some machine inputs to ensure higher quality part is casted in subsequent cycle.
  • GPDS Good Part Data Set
  • BPDS Bad Part Data Set
  • DMDS Designed 3D model Data Set
  • OPDS Original Production Data Set
  • the GPDS contain all digital information related to an acceptable part. All inspected parts that are acceptable to users are stored in this database.
  • the BPDS contain all digital information related to defective parts. Defect may be dimensional, surface or volume and may contain information on the part micro structure and structural inner inclusions or voids.
  • the DMDS contains data information about part original design and critical to part inspection items.
  • the OPDS data set contains all production parameters related to each produced part be it good or bad.
  • DMDS design 3D model data set
  • the IKMS is incorporated in the production system PS as indicated in Fig. 20 . From which it can be seen that the control input to the production system PS is provided from the parameter generator PG and the GUI communicates through the KSDAP, where changes made by the operator can be evaluated and adjustments implemented accordingly.
  • the production system PS will start casting the first part and upon completion the component is output from the production machine and transported to the inspection system IS.
  • the inspection system IS determines the quality of the part. If part is bad, information is stored in bad part data set data base BPDS. If part is good all information about this good part will be stored in good part data set data base GPDS. Assuming that the part is bad, the knowledge system KSDAP will determine which set of parameters needs to be adjusted iteratively to improve part deficient characteristics and a new set of inputs is generated in parameter generator PG.
  • the inspection may indicate that the wheel is not completely formed, indicating insufficient feedstock injected in to the mold.
  • the knowledge system determines a longer injection period is appropriate and iteratively instructs the parameter generator to delay the closing of the valve pin.
  • the next machine cycle is executed, serialized and passed to the inspection system. More data from the inspection system is generated and more information allows for faster convergence to a set of parameters that yields a good quality part. Let us suppose that this time part linear and surface dimensions are acceptable but an x-ray interrogation uncovered air entrapment in the body of the part with diameter 300 micrometer. The knowledge system determines an appropriate step in the iterative process will be to increase vacuum in the mold and increase pressure of the injection ram.
  • the parameter generator PG will communicate through the iterative learning control to modify suitable relevant parameters and produce 3rd part.
  • this part is again x-ray inspected it is determined that inclusion is no longer there.
  • the component is acceptable and information about good part is stored in the good part data base GPDS.
  • the production system PS will now use those input parameters that produced a good part as a new reference set of good inputs and maintain and inspect all new parts until deviation from good quality is observed.
  • the knowledge system KSDAP may access the data collected and determine the appropriate parameters to be adjusted through the iterative learning controls. All information stored will be retrievable and subject to comparisons with design requirements. Information about good set of parameters that produced good parts at similar conditions may be then made available to any system worldwide casting same wheel type.

Landscapes

  • Engineering & Computer Science (AREA)
  • Manufacturing & Machinery (AREA)
  • Mechanical Engineering (AREA)
  • Software Systems (AREA)
  • Evolutionary Computation (AREA)
  • Medical Informatics (AREA)
  • Health & Medical Sciences (AREA)
  • Physics & Mathematics (AREA)
  • General Physics & Mathematics (AREA)
  • Automation & Control Theory (AREA)
  • Computer Vision & Pattern Recognition (AREA)
  • Artificial Intelligence (AREA)
  • Moulds For Moulding Plastics Or The Like (AREA)
  • Injection Moulding Of Plastics Or The Like (AREA)
EP17172316.6A 2016-05-27 2017-05-22 Herstellungsverfahrensteuerungssysteme und -verfahren Active EP3248752B1 (de)

Applications Claiming Priority (1)

Application Number Priority Date Filing Date Title
US15/166,597 US10528024B2 (en) 2013-06-17 2016-05-27 Self-learning production systems with good and/or bad part variables inspection feedback

Publications (2)

Publication Number Publication Date
EP3248752A1 true EP3248752A1 (de) 2017-11-29
EP3248752B1 EP3248752B1 (de) 2019-02-27

Family

ID=58745177

Family Applications (1)

Application Number Title Priority Date Filing Date
EP17172316.6A Active EP3248752B1 (de) 2016-05-27 2017-05-22 Herstellungsverfahrensteuerungssysteme und -verfahren

Country Status (1)

Country Link
EP (1) EP3248752B1 (de)

Cited By (9)

* Cited by examiner, † Cited by third party
Publication number Priority date Publication date Assignee Title
CN109175608A (zh) * 2018-09-30 2019-01-11 华南理工大学 焊缝特征点位置在线测量方法及焊缝轨迹自动测量系统
CN109968620A (zh) * 2018-10-01 2019-07-05 中原大学 射出成型系统及射出成型方法
US20200206998A1 (en) * 2018-12-28 2020-07-02 Jtekt Corporation Quality prediction system and molding machine
CN111428329A (zh) * 2018-12-21 2020-07-17 财团法人工业技术研究院 基于模型的机器学习系统
CN112092278A (zh) * 2020-08-31 2020-12-18 深圳市精研科洁科技股份有限公司 一种用于碳纤维增强复合材料的自动清废注塑模具
CN113220044A (zh) * 2020-02-05 2021-08-06 纳博特斯克有限公司 液压伺服阀的控制装置、控制方法以及控制程序
CN115032946A (zh) * 2022-06-21 2022-09-09 浙江同发塑机有限公司 吹塑机的吹塑控制方法及其系统
DE102021116985A1 (de) 2021-07-01 2023-01-05 Guangdong Yizumi Precision Machinery Co., Ltd. Verfahren zum Betreiben einer Thixomoldingmaschine und Thixomoldingmaschine
CN117206495A (zh) * 2023-08-15 2023-12-12 宁波力劲智能铸造研究院有限公司 基于lstm神经网络的压铸机压射速度控制方法及系统

Citations (22)

* Cited by examiner, † Cited by third party
Publication number Priority date Publication date Assignee Title
GB872101A (en) 1957-10-28 1961-07-05 Inst Werkzeugmaschinen Improvements in or relating to injection moulding machines
US3873656A (en) 1967-12-15 1975-03-25 Ici Ltd Production of laminar articles
US4268240A (en) 1978-01-06 1981-05-19 Husky Injection Molding Systems Actuating mechanism for gate valve of injection nozzle
US4412807A (en) 1982-01-28 1983-11-01 The Continental Group, Inc. Offset flow injection nozzle
US4925384A (en) 1988-12-21 1990-05-15 Maenner Otto Apparatus for admitting hardenable material into the dies of molding machines
US5499916A (en) 1994-10-28 1996-03-19 Husky Injection Molding Systems Ltd. Rotary actuated gate valve
US5556582A (en) 1995-02-17 1996-09-17 Stanford University Injection molding gate flow control
US6086357A (en) 1998-12-21 2000-07-11 D-M-E Company Actuator for an injection molding valve gate
US6294122B1 (en) 1998-06-26 2001-09-25 Synventive Molding Solutions, Inc. Electric actuator for a melt flow control pin
EP1270172A1 (de) * 2001-06-25 2003-01-02 Fanuc Ltd Verfahren und Vorrichtung zum Erfassen des Wissens der Giesstechnik
US6539278B1 (en) * 1999-09-20 2003-03-25 General Electric Company Method and apparatus for resin formulations with improved streaking performance
WO2005018909A1 (en) * 2003-08-18 2005-03-03 Kortec, Inc. Automatic process control for a multilayer injection molding apparatus
US20050100625A1 (en) 2003-11-11 2005-05-12 Tooman Patrick A. Valve gate assembly
US7044728B2 (en) 2002-10-11 2006-05-16 Mold-Masters Limited Injection molding apparatus and linear actuator with position sensor therefor
US20070065538A1 (en) 2005-09-16 2007-03-22 Husky Injection Molding Systems Ltd. Molding system having valve including pump
US20080023861A1 (en) * 2006-07-28 2008-01-31 Lih-Sheng Turng Injection molding quality control system
US7600995B2 (en) 2007-10-31 2009-10-13 Husky Injection Molding Systems Ltd. Hot runner having reduced valve-stem drool
US8047836B2 (en) 2010-04-06 2011-11-01 Mold Hotrunner Solutions Inc. Nozzle valve gate apparatus with wiper seal
US20110293761A1 (en) 2009-04-21 2011-12-01 Husky Injection Molding Systems Ltd. Hot-Runner System having Valve Stem Movable Responsive to Electro-Magnetic Actuator
US20140367892A1 (en) * 2013-06-17 2014-12-18 Ashley Stone Molding systems and methods
US20150266086A1 (en) 2007-04-06 2015-09-24 Ashley Stone Device for casting
US20160121532A1 (en) * 2013-05-15 2016-05-05 Arburg Gmbh + Co Kg Method for operating a machine for processing plastics

Patent Citations (22)

* Cited by examiner, † Cited by third party
Publication number Priority date Publication date Assignee Title
GB872101A (en) 1957-10-28 1961-07-05 Inst Werkzeugmaschinen Improvements in or relating to injection moulding machines
US3873656A (en) 1967-12-15 1975-03-25 Ici Ltd Production of laminar articles
US4268240A (en) 1978-01-06 1981-05-19 Husky Injection Molding Systems Actuating mechanism for gate valve of injection nozzle
US4412807A (en) 1982-01-28 1983-11-01 The Continental Group, Inc. Offset flow injection nozzle
US4925384A (en) 1988-12-21 1990-05-15 Maenner Otto Apparatus for admitting hardenable material into the dies of molding machines
US5499916A (en) 1994-10-28 1996-03-19 Husky Injection Molding Systems Ltd. Rotary actuated gate valve
US5556582A (en) 1995-02-17 1996-09-17 Stanford University Injection molding gate flow control
US6294122B1 (en) 1998-06-26 2001-09-25 Synventive Molding Solutions, Inc. Electric actuator for a melt flow control pin
US6086357A (en) 1998-12-21 2000-07-11 D-M-E Company Actuator for an injection molding valve gate
US6539278B1 (en) * 1999-09-20 2003-03-25 General Electric Company Method and apparatus for resin formulations with improved streaking performance
EP1270172A1 (de) * 2001-06-25 2003-01-02 Fanuc Ltd Verfahren und Vorrichtung zum Erfassen des Wissens der Giesstechnik
US7044728B2 (en) 2002-10-11 2006-05-16 Mold-Masters Limited Injection molding apparatus and linear actuator with position sensor therefor
WO2005018909A1 (en) * 2003-08-18 2005-03-03 Kortec, Inc. Automatic process control for a multilayer injection molding apparatus
US20050100625A1 (en) 2003-11-11 2005-05-12 Tooman Patrick A. Valve gate assembly
US20070065538A1 (en) 2005-09-16 2007-03-22 Husky Injection Molding Systems Ltd. Molding system having valve including pump
US20080023861A1 (en) * 2006-07-28 2008-01-31 Lih-Sheng Turng Injection molding quality control system
US20150266086A1 (en) 2007-04-06 2015-09-24 Ashley Stone Device for casting
US7600995B2 (en) 2007-10-31 2009-10-13 Husky Injection Molding Systems Ltd. Hot runner having reduced valve-stem drool
US20110293761A1 (en) 2009-04-21 2011-12-01 Husky Injection Molding Systems Ltd. Hot-Runner System having Valve Stem Movable Responsive to Electro-Magnetic Actuator
US8047836B2 (en) 2010-04-06 2011-11-01 Mold Hotrunner Solutions Inc. Nozzle valve gate apparatus with wiper seal
US20160121532A1 (en) * 2013-05-15 2016-05-05 Arburg Gmbh + Co Kg Method for operating a machine for processing plastics
US20140367892A1 (en) * 2013-06-17 2014-12-18 Ashley Stone Molding systems and methods

Cited By (13)

* Cited by examiner, † Cited by third party
Publication number Priority date Publication date Assignee Title
CN109175608B (zh) * 2018-09-30 2023-06-20 华南理工大学 焊缝特征点位置在线测量方法及焊缝轨迹自动测量系统
CN109175608A (zh) * 2018-09-30 2019-01-11 华南理工大学 焊缝特征点位置在线测量方法及焊缝轨迹自动测量系统
CN109968620A (zh) * 2018-10-01 2019-07-05 中原大学 射出成型系统及射出成型方法
EP3632650A1 (de) * 2018-10-01 2020-04-08 Chung Yuan Christian University Spritzgusssystem und spritzgussverfahren
CN111428329A (zh) * 2018-12-21 2020-07-17 财团法人工业技术研究院 基于模型的机器学习系统
CN111428329B (zh) * 2018-12-21 2024-01-05 财团法人工业技术研究院 基于模型的机器学习系统
US20200206998A1 (en) * 2018-12-28 2020-07-02 Jtekt Corporation Quality prediction system and molding machine
CN113220044A (zh) * 2020-02-05 2021-08-06 纳博特斯克有限公司 液压伺服阀的控制装置、控制方法以及控制程序
CN112092278A (zh) * 2020-08-31 2020-12-18 深圳市精研科洁科技股份有限公司 一种用于碳纤维增强复合材料的自动清废注塑模具
DE102021116985A1 (de) 2021-07-01 2023-01-05 Guangdong Yizumi Precision Machinery Co., Ltd. Verfahren zum Betreiben einer Thixomoldingmaschine und Thixomoldingmaschine
CN115032946B (zh) * 2022-06-21 2022-12-06 浙江同发塑机有限公司 吹塑机的吹塑控制方法及其系统
CN115032946A (zh) * 2022-06-21 2022-09-09 浙江同发塑机有限公司 吹塑机的吹塑控制方法及其系统
CN117206495A (zh) * 2023-08-15 2023-12-12 宁波力劲智能铸造研究院有限公司 基于lstm神经网络的压铸机压射速度控制方法及系统

Also Published As

Publication number Publication date
EP3248752B1 (de) 2019-02-27

Similar Documents

Publication Publication Date Title
US10528024B2 (en) Self-learning production systems with good and/or bad part variables inspection feedback
EP3248752B1 (de) Herstellungsverfahrensteuerungssysteme und -verfahren
CA2847995C (en) Molding systems and methods
EP0544903B1 (de) Formschliessvorrichtung in spritzgiessmaschine
JP5043092B2 (ja) 活性材料素子を用いた射出圧縮成形方法及び装置
Mennig et al. Mold-making handbook
JP2008279784A (ja) 樹脂成形品
EP1360057B1 (de) Formwerkzeug und verfahren zum spritzprägen
EP2926971B1 (de) Heisskanalsysteme und -verfahren umfassend einen Lorentzkraft-Aktuator
EP2014434B1 (de) Spritzgiessmaschine
US8777607B2 (en) Mold including a locking device
CA2931412C (en) Manufacturing process control systems and methods
EP0804324B1 (de) Kompensieren von effiziensschwankungen in motoren
US20050236727A1 (en) Method and apparatus for mold component locking using active material elements
WO2009125732A1 (ja) 型締装置
JPH1158471A (ja) 型締装置
CN107877771A (zh) 一种附加取向磁场的磁铁注塑机
CN102672919A (zh) 注射成型机
JP4201580B2 (ja) 樹脂成形方法
JP4921036B2 (ja) 型締装置
CN207509591U (zh) 一种附加取向磁场的磁铁注塑机
EP2684662A1 (de) Formmaschine
CN108973015B (zh) 一种注塑机
US20080093773A1 (en) Reverse Motion Valve Gating System
Sakai et al. 2 Injection Molding Machines, Tools, and Processes

Legal Events

Date Code Title Description
PUAI Public reference made under article 153(3) epc to a published international application that has entered the european phase

Free format text: ORIGINAL CODE: 0009012

STAA Information on the status of an ep patent application or granted ep patent

Free format text: STATUS: THE APPLICATION HAS BEEN PUBLISHED

AK Designated contracting states

Kind code of ref document: A1

Designated state(s): AL AT BE BG CH CY CZ DE DK EE ES FI FR GB GR HR HU IE IS IT LI LT LU LV MC MK MT NL NO PL PT RO RS SE SI SK SM TR

AX Request for extension of the european patent

Extension state: BA ME

STAA Information on the status of an ep patent application or granted ep patent

Free format text: STATUS: REQUEST FOR EXAMINATION WAS MADE

17P Request for examination filed

Effective date: 20180524

RBV Designated contracting states (corrected)

Designated state(s): AL AT BE BG CH CY CZ DE DK EE ES FI FR GB GR HR HU IE IS IT LI LT LU LV MC MK MT NL NO PL PT RO RS SE SI SK SM TR

GRAP Despatch of communication of intention to grant a patent

Free format text: ORIGINAL CODE: EPIDOSNIGR1

STAA Information on the status of an ep patent application or granted ep patent

Free format text: STATUS: GRANT OF PATENT IS INTENDED

RIC1 Information provided on ipc code assigned before grant

Ipc: G05B 19/04 20060101ALI20180907BHEP

Ipc: B29C 45/28 20060101ALI20180907BHEP

Ipc: B29C 45/76 20060101AFI20180907BHEP

INTG Intention to grant announced

Effective date: 20181008

GRAS Grant fee paid

Free format text: ORIGINAL CODE: EPIDOSNIGR3

GRAA (expected) grant

Free format text: ORIGINAL CODE: 0009210

STAA Information on the status of an ep patent application or granted ep patent

Free format text: STATUS: THE PATENT HAS BEEN GRANTED

AK Designated contracting states

Kind code of ref document: B1

Designated state(s): AL AT BE BG CH CY CZ DE DK EE ES FI FR GB GR HR HU IE IS IT LI LT LU LV MC MK MT NL NO PL PT RO RS SE SI SK SM TR

REG Reference to a national code

Ref country code: GB

Ref legal event code: FG4D

REG Reference to a national code

Ref country code: CH

Ref legal event code: EP

REG Reference to a national code

Ref country code: AT

Ref legal event code: REF

Ref document number: 1100687

Country of ref document: AT

Kind code of ref document: T

Effective date: 20190315

REG Reference to a national code

Ref country code: IE

Ref legal event code: FG4D

REG Reference to a national code

Ref country code: DE

Ref legal event code: R096

Ref document number: 602017002304

Country of ref document: DE

REG Reference to a national code

Ref country code: CH

Ref legal event code: NV

Representative=s name: TROESCH SCHEIDEGGER WERNER AG, CH

REG Reference to a national code

Ref country code: NL

Ref legal event code: MP

Effective date: 20190227

REG Reference to a national code

Ref country code: LT

Ref legal event code: MG4D

PG25 Lapsed in a contracting state [announced via postgrant information from national office to epo]

Ref country code: PT

Free format text: LAPSE BECAUSE OF FAILURE TO SUBMIT A TRANSLATION OF THE DESCRIPTION OR TO PAY THE FEE WITHIN THE PRESCRIBED TIME-LIMIT

Effective date: 20190627

Ref country code: ES

Free format text: LAPSE BECAUSE OF FAILURE TO SUBMIT A TRANSLATION OF THE DESCRIPTION OR TO PAY THE FEE WITHIN THE PRESCRIBED TIME-LIMIT

Effective date: 20190227

Ref country code: LT

Free format text: LAPSE BECAUSE OF FAILURE TO SUBMIT A TRANSLATION OF THE DESCRIPTION OR TO PAY THE FEE WITHIN THE PRESCRIBED TIME-LIMIT

Effective date: 20190227

Ref country code: NL

Free format text: LAPSE BECAUSE OF FAILURE TO SUBMIT A TRANSLATION OF THE DESCRIPTION OR TO PAY THE FEE WITHIN THE PRESCRIBED TIME-LIMIT

Effective date: 20190227

Ref country code: NO

Free format text: LAPSE BECAUSE OF FAILURE TO SUBMIT A TRANSLATION OF THE DESCRIPTION OR TO PAY THE FEE WITHIN THE PRESCRIBED TIME-LIMIT

Effective date: 20190527

Ref country code: SE

Free format text: LAPSE BECAUSE OF FAILURE TO SUBMIT A TRANSLATION OF THE DESCRIPTION OR TO PAY THE FEE WITHIN THE PRESCRIBED TIME-LIMIT

Effective date: 20190227

Ref country code: FI

Free format text: LAPSE BECAUSE OF FAILURE TO SUBMIT A TRANSLATION OF THE DESCRIPTION OR TO PAY THE FEE WITHIN THE PRESCRIBED TIME-LIMIT

Effective date: 20190227

PG25 Lapsed in a contracting state [announced via postgrant information from national office to epo]

Ref country code: BG

Free format text: LAPSE BECAUSE OF FAILURE TO SUBMIT A TRANSLATION OF THE DESCRIPTION OR TO PAY THE FEE WITHIN THE PRESCRIBED TIME-LIMIT

Effective date: 20190527

Ref country code: RS

Free format text: LAPSE BECAUSE OF FAILURE TO SUBMIT A TRANSLATION OF THE DESCRIPTION OR TO PAY THE FEE WITHIN THE PRESCRIBED TIME-LIMIT

Effective date: 20190227

Ref country code: IS

Free format text: LAPSE BECAUSE OF FAILURE TO SUBMIT A TRANSLATION OF THE DESCRIPTION OR TO PAY THE FEE WITHIN THE PRESCRIBED TIME-LIMIT

Effective date: 20190627

Ref country code: LV

Free format text: LAPSE BECAUSE OF FAILURE TO SUBMIT A TRANSLATION OF THE DESCRIPTION OR TO PAY THE FEE WITHIN THE PRESCRIBED TIME-LIMIT

Effective date: 20190227

Ref country code: GR

Free format text: LAPSE BECAUSE OF FAILURE TO SUBMIT A TRANSLATION OF THE DESCRIPTION OR TO PAY THE FEE WITHIN THE PRESCRIBED TIME-LIMIT

Effective date: 20190528

Ref country code: HR

Free format text: LAPSE BECAUSE OF FAILURE TO SUBMIT A TRANSLATION OF THE DESCRIPTION OR TO PAY THE FEE WITHIN THE PRESCRIBED TIME-LIMIT

Effective date: 20190227

REG Reference to a national code

Ref country code: AT

Ref legal event code: MK05

Ref document number: 1100687

Country of ref document: AT

Kind code of ref document: T

Effective date: 20190227

PG25 Lapsed in a contracting state [announced via postgrant information from national office to epo]

Ref country code: EE

Free format text: LAPSE BECAUSE OF FAILURE TO SUBMIT A TRANSLATION OF THE DESCRIPTION OR TO PAY THE FEE WITHIN THE PRESCRIBED TIME-LIMIT

Effective date: 20190227

Ref country code: DK

Free format text: LAPSE BECAUSE OF FAILURE TO SUBMIT A TRANSLATION OF THE DESCRIPTION OR TO PAY THE FEE WITHIN THE PRESCRIBED TIME-LIMIT

Effective date: 20190227

Ref country code: SK

Free format text: LAPSE BECAUSE OF FAILURE TO SUBMIT A TRANSLATION OF THE DESCRIPTION OR TO PAY THE FEE WITHIN THE PRESCRIBED TIME-LIMIT

Effective date: 20190227

Ref country code: AL

Free format text: LAPSE BECAUSE OF FAILURE TO SUBMIT A TRANSLATION OF THE DESCRIPTION OR TO PAY THE FEE WITHIN THE PRESCRIBED TIME-LIMIT

Effective date: 20190227

Ref country code: CZ

Free format text: LAPSE BECAUSE OF FAILURE TO SUBMIT A TRANSLATION OF THE DESCRIPTION OR TO PAY THE FEE WITHIN THE PRESCRIBED TIME-LIMIT

Effective date: 20190227

Ref country code: RO

Free format text: LAPSE BECAUSE OF FAILURE TO SUBMIT A TRANSLATION OF THE DESCRIPTION OR TO PAY THE FEE WITHIN THE PRESCRIBED TIME-LIMIT

Effective date: 20190227

REG Reference to a national code

Ref country code: DE

Ref legal event code: R097

Ref document number: 602017002304

Country of ref document: DE

PG25 Lapsed in a contracting state [announced via postgrant information from national office to epo]

Ref country code: SM

Free format text: LAPSE BECAUSE OF FAILURE TO SUBMIT A TRANSLATION OF THE DESCRIPTION OR TO PAY THE FEE WITHIN THE PRESCRIBED TIME-LIMIT

Effective date: 20190227

Ref country code: PL

Free format text: LAPSE BECAUSE OF FAILURE TO SUBMIT A TRANSLATION OF THE DESCRIPTION OR TO PAY THE FEE WITHIN THE PRESCRIBED TIME-LIMIT

Effective date: 20190227

PG25 Lapsed in a contracting state [announced via postgrant information from national office to epo]

Ref country code: AT

Free format text: LAPSE BECAUSE OF FAILURE TO SUBMIT A TRANSLATION OF THE DESCRIPTION OR TO PAY THE FEE WITHIN THE PRESCRIBED TIME-LIMIT

Effective date: 20190227

PLBE No opposition filed within time limit

Free format text: ORIGINAL CODE: 0009261

STAA Information on the status of an ep patent application or granted ep patent

Free format text: STATUS: NO OPPOSITION FILED WITHIN TIME LIMIT

PG25 Lapsed in a contracting state [announced via postgrant information from national office to epo]

Ref country code: MC

Free format text: LAPSE BECAUSE OF FAILURE TO SUBMIT A TRANSLATION OF THE DESCRIPTION OR TO PAY THE FEE WITHIN THE PRESCRIBED TIME-LIMIT

Effective date: 20190227

26N No opposition filed

Effective date: 20191128

REG Reference to a national code

Ref country code: BE

Ref legal event code: MM

Effective date: 20190531

PG25 Lapsed in a contracting state [announced via postgrant information from national office to epo]

Ref country code: LU

Free format text: LAPSE BECAUSE OF NON-PAYMENT OF DUE FEES

Effective date: 20190522

Ref country code: SI

Free format text: LAPSE BECAUSE OF FAILURE TO SUBMIT A TRANSLATION OF THE DESCRIPTION OR TO PAY THE FEE WITHIN THE PRESCRIBED TIME-LIMIT

Effective date: 20190227

PG25 Lapsed in a contracting state [announced via postgrant information from national office to epo]

Ref country code: TR

Free format text: LAPSE BECAUSE OF FAILURE TO SUBMIT A TRANSLATION OF THE DESCRIPTION OR TO PAY THE FEE WITHIN THE PRESCRIBED TIME-LIMIT

Effective date: 20190227

PG25 Lapsed in a contracting state [announced via postgrant information from national office to epo]

Ref country code: IE

Free format text: LAPSE BECAUSE OF NON-PAYMENT OF DUE FEES

Effective date: 20190522

PG25 Lapsed in a contracting state [announced via postgrant information from national office to epo]

Ref country code: BE

Free format text: LAPSE BECAUSE OF NON-PAYMENT OF DUE FEES

Effective date: 20190531

REG Reference to a national code

Ref country code: DE

Ref legal event code: R082

Ref document number: 602017002304

Country of ref document: DE

Ref country code: DE

Ref legal event code: R081

Ref document number: 602017002304

Country of ref document: DE

Owner name: MEYER, EDO, DE

Free format text: FORMER OWNER: STONE, ASHLEY, 22926 AHRENSBURG, DE

REG Reference to a national code

Ref country code: CH

Ref legal event code: PUE

Owner name: EDO MEYER, DE

Free format text: FORMER OWNER: STONE, ASHLEY, DE

REG Reference to a national code

Ref country code: GB

Ref legal event code: 732E

Free format text: REGISTERED BETWEEN 20210311 AND 20210317

PG25 Lapsed in a contracting state [announced via postgrant information from national office to epo]

Ref country code: CY

Free format text: LAPSE BECAUSE OF FAILURE TO SUBMIT A TRANSLATION OF THE DESCRIPTION OR TO PAY THE FEE WITHIN THE PRESCRIBED TIME-LIMIT

Effective date: 20190227

PG25 Lapsed in a contracting state [announced via postgrant information from national office to epo]

Ref country code: MT

Free format text: LAPSE BECAUSE OF FAILURE TO SUBMIT A TRANSLATION OF THE DESCRIPTION OR TO PAY THE FEE WITHIN THE PRESCRIBED TIME-LIMIT

Effective date: 20190227

Ref country code: HU

Free format text: LAPSE BECAUSE OF FAILURE TO SUBMIT A TRANSLATION OF THE DESCRIPTION OR TO PAY THE FEE WITHIN THE PRESCRIBED TIME-LIMIT; INVALID AB INITIO

Effective date: 20170522

PG25 Lapsed in a contracting state [announced via postgrant information from national office to epo]

Ref country code: MK

Free format text: LAPSE BECAUSE OF FAILURE TO SUBMIT A TRANSLATION OF THE DESCRIPTION OR TO PAY THE FEE WITHIN THE PRESCRIBED TIME-LIMIT

Effective date: 20190227

PG25 Lapsed in a contracting state [announced via postgrant information from national office to epo]

Ref country code: IT

Free format text: LAPSE BECAUSE OF NON-PAYMENT OF DUE FEES

Effective date: 20200522

PG25 Lapsed in a contracting state [announced via postgrant information from national office to epo]

Ref country code: IT

Free format text: LAPSE BECAUSE OF NON-PAYMENT OF DUE FEES

Effective date: 20200522

PGRI Patent reinstated in contracting state [announced from national office to epo]

Ref country code: IT

Effective date: 20210531

PGFP Annual fee paid to national office [announced via postgrant information from national office to epo]

Ref country code: DE

Payment date: 20250527

Year of fee payment: 9

PGFP Annual fee paid to national office [announced via postgrant information from national office to epo]

Ref country code: GB

Payment date: 20250525

Year of fee payment: 9

PGFP Annual fee paid to national office [announced via postgrant information from national office to epo]

Ref country code: IT

Payment date: 20250529

Year of fee payment: 9

PGFP Annual fee paid to national office [announced via postgrant information from national office to epo]

Ref country code: FR

Payment date: 20250528

Year of fee payment: 9

PGFP Annual fee paid to national office [announced via postgrant information from national office to epo]

Ref country code: CH

Payment date: 20250602

Year of fee payment: 9