EP3114678B1 - Ensemble d'absorption acoustique a hautes et basses frequences - Google Patents
Ensemble d'absorption acoustique a hautes et basses frequences Download PDFInfo
- Publication number
- EP3114678B1 EP3114678B1 EP15713974.2A EP15713974A EP3114678B1 EP 3114678 B1 EP3114678 B1 EP 3114678B1 EP 15713974 A EP15713974 A EP 15713974A EP 3114678 B1 EP3114678 B1 EP 3114678B1
- Authority
- EP
- European Patent Office
- Prior art keywords
- acoustic
- absorption assembly
- assembly
- absorption
- micro
- Prior art date
- Legal status (The legal status is an assumption and is not a legal conclusion. Google has not performed a legal analysis and makes no representation as to the accuracy of the status listed.)
- Active
Links
Images
Classifications
-
- G—PHYSICS
- G10—MUSICAL INSTRUMENTS; ACOUSTICS
- G10K—SOUND-PRODUCING DEVICES; METHODS OR DEVICES FOR PROTECTING AGAINST, OR FOR DAMPING, NOISE OR OTHER ACOUSTIC WAVES IN GENERAL; ACOUSTICS NOT OTHERWISE PROVIDED FOR
- G10K11/00—Methods or devices for transmitting, conducting or directing sound in general; Methods or devices for protecting against, or for damping, noise or other acoustic waves in general
- G10K11/16—Methods or devices for protecting against, or for damping, noise or other acoustic waves in general
- G10K11/162—Selection of materials
- G10K11/168—Plural layers of different materials, e.g. sandwiches
-
- E—FIXED CONSTRUCTIONS
- E04—BUILDING
- E04B—GENERAL BUILDING CONSTRUCTIONS; WALLS, e.g. PARTITIONS; ROOFS; FLOORS; CEILINGS; INSULATION OR OTHER PROTECTION OF BUILDINGS
- E04B1/00—Constructions in general; Structures which are not restricted either to walls, e.g. partitions, or floors or ceilings or roofs
- E04B1/62—Insulation or other protection; Elements or use of specified material therefor
- E04B1/74—Heat, sound or noise insulation, absorption, or reflection; Other building methods affording favourable thermal or acoustical conditions, e.g. accumulating of heat within walls
- E04B1/82—Heat, sound or noise insulation, absorption, or reflection; Other building methods affording favourable thermal or acoustical conditions, e.g. accumulating of heat within walls specifically with respect to sound only
- E04B1/84—Sound-absorbing elements
-
- E—FIXED CONSTRUCTIONS
- E04—BUILDING
- E04B—GENERAL BUILDING CONSTRUCTIONS; WALLS, e.g. PARTITIONS; ROOFS; FLOORS; CEILINGS; INSULATION OR OTHER PROTECTION OF BUILDINGS
- E04B1/00—Constructions in general; Structures which are not restricted either to walls, e.g. partitions, or floors or ceilings or roofs
- E04B1/62—Insulation or other protection; Elements or use of specified material therefor
- E04B1/74—Heat, sound or noise insulation, absorption, or reflection; Other building methods affording favourable thermal or acoustical conditions, e.g. accumulating of heat within walls
- E04B1/82—Heat, sound or noise insulation, absorption, or reflection; Other building methods affording favourable thermal or acoustical conditions, e.g. accumulating of heat within walls specifically with respect to sound only
- E04B1/84—Sound-absorbing elements
- E04B1/86—Sound-absorbing elements slab-shaped
-
- E—FIXED CONSTRUCTIONS
- E04—BUILDING
- E04B—GENERAL BUILDING CONSTRUCTIONS; WALLS, e.g. PARTITIONS; ROOFS; FLOORS; CEILINGS; INSULATION OR OTHER PROTECTION OF BUILDINGS
- E04B9/00—Ceilings; Construction of ceilings, e.g. false ceilings; Ceiling construction with regard to insulation
- E04B9/001—Ceilings; Construction of ceilings, e.g. false ceilings; Ceiling construction with regard to insulation characterised by provisions for heat or sound insulation
-
- F—MECHANICAL ENGINEERING; LIGHTING; HEATING; WEAPONS; BLASTING
- F21—LIGHTING
- F21V—FUNCTIONAL FEATURES OR DETAILS OF LIGHTING DEVICES OR SYSTEMS THEREOF; STRUCTURAL COMBINATIONS OF LIGHTING DEVICES WITH OTHER ARTICLES, NOT OTHERWISE PROVIDED FOR
- F21V33/00—Structural combinations of lighting devices with other articles, not otherwise provided for
-
- G—PHYSICS
- G10—MUSICAL INSTRUMENTS; ACOUSTICS
- G10K—SOUND-PRODUCING DEVICES; METHODS OR DEVICES FOR PROTECTING AGAINST, OR FOR DAMPING, NOISE OR OTHER ACOUSTIC WAVES IN GENERAL; ACOUSTICS NOT OTHERWISE PROVIDED FOR
- G10K11/00—Methods or devices for transmitting, conducting or directing sound in general; Methods or devices for protecting against, or for damping, noise or other acoustic waves in general
- G10K11/16—Methods or devices for protecting against, or for damping, noise or other acoustic waves in general
- G10K11/172—Methods or devices for protecting against, or for damping, noise or other acoustic waves in general using resonance effects
-
- E—FIXED CONSTRUCTIONS
- E04—BUILDING
- E04B—GENERAL BUILDING CONSTRUCTIONS; WALLS, e.g. PARTITIONS; ROOFS; FLOORS; CEILINGS; INSULATION OR OTHER PROTECTION OF BUILDINGS
- E04B1/00—Constructions in general; Structures which are not restricted either to walls, e.g. partitions, or floors or ceilings or roofs
- E04B1/62—Insulation or other protection; Elements or use of specified material therefor
- E04B1/74—Heat, sound or noise insulation, absorption, or reflection; Other building methods affording favourable thermal or acoustical conditions, e.g. accumulating of heat within walls
- E04B1/82—Heat, sound or noise insulation, absorption, or reflection; Other building methods affording favourable thermal or acoustical conditions, e.g. accumulating of heat within walls specifically with respect to sound only
- E04B1/84—Sound-absorbing elements
- E04B2001/8457—Solid slabs or blocks
- E04B2001/8461—Solid slabs or blocks layered
-
- E—FIXED CONSTRUCTIONS
- E04—BUILDING
- E04B—GENERAL BUILDING CONSTRUCTIONS; WALLS, e.g. PARTITIONS; ROOFS; FLOORS; CEILINGS; INSULATION OR OTHER PROTECTION OF BUILDINGS
- E04B9/00—Ceilings; Construction of ceilings, e.g. false ceilings; Ceiling construction with regard to insulation
- E04B9/04—Ceilings; Construction of ceilings, e.g. false ceilings; Ceiling construction with regard to insulation comprising slabs, panels, sheets or the like
- E04B2009/0492—Ceilings; Construction of ceilings, e.g. false ceilings; Ceiling construction with regard to insulation comprising slabs, panels, sheets or the like with fabrics tensioned on frames
Definitions
- the invention relates to the field of false walls, and in particular that of false ceilings and false walls.
- the invention relates more particularly to an acoustic absorption assembly intended to be placed in a room with a view to controlling the acoustic behavior of the latter.
- the sound absorption assembly is intended in particular, but not exclusively, to be associated with a false wall formed inside a room.
- the false walls are made from frames suitable for being fixed to a wall or a ceiling of a room and from flexible sheets stretched over these frames.
- false walls made with stretched flexible sheets have a major drawback which is that they exhibit poor acoustic properties.
- the taut layers indeed reflect the sound waves, thus generating a significant phenomenon of reverberation (or echo) of the sound waves.
- acoustic absorption assemblies comprising flexible sheets provided with micro-perforations in order to make it possible to increase the absorption of sound and therefore to attenuate the reflection of the sound. sound waves.
- WO200807737 which describes an acoustic absorbent assembly comprising two stretched sheets provided with micro-perforations extending substantially parallel to the wall to be covered.
- US2013148357A1 also describes an acoustic absorption assembly comprising a tubular body closed at its two ends by flexible micro-perforated layers.
- the acoustic absorption assemblies of the prior art have several drawbacks.
- the acoustic assemblies of the prior art are efficient essentially for the absorption of sounds at frequencies above 1500 Hz (high frequencies).
- they remain inefficient for the absorption of sound at low frequency (frequencies below 300 Hz).
- the acoustic assemblies of the prior art are fixed directly to the wall to be covered.
- the absorption zones therefore remain limited to the number of micro-perforated sheets.
- the invention aims to remedy these problems by proposing an acoustic absorption assembly offering satisfactory acoustic properties at both high and low frequencies while offering an increased absorption capacity with regard to the acoustic absorption assemblies of the system. prior art.
- the invention also aims to provide an acoustic absorption assembly making it possible to illuminate the room in which it is placed and / or to offer an aesthetic rendering while ensuring the acoustic insulation of the latter.
- the invention provides an acoustic absorption assembly according to claim 1.
- the sound absorption assembly allows sound absorption at high and low frequencies and offers a larger sound absorption zone than that offered by the sound absorption assemblies of the prior art.
- low frequencies frequencies below 300 Hz and by high frequencies is meant frequencies above 1500 Hz.
- micro-perforations is also understood to mean perforations having a diameter of less than 5 millimeters.
- the diaphragm is fixed to the body by means of vibration damping means. This makes it possible to prevent the vibrations to which the diaphragm is subjected are damped by the damping means, thus preventing the acoustic assembly from being subjected to vibrations.
- the sound absorption assembly comprises at least one stretched internal flexible sheet interposed between at least one of the micro-perforated flexible sheets and the diaphragm.
- the internal flexible sheet may be either micro-perforated or devoid of perforation.
- the sound absorption assembly comprises at least one panel of absorbent porous material (s) interposed between at least one of the flexible plies (end plies or internal ply (s)) and the diaphragm.
- the sound absorption assembly comprises light means provided in one of the spaces.
- the diaphragm is a flexible metal plate.
- the metal plate is arranged parallel with the flexible plies (end plies and internal ply (s)).
- At least one of the flexible plies is translucent.
- the sound absorption assembly is advantageously intended to be mounted on a false wall.
- the invention also relates to an installation according to claim 11 comprising a false wall and at least one sound absorption assembly as described above.
- said assembly is fixed to the false wall at a distance greater than or equal to a limit value. More particularly, it is a question of placing the acoustic assembly so as to have one of the micro-perforated flexible sheets at a distance greater than or equal to the limit value
- the acoustic assembly thus offers a double entry sound waves, increasing the wave absorption surface and thus improving the sound insulation of the room in which the system is located.
- the limit value is of the order of 2 centimeters.
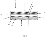
- an acoustic absorption assembly 1 according to a first embodiment, said assembly being shown mounted on a false ceiling 50.
- the fixing means of the assembly of sound absorption on the false ceiling have not been shown. They can include any suitable means known to those skilled in the art such as for example lines or more elaborate systems such as those described in the patent application. FR2867797 .
- the sound absorption assembly 1 comprises a body 2 of tubular shape (hereinafter referred to as box body 2) closed at its ends respectively by a first and a second flexible plies 3, 4 stretched micro-perforated. We will speak hereinafter of end sheets 3, 4.
- the micro-perforated sheets 3, 4 are intended to absorb high frequency sounds.
- the box body 2 is of parallelepiped shape. It is understood that the box body 2 is not limited to this shape, the latter being able to take any other shape without departing from the scope of the invention.
- the ends of the box body 2 are advantageously provided with fixing means conventionally used for fixing tensioned plies.
- the sound absorption assembly 1 also includes a flat diaphragm 5 absorbing low frequency sound.
- the diaphragm is a flexible metal plate. This is arranged inside the tubular body 2, between the end plies so as to delimit between said plies two preferably distinct spaces 6, 7. In other words, the spaces 6, 7 do not communicate with each other.
- the metal plate 5 is arranged parallel to the end plies 3, 4.
- the metal plate 5 is fixed to the box body 2 by means of a fixing system provided with vibration damping means (not shown).
- the damping means consist of one or more parts made of a flexible material so as to allow the absorption of vibrations between the metal plate 5 when the latter vibrates under the action of acoustic waves and the body 2 box supporting said plate.
- the metal plate 5 can thus vibrate and absorb the low frequencies without the acoustic assembly 1 also vibrating.
- the damping means are Silent Blocks®.
- the metal plate 5 is advantageously located at an equal distance from the end plies 3, 4.
- the acoustic assembly 1 is mounted so as to have one of the end plies 3, 4 facing the false ceiling 50, the box body 2 extending substantially perpendicular to the plane of the false ceiling 50
- the acoustic assembly 1 is placed at a certain distance from the false ceiling 50 so as to double the acoustically treated surfaces. Indeed, by being placed at a certain distance from the false ceiling 50, the acoustic assembly 1 offers a high surface (corresponding to the end sheet 3) and a low surface (corresponding to the end sheet 4) micro-perforated. absorbing high frequency sound.
- the acoustic assembly 1 should be placed at a distance of at least 2 centimeters from the false ceiling.
- the term upper end ply 3 will denote the end ply closest to the false ceiling 50 and the lower end ply 4 will denote the end ply located furthest from the false ceiling 50. .
- the sound absorption assembly 10 incorporates all the characteristics of the element described above.
- the acoustic assembly 10 further comprises light means 8 formed in the lower space 7 (space delimited between the metal plate 5 and the lower metal plate 4).
- the light means 8 are fixed, directly or indirectly on the underside of the metal plate 5, as well as on the wall portion of the box body 2 located under the metal plate 5. It is of course obvious that the invention does not apply. not limited to this configuration, the light means 8 can be provided only on the metal plate 5 or only on the wall portion of the body 2 of the box.
- the acoustic assembly 10 comprises a flexible internal sheet 9 interposed between the lower metal plate 4 and the metal plate 5.
- the internal sheet 9 is devoid of perforation.
- the internal sheet 9 will be translucent or not.
- the internal ply 9 is arranged parallel to the end plies 3, 4.
- the acoustic assembly 10 further comprises a panel of material (x) porous sound-absorbent (s) 11 interposed between the end sheet 3 and the metal plate 5.
- a panel of absorbent porous material (s) 11 could also be provided in the lower space 7 delimited by the metal plate 5 and the lower end ply 4, replacing or complementing that arranged in the upper space 6.
- panel of porous material (s) 11 is formed in one piece and filled the entire upper acoustic space. It is of course obvious that the panel of porous material (s) 11 could be formed from several layers of the same or different porous material (s) and could also have smaller dimensions, in particular to limit the weight of the porous material (s). the acoustic set.
- the sound absorption assembly 20 incorporates all the characteristics of the element described with reference to figure 1 .
- the sound absorption assembly 20 further comprises two internal plies 12, 13 flexible micro-perforated, interposed between the lower end ply 4 and the metal plate 5.
- the internal plies 12, 13 are arranged parallel to each other and to each other. the metal plate 5.
- two panels of porous sound-absorbing material (s) 11, 14, one being interposed being between the metal plate 5 is the internal sheet 12 adjacent, the other being interposed between the metal plate 5 and the upper end ply 3.
- a sound absorption assembly can be provided comprising one or more internal acoustic layers 12, 13 (ie. Micro-perforated), these can be placed in one or / and the other space. 6, 7 delimited by the metal plate 5.
- the absorption assembly 20 can be provided without a panel of absorbent porous material (s) or with only one, in this case arranged either in the upper space. 6 or in the lower space 7.
- the panels of absorbent porous material (s) 11, 12 are formed in one piece and fill all the acoustic spaces. It is of course obvious that the panels 11, 12 could be formed from several layers of the same or different absorbent material (s) and could also have smaller dimensions, in particular to limit the weight of the acoustic assembly.
- the end plies 3, 4 are shown arranged to extend in a plane containing the end edges 21, 22, 23, 24 of the box body 2. Provision can also be made for these end plies to be arranged at the level of the ends of the box body 2 but in a plane slightly offset from the plane passing through the end edges 21, 22, 23, 24 of the body 2 of the box. box.
- the diaphragm chosen is a metal plate. It is of course obvious that the above description also applies with diaphragms other than a metal plate.
- the false wall opposite which the acoustic assembly is placed is a false ceiling, the assembly then forming a horizontally suspended assembly. It is of course obvious that the false wall opposite which the acoustic assembly is placed can also be a wall, the acoustic assembly then forming a vertically suspended assembly. According to a particular embodiment, there may also be provided an acoustic assembly arranged to present a part intended to be placed facing the ceiling and another part placed facing the wall, the acoustic assembly then forming a horizontally and vertically suspended assembly. .
- the acoustic assembly is associated with a false wall, and in this case a false ceiling. It is of course obvious that the acoustic assembly according to the invention could also be implemented directly on a ceiling or a wall.
Landscapes
- Physics & Mathematics (AREA)
- Engineering & Computer Science (AREA)
- Acoustics & Sound (AREA)
- Architecture (AREA)
- Electromagnetism (AREA)
- Civil Engineering (AREA)
- Structural Engineering (AREA)
- Multimedia (AREA)
- General Engineering & Computer Science (AREA)
- Building Environments (AREA)
- Soundproofing, Sound Blocking, And Sound Damping (AREA)
Applications Claiming Priority (2)
| Application Number | Priority Date | Filing Date | Title |
|---|---|---|---|
| FR1451735A FR3018384B1 (fr) | 2014-03-04 | 2014-03-04 | Ensemble d'absorption acoustique a hautes et basses frequences |
| PCT/FR2015/050509 WO2015132521A1 (fr) | 2014-03-04 | 2015-03-03 | Ensemble d'absorption acoustique a hautes et basses frequences |
Publications (2)
| Publication Number | Publication Date |
|---|---|
| EP3114678A1 EP3114678A1 (fr) | 2017-01-11 |
| EP3114678B1 true EP3114678B1 (fr) | 2021-09-15 |
Family
ID=50473682
Family Applications (1)
| Application Number | Title | Priority Date | Filing Date |
|---|---|---|---|
| EP15713974.2A Active EP3114678B1 (fr) | 2014-03-04 | 2015-03-03 | Ensemble d'absorption acoustique a hautes et basses frequences |
Country Status (9)
| Country | Link |
|---|---|
| US (1) | US10109269B2 (enExample) |
| EP (1) | EP3114678B1 (enExample) |
| CN (1) | CN106103858B (enExample) |
| AU (1) | AU2015225964B2 (enExample) |
| BR (1) | BR112016019867B1 (enExample) |
| CA (1) | CA2941314C (enExample) |
| DK (1) | DK3114678T3 (enExample) |
| FR (1) | FR3018384B1 (enExample) |
| WO (1) | WO2015132521A1 (enExample) |
Families Citing this family (10)
| Publication number | Priority date | Publication date | Assignee | Title |
|---|---|---|---|---|
| FR3000509B1 (fr) * | 2012-12-31 | 2015-01-16 | Jean-Marc Scherrer | Ensemble etanche et acoustiquement absorbant pour fausse paroi |
| US10354638B2 (en) | 2016-03-01 | 2019-07-16 | Guardian Glass, LLC | Acoustic wall assembly having active noise-disruptive properties, and/or method of making and/or using the same |
| US10134379B2 (en) * | 2016-03-01 | 2018-11-20 | Guardian Glass, LLC | Acoustic wall assembly having double-wall configuration and passive noise-disruptive properties, and/or method of making and/or using the same |
| CN106482049A (zh) * | 2016-11-18 | 2017-03-08 | 广东环境保护工程职业学院 | 吸声灯具 |
| US10726855B2 (en) | 2017-03-15 | 2020-07-28 | Guardian Glass, Llc. | Speech privacy system and/or associated method |
| US10373626B2 (en) | 2017-03-15 | 2019-08-06 | Guardian Glass, LLC | Speech privacy system and/or associated method |
| US10304473B2 (en) | 2017-03-15 | 2019-05-28 | Guardian Glass, LLC | Speech privacy system and/or associated method |
| US11114080B2 (en) * | 2018-08-27 | 2021-09-07 | Toyota Motor Engineering & Manufacturing North America, Inc. | Duct sound absorber |
| WO2020095205A1 (en) * | 2018-11-09 | 2020-05-14 | 3M Innovative Properties Company | Blanking panels including acoustic absorbing materials |
| EP4446646B1 (en) * | 2023-04-13 | 2025-10-01 | Zumtobel Lighting GmbH | Luminaire |
Family Cites Families (24)
| Publication number | Priority date | Publication date | Assignee | Title |
|---|---|---|---|---|
| US1754411A (en) * | 1927-11-10 | 1930-04-15 | United States Gypsum Co | Sound-insulating construction |
| US2000806A (en) * | 1932-05-18 | 1935-05-07 | Macoustic Engineering Company | Method of and apparatus for sound modification |
| US2132642A (en) * | 1932-07-21 | 1938-10-11 | Johns Manville | Sound absorbing unit |
| US2159488A (en) * | 1935-08-01 | 1939-05-23 | Johns Manville | Perforated membrane |
| US2177393A (en) * | 1937-06-08 | 1939-10-24 | Johns Manville | Sound absorbing structure |
| GB614404A (en) * | 1945-08-27 | 1948-12-15 | Cementation Co Ltd | Improvements in or relating to means for reducing the sound effect of the passage of air or other gases through conduits |
| US3253675A (en) * | 1955-01-24 | 1966-05-31 | Bolt Beranek & Newman | Light-transmitting acoustic absorber and method |
| US2966954A (en) * | 1957-07-11 | 1961-01-03 | Celotex Corp | Acoustical correction element |
| US6617002B2 (en) * | 1998-07-24 | 2003-09-09 | Minnesota Mining And Manufacturing Company | Microperforated polymeric film for sound absorption and sound absorber using same |
| US6367581B1 (en) * | 2000-05-25 | 2002-04-09 | Otis Elevator Company | Sound absorbing light fixture |
| JP4050632B2 (ja) * | 2003-02-24 | 2008-02-20 | 株式会社神戸製鋼所 | 吸音構造体 |
| EP1662480A4 (en) * | 2003-09-05 | 2013-01-23 | Kobe Steel Ltd | SOUND ABSORPTION STRUCTURE AND METHOD FOR THE PRODUCTION THEREOF |
| FR2867797A1 (fr) * | 2004-03-17 | 2005-09-23 | Jean Marc Scherrer | Plafond caisson lumineux |
| JP5200932B2 (ja) | 2006-07-13 | 2013-06-05 | 新日鐵住金株式会社 | ベンド管及びその製造方法 |
| US8109361B2 (en) * | 2006-07-20 | 2012-02-07 | Kobe Steel, Ltd. | Solid-borne sound reducing structure |
| DK2054562T3 (da) * | 2006-08-10 | 2013-05-27 | Brevetix | Lydabsorberende indretning |
| US8525402B2 (en) * | 2006-09-11 | 2013-09-03 | 3M Innovative Properties Company | Illumination devices and methods for making the same |
| US8100225B2 (en) * | 2006-09-13 | 2012-01-24 | Nucore Technologies Inc. | Room dampening panel |
| DE102008017357B4 (de) * | 2008-04-04 | 2014-01-16 | Airbus Operations Gmbh | Akustisch optimiertes Kabinenwandelement und seine Verwendung |
| CN101650938A (zh) * | 2008-08-15 | 2010-02-17 | 吴哲 | 用于空气环境吸声的方法及装置及隔声室制造方法 |
| DE102009020996A1 (de) | 2009-05-12 | 2010-11-18 | Aksys Gmbh | Luftschall isolierender Materialaufbau |
| FR2970009B1 (fr) * | 2010-12-30 | 2021-06-11 | Normalu | Ensemble acoustiquement absorbant |
| US9194124B2 (en) * | 2011-12-09 | 2015-11-24 | 3M Innovative Properties Company | Acoustic light panel |
| US9390702B2 (en) * | 2014-03-27 | 2016-07-12 | Acoustic Metamaterials Inc. | Acoustic metamaterial architectured composite layers, methods of manufacturing the same, and methods for noise control using the same |
-
2014
- 2014-03-04 FR FR1451735A patent/FR3018384B1/fr active Active
-
2015
- 2015-03-03 DK DK15713974.2T patent/DK3114678T3/da active
- 2015-03-03 CN CN201580011760.5A patent/CN106103858B/zh active Active
- 2015-03-03 CA CA2941314A patent/CA2941314C/en active Active
- 2015-03-03 BR BR112016019867-0A patent/BR112016019867B1/pt active IP Right Grant
- 2015-03-03 US US15/121,408 patent/US10109269B2/en active Active
- 2015-03-03 EP EP15713974.2A patent/EP3114678B1/fr active Active
- 2015-03-03 AU AU2015225964A patent/AU2015225964B2/en active Active
- 2015-03-03 WO PCT/FR2015/050509 patent/WO2015132521A1/fr not_active Ceased
Also Published As
| Publication number | Publication date |
|---|---|
| US10109269B2 (en) | 2018-10-23 |
| WO2015132521A1 (fr) | 2015-09-11 |
| CN106103858A (zh) | 2016-11-09 |
| CA2941314A1 (en) | 2015-09-11 |
| FR3018384B1 (fr) | 2016-03-11 |
| AU2015225964B2 (en) | 2020-06-25 |
| CA2941314C (en) | 2022-04-26 |
| BR112016019867B1 (pt) | 2022-10-04 |
| US20160365079A1 (en) | 2016-12-15 |
| AU2015225964A1 (en) | 2016-08-25 |
| BR112016019867A2 (enExample) | 2017-08-15 |
| EP3114678A1 (fr) | 2017-01-11 |
| CN106103858B (zh) | 2021-11-16 |
| FR3018384A1 (fr) | 2015-09-11 |
| DK3114678T3 (da) | 2021-12-20 |
Similar Documents
| Publication | Publication Date | Title |
|---|---|---|
| EP3114678B1 (fr) | Ensemble d'absorption acoustique a hautes et basses frequences | |
| EP3204566B1 (fr) | Absorbeur dynamique non-lineaire et son utilisation pour l'isolation acoustique | |
| EP2472018B1 (fr) | Ensemble acoustiquement absorbant | |
| EP2938793B1 (fr) | Paroi comprenant un ensemble etanche et acoustiquement absorbant | |
| EP2447432B1 (fr) | Dispositif de suspension d'un element de traitement acoustique | |
| EP2054562B1 (fr) | Ensemble acoustiquement absorbant | |
| FR3043588A1 (fr) | Panneau acoustique multicouche | |
| EP0560702B1 (fr) | Studio d'enregistrement audio-vidéo ou salle de concert | |
| CA2757170A1 (fr) | Panneau acoustique destine a recevoir, emettre ou absorber des sons | |
| EP4172448A1 (fr) | Intercalaire phonique | |
| WO1999067474A1 (fr) | Element de construction ayant des proprietes acoustiques ameliorees | |
| EP3224424A1 (fr) | Structure a toiles tendues pour la réalisation d'un faux plafond ou d'un caisson suspendu | |
| FR3050217B1 (fr) | Element ou partie de cloison integrant un dispositif de restitution sonore | |
| BE1017303A6 (fr) | Absorbeur de sons passif, pour la correction acoustique a l'interieur d'un batiment. | |
| FR3153458A1 (fr) | Dispositif de réduction de pollutions sonores | |
| FR2835007A1 (fr) | Panneau pour cloison d'isolation acoustique; cloison d'isolation acoustique constituee de tels panneaux | |
| WO2025120206A1 (fr) | Vitrage pour l'émission d'ondes acoustiques | |
| FR3006803A1 (fr) | Ensemble d'elements acoustiques, ou systemes idiophoniques, de modification des proprietes acoustiques d'un espace, son utilisation et procedes correspondants | |
| EP3990744A1 (fr) | Installation a double paroi | |
| FR2871180A1 (fr) | Element d'isolation acoustique | |
| EP1441327A1 (fr) | Structure mécanique présentant une propriété vibratoire modifiable | |
| FR3083580A1 (fr) | Dispositif d'amortissement de vibrations d'un composant mecanique | |
| FR2737514A1 (fr) | Ecran antibruit | |
| FR2607992A1 (fr) | Dispositif electro-acoustique | |
| EP3090903A1 (fr) | Paroi de véhicule automobile comportant deux peaux munies d'excroissances et prenant en sandwich une âme |
Legal Events
| Date | Code | Title | Description |
|---|---|---|---|
| STAA | Information on the status of an ep patent application or granted ep patent |
Free format text: STATUS: THE INTERNATIONAL PUBLICATION HAS BEEN MADE |
|
| PUAI | Public reference made under article 153(3) epc to a published international application that has entered the european phase |
Free format text: ORIGINAL CODE: 0009012 |
|
| STAA | Information on the status of an ep patent application or granted ep patent |
Free format text: STATUS: REQUEST FOR EXAMINATION WAS MADE |
|
| 17P | Request for examination filed |
Effective date: 20160808 |
|
| AK | Designated contracting states |
Kind code of ref document: A1 Designated state(s): AL AT BE BG CH CY CZ DE DK EE ES FI FR GB GR HR HU IE IS IT LI LT LU LV MC MK MT NL NO PL PT RO RS SE SI SK SM TR |
|
| AX | Request for extension of the european patent |
Extension state: BA ME |
|
| DAV | Request for validation of the european patent (deleted) | ||
| DAX | Request for extension of the european patent (deleted) | ||
| STAA | Information on the status of an ep patent application or granted ep patent |
Free format text: STATUS: EXAMINATION IS IN PROGRESS |
|
| 17Q | First examination report despatched |
Effective date: 20190411 |
|
| GRAP | Despatch of communication of intention to grant a patent |
Free format text: ORIGINAL CODE: EPIDOSNIGR1 |
|
| STAA | Information on the status of an ep patent application or granted ep patent |
Free format text: STATUS: GRANT OF PATENT IS INTENDED |
|
| INTG | Intention to grant announced |
Effective date: 20210421 |
|
| GRAS | Grant fee paid |
Free format text: ORIGINAL CODE: EPIDOSNIGR3 |
|
| GRAA | (expected) grant |
Free format text: ORIGINAL CODE: 0009210 |
|
| STAA | Information on the status of an ep patent application or granted ep patent |
Free format text: STATUS: THE PATENT HAS BEEN GRANTED |
|
| AK | Designated contracting states |
Kind code of ref document: B1 Designated state(s): AL AT BE BG CH CY CZ DE DK EE ES FI FR GB GR HR HU IE IS IT LI LT LU LV MC MK MT NL NO PL PT RO RS SE SI SK SM TR |
|
| RAP3 | Party data changed (applicant data changed or rights of an application transferred) |
Owner name: SCHERRER, JEAN-MARC |
|
| REG | Reference to a national code |
Ref country code: CH Ref legal event code: EP Ref country code: GB Ref legal event code: FG4D Free format text: NOT ENGLISH |
|
| RIN1 | Information on inventor provided before grant (corrected) |
Inventor name: SCHERRER, JEAN-MARC |
|
| REG | Reference to a national code |
Ref country code: DE Ref legal event code: R096 Ref document number: 602015073282 Country of ref document: DE |
|
| REG | Reference to a national code |
Ref country code: IE Ref legal event code: FG4D Free format text: LANGUAGE OF EP DOCUMENT: FRENCH |
|
| REG | Reference to a national code |
Ref country code: AT Ref legal event code: REF Ref document number: 1431123 Country of ref document: AT Kind code of ref document: T Effective date: 20211015 |
|
| REG | Reference to a national code |
Ref country code: DK Ref legal event code: T3 Effective date: 20211213 |
|
| REG | Reference to a national code |
Ref country code: LT Ref legal event code: MG9D |
|
| REG | Reference to a national code |
Ref country code: NL Ref legal event code: MP Effective date: 20210915 |
|
| PG25 | Lapsed in a contracting state [announced via postgrant information from national office to epo] |
Ref country code: SE Free format text: LAPSE BECAUSE OF FAILURE TO SUBMIT A TRANSLATION OF THE DESCRIPTION OR TO PAY THE FEE WITHIN THE PRESCRIBED TIME-LIMIT Effective date: 20210915 Ref country code: RS Free format text: LAPSE BECAUSE OF FAILURE TO SUBMIT A TRANSLATION OF THE DESCRIPTION OR TO PAY THE FEE WITHIN THE PRESCRIBED TIME-LIMIT Effective date: 20210915 Ref country code: HR Free format text: LAPSE BECAUSE OF FAILURE TO SUBMIT A TRANSLATION OF THE DESCRIPTION OR TO PAY THE FEE WITHIN THE PRESCRIBED TIME-LIMIT Effective date: 20210915 Ref country code: FI Free format text: LAPSE BECAUSE OF FAILURE TO SUBMIT A TRANSLATION OF THE DESCRIPTION OR TO PAY THE FEE WITHIN THE PRESCRIBED TIME-LIMIT Effective date: 20210915 Ref country code: NO Free format text: LAPSE BECAUSE OF FAILURE TO SUBMIT A TRANSLATION OF THE DESCRIPTION OR TO PAY THE FEE WITHIN THE PRESCRIBED TIME-LIMIT Effective date: 20211215 Ref country code: BG Free format text: LAPSE BECAUSE OF FAILURE TO SUBMIT A TRANSLATION OF THE DESCRIPTION OR TO PAY THE FEE WITHIN THE PRESCRIBED TIME-LIMIT Effective date: 20211215 Ref country code: LT Free format text: LAPSE BECAUSE OF FAILURE TO SUBMIT A TRANSLATION OF THE DESCRIPTION OR TO PAY THE FEE WITHIN THE PRESCRIBED TIME-LIMIT Effective date: 20210915 |
|
| REG | Reference to a national code |
Ref country code: AT Ref legal event code: MK05 Ref document number: 1431123 Country of ref document: AT Kind code of ref document: T Effective date: 20210915 |
|
| PG25 | Lapsed in a contracting state [announced via postgrant information from national office to epo] |
Ref country code: LV Free format text: LAPSE BECAUSE OF FAILURE TO SUBMIT A TRANSLATION OF THE DESCRIPTION OR TO PAY THE FEE WITHIN THE PRESCRIBED TIME-LIMIT Effective date: 20210915 Ref country code: GR Free format text: LAPSE BECAUSE OF FAILURE TO SUBMIT A TRANSLATION OF THE DESCRIPTION OR TO PAY THE FEE WITHIN THE PRESCRIBED TIME-LIMIT Effective date: 20211216 |
|
| PG25 | Lapsed in a contracting state [announced via postgrant information from national office to epo] |
Ref country code: AT Free format text: LAPSE BECAUSE OF FAILURE TO SUBMIT A TRANSLATION OF THE DESCRIPTION OR TO PAY THE FEE WITHIN THE PRESCRIBED TIME-LIMIT Effective date: 20210915 |
|
| PG25 | Lapsed in a contracting state [announced via postgrant information from national office to epo] |
Ref country code: IS Free format text: LAPSE BECAUSE OF FAILURE TO SUBMIT A TRANSLATION OF THE DESCRIPTION OR TO PAY THE FEE WITHIN THE PRESCRIBED TIME-LIMIT Effective date: 20220115 Ref country code: SM Free format text: LAPSE BECAUSE OF FAILURE TO SUBMIT A TRANSLATION OF THE DESCRIPTION OR TO PAY THE FEE WITHIN THE PRESCRIBED TIME-LIMIT Effective date: 20210915 Ref country code: SK Free format text: LAPSE BECAUSE OF FAILURE TO SUBMIT A TRANSLATION OF THE DESCRIPTION OR TO PAY THE FEE WITHIN THE PRESCRIBED TIME-LIMIT Effective date: 20210915 Ref country code: RO Free format text: LAPSE BECAUSE OF FAILURE TO SUBMIT A TRANSLATION OF THE DESCRIPTION OR TO PAY THE FEE WITHIN THE PRESCRIBED TIME-LIMIT Effective date: 20210915 Ref country code: PT Free format text: LAPSE BECAUSE OF FAILURE TO SUBMIT A TRANSLATION OF THE DESCRIPTION OR TO PAY THE FEE WITHIN THE PRESCRIBED TIME-LIMIT Effective date: 20220117 Ref country code: PL Free format text: LAPSE BECAUSE OF FAILURE TO SUBMIT A TRANSLATION OF THE DESCRIPTION OR TO PAY THE FEE WITHIN THE PRESCRIBED TIME-LIMIT Effective date: 20210915 Ref country code: NL Free format text: LAPSE BECAUSE OF FAILURE TO SUBMIT A TRANSLATION OF THE DESCRIPTION OR TO PAY THE FEE WITHIN THE PRESCRIBED TIME-LIMIT Effective date: 20210915 Ref country code: ES Free format text: LAPSE BECAUSE OF FAILURE TO SUBMIT A TRANSLATION OF THE DESCRIPTION OR TO PAY THE FEE WITHIN THE PRESCRIBED TIME-LIMIT Effective date: 20210915 Ref country code: EE Free format text: LAPSE BECAUSE OF FAILURE TO SUBMIT A TRANSLATION OF THE DESCRIPTION OR TO PAY THE FEE WITHIN THE PRESCRIBED TIME-LIMIT Effective date: 20210915 Ref country code: CZ Free format text: LAPSE BECAUSE OF FAILURE TO SUBMIT A TRANSLATION OF THE DESCRIPTION OR TO PAY THE FEE WITHIN THE PRESCRIBED TIME-LIMIT Effective date: 20210915 Ref country code: AL Free format text: LAPSE BECAUSE OF FAILURE TO SUBMIT A TRANSLATION OF THE DESCRIPTION OR TO PAY THE FEE WITHIN THE PRESCRIBED TIME-LIMIT Effective date: 20210915 |
|
| REG | Reference to a national code |
Ref country code: DE Ref legal event code: R097 Ref document number: 602015073282 Country of ref document: DE |
|
| PLBE | No opposition filed within time limit |
Free format text: ORIGINAL CODE: 0009261 |
|
| STAA | Information on the status of an ep patent application or granted ep patent |
Free format text: STATUS: NO OPPOSITION FILED WITHIN TIME LIMIT |
|
| 26N | No opposition filed |
Effective date: 20220616 |
|
| PG25 | Lapsed in a contracting state [announced via postgrant information from national office to epo] |
Ref country code: SI Free format text: LAPSE BECAUSE OF FAILURE TO SUBMIT A TRANSLATION OF THE DESCRIPTION OR TO PAY THE FEE WITHIN THE PRESCRIBED TIME-LIMIT Effective date: 20210915 |
|
| PG25 | Lapsed in a contracting state [announced via postgrant information from national office to epo] |
Ref country code: MC Free format text: LAPSE BECAUSE OF FAILURE TO SUBMIT A TRANSLATION OF THE DESCRIPTION OR TO PAY THE FEE WITHIN THE PRESCRIBED TIME-LIMIT Effective date: 20210915 |
|
| REG | Reference to a national code |
Ref country code: BE Ref legal event code: MM Effective date: 20220331 |
|
| PG25 | Lapsed in a contracting state [announced via postgrant information from national office to epo] |
Ref country code: LU Free format text: LAPSE BECAUSE OF NON-PAYMENT OF DUE FEES Effective date: 20220303 Ref country code: IE Free format text: LAPSE BECAUSE OF NON-PAYMENT OF DUE FEES Effective date: 20220303 |
|
| PG25 | Lapsed in a contracting state [announced via postgrant information from national office to epo] |
Ref country code: BE Free format text: LAPSE BECAUSE OF NON-PAYMENT OF DUE FEES Effective date: 20220331 |
|
| PG25 | Lapsed in a contracting state [announced via postgrant information from national office to epo] |
Ref country code: HU Free format text: LAPSE BECAUSE OF FAILURE TO SUBMIT A TRANSLATION OF THE DESCRIPTION OR TO PAY THE FEE WITHIN THE PRESCRIBED TIME-LIMIT; INVALID AB INITIO Effective date: 20150303 |
|
| PG25 | Lapsed in a contracting state [announced via postgrant information from national office to epo] |
Ref country code: MK Free format text: LAPSE BECAUSE OF FAILURE TO SUBMIT A TRANSLATION OF THE DESCRIPTION OR TO PAY THE FEE WITHIN THE PRESCRIBED TIME-LIMIT Effective date: 20210915 Ref country code: CY Free format text: LAPSE BECAUSE OF FAILURE TO SUBMIT A TRANSLATION OF THE DESCRIPTION OR TO PAY THE FEE WITHIN THE PRESCRIBED TIME-LIMIT Effective date: 20210915 |
|
| PG25 | Lapsed in a contracting state [announced via postgrant information from national office to epo] |
Ref country code: MT Free format text: LAPSE BECAUSE OF FAILURE TO SUBMIT A TRANSLATION OF THE DESCRIPTION OR TO PAY THE FEE WITHIN THE PRESCRIBED TIME-LIMIT Effective date: 20210915 |
|
| PGFP | Annual fee paid to national office [announced via postgrant information from national office to epo] |
Ref country code: DE Payment date: 20250423 Year of fee payment: 11 |
|
| PGFP | Annual fee paid to national office [announced via postgrant information from national office to epo] |
Ref country code: GB Payment date: 20250423 Year of fee payment: 11 Ref country code: DK Payment date: 20250423 Year of fee payment: 11 |
|
| PGFP | Annual fee paid to national office [announced via postgrant information from national office to epo] |
Ref country code: IT Payment date: 20250423 Year of fee payment: 11 |
|
| PGFP | Annual fee paid to national office [announced via postgrant information from national office to epo] |
Ref country code: FR Payment date: 20250423 Year of fee payment: 11 |
|
| PGFP | Annual fee paid to national office [announced via postgrant information from national office to epo] |
Ref country code: CH Payment date: 20250424 Year of fee payment: 11 |
|
| PG25 | Lapsed in a contracting state [announced via postgrant information from national office to epo] |
Ref country code: TR Free format text: LAPSE BECAUSE OF FAILURE TO SUBMIT A TRANSLATION OF THE DESCRIPTION OR TO PAY THE FEE WITHIN THE PRESCRIBED TIME-LIMIT Effective date: 20210915 |