EP3053801B2 - Véhicule de transport public à vision panoramique - Google Patents

Véhicule de transport public à vision panoramique Download PDF

Info

Publication number
EP3053801B2
EP3053801B2 EP15305176.8A EP15305176A EP3053801B2 EP 3053801 B2 EP3053801 B2 EP 3053801B2 EP 15305176 A EP15305176 A EP 15305176A EP 3053801 B2 EP3053801 B2 EP 3053801B2
Authority
EP
European Patent Office
Prior art keywords
images
image capture
vehicle
display
display device
Prior art date
Legal status (The legal status is an assumption and is not a legal conclusion. Google has not performed a legal analysis and makes no representation as to the accuracy of the status listed.)
Active
Application number
EP15305176.8A
Other languages
German (de)
English (en)
Other versions
EP3053801B1 (fr
EP3053801A1 (fr
Inventor
Eric Combeau
Christopher Frind
Nicolas Rufflart
Current Assignee (The listed assignees may be inaccurate. Google has not performed a legal analysis and makes no representation or warranty as to the accuracy of the list.)
Alstom Holdings SA
Original Assignee
Alstom Holdings SA
Priority date (The priority date is an assumption and is not a legal conclusion. Google has not performed a legal analysis and makes no representation as to the accuracy of the date listed.)
Filing date
Publication date
Family has litigation
First worldwide family litigation filed litigation Critical https://patents.darts-ip.com/?family=52477751&utm_source=google_patent&utm_medium=platform_link&utm_campaign=public_patent_search&patent=EP3053801(B2) "Global patent litigation dataset” by Darts-ip is licensed under a Creative Commons Attribution 4.0 International License.
Application filed by Alstom Holdings SA filed Critical Alstom Holdings SA
Priority to ES15305176T priority Critical patent/ES2823803T5/es
Priority to EP15305176.8A priority patent/EP3053801B2/fr
Priority to AU2016200631A priority patent/AU2016200631B2/en
Publication of EP3053801A1 publication Critical patent/EP3053801A1/fr
Publication of EP3053801B1 publication Critical patent/EP3053801B1/fr
Application granted granted Critical
Publication of EP3053801B2 publication Critical patent/EP3053801B2/fr
Active legal-status Critical Current
Anticipated expiration legal-status Critical

Links

Images

Classifications

    • BPERFORMING OPERATIONS; TRANSPORTING
    • B61RAILWAYS
    • B61DBODY DETAILS OR KINDS OF RAILWAY VEHICLES
    • B61D13/00Tramway vehicles
    • BPERFORMING OPERATIONS; TRANSPORTING
    • B61RAILWAYS
    • B61DBODY DETAILS OR KINDS OF RAILWAY VEHICLES
    • B61D49/00Other details

Definitions

  • the present invention relates to a public transport vehicle, in particular a railway vehicle, and more particularly an urban railway vehicle such as a tramway.
  • a public transport vehicle includes a passenger area intended to accommodate passengers, delimited by walls, in particular side walls and a roof.
  • an urban rail vehicle generally includes various electronic equipment, including in particular pantographs, arranged on the roof of this vehicle.
  • This electronic equipment does not provide a sufficient opening to allow passengers to observe the landscape above the vehicle.
  • the invention aims in particular to remedy the aforementioned drawback, by proposing an urban rail public transport vehicle, allowing passengers to observe the urban landscape, in particular above the vehicle.
  • the subject of the invention is in particular an urban rail public transport vehicle according to claim 1.
  • the transport vehicle 10 comprises at least one classic type driving cabin 12, assembled with at least one classic structural body 15. More particularly, the transport vehicle 10 comprises a plurality of structural bodies 15 aligned along a longitudinal direction X between two driving cabins 12 (only one of which is shown). Each box 15 is separated from at least one adjacent box by an intercirculation device 16 of conventional type.
  • Each box 15 has walls, in particular side walls 18 and a roof 20.
  • the walls 18, 20 of each box 15 delimit between them a respective passenger zone 14, intended to accommodate passengers.
  • Each of these walls 18, 20 has an interior surface facing the passenger area 14 and an exterior surface facing the exterior of the vehicle 10.
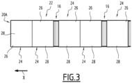
  • the interior surface of the pavilion 20 is designated by the reference 20A, shown on the Figure 3
  • the exterior surface of the pavilion 20 is designated by the reference 20B, shown on the figure 1 .
  • the vehicle 10 comprises a display system 22, comprising at least one display device 24 housed in at least one of the passenger zones 14, preferably in each passenger zone 14.
  • Each display device 24 comprises a panel 26 having a display surface 28.
  • Each panel 26 is arranged on the interior surface of a wall 18, 20, its display surface 28 being oriented towards the corresponding passenger area 14.
  • the slabs 26 are arranged on the interior surface 20A of the roof 20 of each box 15, as shown in the figure. Figure 3 .
  • the display system 22 comprises, for each passenger zone 14, a plurality of display devices 24 whose tiles 26 are aligned along the longitudinal direction interior 20A of the corresponding pavilion 20.
  • the slabs 26 are aligned to cover the entire interior surface 20A of the roof 20 of each box 15.
  • the slabs 26 of two adjacent boxes 15 are therefore separated by an upper part of the intercirculation device 16 inserted between these crates 15.
  • This upper part of the intercirculation device 16 may include a display device, or alternatively be free of a display device.
  • a plurality of adjacent tiles 26 are joined together in a coplanar manner, so that these adjacent tiles 26 together present a common continuous or quasi-continuous display surface.
  • quasi-continuous we mean that the two slabs 26 are separated by a very small spacing, in particular less than 10 mm.
  • the display system 22 furthermore comprises at least one image capture device 30, arranged on the exterior surface of one of the walls 18, 20. More particularly, the display system 22 comprises a capture device 30 for each display device 24, arranged near this display device 24. Thus, each capture device 30 is arranged on the exterior surface of one of the walls 18, 20 carrying a display device which is attached to it bound on its interior surface.
  • At least one image capture device 30 is arranged on the exterior surface 20B of the roof 20, and oriented to capture images of an environment in which the transport vehicle 10 operates. More particularly, each image capture device 30 is advantageously oriented upwards.
  • Each display device 24 is connected to at least one of these image capture devices 30 by computer connection and processing means (not shown), so that each display device 24 is capable of displaying images captured by at least one of the image capture devices 30 arranged near this display device 24.
  • each image capture device 30 is arranged behind a corresponding panel 26, so that the images displayed by this panel 26 are images captured behind this panel 26.
  • the display system 22 comprises a plurality of image capture devices 30, aligned along the longitudinal direction X on the exterior surface 20B of the roof 20.
  • Each of these image capture devices 30 has a field of vision 32, shown on the figure 1 by a circle centered on this image capture device 30, and on the figure 2 by a cone also centered on this image capture device 30.
  • each pair of two adjacent image capture devices 30 have their fields of vision 32 which overlap, thus presenting a common area 34.
  • the images captured by two adjacent image capture devices 30 have identical parts, corresponding to the common area 34 of their fields of vision 32.
  • these images captured by two adjacent image capture devices are therefore aligned with an overlap of their identical parts corresponding to their common zone 34.
  • connection and processing means also include means for separating the collective image, capable of separating this collective image into a plurality of sub-images, each being displayed by a respective one of the display devices 24. This allows to restore the collective image on all of the display devices 24, this collective image being restored continuously.
  • Each display device 24 and each capture device 30 preferably has a high resolution.
  • the images rendered on the display devices 24 are of substantially as good quality as if the passengers were observing the landscape through a state-of-the-art panoramic pavilion.
  • each display device 24 is capable of displaying information images and/or decorative images, in particular by superposition with the restored collective image, or alternatively with this collective image. This makes it possible to add information, in particular relating to the visible landscape, to the restored collective image, to display advertisements, or to display any other decorative element. These information and/or decorative images are for example displayed by the display device 24 replacing the collective image when the vehicle 10 passes through a tunnel, or when this is desired by an operator.
  • the display system 22 comprises means for detecting environmental conditions, capable of automatically displaying information images and/or decorative images in replacement of the collective image, depending on detected parameters of environmental conditions.
  • the means for detecting environmental conditions include external brightness sensors, and are capable of automatically displaying information images and/or decorative images, when the detected external brightness is less than a predetermined threshold.
  • the means for detecting environmental conditions include rain and/or snow sensors, and are capable of automatically displaying information images and/or decorative images, when the quantity of detected exterior rain and/or snow is greater than a predetermined threshold.
  • these environmental detection means make it possible to avoid displaying poor quality landscape images, when environmental conditions are degraded.
  • each image capture device 30 includes a night image capture mode, for example an infrared mode.
  • the display devices 24 are capable of displaying a representation of the landscape, even at night.
  • the invention is not limited to the embodiment described above, but could present various variants.
  • the invention is particularly adapted to a railway vehicle, it can be adapted to any other public transport vehicle, in particular to buses or coaches.

Landscapes

  • Engineering & Computer Science (AREA)
  • Transportation (AREA)
  • Mechanical Engineering (AREA)
  • Closed-Circuit Television Systems (AREA)
  • Fittings On The Vehicle Exterior For Carrying Loads, And Devices For Holding Or Mounting Articles (AREA)
  • Train Traffic Observation, Control, And Security (AREA)

Description

  • La présente invention concerne un véhicule de transport public, notamment un véhicule ferroviaire, et plus particulièrement un véhicule ferroviaire urbain tel qu'un tramway.
  • Un véhicule de transport public comporte une zone passagers destinée à accueillir des passagers, délimitée par des parois, notamment des parois latérales et un pavillon.
  • Afin que les passagers présents dans la zone passagers puissent apprécier un paysage urbain, on connait déjà, dans l'état de la technique, des véhicules de transport, notamment des bus, équipés d'un pavillon dit « panoramique », c'est-à-dire un pavillon transparent au travers duquel les passagers peuvent observer le paysage au-dessus du véhicule. On connait également des véhicules de transport comportant un pavillon ouvrant ou ouvert, pour un même effet.
  • Toutefois, un tel pavillon panoramique n'est pas adapté à un véhicule ferroviaire urbain. En effet, un véhicule ferroviaire urbain comporte généralement divers équipement électroniques, comprenant notamment des pantographes, agencés sur le pavillon de ce véhicule.
  • Ces équipements électroniques ne permettent pas de ménager une ouverture suffisante pour permettre aux passagers d'observer le paysage au-dessus du véhicule.
  • On connait également, d'après EP 2 628 649 , un véhicule ferroviaire similaire à celui du préambule de la revendication 1.
  • L'invention a notamment pour but de remédier à l'inconvénient précité, en proposant un véhicule de transport public ferroviaire urbain, permettant aux passagers d'observer le paysage urbain, notamment au-dessus du véhicule.
  • A cet effet, l'invention a notamment pour objet un véhicule de transport public ferroviaire urbain selon la revendication 1.
  • En retranscrivant les images capturées en temps réel sur le dispositif d'affichage, les passagers observent indirectement le paysage au-delà de cette paroi, notamment de ce pavillon.
  • Cette invention est particulièrement adaptée à un véhicule ferroviaire urbain, notamment à un tramway, car elle permet aux passagers d'observer le paysage au-dessus du véhicule malgré la présence d'équipements électroniques sur le pavillon.
  • Un véhicule selon l'invention peut comporter en outre l'une ou plusieurs des caractéristiques suivantes, prises seules ou selon toutes combinaisons techniquement envisageables.
    • Chaque dispositif d'affichage comporte une dalle présentant une surface d'affichage orientée vers la zone passagers, au moins l'un des dispositifs de capture d'images étant agencé en arrière de la dalle, les moyens de liaison et de traitement reliant ce dispositif de capture d'images avec cette dalle de sorte que les images affichées par cette dalle sont des images capturées en arrière de cette dalle.
    • Le système d'affichage comporte une pluralité de dispositifs d'affichage, dont les dalles sont alignées pour recouvrir une partie ou l'intégralité de la surface intérieure de la paroi correspondante.
    • Au moins deux dalles adjacentes sont accolées de manière coplanaires, de sorte que ces dalles adjacentes présentent ensemble une surface d'affichage commune continue ou quasi-continue.
    • Le système d'affichage comporte une pluralité de dispositifs de capture d'images, alignés sur la surface extérieure de la paroi correspondante, présentant chacun un champ de vision, agencés de sorte que les champs de vision des dispositifs de capture d'images de chaque paire de deux dispositifs de capture d'images adjacents présentent une zone commune.
    • Les moyens de liaison et de traitement comportent des moyens de compilation des images capturées par la pluralité de dispositifs de capture d'image, propres à compiler les images capturées par les dispositifs de capture d'images en une image collective, dans laquelle les images capturées par deux dispositifs de capture d'images adjacents sont alignées avec un recouvrement correspondant à la zone commune de leurs champs de vision.
    • Les moyens de liaison et de traitement comportent des moyens de séparation de l'image collective, propre à séparer l'image collective en une pluralité de sous-images, chacune affichée par l'un respectif des dispositifs d'affichage.
    • Chaque dispositif d'affichage est propre à afficher des images d'information et/ou des images décoratives, par superposition aux images capturées, ou alternativement à ces images capturées.
  • L'invention sera mieux comprise à la lecture de la description qui va suivre, donnée uniquement à titre d'exemple et faite en se référant aux figures annexées, parmi lesquelles :
    • la figure 1 est une vue partielle du dessus d'un véhicule de transport public selon un exemple de mode de réalisation de l'invention,
    • la figure 2 est une vue partielle de profil du véhicule de la figure 1 ;
    • la figure 3 est une vue partielle schématique d'une surface intérieure d'un pavillon du véhicule de la figure 1.
  • On a représenté partiellement sur la figure 1 un véhicule de transport public, notamment un tramway 10.
  • Le véhicule de transport 10 comporte au moins une cabine de conduite 12 de type classique, assemblée avec au moins une caisse structurelle 15 classique. Plus particulièrement, le véhicule de transport 10 comporte une pluralité de caisses structurelles 15 alignées le long d'une direction longitudinale X entre deux cabines de conduite 12 (dont une seule est représentée). Chaque caisse 15 est séparée d'au moins une caisse adjacente par un dispositif d'intercirculation 16 de type classique.
  • Chaque caisse 15 comporte des parois, notamment des parois latérales 18 et un pavillon 20. Les parois 18, 20 de chaque caisse 15 délimitent entre elles une zone passagers 14 respective, destinée à accueillir des passagers.
  • Chacune de ces parois 18, 20 présente une surface intérieure tournée vers la zone passagers 14 et une surface extérieure tournée vers l'extérieur du véhicule 10.
  • Plus particulièrement, la surface intérieure du pavillon 20 est désignée par la référence 20A, représentée sur la figure 3, et la surface extérieure du pavillon 20 est désignée par la référence 20B, représentée sur la figure 1.
  • Le véhicule 10 selon l'invention comporte un système d'affichage 22, comprenant au moins un dispositif d'affichage 24 logé dans au moins l'une des zones passagers 14, de préférence dans chaque zone passagers 14.
  • Chaque dispositif d'affichage 24 comporte une dalle 26 présentant une surface d'affichage 28. Chaque dalle 26 est agencée sur la surface intérieure d'une paroi 18, 20, sa surface d'affichage 28 étant orientée vers la zone passagers 14 correspondante.
  • Dans l'exemple décrit, les dalles 26 sont agencées sur la surface intérieure 20A du pavillon 20 de chaque caisse 15, comme cela est représenté sur la figure 3.
  • Plus particulièrement, le système d'affichage 22 comporte, pour chaque zone passagers 14, une pluralité de dispositif d'affichage 24 dont les dalles 26 sont alignées le long de la direction longitudinale X, en recouvrant une partie ou l'intégralité de la surface intérieure 20A du pavillon 20 correspondant. De préférence, les dalles 26 sont alignées pour recouvrir l'intégralité de la surface intérieure 20A du pavillon 20 de chaque caisse 15. Les dalles 26 de deux caisses 15 adjacentes sont donc séparées par une partie supérieure du dispositif d'intercirculation 16 insérée entre ces caisses 15. Cette partie supérieure du dispositif d'intercirculation 16 peut comporter un dispositif d'affichage, ou en variante être exempt de dispositif d'affichage.
  • Avantageusement, comme cela est représenté sur la figure 3, une pluralité de dalles adjacentes 26 sont accolées de manière coplanaire, de sorte que ces dalles adjacentes 26 présentent ensemble une surface d'affichage commune continue ou quasi-continue. Par « quasi-continue », on entend que les deux dalles 26 sont séparées par un espacement très faible, notamment inférieur à 10 mm.
  • Le système d'affichage 22 comporte par ailleurs au moins un dispositif de capture d'images 30, agencé sur la surface extérieure de l'une des parois 18, 20. Plus particulièrement, le système d'affichage 22 comporte un dispositif de capture 30 pour chaque dispositif d'affichage 24, agencé à proximité de ce dispositif d'affichage 24. Ainsi, chaque dispositif de capture 30 est agencé sur la surface extérieure de l'une des parois 18, 20 portant un dispositif d'affichage qui lui est lié sur sa surface intérieure.
  • Dans l'exemple décrit, au moins un dispositif de capture d'images 30 est agencé sur la surface extérieure 20B du pavillon 20, et orienté pour capturer les images d'un environnement dans lequel évolue le véhicule de transport 10. Plus particulièrement, chaque dispositif de capture d'images 30 est avantageusement orienté vers le haut.
  • Chaque dispositif d'affichage 24 est relié à au moins l'un de ces dispositifs de capture d'images 30 par des moyens de liaison et de traitement informatiques (non représentés), de sorte que chaque dispositif d'affichage 24 est propre à afficher des images capturées par au moins l'un des dispositifs de capture d'images 30 agencé à proximité de ce dispositif d'affichage 24.
  • Avantageusement, chaque dispositif de capture d'images 30 est agencé en arrière d'une dalle 26 correspondante, de sorte que les images affichées par cette dalle 26 sont des images capturées en arrière de cette dalle 26.
  • Conformément au mode de réalisation décrit, le système d'affichage 22 comporte une pluralité de dispositifs de capture d'images 30, alignés le long de la direction longitudinale X sur la surface extérieure 20B du pavillon 20.
  • Chacun de ces dispositifs de capture d'images 30 présente un champ de vision 32, représenté sur la figure 1 par un cercle centré sur ce dispositif de capture d'images 30, et sur la figure 2 par un cône également centré sur ce dispositif de capture d'images 30.
  • Il est à noter que les dispositifs de capture d'images 30 sont agencés de sorte que chaque paire de deux dispositifs de capture d'images 30 adjacents ont leurs champs de vision 32 qui se recoupent, présentant ainsi une zone commune 34.
  • Ainsi, les images capturées par deux dispositifs de capture d'images 30 adjacents présentent des parties identiques, correspondants à la zone commune 34 de leurs champs de vision 32.
  • Lesdits moyens de liaison et de traitement comportent des moyens de compilation des images capturées par la pluralité de dispositifs de capture d'images 30, propres à compiler les images capturées par ces dispositifs de capture d'images 30 en une image collective. Cette image collective est formée par les images capturées par les dispositifs de capture d'images 30, alignées en recouvrant les parties d'images identiques.
  • Dans l'image collective, ces images capturées par deux dispositifs de capture d'images adjacents sont donc alignés avec un recouvrement de leurs parties identiques correspondant à leur zone commune 34.
  • On obtient ainsi une image collective continue dans chaque zone passagers 14.
  • Les moyens de liaison et de traitement comportent également des moyens de séparation de l'image collective, propre à séparer cette image collective en une pluralité de sous-images, chacune étant affichée par l'un respectif des dispositifs d'affichage 24. Ceci permet de restituer l'image collective sur l'intégralité des dispositifs d'affichage 24, cette image collective étant restituée de manière continue.
  • Chaque dispositif d'affichage 24 et chaque dispositif de capture 30 présente de préférence une haute résolution. Ainsi, les images restituées sur les dispositifs d'affichage 24 sont sensiblement d'aussi bonne qualité que si les passagers observaient le paysage au travers d'un pavillon panoramique de l'état de la technique.
  • Par ailleurs, les moyens de liaison et de traitement permettent une restitution des images en temps réel, de sorte que les images restituées sur les dispositifs d'affichage 24 correspondent en temps réel au paysage de l'environnement dans lequel le véhicule 10 évolue.
  • Avantageusement, chaque dispositif d'affichage 24 est propre à afficher des images d'informations et/ou des images décoratives, notamment par superposition avec l'image collective restituée, ou alternativement à cette image collective. Ceci permet d'ajouter des informations, notamment relatives au paysage visible, sur l'image collective restituée, à afficher des publicités, ou à afficher tout autre élément décoratif. Ces images d'information et/ou décoratives sont par exemple affichées par le dispositif d'affichage 24 en remplacement de l'image collective lorsque le véhicule 10 passe dans un tunnel, ou lorsque cela est souhaité par un opérateur.
  • En variante, le système d'affichage 22 comprend des moyens de détection de conditions environnementales, propres à afficher automatiquement des images d'informations et/ou des images décoratives en remplacement de l'image collective, en fonction de paramètres détectés de conditions environnementales.
  • Avantageusement, les moyens de détection de conditions environnementales comprennent des capteurs de luminosité extérieure, et sont propres à afficher automatiquement des images d'informations et/ou des images décoratives, lorsque la luminosité extérieure détectée est inférieure à un seuil prédéterminé.
  • Avantageusement, les moyens de détection de conditions environnementales comprennent des capteurs de pluie et/ou de neige, et sont propres à afficher automatiquement des images d'informations et/ou des images décoratives, lorsque la quantité pluie et/ou de neige extérieure détectée est supérieure à un seuil prédéterminé.
  • Ainsi, ces moyens de détection environnementale permettent d'éviter un affichage d'images du paysage de mauvaise qualité, lorsque les conditions environnementales sont dégradées.
  • Avantageusement, chaque dispositif de capture d'images 30 comporte un mode de capture d'images de nuit, par exemple un mode infrarouge. Ainsi, les dispositifs d'affichage 24 sont propres à afficher une représentation du paysage, même de nuit.
  • L'invention n'est pas limitée au mode de réalisation précédemment décrit, mais pouvait présenter diverses variantes.
  • Par exemple, alors que les parois latérales 18 d'un véhicule ferroviaire comportent habituellement des fenêtres, au moins certaines de ces fenêtres pourraient être remplacées par des dispositifs d'affichage 24 tels que décrits précédemment. Ces dispositifs d'affichage 24 sont alors reliés à des dispositifs de capture d'images comme décrits précédemment.
  • Ceci a notamment pour intérêt de permettre l'affichage d'images d'informations et/ou d'images décoratives par superposition aux images capturées, comme indiqué précédemment, ce qui n'est pas possible pour des fenêtres classiques.
  • Afin, il est à noter que, bien que l'invention soit particulièrement adaptée à un véhicule ferroviaire, il peut être adapté à tout autre véhicule de transport public, notamment à des bus ou autocars.

Claims (8)

  1. Véhicule de transport public ferroviaire urbain (10), comportant au moins une zone passagers (14) destinée à accueillir des passagers, délimitée par des parois, comprenant des parois latérales (18) et un pavillon (20), présentant chacune une surface intérieure (20A) tournée vers la zone passagers (14), et une surface extérieure (20B) tournée vers l'extérieur du véhicule (10), caractérisé en ce que le véhicule (10) comporte un système d'affichage (22), dans lequel :
    - le système d'affichage (22) comporte au moins un dispositif de capture d'images (30), agencé sur la surface extérieure (20B) de l'une des parois (18, 20), et orienté pour capturer les images d'un environnement dans lequel évolue le véhicule (10),
    - le système d'affichage (22) comporte au moins un dispositif d'affichage (24) logé dans la zone passagers (14), chaque dispositif d'affichage (24) étant agencé sur la surface intérieure (20A) de l'une des parois (18, 20), et
    - le système d'affichage (22) comporte des moyens de liaison et de traitement, entre l'au moins un dispositif de capture d'images (30) et l'au moins un dispositif d'affichage (24), tels que chaque dispositif d'affichage (24) est propre à afficher des images capturées par au moins l'un des dispositifs de capture d'images (30) agencé à proximité de ce dispositif d'affichage (24),
    et dans lequel :
    - l'un parmi l'au moins un dispositif de capture d'images (30) est agencé sur la surface extérieure (20B) du pavillon (20), et orienté vers le haut
    - le dispositif d'affichage (24) affichant les images capturées par le dispositif de capture d'images (30) agencé sur la surface extérieure (20B) du pavillon (20) est porté par le pavillon (20) du véhicule ferroviaire.
  2. Véhicule (10) selon la revendication 1, dans lequel chaque dispositif d'affichage (24) comporte une dalle (26) présentant une surface d'affichage (28) orientée vers la zone passagers (14), au moins l'un des dispositifs de capture d'images (30) étant agencé en arrière de la dalle (26), les moyens de liaison et de traitement reliant ce dispositif de capture d'images (30) avec cette dalle (26) de sorte que les images affichées par cette dalle (26) sont des images capturées en arrière de cette dalle (26).
  3. Véhicule (10) selon la revendication 2, dans lequel le système d'affichage (22) comporte une pluralité de dispositifs d'affichage (24), dont les dalles (26) sont alignées pour recouvrir une partie ou l'intégralité de la surface intérieure (20A) de la paroi (18, 20) correspondante.
  4. Véhicule (10) selon la revendication 3, dans lequel au moins deux dalles (26) adjacentes sont accolées de manière coplanaires, de sorte que ces dalles (26) adjacentes présentent ensemble une surface d'affichage commune continue ou quasi-continue.
  5. Véhicule (10) selon l'une quelconque des revendications 2 à 4, dans lequel le système d'affichage (22) comporte une pluralité de dispositifs de capture d'images (30), alignés sur la surface extérieure (20B) de la paroi (18, 20) correspondante, présentant chacun un champ de vision (32), agencés de sorte que les champs de vision (32) des dispositifs de capture d'images (30) de chaque paire de deux dispositifs de capture d'images (30) adjacents présentent une zone commune (34).
  6. Véhicule (10) selon la revendication 5, dans lequel les moyens de liaison et de traitement comportent des moyens de compilation des images capturées par la pluralité de dispositifs de capture d'images (30), propres à compiler les images capturées par les dispositifs de capture d'images (30) en une image collective, dans laquelle les images capturées par deux dispositifs de capture d'images adjacents sont alignées avec un recouvrement correspondant à la zone commune (34) de leurs champs de vision (32).
  7. Véhicule (10) selon la revendication 6 prise en combinaison avec la revendication 3 ou 4, dans lequel les moyens de liaison et de traitement comportent des moyens de séparation de l'image collective, propre à séparer l'image collective en une pluralité de sous-images, chacune affichée par l'un respectif des dispositifs d'affichage (24).
  8. Véhicule (10) selon l'une quelconque des revendications précédentes, dans lequel chaque dispositif d'affichage (24) est propre à afficher des images d'information et/ou des images décoratives, par superposition aux images capturées, ou alternativement à ces images capturées.
EP15305176.8A 2015-02-06 2015-02-06 Véhicule de transport public à vision panoramique Active EP3053801B2 (fr)

Priority Applications (3)

Application Number Priority Date Filing Date Title
ES15305176T ES2823803T5 (es) 2015-02-06 2015-02-06 Vehículo de transporte público con vista panorámica
EP15305176.8A EP3053801B2 (fr) 2015-02-06 2015-02-06 Véhicule de transport public à vision panoramique
AU2016200631A AU2016200631B2 (en) 2015-02-06 2016-02-02 A public transport vehicle with a panoramic view

Applications Claiming Priority (1)

Application Number Priority Date Filing Date Title
EP15305176.8A EP3053801B2 (fr) 2015-02-06 2015-02-06 Véhicule de transport public à vision panoramique

Publications (3)

Publication Number Publication Date
EP3053801A1 EP3053801A1 (fr) 2016-08-10
EP3053801B1 EP3053801B1 (fr) 2020-08-05
EP3053801B2 true EP3053801B2 (fr) 2023-11-01

Family

ID=52477751

Family Applications (1)

Application Number Title Priority Date Filing Date
EP15305176.8A Active EP3053801B2 (fr) 2015-02-06 2015-02-06 Véhicule de transport public à vision panoramique

Country Status (3)

Country Link
EP (1) EP3053801B2 (fr)
AU (1) AU2016200631B2 (fr)
ES (1) ES2823803T5 (fr)

Families Citing this family (3)

* Cited by examiner, † Cited by third party
Publication number Priority date Publication date Assignee Title
FR3057229B1 (fr) * 2016-10-11 2020-03-06 Alstom Transport Technologies Tramway de fret, notamment pour le transport de containers
FR3077259B1 (fr) * 2018-02-01 2021-04-16 Alstom Transp Tech Caisse ferroviaire modulaire et vehicule ferroviaire de longueur variable
EP4200785A1 (fr) * 2020-08-21 2023-06-28 Sony Group Corporation Appareil et procédé d'affichage d'informations, et programme

Citations (5)

* Cited by examiner, † Cited by third party
Publication number Priority date Publication date Assignee Title
EP0913325A1 (fr) 1997-10-30 1999-05-06 Ioannis Vassilios Constantopoulos Avion de passagers
JP2000350195A (ja) 1999-06-04 2000-12-15 Mitsubishi Heavy Ind Ltd 航空機の仮想窓形成装置
WO2010004547A1 (fr) 2008-06-17 2010-01-14 Digigage Ltd. Système pour modifier des vues virtuelles
US20100188506A1 (en) 2009-01-28 2010-07-29 Honeywell International Inc. Synthetic window for limited visibility vehicles
US20130169807A1 (en) 2011-12-23 2013-07-04 Embraer S.A. Virtual window for aircraft

Family Cites Families (5)

* Cited by examiner, † Cited by third party
Publication number Priority date Publication date Assignee Title
EP0624501B1 (fr) * 1993-05-12 1997-01-22 Inventio Ag Concept modulaire pour la caisse d'une voiture à étage
US8720345B1 (en) * 2008-10-20 2014-05-13 Rail Pod Inc. Personal transit vehicle using single rails
CN201611928U (zh) * 2009-08-07 2010-10-20 上海鸣啸信息科技发展有限公司 具有全景监控装置的列车车厢
JP5520142B2 (ja) * 2010-06-21 2014-06-11 株式会社日立製作所 鉄道車両の状況監視装置
EP2628649A1 (fr) * 2012-02-15 2013-08-21 Bombardier Transportation GmbH Véhicule ferroviaire fourni avec une partie avant de passager panoramique et une cabine de commande de décalage

Patent Citations (5)

* Cited by examiner, † Cited by third party
Publication number Priority date Publication date Assignee Title
EP0913325A1 (fr) 1997-10-30 1999-05-06 Ioannis Vassilios Constantopoulos Avion de passagers
JP2000350195A (ja) 1999-06-04 2000-12-15 Mitsubishi Heavy Ind Ltd 航空機の仮想窓形成装置
WO2010004547A1 (fr) 2008-06-17 2010-01-14 Digigage Ltd. Système pour modifier des vues virtuelles
US20100188506A1 (en) 2009-01-28 2010-07-29 Honeywell International Inc. Synthetic window for limited visibility vehicles
US20130169807A1 (en) 2011-12-23 2013-07-04 Embraer S.A. Virtual window for aircraft

Also Published As

Publication number Publication date
EP3053801B1 (fr) 2020-08-05
ES2823803T5 (es) 2024-05-07
AU2016200631B2 (en) 2021-08-19
EP3053801A1 (fr) 2016-08-10
AU2016200631A1 (en) 2016-08-25
ES2823803T3 (es) 2021-05-10

Similar Documents

Publication Publication Date Title
EP3053801B2 (fr) Véhicule de transport public à vision panoramique
JP2019117215A (ja) 自動車
FR2973343A1 (fr) Aeronef pourvu d'un systeme d'observation d'un environnement de cet aeronef
EP2774815B1 (fr) Véhicule équipé avec un système de visualisation
FR2979299A1 (fr) Dispositif de traitement pour estimer une trajectoire future d'un vehicule, associee a une couleur fonction d'un niveau de risque de collision estime, pour un systeme d'aide a la conduite
FR2973344A1 (fr) Aeronef pourvu d'un systeme de surveillance
EP2716548A1 (fr) Pointe avant d'engin volant et engin volant associé
FR3023512A1 (fr) Combine d'instruments numerique pour planche de bord de vehicule automobile a surface d'affichage modulable.
FR2909594B1 (fr) Pavillon vitre de vehicule automobile,procede de montage et vehicule correspondants
EP3925849B1 (fr) Voiture de véhicule, notamment ferroviaire, comprenant une fenêtre de toit et procédé de montage associé
EP3686077B1 (fr) Véhicule ferroviaire
EP3938949B1 (fr) Entrainement d'un reseau de neurones, pour l'assistance a la conduite d'un vehicule par determination de delimitations de voie difficilement observables
EP2193047B1 (fr) Dispositif d'aide a la sortie de voie occultee
FR3093082A1 (fr) Engin mobile muni d’un système de communication a circuit flex entre un dispositif de mesure exterieur et une unite interieure
EP3729414A1 (fr) Barrière de parking avec panneau d'affichage digital
US20150002673A1 (en) Vehicle-mounted electronic device
EP4008598B1 (fr) Véhicule de transport de passagers équipé d'un système de vidéoprojection
EP3263406B1 (fr) Système d'aide à la conduite pour un véhicule, véhicule ferroviaire et procédé d'utilisation associés
FR3029156A1 (fr) Dispositif d’aide a la conduite permettant au conducteur d’un vehicule terrestre d’observer la zone situee devant le vehicule terrestre qui le precede
EP3381760A1 (fr) Véhicule ferroviaire comportant des voitures partiellement standardisées
FR3014551A1 (fr) Vehicule blinde lie a un chassis
FR2760702A1 (fr) Cellule evolutive pour vehicule
WO2023161588A1 (fr) Véhicule à capteur extéroceptif déporté
Андре Re-thinking intercultural co-existence in the light of Canadian multiculturalism
FR2968435A1 (fr) Dispositif de correction d'images reelles utiles a la construction d'une image de synthese d'une zone environnant un vehicule, et dispositif d'aide au conducteur associe

Legal Events

Date Code Title Description
PUAI Public reference made under article 153(3) epc to a published international application that has entered the european phase

Free format text: ORIGINAL CODE: 0009012

AK Designated contracting states

Kind code of ref document: A1

Designated state(s): AL AT BE BG CH CY CZ DE DK EE ES FI FR GB GR HR HU IE IS IT LI LT LU LV MC MK MT NL NO PL PT RO RS SE SI SK SM TR

AX Request for extension of the european patent

Extension state: BA ME

RAP1 Party data changed (applicant data changed or rights of an application transferred)

Owner name: ALSTOM TRANSPORT TECHNOLOGIES

STAA Information on the status of an ep patent application or granted ep patent

Free format text: STATUS: REQUEST FOR EXAMINATION WAS MADE

17P Request for examination filed

Effective date: 20170109

RBV Designated contracting states (corrected)

Designated state(s): AL AT BE BG CH CY CZ DE DK EE ES FI FR GB GR HR HU IE IS IT LI LT LU LV MC MK MT NL NO PL PT RO RS SE SI SK SM TR

STAA Information on the status of an ep patent application or granted ep patent

Free format text: STATUS: EXAMINATION IS IN PROGRESS

17Q First examination report despatched

Effective date: 20190711

GRAP Despatch of communication of intention to grant a patent

Free format text: ORIGINAL CODE: EPIDOSNIGR1

STAA Information on the status of an ep patent application or granted ep patent

Free format text: STATUS: GRANT OF PATENT IS INTENDED

INTG Intention to grant announced

Effective date: 20200325

GRAS Grant fee paid

Free format text: ORIGINAL CODE: EPIDOSNIGR3

GRAA (expected) grant

Free format text: ORIGINAL CODE: 0009210

STAA Information on the status of an ep patent application or granted ep patent

Free format text: STATUS: THE PATENT HAS BEEN GRANTED

AK Designated contracting states

Kind code of ref document: B1

Designated state(s): AL AT BE BG CH CY CZ DE DK EE ES FI FR GB GR HR HU IE IS IT LI LT LU LV MC MK MT NL NO PL PT RO RS SE SI SK SM TR

REG Reference to a national code

Ref country code: GB

Ref legal event code: FG4D

Free format text: NOT ENGLISH

REG Reference to a national code

Ref country code: CH

Ref legal event code: EP

REG Reference to a national code

Ref country code: AT

Ref legal event code: REF

Ref document number: 1298330

Country of ref document: AT

Kind code of ref document: T

Effective date: 20200815

REG Reference to a national code

Ref country code: DE

Ref legal event code: R096

Ref document number: 602015056847

Country of ref document: DE

REG Reference to a national code

Ref country code: IE

Ref legal event code: FG4D

Free format text: LANGUAGE OF EP DOCUMENT: FRENCH

REG Reference to a national code

Ref country code: CH

Ref legal event code: NV

Representative=s name: NOVAGRAAF INTERNATIONAL SA, CH

REG Reference to a national code

Ref country code: LT

Ref legal event code: MG4D

REG Reference to a national code

Ref country code: NL

Ref legal event code: MP

Effective date: 20200805

PG25 Lapsed in a contracting state [announced via postgrant information from national office to epo]

Ref country code: HR

Free format text: LAPSE BECAUSE OF FAILURE TO SUBMIT A TRANSLATION OF THE DESCRIPTION OR TO PAY THE FEE WITHIN THE PRESCRIBED TIME-LIMIT

Effective date: 20200805

Ref country code: PT

Free format text: LAPSE BECAUSE OF FAILURE TO SUBMIT A TRANSLATION OF THE DESCRIPTION OR TO PAY THE FEE WITHIN THE PRESCRIBED TIME-LIMIT

Effective date: 20201207

Ref country code: BG

Free format text: LAPSE BECAUSE OF FAILURE TO SUBMIT A TRANSLATION OF THE DESCRIPTION OR TO PAY THE FEE WITHIN THE PRESCRIBED TIME-LIMIT

Effective date: 20201105

Ref country code: LT

Free format text: LAPSE BECAUSE OF FAILURE TO SUBMIT A TRANSLATION OF THE DESCRIPTION OR TO PAY THE FEE WITHIN THE PRESCRIBED TIME-LIMIT

Effective date: 20200805

Ref country code: SE

Free format text: LAPSE BECAUSE OF FAILURE TO SUBMIT A TRANSLATION OF THE DESCRIPTION OR TO PAY THE FEE WITHIN THE PRESCRIBED TIME-LIMIT

Effective date: 20200805

Ref country code: GR

Free format text: LAPSE BECAUSE OF FAILURE TO SUBMIT A TRANSLATION OF THE DESCRIPTION OR TO PAY THE FEE WITHIN THE PRESCRIBED TIME-LIMIT

Effective date: 20201106

Ref country code: NO

Free format text: LAPSE BECAUSE OF FAILURE TO SUBMIT A TRANSLATION OF THE DESCRIPTION OR TO PAY THE FEE WITHIN THE PRESCRIBED TIME-LIMIT

Effective date: 20201105

Ref country code: FI

Free format text: LAPSE BECAUSE OF FAILURE TO SUBMIT A TRANSLATION OF THE DESCRIPTION OR TO PAY THE FEE WITHIN THE PRESCRIBED TIME-LIMIT

Effective date: 20200805

PG25 Lapsed in a contracting state [announced via postgrant information from national office to epo]

Ref country code: IS

Free format text: LAPSE BECAUSE OF FAILURE TO SUBMIT A TRANSLATION OF THE DESCRIPTION OR TO PAY THE FEE WITHIN THE PRESCRIBED TIME-LIMIT

Effective date: 20201205

Ref country code: RS

Free format text: LAPSE BECAUSE OF FAILURE TO SUBMIT A TRANSLATION OF THE DESCRIPTION OR TO PAY THE FEE WITHIN THE PRESCRIBED TIME-LIMIT

Effective date: 20200805

Ref country code: NL

Free format text: LAPSE BECAUSE OF FAILURE TO SUBMIT A TRANSLATION OF THE DESCRIPTION OR TO PAY THE FEE WITHIN THE PRESCRIBED TIME-LIMIT

Effective date: 20200805

Ref country code: LV

Free format text: LAPSE BECAUSE OF FAILURE TO SUBMIT A TRANSLATION OF THE DESCRIPTION OR TO PAY THE FEE WITHIN THE PRESCRIBED TIME-LIMIT

Effective date: 20200805

Ref country code: PL

Free format text: LAPSE BECAUSE OF FAILURE TO SUBMIT A TRANSLATION OF THE DESCRIPTION OR TO PAY THE FEE WITHIN THE PRESCRIBED TIME-LIMIT

Effective date: 20200805

REG Reference to a national code

Ref country code: DE

Ref legal event code: R026

Ref document number: 602015056847

Country of ref document: DE

PLBI Opposition filed

Free format text: ORIGINAL CODE: 0009260

PG25 Lapsed in a contracting state [announced via postgrant information from national office to epo]

Ref country code: EE

Free format text: LAPSE BECAUSE OF FAILURE TO SUBMIT A TRANSLATION OF THE DESCRIPTION OR TO PAY THE FEE WITHIN THE PRESCRIBED TIME-LIMIT

Effective date: 20200805

Ref country code: SM

Free format text: LAPSE BECAUSE OF FAILURE TO SUBMIT A TRANSLATION OF THE DESCRIPTION OR TO PAY THE FEE WITHIN THE PRESCRIBED TIME-LIMIT

Effective date: 20200805

Ref country code: RO

Free format text: LAPSE BECAUSE OF FAILURE TO SUBMIT A TRANSLATION OF THE DESCRIPTION OR TO PAY THE FEE WITHIN THE PRESCRIBED TIME-LIMIT

Effective date: 20200805

Ref country code: CZ

Free format text: LAPSE BECAUSE OF FAILURE TO SUBMIT A TRANSLATION OF THE DESCRIPTION OR TO PAY THE FEE WITHIN THE PRESCRIBED TIME-LIMIT

Effective date: 20200805

Ref country code: DK

Free format text: LAPSE BECAUSE OF FAILURE TO SUBMIT A TRANSLATION OF THE DESCRIPTION OR TO PAY THE FEE WITHIN THE PRESCRIBED TIME-LIMIT

Effective date: 20200805

REG Reference to a national code

Ref country code: ES

Ref legal event code: FG2A

Ref document number: 2823803

Country of ref document: ES

Kind code of ref document: T3

Effective date: 20210510

26 Opposition filed

Opponent name: SIEMENS MOBILITY GMBH

Effective date: 20210420

PLAF Information modified related to communication of a notice of opposition and request to file observations + time limit

Free format text: ORIGINAL CODE: EPIDOSCOBS2

PG25 Lapsed in a contracting state [announced via postgrant information from national office to epo]

Ref country code: AL

Free format text: LAPSE BECAUSE OF FAILURE TO SUBMIT A TRANSLATION OF THE DESCRIPTION OR TO PAY THE FEE WITHIN THE PRESCRIBED TIME-LIMIT

Effective date: 20200805

PLAX Notice of opposition and request to file observation + time limit sent

Free format text: ORIGINAL CODE: EPIDOSNOBS2

PG25 Lapsed in a contracting state [announced via postgrant information from national office to epo]

Ref country code: SK

Free format text: LAPSE BECAUSE OF FAILURE TO SUBMIT A TRANSLATION OF THE DESCRIPTION OR TO PAY THE FEE WITHIN THE PRESCRIBED TIME-LIMIT

Effective date: 20200805

PG25 Lapsed in a contracting state [announced via postgrant information from national office to epo]

Ref country code: IT

Free format text: LAPSE BECAUSE OF FAILURE TO SUBMIT A TRANSLATION OF THE DESCRIPTION OR TO PAY THE FEE WITHIN THE PRESCRIBED TIME-LIMIT

Effective date: 20200805

PG25 Lapsed in a contracting state [announced via postgrant information from national office to epo]

Ref country code: SI

Free format text: LAPSE BECAUSE OF FAILURE TO SUBMIT A TRANSLATION OF THE DESCRIPTION OR TO PAY THE FEE WITHIN THE PRESCRIBED TIME-LIMIT

Effective date: 20200805

PLBB Reply of patent proprietor to notice(s) of opposition received

Free format text: ORIGINAL CODE: EPIDOSNOBS3

PG25 Lapsed in a contracting state [announced via postgrant information from national office to epo]

Ref country code: MC

Free format text: LAPSE BECAUSE OF FAILURE TO SUBMIT A TRANSLATION OF THE DESCRIPTION OR TO PAY THE FEE WITHIN THE PRESCRIBED TIME-LIMIT

Effective date: 20200805

GBPC Gb: european patent ceased through non-payment of renewal fee

Effective date: 20210206

REG Reference to a national code

Ref country code: BE

Ref legal event code: MM

Effective date: 20210228

PG25 Lapsed in a contracting state [announced via postgrant information from national office to epo]

Ref country code: LU

Free format text: LAPSE BECAUSE OF NON-PAYMENT OF DUE FEES

Effective date: 20210206

PG25 Lapsed in a contracting state [announced via postgrant information from national office to epo]

Ref country code: IE

Free format text: LAPSE BECAUSE OF NON-PAYMENT OF DUE FEES

Effective date: 20210206

Ref country code: GB

Free format text: LAPSE BECAUSE OF NON-PAYMENT OF DUE FEES

Effective date: 20210206

REG Reference to a national code

Ref country code: AT

Ref legal event code: UEP

Ref document number: 1298330

Country of ref document: AT

Kind code of ref document: T

Effective date: 20200805

PG25 Lapsed in a contracting state [announced via postgrant information from national office to epo]

Ref country code: BE

Free format text: LAPSE BECAUSE OF NON-PAYMENT OF DUE FEES

Effective date: 20210228

PLAB Opposition data, opponent's data or that of the opponent's representative modified

Free format text: ORIGINAL CODE: 0009299OPPO

R26 Opposition filed (corrected)

Opponent name: SIEMENS MOBILITY GMBH

Effective date: 20210420

PG25 Lapsed in a contracting state [announced via postgrant information from national office to epo]

Ref country code: HU

Free format text: LAPSE BECAUSE OF FAILURE TO SUBMIT A TRANSLATION OF THE DESCRIPTION OR TO PAY THE FEE WITHIN THE PRESCRIBED TIME-LIMIT; INVALID AB INITIO

Effective date: 20150206

PG25 Lapsed in a contracting state [announced via postgrant information from national office to epo]

Ref country code: CY

Free format text: LAPSE BECAUSE OF FAILURE TO SUBMIT A TRANSLATION OF THE DESCRIPTION OR TO PAY THE FEE WITHIN THE PRESCRIBED TIME-LIMIT

Effective date: 20200805

P01 Opt-out of the competence of the unified patent court (upc) registered

Effective date: 20230823

PUAH Patent maintained in amended form

Free format text: ORIGINAL CODE: 0009272

STAA Information on the status of an ep patent application or granted ep patent

Free format text: STATUS: PATENT MAINTAINED AS AMENDED

RAP2 Party data changed (patent owner data changed or rights of a patent transferred)

Owner name: ALSTOM HOLDINGS

27A Patent maintained in amended form

Effective date: 20231101

AK Designated contracting states

Kind code of ref document: B2

Designated state(s): AL AT BE BG CH CY CZ DE DK EE ES FI FR GB GR HR HU IE IS IT LI LT LU LV MC MK MT NL NO PL PT RO RS SE SI SK SM TR

REG Reference to a national code

Ref country code: DE

Ref legal event code: R102

Ref document number: 602015056847

Country of ref document: DE

REG Reference to a national code

Ref country code: DE

Ref legal event code: R082

Ref document number: 602015056847

Country of ref document: DE

Representative=s name: WR SERVICES GMBH, DE

PG25 Lapsed in a contracting state [announced via postgrant information from national office to epo]

Ref country code: MK

Free format text: LAPSE BECAUSE OF FAILURE TO SUBMIT A TRANSLATION OF THE DESCRIPTION OR TO PAY THE FEE WITHIN THE PRESCRIBED TIME-LIMIT

Effective date: 20200805

REG Reference to a national code

Ref country code: ES

Ref legal event code: DC2A

Ref document number: 2823803

Country of ref document: ES

Kind code of ref document: T5

Effective date: 20240507

PG25 Lapsed in a contracting state [announced via postgrant information from national office to epo]

Ref country code: MT

Free format text: LAPSE BECAUSE OF FAILURE TO SUBMIT A TRANSLATION OF THE DESCRIPTION OR TO PAY THE FEE WITHIN THE PRESCRIBED TIME-LIMIT

Effective date: 20200805

PGFP Annual fee paid to national office [announced via postgrant information from national office to epo]

Ref country code: DE

Payment date: 20250218

Year of fee payment: 11

PGFP Annual fee paid to national office [announced via postgrant information from national office to epo]

Ref country code: AT

Payment date: 20250219

Year of fee payment: 11

Ref country code: CH

Payment date: 20250301

Year of fee payment: 11

PGFP Annual fee paid to national office [announced via postgrant information from national office to epo]

Ref country code: FR

Payment date: 20250221

Year of fee payment: 11

PGFP Annual fee paid to national office [announced via postgrant information from national office to epo]

Ref country code: ES

Payment date: 20250331

Year of fee payment: 11

PG25 Lapsed in a contracting state [announced via postgrant information from national office to epo]

Ref country code: TR

Free format text: LAPSE BECAUSE OF FAILURE TO SUBMIT A TRANSLATION OF THE DESCRIPTION OR TO PAY THE FEE WITHIN THE PRESCRIBED TIME-LIMIT

Effective date: 20200805