EP2975912B1 - System for generating and modulating illumination conditions - Google Patents
System for generating and modulating illumination conditions Download PDFInfo
- Publication number
- EP2975912B1 EP2975912B1 EP15169577.2A EP15169577A EP2975912B1 EP 2975912 B1 EP2975912 B1 EP 2975912B1 EP 15169577 A EP15169577 A EP 15169577A EP 2975912 B1 EP2975912 B1 EP 2975912B1
- Authority
- EP
- European Patent Office
- Prior art keywords
- light
- lighting fixture
- color
- lighting
- spectrum
- Prior art date
- Legal status (The legal status is an assumption and is not a legal conclusion. Google has not performed a legal analysis and makes no representation as to the accuracy of the status listed.)
- Expired - Lifetime
Links
Images
Classifications
-
- H—ELECTRICITY
- H05—ELECTRIC TECHNIQUES NOT OTHERWISE PROVIDED FOR
- H05B—ELECTRIC HEATING; ELECTRIC LIGHT SOURCES NOT OTHERWISE PROVIDED FOR; CIRCUIT ARRANGEMENTS FOR ELECTRIC LIGHT SOURCES, IN GENERAL
- H05B45/00—Circuit arrangements for operating light-emitting diodes [LED]
- H05B45/20—Controlling the colour of the light
- H05B45/22—Controlling the colour of the light using optical feedback
-
- H—ELECTRICITY
- H05—ELECTRIC TECHNIQUES NOT OTHERWISE PROVIDED FOR
- H05B—ELECTRIC HEATING; ELECTRIC LIGHT SOURCES NOT OTHERWISE PROVIDED FOR; CIRCUIT ARRANGEMENTS FOR ELECTRIC LIGHT SOURCES, IN GENERAL
- H05B45/00—Circuit arrangements for operating light-emitting diodes [LED]
- H05B45/20—Controlling the colour of the light
-
- H—ELECTRICITY
- H05—ELECTRIC TECHNIQUES NOT OTHERWISE PROVIDED FOR
- H05B—ELECTRIC HEATING; ELECTRIC LIGHT SOURCES NOT OTHERWISE PROVIDED FOR; CIRCUIT ARRANGEMENTS FOR ELECTRIC LIGHT SOURCES, IN GENERAL
- H05B47/00—Circuit arrangements for operating light sources in general, i.e. where the type of light source is not relevant
- H05B47/10—Controlling the light source
- H05B47/175—Controlling the light source by remote control
-
- H—ELECTRICITY
- H05—ELECTRIC TECHNIQUES NOT OTHERWISE PROVIDED FOR
- H05B—ELECTRIC HEATING; ELECTRIC LIGHT SOURCES NOT OTHERWISE PROVIDED FOR; CIRCUIT ARRANGEMENTS FOR ELECTRIC LIGHT SOURCES, IN GENERAL
- H05B47/00—Circuit arrangements for operating light sources in general, i.e. where the type of light source is not relevant
- H05B47/10—Controlling the light source
- H05B47/175—Controlling the light source by remote control
- H05B47/196—Controlling the light source by remote control characterised by user interface arrangements
-
- F—MECHANICAL ENGINEERING; LIGHTING; HEATING; WEAPONS; BLASTING
- F21—LIGHTING
- F21V—FUNCTIONAL FEATURES OR DETAILS OF LIGHTING DEVICES OR SYSTEMS THEREOF; STRUCTURAL COMBINATIONS OF LIGHTING DEVICES WITH OTHER ARTICLES, NOT OTHERWISE PROVIDED FOR
- F21V21/00—Supporting, suspending, or attaching arrangements for lighting devices; Hand grips
- F21V21/08—Devices for easy attachment to any desired place, e.g. clip, clamp, magnet
- F21V21/088—Clips; Clamps
-
- F—MECHANICAL ENGINEERING; LIGHTING; HEATING; WEAPONS; BLASTING
- F21—LIGHTING
- F21Y—INDEXING SCHEME ASSOCIATED WITH SUBCLASSES F21K, F21L, F21S and F21V, RELATING TO THE FORM OR THE KIND OF THE LIGHT SOURCES OR OF THE COLOUR OF THE LIGHT EMITTED
- F21Y2103/00—Elongate light sources, e.g. fluorescent tubes
- F21Y2103/10—Elongate light sources, e.g. fluorescent tubes comprising a linear array of point-like light-generating elements
-
- F—MECHANICAL ENGINEERING; LIGHTING; HEATING; WEAPONS; BLASTING
- F21—LIGHTING
- F21Y—INDEXING SCHEME ASSOCIATED WITH SUBCLASSES F21K, F21L, F21S and F21V, RELATING TO THE FORM OR THE KIND OF THE LIGHT SOURCES OR OF THE COLOUR OF THE LIGHT EMITTED
- F21Y2115/00—Light-generating elements of semiconductor light sources
- F21Y2115/10—Light-emitting diodes [LED]
-
- H—ELECTRICITY
- H05—ELECTRIC TECHNIQUES NOT OTHERWISE PROVIDED FOR
- H05B—ELECTRIC HEATING; ELECTRIC LIGHT SOURCES NOT OTHERWISE PROVIDED FOR; CIRCUIT ARRANGEMENTS FOR ELECTRIC LIGHT SOURCES, IN GENERAL
- H05B47/00—Circuit arrangements for operating light sources in general, i.e. where the type of light source is not relevant
- H05B47/10—Controlling the light source
- H05B47/175—Controlling the light source by remote control
- H05B47/196—Controlling the light source by remote control characterised by user interface arrangements
- H05B47/1965—Controlling the light source by remote control characterised by user interface arrangements using handheld communication devices
-
- H—ELECTRICITY
- H05—ELECTRIC TECHNIQUES NOT OTHERWISE PROVIDED FOR
- H05B—ELECTRIC HEATING; ELECTRIC LIGHT SOURCES NOT OTHERWISE PROVIDED FOR; CIRCUIT ARRANGEMENTS FOR ELECTRIC LIGHT SOURCES, IN GENERAL
- H05B47/00—Circuit arrangements for operating light sources in general, i.e. where the type of light source is not relevant
- H05B47/10—Controlling the light source
- H05B47/175—Controlling the light source by remote control
- H05B47/198—Grouping of control procedures or address assignation to light sources
- H05B47/1985—Creation of lighting zones or scenes
Definitions
- Visible light is a collection of electromagnetic waves (electromagnetic radiation) of different frequencies, each wavelength of which represents a particular "color" of the light spectrum. Visible light is generally thought to comprise those light waves with wavelength between about 400 and about 700 nm. Each of the wavelengths within this spectrum comprises a distinct color of light from deep blue/purple at around 400 nm to dark red at around 700 nm. Mixing these colors of light produces additional colors of light. The distinctive color of a neon sign results from a number of discrete wavelengths of light. These wavelengths combine additively to produce the resulting wave or spectrum which makes up a color. One such color is white light. Examples of such lights adding discrete wavelengths to produce white light are to be found in WO99/10867 and US6132072 .
- FIG. 1 is a chromaticity diagram in which Planckian locus (or black body locus or white line) (104) gives the temperatures of whites from about 700K (generally considered the first visible to the human eye) to essentially the terminal point.
- Planckian locus or black body locus or white line
- the color temperature of viewing light depends on the color content of the viewing light as shown by line (104).
- line (104) The color temperature of viewing light depends on the color content of the viewing light as shown by line (104).
- early morning daylight has a color temperature of about 3,000K while overcast midday skies have a white color temperature of about 10,000K.
- a fire has a color temperature of about 1,800K and an incandescent bulb about 2848K.
- a color image viewed at 3,000K will have a relatively reddish tone, whereas the same color image viewed at 10,000K will have a relatively bluish tone. All of this light is called "white", but it has varying spectral content.
- the second classification of white light involves its quality.
- CIE Commission Internationale de l'Eclairage
- This method has been updated and is described in the CIE 13.3-1995 technical report "Method of Measuring and Specifying Colour Rendering Properties of Light Sources".
- this method involves the spectroradiometric measurement of the light source under test. This data is multiplied by the reflectance spectrums of eight color samples. The resulting spectrums are converted to tristimulus values based on the CIE 1931 standard observer. The shift of these values with respect to a reference light are determined for the uniform color space (UCS) recommended in 1960 by the CIE.
- UCS uniform color space
- the average of the eight color shifts is calculated to generate the General Color Rendering Index, known as CRI.
- CRI is scaled so that a perfect score equals 100, where perfect would be using a source spectrally equal to the reference source (often sunlight or full spectrum white light).
- a source spectrally equal to the reference source often sunlight or full spectrum white light.
- a tungsten-halogen source compared to full spectrum white light might have a CRI of 99 while a warm white fluorescent lamp would have a CRI of 50.
- the correlated color temperature, and CRI, of viewing light can affect the way in which an observer perceives a color image.
- An observer will perceive the same color image differently when viewed under lights having different correlated color temperatures. For example, a color image which looks normal when viewed in early morning daylight will look bluish and washed out when viewed under overcast midday skies. Further, a white light with a poor CRI may cause colored services to appear distorted.
- the color temperature and/or CRI of light is critical to creators of images, such as photographers, film and television producers, painters, etc., as well as to the viewers of paintings, photographs, and other such images. Ideally, both creator and viewer utilize the same color of ambient light, ensuring that the appearance of the image to the viewer matches that of the creator.
- color temperature of ambient light affects how viewers perceive a display, such as a retail or marketing display, by changing the perceived color of such items as fruits and vegetables, clothing, furniture, automobiles, and other products containing visual elements that can greatly affect how people view and react to such displays.
- a display such as a retail or marketing display
- One example is a tenet of theatrical lighting design that strong green light on the human body (even if the overall lighting effect is white light) tends to make the human look unnatural, creepy, and often a little disgusting.
- variations in the color temperature of lighting can affect how appealing or attractive such a display may be to customers.
- the ability to view a decoratively colored item, such as fabric-covered furniture, clothing, paint, wallpaper, curtains, etc., in a lighting environment or color temperature condition which matches or closely approximates the conditions under which the item will be viewed would permit such colored items to be more accurately matched and coordinated.
- the lighting used in a display setting such as a showroom, cannot be varied and is often chosen to highlight a particular facet of the color of the item leaving a purchaser to guess as to whether the item in question will retain an attractive appearance under the lighting conditions where the item will eventually be placed. Differences in lighting can also leave a customer wondering whether the color of the item will clash with other items that cannot conveniently be viewed under identical lighting conditions or otherwise directly compared.
- the color temperature is controlled by the composition of the phosphor, which may vary from bulb to bulb but cannot typically be altered for a given bulb.
- modulating color temperature of light is a complex procedure that is often avoided in scenarios where such adjustment may be beneficial.
- a light source for generating essentially white light comprising: at least one first white LED having a first spectrum; and at least one second white LED having a second spectrum, the first spectrum being different than the second spectrum.
- the claims light source may further comprise at least one optical filter configured to selectively transmit a portion of light emitted from at least one of the first and second white LEDs.
- the at least one optical filter may be a high pass filter.
- the at least one optical filter may comprise a plurality of optical filters, each of the plurality of optical filters being configured to selectively transmit a portion of the light emitted from at least one of the first and second white LEDs.
- the selectively transmitted portion of the light emitted from the at least one of the first and second LEDs may include at least a portion of the Planckian locus.
- the at least one of the plurality of optical filters may be a yellow filter.
- At least a first one of the plurality of optical filters may be adapted to transmit a portion of the light corresponding to a color temperature of approximately 4745 Kelvin; and at least a second one of the plurality of optical filters may be adapted to transmit a portion of the light corresponding to a color temperature of approximately 3935 Kelvin.
- first white LED may have a color temperature of approximately 20000 Kelvin
- second white LED may have a color temperature of approximately 5750 Kelvin
- At least one first white LED and the at least one second white LED may be configured in a substantially linear arrangement.
- the claims light source may further comprise at least one further LED having a third spectrum different from the first spectrum and the second spectrum.
- the at least one further LED may have a chromaticity to the right of the 2300 Kelvin point of a Planckian locus on a conventional chromaticity chart.
- the at least one further LED may include at least one amber LED.
- the claims light source may further comprise: at least one fourth LED having a fourth spectrum; and at least one fifth LED having a fifth spectrum, wherein the first, second, third, fourth and fifth spectra are respectively different.
- the claims light source may further comprise: at least one sixth LED having a sixth spectrum; and at least one seventh LED having a seventh spectrum, wherein the first, second, third, fourth, fifth, sixth and seventh spectra are respectively different.
- a first quantity of the at least one first white LED may be different than a second quantity of the at least one second white LED.
- the at least one first white LED, the at least one second white LED are arranged to provide a combined spectrum that is substantially continuous over wavelengths visible to the human eye.
- the light source may be configured such that the combined spectrum includes at least a portion of the Planckian locus over the range from 2300 Kelvin to 4500 Kelvin.
- the light source may be configured such that the combined spectrum at a color temperature of 2300 Kelvin does not have any substantial valleys at wavelengths below a wavelength corresponding to a maximum peak of the combined spectrum.
- the light source may be configured such that the combined spectrum at a color temperature of 2300 Kelvin may have a color rendering index (CRI) value of greater than 50, and the combined spectrum at a color temperature of 4500 Kelvin may have a color rendering index (CRI) value of greater than 80.
- CRI color rendering index
- a lighting fixture comprises : a processor; and at least one light source as described above.
- the processor is adapted to control a first intensity of the at least one first white LED having the first spectrum, and a second intensity of the at least one second white LED having the second spectrum.
- the at least one first white LED may comprise a plurality of first white LEDs and the at least one second white LED comprises a plurality of second white LEDs.
- the lighting fixture may further comprise: a housing; and a mounting for the light source.
- the lighting fixture may be configured to resemble an Edison-mount light bulb.
- the lighting fixture may be configured to resemble a fluorescent light bulb.
- the lighting fixture may be configured to resemble a halogen MR-16-type light bulb.
- the processor may be configured to independently control the at least one first white LED and the at least one second white LED so as to controllably vary a color temperature of essentially white light generated by the lighting fixture.
- the lighting fixture may further comprise at least one user interface coupled to the processor and configured to facilitate an adjustment of the color temperature of the essentially white light generated by the lighting fixture.
- the lighting fixture may further comprise at least one sensor.
- the at least one sensor may be configured to measure at least color characteristics of light generated by the lighting fixture, and wherein the lighting fixture may further include a calibration system to vary the light generated by the lighting fixture based on the measured color characteristics.
- the lighting fixture may further comprise at least one of a receiver and a transmitter coupled to the processor and configured to communicate at least one control signal to or from the lighting fixture.
- the processor may be configured to control the at least one light source using a pulse width modulation (PWM) technique.
- PWM pulse width modulation
- the processor may be configured to receive at least one network signal.
- the processor may be configured to receive at least one wireless control signal.
- the processor may be configured to receive at least one control signal formatted using a DMX protocol.
- a first embodiment which comprises a lighting fixture for generating white light including a plurality of component illumination sources (such as LEDs), producing electromagnetic radiation of at least two different spectrums (including embodiments with exactly two or exactly three), each of the spectrums having a maximum spectral peak outside the region 510 nm to 570 nm, the illumination sources mounted on a mounting allowing the spectrums to mix so that the resulting spectrum is substantially continuous in the photopic response of the human eye and/or in the wavelengths from 400 nm to 700 nm.
- component illumination sources such as LEDs
- Another embodiment comprises a lighting fixture to be used in a lamp designed to take fluorescent tubes the lighting fixture having at least one component illumination source (often two or more) such as LEDs mounted on a mounting, and having a connector on the mounting that can couple to a fluorescent lamp and receive power from the lamp. It also contains a control or electrical circuit to enable the ballast voltage of the lamp to be used to power or control the LEDs.
- This control circuit could include a processor, and/or could control the illumination provided by the fixture based on the power provided to the lamp.
- the lighting fixture in one embodiment, is contained in a housing, the housing could be generally cylindrical in shape, could contain a filter, and/or could be partially transparent or translucent. The fixture could produce white, or other colored, light.
- a lighting fixture could include a plurality of component illumination sources (such as LEDs), the component illumination sources producing electromagnetic radiation of at least two different spectrums, the illumination sources being mounted on a mounting designed to allow the spectrums to mix and form a resulting spectrum, wherein the resulting spectrum does not have a spectral valley at a longer wavelength than the maximum spectral peak within the photopic response of the human eye and/or in the area from 400 nm to 700 nm.
- component illumination sources such as LEDs
- the component illumination sources producing electromagnetic radiation of at least two different spectrums
- the illumination sources being mounted on a mounting designed to allow the spectrums to mix and form a resulting spectrum, wherein the resulting spectrum does not have a spectral valley at a longer wavelength than the maximum spectral peak within the photopic response of the human eye and/or in the area from 400 nm to 700 nm.
- Another example comprises a method for generating white light including the steps of mounting a plurality of component illumination sources producing electromagnetic radiation of at least two different spectrums in such a way as to mix the spectrums; and choosing the spectrums in such a way that the mix of the spectrums has intensity greater than background noise at its lowest spectral valley.
- the controller could be computer hardware or computer software; a sensor such as, but not limited to a photodiode, a radiometer, a photometer, a colorimeter, a spectral radiometer, a camera; or a manual interface such as, but not limited to, a slider, a dial, a joystick, a trackpad, or a trackball.
- the processor could include a memory (such as a database) of predetermined color conditions and/or an interface-providing mechanism for providing a user interface potentially including a color spectrum, a color temperature spectrum, or a chromaticity diagram.
- modulating the color or brightness of the generated light includes varying the illumination conditions to achieve a target color temperature 2.
- LED generally includes light emitting diodes of all types and also includes, but is not limited to, light emitting polymers, semiconductor dies that produce light in response to a current, organic LEDs, electron luminescent strips, super luminescent diodes (SLDs) and other such devices.
- SLDs super luminescent diodes
- LEDs does not restrict the physical or electrical packaging of any of the above and that packaging could include, but is not limited to, surface mount, chip-on-board, or T-package mount LEDs.
- Illumination source includes all illumination sources, including, but not limited to, LEDs; incandescent sources including filament lamps; pyro-luminescent sources such as flames; candle-luminescent sources such as gas mantles and carbon are radiation sources; photo-luminescent sources including gaseous discharges; fluorescent sources; phosphorescence sources; lasers; electro-luminescent sources such as electro-luminescent lamps; cathode luminescent sources using electronic satiation; and miscellaneous luminescent sources including galvano-luminescent sources, crystallo-luminescent sources, kine-luminescent sources, thermo-luminescent sources, tribo-luminescent sources, sono-luminescent sources, and radio-luminescent sources. Illumination sources may also include luminescent polymers.
- An illumination source can produce electromagnetic radiation within the visible spectrum, outside the visible spectrum, or a combination of both.
- a component illumination source is any illumination source that is part of a lighting fixture.
- Lighting fixture or “fixture” is any device or housing containing at least one illumination source for the purposes of providing illumination.
- Color Color
- temperature temperature
- spectrum a combination of wavelengths of light that result in the light produced by a lighting fixture. That combination of wavelengths defines a color or temperature of the light. Color is generally used for light which is not white while temperature is for light that is white, but either term could be used for any type of light.
- a spectrum will generally refer to the spectral composition of a combination of the individual wavelengths, while a color or temperature will generally refer to the human perceived properties of that light.
- FIG. 2 depicts one embodiment of a lighting module which could be used in one embodiment of the invention
- a lighting fixture (300) is depicted in block diagram format.
- the lighting fixture (300) includes two components, a processor (316) and a collection of component illumination sources (320), which is depicted in FIG. 2 as an array of light emitting diodes.
- the collection of component illumination sources comprises at least two illumination sources that produce different spectrums of light.
- the collection of component illumination sources (320) are arranged within said lighting fixture (300) on a mounting (350) in such a way that the light from the different component illumination sources is allowed to mix to produce a resultant spectrum of light which is basically the additive spectrum of the different component illumination sources.
- this is done my placing the component illumination sources (320) in a generally circular area, it could also be done in other any other manner as would be understood by one of skill in the art, such as a line of component illumination sources, or another geometric shape of component illumination sources.
- the term "processor” is used herein to refer to any method or system for processing, for example, those that process in response to a signal or data and/or those that process autonomously.
- a processor should be understood to encompass microprocessors, microcontrollers, programmable digital signal processors, integrated circuits, computer software, computer hardware, electrical circuits, application specific integrated circuits, programmable logic devices, programmable gate arrays, programmable array logic, personal computers, chips, and any other combination of discrete analog, digital, or programmable components, or other devices capable of providing processing functions.
- the collection of illumination sources (320) is controlled by the processor (316) to produce controlled illumination.
- the processor (316) controls the intensity of different color individual LEDs in the array of LEDs, composing the collection of illumination sources (320) to produce illumination in any color within a range bounded by the spectra of the individual LEDs and any filters or other spectrum-altering devices associated therewith.
- Instantaneous changes in color, strobing and other effects can also be produced with lighting fixtures such as the light module (300) depicted in FIG. 2 .
- the lighting fixture (300) may be made capable of receiving power and data from an external source in one embodiment of the invention. The receipt of such data being over data line (330) and power over power line (340).
- the lighting fixture (300), through the processor (316), may be made to provide the various functions ascribed to the various embodiments of the invention disclosed herein.
- the processor (316) may be replaced by hard wiring or another type of control whereby the lighting fixture (300) produces only a single color of light.
- the lighting fixture (300) may be constructed to be used either alone or as part of a set of such lighting fixtures (300).
- An individual lighting fixture (300) or a set of lighting fixtures (300) can be provided with a data connection (350) to one or more external devices, or, in certain embodiments of the invention, with other light modules (300).
- data connection should be understood to encompass any system for delivering data, such as a network, a data bus, a wire, a transmitter and receiver, a circuit, a video tape, a compact disc, a DVD disc, a video tape, an audio tape, a computer tape, a card, or the like.
- a data connection may thus include any system or method to deliver data by radio frequency, ultrasonic, auditory, infrared, optical, microwave, laser, electromagnetic, or other transmission or connection method or system. That is, any use of the electromagnetic spectrum or other energy transmission mechanism could provide a data connection as disclosed herein.
- the lighting fixture (300) may be equipped with a transmitter, receiver, or both to facilitate communication, and the processor (316) may be programmed to control the communication capabilities in a conventional manner.
- the light fixtures (300) may receive data over the data connection (350) from a transmitter (352), which may be a conventional transmitter of a communications signal, or may be part of a circuit or network connected to the lighting fixture (300).
- the transmitter (352) should be understood to encompass any device or method for transmitting data to the light fixture (300).
- the transmitter (352) may be linked to or be part of a control device (354) that generates control data for controlling the light modules (300).
- the control device (354) is a computer, such as a laptop computer.
- the control data may be in any form suitable for controlling the processor (316) to control the collection of component illumination sources (320).
- the control data is formatted according to the DMX-512 protocol, and conventional software for generating DMX-512 instructions is used on a laptop or personal computer as the control device (354) to control the lighting fixtures (300).
- the lighting fixture (300) may also be provided with memory for storing instructions to control the processor (316), so that the lighting fixture (300) may act in stand alone mode according to pre-programmed instructions.
- FIG. 4 shows an exploded view of one embodiment of a lighting fixture of the present invention.
- the depicted embodiment comprises a substantially cylindrical body section (362), a lighting fixture (364), a conductive sleeve (368), a power module (372), a second conductive sleeve (374), and an enclosure plate (378).
- the lighting fixture (364) and the power module (372) contain the electrical structure and software of lighting fixture (300) a different power module and lighting fixture (300) as known to the art, or as described in United States Patent Application Ser. No. 09/215,624 .
- Screws (382), (384), (386), (388) allow the entire apparatus to be mechanically connected.
- Body section (362), conductive sleeves (364) and (374) and enclosure plate (378) are preferably made from a material that conducts heat, such as aluminum.
- Body section (362) has a emission end (361), a reflective interior portion (not shown) and an illumination end (363).
- Lighting module (364) is mechanically affixed to said illumination end (363).
- Said emission end (361) may be open, or, in one embodiment may have affixed thereto a filter (391).
- Filter (391) maybe a clear filter, a diffusing filter, a colored filter, or any other type of filter known to the art.
- the filter will be permanently attached to the body section (362), but in other embodiments, the filter could be removably attached.
- the filter (391) need not be attached to the emission end (361) of body portion (362) but may be inserted anywhere in the direction of light emission from the lighting fixture (364).
- Lighting fixture (364) may be disk-shaped with two sides. The illumination side (not shown) comprises a plurality of component light sources which produce a predetermined selection of different spectrums of light.
- connection side may hold an electrical connector male pin assembly (392). Both the illumination side and the connection side can be coated with aluminum surfaces to better allow the conduction of heat outward from the plurality of component light sources to the body section (362).
- power module (372) is generally disk shaped and may have every available surface covered with aluminum for the same reason.
- Power module (372) has a connection side holding an electrical connector female pin assembly (394) adapted to fit the pins from assembly (392).
- Power module (372) has a power terminal side holding a terminal (398) for connection to a source of power such as an AC or DC electrical source. Any standard AC or DC jack may be used, as appropriate.
- a conductive aluminum sleeve (368) Interposed between lighting fixture (362) and power module (372) is a conductive aluminum sleeve (368), which substantially encloses the space between modules (362) and (372).
- a disk-shaped enclosure plate (378) and screws (382), (384), (386) and (388) can seal all of the components together, and conductive sleeve (374) is thus interposed between enclosure plate (378) and power module (372).
- a method of connection other than screws (382), (384), (386), and (388) may be used to seal the structure together.
- the lighting fixture (362) may be connected to a data network as described above and may be mounted in any convenient manner to illuminate an area.
- FIGS. 5a and 5b show an alternative lighting fixture including a housing that could be used in another embodiment of the invention.
- the depicted embodiment comprises a lower body section (5001), an upper body section (5003) and a lighting fixture (5005).
- the lighting fixture can contain the lighting fixture (300), a different lighting fixture known to the art, or a lighting fixture described anywhere else in this document.
- the lighting fixture (5005) shown here is designed to have a linear track of component illumination devices (in this case LEDs (5007)) although such a design is not necessary. Such a design is desirable for an embodiment of the invention, however.
- the linear track of component illumination sources in depicted in FIG. 5a as a single track, multiple linear tracks could be used as would be understood by one of skill in the art.
- the upper body section (5003) can comprises a filter as was discussed above, or may be translucent, transparent, semi-translucent, or semi-transparent.
- the optional holder (5010) which may be used to hold the lighting fixture (5000).
- This holder (5010) comprises clip attachments (5012) which may be used to frictionally engage the lighting fixture (5000) to enable a particular alignment of lighting fixture (5000) relative to the holder (5010).
- the mounting also contains attachment plate (5014) which may be attached to the clip attachments (5012) by any type of attachment known to the art whether permanent, removable, or temporary. Attachment plate (5014) may then be used to attach the entire apparatus to a surface such as, but not limited to, a wall or ceiling.
- the lighting fixture (5000) is generally cylindrical in shape when assembled (as shown in FIG. 5b ) and therefore can move or "roll” on a surface.
- the lighting fixture (5000) only can emit light through the upper body section (5003) and not through the lower body section (5001). Without a holder (5010), directing the light emitted from such a lighting fixture (5000) could be difficult and motion could cause the directionality of the light to undesirably alter.
- a lighting system may accordingly be specified using a full-on point and a range of selectable colors.
- This system has many potential applications such as, but not limited to, retail display lighting and theater lighting. Often times numerous lighting fixtures of a plurality of different colors are used to present a stage or other area with interesting shadows and desirable features. Problems can arise, however, because lamps used regularly have similar intensities before lighting filters are used to specify colors of those fixtures, due to differences in transmission of the various filters (for instance blue filters often loose significantly more intensity than red filters), lighting fixtures must have their intensity controlled to compensate. For this reason, lighting fixtures are often operated at less than their full capability (to allow mixing) requiring additional lighting fixtures to be used. With the lighting fixtures of the instant invention, the lighting fixtures can be designed which produce particular colors at identical intensities of chosen colors when operating at their full potential, this can allow easier mixing of the resultant light, and can result in more options for a lighting design scheme.
- Such a system enables the person building or designing lighting fixtures to generate lights that can produce a pre-selected range of colors, while still maximizing the intensity of light at certain most desirable color.
- These lighting fixtures would therefore allow a user to select certain color(s) of lighting fixtures for an application independent of relative intensity.
- the lighting fixtures can then be built so that the intensities at these colors are the same. Only the spectrum is altered. It also enables a user to select lighting fixtures that produce a particular high-intensity color of light, and also have the ability to select nearby colors of light in a range.
- the range of colors which can be produced by the lighting fixture can be specified instead of, or in addition to, the full-on point.
- the lighting fixture can then be provided with control systems that enable a user of the lighting fixture to intuitively and easily select a desired color from the available range.
- the illumination sources are LEDs.
- the designer can define the color range of a lighting fixture.
- An easy way to visualize the color range is to use the CIE diagram which shows the entire lighting range of all colors of light which can exist.
- One embodiment of a system provides a light-authoring interface such as an interactive computer interface.
- FIG. 6 shows an embodiment of an interactive computer interface enabling a user to see a CIE diagram (508) on which is displayed the spectrum of color a lighting fixture can produce.
- individual LED spectra are saved in memory and can be recalled from memory to be used for calculating a combined color control area.
- the interface has several channels (502) for selecting LEDs. Once selected, varying the intensity slide bar (504) can change the relative number of LEDs of that type in the resultant lighting fixture.
- the color of each LED represented on a color chart such as a CIE diagram (508) as a point (for example, point (506)).
- a second LED can be selected on a different channel to create a second point (for example, point (509)) on the CIE chart.
- a line connecting these two points represents the extent that the color from these two LEDs can be mixed to produce additional colors.
- an area (510) can be plotted on the CIE diagram representing the possible combinations of the selected LEDs.
- the area (510) shown here is a polygon of four sides it would be understood by one of skill in the art that the area (510) could be a point line or a polygon with any number of sides depending on the LEDs chosen.
- the intensities at any given color can be calculated from the LED spectrums. By knowing the number of LEDs for a given color and the maximum intensity of any of these LEDs, the total light output at a particular color is calculated. A diamond or other symbol (512) may be plotted on the diagram to represent the color when all of the LEDs are on full brightness or the point may represent the present intensity setting.
- a lighting fixture can be made of a plurality of component illumination sources, when designing a lighting fixture, a color that is most desirable can be selected, and a lighting fixture can be designed that maximizes the intensity of that color.
- a fixture may be chosen and the point of maximum intensity can be determined from this selection.
- a tool may be provided to allow calculation of a particular color at a maximum intensity.
- FIG. 6 shows such a tool as symbol (512), where the CIE diagram has been placed on a computer and calculations can be automatically performed to compute a total number of LEDs necessary to produce a particular intensity, as well as the ratio of LEDs of different spectrums to produce particular colors.
- a selection of LEDs may be chosen and the point of maximum intensity determined, both directions of calculation are included in embodiments of this invention.
- the maximum intensity points move so that a user can design a light which has a maximum intensity at a desired point.
- the system in one embodiment of the invention contains a collection of the spectrums of a number of different LEDs, provides an interface for a user to select LEDs that will produce a range of color that encloses the desirable area, and allows a user to select the number of each LED type such that when the unit is on full, a target color is produced.
- the user would simply need to provide a desired spectrum, or color and intensity, and the system could produce a lighting fixture which could generate light according to the requests.
- the lighting fixture may have been chosen to have a particular array of illumination sources such that a particular color is obtained at maximum intensity. However, there may be other colors that can be produced by varying the relative intensities of the component illumination sources.
- the spectrum of the lighting fixture can be controlled within the predetermined range specified by the area (510). To control the lighting color within the range, it is recognized that each color within the polygon is the additive mix of the component LEDs with each color contained in the components having a varied intensity.
- a lighting fixture can be custom designed, it may, in one embodiment, be desirable to have the intensities of each of the component illumination sources "mapped" to a desirable resultant spectrum of light and allowing a point on the map to be selected by the controller. That is, a method whereby, with the specification of a particular color of light by a controller, the lighting fixture can turn on the appropriate illumination sources at the appropriate intensity to create that color of light.
- the 6 can be configured in such a way that it can generate a mapping between a desirable color that can be produced (within the area (510)), and the intensities of the component LEDs that make up the lighting fixture.
- This mapping will generally take one of two forms: 1) a lookup table, or 2) a parametric equation, although other forms could be used as would be known to one of skill in the art.
- Software on board the lighting fixture (such as in the processor (316) above) or on board a lighting controller, such as one of those known to the art, or described above, can be configured to accept the input of a user in selecting a color, and producing a desired light.
- This mapping may be performed by a variety of methods.
- statistics are known about each individual component illumination sources within the lighting fixture, so mathematical calculations may be made to produce a relationship between the resulting spectrum and the component spectrums. Such calculations would be well understood by one of skill in the art.
- an external calibration system may be used.
- the calibration system includes a lighting fixture (2010) that is connected to a processor (2020) and which receives input from a light sensor or transducer (2034).
- the processor (2020) may be processor (316) or may be an additional or alternative processor.
- the sensor (2034) measures color characteristics, and optionally brightness, of the light output by the lighting fixture (2010) and/or the ambient light, and the processor (2020) varies the output of the lighting fixture (2010).
- the lighting fixture can be calibrated where the relative settings of the component illumination sources (or processor settings (2020)) are directly related to the output of the fixture (2010) (the light sensor (2034) settings). Since the sensor (2034) can detect the net spectrum produced by the lighting fixture, it can be used to provide a direct mapping by relating the output of the lighting fixture to the settings of the component LEDs.
- mapping Once the mapping has been completed, other methods or systems may be used for the light fixture's control. Such methods or systems will enable the determination of a desired color, and the production by the lighting fixture of that color.
- FIG. 8a shows one embodiment of the system (2000) where a control system (2030) may be used in conjunction with a lighting fixture (2010) to enable control of the lighting fixture (2010).
- the control system (2030) may be automatic, may accept input from a user, or may be any combination of these two.
- the system (2000) may also include a processor (2020) which may be processor (316) or another processor to enable the light to change color.
- FIG. 9 shows a more particular embodiment of a system (2000) a user computer interface control system (2032) with which a user may select a desired color of light is used as a control system (2030).
- This may be the user interface (401) or could be a separate interface.
- the interface could enable any type of user interaction in the determination of color.
- the interface may provide a palette, chromaticity diagram, or other color scheme from which a user may select a color, e.g., by clicking with a mouse on a suitable color or color temperature on the interface, changing a variable using a keyboard, etc.
- the interface may include a display screen, a computer keyboard, a mouse, a trackpad, or any other suitable system for interaction between the processor and a user.
- the system may permit a user to select a set of colors for repeated use, capable of being rapidly accessed, e.g., by providing a simple code, such as a single letter or digit, or by selecting one of a set of preset colors through an interface as described above.
- the interface may also include a look-up table capable of correlating color names with approximate shades, converting color coordinates from one system (e.g., RGB, CYM, YIQ, YUV, HSV, HLS, XYZ, etc.) to a different color coordinate system or to a display or illumination color, or any other conversion function for assisting a user in manipulating the illumination color.
- the interface may also include one or more closed-form equations for converting from, for example, a user-specified color temperature (associated with a particular color of white light) into suitable signals for the different component illumination sources of the lighting fixture (2010).
- the system may further include a sensor as discussed below for providing information to the processor (2020), e.g., for automatically calibrating the color of emitted light of the lighting fixture (2010) to achieve the color selected by the user on the interface.
- a manual control system (2036) is used in the system (2000), as depicted in FIG. 10a , such as a dial, slider, switch, multipole switch, console, other lighting control unit, or any other controller or combination of controllers to permit a user to modify the illumination conditions until the illumination conditions or the appearance of a subject being illuminated is desirable.
- a dial or slider may be used in a system to modulate the net color spectrum produced, the illumination along the color temperature curve, or any other modulation of the color of the lighting fixture.
- a joystick, trackball, trackpad, mouse, thumb-wheel, touch-sensitive surface, or a console with two or more sliders, dials, or other controls may be used to modulate the color, temperature, or spectrum.
- These manual controls may be used in conjunction with a computer interface control system (2032) as discussed above, or may be used independently, possibly with related markings to enable a user to scan through an available color range.
- FIG. 10b One such manual control system (2036) is in detail in FIG. 10b .
- the depicted control unit features a dial marked to indicate a range of color temperatures, e.g., from 3000K to 10,500K.
- This device would be useful on a lighting fixture used to produce a range of temperatures ("colors") of white light, such as the one discussed below. It would be understood by one of skill in the art that broader, narrower, or overlapping ranges may be employed, and a similar system could be employed to control lighting fixtures that can produce light of a spectrum beyond white, or not including white.
- a manual control system (2036) may be included as part of a processor controlling an array of lighting units, coupled to a processor, e.g., as a peripheral component of a lighting control system, disposed on a remote control capable of transmitting a signal, such as an infrared or microwave signal, to a system controlling a lighting unit, or employed or configured in any other manner, as will readily be understood by one of skill in the art. Additionally, instead of a dial, a manual control system (2036) may employ a slider, a mouse, or any other control or input device suitable for use in the systems and methods described herein.
- the calibration system depicted in FIG. 7 may function as a control system or as a portion of a control system.
- a selected color could be input by the user and the calibration system could measure the spectrum of ambient light, compare the measured spectrum with the selected spectrum, adjust the color of light produced by the lighting fixture (2010), and repeat the procedure to minimize the difference between the desired spectrum and the measured spectrum.
- the processor may increase the brightness of red LEDs in the lighting fixture, decrease the brightness of blue and green LEDs in the lighting fixture, or both, in order to minimize the difference between the measured spectrum and the target spectrum and potentially also achieve a target brightness (i.e. such as the maximum possible brightness of that color).
- the system could also be used to match a color produced by a lighting fixture to a color existing naturally.
- a film director could find light in a location where filming does not occur and measure that light using the sensor, this could than provide the desired color which is to be produced by the lighting fixture.
- these tasks can be performed simultaneously (potentially using two separate sensors).
- the director can remotely measure a lighting condition with a sensor (2034) and store that lighting condition on memory associated with that sensor (2034). The sensor's memory may then be transferred at a later time to the processor (2020) which may set the lighting fixture to mimic the light recorded. This allows a director to create a "memory of desired lighting" which can be stored and recreated later by lighting fixtures such as those described above.
- the sensor (2034) used to measure the illumination conditions may be a photodiode, a phototransistor, a photoresistor, a radiometer, a photometer, a colorimeter, a spectral radiometer, a camera, a combination of two or more of the preceding devices, or any other system capable of measuring the color or brightness of illumination conditions.
- An example of a sensor may be the IL2000 SpectroCube Spectroradiometer offered for sale by International Light Inc. although any other sensor may be used.
- a colorimeter or spectral radiometer is advantageous because a number of wavelengths can be simultaneously detected, permitting accurate measurements of color and brightness simultaneously.
- a color temperature sensor which may be employed in the systems and methods described herein is disclosed in U.S. Patent No. 5,521,708 .
- the processor (2020) may modulate the illumination conditions with the lighting fixture (2010) until an illuminated object appears substantially the same, e.g., of substantially the same color, as in a previously recorded image.
- the processor (2020) may modulate the illumination conditions with the lighting fixture (2010) until an illuminated object appears substantially the same, e.g., of substantially the same color, as in a previously recorded image.
- the lighting fixture (2010) may be used as the sole light source, while in other embodiments, such as is depicted in FIG. 8b , the lighting fixture (2010) may be used in combination with a second source of light (2040), such as an incandescent, fluorescent, halogen, other LED sources or component light sources (including those with and without control), lights that are controlled with pulse width modulation, sunlight, moonlight, candlelight, etc.
- a second source of light such as an incandescent, fluorescent, halogen, other LED sources or component light sources (including those with and without control), lights that are controlled with pulse width modulation, sunlight, moonlight, candlelight, etc.
- a fluorescent light emitting illumination weak in red portions of the spectrum may be supplemented with a lighting fixture emitting primarily red wavelengths to provide illumination conditions more closely resembling natural sunlight.
- a lighting fixture (2010) may be used in conjunction with a sensor (2034) as controller (2030) to compensate for changes in sunlight to maintain constant illumination conditions for the duration of a session.
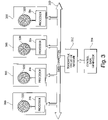
- a lighting system for a location may comprise a plurality of lighting fixtures (2301) which are controllable by a central control system (2303).
- the light within the location (or on a particular location such as the stage (2305) depicted here) is now desired to mimic another type of light such as sunlight.
- a first sensor (2307) is taken outside and the natural sunlight (2309) is measured and recorded. This recording is then provided to central control system (2303).
- a second sensor (which may be the same sensor in one embodiment) (2317) is present on the stage (2305).
- the central control system (2309) now controls the intensity and color of the plurality of lighting fixtures (2301) and attempts to match the input spectrum of said second sensor (2317) with the prerecorded natural sunlight's (2309) spectrum.
- interior lighting design can be dramatically simplified as desired colors of light can be reproduced or simulated in a closed setting. This can be in a theatre (as depicted here), or in any other location such as a home, an office, a soundstage, a retail store, or any other location where artificial lighting is used.
- Such a system could also be used in conjunction with other secondary light sources to create a desired lighting effect.
- a lighting fixture which produces white light according to the above invention can comprise any collection of component illumination sources such that the area defined by the illumination sources can encapsulate at least a portion of the black body curve.
- the black body curve (104) in FIG. 1 is a physical construct that shows different color white light with regards to the temperature of the white light. In a preferred embodiment, the entire black body curve would be encapsulated allowing the lighting fixture to produce any temperature of white light.
- a significant portion of the black body curve may be enclosed.
- the intensity at different color whites along the black body curve can then be simulated.
- the maximum intensity produced by this light could be placed along the black body curve.
- the full on color could be placed at approximately 5400K (noon day sunlight shown by point (106) in FIG. 1 ), but any other point could be used (two other points are shown in FIG 1 . corresponding to a fire glow and an incandescent bulb).
- Such a lighting apparatus would then be able to produce 5400K light at a high intensity, in addition, the light may adjust for differences in temperature (for instance cloudy sunlight) by moving around in the defined area.
- this system generates white light with a variable color temperature, it is not necessarily a high quality white light source.
- a number of combinations of colors of illumination sources can be chosen which enclose the black body curve, and the quality of the resulting lighting fixtures may vary depending on the illumination sources chosen.
- white light is a mixture of different wavelengths of light, it is possible to characterize white light based on the component colors of light that are used to generate it.
- Red, green, and blue (RGB) can combine to form white; as can light blue, amber, and lavender; or cyan, magenta and yellow.
- Natural white light contains a virtually continuous spectrum of wavelengths across the human visible band (and beyond). This can be seen by examining sunlight through a prism, or looking at a rainbow. Many artificial white lights are technically white to the human eye, however, they can appear quite different when shown on colored surfaces because they lack a virtually continuous spectrum.
- a white light source using two lasers (or other narrow band optical sources) with complimentary wavelengths. These sources would have an extremely narrow spectral width perhaps 1 nm wide. To exemplify this, we will choose wavelengths of 635 nm and 493 nm. These are considered complimentary since they will additively combine to make light which the human eye perceives as white light. The intensity levels of these two lasers can be adjusted to some ratio of powers that will produce white light that appears to have a color temperature of 5000K. If this source were directed at a white surface, the reflected light will appear as 5000K white light.
- the CRI index relies on a limited number of observations, there are mathematical loopholes in the method. Since the spectrums for CRI color samples are known, it is a relatively straightforward exercise to determine the optimal wavelengths and minimum numbers of narrow band sources needed to achieve a high CRI. This source will fool the CRI measurement, but not the human observer.
- the CRI method is at best an estimator of the spectrum that the human eye can see.
- An everyday example is the modem compact fluorescent lamp. It has a fairly high CRI of 80 and a color temperature of 2980K but still appears unnatural.
- the spectrum of a compact fluorescent is shown in FIG. 27 .
- a further embodiment of this invention comprises systems and method for generating a higher-quality white light by mixing the electromagnetic radiation from a plurality of component illumination sources such as LEDs. This is accomplished by choosing LEDs that provide a white light that is targeted to the human eye's interpretation of light, as well as the mathematical CRI index. That light can then be maximized in intensity using the above system. Further, because the color temperature of the light can be controlled, this high quality white light can therefore still have the control discussed above and can be a controllable, high-quality, light which can produce high-quality light across a range of colors.
- a high-quality white light provides low distortion to colored objects when they are viewed under it. It therefore makes sense to begin by examining a high-quality light based on what the human eye sees.
- the highest quality white light is considered to be sunlight or full-spectrum light, as this is the only source of "natural" light. For the purposes of this disclosure, it will be accepted that sunlight is a high-quality white light.
- the sensitivity of the human eye is known as the Photopic response.
- the Photopic response can be thought of as a spectral transfer function for the eye, meaning that it indicates how much of each wavelength of light input is seen by the human observer.
- This sensitivity can be expressed graphically as the spectral luminosity function V ⁇ (501), which is represented in FIG. 12 .
- the eye's Photopic response is important since it can be used to describe the boundaries on the problem of generating white light (or of any color of light).
- a high quality white light will need to comprise only what the human eye can "see.”
- high-quality white light may contain electromagnetic radiation which cannot be seen by the human eye but may result in a photobiological response. Therefore a high-quality white light may include only visible light, or may include visible light and other electromagnetic radiation which may result in a photobiological response. This will generally be electromagnetic radiation less than 400 nm (ultraviolet light) or greater than 700 nm (infrared light).
- the source is not required to have any power above 700 nm or below 400 nm since the eye has only minimal response at these wavelengths.
- a high-quality source would preferably be substantially continuous between these wavelengths (otherwise colors could be distorted) but can fall-off towards higher or lower wavelengths due to the sensitivity of the eye.
- the spectral distribution of different temperatures of white light will be different. To illustrate this, spectral distributions for two blackbody sources with temperatures of 5000K (601) and 2500K (603) are shown in FIG. 13 along with the spectral luminosity function (501) from FIG. 12 .
- the 5000K curve is smooth and centered about 555 nm with only a slight fall-off in both the increasing and decreasing wavelength directions.
- the 2500K curve is heavily weighted towards higher wavelengths. This distribution makes sense intuitively, since lower color temperatures appear to be yellow-to-reddish.
- One point that arises from the observation of these curves, against the spectral luminosity curve, is that the Photopic response of the eye is "filled.” This means that every color that is illuminated by one of these sources will be perceived by a human observer. Any holes, i.e., areas with no spectral power, will make certain objects appear abnormal. This is why many "white” light sources seem to disrupt colors.
- a fixture for producing controllable high-quality white light would need to have the following characteristic.
- the light has a substantially continuous spectrum over the wavelengths visible to the human eye, with any holes or gaps located in the areas where the human eye is less responsive.
- it would be desirable to produce a light spectrum which can have relatively equal values of each wavelength of light, but can also make different wavelengths dramatically more or less intense with regards to other wavelengths depending on the color temperature desired.
- the clearest waveform which would have such control would need to mirror the scope of the photopic response of the eye, while still being controllable at the various different wavelengths.
- the traditional mixing methods which create white light can create light which is technically "white” but still produces an abnormal appearance to the human eye.
- the CRI rating for these values is usually extremely low or possibly negative. This is because if there is not a wavelength of light present in the generation of white light, it is impossible for an object of a color to reflect/absorb that wavelength.
- the CRI rating relies on eight particular color samples, it is possible to get a high CRI, while not having a particularly high-quality light because the white light functions well for those particular color samples specified by the CRI rating. That is, a high CRI index could be obtained by a white light composed of eight 1 nm sources which were perfectly lined up with the eight CRI color structures. This would, however, not be a high-quality light source for illuminating other colors.
- the fluorescent lamp shown in FIG. 27 provides a good example of a high CRI light that is not high-quality.
- the light from a fluorescent lamp is white, it is comprised of many spikes (such as (201) and (203)).
- the position of these spikes has been carefully designed so that when measured using the CRI samples they yield a high rating. In other words, these spikes fool the CRI calculation but not the human observer.
- the result is a white light that is usable but not optimal (i.e., it appears artificial).
- the dramatic peaks in the spectrum of a fluorescent light are also clear in FIG. 27 . These peaks are part of the reason that fluorescent light looks very artificial. Even if light is produced within the spectral valleys, it is so dominated by the peaks that a human eye has difficulty seeing it.
- a high-quality white light may be produced according to this disclosure without the dramatic peaks and valleys of a florescent lamp.
- a spectral peak is the point of intensity of a particular color of light which has less intensity at points immediately to either side of it.
- a maximum spectral peak is the highest spectral peak within the region of interest. It is therefore possible to have multiple peaks within a chosen portion of the electromagnetic spectrum, only a single maximum peak, or to have no peaks at all. For instance, FIG. 12 in the region 500 nm to 510 nm has no spectral peaks because there is no point in that region that has lower points on both sides of it.
- a valley is the opposite of a peak and is a point that is a minimum and has points of higher intensity on either side of it (an inverted plateau is also a valley).
- a special plateau can also be a spectrum peak, a plateau involves a series of concurrent points of the same intensity with the points on either side of the series having less intensity.
- the lowest valley in the visible range should have a greater intensity than the intensity attributable to background noise as would be understood by one of skill in the art. It is further desirable to close the gap between the lowest valley and the maximum peak, and other embodiments of the invention have lowest valleys with at least 5%, 10%, 25%, 33%, 50%, and 75% of the intensity of the maximum peaks. One skilled in the art would see that other percentages could be used anywhere up to 100%.
- high-quality artificial white light should therefore have a spectrum that is substantially continuous between the 400 nm and 700 nm without dramatic spikes. Further, to be controllable, the light should be able to produce a spectrum that resembles natural light at various color temperatures. Due to the use of mathematical models in the industry, it is also desirable for the source to yield a high CRI indicative that the reference colors are being preserved and showing that the high-quality white light of the instant invention does not fail on previously known tests.
- LEDs In order to build a high-quality white light lighting fixture using LEDs as the component illumination sources, it is desirable in one embodiment to have LEDs with particular maximum spectral peaks and spectral widths. It is also desirable to have the lighting fixture allow for controllability, that is that the color temperature can be controlled to select a particular spectrum of "white” light or even to have a spectrum of colored light in addition to the white light. It would also be desirable for each of the LEDs to produce equal intensities of light to allow for easy mixing.
- One system for creating white light includes a large number (for example around 300) of LEDs, each of which has a narrow spectral width and each of which has a maximum spectral peak spanning a predetermined portion of the range from about 400 nm to about 700 nm, possibly with some overlap, and possibly beyond the boundaries of visible light.
- This light source may produce essentially white light, and may be controllable to produce any color temperature (and also any color). It allows for smaller variation than the human eye can see and therefore the light fixture can make changes more finely than a human can perceive. Such a light is therefore one embodiment of the invention, but other embodiments can use fewer LEDs when perception by humans is the focus.
- FIG. 14 shows the spectrums of nine LEDs (701) with 25 nm spectral widths spaced every 25 nm. It should be recognized here that a nine LED lighting fixture does not necessarily contain exactly nine total illumination sources. It contains some number of each of nine different colored illuminating sources. This number will usually be the same for each color, but need not be. High-brightness LEDs with a spectral width of about 25 nm are generally available.
- the solid line (703) indicates the additive spectrum of all of the LED spectrums at equal power as could be created using the above method lighting fixture.
- the powers of the LEDs may be adjusted to generate a range of color temperature (and colors as well) by adjusting the relative intensities of the nine LEDs.
- FIGS. 15a and 15b are spectrums for the 5000K (801) and 2500K (803) white-light from this lighting fixture.
- This nine LED lighting fixture has the ability to reproduce a wide range of color temperatures as well as a wide range of colors as the area of the CIE diagram enclosed by the component LEDs covers most of the available colors. It enables control over the production of non-continuous spectrums and the generation of particular high-quality colors by choosing to use only a subset of the available LED illumination sources.
- any of these light fixtures may meet the quality standards above. They may produce a spectrum that is continuous over the photopic response of the eye, that is without dramatic peaks, and that can be controlled to produce a white light of multiple desired color temperatures.
- the nine LED white light source is effective since its spectral resolution is sufficient to accurately simulate spectral distributions within human-perceptible limits. However, fewer LEDs may be used. If the specifications of making high-quality white light are followed, the fewer LEDs may have an increased spectral width to maintain the substantially continuous spectrum that fills the Photopic response of the eye. The decrease could be from any number of LEDs from 8 to 2. The 1 LED case allows for no color mixing and therefore no control. To have a temperature controllable white light fixture at least two colors of LEDs are required.
- Both the nine LED and three LED examples demonstrate that combinations of LEDs can be used to create high-quality white lighting fixtures. These spectrums fill the photopic response of the eye and are continuous, which means they appear more natural than artificial light sources such as fluorescent lights. Both spectra may be characterized as high-quality since the CRIs measure in the high 90s.
- one impediment is the lack of current availability for LEDs with a maximum spectral peak of 555 nm. This wavelength is at the center of the Photopic response of the eye and one of the clearest colors to the eye.
- the introduction of an LED with a dominant wavelength at or near 555 nm would simplify the generation of LED-based white light.
- this is chosen to be color temperatures from about 2300K to about 4500K which is commonly used by lighting designers in industry.
- any range could be chosen for other embodiments including the range from 500K to 10,000K which covers most variation in visible white light or any sub-range thereof.
- the overall output spectrum of this light may achieve a CRI comparable to standard light sources already existing. Specifically, a high CRI (greater than 80) at 4500K and lower CRI (greater than 50) at 2300K may be specified although again any value could be chosen. Peaks and valleys may also be minimized in the range as much as possible and particularly to have a continuous curve where no intensity is 0.
- white LEDs have become available. These LEDs operate using a blue LED to pump a layer of phosphor. The phosphor down-converts some of the blue light into green and red. The result is a spectrum that has a wide spectrum and is roughly centered about 555 nm, and is referred to as "cool white.”
- An example spectrum for such a white LED (in particular for a Nichia NSPW510 BS (bin A) LED), is shown in FIG. 18 as the spectrum (1201).
- the spectrum (1201) shown in FIG. 18 is different from the Gaussian-like spectrums for some LEDs. This is because not all of the pump energy from the blue LED is down-converted. This has the effect of cooling the overall spectrum since the higher portion of the spectrum is considered to be warm.
- the resulting CRI for this LED is 84 but it has a color temperature of 20,000K. Therefore the LED on its own does not meet the above lighting criteria.
- This spectrum (1201) contains a maximum spectral peak at about 450 nm and does not accurately fill the photopic response of the human eye. A single LED also allows for no control of color temperature and therefore a system of the desired range of color temperatures cannot be generated with this LED alone.
- Nichia Chemical currently has three bins (A, B, and C) of white LEDs available.
- the LED spectrum (1201) shown in FIG. 18 is the coolest of these bins.
- the warmest LED is bin C (the spectrum (1301) of which is presented in FIG. 19 ).
- the CRI of this LED is also 84; it has a maximum spectral peak of around 450 nm, and it has a CCT of 5750K.
- Using a combination of the bin A or C LEDs will enable the source to fill the spectrum around the center of the Photopic response, 555 nm.
- the lowest achievable color temperature will be 5750K (from using the bin C LED alone) which does not cover the entire range of color temperatures previously discussed. This combination will appear abnormally warm (blue) on its own as the additive spectrum will still have a significant peak around 450 nm.
- the color temperature of these LEDs can be shifted using an optical high-pass filter placed over the LEDs.
- This is essentially a transparent piece of glass or plastic tinted so as to enable only higher wavelength light to pass through.
- a high-pass filter's transmission is shown in FIG. 20 as line (1401).
- Optical filters are known to the art and the high pass filter will generally comprise a translucent material, such as plastics, glass, or other transmission media which has been tinted to form a high pass filter such as the one shown in FIG. 20 .
- One embodiment of the invention includes generating a filter of a desired material (to obtain particular physical properties) upon specifying the desired optical properties. This filter may be placed over the LEDs directly, or may be filter (391) from the lighting fixture's housing.
- One embodiment of the invention allows for the existing fixture to have a preselection of component LEDs and a selection of different filters. These filters may shift the range of resultant colors without alteration of the LEDs.
- a filter system may be used in conjunction with the selected LEDs to fill an area of the CIE enclosed (area (510)) by a light fixture that is shifted with respect to the LEDs, thus permitting an additional degree of control.
- this series of filters could enable a single light fixture to produce white light of any temperature by specifying a series of ranges for various filters which, when combined, enclose the white line.
- FIG. 30 where a selection of areas (3001, 3011, 3021, 3031) depends on the choice of filters shifting the enclosed area.
- This spectral transmission measurement shows that the high pass filter in FIG. 20 absorbs spectral power below 500 nm. It also shows an overall loss of approximately 10% which is expected.
- the dotted line (1403) in FIG. 20 shows the transmission loss associated with a standard polycarbonate diffuser which is often used in light fixtures. It is to be expected that the light passing through any substance will result in some decrease in intensity.
- the filter whose transmission is shown in FIG. 20 can be used to shift the color temperature of the two Nichia LEDs.
- the filtered ((1521) and (1531)) and un-filtered ((1201) and (1301)) spectrums for the bin A and C LEDs are shown in FIGS. 21a and 21b .
- the addition of the yellow filter shifts the color temperature of the bin A LED from 20,000K to 4745K. Its chromaticity coordinates are shifted from (0.27,0.2A) to (0.35, 0.37). The bin C LED is shifted from 5750K to 3935K and from chromaticity coordinates (0.33,0.33) to (0.40,0.43).
- FIG. 22 is a close-up of the chromaticity Map around the Plankian locus (1601). This locus indicates the perceived colors of ideal sources called blackbodies.
- the thicker line (1603) highlights the section of the locus that corresponds to the range from 2300K to 4500K.
- FIG. 22 illustrates how large of a shift can be achieved with a simple high-pass filter.
- the set of Nichia LEDs By effectively "warming up” the set of Nichia LEDs, they are brought into a chromaticity range that is useful for the specified color temperature control range and are suitable for one embodiment of the invention.
- the original placement was dashed line (1665), while the new color is represented by line (1607) which is within the correct region.
- a non-linear range of color temperatures may be generated using more than two LEDs.
- This LED should have a chromaticity to the right of the 2300K point on the blackbody locus.
- the Agilent HLMP-EL1 8 amber LED with a dominant wavelength of 592 nm, has chromaticity coordinates (0.60,0.40).
- the addition of the Agilent amber to the set of Nichia white LEDs results in the range (1701) shown in FIG. 23 .
- the range (1701) produced using these three LEDs completely encompasses the blackbody locus over the range from 2300K to 4500K.
- a light fixture fabricated using these LEDs may meet the requirement of producing white light with the correct chromaticity values.
- the spectra of the light at 2300K (2203) and 5000K (2201) in FIGS. 26a and b show spectra which meet the desired criteria for high-quality white light, both spectra are continuous and the 5000K spectrum does not show the peaks present in other lighting fixtures, with reasonable intensity at all wavelengths.
- the 2300K spectrum does not have any valleys at lower wavelengths than it's maximum peak. The light is also controllable over these spectra.
- the CRI should be above 50 for low color temperatures and above 80 for high color temperatures.
- the CRI for the 2300K simulated spectrum is 52 and is similar to an incandescent bulb with a CRI of 50.
- the CRI for the 4500K simulated spectrum is 82 and is considered to be high-quality white light.
- These spectra are also similar in shape to the spectra of natural light as shown in FIGS. 26a and 26b .
- FIG. 24 shows the CRI plotted with respect to the CCT for the above white light source. This comparison shows that the high-quality white light fixture above will produce white light that is of higher quality than the three standard fluorescent lights (1803), (1805), and (1809) used in FIG. 24 . Further, the light source above is significantly more controllable than a fluorescent light as the color temperature can be selected as any of those points on curve (1801) while the fluorescents are limited to the particular points shown.
- the luminous output of the described white light lighting fixture was also measured.
- the luminous output plotted with respect to the color temperature is given in FIG. 25 , although the graph in FIG. 25 is reliant on the types and levels of power used in producing it, the ratio may remain constant with the relative number of the different outer LEDs selected. The full-on point (point of maximum intensity) may be moved by altering the color of each of the LEDs present.
- any of the above embodiments could also include illumination sources with a maximum spectral peak below 400 nm or above 700 nm.
- a high-quality LED-based light may be configured to replace a fluorescent tube.
- a replacement high-quality LED light source useful for replacing fluorescent tubes would function in an existing device designed to use fluorescent tubes.
- FIG. 28 shows a typical fluorescent lighting fixture or other device configured to accept florescent tubes (2402).
- the lighting fixture (2402) may include a ballast (2410).
- the ballast (2410) may be a magnetic type or electronic type ballast for supplying the power to at least one tube (2404) which has traditionally been a fluorescent tube.
- the ballast (2410) includes power input connections (2414) to be connected with an external power supply.
- the external power supply may be a building's AC supply or any other power supply known in the art.
- the ballast (2410) has tube connections (2412) and (2416) which attach to a tube coupler (2408) for easy insertion and removal of tubes (2404). These connections deliver the requisite power to the tube.
- the ballast (2410) may be a transformer with a predetermined impedance to supply the requisite voltage and current.
- the fluorescent tube (2404) acts like a short circuit so the ballast's impedance is used to set the tube current. This means that each tube wattage requires a particular ballast. For example, a forty-watt fluorescent tube will only operate on a forty-watt ballast because the ballast is matched to the tube.
- Other fluorescent lighting fixtures use electronic ballasts with a high frequency sine wave output to the bulb. Even in these systems, the internal ballast impedance of the electronic ballast still regulates the current through the tube.
- FIG. 29 shows one embodiment of a lighting fixture according to this disclosure which could be used as a replacement florescent tube in a housing such as the one in FIG. 28 .
- the lighting fixture may comprise, in one embodiment, a variation on the lighting fixture (5000) in FIGS. 5a and 5b .
- the lighting fixture can comprise a bottom portion (1101) with a generally rounded underside (1103) and a generally flat connection surface (1105).
- the lighting fixture also comprises a top portion (1111) with a generally rounded upper portion (1113) and a generally flat connection surface (1115).
- the top portion (1111) will generally be comprised of a translucent, transparent, or similar material allowing light transmission and may comprise a filter similar to filter (391).
- connection surfaces (1105) and (1115) can be placed together to form a generally cylindrical lighting fixture and can be attached by any method known in the art.
- a lighting fixture (1150) which comprises a generally rectangular mounting (1153) and a strip of at least one component illumination source such as an LED (1155).
- This construction is by no means necessary and the lighting fixture need not have a housing with it or could have a housing of any type known in the art.
- a single strip is shown, one of skill in the art would understand that multiple strips, or other patterns of arrangement of the illumination sources, could be used.
- the strips generally have the component LEDs in a sequence that separates the colors of LEDs if there are multiple colors of LEDs but such an arrangement is not required.
- the lighting fixture will generally have lamp connectors (2504) for connecting the lighting fixture to the existing lamp couplers (2008).
- the LED system may also include a control circuit (2510). This circuit may convert the ballast voltage into D.C. for the LED operation.
- the control circuit (2510) may control the LEDs (1155) with constant D.C. voltage or control circuit (2510) may generate control signals to operate the LEDs.
- the control circuit (2510) would include a processor for generating pulse width modulated control signals, or other similar control signals, for the LEDs.
- These white lights therefore are examples of how a high-quality white light fixture can be generated with component illumination sources, even where those sources have dominant wavelengths outside the region of 530 nm to 570 nm.
- the above white light can contain programming which enables a user to easily control the light and select any desired color temperature that is available in the light.
- T Temperature in degrees K.
- the light could have a selection of switches, such as DIP switches enabling it to operate in a stand-alone mode, where a desired color temperature can be selected using the switches, and changed by alteration of the stand alone product.
- the light could also be remotely programmed to operate in a standalone mode as discussed above.
- the lighting fixture in FIG. 29 may also comprise a program control switch (2512).
- This switch may be a selector switch for selecting the color temperature, color of the LED system, or any other illumination conditions.
- the switch may have multiple settings for different colors. Position “one” may cause the LED system to produce 3200K white light, position "two” may cause 4000K white light, position "three” may be for blue light and a fourth position may be to allow to allow the system to receive external signals for color or other illumination control. This external control could be provided by any of the controllers discussed previously.
- Some fluorescent ballasts also provide for dimming where a dimmer switch on the wall will change the ballast output characteristics and as a result change the fluorescent light illumination characteristics.
- the LED lighting system may use this as information to change the illumination characteristics.
- the control circuit (2510) can monitor the ballast characteristics and adjust the LED control signals in a corresponding fashion.
- the LED system may have lighting control signals stored in memory within the LED lighting system. These control signals may be preprogrammed to provide dimming, color changing, a combination of effects or any other illumination effects as the ballasts' characteristics change.
- a user may desire different colors in a room at different times.
- the LED system can be programmed to produce white light when the dimmer is at the maximum level, blue light when it is at 90% of maximum, red light when it is at 80%, flashing effects at 70% or continually changing effects as the dimmer is changed.
- the system could change color or other lighting conditions with respect to the dimmer or any other input.
- a user may also want to recreate the lighting conditions of incandescent light.
- One of the characteristics of such lighting is that it changes color temperature as its power is reduced.
- the incandescent light may be 2800K at full power but the color temperature will reduce as the power is reduced and it may be 1500K when the lamp dimmed to a great extent. Fluorescent lamps do not reduce in color temperature when they are dimmed.
- the fluorescent lamp's color does not change when the power is reduced.
- the LED system can be programmed to reduce in color temperature as the lighting conditions are dimmed. This may be achieved using a look-up table for selected intensities, through a mathematical description of the relationship between intensity and color temperature, any other method known in the art, or any combination of methods.
- the LED system can be programmed to provide virtually any lighting conditions.
- the LED system may include a receiver for receiving signals, a transducer, a sensor or other device for receiving information.
- the receiver could be any receiver such as, but not limited to, a wire, cable, network, electromagnetic receiver, IR receiver, RF receiver, microwave receiver or any other receiver.
- a remote control device could be provided to change the lighting conditions remotely. Lighting instructions may also be received from a network. For example, a building may have a network where information is transmitted through a wireless system and the network could control the illumination conditions throughout a building. This could be accomplished from a remote site as well as on site. This may provide for added building security or energy savings or convenience.
- the LED lighting system may also include optics to provide for evenly distributed lighting conditions from the fluorescent lighting fixture.
- the optics may be attached to the LED system or associated with the system.
- the system has applications in environments where variations in available lighting may affect aesthetic choices.
- the lighting fixture may be used in a retail embodiment to sell paint or other color sensitive items.
- a paint sample may be viewed in a retail store under the same lighting conditions present where the paint will ultimately be used.
- the lighting fixture may be adjusted for outdoor lighting, or may be more finely tuned for sunny conditions, cloudy conditions, or the like.
- the lighting fixture may also be adjusted for different forms of interior lighting, such as halogen, fluorescent, or incandescent lighting.
- a portable sensor (as discussed above) may be taken to a site where the paint is to be applied, and the light spectrum may be analyzed and recorded.
- the same light spectrum may subsequently be reproduced by the lighting fixture, so that paint may be viewed under the same lighting conditions present at the site where the paint is to be used.
- the lighting fixture may similarly be used for clothing decisions, where the appearance of a particular type and color of fabric may be strongly influenced by lighting conditions. For example, a wedding dress (and bride) may be viewed under lighting conditions expected at a wedding ceremony, in order to avoid any unpleasant surprises.
- the lighting fixture can also be used in any of the applications, or in conjunction with any of the systems or methods discussed elsewhere in this disclosure.
- the lighting fixture may be used to accurately reproduce visual effects.
- make-up is typically applied in a dressing room or salon, where lighting may be different than on a stage or other site.
- the lighting fixture may thus be used to reproduce the lighting expected where photographs will be taken, or a performance given, so that suitable make-up may be chosen for predictable results.
- a sensor may be used to measure actual lighting conditions so that the lighting conditions may be reproduced during application of make-up.
- colored light often corresponds to the colors of specific filters which can be placed on white lighting instruments to generate a specific resulting shade.
- filters are often classified by a spectrum of the resulting light, by proprietary numerical classifications, and/or by names which give an implication of the resulting light such as "primary blue,” “straw,” or “chocolate.”
- These filters allow for selection of a particular, reproducible color of light, but, at the same time, limit the director to those colors of filters that are available.
- mixing the colors is not an exact science which can result in slight variations in the colors as lighting fixtures are moved, or even change temperature, during a performance or film shoot.
- a system for controlling illumination in a theatrical environment In another embodiment, there is provided a system for controlling illumination in cinematography.
- tracers or markers that reflect, radiate, or fluoresce color of a specific wavelength or spectrum to enable them to detect blood vessels or other small structures. They can view these structures by shining light of the specific wavelength in the general area where the tracers are, and view the resultant reflection or fluorescing of the tracers.
- different procedures may benefit from using a customized color temperature or particular color of light tailored to the needs of each specific procedure.
- the system uses LEDs to produce a controlled range of light within a predetermined spectrum.
- a stage should change colors as the sun is supposed to rise, a color change may occur to change the color of a fluorescing tracer, or a room could have the color slowly altered to make a visitor more uncomfortable with the lighting as the length of their stay increased.
Landscapes
- Circuit Arrangement For Electric Light Sources In General (AREA)
- Non-Portable Lighting Devices Or Systems Thereof (AREA)
- Led Device Packages (AREA)
- Led Devices (AREA)
Applications Claiming Priority (6)
| Application Number | Priority Date | Filing Date | Title |
|---|---|---|---|
| US16653399P | 1999-11-18 | 1999-11-18 | |
| US20114000P | 2000-05-02 | 2000-05-02 | |
| US23567800P | 2000-09-27 | 2000-09-27 | |
| PCT/US2000/031877 WO2001036864A2 (en) | 1999-11-18 | 2000-11-20 | Systems and methods for generating and modulating illumination conditions |
| EP05076817.5A EP1610593B2 (en) | 1999-11-18 | 2000-11-20 | Generation of white light with Light Emitting Diodes having different spectrum |
| EP00980578.9A EP1234140B2 (en) | 1999-11-18 | 2000-11-20 | Systems and methods for generating and modulating illumination conditions |
Related Parent Applications (4)
| Application Number | Title | Priority Date | Filing Date |
|---|---|---|---|
| EP05076817.5A Division-Into EP1610593B2 (en) | 1999-11-18 | 2000-11-20 | Generation of white light with Light Emitting Diodes having different spectrum |
| EP05076817.5A Division EP1610593B2 (en) | 1999-11-18 | 2000-11-20 | Generation of white light with Light Emitting Diodes having different spectrum |
| EP00980578.9A Division-Into EP1234140B2 (en) | 1999-11-18 | 2000-11-20 | Systems and methods for generating and modulating illumination conditions |
| EP00980578.9A Division EP1234140B2 (en) | 1999-11-18 | 2000-11-20 | Systems and methods for generating and modulating illumination conditions |
Publications (2)
| Publication Number | Publication Date |
|---|---|
| EP2975912A1 EP2975912A1 (en) | 2016-01-20 |
| EP2975912B1 true EP2975912B1 (en) | 2022-04-27 |
Family
ID=27389287
Family Applications (2)
| Application Number | Title | Priority Date | Filing Date |
|---|---|---|---|
| EP15169577.2A Expired - Lifetime EP2975912B1 (en) | 1999-11-18 | 2000-11-20 | System for generating and modulating illumination conditions |
| EP00980578.9A Expired - Lifetime EP1234140B2 (en) | 1999-11-18 | 2000-11-20 | Systems and methods for generating and modulating illumination conditions |
Family Applications After (1)
| Application Number | Title | Priority Date | Filing Date |
|---|---|---|---|
| EP00980578.9A Expired - Lifetime EP1234140B2 (en) | 1999-11-18 | 2000-11-20 | Systems and methods for generating and modulating illumination conditions |
Country Status (9)
| Country | Link |
|---|---|
| EP (2) | EP2975912B1 (enExample) |
| JP (1) | JP2003517705A (enExample) |
| AT (1) | ATE301802T1 (enExample) |
| AU (1) | AU1782501A (enExample) |
| DE (1) | DE60021911T3 (enExample) |
| DK (1) | DK1610593T4 (enExample) |
| ES (2) | ES2253274T5 (enExample) |
| PT (1) | PT1610593E (enExample) |
| WO (1) | WO2001036864A2 (enExample) |
Families Citing this family (96)
| Publication number | Priority date | Publication date | Assignee | Title |
|---|---|---|---|---|
| US6666567B1 (en) | 1999-12-28 | 2003-12-23 | Honeywell International Inc. | Methods and apparatus for a light source with a raised LED structure |
| JP4495814B2 (ja) * | 1999-12-28 | 2010-07-07 | アビックス株式会社 | 調光式led照明器具 |
| US6683423B2 (en) * | 2002-04-08 | 2004-01-27 | David W. Cunningham | Lighting apparatus for producing a beam of light having a controlled luminous flux spectrum |
| JP3989302B2 (ja) * | 2002-05-24 | 2007-10-10 | オリンパス株式会社 | 照明装置及びプロジェクタ装置 |
| US7023543B2 (en) | 2002-08-01 | 2006-04-04 | Cunningham David W | Method for controlling the luminous flux spectrum of a lighting fixture |
| US7663739B2 (en) | 2002-10-18 | 2010-02-16 | Board Of Regents, The University Of Texas System | Customizable spectral profiles for filtering |
| WO2004047498A1 (en) | 2002-11-19 | 2004-06-03 | Dan Friis | Lighting body or source of light based on light-emitting diodes |
| JP2006525634A (ja) | 2003-05-07 | 2006-11-09 | コーニンクレッカ フィリップス エレクトロニクス エヌ ヴィ | 発光ダイオードを制御するためのユーザインタフェース |
| GB2403062B (en) * | 2003-06-18 | 2006-03-01 | Gen Electric | Light sources for improving visual perception under mesopic lighting conditions |
| FI115600B (fi) * | 2003-06-27 | 2005-05-31 | Planmeca Oy | LED-operaatiovalaisin |
| US7066619B2 (en) | 2003-08-29 | 2006-06-27 | Waters Michael A | LED picture light apparatus and method |
| US7066623B2 (en) | 2003-12-19 | 2006-06-27 | Soo Ghee Lee | Method and apparatus for producing untainted white light using off-white light emitting diodes |
| AU2003271383A1 (en) | 2003-12-23 | 2005-07-07 | Hpm Industries Pty Ltd | A Solar Powered Light Assembly to Produce Light of Varying Colours |
| EP1568938B1 (de) | 2004-02-28 | 2006-09-27 | TRUMPF Kreuzer Medizin Systeme GmbH + Co. KG | Operationsleuchte |
| CN1942997B (zh) | 2004-04-15 | 2011-03-23 | 皇家飞利浦电子股份有限公司 | 电可控色彩转换单元 |
| US7626693B1 (en) | 2004-09-22 | 2009-12-01 | Board Of Regents, The University Of Texas System | Illumination sources and customizable spectral profiles |
| US20090168415A1 (en) * | 2004-11-29 | 2009-07-02 | Koninklijke Philips Electronics, N.V. | Method and system for adjusting the light setting for a multi-color light source |
| US7522211B2 (en) * | 2005-02-10 | 2009-04-21 | Avago Technologies Ecbu Ip (Singapore) Pte. Ltd. | Studio light |
| JP5160411B2 (ja) | 2005-04-28 | 2013-03-13 | コーニンクレッカ フィリップス エレクトロニクス エヌ ヴィ | 改良された照明システム |
| DE102005022832A1 (de) | 2005-05-11 | 2006-11-16 | Arnold & Richter Cine Technik Gmbh & Co. Betriebs Kg | Scheinwerfer für Film- und Videoaufnahmen |
| DE602006004345D1 (de) | 2005-06-30 | 2009-01-29 | Koninkl Philips Electronics Nv | Farbfernsteuerungsvorrichtung und beleuchtungssystem |
| JP5059008B2 (ja) | 2005-09-19 | 2012-10-24 | ヴィアイピー 1 エーピーエス | 動的照明の色制御 |
| ATE532000T1 (de) | 2005-11-14 | 2011-11-15 | Trumpf Medizin Systeme Gmbh & Co Kg | Operationsleuchte |
| US8189011B2 (en) * | 2005-12-22 | 2012-05-29 | Koninklijke Philips Electronics N.V. | System and method for controlling lighting systems |
| KR101303360B1 (ko) * | 2006-06-23 | 2013-09-03 | 코닌클리즈케 필립스 일렉트로닉스 엔.브이. | 광원들의 어레이를 구동하는 방법 및 장치 |
| KR101318968B1 (ko) | 2006-06-28 | 2013-10-17 | 서울반도체 주식회사 | 발광 다이오드를 이용한 인공태양광 시스템 |
| DE102006038504B4 (de) * | 2006-08-16 | 2008-09-25 | Sirona Dental Systems Gmbh | Zahnärztliche Behandlungsleuchte |
| CN101518044B (zh) * | 2006-09-12 | 2011-09-21 | 皇家飞利浦电子股份有限公司 | 用于在发光系统内执行照明复制和粘贴操作的系统和方法 |
| DE102006051026A1 (de) | 2006-10-26 | 2008-04-30 | Erco Leuchten Gmbh | Leuchte |
| DE202007007054U1 (de) | 2006-11-15 | 2007-07-26 | Trumpf Kreuzer Medizin Systeme Gmbh + Co. Kg | System mit einer Operationsleuchte und mit einer Kamera |
| EP2087280B1 (en) | 2006-11-28 | 2018-07-18 | Hayward Industries, Inc. | Programmable underwater lighting system |
| US8201966B2 (en) | 2007-01-18 | 2012-06-19 | Brandon Medical Company Limited | Illumination device |
| DE202007019100U1 (de) | 2007-09-12 | 2010-09-02 | Lumitech Produktion Und Entwicklung Gmbh | LED-Modul, LED-Leuchtmittel und LED-Leuchte für die energieeffiziente Wiedergabe von weißem Licht |
| US8376577B2 (en) * | 2007-11-05 | 2013-02-19 | Xicato, Inc. | Modular solid state lighting device |
| GB2454556B (en) * | 2007-11-09 | 2013-01-09 | Diehl Aerospace Gmbh | Method for changeover between mixed light colours |
| GB0813834D0 (en) | 2008-07-29 | 2008-09-03 | Brandon Medical Company Ltd | Illumination assembly |
| RU2485393C2 (ru) * | 2008-01-17 | 2013-06-20 | Конинклейке Филипс Электроникс Н.В. | Осветительное устройство |
| DE102008013049A1 (de) * | 2008-03-06 | 2009-09-24 | Mbb International Group Ag | Leuchte, insbesondere zur Erzielung eines tageslichtähnlichen Lichtspektrums |
| DE102008017073A1 (de) * | 2008-04-03 | 2009-10-08 | Zumtobel Lighting Gmbh | Beleuchtungsanordnung mit mehreren separaten Beleuchtungseinheiten |
| DE102008022834A1 (de) * | 2008-05-08 | 2009-11-12 | Osram Opto Semiconductors Gmbh | Beleuchtungseinrichtung |
| DE102008029511A1 (de) | 2008-06-21 | 2010-02-11 | Airbus Deutschland Gmbh | Lese- oder Spotleuchte |
| US20130307419A1 (en) | 2012-05-18 | 2013-11-21 | Dmitri Simonian | Lighting system with sensor feedback |
| US9066404B2 (en) | 2008-06-26 | 2015-06-23 | Telelumen Llc | Systems and methods for developing and distributing illumination data files |
| US8021021B2 (en) | 2008-06-26 | 2011-09-20 | Telelumen, LLC | Authoring, recording, and replication of lighting |
| DE102009009190A1 (de) * | 2009-02-17 | 2010-08-19 | Zumtobel Lighting Gmbh | Verfahren und Regelsystem zur Regelung des Farbortes eines von einer Leuchte abgegebenen Lichts |
| US8570498B2 (en) | 2009-05-15 | 2013-10-29 | Board Of Regents, The University Of Texas System | Filters, illuminants, and customized spectral profiles for reducing perceptible changes in appearance |
| BR112012009704B1 (pt) | 2009-10-29 | 2020-05-12 | Koninklijke Philips N.V. | Dispositivo de iluminação com funcionalidade de despertar e / ou dormir |
| US8104908B2 (en) | 2010-03-04 | 2012-01-31 | Xicato, Inc. | Efficient LED-based illumination module with high color rendering index |
| DE102010011408A1 (de) * | 2010-03-15 | 2011-09-15 | Schneider Electric Industries Sas | Vorrichtung mit einem Leuchtmittel und Verfahren zu dessen Steuerung |
| KR101211084B1 (ko) * | 2010-03-30 | 2012-12-12 | 삼성전자주식회사 | 조명 장치 |
| DE102010003593A1 (de) * | 2010-04-01 | 2011-10-06 | Zumtobel Lighting Gmbh | Verfahren und Vorrichtung zur Ermittlung eines zum Erzielen einer gewünschten Lichtabgabe erforderlichen Stellwerts bzw. einer Stellwertkombination |
| US20110267834A1 (en) | 2010-04-28 | 2011-11-03 | Hayward Industries, Inc. | Underwater Light Having A Sealed Polymer Housing and Method of Manufacture Therefor |
| US8485696B2 (en) | 2010-10-11 | 2013-07-16 | Broan NuTone, LLC | Lighting and ventilating system and method |
| US8382332B2 (en) | 2010-10-11 | 2013-02-26 | Broan NuTone, LLC | Lighting and ventilating system and method |
| US8967832B2 (en) | 2010-10-11 | 2015-03-03 | Broan-Nutone Llc | Lighting and ventilating system and method |
| FR2969325B1 (fr) * | 2010-12-16 | 2013-08-16 | Saint Gobain | Systeme de commande de vitrages actifs gerant la couleur de la lumiere dans un batiment |
| DE202011002411U1 (de) | 2011-02-04 | 2011-06-27 | Human Bios Gmbh | Beleuchtungskörper mit der Funktion zur Einstellung der Farbtemperatur von Weißlicht |
| DE102011000657A1 (de) * | 2011-02-11 | 2012-08-16 | Andree Jahnel | Beleuchtungsleiste |
| DE102011015407A1 (de) * | 2011-03-29 | 2012-10-04 | Osram Opto Semiconductors Gmbh | Beleuchtungseinrichtung und Gewächshaus mit einer Beleuchtungseinrichtung |
| KR101186650B1 (ko) | 2011-03-30 | 2012-09-28 | 서울반도체 주식회사 | 발광 다이오드를 이용한 인공태양광 시스템 |
| US8513900B2 (en) | 2011-05-12 | 2013-08-20 | Ledengin, Inc. | Apparatus for tuning of emitter with multiple LEDs to a single color bin |
| DE202011100791U1 (de) * | 2011-05-17 | 2012-08-24 | Christian Braun | Leuchte mit farblich variablem Licht |
| DE202011104251U1 (de) | 2011-08-11 | 2011-11-14 | Fabian Schröter | Elektrische Lampe |
| WO2013062157A1 (ko) * | 2011-10-27 | 2013-05-02 | Wang Jin Hyung | 엘이디 조명장치 |
| US8759847B2 (en) | 2011-12-22 | 2014-06-24 | Bridgelux, Inc. | White LED assembly with LED string and intermediate node substrate terminals |
| GB2501237A (en) * | 2012-03-12 | 2013-10-23 | Lumonic Ltd | Colour crossfade engine |
| DE102012102153A1 (de) * | 2012-03-14 | 2013-09-19 | Uwe Giebeler | Verfahren und Vorrichtung zur Beleuchtung eines Arbeitsfeldes im Zuge einer medizinischen Behandlung unter Einsatz lichthärtender Werkstoffe |
| KR101347718B1 (ko) | 2012-04-05 | 2014-01-07 | 남경 주식회사 | 색온도, 색상 및 밝기 조절이 가능한 조명 시스템 |
| DE102012103229B4 (de) * | 2012-04-13 | 2019-04-18 | Hadler Gmbh | Beleuchtungsvorrichtung mit einem Betriebs- und Steuergerät und wenigstens einem damit elektronisch verbundenen LED Leuchtmittel mit wenigstens einer LED |
| GB2504460A (en) * | 2012-06-12 | 2014-02-05 | Michael Colin Edwards | Colour mixing luminaire |
| EP3620149B1 (en) | 2013-03-15 | 2021-10-06 | Hayward Industries, Inc. | Modular pool/spa control system |
| US9794999B2 (en) | 2013-04-04 | 2017-10-17 | Ledengin, Inc. | Color tunable light source module with brightness and dimming control |
| DE102013208905A1 (de) * | 2013-05-14 | 2014-11-20 | Intellux Berlin GmbH | Beleuchtungssystem und Beleuchtungsverfahren zum Vorsehen biologisch optimierten Lichts |
| DE102013112127A1 (de) | 2013-11-05 | 2015-05-07 | Eaton Electrical Ip Gmbh & Co. Kg | Mehrfarbensignalanordnung, Verfahren zur Definition von Betriebsarten einer Mehrfarbensignalanordnung und System, aufweisend eine Mehrfarbensignalanordnung und eine RFID Sendeeinrichtung |
| BE1021867B1 (nl) * | 2014-02-07 | 2016-01-22 | VAN HAL, Peter Leon | Sfeerverlichting |
| US9468069B2 (en) | 2014-04-03 | 2016-10-11 | Ledengin, Inc. | Smooth brightness adjustment for color-tunable light source module |
| EP2950618B1 (en) * | 2014-05-26 | 2018-10-10 | Harman Professional Denmark ApS | Color control system with variable calibration |
| US9530943B2 (en) | 2015-02-27 | 2016-12-27 | Ledengin, Inc. | LED emitter packages with high CRI |
| JP6666341B2 (ja) * | 2015-06-24 | 2020-03-13 | 株式会社東芝 | 白色光源システム |
| US9807855B2 (en) | 2015-12-07 | 2017-10-31 | Pentair Water Pool And Spa, Inc. | Systems and methods for controlling aquatic lighting using power line communication |
| US10272014B2 (en) | 2016-01-22 | 2019-04-30 | Hayward Industries, Inc. | Systems and methods for providing network connectivity and remote monitoring, optimization, and control of pool/spa equipment |
| US11720085B2 (en) | 2016-01-22 | 2023-08-08 | Hayward Industries, Inc. | Systems and methods for providing network connectivity and remote monitoring, optimization, and control of pool/spa equipment |
| US10835102B2 (en) * | 2016-07-28 | 2020-11-17 | Verily Life Sciences Llc | Tunable color-temperature white light source |
| US10219345B2 (en) | 2016-11-10 | 2019-02-26 | Ledengin, Inc. | Tunable LED emitter with continuous spectrum |
| US20180245974A1 (en) * | 2017-01-26 | 2018-08-30 | Truly Green Solutions, LLC | Method for measuring light for led replacement |
| DE202017102463U1 (de) * | 2017-04-26 | 2018-07-27 | Zumtobel Lighting Gmbh | Leuchtensystem |
| CN107643160B (zh) * | 2017-09-20 | 2019-07-26 | 福建联迪商用设备有限公司 | 一种模拟实际扫描环境的方法、终端及系统 |
| JP2017228547A (ja) * | 2017-10-06 | 2017-12-28 | パイオニア株式会社 | 照明装置 |
| KR102516217B1 (ko) | 2017-11-30 | 2023-04-03 | 서울반도체 주식회사 | 발광 다이오드들을 포함하는 발광 장치 |
| EP3904845A4 (en) * | 2018-12-26 | 2022-09-28 | Kyocera Corporation | SPECTRUM CONTROL DEVICE, SPECTRUM CONTROL PROGRAM AND DATA STRUCTURE |
| JP2020107422A (ja) * | 2018-12-26 | 2020-07-09 | 京セラ株式会社 | 照明装置および照明システム |
| US11168876B2 (en) | 2019-03-06 | 2021-11-09 | Hayward Industries, Inc. | Underwater light having programmable controller and replaceable light-emitting diode (LED) assembly |
| CA3132690A1 (en) | 2019-03-06 | 2020-09-10 | Hayward Industries, Inc. | Underwater light having a replaceable light-emitting diode (led) module and cord assembly |
| CN112954860A (zh) * | 2019-12-10 | 2021-06-11 | 群燿光学股份有限公司 | 控制装置 |
| DE102020109190A1 (de) * | 2020-04-02 | 2021-10-07 | Arnold & Richter Cine Technik Gmbh & Co. Betriebs Kg | Scheinwerfersystem, Scheinwerfer, Optikkomponente hierfür und Verfahren zum Ermitteln einer räumlichen Lichtverteilung derselben |
| US12369241B2 (en) | 2020-05-29 | 2025-07-22 | Rensselaer Polytechnic Institute | Systems and methods for controlling outdoor lighting to reduce light pollution |
Citations (3)
| Publication number | Priority date | Publication date | Assignee | Title |
|---|---|---|---|---|
| US4045664A (en) * | 1971-09-04 | 1977-08-30 | U.S. Philips Corporation | Lighting fitting provided with at least two-low-pressure mercury vapor discharge lamps |
| EP0838866A2 (en) * | 1996-10-28 | 1998-04-29 | General Electric Company | A light-emitting diode white light source |
| WO1999043547A1 (fr) * | 1998-02-24 | 1999-09-02 | Wilco International S.A.R.L. | Moyen d'eclairage pour aeronef compatible avec un systeme de vision nocturne |
Family Cites Families (22)
| Publication number | Priority date | Publication date | Assignee | Title |
|---|---|---|---|---|
| US2725461A (en) * | 1952-11-12 | 1955-11-29 | Analite Corp | Artificial daylight lamp |
| DE3526590A1 (de) † | 1985-07-25 | 1986-01-02 | Zinnecker, Elisabeth, 7891 Lottstetten | Verfahren und anordnung zur steuerung einer beleuchtungsanlage |
| US5749646A (en) † | 1992-01-17 | 1998-05-12 | Brittell; Gerald A. | Special effect lamps |
| US5521708A (en) | 1992-11-25 | 1996-05-28 | Canon Information & Systems, Inc. | Correlated color temperature detector |
| JPH06290876A (ja) * | 1993-03-31 | 1994-10-18 | Toshiba Lighting & Technol Corp | 放電灯点灯装置、照明器具および照明システム |
| JP3376737B2 (ja) * | 1994-12-28 | 2003-02-10 | 松下電工株式会社 | 照明装置 |
| JPH097774A (ja) * | 1995-06-16 | 1997-01-10 | Mitsubishi Electric Corp | 色温度可変光源装置 |
| US5803579A (en) * | 1996-06-13 | 1998-09-08 | Gentex Corporation | Illuminator assembly incorporating light emitting diodes |
| DE19638667C2 (de) † | 1996-09-20 | 2001-05-17 | Osram Opto Semiconductors Gmbh | Mischfarbiges Licht abstrahlendes Halbleiterbauelement mit Lumineszenzkonversionselement |
| DE19625622A1 (de) † | 1996-06-26 | 1998-01-02 | Siemens Ag | Lichtabstrahlendes Halbleiterbauelement mit Lumineszenzkonversionselement |
| JP2927279B2 (ja) † | 1996-07-29 | 1999-07-28 | 日亜化学工業株式会社 | 発光ダイオード |
| TW383508B (en) † | 1996-07-29 | 2000-03-01 | Nichia Kagaku Kogyo Kk | Light emitting device and display |
| JPH10112557A (ja) * | 1996-10-08 | 1998-04-28 | Nichia Chem Ind Ltd | 発光装置及びそれを用いた表示装置 |
| DE29620583U1 (de) † | 1996-11-27 | 1997-02-13 | Kundisch Microtech GmbH & Co. KG, 78056 Villingen-Schwenningen | Beleuchtungskörper mit stufenlos einstellbarer Farbänderung des Lichtes und des Lichtkegels |
| DE19829270B4 (de) † | 1997-07-02 | 2006-03-16 | Patent-Treuhand-Gesellschaft für elektrische Glühlampen mbH | Lampe |
| JPH1139917A (ja) † | 1997-07-22 | 1999-02-12 | Hewlett Packard Co <Hp> | 高演色性光源 |
| US6016038A (en) * | 1997-08-26 | 2000-01-18 | Color Kinetics, Inc. | Multicolored LED lighting method and apparatus |
| JPH11135274A (ja) * | 1997-10-30 | 1999-05-21 | Toshiba Tec Corp | Led照明装置 |
| JPH11162660A (ja) * | 1997-11-25 | 1999-06-18 | Matsushita Electric Works Ltd | Led光源 |
| US6252254B1 (en) † | 1998-02-06 | 2001-06-26 | General Electric Company | Light emitting device with phosphor composition |
| TW406442B (en) † | 1998-07-09 | 2000-09-21 | Sumitomo Electric Industries | White colored LED and intermediate colored LED |
| DE20007134U1 (de) † | 2000-04-18 | 2000-08-17 | OSRAM Opto Semiconductors GmbH & Co. oHG, 93049 Regensburg | Leuchte mit einstellbarem Farbort |
-
2000
- 2000-11-20 DK DK05076817.5T patent/DK1610593T4/da active
- 2000-11-20 AU AU17825/01A patent/AU1782501A/en not_active Abandoned
- 2000-11-20 WO PCT/US2000/031877 patent/WO2001036864A2/en not_active Ceased
- 2000-11-20 AT AT00980578T patent/ATE301802T1/de not_active IP Right Cessation
- 2000-11-20 PT PT50768175T patent/PT1610593E/pt unknown
- 2000-11-20 EP EP15169577.2A patent/EP2975912B1/en not_active Expired - Lifetime
- 2000-11-20 DE DE60021911.9T patent/DE60021911T3/de not_active Expired - Lifetime
- 2000-11-20 EP EP00980578.9A patent/EP1234140B2/en not_active Expired - Lifetime
- 2000-11-20 ES ES00980578.9T patent/ES2253274T5/es not_active Expired - Lifetime
- 2000-11-20 JP JP2001538714A patent/JP2003517705A/ja active Pending
- 2000-11-20 ES ES05076817T patent/ES2547927T5/es not_active Expired - Lifetime
Patent Citations (3)
| Publication number | Priority date | Publication date | Assignee | Title |
|---|---|---|---|---|
| US4045664A (en) * | 1971-09-04 | 1977-08-30 | U.S. Philips Corporation | Lighting fitting provided with at least two-low-pressure mercury vapor discharge lamps |
| EP0838866A2 (en) * | 1996-10-28 | 1998-04-29 | General Electric Company | A light-emitting diode white light source |
| WO1999043547A1 (fr) * | 1998-02-24 | 1999-09-02 | Wilco International S.A.R.L. | Moyen d'eclairage pour aeronef compatible avec un systeme de vision nocturne |
Also Published As
| Publication number | Publication date |
|---|---|
| DE60021911T3 (de) | 2016-04-14 |
| EP1234140B1 (en) | 2005-08-10 |
| AU1782501A (en) | 2001-05-30 |
| DE60021911T2 (de) | 2006-05-18 |
| DE60021911D1 (de) | 2005-09-15 |
| EP1234140B2 (en) | 2015-11-25 |
| ES2253274T5 (es) | 2016-04-14 |
| WO2001036864A3 (en) | 2001-11-22 |
| ES2253274T3 (es) | 2006-06-01 |
| ES2547927T5 (es) | 2020-07-30 |
| ATE301802T1 (de) | 2005-08-15 |
| ES2547927T3 (es) | 2015-10-09 |
| PT1610593E (pt) | 2015-10-23 |
| EP1234140A2 (en) | 2002-08-28 |
| DK1610593T4 (da) | 2020-05-11 |
| WO2001036864A2 (en) | 2001-05-25 |
| JP2003517705A (ja) | 2003-05-27 |
| EP2975912A1 (en) | 2016-01-20 |
| DK1610593T3 (en) | 2015-10-19 |
Similar Documents
| Publication | Publication Date | Title |
|---|---|---|
| EP2975912B1 (en) | System for generating and modulating illumination conditions | |
| EP1610593B2 (en) | Generation of white light with Light Emitting Diodes having different spectrum | |
| US7014336B1 (en) | Systems and methods for generating and modulating illumination conditions | |
| US7959320B2 (en) | Methods and apparatus for generating and modulating white light illumination conditions | |
| US7354172B2 (en) | Methods and apparatus for controlled lighting based on a reference gamut | |
| JP6581500B2 (ja) | マルチチャネル白色光照明源のための装置、システム、及び方法 | |
| US8469547B2 (en) | Lighting system with programmable temporal and spatial spectral distributions | |
| US7515128B2 (en) | Methods and apparatus for providing luminance compensation | |
| US9560714B1 (en) | Color temperature adjustable, LED based, white light source | |
| US20170354013A1 (en) | Artificial light compensation system and process | |
| WO2003024269A1 (en) | Methods and apparatus for generating and modulating white light illumination conditions | |
| WO2006069117A2 (en) | Methods and apparatus for controlled lighting based on a reference gamut | |
| HK1085079A (en) | Generation of white light with light emitting diodes having different spectrum |
Legal Events
| Date | Code | Title | Description |
|---|---|---|---|
| PUAI | Public reference made under article 153(3) epc to a published international application that has entered the european phase |
Free format text: ORIGINAL CODE: 0009012 |
|
| AC | Divisional application: reference to earlier application |
Ref document number: 1234140 Country of ref document: EP Kind code of ref document: P Ref document number: 1610593 Country of ref document: EP Kind code of ref document: P |
|
| AK | Designated contracting states |
Kind code of ref document: A1 Designated state(s): AT BE CH CY DE DK ES FI FR GB GR IE IT LI LU MC NL PT SE TR |
|
| 17P | Request for examination filed |
Effective date: 20160720 |
|
| RBV | Designated contracting states (corrected) |
Designated state(s): AT BE CH CY DE DK ES FI FR GB GR IE IT LI LU MC NL PT SE TR |
|
| STAA | Information on the status of an ep patent application or granted ep patent |
Free format text: STATUS: EXAMINATION IS IN PROGRESS |
|
| 17Q | First examination report despatched |
Effective date: 20180119 |
|
| RAP1 | Party data changed (applicant data changed or rights of an application transferred) |
Owner name: SIGNIFY NORTH AMERICA CORPORATION |
|
| RAP1 | Party data changed (applicant data changed or rights of an application transferred) |
Owner name: SIGNIFY NORTH AMERICA CORPORATION |
|
| REG | Reference to a national code |
Ref country code: DE Ref legal event code: R071 Ref document number: 60049984 Country of ref document: DE |
|
| REG | Reference to a national code |
Ref country code: DE Ref legal event code: R079 Ref document number: 60049984 Country of ref document: DE Free format text: PREVIOUS MAIN CLASS: H05B0037020000 Ipc: H05B0045200000 |
|
| RIC1 | Information provided on ipc code assigned before grant |
Ipc: H05B 45/20 20200101AFI20210910BHEP |
|
| GRAP | Despatch of communication of intention to grant a patent |
Free format text: ORIGINAL CODE: EPIDOSNIGR1 |
|
| STAA | Information on the status of an ep patent application or granted ep patent |
Free format text: STATUS: GRANT OF PATENT IS INTENDED |
|
| INTG | Intention to grant announced |
Effective date: 20211125 |
|
| GRAS | Grant fee paid |
Free format text: ORIGINAL CODE: EPIDOSNIGR3 |
|
| GRAA | (expected) grant |
Free format text: ORIGINAL CODE: 0009210 |
|
| STAA | Information on the status of an ep patent application or granted ep patent |
Free format text: STATUS: THE PATENT HAS BEEN GRANTED |
|
| AC | Divisional application: reference to earlier application |
Ref document number: 1234140 Country of ref document: EP Kind code of ref document: P Ref document number: 1610593 Country of ref document: EP Kind code of ref document: P |
|
| AK | Designated contracting states |
Kind code of ref document: B1 Designated state(s): AT BE CH CY DE DK ES FI FR GB GR IE IT LI LU MC NL PT SE TR |
|
| REG | Reference to a national code |
Ref country code: GB Ref legal event code: FG4D |
|
| REG | Reference to a national code |
Ref country code: NL Ref legal event code: MK Effective date: 20201119 |
|
| REG | Reference to a national code |
Ref country code: BE Ref legal event code: MK Effective date: 20201120 |
|
| REG | Reference to a national code |
Ref country code: DE Ref legal event code: R096 Ref document number: 60049984 Country of ref document: DE |
|
| REG | Reference to a national code |
Ref country code: AT Ref legal event code: REF Ref document number: 1488010 Country of ref document: AT Kind code of ref document: T Effective date: 20220515 |
|
| REG | Reference to a national code |
Ref country code: IE Ref legal event code: FG4D |
|
| REG | Reference to a national code |
Ref country code: IE Ref legal event code: MK9A |
|
| REG | Reference to a national code |
Ref country code: AT Ref legal event code: MK05 Ref document number: 1488010 Country of ref document: AT Kind code of ref document: T Effective date: 20220427 |
|
| PG25 | Lapsed in a contracting state [announced via postgrant information from national office to epo] |
Ref country code: SE Free format text: LAPSE BECAUSE OF FAILURE TO SUBMIT A TRANSLATION OF THE DESCRIPTION OR TO PAY THE FEE WITHIN THE PRESCRIBED TIME-LIMIT Effective date: 20220427 Ref country code: PT Free format text: LAPSE BECAUSE OF FAILURE TO SUBMIT A TRANSLATION OF THE DESCRIPTION OR TO PAY THE FEE WITHIN THE PRESCRIBED TIME-LIMIT Effective date: 20220829 Ref country code: GR Free format text: LAPSE BECAUSE OF FAILURE TO SUBMIT A TRANSLATION OF THE DESCRIPTION OR TO PAY THE FEE WITHIN THE PRESCRIBED TIME-LIMIT Effective date: 20220728 Ref country code: ES Free format text: LAPSE BECAUSE OF FAILURE TO SUBMIT A TRANSLATION OF THE DESCRIPTION OR TO PAY THE FEE WITHIN THE PRESCRIBED TIME-LIMIT Effective date: 20220427 Ref country code: AT Free format text: LAPSE BECAUSE OF FAILURE TO SUBMIT A TRANSLATION OF THE DESCRIPTION OR TO PAY THE FEE WITHIN THE PRESCRIBED TIME-LIMIT Effective date: 20220427 |
|
| REG | Reference to a national code |
Ref country code: CH Ref legal event code: PL Ref country code: CH Ref legal event code: EP |
|
| REG | Reference to a national code |
Ref country code: GB Ref legal event code: PE20 Expiry date: 20201119 |
|
| REG | Reference to a national code |
Ref country code: DE Ref legal event code: R097 Ref document number: 60049984 Country of ref document: DE |
|
| PG25 | Lapsed in a contracting state [announced via postgrant information from national office to epo] |
Ref country code: GB Free format text: LAPSE BECAUSE OF EXPIRATION OF PROTECTION Effective date: 20201119 Ref country code: DK Free format text: LAPSE BECAUSE OF FAILURE TO SUBMIT A TRANSLATION OF THE DESCRIPTION OR TO PAY THE FEE WITHIN THE PRESCRIBED TIME-LIMIT Effective date: 20220427 |
|
| PLBE | No opposition filed within time limit |
Free format text: ORIGINAL CODE: 0009261 |
|
| STAA | Information on the status of an ep patent application or granted ep patent |
Free format text: STATUS: NO OPPOSITION FILED WITHIN TIME LIMIT |
|
| 26N | No opposition filed |
Effective date: 20230130 |
|
| PG25 | Lapsed in a contracting state [announced via postgrant information from national office to epo] |
Ref country code: IT Free format text: LAPSE BECAUSE OF FAILURE TO SUBMIT A TRANSLATION OF THE DESCRIPTION OR TO PAY THE FEE WITHIN THE PRESCRIBED TIME-LIMIT Effective date: 20220427 |