EP2964409B1 - Vorrichtung zur herstellung eines adapters für heizungs- und belüftungssysteme - Google Patents

Vorrichtung zur herstellung eines adapters für heizungs- und belüftungssysteme Download PDF

Info

Publication number
EP2964409B1
EP2964409B1 EP14708080.8A EP14708080A EP2964409B1 EP 2964409 B1 EP2964409 B1 EP 2964409B1 EP 14708080 A EP14708080 A EP 14708080A EP 2964409 B1 EP2964409 B1 EP 2964409B1
Authority
EP
European Patent Office
Prior art keywords
creasing
sheet metal
work area
creasing member
adaptor
Prior art date
Legal status (The legal status is an assumption and is not a legal conclusion. Google has not performed a legal analysis and makes no representation as to the accuracy of the status listed.)
Not-in-force
Application number
EP14708080.8A
Other languages
English (en)
French (fr)
Other versions
EP2964409A1 (de
Inventor
Roux William Roger YOUNG
Current Assignee (The listed assignees may be inaccurate. Google has not performed a legal analysis and makes no representation or warranty as to the accuracy of the list.)
Individual
Original Assignee
Individual
Priority date (The priority date is an assumption and is not a legal conclusion. Google has not performed a legal analysis and makes no representation as to the accuracy of the date listed.)
Filing date
Publication date
Application filed by Individual filed Critical Individual
Publication of EP2964409A1 publication Critical patent/EP2964409A1/de
Application granted granted Critical
Publication of EP2964409B1 publication Critical patent/EP2964409B1/de
Not-in-force legal-status Critical Current
Anticipated expiration legal-status Critical

Links

Images

Classifications

    • BPERFORMING OPERATIONS; TRANSPORTING
    • B21MECHANICAL METAL-WORKING WITHOUT ESSENTIALLY REMOVING MATERIAL; PUNCHING METAL
    • B21CMANUFACTURE OF METAL SHEETS, WIRE, RODS, TUBES, PROFILES OR LIKE SEMI-MANUFACTURED PRODUCTS OTHERWISE THAN BY ROLLING; AUXILIARY OPERATIONS USED IN CONNECTION WITH METAL-WORKING WITHOUT ESSENTIALLY REMOVING MATERIAL
    • B21C37/00Manufacture of metal sheets, rods, wire, tubes, profiles or like semi-manufactured products, not otherwise provided for; Manufacture of tubes of special shape
    • B21C37/06Manufacture of metal sheets, rods, wire, tubes, profiles or like semi-manufactured products, not otherwise provided for; Manufacture of tubes of special shape of tubes or metal hoses; Combined procedures for making tubes, e.g. for making multi-wall tubes
    • B21C37/15Making tubes of special shape; Making tube fittings
    • B21C37/28Making tube fittings for connecting pipes, e.g. U-pieces
    • B21C37/286Making tube fittings for connecting pipes, e.g. U-pieces starting from sheet material
    • BPERFORMING OPERATIONS; TRANSPORTING
    • B21MECHANICAL METAL-WORKING WITHOUT ESSENTIALLY REMOVING MATERIAL; PUNCHING METAL
    • B21DWORKING OR PROCESSING OF SHEET METAL OR METAL TUBES, RODS OR PROFILES WITHOUT ESSENTIALLY REMOVING MATERIAL; PUNCHING METAL
    • B21D11/00Bending not restricted to forms of material mentioned in only one of groups B21D5/00, B21D7/00, B21D9/00; Bending not provided for in groups B21D5/00 - B21D9/00; Twisting
    • B21D11/10Bending specially adapted to produce specific articles, e.g. leaf springs
    • BPERFORMING OPERATIONS; TRANSPORTING
    • B21MECHANICAL METAL-WORKING WITHOUT ESSENTIALLY REMOVING MATERIAL; PUNCHING METAL
    • B21DWORKING OR PROCESSING OF SHEET METAL OR METAL TUBES, RODS OR PROFILES WITHOUT ESSENTIALLY REMOVING MATERIAL; PUNCHING METAL
    • B21D5/00Bending sheet metal along straight lines, e.g. to form simple curves
    • B21D5/01Bending sheet metal along straight lines, e.g. to form simple curves between rams and anvils or abutments
    • BPERFORMING OPERATIONS; TRANSPORTING
    • B21MECHANICAL METAL-WORKING WITHOUT ESSENTIALLY REMOVING MATERIAL; PUNCHING METAL
    • B21DWORKING OR PROCESSING OF SHEET METAL OR METAL TUBES, RODS OR PROFILES WITHOUT ESSENTIALLY REMOVING MATERIAL; PUNCHING METAL
    • B21D5/00Bending sheet metal along straight lines, e.g. to form simple curves
    • B21D5/02Bending sheet metal along straight lines, e.g. to form simple curves on press brakes without making use of clamping means
    • BPERFORMING OPERATIONS; TRANSPORTING
    • B21MECHANICAL METAL-WORKING WITHOUT ESSENTIALLY REMOVING MATERIAL; PUNCHING METAL
    • B21DWORKING OR PROCESSING OF SHEET METAL OR METAL TUBES, RODS OR PROFILES WITHOUT ESSENTIALLY REMOVING MATERIAL; PUNCHING METAL
    • B21D9/00Bending tubes using mandrels or the like
    • B21D9/14Wrinkle-bending, i.e. bending by corrugating

Definitions

  • This invention relates to apparatus for making an adaptor which is used in heating and ventilation systems. More especially, this invention relates to apparatus for making an adaptor which is used in heating and ventilation systems and which is used to connect ducting which is of a square cross sectional shape to ducting which is of a circular cross sectional shape.
  • ducting which is of a circular cross sectional shape rather than ducting which is of a square cross sectional shape. This is because the ducting which is of the circular cross sectional shape is cheaper to manufacture than the ducting which is of the square cross sectional shape. It is common practice in the heating and ventilation industry to use ducting which is of a square cross sectional shape in situations which demand the use of such ducting, and then to connect to ducting which is of a circular cross sectional shape as soon as possible.
  • the ducting which is of the square cross sectional shape is connected to the ducting which is of a circular cross sectional shape by an adaptor.
  • the adaptor is often known as a square-to-round adaptor.
  • the adaptor is made on a folding machine. The folding machine was in fact made for other purposes and it is awkward and time consuming to produce the adaptor on the folding machine. With the known adaptors that are produced on the folding machine, it is necessary to produce them in two halves, which are then welded together.
  • the apparatus as shown in GB 2494678 is advantageous in that it is able to make the adaptors faster than with the folding machine. This is because the apparatus has the operator means for causing the creasing member to pivot with respect to the work area and crease the sheet metal. This leaves an operator of the apparatus with both hands free to manipulate the sheet metal about the pivot member to desired positions with respect to the pivot member for being provided with the creases that are required to produce the transition part of the adaptor.
  • the apparatus is also advantageous in that it is able to make the adaptor in two halves which are welded together as with the known folding machine, or alternatively in one piece, which is a facility not available with the known folding machine.
  • the apparatus as shown in GB 2494678 requires that the sheet metal be provided with a hole to receive the pivot member, which is preferably a pivot pin.
  • the provision of the hole requires a separate operation. It would be an advantage if this separate operation could be avoided. This is especially so if the hole is punched into the apparatus by hand because it not only avoids loss of time but it also helps to avoid operator fatigue.
  • the pivot member when the pivot member is located in the hole in the sheet member, the pivot member is of a cross sectional size which prevents the creases formed in the sheet metal converging closely together.
  • the creases in the sheet metal are only able to converge to an extent defined by the cross sectional size of the pivot member. It would be an advantage if the creases in the sheet metal could converge together more closely, thereby improving the appearance of the formed adaptor.
  • the present invention provides apparatus for making an adaptor which is used in heating and ventilation systems and which is used to connect ducting which is of a square cross sectional shape to ducting which is of a circular cross sectional shape, which apparatus comprises:
  • the sheet metal is able to be located on the plate portion of the pivot member and there is no need to provide the sheet member with a hole for receiving a pivot member. Also, the creases formed in the sheet member are able to converge closely together because the plate portion is able to be considerably narrower than a pivot member.
  • the apparatus of the present invention may be one in which the plate portion is fixed to the shank portion, and in which the shank portion pivots in a recess in the apparatus.
  • the apparatus may be one in which the shank portion is fixed to the apparatus, and in which the plate portion pivots about the shank portion.
  • the apparatus may be one in which the creasing member has an offset blade.
  • the offset blade allows the adapter to be formed with a pattern of creases at a right angle to the square end of the adaptor.
  • the apparatus may be one in which the creasing member comprises an upper brace for preventing the flexing of the creasing member when making the creases.
  • the use of the upper brace is advantageous when the creasing member is of a long length.
  • the apparatus may be one in which the creasing member comprises a creasing blade, and in which the creasing blade is removable from the remainder of the creasing member so that the creasing blade is replaceable when it becomes worn.
  • Other types of creasing member may be employed, including creasing members with fixed creasing blades.
  • the apparatus may be one in which the work area includes a bed.
  • the apparatus may be one in which the bed comprises two bed parts, in which the two bed parts form opposite sides of the bed, and in which the two bed parts are removable bed parts so that they are replaceable when they become worn.
  • the apparatus may be one in which the bed is offset to line up with the offset blade.
  • the apparatus may comprise a frame which is constructed to allow flat packaging for transportation, and self-assembly on site.
  • a frame which is constructed to allow flat packaging for transportation, and self-assembly on site.
  • Other types of frame may be employed so that, for example, the frame may be a fixed frame.
  • the apparatus of the present invention may be one in which the creasing member is pivotally mounted with respect to the work area, and in which the operator means causes the creasing member to operate such that the creasing member pivots with respect to the work area.
  • Other types of creasing member may be employed, and other types of movement of the creasing member may be employed.
  • the apparatus of the present invention may include depth adjuster means for adjusting the amount of movement of the creasing member and thereby the depth of the creases made in the sheet metal.
  • the depth adjuster means may comprise a screw bolt. Other types of depth adjuster means may be employed.
  • the apparatus of the present invention may be one in which the work area has a receiving formation for receiving the creasing member as the creasing member creases the sheet metal.
  • the receiving formation may be a groove.
  • the groove is preferably a V-groove.
  • Other types of receiving formation may be employed, for example a slot.
  • the creasing member may comprise a creasing blade.
  • the creasing blade may extend at right angles to a body part of the creasing member.
  • Other constructions for the creasing member may be employed.
  • the operator means is a foot-operated operator means.
  • the foot-operated operator means is preferably a pneumatic foot-operated operator means.
  • the operator means may be operator powered, pneumatically powered, hydraulically powered or electrically powered.
  • the operator means may be a cam-operated operator means.
  • the apparatus of the present invention may include a stand on which the work area is mounted.
  • the stand may be of various shapes.
  • the operator means may be mounted to the stand.
  • the stand may comprise a base and an upstanding formation which upstands from the base and which supports the work area.
  • the base may comprise a pair of legs which define a T-shape or a cross. Other constructions for the base may be employed.
  • the upstanding formation may be a post. Other constructions for the upstanding formation may be employed.
  • the apparatus of the present invention may include safety locking means for preventing unwanted operation of the creasing member.
  • the safety locking means may be a locking pin which extends into a hole in the creasing member. Other types of safety locking means may be employed.
  • the apparatus may be one in which the locking pin is spring biased to a position in which the locking pin is engaged in the hole in the creasing member, and in which the locking pin is holdable by holding means in a non-engaged position for operation of the creasing member.
  • the holding means may be a rotatable pin arrangement. Other types of holding means may be employed.
  • the apparatus of the present invention may include clamping means for clamping the pivot member.
  • the clamping means may comprise a cam and a lever which operates the cam. Other types of clamping means may be employed.
  • the apparatus of the present invention may be made of any suitable and appropriate materials.
  • the stand in the form of the base and also the upstanding formation may be made of box section.
  • the sheet metal will usually be galvanised sheet metal but other metals may be employed.
  • the apparatus of the present invention may include a guard for the creasing blade.
  • the guard may act to avoid an operator trapping their fingers under the creasing blade.
  • the guard may be especially useful when the foot-operated operator means is powered pneumatically or hydraulically, but it may also be useful when the foot-operated operator means is powered by the operator.
  • the guard may be of a plastics material, for example perspex.
  • the plastics material such for example as the perspex, is transparent so that an operator can see through the guard to work on the sheet metal to form the adaptor.
  • the guard may be in the form of a sleeve or a cover for the creasing blade.
  • the adaptor 2 which is used in heating and ventilation systems. More specifically, the adaptor 2 is used to connect ducting which is of a square cross sectional shape to ducting which is of a circular cross sectional shape.
  • the adaptor 2 comprises a first end 4 which is of a square cross sectional shape, and a second end 6 which is of a circular cross sectional shape.
  • the adaptor 2 comprises a transition part 8 which is positioned between the first end 4 and the second end 6.
  • the transition part 8 comprises a plurality of creases 10 which enable the transition between the square cross sectional shape and the circular cross sectional shape.
  • FIG 2, 3 and 4 show adaptors 12, 14, 16 respectively. Similar parts as in the adaptor 2 have been given the same reference numerals for ease of comparison and understanding.
  • the adaptors 12, 14, 16 have different sizes of second end 6. Also, the adaptors 2, 12, 14 are straight in-line adaptors, whereas the adaptor 16 is an offset adaptor which is offset by the distance 20.
  • the apparatus 22 can also be used for making other adaptors such for example as the adaptors 12, 14, 16.
  • the apparatus 22 comprises:
  • the apparatus 22 is one in which the creasing member 28 is pivotally mounted with respect to the work area 24. More specifically, the creasing member 28 is pivotally mounted about a pivot 34.
  • the apparatus 22 is also such that the operator means 32 is a foot-operated operator means 32 which causes the creasing member 28 to operate such that the creasing member 28 pivots about the pivot 34 and with respect to the work area 24.
  • the work area 24 has a receiving formation 38 for receiving the creasing member 28 as the creasing member 28 creases the sheet metal 26.
  • the creasing formation 38 is in the form of a groove. As can be seen from Figures 6 , 8 and 9 , the receiving formation 38 has sloping sides 40, 42.
  • the creasing member 28 comprises a creasing blade 44.
  • the creasing blade 44 extends at a right angle to a body part 46 of the creasing member 28.
  • the pivot member 30 is a pin member which is of circular cross section and which upstands from the work area.
  • the foot-operated operator means 32 is powered by the operator via a foot pedal 48 and a connecting linkage in the form of a connecting rod 50.
  • the connecting rod 50 is pivotally connected to an end 52 of the creasing member 28 by a pivot 54.
  • the end 52 is an end of the creasing member 28 remote from the pivotal mounting of the creasing member 28 by the pivot 34.
  • the apparatus 22 includes a stand 56 on which the work area 24 is mounted.
  • the foot-operated operator means 32 is pivotally mounted by a pivot 58 about the stand 56.
  • the foot-operated operator means 32 is spring biased to a rest position by a coil spring 60 which extends between the foot-operated operator means 32 and the stand 56.
  • the stand 56 comprises a base 62 and an upstanding formation 64 which upstands from the base 62 and which supports the work area 24.
  • the base 62 comprises legs 66 which define a cross.
  • the upstanding formation 64 is in the form of a post.
  • the upstanding formation 64 and the legs 66 are made of angle iron.
  • second apparatus 68 which is like the first apparatus 22. Similar parts as in the first apparatus 22 have been given the same reference numerals for ease of comparison and understanding.
  • the second apparatus 68 is such that it includes depth adjuster means 70 for adjusting the amount of movement of the creasing member 28 into the receiving formation 38. This thereby controls the depth of the creases 10 made in the sheet metal 26.
  • the depth adjuster means 70 comprises a screw bolt 72 which screws into a screw threaded recess 74 in the upstanding formation 64.
  • the second apparatus 68 also comprises safety locking means 76 for preventing unwanted operation of the creasing member 28.
  • the safety locking means 76 comprises a locking pin 78 which is spring biased by a spring 80 to a position in which the locking pin 78 is engaged in a hole 82 in the creasing member 28.
  • the locking pin 78 is holdable by holding means 84 in a non-engaged position for operation of the creasing member 28.
  • the holding means 84 comprises a rotatable pin arrangement having a pair of pins 86 which engage or disengage from slots (not shown) for permitting operation and non-operation of the holding means 84.
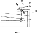
  • FIG 12 shows third apparatus 88. Similar parts as in the first apparatus 2 and the second apparatus 58 have been given the same reference numerals for ease of comparison and understanding.
  • the third apparatus 88 comprises clamping means 90 for clamping the pivot member into the sheet metal 26.
  • the clamping means 90 comprises a cam 92 and a lever 94 which operationally rotates the cam 92 so that it is able to bear as shown via a spring 96 onto the pivot member 30.
  • FIG. 13 and 14 there is shown fourth apparatus 100. Similar parts as in previous apparatus have been given the same reference numerals for ease of comparison and understanding.
  • the creasing member 102 comprises a plurality of longitudinally extending teeth 104 which extend as ridges along the length of the creasing member 102.
  • the teeth 104 engage sheet metal 127 and press it into a space 108 between two rollers 110, 112.
  • the operator firstly uses two hands to position the sheet metal 127 at the pivot. The operator then rotates the creasing member 102 by means of a handle 114.
  • the creasing member 102 As the creasing member 102 rotates, the teeth 104 crease the sheet metal 127.
  • the sheet metal 127 gets pulled through the creasing member 102 as the creasing member 102 rotates.
  • the sheet metal 127 skids with respect to the creasing member 102 at the pivot end of the sheet metal 127.
  • the creasing member may be shaped like a cone rather than being parallel sided. The cone shape may be effective to produce the creases without the skidding of the sheet metal with respect to the creasing member.
  • FIG. 15 there is shown sheet metal 127 showing how it may be cut to shape with notches 118 to receive in turn the pivot member 30 in order to provide the creases 10 in order to go from the flat formation shown in Figure 15 to a three dimensional adaptor formation.
  • the apparatus 120 is such that it has a pivot member 122 which is different from the pivot member 30. More specifically, the pivot member 122 comprises a plate portion 124 which locates in use in a V-shaped slot 126 in the sheet metal 127 shown in Figure 34 .
  • the pivot member 26 also comprises a shank portion 128 which is pivotable with respect to the work area 24 to enable the sheet metal 127 to pivot on the work area 24.
  • the plate portion 124 is fixed to the shank portion 128.
  • the shank portion 128 pivots in a recess 130 in the apparatus 120.
  • the shank portion 128 may be fixed to the apparatus 120, and the plate portion 124 may pivot about the shank portion 128.
  • the apparatus 120 has a creasing member 132 which has an offset blade 134.
  • the offset blade 134 enables an adapter to be formed such that there is a right angle at the square end of the adaptor.
  • the offset blade 134 is a creasing blade.
  • the offset blade 134 is removable from the remainder of the creasing member 132 so that the offset blade 134 is replaceable when it becomes worn.
  • the apparatus 120 includes a bed 136.
  • the bed 136 is a V-shaped bed.
  • the bed 136 comprises two bed parts 138, 140.
  • the two bed parts 138, 140 form opposite sides of the bed 136.
  • the two bed parts 138, 140 are removable bed parts so that they are replaceable when they become worn.
  • the bed 136 is offset to line up with the offset blade 134.
  • Figure 16 shows how the creasing member 132 may optionally be provided with an upper brace 142 for preventing flexing of the creasing member 132 when making the creases in the sheet metal 127.
  • the upper brace 142 is advantageous when the creasing member 132 is long.
  • the upper brace 142 is a bowed upper brace 142 as shown.
  • the pivot member 30 is a pivot pin of circular cross section.
  • the sheet metal 127 has to be provided with a hole 144 in order to receive the pivot member 122.
  • the hole 144 is punched and this may be done by hand or by machine. The punching of the hole 144 is time consuming, and it may be tiring to an operator if done by hand. This is avoided with the apparatus of the present invention, as can be appreciated from the sheet metal 127 shown in Figures 21 and 34 .
  • the location of the pivot member 30 in the sheet metal 26 prevents the creases 146 from converging together as closely as would be desirable. This is due to the fact that the pivot member 30 has an appreciable cross sectional area and therefore the creases 146 can only diverge to the extent defined by the hole 144 which receives the pivot member 30.
  • the pivot member 122 is such that the plate portion 124 is able to locate at the base of the V-shaped slot 126 in the sheet metal 127. There is no need to provide the hole 144.
  • the plate portion 122 is much thinner in cross section than the pivot member 30. This means that the creases 146 can converge substantially to a point 148, which makes the finished adaptor produced from the sheet metal 127 look neater.
  • the apparatus shown in Figures 5 - 14 can be modified to replace the illustrated pivot members with the pivot member 122, thereby to become apparatus of the present invention.
  • FIGS 23 - 32 show apparatus 150 of the present invention.
  • the apparatus 150 includes a pivot member 152 which has a plate portion 154 and a shank portion 156.
  • the apparatus 150 has the base section 158 which defines a T-shape.
  • the apparatus 150 is such that it has a creasing member 160 with an offset blade 162 which allows the sheet metal 127 to be formed at a right angle at the square end of the formed adaptor.
  • the apparatus 150 has a bed 164 which is also offset to that it lines up with the offset blade 162.
  • the bed 164 is deep enough to allow free travel of the sheet metal 127 as it is creased at the square end of the adapter being formed.
  • the length of the bed 164 in the apparatus 150 is 750mm to accommodate large sheets of the sheet metal 127. The length of the bed may be longer or shorter as may be desired.
  • the apparatus 150 has an air switch 166, which replaces the manual foot lever 48.
  • the apparatus 150 is pneumatically operated apparatus which contains a pneumatically operating device 168.
  • the apparatus 150 has a frame 170 that is able to be packed flat for transportation and that is able to be self-assembled on site.
  • the apparatus 150 is such that the blade 162 has a top bow brace 172 to stop any flexible of the blade 162 when creasing the sheet metal 127.
  • Guide marks 174 have been added to the length of the bed 164 to give distances to where the sheet metal 127 should be moved when making the creases.
  • the apparatus 150 has a blade depth adjuster 176 which has now been made to pass through a blade guide 178 to stop fingers of an operator getting pinched.
  • the blade 162 is separable from an upper arm part of the creasing member 160 so that the blade 162 can be replaced when it becomes worn.
  • the apparatus 150 has a bed 136 with the two replaceable bed parts 138, 140.
  • the apparatus 150 has clevises 163 at either end of the blade 162.
  • the blade 162 operates on the clevises 163.
  • the bed 164 may be such that it has bed angles which are each at 15 degree to make up a V-shaped bed angle of 30 degrees.
  • a safety guard 182 is in two separate parts.
  • the safety guard 182 is attached to the blade 164.
  • the safety guard 182 has slots held by pins that, when in operation, are able to maintain a 6mm gap so as to stop the blade 162 creasing an operator's fingers.
  • the 6mm gap may be larger or smaller if desired.
  • the apparatus 22, 68, 88 is able to be operated by the foot-operated operator means 32, whereby an operator 98 is able to use two hands to hole and manipulate the sheet metal 127 in order to crease it as required to produce the required adaptor.
  • the apparatus 22, 68, 88 is faster to work with than the known folding machine, and thus the apparatus 22, 68, 88 is able to produce adaptors faster and easier than with the known folding machine.
  • the apparatus 22, 68, 88, 100 is able to produce adaptors in two parts for welding together, or if desired in one single part. With the known folding machine, it is only possible to produce the adaptors in two parts which need to be welded together.
  • Figures 33 - 39 there are shown different states in the formation of the sheet metal 127 into the adaptor 2. More specifically, Figure 33 shows the ceasing of the apparatus to form the adaptor.
  • Figure 34 shows an initial flat plate shape.
  • Figures 35 - 37 show the flat plate shape of Figure 34 being provided with one and more creases to provide the required change into the bent shape of the adaptor 2.
  • Figures 38 and 39 are different views of the final shape for the adaptor 2.
  • FIG 40 shows third apparatus 184 of the present invention. Similar parts as in previous Figures have been given the same reference numbers for ease of comparison and understanding.
  • the apparatus 184 has an upper portion 186 which may be the same as in any of the above Figures showing the apparatus of the present invention.
  • the upper portion 186 is mounted on two legs 188, 190.
  • the leg 188 is a telescopic leg having two telescoping parts 192, 194.
  • the leg 188 has an upper pivot 196 and a lower pivot 198.
  • the leg 190 has two parts 100, 102.
  • the leg 190 has an upper fixed connection 104 and a lower fixed connection 106.
  • the two parts 100, 102 are able to pivot about a pivot 108.
  • the leg 188 pivots as shown, and the leg 190 folds as shown. This enables the upper portion 186 to be angled to a desired angle as shown. Thus the working angle of the upper portion 186 of the apparatus 184 can be adjusted to suit each individual person operating the apparatus 184. There is no need for the person constantly to have to bend over and reach out, for example as may be the case when working on short patterns.
  • the height of the leg 188 is adjustable by a pin 110 locating in an appropriate one of a series of holes 112.
  • the leg 190 can be made vertical by locating a bolt or pin (not shown) in a hole 114. In the vertical position of the leg 190, the leg 188 will also be adjusted to the vertical, and the upper portion 186 will be horizontal.
  • the apparatus of the present invention may have a different type of work area than the work area 24, a different type of creasing member than the creasing member 28 or 102, a different type of foot-operated operator means than the foot-operated operator means 32, and a different type of base than the base 62.
  • the base 62 may be a flat plate rather than the legs 66.
  • the stand parts 151, 153 are preferably made from folded laser cut profiles which are bolted together on assembly.
  • the stand parts 151, 153 may be made in other ways if desired.
  • a stiffening leg 155 may optionally be provided.
  • the bed 136 preferably has a drop section 137 but this section need not be dropped.

Landscapes

  • Engineering & Computer Science (AREA)
  • Mechanical Engineering (AREA)
  • Machines For Manufacturing Corrugated Board In Mechanical Paper-Making Processes (AREA)
  • Folding Of Thin Sheet-Like Materials, Special Discharging Devices, And Others (AREA)

Claims (15)

  1. Vorrichtung (120) zur Herstellung eines Adapters (2), welcher in Heizungs- und Helüftungssystemen verwendet wird und welcher verwendet wird, um einen Kanal, welcher eine quadratische Querschnittsform aufweist, mit einem Kanal, der eine kreisförmige Querschnittsform aufweist, zu verbinden, welche Vorrichtung (120) Folgendes aufweist:
    (i) eine Arbeitsfläche (24) zum Aufnehmen von Blech (127), welches zu dem Adapter (2) zu verarbeiten ist;
    (ii) ein Abkantelement (28), welches zum Abkanten des Blechs (127) auf der Arbeitsfläche (24) dient;
    (iii) ein Drehelement (122), um welches das Blech (127) auf der Arbeitsfläche gedreht wird, so dass das Abkantelement (28) in der Lage ist, eine Vielzahl von Falten (146) herzustellen, welche im Blech (127) sind und welche sich von dem Drehelement (122) erstrecken, um einen Übergangsbereich des Adapters (2) zu erzeugen, der zwischen einem ersten Ende des Adapters (2), welches die quadratische Querschnittsform aufweist, und einem zweiten Ende des Adapters (2) angeordnet ist, welches die kreisförmige Querschnittsform aufweist; und
    (iv) ein Betätigungsmittel (32), um das Abkantelement (28) zu veranlassen, zu arbeiten und das Blech (127) abzukanten;
    und welche Vorrichtung (120) dadurch gekennzeichnet ist, dass:
    (v) das Drehelement (122) einen Plattenabschnitt (124), welcher sich im Einsatz in einem V-förmigen Schlitz (126) im Blech (127) befindet, und einen Zapfenabschnitt (128) aufweist, welcher den Plattenabschnitt (124) an der Vorrichtung (120) aufnimmt; und
    (vi) der Plattenabschnitt (124) in Bezug auf die Arbeitsfläche (24) drehbar ist, um es dem Blech (127) zu ermöglichen, sich auf der Arbeitsfläche (24) zu drehen.
  2. Vorrichtung (120) nach Anspruch 1, bei welcher der Plattenabschnitt (124) an dem Zapfenabschnitt (128) befestigt ist und bei welcher sich der Zapfenabschnitt (128) in einer Ausnehmung (130) in der Vorrichtung (120) dreht.
  3. Vorrichtung (120) nach Anspruch 1, bei welcher der Zapfenabschnitt (128) an der Vorrichtung (120) befestigt ist und bei welcher sich der Plattenabschnitt (124) um den Zapfenabschnitt (128) dreht.
  4. Vorrichtung (120) nach einem der vorhergehenden Ansprüche, bei welcher das Abkantelement (28) eine versetzte Klinge (134) besitzt .
  5. Vorrichtung (120) nach einem der vorhergehenden Ansprüche, bei welcher das Abkantelement (28) einen oberen Stützbalken (142) aufweist, um Biegung des Abkantelements (28) zu vermindern, wenn die Falten hergestellt werden.
  6. Vorrichtung (120) nach einem der vorhergehenden Ansprüche, bei welcher das Abkantelement (28) eine Abkantklinge (134) aufweist und bei welcher die Abkantklinge (134) von dem Rest des Abkantelements (28) abnehmbar ist, so dass die Abkantklinge (134) austauschbar ist, wenn sie abgenutzt ist.
  7. Vorrichtung (120) nach einem der vorhergehenden Ansprüche, bei welcher die Arbeitsfläche (24) ein Bett (136) aufweist, bei welcher das Bett (136) zwei Bett-Teile (138, 140) aufweist, bei welcher die beiden Bett-Teile (138, 140) gegenüber liegende Seiten des Bettes (136) bilden und bei welcher die beiden Bett-Teile (138, 140) abnehmbare Bett-Teile sind, so dass sie ausgetauscht werden können, wenn sie abgenutzt sind.
  8. Vorrichtung (120) nach einem der vorhergehenden Ansprüche, aufweisend einen Rahmen (170), welcher aufgebaut ist, um ein flaches Verpacken für den Transport und den Selbstaufbau vor Ort zu ermöglichen.
  9. Vorrichtung (120) nach einem der vorhergehenden Ansprüche, bei welcher das Abkantelement (28) in Bezug auf die Arbeitsfläche (24) drehbar montiert ist und bei welcher das Betätigungsmittel (32) das Abkantelement (28) veranlasst, zu arbeiten, so dass sich das Abkantelement (28) in Bezug auf die Arbeitsfläche (24) dreht.
  10. Vorrichtung (120) nach einem der vorhergehenden Ansprüche, aufweisend ein Tiefeneinstellmittel (176) zum Einstellen des Maßes an Bewegung des Abkantelements (28) und dadurch der Tiefe der in dem Blech (127) hergestellten Falten.
  11. Vorrichtung (120) nach einem der vorhergehenden Ansprüche, bei welcher die Arbeitsfläche (24) eine Aufnahmegebilde zum Aufnehmen des Abkantelements (28), wenn das Abkantelement (28) das Blech (127) abkantet.
  12. Vorrichtung (120) nach einem der vorhergehenden Ansprüche, bei welcher das Abkantelement (28) eine Abkantklinge aufweist.
  13. Vorrichtung (120) nach einem der vorhergehenden Ansprüche, bei welcher das Betätigungsmittel (32) ein fußbetriebenes Betätigungsmittel (32) ist.
  14. Vorrichtung (120) nach einem der vorhergehenden Ansprüche, aufweisend einen Ständer (56), an welchem die Arbeitsfläche (24) montiert ist, bei welcher das Betätigungsmittel (32) an dem Ständer (56) drehbar montiert ist, bei welcher das Betätigungsmittel (32) mit einer Feder in eine Ruheposition durch eine Spiralfeder vorgespannt ist, welche sich zwischen dem Betätigungsmittel (32) und dem Ständer (56) erstreckt und bei welcher der Ständer (56) einen Fuß (62) und ein aufrecht stehendes Gebilde (64) aufweist, welches von dem Fuß (62) aufragt und die Arbeitsplatte (24) trägt.
  15. Vorrichtung (120) nach einem der vorhergehenden Ansprüche, aufweisend ein Sicherheitsverriegelungsmittel (76), um ein ungewolltes Betreiben des Abkantelements (28) zu verhindern, bei welcher das Sicherheitsverriegelungsmittel (76) ein Verriegelungsstift (78) ist, welcher sich in ein Loch (82) in dem Abkantelement (28) erstreckt, bei welcher der Verriegelungsstift (78) mit einer Feder in eine Position vorgespannt ist, in welcher der Verriegelungsstift (78) mit dem Loch (82) in dem Abkantelement (28) in Eingriff ist, und bei welcher der Verriegelungsstift (78) durch Haltemittel (84) in einer ausgerückten Position zum Betreiben des Abkantelements (28) gehalten werden kann.
EP14708080.8A 2013-03-04 2014-02-21 Vorrichtung zur herstellung eines adapters für heizungs- und belüftungssysteme Not-in-force EP2964409B1 (de)

Applications Claiming Priority (2)

Application Number Priority Date Filing Date Title
GBGB1303873.2A GB201303873D0 (en) 2013-03-04 2013-03-04 Apparatus for making an adapter which is used in heating and ventilation systems
PCT/GB2014/000061 WO2014135829A1 (en) 2013-03-04 2014-02-21 Apparatus for making an adaptor which is used in heating and ventilation systems

Publications (2)

Publication Number Publication Date
EP2964409A1 EP2964409A1 (de) 2016-01-13
EP2964409B1 true EP2964409B1 (de) 2017-08-09

Family

ID=48142405

Family Applications (1)

Application Number Title Priority Date Filing Date
EP14708080.8A Not-in-force EP2964409B1 (de) 2013-03-04 2014-02-21 Vorrichtung zur herstellung eines adapters für heizungs- und belüftungssysteme

Country Status (4)

Country Link
US (1) US20150096347A1 (de)
EP (1) EP2964409B1 (de)
GB (1) GB201303873D0 (de)
WO (1) WO2014135829A1 (de)

Family Cites Families (7)

* Cited by examiner, † Cited by third party
Publication number Priority date Publication date Assignee Title
US5775162A (en) * 1997-05-30 1998-07-07 Ward; Raymond L. Method and apparatus for forming sheet metal ducts
US6145367A (en) * 1999-05-10 2000-11-14 Wilson Tool International, Inc. Workpiece holder for press brake
US6435460B1 (en) * 1999-11-04 2002-08-20 Van Mark Products Corporation Portable tool support stand
US6085570A (en) * 1999-12-17 2000-07-11 Preaus; Paul E. Powered, portable, metal bending apparatus
DE10356137B4 (de) * 2003-12-02 2005-11-24 Daimlerchrysler Ag Verfahren zur Herstellung eines rohrartigen Hohlprofils einer Abgasanlage
US8752410B2 (en) * 2011-07-23 2014-06-17 Wilson Tool International Inc. Tooling assemblies and systems
GB2494678B (en) 2011-09-15 2013-08-14 Roux William Roger Young Apparatus for making an adaptor which is used in heating and ventilation systems

Non-Patent Citations (1)

* Cited by examiner, † Cited by third party
Title
None *

Also Published As

Publication number Publication date
EP2964409A1 (de) 2016-01-13
US20150096347A1 (en) 2015-04-09
WO2014135829A1 (en) 2014-09-12
GB201303873D0 (en) 2013-04-17

Similar Documents

Publication Publication Date Title
US20140124127A1 (en) Folding system
EP1949782B1 (de) Schnittgerät
EP2964409B1 (de) Vorrichtung zur herstellung eines adapters für heizungs- und belüftungssysteme
CN201156883Y (zh) 园林工具
WO2001092110A1 (en) Separator assembly for filler device and associated method
US20140165809A1 (en) Edge band cutting device
US395342A (en) Punch
GB2494678A (en) Apparatus for making an adaptor which is used in heating and ventilation systems
DE202022102273U1 (de) Vorrichtung zum manuellen Einbringen von Löchern und/oder Nieten in ein Werkstück
US2622316A (en) Can end cutting device
RU2127659C1 (ru) Ручные ножницы
US732850A (en) Hand-punch.
US1079998A (en) Tobacco-cutter.
US354334A (en) modougal
DE102007047532B4 (de) Küchenhobel zum Schneiden von Nahrungsmitteln in dünne Scheiben
US594643A (en) Machine for gutting and bending sheet metal
US504628A (en) Machine for forming sheet metal
US554708A (en) Wall-paper trimmer
US326768A (en) Shears
US262638A (en) Carriage-bolt cutter
US222080A (en) Improvement in button-hole cutters
US4132102A (en) Machine to work sheet material
US9446527B1 (en) Pull-type cutters
US536037A (en) Folder and puncher
US308856A (en) Alexander miller rtjsland

Legal Events

Date Code Title Description
PUAI Public reference made under article 153(3) epc to a published international application that has entered the european phase

Free format text: ORIGINAL CODE: 0009012

17P Request for examination filed

Effective date: 20150902

AK Designated contracting states

Kind code of ref document: A1

Designated state(s): AL AT BE BG CH CY CZ DE DK EE ES FI FR GB GR HR HU IE IS IT LI LT LU LV MC MK MT NL NO PL PT RO RS SE SI SK SM TR

AX Request for extension of the european patent

Extension state: BA ME

DAX Request for extension of the european patent (deleted)
GRAP Despatch of communication of intention to grant a patent

Free format text: ORIGINAL CODE: EPIDOSNIGR1

RIC1 Information provided on ipc code assigned before grant

Ipc: B21D 9/14 20060101ALI20170127BHEP

Ipc: B21D 5/01 20060101ALI20170127BHEP

Ipc: B21C 37/28 20060101ALI20170127BHEP

Ipc: B21D 11/10 20060101AFI20170127BHEP

INTG Intention to grant announced

Effective date: 20170301

GRAS Grant fee paid

Free format text: ORIGINAL CODE: EPIDOSNIGR3

GRAA (expected) grant

Free format text: ORIGINAL CODE: 0009210

AK Designated contracting states

Kind code of ref document: B1

Designated state(s): AL AT BE BG CH CY CZ DE DK EE ES FI FR GB GR HR HU IE IS IT LI LT LU LV MC MK MT NL NO PL PT RO RS SE SI SK SM TR

REG Reference to a national code

Ref country code: GB

Ref legal event code: FG4D

REG Reference to a national code

Ref country code: CH

Ref legal event code: EP

Ref country code: AT

Ref legal event code: REF

Ref document number: 916260

Country of ref document: AT

Kind code of ref document: T

Effective date: 20170815

REG Reference to a national code

Ref country code: IE

Ref legal event code: FG4D

REG Reference to a national code

Ref country code: DE

Ref legal event code: R096

Ref document number: 602014012825

Country of ref document: DE

REG Reference to a national code

Ref country code: NL

Ref legal event code: MP

Effective date: 20170809

REG Reference to a national code

Ref country code: LT

Ref legal event code: MG4D

REG Reference to a national code

Ref country code: AT

Ref legal event code: MK05

Ref document number: 916260

Country of ref document: AT

Kind code of ref document: T

Effective date: 20170809

PG25 Lapsed in a contracting state [announced via postgrant information from national office to epo]

Ref country code: NO

Free format text: LAPSE BECAUSE OF FAILURE TO SUBMIT A TRANSLATION OF THE DESCRIPTION OR TO PAY THE FEE WITHIN THE PRESCRIBED TIME-LIMIT

Effective date: 20171109

Ref country code: LT

Free format text: LAPSE BECAUSE OF FAILURE TO SUBMIT A TRANSLATION OF THE DESCRIPTION OR TO PAY THE FEE WITHIN THE PRESCRIBED TIME-LIMIT

Effective date: 20170809

Ref country code: SE

Free format text: LAPSE BECAUSE OF FAILURE TO SUBMIT A TRANSLATION OF THE DESCRIPTION OR TO PAY THE FEE WITHIN THE PRESCRIBED TIME-LIMIT

Effective date: 20170809

Ref country code: NL

Free format text: LAPSE BECAUSE OF FAILURE TO SUBMIT A TRANSLATION OF THE DESCRIPTION OR TO PAY THE FEE WITHIN THE PRESCRIBED TIME-LIMIT

Effective date: 20170809

Ref country code: FI

Free format text: LAPSE BECAUSE OF FAILURE TO SUBMIT A TRANSLATION OF THE DESCRIPTION OR TO PAY THE FEE WITHIN THE PRESCRIBED TIME-LIMIT

Effective date: 20170809

Ref country code: AT

Free format text: LAPSE BECAUSE OF FAILURE TO SUBMIT A TRANSLATION OF THE DESCRIPTION OR TO PAY THE FEE WITHIN THE PRESCRIBED TIME-LIMIT

Effective date: 20170809

Ref country code: HR

Free format text: LAPSE BECAUSE OF FAILURE TO SUBMIT A TRANSLATION OF THE DESCRIPTION OR TO PAY THE FEE WITHIN THE PRESCRIBED TIME-LIMIT

Effective date: 20170809

PG25 Lapsed in a contracting state [announced via postgrant information from national office to epo]

Ref country code: RS

Free format text: LAPSE BECAUSE OF FAILURE TO SUBMIT A TRANSLATION OF THE DESCRIPTION OR TO PAY THE FEE WITHIN THE PRESCRIBED TIME-LIMIT

Effective date: 20170809

Ref country code: LV

Free format text: LAPSE BECAUSE OF FAILURE TO SUBMIT A TRANSLATION OF THE DESCRIPTION OR TO PAY THE FEE WITHIN THE PRESCRIBED TIME-LIMIT

Effective date: 20170809

Ref country code: PL

Free format text: LAPSE BECAUSE OF FAILURE TO SUBMIT A TRANSLATION OF THE DESCRIPTION OR TO PAY THE FEE WITHIN THE PRESCRIBED TIME-LIMIT

Effective date: 20170809

Ref country code: GR

Free format text: LAPSE BECAUSE OF FAILURE TO SUBMIT A TRANSLATION OF THE DESCRIPTION OR TO PAY THE FEE WITHIN THE PRESCRIBED TIME-LIMIT

Effective date: 20171110

Ref country code: BG

Free format text: LAPSE BECAUSE OF FAILURE TO SUBMIT A TRANSLATION OF THE DESCRIPTION OR TO PAY THE FEE WITHIN THE PRESCRIBED TIME-LIMIT

Effective date: 20171109

Ref country code: ES

Free format text: LAPSE BECAUSE OF FAILURE TO SUBMIT A TRANSLATION OF THE DESCRIPTION OR TO PAY THE FEE WITHIN THE PRESCRIBED TIME-LIMIT

Effective date: 20170809

Ref country code: IS

Free format text: LAPSE BECAUSE OF FAILURE TO SUBMIT A TRANSLATION OF THE DESCRIPTION OR TO PAY THE FEE WITHIN THE PRESCRIBED TIME-LIMIT

Effective date: 20171209

PG25 Lapsed in a contracting state [announced via postgrant information from national office to epo]

Ref country code: CZ

Free format text: LAPSE BECAUSE OF FAILURE TO SUBMIT A TRANSLATION OF THE DESCRIPTION OR TO PAY THE FEE WITHIN THE PRESCRIBED TIME-LIMIT

Effective date: 20170809

Ref country code: RO

Free format text: LAPSE BECAUSE OF FAILURE TO SUBMIT A TRANSLATION OF THE DESCRIPTION OR TO PAY THE FEE WITHIN THE PRESCRIBED TIME-LIMIT

Effective date: 20170809

Ref country code: DK

Free format text: LAPSE BECAUSE OF FAILURE TO SUBMIT A TRANSLATION OF THE DESCRIPTION OR TO PAY THE FEE WITHIN THE PRESCRIBED TIME-LIMIT

Effective date: 20170809

REG Reference to a national code

Ref country code: DE

Ref legal event code: R097

Ref document number: 602014012825

Country of ref document: DE

PG25 Lapsed in a contracting state [announced via postgrant information from national office to epo]

Ref country code: IT

Free format text: LAPSE BECAUSE OF FAILURE TO SUBMIT A TRANSLATION OF THE DESCRIPTION OR TO PAY THE FEE WITHIN THE PRESCRIBED TIME-LIMIT

Effective date: 20170809

Ref country code: SK

Free format text: LAPSE BECAUSE OF FAILURE TO SUBMIT A TRANSLATION OF THE DESCRIPTION OR TO PAY THE FEE WITHIN THE PRESCRIBED TIME-LIMIT

Effective date: 20170809

Ref country code: EE

Free format text: LAPSE BECAUSE OF FAILURE TO SUBMIT A TRANSLATION OF THE DESCRIPTION OR TO PAY THE FEE WITHIN THE PRESCRIBED TIME-LIMIT

Effective date: 20170809

Ref country code: SM

Free format text: LAPSE BECAUSE OF FAILURE TO SUBMIT A TRANSLATION OF THE DESCRIPTION OR TO PAY THE FEE WITHIN THE PRESCRIBED TIME-LIMIT

Effective date: 20170809

PLBE No opposition filed within time limit

Free format text: ORIGINAL CODE: 0009261

STAA Information on the status of an ep patent application or granted ep patent

Free format text: STATUS: NO OPPOSITION FILED WITHIN TIME LIMIT

26N No opposition filed

Effective date: 20180511

PG25 Lapsed in a contracting state [announced via postgrant information from national office to epo]

Ref country code: SI

Free format text: LAPSE BECAUSE OF FAILURE TO SUBMIT A TRANSLATION OF THE DESCRIPTION OR TO PAY THE FEE WITHIN THE PRESCRIBED TIME-LIMIT

Effective date: 20170809

REG Reference to a national code

Ref country code: DE

Ref legal event code: R119

Ref document number: 602014012825

Country of ref document: DE

REG Reference to a national code

Ref country code: CH

Ref legal event code: PL

PG25 Lapsed in a contracting state [announced via postgrant information from national office to epo]

Ref country code: MC

Free format text: LAPSE BECAUSE OF FAILURE TO SUBMIT A TRANSLATION OF THE DESCRIPTION OR TO PAY THE FEE WITHIN THE PRESCRIBED TIME-LIMIT

Effective date: 20170809

GBPC Gb: european patent ceased through non-payment of renewal fee

Effective date: 20180221

REG Reference to a national code

Ref country code: IE

Ref legal event code: MM4A

REG Reference to a national code

Ref country code: BE

Ref legal event code: MM

Effective date: 20180228

PG25 Lapsed in a contracting state [announced via postgrant information from national office to epo]

Ref country code: LI

Free format text: LAPSE BECAUSE OF NON-PAYMENT OF DUE FEES

Effective date: 20180228

Ref country code: CH

Free format text: LAPSE BECAUSE OF NON-PAYMENT OF DUE FEES

Effective date: 20180228

Ref country code: LU

Free format text: LAPSE BECAUSE OF NON-PAYMENT OF DUE FEES

Effective date: 20180221

REG Reference to a national code

Ref country code: FR

Ref legal event code: ST

Effective date: 20181031

PG25 Lapsed in a contracting state [announced via postgrant information from national office to epo]

Ref country code: DE

Free format text: LAPSE BECAUSE OF NON-PAYMENT OF DUE FEES

Effective date: 20180901

Ref country code: IE

Free format text: LAPSE BECAUSE OF NON-PAYMENT OF DUE FEES

Effective date: 20180221

PG25 Lapsed in a contracting state [announced via postgrant information from national office to epo]

Ref country code: GB

Free format text: LAPSE BECAUSE OF NON-PAYMENT OF DUE FEES

Effective date: 20180221

Ref country code: BE

Free format text: LAPSE BECAUSE OF NON-PAYMENT OF DUE FEES

Effective date: 20180228

Ref country code: FR

Free format text: LAPSE BECAUSE OF NON-PAYMENT OF DUE FEES

Effective date: 20180228

PG25 Lapsed in a contracting state [announced via postgrant information from national office to epo]

Ref country code: MT

Free format text: LAPSE BECAUSE OF NON-PAYMENT OF DUE FEES

Effective date: 20180221

PG25 Lapsed in a contracting state [announced via postgrant information from national office to epo]

Ref country code: TR

Free format text: LAPSE BECAUSE OF FAILURE TO SUBMIT A TRANSLATION OF THE DESCRIPTION OR TO PAY THE FEE WITHIN THE PRESCRIBED TIME-LIMIT

Effective date: 20170809

PG25 Lapsed in a contracting state [announced via postgrant information from national office to epo]

Ref country code: PT

Free format text: LAPSE BECAUSE OF FAILURE TO SUBMIT A TRANSLATION OF THE DESCRIPTION OR TO PAY THE FEE WITHIN THE PRESCRIBED TIME-LIMIT

Effective date: 20170809

PG25 Lapsed in a contracting state [announced via postgrant information from national office to epo]

Ref country code: HU

Free format text: LAPSE BECAUSE OF FAILURE TO SUBMIT A TRANSLATION OF THE DESCRIPTION OR TO PAY THE FEE WITHIN THE PRESCRIBED TIME-LIMIT; INVALID AB INITIO

Effective date: 20140221

Ref country code: MK

Free format text: LAPSE BECAUSE OF NON-PAYMENT OF DUE FEES

Effective date: 20170809

Ref country code: CY

Free format text: LAPSE BECAUSE OF FAILURE TO SUBMIT A TRANSLATION OF THE DESCRIPTION OR TO PAY THE FEE WITHIN THE PRESCRIBED TIME-LIMIT

Effective date: 20170809

PG25 Lapsed in a contracting state [announced via postgrant information from national office to epo]

Ref country code: AL

Free format text: LAPSE BECAUSE OF FAILURE TO SUBMIT A TRANSLATION OF THE DESCRIPTION OR TO PAY THE FEE WITHIN THE PRESCRIBED TIME-LIMIT

Effective date: 20170809