EP2962973B1 - Yarn winding device - Google Patents

Yarn winding device Download PDF

Info

Publication number
EP2962973B1
EP2962973B1 EP15169247.2A EP15169247A EP2962973B1 EP 2962973 B1 EP2962973 B1 EP 2962973B1 EP 15169247 A EP15169247 A EP 15169247A EP 2962973 B1 EP2962973 B1 EP 2962973B1
Authority
EP
European Patent Office
Prior art keywords
yarn
section
tension
storage roller
driving
Prior art date
Legal status (The legal status is an assumption and is not a legal conclusion. Google has not performed a legal analysis and makes no representation as to the accuracy of the status listed.)
Active
Application number
EP15169247.2A
Other languages
German (de)
French (fr)
Other versions
EP2962973A1 (en
Inventor
Takahiro Miura
Takeshi Murakami
Tsuyoshi Kumazawa
Current Assignee (The listed assignees may be inaccurate. Google has not performed a legal analysis and makes no representation or warranty as to the accuracy of the list.)
Murata Machinery Ltd
Original Assignee
Murata Machinery Ltd
Priority date (The priority date is an assumption and is not a legal conclusion. Google has not performed a legal analysis and makes no representation as to the accuracy of the date listed.)
Filing date
Publication date
Application filed by Murata Machinery Ltd filed Critical Murata Machinery Ltd
Publication of EP2962973A1 publication Critical patent/EP2962973A1/en
Application granted granted Critical
Publication of EP2962973B1 publication Critical patent/EP2962973B1/en
Active legal-status Critical Current
Anticipated expiration legal-status Critical

Links

Images

Classifications

    • BPERFORMING OPERATIONS; TRANSPORTING
    • B65CONVEYING; PACKING; STORING; HANDLING THIN OR FILAMENTARY MATERIAL
    • B65HHANDLING THIN OR FILAMENTARY MATERIAL, e.g. SHEETS, WEBS, CABLES
    • B65H51/00Forwarding filamentary material
    • B65H51/20Devices for temporarily storing filamentary material during forwarding, e.g. for buffer storage
    • B65H51/22Reels or cages, e.g. cylindrical, with storing and forwarding surfaces provided by rollers or bars
    • BPERFORMING OPERATIONS; TRANSPORTING
    • B65CONVEYING; PACKING; STORING; HANDLING THIN OR FILAMENTARY MATERIAL
    • B65HHANDLING THIN OR FILAMENTARY MATERIAL, e.g. SHEETS, WEBS, CABLES
    • B65H59/00Adjusting or controlling tension in filamentary material, e.g. for preventing snarling; Applications of tension indicators
    • B65H59/38Adjusting or controlling tension in filamentary material, e.g. for preventing snarling; Applications of tension indicators by regulating speed of driving mechanism of unwinding, paying-out, forwarding, winding, or depositing devices, e.g. automatically in response to variations in tension
    • B65H59/384Adjusting or controlling tension in filamentary material, e.g. for preventing snarling; Applications of tension indicators by regulating speed of driving mechanism of unwinding, paying-out, forwarding, winding, or depositing devices, e.g. automatically in response to variations in tension using electronic means
    • DTEXTILES; PAPER
    • D01NATURAL OR MAN-MADE THREADS OR FIBRES; SPINNING
    • D01HSPINNING OR TWISTING
    • D01H13/00Other common constructional features, details or accessories
    • D01H13/10Tension devices
    • D01H13/104Regulating tension by devices acting on running yarn and not associated with supply or take-up devices
    • BPERFORMING OPERATIONS; TRANSPORTING
    • B65CONVEYING; PACKING; STORING; HANDLING THIN OR FILAMENTARY MATERIAL
    • B65HHANDLING THIN OR FILAMENTARY MATERIAL, e.g. SHEETS, WEBS, CABLES
    • B65H2701/00Handled material; Storage means
    • B65H2701/30Handled filamentary material
    • B65H2701/31Textiles threads or artificial strands of filaments

Definitions

  • the present invention relates to a yarn winding device including a yarn storage roller.
  • a yarn winding device such as an automatic winder, a spinning machine, and the like
  • the yarn winding device including this type of yarn storage roller is disclosed in Japanese Unexamined Patent Publication No. 2014-20000 .
  • the yarn winding device of Japanese Unexamined Patent Publication No. 2014-20000 includes a yarn feeding device, a drum (yarn storage roller), an arm (tension applying section), and a winding section.
  • the drum stores the yarn pulled out from the yarn supplying device.
  • the arm is arranged in proximity to the drum to apply tension to the yarn supplied from the drum to the winding section.
  • the drum and the arm are driven with different motors, and are independently controlled. Specifically, the motor that drives the arm controls the arm to rotate at a constant torque.
  • Japanese Unexamined Patent Publication No. 2014-20000 a sensor adapted to detect the tension of the yarn is not disclosed, and the tension of the yarn is not taken into consideration in the control of the motor that drives the arm.
  • the arm is merely rotated at a constant torque, and thus the arm may not be controlled in accordance with a state of the yarn as a yarn speed becomes faster.
  • the tension applied to the yarn becomes difficult to be held at an optimum value, and the yarn may be broken when the tension applied to the yarn becomes strong.
  • the yarn joining operation needs to be carried out by the yarn joining device and the like.
  • the tension applied to the yarn becomes weak, the yarn may be detached from the arm. In this case, the yarn wound around the drum is loosened, and the yarn wound around the drum may bulge out to an outer side of the drum. When such a phenomenon occurs, the operator needs to carry out the task of removing the yarn from the drum.
  • a yarn winding device with a tension measuring device adapted to measure a tension of the yarn pulled out from the yarn storage roller by the package forming section and a control section adapted to feedback control the second driving section based on a measurement result of the tension measuring device to adjust an amount of tension applied to the tension applying section is known.
  • the present invention has been made in view of the above circumstances, and it is a main object of the present invention to provide a configuration of carrying out a control to apply a desired tension to a yarn to be wound in a winding device including a yarn storage roller.
  • the yarn winding device includes a yarn supplying section, a yarn storage roller, a package forming section, a tension measuring device, a tension applying section, a second driving section, and a control section.
  • the yarn supplying section is adapted to supply the yarn.
  • the yarn storage roller is adapted to pull out the yarn from the yarn supplying section and wind the yarn around an outer circumferential surface to store the yarn when the yarn storage roller is rotatably driven by the first driving section.
  • the package forming section is adapted to pull out the yarn stored on the yarn storage roller to form a package.
  • the tension measuring device is adapted to measure a tension of the yarn pulled out from the yarn storage roller by the package forming section.
  • the tension applying section is arranged downstream in a yarn travelling direction of the yarn storage roller and adapted to make contact with the yarn to apply tension to the yarn.
  • the second driving section is adapted to rotatably drive the tension applying section.
  • the control section is adapted to feedback control the second driving section based on a measurement result of the tension measuring device to adjust an amount of tension applied by the tension applying section.
  • the tension on the downstream of the yarn storage roller is measured and the second driving section is controlled based on such a measurement result, and hence a desired tension can be applied to the yarn to be wound into the package.
  • the quality of the package can be improved while the interruption of the winding of the yarn is prevented.
  • the yarn winding device described above preferably has the following configuration.
  • the yarn winding device includes a first guide section and a second guide section.
  • the first guide section is arranged downstream of the yarn storage roller and adapted to converge the yarn pulled out from the yarn storage roller.
  • the second guide section is arranged downstream of the first guide section and adapted to form a traverse supporting point of the yarn wound by the package forming section.
  • the tension measuring device is arranged on a yarn path between the first guide section and the second guide section.
  • control section preferably adjusts the amount of tension applied by the tension applying section by adjusting a torque of the second driving section based on the measurement result of the tension measuring device.
  • the fluctuation in the tension thus can be more reliably suppressed compared to the configuration of controlling the position (rotation angle) of the tension applying section by the feedback control.
  • the yarn winding device described above has the following configuration.
  • the yarn storage roller rotates with a yarn storage roller rotation shaft as a center.
  • the tension applying section rotates with the yarn storage roller rotation shaft as the center.
  • the yarn storage roller and the tension applying section are coaxially controlled, so that the fluctuation in the tension of the yarn can be prevented with a simple control.
  • the yarn winding device described above includes a resistance torque generating section adapted to generate a torque against a relative rotation of the yarn storage roller and the tension applying section.
  • the yarn storage roller and the tension applying section can be integrally rotated with a simple control.
  • the yarn winding device described above preferably has the following configuration.
  • the yarn winding device includes a transmission mechanism adapted to transmit a driving force of the second driving section to the tension applying section.
  • the transmission mechanism includes a clutch adapted to switch transmission or cutting of the driving force from the second driving section to the tension applying section.
  • the yarn winding device described above preferably has the following configuration.
  • the yarn winding device includes a transmission mechanism adapted to transmit a driving force of the second driving section to the tension applying section.
  • the transmission mechanism includes a torque limiter adapted to prevent an excessive driving force from being transmitted from the second driving section to the tension applying section.
  • the yarn winding device described above preferably has the following configuration.
  • the yarn supplying section is supported such that the yarn is supplied from a yarn supplying bobbin, around which the yarn produced by a spinning device is wound.
  • a yarn defect removing device adapted to remove a yarn defect of the yarn supplied from the yarn supplying section is arranged between the yarn supplying section and the yarn storage roller.
  • the winding of the package can be continued at an optimum tension while measuring the tension of the yarn wound into the package. Furthermore, even if an unwinding resistance of the yarn supplying bobbin becomes large and a rotation speed of the yarn storage roller is low, the winding of the package can be continued at an optimum tension.
  • the yarn winding device described above preferably has the following configuration.
  • the yarn supplying section is a spinning section adapted to spin a yarn.
  • a yarn defect removing device adapted to remove a yarn defect of the yarn supplied from the yarn supplying section is arranged between the yarn supplying section and the yarn storage roller.
  • the automatic winder has a configuration in which a plurality of winding units 2 are arranged in line.
  • the automatic winder includes a machine management device (not illustrated) adapted to collectively manage the winding units 2, and a blower box (not illustrated) including a compressed air source and a negative pressure source.
  • the winding unit 2 mainly includes a bobbin supporting section (yarn supplying section) 7 and a winding section (package forming section) 8.
  • the winding unit 2 is configured to unwind a yarn (spun yarn) 20 of a yarn supplying bobbin 21 supported by the bobbin supporting section 7 and rewind a package 30.
  • the bobbin supporting section 7 is configured to be able to hold the yarn supplying bobbin 21 in a substantially upright state.
  • the bobbin supporting section 7 is configured to be able to discharge the empty yarn supplying bobbin 21.
  • the winding section 8 includes a cradle 23 configured to be able to attach the winding bobbin 22, and a traverse drum 24 for traversing the yarn 20 and driving the winding bobbin 22.
  • the traverse drum 24 is arranged facing the winding bobbin 22, and the winding bobbin 22 is rotated by driving and rotating the traverse drum 24.
  • a traverse groove (not illustrated) is formed on an outer circumferential surface of the traverse drum 24, and the yarn 20 is traversed by the traverse groove at a predetermined width. According to the configuration described above, the yarn 20 can be wound around the winding bobbin 22 while being traversed, and the package 30 having a predetermined length and a predetermined shape can be obtained.
  • upstream and “downstream” refers to the upstream and the downstream when viewed in a travelling direction of the yarn.
  • the winding unit 2 includes an unwinding assisting device 10, a lower yarn blow-up section 11, a gate type tension applying device 12, an upper yarn catching section 13, a yarn joining device 14, a yarn trap 15, a cutter 16, a clearer (yarn defect detection device) 17, an upper yarn pull-out section 35, and the yarn storage device 18 arranged in this order from the bobbin supporting section 7 towards the winding section 8 on a yarn travelling path between the bobbin supporting section 7 and the winding section 8.
  • the unwinding assisting device 10 causes a movable member 10a to make contact with a balloon formed at an upper part of the yarn supplying bobbin 21 when the yarn 20 unwound from the yarn supplying bobbin 21 is swung around, and controls the balloon to an appropriate size to assist the unwinding of the yarn 20.
  • the lower yarn blow-up section 11 is an air sucker device arranged between the bobbin supporting section 7 and the yarn joining device 14, and is configured to feed a lower yarn from the yarn supplying bobbin 21 towards the yarn joining device 14 during the yarn joining operation.
  • the gate type tension applying device 12 applies a predetermined tension to the travelling yarn 20.
  • the gate type tension applying device 12 of the present embodiment is configured as a gate type in which movable comb teeth are arranged with respect to fixed comb teeth.
  • the comb teeth on the movable side are configured to be swingable by a rotary solenoid so that the comb teeth can be in the meshed state or the released state.
  • the configuration of the gate type tension applying device 12 is not limited thereto, and may be a disc type tension applying device, for example.
  • the upper yarn catching section 13 is arranged between the yarn joining device 14 and the bobbin supporting section 7.
  • the upper yarn catching section 13 is connected to a negative pressure source (not illustrated), and can generate a suction airflow during the yarn joining operation.
  • the yarn trap 15 is arranged between the yarn joining device 14 and the yarn storage device 18.
  • the distal end of the yarn trap 15 is formed as a tubular member and is arranged close to the travelling path of the yarn 20, and is connected to the negative pressure source (not illustrated). According to such a configuration, the suction airflow can be generated at the distal end of the yarn trap 15 to suck and remove contaminants such as fluffs attached to the travelling yarn 20.
  • the clearer 17 is configured to detect the yarn defect such as slub by monitoring a yarn thickness of the yarn 20. When detecting the yarn defect, the clearer 17 transmits a disconnecting signal instructing the cutting and removal of the yarn defect to a control section 60 and the like. A cutter 16 for immediately cutting the yarn 20 according to the disconnecting signal is arranged in proximity to the clearer 17.
  • the yarn joining device 14 joins the lower yarn from the yarn supplying bobbin 21, and the upper yarn from the yarn storage device 18, when the yarn 20 between the yarn supplying bobbin 21 and the package 30 is in the disconnected state after yarn breakage in which the clearer 17 detects the yarn defect and the cutter 16 cuts the yarn 20, after yarn breakage during unwinding of the yarn 20 from the yarn supplying bobbin 21, or at the time of replacing the yarn supplying bobbin 21.
  • the yarn joining device 14 may be a type that uses a fluid such as compressed air, or may be a mechanical type.
  • the upper yarn pull-out section 35 is an air sucker device, and pulls out the upper yarn from the yarn storage device 18 and feeds the upper yarn towards a deflection guide member 36.
  • the upper yarn from the yarn storage device 18 is fed to the deflection guide member 36 by the upper yarn pull-out section 35.
  • the deflection guide member 36 discharges the fed upper yarn from the lower end portion.
  • the yarn discharged by the deflection guide member 36 is sucked by the upper yarn catching section 13.
  • the upper yarn can be taken out from a slit (not illustrated) formed in the deflection guide member 36 as the upper yarn catching section 13 sucks the upper yarn, so that the upper yarn can be guided to the yarn joining device 14.
  • the lower yarn fed by the lower yarn blow-up section 11 is sucked by the yarn trap 15.
  • the lower yarn is thereby guided to the yarn joining device 14.
  • the yarn joining operation is carried out in such a manner.
  • the yarn defect is removed mainly by the clearer 17, the upper yarn catching section 13, the yarn trap 15, and the yarn joining device 14, and hence such devices correspond to "yarn defect removing device".
  • the yarn storage device 18 is configured to be able to temporarily store the yarn 20 unwound from the yarn supplying bobbin 21. Since the yarn storage device 18 is interposed between the bobbin supporting section 7 and the winding section 8, and a prescribed amount of the yarn 20 is stored on the yarn storage device 18, the winding section 8 can wind the yarn 20 stored on the yarn storage device 18 even if the unwinding of the yarn from the yarn supplying bobbin 21 is interrupted (e.g., during yarn joining operation) for some reason. Thus, the winding of the yarn 20 into the package 30 can be continued.
  • the package 30 can be produced stably at high speed. Furthermore, since the yarn 20 is not sucked and caught from the package 30 for each yarn joining operation as in the conventional yarn winding device, disturbance can be prevented from occurring at the surface of the package 30. Moreover, since the occurrence of yarn breakage in the winding section 8 is reduced, falling of the yarn 20 onto the end face of the package 30 or occurrence of a failure in the winding shape can be prevented.
  • a first guide section 41, a second guide section 42, and a tension measuring device 43 are arranged on the downstream of the yarn storage device 18.
  • the first guide section 41 converges the yarn 20 pulled out from the yarn storage device 18 so as to guide the yarn 20 to one area.
  • the second guide section 42 is arranged downstream of the first guide section 41.
  • the second guide section 42 forms a traverse supporting point of the yarn 20 to be wound in the winding section 8.
  • the tension measuring device 43 is arranged between the first guide section 41 and the second guide section 42.
  • the tension measuring device 43 is configured as a load cell type sensor. If the yarn 20 travels while being pushed against the contacting portion of the tension measuring device 43, distortion occurs in the load cell portion according to the tension of the yarn 20 and an electric signal corresponding to the distortion is output from a distortion gauge.
  • a magazine type bobbin supplying device 26 is arranged on the front side of the winding unit 2.
  • the bobbin supplying device 26 includes a rotary magazine part 27.
  • the magazine part 27 is configured to be able to hold a plurality of spare yarn supplying bobbins 21.
  • the bobbin supplying device 26 intermittently rotatably drives the magazine part 27 to supply a new yarn supplying bobbin 21 to the bobbin supporting section 7.
  • the yarn storage device 18 includes a yarn storage roller 51, a roller driving section (first driving section) 52, a yarn hooking arm (tension applying section) 53, a transmission mechanism 54, and an arm driving section (second driving section) 55.
  • the yarn storage roller 51 is formed as a substantially cylindrical member, and is configured to store the yarn 20 by winding the yarn 20 around the outer circumferential surface thereof.
  • the roller driving section 52 rotatably drives the yarn storage roller 51 with a center axis line thereof as a center. Specifically, a belt 70 is wound around an output shaft 52a of the roller driving section 52 and a coupling member 51a fixed to the inner surface of the yarn storage roller 51, and the yarn storage roller 51 can be rotated by rotating the output shaft 52a.
  • the operation of the roller driving section 52 is controlled by the control section 60.
  • the roller driving section 52 is a servo motor, a stepping motor, or the like.
  • the arm driving section 55 rotatably drives the yarn hooking arm 53 when the driving force is transmitted by the transmission mechanism 54.
  • the transmission mechanism 54 of the present embodiment mainly includes a shaft 54a (yarn storage roller rotation shaft), and the shaft 54a transmits the driving force. According to such a configuration, the yarn hooking arm 53 can be rotatably driven around the same rotation axis as the yarn storage roller 51.
  • the operation of the arm driving section 55 is controlled independently from the roller driving section 52 by the control section 60. Therefore, in the present embodiment, the rotation speeds of the yarn storage roller 51 and the yarn hooking arm 53 can be differed.
  • the arm driving section 55 is a servo motor, a stepping motor, or the like.
  • Each winding unit 2 includes the control section 60.
  • the control section 60 is configured by hardware such as a CPU, a ROM, and a RAM (not illustrated), and software such as the control program stored in the RAM. The hardware and the software cooperatively operate to control each configuration of the winding unit 2.
  • the control section 60 includes, as a configuration for controlling the arm driving section 55, a deviation calculating section 61, a PID control value determining section 62, and a limiter 63.
  • the deviation calculating section 61 of the control section 60 is input with a tension measurement value measured by the tension measuring device 43. Furthermore, a tension target value derived from the winding conditions such as the type of yarn 20 and the yarn travelling speed is input to the deviation calculating section 61. The deviation calculating section 61 calculates the deviation of the two input values, and outputs the calculated deviation to the PID control value determining section 62.
  • the PID control value determining section 62 calculates a control value for controlling the torque of the arm driving section 55 by a known PID control based on a deviation, time integral of the deviation, and time derivative of the deviation.
  • the control value may be calculated based only on the deviation, and the control value may be calculated based only on the deviation and the time integral thereof.
  • the feedback control other than the PID may be used.
  • the PID control value determining section 62 outputs the control value calculated as above to the limiter 63.
  • the limiter 63 defines an upper limit of the control value of the arm driving section 55.
  • the limiter 63 outputs the relevant threshold to the arm driving section 55 as the control value.
  • the limiter 63 outputs the input value as it is.
  • the control value calculated as above is input to the arm driving section 55, and the torque of the arm driving section 55 is adjusted based on the control value.
  • the control section 60 carries out the feedback control as necessary, so that even if the travelling speed of the yarn is high, the yarn hooking arm 53 can apply a desired tension to the yarn 20.
  • the yarn winding device of the present embodiment includes the bobbin supporting section 7, the yarn storage roller 51, the winding section 8, the tension measuring device 43, the yarn hooking arm 53, the arm driving section 55, and the control section 60.
  • the bobbin supporting section 7 can supply the yarn 20.
  • the yarn storage roller 51 is rotatably driven by the roller driving section 52, so that the yarn 20 is pulled out from the yarn supplying bobbin 21 of the bobbin supporting section 7 and the yarn 20 is stored on the surface.
  • the winding section 8 pulls out the yarn 20 stored on the yarn storage roller 51 to form the package 30.
  • the tension measuring device 43 measures the tension of the yarn 20 pulled out from the yarn storage roller 51.
  • the yarn hooking arm 53 is arranged downstream in the yarn travelling direction of the yarn storage roller 51, and makes contact with the yarn 20 to apply tension to the yarn 20.
  • the arm driving section 55 rotatably drives the yarn hooking arm 53.
  • the control section 60 feedback controls the arm driving section 55 based on the measurement result of the tension measuring device 43 to adjust the amount of tension applied by the yarn hooking arm 53.
  • the yarn travelling direction of the yarn storage roller 51 in the present invention is a direction in which the yarn wound around the outer circumferential surface of the yarn storage roller 51 advances by being pushed by the newly wound yarn, and is the same direction as the axial direction of the shaft 54a.
  • the tension on the downstream of the yarn storage roller 51 is measured, and the arm driving section 55 is controlled based on such a measurement result, the tension of the yarn 20 to be wound into the package 30 becomes the desired tension.
  • the quality of the package 30 can be improved while the interruption of the winding of the yarn 20 is prevented.
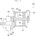
  • a yarn storage device 18a of the first alternative embodiment includes a resistance torque generating section 56.
  • the resistance torque generating section 56 is a load such as a torque limiter attached between a shaft 54a and at least an inner surface of the yarn storage roller 51.
  • the resistance torque generating section 56 thereby generates a torque against the relative rotation of the yarn storage roller 51 and the yarn hooking arm 53, and integrally rotates.
  • the yarn hooking arm 53 can be relatively rotated with respect to the yarn storage roller 51 by driving the arm driving section 55 at greater than or equal to the above torque.
  • the operation of the arm driving section 55 is stopped and the yarn storage roller 51 and the yarn hooking arm 53 are integrally rotated by the torque of the resistance torque generating section 56.
  • the fluctuation of the tension is large, the fluctuation of the tension can be prevented by driving the arm driving section 55 and relatively rotating the yarn hooking arm 53.
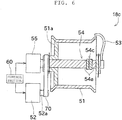
  • a yarn storage device 18b of the second alternative embodiment includes the resistance torque generating section 56, similarly to the first alternative embodiment.
  • the transmission mechanism 54 includes a clutch 54b in addition to the shaft 54a.
  • the clutch 54b is a constituent element of the transmission mechanism 54.
  • the clutch 54b switches the transmission or cutting of the driving force from the arm driving section 55 to the yarn hooking arm 53.
  • the yarn storage roller 51 and the yarn hooking arm 53 can be integrally rotated without stopping the drive of the arm driving section 55 as in the first alternative embodiment. Therefore, for example, the yarn hooking arm 53 can be immediately decelerated by rotating the shaft 54a at a rotation speed slightly lower than the yarn storage roller 51 and connecting the clutch 54b when desiring to decelerate the yarn hooking arm 53.
  • the transmission mechanism 54 of the yarn storage device 18c of the third alternative embodiment includes a torque limiter 54c in addition to the shaft 54a.
  • the torque limiter 54c is attached to connect the shaft 54a divided in half.
  • the two shafts 54a integrally rotate when a torque smaller than a predetermined value is applied by the torque limiter 54c, and the two shafts 54a relatively rotate when a torque greater than or equal to the predetermined value is applied.
  • roller driving section 52 and the arm driving section 55 have at least one part arranged inside the yarn storage roller 51, but the roller driving section 52 and the arm driving section 55 may be arranged outside the yarn storage roller 51.
  • the yarn hooking arm 53 may be arranged outside the yarn storage device 18.
  • the tension measuring device 43 may be, for example, a tension sensor using a spring and/or a piezoelectric element, instead of a load cell type.
  • control section 60 adjusts the torque of the arm driving section 55 based on the measured tension, but the position (rotation angle) and the speed (rotation speed) may be adjusted instead of the torque.
  • the present invention may be applied to other yarn winding devices such as a spinning machine.
  • a spinning section adapted to spin the spun yarn from the sliver corresponds to the yarn supplying section.

Landscapes

  • Engineering & Computer Science (AREA)
  • Textile Engineering (AREA)
  • Mechanical Engineering (AREA)
  • Tension Adjustment In Filamentary Materials (AREA)
  • Filamentary Materials, Packages, And Safety Devices Therefor (AREA)
  • Forwarding And Storing Of Filamentary Material (AREA)

Description

    BACKGROUND OF THE INVENTION 1. Field of the Invention
  • The present invention relates to a yarn winding device including a yarn storage roller.
  • 2. Description of the Related Art
  • Conventionally, in a yarn winding device such as an automatic winder, a spinning machine, and the like, there is known a configuration of winding a yarn around a periphery of a rotating yarn storage roller to temporarily store the yarn. The yarn winding device including this type of yarn storage roller is disclosed in Japanese Unexamined Patent Publication No. 2014-20000 .
  • The yarn winding device of Japanese Unexamined Patent Publication No. 2014-20000 includes a yarn feeding device, a drum (yarn storage roller), an arm (tension applying section), and a winding section. The drum stores the yarn pulled out from the yarn supplying device. The arm is arranged in proximity to the drum to apply tension to the yarn supplied from the drum to the winding section. The drum and the arm are driven with different motors, and are independently controlled. Specifically, the motor that drives the arm controls the arm to rotate at a constant torque.
  • However, in Japanese Unexamined Patent Publication No. 2014-20000 , a sensor adapted to detect the tension of the yarn is not disclosed, and the tension of the yarn is not taken into consideration in the control of the motor that drives the arm. In Japanese Unexamined Patent Publication No. 2014-20000 described above, the arm is merely rotated at a constant torque, and thus the arm may not be controlled in accordance with a state of the yarn as a yarn speed becomes faster.
  • As a result, the tension applied to the yarn becomes difficult to be held at an optimum value, and the yarn may be broken when the tension applied to the yarn becomes strong. In particular, in the automatic winder and the like in which the speed of the yarn is high, a fluctuation in the tension generated by the traversing of the yarn is large, and this fluctuation easily causes yarn breakage. In this case, the yarn joining operation needs to be carried out by the yarn joining device and the like. Furthermore, when the tension applied to the yarn becomes weak, the yarn may be detached from the arm. In this case, the yarn wound around the drum is loosened, and the yarn wound around the drum may bulge out to an outer side of the drum. When such a phenomenon occurs, the operator needs to carry out the task of removing the yarn from the drum.
  • Thus, in the method for controlling the arm (tension applying section) of Japanese Unexamined Patent Publication No. 2014-20000 , the winding is easily interrupted particularly when the yarn is wound at high speed, and hence production efficiency of the package may be lowered. As the tension to be applied to the yarn fluctuates, quality of the package is also lowered.
  • Further, from EP 1916213 A1 a yarn winding device with a tension measuring device adapted to measure a tension of the yarn pulled out from the yarn storage roller by the package forming section and a control section adapted to feedback control the second driving section based on a measurement result of the tension measuring device to adjust an amount of tension applied to the tension applying section is known.
  • BRIEF SUMMARY OF THE INVENTION
  • The present invention has been made in view of the above circumstances, and it is a main object of the present invention to provide a configuration of carrying out a control to apply a desired tension to a yarn to be wound in a winding device including a yarn storage roller.
  • The problems to be solved by the present invention are as described above, and the means for solving such problems and the effects thereof will be described below.
  • According to an aspect of the present invention, a yarn winding device having the following configuration is provided. In other words, the yarn winding device includes a yarn supplying section, a yarn storage roller, a package forming section, a tension measuring device, a tension applying section, a second driving section, and a control section. The yarn supplying section is adapted to supply the yarn. The yarn storage roller is adapted to pull out the yarn from the yarn supplying section and wind the yarn around an outer circumferential surface to store the yarn when the yarn storage roller is rotatably driven by the first driving section. The package forming section is adapted to pull out the yarn stored on the yarn storage roller to form a package. The tension measuring device is adapted to measure a tension of the yarn pulled out from the yarn storage roller by the package forming section. The tension applying section is arranged downstream in a yarn travelling direction of the yarn storage roller and adapted to make contact with the yarn to apply tension to the yarn. The second driving section is adapted to rotatably drive the tension applying section. The control section is adapted to feedback control the second driving section based on a measurement result of the tension measuring device to adjust an amount of tension applied by the tension applying section.
  • Therefore, the tension on the downstream of the yarn storage roller is measured and the second driving section is controlled based on such a measurement result, and hence a desired tension can be applied to the yarn to be wound into the package. Thus, the quality of the package can be improved while the interruption of the winding of the yarn is prevented.
  • The yarn winding device described above preferably has the following configuration. In other words, the yarn winding device includes a first guide section and a second guide section. The first guide section is arranged downstream of the yarn storage roller and adapted to converge the yarn pulled out from the yarn storage roller. The second guide section is arranged downstream of the first guide section and adapted to form a traverse supporting point of the yarn wound by the package forming section. The tension measuring device is arranged on a yarn path between the first guide section and the second guide section.
  • Thus, the fluctuation in the tension of the yarn between the first guide section and the second guide section is small, and the tension can be accurately measured.
  • In the yarn winding device described above, the control section preferably adjusts the amount of tension applied by the tension applying section by adjusting a torque of the second driving section based on the measurement result of the tension measuring device.
  • The fluctuation in the tension thus can be more reliably suppressed compared to the configuration of controlling the position (rotation angle) of the tension applying section by the feedback control.
  • The yarn winding device described above has the following configuration. In other words, the yarn storage roller rotates with a yarn storage roller rotation shaft as a center. The tension applying section rotates with the yarn storage roller rotation shaft as the center.
  • Thus, the yarn storage roller and the tension applying section are coaxially controlled, so that the fluctuation in the tension of the yarn can be prevented with a simple control.
  • The yarn winding device described above includes a resistance torque generating section adapted to generate a torque against a relative rotation of the yarn storage roller and the tension applying section.
  • Thus, for example, at the time of low speed when the tension is less likely to fluctuate or when the speed is not changed, the yarn storage roller and the tension applying section can be integrally rotated with a simple control.
  • The yarn winding device described above preferably has the following configuration. In other words, the yarn winding device includes a transmission mechanism adapted to transmit a driving force of the second driving section to the tension applying section. The transmission mechanism includes a clutch adapted to switch transmission or cutting of the driving force from the second driving section to the tension applying section.
  • Thus, a state of integrally rotating the arm and the yarn storage roller and a state of independently rotating the arm and the yarn storage roller by the driving force of the second driving section can be easily switched.
  • The yarn winding device described above preferably has the following configuration. In other words, the yarn winding device includes a transmission mechanism adapted to transmit a driving force of the second driving section to the tension applying section. The
    transmission mechanism includes a torque limiter adapted to prevent an excessive driving force from being transmitted from the second driving section to the tension applying section.
  • Thus, an excessive tension can be more reliably prevented from being applied to the yarn and breaking the yarn.
  • The yarn winding device described above preferably has the following configuration. In other words, the yarn supplying section is supported such that the yarn is supplied from a yarn supplying bobbin, around which the yarn produced by a spinning device is wound. A yarn defect removing device adapted to remove a yarn defect of the yarn supplied from the yarn supplying section is arranged between the yarn supplying section and the yarn storage roller.
  • Thus, even when the rotation of the yarn storage roller is stopped to remove the yarn defect contained in the yarn supplying bobbin, the winding of the package can be continued at an optimum tension while measuring the tension of the yarn wound into the package. Furthermore, even if an unwinding resistance of the yarn supplying bobbin becomes large and a rotation speed of the yarn storage roller is low, the winding of the package can be continued at an optimum tension.
  • The yarn winding device described above preferably has the following configuration. In other words, the yarn supplying section is a spinning section adapted to spin a yarn. A yarn defect removing device adapted to remove a yarn defect of the yarn supplied from the yarn supplying section is arranged between the yarn supplying section and the yarn storage roller.
  • Thus, even in the case of winding the yarn spun by the spinning section, a desired tension can be applied to the yarn.
  • BRIEF DESCRIPTION OF THE DRAWINGS
    • FIG. 1 is a schematic side view of a winding unit arranged in an automatic winder according to one embodiment of the present invention;
    • FIG. 2 is a schematic view illustrating a configuration of a yarn storage device;
    • FIG. 3 is a control block diagram for feedback control of a roller driving section based on the tension;
    • FIG. 4 is a schematic view illustrating a configuration of a yarn storage device according to a first alternative embodiment;
    • FIG. 5 is a schematic view illustrating a configuration of a yarn storage device according to a second alternative embodiment; and
    • FIG. 6 is a schematic view illustrating a configuration of a yarn storage device according to a third alternative embodiment.
    DETAILED DESCRIPTION OF PREFERRED EMBODIMENTS
  • Embodiments of the invention will be described below. First, an outline of an automatic winder (yarn winding device) will be described with reference to FIG. 1. The automatic winder has a configuration in which a plurality of winding units 2 are arranged in line. The automatic winder includes a machine management device (not illustrated) adapted to collectively manage the winding units 2, and a blower box (not illustrated) including a compressed air source and a negative pressure source.
  • As illustrated in FIG. 1, the winding unit 2 mainly includes a bobbin supporting section (yarn supplying section) 7 and a winding section (package forming section) 8. The winding unit 2 is configured to unwind a yarn (spun yarn) 20 of a yarn supplying bobbin 21 supported by the bobbin supporting section 7 and rewind a package 30.
  • The bobbin supporting section 7 is configured to be able to hold the yarn supplying bobbin 21 in a substantially upright state. The bobbin supporting section 7 is configured to be able to discharge the empty yarn supplying bobbin 21. The winding section 8 includes a cradle 23 configured to be able to attach the winding bobbin 22, and a traverse drum 24 for traversing the yarn 20 and driving the winding bobbin 22.
  • The traverse drum 24 is arranged facing the winding bobbin 22, and the winding bobbin 22 is rotated by driving and rotating the traverse drum 24. The yarn 20 stored in a yarn storage device 18, to be described later, thus can be wound around the winding bobbin 22. A traverse groove (not illustrated) is formed on an outer circumferential surface of the traverse drum 24, and the yarn 20 is traversed by the traverse groove at a predetermined width. According to the configuration described above, the yarn 20 can be wound around the winding bobbin 22 while being traversed, and the package 30 having a predetermined length and a predetermined shape can be obtained. In the following description, "upstream" and "downstream" refers to the upstream and the downstream when viewed in a travelling direction of the yarn.
  • The winding unit 2 includes an unwinding assisting device 10, a lower yarn blow-up section 11, a gate type tension applying device 12, an upper yarn catching section 13, a yarn joining device 14, a yarn trap 15, a cutter 16, a clearer (yarn defect detection device) 17, an upper yarn pull-out section 35, and the yarn storage device 18 arranged in this order from the bobbin supporting section 7 towards the winding section 8 on a yarn travelling path between the bobbin supporting section 7 and the winding section 8.
  • The unwinding assisting device 10 causes a movable member 10a to make contact with a balloon formed at an upper part of the yarn supplying bobbin 21 when the yarn 20 unwound from the yarn supplying bobbin 21 is swung around, and controls the balloon to an appropriate size to assist the unwinding of the yarn 20.
  • The lower yarn blow-up section 11 is an air sucker device arranged between the bobbin supporting section 7 and the yarn joining device 14, and is configured to feed a lower yarn from the yarn supplying bobbin 21 towards the yarn joining device 14 during the yarn joining operation.
  • The gate type tension applying device 12 applies a predetermined tension to the travelling yarn 20. The gate type tension applying device 12 of the present embodiment is configured as a gate type in which movable comb teeth are arranged with respect to fixed comb teeth. The comb teeth on the movable side are configured to be swingable by a rotary solenoid so that the comb teeth can be in the meshed state or the released state. The configuration of the gate type tension applying device 12 is not limited thereto, and may be a disc type tension applying device, for example.
  • The upper yarn catching section 13 is arranged between the yarn joining device 14 and the bobbin supporting section 7. The upper yarn catching section 13 is connected to a negative pressure source (not illustrated), and can generate a suction airflow during the yarn joining operation.
  • The yarn trap 15 is arranged between the yarn joining device 14 and the yarn storage device 18. The distal end of the yarn trap 15 is formed as a tubular member and is arranged close to the travelling path of the yarn 20, and is connected to the negative pressure source (not illustrated). According to such a configuration, the suction airflow can be generated at the distal end of the yarn trap 15 to suck and remove contaminants such as fluffs attached to the travelling yarn 20.
  • The clearer 17 is configured to detect the yarn defect such as slub by monitoring a yarn thickness of the yarn 20. When detecting the yarn defect, the clearer 17 transmits a disconnecting signal instructing the cutting and removal of the yarn defect to a control section 60 and the like. A cutter 16 for immediately cutting the yarn 20 according to the disconnecting signal is arranged in proximity to the clearer 17.
  • The yarn joining device 14 joins the lower yarn from the yarn supplying bobbin 21, and the upper yarn from the yarn storage device 18, when the yarn 20 between the yarn supplying bobbin 21 and the package 30 is in the disconnected state after yarn breakage in which the clearer 17 detects the yarn defect and the cutter 16 cuts the yarn 20, after yarn breakage during unwinding of the yarn 20 from the yarn supplying bobbin 21, or at the time of replacing the yarn supplying bobbin 21. The yarn joining device 14 may be a type that uses a fluid such as compressed air, or may be a mechanical type.
  • The upper yarn pull-out section 35 is an air sucker device, and pulls out the upper yarn from the yarn storage device 18 and feeds the upper yarn towards a deflection guide member 36.
  • When carrying out the yarn joining operation in replacing the yarn supplying bobbin 21, the upper yarn from the yarn storage device 18 is fed to the deflection guide member 36 by the upper yarn pull-out section 35. The deflection guide member 36 discharges the fed upper yarn from the lower end portion. The yarn discharged by the deflection guide member 36 is sucked by the upper yarn catching section 13. The upper yarn can be taken out from a slit (not illustrated) formed in the deflection guide member 36 as the upper yarn catching section 13 sucks the upper yarn, so that the upper yarn can be guided to the yarn joining device 14.
  • The lower yarn fed by the lower yarn blow-up section 11 is sucked by the yarn trap 15. The lower yarn is thereby guided to the yarn joining device 14. The yarn joining operation is carried out in such a manner. In the present embodiment, the yarn defect is removed mainly by the clearer 17, the upper yarn catching section 13, the yarn trap 15, and the yarn joining device 14, and hence such devices correspond to "yarn defect removing device".
  • The yarn storage device 18 is configured to be able to temporarily store the yarn 20 unwound from the yarn supplying bobbin 21. Since the yarn storage device 18 is interposed between the bobbin supporting section 7 and the winding section 8, and a prescribed amount of the yarn 20 is stored on the yarn storage device 18, the winding section 8 can wind the yarn 20 stored on the yarn storage device 18 even if the unwinding of the yarn from the yarn supplying bobbin 21 is interrupted (e.g., during yarn joining operation) for some reason. Thus, the winding of the yarn 20 into the package 30 can be continued.
  • Thus, since the winding operation in the winding section 8 is not interrupted by the yarn joining operation and the like, the package 30 can be produced stably at high speed. Furthermore, since the yarn 20 is not sucked and caught from the package 30 for each yarn joining operation as in the conventional yarn winding device, disturbance can be prevented from occurring at the surface of the package 30. Moreover, since the occurrence of yarn breakage in the winding section 8 is reduced, falling of the yarn 20 onto the end face of the package 30 or occurrence of a failure in the winding shape can be prevented.
  • A first guide section 41, a second guide section 42, and a tension measuring device 43 are arranged on the downstream of the yarn storage device 18.
  • The first guide section 41 converges the yarn 20 pulled out from the yarn storage device 18 so as to guide the yarn 20 to one area. The second guide section 42 is arranged downstream of the first guide section 41. The second guide section 42 forms a traverse supporting point of the yarn 20 to be wound in the winding section 8.
  • The tension measuring device 43 is arranged between the first guide section 41 and the second guide section 42. The tension measuring device 43 is configured as a load cell type sensor. If the yarn 20 travels while being pushed against the contacting portion of the tension measuring device 43, distortion occurs in the load cell portion according to the tension of the yarn 20 and an electric signal corresponding to the distortion is output from a distortion gauge.
  • A magazine type bobbin supplying device 26 is arranged on the front side of the winding unit 2. The bobbin supplying device 26 includes a rotary magazine part 27. The magazine part 27 is configured to be able to hold a plurality of spare yarn supplying bobbins 21. The bobbin supplying device 26 intermittently rotatably drives the magazine part 27 to supply a new yarn supplying bobbin 21 to the bobbin supporting section 7.
  • Next, with reference to FIG. 2, the yarn storage device 18 will be described in detail. The yarn storage device 18 includes a yarn storage roller 51, a roller driving section (first driving section) 52, a yarn hooking arm (tension applying section) 53, a transmission mechanism 54, and an arm driving section (second driving section) 55.
  • The yarn storage roller 51 is formed as a substantially cylindrical member, and is configured to store the yarn 20 by winding the yarn 20 around the outer circumferential surface thereof.
  • The roller driving section 52 rotatably drives the yarn storage roller 51 with a center axis line thereof as a center. Specifically, a belt 70 is wound around an output shaft 52a of the roller driving section 52 and a coupling member 51a fixed to the inner surface of the yarn storage roller 51, and the yarn storage roller 51 can be rotated by rotating the output shaft 52a. The operation of the roller driving section 52 is controlled by the control section 60. The roller driving section 52 is a servo motor, a stepping motor, or the like.
  • The arm driving section 55 rotatably drives the yarn hooking arm 53 when the driving force is transmitted by the transmission mechanism 54. The transmission mechanism 54 of the present embodiment mainly includes a shaft 54a (yarn storage roller rotation shaft), and the shaft 54a transmits the driving force. According to such a configuration, the yarn hooking arm 53 can be rotatably driven around the same rotation axis as the yarn storage roller 51. The operation of the arm driving section 55 is controlled independently from the roller driving section 52 by the control section 60. Therefore, in the present embodiment, the rotation speeds of the yarn storage roller 51 and the yarn hooking arm 53 can be differed. The arm driving section 55 is a servo motor, a stepping motor, or the like.
  • Next, a description will be made on the control carried out by the control section 60 on the arm driving section 55 with reference to FIG. 3.
  • Each winding unit 2 includes the control section 60. The control section 60 is configured by hardware such as a CPU, a ROM, and a RAM (not illustrated), and software such as the control program stored in the RAM. The hardware and the software cooperatively operate to control each configuration of the winding unit 2. As illustrated in FIG. 3, the control section 60 includes, as a configuration for controlling the arm driving section 55, a deviation calculating section 61, a PID control value determining section 62, and a limiter 63.
  • The deviation calculating section 61 of the control section 60 is input with a tension measurement value measured by the tension measuring device 43. Furthermore, a tension target value derived from the winding conditions such as the type of yarn 20 and the yarn travelling speed is input to the deviation calculating section 61. The deviation calculating section 61 calculates the deviation of the two input values, and outputs the calculated deviation to the PID control value determining section 62.
  • The PID control value determining section 62 calculates a control value for controlling the torque of the arm driving section 55 by a known PID control based on a deviation, time integral of the deviation, and time derivative of the deviation. The control value may be calculated based only on the deviation, and the control value may be calculated based only on the deviation and the time integral thereof. The feedback control other than the PID may be used. The PID control value determining section 62 outputs the control value calculated as above to the limiter 63.
  • The limiter 63 defines an upper limit of the control value of the arm driving section 55. When the control value input from the PID control value determining section 62 is greater than or equal to a predetermined threshold, the limiter 63 outputs the relevant threshold to the arm driving section 55 as the control value. When the control value input from the PID control value determining section 62 is smaller than the predetermined threshold, the limiter 63 outputs the input value as it is.
  • The control value calculated as above is input to the arm driving section 55, and the torque of the arm driving section 55 is adjusted based on the control value. The control section 60 carries out the feedback control as necessary, so that even if the travelling speed of the yarn is high, the yarn hooking arm 53 can apply a desired tension to the yarn 20.
  • As described above, the yarn winding device of the present embodiment includes the bobbin supporting section 7, the yarn storage roller 51, the winding section 8, the tension measuring device 43, the yarn hooking arm 53, the arm driving section 55, and the control section 60. The bobbin supporting section 7 can supply the yarn 20. The yarn storage roller 51 is rotatably driven by the roller driving section 52, so that the yarn 20 is pulled out from the yarn supplying bobbin 21 of the bobbin supporting section 7 and the yarn 20 is stored on the surface. The winding section 8 pulls out the yarn 20 stored on the yarn storage roller 51 to form the package 30. The tension measuring device 43 measures the tension of the yarn 20 pulled out from the yarn storage roller 51. The yarn hooking arm 53 is arranged downstream in the yarn travelling direction of the yarn storage roller 51, and makes contact with the yarn 20 to apply tension to the yarn 20. The arm driving section 55 rotatably drives the yarn hooking arm 53. The control section 60 feedback controls the arm driving section 55 based on the measurement result of the tension measuring device 43 to adjust the amount of tension applied by the yarn hooking arm 53. The yarn travelling direction of the yarn storage roller 51 in the present invention is a direction in which the yarn wound around the outer circumferential surface of the yarn storage roller 51 advances by being pushed by the newly wound yarn, and is the same direction as the axial direction of the shaft 54a.
  • Since the tension on the downstream of the yarn storage roller 51 is measured, and the arm driving section 55 is controlled based on such a measurement result, the tension of the yarn 20 to be wound into the package 30 becomes the desired tension. Thus, the quality of the package 30 can be improved while the interruption of the winding of the yarn 20 is prevented.
  • Next, a description will be made on a first alternative embodiment of the above described embodiment with reference to FIG. 4. In the description of the first alternative embodiment and the subsequent alternative embodiments, the same reference numerals are denoted in the drawings on the members same as or similar to the embodiment described above, and the description thereof may be omitted.
  • A yarn storage device 18a of the first alternative embodiment includes a resistance torque generating section 56. The resistance torque generating section 56 is a load such as a torque limiter attached between a shaft 54a and at least an inner surface of the yarn storage roller 51.
  • The resistance torque generating section 56 thereby generates a torque against the relative rotation of the yarn storage roller 51 and the yarn hooking arm 53, and integrally rotates. The yarn hooking arm 53 can be relatively rotated with respect to the yarn storage roller 51 by driving the arm driving section 55 at greater than or equal to the above torque.
  • For example, when the fluctuation of the tension is small, the operation of the arm driving section 55 is stopped and the yarn storage roller 51 and the yarn hooking arm 53 are integrally rotated by the torque of the resistance torque generating section 56. When the fluctuation of the tension is large, the fluctuation of the tension can be prevented by driving the arm driving section 55 and relatively rotating the yarn hooking arm 53.
  • Next, a description will be made on a second alternative embodiment with reference to FIG. 5.
  • A yarn storage device 18b of the second alternative embodiment includes the resistance torque generating section 56, similarly to the first alternative embodiment. The transmission mechanism 54 includes a clutch 54b in addition to the shaft 54a. The clutch 54b is a constituent element of the transmission mechanism 54. The clutch 54b switches the transmission or cutting of the driving force from the arm driving section 55 to the yarn hooking arm 53.
  • Thus, the yarn storage roller 51 and the yarn hooking arm 53 can be integrally rotated without stopping the drive of the arm driving section 55 as in the first alternative embodiment. Therefore, for example, the yarn hooking arm 53 can be immediately decelerated by rotating the shaft 54a at a rotation speed slightly lower than the yarn storage roller 51 and connecting the clutch 54b when desiring to decelerate the yarn hooking arm 53.
  • Next, a description will be made on a third alternative embodiment with reference to FIG. 6.
  • The transmission mechanism 54 of the yarn storage device 18c of the third alternative embodiment includes a torque limiter 54c in addition to the shaft 54a. The torque limiter 54c is attached to connect the shaft 54a divided in half. The two shafts 54a integrally rotate when a torque smaller than a predetermined value is applied by the torque limiter 54c, and the two shafts 54a relatively rotate when a torque greater than or equal to the predetermined value is applied.
  • Thus, an excessive tension can be more reliably prevented from being applied on the yarn 20 and breaking the yarn 20.
  • The preferred embodiment and the alternative embodiments of the present invention have been described above, but the above-described configurations may be modified as below.
  • In the description made above, the roller driving section 52 and the arm driving section 55 have at least one part arranged inside the yarn storage roller 51, but the roller driving section 52 and the arm driving section 55 may be arranged outside the yarn storage roller 51. The yarn hooking arm 53 may be arranged outside the yarn storage device 18.
  • The tension measuring device 43 may be, for example, a tension sensor using a spring and/or a piezoelectric element, instead of a load cell type.
  • In the description made above, the control section 60 adjusts the torque of the arm driving section 55 based on the measured tension, but the position (rotation angle) and the speed (rotation speed) may be adjusted instead of the torque.
  • In the description made above, an example of applying the present invention to an automatic winder has been described, but the present invention may be applied to other yarn winding devices such as a spinning machine. When the present invention is applied to the spinning machine, a spinning section adapted to spin the spun yarn from the sliver corresponds to the yarn supplying section.
  • In the description made above, an example of supplying the yarn supplying bobbin 21 from the magazine type bobbin supplying device 26 has been described, but a yarn winding device including a tray type bobbin supplying device may be adopted.

Claims (7)

  1. A yarn winding device comprising:
    a yarn supplying section (7) adapted to supply a yarn;
    a yarn storage roller (51) adapted to pull out the yarn from the yarn supplying section (7) and wind the yarn around an outer circumferential surface to store the yarn when the yarn storage roller (51) is rotatably driven by a first driving section (52);
    a package forming section (8) adapted to pull out the yarn stored on the yarn storage roller (51) to form a package;
    a tension applying section (53) arranged downstream in a yarn travelling direction of the yarn storage roller (51) and adapted to make contact with the yarn to apply tension to the yarn;
    a second driving section (55) adapted to rotatably drive the tension applying section (53); characterized by
    a tension measuring device (43) adapted to measure a tension of the yarn pulled out from the yarn storage roller (51) by the package forming section (8);
    and
    a control section (60) adapted to feedback control the second driving section (55) based on a measurement result of the tension measuring device (43) to adjust an amount of tension applied by the tension applying section (53), wherein
    the yarn storage roller (51) rotates with a yarn storage roller rotation shaft (54a) as a center, and
    the tension applying section (53) rotates with the yarn storage roller rotation shaft (54a) as the center, further comprising:
    a resistance torque generating section (56) adapted to generate a torque against a relative rotation of the yarn storage roller (51) and the tension applying section (53).
  2. The yarn winding device according to claim 1, characterized by further comprising:
    a first guide section (41) arranged downstream of the yarn storage roller (51) and adapted to converge the yarn pulled out from the yarn storage roller (51); and
    a second guide section (42) arranged downstream of the first guide section (41) and adapted to form a traverse supporting point of the yarn wound by the package forming section (8), wherein
    the tension measuring device (43) is arranged on a yarn path between the first guide section (41) and the second guide section (42).
  3. The yarn winding device according to claim 1 or 2, characterized in that
    the control section (60) adjusts the amount of tension applied by the tension applying section (53) by adjusting a torque of the second driving section (55) based on the measurement result of the tension measuring device (43).
  4. The yarn winding device according to claim 1, characterized by further comprising:
    a transmission mechanism (54) adapted to transmit a driving force of the second driving section (55) to the tension applying section (53), wherein
    the transmission mechanism (54) includes a clutch (54b) adapted to switch transmission or cutting of the driving force from the second driving section (55) to the tension applying section (53).
  5. The yarn winding device according to claim 1, characterized by further comprising:
    a transmission mechanism (54) adapted to transmit a driving force of the second driving section (55) to the tension applying section (53), wherein
    the transmission mechanism (54) includes a torque limiter (54c) adapted to prevent an excessive driving force from being transmitted from the second driving section (55) to the tension applying section (53).
  6. The yarn winding device according to any one of claims 1 to 5, characterized in that
    the yarn supplying section (7) is supported such that the yarn is supplied from a yarn supplying bobbin, around which the yarn produced by a spinning device is wound, and
    a yarn defect removing device (13, 14, 15, 17) adapted to remove a yarn defect of the yarn supplied from the yarn supplying section (7) is arranged between the yarn supplying section (7) and the yarn storage roller (51).
  7. The yarn winding device according to any one of claims 1 to 6, characterized in that
    the yarn supplying section (7) is a spinning section adapted to spin a yarn, and
    a yarn defect removing device (13, 14, 15, 17) adapted to remove a yarn defect of the yarn supplied from the yarn supplying section (7) is arranged between the yarn supplying section (7) and the yarn storage roller (51).
EP15169247.2A 2014-07-02 2015-05-26 Yarn winding device Active EP2962973B1 (en)

Applications Claiming Priority (1)

Application Number Priority Date Filing Date Title
JP2014136419A JP2016013892A (en) 2014-07-02 2014-07-02 Yarn winder

Publications (2)

Publication Number Publication Date
EP2962973A1 EP2962973A1 (en) 2016-01-06
EP2962973B1 true EP2962973B1 (en) 2017-07-05

Family

ID=53268710

Family Applications (1)

Application Number Title Priority Date Filing Date
EP15169247.2A Active EP2962973B1 (en) 2014-07-02 2015-05-26 Yarn winding device

Country Status (3)

Country Link
EP (1) EP2962973B1 (en)
JP (1) JP2016013892A (en)
CN (1) CN105270922B (en)

Families Citing this family (7)

* Cited by examiner, † Cited by third party
Publication number Priority date Publication date Assignee Title
ITUA20163183A1 (en) * 2016-05-05 2017-11-05 Btsr Int Spa METHOD FOR MONITORING AND MONITORING THE POWER OF A WIRE TO A TEXTILE MACHINE AND ITS SUPPLY DEVICE.
JP2019181841A (en) * 2018-04-12 2019-10-24 株式会社ミマキエンジニアリング Printer
CN108425174B (en) * 2018-05-24 2023-09-01 浙江理工大学 A constant tension yarn carrying device and its working method
DE102018119164A1 (en) * 2018-08-07 2020-02-13 Maschinenfabrik Rieter Ag Yarn store for a spinning or winding machine
JP2020059599A (en) * 2018-10-12 2020-04-16 村田機械株式会社 Yarn winding device and yarn winding method
JP7742290B2 (en) * 2021-01-21 2025-09-19 Tmtマシナリー株式会社 Guide body and yarn winding machine
CN120311368B (en) * 2025-06-12 2025-08-19 上海亮丰新材料科技有限公司 Yarn slack eliminating device and spinning machine

Family Cites Families (11)

* Cited by examiner, † Cited by third party
Publication number Priority date Publication date Assignee Title
CA1124818A (en) * 1978-10-18 1982-06-01 Charles W. Brouwer Loom storage feeder improvement
JP2806899B2 (en) * 1995-11-17 1998-09-30 日特エンジニアリング株式会社 Wire material winding device
EP2423142B1 (en) * 2003-03-13 2013-05-01 Murata Kikai Kabushiki Kaisha Method for operating a yarn winder
DE602004001410T2 (en) * 2003-03-17 2007-07-05 Murata Kikai K.K. Winder for thread
JP2008105755A (en) * 2006-10-23 2008-05-08 Murata Mach Ltd Loosened yarn-tightening device incorporating electromagnetic tenser
JP2009046778A (en) * 2007-08-21 2009-03-05 Murata Mach Ltd Winding tension control device
JP2010077576A (en) * 2008-09-29 2010-04-08 Murata Machinery Ltd Spinning machine
JP5884280B2 (en) * 2011-03-18 2016-03-15 村田機械株式会社 Yarn winding device and yarn winding method
JP2013063839A (en) * 2011-09-20 2013-04-11 Murata Machinery Ltd Yarn winding machine and yarn winding unit
CZ303880B6 (en) * 2012-07-12 2013-06-05 Rieter Cz S.R.O. Circular interstice bin of yarn on textile machine workstation and controlling method thereof
CN203451716U (en) * 2013-07-27 2014-02-26 陕西华燕航空仪表有限公司 Yarn tension constant device

Non-Patent Citations (1)

* Cited by examiner, † Cited by third party
Title
None *

Also Published As

Publication number Publication date
EP2962973A1 (en) 2016-01-06
CN105270922B (en) 2019-06-07
JP2016013892A (en) 2016-01-28
CN105270922A (en) 2016-01-27

Similar Documents

Publication Publication Date Title
EP2962973B1 (en) Yarn winding device
EP2169096B1 (en) Spinning machine
EP2998254B1 (en) Yarn winding device and yarn winding machine
EP2202192B1 (en) Yarn winding device and automatic winder
EP2216432B2 (en) Yarn processing method and spinning machine
US20130067878A1 (en) Spinning Machine and Method for Interrupting Yarn Production on a Spinning Machine
US8919091B2 (en) Spinning machine and method for interrupting yarn production on a spinning machine
EP3009387B1 (en) Yarn winding device and package decelerating method
EP2738129B1 (en) Yarn winding machine, and textile machine including the yarn winding machine
EP2573217B1 (en) Spinning unit, spinning machine and yarn processing method
EP2159180B1 (en) Yarn winding device and automatic winder
EP2808283B1 (en) Yarn winding machine
JP2016016957A (en) Yarn winder and yarn winding method
EP2990367B1 (en) Yarn winding device
EP3000756B1 (en) Yarn winding device and textile machine
EP2960196B1 (en) Yarn winding machine
EP2738128B1 (en) Yarn winding machine
CN111683888B (en) Yarn winding machine and yarn winding method
WO2020075444A1 (en) Yarn winding device and yarn winding method
CN111132918B (en) Yarn winding machine
JP7561778B2 (en) Spinning machine and method for operating a spinning station of a spinning machine
CN112110288A (en) Yarn winding device and automatic winder
CN113979220A (en) Yarn winding machine and winding abnormality detection method
CN115924627A (en) Cross-winding package, manufacturing method of cross-winding package, and yarn winding device

Legal Events

Date Code Title Description
PUAI Public reference made under article 153(3) epc to a published international application that has entered the european phase

Free format text: ORIGINAL CODE: 0009012

AK Designated contracting states

Kind code of ref document: A1

Designated state(s): AL AT BE BG CH CY CZ DE DK EE ES FI FR GB GR HR HU IE IS IT LI LT LU LV MC MK MT NL NO PL PT RO RS SE SI SK SM TR

AX Request for extension of the european patent

Extension state: BA ME

17P Request for examination filed

Effective date: 20160216

RBV Designated contracting states (corrected)

Designated state(s): AL AT BE BG CH CY CZ DE DK EE ES FI FR GB GR HR HU IE IS IT LI LT LU LV MC MK MT NL NO PL PT RO RS SE SI SK SM TR

17Q First examination report despatched

Effective date: 20160929

GRAP Despatch of communication of intention to grant a patent

Free format text: ORIGINAL CODE: EPIDOSNIGR1

INTG Intention to grant announced

Effective date: 20170216

GRAS Grant fee paid

Free format text: ORIGINAL CODE: EPIDOSNIGR3

GRAA (expected) grant

Free format text: ORIGINAL CODE: 0009210

AK Designated contracting states

Kind code of ref document: B1

Designated state(s): AL AT BE BG CH CY CZ DE DK EE ES FI FR GB GR HR HU IE IS IT LI LT LU LV MC MK MT NL NO PL PT RO RS SE SI SK SM TR

REG Reference to a national code

Ref country code: GB

Ref legal event code: FG4D

REG Reference to a national code

Ref country code: CH

Ref legal event code: EP

Ref country code: CH

Ref legal event code: NV

Representative=s name: ING. ALESSANDRO GALASSI C/O PGA S.P.A., MILANO, CH

REG Reference to a national code

Ref country code: AT

Ref legal event code: REF

Ref document number: 906449

Country of ref document: AT

Kind code of ref document: T

Effective date: 20170715

REG Reference to a national code

Ref country code: IE

Ref legal event code: FG4D

REG Reference to a national code

Ref country code: DE

Ref legal event code: R096

Ref document number: 602015003394

Country of ref document: DE

REG Reference to a national code

Ref country code: NL

Ref legal event code: MP

Effective date: 20170705

REG Reference to a national code

Ref country code: AT

Ref legal event code: MK05

Ref document number: 906449

Country of ref document: AT

Kind code of ref document: T

Effective date: 20170705

REG Reference to a national code

Ref country code: LT

Ref legal event code: MG4D

PG25 Lapsed in a contracting state [announced via postgrant information from national office to epo]

Ref country code: NO

Free format text: LAPSE BECAUSE OF FAILURE TO SUBMIT A TRANSLATION OF THE DESCRIPTION OR TO PAY THE FEE WITHIN THE PRESCRIBED TIME-LIMIT

Effective date: 20171005

Ref country code: AT

Free format text: LAPSE BECAUSE OF FAILURE TO SUBMIT A TRANSLATION OF THE DESCRIPTION OR TO PAY THE FEE WITHIN THE PRESCRIBED TIME-LIMIT

Effective date: 20170705

Ref country code: FI

Free format text: LAPSE BECAUSE OF FAILURE TO SUBMIT A TRANSLATION OF THE DESCRIPTION OR TO PAY THE FEE WITHIN THE PRESCRIBED TIME-LIMIT

Effective date: 20170705

Ref country code: SE

Free format text: LAPSE BECAUSE OF FAILURE TO SUBMIT A TRANSLATION OF THE DESCRIPTION OR TO PAY THE FEE WITHIN THE PRESCRIBED TIME-LIMIT

Effective date: 20170705

Ref country code: NL

Free format text: LAPSE BECAUSE OF FAILURE TO SUBMIT A TRANSLATION OF THE DESCRIPTION OR TO PAY THE FEE WITHIN THE PRESCRIBED TIME-LIMIT

Effective date: 20170705

Ref country code: LT

Free format text: LAPSE BECAUSE OF FAILURE TO SUBMIT A TRANSLATION OF THE DESCRIPTION OR TO PAY THE FEE WITHIN THE PRESCRIBED TIME-LIMIT

Effective date: 20170705

Ref country code: HR

Free format text: LAPSE BECAUSE OF FAILURE TO SUBMIT A TRANSLATION OF THE DESCRIPTION OR TO PAY THE FEE WITHIN THE PRESCRIBED TIME-LIMIT

Effective date: 20170705

PG25 Lapsed in a contracting state [announced via postgrant information from national office to epo]

Ref country code: IS

Free format text: LAPSE BECAUSE OF FAILURE TO SUBMIT A TRANSLATION OF THE DESCRIPTION OR TO PAY THE FEE WITHIN THE PRESCRIBED TIME-LIMIT

Effective date: 20171105

Ref country code: PL

Free format text: LAPSE BECAUSE OF FAILURE TO SUBMIT A TRANSLATION OF THE DESCRIPTION OR TO PAY THE FEE WITHIN THE PRESCRIBED TIME-LIMIT

Effective date: 20170705

Ref country code: LV

Free format text: LAPSE BECAUSE OF FAILURE TO SUBMIT A TRANSLATION OF THE DESCRIPTION OR TO PAY THE FEE WITHIN THE PRESCRIBED TIME-LIMIT

Effective date: 20170705

Ref country code: ES

Free format text: LAPSE BECAUSE OF FAILURE TO SUBMIT A TRANSLATION OF THE DESCRIPTION OR TO PAY THE FEE WITHIN THE PRESCRIBED TIME-LIMIT

Effective date: 20170705

Ref country code: GR

Free format text: LAPSE BECAUSE OF FAILURE TO SUBMIT A TRANSLATION OF THE DESCRIPTION OR TO PAY THE FEE WITHIN THE PRESCRIBED TIME-LIMIT

Effective date: 20171006

Ref country code: RS

Free format text: LAPSE BECAUSE OF FAILURE TO SUBMIT A TRANSLATION OF THE DESCRIPTION OR TO PAY THE FEE WITHIN THE PRESCRIBED TIME-LIMIT

Effective date: 20170705

Ref country code: BG

Free format text: LAPSE BECAUSE OF FAILURE TO SUBMIT A TRANSLATION OF THE DESCRIPTION OR TO PAY THE FEE WITHIN THE PRESCRIBED TIME-LIMIT

Effective date: 20171005

REG Reference to a national code

Ref country code: DE

Ref legal event code: R097

Ref document number: 602015003394

Country of ref document: DE

PG25 Lapsed in a contracting state [announced via postgrant information from national office to epo]

Ref country code: RO

Free format text: LAPSE BECAUSE OF FAILURE TO SUBMIT A TRANSLATION OF THE DESCRIPTION OR TO PAY THE FEE WITHIN THE PRESCRIBED TIME-LIMIT

Effective date: 20170705

Ref country code: DK

Free format text: LAPSE BECAUSE OF FAILURE TO SUBMIT A TRANSLATION OF THE DESCRIPTION OR TO PAY THE FEE WITHIN THE PRESCRIBED TIME-LIMIT

Effective date: 20170705

PLBE No opposition filed within time limit

Free format text: ORIGINAL CODE: 0009261

STAA Information on the status of an ep patent application or granted ep patent

Free format text: STATUS: NO OPPOSITION FILED WITHIN TIME LIMIT

PG25 Lapsed in a contracting state [announced via postgrant information from national office to epo]

Ref country code: SM

Free format text: LAPSE BECAUSE OF FAILURE TO SUBMIT A TRANSLATION OF THE DESCRIPTION OR TO PAY THE FEE WITHIN THE PRESCRIBED TIME-LIMIT

Effective date: 20170705

Ref country code: SK

Free format text: LAPSE BECAUSE OF FAILURE TO SUBMIT A TRANSLATION OF THE DESCRIPTION OR TO PAY THE FEE WITHIN THE PRESCRIBED TIME-LIMIT

Effective date: 20170705

Ref country code: EE

Free format text: LAPSE BECAUSE OF FAILURE TO SUBMIT A TRANSLATION OF THE DESCRIPTION OR TO PAY THE FEE WITHIN THE PRESCRIBED TIME-LIMIT

Effective date: 20170705

26N No opposition filed

Effective date: 20180406

PG25 Lapsed in a contracting state [announced via postgrant information from national office to epo]

Ref country code: SI

Free format text: LAPSE BECAUSE OF FAILURE TO SUBMIT A TRANSLATION OF THE DESCRIPTION OR TO PAY THE FEE WITHIN THE PRESCRIBED TIME-LIMIT

Effective date: 20170705

REG Reference to a national code

Ref country code: BE

Ref legal event code: MM

Effective date: 20180531

PG25 Lapsed in a contracting state [announced via postgrant information from national office to epo]

Ref country code: MC

Free format text: LAPSE BECAUSE OF FAILURE TO SUBMIT A TRANSLATION OF THE DESCRIPTION OR TO PAY THE FEE WITHIN THE PRESCRIBED TIME-LIMIT

Effective date: 20170705

REG Reference to a national code

Ref country code: IE

Ref legal event code: MM4A

PG25 Lapsed in a contracting state [announced via postgrant information from national office to epo]

Ref country code: LU

Free format text: LAPSE BECAUSE OF NON-PAYMENT OF DUE FEES

Effective date: 20180526

PG25 Lapsed in a contracting state [announced via postgrant information from national office to epo]

Ref country code: FR

Free format text: LAPSE BECAUSE OF NON-PAYMENT OF DUE FEES

Effective date: 20180531

Ref country code: IE

Free format text: LAPSE BECAUSE OF NON-PAYMENT OF DUE FEES

Effective date: 20180526

PG25 Lapsed in a contracting state [announced via postgrant information from national office to epo]

Ref country code: BE

Free format text: LAPSE BECAUSE OF NON-PAYMENT OF DUE FEES

Effective date: 20180531

GBPC Gb: european patent ceased through non-payment of renewal fee

Effective date: 20190526

PG25 Lapsed in a contracting state [announced via postgrant information from national office to epo]

Ref country code: MT

Free format text: LAPSE BECAUSE OF NON-PAYMENT OF DUE FEES

Effective date: 20180526

PG25 Lapsed in a contracting state [announced via postgrant information from national office to epo]

Ref country code: TR

Free format text: LAPSE BECAUSE OF FAILURE TO SUBMIT A TRANSLATION OF THE DESCRIPTION OR TO PAY THE FEE WITHIN THE PRESCRIBED TIME-LIMIT

Effective date: 20170705

PG25 Lapsed in a contracting state [announced via postgrant information from national office to epo]

Ref country code: GB

Free format text: LAPSE BECAUSE OF NON-PAYMENT OF DUE FEES

Effective date: 20190526

PG25 Lapsed in a contracting state [announced via postgrant information from national office to epo]

Ref country code: PT

Free format text: LAPSE BECAUSE OF FAILURE TO SUBMIT A TRANSLATION OF THE DESCRIPTION OR TO PAY THE FEE WITHIN THE PRESCRIBED TIME-LIMIT

Effective date: 20170705

PG25 Lapsed in a contracting state [announced via postgrant information from national office to epo]

Ref country code: MK

Free format text: LAPSE BECAUSE OF NON-PAYMENT OF DUE FEES

Effective date: 20170705

Ref country code: HU

Free format text: LAPSE BECAUSE OF FAILURE TO SUBMIT A TRANSLATION OF THE DESCRIPTION OR TO PAY THE FEE WITHIN THE PRESCRIBED TIME-LIMIT; INVALID AB INITIO

Effective date: 20150526

Ref country code: CY

Free format text: LAPSE BECAUSE OF FAILURE TO SUBMIT A TRANSLATION OF THE DESCRIPTION OR TO PAY THE FEE WITHIN THE PRESCRIBED TIME-LIMIT

Effective date: 20170705

PG25 Lapsed in a contracting state [announced via postgrant information from national office to epo]

Ref country code: AL

Free format text: LAPSE BECAUSE OF FAILURE TO SUBMIT A TRANSLATION OF THE DESCRIPTION OR TO PAY THE FEE WITHIN THE PRESCRIBED TIME-LIMIT

Effective date: 20170705

PGFP Annual fee paid to national office [announced via postgrant information from national office to epo]

Ref country code: CZ

Payment date: 20240423

Year of fee payment: 10

PGFP Annual fee paid to national office [announced via postgrant information from national office to epo]

Ref country code: DE

Payment date: 20250423

Year of fee payment: 11

PGFP Annual fee paid to national office [announced via postgrant information from national office to epo]

Ref country code: IT

Payment date: 20250423

Year of fee payment: 11

PGFP Annual fee paid to national office [announced via postgrant information from national office to epo]

Ref country code: CH

Payment date: 20250601

Year of fee payment: 11

PG25 Lapsed in a contracting state [announced via postgrant information from national office to epo]

Ref country code: CZ

Free format text: LAPSE BECAUSE OF NON-PAYMENT OF DUE FEES

Effective date: 20250526