EP2878266A1 - Medical imaging system and program - Google Patents

Medical imaging system and program Download PDF

Info

Publication number
EP2878266A1
EP2878266A1 EP14193535.3A EP14193535A EP2878266A1 EP 2878266 A1 EP2878266 A1 EP 2878266A1 EP 14193535 A EP14193535 A EP 14193535A EP 2878266 A1 EP2878266 A1 EP 2878266A1
Authority
EP
European Patent Office
Prior art keywords
image
attention area
imaging
breast
medical
Prior art date
Legal status (The legal status is an assumption and is not a legal conclusion. Google has not performed a legal analysis and makes no representation as to the accuracy of the status listed.)
Withdrawn
Application number
EP14193535.3A
Other languages
German (de)
English (en)
French (fr)
Inventor
Hitoshi Futamura
Akinori Tsunomori
Current Assignee (The listed assignees may be inaccurate. Google has not performed a legal analysis and makes no representation or warranty as to the accuracy of the list.)
Konica Minolta Inc
Original Assignee
Konica Minolta Inc
Priority date (The priority date is an assumption and is not a legal conclusion. Google has not performed a legal analysis and makes no representation as to the accuracy of the date listed.)
Filing date
Publication date
Application filed by Konica Minolta Inc filed Critical Konica Minolta Inc
Publication of EP2878266A1 publication Critical patent/EP2878266A1/en
Withdrawn legal-status Critical Current

Links

Images

Classifications

    • AHUMAN NECESSITIES
    • A61MEDICAL OR VETERINARY SCIENCE; HYGIENE
    • A61BDIAGNOSIS; SURGERY; IDENTIFICATION
    • A61B6/00Apparatus or devices for radiation diagnosis; Apparatus or devices for radiation diagnosis combined with radiation therapy equipment
    • A61B6/52Devices using data or image processing specially adapted for radiation diagnosis
    • A61B6/5211Devices using data or image processing specially adapted for radiation diagnosis involving processing of medical diagnostic data
    • A61B6/5229Devices using data or image processing specially adapted for radiation diagnosis involving processing of medical diagnostic data combining image data of a patient, e.g. combining a functional image with an anatomical image
    • A61B6/5247Devices using data or image processing specially adapted for radiation diagnosis involving processing of medical diagnostic data combining image data of a patient, e.g. combining a functional image with an anatomical image combining images from an ionising-radiation diagnostic technique and a non-ionising radiation diagnostic technique, e.g. X-ray and ultrasound
    • AHUMAN NECESSITIES
    • A61MEDICAL OR VETERINARY SCIENCE; HYGIENE
    • A61BDIAGNOSIS; SURGERY; IDENTIFICATION
    • A61B6/00Apparatus or devices for radiation diagnosis; Apparatus or devices for radiation diagnosis combined with radiation therapy equipment
    • A61B6/50Apparatus or devices for radiation diagnosis; Apparatus or devices for radiation diagnosis combined with radiation therapy equipment specially adapted for specific body parts; specially adapted for specific clinical applications
    • A61B6/502Apparatus or devices for radiation diagnosis; Apparatus or devices for radiation diagnosis combined with radiation therapy equipment specially adapted for specific body parts; specially adapted for specific clinical applications for diagnosis of breast, i.e. mammography
    • AHUMAN NECESSITIES
    • A61MEDICAL OR VETERINARY SCIENCE; HYGIENE
    • A61BDIAGNOSIS; SURGERY; IDENTIFICATION
    • A61B8/00Diagnosis using ultrasonic, sonic or infrasonic waves
    • A61B8/08Clinical applications
    • A61B8/0825Clinical applications for diagnosis of the breast, e.g. mammography
    • AHUMAN NECESSITIES
    • A61MEDICAL OR VETERINARY SCIENCE; HYGIENE
    • A61BDIAGNOSIS; SURGERY; IDENTIFICATION
    • A61B8/00Diagnosis using ultrasonic, sonic or infrasonic waves
    • A61B8/44Constructional features of the ultrasonic, sonic or infrasonic diagnostic device
    • A61B8/4416Constructional features of the ultrasonic, sonic or infrasonic diagnostic device related to combined acquisition of different diagnostic modalities, e.g. combination of ultrasound and X-ray acquisitions
    • AHUMAN NECESSITIES
    • A61MEDICAL OR VETERINARY SCIENCE; HYGIENE
    • A61BDIAGNOSIS; SURGERY; IDENTIFICATION
    • A61B8/00Diagnosis using ultrasonic, sonic or infrasonic waves
    • A61B8/52Devices using data or image processing specially adapted for diagnosis using ultrasonic, sonic or infrasonic waves
    • A61B8/5215Devices using data or image processing specially adapted for diagnosis using ultrasonic, sonic or infrasonic waves involving processing of medical diagnostic data
    • A61B8/5238Devices using data or image processing specially adapted for diagnosis using ultrasonic, sonic or infrasonic waves involving processing of medical diagnostic data for combining image data of patient, e.g. merging several images from different acquisition modes into one image
    • A61B8/5261Devices using data or image processing specially adapted for diagnosis using ultrasonic, sonic or infrasonic waves involving processing of medical diagnostic data for combining image data of patient, e.g. merging several images from different acquisition modes into one image combining images from different diagnostic modalities, e.g. ultrasound and X-ray
    • GPHYSICS
    • G06COMPUTING OR CALCULATING; COUNTING
    • G06TIMAGE DATA PROCESSING OR GENERATION, IN GENERAL
    • G06T7/00Image analysis
    • G06T7/30Determination of transform parameters for the alignment of images, i.e. image registration
    • GPHYSICS
    • G06COMPUTING OR CALCULATING; COUNTING
    • G06TIMAGE DATA PROCESSING OR GENERATION, IN GENERAL
    • G06T7/00Image analysis
    • G06T7/70Determining position or orientation of objects or cameras
    • G06T7/73Determining position or orientation of objects or cameras using feature-based methods
    • AHUMAN NECESSITIES
    • A61MEDICAL OR VETERINARY SCIENCE; HYGIENE
    • A61BDIAGNOSIS; SURGERY; IDENTIFICATION
    • A61B6/00Apparatus or devices for radiation diagnosis; Apparatus or devices for radiation diagnosis combined with radiation therapy equipment
    • A61B6/46Arrangements for interfacing with the operator or the patient
    • A61B6/461Displaying means of special interest
    • A61B6/463Displaying means of special interest characterised by displaying multiple images or images and diagnostic data on one display
    • AHUMAN NECESSITIES
    • A61MEDICAL OR VETERINARY SCIENCE; HYGIENE
    • A61BDIAGNOSIS; SURGERY; IDENTIFICATION
    • A61B6/00Apparatus or devices for radiation diagnosis; Apparatus or devices for radiation diagnosis combined with radiation therapy equipment
    • A61B6/46Arrangements for interfacing with the operator or the patient
    • A61B6/461Displaying means of special interest
    • A61B6/465Displaying means of special interest adapted to display user selection data, e.g. graphical user interface, icons or menus
    • AHUMAN NECESSITIES
    • A61MEDICAL OR VETERINARY SCIENCE; HYGIENE
    • A61BDIAGNOSIS; SURGERY; IDENTIFICATION
    • A61B6/00Apparatus or devices for radiation diagnosis; Apparatus or devices for radiation diagnosis combined with radiation therapy equipment
    • A61B6/46Arrangements for interfacing with the operator or the patient
    • A61B6/467Arrangements for interfacing with the operator or the patient characterised by special input means
    • A61B6/469Arrangements for interfacing with the operator or the patient characterised by special input means for selecting a region of interest [ROI]
    • AHUMAN NECESSITIES
    • A61MEDICAL OR VETERINARY SCIENCE; HYGIENE
    • A61BDIAGNOSIS; SURGERY; IDENTIFICATION
    • A61B6/00Apparatus or devices for radiation diagnosis; Apparatus or devices for radiation diagnosis combined with radiation therapy equipment
    • A61B6/54Control of apparatus or devices for radiation diagnosis
    • A61B6/547Control of apparatus or devices for radiation diagnosis involving tracking of position of the device or parts of the device
    • GPHYSICS
    • G06COMPUTING OR CALCULATING; COUNTING
    • G06TIMAGE DATA PROCESSING OR GENERATION, IN GENERAL
    • G06T2207/00Indexing scheme for image analysis or image enhancement
    • G06T2207/10Image acquisition modality
    • G06T2207/10116X-ray image
    • GPHYSICS
    • G06COMPUTING OR CALCULATING; COUNTING
    • G06TIMAGE DATA PROCESSING OR GENERATION, IN GENERAL
    • G06T2207/00Indexing scheme for image analysis or image enhancement
    • G06T2207/20Special algorithmic details
    • G06T2207/20021Dividing image into blocks, subimages or windows
    • GPHYSICS
    • G06COMPUTING OR CALCULATING; COUNTING
    • G06TIMAGE DATA PROCESSING OR GENERATION, IN GENERAL
    • G06T2207/00Indexing scheme for image analysis or image enhancement
    • G06T2207/30Subject of image; Context of image processing
    • G06T2207/30004Biomedical image processing
    • G06T2207/30068Mammography; Breast

Definitions

  • the present invention relates to a medical imaging system and a program.
  • a mammography examination is firstly performed by a radiological technologist or the like, to obtain, on a radiographic image of a breast acquired by X-ray photography (hereinafter simply referred to as a "breast image"), objective positional information on an attention area such as an abnormal shadow candidate.
  • a medical technologist or the like performs an ultrasound examination on the breast, focusing on a position corresponding to the attention area on the breast image.
  • a mammography examination is usually performed on a compressed breast of a subject in a standing position.
  • an ultrasound examination on a mammary gland is performed on a non-compressed breast of a subject in a supine position. Therefore, it is difficult, in an ultrasound examination, to locate a position corresponding to an attention area on a breast image acquired by a mammography examination.
  • JP 2011-200655 A discloses a medical imaging apparatus including an X-ray acquisition means and an ultrasound probe.
  • the medical imaging apparatus determines a path between a position of the ultrasound probe and a position in a breast corresponding to an area of interest selected in a radiological image acquired by the X-ray acquisition means. Then the probe is guided along the determined path.
  • JP 5015580 B2 discloses a method of producing a report image.
  • the report image is produced by measuring spatial coordinates of an ultrasound probe, and combining an ultrasound image of a region to be diagnosed in an imaging-object tissue with a background image representing the imaging-object tissue, on the basis of information on the measured coordinates.
  • an ultrasound image is produced by placing an ultrasound probe on a breast which is in a state of being X-ray photographed in a mammography examination (i.e., an immobilized and compressed state). Therefore, when a lesion exists in a region closer to an X-ray image reception surface (panel), it is difficult to acquire a high quality ultrasound image, because it is impossible to irradiate a breast with ultrasound on the panel side. Moreover, as a breast is compressed at the time of X-ray photographing and remains in the same state throughout a series of tests from a mammography examination to an ultrasound examination, a patient suffers a great deal of discomfort. Consequently, the above technique is impracticable.
  • JP 5015580 B2 although it is possible to record coordinate information on a position in which an ultrasound image has been acquired, it is impossible to link the coordinate information with a position in a radiographic image, even for the same imaging-object region.
  • An object of the present invention is to facilitate, for an examination executor of an ultrasound examination, identifying a position in an imaging-object region corresponding to an attention area in a medical image acquired in an X-ray examination, when the X-ray examination and the ultrasound examination are performed separately on the same imaging-object region.
  • the estimation means preferably estimates the position of the attention area in the imaging-object region as viewed from the front, by placing the medical image in an inclined manner with respect to a frontal image of the imaging-object region on the basis of the inclination angle of the X-ray photographing device, and by projecting the attention area in the medical image on the frontal image of the imaging-object region, and the production means preferably produces the estimated clinical position information on the basis of the frontal image of the imaging-object region on which the attention area has been projected.
  • the frontal image of the imaging-object region is preferably divided into a plurality of segments, and the production means preferably calculates the size of an area occupied by the estimated position of the attention area in each of the segments, and produces information indicating which of the segments includes the area of the largest calculated size, the information being produced as the estimated clinical position information.
  • the imaging-object region is preferably a breast
  • the medical image is preferably a breast image acquired by X-ray photographing the breast.
  • the breast image preferably includes an MLO image captured by photographing a breast as the imaging-object region from an oblique direction, and a CC image captured by photographing the breast from a vertical direction
  • the estimation means preferably places the MLO image in an inclined manner with respect to the frontal image of the imaging-object region on the basis of an inclination angle of the X-ray photographing device at the time of capturing the MLO image, as well as places the CC image on the basis of an angle of the X-ray photographing device at the time of capturing the CC image, projects the attention area in the MLO image and the attention area in the CC image on the frontal image of the imaging-object region, and estimates that an area in which projected images of the attention area overlap is a position of the attention area in the imaging-object region as viewed from the front.
  • the display control means preferably displays the estimated clinical position information on the same screen as the medical image on which the attention area is shown.
  • the display means preferably displays an area of the abnormal shadow candidate detected by the detection means on the medical image.
  • the medical imaging system preferably further comprises an input means configured to input an area of an abnormal shadow candidate through the medical image, and the display means preferably displays the area of the abnormal shadow candidate input by the input means on the medical image.
  • a program reflecting one aspect of the present invention causes a computer to function as: a display means configured to display at least one medical image acquired by X-ray photographing an imaging-object region; a specification means configured to specify an attention area in the medical image displayed by the display means; an estimation means configured to estimate a position of the attention area in the imaging-object region as viewed from the front, on the basis of a position of the attention area in the medical image and an inclination angle of an X-ray photographing device at the time of capturing the medical image; a production means configured to produce estimated clinical position information indicating the position of the attention area in the imaging-object region as viewed from the front, the position having been estimated by the estimation means; and a display control means configured to cause the display means to display the produced estimated clinical position information.
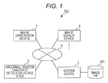
  • Fig. 1 shows a system configuration of a medical imaging system 100 in the embodiment.
  • the medical imaging system 100 includes an image production device 1, an abnormal shadow candidate detection device 2, a server device 3, and an image display device 4.
  • the above devices 1 to 4 are interconnected via a communication network N such as a local area network (LAN) constructed in a medical facility, so as to enable mutual transmission and reception of data.
  • a communication network N such as a local area network (LAN) constructed in a medical facility, so as to enable mutual transmission and reception of data.
  • LAN local area network
  • an ultrasonic diagnostic device 5 (not shown) is provided in the medical facility.
  • the number of each device is not specifically limited.
  • the medical imaging system 100 is configured to X-ray photograph an imaging-object region, and store and manage an acquired medical image.
  • the system also produces estimated clinical position information by estimating a clinical position of an attention area such as an abnormal shadow candidate on the medical image. Then the system displays the estimated clinical position information to provide assistance in an examination performed with the ultrasonic diagnostic device 5 on a subject in a supine position.
  • the clinical position means positional information on an imaging-object region in an anterior view of a human body. While the medical imaging system 100 is able to manage medical images of various imaging-object regions, a description is provided, as an example in the embodiment, mainly on X-ray photographing a breast for assisting in an ultrasound examination on the breast on the basis of an acquired breast image.
  • the following is a description of the devices 1 to 4 included in the medical imaging system 100.
  • the image production device 1 is an X-ray photographing device to X-ray photograph an imaging-object region in a human body, and to produce digital data of a captured image (medical image).
  • a modality such as a computed radiography (CR) device or a flat panel detector (FPD) device can be used as the image production device 1.
  • a FPD device is applied as the image production device 1.
  • the FPD device performs X-ray photographing of right and left breasts, generating data of a breast image as a medical image.
  • the image production device 1 is in conformity to the aforementioned DICOM standards. It is possible for the device to externally input or automatically produce various kinds of accompanying information, such as patient data and examination data, to be appended to produced medical images.
  • Patient data includes patient identification data (patient ID, for example) for identifying a patient (subject), and other data such as name, sex, and date of birth of the patient.
  • Examination data includes examination identification data (examination ID, for example) for identifying an examination, and other data such as date of examination, examination condition (examined region, laterality (right/left), direction (e.g., vertical direction (CC), and oblique direction (MLO)), photographing angle, and modality type.
  • patient ID patient ID
  • Examination data includes examination identification data (examination ID, for example) for identifying an examination, and other data such as date of examination, examination condition (examined region, laterality (right/left), direction (e.g., vertical direction (CC), and oblique direction (MLO)),
  • a set of images (right and left MLO images, and right and left CC images) acquired in a mammography examination on the same patient is managed with the same examination ID.
  • the image production device 1 appends information such as the patient data, the examination data, and a unique ID (UID) for identifying an image to a produced medical image as header information. Then the image production device 1 transmits the medical image with the header information, via the communication network N, to the abnormal shadow candidate detection device 2 and the server device 3.
  • the image production device 1 does not conform to DICOM standards, it is possible to input the above accompanying information to the image production device 1 by using a DICOM converter which is not shown.
  • the abnormal shadow candidate detection device (CAD) 2 as a detection means is a computer which performs image analysis on a medical image provided by the image production device 1 and executes processing for detecting an abnormal shadow candidate.
  • the abnormal shadow candidate detection device 2 includes a storage part such as a central processing unit (CPU), a random access memory (RAM), and a hard disk drive (HDD), and a communication part such as a LAN card.
  • the storage part of the abnormal shadow candidate detection device 2 stores a detection program with a detection algorithm appropriate for each type of an abnormal shadow.
  • the CPU of the abnormal shadow candidate detection device 2 executes processing for detecting an abnormal shadow candidate by cooperating with the detection program stored in the storage part, to detect an abnormal shadow candidate in each medical image which is input to the device through the communication part.
  • the abnormal shadow candidate detection device 2 detects an abnormal shadow candidate of a tumor and a microcalcification cluster in a breast image.
  • a publicly known algorithm is applicable for detecting an abnormal shadow candidate.
  • a method using an iris filter disclosed in JP 10-91758 A
  • a method using a Laplacian filter (The Institute of Electronics, Information and Communication Engineers (IEICE) Transactions (D-II), Vol. J76-D-II, no. 2, pp. 241-249, 1993 ), and the like are applicable.
  • IEICE Institute of Electronics, Information and Communication Engineers
  • the CPU of the abnormal shadow candidate detection device 2 When detection of an abnormal shadow candidate is completed, the CPU of the abnormal shadow candidate detection device 2 produces abnormal shadow candidate information on the basis of a result of the detection of an abnormal shadow candidate.
  • the abnormal shadow candidate information includes, for example, positional information of an area of a detected abnormal shadow candidate, and information on the type of the abnormal shadow candidate (tumor, microcalcification cluster, and the like). Then, the abnormal shadow candidate detection device 2 transmits the produced abnormal shadow candidate information to the server device 3 through the communication part. At this time, the abnormal shadow candidate detection device 2 appends the header information (UID, at least) on a medical image in which the abnormal shadow candidate has been detected to the abnormal shadow candidate information.
  • UID header information
  • the server device 3 with the image display device 4 which is a client, configures a picture archiving and communication system (PACS).
  • the server device 3 links a medical image produced in the image production device 1 with the accompanying information and the abnormal shadow candidate information. Then the server device 3 stores the medical image in a database (an image DB 351), and manages such medical image.
  • the server device 3 also causes the image display device 4 to display a selection screen for selecting a medical image related to an examination to be handled, or a viewer screen for displaying a medical image related to a selected examination.
  • the server device 3 subsequently executes various kinds of processing including processing for producing estimated clinical position information which will be described later, depending on operation information transmitted from the image display device 4.
  • Fig. 2 shows an example of a function configuration of the server device 3.
  • the server device 3 includes a control part 31, an operation part 32, a display part 33, a communication part 34, and a storage part 35.
  • the above parts are connected with one another by a bus 36.
  • the control part 31 includes a central processing unit (CPU), a random access memory (RAM), and the like.
  • the CPU of the control part 31 reads various kinds of programs such as a system program and a processing program stored in the storage part 35, decompresses such programs in the RAM, and executes various kinds of processing by following the decompressed programs.
  • the control part 31 functions as an estimation means, a production means, and a display control means, by executing the processing for producing estimated clinical position information which will be described later.
  • the operation part 32 includes a keyboard provided with character input keys, numeral input keys, various function keys, and the like, and a pointing device such as a mouse.
  • the operation part 32 outputs a depression signal from a key pressed on the keyboard or an operation signal from the mouse, as an input signal, to the control part 31.
  • the display part 33 includes a monitor such as a cathode ray tube (CRT) display or a liquid crystal display (LCD).
  • the display part 33 displays various kinds of screens, following an instruction of a display signal which is input from the control part 31.
  • the communication part 34 includes a LAN card and the like.
  • the communication part 34 transmits/receives data to/from an external device connected with the communication network N via a switching hub.
  • the storage part 35 includes a hard disk drive (HDD), a semiconductor non-volatile memory, and the like. As previously mentioned, the storage part 35 stores various kinds of programs. The storage part 35 also includes the image DB 351.
  • the image DB 351 is a database to store a medical image.
  • the image DB 351 has an image management table to store management information regarding individual medical images stored in the image DB 351.
  • management information on each medical image is stored as one record.
  • the management information includes an UID, patient data, examination data, and file data (e.g., name of a file containing a medical image, name of a file containing abnormal shadow candidate information corresponding to the medical image, file storage place, update date, and file size).
  • the control part 31 stores the received medical image in the image DB 351, produces management information on the basis of header information of the received medical image, and stores the management information in the image management table in the image DB 351. Also, when abnormal shadow candidate information from the abnormal shadow candidate detection device 2 is received through the communication part 34, the control part 31 stores the received abnormal shadow candidate information in the image DB 351, retrieves, from the image management table, a record having an UID corresponding to an UID contained in the abnormal shadow candidate information, and writes the name of a file containing the abnormal shadow candidate information, a storage place of the file, and the like, to the record which has been retrieved. As a result, the image DB 351 stores a medical image and abnormal shadow candidate information on an abnormal shadow candidate detected in the medical image, in a linked and retrievable manner.
  • the image display device 4 displays a selection screen, a viewer screen, and the like transmitted from the server device 3.
  • the image display device 4 also transmits, to the server device 3, operation information which is input through the above screens.
  • the server device 3 sends back a result of processing executed in response to an operation, the image display device 4 displays the result on the viewer screen.
  • the image display device 4 functions as a display means and a specification means.
  • Fig. 3 shows an example of a function configuration of the image display device 4.
  • the image display device 4 includes a control part 41, an operation part 42, a display part 43, a communication part 44, and a storage part 45.
  • the above parts are connected with one another by a bus 46.
  • the control part 41 includes a CPU, a RAM, and the like.
  • the CPU of the control part 41 reads various kinds of programs such as a system program and a processing program stored in the storage part 45, decompresses such programs in the RAM, and executes various kinds of processing by following the decompressed programs.
  • the operation part 42 includes a keyboard provided with character input keys, numeral input keys, various function keys, and the like, and a pointing device such as a mouse.
  • the operation part 42 outputs a depression signal from a key pressed on the keyboard or an operation signal from the mouse, as an input signal, to the control part 41.
  • the display part 43 includes a monitor such as a cathode ray tube (CRT) display or a liquid crystal display (LCD).
  • the display part 43 displays various kinds of screens, following an instruction of a display signal which is input from the control part 41.
  • the communication part 44 includes a LAN card and the like.
  • the communication part 44 transmits/receives data to/from an external device connected with the communication network N via a switching hub.
  • the storage part 45 includes a hard disk drive (HDD), a semiconductor non-volatile memory, and the like. As previously mentioned, the storage part 45 stores a system program and other various kinds of programs (for example, a program to display various kinds of screens received from the server device 3, and a program to transmit operation information which has been input from the operation part 42 to the server device 3 through the communication part 44).
  • HDD hard disk drive
  • the storage part 45 stores a system program and other various kinds of programs (for example, a program to display various kinds of screens received from the server device 3, and a program to transmit operation information which has been input from the operation part 42 to the server device 3 through the communication part 44).
  • the following is a description of operation of the medical imaging system 100.
  • a combination examination in which two examinations, i.e., a mammography examination and an ultrasound examination, are conducted in combination.
  • a radiological technologist performs a mammography examination first, to obtain objective positional information of an attention area such as an abnormal shadow candidate, in an acquired breast image.
  • a medical technologist observes the breast image, then performs an ultrasound examination on a breast, focusing on a position in the breast, which corresponds to the attention area on the breast image.
  • a doctor interprets the breast image and an ultrasound image of the abnormal shadow candidate, and makes a final diagnosis.
  • a mammography examination in general, photographing is performed by the image production device 1 four times in total for one patient. Specifically, each of right and left breasts is photographed in both an oblique direction (MLO) and a vertical direction (CC), to produce two breast images for each of the right and left breasts. At the time of photographing, the patient is in a standing position, with a breast compressed. On the other hand, an ultrasound examination is performed on a patient in a supine position with non-compressed breasts.
  • MLO oblique direction
  • CC vertical direction
  • an ultrasound examination is performed on a patient in a supine position with non-compressed breasts.
  • a medical technologist or the like as an examination executor who conducts an ultrasound examination, has to perform the examination by intuitively converting a position of an attention area on the breast image into a clinical position which is a position in the breast in an anterior view of a human body.
  • Fig. 4A shows an image in which right and left MLO images are arranged side by side and joined along the chest wall.
  • Fig. 4B shows an image in which right and left CC images are arranged side by side and joined along the chest wall.
  • the image is placed for observation normally in such a manner that each edge thereof is parallel to a corresponding edge of the display part (monitor).
  • a CC image is acquired by irradiating a breast from directly above, when a subject is in a standing position.
  • right and left CC images are arranged side by side so as to be joined along the chest wall. Also, the images are arranged such that each edge thereof is parallel to a corresponding edge of the monitor.
  • positions of right and left breasts appearing in the CC images correspond to those in the MLO images (right and left breast images are on the left and the right, respectively, as seen from the front). Accordingly, the upper side and the lower side of the CC images correspond to the lateral side and the medial side of the breasts, respectively.
  • an observer is able to estimate, on the basis of the CC images, whether an attention area is in the lateral side or the medial side of a breast.
  • an attention area P which should be focused on exists in the lateral side of the right breast.
  • an MLO image is acquired by photographing a breast from an oblique direction at an optimum photographing angle at each photographing time.
  • an MLO image is captured by photographing a breast from a straight lateral direction (in other words, the direction of X-rays in MLO imaging is orthogonal to that in CC imaging)
  • Fig. 4A it is possible, in Fig. 4A , to estimate a position of the attention area P in a vertical direction (head-foot direction) in the breast, on the basis of the MLO images placed such that each edge thereof is parallel to a corresponding edge of the monitor. Accordingly, in this case, it is possible to locate an approximate position in which the attention area P exists, by observing the MLO images and the CC images together.
  • an MLO image is acquired by photographing a breast as an imaging object from an oblique direction. Therefore, actually, it is difficult to estimate a vertical position in the breast by observing an MLO image placed as shown in Fig. 4A .
  • Information on a photographing angle is contained in accompanying information for a breast image.
  • the photographing angle has been obtained, it takes time to estimate a position of an attention area P on the basis of the photographing angle. This results in lowered efficiency of the examination.
  • the position is highly likely to be estimated erroneously.
  • a clinical position of an attention area is estimated on the basis of a breast image acquired in a mammography examination to obtain estimated clinical position information, and the estimated clinical position information is displayed, so that it becomes easy for an examination executor to identify a clinical position corresponding to the attention area in the breast.
  • Fig. 5 is a flowchart showing a flow of processing for producing estimated clinical position information, executed by the server device 3.
  • the processing for producing estimated clinical position information is executed in cooperation between the control part 31 and a program stored in the storage part 35, when a breast image related to an examination to be handled is selected through the image display device 4 and information (such as examination ID) for specifying the selected breast image related to the examination is received through the communication part 34.
  • the control part 31 retrieves and reads the selected breast image (right and left MLO images and CC images) from the image DB 351, produces screen information on a viewer screen 431 on which the read breast image has appeared, transmits the screen information to the image display device 4 which is the requestor through the communication part 34, and causes the display part 43 of the image display device 4 to display the viewer screen 431 on which the selected breast image appears (step S1). Meanwhile, the control part 31 of the server device 3 temporarily stores in a memory the examination ID and the UID of the breast image displayed on the image display device 4, until an instruction to exit is received from the image display device 4.
  • Fig. 6 shows an example of the viewer screen 431 to be displayed on the image display device 4.
  • an image display field 431a an MLO button 431b for instructing to display an MLO image only
  • a CC button 431c for instructing to display a CC image only
  • an MLO/CC button 431d for instructing to display both an MLO image and a CC image
  • a CAD button 431e for instructing to indicate an abnormal shadow candidate.
  • An examination executor such as a medical technologist is able to input an instruction to indicate an abnormal shadow candidate by pressing a CAD button 431e, for example, through the operation part 42.
  • an abnormal shadow candidate is indicated on a breast image displayed on the screen, so that the examination executor is able to check the abnormal shadow candidate shown on the breast image.
  • control part 31 When the control part 31 receives from the image display device 4, through the communication part 34, operation information indicating an instruction to show an abnormal shadow candidate (Yes in step S2), the control part 31 retrieves and reads, from the image DB 351, an abnormal shadow candidate information corresponding to the breast image displayed on the image display device 4. The control part 31 then produces screen information for displaying a screen on which an annotation indicating a position of the abnormal shadow candidate appears on the breast image displayed on the viewer screen 431. Then, the control part 31 transmits the screen information, through the communication part 34, to the image display device 4 which is the requestor, and causes the display part 43 of the image display device 4 to display the viewer screen 431 on which an annotation indicating the position of the abnormal shadow candidate appears on the breast image (step S3).
  • the control part 31 determines whether or not positional information on an attention area has been received from the image display device 4 through the communication part 34 (step S4).
  • an attention area means an area which should be focused on in an ultrasound examination, such as an area of an abnormal shadow candidate.
  • Examination executor specifies, through the operation part 42, two areas as attention areas when an identical abnormal shadow candidate is confirmed in each of MLO and CC images, while specifying a single area as an attention area when an abnormal shadow candidate is confirmed in only one of the MLO and CC images.
  • the control part 31 determines that the positional information on an attention area has been received from the image display device 4 through the communication part 34 (Yes in step S4), the control part 31 obtains a photographing angle contained in accompanying information of each breast image (right or left breast images in which the attention area has been specified) displayed on the image display device 4 (step S5). Then the control part 31 estimates clinical position information which corresponds to the attention area on the breast images, on the basis of the positional information of the attention area and the photographing angles of the breast images (step S6).
  • Photographing angle means an angle at which the image production device 1 is inclined at the time of photographing a breast (an inclination of a direction of X-rays).
  • a radiation source which emits X-rays, an object table for supporting an imaging object, and a FPD device for detecting X-rays which have passed through the imaging object are arranged in a vertical row in downward order.
  • the above components are integrally inclined at an angle according to an angle at which a breast as an imaging object is photographed.
  • the image production device 1 is not inclined and remains in its initial state. In other words, a photographing angle is zero degree (0°).
  • Fig. 7 shows a flowchart of the processing for estimating a clinical position in step S6.
  • the control part 31 detects a skin line and nipple from a breast image (an MLO image and a CC image) (step S601).
  • a position of each pixel in the breast image is represented in coordinates (X, Y) with the X-axis in a vertical direction of a breast in the breast image and the Y-axis in a direction perpendicular to the X-axis.
  • a pixel value of coordinates (X, Y) is represented as V(X, Y).
  • a coordinate of an end of the image in each of the X-axis and Y-axis directions is represented as Xmax and Ymax, respectively.
  • step S601 first, the control part 31 performs, in the breast image, filter processing with a Sobel filter for each pixel as a focused pixel.
  • the control part 31 searches the Sobel-filtered breast image, at each X-coordinate (0 to Xmax) in the Y direction, for coordinates (S) with the largest pixel value V(X, Y).
  • the control part 31 extracts the coordinates (S) with the largest pixel value V(X, Y) as an edge at each X-coordinate.
  • the extracted edges form a skin line SL which is a boundary between a breast area and an out-of-breast area. Subsequently, as shown in Fig.
  • the control part 31 calculates, for each point S (X) on the skin line SL, distances D between a straight line connecting S(X) and S(X+d (d may be 10, for example)) and each point between S(X) and S (X+d) (i.e., S(X+1), S(X+2) ... S(X+d-1)). Then the control part 31 detects a position of S(X) for which the largest distance D(X) of the calculated distances D has the greatest value among all the points S (X). The control part 31 determines that the detected position S(X) is a position of the nipple.
  • the control part 31 arranges a frontal schema image (500 in Fig. 9 ), an MLO image (600 in Fig. 9 ), and a CC image (700 in Fig. 9 ) of the breast on the RAM, on the basis of an angle difference ⁇ [°] between a photographing angle at the time of taking an MLO image and a photographing angle at the time of taking a CC image (step S602).
  • the angle difference ⁇ [°] corresponds to a photographing angle at the time of taking an MLO image.
  • Figs. 10A and 10B are examples of frontal schema images of right and left breasts, respectively.
  • Each of the frontal schema images of right and left breasts schematically shows each of the breasts in a frontal view, on which a clinical position of an attention area is superimposed.
  • a circle represents a breast
  • the center of the circle represents a position of a nipple.
  • Areas A, B, C, and D represent an upper medial area, a lower medial area, an upper lateral area, and a lower lateral area of a breast, respectively.
  • An area C' adjacent to the area C represents an armpit.
  • the frontal schema image of a breast has a configuration similar to a body mark for indicating a position in which an ultrasound probe is placed, that is, an inspection position, in an ultrasound image acquired in an ultrasound diagnosis. Therefore, the frontal schema image makes it easy for a medical technologist who performs an ultrasound examination to locate a position in a breast.
  • step S602 firstly, a frontal schema image 500 is placed in the RAM.
  • an MLO image 600 and a CC image 700 are arranged, in such a manner that both of a perpendicular line 602 drawn from a nipple 601 to a chest wall in the MLO image 600 and a perpendicular line 702 drawn from a nipple 701 to a chest wall in the CC image 700 extend to pass through a nipple 501 in the frontal schema image 500, and, at the same time, an angle difference between the above perpendicular lines is equal to an angle difference ⁇ [°] between a photographing angle at the time of taking an MLO image and a photographing angle at the time of taking a CC image.
  • each of the MLO image 600 and the CC image 700 is placed so as to be inclined at the corresponding photographing angle with respect to the frontal schema image 500.
  • control part 31 enlarges or reduces the MLO image 600 and the CC image 700 in size according to a size of the frontal schema image 500 (step S603).
  • the CC image 700 is enlarged or reduced in such a manner that both ends 703 of a breast area in the CC image 700 align with both ends of the circle of the frontal schema image 500, while the perpendicular line 702 drawn from the nipple 701 to the chest wall extends to pass through the nipple 501 in the frontal schema image 500.
  • the MLO image 600 is enlarged or reduced in such a manner that a perpendicular line 603 drawn from a lower end of a breast area to the chest wall in the MLO image 600 extends to be tangent to the circle of the frontal schema image 500, while the perpendicular line 602 drawn from the nipple 601 to the chest wall extends to pass through the nipple 501 in the frontal schema image 500. Meanwhile, the both ends 703 of the breast area in the CC image 700 and the lower end of the breast area in the MLO image 600 are specified on the basis of the detected skin line.
  • the control part 31 projects the attention area 604 of the MLO image 600 and the attention area 704 of the CC image 700 on the frontal schema image 500, and estimates that a position in which the projected attention areas overlap is a clinical position corresponding to the attention areas (step S604).
  • a position in which the projected attention areas overlap is a clinical position corresponding to the attention areas.
  • straight lines 605a and 605b which are perpendicular to the chest wall are drawn from a cranial end 604a and a caudal end 604b of the attention area 604, respectively, so that a strip-shaped area bordered by the straight lines 605a and 605b is projected on the frontal schema image 500.
  • straight lines 705a and 705b which are perpendicular to the chest wall are drawn from a lateral end 704a and a medial end 704b of the attention area 704, respectively, so that a strip-shaped area bordered by the straight lines 705a and 705b is projected on the frontal schema image 500.
  • an area 502 in which the projected strip-shaped areas overlap is estimated to be a clinical position corresponding to the attention areas.
  • an attention area is specified in only one of the MLO image and the CC image, a corresponding one of the abovementioned strip-shaped areas is estimated to be a clinical position corresponding to the attention area.
  • the attention area 604 and the attention area 704 may be divided into separate sections, and projected on the frontal schema image 500. Then, the number of shadows included in each section (the number of calcification, for example) is counted.
  • a section having the smallest number of shadows overlapping in the frontal schema image 500 may be regarded as a section having the lowest probability of existence of an abnormal shadow candidate, and may be excluded from the position corresponding to the attention area.
  • the attention area 604 in the MLO image 600 is located above the nipple 601 in the MLO image 600, and the attention area 704 in the CC image 700 is located laterally outward from the nipple 701 in the CC image 700. Therefore, an observer is apt to think intuitively that the attention area is located in the area C. However, taking the photographing angles into consideration, the clinical position corresponding to the attention area is more likely to exist actually in the area D. Consequently, by conducting the processing in step S6, it is possible, taking account of photographing angles, to locate a clinical position in which an attention area is more likely to really exist, when it is difficult to locate a clinical position corresponding to the attention area by only depending on human intuition.
  • control part 31 moves to step S7 in Fig. 5 , to produce estimated clinical position information which indicates an estimated clinical position (step S7).
  • Figs. 12A, 12B and 12C are drawings showing examples of estimated clinical position information.
  • the estimated clinical position information may be indicated by enclosing an estimated clinical position (parallelogram area) in the frontal schema image, or overlaying the estimated clinical position with color or the like.
  • the estimated clinical position information may be produced by drawing an ellipse which covers the area of the estimated clinical position and has the major axis (the longer axis) inclining at the same angle as the longer diagonal of the parallelogram indicating the clinical position, such that the ellipse overlaps the frontal schema image.
  • Fig. 12A the estimated clinical position information may be indicated by enclosing an estimated clinical position (parallelogram area) in the frontal schema image, or overlaying the estimated clinical position with color or the like.
  • the estimated clinical position information may be produced by drawing an ellipse which covers the area of the estimated clinical position and has the major axis (the longer axis) inclining at the same angle as the longer diagonal of the parallel
  • the estimated clinical position information may be produced by calculating the size (or counting the number of pixels) of the area occupied by the clinical position in each area A to D in the frontal schema image, to obtain information indicating one of the areas A to D in which the calculated size is largest (or alternatively, information indicating the order of the calculated size) as the estimated clinical position information.
  • control part 31 When has finished producing the estimated clinical position information, the control part 31 produces screen information on the viewer screen 431 on which the produced estimated clinical position information is displayed, transmits the screen information to the image display device 4 through the communication part 34, and causes the estimated clinical position information to appear on the viewer screen 431 of the display part 43 (step S8).
  • Figs. 13A and 13B are figures showing examples of the viewer screen 431 displaying the estimated clinical position information.
  • Fig. 13A shows, in a field 431f on the viewer screen 431, an example of the estimated clinical position information produced on the basis of an attention area (shown by solid lines) specified by two kinds of breast images, i.e., an MLO image and a CC image.
  • Fig. 13B shows an example of the estimated clinical position information produced on the basis of an attention area (shown by a solid line) specified by an MLO image only.
  • an examination executor is able to easily know about where in a breast a specified attention area is located. This prevents performing an ultrasound examination in a wrong position in the breast, and increases examination efficiency. Furthermore, as a result of displaying a breast image on which an annotation indicating a specified attention area appears and estimated clinical position information in such a manner that the breast image and the estimated clinical position information are arranged side by side on the same screen, an examination executor is able to perform an examination on a clinical position corresponding to the attention area while checking the attention area on the breast image.
  • a body mark which indicates right or left breast and an inspection position is recorded in an ultrasound image. If the body mark is recorded incorrectly due to a busy schedule or lack of concentration, there may be some confusion for a doctor who makes a diagnosis while observing the ultrasound image with reference to the recorded body mark.
  • the estimated clinical position information displayed in step S8 appears on the frontal schema image which has the same form or configuration as a body mark. Therefore, when an ultrasound examination has been performed on a position corresponding to the estimated clinical position information, an examination executor has only to transfer the estimated clinical position information to the ultrasound image as a body mark. This prevents recording wrong information in an ultrasound image.
  • an examination executor When there is another attention area to be subsequently examined after an ultrasound diagnosis has been made on the basis of estimated clinical position information, an examination executor is able to select, through the operation part 42, a different attention area from a breast image displayed on the viewer screen 431. When a different attention area is selected, the control part 41 of the image display device 4 transmits positional information on the selected attention area to the server device 3 through the communication part 44. When there is no attention area to be subsequently examined, an examination executor carries out an operation to move to a different screen or to close the screen, through the operation part 42. In this case, the control part 41 transmits an instruction to terminate the processing for producing estimated clinical position information to the server device 3 through the communication part 44.
  • the control part 31 of the server device 3 determines, after displaying the estimated clinical position information, whether or not a positional information on the subsequent attention area has been received from the image display device 4 through the communication part 34 (step S9).
  • the control part 31 determines that the positional information on the subsequent attention area has been received from the image display device 4 through the communication part 34 (Yes in step S9), the control part 31 returns to step S5 in the processing, and executes the processing between step S5 and step S9 repeatedly.
  • the control part 31 determines that the positional information on the subsequent attention area has not been received but instead an instruction to terminate the processing has been received from the image display device 4 through the communication part 34 (No in step S9 and Yes in step S10), the control part 31 terminates the processing for producing the estimated clinical position information.
  • the control part 31 of the server device 3 when an attention area is specified on a breast image in the image display device 4, estimates a position of the attention area in a breast as viewed from the front, on the basis of the position of the attention area in the breast image and an angle at which an X-ray photographing device is inclined at the time of taking the breast image. Then the control part 31 produces estimated clinical position information which indicates the estimated position of the attention area. After that, the control part 31 causes the display part 43 of the image display device 4 to display the produced estimated clinical position information.
  • an examination executor of an ultrasound examination is easily able to identify a position in a breast corresponding to an attention area on a breast image, when a mammography examination and the ultrasound examination are performed as separate examinations.
  • control part 31 places an MLO image in an inclined manner with respect to a frontal schema image, on the basis of an angle at which the image production device 1 is inclined at the time of taking the MLO image, as well as places an CC image on the basis of an angle of the image production device 1 at the time of taking the CC image. Then the control part 31 projects an attention area in the MLO image and an attention area in the CC image on the frontal schema image, so that an area in which the projected attention areas overlap can be estimated to be a position of the attention area in an imaging-object region as viewed from the front.
  • the frontal schema image is divided into a plurality of segments. Then the control part 31 calculates the size of an area occupied by an estimated position of the attention area in each of the segments of the frontal schema image, so that information indicating which of the segments includes the area of the largest calculated size can be produced as estimated clinical position information.
  • an examination executor of an ultrasound examination is able to perform the ultrasound examination while checking the attention area on a radiographic image of the breast.
  • the server device 3 and the image display device 4 are separate devices to form a client-server system.
  • functions of the two devices may be fulfilled by a single device.
  • a storage part of the single device stores a program to cause a computer to function as a display means, a specification means, an estimation means, a production means, and a display control means, and functions of these means are fulfilled in cooperation between a control part such as a CPU and the program.
  • a function of the abnormal shadow candidate detection device 2 may be incorporated into the same single device.
  • a position of an abnormal shadow candidate detected by the abnormal shadow candidate detection device 2 is indicated on the viewer screen 431, for the purpose of assisting an examination executor in specifying an attention area.
  • a position of an abnormal shadow candidate may be manually input by a radiological technologist or the like through an input means, so as to be shown on the screen.
  • a radiological technologist enters (specifies) an abnormal shadow candidate, through the operation part 42, on a breast image displayed on the viewer screen 431. Then abnormal shadow candidate information on the specified abnormal shadow candidate is linked with the breast image in which the abnormal shadow candidate has been detected, and the information is stored in the image DB 351.
  • the abnormal shadow candidate information is displayed on the breast image, according to operation through the operation part 42 (for example, the abnormal shadow candidate information is displayed in response to operation of a CAD button 431e by an examination executor of an ultrasound examination).
  • the abnormal shadow candidate information is displayed in response to operation of a CAD button 431e by an examination executor of an ultrasound examination.
  • an imaging-object region is a breast, as an example.
  • the present invention is applicable in assisting an ultrasound diagnosis on a different region.
  • the present invention is applicable as a training tool for an examination executor who makes an ultrasound diagnosis.
  • a hard disk drive, a semiconductor non-volatile memory, or the like is used as a computer-readable storage medium storing a program according to an aspect of the present invention.
  • the medium is not limited to this example.
  • a portable recording medium such as a compact disk read only memory (CD-ROM) is applicable as another option of the computer-readable storage medium.
  • a carrier wave is applicable as a medium to provide data of the program according to an aspect of the present invention through communication lines.

Landscapes

  • Health & Medical Sciences (AREA)
  • Life Sciences & Earth Sciences (AREA)
  • Engineering & Computer Science (AREA)
  • Medical Informatics (AREA)
  • Physics & Mathematics (AREA)
  • Surgery (AREA)
  • Veterinary Medicine (AREA)
  • Pathology (AREA)
  • Biomedical Technology (AREA)
  • Heart & Thoracic Surgery (AREA)
  • Nuclear Medicine, Radiotherapy & Molecular Imaging (AREA)
  • Molecular Biology (AREA)
  • Biophysics (AREA)
  • Animal Behavior & Ethology (AREA)
  • General Health & Medical Sciences (AREA)
  • Public Health (AREA)
  • Radiology & Medical Imaging (AREA)
  • Computer Vision & Pattern Recognition (AREA)
  • High Energy & Nuclear Physics (AREA)
  • Optics & Photonics (AREA)
  • General Physics & Mathematics (AREA)
  • Theoretical Computer Science (AREA)
  • Dentistry (AREA)
  • Oral & Maxillofacial Surgery (AREA)
  • Apparatus For Radiation Diagnosis (AREA)
  • Ultra Sonic Daignosis Equipment (AREA)
EP14193535.3A 2013-11-29 2014-11-17 Medical imaging system and program Withdrawn EP2878266A1 (en)

Applications Claiming Priority (1)

Application Number Priority Date Filing Date Title
JP2013247273A JP2015104465A (ja) 2013-11-29 2013-11-29 医用画像システム及びプログラム

Publications (1)

Publication Number Publication Date
EP2878266A1 true EP2878266A1 (en) 2015-06-03

Family

ID=52016376

Family Applications (1)

Application Number Title Priority Date Filing Date
EP14193535.3A Withdrawn EP2878266A1 (en) 2013-11-29 2014-11-17 Medical imaging system and program

Country Status (3)

Country Link
US (1) US20150150531A1 (enExample)
EP (1) EP2878266A1 (enExample)
JP (1) JP2015104465A (enExample)

Cited By (2)

* Cited by examiner, † Cited by third party
Publication number Priority date Publication date Assignee Title
WO2019091807A1 (en) * 2017-11-08 2019-05-16 Koninklijke Philips N.V. Ultrasound system and method for correlation between ultrasound breast images and breast images of other imaging modalities
RU2779836C2 (ru) * 2017-11-08 2022-09-13 Конинклейке Филипс Н.В. Ультразвуковая система и способ для корреляции между ультразвуковыми изображениями груди и изображениями груди других методов визуализации

Families Citing this family (7)

* Cited by examiner, † Cited by third party
Publication number Priority date Publication date Assignee Title
JP6736864B2 (ja) * 2015-10-09 2020-08-05 コニカミノルタ株式会社 超音波画像診断装置
JP6747852B2 (ja) * 2016-04-11 2020-08-26 キヤノンメディカルシステムズ株式会社 医用画像処理装置、医用情報処理システム、及び医用情報処理プログラム
TWI609674B (zh) * 2016-05-12 2018-01-01 太豪生醫股份有限公司 乳房影像對位方法與影像處理裝置
JP2018033657A (ja) * 2016-08-31 2018-03-08 コニカミノルタ株式会社 医用画像システム及びプログラム
JP6797623B2 (ja) * 2016-09-27 2020-12-09 キヤノン株式会社 画像処理装置および画像処理方法
US10492764B2 (en) * 2016-11-10 2019-12-03 Canon Medical Systems Corporation Ultrasound diagnosis apparatus, medical image processing apparatus, and medical image processing method
JP6694536B2 (ja) * 2019-04-09 2020-05-13 キヤノンメディカルシステムズ株式会社 医用画像表示装置及びマンモグラフィ装置

Citations (6)

* Cited by examiner, † Cited by third party
Publication number Priority date Publication date Assignee Title
JPH0515580B2 (enExample) 1984-05-17 1993-03-02 Japan Electronic Control Syst
JPH1091758A (ja) 1996-09-11 1998-04-10 Fuji Photo Film Co Ltd 異常陰影候補の検出方法および装置
US20060251301A1 (en) * 2004-11-02 2006-11-09 Mcnamara Michael P Jr Method and apparatus for determining correlation between spatial coordinates in breast
CN101564305A (zh) * 2004-06-04 2009-10-28 U系统公司 呈现乳房超声信息的设备
US20110123087A1 (en) * 2009-11-25 2011-05-26 Fujifilm Corporation Systems and methods for measurement of objects of interest in medical images
JP2011200655A (ja) 2010-03-17 2011-10-13 General Electric Co <Ge> 放射線撮影法取得手段と超音波プローブのための誘導手段とを備えた医用撮像装置

Family Cites Families (2)

* Cited by examiner, † Cited by third party
Publication number Priority date Publication date Assignee Title
JP2005253685A (ja) * 2004-03-11 2005-09-22 Konica Minolta Medical & Graphic Inc 画像診断支援装置及び画像診断支援プログラム
US20120014578A1 (en) * 2010-07-19 2012-01-19 Qview Medical, Inc. Computer Aided Detection Of Abnormalities In Volumetric Breast Ultrasound Scans And User Interface

Patent Citations (6)

* Cited by examiner, † Cited by third party
Publication number Priority date Publication date Assignee Title
JPH0515580B2 (enExample) 1984-05-17 1993-03-02 Japan Electronic Control Syst
JPH1091758A (ja) 1996-09-11 1998-04-10 Fuji Photo Film Co Ltd 異常陰影候補の検出方法および装置
CN101564305A (zh) * 2004-06-04 2009-10-28 U系统公司 呈现乳房超声信息的设备
US20060251301A1 (en) * 2004-11-02 2006-11-09 Mcnamara Michael P Jr Method and apparatus for determining correlation between spatial coordinates in breast
US20110123087A1 (en) * 2009-11-25 2011-05-26 Fujifilm Corporation Systems and methods for measurement of objects of interest in medical images
JP2011200655A (ja) 2010-03-17 2011-10-13 General Electric Co <Ge> 放射線撮影法取得手段と超音波プローブのための誘導手段とを備えた医用撮像装置

Non-Patent Citations (3)

* Cited by examiner, † Cited by third party
Title
TRANSACTIONS (D-II, vol. J71-D, no. 10, 1988, pages 1994 - 2001
TRANSACTIONS (D-II, vol. J75-D-II, no. 7, 1992, pages 1170 - 1176
TRANSACTIONS (D-II, vol. J76-D-II, no. 2, 1993, pages 241 - 249

Cited By (3)

* Cited by examiner, † Cited by third party
Publication number Priority date Publication date Assignee Title
WO2019091807A1 (en) * 2017-11-08 2019-05-16 Koninklijke Philips N.V. Ultrasound system and method for correlation between ultrasound breast images and breast images of other imaging modalities
RU2779836C2 (ru) * 2017-11-08 2022-09-13 Конинклейке Филипс Н.В. Ультразвуковая система и способ для корреляции между ультразвуковыми изображениями груди и изображениями груди других методов визуализации
US11839507B2 (en) 2017-11-08 2023-12-12 Koninklijke Philips N.V. Ultrasound system and method for correlation between ultrasound breast images and breast images of other imaging modalities

Also Published As

Publication number Publication date
US20150150531A1 (en) 2015-06-04
JP2015104465A (ja) 2015-06-08

Similar Documents

Publication Publication Date Title
JP6331922B2 (ja) 医用画像システム及びプログラム
EP2878266A1 (en) Medical imaging system and program
US9050057B1 (en) Medical image system and program
JP4104036B2 (ja) 異常陰影検出処理方法およびシステム
US10311566B2 (en) Methods and systems for automatically determining image characteristics serving as a basis for a diagnosis associated with an image study type
JP6134315B2 (ja) 画像データにおける所見の解剖学的タグ付けの方法
CN104349721B (zh) 图像处理装置
US10918346B2 (en) Virtual positioning image for use in imaging
US10916010B2 (en) Learning data creation support apparatus, learning data creation support method, and learning data creation support program
JP6455235B2 (ja) 医用画像システム及びプログラム
US11468659B2 (en) Learning support device, learning support method, learning support program, region-of-interest discrimination device, region-of-interest discrimination method, region-of-interest discrimination program, and learned model
US8194947B2 (en) Facilitating comparison of medical images
JP2023021231A (ja) 情報処理装置、医用画像表示装置及びプログラム
JP2018175864A (ja) 自動レイアウト装置および自動レイアウト方法並びに自動レイアウトプログラム
JP2011103095A (ja) 医用画像表示システム及びプログラム
JP2016202721A (ja) 医用画像表示装置及びプログラム
JP6291813B2 (ja) 医用画像システム及びプログラム
JP2016209267A (ja) 医用画像処理装置及びプログラム
JP2018033657A (ja) 医用画像システム及びプログラム
JP2012143368A (ja) 医用画像表示装置及びプログラム
JP2016195655A (ja) 医用画像システム及びプログラム
JP2017085194A (ja) 情報処理装置およびその制御方法
JP4617116B2 (ja) 即時医療映像自動的サーチ対照方法及びそのシステム
JP7672892B2 (ja) 医用画像処理装置、超音波診断装置、およびプログラム
JP5533198B2 (ja) 医用画像表示装置及びプログラム

Legal Events

Date Code Title Description
PUAI Public reference made under article 153(3) epc to a published international application that has entered the european phase

Free format text: ORIGINAL CODE: 0009012

17P Request for examination filed

Effective date: 20141117

AK Designated contracting states

Kind code of ref document: A1

Designated state(s): AL AT BE BG CH CY CZ DE DK EE ES FI FR GB GR HR HU IE IS IT LI LT LU LV MC MK MT NL NO PL PT RO RS SE SI SK SM TR

AX Request for extension of the european patent

Extension state: BA ME

STAA Information on the status of an ep patent application or granted ep patent

Free format text: STATUS: THE APPLICATION IS DEEMED TO BE WITHDRAWN

18D Application deemed to be withdrawn

Effective date: 20151204