EP2822697B1 - Düse für einen flüssigen hitzeschild - Google Patents

Düse für einen flüssigen hitzeschild Download PDF

Info

Publication number
EP2822697B1
EP2822697B1 EP13709995.8A EP13709995A EP2822697B1 EP 2822697 B1 EP2822697 B1 EP 2822697B1 EP 13709995 A EP13709995 A EP 13709995A EP 2822697 B1 EP2822697 B1 EP 2822697B1
Authority
EP
European Patent Office
Prior art keywords
nozzle
outlet
optionally
flow regulator
body portion
Prior art date
Legal status (The legal status is an assumption and is not a legal conclusion. Google has not performed a legal analysis and makes no representation as to the accuracy of the status listed.)
Not-in-force
Application number
EP13709995.8A
Other languages
English (en)
French (fr)
Other versions
EP2822697A1 (de
Inventor
Jamie Oag
Eric Brechet
Rae Andrew Younger
Stuart Thomas ROTHNIE
Current Assignee (The listed assignees may be inaccurate. Google has not performed a legal analysis and makes no representation or warranty as to the accuracy of the list.)
Optima Solutions UK Ltd
Original Assignee
Optima Solutions UK Ltd
Priority date (The priority date is an assumption and is not a legal conclusion. Google has not performed a legal analysis and makes no representation as to the accuracy of the date listed.)
Filing date
Publication date
Application filed by Optima Solutions UK Ltd filed Critical Optima Solutions UK Ltd
Publication of EP2822697A1 publication Critical patent/EP2822697A1/de
Application granted granted Critical
Publication of EP2822697B1 publication Critical patent/EP2822697B1/de
Not-in-force legal-status Critical Current
Anticipated expiration legal-status Critical

Links

Images

Classifications

    • BPERFORMING OPERATIONS; TRANSPORTING
    • B05SPRAYING OR ATOMISING IN GENERAL; APPLYING FLUENT MATERIALS TO SURFACES, IN GENERAL
    • B05BSPRAYING APPARATUS; ATOMISING APPARATUS; NOZZLES
    • B05B1/00Nozzles, spray heads or other outlets, with or without auxiliary devices such as valves, heating means
    • B05B1/30Nozzles, spray heads or other outlets, with or without auxiliary devices such as valves, heating means designed to control volume of flow, e.g. with adjustable passages
    • AHUMAN NECESSITIES
    • A62LIFE-SAVING; FIRE-FIGHTING
    • A62CFIRE-FIGHTING
    • A62C35/00Permanently-installed equipment
    • A62C35/58Pipe-line systems
    • A62C35/68Details, e.g. of pipes or valve systems
    • BPERFORMING OPERATIONS; TRANSPORTING
    • B05SPRAYING OR ATOMISING IN GENERAL; APPLYING FLUENT MATERIALS TO SURFACES, IN GENERAL
    • B05BSPRAYING APPARATUS; ATOMISING APPARATUS; NOZZLES
    • B05B1/00Nozzles, spray heads or other outlets, with or without auxiliary devices such as valves, heating means
    • B05B1/02Nozzles, spray heads or other outlets, with or without auxiliary devices such as valves, heating means designed to produce a jet, spray, or other discharge of particular shape or nature, e.g. in single drops, or having an outlet of particular shape
    • B05B1/04Nozzles, spray heads or other outlets, with or without auxiliary devices such as valves, heating means designed to produce a jet, spray, or other discharge of particular shape or nature, e.g. in single drops, or having an outlet of particular shape in flat form, e.g. fan-like, sheet-like
    • B05B1/046Outlets formed, e.g. cut, in the circumference of tubular or spherical elements
    • BPERFORMING OPERATIONS; TRANSPORTING
    • B05SPRAYING OR ATOMISING IN GENERAL; APPLYING FLUENT MATERIALS TO SURFACES, IN GENERAL
    • B05BSPRAYING APPARATUS; ATOMISING APPARATUS; NOZZLES
    • B05B1/00Nozzles, spray heads or other outlets, with or without auxiliary devices such as valves, heating means
    • B05B1/12Nozzles, spray heads or other outlets, with or without auxiliary devices such as valves, heating means capable of producing different kinds of discharge, e.g. either jet or spray
    • BPERFORMING OPERATIONS; TRANSPORTING
    • B05SPRAYING OR ATOMISING IN GENERAL; APPLYING FLUENT MATERIALS TO SURFACES, IN GENERAL
    • B05BSPRAYING APPARATUS; ATOMISING APPARATUS; NOZZLES
    • B05B1/00Nozzles, spray heads or other outlets, with or without auxiliary devices such as valves, heating means
    • B05B1/26Nozzles, spray heads or other outlets, with or without auxiliary devices such as valves, heating means with means for mechanically breaking-up or deflecting the jet after discharge, e.g. with fixed deflectors; Breaking-up the discharged liquid or other fluent material by impinging jets
    • B05B1/262Nozzles, spray heads or other outlets, with or without auxiliary devices such as valves, heating means with means for mechanically breaking-up or deflecting the jet after discharge, e.g. with fixed deflectors; Breaking-up the discharged liquid or other fluent material by impinging jets with fixed deflectors
    • B05B1/267Nozzles, spray heads or other outlets, with or without auxiliary devices such as valves, heating means with means for mechanically breaking-up or deflecting the jet after discharge, e.g. with fixed deflectors; Breaking-up the discharged liquid or other fluent material by impinging jets with fixed deflectors the liquid or other fluent material being deflected in determined directions
    • BPERFORMING OPERATIONS; TRANSPORTING
    • B05SPRAYING OR ATOMISING IN GENERAL; APPLYING FLUENT MATERIALS TO SURFACES, IN GENERAL
    • B05BSPRAYING APPARATUS; ATOMISING APPARATUS; NOZZLES
    • B05B1/00Nozzles, spray heads or other outlets, with or without auxiliary devices such as valves, heating means
    • B05B1/30Nozzles, spray heads or other outlets, with or without auxiliary devices such as valves, heating means designed to control volume of flow, e.g. with adjustable passages
    • B05B1/3026Gate valves; Sliding valves; Cocks
    • EFIXED CONSTRUCTIONS
    • E21EARTH OR ROCK DRILLING; MINING
    • E21BEARTH OR ROCK DRILLING; OBTAINING OIL, GAS, WATER, SOLUBLE OR MELTABLE MATERIALS OR A SLURRY OF MINERALS FROM WELLS
    • E21B41/00Equipment or details not covered by groups E21B15/00 - E21B40/00
    • E21B41/005Waste disposal systems
    • E21B41/0071Adaptation of flares, e.g. arrangements of flares in offshore installations
    • BPERFORMING OPERATIONS; TRANSPORTING
    • B05SPRAYING OR ATOMISING IN GENERAL; APPLYING FLUENT MATERIALS TO SURFACES, IN GENERAL
    • B05BSPRAYING APPARATUS; ATOMISING APPARATUS; NOZZLES
    • B05B1/00Nozzles, spray heads or other outlets, with or without auxiliary devices such as valves, heating means
    • B05B1/26Nozzles, spray heads or other outlets, with or without auxiliary devices such as valves, heating means with means for mechanically breaking-up or deflecting the jet after discharge, e.g. with fixed deflectors; Breaking-up the discharged liquid or other fluent material by impinging jets
    • B05B1/262Nozzles, spray heads or other outlets, with or without auxiliary devices such as valves, heating means with means for mechanically breaking-up or deflecting the jet after discharge, e.g. with fixed deflectors; Breaking-up the discharged liquid or other fluent material by impinging jets with fixed deflectors
    • BPERFORMING OPERATIONS; TRANSPORTING
    • B05SPRAYING OR ATOMISING IN GENERAL; APPLYING FLUENT MATERIALS TO SURFACES, IN GENERAL
    • B05BSPRAYING APPARATUS; ATOMISING APPARATUS; NOZZLES
    • B05B1/00Nozzles, spray heads or other outlets, with or without auxiliary devices such as valves, heating means
    • B05B1/30Nozzles, spray heads or other outlets, with or without auxiliary devices such as valves, heating means designed to control volume of flow, e.g. with adjustable passages
    • B05B1/3033Nozzles, spray heads or other outlets, with or without auxiliary devices such as valves, heating means designed to control volume of flow, e.g. with adjustable passages the control being effected by relative coaxial longitudinal movement of the controlling element and the spray head

Definitions

  • the present invention relates to nozzles and particularly, but not exclusively, to nozzles in the field of heat suppression systems for hydrocarbon extraction and processing installations.
  • a surface well test package is used to evaluate well reservoir parameters and hydrocarbon properties.
  • the evaluation of hydrocarbon properties requires the flow of hydrocarbon fluid to the well test package from the well.
  • the flaring operation may generate intense heat which can cause temperatures in the environment surrounding a flare to reach levels at which the integrity of the infrastructure and/or safety equipment such as life boats, life rafts etc is compromised and/or at levels which are hazardous for personnel.
  • One way of reducing the temperature around the flaring hydrocarbons is to form a water wall around the flare. Such a wall of water may form part of or be provided by a heat suppression and/or deluge system.
  • Systems of this type provide an outer wall of water designed to surround the flare which mimics the flare profile and/or shields the flare.
  • the outer wall of water can take the form of a solid flat or conical shield or curtain.
  • Known systems may also have a central outlet which has a secondary function of generating a very fine mist of water.
  • the mist of water is designed to remove energy from the flare.
  • the outer wall of water may be designed to create a barrier which separates the infrastructure and/or safety equipment from the flare and which serves to at least partially suppress the transfer of heat from the flare to the infrastructure and/or safety equipment.
  • the flares generated from these high pressure wells have a greater structural integrity than the low pressure wells for which conventional nozzles were designed.
  • Conventional nozzles work relatively well with less structural flares because when it is windy, the flare and the water wall move together in the wind, such that the water wall is still providing a barrier between the flare and the infrastructure and/or safety equipment to be protected.
  • the flare moves less in the wind, with the result that the infrastructure and/or safety equipment may be exposed to heat if the water wall moves in the wind by a greater distance than the flare.
  • GB 2,457,997 discloses a nozzle suitable for a hose/pipe comprising a body with a fluid channel extending through it, and deflection means arranged at or near the downstream end of the channel for deflecting the fluid flow leaving the nozzle, the position of the deflecting means being adjustable relative to the end of the nozzle depending on fluid pressure.
  • the deflector/ disperser is preferably spring-loaded, and ideally conical. When a nozzle is clogged, the pressure is increased so that the deflector lifts even more to make the outlet clearance larger and enable the dirt/ blockage to be flushed and cleared, thereby cleaning the nozzle.
  • WO 2005/084815 discloses a nozzle for use with a pressurised water source as typically used in the offshore environment.
  • the nozzle attaches to a hose or fixed work pipe installation and provides a channel through a body, on which is arranged a frusto-conical fluid deflector. Fluid flowing along the channel may impinge upon the fluid deflector and may travel along a surface of the deflector and out of the nozzle in a jet.
  • the width of the channel at the deflector may be varied to adjust a characteristic of the jet and for providing self-cleaning of the nozzle.
  • a central channel is described which allows an additional nozzle to be included as are sensors which determine pressure, temperature and the like in the nozzle.
  • US 89,456 discloses a hose-pipe nozzle for a fire-extinguising apparatus.
  • the nozzle is constructed with an inverted conical plug or valve fitting closely in the end of the hose-pipe, and made adjustable therewith by means of a screw collar and thread, or other suitable device, which will lift the said plug or valve from its seat at the end of the hose-pipe, and permit the escape of the water in an annular sheet, which is so deflected by the conical sides of the plug as to form an unbroken conical sheet of spray, which may be used with advantage to distribute water over a large surface, and for expelling smoke from a room or apartment on fire.
  • a nozzle for a heat suppression system comprising:
  • a nozzle when a nozzle is being used singularly or in conjunction with other nozzles to create a water barrier around a flare, being able to selectively allow flow through only a portion of an outlet extending around the perimeter of a particular nozzle allows the nozzle to create a water wall segment to enhance the structure of the water wall generated by the nozzle, or collectively by all of the nozzles, at a particular location. This may be necessary due to high winds, for example, damaging the water wall resulting in an additional requirement for protection.
  • the nozzle provides the ability to change the shape of the water wall generated without requiring rotation of the entire nozzle and/or boom to which it is mounted.
  • the inlet may be defined by the first body portion.
  • the first outlet may be defined by the first and second body portions.
  • the first outlet may define an opening, the size of the first outlet opening may be adjustable.
  • the first outlet opening may be defined by a gap between the first and second body portions.
  • the first and second body portions may be adapted to move relative to one another. Relative movement of the first and second body portions, where the first outlet is defined by the first and second body portions, allows for the size of the first outlet opening.to be increased or decreased.
  • the flow regulator may be adapted to engage one of the body portions such that further movement of the flow regulator may move the body portion with respect to the other body portion, thereby increasing the size of the outlet.
  • relative movement between the first and second body portions may be achieved through the use of motors, for example linear or pulley, pneumatics, hydraulics or any combination of these or, indeed, any suitable method of generating relative movement.
  • motors for example linear or pulley, pneumatics, hydraulics or any combination of these or, indeed, any suitable method of generating relative movement.
  • the flow regulator may define a surface profile adapted to sealingly engage an internal surface of the nozzle body to regulate the flow.
  • the surface profile may sealingly engage the internal surface of the nozzle body such that the first outlet is closed.
  • the surface profile may sealingly engage the internal surface of the nozzle body such that the inlet is closed.
  • the surface profile may be displaced from the first outlet permitting, in use, the fluid to flow from the passageway through the first outlet.
  • the flow regulator in the first position may be sealingly engaged with the first body portion.
  • the flow regulator in the second position may be sealingly disengaged from the first body portion.
  • the surface profile may also define a surface section adapted to direct fluid from the body passageway through the first outlet. Movement of the flow regulator from the first position towards, and in some embodiments, beyond, a second position permits flow through different parts or regions of the first outlet or through an increasing part or region of the outlet.
  • the at least one fluid flow pattern may change in shape as the flow regulator moves from the first position towards, and in some embodiments beyond, the second position.
  • the fluid flow pattern may be an at least one arc.
  • the fluid flow pattern may be an at least one segment.
  • the fluid flow pattern may be a finger or any predetermined shape.
  • the arc may increase in length as the flow regulator moves from the first position to the second position and/or beyond the second position.
  • the fluid exiting the first outlet may form a flow pattern in the form of a body of fluid which rotates around the nozzle body longitudinal axis.
  • the flow pattern may be rotatable to a specific position. Similar variations in shape of other flow patterns may also be achieved by movement of the flow regulator and/or relative movement of the first and second body portions.
  • the flow pattern may change in one or more of three dimensions, that is a depth of the flow pattern or the distance the flow pattern extends from the nozzle, by relative movement of the nozzle's component parts.
  • the flow pattern may increase in length or decrease in length during rotation.
  • the nozzle body may define a longitudinal axis.
  • the longitudinal axis may be the same as a longitudinal axis of the flow regulator.
  • the nozzle may comprise a second outlet.
  • the second outlet may be defined by the nozzle body and/or the flow regulator. Where the second outlet is at least partially defined by the nozzle body, the part of the nozzle body defining the second nozzle outlet may be the second body portion.
  • the nozzle defines an internal geometry, the internal geometry may be adapted to create a turbulent flow in the nozzle.
  • Turbulent flow may be generated by any feature of the internal geometry such as the angle of the inlet with respect to the nozzle body, the internal geometry of the inlet, the external geometry of the flow regulator, the internal geometry of the passageway etc. Turbulent flow may be used to create a specific flow pattern, for example tear or petal shaped.
  • the nozzle inlet may be angled with respect to the nozzle body longitudinal axis.
  • the nozzle inlet may be at right angles to the nozzle body longitudinal axis.
  • the nozzle inlet may be at an acute angle to the longitudinal axis.
  • the inlet may be movable with respect to the nozzle body longitudinal axis.
  • the inlet may be movable in a plane which lies along the nozzle body longitudinal axis.
  • the inlet may be movable in a plane which is perpendicular to the nozzle body longitudinal axis.
  • the inlet may be connected to the nozzle body by means of a universal-type joint.
  • the nozzle inlet may define a flowpath.
  • the flowpath may be linear.
  • the flowpath may be helical. Providing a helical flowpath causes the flow to rotate as it enters the nozzle body passageway, this may create a centrifugal force which improves the flow and may prevent blockages due to the turbulent effect.
  • Flow through the nozzle may also be used to drive a motor, for example, or the nozzle may include an energy storage device which is adapted to harness and store energy from the flow for use later.
  • the energy storage device may be a spring for example.
  • the nozzle may be fabricated from metal and/or polymeric materials.
  • the nozzle body passageway may be defined by an internal surface of the body portion and an external surface of the flow regulator.
  • the nozzle may further comprise an internal support member extending at least partially into the passageway.
  • the internal support member may extend the full length of the passageway.
  • the internal support member may be elongate.
  • the internal support member may be axially aligned with the nozzle body longitudinal axis.
  • the internal support member may be adapted to support the flow regulator.
  • the internal support member may define at least one throughbore.
  • the internal support member throughbore may be adapted to carry services. These services may include, but are not limited to, water, steam, probes, wires or cables etc.
  • the internal support member throughbore may be in fluid communication with the nozzle passageway.
  • the internal support member may define an external surface adapted to cooperatively engage with the flow regulator throughbore surface.
  • the flow regulator may be movable with respect to the internal support member.
  • the flow regulator may be fixed axially and/or rotationally with respect to the internal support member. Such an arrangement permits, for example, rotational and axial movement of the internal support member to result in only axial movement of the flow regulator or vice versa.
  • rotational and axial movement of the internal support member may result in rotational and axial movement of the flow regulator.
  • the nozzle body passageway may be defined by an internal surface of the body, an external surface of the flow regulator and a portion of the external surface of the internal support member.
  • the internal support member and the flow regulator may be in a sliding relationship.
  • the flow regulator may slide along the internal support member external surface.
  • the internal support member may be integral with the nozzle body. Alternatively, they may be separate.
  • the internal support member may be integral with the second body portion.
  • integral it is meant they are fixed relative to one another such that if one component moves the other moves.
  • the internal support member and the second body portion may be machined from the same piece of material or cast as a single unit.
  • the internal support member and the second body portion may be moulded as a single unit.
  • the flow regulator may be adapted to move axially and or rotationally with respect to the nozzle body.
  • the flow regulator may be adapted to move axially with respect to the first body portion.
  • the flow regulator may alternatively or additionally be adapted to move rotationally with respect to the first body portion.
  • the flow regulator may be adapted to move axially with respect to the second body portion.
  • the flow regulator may, alternatively or additionally, be adapted to move rotationally with respect to the second body portion.
  • the flow regulator is adapted to move axially with respect to the first and second body portions, the second body portion and the internal support member moving rotationally with respect to the first body portion and the flow regulator.
  • the internal support member and the flow regulator may be connected by means of a threaded connection.
  • the flow regulator may be connected to the internal support member by means of cooperation between a male member and a female member.
  • the connection may be a pin in groove type arrangement.
  • the flow regulator rotates with respect to the second body portion and the internal support member and moves axially with respect to the nozzle body and the internal support member. This movement may be due to the flow regulator travelling along a threaded connection between the internal support member and flow regulator.
  • the first body portion may have a rotating part and a fixed part, the rotating part adapted to rotate with respect to the fixed part.
  • rotation of the rotating part may be adapted to rotate the flow regulator.
  • the body portion rotating part may rotate with the flow regulator.
  • the first outlet opening may be adjustable by application of a force to the internal support member.
  • the force may be an axial force.
  • the force may be a rotational force.
  • the first outlet opening may be adjustable between a number of predetermined settings.
  • the nozzle includes an adjustment mechanism adapted to adjust the first outlet opening.
  • the adjustment mechanism may be adapted to set the first outlet opening in one of the plurality of predetermined positions.
  • the adjustment mechanism may be adapted to set the first outlet opening to any position desired by an operator within a range.
  • the adjustment mechanism may be operated manually or automatically.
  • the adjustment mechanism may be responsive to a linear force.
  • the linear force may be applied along the body longitudinal axis.
  • the adjustment mechanism may be responsive to a rotational force.
  • the rotational force may be applied in a plane transverse to the body longitudinal axis.
  • the adjustment mechanism may be responsive to a combination of rotational and linear force.
  • the adjustment mechanism may be adapted to close the first outlet opening.
  • the adjustment mechanism may be an index.
  • the index may have a plurality of settings each defining a first outlet opening.
  • the index may be biased to a position in which the first outlet opening is open.
  • an outlet surface defined by the first body portion may be adapted to engage an outlet surface defined by the second body portion.
  • One of the outlet surfaces may define a profile adapted to clean the other of the outlet surfaces. Cleaning is facilitated by scraping one surface across the other. Cleaning may be facilitated by rotation of one of the body portions with respect to the other of the body portions.
  • the surface profile may be at least one protrusion.
  • the surface profile may be retractable.
  • the surface profile may be at least one recess.
  • a cleaning medium may be introduced to the nozzle to facilitate cleaning.
  • the cleaning medium may be an abrasive fluid.
  • the cleaning medium may be hot water or steam.
  • the abrasive fluid may be heated.
  • a nozzle for a heat suppression system is described herein, the nozzle comprising:
  • providing a non-uniform internal geometry allows for a non uniform flow pattern to be generated. For example, if the deflector surface was biased to one side of the nozzle, a user could send a larger volume of water out of one side of a nozzle than the other.
  • a non uniform internal geometry can be adjusted.
  • a plurality of non uniform geometries may be selectable by a user.
  • the internal geometry of the inlet, passageway, flow regulator, or outlet may be changeable.
  • the inlet may be moveable with respect to the nozzle body.
  • the inlet may define a helical flow path.
  • the external geometry defined by the flow regulator may be non-symmetrical about a flow regulator longitudinal axis.
  • the internal geometry may be such that the non uniform flow pattern generated is elongate.
  • a nozzle for a heat suppression system is described herein, the nozzle comprising:
  • providing a surface profile on the sections of one or both of the first body surface or second body surface can be used to clean the outlet surfaces either directly by the profiled surface section acting on the other surface, or indirectly by creating turbulence in the flow of fluid as it passes over the surface profile.
  • surface profile it is meant a non-planar surface profile. That is a surface profile including protrusions or recesses.
  • a nozzle for a heat suppression system is described herein, the nozzle comprising:
  • an arrangement in which relative movement between the first and second body portions allows for a constant flow volume to be pumped from the flow pumps supplying the nozzles, resulting in less back pressure in the system.
  • a nozzle for a heat suppression system is described herein, the nozzle comprising:
  • a method of suppressing heat emitted by a flare at an installation comprising:
  • FIG. 1010 perspective and section views of a nozzle for a heat suppression system, generally indicated by reference numeral 1010, according to an embodiment of the present invention.
  • the nozzle 1010 comprises a nozzle body 1020 having a first body portion 1022 and a second body portion 1024.
  • the nozzle 1010 further comprises an inlet 1030 defined by the first body portion 1022 and a first outlet 1040 defined by the first body portion 1022 and the second body portion 1024.
  • the nozzle body 1020 defines a passageway 1070 extending between the inlet 1030 and the outlet 1040.
  • a flow regulator 1050 which is mounted around an internal support member 1060.
  • the internal support member 1060 is integral with the second body portion 1024.
  • the internal support member 1060 and the second body portion 1024 are, in normal use, substantially axially fixed with respect to the first body portion 1022 by means of a compression spring 1064.
  • the flow regulator 1050 is rotationally fixed to the first body portion 1022 by means of a first pin 1026.
  • a perspective view of the flow regulator 1050 of the nozzle 1010 of Figure 1 , the flow regulator 1050 defines an external groove 1052 for receiving the first pin 1026.
  • the internal support member external surface 1066 defines a second pin 1054 which is received within a complementary internal helical path 1056 defined by the flow regulator internal surface 1058 (best seen in Figure 4 ).
  • the internal support member 1060 also has an internal passageway 1080 having an inlet port 1082 and an outlet port 1084. Fluid flowing through the nozzle 1010 can enter the support member passageway 1080 through the inlet port 1082 and travel down the passageway 1080 and exits through the outlet port 1084 before passing through a second nozzle outlet 1090 defined by the second body portion 1024. Mounted to the second nozzle outlet 1090 is a fogger 1092 adapted to generate a fog of spray from the liquid leaving the internal support member passageway 1080.
  • the flow regulator 1050 is movable from a first position, shown in Figure 5 , in which the flow regulator internal surface 1058 covers the internal support member passageway inlet port 1082, preventing flow entering the passageway 1080. Similarly, a raised section 1057 of the flow regulator external surface (best seen on Figure 3 ) sealingly engages and prevents flow through the first body outlet 1040.
  • a rotational force is applied to an internal support member end cap 1062 to rotate the internal support member 1060 and the second body portion 1024.
  • the flow regulator 1050 cannot rotate with the internal support member 1060.
  • the rotation of the internal support member 1060 creates axial movement of the flow regulator 1050 due to the pin 1054 connecting the external surface 1066 of the support member 1060 and the internal surface 1058 of the flow regulator 1050.
  • the internal passageway inlet port 1082 is uncovered allowing flow to enter the internal passageway 1080 and leave through the second outlet nozzle 1090 (as shown in Figure 6 ).
  • the flow regulator 1050 defines an angled deflection surface 1100.
  • the deflection surface 1100 deflects flow through the first nozzle outlet 1040.
  • the first nozzle outlet 1040 which extends around a perimeter of the nozzle body 1020 is opened gradually as flow regulator raised section 1057 has a longer bottom surface 1102 than top surface 1104 in the orientation shown in Figure 6 .
  • the effect of the angled deflection surface 1100 is to create a wall of water which gradually increases in size as the flow regulator moves from the first position shown in Figure 5 to the second position which is shown in Figure 7 . In the second position both the inlet port 1082 and the nozzle outlets 1040, 1090 are fully open.
  • FIG 8 comprising Figures 8a to 8d
  • the flow of fluid through the first outlet 1040 is shown schematically with Figure 8a showing the flow at the position in which the flow regulator raised section top surface 1104 has passed by the first nozzle outlet 1040 and shows the increasing volume of flow through the outlet 1040 to the position shown in Figure 8d in which the entire flow regulator raised section 1057 has passed the outlet 1040 and there is full flow through the first nozzle outlet 1040.
  • This is the flow regulator position shown in Figure 7 .
  • the flow pattern shown in Figure 8b is created by an intermediate position of the flow regulator 1050 similar to the position shown in Figure 6 .
  • the flow pattern shown in Figure 8c is another intermediate position generated by a flow regulator position somewhere between the positioning in Figures 6 and 7 .
  • the nozzle 2010 of this second embodiment comprises a nozzle body 2020 having a first body portion 2022 and a second body portion 2024.
  • the nozzle 2010 comprises an inlet 2030 defined by the first body portion 2022 and an outlet 2040 defined by the first body portion 2022 and the second body portion 2024.
  • the nozzle body 2020 defines a passageway 2070 extending between the inlet 2030 and the outlet 2040.
  • the first body portion 2022 comprises a rotating section 2022a and a fixed section 2022b.
  • the rotating section 2022a is adapted to rotate with respect to the fixed section 2022b driven by a motor 2700 (shown in Figure 10 ) mounted to four fixing members 2200a-d defined by the first body fixed section 2022b, the motor 2700, in use, engaging with a gear surface 2204 defined by the first body rotating section 2022a, rotation of the motor 2700 resulting in rotation of the first body rotating section 2022a.
  • the outlet 2040 is defined by the first body portion rotating section 2022a and the second body portion 2024.
  • a flow regulator 2050 which is mounted around an internal support member 2060.
  • the internal support member 2060 is integral with the second body portion 2024.
  • the internal support member 2060 extends, at an end 2025 distal to the second body portion 2024, through an opening defined by the first body portion 2022 where it is attached to an end cap 2062.
  • the compression spring 2064 is retained in a chamber 2065 defined by the internal support member 2060, the end cap 2062 and the first body portion 2022, the purpose of the compression spring 2064 will be discussed in due course.
  • a bearing race 2300 is provided between the first body portion rotating section 2022a and the first body portion fixed section 2022b to facilitate rotation of the first body portion rotating section 2022a around the first body portion fixed section 2022b.
  • the bearing race 2300 allowing the first body portion rotating section 2022a to be fixed to the first body portion fixed section 2022b, while still ensuring axial load can be transferred between the two.
  • the flow regulator 2050 is adapted to move, upon rotation of the first body member rotating section 2022a, axially along the internal support member 2060.
  • FIG. 12 perspective views of the flow regulator 2050, and the second body portion 2024 and the internal support member 2060 respectively.
  • the flow regulator 2050 defines an internal thread 2250 and from Figure 13 , the internal support member 2060 defines an external thread 2252, the threads 2250, 2252 adapted to cooperate to create relative movement between the flow regulator 2050 and the inner support member 2060.
  • the flow regulator 2050 defines an external groove 2052 adapted to receive a pin 2026.
  • the pin 2026 is shown on Figure 10 and is fixed relative to the first body member rotating section 2022a. As the first body portion rotating section 2022a rotates, the pin 2026 rotates the flow regulator 2050.
  • the flow regulator 2050 moves in an axial direction as it rotates about the internal support member 2060. This rotation is used to create and control the flow patterns generated by fluid flowing through the nozzle 2010.
  • the flow regulator 2050 is in an outlet closed position in which a raised profile 2057 defined by the flow regulator 2050 is covering the nozzle outlet 2040.
  • the flow regulator 2050 also covers an internal support member inlet 2082 which connects the nozzle passageway 2070 to an internal passageway 2080 defined by the internal support member 2060.
  • Rotation of the first body portion rotating section 2022a results in rotation of the flow regulator 2050 which, as shown in Figure 14b creates movement of the flow regulator 2050 away from the end cap 2062. This movement allows for an increasing portion of the flow regulator raised profile 2057 to pass by the nozzle outlet 2040 with each rotation thereby increasing the length of the flow pattern generated.
  • FIG 15 an end view of the nozzle 2010 showing a first flow pattern
  • a jet 2500 of water will be emitted from the nozzle outlet 2040.
  • FIG 16 an end view of the nozzle 2010 showing a second flow pattern, as the flow regulator 2050 rotates this jet 2500 of water will rotate around the outlet 2040 increasing only slightly in width.
  • the jet 2500 has become a wedge which, as shown in Figure 18 , can also be rotated to a desired position.
  • Figure 14b also shows that the internal support member passageway inlet 2082 has been opened allowing fluid to flow down the internal support member passageway 2080 and exit through a fogger 2092 mounted within a fogger chamber 2094 defined by a fogger housing 2097.
  • Figure 14c shows the nozzle 2010 in the outlet 2040 fully open position (the flow pattern 2500 being shown in Figure 20 , an end view of the nozzle 2010 of Figure 1 showing the flow pattern 2500 in the outlet fully open in configuration).
  • the flow regulator 2050 is tight up against the second body portion 2024, and further travel of the flow regulator 2050 with respect to the second body portion 2024 is not possible.
  • the pin 2026 has reached the end (indicated by position 'x') of the linear portion 2052b of the groove 2052. Further rotation of the flow regulator 2050 is possible however if the flow regulator 2050 and second body portion 2024 move together, this movement is accommodated by the flow regulator 2050 by a helical section 2052a of the groove 2052.
  • the nozzle 3010 of the third embodiment is shown in perspective view in Figure 21 .
  • the nozzle 3010 is similar to the nozzle 2010 of the second embodiment however this nozzle 3010 includes an index mechanism 3061 to allow for the outlet gap 3041 to be set at one of three predetermined positions.
  • the outlet gap 3041 is the gap between the opposed surfaces 3352, 3354 of the first and second body portions 3022, 3024 which define the first nozzle outlet 3040.
  • FIGS 22 and 23 perspective and side views of a portion of the nozzle 3010 of Figure 21 , Figure 22 showing the end of the nozzle 3010 with a nozzle end cap 3062 in place and Figure 23 showing the end of the nozzle 3010 with the end cap 3062 removed.
  • the end cap 3062 is part of an index mechanism 3061 and supports three index pins 3063 of which two are visible in Figure 22 .
  • the index pins 3063 extend radially inwardly into the interior of the end cap 3062 and cooperate with an index path 3067 defined by the surface of the first body portion 3022 ( Figure 23 ).
  • FIG 24a shows the nozzle 3010 in the outlet 3040 open configuration at a smallest outlet gap 3041 position.
  • the steps prior to this part of the sequence that is the opening of the nozzle outlet 3040 from a fully closed position to the fully open position, are substantially the same as shown in Figures 14a to 14c which refer to the second embodiment of the nozzle 2010.
  • rotation of the first body portion rotating section 3022a by the motor 3070 advances the flow regulator 3050 due to the interaction between the internal support member 3060 and the flow regulator 3050 through the threaded connection 3250, 3252.
  • the flow regulator 3050 presses on to push the fogger chamber 3094 away from the second body section 3024 to purge the fogger 3092.
  • the flow regulator 3050 has reached the end of the passageway 3070.
  • the flow regulator 3050 can be moved by further rotation of the first body portion rotating section 3022a to a desired segment shape which will be of significantly greater volume due to the larger outlet gap 3041.
  • An example of a flow pattern is shown in Figure 25 an end view of the nozzle 3010 of Figure 21 showing a flow pattern with the outlet gap set at position E. Referring back to Figure 23 and Figure 24c , further rotation in the rotating direction of the motor 3700, will repeat the previously described movement of the second body portion 3024 away from the first body portion 3022, however, starting from position E, the next rest point is position F which is 10 millimetres axially advanced from position A providing a still larger operating gap 3041.
  • any number of positions could be predetermined to set the gap.
  • a further feature of the third embodiment are protrusions 3350, which are, for clarity, shown only in Figure 24b , a perspective view of the first body portion rotating section 3022a, which extend outwardly from the outlet surface 3352 defined by the first body portion 3022 towards the second body portion 3024.
  • These protrusions 3350 are provided to prevent debris and scale collecting between the outlet surfaces 3352, 3354 defined by the first and second body portions 3022, 3024. In the minimum flow gap position shown in Figure 24a , these protrusions 3350 scrape the second body portion outlet surface 3354 as the first body portion rotating section 3022a rotates under the action of the motor 3700. It will be understood that the features of this embodiment such as the index mechanism 3061 and the scraper protrusions 3350 could be applied to any of the embodiments and are not considered to be necessarily grouped together in a single embodiment.
  • Figure 26 a perspective view of a nozzle for a heat suppression system generally indicated by reference numeral 4010
  • Figure 27 a section view of the nozzle 4010 of Figure 26 in a nozzle closed configuration.
  • the nozzle 4010 comprises a nozzle body 4020 having a first body portion 4022 and a second body portion 4024.
  • the nozzle first body portion 4022 has a rotating section 4022a and a fixed section 4022b.
  • the rotating section 4022a is adapted to rotate with respect to the fixed section 4022b driven by a motor 4700 mounted to four fixing members 4200 defined by the first body fixed section 4022b.
  • the motor 4700 in use engages with a gear surface 4202 defined by the first body rotating section 4022a, rotation of the motor 700 resulting in rotation of the first body rotating section 4022a.
  • the nozzle 4010 further comprises an inlet 4030 and a first outlet 4040, the first outlet 4040 being defined by the first body portion rotating section 4022a and the second body portion 4024.
  • the outlet 4040 is particularly defined by a first body portion surface 4352 and a second body portion surface 4354, the surfaces 4352 and 4354 being opposed and separated by an outlet gap 4041.
  • the nozzle body 4020 defines a passageway 4070 extending between the inlet 4030 and the first outlet 4040.
  • a flow regulator 4050 which is mounted around an internal support member 4060, the flow regulator 4050 and internal support member 4060 connected by a threaded connection 4052.
  • the flow regulator 4050 comprises a flow regulator body 4051 a and a flow regulator cone 4051 b.
  • the first body portion rotating section 4022a is connected and rotationally fixed to the flow regulator 4050 by a first pin 4026.
  • the internal support member 4060 defines a passageway 4080 which in contrast to the earlier embodiments has an inlet 4082 external of the nozzle body 4022.
  • An external inlet 4082 permits connection of a high pressure water line for example.
  • the support member passageway 4080 also includes a services conduit 4080a for carrying services through the nozzle 4010.
  • the second body portion 4024 comprises an internal section 4024a and an external section 4024b, the internal and external sections 4024a, 4024b connected by a course thread 4025 the external section 4024b defining a part of the first outlet 4040.
  • the flow regulator body 4051 a is pinned to the flow regulator cone 4051 b by means of a second pin 4053a.
  • the pin 4053a engages a circumferential groove 4055a defined by the flow regulator cone 4051 b. This arrangement allows rotation of the flow regulator body 4051a with respect to the flow regulator cone 4051b but prevents axial movement of the flow regulator body 4051a with respect to the flow regulator cone 4051 b.
  • a third pin 4053b is provided between the internal support member 4060 and the flow regulator cone 4051b and engages an axial groove 4055b defined by the internal support member 4060. This relationship rotationally locks the flow regulator cone 4051b and the inner support member 4060 but allows axial movement between the flow regulator cone 4051b and the inner support member 4060.
  • the flow regulator cone 4051 b defines an external detent 4059 which engages an internal surface groove 4099 defined by the second body portion internal section 4024a.
  • the nozzle further includes a fogger 4092 attached to the end of the internal support member 4060 and an end cap 4062 which is connected to the second body portion internal section 4024a by a key 4800 which engages a complementary groove 4802 defined by the second body portion internal section 4024a.
  • the key and groove 4800, 4802 between the end cap 4062 and the second body portion internal section 4024a allows rotational but not axial movement between these two components.
  • Figure 33 a top view of the nozzle 4010 of Figure 26 , shows the end cap 4062 is also engaged with the second body portion external section 4024b by a series of extending fingers 4804 which permit relative movement in an axial direction between the second body portion external section 4024b and the end cap 4062, but prevents axial movement between these two components.
  • the flow regulator 4050 is shown in perspective view in Figure 30 , in a perspective cut away view in Figure 31 and in an end view, in use, in Figure 32 .
  • the flow regulator body 4051 a defines a raised section 4057 having a radius geometry profile 4850 adapted to catch the flow of fluid as it flows around the flow regulator body 4051 a and eject the flow through the nozzle outlet 4040.
  • the flow regulator body 4051a defines an internal thread 4052a adapted to engage an external thread defined by the internal support member 4060 to form the threaded connection 4052.
  • the deflector cone 4051b which is rotationally fixed by the third pin 4053b, travels axially with the flow regulator body 4051a and forces rotation of the second body portion internal section 4024a due to the interaction between the deflector cone detent 4059 and the second body portion internal section helical groove 4099.
  • Rotation of the internal section 4024a which is axially fixed relative to the end cap 4062 by virtue of key 4800, creates axial movement of the external section 4024b due to the coarse threaded connection 4025 between the two components allowing for adjustment of the outlet gap 4041. Further movement of the flow regulator 4050 results in a purge position, similar to the nozzles of earlier embodiments, in which the fogger 4092 is purged, as shown in Figure 28 .
  • the nozzle 4010 includes a failsafe mode in which, in the event of failure of the motor, the flow of fluid will engage with bosses 5000 defined by an internal surface 5001 of the first body portion rotating section 4022a creating rotation of the first body portion rotating section 4022a in the opposite direction to the motor 4700 direction, winding the flow regulator 4050 back into the first body section 4022, returning the outlet gap 4041 to its largest size, as shown in Figure 29 , section of the nozzle 4010 in failsafe mode.
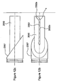
  • FIG. 34 top section (outlet closed) and section (outlet open) views of a nozzle 5100 according to a fifth embodiment of the present invention.
  • the nozzle has many identical features to nozzles of the second and third embodiment however this nozzle 5100 includes an external collar 5110 to selectively open or close this portion of the nozzle outlet 5140.
  • the collar 5110 is mounted to a collar frame 5112 and adapted to slide from an outlet open position shown in figures 34 and 36 to an outlet closed position shown in figure 35 .
  • the collar 5110 is a cylinder 5114 with a leading edge 5116 which is cut at an angle to the sides of the cylinder 5114. This means that the sides of the cylinder 5114 have a shortest length "G" and a longest length "F".
  • the outlet 5140 can be partially closed or, indeed, fully closed by the positioning of the collar 5110 with respect to the outlet 5140.
  • the collar 5110 is moved by means of a motor 5700 rotating the frame 5112 and collar 5110, a detent 5118 on the nozzle outlet 5140, engaging a helical groove 5120 defined by the collar 5110, the interaction between the detent 5118 and the collar 5110 converting the rotational movement of the collar 5110 into an additional axial movement
  • the surface protrusions of the third embodiment may be applicable to any of the other embodiments to facilitate cleaning of a nozzle outlet.
  • features described in relation to one or more embodiments are not restricted to the one or more embodiments in relation to which they are described and may be taken in isolation from one embodiment and applied to another embodiment within the scope of the following claims.

Landscapes

  • Engineering & Computer Science (AREA)
  • Environmental & Geological Engineering (AREA)
  • Mining & Mineral Resources (AREA)
  • Geology (AREA)
  • Life Sciences & Earth Sciences (AREA)
  • Emergency Management (AREA)
  • Physics & Mathematics (AREA)
  • Health & Medical Sciences (AREA)
  • Fluid Mechanics (AREA)
  • Business, Economics & Management (AREA)
  • Public Health (AREA)
  • General Life Sciences & Earth Sciences (AREA)
  • Geochemistry & Mineralogy (AREA)
  • Nozzles (AREA)

Claims (15)

  1. Düse (1010) für ein Hitzeverdrängungssystem, wobei die Düse (1010) Folgendes umfasst:
    einen Düsenkörper (1020), wobei der Düsenkörper (1020) einen Einlass (1030), einen ersten Auslass (1040) und einen Durchgang (1070) definiert, wobei der Durchgang (1070) eine Fluidkommunikation zwischen dem Einlass (1030) und dem ersten Auslass (1040) bereitstellt, wobei sich der erste Auslass (1040) zumindest teilweise um einen Umfang des Körpers (1020) erstreckt; und
    einen Durchflussregler (1050), der sich zumindest teilweise in dem Durchgang (1070) befindet und in Bezug auf den Körper (1020) beweglich ist, wobei die Bewegung des Durchflussreglers (1050) selektiv mindestens einen Teil des ersten Auslasses (1040) öffnet oder verschließt,
    wobei das Fluid, das durch den ersten Auslass (1040) geleitet wird, ein Fluidströmungsmuster bildet, das sich von der Düse (1010) weg erstreckt und
    wobei die Bewegung des Durchflussreglers (1050) und/oder die relative Bewegung eines ersten Körperabschnitts (1022) des Körpers (1020) und eines zweiten Körperabschnitts (1024) des Körpers (1020) eine Umfangsausdehnung des Fluidströmungsmusters ändert.
  2. Düse (1010) nach Anspruch 1, wobei der erste Auslass (1040) eine Öffnung definiert, die hinsichtlich ihrer Größe verstellbar ist und gegebenenfalls
    wobei der Einlass (1030) durch den ersten Körperabschnitt (1022) definiert wird und gegebenenfalls
    wobei der erste Auslass (1040) durch den ersten und zweiten Körperabschnitt (1022, 1024) definiert wird und gegebenenfalls
    wobei der erste Auslass (1040) eine Öffnung definiert, die durch eine Lücke zwischen dem ersten und zweiten Körperabschnitt (1022, 1024) definiert wird und der erste und zweite Körperabschnitt (1022, 1024) angepasst sein können, um sich in Bezug aufeinander zu bewegen, um eine Größe der ersten Auslassöffnung zu verstellen und gegebenenfalls
    wobei der Durchflussregler (1050) angepasst ist, um in einen des ersten und zweiten Körperabschnitts (1022, 1024) einzugreifen, sodass eine weitere Bewegung des Durchflussreglers (1050) den in Eingriff stehenden Körperabschnitt in Bezug auf den anderen Körperabschnitt (1024, 1022) bewegt, wodurch die Größe des ersten Auslasses (1040) vergrößert wird.
  3. Düse (1010) nach Anspruch 2, umfassend einen Motor (2700) zum Erzeugen einer relativen Bewegung zwischen dem ersten und zweiten Körperabschnitt (2022, 2024).
  4. Düse (1010) nach Anspruch 2 oder 3, wobei der Durchflussregler (1050) ein Oberflächenprofil (1057) definiert, das angepasst ist, um dichtend in eine Innenfläche des Düsenkörpers (1020) einzugreifen, um den Durchfluss zu regeln und gegebenenfalls
    wobei das Oberflächenprofil (1057) in einer ersten Position dichtend in die Innenfläche des Düsenkörpers (1020) eingreift, sodass der erste Auslass (1040) verschlossen ist und gegebenenfalls
    wobei das Oberflächenprofil (1057) in der ersten Position dichtend in die Innenfläche des Düsenkörpers (1020) eingreift, sodass der Einlass (1030) verschlossen ist und gegebenenfalls
    wobei der Durchflussregler (1050) in der ersten Position dichtend mit dem ersten Körperabschnitt (1022) in Eingriff steht und gegebenenfalls
    wobei das Oberflächenprofil (1057) in einer zweiten Position von dem ersten Auslass (1040) verschoben ist, wodurch bei der Verwendung ermöglicht wird, dass das Fluid von dem Durchgang (1070) durch den ersten Auslass (1040) strömt und gegebenenfalls
    wobei der Durchflussregler (1050) in der zweiten Position dichtend außer Eingriff mit dem ersten Körperabschnitt (1022) gebracht werden kann.
  5. Düse (1010) nach Anspruch 4, wobei das Oberflächenprofil (1057) einen Oberflächenabschnitt (1100) definiert, der angepasst ist, um Fluid aus dem Durchgang (1070) durch den ersten Auslass (1040) zu leiten.
  6. Düse (1010) nach Anspruch 5, wobei das mindestens eine Fluidströmungsmuster seine Form ändert, wenn sich der Durchflussregler (1050) von der ersten Position zu der zweiten Position bewegt und gegebenenfalls
    wobei das mindestens eine Fluidströmungsmuster seine Form ändert, wenn sich der Durchflussregler (1050) über die zweite Position hinaus bewegt und gegebenenfalls
    wobei das Fluidströmungsmuster mindestens einen Bogen, mindestens ein Segment oder mindestens einen Finger umfasst und gegebenenfalls
    wobei die Umfangsausdehnung des Fluidströmungsmusters zunimmt, wenn sich der Durchflussregler (1050) von der ersten Position zu der zweiten Position und/oder von der ersten Position über die zweite Position hinaus bewegt.
  7. Düse (1010) nach Anspruch 5 oder 6, wobei das Fluid, das aus dem ersten Auslass (1040) austritt, ein Strömungsmuster in der Form eines Körpers aus Fluid bildet, das um eine Längsachse des Düsenkörpers (1020) gedreht werden kann und gegebenenfalls
    wobei eine Umfangsausdehnung des Strömungsmusters während der Drehung des Strömungsmusters um die Längsachse des Düsenkörpers (1020) zunimmt oder abnimmt und gegebenenfalls
    wobei eine Tiefe des Strömungsmusters oder der Abstand, in dem sich das Strömungsmuster von der Düse (1010) erstreckt durch eine relative Bewegung von Komponententeilen der Düse (1010) geändert werden kann.
  8. Düse (1010) nach einem der Ansprüche 2 bis 7, umfassend einen zweiten Auslass (1090) und gegebenenfalls
    wobei der zweite Auslass (1090) durch den Düsenkörper (1020) und/oder den Durchflussregler (1050) definiert wird und gegebenenfalls
    wobei der zweite Auslass (1090) zumindest teilweise durch den zweiten Körperabschnitt (1024) definiert wird.
  9. Düse (1010) nach einem der Ansprüche 2 bis 8, wobei die Düse (1010) eine innere Geometrie definiert, die angepasst ist, um eine turbulente Strömung in der Düse (1010) zu erzeugen und gegebenenfalls wobei der Düseneinlass (1030) in Bezug auf eine Längsachse des Düsenkörpers (1020) abgewinkelt ist, sich der Düseneinlass (1030) im rechten Winkel zu der Längsachse des Düsenkörpers (1020) befindet oder sich der Düseneinlass (1030) in einem spitzen Winkel zu der Längsachse des Düsenkörpers (1020) befindet.
  10. Düse (1010) nach einem der Ansprüche 2 bis 9, wobei der Düseneinlass (1030) in Bezug auf die Längsachse des Düsenkörpers beweglich ist und gegebenenfalls wobei der Düseneinlass (1030) einen linearen oder spiralförmigen Strömungspfad definiert.
  11. Düse (1010) nach einem der Ansprüche 2 bis 10, wobei die Strömung durch die Düse (1010) verwendet wird, um einen Motor anzutreiben und gegebenenfalls
    wobei die Düse (1010) eine Energiespeichervorrichtung umfasst, die angepasst ist, um Energie aus der Strömung für eine spätere Verwendung zu kontrollieren und zu speichern und gegebenenfalls
    wobei die Energiespeichervorrichtung eine Feder (1064) umfasst.
  12. Düse (1010) nach einem der Ansprüche 2 bis 11, wobei der Düsenkörperdurchgang (1070) durch eine Innenfläche des Körpers (1020) und eine Außenfläche des Durchflussreglers (1050) definiert wird.
  13. Düse (1010) nach einem der Ansprüche 2 bis 12, umfassend ein inneres Stützelement (1060), das sich zumindest teilweise in den Düsenkörperdurchgang (1070) erstreckt und gegebenenfalls
    wobei sich das innere Stützelement (1060) über die gesamte Länge des Durchgangs (1070) erstreckt und gegebenenfalls
    wobei das innere Stützelement (1060) axial mit einer Längsachse des Düsenkörpers (1020) ausgerichtet ist und gegebenenfalls
    wobei das innere Stützelement (1060) den Durchflussregler (1050) abstützt und gegebenenfalls
    wobei das innere Stützelement (1060) mindestens eine Durchgangsbohrung (1080) definiert, die angepasst ist, um Bestandteile zu enthalten, einschließend mindestens eines von Wasser, Dampf, Sonden, Drähten und Kabeln und gegebenenfalls
    wobei die Durchgangsbohrung (1080) des inneren Stützelements mit dem Düsenkörperdurchgang (1070) in Fluidkommunikation steht und gegebenenfalls
    wobei das innere Stützelement (1060) eine Außenfläche definiert, die angepasst ist, um zusammenwirkend in eine Fläche einer Durchgangsbohrung des Durchflussreglers (1050) einzugreifen und gegebenenfalls
    wobei der Durchflussregler (1050) in Bezug auf das innere Stützelement (1060) beweglich ist und gegebenenfalls
    wobei der Durchflussregler (1050) in Bezug auf das innere Stützelement (1060) axial oder drehend befestigt ist und gegebenenfalls
    wobei der Düsenkörperdurchgang (1070) durch eine Innenfläche des Körpers (1020), eine Außenfläche des Durchflussreglers (1050) und einen Abschnitt der Außenfläche des inneren Stützelements (1060) definiert wird und gegebenenfalls
    wobei das innere Stützelement (1060) in den Düsenkörper (1020) integriert oder von diesem getrennt ist und gegebenenfalls
    wobei das innere Stützelement (1060) in den zweiten Körperabschnitt (1024) integriert ist und gegebenenfalls
    wobei der Durchflussregler (1050) angepasst ist, um sich axial und/oder drehend in Bezug auf den Düsenkörper (1020) zu bewegen und gegebenenfalls
    wobei der Durchflussregler (1050) angepasst ist, um sich axial und/oder drehend in Bezug auf den ersten Körperabschnitt (1022) zu bewegen und gegebenenfalls
    wobei der Durchflussregler (1050) angepasst ist, um sich axial und/oder drehend in Bezug auf den zweiten Körperabschnitt (1024) zu bewegen und gegebenenfalls
    wobei der Durchflussregler (1050) angepasst ist, um sich axial in Bezug auf den ersten und zweiten Körperabschnitt (1022, 1024) zu bewegen, wobei der zweite Körperabschnitt (1024) und das innere Stützelement (1060) angepasst sind, um sich drehend in Bezug auf den ersten Körperabschnitt (1022) und den Durchflussregler (1050) zu bewegen und gegebenenfalls
    wobei der Durchflussregler (1050) in Bezug auf den zweiten Körperabschnitt (1024) und das innere Stützelement (1060) gedreht werden kann und der Durchflussregler (1050) in Bezug auf den Düsenkörper (1020) und das innere Stützelement (1060) axial bewegt werden kann und gegebenenfalls
    wobei der erste Körperabschnitt (2022) einen drehenden Teil (2022a) und einen festen Teil (2022b) aufweist, wobei der drehende Teil (2022a) angepasst ist, um sich in Bezug auf den festen Teil (2022b) zu drehen, um den Durchflussregler (2050) zu drehen und gegebenenfalls
    wobei das innere Stützelement (1060) und der zweite Körperabschnitt (1024) einstückig sind und die erste Auslassöffnung durch die Anwendung einer axialen und/oder einer Rotationskraft auf das innere Stützelement (1060) verstellt werden kann und gegebenenfalls
    wobei eine Auslassfläche (3352), die durch den ersten Körperabschnitt (3022) definiert wird, angepasst ist, um in eine Auslassfläche (3354) einzugreifen, die durch den zweiten Körperabschnitt (3024) definiert wird und gegebenenfalls
    wobei mindestens eine der Auslassflächen (3352, 3354) ein Profil (3350) definiert, das angepasst ist, um die andere der Auslassflächen (3354, 3352) als Folge der Drehung von einem des ersten und zweiten Körperabschnitts (3022, 3024) in Bezug auf den anderen der Körperabschnitte (3024, 3022) zu reinigen.
  14. Düse (1010) nach einem der Ansprüche 2 bis 13, wobei die erste Auslassöffnung zwischen einer Vielzahl von vorher festgelegten Einstellungen oder innerhalb eines vorher festgelegten Bereichs verstellbar ist und gegebenenfalls
    umfassend einen Verstellmechanismus, der angepasst ist, um die erste Auslassöffnung zu verstellen und gegebenenfalls
    wobei der Verstellmechanismus einen Indiziermechanismus (3061) umfasst, der eine Vielzahl von Einstellungen aufweist, die jeweils eine erste Auslassöffnung definieren und gegebenenfalls
    wobei der Indiziermechanismus (3061) auf eine Position vorgespannt ist, bei der die erste Auslassöffnung offen ist.
  15. Verfahren zum Verdrängen von Hitze, die von einer Leuchtfackel bei einer Installation abgegeben wird, wobei das Verfahren Folgendes umfasst:
    Bereitstellen einer Düse (1010), die einen Düsenkörper (1020) und einen Durchflussregler (1050) aufweist, wobei der Düsenkörper (1020) einen Einlass (1030), einen ersten Auslass (1040) und einen Durchgang (1070) definiert, wobei sich der erste Auslass (1040) zumindest teilweise um einen Umfang des Körpers (1020) erstreckt;
    Strömen eines Stroms von Fluid durch den Düsenkörper (1020);
    Bewegen des Durchflussreglers (1050) in Bezug auf den Körper, um selektiv mindestens einen Teil des ersten Auslasses (1040) zu öffnen oder zu verschließen, um ein Fluidströmungsmuster durch den ersten Auslass (1040) zu bilden, das sich von der Düse weg erstreckt und das angepasst ist, um ein Hitzeverdrängungsschild zwischen einer Leuchtfackel und einer Installation bereitzustellen; und
    Bewegen des Durchflussreglers (1050) und/oder Bewegen eines ersten Körperabschnitts (1022) des Körpers (1020) und eines zweiten Körperabschnitts (1024) des Körpers (1020) in Bezug aufeinander, um eine Umfangsausdehnung des Fluidströmungsmusters zu ändern.
EP13709995.8A 2012-03-08 2013-03-08 Düse für einen flüssigen hitzeschild Not-in-force EP2822697B1 (de)

Applications Claiming Priority (2)

Application Number Priority Date Filing Date Title
GB1204107.5A GB2501236A (en) 2012-03-08 2012-03-08 Deluge nozzle
PCT/GB2013/050582 WO2013132269A1 (en) 2012-03-08 2013-03-08 Nozzle for a liquid heat barrier

Publications (2)

Publication Number Publication Date
EP2822697A1 EP2822697A1 (de) 2015-01-14
EP2822697B1 true EP2822697B1 (de) 2016-11-09

Family

ID=46003333

Family Applications (1)

Application Number Title Priority Date Filing Date
EP13709995.8A Not-in-force EP2822697B1 (de) 2012-03-08 2013-03-08 Düse für einen flüssigen hitzeschild

Country Status (5)

Country Link
EP (1) EP2822697B1 (de)
BR (1) BR112014022205A2 (de)
DK (1) DK2822697T3 (de)
GB (1) GB2501236A (de)
WO (1) WO2013132269A1 (de)

Cited By (1)

* Cited by examiner, † Cited by third party
Publication number Priority date Publication date Assignee Title
RU240606U1 (ru) * 2025-12-08 2026-01-20 Общество с ограниченной ответственностью научно-производственное предприятие "Ритм" Ороситель дренчерный

Families Citing this family (2)

* Cited by examiner, † Cited by third party
Publication number Priority date Publication date Assignee Title
CN107152690A (zh) * 2017-05-17 2017-09-12 北京京城环保股份有限公司 一种危险废物焚烧炉上料蒸汽灭火装置及蒸汽灭火方法
CN110420765B (zh) * 2019-07-26 2021-06-25 九牧厨卫股份有限公司 一种清洁喷头组件和自清洁浴缸

Family Cites Families (9)

* Cited by examiner, † Cited by third party
Publication number Priority date Publication date Assignee Title
US89456A (en) * 1869-04-27 Improvement in nozzles for hose-pipes
BE514221A (de) * 1952-09-10
GB1028004A (en) * 1963-09-19 1966-05-04 Fur Firestone Produkte Ag Fab Spray nozzle and method of using same
DE3822160A1 (de) * 1988-06-30 1990-01-11 Total Feuerschutz Gmbh Verfahren und vorrichtung zum verstellen eines duesenkopfes
DE19800154C2 (de) * 1998-01-05 2001-03-29 Andreas Vigh Hohlstrahldüse
US6561439B1 (en) * 2002-09-12 2003-05-13 Bonzer Robert L Dual closure nozzle
US6622947B1 (en) * 2003-01-20 2003-09-23 Joseph Rivera Rain shower head device
GB0405088D0 (en) * 2004-03-05 2004-04-07 Optima Solutions Uk Ltd Improved nozzle
GB0804135D0 (en) * 2008-03-06 2008-04-09 Rigcool Ltd Nozzle

Non-Patent Citations (1)

* Cited by examiner, † Cited by third party
Title
None *

Cited By (1)

* Cited by examiner, † Cited by third party
Publication number Priority date Publication date Assignee Title
RU240606U1 (ru) * 2025-12-08 2026-01-20 Общество с ограниченной ответственностью научно-производственное предприятие "Ритм" Ороситель дренчерный

Also Published As

Publication number Publication date
EP2822697A1 (de) 2015-01-14
GB201204107D0 (en) 2012-04-18
DK2822697T3 (en) 2017-02-13
WO2013132269A1 (en) 2013-09-12
GB2501236A (en) 2013-10-23
BR112014022205A2 (pt) 2020-06-23

Similar Documents

Publication Publication Date Title
CA2558063C (en) Improved nozzle
US4603661A (en) Hydroblast cyclone cleaner apparatus and method
US20130256216A1 (en) Choke Assembly
EP2822697B1 (de) Düse für einen flüssigen hitzeschild
CN108348797A (zh) 消防喷嘴
DE69307919T2 (de) Reinigungsgerät für wärmetauschflächen
US7997334B2 (en) Apparatus and method
EP2312255A2 (de) Verfahren und Vorrichtung zur Reinigung von rauchgasbeaufschlagten Heizflächen eines Wärmetauschers in einer Verbrennungsanlage während des Betriebs derselben
WO2009109790A2 (en) Nozzle
KR101650313B1 (ko) 해양플랜트의 유정 제어용 초크 밸브
KR101058570B1 (ko) 소방용 관창
KR101760098B1 (ko) 관로 준설용 노즐
US12203342B2 (en) Wash tool apparatus and method of using the same
AU2009101068B4 (en) Nozzle having a fluid deflector
AU2008200503C9 (en) Improved Nozzle
GB2433710A (en) Nozzle with fluid deflector arrangement
RU2483158C1 (ru) Вихревой водосброс
US1011315A (en) Convertible hose-nozzle.
AU2008101132B4 (en) Nozzle
KR101951570B1 (ko) 미분무 노즐
GB2465427A (en) Nozzle having upstream and downstream conical deflectors
AU2008252007B2 (en) Nozzle

Legal Events

Date Code Title Description
PUAI Public reference made under article 153(3) epc to a published international application that has entered the european phase

Free format text: ORIGINAL CODE: 0009012

17P Request for examination filed

Effective date: 20141008

AK Designated contracting states

Kind code of ref document: A1

Designated state(s): AL AT BE BG CH CY CZ DE DK EE ES FI FR GB GR HR HU IE IS IT LI LT LU LV MC MK MT NL NO PL PT RO RS SE SI SK SM TR

AX Request for extension of the european patent

Extension state: BA ME

DAX Request for extension of the european patent (deleted)
REG Reference to a national code

Ref country code: DE

Ref legal event code: R079

Ref document number: 602013013774

Country of ref document: DE

Free format text: PREVIOUS MAIN CLASS: B05B0001300000

Ipc: E21B0041000000

GRAP Despatch of communication of intention to grant a patent

Free format text: ORIGINAL CODE: EPIDOSNIGR1

RIC1 Information provided on ipc code assigned before grant

Ipc: B05B 1/30 20060101ALI20160322BHEP

Ipc: B05B 1/26 20060101ALI20160322BHEP

Ipc: E21B 41/00 20060101AFI20160322BHEP

INTG Intention to grant announced

Effective date: 20160426

GRAJ Information related to disapproval of communication of intention to grant by the applicant or resumption of examination proceedings by the epo deleted

Free format text: ORIGINAL CODE: EPIDOSDIGR1

INTC Intention to grant announced (deleted)
GRAJ Information related to disapproval of communication of intention to grant by the applicant or resumption of examination proceedings by the epo deleted

Free format text: ORIGINAL CODE: EPIDOSDIGR1

GRAR Information related to intention to grant a patent recorded

Free format text: ORIGINAL CODE: EPIDOSNIGR71

GRAS Grant fee paid

Free format text: ORIGINAL CODE: EPIDOSNIGR3

GRAA (expected) grant

Free format text: ORIGINAL CODE: 0009210

INTG Intention to grant announced

Effective date: 20160929

AK Designated contracting states

Kind code of ref document: B1

Designated state(s): AL AT BE BG CH CY CZ DE DK EE ES FI FR GB GR HR HU IE IS IT LI LT LU LV MC MK MT NL NO PL PT RO RS SE SI SK SM TR

REG Reference to a national code

Ref country code: GB

Ref legal event code: FG4D

REG Reference to a national code

Ref country code: AT

Ref legal event code: REF

Ref document number: 844109

Country of ref document: AT

Kind code of ref document: T

Effective date: 20161115

Ref country code: CH

Ref legal event code: EP

REG Reference to a national code

Ref country code: IE

Ref legal event code: FG4D

REG Reference to a national code

Ref country code: DE

Ref legal event code: R096

Ref document number: 602013013774

Country of ref document: DE

REG Reference to a national code

Ref country code: DK

Ref legal event code: T3

Effective date: 20170209

REG Reference to a national code

Ref country code: NL

Ref legal event code: FP

PG25 Lapsed in a contracting state [announced via postgrant information from national office to epo]

Ref country code: LV

Free format text: LAPSE BECAUSE OF FAILURE TO SUBMIT A TRANSLATION OF THE DESCRIPTION OR TO PAY THE FEE WITHIN THE PRESCRIBED TIME-LIMIT

Effective date: 20161109

REG Reference to a national code

Ref country code: LT

Ref legal event code: MG4D

REG Reference to a national code

Ref country code: NO

Ref legal event code: T2

Effective date: 20161109

REG Reference to a national code

Ref country code: AT

Ref legal event code: MK05

Ref document number: 844109

Country of ref document: AT

Kind code of ref document: T

Effective date: 20161109

PG25 Lapsed in a contracting state [announced via postgrant information from national office to epo]

Ref country code: LT

Free format text: LAPSE BECAUSE OF FAILURE TO SUBMIT A TRANSLATION OF THE DESCRIPTION OR TO PAY THE FEE WITHIN THE PRESCRIBED TIME-LIMIT

Effective date: 20161109

Ref country code: SE

Free format text: LAPSE BECAUSE OF FAILURE TO SUBMIT A TRANSLATION OF THE DESCRIPTION OR TO PAY THE FEE WITHIN THE PRESCRIBED TIME-LIMIT

Effective date: 20161109

Ref country code: GR

Free format text: LAPSE BECAUSE OF FAILURE TO SUBMIT A TRANSLATION OF THE DESCRIPTION OR TO PAY THE FEE WITHIN THE PRESCRIBED TIME-LIMIT

Effective date: 20170210

PG25 Lapsed in a contracting state [announced via postgrant information from national office to epo]

Ref country code: PT

Free format text: LAPSE BECAUSE OF FAILURE TO SUBMIT A TRANSLATION OF THE DESCRIPTION OR TO PAY THE FEE WITHIN THE PRESCRIBED TIME-LIMIT

Effective date: 20170309

Ref country code: RS

Free format text: LAPSE BECAUSE OF FAILURE TO SUBMIT A TRANSLATION OF THE DESCRIPTION OR TO PAY THE FEE WITHIN THE PRESCRIBED TIME-LIMIT

Effective date: 20161109

Ref country code: IS

Free format text: LAPSE BECAUSE OF FAILURE TO SUBMIT A TRANSLATION OF THE DESCRIPTION OR TO PAY THE FEE WITHIN THE PRESCRIBED TIME-LIMIT

Effective date: 20170309

Ref country code: ES

Free format text: LAPSE BECAUSE OF FAILURE TO SUBMIT A TRANSLATION OF THE DESCRIPTION OR TO PAY THE FEE WITHIN THE PRESCRIBED TIME-LIMIT

Effective date: 20161109

Ref country code: AT

Free format text: LAPSE BECAUSE OF FAILURE TO SUBMIT A TRANSLATION OF THE DESCRIPTION OR TO PAY THE FEE WITHIN THE PRESCRIBED TIME-LIMIT

Effective date: 20161109

Ref country code: HR

Free format text: LAPSE BECAUSE OF FAILURE TO SUBMIT A TRANSLATION OF THE DESCRIPTION OR TO PAY THE FEE WITHIN THE PRESCRIBED TIME-LIMIT

Effective date: 20161109

Ref country code: PL

Free format text: LAPSE BECAUSE OF FAILURE TO SUBMIT A TRANSLATION OF THE DESCRIPTION OR TO PAY THE FEE WITHIN THE PRESCRIBED TIME-LIMIT

Effective date: 20161109

Ref country code: FI

Free format text: LAPSE BECAUSE OF FAILURE TO SUBMIT A TRANSLATION OF THE DESCRIPTION OR TO PAY THE FEE WITHIN THE PRESCRIBED TIME-LIMIT

Effective date: 20161109

PG25 Lapsed in a contracting state [announced via postgrant information from national office to epo]

Ref country code: RO

Free format text: LAPSE BECAUSE OF FAILURE TO SUBMIT A TRANSLATION OF THE DESCRIPTION OR TO PAY THE FEE WITHIN THE PRESCRIBED TIME-LIMIT

Effective date: 20161109

Ref country code: CZ

Free format text: LAPSE BECAUSE OF FAILURE TO SUBMIT A TRANSLATION OF THE DESCRIPTION OR TO PAY THE FEE WITHIN THE PRESCRIBED TIME-LIMIT

Effective date: 20161109

Ref country code: SK

Free format text: LAPSE BECAUSE OF FAILURE TO SUBMIT A TRANSLATION OF THE DESCRIPTION OR TO PAY THE FEE WITHIN THE PRESCRIBED TIME-LIMIT

Effective date: 20161109

Ref country code: EE

Free format text: LAPSE BECAUSE OF FAILURE TO SUBMIT A TRANSLATION OF THE DESCRIPTION OR TO PAY THE FEE WITHIN THE PRESCRIBED TIME-LIMIT

Effective date: 20161109

REG Reference to a national code

Ref country code: DE

Ref legal event code: R097

Ref document number: 602013013774

Country of ref document: DE

PG25 Lapsed in a contracting state [announced via postgrant information from national office to epo]

Ref country code: BG

Free format text: LAPSE BECAUSE OF FAILURE TO SUBMIT A TRANSLATION OF THE DESCRIPTION OR TO PAY THE FEE WITHIN THE PRESCRIBED TIME-LIMIT

Effective date: 20170209

Ref country code: BE

Free format text: LAPSE BECAUSE OF FAILURE TO SUBMIT A TRANSLATION OF THE DESCRIPTION OR TO PAY THE FEE WITHIN THE PRESCRIBED TIME-LIMIT

Effective date: 20161109

Ref country code: IT

Free format text: LAPSE BECAUSE OF FAILURE TO SUBMIT A TRANSLATION OF THE DESCRIPTION OR TO PAY THE FEE WITHIN THE PRESCRIBED TIME-LIMIT

Effective date: 20161109

Ref country code: SM

Free format text: LAPSE BECAUSE OF FAILURE TO SUBMIT A TRANSLATION OF THE DESCRIPTION OR TO PAY THE FEE WITHIN THE PRESCRIBED TIME-LIMIT

Effective date: 20161109

PLBE No opposition filed within time limit

Free format text: ORIGINAL CODE: 0009261

STAA Information on the status of an ep patent application or granted ep patent

Free format text: STATUS: NO OPPOSITION FILED WITHIN TIME LIMIT

REG Reference to a national code

Ref country code: DE

Ref legal event code: R119

Ref document number: 602013013774

Country of ref document: DE

26N No opposition filed

Effective date: 20170810

REG Reference to a national code

Ref country code: CH

Ref legal event code: PL

PG25 Lapsed in a contracting state [announced via postgrant information from national office to epo]

Ref country code: MC

Free format text: LAPSE BECAUSE OF FAILURE TO SUBMIT A TRANSLATION OF THE DESCRIPTION OR TO PAY THE FEE WITHIN THE PRESCRIBED TIME-LIMIT

Effective date: 20161109

Ref country code: SI

Free format text: LAPSE BECAUSE OF FAILURE TO SUBMIT A TRANSLATION OF THE DESCRIPTION OR TO PAY THE FEE WITHIN THE PRESCRIBED TIME-LIMIT

Effective date: 20161109

REG Reference to a national code

Ref country code: IE

Ref legal event code: MM4A

REG Reference to a national code

Ref country code: FR

Ref legal event code: ST

Effective date: 20171130

PG25 Lapsed in a contracting state [announced via postgrant information from national office to epo]

Ref country code: DE

Free format text: LAPSE BECAUSE OF NON-PAYMENT OF DUE FEES

Effective date: 20171003

Ref country code: FR

Free format text: LAPSE BECAUSE OF NON-PAYMENT OF DUE FEES

Effective date: 20170331

Ref country code: LU

Free format text: LAPSE BECAUSE OF NON-PAYMENT OF DUE FEES

Effective date: 20170308

PG25 Lapsed in a contracting state [announced via postgrant information from national office to epo]

Ref country code: LI

Free format text: LAPSE BECAUSE OF NON-PAYMENT OF DUE FEES

Effective date: 20170331

Ref country code: IE

Free format text: LAPSE BECAUSE OF NON-PAYMENT OF DUE FEES

Effective date: 20170308

Ref country code: CH

Free format text: LAPSE BECAUSE OF NON-PAYMENT OF DUE FEES

Effective date: 20170331

PG25 Lapsed in a contracting state [announced via postgrant information from national office to epo]

Ref country code: MT

Free format text: LAPSE BECAUSE OF NON-PAYMENT OF DUE FEES

Effective date: 20170308

PG25 Lapsed in a contracting state [announced via postgrant information from national office to epo]

Ref country code: HU

Free format text: LAPSE BECAUSE OF FAILURE TO SUBMIT A TRANSLATION OF THE DESCRIPTION OR TO PAY THE FEE WITHIN THE PRESCRIBED TIME-LIMIT; INVALID AB INITIO

Effective date: 20130308

PG25 Lapsed in a contracting state [announced via postgrant information from national office to epo]

Ref country code: CY

Free format text: LAPSE BECAUSE OF FAILURE TO SUBMIT A TRANSLATION OF THE DESCRIPTION OR TO PAY THE FEE WITHIN THE PRESCRIBED TIME-LIMIT

Effective date: 20161109

PG25 Lapsed in a contracting state [announced via postgrant information from national office to epo]

Ref country code: MK

Free format text: LAPSE BECAUSE OF FAILURE TO SUBMIT A TRANSLATION OF THE DESCRIPTION OR TO PAY THE FEE WITHIN THE PRESCRIBED TIME-LIMIT

Effective date: 20161109

PG25 Lapsed in a contracting state [announced via postgrant information from national office to epo]

Ref country code: TR

Free format text: LAPSE BECAUSE OF FAILURE TO SUBMIT A TRANSLATION OF THE DESCRIPTION OR TO PAY THE FEE WITHIN THE PRESCRIBED TIME-LIMIT

Effective date: 20161109

PGFP Annual fee paid to national office [announced via postgrant information from national office to epo]

Ref country code: NO

Payment date: 20200310

Year of fee payment: 8

Ref country code: DK

Payment date: 20200310

Year of fee payment: 8

Ref country code: NL

Payment date: 20200312

Year of fee payment: 8

Ref country code: GB

Payment date: 20200226

Year of fee payment: 8

PG25 Lapsed in a contracting state [announced via postgrant information from national office to epo]

Ref country code: AL

Free format text: LAPSE BECAUSE OF FAILURE TO SUBMIT A TRANSLATION OF THE DESCRIPTION OR TO PAY THE FEE WITHIN THE PRESCRIBED TIME-LIMIT

Effective date: 20161109

REG Reference to a national code

Ref country code: NO

Ref legal event code: MMEP

REG Reference to a national code

Ref country code: DK

Ref legal event code: EBP

Effective date: 20210331

REG Reference to a national code

Ref country code: NL

Ref legal event code: MM

Effective date: 20210401

GBPC Gb: european patent ceased through non-payment of renewal fee

Effective date: 20210308

PG25 Lapsed in a contracting state [announced via postgrant information from national office to epo]

Ref country code: NL

Free format text: LAPSE BECAUSE OF NON-PAYMENT OF DUE FEES

Effective date: 20210401

Ref country code: NO

Free format text: LAPSE BECAUSE OF NON-PAYMENT OF DUE FEES

Effective date: 20210331

Ref country code: GB

Free format text: LAPSE BECAUSE OF NON-PAYMENT OF DUE FEES

Effective date: 20210308

PG25 Lapsed in a contracting state [announced via postgrant information from national office to epo]

Ref country code: DK

Free format text: LAPSE BECAUSE OF NON-PAYMENT OF DUE FEES

Effective date: 20210331