EP2676527B1 - Austauschbares led-modul mit datenspeicher und led-betriebsgerät dafür - Google Patents

Austauschbares led-modul mit datenspeicher und led-betriebsgerät dafür Download PDF

Info

Publication number
EP2676527B1
EP2676527B1 EP12709816.8A EP12709816A EP2676527B1 EP 2676527 B1 EP2676527 B1 EP 2676527B1 EP 12709816 A EP12709816 A EP 12709816A EP 2676527 B1 EP2676527 B1 EP 2676527B1
Authority
EP
European Patent Office
Prior art keywords
memory
led module
interface
module
operating device
Prior art date
Legal status (The legal status is an assumption and is not a legal conclusion. Google has not performed a legal analysis and makes no representation as to the accuracy of the status listed.)
Active
Application number
EP12709816.8A
Other languages
English (en)
French (fr)
Other versions
EP2676527A1 (de
Inventor
Simon SEICHE
Markus Rhein
Michael Härtl
Current Assignee (The listed assignees may be inaccurate. Google has not performed a legal analysis and makes no representation or warranty as to the accuracy of the list.)
Osram SBT GmbH
Original Assignee
Siteco Beleuchtungstechnik GmbH
Priority date (The priority date is an assumption and is not a legal conclusion. Google has not performed a legal analysis and makes no representation as to the accuracy of the date listed.)
Filing date
Publication date
Application filed by Siteco Beleuchtungstechnik GmbH filed Critical Siteco Beleuchtungstechnik GmbH
Priority to EP17186438.2A priority Critical patent/EP3270663B1/de
Publication of EP2676527A1 publication Critical patent/EP2676527A1/de
Application granted granted Critical
Publication of EP2676527B1 publication Critical patent/EP2676527B1/de
Active legal-status Critical Current
Anticipated expiration legal-status Critical

Links

Images

Classifications

    • HELECTRICITY
    • H05ELECTRIC TECHNIQUES NOT OTHERWISE PROVIDED FOR
    • H05BELECTRIC HEATING; ELECTRIC LIGHT SOURCES NOT OTHERWISE PROVIDED FOR; CIRCUIT ARRANGEMENTS FOR ELECTRIC LIGHT SOURCES, IN GENERAL
    • H05B45/00Circuit arrangements for operating light-emitting diodes [LED]
    • H05B45/10Controlling the intensity of the light
    • HELECTRICITY
    • H05ELECTRIC TECHNIQUES NOT OTHERWISE PROVIDED FOR
    • H05BELECTRIC HEATING; ELECTRIC LIGHT SOURCES NOT OTHERWISE PROVIDED FOR; CIRCUIT ARRANGEMENTS FOR ELECTRIC LIGHT SOURCES, IN GENERAL
    • H05B45/00Circuit arrangements for operating light-emitting diodes [LED]
    • H05B45/30Driver circuits
    • H05B45/32Pulse-control circuits
    • H05B45/325Pulse-width modulation [PWM]
    • HELECTRICITY
    • H05ELECTRIC TECHNIQUES NOT OTHERWISE PROVIDED FOR
    • H05BELECTRIC HEATING; ELECTRIC LIGHT SOURCES NOT OTHERWISE PROVIDED FOR; CIRCUIT ARRANGEMENTS FOR ELECTRIC LIGHT SOURCES, IN GENERAL
    • H05B45/00Circuit arrangements for operating light-emitting diodes [LED]
    • H05B45/30Driver circuits
    • H05B45/37Converter circuits

Definitions

  • the invention relates to an LED lamp with an operating device and at least one LED module, wherein the at least one LED module is in particular interchangeable.
  • LED lights of the type mentioned can be used in particular in the field of exterior or interior lighting, in display devices, headlights or facilities for traffic route lighting.
  • An LED luminaire is a luminaire in which a single or a plurality of LEDs is used as the light source.
  • an LED is a light emitting device (light emitting device), in particular a light emitting diode (light emitting diode) understood.
  • light emitting device in particular a light emitting diode (light emitting diode) understood.
  • organic light emitting devices in particular organic light emitting diodes (OLED, organic light emitting diode).
  • individual or a multiplicity of LEDs are arranged on one or more subassemblies which mechanically hold the LED and contact it electrically and are referred to as an LED module.
  • LEDs are increasingly being used, as they have a high efficiency in the conversion of electrical operating energy into usable light and also allow the generation of light of different colors. Further advantages with the use of LEDs are the robustness of the light source with regard to mechanical stress, a favorable operating behavior at low ambient temperatures as well as good switchability and dimmability. Furthermore, LEDs typically have a long life.
  • the useful life of a lamp exceeds the life of the LED used or the LED module used so that this on his End of life must be replaced with a new one to put the lamp back into an operable state.
  • Replacement may be required due to premature failure or normal aging of the LED module. In some applications, replacement is required in particular when the amount of light emitted or the color location of the emitted light have changed so much over time that they are outside a desired range. Replacement of an LED module may also be desired to use a more energy efficient LED module.
  • Replaceable lamp modules are for example from the DE 10 2007 031 721 A1 known.
  • a luminaire module is assigned to a node of a network.
  • the lamp module is further separably connected to an external memory, in which the addressing of the lamp module is stored in the network.
  • the external memory can be connected to the new lamp module so that the addressing of the node is preserved
  • the document discloses DE 10 2005 018 175 A1 an LED module in which an LED array and a corresponding control unit are arranged on a support.
  • the LED module is supplied with a direct or alternating voltage, for example a DC voltage of 12V which is customary in the field of motor vehicles, which is transformed by means located on the carrier to the operating voltage provided for operation of the LED array.
  • a direct or alternating voltage for example a DC voltage of 12V which is customary in the field of motor vehicles, which is transformed by means located on the carrier to the operating voltage provided for operation of the LED array.
  • the entire LED module including control unit is replaced.
  • WO 2009/156590 A1 discloses a luminaire with modules comprising a controller and a replaceable luminaire component.
  • the replaceable luminaire component includes light sources and a memory. To compensate for the changes in light intensity caused by the aging process of the light sources, electrical power can be adjusted.
  • WO 2007/104137 A2 discloses a lighting unit that includes LEDs and a memory device on a carrier.
  • the illumination unit is connected to a control system, wherein the control system can access the memory device for reading out characteristics of the LEDs.
  • the operating device is designed for releasable connection to an LED module.
  • the operating device has a power supply interface and a memory access interface and includes an electronic ballast.
  • the electronic ballast is connected to the power delivery interface, the ballast providing power to the LED module at the power delivery interface with at least one adjustable operating parameter.
  • the operating device is further configured to receive module information from a module memory of the LED module via the memory access interface.
  • the electronic ballast sets the operating parameters depending on the received module information.
  • the operating device is thus configured to receive module information from the LED module after replacement of the connected LED module and to adjust the supply power of the LED module according to the module information received.
  • Module information can include a type, a year of manufacture, a type designation, a serial number, a coding, information whether the module was already in operation, an operating hours, one or more electrical and / or lighting parameters of the LED module such as a luminous flux , a light color, a shutdown temperature and / or an LED current at startup include.
  • the serial number may be a 48-bit wide number.
  • the module information may have a value for a luminous flux at a given electric supply current, for example, the luminous flux of a group of LED of the LED module at an electric current of 350 mA per LED, a supply current, a supply voltage and / or a permissible range thereof include, in the manufacture of the LED module is stored in the module memory.
  • the module information may also include current parameters that are stored in the module memory during operation of the LED module, such as a dimming stage or a current LED current.
  • the current LED current may be higher than a rated LED current at startup to compensate for LED aging. It may alternatively be reduced with respect to this in order to reduce the luminous flux to a desired value.
  • the module information can be received by the operating device in analog and / or digital form.
  • the electronic ballast may further include a circuit that adjusts the operating parameter.
  • the circuit may be provided as a separate component of the operating device or integrated into the electronic ballast.
  • the circuit may be designed in particular as a microcontroller. Also possible is an analog, a digital or a mixed control of the operating parameter.
  • the circuit may be configured to set the operating parameter according to a predetermined programming. In this case, the programming can for example provide for a reduction of the luminous flux during a time interval.
  • the operating device may be for releasably connecting to multiple LED modules.
  • the operating device may in particular have a plurality of pairs of power supply interfaces and memory access interfaces for releasable connection to one LED module each.
  • a separate ballast of the operating device may be provided for each pair.
  • an electronic ballast may be provided which is connected to each of the pairs.
  • the operating device may, in some embodiments, further be configured to receive, via the memory access interface, other than module information stored in a module memory of the LED module.
  • the operating device is set up to receive at least one module parameter of the LED module, for example a temperature, via the memory access interface.
  • the operating device further sets the operating parameter as a function of the at least one received module parameter.
  • the power supply interface and the memory access interface of the operating device are combined to form an operating device interface for a multi-core, in particular a two- or four-wire line-connected connection to the LED module.
  • the adjustable operating parameter is a voltage, a current, a sampling ratio of a pulse width modulation and / or an amplitude ratio of an amplitude modulation.
  • the ballast further determines the type of supply power for the LED module as a function of the received module information.
  • the ballast provides the supply power depending on the received module information by means of current control and / or voltage control. It is furthermore preferred that a pulse width modulation method or an amplitude modulation method is used in a current control.
  • This allows a flexible use of the operating device according to the invention.
  • information may be stored in the module memory of the LED module that a group of LEDs of the LED module is to be supplied with electrical power by means of a pulse width modulation.
  • the operating device further has an operating memory or an operating memory interface for connecting an operating memory, wherein the ballast further sets the operating parameter as a function of information stored in the operating memory.
  • the operating memory can be firmly integrated into the operating device, in particular in the electronic ballast.
  • the operating device may have a memory interface for connecting an external memory which can be detachably connected to the memory interface, for example via a standardized interface, e.g. by means of a plug principle such as in particular a USB interface.
  • the operating memory interface can also be configured wirelessly, for example as a radio interface.
  • the operating memory may further comprise an integrated memory circuit.
  • the operating memory may comprise an EPROM, an EEPROM, a flash memory and / or a DRAM. It is particularly preferred that the operating memory comprises a non-volatile memory. This offers the advantage that information stored there is retained even in the event of a mains failure of the operating device.
  • Application-specific data such as, for example, a desired luminous flux, a desired light distribution and / or a desired light color can also be stored in the operating memory.
  • a type of construction, a year of manufacture, a type designation, a serial number and / or a coding of the operating device can be included in the operating memory.
  • one or more module information of one or more currently or previously connected LED modules can be stored in the operating memory.
  • the operating memory includes a coding of the operating device and that the module information includes a coding of the LED module.
  • the electronic ballast is set up to provide the supply only if the coding of the operating device and the coding of the LED module correspond to each other.
  • the operating device is set up to store a coding of a connected LED module.
  • the operating device can check whether a currently connected LED module was already connected beforehand, or whether it is a new LED module from the point of view of the operating device.
  • the operating device may be configured to set the operating parameter depending on the result of the check. It is further preferred that the operating device is set up to store operating data of the electronic ballast, in particular an operating hours number, in the operating memory.
  • the operating device may also be connected to a display element such as an optical display or a sound generator.
  • the operating device may be connected to a central unit with which it exchanges information.
  • the operating device may be set up to transmit an operating hours number, an operating state, etc. of the operating device and / or one or more LED modules to the central unit.
  • the information can be transmitted between the operating device and the central unit via a wired communication or a radio network.
  • a data line between the operating device and the central unit may be provided.
  • the operating device may be configured to receive information from the central unit via a supply line provided for supplying power to the operating device and / or to send it to the central unit.
  • the operating device further has an operating memory access interface for reading out data of the operating memory and / or for storing data in the operating memory.
  • the memory access interface also provides, in some embodiments, the ability to store data in the memory used to operate the electrical ballast. For example, a desired luminous flux or a desired light color can be stored in the operating memory. Alternatively or additionally, coding via the operating memory access interface can also be stored in the operating memory. As a result, the coding of the operating device can be adapted when the operating device is to be used for example in a new application. The data stored in the operating memory can then be used by the electronic ballast to supply the LED module in accordance with electrical power.
  • the memory access interface may be wired or wireless.
  • the operating memory access interface may in particular be provided at a power supply input of the operating device. In this way, only one connection to the operating device is required in order to both receive the electrical supply and to enable data transmission.
  • the operating memory interface for connecting an operating memory is further connected to the memory access interface for transferring module information received from the module memory of the LED module into the operating memory and / or for information from the operating memory to the LED module transferred to.
  • This embodiment allows the exchange of data between the module memory of the LED module and the operating memory of the operating device.
  • the transfer of data from the module memory in the operating memory has the advantage that the data of the LED module can be queried by the operating device at a greater time interval and then present in the operating memory. This is particularly advantageous if the connection between the memory interface and the memory access interface is established via an energy-intensive medium, such as a radio link.
  • an energy-intensive medium such as a radio link.
  • module information it is only necessary to transfer them once after replacing the LED module in the operating memory. This is particularly the case for module information, such as the LED module type, the type, etc.
  • the complete data stored in the module memory of the LED module data are transmitted to the operating memory of the operating device and / or that the data stored in the operating memory of the operating device are completely transferred to the module memory of the LED module.
  • the data assigned to an LED module, stored in the operating memory of the operating device is transferred to the module memory of the corresponding LED module. The transmission takes place in particular by means of the memory interface of the LED module and the memory access interface of the operating device.
  • this In conjunction with an operating memory access interface for reading out data of the operating memory and / or for writing data into the operating memory, this also has the advantage that during operation the information stored in the module memory of the LED module can be accessed without the LED. To remove this module.
  • a central processing unit for example, a central monitoring device which is connected to the operating device via the operating memory access interface, a temperature of the LED module are monitored, which is stored as module information in the module memory.
  • the electronic ballast at the power supply interface provides the power supply on multiple channels to power multiple groups of LEDs of the LED module, each with at least one adjustable operating parameter.
  • This embodiment allows the separate driving of multiple groups of LED of the LED module.
  • the groups may differ, for example, in a spatial arrangement, a spatial orientation, a light color and / or an intensity.
  • the adjustable operating parameter may be different or the same for different channels.
  • the ballast may provide the adjustable operating parameter for the various channels each depending on the, assigned to the different groups of LED module information.
  • the electronic ballast provides the power on the channels in different ways.
  • one of the channels can be controlled by means of a pulse width modulation and another channel by means of an amplitude modulation of the ballast.
  • the type of control is determined by the ballast in response to received module information.
  • the present invention comprises an LED module for releasable connection to an operating device of the type described.
  • the LED module according to the invention in this case has a power interface for releasably connecting to the power supply interface of the operating device and a memory interface for releasably connecting to the memory access interface of the operating device on.
  • the power interface is connected to at least one group of LEDs of the LED module, such that an electrical supply power provided at the power interface is supplied to the at least one group of LEDs.
  • the LED module further has a module memory or a module memory interface for connection to a module memory, wherein the module memory or the module memory interface is connected to the memory interface.
  • the supply power can be supplied directly to the at least one group of LEDs.
  • the term "immediate” is understood to mean that the LED module between the power interface and the group of LEDs has no active means for transforming the power supply provided at the power interface.
  • a converter may be provided on the LED module that transforms the supply power provided at the power providing interface before it is fed to the group of LEDs.
  • the module memory is used in particular for storing module information of the type described above.
  • the module memory can be set up to store module information in analog and / or digital form.
  • the power interface and the memory interface of the LED module are combined to form a module interface for a multi-core, in particular a two- or four-wire line-connected connection to the operating device.
  • a multi-core in particular a two- or four-wire line-connected connection to the operating device.
  • data exchange and supply can take place here via the same two-wire connection between operating device and LED module, so that connecting lines are saved.
  • the LED module in this case has a plurality of groups of LEDs, wherein the power interface has a plurality of channels. Each channel is connected to a group of LEDs, so that the several groups of LEDs are supplied separately with electrical power.
  • the LEDs of the multiple groups may be of the same or different type.
  • the groups of LEDs may also have a different arrangement, spatial orientation, light color and / or intensity.
  • the LED module further comprises a microcontroller.
  • the microcontroller can be set up to enable data transmission between the LED module and a connected operating device.
  • the microcontroller can also be set up to compare information received from the operating device with information stored in the module memory. In this way, a compatibility between the LED module and the operating device can be determined.
  • the LED module further comprises at least one sensor for detecting at least one module parameter, in particular a temperature, a luminous flux and / or a light color of the LED module.
  • the sensor is in this case with the memory interface and / or with the module memory or the module memory interface connected.
  • the sensor can be firmly connected to the LED module or be connectable by means of a sensor interface with the LED module.
  • the LED module may further comprise means for mounting the sensor.
  • the sensor can be assigned, for example, an LED, a group of LEDs or a heat sink. Alternatively, the sensor may be configured to detect an ambient temperature of the LED module. In embodiments in which the sensor is connected to the module memory or to the module memory interface, the detected module parameter can also be written into the module memory, from where it can be interrogated by the operating device via the memory interface. Alternatively or additionally, the sensor may also be connected to the memory interface so that a connected operating device can receive the detected module parameter from the sensor.
  • the senor makes it possible to regulate the electrical supply power of the LED module as a function of the detected module parameter. If, for example, the luminous flux detected by the sensor is higher than a desired luminous flux stored in the operating memory of the operating device, the electrical ballast of the operating device can reduce the supply power provided.
  • the LED module may further include a plurality of sensors each associated with one or more of the groups. This allows separate collection of group-specific parameters. If the LED module has, for example, a first and a second group of LEDs, and if the first group is supplied with power by the operating device via a first channel, then it can be provided that the ballast regulates the operating parameter for the first channel as a function of one or more module parameters detected by one or more sensors associated with the first group of LEDs.
  • the LED module is configured to receive data from the operating device via the memory interface and store it in the module memory.
  • a programming of the operating device can be written in the module memory of the LED module in this way. This is advantageous, for example, when the operating device is replaced, since in this embodiment it is possible to dispense with a complex external reprogramming of the new operating device.
  • the necessary programming can be done by connecting to the LED module.
  • the operating device may be programmed to reduce the luminous flux to a reduction value in a predetermined time window.
  • This programming can be stored in the operating memory of the operating device. Via the memory access interface of the operating device, this programming can be transferred to the module memory of a connected LED module. If the operating device, for example, after a failure, is replaced and connected to the existing LED module, stored in the module memory of the LED module programming via the memory interface of the LED module and the memory access interface of the operating device in the memory of the new operating device be transmitted.
  • the LED module further comprises at least one optical device for directing a luminous flux of at least one LED of the LED module, in particular a reflector and / or a diffuser.
  • the optical device can be tuned directly to the LED used in the LED module. This has particular advantages if the emission behavior of the LED of the new LED module differs after the exchange of the radiation behavior of the LED of the old LED module.
  • the optical device can thus be optimized directly for the LED of the new LED module.
  • the optical element associated with the luminaire may, for example, comprise a reflector, a diffuser and / or a lens.
  • the module memory further comprises a non-volatile memory, which in particular has an integrated circuit.
  • the non-volatile memory offers the advantage that the stored information is retained even in the event of a power failure.
  • the non-volatile memory may include an EPROM, an EEPROM, a flash memory or other electrical, optical or magnetic memory.
  • the module memory can be supplied with electrical power via the power interface of the LED module, the memory interface of the LED module, a separate memory supply interface and / or a battery provided on the LED module.
  • the memory access interface or the memory interface further comprises a wired electrical interface, an optical interface and / or a radio interface.
  • a line-connected electrical interface offers the advantage that a connection of the memory access interface of the memory interface is possible simultaneously with the merging of the power interface with the power supply interface. This represents a simple and cost-effective connection possibility.
  • the use of an optical interface also has the advantage that aging phenomena such as electromigration or corrosion of the connection contacts is avoided.
  • the provision of a radio interface also offers the advantage that the operating device and the module memory can be arranged away from each other. This is particularly advantageous for large-area or elongated LED modules. Further, this allows an externally located monitoring element, such as a central processing unit, to receive the transmitted information.
  • the use of a radio interface is also advantageous if a plurality of LED modules are assigned to an operating device, as in this case only one memory access interface is required by the operating device.
  • the LED module and / or the operating device can also be designed with a low or a high degree of protection, eg IP20 or IP65.
  • the power interface, the power supply interface, the memory interface, and / or the memory access interface may satisfy a low or a high degree of protection.
  • the operating device or the LED module further comprises a means for tool-free connection of the LED module to the operating device, in particular for connecting the memory access interface to the memory interface and / or for connecting the power supply interface with the power interface, wherein the means for tool-less Connecting preferably comprises a plug or a socket.
  • the same or different means for connecting the power supply interface or the power interface can be provided for the memory access interface or the memory interface.
  • a common connection plug or a common connection socket can be provided on the part of the LED module and / or the operating device.
  • a screw base for connection to the LED module or the operating device may also be provided on the operating device or the LED module.
  • the tool for tool-free connection can be set up to effect at the same time a mechanical support of the LED module.
  • the operating device or the LED module may further comprise a cooling interface for thermal coupling to a corresponding cooling interface of the LED module or the operating device.
  • the cooling interface may comprise a cooling element made of a material which conducts heat well, such as e.g. Include aluminum.
  • the cooling element may have a plurality of means for enlarging the surface, such as ribs.
  • An advantage of the operating device according to the invention and the LED module according to the invention can be illustrated, for example, with reference to the following calculation example:
  • An LED module is operated at commissioning to achieve a luminous flux of 8,800 lumens with an LED current of 510 mA, resulting in a total power consumption of 110 W yields.
  • an LED current of 695 mA is required, which corresponds to a total power consumption of 140 W. It is assumed here that the operating device appropriately boosts the LED current in order to maintain the desired luminous flux.
  • the LED module now fails at this time and would be replaced by a new LED module, without the information flow according to the invention between the LED module and the operating device, it would continue to be supplied by the operating device an LED current of 695 mA can be provided. This would correspond to a luminous flux of 10,400 lumens and would therefore be 1,600 lumens higher than the desired luminous flux.
  • the LED module with module memory according to the invention the replacement of the LED module for the operating device can be seen, wherein the operating device according to the invention correspondingly reduces the LED current after replacement of the LED module, so that the luminous flux corresponds to the desired value.
  • the new operating device would provide an LED current of 510 mA without the data exchange between the LED module and the operating device according to the invention. Due to the aging of the LED module, however, this would only correspond to a luminous flux of 7,100 lumens, so that the luminous flux would be 1,600 lumens lower than the desired luminous flux.
  • the operating device according to the invention recognizes the aging state of the connected LED module based on the number of operating hours stored there in the module memory and increases the LED current such that the desired luminous flux sets.
  • the method can also be used with another than the operating device described above or the LED module described above, provided that they are set up for transmitting programming parameters between the LED module and the operating device.
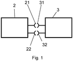
  • the in the in FIG. 1 illustrated embodiment of a lamp according to the invention comprises an operating device 2 and an LED module 3.
  • the operating device 2 is provided with a power supply interface 21 and a memory access interface 22.
  • the LED module 3 has a power section 31 and a memory interface 32.
  • the power providing interface 21 is detachably connected to the power interface 31.
  • the memory access interface 22 is detachably connected to the memory interface 32.
  • FIG. 2a a first embodiment of the operating device 2 according to the invention is shown.
  • the operating device 2 in this case has a power supply interface 21 and a memory access interface 22, which are connected to an electronic ballast 24 of the operating device 2.
  • the ballast 24 comprises an integrated microcontroller which evaluates module information of a connected LED module received via the memory access interface 22 in order to set an operating parameter of the electronic ballast 24.
  • the ballast 24 provides the power to the power delivery interface 21.
  • the in the FIG. 2b shown second embodiment of an operating device 2 'further comprises an operating memory 25.
  • the operating memory 25 is connected to the memory access interface 22 of the operating device 2'.
  • the operating memory 25 is connected to the ballast 24 '.
  • the ballast 24 ' is connected to the memory 25 and the memory access interface 22.
  • This arrangement allows the exchange of data between the operating memory 25 and the module memory of a connected LED module via the memory access interface 22.
  • the ballast 24 'in addition to the received from the LED module via the memory access interface 22 module information in the Memory 25 stored information available.
  • the operating memory 25 is integrated in the operating device 2 '.
  • the operating device may include a memory interface coupled to an external memory. The operating memory is interchangeable in these embodiments.
  • the FIG. 3a shows a first embodiment of an LED module according to the invention 3.
  • the LED module 3 in this case has a group 33 of LED.
  • the group 33 is electrically connected to a Power interface 31 connected.
  • the power interface 31 is led out for releasable connection to an operating device.
  • the LED module 3 has a module memory 34, which is connected to a memory interface 32, which is also guided to the outside.
  • the group 33 of LED is directly connected to the power interface 31, so that the electric power provided to the power interface 31 is directly supplied to the group 33 of LED.
  • FIG. 3b A second embodiment of an LED module 3 'according to the invention is shown in FIG FIG. 3b shown.
  • the LED module 3 'in this embodiment has a module memory 34', which is connected to a memory interface 32. Furthermore, the LED module 3 'has a group 33 of LEDs, which is connected to a power interface 31.
  • a sensor 31 is provided on the group 33 of LEDs which detects a module parameter.
  • the sensor 31 is formed in this embodiment as a temperature sensor and is arranged next to the group 33 of LED and set up to detect their temperature.
  • the sensor 35 is further connected to the module memory 34 '. In this embodiment, the temperature detected by the sensor 35 is stored in the module memory 34 'and is available at the memory interface 32 for receiving by an operating device according to the invention.
  • a third embodiment of an LED module 3 "according to the invention comprises three LED groups 331, 332 and 333.
  • the three groups 331, 332, 333 of LEDs are connected to a power interface 31 'of the LED module 3".
  • the power interface 31 ' has several channels, each group 331, 332, 333 of LEDs being assigned a channel.
  • the LED module 3 has a module memory 34 connected to a memory interface 32.
  • FIG. 4 is a flow chart of a program executed by the operating device after power-on.
  • the operating device as electrical ballast, electronic ballast, and configured, which in the FIG. 4 and steps described below.
  • the operating device has a microprocessor.
  • the light that is the operating device and connected thereto LED module includes, switched on. This is done in the described embodiment by switching on the power supply by a central unit.
  • the operating device has a switch via which it is turned on.
  • the operating device checks whether one or more LED modules are connected and checks their addressing 102. In the embodiment shown, the LED modules are thereby connected by means of a 1-wire connection to the operating device, which provides a two-wire connection.
  • the communication takes place via the same connection as the electrical supply.
  • the operating device then checks whether the connected LED module has a module memory, for example in the form of an EEPROM 103. If no EEPROM is found on the connected LED module, the operating device subsequently operates with internal preset values stored in the operating memory of the operating device, so-called EEP values 104. If an EEPROM is found on the connected LED module, the operating device checks whether it knows the ID of the connected LED module 105. For this purpose, the identifiers of the LED modules, which are located in the operating memory of the operating device already connected to the operating device once saved.
  • the operating device takes over the value stored in the operating memory of the operating device for the number of operating hours of the connected LED module and counts this in the following Flux Counter fort 107.
  • the value for the number of operating hours is further stored in the module memory of the LED module.
  • the operating device then checks whether a maximum LED temperature stored in the operating memory of the operating device is above the maximum LED temperature stored in the module memory of the connected LED module. If the maximum LED temperature stored in the operating device exceeds that in the LED display. Stored module, the operating device updates the stored for the connected LED module maximum LED temperature in its memory 109th
  • the operating device checks whether the programming data stored in the module memory of the LED module, the service box (SB) parameters, correspond to the programming data stored in the operating memory of the operating device 110.
  • the programming data can be a desired luminous flux, a duty cycle, a reduction time period, a dimming value, an LED current, etc. If the programming data stored in the operating device does not correspond to those in the LED module stored programming information stored in the operating device via the memory access interface of the operating device and the memory interface of the LED module in the module memory of the LED module 111. In this way, carried out on the operating device reprogramming can be transferred to the LED module. Subsequently, the operating device starts a scheduled on the operating device scheduler and periodically checks an LED temperature of the LED module 112.
  • a temperature sensor can be provided on the connected LED module, which can be queried via the memory access interface of the operating device as described above.
  • the periodic check of the LED temperature takes place at intervals of 1 min.
  • the temperature check may be performed at a regular interval in the range of 15 seconds to 10 minutes, more preferably 30 seconds to 5 minutes, and preferably 45 seconds to 2 minutes.
  • a switch-on time of 10 s to 1 h, in particular 2 min to 40 min preferably 15 min to 30 min a possibly set LED reset flag cleared 113.
  • the operating device takes over the LED module identifier, the operating hour value and operating data from the module memory of the LED module 106.
  • the operating device checks whether the LED reset Flag is set. If yes, the operating device continues with step 111 and copies the programming data from the operating device into the LED module. If not, the operating device takes over the programming data from the LED module 117 and performs a refresh 118.
  • the LED reset flag can therefore be used to control whether the operating device programming from the LED module or from the memory used in the control gear. For this purpose, it is provided in this embodiment that the LED reset flag is stored in the LED module.
  • the LED reset flag in the Operating device is stored and can be set, for example, via a provided on the operating device memory access interface.
  • programming data can be stored in the operating device via a reparameterization 119.
  • the reparameterization can take place, for example, via an operating memory access interface of the operating device to which a service box is connected.
  • the operating device receives new programming data and stores them in the operating memory.

Landscapes

  • Circuit Arrangement For Electric Light Sources In General (AREA)

Description

  • Die Erfindung betrifft eine LED-Leuchte mit einem Betriebsgerät und wenigstens einem LED-Modul, wobei das zumindest eine LED-Modul insbesondere austauschbar ist. LED-Leuchten der genannten Art können insbesondere im Bereich der Außen- oder Innenbeleuchtung, in Anzeigeeinrichtungen, Scheinwerfern oder Einrichtungen zur Verkehrswegebeleuchtung verwendet werden.
  • Als LED-Leuchte wird eine Leuchte bezeichnet, bei der als Lichtquelle eine einzelne oder eine Vielzahl von LED eingesetzt wird. Dabei wird unter einer LED eine lichtemittierende Vorrichtung (light emitting device), insbesondere ein lichtemittierende Diode (light emitting diode), verstanden. Hierunter fallen insbesondere auch organische lichtemittierende Vorrichtungen, insbesondere organische lichtemttierende Dioden (OLED, organic light emitting diode). Innerhalb der Leuchte sind dabei einzelne bzw. eine Vielzahl von LED auf einer oder mehreren Unterbaugruppen angeordnet, welche die LED mechanisch halten und elektrisch kontaktieren und als LED-Modul bezeichnet werden.
  • LED werden in zunehmendem Maß eingesetzt, da diese einen hohen Wirkungsgrad bei der Umsetzung elektrischer Betriebsenergie in nutzbares Licht aufweisen und ferner die Erzeugung von Licht unterschiedlicher Farbe ermöglichen. Weitere Vorteile beim Einsatz von LED sind die Robustheit der Lichtquelle in Bezug auf mechanische Beanspruchung, ein günstiges Betriebsverhalten bei niedrigen Umgebungstemperaturen sowie eine gute Schaltbarkeit und Dimmbarkeit. Ferner weisen LED üblicherweise eine lange Lebensdauer auf.
  • In einigen Anwendungsfällen übersteigt jedoch die Nutz-Lebensdauer einer Leuchte die Lebensdauer der eingesetzten LED bzw. des eingesetzten LED-Moduls, so dass dieses an seinem Lebensdauerende gegen ein neues ausgetauscht werden muss, um die Leuchte wieder in einen betriebsfähigen Zustand zu versetzen.
  • Ein Austausch kann dabei durch einen vorzeitigen Defekt oder durch eine normale Alterung des LED-Moduls erforderlich sein. In einigen Anwendungen ist ein Austausch insbesondere erforderlich, wenn sich die abgestrahlte Lichtmenge oder der Farbort des abgestrahlten Lichts im Verlauf der Zeit so weit verändert haben, dass sie außerhalb eines gewünschten Bereiches liegen. Ein Austausch eines LED-Moduls kann ferner gewünscht sein, um ein energieeffizienteres LED-Modul zu verwenden.
  • Austauschbare Lampenmodule sind beispielsweise aus der DE 10 2007 031 721 A1 bekannt. Dort ist ein Leuchtenmodul einem Knoten eines Netzwerks zugeordnet. Das Lampenmodul ist dabei ferner trennbar mit einem externen Speicher verbunden, in welchem die Adressierung des Lampenmoduls in dem Netzwerk gespeichert ist. Wenn das Lampenmodul ausgetauscht wird, so kann der externe Speicher mit dem neuen Lampenmodul verbunden werden, so dass die Adressierung des Knotens erhalten bleibt
  • Ferner offenbart die Druckschrift DE 10 2005 018 175 A1 ein LED-Modul, in welchem ein LED-Array sowie eine entsprechende Steuereinheit auf einem Träger angeordnet sind. Das LED-Modul wird mit einer Gleich- oder Wechselspannung, beispielsweise einer im KfZ-Bereich üblichen Gleichspannung von 12V, versorgt, die durch auf dem Träger befindliche Mittel auf die zum Betrieb des LED-Arrays vorgesehene Betriebsspannung transformiert wird. Im Falle der vorzeitigen Alterung des LED-Moduls wird das gesamte LED-Modul inklusive Steuereinheit ausgetauscht.
  • WO 2009/156590 A1 offenbart eine Leuchte mit Modulen, die einen Controller und eine austauschbare Leuchtenkomponente umfassen. Die austauschbare Leuchtenkomponente umfasst Lichtquellen und einen Speicher. Zum Kompensieren der Änderungen der Lichtintensität, die durch den Alterungsprozess der Lichtquellen entsteht, kann elektrische Leistung angepasst werden.
  • WO 2007/104137 A2 offenbart eine Beleuchtungseinheit, welche auf einem Träger LEDs und eine Speichervorrichtung enthält. Die Beleuchtungseinheit ist an ein Steuersystem angeschlossen, wobei das Steuersystem auf die Speichereinrichtung zum Auslesen von Kenngrößen der LEDs zugreifen kann.
  • Die aus dem Stand der Technik bekannten Anordnungen berücksichtigen jedoch nicht, dass der technische Fortschritt zu einer stetigen Veränderung der Eigenschaften aktueller LED führt. Insbesondere können sich spezifische Eigenschaften einer LED wie z. B. die Lichtausbeute, der typische Lichtstrom bei einer bestimmten Stromstärke, die Lichtfarbe des abgestrahlten Lichts, etc. je nach Produktionszeitpunkt unterscheiden. Verbesserungen in den Herstellungsprozessen führten beispielsweise zu LED mit höherer Lichtausbeute. Sollte daher nach einigen Jahren ein Austausch eines LED-Moduls der Leuchte notwendig sein, so unterscheiden sich die zu diesem Zeitpunkt verfügbaren aktuellen LED-Module von den ursprünglich eingesetzten. Dies führt beim Austausch eines älteren LED-Moduls gegen ein neues LED-Modul insbesondere zu unterschiedlichen Leuchteigenschaften.
  • Es ist daher die Aufgabe der vorliegenden Erfindung, ein einfaches und kostengünstiges Austauschen eines LED-Moduls einer LED-Leuchte zu ermöglichen, wobei Beleuchtungseigenschaften, insbesondere ein Lichtstrom der LED-Leuchte im Wesentlichen unverändert bleiben.
  • Diese Aufgabe wird durch ein Betriebsgerät nach Anspruch 1, ein LED-Modul nach Anspruch 8,eine Leuchte nach Anspruch 16 und ein Verfahren nach Anspruch 17 gelöst.
  • Das erfindungsgemäße Betriebsgerät ist dabei zum lösbaren Verbinden mit einem LED-Modul eingerichtet. Das Betriebsgerät weist eine Leistungsbereitstellungsschnittstelle und eine Speicherzugriffsschnittstelle auf und umfasst ein elektronisches Vorschaltgerät. Das elektronische Vorschaltgerät ist mit der Leistungsbereitstellungsschnittstelle verbunden, wobei das Vorschaltgerät eine Versorgungsleistung für das LED-Modul an der Leistungsbereitstellungsschnittstelle mit zumindest einem einstellbaren Betriebsparameter bereitstellt. Das Betriebsgerät ist ferner eingerichtet, Modulinformationen aus einem Modulspeicher des LED-Moduls über die Speicherzugriffsschnittstelle zu empfangen. Darüber hinaus stellt das elektronische Vorschaltgerät den Betriebsparameter in Abhängigkeit der empfangenen Modulinformationen ein.
  • Das Betriebsgerät ist somit dafür eingerichtet, nach einem Austausch des angeschlossenen LED-Moduls Modulinformationen von dem LED-Modul zu empfangen und die Versorgungsleistung des LED-Moduls gemäß der empfangenen Modulinformationen einzustellen. Modulinformationen können dabei u.a. eine Bauart, ein Baujahr, eine Typenkennzeichnung, eine Seriennummer, eine Kodierung, eine Information, ob das Modul bereits in Betrieb war, eine Betriebsstundenzahl, einen oder mehrere elektrische und/oder lichttechnische Parameter des LED-Moduls wie beispielsweise einen Lichtstrom, eine Lichtfarbe, eine Abschalttemperatur und/oder einen LED-Strom bei Inbetriebnahme umfassen. Die Seriennummer kann insbesondere eine 48-Bit breite Zahl sein. Insbesondere können die Modulinformationen einen Wert für einen Lichtstrom bei einem vorgegebenen elektrischen Versorgungsstrom, beispielsweise den Lichtstrom einer Gruppe von LED des LED-Moduls bei einem elektrischen Strom von 350 mA pro LED, einen Versorgungsstrom, eine Versorgungsspannung und/oder einen zulässigen Bereich davon umfassen, der/die bei der Fertigung des LED-Moduls in dem Modulspeicher gespeichert wird. Alternativ oder zusätzlich können die Modulinformationen auch aktuelle Parameter umfassen, die während des Betriebs des LED-Moduls in dem Modulspeicher gespeichert werden, wie z.B. eine Dimmstufe oder ein aktueller LED-Strom. Der aktuelle LED-Strom kann höher als ein LED-Nennstrom bei Inbetriebnahme sein, um eine LED-Alterung zu kompensieren. Er kann gegenüber diesem alternativ auch reduziert sein, um den Lichtstrom auf einen gewünschten Wert zu verringern.
  • Die Modulinformationen können dabei von dem Betriebsgerät in analoger und/oder in digitaler Form empfangen werden.
  • Das elektronische Vorschaltgerät kann ferner einen Schaltkreis umfassen, der den Betriebsparameter einstellt. Der Schaltkreis kann als separates Bauelement des Betriebsgeräts vorgesehen sein oder in das elektronische Vorschaltgerät integriert sein. Der Schaltkreis kann insbesondere als Mikrokontroller ausgebildet sein. Möglich ist ferner eine analoge, eine digitale oder eine gemischte Regelung des Betriebsparameters. Der Schaltkreis kann insbesondere eingerichtet sein, den Betriebsparameter gemäß einer vorbestimmten Programmierung einzustellen. Dabei kann die Programmierung beispielsweise eine Reduktion des Lichtstroms während eines Zeitintervalls vorsehen.
  • Ferner kann das Betriebsgerät in einigen Ausführungsformen zum lösbaren Verbinden mit mehreren LED-Modulen dienen. Dabei kann das Betriebsgerät insbesondere mehrere Paare von Leistungsbereitstellungsschnittstellen und Speicherzugriffsschnittstellen zum lösbaren Verbinden mit jeweils einem LED-Modul aufweisen. In einigen Ausführungsformen kann für jedes Paar ein separates Vorschaltgerät des Betriebsgeräts vorgesehen sein. Alternativ kann ein elektronisches Vorschaltgerät vorgesehen sein, welches mit jedem der Paare verbunden ist.
  • Das Betriebsgerät kann in einigen Ausführungsformen ferner eingerichtet sein, über die Speicherzugriffsschnittstelle andere als in einem Modulspeicher des LED-Moduls gespeicherte Modulinformationen zu empfangen. Wie unten mit Bezug auf ein erfindungsgemäßes LED-Modul ausgeführt ist, kann beispielsweise vorgesehen sein, dass das Betriebsgerät eingerichtet ist, über die Speicherzugriffsschnittstelle zumindest einen Modulparameter des LED-Moduls, beispielsweise eine Temperatur, zu empfangen. In diesen Ausführungsformen stellt das Betriebsgerät den Betriebsparameter ferner in Abhängigkeit des zumindest einen empfangenen Modulparameters ein.
  • Gemäß einer bevorzugten Ausführungsform sind die Leistungsbereitstellungsschnittstelle und die Speicherzugriffsschnittstelle des Betriebsgeräts zu einer Betriebsgeräteschnittstelle für ein mehradriges, insbesondere ein zwei- oder vieradriges leitungsgebundenes Verbinden mit dem LED-Modul zusammengefasst. Hierdurch können Datenaustausch und Versorgung über die gleiche zweiadrige Verbindung zwischen Betriebsgerät und LED-Modul erfolgen, so dass Verbindungsleitungen eingespart werden. Gemäß einer bevorzugten Ausführungsform ist der einstellbare Betriebsparameter eine Spannung, ein Strom, ein Abtastverhältnis einer Pulsweitenmodulation und/oder ein Amplitudenverhältnis einer Amplitudenmodulation.
  • In einer besonders bevorzugten Ausführungsform bestimmt das Vorschaltgerät ferner die Art der Versorgungsleistung für das LED-Modul in Abhängigkeit der empfangenen Modulinformationen. Insbesondere stellt das Vorschaltgerät die Versorgungsleistung in einigen Ausführungsformen in Abhängigkeit der empfangenen Modulinformationen mittels einer Stromsteuerung und/oder einer Spannungssteuerung bereit. Bevorzugt ist ferner, dass bei einer Stromsteuerung ein Pulsweitenmodulationsverfahren oder ein Amplitudenmodulationsverfahren verwendet wird.
  • Dies bietet den Vorteil, dass das Betriebsgerät dazu in der Lage ist, mit verschiedenen Typen von LED-Modulen verwendet zu werden, welche die Versorgungsleistung in unterschiedlicher Form erfordern. Dies ermöglicht einen flexiblen Einsatz des erfindungsgemäßen Betriebsgeräts. Beispielsweise kann in dem Modulspeicher des LED-Moduls eine Information darüber gespeichert sein, dass eine Gruppe von LEDs des LED-Moduls mittels einer Pulsweitenmodulation mit elektrischer Leistung zu versorgen ist.
  • In einer bevorzugten Ausführungsform weist das Betriebsgerät ferner einen Betriebsspeicher oder eine Betriebsspeicherschnittstelle zum Anschluss eines Betriebsspeichers auf, wobei das Vorschaltgerät den Betriebsparameter ferner in Abhängigkeit von in dem Betriebsspeicher gespeicherten Informationen einstellt.
  • Der Betriebsspeicher kann dabei fest in das Betriebsgerät, insbesondere in das elektronische Vorschaltgerät integriert sein. Alternativ oder zusätzlich kann das Betriebsgerät eine Betriebsspeicherschnittstelle zum Anschluss eines externen Betriebsspeichers aufweisen, welcher lösbar mit der Betriebsspeicherschnittstelle verbunden werden kann, beispielsweise über eine standardisierte Schnittstelle, z.B. mittels eines Steckerprinzips wie insbesondere eine USB-Schnittstelle. Die Betriebsspeicherschnittstelle kann alternativ auch kabellos ausgestaltet sein, beispielsweise als Funkschnittstelle.
  • Der Betriebsspeicher kann ferner eine integrierte Speicherschaltung aufweisen. Insbesondere kann der Betriebsspeicher ein EPROM, ein EEPROM, einen Flash-Speicher und/oder einen DRAM umfassen. Besonders bevorzugt ist, dass der Betriebsspeicher einen nichtflüchtigen Speicher umfasst. Dies bietet den Vorteil, dass dort gespeicherte Informationen auch bei einem Netzausfall des Betriebsgeräts erhalten bleibt.
  • In dem Betriebsspeicher können ferner anwendungsspezifische Daten gespeichert sein wie beispielsweise ein gewünschter Lichtstrom, eine gewünschte Lichtverteilung und/oder eine gewünschte Lichtfarbe. Alternativ oder zusätzlich können in dem Betriebsspeicher ein Bautyp, ein Baujahr, eine Typenkennzeichnung, eine Seriennummer und/oder eine Kodierung des Betriebsgeräts umfassen. Alternativ oder zusätzlich können im Betriebsspeicher eine oder mehrere Modulinformationen eines oder mehrerer derzeitig oder vormals angeschlossener LED-Module gespeichert sein.
  • Besonders bevorzugt ist, dass der Betriebsspeicher eine Kodierung des Betriebsgeräts enthält und dass die Modulinformationen eine Kodierung des LED-Moduls enthalten. Das elektronische Vorschaltgerät ist dabei eingerichtet, die Versorgungsleistung nur bereitzustellen, falls die Kodierung des Betriebsgeräts und die Kodierung des LED-Moduls einander entsprechen.
  • Auf diese Weise kann eine Kompatibilität des Betriebsgeräts und des LED-Moduls überprüft werden und die Betriebssicherheit erhöht werden.
  • Erfindungsgemäß ist das Betriebsgerät eingerichtet, eine Kodierung eines angeschlossenen LED-Moduls zu speichern. Auf diese Weise kann das Betriebsgerät nach einem Aus- und anschließenden Einschalten überprüfen, ob ein derzeitig angeschlossenes LED-Modul bereits vorher angeschlossen war, oder ob es sich um ein aus Sicht des Betriebsgerätes neues LED-Modul handelt. Das Betriebsgerät kann eingerichtet sein, den Betriebsparameter in Abhängigkeit des Ergebnisses der Überprüfung einzustellen. Besonders bevorzugt ist ferner, dass das Betriebsgerät eingerichtet ist, Betriebsdaten des elektronischen Vorschaltgeräts, insbesondere eine Betriebsstundenzahl, in dem Betriebsspeicher zu speichern.
  • Dies ermöglicht beispielsweise, dass das Betriebsgerät anzeigt, wenn eine bestimmte Betriebsstundenzahl erreicht ist, so dass der Anwender Wartungsarbeiten durchführt oder das Betriebsgerät austauscht. Hierzu kann das Betriebsgerät ferner mit einem Anzeigeelement wie einer optischen Anzeige oder einem Tongeber verbunden sein. Alternativ oder zusätzlich kann das Betriebsgerät mit einer Zentraleinheit verbunden sein, mit welcher es Informationen austauscht. Insbesondere kann das Betriebsgerät eingerichtet sein, eine Betriebsstundenzahl, einen Betriebszustand, etc. des Betriebsgeräts und/oder eines oder mehrerer LED-Module an die Zentraleinheit zu übertragen. Die Informationen können zwischen dem Betriebsgerät und der Zentraleinheit über eine leitungsgebundene Kommunikation oder ein Funknetzwerk erfolgen. Insbesondere kann eine Datenleitung zwischen dem Betriebsgerät und der Zentraleinheit vorgesehen sein. Alternativ kann das Betriebsgerät eingerichtet sein, über eine zur Leistungsversorgung des Betriebsgeräts vorgesehene Versorgungsleitung Informationen von der Zentraleinheit zu empfangen und/oder an die Zentraleinheit zu senden.
  • Das Betriebsgerät weist in einer besonders bevorzugten Ausführungsform ferner eine Betriebsspeicherzugriffsschnittstelle zum Auslesen von Daten des Betriebsspeichers und/oder zum Speichern von Daten in den Betriebsspeicher auf.
  • Hierdurch können gespeicherte Daten, wie beispielsweise eine Betriebsstundenzahl abgefragt werden, so dass fällige Wartungsarbeiten nach Erreichen einer bestimmten Betriebsstundenzahl durchgeführt werden können. Ferner kann auch eine Bauart oder eine Kodierung des Betriebsgeräts abgefragt werden. Die Betriebsspeicherzugriffsschnittstelle bietet ferner in einigen Ausführungsformen die Möglichkeit, Daten in dem Betriebsspeicher zu speichern, welche zum Betrieb des elektrischen Vorschaltgeräts verwendet werden. So kann beispielsweise ein gewünschter Lichtstrom oder eine gewünschte Lichtfarbe in den Betriebsspeicher gespeichert werden. Alternativ oder zusätzlich kann auch eine Kodierung über die Betriebsspeicherzugriffsschnittstelle in den Betriebsspeicher speicherbar sein. Hierdurch kann die Kodierung des Betriebsgeräts angepasst werden, wenn das Betriebsgerät beispielsweise in einer neuen Anwendung genutzt werden soll. Die in dem Betriebsspeicher gespeicherten Daten sind anschließend von dem elektronischen Vorschaltgerät verwendbar, um das LED-Modul entsprechend mit elektrischer Leistung zu versorgen. Die Betriebsspeicherzugriffsschnittstelle kann kabelgebunden oder kabellos ausgebildet sein. Die Betriebsspeicherzugriffsschnittstelle kann insbesondere an einem Leistungsversorgungseingang des Betriebsgeräts vorgesehen sein. Auf diese Weise wird nur ein Anschluss am Betriebsgerät benötigt, um sowohl die elektrische Versorgungsleistung zu empfangen als auch eine Datenübertragung zu ermöglichen.
  • Gemäß einer besonders bevorzugten Ausführungsform ist der Betriebsspeicher bzw. die Betriebsspeicherschnittstelle zum Anschluss eines Betriebsspeichers ferner mit der Speicherzugriffsschnittstelle verbunden, um aus dem Modulspeicher des LED-Moduls empfangene Modulinformationen in den Betriebsspeicher zu übertragen und/oder um Informationen von dem Betriebsspeicher zu dem LED-Modul zu übertragen.
  • Diese Ausführungsform ermöglicht den Austausch von Daten zwischen dem Modulspeicher des LED-Moduls und dem Betriebsspeicher des Betriebsgeräts. Das Übertragen von Daten aus dem Modulspeicher in den Betriebsspeicher bietet den Vorteil, dass die Daten des LED-Moduls von dem Betriebsgerät in einem größeren zeitlichen Abstand abgefragt werden können und dann im Betriebsspeicher vorliegen. Dies ist insbesondere vorteilhaft, wenn die Verbindung zwischen der Speicherschnittstelle und der Speicherzugriffsschnittstelle über ein e-nergieintensives Medium, wie beispielsweise eine Funkverbindung hergestellt wird. Ferner ist es für einige Modulinformationen nur erforderlich, diese einmalig nach einem Austausch des LED-Moduls in den Betriebsspeicher zu übertragen. Dies ist insbesondere der Fall für Modulinformationen, wie den LED-Modultyp, die Bauart, etc. Ferner kann vorgesehen sein, dass die vollständigen in dem Modulspeicher des LED-Moduls gespeicherten Daten in den Betriebsspeicher des Betriebsgeräts übertragen werden und/oder dass die in dem Betriebsspeicher des Betriebsgeräts gespeicherten Daten vollständig in den Modulspeicher des LED-Moduls übertragen werden. Alternativ kann vorgesehen sein, dass die einem LED-Modul zugeordneten, im Betriebsspeicher des Betriebsgeräts gespeicherten Daten in den Modulspeicher des entsprechenden LED-Moduls übertragen werden. Die Übertragung erfolgt insbesondere mittels der Speicherschnittstelle des LED-Moduls und die Speicherzugriffsschnittstelle des Betriebsgeräts.
  • In Verbindung mit einer Betriebsspeicherzugriffsschnittstelle zum Auslesen von Daten des Betriebsspeichers und/oder zum Schreiben von Daten in den Betriebsspeicher bietet dies ferner den Vorteil, dass während des Betriebes auf die in dem Modulspeicher des LED-Moduls gespeicherten Informationen zugegriffen werden kann, ohne das LED-Modul hierzu entfernen zu müssen. So kann in einigen Ausführungsformen beispielsweise durch eine Zentraleinheit, beispielsweise eine zentrale Überwachungseinrichtung, die mit dem Betriebsgerät über die Betriebsspeicherzugriffsschnittstelle verbunden ist, eine Temperatur des LED-Moduls überwacht werden, die als Modulinformation in dem Modulspeicher gespeichert ist.
  • Gemäß einer bevorzugten Ausführungsform stellt das elektronische Vorschaltgerät an der Leistungsbereitstellungsschnittstelle die Versorgungsleistung auf mehreren Kanälen zur Versorgung mehrerer Gruppen von LED des LED-Moduls mit jeweils zumindest einem einstellbaren Betriebsparameter bereit.
  • Diese Ausführungsform ermöglicht das separate Ansteuern mehrerer Gruppen von LED des LED-Moduls. Die Gruppen können sich beispielsweise in einer räumlichen Anordnung, einer räumlichen Ausrichtung, einer Lichtfarbe und/oder einer Intensität unterscheiden.
  • Der einstellbare Betriebsparameter kann für verschiedene Kanäle unterschiedlich oder gleich sein. Insbesondere in Ausführungsformen, in welchen sich eine der Modulinformationen nur auf eine Gruppe von LED bezieht, wie beispielsweise eine Temperatur einer Gruppe von LED, kann das Vorschaltgerät den einstellbaren Betriebsparameter für die verschiedenen Kanäle unterschiedlich jeweils in Abhängigkeit der, den verschiedenen Gruppen von LED zugeordneten Modulinformationen einstellen.
  • In einigen Ausführungsformen stellt das elektronische Vorschaltgerät die Versorgungsleistung auf den Kanälen auf unterschiedliche Art zur Verfügung. Beispielsweise kann einer der Kanäle mittels einer Pulsweitenmodulation und ein anderer Kanal mittels einer Amplitudenmodulation vom Vorschaltgerät angesteuert sein. Die Ansteuerungsart wird dabei vom Vorschaltgerät in Abhängigkeit von empfangenen Modulinformationen bestimmt.
  • In einem weiteren Aspekt umfasst die vorliegende Erfindung ein LED-Modul zum lösbaren Verbinden mit einem Betriebsgerät der beschriebenen Art. Das erfindungsgemäße LED-Modul weist dabei eine Leistungsschnittstelle zum lösbaren Verbinden mit der Leistungsbereitstellungsschnittstelle des Betriebsgeräts und eine Speicherschnittstelle zum lösbaren Verbinden mit der Speicherzugriffsschnittstelle des Betriebsgeräts auf. Die Leistungsschnittstelle ist mit zumindest einer Gruppe von LED des LED-Moduls verbunden, so dass eine an der Leistungsschnittstelle bereitgestellte elektrische Versorgungsleistung der zumindest einen Gruppen von LED zugeführt wird. Das LED-Modul weist ferner einen Modulspeicher oder eine Modulspeicherschnittstelle zum Verbinden mit einem Modulspeicher auf, wobei der Modulspeicher bzw. die Modulspeicherschnittstelle mit der Speicherschnittstelle verbunden ist.
  • Die Versorgungsleistung kann der zumindest einen Gruppe von LED dabei unmittelbar zugeführt werden. Der Begriff "unmittelbar" ist so zu verstehen, dass das LED-Modul zwischen der Leistungsschnittstelle und der Gruppe von LED keine aktive Einrichtung zum Transformieren der an der Leistungsschnittstelle bereitgestellten elektrischen Versorgungsleistung aufweist. Alternativ kann auf dem LED-Modul ein Wandler vorgesehen sein, der die an der Leistungsbereitstellungsschnittstelle bereitgestellte Versorgungsleistung transformiert, bevor diese der Gruppe von LED zugeführt wird.
  • Der Modulspeicher dient insbesondere zum Speichern von Modulinformationen der eingangs beschrieben Art. Der Modulspeicher kann dabei eingerichtet sein, Modulinformationen in analoger und/oder digitaler Form zu speichern.
  • In einer bevorzugten Ausführungsform sind die Leistungsschnittstelle und die Speicherschnittstelle des LED-Moduls zu einer Modulschnittstelle für ein mehradriges, insbesondere ein zwei- oder vieradriges leitungsgebundenes Verbinden mit dem Betriebsgerät zusammengefasst. Wie oben beschrieben können Datenaustausch und Versorgung hierbei über die gleiche zweiadrige Verbindung zwischen Betriebsgerät und LED-Modul erfolgen, so dass Verbindungsleitungen eingespart werden.
  • In einer bevorzugten Ausführungsform weist das LED-Modul dabei mehrere Gruppen von LED auf, wobei die Leistungsschnittstelle mehrere Kanäle aufweist. Jeder Kanal ist dabei mit einer Gruppe von LED verbunden, so dass die mehreren Gruppen von LED separat mit elektrischer Leistung versorgt werden.
  • Wie bereits oben für das entsprechend ausgebildete Betriebsgerät dargelegt, ermöglicht dies die unabhängige Ansteuerung mehrerer Gruppen von LED durch ein einziges Betriebsgerät. Die LED der mehreren Gruppen können von einem gleichen oder von unterschiedlichem Typ sein. Die Gruppen von LED können ferner eine unterschiedliche Anordnung, räumliche Ausrichtung, Lichtfarbe und/oder Intensität aufweisen.
  • In einer bevorzugten Ausführungsform umfasst das LED-Modul ferner einen Mikrocontroller. Der Mikrocontroller kann insbesondere dazu eingerichtet sein, eine Datenübertragung zwischen dem LED-Modul und einem angeschlossenen Betriebsgerät zu ermöglichen. Der Mikrocontroller kann darüber hinaus eingerichtet sein, eine von dem Betriebsgerät empfangene Information mit einer in dem Modulspeicher gespeicherten Information zu vergleichen. Auf diese Weise kann eine Kompatibilität zwischen dem LED-Modul und dem Betriebsgerät festgestellt werden.
  • Gemäß einer bevorzugten Ausführungsform weist das LED-Modul ferner zumindest einen Sensor zum Erfassen zumindest eines Modulparameters, insbesondere einer Temperatur, eines Lichtstroms und/oder einer Lichtfarbe des LED-Moduls auf. Der Sensor ist dabei mit der Speicherschnittstelle und/oder mit dem Modulspeicher bzw. der Modulspeicherschnittstelle verbunden. Der Sensor kann dabei fest mit dem LED-Modul verbunden sein oder mittels einer Sensorschnittstelle mit dem LED-Modul verbindbar sein. Das LED-Modul kann ferner Mittel zur Befestigung des Sensors aufweisen.
  • Dies ermöglicht das Erfassen von Parametern, die beispielsweise das Abstrahlverhalten des LED-Moduls beeinflussen. Der Sensor kann dabei beispielsweise einer LED, einer Gruppe von LED oder einem Kühlkörpers zugeordnet sein. Alternativ kann der Sensor zum Erfassen einer Umgebungstemperatur des LED-Moduls eingerichtet sein. In Ausführungsformen, in welchen der Sensor mit dem Modulspeicher bzw. mit der Modulspeicherschnittstelle verbunden ist, kann der erfasste Modulparameter ferner in den Modulspeicher geschrieben werden, von wo aus er von dem Betriebsgerät über die Speicherschnittstelle abfragbar ist. Alternativ oder zusätzlich kann der Sensor auch mit der Speicherschnittstelle verbunden sein, so dass ein angeschlossenes Betriebsgerät den erfassten Modulparameter von dem Sensor empfangen kann.
  • Das Vorsehen des Sensors ermöglicht die Regelung der elektrischen Versorgungsleistung des LED-Moduls in Abhängigkeit von dem erfassten Modulparameter. Falls beispielsweise der von dem Sensor erfasste Lichtstrom höher ist als ein in dem Betriebsspeicher des Betriebsgeräts gespeicherter gewünschter Lichtstrom, so kann das elektrische Vorschaltgerät des Betriebsgeräts die bereitgestellte Versorgungsleistung reduzieren.
  • In Ausführungsformen, in welchen das LED-Modul mehrere Gruppen von LED aufweist, kann das LED-Modul ferner mehrere Sensoren aufweisen, die jeweils einer oder mehrerer der Gruppen zugeordnet sind. Dies ermöglicht das separate Erfassen von gruppenspezifischen Parametern. Weist das LED-Modul beispielsweise eine erste und eine zweite Gruppe von LED auf und wird die erste Gruppe vom Betriebsgerät über einen ersten Kanal mit Leistung versorgt, so kann vorgesehen sein, dass das Vorschaltgerät den Betriebsparameter für den ersten Kanal in Abhängigkeit eines oder mehrerer Modulparameter einstellt, die von einem oder mehreren Sensoren erfaßt sind, die der ersten Gruppe von LED zugeordnet sind.
  • In einer bevorzugten Ausführungsform ist das LED-Modul eingerichtet, Daten von dem Betriebsgerät über die Speicherschnittstelle zu empfangen und in dem Modulspeicher zu speichern. Insbesondere kann auf diese Weise eine Programmierung des Betriebsgeräts in den Modulspeicher des LED-Moduls geschrieben werden. Dies ist beispielsweise vorteilhaft, wenn das Betriebsgerät ausgetauscht wird, da in dieser Ausführungsform auf eine aufwendige externe Neuprogrammierung des neuen Betriebsgeräts verzichtet werden kann. Im Falle eines Austauschs des Betriebsgeräts kann die notwendige Programmierung durch das Verbinden mit dem LED-Modul erfolgen. So kann das Betriebsgerät beispielsweise programmiert sein, den Lichtstrom in einem vorgegeben Zeitfenster auf einen Reduktionswert zu reduzieren. Diese Programmierung kann in dem Betriebsspeicher des Betriebsgeräts gespeichert sein. Über die Speicherzugriffsschnittstelle des Betriebsgeräts kann diese Programmierung auf den Modulspeicher eines angeschlossenen LED-Moduls übertragen werden. Falls das Betriebsgerät, beispielsweise nach einem Ausfall, ausgetauscht wird und mit dem vorhandenen LED-Modul verbunden wird, kann die in dem Modulspeicher des LED-Moduls gespeicherte Programmierung über die Speicherschnittstelle des LED-Moduls und die Speicherzugriffsschnittstelle des Betriebsgeräts in den Betriebsspeicher des neuen Betriebsgeräts übertragen werden.
  • In einer bevorzugten Ausführungsform weist das LED-Modul ferner zumindest eine optische Vorrichtung zur Lenkung eines Lichtstroms mindestens einer LED des LED-Moduls auf, insbesondere einen Reflektor und/oder einen Diffusor.
  • Gegenüber einer Anordnung eines Lichtlenkungselements an der Leuchte, welche anderweitig vorgesehen sein kann, bietet dies den Vorteil, dass die optische Vorrichtung unmittelbar auf die in dem LED-Modul verwendete LED abgestimmt werden kann. Dies hat insbesondere Vorteile, wenn sich das Abstrahlverhalten der LED des neuen LED-Moduls nach dem Austausch von dem Abstrahlverhalten der LED des alten LED-Moduls unterscheidet. Die optische Vorrichtung kann somit unmittelbar für die LED des neuen LED-Moduls optimiert sein. Weiter können im Zusammenhang mit der vorliegenden Erfindung jedoch auch ein oder mehrere optische Elemente zur Lichtlenkung vorgesehen sein, die der Leuchte zugeordnet sind. Diese können separat von dem angeschlossenen LED-Modul angeordnet sein und unabhängig von dem LED-Modul austauschbar sein. Das der Leuchte zugeordnete optische Element kann beispielsweise einen Reflektor, einen Diffusor und/oder eine Linse umfassen.
  • Gemäß einer bevorzugten Ausführungsform umfasst der Modulspeicher ferner einen nichtflüchtigen Speicher, welcher insbesondere einen integrierten Schaltkreis aufweist.
  • Das Verwenden eines nichtflüchtigen Speichers bietet den Vorteil, dass auch im Falle eines Spannungsausfalls die gespeicherte Information erhalten bleibt. Der nichtflüchtige Speicher kann dabei ein EPROM, ein EEPROM, einen Flash-Speicher oder einen anderen elektrischen, optischen oder magnetischen Speicher umfassen.
  • Alternativ oder zusätzlich kann der Modulspeicher über die Leistungsschnittstelle des LED-Moduls, die Speicherschnittstelle des LED-Moduls, eine separate Speicherversorgungsschnittstelle und/oder eine auf dem LED-Modul vorgesehene Batterie mit elektrischer Leistung versorgt werden.
  • In einer bevorzugten Ausführungsform umfasst die Speicherzugriffsschnittstelle bzw. die Speicherschnittstelle ferner eine leitungsgebundene elektrische Schnittstelle, eine optische Schnittstelle und/oder ein Funkschnittstelle.
  • Eine leitungsgebundene elektrische Schnittstelle bietet dabei den Vorteil, dass gleichzeitig mit dem Zusammenführen der Leistungsschnittstelle mit der Leistungsbereitstellungsschnittstelle auch eine Verbindung der Speicherzugriffsschnittstelle der Speicherschnittstelle möglich ist. Dies stellt eine einfache und kostengünstige Verbindungsmöglichkeit dar. Das Verwenden einer optischen Schnittstelle bietet ferner den Vorteil, dass Alterungserscheinungen wie beispielsweise Elektromigration oder Korrosion der Anschlusskontakte vermieden wird. Das Vorsehen einer Funkschnittstelle bietet darüber hinaus den Vorteil, dass das Betriebsgerät und der Modulspeicher entfernt voneinander angeordnet werden können. Dies ist insbesondere bei großflächigen oder länglichen LED-Modulen vorteilhaft. Ferner ermöglicht dies, dass ein extern angeordnetes Überwachungselement, wie beispielsweise eine Zentraleinheit die übertragenen Informationen empfangen kann. Die Verwendung einer Funkschnittstelle ist ferner vorteilhaft, wenn einem Betriebsgerät mehrere LED-Module zugeordnet sind, da in diesem Fall seitens des Betriebsgeräts nur eine Speicherzugriffsschnittstelle benötigt wird.
  • Das LED-Modul und/oder das Betriebsgerät können ferner mit einer niedrigen oder einer hohen Schutzart ausgeführt sein, z.B. IP20 oder IP65. Insbesondere können die Leistungsschnittstelle, die Leistungsbereitstellungsschnittstelle, die Speicherschnittstelle und/oder die Speicherzugriffsschnittstelle einer niedrigen oder einer hohen Schutzart genügen.
  • In einer bevorzugten Ausführungsform umfasst das Betriebsgerät oder das LED-Modul ferner ein Mittel zum werkzeuglosen Verbinden des LED-Moduls mit dem Betriebsgerät, insbesondere zum Verbinden der Speicherzugriffsschnittstelle mit der Speicherschnittstelle und/oder zum Verbinden der Leistungsbereitstellungsschnittstelle mit der Leistungsschnittstelle, wobei das Mittel zum werkzeuglosen Verbinden bevorzugt einen Stecker oder eine Buchse umfasst.
  • Dabei können für die Speicherzugriffsschnittstelle bzw. die Speicherschnittstelle das gleiche oder unterschiedliche Mittel wie zum Verbinden der Leistungsbereitstellungsschnittstelle bzw. der Leistungsschnittstelle vorgesehen sein. Beispielsweise kann seitens des LED-Moduls und/oder des Betriebsgeräts ein gemeinsamer Anschlussstecker oder eine gemeinsame Anschlussbuchse vorgesehen sein. Ferner kann an dem Betriebsgerät bzw. dem LED-Modul auch ein Schraubsockel zur Verbindung mit dem LED-Modul bzw. dem Betriebsgerät vorgesehen sein. Darüber hinaus kann das Mittel zum werkzeuglosen Verbinden eingerichtet sein, zugleich eine mechanische Halterung des LED-Moduls zu bewirken.
  • In einigen Ausführungsformen kann das Betriebsgerät bzw. das LED-Modul ferner eine Kühlschnittstelle zur thermischen Kopplung mit einer entsprechenden Kühlschnittstelle des LED-Moduls bzw. des Betriebsgeräts aufweisen. Die Kühlschnittstelle kann insbesondere ein Kühlelement aus einem gut wärmeleitenden Material wie z.B. Aluminium umfassen. Ferner kann das Kühlelement mehrere Mittel zur Vergrößerung der Oberfläche aufweisen wie beispielsweise Rippen.
  • Ein Vorteil des erfindungsgemäßen Betriebsgeräts und des erfindungsgemäßen LED-Moduls lässt sich beispielsweise anhand des folgenden Rechenbeispiels verdeutlichen: Ein LED-Modul werde bei Inbetriebnahme zur Erreichung eines Lichtstroms von 8.800 Lumen mit einem LED-Strom von 510 mA betrieben, wobei sich eine Gesamtleistungsaufnahme von 110 W ergibt. Nach 30.000 Betriebsstunden sei aufgrund der Alterung des LED-Moduls zur Aufrechterhaltung des gewünschten Lichtstromes von 8.800 Lumen ein LED-Strom von 695 mA nötig, wobei dies einer Gesamtleistungsaufnahme von 140 W entspreche. Es sei hier davon ausgegangen, dass das Betriebsgerät den LED-Strom entsprechend hochregle, um den gewünschten Lichtstrom aufrechtzuerhalten. Fiele nun das LED-Modul zu diesem Zeitpunkt aus und würde durch ein neues LED-Modul ersetzt werden, würde ohne den erfindungsgemäßen Informationsfluss zwischen LED-Modul und Betriebsgerät weiterhin von dem Betriebsgerät ein LED-Strom von 695 mA bereitgestellt werden. Dies entspräche einem Lichtstrom von 10.400 Lumen und wäre also 1.600 Lumen höher als der gewünschte Lichtstrom.
  • Durch das erfindungsgemäße LED-Modul mit Modulspeicher ist der Austausch des LED-Moduls für das Betriebsgerät erkennbar, wobei das erfindungsgemäße Betriebsgerät den LED-Strom nach dem Austausch des LED-Moduls entsprechend reduziert, so dass der Lichtstrom dem gewünschten Wert entspricht.
  • Fiele in einem weiteren Szenario nach den genannten 30.000 Stunden Betriebsdauer das Betriebsgerät aus und würde gegen ein Neues ersetzt werden, so würde das neue Betriebsgerät ohne den erfindungsgemäßen Datenaustausch zwischen dem LED-Modul und dem Betriebsgerät einen LED-Strom von 510 mA bereitstellen. Durch die Alterung des LED-Moduls entspräche dies jedoch lediglich einem Lichtstrom von 7.100 Lumen, so dass der Lichtstrom 1.600 Lumen geringer als der gewünschte Lichtstrom wäre. Im Gegensatz hierzu erkennt das erfindungsgemäße Betriebsgerät den Alterungszustand des angeschlossenen LED-Moduls anhand der dort im Modulspeicher gespeicherten Betriebsstundenzahl und erhöht den LED-Strom derart, dass sich der gewünschte Lichtstrom einstellt.
  • Ferner ermöglicht die vorliegende Erfindung, das vorhandene Betriebsgerät und das vorhandene LED-Modul gegen ein Betriebsgerät bzw. ein LED-Modul eines anderen Typs auszutauschen, wobei der gewünschte Lichtstrom aufrechterhalten bleibt: In dem Modulspeicher des LED-Moduls können Kenndaten des LED-Moduls gespeichert sein, aufgrund derer das angeschlossene Betriebsgerät den LED-Strom berechnen kann, der für die gewünschte Beleuchtung, insbesondere für den gewünschten Lichtstrom, benötigt wird.In einem weiteren Aspekt umfasst die vorliegende Erfindung eine Leuchte mit zumindest einem Betriebsgerät der beschriebenen Art und zumindest einem LED-Modul der beschriebenen Art. In einem weiteren Aspekt stellt die vorliegende Erfindung ein Verfahren zum Ansteuern eines LED-Moduls, insbesondere eines LED-Moduls der eingangs beschriebenen Art, bereit, welches von einem Betriebsgerät, insbesondere einem Betriebsgerät der eingangs beschriebenen Art, ausgeführt wird, wobei das Verfahren die folgenden Schritte umfasst:
    • Überprüfen, ob eine von dem LED-Modul empfangene Kennung bereits in dem Betriebsgerät gespeichert ist,
    • falls die Kennung nicht gespeichert ist, Kopieren von in dem Betriebsgerät gespeicherten Programmierparametern in das LED-Modul, wenn ein LED-Reset-Flag gesetzt ist, oder Übernehmen von in dem LED-Modul gespeicherten Programmierparametern in das Betriebsgerät, wenn das LED-Reset-Flag nicht gesetzt ist.
  • Das Verfahren kann auch mit einem anderen als dem eingangs beschriebenen Betriebsgerät bzw. dem eingangs beschriebenen LED-Modul verwendet werden, sofern diese für ein Übertragen von Programmierparametern zwischen LED-Modul und Betriebsgerät eingerichtet sind.
  • Weitere Merkmale und Vorteile der vorliegenden Erfindung werden aus der nachfolgenden detaillierten Beschreibung von bevorzugten Ausführungsformen der Erfindung deutlich.
  • Figur 1
    zeigt eine schematische Abbildung einer erfindungsgemäßen Leuchte mit einem Betriebsgerät und einem LED-Modul.
    Figur 2a
    zeigt eine erste Ausführungsform eines erfindungsgemäßen Betriebsgeräts.
    Figur 2b
    zeigt eine zweite Ausführungsform eines erfindungsgemäßen Betriebsgeräts mit einem Betriebsspeicher.
    Figur 3a
    zeigt eine erste Ausführungsform eines erfindungsgemäßen LED-Moduls.
    Figur 3b
    zeigt eine zweite Ausführungsform eines erfindungsgemäßen LED-Moduls mit einem Sensor.
    Figur 3c
    zeigt eine dritte Ausführungsform eines erfindungsgemäßen LED-Moduls mit mehreren Gruppen von LED.
    Figur 4
    zeigt ein Ablaufdiagramm eines Programms, das von dem erfindungsgemäßen Betriebsgerät ausgeführt wird.
  • Die in der in Figur 1 dargestellte Ausführungsform einer erfindungsgemäßen Leuchte weist ein Betriebsgerät 2 und ein LED-Modul 3 auf. Das Betriebsgerät 2 ist mit einer Leistungsbereitstellungsschnittstelle 21 und einer Speicherzugriffsschnittstelle 22 versehen. Das LED-Modul 3 weist eine Leistungsschnittelle 31 und eine Speicherschnittstelle 32 auf. Die Leistungsbereitstellungsschnittstelle 21 ist lösbar mit der Leistungsschnittstelle 31 verbunden. Ferner ist die Speicherzugriffsschnittstelle 22 lösbar mit der Speicherschnittstelle 32 verbunden.
  • In der Figur 2a ist eine erste Ausführungsform des erfindungsgemäßen Betriebsgeräts 2 dargestellt. Das Betriebsgerät 2 weist dabei eine Leistungsbereitstellungsschnittstelle 21 und eine Speicherzugriffsschnittstelle 22 auf, welche mit einem elektronischen Vorschaltgerät 24 des Betriebsgeräts 2 verbunden sind. Das Vorschaltgerät 24 umfasst dabei einen integrierten Mikrokontroller, welcher über die Speicherzugriffsschnittstelle 22 empfangene Modulinformationen eines angeschlossenen LED-Moduls auswertet, um einen Betriebsparameter des elektronischen Vorschaltgeräts 24 einzustellen. Das Vorschaltgerät 24 stellt die Versorgungsleistung an der Leistungsbereitstellungsschnittstelle 21 bereit.
  • Die in der Figur 2b gezeigte zweite Ausführungsform eines Betriebsgeräts 2' umfasst ferner einen Betriebsspeicher 25. Der Betriebsspeicher 25 ist mit der Speicherzugriffsschnittstelle 22 des Betriebsgeräts 2' verbunden. Ferner ist der Betriebsspeicher 25 mit dem Vorschaltgerät 24' verbunden. Das Vorschaltgerät 24' ist mit dem Betriebsspeicher 25 und der Speicherzugriffsschnittstelle 22 verbunden. Diese Anordnung ermöglicht den Austausch von Daten zwischen dem Betriebsspeicher 25 und dem Modulspeicher eines angeschlossenen LED-Moduls über die Speicherzugriffsschnittstelle 22. Ferner stehen in dieser Ausführungsform dem Vorschaltgerät 24' neben den von dem LED-Modul über die Speicherzugriffsschnittstelle 22 empfangenen Modulinformationen auch die in dem Betriebsspeicher 25 gespeicherten Informationen zur Verfügung. In der in Fig. 2b gezeigten Ausführungsform ist der Betriebsspeicher 25 in das Betriebsgerät 2' integriert. In anderen Ausführungsformen kann das Betriebsgerät eine Betriebsspeicherschnittstelle aufweisen, welche mit einem externen Betriebsspeicher verbunden ist. Der Betriebsspeicher ist in diesen Ausführungsformen austauschbar.
  • Die Figur 3a zeigt eine erste Ausführungsform eines erfindungsgemäßen LED-Moduls 3. Das LED-Modul 3 weist dabei eine Gruppe 33 von LED auf. Die Gruppe 33 ist elektrisch mit einer Leistungsschnittstelle 31 verbunden. Die Leistungsschnittstelle 31 ist zum lösbaren Verbinden mit einem Betriebsgeräts nach außen geführt. Ferner weist das LED-Modul 3 einen Modulspeicher 34 auf, welcher mit einer Speicherschnittstelle 32 verbunden ist, welche ebenfalls nach außen geführt ist. Die Gruppe 33 von LED ist unmittelbar mit der Leistungsschnittstelle 31 verbunden, so dass die an der Leistungsschnittstelle 31 bereitgestellte elektrische Leistung der Gruppe 33 von LED unmittelbar zugeführt wird.
  • Eine zweite Ausführungsform eines erfindungsgemäßen LED-Moduls 3' ist in Figur 3b gezeigt. Das LED-Modul 3' weist in dieser Ausführungsform einen Modulspeicher 34' auf, welcher mit einer Speicherschnittstelle 32 verbunden ist. Ferner weist das LED-Modul 3' eine Gruppe 33 von LEDs auf, die mit einer Leistungsschnittstelle 31 verbunden ist. Darüber hinaus ist ein Sensor 31 an der Gruppe 33 von LEDs vorgesehen, der einen Modulparameter erfasst. Der Sensor 31 ist dabei in dieser Ausführungsform als Temperatursensor ausgebildet und ist neben der Gruppe 33 von LED angeordnet und eingerichtet, deren Temperatur zu erfassen. Der Sensor 35 ist ferner mit dem Modulspeicher 34' verbunden. In dieser Ausführungsform wird die von dem Sensor 35 erfasste Temperatur in dem Modulspeicher 34'gespeichert und steht an der Speicherschnittstelle 32 zum Empfangen durch ein erfindungsgemäßes Betriebsgerät bereit.
  • Die in der Figur 3c gezeigte dritte Ausführungsform eines erfindungsgemäßen LED-Moduls 3" umfasst drei Gruppen 331, 332 und 333 von LED. Die drei Gruppen 331, 332, 333 von LED sind mit einer Leistungsschnittstelle 31' des LED-Moduls 3" verbunden. Die Leistungsschnittstelle 31' verfügt dabei über mehrere Kanäle, wobei jeder Gruppe 331, 332, 333 von LED ein Kanal zugeordnet ist. Auf diese Weise sind die drei Gruppen 331, 332 und 333 von LED separat über die Leistungsschnittstelle 31' mit elektrischer Leistung versorgbar. Ferner weist das LED-Modul 3" einen mit einer Speicherschnittstelle 32 verbundenen Modulspeicher 34 auf.
  • Figur 4 zeigt ein Ablaufdiagramm eines Programms, das von dem Betriebsgerät nach dem Einschalten ausgeführt wird. In dieser Ausführungsform ist das Betriebsgerät als elektrisches Vorschaltgerät, EVG, ausgebildet und eingerichtet, die in der Figur 4 gezeigten und im Folgenden beschriebenen Schritte durchzuführen. Hierzu besitzt das Betriebsgerät einen Mikroprozessor. In Schritt 101 wird die Leuchte, die das Betriebsgerät und das daran angeschlossene LED-Modul umfasst, eingeschaltet. Dies erfolgt in der beschriebenen Ausführungsform durch das Einschalten der Versorgungsleistung durch eine Zentraleinheit. In anderen Ausführungsformen verfügt das Betriebsgerät über einen Schalter, über welchen es eingeschaltet wird. Sodann überprüft das Betriebsgerät, ob ein oder mehrere LED-Module angeschlossen sind und überprüft ihre Adressierung 102. In der gezeigten Ausführungsform sind die LED-Module dabei mittels einer 1-Wire-Verbindung mit dem Betriebsgerät, die eine zweiadrige Drahtverbindung vorsieht, verbunden. Dabei erfolgt die Kommunikation über die gleiche Verbindung wie die elektrische Versorgung. Danach überprüft das Betriebsgerät, ob das angeschlossene LED-Modul über einen Modulspeicher, beispielsweise in Form eines EEPROMs verfügt 103. Falls auf dem angeschlossenen LED-Modul kein EEPROM gefunden wird, arbeitet das Betriebsgerät im Folgenden mit internen, im Betriebsspeicher des Betriebsgeräts gespeicherten Voreinstellwerten, sog. EEP Werten 104. Falls ein EEPROM auf dem angeschlossenen LED-Modul gefunden wird, überprüft das Betriebsgerät, ob ihm die Kennung des angeschlossenen LED-Moduls bekannt ist 105. Hierzu werden in dem Betriebsspeicher des Betriebsgeräts die Kennungen der LED-Module, die bereits einmal mit dem Betriebsgerät verbunden waren, gespeichert. Falls die Kennung des LED-Moduls dem Betriebsgerät bekannt ist, ein entsprechender Eintrag im Betriebsspeicher des Betriebsgeräts also vorhanden ist, übernimmt das Betriebsgerät den im Betriebsspeicher des Betriebsgeräts gespeicherten Wert für die Anzahl der Betriebsstunden des angeschlossenen LED-Moduls und zählt diesen im Folgenden im Flux Counter fort 107. Der Wert für die Anzahl der Betriebsstunden wird ferner in dem Modulspeicher des LED-Moduls gespeichert. Danach überprüft das Betriebsgerät, ob eine in dem Betriebsspeicher des Betriebsgeräts gespeicherte maximale LED-Temperatur über der in dem Modulspeicher des angeschlossenen LED-Moduls gespeicherten maximalen LED-Temperatur liegt 108. Falls die in dem Betriebsgerät gespeicherte maximale LED-Temperatur über der im LED-Modul gespeicherten liegt, aktualisiert das Betriebsgerät die für das angeschlossene LED-Modul gespeicherte maximale LED-Temperatur in seinem Betriebsspeicher 109.
  • Anschließend überprüft das Betriebsgerät, ob die in dem Modulspeicher des LED-Moduls gespeicherten Programmierdaten, die Service-Box-(SB)-Parameter, den in dem Betriebsspeicher des Betriebsgeräts gespeicherten Programmierdaten entsprechen 110. Die Programmierdaten können dabei einen gewünschten Lichtstrom, eine Einschaltdauer, eine Reduktionszeitperiode, einen Dimmwert, einen LED-Strom, etc. umfassen. Falls die in dem Betriebsgerät gespeicherten Programmierdaten nicht denjenigen entsprechen, welche in dem LED-Modul gespeichert sind, werden die in dem Betriebsgerät gespeicherten Programmierdaten über die Speicherzugriffsschnittstelle des Betriebsgeräts und die Speicherschnittstelle des LED-Moduls in den Modulspeicher des LED-Moduls kopiert 111. Auf diese Weise kann eine an dem Betriebsgerät durchgeführte Neuprogrammierung auf das LED-Modul übertragen werden. Anschließend startet das Betriebsgerät einen auf dem Betriebsgerät vorgesehenen Scheduler und überprüft periodisch eine LED-Temperatur des LED-Moduls 112. Auf diese Weise kann sichergestellt werden, dass eine maximal zulässige LED-Temperatur nicht überschritten wird und somit keine Überhitzung und damit vorzeitige Alterung der darauf angeordneten LEDs auftritt. Hierzu kann auf dem angeschlossenen LED-Modul ein Temperatursensor vorgesehen sein, welcher über die Speicherzugriffsschnittstelle des Betriebsgeräts abgefragt werden kann wie oben beschrieben. Die periodische Überprüfung der LED-Temperatur erfolgt im Abstand von 1 min. In anderen Ausführungsformen kann die Temperaturüberprüfung in einem regelmäßigen Abstand im Bereich von 15 s bis 10 min, insbesondere von 30 s bis 5 min und bevorzugt von 45 s bis 2 min erfolgen. Dabei wird nach einer Einschaltzeit von 10 s bis 1 Std., insbesondere 2 min bis 40 min, bevorzugt 15 min bis 30 min ein eventuell gesetztes LED-Reset-Flag gelöscht 113. Sobald die Leuchte ausgeschaltet wird 115, speichert das Betriebsgerät Daten im Betriebsspeicher. Insbesondere wird die Betriebsstundenzahl für das LED-Modul im Betriebsspeicher aktualisiert.
  • Zurückkehrend zu Schritt 105 übernimmt das Betriebsgerät, falls die Kennung des angeschlossenen LED-Moduls dem Betriebsgerät nicht bekannt ist, die LED-Modulkennung, den Betriebsstundenwert sowie Betriebsdaten aus dem Modulspeicher des LED-Moduls 106. Anschließend überprüft das Betriebsgerät, ob das LED-Reset-Flag gesetzt ist 116. Falls ja, fährt das Betriebsgerät mit Schritt 111 fort und kopiert die Programmierdaten von dem Betriebsgerät in das LED-Modul. Falls nein, übernimmt das Betriebsgerät die Programmierdaten aus dem LED-Modul 117 und führt einen Refresh aus 118. Das LED-Reset-Flag kann daher benutzt werden, um zu steuern, ob das Betriebsgerät die Programmierung aus dem LED-Modul oder aus dem Betriebsspeicher des Betriebsgeräts verwendet. Hierzu ist in dieser Ausführungsform vorgesehen, dass das LED-Reset-Flag in dem LED-Modul gespeichert ist. Vor dem Austausch des LED-Moduls kann auf diese Weise bestimmt werden, ob eine auf dem LED-Modul vorgesehene Programmierung für die Ansteuerung des LED-Moduls durch das Betriebsgerät verwendet werden soll oder die auf dem Betriebsgerät vorhandene Programmierung. In anderen Ausführungsformen kann vorgesehen sein, dass das LED-Reset-Flag in dem Betriebsgerät gespeichert ist und beispielsweise über eine an dem Betriebsgerät vorgesehene Betriebsspeicherzugriffsschnittstelle gesetzt werden kann.
  • In der in Figur 4 dargestellten Ausführungsform ist ferner vorgesehen, dass über eine Neuparametrisierung 119 Programmierdaten in dem Betriebsgerät gespeichert werden können 120. Die Neuparametrisierung kann dabei beispielsweise über eine Betriebsspeicherzugriffsschnittstelle des Betriebsgeräts erfolgen, an welche eine Service Box angeschlossen ist. Hierbei empfängt das Betriebsgerät neue Programmierdaten und speichert diese in dem Betriebsspeicher.
  • Bezugszeichenliste:
  • 2,2'
    Betriebsgerät
    3, 3', 3"
    LED-Modul
    21
    Leistungsbereitstellungsschnittstelle
    22
    Speicherzugriffsschnittstelle
    24,24'
    Vorschaltgerät
    25
    Betriebsspeicher
    31, 31'
    Leistungsschnittstelle
    32
    Speicherschnittstelle
    33, 331, 332, 333
    Gruppe von LED
    34, 34'
    Modulspeicher
    35
    Sensor

Claims (15)

  1. Betriebsgerät (2, 2') zum lösbaren Verbinden mit einem LED-Modul (3, 3', 3"),
    wobei das Betriebsgerät (2, 2') zum lösbaren Verbinden mit dem LED-Modul (3, 3', 3") eine Leistungsbereitstellungsschnittstelle (21) und eine Speicherzugriffsschnittstelle (22) aufweist,
    wobei das Betriebsgerät (2, 2') ferner ein elektronisches Vorschaltgerät (24, 24') umfasst, welches mit der Leistungsbereitstellungsschnittstelle (21) des Betriebsgeräts (2, 2') verbunden ist, wobei das elektronische Vorschaltgerät (24, 24') eine Versorgungsleistung für das LED-Modul (3, 3', 3 ") an der Leistungsbereitstellungsschnittstelle (21) mit zumindest einem einstellbaren Betriebsparameter bereitstellt,
    wobei das Betriebsgerät (2,2') ferner eingerichtet ist, Modulinformationen aus einem Modulspeicher (34, 34') des LED-Moduls (3, 3', 3") über die Speicherzugriffsschnittstelle (22) zu empfangen,
    wobei das elektronische Vorschaltgerät (24, 24') den Betriebsparameter in Abhängigkeit der empfangenen Modulinformationen einstellt,
    dadurch gekennzeichnet, dass das Betriebsgerät (2, 2') dazu eingerichtet ist, eine Kodierung eines angeschlossenen LED-Moduls (3, 3', 3") zu speichern und nach einem Aus- und anschließenden Einschalten zu überprüfen, ob ein derzeitig angeschlossenes LED-Modul (3, 3', 3") bereits vorher angeschlossen war, und den Betriebsparameter in Abhängigkeit des Ergebnisses der Überprüfung einzustellen.
  2. Betriebsgerät (2,2') nach Anspruch 1, wobei der einstellbare Betriebsparameter eine Spannung, einen Strom, ein Abtastverhältnis einer Pulsweitenmodulation und/oder ein Amplitudenverhältnis einer Amplitudenmodulation umfasst.
  3. Betriebsgerät (2, 2') nach einem der vorangehenden Ansprüche, wobei die Leistungsbereitstellungsschnittstelle (21) und die Speicherzugriffsschnittstelle (22) des Betriebsgeräts zu einer Betriebsgeräteschnittstelle zusammengefasst sind und über eine gemeinsame Leitung, insbesondere eine mehradrige Leitung mit dem LED-Modul (3, 3', 3") verbindbar sind.
  4. Betriebsgerät (2') nach einem der vorangehenden Ansprüche, welches ferner einen Betriebsspeicher (25) oder eine Betriebsspeicherschnittstelle zum Anschluss eines Betriebsspeichers aufweist, wobei das elektronische Vorschaltgerät (24') den Betriebsparameter ferner in Abhängigkeit von in dem Betriebsspeicher (25) gespeicherten Informationen einstellt.
  5. Betriebsgerät (2') nach Anspruch 4, welches ferner eingerichtet ist, Betriebsdaten des elektronischen Vorschaltgeräts (24'), insbesondere eine Betriebsstundenzahl, in dem Betriebsspeicher (25) zu speichern, und/oder
    wobei der Betriebsspeicher (25) bzw. die Betriebsspeicherschnittstelle zum Anschluss eines Betriebsspeichers mit der Speicherzugriffsschnittstelle (22) verbunden ist, um aus dem Modulspeicher (34, 34') des LED-Moduls (3, 3', 3") empfangene Modulinformationen in den Betriebsspeicher (25) zu übertragen und/oder um Informationen von dem Betriebsspeicher (25) zu dem LED-Modul (3, 3', 3") zu übertragen.
  6. Betriebsgerät (2,2') nach einem der vorangehenden Ansprüche, wobei das elektronische Vorschaltgerät (24, 24') an der Leistungsbereitstellungsschnittstelle (21) die Versorgungsleistung auf mehreren Kanälen zur Versorgung mehrerer Gruppen (331, 332, 333) von LED des LED-Moduls (3") mit jeweils zumindest einem einstellbaren Betriebsparameter bereitstellt.
  7. LED-Modul (3, 3', 3") zum lösbaren Verbinden mit einem Betriebsgerät (2, 2') gemäß einem der Ansprüche 1 bis 6, wobei das LED-Modul (3, 3', 3") Folgendes umfasst:
    eine Leistungsschnittstelle (31,31') zum lösbaren Verbinden mit der Leistungsbereitstellungsschnittstelle (21) des Betriebsgeräts (2, 2'),
    eine Speicherschnittstelle (32) zum lösbaren Verbinden mit der Speicherzugriffsschnittstelle (22) des Betriebsgeräts (2, 2'),
    wobei die Leistungsschnittstelle (31, 31') mit zumindest einer Gruppe (33; 331, 332, 333) von LED des LED-Moduls (3, 3', 3") verbunden ist, so dass eine an der Leistungsschnittstelle (31) bereitgestellte elektrische Versorgungsleistung der zumindest einen Gruppe (33; 331, 332, 333) von LED zugeführt wird, und
    einen Modulspeicher (34, 34') oder eine Modulspeicherschnittstelle zum Verbinden mit einem Modulspeicher, wobei der Modulspeicher (34, 34') bzw. die Modulspeicherschnittstelle mit der Speicherschnittstelle (32) verbunden ist,
    dadurch gekennzeichnet, dass das LED-Modul (3, 3', 3") eine Kodierung enthält und nach einem Ein- und Ausschalten des angeschlossenen Betriebsgerätes (2, 2') an dieses zu senden, um dem Betriebsgerät (2, 2') eine Überprüfung zu ermöglichen, ob das LED-Modul (3, 3', 3") bereits vorher angeschlossen war, und einen Betriebsparameter in Abhängigkeit des Ergebnisses der Überprüfung einzustellen.
  8. LED-Modul (3, 3', 3") nach Anspruch 7, wobei die Leistungsschnittstelle (31,31') und die Speicherschnittstelle (32) des LED-Moduls zu einer Modulschnittstelle zusammengefasst sind über eine gemeinsame Leitung, insbesondere eine mehradrige Leitung mit dem Betriebsgerät (2, 2') verbindbar sind.
  9. LED-Modul (3") nach Anspruch 7 oder 8, welches mehrere Gruppen (331, 332, 333) von LED aufweist, und wobei die Leistungsschnittstelle (31') mehrere Kanäle aufweist, wobei jeder Kanal mit einer Gruppe (331, 332, 333) von LED verbunden ist, so dass die mehreren Gruppen (331, 332, 333) separat mit elektrischer Leistung versorgbar sind.
  10. LED-Modul (3') nach einem der Ansprüche 7, 8 oder 9, welches ferner zumindest einen Sensor (35) zum Erfassen zumindest eines Modulparameters, insbesondere einer Temperatur, eines Lichtstroms und/oder einer Lichtfarbe des LED-Moduls (3') aufweist, wobei der Sensor (35) mit der Speicherschnittstelle und/oder mit dem Modulspeicher (34') bzw. der Modulspeicherschnittstelle verbunden ist, und/oder welches ferner zumindest eine optische Vorrichtung zur Lenkung eines Lichtstroms mindestens einer LED des LED-Moduls (3, 3', 3") aufweist, insbesondere einen Reflektor und/oder einen Diffusor.
  11. LED-Modul (3, 3', 3") nach einem der Ansprüche 7 bis 10, wobei der Modulspeicher (34, 34') einen nichtflüchtigen Speicher umfasst, welcher insbesondere einen integrierten Schaltkreis aufweist, und/oder
    wobei der Modulspeicher (34, 34') über die Leistungsschnittstelle (31, 31') des LED-Moduls (3, 3', 3"), über die Speicherschnittstelle (32) des LED-Moduls (3, 3', 3"), über eine separate Speicherversorgungsschnittstelle und/oder über eine auf dem LED-Modul (3, 3', 3") vorgesehene Batterie mit elektrischer Leistung versorgt ist.
  12. LED-Modul (3, 3', 3") nach einem der Ansprüche 7 bis 11, wobei die Speicherschnittstelle (32) eine leitungsgebundene elektrische Schnittstelle, eine optische Schnittstelle und/oder eine Funkschnittstelle umfasst.
  13. LED-Modul (3, 3', 3") nach einem der Ansprüche 7 bis 12, wobei das LED-Modul (3, 3', 3") ferner ein Mittel zum werkzeuglosen Verbinden des LED-Moduls (3, 3', 3") mit dem Betriebsgerät (2, 2') umfasst, insbesondere zum Verbinden der Speicherschnittstelle (32) mit der Speicherzugriffsschnittstelle (22) und/oder zum Verbinden der Leistungsschnittstelle (31) mit der Leistungsbereitstellungsschnittstelle (21), wobei das Mittel zum werkzeuglosen Verbinden ferner bevorzugt einen Stecker oder eine Buchse umfasst.
  14. Leuchte mit einem Betriebsgerät (2, 2') nach einem der Ansprüche 1 bis 6 und zumindest einem LED-Modul (3, 3', 3") nach einem der Ansprüche 7 bis 13.
  15. Verfahren zum Ansteuern eines LED-Moduls (3, 3', 3"), insbesondere eines LED-Moduls nach einem der Ansprüche 7 bis 13, welches von einem Betriebsgerät (2, 2'), insbesondere einem Betriebsgerät nach einem der Ansprüche 1 bis 6, ausgeführt wird, wobei das Verfahren durch die folgenden Schritte gekennzeichnet wird:
    Überprüfen, ob eine von einem LED-Modul empfangene Kennung bereits in dem Betriebsgerät gespeichert ist (105),
    falls die Kennung nicht gespeichert ist, Kopieren von in dem Betriebsgerät gespeicherten Programmierparametern in das LED-Modul, wenn ein LED-Reset-Flag gesetzt ist (111), oder übernehmen von in dem LED-Modul gespeicherten Programmierparametern in das Betriebsgerät, wenn das LED-Reset-Flag nicht gesetzt ist (117).
EP12709816.8A 2011-02-17 2012-02-15 Austauschbares led-modul mit datenspeicher und led-betriebsgerät dafür Active EP2676527B1 (de)

Priority Applications (1)

Application Number Priority Date Filing Date Title
EP17186438.2A EP3270663B1 (de) 2011-02-17 2012-02-15 Austauschbares led-modul mit datenspeicher und led-betriebsgerät dafür

Applications Claiming Priority (3)

Application Number Priority Date Filing Date Title
DE102011000803 2011-02-17
DE102011103907A DE102011103907A1 (de) 2011-02-17 2011-06-10 LED-Leuchte
PCT/EP2012/052596 WO2012110559A1 (de) 2011-02-17 2012-02-15 Led-leuchte

Related Child Applications (2)

Application Number Title Priority Date Filing Date
EP17186438.2A Division EP3270663B1 (de) 2011-02-17 2012-02-15 Austauschbares led-modul mit datenspeicher und led-betriebsgerät dafür
EP17186438.2A Division-Into EP3270663B1 (de) 2011-02-17 2012-02-15 Austauschbares led-modul mit datenspeicher und led-betriebsgerät dafür

Publications (2)

Publication Number Publication Date
EP2676527A1 EP2676527A1 (de) 2013-12-25
EP2676527B1 true EP2676527B1 (de) 2017-10-11

Family

ID=46605075

Family Applications (2)

Application Number Title Priority Date Filing Date
EP12709816.8A Active EP2676527B1 (de) 2011-02-17 2012-02-15 Austauschbares led-modul mit datenspeicher und led-betriebsgerät dafür
EP17186438.2A Active EP3270663B1 (de) 2011-02-17 2012-02-15 Austauschbares led-modul mit datenspeicher und led-betriebsgerät dafür

Family Applications After (1)

Application Number Title Priority Date Filing Date
EP17186438.2A Active EP3270663B1 (de) 2011-02-17 2012-02-15 Austauschbares led-modul mit datenspeicher und led-betriebsgerät dafür

Country Status (5)

Country Link
EP (2) EP2676527B1 (de)
CN (1) CN103370987B (de)
DE (1) DE102011103907A1 (de)
PL (1) PL3270663T3 (de)
WO (1) WO2012110559A1 (de)

Cited By (2)

* Cited by examiner, † Cited by third party
Publication number Priority date Publication date Assignee Title
WO2021058608A1 (fr) * 2019-09-27 2021-04-01 Valeo Vision Dispositif et procede de commande de sources lumineuses matricielles
DE102021102668A1 (de) 2021-02-04 2022-08-04 Siteco Gmbh LED-Modul und elektronisches Vorschaltgerät für ein flexibel upgradefähiges Leuchtensystem

Families Citing this family (10)

* Cited by examiner, † Cited by third party
Publication number Priority date Publication date Assignee Title
DE102012101818B4 (de) 2012-03-05 2018-11-08 Osram Opto Semiconductors Gmbh Optoelektronisches Modul mit einem Kodierelement in einer Aussparung, Beleuchtungseinrichtung mit diesem Modul und Verfahren zu seiner Herstellung
DE102013001194A1 (de) * 2013-01-24 2014-07-24 Jakob Löschke LED-Modul. LED-Vorschaltvorrichtung und System aus einem LED-Modul und einer LED-Vorschaltvorrichtung
CN104284487A (zh) * 2014-09-26 2015-01-14 苏州博络克信息技术服务有限公司 一种机卡分离的单灯控制器及单灯控制方法
DE102014221360A1 (de) * 2014-10-21 2016-04-21 Ridi Leuchten Gmbh Leuchte mit Lampe
DE102014221361A1 (de) * 2014-10-21 2016-04-21 Ridi Leuchten Gmbh Leuchte mit Stablampe
DE102016104445B4 (de) * 2016-03-11 2023-05-25 Traxon Technologies Ltd. Leuchte, Beleuchtungssystem und Betriebsverfahren für ein Beleuchtungssystem
DE102017206818A1 (de) * 2017-04-24 2018-10-25 Volkswagen Aktiengesellschaft Fahrstufenanzeige-Ausleuchteinheit
DE102017130561A1 (de) * 2017-12-19 2019-06-19 Schott Ag Beleuchtungsvorrichtung
DE102020203041A1 (de) 2020-03-10 2021-09-16 Osram Gmbh Beleuchten eines textils
CN116887480A (zh) * 2023-06-16 2023-10-13 厦门普为光电科技有限公司 智能模块化多功能照明装置

Family Cites Families (16)

* Cited by examiner, † Cited by third party
Publication number Priority date Publication date Assignee Title
US5962992A (en) * 1997-10-14 1999-10-05 Chaw Khong Co., Ltd. Lighting control system
US7425798B2 (en) * 2003-01-23 2008-09-16 Lumination Llc Intelligent light degradation sensing LED traffic signal
DE102004002026A1 (de) * 2004-01-14 2005-08-04 Tridonicatco Gmbh & Co. Kg Ansteuerung von Leuchtmittel-Betriebsgeräten über einen modulierten DC-Bus
DE202004006292U1 (de) * 2004-04-21 2004-07-22 Knobel Ag Lichttechnische Komponenten Kennung für LED-Module
DE102004039677B4 (de) * 2004-05-28 2023-02-02 Zumtobel Lighting Gmbh Gebäudemanagementsystem und Aktor mit Speicherteil
DE102005018175A1 (de) 2005-04-19 2006-10-26 Patent-Treuhand-Gesellschaft für elektrische Glühlampen mbH LED-Modul und LED-Beleuchtungseinrichtung mit mehreren LED-Modulen
DE102006010311B3 (de) * 2006-03-07 2007-10-04 SCEMTEC Hard- und Software für Mess- und Steuerungstechnik GmbH Anordnung zur Ansteuerung von LEDs
CA2643114A1 (en) * 2006-03-13 2007-09-20 Tir Technology Lp Light unit
DE102007018884A1 (de) * 2006-04-19 2007-10-31 GfS Gesellschaft für Stromversorgungstechnik mbH Verfahren und Vorrichtung zur Steuerung und Überwachung von Notlichtsystemen
DE102007031721B4 (de) 2007-07-06 2015-07-16 Siteco Control Gmbh Externer Konfigurationsspeicher für Netzwerkgeräte
US9155170B2 (en) * 2008-03-20 2015-10-06 Cooper Technologies Company Conductive magnetic coupling system
DE102008025865A1 (de) * 2008-05-29 2009-12-03 Lumitech Produktion Und Entwicklung Gmbh LED-Modul mit integrierten elektronischen Bauteilen für die Farbort- und Intensitätssteuerung
FI122051B (fi) * 2008-06-27 2011-07-29 Valopaa Oy Valaisin ja ohjausmenetelmä
DE112009002327A5 (de) * 2008-09-22 2011-09-29 Tridonic Atco Gmbh & Co. Kg Vorrichtung zum Betreiben von LEDs
US8159149B2 (en) * 2008-10-24 2012-04-17 Honeywell International Inc. Systems and methods for security controlled LED lighting fixture
DE102010031242B4 (de) * 2010-03-19 2023-02-23 Tridonic Ag LED-Beleuchtungssystem mit Betriebsdatenspeicher

Non-Patent Citations (1)

* Cited by examiner, † Cited by third party
Title
None *

Cited By (5)

* Cited by examiner, † Cited by third party
Publication number Priority date Publication date Assignee Title
WO2021058608A1 (fr) * 2019-09-27 2021-04-01 Valeo Vision Dispositif et procede de commande de sources lumineuses matricielles
FR3103025A1 (fr) * 2019-09-27 2021-05-14 Valeo Vision Dispositif et procede de commande de sources lumineuses matricielles
US12515581B2 (en) 2019-09-27 2026-01-06 Valeo Vision Device and method for controlling matrix light sources
DE102021102668A1 (de) 2021-02-04 2022-08-04 Siteco Gmbh LED-Modul und elektronisches Vorschaltgerät für ein flexibel upgradefähiges Leuchtensystem
EP4040920A1 (de) 2021-02-04 2022-08-10 Siteco GmbH Led-modul und elektronisches vorschaltgerät für ein flexibel upgradefähiges leuchtensystem

Also Published As

Publication number Publication date
PL3270663T3 (pl) 2025-06-30
EP3270663B1 (de) 2025-04-02
EP3270663C0 (de) 2025-04-02
EP2676527A1 (de) 2013-12-25
DE102011103907A1 (de) 2012-08-23
WO2012110559A1 (de) 2012-08-23
CN103370987B (zh) 2016-08-10
EP3270663A1 (de) 2018-01-17
CN103370987A (zh) 2013-10-23

Similar Documents

Publication Publication Date Title
EP2676527B1 (de) Austauschbares led-modul mit datenspeicher und led-betriebsgerät dafür
EP2510747B1 (de) Steuerbare retrofit led-lampen und beleuchtungssystem mit led-lampe
DE112011101246B4 (de) Modulares LED-Beleuchtungssystem mit Notlichtfunktion
DE102010031244B4 (de) Modulares LED-Beleuchtungssystem
DE112011101247B4 (de) Modulares LED-Beleuchtungssystem mit Notlichtfunktion
DE102010031242A1 (de) LED-Beleuchtungssystem mit Betriebsdatenspeicher
DE102010037767A1 (de) Lampenvorrichtung für ein Fahrzeug
DE102010031230A1 (de) Modulares LED-Beleuchtungssystem mit internem Bus
EP2335454B1 (de) VORRICHTUNG ZUM BETREIBEN VON LEDs
DE102014019475A1 (de) Leuchtvorrichtung für eine Lichtsignalanlage des schienengebundenen Verkehrs
EP2952061B1 (de) Vorrichtung zum led betrieb
DE102017130561A1 (de) Beleuchtungsvorrichtung
EP2176584B1 (de) Leuchte für mindestens eine led und sender zur erzeugung eines funksignals für eine derartige leuchte
DE102017116647B4 (de) Kalibrierung der Versorgungsspannung für Beleuchtungssysteme
EP2625930B1 (de) Betriebsgerät mit einstellbarer kritischer temperatur
DE202010003952U1 (de) Außenleuchte, insbesondere Straßenleuchte, sowie elektronischer Verbund von mehreren Außenleuchten
DE102012216049A1 (de) LED-Leuchtkörper sowie LED-Einsatz
EP2783551B1 (de) Anschlusserkennung von led-einheiten
DE102006006140A1 (de) Leuchtdioden-Leuchte
DE102010013561B4 (de) Vorrichtung und Verfahren zum Betreiben einer Leuchtmitteleinheit
EP3182800B1 (de) Betriebsgerät für ein beleuchtungssystem
DE102015223884A1 (de) Optisches Element mit elektronischem Element
DE102017200036A1 (de) Gebäudetechnik-Bussystem zum Betrieb von Gebäudetechnik-Geräten
EP2260675A2 (de) Leuchte, insbesondere zur erzielung eines tageslichtähnlichen leuchtspektrum
WO2009006995A2 (de) Kraftfahrzeugleuchtensystem

Legal Events

Date Code Title Description
PUAI Public reference made under article 153(3) epc to a published international application that has entered the european phase

Free format text: ORIGINAL CODE: 0009012

17P Request for examination filed

Effective date: 20130902

AK Designated contracting states

Kind code of ref document: A1

Designated state(s): AL AT BE BG CH CY CZ DE DK EE ES FI FR GB GR HR HU IE IS IT LI LT LU LV MC MK MT NL NO PL PT RO RS SE SI SK SM TR

DAX Request for extension of the european patent (deleted)
GRAP Despatch of communication of intention to grant a patent

Free format text: ORIGINAL CODE: EPIDOSNIGR1

STAA Information on the status of an ep patent application or granted ep patent

Free format text: STATUS: GRANT OF PATENT IS INTENDED

INTG Intention to grant announced

Effective date: 20170607

GRAS Grant fee paid

Free format text: ORIGINAL CODE: EPIDOSNIGR3

GRAA (expected) grant

Free format text: ORIGINAL CODE: 0009210

STAA Information on the status of an ep patent application or granted ep patent

Free format text: STATUS: THE PATENT HAS BEEN GRANTED

AK Designated contracting states

Kind code of ref document: B1

Designated state(s): AL AT BE BG CH CY CZ DE DK EE ES FI FR GB GR HR HU IE IS IT LI LT LU LV MC MK MT NL NO PL PT RO RS SE SI SK SM TR

REG Reference to a national code

Ref country code: GB

Ref legal event code: FG4D

Free format text: NOT ENGLISH

REG Reference to a national code

Ref country code: CH

Ref legal event code: EP

REG Reference to a national code

Ref country code: IE

Ref legal event code: FG4D

Free format text: LANGUAGE OF EP DOCUMENT: GERMAN

REG Reference to a national code

Ref country code: AT

Ref legal event code: REF

Ref document number: 937105

Country of ref document: AT

Kind code of ref document: T

Effective date: 20171115

REG Reference to a national code

Ref country code: DE

Ref legal event code: R096

Ref document number: 502012011426

Country of ref document: DE

REG Reference to a national code

Ref country code: CH

Ref legal event code: NV

Representative=s name: ISLER AND PEDRAZZINI AG, CH

REG Reference to a national code

Ref country code: NL

Ref legal event code: MP

Effective date: 20171011

REG Reference to a national code

Ref country code: FR

Ref legal event code: PLFP

Year of fee payment: 7

REG Reference to a national code

Ref country code: LT

Ref legal event code: MG4D

PG25 Lapsed in a contracting state [announced via postgrant information from national office to epo]

Ref country code: NL

Free format text: LAPSE BECAUSE OF FAILURE TO SUBMIT A TRANSLATION OF THE DESCRIPTION OR TO PAY THE FEE WITHIN THE PRESCRIBED TIME-LIMIT

Effective date: 20171011

PG25 Lapsed in a contracting state [announced via postgrant information from national office to epo]

Ref country code: ES

Free format text: LAPSE BECAUSE OF FAILURE TO SUBMIT A TRANSLATION OF THE DESCRIPTION OR TO PAY THE FEE WITHIN THE PRESCRIBED TIME-LIMIT

Effective date: 20171011

Ref country code: SE

Free format text: LAPSE BECAUSE OF FAILURE TO SUBMIT A TRANSLATION OF THE DESCRIPTION OR TO PAY THE FEE WITHIN THE PRESCRIBED TIME-LIMIT

Effective date: 20171011

Ref country code: NO

Free format text: LAPSE BECAUSE OF FAILURE TO SUBMIT A TRANSLATION OF THE DESCRIPTION OR TO PAY THE FEE WITHIN THE PRESCRIBED TIME-LIMIT

Effective date: 20180111

Ref country code: FI

Free format text: LAPSE BECAUSE OF FAILURE TO SUBMIT A TRANSLATION OF THE DESCRIPTION OR TO PAY THE FEE WITHIN THE PRESCRIBED TIME-LIMIT

Effective date: 20171011

Ref country code: LT

Free format text: LAPSE BECAUSE OF FAILURE TO SUBMIT A TRANSLATION OF THE DESCRIPTION OR TO PAY THE FEE WITHIN THE PRESCRIBED TIME-LIMIT

Effective date: 20171011

PG25 Lapsed in a contracting state [announced via postgrant information from national office to epo]

Ref country code: LV

Free format text: LAPSE BECAUSE OF FAILURE TO SUBMIT A TRANSLATION OF THE DESCRIPTION OR TO PAY THE FEE WITHIN THE PRESCRIBED TIME-LIMIT

Effective date: 20171011

Ref country code: IS

Free format text: LAPSE BECAUSE OF FAILURE TO SUBMIT A TRANSLATION OF THE DESCRIPTION OR TO PAY THE FEE WITHIN THE PRESCRIBED TIME-LIMIT

Effective date: 20180211

Ref country code: HR

Free format text: LAPSE BECAUSE OF FAILURE TO SUBMIT A TRANSLATION OF THE DESCRIPTION OR TO PAY THE FEE WITHIN THE PRESCRIBED TIME-LIMIT

Effective date: 20171011

Ref country code: BG

Free format text: LAPSE BECAUSE OF FAILURE TO SUBMIT A TRANSLATION OF THE DESCRIPTION OR TO PAY THE FEE WITHIN THE PRESCRIBED TIME-LIMIT

Effective date: 20180111

Ref country code: RS

Free format text: LAPSE BECAUSE OF FAILURE TO SUBMIT A TRANSLATION OF THE DESCRIPTION OR TO PAY THE FEE WITHIN THE PRESCRIBED TIME-LIMIT

Effective date: 20171011

Ref country code: GR

Free format text: LAPSE BECAUSE OF FAILURE TO SUBMIT A TRANSLATION OF THE DESCRIPTION OR TO PAY THE FEE WITHIN THE PRESCRIBED TIME-LIMIT

Effective date: 20180112

REG Reference to a national code

Ref country code: DE

Ref legal event code: R097

Ref document number: 502012011426

Country of ref document: DE

PG25 Lapsed in a contracting state [announced via postgrant information from national office to epo]

Ref country code: SK

Free format text: LAPSE BECAUSE OF FAILURE TO SUBMIT A TRANSLATION OF THE DESCRIPTION OR TO PAY THE FEE WITHIN THE PRESCRIBED TIME-LIMIT

Effective date: 20171011

Ref country code: DK

Free format text: LAPSE BECAUSE OF FAILURE TO SUBMIT A TRANSLATION OF THE DESCRIPTION OR TO PAY THE FEE WITHIN THE PRESCRIBED TIME-LIMIT

Effective date: 20171011

Ref country code: EE

Free format text: LAPSE BECAUSE OF FAILURE TO SUBMIT A TRANSLATION OF THE DESCRIPTION OR TO PAY THE FEE WITHIN THE PRESCRIBED TIME-LIMIT

Effective date: 20171011

Ref country code: CZ

Free format text: LAPSE BECAUSE OF FAILURE TO SUBMIT A TRANSLATION OF THE DESCRIPTION OR TO PAY THE FEE WITHIN THE PRESCRIBED TIME-LIMIT

Effective date: 20171011

PLBE No opposition filed within time limit

Free format text: ORIGINAL CODE: 0009261

STAA Information on the status of an ep patent application or granted ep patent

Free format text: STATUS: NO OPPOSITION FILED WITHIN TIME LIMIT

PG25 Lapsed in a contracting state [announced via postgrant information from national office to epo]

Ref country code: PL

Free format text: LAPSE BECAUSE OF FAILURE TO SUBMIT A TRANSLATION OF THE DESCRIPTION OR TO PAY THE FEE WITHIN THE PRESCRIBED TIME-LIMIT

Effective date: 20171011

Ref country code: SM

Free format text: LAPSE BECAUSE OF FAILURE TO SUBMIT A TRANSLATION OF THE DESCRIPTION OR TO PAY THE FEE WITHIN THE PRESCRIBED TIME-LIMIT

Effective date: 20171011

Ref country code: RO

Free format text: LAPSE BECAUSE OF FAILURE TO SUBMIT A TRANSLATION OF THE DESCRIPTION OR TO PAY THE FEE WITHIN THE PRESCRIBED TIME-LIMIT

Effective date: 20171011

26N No opposition filed

Effective date: 20180712

PG25 Lapsed in a contracting state [announced via postgrant information from national office to epo]

Ref country code: MC

Free format text: LAPSE BECAUSE OF FAILURE TO SUBMIT A TRANSLATION OF THE DESCRIPTION OR TO PAY THE FEE WITHIN THE PRESCRIBED TIME-LIMIT

Effective date: 20171011

Ref country code: MT

Free format text: LAPSE BECAUSE OF FAILURE TO SUBMIT A TRANSLATION OF THE DESCRIPTION OR TO PAY THE FEE WITHIN THE PRESCRIBED TIME-LIMIT

Effective date: 20171011

REG Reference to a national code

Ref country code: IE

Ref legal event code: MM4A

REG Reference to a national code

Ref country code: BE

Ref legal event code: MM

Effective date: 20180228

PG25 Lapsed in a contracting state [announced via postgrant information from national office to epo]

Ref country code: LU

Free format text: LAPSE BECAUSE OF NON-PAYMENT OF DUE FEES

Effective date: 20180215

Ref country code: SI

Free format text: LAPSE BECAUSE OF FAILURE TO SUBMIT A TRANSLATION OF THE DESCRIPTION OR TO PAY THE FEE WITHIN THE PRESCRIBED TIME-LIMIT

Effective date: 20171011

PG25 Lapsed in a contracting state [announced via postgrant information from national office to epo]

Ref country code: IE

Free format text: LAPSE BECAUSE OF NON-PAYMENT OF DUE FEES

Effective date: 20180215

PG25 Lapsed in a contracting state [announced via postgrant information from national office to epo]

Ref country code: BE

Free format text: LAPSE BECAUSE OF NON-PAYMENT OF DUE FEES

Effective date: 20180228

REG Reference to a national code

Ref country code: DE

Ref legal event code: R079

Ref document number: 502012011426

Country of ref document: DE

Free format text: PREVIOUS MAIN CLASS: H05B0033080000

Ipc: H05B0045000000

REG Reference to a national code

Ref country code: DE

Ref legal event code: R082

Ref document number: 502012011426

Country of ref document: DE

Representative=s name: BOEHMERT & BOEHMERT ANWALTSPARTNERSCHAFT MBB -, DE

Ref country code: DE

Ref legal event code: R081

Ref document number: 502012011426

Country of ref document: DE

Owner name: SITECO GMBH, DE

Free format text: FORMER OWNER: SITECO BELEUCHTUNGSTECHNIK GMBH, 83301 TRAUNREUT, DE

PG25 Lapsed in a contracting state [announced via postgrant information from national office to epo]

Ref country code: TR

Free format text: LAPSE BECAUSE OF FAILURE TO SUBMIT A TRANSLATION OF THE DESCRIPTION OR TO PAY THE FEE WITHIN THE PRESCRIBED TIME-LIMIT

Effective date: 20171011

PG25 Lapsed in a contracting state [announced via postgrant information from national office to epo]

Ref country code: HU

Free format text: LAPSE BECAUSE OF FAILURE TO SUBMIT A TRANSLATION OF THE DESCRIPTION OR TO PAY THE FEE WITHIN THE PRESCRIBED TIME-LIMIT; INVALID AB INITIO

Effective date: 20120215

Ref country code: PT

Free format text: LAPSE BECAUSE OF FAILURE TO SUBMIT A TRANSLATION OF THE DESCRIPTION OR TO PAY THE FEE WITHIN THE PRESCRIBED TIME-LIMIT

Effective date: 20171011

PG25 Lapsed in a contracting state [announced via postgrant information from national office to epo]

Ref country code: CY

Free format text: LAPSE BECAUSE OF FAILURE TO SUBMIT A TRANSLATION OF THE DESCRIPTION OR TO PAY THE FEE WITHIN THE PRESCRIBED TIME-LIMIT

Effective date: 20171011

Ref country code: MK

Free format text: LAPSE BECAUSE OF NON-PAYMENT OF DUE FEES

Effective date: 20171011

PG25 Lapsed in a contracting state [announced via postgrant information from national office to epo]

Ref country code: AL

Free format text: LAPSE BECAUSE OF FAILURE TO SUBMIT A TRANSLATION OF THE DESCRIPTION OR TO PAY THE FEE WITHIN THE PRESCRIBED TIME-LIMIT

Effective date: 20171011

REG Reference to a national code

Ref country code: AT

Ref legal event code: PC

Ref document number: 937105

Country of ref document: AT

Kind code of ref document: T

Owner name: SITECO GMBH, DE

Effective date: 20201028

REG Reference to a national code

Ref country code: GB

Ref legal event code: 732E

Free format text: REGISTERED BETWEEN 20210225 AND 20210303

PGFP Annual fee paid to national office [announced via postgrant information from national office to epo]

Ref country code: CH

Payment date: 20250301

Year of fee payment: 14

REG Reference to a national code

Ref country code: CH

Ref legal event code: U11

Free format text: ST27 STATUS EVENT CODE: U-0-0-U10-U11 (AS PROVIDED BY THE NATIONAL OFFICE)

Effective date: 20260301

PGFP Annual fee paid to national office [announced via postgrant information from national office to epo]

Ref country code: GB

Payment date: 20260219

Year of fee payment: 15

PGFP Annual fee paid to national office [announced via postgrant information from national office to epo]

Ref country code: DE

Payment date: 20260217

Year of fee payment: 15

PGFP Annual fee paid to national office [announced via postgrant information from national office to epo]

Ref country code: AT

Payment date: 20260216

Year of fee payment: 15

PGFP Annual fee paid to national office [announced via postgrant information from national office to epo]

Ref country code: IT

Payment date: 20260227

Year of fee payment: 15

PGFP Annual fee paid to national office [announced via postgrant information from national office to epo]

Ref country code: FR

Payment date: 20260219

Year of fee payment: 15