EP2539552B1 - Device for variably adjusting the control times of gas exchange valves of an internal combustion engine - Google Patents

Device for variably adjusting the control times of gas exchange valves of an internal combustion engine Download PDF

Info

Publication number
EP2539552B1
EP2539552B1 EP11701503.2A EP11701503A EP2539552B1 EP 2539552 B1 EP2539552 B1 EP 2539552B1 EP 11701503 A EP11701503 A EP 11701503A EP 2539552 B1 EP2539552 B1 EP 2539552B1
Authority
EP
European Patent Office
Prior art keywords
drive
spring
internal combustion
protuberance
combustion engine
Prior art date
Legal status (The legal status is an assumption and is not a legal conclusion. Google has not performed a legal analysis and makes no representation as to the accuracy of the status listed.)
Not-in-force
Application number
EP11701503.2A
Other languages
German (de)
French (fr)
Other versions
EP2539552A1 (en
Inventor
Jürgen Weber
Current Assignee (The listed assignees may be inaccurate. Google has not performed a legal analysis and makes no representation or warranty as to the accuracy of the list.)
Schaeffler Technologies AG and Co KG
Original Assignee
Schaeffler Technologies AG and Co KG
Priority date (The priority date is an assumption and is not a legal conclusion. Google has not performed a legal analysis and makes no representation as to the accuracy of the date listed.)
Filing date
Publication date
Application filed by Schaeffler Technologies AG and Co KG filed Critical Schaeffler Technologies AG and Co KG
Publication of EP2539552A1 publication Critical patent/EP2539552A1/en
Application granted granted Critical
Publication of EP2539552B1 publication Critical patent/EP2539552B1/en
Not-in-force legal-status Critical Current
Anticipated expiration legal-status Critical

Links

Images

Classifications

    • FMECHANICAL ENGINEERING; LIGHTING; HEATING; WEAPONS; BLASTING
    • F01MACHINES OR ENGINES IN GENERAL; ENGINE PLANTS IN GENERAL; STEAM ENGINES
    • F01LCYCLICALLY OPERATING VALVES FOR MACHINES OR ENGINES
    • F01L1/00Valve-gear or valve arrangements, e.g. lift-valve gear
    • F01L1/34Valve-gear or valve arrangements, e.g. lift-valve gear characterised by the provision of means for changing the timing of the valves without changing the duration of opening and without affecting the magnitude of the valve lift
    • F01L1/344Valve-gear or valve arrangements, e.g. lift-valve gear characterised by the provision of means for changing the timing of the valves without changing the duration of opening and without affecting the magnitude of the valve lift changing the angular relationship between crankshaft and camshaft, e.g. using helicoidal gear
    • F01L1/3442Valve-gear or valve arrangements, e.g. lift-valve gear characterised by the provision of means for changing the timing of the valves without changing the duration of opening and without affecting the magnitude of the valve lift changing the angular relationship between crankshaft and camshaft, e.g. using helicoidal gear using hydraulic chambers with variable volume to transmit the rotating force
    • FMECHANICAL ENGINEERING; LIGHTING; HEATING; WEAPONS; BLASTING
    • F01MACHINES OR ENGINES IN GENERAL; ENGINE PLANTS IN GENERAL; STEAM ENGINES
    • F01LCYCLICALLY OPERATING VALVES FOR MACHINES OR ENGINES
    • F01L1/00Valve-gear or valve arrangements, e.g. lift-valve gear
    • F01L1/34Valve-gear or valve arrangements, e.g. lift-valve gear characterised by the provision of means for changing the timing of the valves without changing the duration of opening and without affecting the magnitude of the valve lift
    • F01L1/344Valve-gear or valve arrangements, e.g. lift-valve gear characterised by the provision of means for changing the timing of the valves without changing the duration of opening and without affecting the magnitude of the valve lift changing the angular relationship between crankshaft and camshaft, e.g. using helicoidal gear
    • FMECHANICAL ENGINEERING; LIGHTING; HEATING; WEAPONS; BLASTING
    • F01MACHINES OR ENGINES IN GENERAL; ENGINE PLANTS IN GENERAL; STEAM ENGINES
    • F01LCYCLICALLY OPERATING VALVES FOR MACHINES OR ENGINES
    • F01L1/00Valve-gear or valve arrangements, e.g. lift-valve gear
    • F01L1/34Valve-gear or valve arrangements, e.g. lift-valve gear characterised by the provision of means for changing the timing of the valves without changing the duration of opening and without affecting the magnitude of the valve lift
    • FMECHANICAL ENGINEERING; LIGHTING; HEATING; WEAPONS; BLASTING
    • F01MACHINES OR ENGINES IN GENERAL; ENGINE PLANTS IN GENERAL; STEAM ENGINES
    • F01LCYCLICALLY OPERATING VALVES FOR MACHINES OR ENGINES
    • F01L1/00Valve-gear or valve arrangements, e.g. lift-valve gear
    • F01L1/34Valve-gear or valve arrangements, e.g. lift-valve gear characterised by the provision of means for changing the timing of the valves without changing the duration of opening and without affecting the magnitude of the valve lift
    • F01L1/344Valve-gear or valve arrangements, e.g. lift-valve gear characterised by the provision of means for changing the timing of the valves without changing the duration of opening and without affecting the magnitude of the valve lift changing the angular relationship between crankshaft and camshaft, e.g. using helicoidal gear
    • F01L1/3442Valve-gear or valve arrangements, e.g. lift-valve gear characterised by the provision of means for changing the timing of the valves without changing the duration of opening and without affecting the magnitude of the valve lift changing the angular relationship between crankshaft and camshaft, e.g. using helicoidal gear using hydraulic chambers with variable volume to transmit the rotating force
    • F01L2001/3445Details relating to the hydraulic means for changing the angular relationship
    • F01L2001/34479Sealing of phaser devices
    • FMECHANICAL ENGINEERING; LIGHTING; HEATING; WEAPONS; BLASTING
    • F01MACHINES OR ENGINES IN GENERAL; ENGINE PLANTS IN GENERAL; STEAM ENGINES
    • F01LCYCLICALLY OPERATING VALVES FOR MACHINES OR ENGINES
    • F01L1/00Valve-gear or valve arrangements, e.g. lift-valve gear
    • F01L1/34Valve-gear or valve arrangements, e.g. lift-valve gear characterised by the provision of means for changing the timing of the valves without changing the duration of opening and without affecting the magnitude of the valve lift
    • F01L1/344Valve-gear or valve arrangements, e.g. lift-valve gear characterised by the provision of means for changing the timing of the valves without changing the duration of opening and without affecting the magnitude of the valve lift changing the angular relationship between crankshaft and camshaft, e.g. using helicoidal gear
    • F01L1/3442Valve-gear or valve arrangements, e.g. lift-valve gear characterised by the provision of means for changing the timing of the valves without changing the duration of opening and without affecting the magnitude of the valve lift changing the angular relationship between crankshaft and camshaft, e.g. using helicoidal gear using hydraulic chambers with variable volume to transmit the rotating force
    • F01L2001/3445Details relating to the hydraulic means for changing the angular relationship
    • F01L2001/34483Phaser return springs

Definitions

  • the invention relates to a device for the variable adjustment of the timing of gas exchange valves of an internal combustion engine with a drive element, an output element and at least one side cover, wherein the drive element can be brought into drive connection with a crankshaft of the internal combustion engine, wherein the output element can be brought into drive connection with a camshaft of the internal combustion engine and is arranged pivotably to the drive element, wherein the side cover is arranged on an axial side surface of the output element or the drive element and rotatably connected to the drive element or the driven element, wherein on the side facing away from the input and the driven element side of the side cover, a spring element is arranged and wherein the side cover has a disc-shaped portion from which protrude a plurality of fastening elements in the axial direction, which angeo on the side facing away from the drive element of the side cover rdnet are.
  • devices for variable adjustment of the timing of gas exchange valves are used to adjust the phase relation between a crankshaft and a camshaft in a defined angular range, between a maximum early and a maximum late position variable.
  • the device is integrated in a drive train via which torque is transmitted from the crankshaft to the camshaft.
  • This powertrain can be used, for example, as belt, chain or gear drive to be realized.
  • the device is non-rotatably connected to a camshaft and, for example, have one or more pressure chambers, by means of which the phase relation between the crankshaft and the camshaft can be selectively changed by pressure medium.
  • Such a device is for example from the DE 10 2008 017 688 A1 known.
  • the device has a drive element, an output element and two side covers, wherein the drive element is in driving connection with a crankshaft and the output element is non-rotatably attached to a camshaft.
  • the output element is arranged in a defined angular interval pivotally to the drive element.
  • the drive element, the output element and the side cover define a plurality of pressure chambers, which form a hydraulic actuator by means of which the phase angle between the output element and the drive element can be variably adjusted.
  • the side covers are arranged on the axial side surfaces of the output element and the drive element and rotatably connected by screws with the drive element. The screws pass through the first side cover and the drive element and engage in each case a clamping nut, which are manufactured separately from the side cover and inextricably linked thereto.
  • fastening element are integrally formed with the side cover.
  • the fasteners are designed as cylindrical collars, which are provided with an internal thread and protrude in the axial direction of the side cover.
  • the present invention has for its object to propose a device with increased life and reliability.
  • the disc-shaped portion on the spring element facing side surface has at least one bulge, which faces at least one spring coil of the spring element in the axial direction of the device.
  • the device has a drive element and an output element, wherein the drive element is driven by a crankshaft of the internal combustion engine and the output element drives a camshaft of the internal combustion engine.
  • the drive element can be in drive connection with the crankshaft, for example, by means of a traction mechanism or gear drive.
  • the output member may be rotatably connected to the camshaft, for example.
  • an actuator for example a hydraulic actuator with at least two counteracting pressure chambers, provided by means of which the output element can be pivoted in a defined angular range relative to the drive element.
  • a phase relation between the output element and the drive element is variably adjustable.
  • a side cover On an axial side surface of the drive element and / or the output element, a side cover is provided which is rotatably connected to one of these components.
  • the side cover on a disc-shaped portion, optionally with a central opening, which seals, for example, the pressure chambers in the axial direction.
  • fasteners protrude in the axial direction. These may be, for example, screw heads of screws or clamping nuts into which the screws engage.
  • the connection between the side cover and the output element or the drive element can be produced.
  • clamping nuts these can be firmly connected to the disc-shaped section before assembly of the side cover or be present as a separate component.
  • the fastening elements are formed integrally with the disk-shaped section, for example as cylindrical collars, which are provided with an internal thread.
  • the disk-shaped portion is preceded by a spring element which, for example, as a helical spring, in particular as a spiral spring, is formed, and on the one hand acts on the output element and on the other hand on the drive element.
  • a spring element By means of the spring element, the output element is acted upon relative to the drive element with a torque which can be used, for example, to compensate for friction losses or to achieve a base position with insufficient pressure medium.
  • the disc-shaped section on the side facing the spring element at least one bulge, which faces at least one spring coil of the spring element in the axial direction of the device.
  • the bulge serves as a stop for the spring element. If the spring element is excited to axial vibrations, then it is true this on the spacer, whereby the vibration amplitudes are reduced. Thus, the vibration loads acting on the spring element decrease. Furthermore, the vibrations are damped. In addition, the rigidity of the disk-shaped portion is increased by the bulges.
  • the extent of the bulge in the radial direction of the disc-shaped portion is formed such that each spring coil of the spring element of the bulge facing in the axial direction and thus each spring coil undergoes the desired damping.
  • the bulge limits an axial movement of the spring coil such that it can not dip into a region radially within the fastening elements. Thus, it is prevented that the spring coil between the fasteners jammed and so off the function of the spring element or the spring element is damaged.
  • the bulge is formed integrally with the disc-shaped portion.
  • the disc-shaped section on the side facing away from the spring element has a recess in the region of the bulge.
  • the bulge is thus formed groove-shaped on the disc-shaped portion.
  • the device has pressure chambers which are separated by vanes and projections, that the depression is arranged in the region of the pressure chambers, vanes and projections and that components of the group of vanes and projections are pivotable relative to the depression, wherein the recess is arranged outside the pivoting range of the pivotable components.
  • a short circuit between two adjacent pressure chambers is effectively prevented via the recess.
  • a plurality of groove-shaped bulges are provided, communicate the wells on the one hand with a pressure medium line and on the other hand in each case with a pressure chamber.
  • the wells can be used to supply pressure to the pressure chambers.
  • the recess may also be formed as a backdrop of a Verrieglungsmechanismus in which engages a locking element to produce a releasable mechanical locking between the drive element and the output element.
  • an insert may be provided in the recess to avoid hydraulic short circuits between the pressure chambers.
  • the insert may be formed as a sliding element.
  • the bulge is massive, i. as excess material on the spring element facing side of the disc-shaped portion is formed. This can be formed integrally with the disk-shaped portion, or manufactured separately for this and force, positively or materially secured thereto.
  • the bulge projects beyond the fastening elements in the axial direction at least in places or flush with them.
  • the first side cover can, for example, by means of non-cutting forming process, for example a deep drawing process, by means of a sintering process, a metal or plastic injection molding process, by casting, forging or stamping package.
  • the bulges can be provided with friction-reducing layers or corrosion protection layers or covered with a jacket of a sliding or protective material.
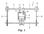
  • FIG. 1 schematically an internal combustion engine 1 is sketched, wherein a seated on a crankshaft 2 piston 3 is indicated in a cylinder 4.
  • the crankshaft 2 is in the illustrated embodiment via a respective traction drive 5 with an intake camshaft 6 and exhaust camshaft 7 in combination, wherein a first and a second device 11 for the variable adjustment of the timing of gas exchange valves 9, 10 for a relative rotation between the crankshaft 2 and the camshafts 6, 7 can provide.
  • Cams 8 of the camshafts 6, 7 actuate one or more intake gas exchange valves 9 or one or more exhaust gas exchange valves 10.
  • FIGS. 2 and 3 show a device 11 according to the invention in the longitudinal or cross section.
  • the device 11 has a drive element 13, an output element 14 and two side covers 15, 16, which are arranged on axial side surfaces of the drive member 13 and secured by screws 12 thereto.
  • the output element 14 is designed in the form of an impeller and has a substantially cylindrically designed hub member 17, extending from the outer cylindrical surface area wings 18 in the radial direction outwards.
  • projections 20 extend radially inwards.
  • the projections 20 are formed integrally with the peripheral wall 19.
  • the drive element 13 is mounted by means of radially inner circumferential walls of the projections 20 relative to the output element 14 rotatably mounted on this.
  • the drive element 13 is provided with a sprocket 21, via which by means of a chain drive, not shown, torque can be transmitted from the crankshaft 2 to the drive member 13.
  • the output member 14 is rotatably connected in the assembled state with the camshaft, not shown in these figures, rotatably connected.
  • a pressure chamber 22 is formed between each two circumferentially adjacent projections 20.
  • Each of the pressure chambers 22 is circumferentially bounded by adjacent projections 20, axially of the side covers 15, 16, radially inwardly of the hub member 17, and radially outward of the peripheral wall 19.
  • In each of the pressure chambers 22 protrudes a wing 18, wherein the wings 18 rest against both the side covers 15, 16, and on the peripheral wall 19.
  • Each wing 18 thus divides the respective pressure chamber 22 into two oppositely acting pressure chambers.
  • phase position of the drive element 13 to the output element 14 and thus the phase angle of the camshaft 6, 7 to the crankshaft 2 can be varied.
  • phase position can be kept constant.
  • FIGS. 4 and 5 show a plan view of the device 11 along the arrow IV FIG. 2 , where in FIG. 5 a spring cover 34 is not shown.
  • the side cover 15 has a disk-shaped portion 23 and four fastening elements 24 and consists of a steel sheet.
  • the fastening elements 24 are designed in the form of clamping nuts, which are fastened in a form-fitting manner in openings 33 of the disk-shaped section 23.
  • the clamping nuts 24 protrude in the axial direction from the side surface of the disk-shaped section 23 facing away from the drive element 13.
  • the clamping nuts 24 are each provided with an internal thread into which the screws 12 engage such that the rotationally fixed connection between the side covers 15, 16 and the drive element 13 is made.
  • two of the four screws 12 project out of the respective clamping nut 24 in the axial direction.
  • the length of the other screws 12 is chosen such that they do not protrude from the clamping nuts 24 in the assembled state.
  • a biased spring element 25 ( Figures 2 and 4) is provided in the form of a coil spring.
  • the coil spring is encompassed by a spring cover 34 and has a plurality of concentric spring coils 26 of different diameters.
  • an end of the outermost spring coil 26 engages on the area protruding from the clamping nut 24 region of the first screw 12a ( FIG. 3 ).
  • the outermost spring winding 26 is radially supported by the region of the second screw 12b protruding from the clamping nut 24.
  • One end of the innermost spring coil 26 engages a protruding from the output member 14 Pin 27 on.
  • the innermost spring coil 26 is supported radially inwardly on two further pins 27 projecting from the driven element 14.
  • the biased spring element 25 is connected to both the drive member 13 and the output member 14 such that a torque between these components is mediated. This can serve, for example, to adjust the output element 14 in the case of insufficient supply of pressure medium to the device 11 in a base position or to adjust different adjustment speeds in the direction of earlier or later control times of the gas exchange valves 9, 10.
  • the spring element 25 is excited to axial and radial vibrations, whereby individual spring coils 26 can dip into the region between the fastening elements 24.
  • the dipping spring coil 26 is clamped between the fasteners 24, whereby the function of the device 11 is limited.
  • increased wear on the spring element 25 occurs, and there is a risk that the spring element 25 breaks due to the increased load.
  • five recesses 28 are provided on the disk-shaped portion 23, which extend in the direction of the spring element 25.
  • the bulges 28 are formed by means of a chipless forming process, so that on the first side cover 15 recesses 29 are formed on the output member 14 side facing.
  • Three first recesses 29 a are arranged in the region of pressure chambers 22 outside a pivoting range of the corresponding blade 18.
  • a second recess 29b is arranged in a pivoting region of a wing 18, wherein the extension of the recess 29b in the circumferential direction is chosen smaller than the corresponding extent of the wing 18.
  • a third recess 29c is arranged in the region of one of the projections 20, wherein the extension of Recess 29c is selected smaller in the circumferential direction, as the corresponding extension of the projection 20. In this way, a hydraulic short circuit avoided between two adjacent pressure chambers.
  • a loading member 30 is inserted into the second recess 29b to further reduce the leakage between the pressure chambers and to improve the sliding contact between the first side cover 15 and the output member 14.
  • the bulges 28 are formed and arranged such that each spring coil 26 faces each bulge 28 in the axial direction.
  • the bulges 28 prevent the spring coils 26 from entering the region between the clamping nuts 24.
  • the vibration amplitude is reduced and dampens the vibration.
  • damage to the spring member 25 is prevented and reduces the stress caused by the vibrations.
  • the axial side surfaces of the bulges 28 may be provided with a friction-reducing layer, for example a Teflon layer, or a wear-resistant layer.
  • the output element 14 has a receptacle 31, in which an unillustrated, axially displaceable locking pin is received.
  • the disc-shaped portion 23 has a slotted portion 32, into which the locking pin can engage in a certain phase position of the output element 14 relative to the drive element 13 in order to form a releasable, mechanical coupling between these two components.
  • the slide 32 also projects out of the disk-shaped portion 23 and can serve as an axial stop for the spring element 25 in addition to the bulges 28.

Landscapes

  • Engineering & Computer Science (AREA)
  • Mechanical Engineering (AREA)
  • General Engineering & Computer Science (AREA)
  • Valve Device For Special Equipments (AREA)

Abstract

A device (11) for variably adjusting the control times of gas exchange valves (9, 10) of an internal combustion engine (1), including a drive element (13), an output element (14), and at least one lateral cover (15). The drive element (13) can be brought into driving connection with a crankshaft (2) of the internal combustion engine (1), and the output element (14) can be brought into driving connection with a camshaft (6, 7) of the internal combustion engine (1) and is arranged in a pivotable manner with respect to the drive element (13). The lateral cover (14) lies on an axial lateral surface of the output element (14) or of the drive element (13) and is connected to the drive element (13) or to the output element (14) in a rotationally fixed manner. A spring element (25) lies on the lateral cover face that faces away from the drive and output element (13, 14), and the lateral cover (15) has a disk-shaped portion (23) from which multiple fixing elements (24) protrude in the axial direction, said elements lying on the lateral cover (15) face that faces away from the drive element (13).

Description

Gebiet der ErfindungField of the invention

Die Erfindung betrifft eine Vorrichtung zur variablen Einstellung der Steuerzeiten von Gaswechselventilen einer Brennkraftmaschine mit einem Antriebselement, einem Abtriebselement und mindestens einem Seitendeckel, wobei das Antriebselement in Antriebsverbindung mit einer Kurbelwelle der Brennkraftmaschine bringbar ist, wobei das Abtriebselement in Antriebsverbindung mit einer Nockenwelle der Brennkraftmaschine bringbar ist und schwenkbar zu dem Antriebselement angeordnet ist, wobei der Seitendeckel an einer axialen Seitenfläche des Abtriebselements oder des Antriebselements angeordnet und drehfest mit dem Antriebselement oder dem Abtriebselement verbunden ist, wobei auf der dem An- und dem Abtriebselement abgewandten Seite des Seitendeckels ein Federelement angeordnet ist und wobei der Seitendeckel einen scheibenförmigen Abschnitt aufweist, aus dem mehrere Befestigungselemente in axialer Richtung hervorstehen, die auf der dem Antriebselement abgewandten Seite des Seitendeckels angeordnet sind.The invention relates to a device for the variable adjustment of the timing of gas exchange valves of an internal combustion engine with a drive element, an output element and at least one side cover, wherein the drive element can be brought into drive connection with a crankshaft of the internal combustion engine, wherein the output element can be brought into drive connection with a camshaft of the internal combustion engine and is arranged pivotably to the drive element, wherein the side cover is arranged on an axial side surface of the output element or the drive element and rotatably connected to the drive element or the driven element, wherein on the side facing away from the input and the driven element side of the side cover, a spring element is arranged and wherein the side cover has a disc-shaped portion from which protrude a plurality of fastening elements in the axial direction, which angeo on the side facing away from the drive element of the side cover rdnet are.

Hintergrund der ErfindungBackground of the invention

In modernen Brennkraftmaschinen werden Vorrichtungen zur variablen Einstellung der Steuerzeiten von Gaswechselventilen eingesetzt, um die Phasenrelation zwischen einer Kurbelwelle und einer Nockenwelle in einem definierten Winkelbereich, zwischen einer maximalen Früh- und einer maximalen Spätposition, variabel einstellen zu können. Die Vorrichtung ist in einen Antriebsstrang integriert, über welchen Drehmoment von der Kurbelwelle auf die Nockenwelle übertragen wird. Dieser Antriebsstrang kann beispielsweise als Riemen-, Ketten- oder Zahnradtrieb realisiert sein. Darüber hinaus ist die Vorrichtung drehfest mit einer Nockenwelle verbunden und kann beispielsweise eine oder mehrere Druckkammern aufweisen, mittels derer die Phasenrelation zwischen der Kurbelwelle und der Nockenwelle durch Druckmittelbeaufschlagung gezielt verändert werden kann.In modern internal combustion engines devices for variable adjustment of the timing of gas exchange valves are used to adjust the phase relation between a crankshaft and a camshaft in a defined angular range, between a maximum early and a maximum late position variable. The device is integrated in a drive train via which torque is transmitted from the crankshaft to the camshaft. This powertrain can be used, for example, as belt, chain or gear drive to be realized. In addition, the device is non-rotatably connected to a camshaft and, for example, have one or more pressure chambers, by means of which the phase relation between the crankshaft and the camshaft can be selectively changed by pressure medium.

Eine derartige Vorrichtung ist beispielsweise aus der DE 10 2008 017 688 A1 bekannt. Die Vorrichtung weist ein Antriebselement, ein Abtriebselement und zwei Seitendeckel auf, wobei das Antriebselement in Antriebsverbindung mit einer Kurbelwelle steht und das Abtriebselement drehfest an einer Nockenwelle befestigt ist. Dabei ist das Abtriebselement in einem definierten Winkelintervall schwenkbar zu dem Antriebselement angeordnet. Das Antriebselement, das Abtriebselement und die Seitendeckel begrenzen mehrere Druckkammern, die einen hydraulischen Stellantrieb ausbilden mittels dem die Phasenlage zwischen dem Abtriebselement und dem Antriebselement variabel eingestellt werden kann. Die Seitendeckel sind an den axialen Seitenflächen des Abtriebselements und des Antriebselements angeordnet und mittels Schrauben drehfest mit dem Antriebselement verbunden. Dabei durchgreifen die Schrauben den ersten Seitendeckel und das Antriebselement und greifen in jeweils eine Spannmutter ein, die separat zu dem Seitendeckel gefertigt und unlösbar mit diesem verbunden sind.Such a device is for example from the DE 10 2008 017 688 A1 known. The device has a drive element, an output element and two side covers, wherein the drive element is in driving connection with a crankshaft and the output element is non-rotatably attached to a camshaft. In this case, the output element is arranged in a defined angular interval pivotally to the drive element. The drive element, the output element and the side cover define a plurality of pressure chambers, which form a hydraulic actuator by means of which the phase angle between the output element and the drive element can be variably adjusted. The side covers are arranged on the axial side surfaces of the output element and the drive element and rotatably connected by screws with the drive element. The screws pass through the first side cover and the drive element and engage in each case a clamping nut, which are manufactured separately from the side cover and inextricably linked thereto.

Aus der DE 197 08 661 B4 ist eine weitere Vorrichtung bekannt, bei der die Spannmuttern nicht fest mit Seitendeckel verbunden sind.From the DE 197 08 661 B4 Another device is known in which the clamping nuts are not firmly connected to the side cover.

Aus der DE 10 2005 024 241 A1 ist eine weitere Vorrichtung bekannt, wobei die Befestigungselement einteilig mit dem Seitendeckel ausgebildet sind. Die Befestigungselemente sind als zylindrische Krägen ausgeführt, welche mit einem Innengewinde versehen sind und in axialer Richtung aus dem Seitendeckel herausragen.From the DE 10 2005 024 241 A1 Another device is known, wherein the fastening element are integrally formed with the side cover. The fasteners are designed as cylindrical collars, which are provided with an internal thread and protrude in the axial direction of the side cover.

Aus der DE 100 07 200 A1 ist eine weitere Vorrichtung bekannt, die ein Federelement aufweist, welches einerseits an dem Abtriebselement und andererseits an dem Antriebselement angreift. Dabei ragt eine Schraube, mittels der ein Seitendeckel an dem Antriebselement befestigt ist, aus der Vorrichtung heraus. Das Federelement weist einen Haken auf, der in diesen herausragenden Bereich eingehängt ist.From the DE 100 07 200 A1 Another device is known which has a spring element, which on the one hand to the output element and on the other engages the drive element. In this case, a screw, by means of which a side cover is fastened to the drive element, projects out of the device. The spring element has a hook which is hooked into this protruding area.

Aufgabe der ErfindungObject of the invention

Der vorliegenden Erfindung liegt die Aufgabe zugrunde, eine Vorrichtung mit erhöhter Lebensdauer und Zuverlässigkeit vorzuschlagen.The present invention has for its object to propose a device with increased life and reliability.

Zusammenfassung der ErfindungSummary of the invention

Die Aufgabe wird erfindungsgemäß dadurch gelöst, dass der scheibenförmige Abschnitt an der dem Federelement zugewandten Seitenfläche zumindest eine Ausbuchtung aufweist, die zumindest einer Federwindung des Federelements in axialer Richtung der Vorrichtung gegenübersteht.The object is achieved in that the disc-shaped portion on the spring element facing side surface has at least one bulge, which faces at least one spring coil of the spring element in the axial direction of the device.

Die Vorrichtung weist ein Antriebselement und ein Abtriebselement auf, wobei das Antriebselement von einer Kurbelwelle der Brennkraftmaschine angetrieben wird und das Abtriebselement eine Nockenwelle der Brennkraftmaschine antreibt. Das Antriebselement kann beispielsweise mittels eines Zugmittel- oder Zahnradtriebs in Antriebsverbindung mit der Kurbelwelle stehen. Das Abtriebselement kann beispielsweise drehfest mit der Nockenwelle verbunden sein. Des Weiteren ist ein Stellantrieb, beispielsweise ein hydraulischer Stellantrieb mit zumindest zwei gegeneinander wirkenden Druckkammern, vorgesehen, mittels dem das Abtriebselement in einem definierten Winkelbereich relativ zu dem Antriebselement verschwenkt werden kann. Somit ist eine Phasenrelation zwischen dem Abtriebselement und dem Antriebselement variabel einstellbar. An einer axialen Seitenfläche des Antriebselements und / oder des Abtriebselements ist ein Seitendeckel vorgesehen der drehfest mit einem dieser Bauteile verbunden ist. Dabei weist der Seitendeckel einen scheibenförmigen Abschnitt, gegebenenfalls mit einer zentralen Öffnung, auf, der beispielsweise die Druckkammern in axialer Richtung abdichtet. Aus der dem Abtriebselement bzw. dem Antriebselement abgewandten axialen Seitenfläche des Seitendeckels ragen Befestigungselemente in axialer Richtung heraus. Dabei kann es sich beispielsweise um Schraubenköpfe von Schrauben oder um Spannmuttern handeln, in die die Schrauben eingreifen. Mittels der Befestigungselemente kann die Verbindung zwischen dem Seitendeckel und dem Abtriebselement bzw. dem Antriebselement hergestellt werden. Im Falle von Spannmuttern können diese vor der Montage des Seitendeckels fest mit dem scheibenförmigen Abschnitt verbunden sein oder als separates Bauteil vorliegen. Ebenso denkbar sind Ausführungsformen, in denen die Befestigungselemente einteilig mit dem scheibenförmigen Abschnitt ausgebildet sind, beispielsweise als zylindrische Krägen, welche mit einem Innengewinde versehen sind.The device has a drive element and an output element, wherein the drive element is driven by a crankshaft of the internal combustion engine and the output element drives a camshaft of the internal combustion engine. The drive element can be in drive connection with the crankshaft, for example, by means of a traction mechanism or gear drive. The output member may be rotatably connected to the camshaft, for example. Furthermore, an actuator, for example a hydraulic actuator with at least two counteracting pressure chambers, provided by means of which the output element can be pivoted in a defined angular range relative to the drive element. Thus, a phase relation between the output element and the drive element is variably adjustable. On an axial side surface of the drive element and / or the output element, a side cover is provided which is rotatably connected to one of these components. In this case, the side cover on a disc-shaped portion, optionally with a central opening, which seals, for example, the pressure chambers in the axial direction. From the output element or the drive element facing away from the axial side surface of the side cover fasteners protrude in the axial direction. These may be, for example, screw heads of screws or clamping nuts into which the screws engage. By means of the fastening elements, the connection between the side cover and the output element or the drive element can be produced. In the case of clamping nuts, these can be firmly connected to the disc-shaped section before assembly of the side cover or be present as a separate component. Likewise conceivable are embodiments in which the fastening elements are formed integrally with the disk-shaped section, for example as cylindrical collars, which are provided with an internal thread.

Dem scheibenförmigen Abschnitt vorgelagert ist ein Federelement vorgesehen, welches beispielsweise als Schraubenfeder, insbesondere als Spiralfeder, ausgebildet ist, und einerseits an dem Abtriebselement und andererseits an dem Antriebselement angreift. Mittels des Federelements wird das Abtriebselement relativ zu dem Antriebselement mit einem Drehmoment beaufschlagt, welches beispielsweise zur Kompensation von Reibungsverlusten oder zum Erreichen einer Basisposition bei ungenügender Druckmittelbeaufschlagung genutzt werden kann.The disk-shaped portion is preceded by a spring element is provided which, for example, as a helical spring, in particular as a spiral spring, is formed, and on the one hand acts on the output element and on the other hand on the drive element. By means of the spring element, the output element is acted upon relative to the drive element with a torque which can be used, for example, to compensate for friction losses or to achieve a base position with insufficient pressure medium.

Wird das Federelement während des Betriebs der Brennkraftmaschine zu axialen Schwingungen angeregt, so besteht die Gefahr, dass das Federelement oder eine Windung des Federelements in den Bereich zwischen den Befestigungselementen eintaucht und dort verklemmt, wodurch die Funktion des Federelements außer Kraft gesetzt oder das Federelement geschädigt wird.If the spring element is excited to axial vibrations during operation of the internal combustion engine, there is a risk that the spring element or a turn of the spring element dips into the region between the fastening elements and jammed there, whereby the function of the spring element is disabled or the spring element is damaged ,

Um dies zu verhindern, weist der scheibenförmige Abschnitt an der dem Federelement zugewandten Seitenfläche zumindest eine Ausbuchtung auf, die zumindest einer Federwindung des Federelements in axialer Richtung der Vorrichtung gegenübersteht. Die Ausbuchtung dient als Anschlag für das Federelement. Wird das Federelement zu axialen Schwingungen angeregt, so trifft dieses auf das Abstandselement, wodurch die Schwingungsamplituden verringert werden. Somit sinken die auf das Federelement wirkenden Schwingungsbelastungen. Des Weiteren werden die Schwingungen gedämpft. Zusätzlich wird die Steifigkeit des scheibenförmigen Abschnitts durch die Ausbuchtungen erhöht.To prevent this, the disc-shaped section on the side facing the spring element at least one bulge, which faces at least one spring coil of the spring element in the axial direction of the device. The bulge serves as a stop for the spring element. If the spring element is excited to axial vibrations, then it is true this on the spacer, whereby the vibration amplitudes are reduced. Thus, the vibration loads acting on the spring element decrease. Furthermore, the vibrations are damped. In addition, the rigidity of the disk-shaped portion is increased by the bulges.

Vorteilhafterweise ist die Erstreckung der Ausbuchtung in radialer Richtung des scheibenförmigen Abschnitts derart ausgebildet ist, dass jede Federwindung des Federelements der Ausbuchtung in axialer Richtung gegenübersteht und somit jede Federwindung die gewünschte Dämpfung erfährt.Advantageously, the extent of the bulge in the radial direction of the disc-shaped portion is formed such that each spring coil of the spring element of the bulge facing in the axial direction and thus each spring coil undergoes the desired damping.

Darüber hinaus kann vorgesehen sein, dass die Ausbuchtung eine axiale Bewegung der Federwindung derart begrenzt, dass diese nicht in einen Bereich radial innerhalb der Befestigungselemente eintauchen kann. Somit wird verhindert, dass sich die Federwindung zwischen den Befestigungselementen verklemmt und so die Funktion des Federelements ausgeschaltet oder das Federelement beschädigt wird.In addition, it can be provided that the bulge limits an axial movement of the spring coil such that it can not dip into a region radially within the fastening elements. Thus, it is prevented that the spring coil between the fasteners jammed and so off the function of the spring element or the spring element is damaged.

In einer vorteilhaften Weiterbildung der Erfindung kann vorgesehen sein, dass die Ausbuchtung einteilig mit dem scheibenförmigen Abschnitt ausgebildet ist.In an advantageous embodiment of the invention can be provided that the bulge is formed integrally with the disc-shaped portion.

Denkbar ist beispielsweise, dass der scheibenförmige Abschnitt an der dem Federelement abgewandten Seite eine Vertiefung in dem Bereich der Ausbuchtung aufweist. Die Ausbuchtung ist somit nutförmig an dem scheibenförmigen Abschnitt ausgebildet.It is conceivable, for example, that the disc-shaped section on the side facing away from the spring element has a recess in the region of the bulge. The bulge is thus formed groove-shaped on the disc-shaped portion.

In diesem Fall kann vorgesehen sein, dass die Vorrichtung Druckkammern aufweist, die durch Flügel und Vorsprünge getrennt sind, dass die Vertiefung im Bereich der Druckkammern, Flügel und Vorsprünge angeordnet ist und dass Bauteile aus der Gruppe Flügel und Vorsprünge relativ zu der Vertiefung verschwenkbar sind, wobei die Vertiefung außerhalb des Schwenkbereichs der verschwenkbaren Bauteile angeordnet ist. Somit wird ein Kurzschluss zwischen zwei benachbarten Druckkammern über die Vertiefung wirkungsvoll unterbunden. Dabei kann vorgesehen sein, dass mehrere nutförmige Ausbuchtungen vorgesehen sind, deren Vertiefungen einerseits mit einer Druckmittelleitung und andererseits jeweils mit einer Druckkammer kommunizieren. Somit können die Vertiefungen zur Druckmittelversorgung der Druckkammern genutzt werden.In this case, it can be provided that the device has pressure chambers which are separated by vanes and projections, that the depression is arranged in the region of the pressure chambers, vanes and projections and that components of the group of vanes and projections are pivotable relative to the depression, wherein the recess is arranged outside the pivoting range of the pivotable components. Thus, a short circuit between two adjacent pressure chambers is effectively prevented via the recess. It can be provided that a plurality of groove-shaped bulges are provided, communicate the wells on the one hand with a pressure medium line and on the other hand in each case with a pressure chamber. Thus, the wells can be used to supply pressure to the pressure chambers.

Steht in den Vertiefungen Druckmittel an, so ergibt sich der zusätzliche Vorteil, dass bei einer Schwenkbewegung des scheibenförmigen Abschnitts relativ zu dem Abtriebselement oder dem Antriebselement den gegeneinander bewegten Flächen Schmiermittel zugeführt wird.If pressure medium is present in the depressions, there is the additional advantage that lubricant is supplied to the areas moved relative to one another during a pivoting movement of the disk-shaped section relative to the output element or the drive element.

Die Vertiefung kann darüber hinaus als Kulisse eines Verrieglungsmechanismus ausgebildet sein, in die ein Verriegelungselement eingreift um eine lösbare, mechanische Verriegelung zwischen dem Antriebselement und dem Abtriebselement herzustellen.The recess may also be formed as a backdrop of a Verrieglungsmechanismus in which engages a locking element to produce a releasable mechanical locking between the drive element and the output element.

Alternativ kann in der Vertiefung ein Einlegeteil vorgesehen sein um hydraulische Kurzschlüsse zwischen den Druckkammern zu vermeiden. Das Einlegeteil kann als Gleitelement ausgebildet sein.Alternatively, an insert may be provided in the recess to avoid hydraulic short circuits between the pressure chambers. The insert may be formed as a sliding element.

Alternativ zu der nutförmigen Ausformung der Ausbuchtung sind Ausführungsformen denkbar, in denen die Ausbuchtung massiv, d.h. als Materialüberschuss an der dem Federelement zugewandten Seite des scheibenförmigen Abschnitts, ausgebildet ist. Diese kann einteilig mit dem scheibenförmigen Abschnitt ausgebildet sein, oder separat zu diesem gefertigt und kraft-, form- oder stoffschlüssig an diesem befestigt sein.As an alternative to the groove-shaped formation of the bulge, embodiments are conceivable in which the bulge is massive, i. as excess material on the spring element facing side of the disc-shaped portion is formed. This can be formed integrally with the disk-shaped portion, or manufactured separately for this and force, positively or materially secured thereto.

Vorteilhafterweise überragt die Ausbuchtung die Befestigungselemente in axialer Richtung zumindest bereichsweise oder schließt bündig mit diesen ab.Advantageously, the bulge projects beyond the fastening elements in the axial direction at least in places or flush with them.

Der erste Seitendeckel kann beispielsweise mittels spanloser Umformverfahren, beispielsweise eines Tiefziehverfahrens, mittels eines Sinterverfahrens, eines Metall- oder Kunststoffspritzgussverfahrens, mittels Gießen, Schmieden oder Stanzpaketieren hergestellt werden. Die Ausbuchtungen können mit reibungsmindernden Schichten oder Korrosionsschutzschichten versehen sein oder mit einem Mantel eines Gleit- oder Schutzwerkstoffes abgedeckt sein.The first side cover can, for example, by means of non-cutting forming process, for example a deep drawing process, by means of a sintering process, a metal or plastic injection molding process, by casting, forging or stamping package. The bulges can be provided with friction-reducing layers or corrosion protection layers or covered with a jacket of a sliding or protective material.

Kurze Beschreibung der ZeichnungenBrief description of the drawings

Weitere Merkmale der Erfindung ergeben sich aus der nachfolgenden Beschreibung und aus den Zeichnungen in denen ein Ausführungsbeispiel der Erfindung vereinfacht dargestellt ist. Es zeigen:

Figur 1
nur sehr schematisch eine Brennkraftmaschine,
Figur 2
einen Längsschnitt durch eine erfindungsgemäßen Vorrichtung zur variablen Einstellung der Steuerzeiten von Gaswechselventilen einer Brennkraftmaschine,
Figur 3
einen Querschnitt durch die erfindungsgemäße Vorrichtung entlang der Linie III-III in Figur 2,
Figur 4
einen Draufsicht auf die Vorrichtung entlang des Pfeils IV in Figur 2,
Figur 5
eine Darstellung gemäß Figur 4, wobei ein Federdeckel nicht dargestellt ist.
Further features of the invention will become apparent from the following description and from the drawings in which an embodiment of the invention is shown in simplified form. Show it:
FIG. 1
only very schematically an internal combustion engine,
FIG. 2
a longitudinal section through a device according to the invention for the variable adjustment of the timing of gas exchange valves of an internal combustion engine,
FIG. 3
a cross section through the device according to the invention along the line III-III in FIG. 2 .
FIG. 4
a plan view of the device along the arrow IV in FIG. 2 .
FIG. 5
a representation according to FIG. 4 , wherein a spring cover is not shown.

Ausführliche Beschreibung der ZeichnungenDetailed description of the drawings

In Figur 1 ist schematisch eine Brennkraftmaschine 1 skizziert, wobei ein auf einer Kurbelwelle 2 sitzender Kolben 3 in einem Zylinder 4 angedeutet ist. Die Kurbelwelle 2 steht in der dargestellten Ausführungsform über je einen Zugmitteltrieb 5 mit einer Einlassnockenwelle 6 bzw. Auslassnockenwelle 7 in Verbindung, wobei eine erste und eine zweite Vorrichtung 11 zur variablen Einstellung der Steuerzeiten von Gaswechselventilen 9, 10 für eine Relativdrehung zwischen Kurbelwelle 2 und den Nockenwellen 6, 7 sorgen können. Nocken 8 der Nockenwellen 6, 7 betätigen ein oder mehrere Einlassgaswechselventile 9 bzw. ein oder mehrere Auslassgaswechselventile 10.In FIG. 1 schematically an internal combustion engine 1 is sketched, wherein a seated on a crankshaft 2 piston 3 is indicated in a cylinder 4. The crankshaft 2 is in the illustrated embodiment via a respective traction drive 5 with an intake camshaft 6 and exhaust camshaft 7 in combination, wherein a first and a second device 11 for the variable adjustment of the timing of gas exchange valves 9, 10 for a relative rotation between the crankshaft 2 and the camshafts 6, 7 can provide. Cams 8 of the camshafts 6, 7 actuate one or more intake gas exchange valves 9 or one or more exhaust gas exchange valves 10.

Die Figuren 2 und 3 zeigen eine erfindungsgemäße Vorrichtung 11 im Längs- bzw. Querschnitt. Die Vorrichtung 11 weist ein Antriebselement 13, ein Abtriebselement 14 und zwei Seitendeckel 15, 16 auf, die an axialen Seitenflächen des Antriebselements 13 angeordnet und mittels Schrauben 12 an diesem befestigt sind. Das Abtriebselement 14 ist in Form eines Flügelrades ausgeführt und weist ein im Wesentlichen zylindrisch ausgeführtes Nabenelement 17 auf, von dessen äußerer zylindrischer Mantelfläche sich Flügel 18 in radialer Richtung nach außen erstrecken.The FIGS. 2 and 3 show a device 11 according to the invention in the longitudinal or cross section. The device 11 has a drive element 13, an output element 14 and two side covers 15, 16, which are arranged on axial side surfaces of the drive member 13 and secured by screws 12 thereto. The output element 14 is designed in the form of an impeller and has a substantially cylindrically designed hub member 17, extending from the outer cylindrical surface area wings 18 in the radial direction outwards.

Ausgehend von einer äußeren Umfangswand 19 des Antriebselements 13 erstrecken sich Vorsprünge 20 radial nach innen. In der dargestellten Ausführungsform sind die Vorsprünge 20 einteilig mit der Umfangswand 19 ausgebildet. Das Antriebselement 13 ist mittels radial innen liegender Umfangswände der Vorsprünge 20 relativ zu dem Abtriebselement 14 drehbar auf diesem gelagert.Starting from an outer peripheral wall 19 of the drive element 13, projections 20 extend radially inwards. In the illustrated embodiment, the projections 20 are formed integrally with the peripheral wall 19. The drive element 13 is mounted by means of radially inner circumferential walls of the projections 20 relative to the output element 14 rotatably mounted on this.

Das Antriebselement 13 ist mit einem Kettenrad 21 versehen, über das mittels eines nicht dargestellten Kettentriebs Drehmoment von der Kurbelwelle 2 auf das Antriebselement 13 übertragen werden kann. Das Abtriebselement 14 ist im montierten Zustand drehfest mit der in diesen Figuren nicht dargestellten Nockenwelle drehfest verbunden.The drive element 13 is provided with a sprocket 21, via which by means of a chain drive, not shown, torque can be transmitted from the crankshaft 2 to the drive member 13. The output member 14 is rotatably connected in the assembled state with the camshaft, not shown in these figures, rotatably connected.

Innerhalb der Vorrichtung 11 ist zwischen jeweils zwei in Umfangsrichtung benachbarten Vorsprüngen 20 ein Druckraum 22 ausgebildet. Jeder der Druckräume 22 wird in Umfangsrichtung von benachbarten Vorsprünge 20, in axialer Richtung von den Seitendeckeln 15, 16, radial nach innen von dem Nabenelement 17 und radial nach außen von der Umfangswand 19 begrenzt. In jeden der Druckräume 22 ragt ein Flügel 18, wobei die Flügel 18 sowohl an den Seitendeckeln 15, 16, als auch an der Umfangswand 19 anliegen. Jeder Flügel 18 teilt somit den jeweiligen Druckraum 22 in zwei gegeneinander wirkende Druckkammern.Within the device 11, a pressure chamber 22 is formed between each two circumferentially adjacent projections 20. Each of the pressure chambers 22 is circumferentially bounded by adjacent projections 20, axially of the side covers 15, 16, radially inwardly of the hub member 17, and radially outward of the peripheral wall 19. In each of the pressure chambers 22 protrudes a wing 18, wherein the wings 18 rest against both the side covers 15, 16, and on the peripheral wall 19. Each wing 18 thus divides the respective pressure chamber 22 into two oppositely acting pressure chambers.

Durch Druckbeaufschlagung einer Gruppe von Druckkammern und Druckentlastung der anderen Gruppe kann die Phasenlage des Antriebselements 13 zum Abtriebselement 14 und damit die Phasenlage der Nockenwelle 6, 7 zur Kurbelwelle 2 variiert werden. Durch Druckbeaufschlagung beider Gruppen von Druckkammern kann die Phasenlage konstant gehalten werden.By pressurizing a group of pressure chambers and depressurizing the other group, the phase position of the drive element 13 to the output element 14 and thus the phase angle of the camshaft 6, 7 to the crankshaft 2 can be varied. By pressurizing both groups of pressure chambers, the phase position can be kept constant.

Die Figuren 4 und 5 zeigen eine Draufsicht auf die Vorrichtung 11 entlang des Pfeils IV aus Figur 2, wobei in Figur 5 ein Federdeckel 34 nicht dargestellt ist. Der Seitendeckel 15 weist einen scheibenförmigen Abschnitt 23 und vier Befestigungselemente 24 auf und besteht aus einem Stahlblech. Die Befestigungselemente 24 sind in Form von Spannmuttern ausgeführt, die formschlüssig in Öffnungen 33 des scheibenförmigen Abschnitts 23 befestigt sind. Dabei ragen die Spannmuttern 24 in axialer Richtung aus der dem Antriebselement 13 abgewandten Seitenfläche des scheibenförmigen Abschnitts 23 heraus. Die Spannmuttern 24 sind jeweils mit einem Innengewinde versehen, in das die Schrauben 12 derart eingreifen, dass die drehfeste Verbindung zwischen den Seitendeckel 15, 16 und dem Antriebselement 13 hergestellt ist. Dabei ragen zwei der vier Schrauben 12 in axialer Richtung aus der jeweiligen Spannmutter 24 heraus. Die Länge der anderen Schrauben 12 ist derart gewählt, dass diese im montierten Zustand nicht aus den Spannmuttern 24 herausragen.The FIGS. 4 and 5 show a plan view of the device 11 along the arrow IV FIG. 2 , where in FIG. 5 a spring cover 34 is not shown. The side cover 15 has a disk-shaped portion 23 and four fastening elements 24 and consists of a steel sheet. The fastening elements 24 are designed in the form of clamping nuts, which are fastened in a form-fitting manner in openings 33 of the disk-shaped section 23. In this case, the clamping nuts 24 protrude in the axial direction from the side surface of the disk-shaped section 23 facing away from the drive element 13. The clamping nuts 24 are each provided with an internal thread into which the screws 12 engage such that the rotationally fixed connection between the side covers 15, 16 and the drive element 13 is made. In this case, two of the four screws 12 project out of the respective clamping nut 24 in the axial direction. The length of the other screws 12 is chosen such that they do not protrude from the clamping nuts 24 in the assembled state.

Den Spannmuttern 24 vorgelagert, ist ein vorgespanntes Federelement 25 (Figuren 2 und 4) in Form einer Spiralfeder vorgesehen. Die Spiralfeder wird von einem Federdeckel 34 umgriffen und weist mehrere konzentrische Federwindungen 26 unterschiedlichen Durchmessers auf. Dabei greift ein Ende der äußersten Federwindung 26 an dem aus der Spannmutter 24 herausragenden Bereich der ersten Schraube 12a an (Figur 3). Im weiteren Verlauf wird die äußerste Federwindung 26 von dem aus der Spannmutter 24 herausragenden Bereich der zweiten Schraube 12b radial abgestützt. Ein Ende der innersten Federwindung 26 greift an einem aus dem Abtriebselement 14 herausragenden Stift 27 an. Gleichzeitig wird die innerste Federwindung 26 an zwei weiteren aus dem Abtriebselement 14 herausragenden Stiften 27 radial nach innen abgestützt. Somit ist das vorgespannte Federelement 25 sowohl mit dem Antriebselement 13 als auch mit dem Abtriebselement 14 derart verbunden, dass ein Drehmoment zwischen diesen Bauteilen vermittelt wird. Dieses kann beispielsweise dazu dienen das Abtriebselement 14 bei ungenügender Druckmittelversorgung der Vorrichtung 11 in eine Basisposition zu verstellen oder unterschiedliche Verstellgeschwindigkeiten in Richtung früher bzw. später Steuerzeiten der Gaswechselventile 9, 10 anzugleichen.Upstream of the clamping nuts 24, a biased spring element 25 (Figures 2 and 4) is provided in the form of a coil spring. The coil spring is encompassed by a spring cover 34 and has a plurality of concentric spring coils 26 of different diameters. In this case, an end of the outermost spring coil 26 engages on the area protruding from the clamping nut 24 region of the first screw 12a ( FIG. 3 ). In the further course, the outermost spring winding 26 is radially supported by the region of the second screw 12b protruding from the clamping nut 24. One end of the innermost spring coil 26 engages a protruding from the output member 14 Pin 27 on. At the same time, the innermost spring coil 26 is supported radially inwardly on two further pins 27 projecting from the driven element 14. Thus, the biased spring element 25 is connected to both the drive member 13 and the output member 14 such that a torque between these components is mediated. This can serve, for example, to adjust the output element 14 in the case of insufficient supply of pressure medium to the device 11 in a base position or to adjust different adjustment speeds in the direction of earlier or later control times of the gas exchange valves 9, 10.

Während des Betriebs der Brennkraftmaschine 1 wird das Federelement 25 zu axialen und radialen Schwingungen angeregt, wodurch einzelne Federwindungen 26 in den Bereich zwischen den Befestigungselementen 24 eintauchen können. Neben einer Erhöhung der Reibung, besteht die Gefahr, dass die eintauchende Federwindung 26 zwischen den Befestigungselementen 24 eingeklemmt wird, wodurch die Funktion der Vorrichtung 11 eingeschränkt wird. Darüber hinaus tritt erhöhter Verschleiß an dem Federelement 25 auf, und es besteht die Gefahr, dass das Federelement 25 auf Grund der erhöhten Belastung bricht.During operation of the internal combustion engine 1, the spring element 25 is excited to axial and radial vibrations, whereby individual spring coils 26 can dip into the region between the fastening elements 24. In addition to increasing the friction, there is a risk that the dipping spring coil 26 is clamped between the fasteners 24, whereby the function of the device 11 is limited. In addition, increased wear on the spring element 25 occurs, and there is a risk that the spring element 25 breaks due to the increased load.

Um dies zu verhindern sind an dem scheibenförmigen Abschnitt 23 fünf Ausbuchtungen 28 vorgesehen, die sich in Richtung des Federelements 25 erstrecken. Die Ausbuchtungen 28 sind mittels eines spanlosen Umformverfahrens ausgeformt, so dass an dem ersten Seitendeckel 15 Vertiefungen 29 auf der dem Abtriebselement 14 zugewandten Seite ausgebildet sind. Drei erste Vertiefungen 29a sind im Bereich von Druckräumen 22 außerhalb eines Schwenkbereichs des korrespondierenden Flügels 18 angeordnet. Eine zweite Vertiefung 29b ist in einem Schwenkbereich eines Flügels 18 angeordnet, wobei die Erstreckung der Vertiefung 29b in Umfangsrichtung kleiner gewählt ist, als die korrespondierende Erstreckung des Flügels 18. Eine dritte Vertiefung 29c ist im Bereich eines der Vorsprünge 20 angeordnet, wobei die Erstreckung der Vertiefung 29c in Umfangsrichtung kleiner gewählt ist, als die korrespondierende Erstreckung des Vorsprungs 20. Auf diese Weise wird ein hydraulischer Kurzschluss zwischen zwei benachbarten Druckkammern vermieden. In die zweite Vertiefung 29b ist zusätzlich ein Einlegelement 30 eingebracht, um die Leckage zwischen den Druckkammern weiter zu verringern und den Gleitkontakt zwischen dem ersten Seitendeckel 15 und dem Abtriebselement 14 zu verbessern.To prevent this, five recesses 28 are provided on the disk-shaped portion 23, which extend in the direction of the spring element 25. The bulges 28 are formed by means of a chipless forming process, so that on the first side cover 15 recesses 29 are formed on the output member 14 side facing. Three first recesses 29 a are arranged in the region of pressure chambers 22 outside a pivoting range of the corresponding blade 18. A second recess 29b is arranged in a pivoting region of a wing 18, wherein the extension of the recess 29b in the circumferential direction is chosen smaller than the corresponding extent of the wing 18. A third recess 29c is arranged in the region of one of the projections 20, wherein the extension of Recess 29c is selected smaller in the circumferential direction, as the corresponding extension of the projection 20. In this way, a hydraulic short circuit avoided between two adjacent pressure chambers. In addition, a loading member 30 is inserted into the second recess 29b to further reduce the leakage between the pressure chambers and to improve the sliding contact between the first side cover 15 and the output member 14.

Die Ausbuchtungen 28 sind derart ausgebildet und angeordnet, dass jede Federwindung 26 jeder Ausbuchtung 28 in axialer Richtung gegenübersteht.The bulges 28 are formed and arranged such that each spring coil 26 faces each bulge 28 in the axial direction.

Werden die Federwindungen 26 des Federelements 25 während des Betriebs der Brennkraftmaschine 1 zu axialen Schwingungen angeregt, verhindern die Ausbuchtungen 28, dass die Federwindungen 26 in den Bereich zwischen den Spannmuttern 24 eintreten. Darüber hinaus wird die Schwingungsamplitude verringert und die Schwingung gedämpft. Somit wird eine Beschädigung des Federelements 25 verhindert und die durch die Schwingungen hervorgerufene Belastung verringert. Die axialen Seitenflächen der Ausbuchtungen 28 können mit einer reibungsmindernden Schicht, beispielsweise einer Teflonschicht, oder einer Verschleißschutzschicht versehen sein.If the spring coils 26 of the spring element 25 are excited to axial oscillations during operation of the internal combustion engine 1, the bulges 28 prevent the spring coils 26 from entering the region between the clamping nuts 24. In addition, the vibration amplitude is reduced and dampens the vibration. Thus, damage to the spring member 25 is prevented and reduces the stress caused by the vibrations. The axial side surfaces of the bulges 28 may be provided with a friction-reducing layer, for example a Teflon layer, or a wear-resistant layer.

Das Abtriebselement 14 weist eine Aufnahme 31 auf, in der ein nicht dargestellter, axial verschiebbarer Verriegelungspin aufgenommen ist. Der scheibenförmige Abschnitt 23 weist eine Kulisse 32 auf, in die der Verriegelungspin in einer bestimmten Phasenlage des Abtriebselements 14 relativ zu dem Antriebselement 13 eingreifen kann, um eine lösbare, mechanische Kopplung zwischen diesen beiden Bauteilen auszubilden. Die Kulisse 32 ragt ebenfalls aus dem scheibenförmigen Abschnitt 23 heraus und kann neben den Ausbuchtungen 28 als Axialanschlag für das Federelement 25 dienen.The output element 14 has a receptacle 31, in which an unillustrated, axially displaceable locking pin is received. The disc-shaped portion 23 has a slotted portion 32, into which the locking pin can engage in a certain phase position of the output element 14 relative to the drive element 13 in order to form a releasable, mechanical coupling between these two components. The slide 32 also projects out of the disk-shaped portion 23 and can serve as an axial stop for the spring element 25 in addition to the bulges 28.

Bezugszeichenreference numeral

11
BrennkraftmaschineInternal combustion engine
22
Kurbelwellecrankshaft
33
Kolbenpiston
44
Zylindercylinder
55
Zugmitteltriebtraction drive
66
Einlassnockenwelleintake camshaft
77
Auslassnockenwelleexhaust
88th
Nockencam
99
EinlassgaswechselventilInlet gas exchange valve
1010
AuslassgaswechselventilAuslassgaswechselventil
1111
Vorrichtungcontraption
1212
Schraubescrew
1313
Antriebselementdriving element
1414
Abtriebselementoutput element
1515
Seitendeckelside cover
1616
Seitendeckelside cover
1717
Nabenelementhub element
1818
Flügelwing
1919
Umfangswandperipheral wall
2020
Vorsprunghead Start
2121
KettenradSprocket
2222
Druckraumpressure chamber
2323
scheibenförmiger Abschnittdisc-shaped section
2424
Befestigungselementfastener
2525
Federelementspring element
2626
Federwindungspring coil
2727
Stiftpen
2828
Ausbuchtungenbulges
29abc29abc
Vertiefungdeepening
3030
Einlegelementinsertion element
3131
Aufnahmeadmission
3232
Kulissescenery
3333
Öffnungopening
3434
Federdeckelspring cover

Claims (8)

  1. Device (11) for the variable adjustment of the timing of gas exchange valves (9, 10) of an internal combustion engine (1), having
    - a drive input element (13), a drive output element (14) and at least one side cover (15),
    - wherein the drive input element (13) can be drive-connected to a crankshaft (2) of the internal combustion engine (1),
    - wherein the drive output element (14) can be drive-connected to a camshaft (6, 7) of the internal combustion engine (1) and is arranged so as to be pivotable relative to the drive input element (13),
    - wherein the side cover (15) is arranged on an axial side surface of the drive output element (14) or of the drive input element (13) and is connected rotationally conjointly to the drive input element (13) or to the drive output element (14),
    - wherein a spring element (25) is arranged on that side of the side cover which faces away from the drive input and drive output elements (13, 14), and
    - wherein the side cover (15) has a disc-shaped section (23) from which multiple fastening elements (24) project in the axial direction, which fastening elements are arranged on that side of the side cover (15) which faces away from the drive input element (13), characterized in that
    - the disc-shaped section (23) has, on the side surface facing toward the spring element (25), at least one protuberance (28) which is situated opposite at least one spring winding (26) of the spring element (25) in the axial direction of the device (11).
  2. Device (11) according to Claim 1, characterized in that the protuberance (28) limits an axial movement of the spring winding (26) such that said spring winding cannot protrude into a region radially to the inside of the fastening elements (24).
  3. Device (11) according to Claim 1, characterized in that the protuberance (28) is formed in one piece with the disc-shaped section (23).
  4. Device (11) according to Claim 1, characterized in that the extent of the protuberance (28) in the radial direction of the disc-shaped section (23) is formed such that each spring winding (26) of the spring element (25) is situated opposite the protuberance (28) in the axial direction.
  5. Device (11) according to Claim 1, characterized in that, on the side facing away from the spring element (25), the disc-shaped section (23) has a depression (29) in the region of the protuberance (28).
  6. Device (11) according to Claim 5, characterized in that the device (11) has pressure chambers which are separated by vanes (18) and projections (20), in that the depression is arranged in the region of the pressure chambers, vanes (18) and projections (20), and in that components from the group comprising vanes (18) and projections (20) are pivotable relative to the depression (29), wherein the depression (29) is arranged outside the pivoting range of the pivotable components.
  7. Device (11) according to Claim 1, characterized in that the protuberance (28) is in the form of a surplus of material on that side of the disc-shaped section (23) which faces toward the spring element (25).
  8. Device (11) according to Claim 1, characterized in that the protuberance (28) projects beyond the fastening elements (24) in the axial direction at least in regions, or terminates flush with said fastening elements.
EP11701503.2A 2010-02-26 2011-01-25 Device for variably adjusting the control times of gas exchange valves of an internal combustion engine Not-in-force EP2539552B1 (en)

Applications Claiming Priority (2)

Application Number Priority Date Filing Date Title
DE102010009394A DE102010009394A1 (en) 2010-02-26 2010-02-26 Device for variably setting the control times of gas exchange valves of an internal combustion engine
PCT/EP2011/050972 WO2011104055A1 (en) 2010-02-26 2011-01-25 Device for variably adjusting the control times of gas exchange valves of an internal combustion engine

Publications (2)

Publication Number Publication Date
EP2539552A1 EP2539552A1 (en) 2013-01-02
EP2539552B1 true EP2539552B1 (en) 2013-12-18

Family

ID=44226000

Family Applications (1)

Application Number Title Priority Date Filing Date
EP11701503.2A Not-in-force EP2539552B1 (en) 2010-02-26 2011-01-25 Device for variably adjusting the control times of gas exchange valves of an internal combustion engine

Country Status (6)

Country Link
US (1) US8671900B2 (en)
EP (1) EP2539552B1 (en)
KR (1) KR20130008014A (en)
CN (1) CN102791965B (en)
DE (1) DE102010009394A1 (en)
WO (1) WO2011104055A1 (en)

Families Citing this family (10)

* Cited by examiner, † Cited by third party
Publication number Priority date Publication date Assignee Title
DE102010005602A1 (en) * 2010-01-25 2011-07-28 Schaeffler Technologies GmbH & Co. KG, 91074 Phaser
DE102010008005A1 (en) * 2010-02-15 2011-08-18 Schaeffler Technologies GmbH & Co. KG, 91074 Stator cover unit and camshaft adjuster
DE102011081971A1 (en) 2011-09-01 2013-03-07 Schaeffler Technologies AG & Co. KG Phaser
DE102011086236B4 (en) 2011-11-14 2017-03-09 Schaeffler Technologies AG & Co. KG Connection between a spur gear and a toothed shaft of a camshaft adjusting unit
DE102012217393A1 (en) * 2012-09-26 2014-03-27 Schaeffler Technologies Gmbh & Co. Kg Phaser
DE102013204659A1 (en) * 2013-03-18 2014-09-18 Schaeffler Technologies Gmbh & Co. Kg Phaser
CN105980673B (en) * 2014-02-14 2018-05-29 爱信精机株式会社 Valve arrangement for controlling timing
CN105650241A (en) * 2015-12-10 2016-06-08 刘元生 Adjustable timing gear of engine
US20220316366A1 (en) * 2019-10-21 2022-10-06 Mitsubishi Electric Corporation Valve timing adjustment device
US11560816B1 (en) 2021-07-16 2023-01-24 Schaeffler Technologies AG & Co. KG Spring retainer retention tab for bias spring

Family Cites Families (10)

* Cited by examiner, † Cited by third party
Publication number Priority date Publication date Assignee Title
US5095857A (en) 1990-07-17 1992-03-17 Eaton Corporation Self actuator for cam phasers
DE19708661B4 (en) 1997-03-04 2005-06-16 Ina-Schaeffler Kg Device for varying the valve timing of an internal combustion engine, in particular camshaft adjusting device according to the vane cell principle
DE10007200A1 (en) * 2000-02-17 2001-08-23 Schaeffler Waelzlager Ohg Device for changing the control times of gas exchange valves of an internal combustion engine
DE10215879A1 (en) * 2002-04-11 2003-10-23 Ina Schaeffler Kg Device for changing the timing of gas exchange valves of an internal combustion engine, in particular a device for the hydraulic rotation angle adjustment of a camshaft relative to a crankshaft
US6619248B1 (en) * 2002-04-17 2003-09-16 Ina-Schaeffler Kg Device for altering the control timing of gas exchange valves of an internal combustion engine, especially an apparatus for hydraulic rotational angle adjustment of a camshaft relative to a crankshaft
DE102005024241B4 (en) 2005-05-23 2017-08-17 Schaeffler Technologies AG & Co. KG Device for the variable adjustment of the timing of gas exchange valves of an internal combustion engine
DE102006002993A1 (en) * 2006-01-21 2007-08-09 Schaeffler Kg Camshaft adjuster for an internal combustion engine
DE102006036052B4 (en) 2006-08-02 2018-03-08 Schaeffler Technologies AG & Co. KG Sealing plate for a camshaft adjuster and camshaft adjuster with a sealing plate
CN201110201Y (en) * 2007-09-17 2008-09-03 靳宇男 Interface distribution engine
DE102008017688A1 (en) 2008-04-08 2009-10-15 Schaeffler Kg Device for the variable adjustment of the timing of gas exchange valves of an internal combustion engine

Also Published As

Publication number Publication date
CN102791965B (en) 2014-10-29
KR20130008014A (en) 2013-01-21
EP2539552A1 (en) 2013-01-02
CN102791965A (en) 2012-11-21
US20120318222A1 (en) 2012-12-20
WO2011104055A1 (en) 2011-09-01
DE102010009394A1 (en) 2011-09-01
US8671900B2 (en) 2014-03-18

Similar Documents

Publication Publication Date Title
EP2539552B1 (en) Device for variably adjusting the control times of gas exchange valves of an internal combustion engine
DE102009050779B4 (en) Schwenkmotornockenwellenversteller with a friction disc and mounting method
EP2478192B1 (en) Device for variably adjusting the control times of gas exchange valves of an internal combustion engine
DE102012202520B4 (en) Central valve for a camshaft adjuster
DE102015008925B4 (en) Valve train for engine
EP2470757B1 (en) Control valve
DE102008050134B4 (en) Camshaft adjustment device for an internal combustion engine
DE102012204726A1 (en) Phaser
EP2539555B1 (en) Device for variably adjusting the control times of gas exchange valves of an internal combustion engine
DE102008052413A1 (en) Valve gear of an internal combustion engine
WO2010043462A1 (en) Device for variably adjusting the valve timing of gas exchange valves of an internal combustion engine
DE102012202823B4 (en) Phaser
DE102010008003A1 (en) feeder
WO2010006855A1 (en) Device for variably adjusting the valve timing of gas exchange valves of an internal combustion engine
DE102012203114A1 (en) Insert for camshaft adjuster with central locking
EP2362074B1 (en) Device for variable valve timing on a combustion engine
DE102015214623A1 (en) Camshaft adjusting device
DE102009051309B4 (en) Device for the variable setting of the control times of gas exchange valves of an internal combustion engine
DE202008018146U1 (en) Device for adjusting the camshaft of internal combustion engines
DE102015206700A1 (en) Camshaft adjuster with an axial preload element
DE102017109006A1 (en) Phaser
DE102014221417A1 (en) Stator for camshaft adjuster with force receiving component formed thereon
EP2313619A1 (en) Device for variably adjusting the valve timing of gas exchange valves of an internal combustion engine
DE102009030210A1 (en) Device for variably adjusting control times of gas exchange valves of internal combustion engine, has side covers, belt pulleys and base body, which are made of plastic, where surface of body is partially provided with metal layer
DE102015206699A1 (en) Camshaft adjuster with hydraulic fluid conduits in / at torque-transmitting interlocking elements

Legal Events

Date Code Title Description
PUAI Public reference made under article 153(3) epc to a published international application that has entered the european phase

Free format text: ORIGINAL CODE: 0009012

17P Request for examination filed

Effective date: 20120926

AK Designated contracting states

Kind code of ref document: A1

Designated state(s): AL AT BE BG CH CY CZ DE DK EE ES FI FR GB GR HR HU IE IS IT LI LT LU LV MC MK MT NL NO PL PT RO RS SE SI SK SM TR

DAX Request for extension of the european patent (deleted)
GRAP Despatch of communication of intention to grant a patent

Free format text: ORIGINAL CODE: EPIDOSNIGR1

INTG Intention to grant announced

Effective date: 20130905

GRAS Grant fee paid

Free format text: ORIGINAL CODE: EPIDOSNIGR3

GRAA (expected) grant

Free format text: ORIGINAL CODE: 0009210

AK Designated contracting states

Kind code of ref document: B1

Designated state(s): AL AT BE BG CH CY CZ DE DK EE ES FI FR GB GR HR HU IE IS IT LI LT LU LV MC MK MT NL NO PL PT RO RS SE SI SK SM TR

REG Reference to a national code

Ref country code: GB

Ref legal event code: FG4D

Free format text: NOT ENGLISH

REG Reference to a national code

Ref country code: CH

Ref legal event code: EP

REG Reference to a national code

Ref country code: AT

Ref legal event code: REF

Ref document number: 645759

Country of ref document: AT

Kind code of ref document: T

Effective date: 20140115

REG Reference to a national code

Ref country code: IE

Ref legal event code: FG4D

Free format text: LANGUAGE OF EP DOCUMENT: GERMAN

REG Reference to a national code

Ref country code: DE

Ref legal event code: R096

Ref document number: 502011001846

Country of ref document: DE

Effective date: 20140213

RAP2 Party data changed (patent owner data changed or rights of a patent transferred)

Owner name: SCHAEFFLER TECHNOLOGIES GMBH & CO. KG

REG Reference to a national code

Ref country code: DE

Ref legal event code: R081

Ref document number: 502011001846

Country of ref document: DE

Owner name: SCHAEFFLER TECHNOLOGIES AG & CO. KG, DE

Free format text: FORMER OWNER: SCHAEFFLER TECHNOLOGIES AG & CO. KG, 91074 HERZOGENAURACH, DE

Effective date: 20140214

Ref country code: DE

Ref legal event code: R081

Ref document number: 502011001846

Country of ref document: DE

Owner name: SCHAEFFLER TECHNOLOGIES GMBH & CO. KG, DE

Free format text: FORMER OWNER: SCHAEFFLER TECHNOLOGIES AG & CO. KG, 91074 HERZOGENAURACH, DE

Effective date: 20140214

REG Reference to a national code

Ref country code: NL

Ref legal event code: VDEP

Effective date: 20131218

PG25 Lapsed in a contracting state [announced via postgrant information from national office to epo]

Ref country code: NO

Free format text: LAPSE BECAUSE OF FAILURE TO SUBMIT A TRANSLATION OF THE DESCRIPTION OR TO PAY THE FEE WITHIN THE PRESCRIBED TIME-LIMIT

Effective date: 20140318

Ref country code: FI

Free format text: LAPSE BECAUSE OF FAILURE TO SUBMIT A TRANSLATION OF THE DESCRIPTION OR TO PAY THE FEE WITHIN THE PRESCRIBED TIME-LIMIT

Effective date: 20131218

Ref country code: HR

Free format text: LAPSE BECAUSE OF FAILURE TO SUBMIT A TRANSLATION OF THE DESCRIPTION OR TO PAY THE FEE WITHIN THE PRESCRIBED TIME-LIMIT

Effective date: 20131218

Ref country code: LT

Free format text: LAPSE BECAUSE OF FAILURE TO SUBMIT A TRANSLATION OF THE DESCRIPTION OR TO PAY THE FEE WITHIN THE PRESCRIBED TIME-LIMIT

Effective date: 20131218

Ref country code: SE

Free format text: LAPSE BECAUSE OF FAILURE TO SUBMIT A TRANSLATION OF THE DESCRIPTION OR TO PAY THE FEE WITHIN THE PRESCRIBED TIME-LIMIT

Effective date: 20131218

REG Reference to a national code

Ref country code: LT

Ref legal event code: MG4D

PG25 Lapsed in a contracting state [announced via postgrant information from national office to epo]

Ref country code: LV

Free format text: LAPSE BECAUSE OF FAILURE TO SUBMIT A TRANSLATION OF THE DESCRIPTION OR TO PAY THE FEE WITHIN THE PRESCRIBED TIME-LIMIT

Effective date: 20131218

Ref country code: RS

Free format text: LAPSE BECAUSE OF FAILURE TO SUBMIT A TRANSLATION OF THE DESCRIPTION OR TO PAY THE FEE WITHIN THE PRESCRIBED TIME-LIMIT

Effective date: 20131218

BERE Be: lapsed

Owner name: SCHAEFFLER TECHNOLOGIES A.G. & CO. KG

Effective date: 20140131

PG25 Lapsed in a contracting state [announced via postgrant information from national office to epo]

Ref country code: EE

Free format text: LAPSE BECAUSE OF FAILURE TO SUBMIT A TRANSLATION OF THE DESCRIPTION OR TO PAY THE FEE WITHIN THE PRESCRIBED TIME-LIMIT

Effective date: 20131218

Ref country code: IS

Free format text: LAPSE BECAUSE OF FAILURE TO SUBMIT A TRANSLATION OF THE DESCRIPTION OR TO PAY THE FEE WITHIN THE PRESCRIBED TIME-LIMIT

Effective date: 20140418

PG25 Lapsed in a contracting state [announced via postgrant information from national office to epo]

Ref country code: CZ

Free format text: LAPSE BECAUSE OF FAILURE TO SUBMIT A TRANSLATION OF THE DESCRIPTION OR TO PAY THE FEE WITHIN THE PRESCRIBED TIME-LIMIT

Effective date: 20131218

Ref country code: PL

Free format text: LAPSE BECAUSE OF FAILURE TO SUBMIT A TRANSLATION OF THE DESCRIPTION OR TO PAY THE FEE WITHIN THE PRESCRIBED TIME-LIMIT

Effective date: 20131218

Ref country code: NL

Free format text: LAPSE BECAUSE OF FAILURE TO SUBMIT A TRANSLATION OF THE DESCRIPTION OR TO PAY THE FEE WITHIN THE PRESCRIBED TIME-LIMIT

Effective date: 20131218

Ref country code: CY

Free format text: LAPSE BECAUSE OF FAILURE TO SUBMIT A TRANSLATION OF THE DESCRIPTION OR TO PAY THE FEE WITHIN THE PRESCRIBED TIME-LIMIT

Effective date: 20131218

Ref country code: SK

Free format text: LAPSE BECAUSE OF FAILURE TO SUBMIT A TRANSLATION OF THE DESCRIPTION OR TO PAY THE FEE WITHIN THE PRESCRIBED TIME-LIMIT

Effective date: 20131218

Ref country code: LU

Free format text: LAPSE BECAUSE OF FAILURE TO SUBMIT A TRANSLATION OF THE DESCRIPTION OR TO PAY THE FEE WITHIN THE PRESCRIBED TIME-LIMIT

Effective date: 20140125

Ref country code: PT

Free format text: LAPSE BECAUSE OF FAILURE TO SUBMIT A TRANSLATION OF THE DESCRIPTION OR TO PAY THE FEE WITHIN THE PRESCRIBED TIME-LIMIT

Effective date: 20140418

Ref country code: ES

Free format text: LAPSE BECAUSE OF FAILURE TO SUBMIT A TRANSLATION OF THE DESCRIPTION OR TO PAY THE FEE WITHIN THE PRESCRIBED TIME-LIMIT

Effective date: 20131218

Ref country code: RO

Free format text: LAPSE BECAUSE OF FAILURE TO SUBMIT A TRANSLATION OF THE DESCRIPTION OR TO PAY THE FEE WITHIN THE PRESCRIBED TIME-LIMIT

Effective date: 20131218

REG Reference to a national code

Ref country code: CH

Ref legal event code: PL

REG Reference to a national code

Ref country code: DE

Ref legal event code: R097

Ref document number: 502011001846

Country of ref document: DE

PG25 Lapsed in a contracting state [announced via postgrant information from national office to epo]

Ref country code: MC

Free format text: LAPSE BECAUSE OF FAILURE TO SUBMIT A TRANSLATION OF THE DESCRIPTION OR TO PAY THE FEE WITHIN THE PRESCRIBED TIME-LIMIT

Effective date: 20131218

PLBE No opposition filed within time limit

Free format text: ORIGINAL CODE: 0009261

STAA Information on the status of an ep patent application or granted ep patent

Free format text: STATUS: NO OPPOSITION FILED WITHIN TIME LIMIT

PG25 Lapsed in a contracting state [announced via postgrant information from national office to epo]

Ref country code: LI

Free format text: LAPSE BECAUSE OF NON-PAYMENT OF DUE FEES

Effective date: 20140131

Ref country code: CH

Free format text: LAPSE BECAUSE OF NON-PAYMENT OF DUE FEES

Effective date: 20140131

Ref country code: DK

Free format text: LAPSE BECAUSE OF FAILURE TO SUBMIT A TRANSLATION OF THE DESCRIPTION OR TO PAY THE FEE WITHIN THE PRESCRIBED TIME-LIMIT

Effective date: 20131218

REG Reference to a national code

Ref country code: FR

Ref legal event code: ST

Effective date: 20140930

REG Reference to a national code

Ref country code: IE

Ref legal event code: MM4A

26N No opposition filed

Effective date: 20140919

PG25 Lapsed in a contracting state [announced via postgrant information from national office to epo]

Ref country code: FR

Free format text: LAPSE BECAUSE OF NON-PAYMENT OF DUE FEES

Effective date: 20140218

REG Reference to a national code

Ref country code: DE

Ref legal event code: R097

Ref document number: 502011001846

Country of ref document: DE

Effective date: 20140919

PG25 Lapsed in a contracting state [announced via postgrant information from national office to epo]

Ref country code: IE

Free format text: LAPSE BECAUSE OF NON-PAYMENT OF DUE FEES

Effective date: 20140125

Ref country code: BE

Free format text: LAPSE BECAUSE OF NON-PAYMENT OF DUE FEES

Effective date: 20140131

REG Reference to a national code

Ref country code: DE

Ref legal event code: R081

Ref document number: 502011001846

Country of ref document: DE

Owner name: SCHAEFFLER TECHNOLOGIES AG & CO. KG, DE

Free format text: FORMER OWNER: SCHAEFFLER TECHNOLOGIES GMBH & CO. KG, 91074 HERZOGENAURACH, DE

Effective date: 20150408

PG25 Lapsed in a contracting state [announced via postgrant information from national office to epo]

Ref country code: SI

Free format text: LAPSE BECAUSE OF FAILURE TO SUBMIT A TRANSLATION OF THE DESCRIPTION OR TO PAY THE FEE WITHIN THE PRESCRIBED TIME-LIMIT

Effective date: 20131218

GBPC Gb: european patent ceased through non-payment of renewal fee

Effective date: 20150125

PG25 Lapsed in a contracting state [announced via postgrant information from national office to epo]

Ref country code: GB

Free format text: LAPSE BECAUSE OF NON-PAYMENT OF DUE FEES

Effective date: 20150125

PG25 Lapsed in a contracting state [announced via postgrant information from national office to epo]

Ref country code: MT

Free format text: LAPSE BECAUSE OF FAILURE TO SUBMIT A TRANSLATION OF THE DESCRIPTION OR TO PAY THE FEE WITHIN THE PRESCRIBED TIME-LIMIT

Effective date: 20131218

PG25 Lapsed in a contracting state [announced via postgrant information from national office to epo]

Ref country code: SM

Free format text: LAPSE BECAUSE OF FAILURE TO SUBMIT A TRANSLATION OF THE DESCRIPTION OR TO PAY THE FEE WITHIN THE PRESCRIBED TIME-LIMIT

Effective date: 20131218

PG25 Lapsed in a contracting state [announced via postgrant information from national office to epo]

Ref country code: GR

Free format text: LAPSE BECAUSE OF FAILURE TO SUBMIT A TRANSLATION OF THE DESCRIPTION OR TO PAY THE FEE WITHIN THE PRESCRIBED TIME-LIMIT

Effective date: 20140319

Ref country code: BG

Free format text: LAPSE BECAUSE OF FAILURE TO SUBMIT A TRANSLATION OF THE DESCRIPTION OR TO PAY THE FEE WITHIN THE PRESCRIBED TIME-LIMIT

Effective date: 20131218

Ref country code: IT

Free format text: LAPSE BECAUSE OF FAILURE TO SUBMIT A TRANSLATION OF THE DESCRIPTION OR TO PAY THE FEE WITHIN THE PRESCRIBED TIME-LIMIT

Effective date: 20131218

PG25 Lapsed in a contracting state [announced via postgrant information from national office to epo]

Ref country code: TR

Free format text: LAPSE BECAUSE OF FAILURE TO SUBMIT A TRANSLATION OF THE DESCRIPTION OR TO PAY THE FEE WITHIN THE PRESCRIBED TIME-LIMIT

Effective date: 20131218

Ref country code: HU

Free format text: LAPSE BECAUSE OF FAILURE TO SUBMIT A TRANSLATION OF THE DESCRIPTION OR TO PAY THE FEE WITHIN THE PRESCRIBED TIME-LIMIT; INVALID AB INITIO

Effective date: 20110125

REG Reference to a national code

Ref country code: AT

Ref legal event code: MM01

Ref document number: 645759

Country of ref document: AT

Kind code of ref document: T

Effective date: 20160125

PG25 Lapsed in a contracting state [announced via postgrant information from national office to epo]

Ref country code: AT

Free format text: LAPSE BECAUSE OF NON-PAYMENT OF DUE FEES

Effective date: 20160125

PG25 Lapsed in a contracting state [announced via postgrant information from national office to epo]

Ref country code: MK

Free format text: LAPSE BECAUSE OF FAILURE TO SUBMIT A TRANSLATION OF THE DESCRIPTION OR TO PAY THE FEE WITHIN THE PRESCRIBED TIME-LIMIT

Effective date: 20131218

PG25 Lapsed in a contracting state [announced via postgrant information from national office to epo]

Ref country code: AL

Free format text: LAPSE BECAUSE OF FAILURE TO SUBMIT A TRANSLATION OF THE DESCRIPTION OR TO PAY THE FEE WITHIN THE PRESCRIBED TIME-LIMIT

Effective date: 20131218

PGFP Annual fee paid to national office [announced via postgrant information from national office to epo]

Ref country code: DE

Payment date: 20210319

Year of fee payment: 11

REG Reference to a national code

Ref country code: DE

Ref legal event code: R119

Ref document number: 502011001846

Country of ref document: DE

PG25 Lapsed in a contracting state [announced via postgrant information from national office to epo]

Ref country code: DE

Free format text: LAPSE BECAUSE OF NON-PAYMENT OF DUE FEES

Effective date: 20220802

P01 Opt-out of the competence of the unified patent court (upc) registered

Effective date: 20230522