EP2492456A1 - Dampfturbinensystem und Verfahren zur Steuerung des Dampfflusses aus einem Dampfturbinensystem - Google Patents
Dampfturbinensystem und Verfahren zur Steuerung des Dampfflusses aus einem Dampfturbinensystem Download PDFInfo
- Publication number
- EP2492456A1 EP2492456A1 EP11155946A EP11155946A EP2492456A1 EP 2492456 A1 EP2492456 A1 EP 2492456A1 EP 11155946 A EP11155946 A EP 11155946A EP 11155946 A EP11155946 A EP 11155946A EP 2492456 A1 EP2492456 A1 EP 2492456A1
- Authority
- EP
- European Patent Office
- Prior art keywords
- steam
- preheating
- main
- turbine
- nozzle box
- Prior art date
- Legal status (The legal status is an assumption and is not a legal conclusion. Google has not performed a legal analysis and makes no representation as to the accuracy of the status listed.)
- Granted
Links
- 238000000034 method Methods 0.000 title claims description 11
- 238000011144 upstream manufacturing Methods 0.000 claims abstract description 8
- 239000000463 material Substances 0.000 claims description 44
- 238000010438 heat treatment Methods 0.000 description 8
- 230000008646 thermal stress Effects 0.000 description 7
- 238000010276 construction Methods 0.000 description 5
- 230000007423 decrease Effects 0.000 description 3
- 230000005540 biological transmission Effects 0.000 description 1
- 230000015556 catabolic process Effects 0.000 description 1
- 230000001419 dependent effect Effects 0.000 description 1
- 229920003023 plastic Polymers 0.000 description 1
- 239000004033 plastic Substances 0.000 description 1
- 230000035882 stress Effects 0.000 description 1
- 230000007704 transition Effects 0.000 description 1
- 230000003313 weakening effect Effects 0.000 description 1
Images
Classifications
-
- F—MECHANICAL ENGINEERING; LIGHTING; HEATING; WEAPONS; BLASTING
- F01—MACHINES OR ENGINES IN GENERAL; ENGINE PLANTS IN GENERAL; STEAM ENGINES
- F01K—STEAM ENGINE PLANTS; STEAM ACCUMULATORS; ENGINE PLANTS NOT OTHERWISE PROVIDED FOR; ENGINES USING SPECIAL WORKING FLUIDS OR CYCLES
- F01K13/00—General layout or general methods of operation of complete plants
- F01K13/02—Controlling, e.g. stopping or starting
Definitions
- the present invention relates to a steam turbine system as well as a method for controlling the steam flow of a steam turbine system.
- Steam turbine systems are already known for generating power and usually comprise a steam system which provides steam to a steam turbine.
- One problem of already existing steam turbine systems is the fact that during the start phase of the steam turbine extensive thermal stress results in the turbine casing of the steam turbine as well as the nozzle box within the steam turbine.
- the thermal stress in such elements of the steam turbine system further results in the risk of material failure over time, in particular weakening of the material over time and multiple start phases.
- One high risk coming together with that problem is the fact that such thermal stress can introduce micro cracks into the material of the turbine casing as well as the nozzle box. Such micro cracks would lead to a dramatic material failure and the breakdown of the whole steam turbine during usage without any pre-warning.
- a steam turbine system for generating power comprises a steam turbine with turbine blades surrounding a rotor and being arranged inside a turbine casing.
- a steam turbine is meant for generating the power by rotation of the rotor, which is driven by steam running over the turbine blades and forcing the rotor to rotate within the turbine casing.
- Steam turbines are well known and therefore such a steam turbine has not to be described in more detail at this place.
- the inventive steam turbine system further comprises a nozzle box which is provided inside the turbine casing with nozzles, directing steam to the turbine blades of the steam turbine.
- a nozzle box is used to direct the steam in the predefined direction, in particular in the direction of the turbine blades.
- the nozzle box improves the efficiency of the steam turbine due to the fact that the steam is introduced into the turbine casing in an adapted direction corresponding with the necessary direction of the steam to result in a more efficient rotation of the turbine blades and the rotor of the steam turbine.
- a main steam system is provided within the steam turbine system.
- the main steam system comprises a main input port, a main valve, located downstream of the main input port, at least one control valve, located downstream the main valve and upstream the nozzle box, and steam lines connecting the main input port, the main valve, the at least one control valve and the nozzle box.
- the main steam system is used to provide steam from any kind of steam generator or steam source to the steam turbine.
- the main steam system therefore uses the main input port as a technical interface to be connected to any kind of steam source, such as for example a solar steam source, a boiler or any other technical kind of steam generator.
- the rest of the main steam system is necessary to transport the steam from the steam source, in particular from the main input port, to the steam turbine.
- the main valve within such transport steam part is used to fully open or fully close the path for the steam. If the main valve is closed, no steam can arrive at the steam turbine and therefore the turbine blades as well as the rotor are not forced to rotate. In other words a closed main valve results in a stop of the steam turbine as well as in a stop of generating power. On the other hand, if the main valve is opened, steam can flow to the steam turbine and results in a rotation of the turbine blades and the rotor. Thus, the steam turbine generates power when the main valve has been opened.
- At least one control valve Downstream of the main input port as well as downstream of the main valve, at least one control valve is positioned.
- the control valve is a valve, which has the possibility to vary the possible amount of steam, which can flow through the control valve. Therefore, between a fully open and a fully closed position, further positions with different levels of openness of the at least one control valve exist.
- the control valve of is used to control the explicit amount of steam which flows into the steam turbine and therefore it is used to control indirectly the amount of power which is generated by the steam turbine.
- the steam can be introduced into the steam turbine at different positions.
- three different control valves are used, three outlets are provided within the turbine casing, in particular within the nozzle box such that the amount of steam can be separated over the three control valves and the amount of distribution can be shifted between the three lines of the three control valves. Therefore the efficiency of the generation of power by the steam turbine can be further increased.
- the whole system, in particular the nozzle box as well as the turbine casing, are cold respectively comprise a temperature close to the ambient temperature.
- the steam which is provided to the steam turbine is relatively hot. Therefore the provision of steam to the steam turbine results in heating up the material surrounding the main steam system, namely the steam lines as well as the turbine casing and the nozzle box.
- the increase of temperature of such components of the steam turbine system results in thermal expansion of the respective materials. Due to the fact that the nozzle box and the steam turbine comprise a lot more material than for example that main steam system, in particular steam lines, the velocity of heating up is different from component to component. Differences in the velocity of heating up result in differences of the temperature between different components. Furthermore, the differences in temperature result in different geometrical dimensions based on the respective temperature and therefore resulted in thermal stress.
- a preheating steam system comprises a preheating input port, at least one preheating control valve, located downstream of the preheating input port and upstream of the nozzle box, and steam lines connecting the preheating input port, the at least one preheating control valve and the nozzle box.
- the preheating steam system can be understand as some kind of a bypass to the main steam system, providing steam in particular to the nozzle box and also, directly or indirectly to the turbine casing.
- a steam flow can be separated from the main steam flow and being provided to the nozzle box as well as at least indirectly to the turbine casing.
- the main valve is still closed, a preheating before the start phase of the steam turbine takes place of the material of the nozzle box as well as the turbine casing.
- the main valve is opened and the start of the steam turbine can take place. Due to the fact that the nozzle box as well as the turbine casing already have a relatively high temperature, the difference in temperature between the different components of the steam turbine system are a lot lower than compared to known systems according to the state of the art. The decrease in temperature difference results in the decrease of thermal stress and therefore decreases the risk of the possibility of micro cracks within the material of the different components.
- the material of the nozzle box is heated up directly by the steam flowing through the preheating steam system.
- the material of the turbine casing can be heated up directly or indirectly.
- An indirect heating up would take place if the nozzle box is provided with steam by the preheating steam system and the steam within the nozzle box also influences, namely heats up, the material of the turbine casing.
- the preheating steam system comprises steam lines which proceed through the turbine casing. In such a construction, the preheating of the turbine casing takes place directly, namely due to direct contact between the heated steam of the preheating steam system as well as the material of the turbine casing.
- the steam lines of the main steam system as well as of the preheating steam system can be pipes, in particular pipelines made of any kind of material which can stand the temperature and pressure of the steam.
- pipes, made of enforced plastics are used.
- the input ports are from integral namely as one combined input port forming the main input port and the preheating input port.
- a preheating control valve can be located, providing two functionalities, namely first to separate the steam between the main steam system and the preheating steam system as well as closing/opening both systems by comprising the functionality of the main valve as well as of the preheating control valve.
- the use of such preheating control valve and one combined input port as inter face for steam sources reduces the complexity of the present invention thereby reduces costs of such an inventive steam turbine system.
- a steam turbine system is characterized in that the steam lines of the preheating systems from the at least one preheating control valve are connected to the steam lines of the main steam system between the at least one control valve and the nozzle box.
- both systems namely the main steam system and the preheating steam system only need one connection to the nozzle box.
- the connection between the steam lines of the preheating system and the main heating system are placed upstream of such connection to the nozzle box.
- lines for the steam within the steam turbine casing can reduce complexity of such a way of construction.
- the steam turbine system is characterized such that the connection between the steam lines of the preheating system and the steam lines of the main steam system is located within the material of the turbine casing. That leads to a very efficient way of direct heating up of the material of the turbine casing.
- the steam, flowing through the preheating steam system flows to such connection and thereby gets into direct contact with the material of the turbine casing.
- Such direct contact leads to transition of heat from the steam to the material of the turbine casing and thereby heats up the respective material directly.
- the steam arrives in the nozzle box and gets also into direct contact with the respective material to heat up the nozzle box.
- Such way of construction therefore leads to a direct heating up of the material of the turbine casing as well as the material of the nozzle box.
- a steam turbine system of the present invention comprises an emergency stop valve which is provided within the main steam system, located downstream of the main valve and upstream of the at least one control valve.
- Such emergency stop valve can be used for emergency situations, in particular when any leakage within the steam turbine is detected.
- a steam turbine system comprises explicitly one or two or three or four control valves, which are provided in the main steam system.
- the provision of specifically one, two, three or four control valves typically results in a respective construction of the nozzle box.
- the nozzle box is constructed to surround the rotor of the steam turbine by 180 degrees, two or specifically three control valves for that main steam system can be of advantage.
- the nozzle box is bigger, for example fully surrounds the rotor of the steam turbine, four control valves and therefore four connections to the nozzle box from the main steam system can be of advantage.
- it is a very small steam turbine, and a very small nozzle box is used it could be of advantage if only one control valve is provided to reduce the complexity and the costs of the main steam system.
- the steam turbine system is characterized in that a nozzle box and a turbine casing are positioned in surface contact, in particular are manufactured to be integrally connected.
- the use of such construction, namely the surface contact between nozzle box and turbine casing results in a better and faster heat transmission from the nozzle box to the turbine casing and the other way round.
- the temperature can flow fast between such two components and therefore thermal stress due to thermal differences between such two components is reduced.
- the steam turbine can be constructed such that the nozzle box at least partly surrounds the rotor of the steam turbine.
- the level of surrounding the rotor can depend on the size of the steam turbine, in particular the size of the turbine blades. Once more it has to be noted that the level of surrounding of the rotor also influences the number of control valves which are to be used for the main steam system.
- the steam turbine system is characterized in that at least one temperature sensor is provided at a position to measure the temperature of the nozzle box and/or the turbine casing.
- the temperature sensor leads to possibility to include the real time temperature of the respective material into the control of the main steam system as well as the preheating steam system. This further increases the advantage of the preheating system due to the fact that the preheating step can be controlled specifically with respect to the material temperature. In particular it is possible to use the preheating system until the material of the turbine casing and the material of the nozzle box has exceeded over a predefined threshold of temperature.
- the steam lines of the preheating steam system downstream of the at least one preheating control valve are connected to the steam lines of the main steam system between the main valve or the emergency stop valve and the at least one control valve.
- the main valve and/or the emergency stop valve are closed during preheating operation. That way, not only the nozzle box and/or the casing of the steam turbine is preheated, but also the casing of the at least one preheating control valve.
- the differences between the temperature of the casing, the nozzle box and the casing for the at least one preheating control valve can be further reduced, thereby reducing the respective temperature stress within the material.
- a further object of the present invention is to provide a method for controlling the steam flow of a steam turbine system with the features of the present invention. Such method comprises the following steps:
- an inventive method is characterized in that the steps of opening the main valve of the main steam system and/or closing the preheating control valve of the preheating system are carried out after a predetermined time period.
- a predetermined time period By using such a time period, during design of the steam turbine system, the size and geometry of the material of the nozzle box as well as the size and the geometry of the material of the turbine casing are used to calculate the necessary time to heat up the respective components that the steam provided by a steam source entering in the preheating input port. After such time period has passed by, the preheating will have resulted in the predefined material temperatures and therefore the main steam system can be opened to start the steam turbine to generate power.
- the steps of opening the main valve of the main steam system and/or closing the preheating control valve of the preheating system are carried out after the temperature of the material of the nozzle box and/or the material of the turbine casing have exceeded a predetermined threshold.
- the steam turbine system comprises a temperature sensor which informs a control system about the real temperature of the material of the nozzle box and7/or of the material of the turbine casing.
- FIG 1 one embodiment of an inventive steam turbine system 10 is disclosed.
- the steam turbine system 10 comprises a steam turbine 20, which is enclosed by a turbine casing 26. Within such turbine casing 26 a nozzle box 30 is located.
- a main steam system 40 is provided to provide the nozzle box 30 and thereby the steam turbine 20 with steam.
- the main steam system 40 comprises a main input port 42, which acts as an interface to a not depicted steam source. Steam, introduced into the main input port 42, follows the steam lines 48 and passes the main valve 44, the emergency valve 45 and the control valves 46. After passing the control valves 46, the three steam lines 48 enter the nozzle box 30 to let out the steam into the steam turbine 20.
- the steam turbine system 10 is provided with a preheating steam system 50.
- a preheating steam system 50 comprises a preheating input port 52, acting as an interface also to a steam source.
- Such steam source can be the identical steam source acting as a steam source for the main steam system 40.
- the steam entering the preheating input port 52 passes the preheating control valve 54 and is split into three parallel steam lines 58, to connect to the steam lines 48 of the main steam system 40 between the control valves 46 and the nozzle box 30. Therefore, the functionality of a steam turbine system 10 of the present embodiment can be described as followed.
- the main valve 44 of the main steam system 40 is closed.
- the preheating control valve 54 is opened such that steam coming from a steam source entering the preheating input port 52 can flow through the steam lines 58 of the preheating system 50.
- Such steam flows through the connections to the steam lines 48 of the main steam system 40 downstream of the in particular closed control valves 46 and enters the nozzle box 30.
- the nozzle box 30 is heated up.
- such steam also heats up the turbine casing 26 of the steam turbine.
- the preheating control valve 54 is closed and the main valve 44 of the main steam system 40 is opened.
- the regular work of the steam turbine 20 can begin, namely the steam from a steam source can flow through the nozzle box 30 into the turbine casing 26 and the steam turbine 20 can start to generate power.
- FIG. 1 an alternative embodiment is depicted in figure 2 . Same features comprise same reference signs and only differences between the two embodiments will be described below.
- the embodiment of figure 2 comprises one combined input port for the main input port 42 and the preheating input port 52.
- a three-port valve Located downstream of the combined input port a three-port valve is positioned, comprising the functionality of the main valve 44 of the main steam system 40 and the preheating control valve 54 of the preheating steam system 50.
- such three-port valve comprises the two functionalities of separating the steam from a steam source or steam generator from the combined input port as well as acting as the two necessary valves of the two steam systems 40 and 50.
- the rest of the functionality is identical between the embodiments of figure 1 and figure 2 .
- the main steam system 40 comprising the main valve 44 is also provided with three control valves 46.
- the steam lines 48 follow the way to the nozzle box 30 downstream of the control valves 46 through the material of the turbine casing 26.
- Within the material of the turbine casing 26 there is also the connection to the steam lines 58 of the preheating steam system 50.
- the steam flows through the preheating steam lines 58 and by passing said connection to the steam lines 48 of the main steam system 40. Downstream of that connection, the steam flows within the material of the turbine casing 26 and due to that direct contact between such material and the steam the turbine casing 26 is heated up.
- the nozzle box 30 comprises three nozzles 32, which are connected each to one steam line 48 of the main steam system 40. Thereby the nozzles 32 and the nozzle box 30 are connected to the main steam system 40 as well as to the preheating steam system 50 such that the nozzle box 30 is also preheated by the preheating steam system 50.
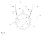
- the embodiment of figure 3 comprises a temperature sensor 60, which is located at least partly with its sensing part inside the material of the turbine casing 26.
- a temperature sensor 60 which is located at least partly with its sensing part inside the material of the turbine casing 26.
- Figure 4 shows in a schematic view the embodiment of figure 3 .
- the steam after leaving the nozzles 32 flows along a rotor 24 of the steam turbine 20 and forces the turbine blades 22 to rotate.
- the amount of steam following through the preheating steam system 50 is a lot less than the amount of steam which flows through the main steam system 40. Therefore, the steam which is used to heat up the turbine casing 26 as well as the nozzle box 30 also enters the interior of the turbine casing 26 but does not result in a start of generating power due to the fact that the amount of steam is too low to result in a rotation of the turbine blades 22.
- Fig. 5 shows the preheating operation.
- the emergency stop valve 45 as well as the control valves 46 are closed.
- the preheating control valve 54 is open and thereby the steam can flow though the steam lines 58 of the preheating steam system 50 for heating up the nozzle box 30, the casing 26 as well as the control valves 46, respectively their casing.
- the preheating control valve is closed and the emergency stop valve 45, the control valves 46 as well as the main valve 44 are all set into an open state as it is shown in fig. 6 .
- the preheating steam system 50 is closed and the normal operation mode of the steam turbine 20 can be started.
Landscapes
- Engineering & Computer Science (AREA)
- Chemical & Material Sciences (AREA)
- Combustion & Propulsion (AREA)
- Mechanical Engineering (AREA)
- General Engineering & Computer Science (AREA)
- Control Of Turbines (AREA)
Priority Applications (2)
| Application Number | Priority Date | Filing Date | Title |
|---|---|---|---|
| PL11155946.4T PL2492456T3 (pl) | 2011-02-25 | 2011-02-25 | System turbiny parowej oraz sposób sterowania przepływem pary w systemie turbiny parowej |
| EP11155946.4A EP2492456B1 (de) | 2011-02-25 | 2011-02-25 | Dampfturbinensystem und Verfahren zur Steuerung des Dampfflusses aus einem Dampfturbinensystem |
Applications Claiming Priority (1)
| Application Number | Priority Date | Filing Date | Title |
|---|---|---|---|
| EP11155946.4A EP2492456B1 (de) | 2011-02-25 | 2011-02-25 | Dampfturbinensystem und Verfahren zur Steuerung des Dampfflusses aus einem Dampfturbinensystem |
Publications (2)
| Publication Number | Publication Date |
|---|---|
| EP2492456A1 true EP2492456A1 (de) | 2012-08-29 |
| EP2492456B1 EP2492456B1 (de) | 2016-04-13 |
Family
ID=44021999
Family Applications (1)
| Application Number | Title | Priority Date | Filing Date |
|---|---|---|---|
| EP11155946.4A Not-in-force EP2492456B1 (de) | 2011-02-25 | 2011-02-25 | Dampfturbinensystem und Verfahren zur Steuerung des Dampfflusses aus einem Dampfturbinensystem |
Country Status (2)
| Country | Link |
|---|---|
| EP (1) | EP2492456B1 (de) |
| PL (1) | PL2492456T3 (de) |
Cited By (3)
| Publication number | Priority date | Publication date | Assignee | Title |
|---|---|---|---|---|
| EP3460205A1 (de) * | 2017-09-22 | 2019-03-27 | Siemens Aktiengesellschaft | Verfahren zum betreiben einer dampfturbine |
| US10253654B2 (en) | 2014-12-04 | 2019-04-09 | General Electric Technology Gmbh | Method for starting a steam turbine |
| US10577962B2 (en) | 2016-09-07 | 2020-03-03 | General Electric Company | Turbomachine temperature control system |
Citations (5)
| Publication number | Priority date | Publication date | Assignee | Title |
|---|---|---|---|---|
| US3561216A (en) * | 1969-03-19 | 1971-02-09 | Gen Electric | Thermal stress controlled loading of steam turbine-generators |
| US5042246A (en) * | 1989-11-06 | 1991-08-27 | General Electric Company | Control system for single shaft combined cycle gas and steam turbine unit |
| JPH0486307A (ja) * | 1990-07-27 | 1992-03-18 | Toshiba Corp | ガスタービン起動装置 |
| US5412936A (en) * | 1992-12-30 | 1995-05-09 | General Electric Co. | Method of effecting start-up of a cold steam turbine system in a combined cycle plant |
| US20090217665A1 (en) * | 2008-02-29 | 2009-09-03 | Daniel Francis Holzhauer | Systems and methods for channeling steam into turbines |
-
2011
- 2011-02-25 EP EP11155946.4A patent/EP2492456B1/de not_active Not-in-force
- 2011-02-25 PL PL11155946.4T patent/PL2492456T3/pl unknown
Patent Citations (5)
| Publication number | Priority date | Publication date | Assignee | Title |
|---|---|---|---|---|
| US3561216A (en) * | 1969-03-19 | 1971-02-09 | Gen Electric | Thermal stress controlled loading of steam turbine-generators |
| US5042246A (en) * | 1989-11-06 | 1991-08-27 | General Electric Company | Control system for single shaft combined cycle gas and steam turbine unit |
| JPH0486307A (ja) * | 1990-07-27 | 1992-03-18 | Toshiba Corp | ガスタービン起動装置 |
| US5412936A (en) * | 1992-12-30 | 1995-05-09 | General Electric Co. | Method of effecting start-up of a cold steam turbine system in a combined cycle plant |
| US20090217665A1 (en) * | 2008-02-29 | 2009-09-03 | Daniel Francis Holzhauer | Systems and methods for channeling steam into turbines |
Cited By (3)
| Publication number | Priority date | Publication date | Assignee | Title |
|---|---|---|---|---|
| US10253654B2 (en) | 2014-12-04 | 2019-04-09 | General Electric Technology Gmbh | Method for starting a steam turbine |
| US10577962B2 (en) | 2016-09-07 | 2020-03-03 | General Electric Company | Turbomachine temperature control system |
| EP3460205A1 (de) * | 2017-09-22 | 2019-03-27 | Siemens Aktiengesellschaft | Verfahren zum betreiben einer dampfturbine |
Also Published As
| Publication number | Publication date |
|---|---|
| EP2492456B1 (de) | 2016-04-13 |
| PL2492456T3 (pl) | 2016-10-31 |
Similar Documents
| Publication | Publication Date | Title |
|---|---|---|
| CN102094713B (zh) | 减少关机期间来自燃气涡轮机的热损失的系统和方法 | |
| CN102200266B (zh) | 用于预加温热回收蒸汽发生器管系的系统和方法 | |
| US7987675B2 (en) | Provision for rapid warming of steam piping of a power plant | |
| US10830156B2 (en) | Fuel supply pipeline system for gas turbine | |
| EP3653849A1 (de) | Schnellstarterwärmungssystem für dampfturbine, vorwärmsystem und erwärmungsverfahren dafür | |
| CN106030274B (zh) | 复合发电设备的配管的破损检测方法以及装置 | |
| EP2492456B1 (de) | Dampfturbinensystem und Verfahren zur Steuerung des Dampfflusses aus einem Dampfturbinensystem | |
| US9581049B2 (en) | Warming arrangement for a power plant | |
| JP2010014114A (ja) | 蒸気タービン過負荷バルブ及びそれに関連する方法 | |
| JP6001889B2 (ja) | 複合サイクル発電システムの起動装置および同システムを組み立てる方法 | |
| EP2597275B1 (de) | Dampfturbinenanlage für Fernwärmeanwendungen | |
| JP7167136B2 (ja) | 蒸気タービンプラント、及びその冷却方法 | |
| CN107429696A (zh) | 用于控制注油压缩机设备或真空泵的油温的方法和装置以及应用于所述装置的阀 | |
| RU2498098C2 (ru) | Система охлаждения турбины и способ охлаждения секции турбины с промежуточным давлением | |
| US20150125266A1 (en) | Steam Turbine Equipment | |
| EP3123003B1 (de) | Gas-und-dampf-kombikraftwerk | |
| WO2012034876A3 (de) | Verfahren zur regelung einer kurzfristigen leistungserhöhung einer dampfturbine | |
| Naik et al. | Impact of turbulator design on the heat transfer in a high aspect ratio passage of a turbine blade | |
| CN107795340B (zh) | 涡轮机温度控制系统 | |
| RU2642708C1 (ru) | Паровая энергетическая установка с трубопроводом шпиндельного пара утечки | |
| RU2618133C2 (ru) | Система управления потоком, электрогенераторная система и способ восстановления турбинного двигателя в такой системе | |
| JP3780678B2 (ja) | 蒸気プラントにおけるバイパス弁の暖機方法および装置 | |
| KR101341767B1 (ko) | 발전용 열교환 장치 | |
| JP6185338B2 (ja) | 発電装置 | |
| US9976478B2 (en) | Solar heat turbine system, and device and method for controlling said system |
Legal Events
| Date | Code | Title | Description |
|---|---|---|---|
| PUAI | Public reference made under article 153(3) epc to a published international application that has entered the european phase |
Free format text: ORIGINAL CODE: 0009012 |
|
| AK | Designated contracting states |
Kind code of ref document: A1 Designated state(s): AL AT BE BG CH CY CZ DE DK EE ES FI FR GB GR HR HU IE IS IT LI LT LU LV MC MK MT NL NO PL PT RO RS SE SI SK SM TR |
|
| AX | Request for extension of the european patent |
Extension state: BA ME |
|
| 17P | Request for examination filed |
Effective date: 20121008 |
|
| RAP1 | Party data changed (applicant data changed or rights of an application transferred) |
Owner name: SIEMENS AKTIENGESELLSCHAFT |
|
| GRAP | Despatch of communication of intention to grant a patent |
Free format text: ORIGINAL CODE: EPIDOSNIGR1 |
|
| INTG | Intention to grant announced |
Effective date: 20151016 |
|
| GRAS | Grant fee paid |
Free format text: ORIGINAL CODE: EPIDOSNIGR3 |
|
| GRAA | (expected) grant |
Free format text: ORIGINAL CODE: 0009210 |
|
| AK | Designated contracting states |
Kind code of ref document: B1 Designated state(s): AL AT BE BG CH CY CZ DE DK EE ES FI FR GB GR HR HU IE IS IT LI LT LU LV MC MK MT NL NO PL PT RO RS SE SI SK SM TR |
|
| REG | Reference to a national code |
Ref country code: GB Ref legal event code: FG4D |
|
| REG | Reference to a national code |
Ref country code: AT Ref legal event code: REF Ref document number: 790407 Country of ref document: AT Kind code of ref document: T Effective date: 20160415 Ref country code: CH Ref legal event code: EP |
|
| REG | Reference to a national code |
Ref country code: IE Ref legal event code: FG4D |
|
| REG | Reference to a national code |
Ref country code: DE Ref legal event code: R096 Ref document number: 602011025191 Country of ref document: DE |
|
| REG | Reference to a national code |
Ref country code: LT Ref legal event code: MG4D |
|
| REG | Reference to a national code |
Ref country code: AT Ref legal event code: MK05 Ref document number: 790407 Country of ref document: AT Kind code of ref document: T Effective date: 20160413 |
|
| REG | Reference to a national code |
Ref country code: NL Ref legal event code: MP Effective date: 20160413 |
|
| PG25 | Lapsed in a contracting state [announced via postgrant information from national office to epo] |
Ref country code: NO Free format text: LAPSE BECAUSE OF FAILURE TO SUBMIT A TRANSLATION OF THE DESCRIPTION OR TO PAY THE FEE WITHIN THE PRESCRIBED TIME-LIMIT Effective date: 20160713 Ref country code: FI Free format text: LAPSE BECAUSE OF FAILURE TO SUBMIT A TRANSLATION OF THE DESCRIPTION OR TO PAY THE FEE WITHIN THE PRESCRIBED TIME-LIMIT Effective date: 20160413 Ref country code: NL Free format text: LAPSE BECAUSE OF FAILURE TO SUBMIT A TRANSLATION OF THE DESCRIPTION OR TO PAY THE FEE WITHIN THE PRESCRIBED TIME-LIMIT Effective date: 20160413 Ref country code: LT Free format text: LAPSE BECAUSE OF FAILURE TO SUBMIT A TRANSLATION OF THE DESCRIPTION OR TO PAY THE FEE WITHIN THE PRESCRIBED TIME-LIMIT Effective date: 20160413 |
|
| PG25 | Lapsed in a contracting state [announced via postgrant information from national office to epo] |
Ref country code: PT Free format text: LAPSE BECAUSE OF FAILURE TO SUBMIT A TRANSLATION OF THE DESCRIPTION OR TO PAY THE FEE WITHIN THE PRESCRIBED TIME-LIMIT Effective date: 20160816 Ref country code: SE Free format text: LAPSE BECAUSE OF FAILURE TO SUBMIT A TRANSLATION OF THE DESCRIPTION OR TO PAY THE FEE WITHIN THE PRESCRIBED TIME-LIMIT Effective date: 20160413 Ref country code: RS Free format text: LAPSE BECAUSE OF FAILURE TO SUBMIT A TRANSLATION OF THE DESCRIPTION OR TO PAY THE FEE WITHIN THE PRESCRIBED TIME-LIMIT Effective date: 20160413 Ref country code: AT Free format text: LAPSE BECAUSE OF FAILURE TO SUBMIT A TRANSLATION OF THE DESCRIPTION OR TO PAY THE FEE WITHIN THE PRESCRIBED TIME-LIMIT Effective date: 20160413 Ref country code: LV Free format text: LAPSE BECAUSE OF FAILURE TO SUBMIT A TRANSLATION OF THE DESCRIPTION OR TO PAY THE FEE WITHIN THE PRESCRIBED TIME-LIMIT Effective date: 20160413 Ref country code: GR Free format text: LAPSE BECAUSE OF FAILURE TO SUBMIT A TRANSLATION OF THE DESCRIPTION OR TO PAY THE FEE WITHIN THE PRESCRIBED TIME-LIMIT Effective date: 20160714 Ref country code: ES Free format text: LAPSE BECAUSE OF FAILURE TO SUBMIT A TRANSLATION OF THE DESCRIPTION OR TO PAY THE FEE WITHIN THE PRESCRIBED TIME-LIMIT Effective date: 20160413 Ref country code: HR Free format text: LAPSE BECAUSE OF FAILURE TO SUBMIT A TRANSLATION OF THE DESCRIPTION OR TO PAY THE FEE WITHIN THE PRESCRIBED TIME-LIMIT Effective date: 20160413 |
|
| PG25 | Lapsed in a contracting state [announced via postgrant information from national office to epo] |
Ref country code: BE Free format text: LAPSE BECAUSE OF FAILURE TO SUBMIT A TRANSLATION OF THE DESCRIPTION OR TO PAY THE FEE WITHIN THE PRESCRIBED TIME-LIMIT Effective date: 20160413 |
|
| REG | Reference to a national code |
Ref country code: DE Ref legal event code: R097 Ref document number: 602011025191 Country of ref document: DE |
|
| PG25 | Lapsed in a contracting state [announced via postgrant information from national office to epo] |
Ref country code: DK Free format text: LAPSE BECAUSE OF FAILURE TO SUBMIT A TRANSLATION OF THE DESCRIPTION OR TO PAY THE FEE WITHIN THE PRESCRIBED TIME-LIMIT Effective date: 20160413 Ref country code: EE Free format text: LAPSE BECAUSE OF FAILURE TO SUBMIT A TRANSLATION OF THE DESCRIPTION OR TO PAY THE FEE WITHIN THE PRESCRIBED TIME-LIMIT Effective date: 20160413 Ref country code: RO Free format text: LAPSE BECAUSE OF FAILURE TO SUBMIT A TRANSLATION OF THE DESCRIPTION OR TO PAY THE FEE WITHIN THE PRESCRIBED TIME-LIMIT Effective date: 20160413 Ref country code: SK Free format text: LAPSE BECAUSE OF FAILURE TO SUBMIT A TRANSLATION OF THE DESCRIPTION OR TO PAY THE FEE WITHIN THE PRESCRIBED TIME-LIMIT Effective date: 20160413 |
|
| PLBE | No opposition filed within time limit |
Free format text: ORIGINAL CODE: 0009261 |
|
| STAA | Information on the status of an ep patent application or granted ep patent |
Free format text: STATUS: NO OPPOSITION FILED WITHIN TIME LIMIT |
|
| PG25 | Lapsed in a contracting state [announced via postgrant information from national office to epo] |
Ref country code: SM Free format text: LAPSE BECAUSE OF FAILURE TO SUBMIT A TRANSLATION OF THE DESCRIPTION OR TO PAY THE FEE WITHIN THE PRESCRIBED TIME-LIMIT Effective date: 20160413 |
|
| 26N | No opposition filed |
Effective date: 20170116 |
|
| PG25 | Lapsed in a contracting state [announced via postgrant information from national office to epo] |
Ref country code: SI Free format text: LAPSE BECAUSE OF FAILURE TO SUBMIT A TRANSLATION OF THE DESCRIPTION OR TO PAY THE FEE WITHIN THE PRESCRIBED TIME-LIMIT Effective date: 20160413 |
|
| PG25 | Lapsed in a contracting state [announced via postgrant information from national office to epo] |
Ref country code: MC Free format text: LAPSE BECAUSE OF FAILURE TO SUBMIT A TRANSLATION OF THE DESCRIPTION OR TO PAY THE FEE WITHIN THE PRESCRIBED TIME-LIMIT Effective date: 20160413 |
|
| REG | Reference to a national code |
Ref country code: CH Ref legal event code: PL |
|
| GBPC | Gb: european patent ceased through non-payment of renewal fee |
Effective date: 20170225 |
|
| PG25 | Lapsed in a contracting state [announced via postgrant information from national office to epo] |
Ref country code: CH Free format text: LAPSE BECAUSE OF NON-PAYMENT OF DUE FEES Effective date: 20170228 Ref country code: LI Free format text: LAPSE BECAUSE OF NON-PAYMENT OF DUE FEES Effective date: 20170228 |
|
| REG | Reference to a national code |
Ref country code: IE Ref legal event code: MM4A |
|
| REG | Reference to a national code |
Ref country code: FR Ref legal event code: ST Effective date: 20171031 |
|
| PG25 | Lapsed in a contracting state [announced via postgrant information from national office to epo] |
Ref country code: LU Free format text: LAPSE BECAUSE OF NON-PAYMENT OF DUE FEES Effective date: 20170225 |
|
| PG25 | Lapsed in a contracting state [announced via postgrant information from national office to epo] |
Ref country code: FR Free format text: LAPSE BECAUSE OF NON-PAYMENT OF DUE FEES Effective date: 20170228 |
|
| PG25 | Lapsed in a contracting state [announced via postgrant information from national office to epo] |
Ref country code: IE Free format text: LAPSE BECAUSE OF NON-PAYMENT OF DUE FEES Effective date: 20170225 Ref country code: GB Free format text: LAPSE BECAUSE OF NON-PAYMENT OF DUE FEES Effective date: 20170225 |
|
| PGFP | Annual fee paid to national office [announced via postgrant information from national office to epo] |
Ref country code: CZ Payment date: 20180221 Year of fee payment: 8 |
|
| PGFP | Annual fee paid to national office [announced via postgrant information from national office to epo] |
Ref country code: PL Payment date: 20180220 Year of fee payment: 8 Ref country code: IT Payment date: 20180226 Year of fee payment: 8 |
|
| PGFP | Annual fee paid to national office [announced via postgrant information from national office to epo] |
Ref country code: DE Payment date: 20180419 Year of fee payment: 8 |
|
| PG25 | Lapsed in a contracting state [announced via postgrant information from national office to epo] |
Ref country code: MT Free format text: LAPSE BECAUSE OF NON-PAYMENT OF DUE FEES Effective date: 20170225 |
|
| PG25 | Lapsed in a contracting state [announced via postgrant information from national office to epo] |
Ref country code: AL Free format text: LAPSE BECAUSE OF FAILURE TO SUBMIT A TRANSLATION OF THE DESCRIPTION OR TO PAY THE FEE WITHIN THE PRESCRIBED TIME-LIMIT Effective date: 20160413 |
|
| PG25 | Lapsed in a contracting state [announced via postgrant information from national office to epo] |
Ref country code: HU Free format text: LAPSE BECAUSE OF FAILURE TO SUBMIT A TRANSLATION OF THE DESCRIPTION OR TO PAY THE FEE WITHIN THE PRESCRIBED TIME-LIMIT; INVALID AB INITIO Effective date: 20110225 |
|
| PG25 | Lapsed in a contracting state [announced via postgrant information from national office to epo] |
Ref country code: BG Free format text: LAPSE BECAUSE OF FAILURE TO SUBMIT A TRANSLATION OF THE DESCRIPTION OR TO PAY THE FEE WITHIN THE PRESCRIBED TIME-LIMIT Effective date: 20160413 |
|
| REG | Reference to a national code |
Ref country code: DE Ref legal event code: R119 Ref document number: 602011025191 Country of ref document: DE |
|
| PG25 | Lapsed in a contracting state [announced via postgrant information from national office to epo] |
Ref country code: CY Free format text: LAPSE BECAUSE OF NON-PAYMENT OF DUE FEES Effective date: 20160413 Ref country code: CZ Free format text: LAPSE BECAUSE OF NON-PAYMENT OF DUE FEES Effective date: 20190225 |
|
| PG25 | Lapsed in a contracting state [announced via postgrant information from national office to epo] |
Ref country code: MK Free format text: LAPSE BECAUSE OF FAILURE TO SUBMIT A TRANSLATION OF THE DESCRIPTION OR TO PAY THE FEE WITHIN THE PRESCRIBED TIME-LIMIT Effective date: 20160413 |
|
| PG25 | Lapsed in a contracting state [announced via postgrant information from national office to epo] |
Ref country code: DE Free format text: LAPSE BECAUSE OF NON-PAYMENT OF DUE FEES Effective date: 20190903 |
|
| PG25 | Lapsed in a contracting state [announced via postgrant information from national office to epo] |
Ref country code: IT Free format text: LAPSE BECAUSE OF NON-PAYMENT OF DUE FEES Effective date: 20190225 |
|
| PG25 | Lapsed in a contracting state [announced via postgrant information from national office to epo] |
Ref country code: TR Free format text: LAPSE BECAUSE OF FAILURE TO SUBMIT A TRANSLATION OF THE DESCRIPTION OR TO PAY THE FEE WITHIN THE PRESCRIBED TIME-LIMIT Effective date: 20160413 |
|
| PG25 | Lapsed in a contracting state [announced via postgrant information from national office to epo] |
Ref country code: IS Free format text: LAPSE BECAUSE OF FAILURE TO SUBMIT A TRANSLATION OF THE DESCRIPTION OR TO PAY THE FEE WITHIN THE PRESCRIBED TIME-LIMIT Effective date: 20160813 |
|
| PG25 | Lapsed in a contracting state [announced via postgrant information from national office to epo] |
Ref country code: PL Free format text: LAPSE BECAUSE OF NON-PAYMENT OF DUE FEES Effective date: 20190225 |