EP2394049B1 - Brennstoffeinspritzventil für verbrennungskraftmaschinen - Google Patents
Brennstoffeinspritzventil für verbrennungskraftmaschinen Download PDFInfo
- Publication number
- EP2394049B1 EP2394049B1 EP10701799A EP10701799A EP2394049B1 EP 2394049 B1 EP2394049 B1 EP 2394049B1 EP 10701799 A EP10701799 A EP 10701799A EP 10701799 A EP10701799 A EP 10701799A EP 2394049 B1 EP2394049 B1 EP 2394049B1
- Authority
- EP
- European Patent Office
- Prior art keywords
- injection valve
- chamber
- pressure
- valve
- valve member
- Prior art date
- Legal status (The legal status is an assumption and is not a legal conclusion. Google has not performed a legal analysis and makes no representation as to the accuracy of the status listed.)
- Not-in-force
Links
- 238000002347 injection Methods 0.000 title claims description 89
- 239000007924 injection Substances 0.000 title claims description 89
- 239000000446 fuel Substances 0.000 title claims description 69
- 238000002485 combustion reaction Methods 0.000 title claims description 7
- 238000007789 sealing Methods 0.000 claims description 37
- 238000000034 method Methods 0.000 claims description 11
- 230000006835 compression Effects 0.000 claims description 6
- 238000007906 compression Methods 0.000 claims description 6
- 239000012530 fluid Substances 0.000 claims description 4
- 239000008186 active pharmaceutical agent Substances 0.000 description 5
- 238000000926 separation method Methods 0.000 description 5
- 230000000694 effects Effects 0.000 description 4
- 238000010276 construction Methods 0.000 description 2
- 230000001419 dependent effect Effects 0.000 description 2
- 230000001154 acute effect Effects 0.000 description 1
- 230000002411 adverse Effects 0.000 description 1
- 239000011324 bead Substances 0.000 description 1
- 230000015572 biosynthetic process Effects 0.000 description 1
- 238000004891 communication Methods 0.000 description 1
- 230000003137 locomotive effect Effects 0.000 description 1
- 238000004519 manufacturing process Methods 0.000 description 1
- 230000000284 resting effect Effects 0.000 description 1
- 230000002123 temporal effect Effects 0.000 description 1
Images
Classifications
-
- F—MECHANICAL ENGINEERING; LIGHTING; HEATING; WEAPONS; BLASTING
- F02—COMBUSTION ENGINES; HOT-GAS OR COMBUSTION-PRODUCT ENGINE PLANTS
- F02M—SUPPLYING COMBUSTION ENGINES IN GENERAL WITH COMBUSTIBLE MIXTURES OR CONSTITUENTS THEREOF
- F02M47/00—Fuel-injection apparatus operated cyclically with fuel-injection valves actuated by fluid pressure
- F02M47/02—Fuel-injection apparatus operated cyclically with fuel-injection valves actuated by fluid pressure of accumulator-injector type, i.e. having fuel pressure of accumulator tending to open, and fuel pressure in other chamber tending to close, injection valves and having means for periodically releasing that closing pressure
- F02M47/027—Electrically actuated valves draining the chamber to release the closing pressure
-
- F—MECHANICAL ENGINEERING; LIGHTING; HEATING; WEAPONS; BLASTING
- F02—COMBUSTION ENGINES; HOT-GAS OR COMBUSTION-PRODUCT ENGINE PLANTS
- F02M—SUPPLYING COMBUSTION ENGINES IN GENERAL WITH COMBUSTIBLE MIXTURES OR CONSTITUENTS THEREOF
- F02M45/00—Fuel-injection apparatus characterised by having a cyclic delivery of specific time/pressure or time/quantity relationship
- F02M45/02—Fuel-injection apparatus characterised by having a cyclic delivery of specific time/pressure or time/quantity relationship with each cyclic delivery being separated into two or more parts
- F02M45/04—Fuel-injection apparatus characterised by having a cyclic delivery of specific time/pressure or time/quantity relationship with each cyclic delivery being separated into two or more parts with a small initial part, e.g. initial part for partial load and initial and main part for full load
- F02M45/08—Injectors peculiar thereto
-
- F—MECHANICAL ENGINEERING; LIGHTING; HEATING; WEAPONS; BLASTING
- F02—COMBUSTION ENGINES; HOT-GAS OR COMBUSTION-PRODUCT ENGINE PLANTS
- F02M—SUPPLYING COMBUSTION ENGINES IN GENERAL WITH COMBUSTIBLE MIXTURES OR CONSTITUENTS THEREOF
- F02M47/00—Fuel-injection apparatus operated cyclically with fuel-injection valves actuated by fluid pressure
- F02M47/02—Fuel-injection apparatus operated cyclically with fuel-injection valves actuated by fluid pressure of accumulator-injector type, i.e. having fuel pressure of accumulator tending to open, and fuel pressure in other chamber tending to close, injection valves and having means for periodically releasing that closing pressure
- F02M47/025—Hydraulically actuated valves draining the chamber to release the closing pressure
-
- F—MECHANICAL ENGINEERING; LIGHTING; HEATING; WEAPONS; BLASTING
- F02—COMBUSTION ENGINES; HOT-GAS OR COMBUSTION-PRODUCT ENGINE PLANTS
- F02M—SUPPLYING COMBUSTION ENGINES IN GENERAL WITH COMBUSTIBLE MIXTURES OR CONSTITUENTS THEREOF
- F02M63/00—Other fuel-injection apparatus having pertinent characteristics not provided for in groups F02M39/00 - F02M57/00 or F02M67/00; Details, component parts, or accessories of fuel-injection apparatus, not provided for in, or of interest apart from, the apparatus of groups F02M39/00 - F02M61/00 or F02M67/00; Combination of fuel pump with other devices, e.g. lubricating oil pump
- F02M63/0012—Valves
- F02M63/0014—Valves characterised by the valve actuating means
- F02M63/0015—Valves characterised by the valve actuating means electrical, e.g. using solenoid
- F02M63/0026—Valves characterised by the valve actuating means electrical, e.g. using solenoid using piezoelectric or magnetostrictive actuators
-
- F—MECHANICAL ENGINEERING; LIGHTING; HEATING; WEAPONS; BLASTING
- F02—COMBUSTION ENGINES; HOT-GAS OR COMBUSTION-PRODUCT ENGINE PLANTS
- F02M—SUPPLYING COMBUSTION ENGINES IN GENERAL WITH COMBUSTIBLE MIXTURES OR CONSTITUENTS THEREOF
- F02M63/00—Other fuel-injection apparatus having pertinent characteristics not provided for in groups F02M39/00 - F02M57/00 or F02M67/00; Details, component parts, or accessories of fuel-injection apparatus, not provided for in, or of interest apart from, the apparatus of groups F02M39/00 - F02M61/00 or F02M67/00; Combination of fuel pump with other devices, e.g. lubricating oil pump
- F02M63/0012—Valves
- F02M63/0014—Valves characterised by the valve actuating means
- F02M63/0028—Valves characterised by the valve actuating means hydraulic
- F02M63/0029—Valves characterised by the valve actuating means hydraulic using a pilot valve controlling a hydraulic chamber
-
- F—MECHANICAL ENGINEERING; LIGHTING; HEATING; WEAPONS; BLASTING
- F02—COMBUSTION ENGINES; HOT-GAS OR COMBUSTION-PRODUCT ENGINE PLANTS
- F02M—SUPPLYING COMBUSTION ENGINES IN GENERAL WITH COMBUSTIBLE MIXTURES OR CONSTITUENTS THEREOF
- F02M63/00—Other fuel-injection apparatus having pertinent characteristics not provided for in groups F02M39/00 - F02M57/00 or F02M67/00; Details, component parts, or accessories of fuel-injection apparatus, not provided for in, or of interest apart from, the apparatus of groups F02M39/00 - F02M61/00 or F02M67/00; Combination of fuel pump with other devices, e.g. lubricating oil pump
- F02M63/0012—Valves
- F02M63/0031—Valves characterized by the type of valves, e.g. special valve member details, valve seat details, valve housing details
- F02M63/004—Sliding valves, e.g. spool valves, i.e. whereby the closing member has a sliding movement along a seat for opening and closing
-
- F—MECHANICAL ENGINEERING; LIGHTING; HEATING; WEAPONS; BLASTING
- F02—COMBUSTION ENGINES; HOT-GAS OR COMBUSTION-PRODUCT ENGINE PLANTS
- F02M—SUPPLYING COMBUSTION ENGINES IN GENERAL WITH COMBUSTIBLE MIXTURES OR CONSTITUENTS THEREOF
- F02M63/00—Other fuel-injection apparatus having pertinent characteristics not provided for in groups F02M39/00 - F02M57/00 or F02M67/00; Details, component parts, or accessories of fuel-injection apparatus, not provided for in, or of interest apart from, the apparatus of groups F02M39/00 - F02M61/00 or F02M67/00; Combination of fuel pump with other devices, e.g. lubricating oil pump
- F02M63/0012—Valves
- F02M63/0031—Valves characterized by the type of valves, e.g. special valve member details, valve seat details, valve housing details
- F02M63/0043—Two-way valves
Definitions
- the present invention relates to a fuel injection valve for the intermittent injection of fuel into the combustion chamber of an internal combustion engine according to the preamble of patent claim 1, which is preferably used in diesel engines.
- Fuel injection valves of this type are for example from the WO 2007/098621 A1 the applicant known.
- Such fuel injectors have a simple structure in which both a controllability of the opening movement of the injection valve member and a rapid closing of the injection valve member can be achieved with a minimum construction cost.
- the realization of multiple injections with very short time intervals is possible in such a fuel injection valve
- the control chamber and the valve chamber via an accurate throttle passage are permanently interconnected, separates the rest of the interim valve, these two rooms permanently from each other.
- the throttle passage is disposed immediately adjacent to the control room.
- the connected to the high-pressure chamber of the injection valve, leading into the control chamber high-pressure admitting large cross section, compared with the cross section of the throttle passage, is controlled by the intermediate valve.
- the opening movement of the injection valve member is in essentially solely dependent on the cross section of the throttle passage.
- FIG. 1 to 7 show the inclusion of the shank of the intermediate valve member in a close sliding fit, which is formed in the intermediate part.
- a close sliding fit is absolutely necessary in order to provide sufficient separation between the high-pressure admission valve and the valve space open to the low-pressure fuel outlet, even in the open position of the intermediate valve, except for negligible leakage for the function of the injection valve.
- This tight sliding fit requires very precisely manufactured components, in particular the shaft of the intermediate valve member and the bore receiving the shaft must be made in the intermediate part with very small tolerances in the range of a few micrometers, whereby the production of these components of the fuel injection valve is expensive.
- a sliding fit with a tolerance of up to several hundredths of a millimeter between the shank of the intermediate valve member and the bore in the intermediate part can according to the alternative embodiment in Fig. 8 of WO 2007/098621 be reached when the high-pressure admission is closed in the closed position of the intermediate valve by the sealing surface of the head of the intermediate valve member and thus the flow of High-pressure admission to the valve chamber is completely interrupted.
- the sealing surface of the head lies flat against the surface of the intermediate valve seat.
- the object of the invention is therefore to develop a generic fuel injector such that the above disadvantages can be avoided, with a sliding fit with larger tolerances should be made possible for cost reasons.
- the sealing surface of the head and the surface of the intermediate valve seat are designed such that they produce a throttled fluid connection between the high-pressure admission and the sliding fit in the closed position of the intermediate valve.
- the sealing surface of the head and the surface of the intermediate valve seat are aligned with each other, preferably inclined to each other that they rest in the closed position of the intermediate valve radially outside sealingly and radially inwardly an axially increasing throttle gap form for the throttling of the high pressure zulass Valve space down. Since the sealing surfaces are circular around the Valve axis are formed, their inclination to each other due to their different conicity.
- a throttling of the high-pressure admission can be achieved, which is so strong that the still possible flow between the high-pressure admission and the valve chamber does not affect the remaining function of the fuel injection valve.
- the throttling achieved directly at the mouth of the high-pressure admission is so strong that the sliding fit between the shaft and the intermediate part can have relatively large tolerances, in particular in the range of one hundredth of a millimeter.
- the intermediate valve member, in particular its shaft, and the intermediate part, in particular its bore receiving the shaft can be manufactured with greater tolerances, which leads to cost savings.
- the preferably formed between the two sealing surfaces of the head and the intermediate valve seat throttle gap leads to an avoidance or at least a strong reduction of adhesion forces between these sealing surfaces, since they rest in the closed position of the intermediate valve only along the circumference of the head together and thereby form a circumferential ring seal , whereby a flat contact between them is avoided.
- a precise control of the termination of the injection process by opening the intermediate valve is made possible, since at the beginning of the opening of the intermediate valve member no adhesion forces are to be overcome.
- a throttle gap with at least one curved interface is formed between the sealing surfaces. If both surfaces are curved in the same direction, one of the sealing surfaces has a smaller radius of curvature than the other, so that the radially inwardly widening throttle gap can be formed.
- two mutually convex curves could be provided between which the throttle gap is executed.
- the intermediate valve While the control chamber and the valve chamber are permanently connected to one another via an exact throttle passage, the intermediate valve, moreover, permanently separates these two chambers from one another.
- the throttle passage is disposed immediately adjacent to the control room.
- FIG. 1 shows a fuel injection valve 1, which is intended for the intermittent injection of fuel into the combustion chamber of an internal combustion engine. It has an elongate, circular cylindrical and stepped housing 6, the housing axis is denoted by 8.
- the housing 6 consists of a housing body 10, a first intermediate plate 12, a second intermediate plate 14 and a nozzle body 16.
- the first intermediate plate 12 and the second intermediate plate 14 form an intermediate part 17.
- the intermediate plates 12 and 14 and the nozzle body 16 are provided with a nut trained clamping nut 18 in a tight manner against each other and clamped together against a lower surface 10 a of the housing body 10.
- the first intermediate plate 12 rests against the nozzle body 16 and the second intermediate plate 14 on the housing body 10.
- a designed as a high-pressure supply hole high-pressure fuel inlet 20 of the fuel injection valve 1 is connected in a known manner with a fuel feed, which the fuel injector 1 fuel at very high pressure, for example, up to 1800 bar or higher, supplies.
- the high-pressure fuel inlet 20 opens laterally into the housing body 10, but could also be made more or less parallel to the housing axis 8 from above in the housing body 10.
- In the high-pressure fuel inlet 20 opens a longitudinal bore 22, which is also made in the housing body 10 and the other end opens into the lower surface 10 a of the housing body 10.
- a needle-shaped injection valve member 28 In a high pressure chamber 42 of the nozzle body 16 are a needle-shaped injection valve member 28, a support sleeve 30, a washer 32, a compression spring 34 and a guide sleeve 36. About the washer and support sleeve 30, the compression spring 34 is supported on the injection valve member 28.
- a bore 38 through the second intermediate plate 14 and a bore 40 through the first intermediate plate 12 connect the longitudinal bore 22 with the high pressure chamber 42.
- This high pressure chamber 42 extends from the intermediate plates 12, 14 facing end face 16b of the nozzle body 16 to an injection valve seat 44th Downstream of the injection valve seat 44, the nozzle body injection openings 44 'on.
- the injection valve member 28 has a radial guide 46 with the nozzle body 16, which is interrupted by abutment surfaces 48 of the injection valve member 28 for hydraulically virtually resistant supply of high-pressure fuel to the injection valve seat 44.
- a hydraulic control device 52 for controlling the opening and the rapid closing movements of the injection valve member 28 during the injection process.
- the control device 52 of the fuel injection valve 1 will be described in detail in connection with FIG FIG. 2 shown and described.
- a low pressure fuel return 50 relieves fuel to control the movements of the injector member and directs this fuel away from the fuel injector 1.
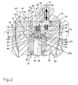
- FIG. 2 shows in longitudinal section and in an enlarged view a part of the inventive fuel injection valve 1 of FIG. 1 with its control device 52 for controlling the opening and rapid closing movement of the injection valve member as presented in the pause time between two injection events.
- a control piston 28 'of the injection valve member 28 is radially guided in a close sliding fit in the guide sleeve 36 and axially displaceably mounted. It limits together with the guide sleeve 36, the end face 36b of the spring 34 is pressed against a lower surface 12a of the first intermediate plate 12 sealing and resting in abutment, a control chamber 54.
- a shaft 58 of a standing on his head 60 mushroom-shaped intermediate valve member 56 engages a, in the axial direction, through opening of the first intermediate plates 12 and is guided on this with a sliding fit 58 '.
- the head 60 of the intermediate valve member 56 is located, displaceable in the axial direction, in a recess 62 of the guide sleeve 36.
- the recess 62 is connected by radial passages 56 "in the head 60 with the control chamber 54 hydraulically permanently connected and thus part of the control chamber 54.
- the head 60 is pressed by a on a lower surface 14a of the second intermediate plate 14 supporting, small compression spring 66 to a shoulder 64 of the guide sleeve 36.
- a precise throttle passage 68 of the intermediate valve member. 56 permanently connects the control room 54 with a Valve space 70 in the second intermediate plate 14; a recess extending through the second intermediate plate 14 and delimited by the first intermediate plate 12 and the housing body 10 forms the valve space 70.
- the valve space 70 is hydraulically connected via a passage 70 'to the back of the intermediate valve member 56; the small space in the through opening of the first intermediate plate 12 on the back of the intermediate valve member 56 thus forms a hydraulic part of the valve chamber 70.
- the throttle passage 68 is located according to Fig.
- valve chamber 70 In the valve chamber 70 is one of the Piezoaktuator 26 ( Fig.1 ) operated Aktuatorventilglied 72, which bears in its closed position with its conical sealing surface 72a sealingly formed on a housing body 10, annular valve seat DS.
- the valve seat DS is formed by the mouth of an exhaust passage 73 formed in the housing body 10; this outlet passage 73 leads to the low pressure fuel return 50 (FIG. Fig.1 ).
- An actuator valve member spring 74 exerts a constant, but in comparison to the fuel pressure force small spring force in the direction of the valve seat DS on the Aktuatorventilglied 72.
- a high pressure admission in the form of a bore 76 of relatively large cross section in the first intermediate plate 12th connects the control chamber 54, via a lateral passage 76a in the second intermediate plate 14, with the bore 38.
- the intermediate valve 56 ' is closed this connection is interrupted, in its open position, the intermediate valve 56' is a circular cylindrical passage.
- the lateral passage 76a alternatively be made in the first intermediate plate 12.
- the dimensions of the above-mentioned outlet passage 73, the bore 76 and the throttle passage 68 are, for example, 0.20 mm for the throttle passage 68, 0.80 mm for the bore 76 and 1.3 mm for the valve seat DS of the Aktuatorventilgliedes 72 at a full opening stroke of the Aktuatorventilgliedes 72 of approx. 0.025 mm.
- the latter corresponds to an outlet throttle passage 73 corresponding to a bore of approximately 0.36 mm diameter, all of which are indicative only.
- the above data show that the sole essential control cross section, which is decisive for the opening movement of the injection valve member 28 when the actuator valve member 72 is open, is represented by the throttle passage 68.
- the head 60 of the intermediate valve member 56 has a sealing surface 61 directed towards a surface 57 of the valve seat 59 formed in the intermediate member 17, in particular in the first intermediate part 12.
- the sealing surface 61 and the surface 57 are inclined relative to each other so that they rest in the closed position of the intermediate valve 56 'radially outside sealingly against each other and radially inwardly an axially increasing throttle gap 77 (FIG. Fig. 5-7 ) form for the throttling of the high-pressure inlet 76 to the valve chamber 70, which with reference to the following Fig. 4 to 7 will be explained in more detail.
- the operation of the fuel injection valve 1 is as follows: the piezoactuator 26 is energized, expands and opens by movement of the Aktuatorventilgliedes 72 down the valve seat DS and thus the outlet passage 73. This position of the Aktuatorventilgliedes 72 is in Fig. 2 shown with dashed line. The fuel pressure in the valve chamber 70 drops rapidly. Thereby, the mushroom-shaped intermediate valve member 56 is moved away from its abutment on the shoulder 64 in the upward direction.
- the injection valve member 28 is now moved rapidly in the direction of the injection valve seat 44 until the injection process is interrupted.
- the intermediate valve member 56 can be moved into the closing direction of the intermediate valve 56 'again by energizing the piezoactuator 26 during the closing movement of the injection valve member 28.
- the control chamber 54 and the distribution chamber 70 due to the sliding fit 58 and the throttling of Hochsruckzulasses 76, are hydraulically practically separated.
- the subsequent injection may be immediately adjacent to the end of the previous one, and the distance between the individual separate injections may be virtually reduced to zero.
- this inventive control device 52 for controlling both small fuel injectors 1, such as for applications in passenger car or Zastwagenmotoren, as well as much larger fuel injection valves, for example in locomotives, earthmoving machinery, power plants and ships.
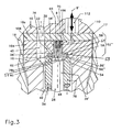
- FIG. 3 shows in longitudinal section and in an enlarged view a partial section of a first alternative design variant of the control device 52 "of the fuel injection valve of FIG. 1 ,
- the second intermediate plate 106 has no valve space, but only an outlet passage 110 which is hydraulically connected via a passage 108 in the first intermediate plate 104 with the back of the shaft 58 of the intermediate valve member 56.
- the intermediate plates 104 and 106 forming the intermediate part 17 could again be realized as a single workpiece.
- the passage 108 could also be made in the second intermediate plate 106.
- the valve space 70 of Fig. 5 is of particularly small volume content.
- the cross section of the outlet passage 110 may be substantially larger than the cross section of the throttle passage 68.
- the actuator shaft 112 is locked in the in FIG.
- the actuator for the actuator shaft 112 may be either a piezo actuator or an electromagnetic actuator, which attracts the actuator shaft 112 in a known manner when energized.
- FIG. 4 shows in longitudinal section and in an enlarged view a partial section of a second alternative design variant of the control device 88 of the fuel injection valve.
- Two opposing holes 96 in the intermediate member 94 (it could also be a bore 96 or more than two holes 96) form with its open inlet into the recess 62 together with the intermediate valve member 56, the intermediate valve 56 '.
- the sliding fit 94 By the narrow throttling of the flow between the high-pressure passages forming holes 96 and the valve chamber 70, the sliding fit 94" If desired, they may be made less accurate and their play may be up to 50 microns, that is, several hundredths of a millimeter, rather than typically 2 to 6 microns of tight fit as known in the art.
- the sliding fit 94 "together with the throttle gap 77 must cause at least one such hydraulic separation point, which produces a sufficient pressure difference, so that after actuation of the actuator assembly 24 (FIG. Fig. 1 ) the intermediate valve member 56 very quickly throttles the holes 96 greatly.
- the outlet of the bores 96 may be widened in the recess 62 on the circumference about the axis 102 in order to obtain a larger flow area with a small stroke of the intermediate valve member 56.
- a kidney-shaped extension is then obtained or a groove extending in the circumferential direction of the recess 62 and of the sliding fit 94 " FIG. 4 unlike those of the preceding figures, no compression spring 66, which may also be realized in the previous embodiments.
- the intermediate valve member 56 is then controlled solely by hydraulic forces.
- FIG. 5 shows a greatly enlarged partial sectional view of the intermediate valve member 56 of FIG. 4 , In this enlargement and even better from the associated detail view of the FIG. 7 It can be seen that in the illustrated closed position of the intermediate valve (during the injection process), the sealing surface 61 of the head 60 of the intermediate valve member 56 and the surface 57 of the valve seat 59 radially outward contact each other and form a - line-shaped - ring seal 59a, which prevents the flow of high-pressure fuel from the Hoch horrladässen 96 into the control chamber 54 and the recess 62.
- the sealing surface 61 and the surface 57 are, however, formed inclined to each other or have a different conicity, so that is formed starting from the radially outer ring seal 59a of the throttle gap 77 between them, which is larger radially inwardly in the axial direction.
- the sealing surface 61 and the surface 57 which in this embodiment are both conical (in the same direction), include an acute angle, ie an angular difference ⁇ .
- This angle difference ⁇ is less than 2 °, preferably between 0.5 ° and 1.5 °, in particular 1 °, to produce the desired throttle effect at the high-pressure ports 96, ie to reduce the flow area in the throttle gap 77 sufficiently, so that by means of the intermediate valve member 56, the desired Control of the fuel injection valve is ensured.
- the angle of the cones may be much greater, between 10 ° and 30 ° or even greater, measured at a right angle to the housing axis 8 extending plane.
- the mutually inclined configuration of the sealing surface 61 and the surface 57 have the advantage that between the two surfaces in the closed position of the intermediate valve no or the opening movement of the intermediate valve member 56 hardly adversely affecting adhesion forces, so that the movement of the intermediate valve member 56 down into the open position of Intermediate valves can be done with less effort and more precise. This allows even more accurate control of the intermediate valve member 56, so that the timing of the completion of the injection process can be determined highly precisely.
- the throttle gap 77 and the sliding fit 94 "act as series throttles, and the flow of fuel through these throttles is negligible for the correct and precise operation of the control device a greater tolerance in the range of a few hundredths of a millimeter.
- the pressure in the throttle gap 77 is substantially smaller than in the control chamber 54 -in the closed state of the intermediate valve 56 ' , which may earlier bend the head 60, in the manner of a Belleville spring, especially when the head 60 is dimensioned to be relatively thin, which in turn leads to a reduction of the throttle gap 77 and thus to an additional reduction in leakage from the high pressure passages 96 in FIG the valve space 70, wherein the undesired adhesion between the intermediate part 17 and the head 60 is avoided.
- the interruption of the fuel flow from the valve chamber 70 takes place in the Niederbuchbrennstoffausläss by closing the exhaust passage 110. It then takes place between the control chamber 54 and the valve chamber 70, a rapid pressure equalization, so that in the high pressure zulassssen upcoming high pressure across the throttle gap 77 and guided around the shaft 58 around annular groove 79 effect unfolded on the intermediate valve member so that it moves under the high pressure effect down and thus the intermediate valve 56 'is opened, the high-pressure inlet 96 then again in fluid communication with the Control chamber 54 stand until the outlet passage 110 is released again to the fuel low-pressure outlet 50 (FIG. Fig. 1 ).
- the maximum opening stroke is given by the end face 78b of the sleeve 78.
- FIG. 6 shows an alternative embodiment of the sealing surface 61 and the surface 57 of the valve seat 59.
- the throttle gap 77 forming surfaces are again inclined to each other, but the sealing surface 61 of the head 60 is now as a substantially horizontal - that is perpendicular to the housing axis 8 - Flat surface formed, whereas the surface 57 is designed conically, so that between them also the throttle gap 77 forming angle difference ⁇ is formed.
- the surface 57 could also extend substantially horizontally-at right angles to the housing axis 8, in which case the sealing surface 61 of the head would have to fall off from the radial outside to the inside in the axial direction in order to obtain the advantageous throttle gap 77.
- at least one of the two sealing surfaces is curved, such that, starting from the ring sealing area, it extends in an arcuate manner radially inwards.
- FIGS. 5 to 7 described embodiments of the sealing surface 61 and the surface 57 may in all alternative embodiments of the control device of FIGS. 1 to 4 be used
- the opening cross section of the outlet passage is at least twice as large as the cross section of the exact throttle passage 68.
Landscapes
- Engineering & Computer Science (AREA)
- Chemical & Material Sciences (AREA)
- Combustion & Propulsion (AREA)
- Mechanical Engineering (AREA)
- General Engineering & Computer Science (AREA)
- Physics & Mathematics (AREA)
- Fluid Mechanics (AREA)
- Fuel-Injection Apparatus (AREA)
Description
- Die vorliegende Erfindung betrifft ein Brennstoffeinspritzventil zur intermittierenden Einspritzung von Brennstoff in den Brennraum einer Verbrennungskraftmaschine gemäss Oberbegriff des Patentanspruchs 1, welches vorzugsweise bei Dieselmotoren verwendet wird.
- Brennstoffeinspritzventile dieser Art sind beispielsweise aus der
WO 2007/098621 A1 der Anmelderin bekannt. Derartige Brennstoffeinspritzventile weisen einen einfachen Aufbau auf, bei dem mit einem minimalen Bauaufwand sowohl eine Steuerbarkeit der Öffnungsbewegung des Einspritzventilgliedes als auch ein rascher Schliessvorgang des Einspritzventilgliedes erzielbar ist. Dabei ist bei einem solchen Brennstoffeinspritzventil die Realisierung von Mehrfacheinspritzungen mit sehr kurzen Zeitabständen mögliche Während der Steuerraum und der ventilraum über einen genauen Drosseldurchlass dauernd miteinander verbunden sind, trennt im übrigen das Zwischenventil diese beiden Räume dauernd voneinander. Der Drosseldurchlass ist unmittelbar angrenzend an den Steuerraum angeordnet. Der mit dem Hochdruckraum des Einspritzventils verbundene, in den Steuerraum führende Hochdruckzulass von grossem Querschnitt, verglichen mit dem Querschnitt des Drosseldurchlasses, wird vom Zwischenventil gesteuert. Da der Querschnitt des von einer elektrischen Aktuatoranordnung gesteuerten Auslaufs aus dem Ventilraum auch wesentlich grösser sein kann als der Querschnitt des Drosseldurchlasses, ist die Öffnungsbewegung des Einspritzventilgliedes im wesentlichen alleine vom Querschnitt des Drosseldurchlasses abhängig. Beim Schliessen des Auslaufs aus dem Ventilraum mittels der Aktuatoranordnung öffnet das Zwischenventil rasch und gibt den mit dem Hochdruckraum verbundenen Durchlass von grossem Querschnitt frei, was ein rasches Beenden des Einspritzvorgangs hervorruft. - Die in der
WO 2007/098621 in den dortigenFig. 1 bis 7 gezeigten Ausführungsvarianten des Brennstoffeinspritzventils zeigen die Aufnahme des Schaftes des Zwischenventilglieds in einer engen Gleitpassung, die im Zwischenteil ausgebildet ist. Eine enge Gleitpassung ist dabei zwingend erforderlich, um auch in der Offenstellung des Zwischenventils eine ausreichende Trennung - bis auf eine für die Funktion des Einspritzventils vernachlässigbare Leckage - zwischen dem Hochdruckzulass und dem zum Niederdruck-Brennstoffauslass geöffneten Ventilraum bereitzustellen. Diese enge Gleitpassung erfordert sehr präzise hergestellte Bauteile, insbesondere müssen der Schaft des Zwischenventilglieds und die den Schaft aufnehmende Bohrung im Zwischenteil mit sehr geringen Toleranzen im Bereich von wenigen Mikrometern gefertigt sein, wodurch die Herstellung dieser Bauteile des Brennstoffeinspritzventils teuer ist. - Eine Gleitpassung mit einer Toleranz von bis zu mehreren Hunderstel Millimeter zwischen dem Schaft des Zwischenventilglieds und der Bohrung im Zwischenteil kann gemäss der Ausführungsalternative in Fig. 8 der
WO 2007/098621 dann erreicht werden, wenn der Hochdruckzulass in Schliessstellung des Zwischenventils durch die Dichtfläche des Kopfes des Zwischenventilglieds verschlossen ist und somit der Durchfluss vom Hochdruckzulass zum Ventilraum vollständig unterbrochen ist. Dabei liegt die Dichtfläche des Kopfes flächig an der Fläche des Zwischenventilsitzes an. - Es hat sich allerdings gezeigt, dass beim vollständigen Verschliessen des Hochdruckzulasses und somit dem flächigen Kontakt zwischen der Dichtfläche des Kopfes und der Fläche des Zwischenventilsitzes hohe Adhäsionskräfte wirken, welche das erneute Öffnen des Zwischenventils zum Beenden des Einspritzvorgangs erschweren, wobei insbesondere die zeitliche Präzision der Beendigung des Einspritzvorgangs verschlechtert werden kann.
- Aufgabe der Erfindung ist daher, ein gattungsgemässes Brennstoffeinspritzventil derart weiterzubilden, dass die obigen Nachteile vermieden werden können, wobei aus Kostengründen eine Gleitpassung mit grösseren Toleranzen ermöglicht sein soll.
- Zur Lösung dieser Aufgabe wird vorgeschlagen, dass die Dichtfläche des Kopfes und die Fläche des Zwischenventilsitzes derart ausgebildet sind, dass sie in Schliessstellung des Zwischenventils eine gedrosselte Fluidverbindung zwischen dem Hochdruckzulass und der Gleitpassung herstellen.
- Bevorzugt sind dabei die Dichtfläche des Kopfes und die Fläche des Zwischenventilsitzes derart zueinander ausgerichtet, vorzugsweise zueinander geneigt ausgebildet, dass sie in Schliessstellung des Zwischenventils radial aussen dichtend aneinander anliegen und nach radial innen einen sich in axialer Richtung vergrössernden Drosselspalt bilden für die Drosselung des Hochdruckzulasses zum Ventilraum hin. Da die Dichtflächen kreisförmig um die Ventilachse geformt sind, kommt ihre Neigung zueinander aufgrund ihrer unterschiedlicher Konizität zustande.
- Durch eine derartige Ausgestaltung der korrespondierenden Flächen des Kopfes und des Zwischenventilsitzes kann eine Drosselung des Hochdruckzulasses erreicht werden, welche so stark ist, dass der noch mögliche Durchfluss zwischen dem Hochdruckzulass und dem Ventilraum die übrige Funktion des Brennstoffeinspritzventils nicht beeinträchtigt. Die erreichte Drosselung direkt an der Mündung des Hochdruckzulasses ist dabei so stark, dass die Gleitpassung zwischen dem Schaft und dem Zwischenteil relativ grosse Toleranzen, insbesondere im Bereich von Hunderstel Millimeter, aufweisen kann. Somit können das Zwischenventilglied, insbesondere dessen Schaft, und das Zwischenteil, insbesondere dessen den Schaft aufnehmende Bohrung, mit grösseren Toleranzen hergestellt werden, was zu Kosteneinsparungen führt.
- Der vorzugsweise zwischen den beiden Dichtflächen des Kopfes und des Zwischenventilsitzes ausgebildete Drosselspalt führt zu einer Vermeidung bzw. mindestens zu einer starken Verminderung von Adhäsionskräften zwischen diesen Dichtflächen, da sie in Schliessstellung des Zwischenventils nur entlang dem Umfang des Kopfes aneinander anliegen und dabei eine umlaufende Ringdichtung bilden, wobei ein flächiger Kontakt zwischen ihnen vermieden wird. Somit ist eine präzise Steuerung der Beendigung des Einspritzvorgangs durch Öffnen des Zwischenventils ermöglicht, da zu Beginn des Öffnens des Zwischenventilglieds keine Adhäsionskräfte zu überwinden sind.
- Neben einer bevorzugten zueinander geneigten Ausgestaltung der Dichtflächen von Kopf und Zwischenventilsitz in Form von Konussen unterschiedlicher Konizität ist es auch denkbar, dass wenigstens eine dieser Flächen gekrümmt ausgebildet ist, wobei die Fläche dann eine Art Kalotte bildet. Die Krümmung muss allerdings nicht zwangsweise Teil eines Kreisbogens sein, sondern kann auch Teil eines beliebigen Kegelschnitts sein, insbesondere auch parabelförmig ausgebildet sein. Bei einer derartigen Ausgestaltung wird zwischen den Dichtflächen ein Drosselspalt mit wenigstens einer gekrümmten Grenzfläche (Dichtfläche) gebildet. Sind beide Flächen in die gleiche Richtung gekrümmt ausgeführt, weist eine der Dichtflächen einen kleineren Krümmungsradius auf als die andere, damit der sich nach radial innen erweiternde Drosselspalt gebildet werden kann. Natürlich könnten auch zwei zueinander konvexe Krümmungen vorgesehen zwischen denen der Drosselspalt ausgeführt ist.
- Während der Steuerraum und der Ventilraum über einen genauen Drosseldurchlass dauernd miteinander verbunden sind, trennt im übrigen das Zwischenventil diese beiden Räume dauernd voneinander. Der Drosseldurchlass ist unmittelbar angrenzend an den Steuerraum angeordnet. Ein mit dem Hochdruckraum des Einspritzventils verbundener, in den Steuerraum führender Durchlass von grossem Querschnitt, verglichen mit dem Querschnitt des Drosseldurchlasses, wird vom Zwischenventil gesteuert. Da der Querschnitt des von der elektrischen Aktuatoranordnung gesteuerten Auslaufs aus dem Ventilraum auch wesentlich grösser sein kann als der Querschnitt des Drosseldurchlasses, ist die Öffnungsbewegung des Einspritzventilgliedes im wesentlichen alleine vom Querschnitt des Drosseldurchlasses abhängig. Beim Schliessen des Auslaufs aus dem Ventilraum mittels der Aktuatoranordnung öffnet das Zwischenventil rasch und gibt den mit dem Hochdruckraum verbundenen, zuvor durch den Drosselspalt gedrosselten Hochdruckauslass von grossem Querschnitt frei, was ein rasches Beenden des Einspritzvorgangs hervorruft.
- Begriffe wie "relativ grosser Querschnitt" oder "Querschnitt grösser als" und dergleichen beziehen sich auf den Querschnitt des genannten Drosseldurchlasses und solche Querschnitte sind vorzugsweise mindestens doppelt so gross, meistens aber 5 oder 10 Mal grösser oder noch grösser als der Querschnitt des Drosseldurchlasses.
- Besonders bevorzugte Ausführungsformen sind in den weiteren Patentansprüchen definiert.
- Die oben genannten und weitere Vorteile der vorliegenden Erfindung werden anhand bevorzugter Ausführungsformen näher erläutert, die in den Zeichnungen dargestellt und nachfolgend beschrieben sind. Es zeigen rein schematisch:
- Fig. 1:
- einen Längsschnitt eines Brennstoffeinspritzventils gemäss der vorliegenden Erfindung;
- Fig. 2:
- im Längsschnitt und in vergrösserter Darstellung einen partiellen Schnitt des erfindungsgemässen Brennstoffeinspritzventils von
Fig. 1 mit dessen Steuervorrichtung zur Steuerung der Öffnungs- und raschen Schliessbewegung des Einspritzventilgliedes; - Fig. 3:
- im Längsschnitt und in vergrösserter Darstellung einen partiellen Schnitt einer ersten alternativen Konstruktionsvariante der Steuervorrichtung des Brennstoffeinspritzventils von
Fig. 1 ; - Fig. 4:
- im Längsschnitt und in vergrösserter Darstellung einen partiellen Schnitt einer zweiten alternativen Konstruktionsvariante der Steuervorrichtung des Brennstoffeinspritzventils von
Fig. 1 ; - Fig. 5:
- im Längsschnitt und in stark vergrösserter Darstellung einen partiellen Schnitt der Steuervorrichtung von
Fig. 4 ; - Fig. 6:
- im Längsschnitt und in stark vergrösserter Darstellung einen partiellen Schnitt einer Konstrüktionsvariante der Steuervorrichtung der
Fig. 5 ; - Fig. 7:
- im Längsschnitt und in noch stärker vergrösserter Darstellung einen partiellen Schnitt im Bereich eines Drosselspalts der Steuervorrichtung der
Fig. 5 . -
Figur 1 zeigt ein Brennstoffeinspritzventil 1, das zur intermittierenden Einspritzung von Brennstoff in den Brennraum einer Verbrennungskraftmaschine, bestimmt ist. Es weist ein längliches, kreiszylinderförmiges und abgestuftes Gehäuse 6 auf, dessen Gehäuseachse mit 8 bezeichnet ist. Das Gehäuse 6 besteht aus einem Gehäusekörper 10, einer ersten Zwischenplatte 12, einer zweiten Zwischenplatte 14 und einem Düsenkörper 16. Die erste Zwischenplatte 12 und die zweite Zwischenplatte 14 bilden ein Zwischenteil 17. Die Zwischenplatten 12 und 14 und der Düsenkörper 16 werden mit einer als Überwurfmutter ausgebildeten Spannmutter 18 auf dichte Weise gegeneinander und gegen eine untere Fläche 10a des Gehäusekörpers 10 zusammengespannt. Die erste Zwischenplatte 12 liegt dabei am Düsenkörper 16 und die zweite Zwischenplatte 14 am Gehäusekörper 10 an. - Ein als Hochdruckzufuhrbohrung ausgebildeter Brennstoffhochdruckeinlass 20 des Brennstoffeinspritzventils 1 ist in bekannter Art und Weise mit einer Brennstoffspeisung verbunden, welche dem Brennstoffeinspritzventil 1 Brennstoff unter sehr hohem Druck, von beispielsweise bis zu 1800 bar oder höher, zuführt. Der Brennstoffhochdruckeinlass 20 mündet seitlich in den Gehäusekörper 10, könnte aber auch mehr oder weniger parallel zur Gehäuseachse 8 von oben her im Gehäusekörper 10 gefertigt sein. In den Brennstoffhochdruckeinlass 20 mündet eine Längsbohrung 22, die ebenfalls im Gehäusekörper 10 gefertigt ist und andernendes in die untere Fläche 10a des Gehäusekörpers 10 mündet.
- Der Längsbohrung 22 diametral gegenüberliegend und auf einer Aktuatorachse 8', die desachsiert gegenüber der Gehäuseachse 8 ist, befindet sich eine Aktuatoranordnung 24, welche entweder, wie gezeigt, als Piezoaktuator 26 oder alternativ als Elektromagnetaktuator ausgebildet ist.
- In einem Hochdruckraum 42 des Düsenkörpers 16 befinden sich ein nadelförmiges Einspritzventilglied 28, eine Stützmanschette 30, eine Unterlagsscheibe 32, eine Druckfeder 34 und eine Führungshülse 36. Über die Unterlagsscheibe und Stützmanschette 30 ist die Druckfeder 34 am Einspritzventilglied 28 abgestützt.
- Eine Bohrung 38 durch die zweite Zwischenplatte 14 und eine Bohrung 40 durch die erste Zwischenplatte 12 verbinden die Längsbohrung 22 mit dem Hochdruckraum 42. Dieser Hochdruckraum 42 erstreckt sich von der den Zwischenplatten 12, 14 zugewandten Stirnseite 16b des Düsenkörpers 16 bis zu einem Einspritzventilsitz 44. Stromabwärts des Einspritzventilsitzes 44 weist der Düsenkörper Einspritzöffnungen 44' auf. Das Einspritzventilglied 28 weist eine radiale Führung 46 mit dem Düsenkörper 16 auf, die durch Anschliffflächen 48 des Einspritzventilgliedes 28 zur hydraulisch praktisch widerstandslosen Zufuhr von Hochdruckbrennstoff zum Einspritzventilsitz 44 unterbrochen ist.
- In der ersten und der zweiten Zwischenplatte 12 und 14 befindet sich eine hydraulische Steuervorrichtung 52 zur Steuerung der Öffnungs- und der raschen Schliessbewegungen des Einspritzventilgliedes 28 während des Einspritzvorgangs. Die Steuervorrichtung 52 des Brennstoffeinspritzventils 1 wird detailliert im Zusammenhang mit
Figur 2 dargestellt und beschrieben. Ein Niederdruck-Brennstoffrücklauf 50 entlastet Brennstoff zur Steuerung der Bewegungen des Einspritzventilgliedes und führt diesen Brennstoff weg vom Brennstoffeinspritzventil 1. - Bei der Beschreibung der in den
Figuren 2 - 4 gezeigten Ausführungsformen des Brennstoffventils werden für die entsprechenden Teile dieselben Bezugszeichen benützt, wie im Zusammenhang mit der Beschreibung des in derFigur 1 gezeigten Brennstoffeinspritzventils 1. Weiter werden im Folgenden nur noch die Unterschiede zum in derFigur 1 gezeigten Brennstoffeinspritzventils 1 beziehungsweise bereits vorgängig beschriebenen Ausführungsbeispielen dargelegt. -
Figur 2 zeigt im Längsschnitt und in vergrösserter Darstellung einen Teil des erfindungsgemässen Brennstoffeinspritzventils 1 vonFigur 1 mit dessen Steuervorrichtung 52 zur Steuerung der Öffnungs- und raschen Schliessbewegung des Einspritzventilgliedes so, wie sie sich in der Pausezeit zwischen zwei Einspritzvorgängen präsentiert. - Ein Steuerkolben 28' des Einspritzventilgliedes 28 ist in enger Gleitpassung in der Führungshülse 36 radial geführt und axial verschiebbar gelagert. Er begrenzt zusammen mit der Führungshülse 36, deren Stirnseite 36b von der Feder 34 an eine untere Fläche 12a der ersten Zwischenplatte 12 dichtend und ruhend in Anlage angedrückt wird, einen Steuerraum 54. Ein Schaft 58 eines auf seinem Kopf 60 stehenden pilzförmigen Zwischenventilgliedes 56 greift in eine, in axialer Richtung, durchgehende Öffnung der ersten Zwischenplatten 12 ein und ist an dieser mit einer Gleitpassung 58' geführt. Der Kopf 60 des Zwischenventilgliedes 56 befindet sich, in axialer Richtung verschiebbar, in einer Aussparung 62 der Führungshülse 36. Die Aussparung 62 ist mittels radialen Durchlässen 56" im Kopf 60 mit dem Steuerraum 54 hydraulisch dauernd verbunden und somit Teil des Steuerraumes 54. Der Kopf 60 wird von einer sich an einer unteren Fläche 14a der zweiten Zwischenplatte 14 abstützenden, kleinen Druckfeder 66 an eine Schulter 64 der Führungshülse 36 angedrückt.
- Ein präziser Drosseldurchlass 68 des Zwischenventilgliedes. 56 verbindet dauernd den Steuerraum 54 mit einem Ventilraum 70 in der zweiten Zwischenplatte 14; eine durch die zweite Zwischenplatte 14 durchgehende, von der ersten Zwischenplatte 12 und dem Gehäusekörper 10 begrenzte Ausnehmung bildet den Ventilraum 70. Der Ventilraum 70 ist über einen Durchlass 70' mit der Rückseite des Zwischenventilgliedes 56 hydraulisch verbunden; der kleine Raum in der durchgehenden Öffnung der ersten Zwischenplatte 12 auf der Rückseite des Zwischenventilgliedes 56 bildet somit hydraulisch einen Teil des Ventilraumes 70. Der Drosseldurchlass 68 befindet sich gemäss
Fig. 2 unmittelbar angrenzend an den Steuerraum 54, könnte alternativ versenkt entlang der in axialer Richtung durch das Zwischenventilglied 56 hindurchgehenden, hydraulischen Verbindungsbohrung 68a oder am anderen Ende dieser Verbindungsbohrung 68a im Schaft 58 gefertigt sein, was keinen Einfluss auf die Funktion des Brennstoffeinspritzventils 1 hat. - Im Ventilraum 70 befindet sich ein vom Piezoaktuator 26 (
Fig.1 ) betätigtes Aktuatorventilglied 72, welches in seiner geschlossenen Stellung mit seiner konischen Dichtfläche 72a dichtend an einem am Gehäusekörper 10 ausgebildeten, ringförmigen Ventilsitz DS anliegt. Der Ventilsitz DS ist durch die Mündung eines im Gehäusekörper 10 ausgebildeten Auslassdurchlasses 73 gebildet; dieser Auslassdurchlass 73 führt zum Niederdruck-Brennstoffrücklauf 50 (Fig.1 ). Eine Aktuatorventilgliedfeder 74 übt eine ständige, aber im Vergleich zur Brennstoffdruckkraft kleine Federkraft in Richtung des Ventilsitzes DS auf das Aktuatorventilglied 72 aus. - Ein Hohdruckzulass in Form einer Bohrung 76 von relativ grossem Querschnitt in der ersten Zwischenplatte 12 verbindet den Steuerraum 54, über einen seitlichen Durchlass 76a in der zweiten Zwischenplatte 14, mit der Bohrung 38. Bei geschlossenem Zwischenventil 56' ist diese Verbindung unterbrochen, in seiner offenen Stellung stellt das Zwischenventil 56' einen kreiszylinderförmigen Durchlass dar. Der seitliche Durchlass 76a kann alternativ in der ersten Zwischenplatte 12 gefertigt sein.
- Die Abmessungen des oben genannten Auslassdurchlasses 73, der Bohrung 76 beziehungsweise des Drosseldurchlasses 68 betragen beispielsweise 0.20 mm für den Drosseldurchlass 68, 0.80 mm für die Bohrung 76 und 1.3 mm für den Ventilsitz DS des Aktuatorventilgliedes 72 bei einem vollen Öffnungshub des Aktuatorventilgliedes 72 von ca. 0.025 mm. Letzteres entspricht einem Auslassdrosseldurchlass 73 entsprechend einer Bohrung von zirka 0.36 mm Durchmesser, wobei all diese Angaben nur indikativ sind. Die genannten Angaben zeigen, dass der alleinige wesentliche Steuerquerschnitt, welcher bei vollem Öffnungshub des Aktuatorventilgliedes 72 für die Öffnungsbewegung des Einspritzventilgliedes 28 bestimmend ist, vom Drosseldurchlass 68 dargestellt wird.
- Der Kopf 60 des Zwischenventilglieds 56 weist eine zu einer Fläche 57 des im Zwischenglied 17, insbesondere im ersten Zwischenteil 12 ausgebildeten Ventilsitzes 59 gerichtete Dichtfläche 61 auf. Die Dichtfläche 61 und die Fläche 57 sind dabei geneigt zueinander ausgerichtet, so dass sie in Schliessstellung des Zwischenventils 56' radial aussen dichtend aneinander anliegen und nach radial innen einen sich in axialer Richtung vergrössernden Drosselspalt 77 (
Fig. 5 - 7 ) bilden für die Drosselung des Hochdruckzulasses 76 zum Ventilraum 70 hin, was nachfolgend unter Bezugnahme auf dieFig. 4 bis 7 noch näher erläutert wird. - Die Funktionsweise des Brennstoffeinspritzventils 1 ist wie folgt: wird der Piezoaktuator 26 bestromt, dehnt sich dieser aus und öffnet mittels Bewegung des Aktuatorventilgliedes 72 nach unten den Ventilsitz DS und somit den Auslassdurchlass 73. Diese Stellung des Aktuatorventilgliedes 72 ist in
Fig. 2 mit gestrichelter Linie gezeigt. Der Brennstoffdruck im Ventilraum 70 fällt rasch ab. Dadurch wird das pilzförmige Zwischenventilglied 56 von seiner Anlage auf der Schulter 64 in Richtung nach oben wegbewegt. Da das Zwischenventil 56' noch offen ist, strömt von der Bohrung 76 (Hochdruckzulass) so lange Brennstoff in den Steuerraum 54, bis das Zwischenventil 56 geschlossen ist, was geschieht, wenn die Dichtfläche 61 des Kopfes 60 an die Fläche 57, also die untere Fläche 12a zum Anliegen gelangt, wobei die Dichtfläche 61 und die Fläche 57 nur radial aussen miteinander in Kontakt kommen und somit eine den Hochdruckzulass 76 vom Steuerraum 54 trennende Ringdichtung bilden. Zu diesem Zeitpunkt ist der Druck im Steuerraum 54 wenig abgefallen. Wegen der oben angedeuteten Drosselung des Hochdruckzulasses 76 durch den Kopf 60 des Zwischenventilglieds 56 und auch wegen der Gleitpassung 58', die eine, bis auf eine kleine und für die Trennfunktion unbedeutende Leckage, ständig vorhandene hydraulische Trennstelle zwischen dem Steuerraum 54 und dem Ventilraum 70 bewirkt, kann nur sehr wenig Brennstoff vom Hochdruckzulass 76 in den Ventilraum 70 gelangen, wo der Druck zu diesem Zeitpunkt bereits kräftig abgefallen ist. Jetzt - bei geschlossenem Zwischenventil 56 - kann der Druck auch im Steuerraum 54, wegen Brennstoffentleerung durch den Drosseldurchlass 68, stärker abfallen. Dies bewirkt eine Bewegung des Einspritzventilgliedes 28 weg vom Einspritzventilsitz 44, womit Brennstoff unter hohem Druck vom Hochdruckraum 42 über den Einspritzventilsitz 44 zu den Einspritzöffnungen 44' fliesst und der Einspritzvorgang beginnen kann. Wird der Piezoaktuator 26 vollständig entstromt, schliesst das Aktuatorventilglied 72 durch seine Bewegung nach oben den Auslassdurchlass 73 ab. Dadurch findet ein rascher Druckausgleich zwischen dem Steuerraum 54 und dem Ventilraum 70 statt, was bewirkt, dass das Zwischenventilglied 56 von der Systemdruckkraft in dem mit der Bohrung 76 verbundenen Drosselspalt 77 und in einer um den Schaft 58 herum verlaufenden Ringnut 79 und in kleinem Anteil durch die Kraft der Feder 66 sich erneut nach unten bewegt und den Zwischenventilsitz 56' wieder öffnet. Das Einspritzventilglied 28 wird nun rasch in Richtung des Einspritzventilsitzes 44 bewegt, bis der Einspritzvorgang unterbrochen ist. Zur Realisation von getrennten Vor- der Nacheinspritzungen mit einer Haupteinspritzung dazwischen und mit sehr kurzen Zeitabständen zwischen den einzelnen Einspritzungen, kann' das Zwischenventilglied 56 durch nochmalige Bestromung des Piezoaktuators 26 bereits während der Schliessbewegung des Einspritzventilgliedes 28 wieder in Schliessrichtung des Zwischenventils 56' bewegt werden, da der Steuerraum 54 und der Verteilraum 70, bedingt durch die Gleitpassung 58 und die Drosselung des Hochsruckzulasses 76, hydraulisch praktisch getrennt sind. Die nachfolgende Einspritzung kann unmittelbar an das Ende der vorangehenden anschliessen und der Abstand zwischen den einzelnen, getrennten Einspritzungen kann praktisch bis auf Null verkürzt werden. - Da der schaltbare Querschnitt des Zwischenventils 56' wesentlich grösser ist als jener des Drosseldurchlasses 68, kann diese erfindungsgemässe Steuervorrichtung 52 zur Steuerung sowohl von kleinen Brennstoffeinspritzventilen 1, wie zum Beispiel für Anwendungen bei Personenwagen- oder Zastwagenmotoren, als auch von viel grösseren Brennstoffeinspritzventilen, welche beispielsweise bei Lokomotiven, Erdbewegungsmaschinen, Stromerzeugungsanlagen und Schiffen zur Anwendung kommen.
-
Figur 3 zeigt im Längsschnitt und in vergrösserter Darstellung einen partiellen Schnitt einer ersten alternativen Konstruktionsvariante der Steuervorrichtung 52" des Brennstoffeinspritzventils vonFigur 1 . Die zweite Zwischenplatte 106 weist keinen Ventilraum auf, sondern nur einen Auslassdurchlass 110, welcher über einen Durchlass 108 in der ersten Zwischenplatte 104 mit der Rückseite des Schaftes 58 des Zwischenventilglieds 56 hydraulisch verbunden ist. Die das Zwischenteil 17 bildenden Zwischenplatten 104 und 106 könnten wiederum als ein einziges Werkstück realisiert werden.. Alternativ könnte der Durchlass 108 auch in der zweiten Zwischenplatte 106 gefertigt sein. Der Ventilraum 70 vonFig. 5 ist von besonders kleinem Volumeninhalt. Der Querschnitt des Auslassdurchlasses 110 kann wesentlich grösser sein als der Querschnitt des Drosseldurchlasses 68. Der Aktuatorschaft 112 versperrt in der inFigur 3 gezeigten Stellung die Auslassseite des Auslassdurchlasses 110 so, dass keine Einspritzung stattfinden kann. Wenn der Aktuatorschaft 112 in Richtung nach oben wegbewegt wird, fällt der Brennstoffdruck im Auslassdurchlass 110 und im Durchlass 108 rasch ab, so dass das Brennstoffeinspritzventil, in analoger Weise wie im Zusammenhang mit denFig. 1 und2 beschrieben, einspritzen kann. Wird der Aktuatorschaft 112 wieder in Richtung auf die Auslassseite der Auslassdurchlasses 110 zu bewegt und dieser verschlossen, wird die Einspritzung beendet. Der Aktuator für den Aktuatorschaft 112 kann entweder ein Piezoaktuator oder auch ein elektromagnetischer Aktuator sein, der bei Bestromung in bekannter Weise den Aktuatorschaft 112 anzieht. -
Figur 4 zeigt im Längsschnitt und in vergrösserter Darstellung einen partiellen Schnitt einer zweiten alternativen Konstruktionsvariante der Steuervorrichtung 88 des Brennstoffeinspritzventils. Zwei gegenüberliegende Bohrungen 96 im Zwischenelement 94 (es könnten auch eine Bohrung 96 oder mehr als zwei Bohrungen 96 sein) bilden mit ihrem offenen Einlass in die Aussparung 62 zusammen mit dem Zwischenventilglied 56 das Zwischenventil 56'. Wenn das Zwischenventilglied 56, zur Gestattung von intermittierenden Einspritzungen, den Durchfluss von Hydraulikfluid bzw. Brennstoff durch die Bohrungen 96 (Hochdruckzulässe) aufgrund der Ausbildung des Drosselspalts 77 zwischen der Fläche 57 und der Dichtfläche 61 des Zwischenventilgliedkopfes 60 drosselt, wird mit dieser Konstruktion des Zwischenventils 56' der Durchlass in die Aussparung 62 geschlossen, wobei der Durchlass zur Gleitpassung 94" des Schaftes 58 mit dem Zwischenelement 94 stark gedrosselt ist. Durch die strake Drosselung des Durchflusses zwischen den die Hochdruckzulässe bildenden Bohrungen 96 und dem Ventilraum 70 kann die Gleitpassung 94", falls gewünscht, weniger genau ausgeführt sein und ihr Spiel kann, an Stelle von typischerweise 2 bis 6 Mikrometer einer engen Gleitpassung wie aus dem Stand der Technik bekannt, bis zu 50 Mikrometer, also mehrere Hundertstel Millimeter betragen. - Dies trifft im Übrigen auch für die in den anderen Figuren dargestellten Ausführungsformen zu. Allerdings muss die Gleitpassung 94" zusammen mit dem Drosselspalt 77 mindestens eine solche hydraulische Trennstelle bewirken, die eine genügende Druckdifferenz hervorbringt, damit nach Betätigung der Aktuatoranordnung 24 (
Fig. 1 ) das Zwischenventilglied 56 sehr rasch die Bohrungen 96 stark drosselt. Im Übrigen kann der Auslass der Bohrungen 96 in die Aussparung 62 am Umfang um die Achse 102 erweitert sein, um eine grössere Durchflussfläche bei kleinem Hub des Zwischenventilgliedes 56 zu erhalten. Man erhält dann eine Erweiterung in Nierenform oder eine Nut, die in Umfangsrichtung der Aussparung 62 und der Gleitpassung 94" verläuft. Ferner weist die Steuervorrichtung 88 vonFigur 4 , anders als jene der vorangehenden Figuren, keine Druckfeder 66 auf, was auch bei den vorangehenden Ausführungsformen realisiert sein kann. Das Zwischenventilglied 56 wird dann ausschliesslich von hydraulischen Kräften gesteuert. - Mit 94b ist eine alternative Trennstelle zwischen der Führungshülse 78 und dem Zwischenelement 94 mit gestrichelter Linie skizziert. Alternativ könnten das Zwischenelement 94 und das Auslasselement 114 einstückig ausgeführt werden.
-
Figur 5 zeigt eine stark vergrösserte Teilschnittdarstellung des Zwischenventilglieds 56 derFigur 4 . In dieser Vergrösserung und noch besser aus der zugehörigen Detailansicht derFigur 7 ist ersichtlich, dass in der dargestellten Schliessstellung des Zwischenventils (während des Einspritzvorgangs) die Dichtfläche 61 des Kopfs 60 des Zwischenventilglieds 56 und die Fläche 57 des Ventilsitzes 59 radial aussen miteinander in Kontakt stehen und eine - linienförmige - Ringdichtung 59a bilden, welche den Durchfluss von Hochdruckbrennstoff aus den Hochdruckzulässen 96 in den Steuerraum 54 bzw. die Aussparung 62 unterbindet. Die Dichtfläche 61 und die Fläche 57 sind allerdings zueinander geneigt ausgebildet bzw. weisen eine unterschiedliche Konizität auf, so dass ausgehend von der radial aussen gebildeten Ringdichtung 59a der Drosselspalt 77 zwischen ihnen gebildet ist, der radial nach innen in axialer Richtung grösser wird. Die Dichtfläche 61 und die Fläche 57, welche in dieser Ausführungsvariante beide konisch (in derselbe Richtung) ausgeführt sind, schliessen einen spitzen Winkel, d.h. eine Winkeldifferenz α ein. Diese Winkeldifferenz α ist kleiner als 2°, vorzugsweise zwischen 0.5° und 1.5°, insbesondere 1°, um die gewünschte Drosselwirkung an den Hochdruckzulässen 96 zu erzeugen, d.h. den Durchflussquerschnitt im Drosselspalt 77 ausreichend zu verkleinern, so dass mittels des Zwischenventilglieds 56 die gewünschte Steuerung des Brennstoffeinspritzventils gewährleistet ist. Dagegen kann der Winkel der Konusse wesentlich grösser sein, zwischen 10° und 30° oder noch grösser, gemessen zu einer rechtwinklig zur Gehäuseachse 8 verlaufenden Ebene. - Die zueinander geneigte Ausgestaltung der Dichtfläche 61 und der Fläche 57 haben den Vorteil, dass zwischen diesen beiden Flächen in der Schliessstellung des Zwischenventils keine oder die Öffnungsbewegung des Zwischenventilglieds 56 kaum beeinträchtigende Adhäsionskräfte wirken, so dass die Bewegung des Zwischenventilglieds 56 nach unten in die Öffnungsstellung des Zwischenventils mit weniger Kraftaufwand und präziser erfolgen kann. Dies ermöglicht eine noch genauere Ansteuerung des Zwischenventilglieds 56, so dass der Zeitpunkt des Beendens des Einspritzvorgangs hoch präzise bestimmt werden kann. Im Übrigen wirken der Drosselspalt 77 und die Gleitpassung 94" als in Serie geschaltete Drosselstellen, wobei der Durchfluss von Brennstoff durch diese Drosselstellen für die korrekte und präzise Funktionsweise der Steuervorrichtung vernachlässigbar ist. Aufgrund der starken Drosselwirkung durch den Drosselspalt 77 kann die Gleitpassung 94" mit einer grösseren Toleranz im Bereich von einigen Hundertstel Millimeter vorgesehen sein.
- Wenn der kleinste Strömungsquerschnitt zwischen den Hochdruckzulässen 96 und der Ringnut 79, im Drosselspalt 77, merklich kleiner ist als der Leckquerschnitt in der Gleitpassung 94", ist - im geschlossenen Zustand des Zwischenventils 56' - der Druck im Drosselspalt 77 wesentlich kleiner als im Steuerraum 54, was zu einem Verbiegen des Kopfs 60, in der Art einer Tellerfeder, früher kann, insbesondere wenn der Kopf 60 relativ dünn dimensioniert ist. Dies wiederum führt zu einer Verkleinerung des Drosselspalts 77 und somit zu einer zusätzlichen Verringerung der Leckage von der Hochdruckzulässen 96 in den Ventilraum 70, wobei die unerwünschte Adhäsion zwischen dem Zwischenteil 17 und dem Kopf 60 vermieden bleibt.
- Wie bereits oben bei der Funktionsweise des Brennstoffeinspritzventils gemäss Ausführungsform der
Fig. 1 beschrieben, erfolgt die Unterbrechung des Brennstoffflusses vom Ventilraum 70 in den Niederdruckbrennstoffausläss durch Verschliessen des Auslassdurchlasses 110. Es findet dann zwischen dem Steuerraum 54 und dem Ventilraum 70 ein rascher Druckausgleich statt, so dass der in den Hochdruckzulässen anstehende Hochdruck über den Drosselspalt 77 und die um den Schaft 58 herum geführte Ringnut 79 Wirkung auf das Zwischenventilglied entfaltet, so dass dieses unter der Hochdruckwirkung nach unten bewegt und somit das Zwischenventil 56' geöffnet wird, wobei die Hochdruckzulässe 96 dann wieder in Fluidverbindung mit dem Steuerraum 54 stehen solange bis der Auslassdruchlass 110 wieder freigegeben wird zum Brennstoffniederdruckauslass 50 (Fig. 1 ) hin. Der maximale Öffnungshub ist durch die Stirnseite 78b der Hülse 78 gegeben. -
Figur 6 zeigt eine alternative Ausgestaltung der Dichtfläche 61 und der Fläche 57 des Ventilsitzes 59. Zwar sind die beiden, den Drosselspalt 77 bildenden Flächen wieder geneigt zueinander angeordnet, aber die Dichtfläche 61 des Kopfs 60 ist nun als im Wesentlichen horizontale - d.h. zur Gehäuseachse 8 rechtwinklig verlaufende - ebene Fläche ausgebildet, wohingegen die Fläche 57 konusförmig gestaltet ist, so dass zwischen ihnen ebenfalls die den Drosselspalt 77 bildende Winkeldifferenz α gebildet ist. - Selbstverständlich könnte auch die Fläche 57 im Wesentlichen horizontal - rechtwinklig zur Gehäuseachse 8 verlaufen, wobei dann die Dichtfläche 61 des Kopfes von radial aussen nach radial innen in Axialrichtung abfallen müsste, um den vorteilhaften Drosselspalt 77 zu erhalten. Ferner ist es auch denkbar, dass wenigstens eine der beiden Dichtflächen gekrümmt ausgebildet ist, derart, dass sie ausgehend vom Ringsichtungsbereich bogenförmig nach radial innen verläuft.
- Es ist auch möglich, die Fläche 59 des Ventilsitzes 59 und die Fläche 61 des Kopfes 60 parallel zueinander auszubilden und die eine oder beide dieser Flächen radial aussen mit einem, die Ringdichtung 59a, bildenden, vorstehenden ringförmigen Dichtungswulst zu begrenzen, welche jedoch, in radialer Richtung gemessen, eine kleine Ausdehnung aufweisen soll, um die Abhäsionswirkung klein zu haltern.
- Die in Bezug auf die
Figuren 5 bis 7 beschriebenen Ausgestaltungen der Dichtfläche 61 und der Fläche 57 können bei allen Ausführungsalternativen der Steuervorrichtung derFiguren 1 bis 4 eingesetzt werden - Bei den gezeigten Ausführungsbeispielen ist der Öffnungsquerschnitt des Auslassdurchlasses mindestens zwei Mal so gross wie der Querschnitt des genauen Drosseldurchlasses 68.
Claims (10)
- Brennstoffeinspritzventil (1) zur intermittierenden Einspritzung von Brennstoff in den Brennraum einer Verbrennungskraftmaschine, mit
einem Gehäuse (6), das einen Gehäusekörper (10) und einen Düsenkörper (16) mit einem Einspritzventilsitz (44) aufweist,
einem im Gehäuse (6) angeordneten Hochdruckraum (42; 90), der mit einem Brennstoffhochdruckeinlass (20) und dem Einspritzventilsitz (44) in Verbindung steht,
einem im Gehäuse (6) längsverstellbar angeordneten Einspritzventilglied (28), das mit dem Einspritzventilsitz (44) zusammenwirkt,
einer Druckfeder (34) die sich einerseits am Einspritzventilglied (28) abstützt und dieses mit einer in Richtung gegen den Einspritzventilsitz (44) gerichteten Schliesskraft beaufschlagt und die sich andererseits an einer Führungshülse (36; 78) abstützt und dabei die Führungshülse (36; 78) an ein Zwischenteil (17) dichtend andrückt, wobei die Führungshülse (36; 78) zusammen mit einem in der Führungshülse (36; 78) geführten Steuerkolben (28') des Einspritzventilgliedes (28) einen Steuerraum (54) gegen den Hochdruckraum (42; 90) abgrenzen,
einer Steuervorrichtung (52; 52'; 52"; 52"', 88) zur Steuerung der axialen Bewegung des Einspritzventilglieds (28) durch Veränderung des Drucks im Steuerraum (54), mit einem Zwischenventil (56'), dessen Zwischenventilglied (56) in Offenstellung einen mit dem Brennstoffhochdruckeinlass (20) in Verbindung stehenden Hochdruckzulass (76, 96) in den Steuerraum (54) freigibt und in Schliessstellung den Hochdruckzulass (76, 96) in den Steuerraum (54) unterbricht sowie den Steuerraum (54) von einem Ventilraum (70) - bis auf einen im Zwischenventilglied (56) ausgebildeten Drosseldurchlass (68) - abtrennt, und
einer elektrisch betätigten Aktuatoranordnung (24) zum Verbinden des Ventilraumes (70) mit und Abtrennen des Ventilraumes (70) von einem Niederdruck-Brennstoffrücklauf (50),
wobei das Zwischenventilglied (56) pilzförmig ausgebildet ist mit einem in Gleitpassung im Zwischenteil geführten Schaft (58) und einem Kopf (60), der mit seiner Dichtfläche (61) in Schliessstellung des Zwischenventilglieds (56) wenigstens teilweise an einer Fläche (57) eines am Zwischenteil (17) ausgebildeten Zwischenventilsitzes (59) anliegt, um den Hochdruckzulass (76, 96) vom Steuerraum (54) zu trennen,
dadurch gekennzeichnet, dass die Dichtfläche (61) des Kopfes (60) und die Fläche (57) des Zwischenventilsitzes (59) derart ausgebildet sind, dass sie in Schliessstellung des Zwischenventils (56') eine gedrosselte Fluidverbindung zwischen dem Hochdruckzulass (76, 96) und der Gleitpassung herstellen. - Brennstoffeinspritzventil nach Anspruch 1, dadurch gekennzeichnet, dass die Dichtfläche (61) des Kopfes und die Fläche (57) des Zwischenventilsitzes (59) derart zueinander geneigt ausgebildet sind, dass sie in Schliessstellung des Zwischenventils (56') radial äussen dichtend aneinander anliegen und nach radial innen einen sich in axialer Richtung vergrössernden Drosselspalt (77) bilden für die Drosselung des Hochdruckzulasses in Richtung zum Ventilraum (70) hin.
- Brennstoffeinspritzventil nach Anspruch 2, dadurch gekennzeichnet, dass der Drosselspalt (77) und die Gleitpassung (58', 94") in Serie die Drosselung des Hochdruckzulasses (76, 96) zum Ventilraum (70) herstellen.
- Brennstoffeinspritzventil nach einem der Ansprüche 1 bis 3, dadurch gekennzeichnet, dass die Dichtfläche (61) des Kopfes (60) oder/und die Fläche (57) des Zwischenventilsitzes (59) konusförmig ausgebildet ist bzw. sind.
- Brennstoffeinspritzventil nach einem der Ansprüche 1 bis 4, dadurch gekennzeichnet, dass zwischen der Dichtfläche (61) des Kopfes (60) und der Fläche (57) des Zwischenventilsitzes (59) eine Winkeldifferenz (α) von weniger als 2°, vorzugsweise kleiner oder gleich 1° gebildet ist.
- Brennstoffeinspritzventil nach einem der Ansprüche 1 bis 5, dadurch gekennzeichnet, dass das Zwischenventil (56') in Offenstellung einen wesentlich grösseren Querschnitt aufweist als der Querschnitt des Drosseldurchlasses (68).
- Brennstoffeinspritzventil nach einem der Ansprüche 1 bis 6, dadurch gekennzeichnet, dass das Zwischenventilglied (56) von der Kraft einer Druckfeder (66) in Richtung zur Offenstellung hin ständig beaufschlagt ist.
- Brennstoffeinspritzventil nach einem der Ansprüche 1 bis 6, dadurch gekennzeichnet, dass das Zwischenventilglied (56) ausschliesslich durch die beidseitig wirkenden hydraulischen Kräfte betätig wird.
- Brennstoffeinspritzventil nach einem der Ansprüche 1 bis 8, dadurch gekennzeichnet, dass die Aktuatoranordnung (24) ein Aktuatorventilglied aufweist, durch welches ein Auslassdurchlass (73, 110) vom Ventilraum (70) zum Niederdruck-Brennstoffrücklauf (50) geschlossen oder geöffnet werden kann.
- Brennstoffeinspritzventil nach Anspruch 9, dadurch gekennzeichnet, dass der Auslassdurchlass (110), das Zwischenventilglied (56) die Führungshülse (78) und das Einspritzventilglied (28) auf einer Längsachse (102) des Brennstoffeinspritzventils angeordnet sind.
Applications Claiming Priority (2)
| Application Number | Priority Date | Filing Date | Title |
|---|---|---|---|
| CH00192/09A CH700396A1 (de) | 2009-02-09 | 2009-02-09 | Brennstoffeinspritzventil für Verbrennungskraftmaschinen. |
| PCT/CH2010/000016 WO2010088781A1 (de) | 2009-02-09 | 2010-01-22 | Brennstoffeinspritzventil für verbrennungskraftmaschinen |
Publications (2)
| Publication Number | Publication Date |
|---|---|
| EP2394049A1 EP2394049A1 (de) | 2011-12-14 |
| EP2394049B1 true EP2394049B1 (de) | 2012-11-21 |
Family
ID=40578589
Family Applications (1)
| Application Number | Title | Priority Date | Filing Date |
|---|---|---|---|
| EP10701799A Not-in-force EP2394049B1 (de) | 2009-02-09 | 2010-01-22 | Brennstoffeinspritzventil für verbrennungskraftmaschinen |
Country Status (3)
| Country | Link |
|---|---|
| EP (1) | EP2394049B1 (de) |
| CH (1) | CH700396A1 (de) |
| WO (1) | WO2010088781A1 (de) |
Cited By (3)
| Publication number | Priority date | Publication date | Assignee | Title |
|---|---|---|---|---|
| DE102013225107A1 (de) | 2013-12-06 | 2015-06-11 | Robert Bosch Gmbh | Kraftstoffinjektor, insbesondere Common-Rail-Injektor für selbstzündende Brennkraftmaschinen |
| CN107076088A (zh) * | 2014-09-17 | 2017-08-18 | 甘瑟Crs股份公司 | 用于内燃机的燃料喷射阀 |
| DE102019103329A1 (de) * | 2019-02-11 | 2020-08-13 | Liebherr-Components Deggendorf Gmbh | Düse eines Kraftstoffinjektors und Kraftstoffinjektor mit einer solchen Düse |
Families Citing this family (13)
| Publication number | Priority date | Publication date | Assignee | Title |
|---|---|---|---|---|
| JP5493966B2 (ja) * | 2009-06-02 | 2014-05-14 | 株式会社デンソー | 燃料噴射装置 |
| EP2674608B1 (de) * | 2012-06-13 | 2015-08-12 | Delphi International Operations Luxembourg S.à r.l. | Kraftstoffeinspritzdüse |
| DE102012220025A1 (de) * | 2012-06-29 | 2014-01-02 | Robert Bosch Gmbh | Kraftstoffeinspritzventil für Brennkraftmaschinen |
| DE102012221624A1 (de) * | 2012-11-27 | 2014-05-28 | Robert Bosch Gmbh | Kraftstoffeinspritzventil für Brennkraftmaschinen |
| DE102012223166A1 (de) * | 2012-12-14 | 2014-06-18 | Robert Bosch Gmbh | Kraftstoffinjektor |
| KR102098354B1 (ko) | 2013-03-01 | 2020-04-09 | 간제르-히드로막 아게 | 내연 기관의 연소실에 연료를 분사하기 위한 장치 |
| DE102013212490A1 (de) * | 2013-06-27 | 2014-12-31 | Robert Bosch Gmbh | Kraftstoffeinspritzventil mit einem stoffschlüssig und/oder kraftschlüssig zur Steuerraumhülse verbundenen Ventilkörper |
| DE102013212513A1 (de) * | 2013-06-27 | 2014-12-31 | Robert Bosch Gmbh | Kraftstoffeinspritzventil mit mehrteilig ausgeführtem Ventilkörper am Steuerraum |
| GB201314826D0 (en) * | 2013-08-20 | 2013-10-02 | Delphi Tech Holding Sarl | Control Valve Arrangement |
| FR3027350B1 (fr) * | 2014-10-20 | 2019-10-04 | Delphi Technologies Ip Limited | Injecteur de carburant |
| DE102018109206A1 (de) * | 2018-04-18 | 2019-10-24 | Liebherr-Components Deggendorf Gmbh | Injektor zum Einspritzen von Kraftstoff |
| WO2020260285A1 (de) | 2019-06-25 | 2020-12-30 | Ganser Hydromag Ag | Brennstoffeinspritzventil für verbrennungskraftmaschinen |
| DE102020108816A1 (de) * | 2020-03-31 | 2021-09-30 | Liebherr-Components Deggendorf Gmbh | Kraftstoffinjektor |
Family Cites Families (5)
| Publication number | Priority date | Publication date | Assignee | Title |
|---|---|---|---|---|
| JP2006257874A (ja) * | 2004-04-30 | 2006-09-28 | Denso Corp | インジェクタ |
| JP4556881B2 (ja) * | 2006-02-06 | 2010-10-06 | 株式会社デンソー | コモンレール式燃料噴射装置 |
| DE102006009070A1 (de) * | 2006-02-28 | 2007-08-30 | Robert Bosch Gmbh | Brennstoffeinspritzventil |
| WO2007098621A1 (de) * | 2006-03-03 | 2007-09-07 | Ganser-Hydromag Ag | Brennstoffeinspritzventil für verbrennungskraftmaschinen |
| DE102007047426A1 (de) * | 2007-05-15 | 2008-11-20 | Robert Bosch Gmbh | Injektor mit Piezoaktor |
-
2009
- 2009-02-09 CH CH00192/09A patent/CH700396A1/de not_active Application Discontinuation
-
2010
- 2010-01-22 EP EP10701799A patent/EP2394049B1/de not_active Not-in-force
- 2010-01-22 WO PCT/CH2010/000016 patent/WO2010088781A1/de not_active Ceased
Cited By (5)
| Publication number | Priority date | Publication date | Assignee | Title |
|---|---|---|---|---|
| DE102013225107A1 (de) | 2013-12-06 | 2015-06-11 | Robert Bosch Gmbh | Kraftstoffinjektor, insbesondere Common-Rail-Injektor für selbstzündende Brennkraftmaschinen |
| CN107076088A (zh) * | 2014-09-17 | 2017-08-18 | 甘瑟Crs股份公司 | 用于内燃机的燃料喷射阀 |
| CN107076088B (zh) * | 2014-09-17 | 2020-06-26 | 甘瑟-许德罗玛格股份公司 | 用于内燃机的燃料喷射阀 |
| DE102019103329A1 (de) * | 2019-02-11 | 2020-08-13 | Liebherr-Components Deggendorf Gmbh | Düse eines Kraftstoffinjektors und Kraftstoffinjektor mit einer solchen Düse |
| US12025086B2 (en) | 2019-02-11 | 2024-07-02 | Liebherr-Components Deggendorf Gmbh | Nozzle of a fuel injector and fuel injector having such a nozzle |
Also Published As
| Publication number | Publication date |
|---|---|
| CH700396A1 (de) | 2010-08-13 |
| WO2010088781A1 (de) | 2010-08-12 |
| EP2394049A1 (de) | 2011-12-14 |
Similar Documents
| Publication | Publication Date | Title |
|---|---|---|
| EP2394049B1 (de) | Brennstoffeinspritzventil für verbrennungskraftmaschinen | |
| EP1991773B1 (de) | Brennstoffeinspritzventil für verbrennungskraftmaschinen | |
| EP0898650B1 (de) | Kraftstoffeinspritzeinrichtung für brennkraftmaschinen | |
| EP1656498B1 (de) | Pilotventil gesteuertes brennstoffeinspritzventil | |
| EP2183476B1 (de) | Kraftstoffeinspritzventil mit verbesserter dichtheit am dichtsitz eines druckausgeglichenen steuerventils | |
| EP1831537B1 (de) | Injektor eines kraftstoffeinspritzsystems einer brennkraftmaschine | |
| EP1552135A1 (de) | Kraftstoffeinspritzvorrichtung für eine brennkraftmaschine | |
| EP1335128B1 (de) | Ventil zur Steuerung einer Verbindung in einem Hochdruckflüssigkeitssystem, insbesondere einer Kraftstoffeinspritzeinrichtung für eine Brennkraftmaschine | |
| DE102004024527A1 (de) | Kraftstoffeinspritzeinrichtung | |
| EP2603680B1 (de) | Einspritzvorrichtung zum einbringen einer harnstofflösung in den abgasstrang einer brennkraftmaschine | |
| WO2001051805A2 (de) | Einspritzdüse | |
| EP2011995B1 (de) | Injektor mit nach außen öffnendem Ventilelement | |
| EP3387247B1 (de) | Elektromagnetisch betätigbares einlassventil und hochdruckpumpe mit einlassventil | |
| EP1671028B1 (de) | Ventil zur steuerung einer verbindung in einem hochdruckflüssigkeitssystem, insbesondere einer kraftstoffeinspritzeinrichtung für eine brennkraftmaschine | |
| EP1483499B1 (de) | Einrichtung zur druckmodulierten formung des einspritzverlaufes | |
| EP1952011B1 (de) | Kraftstoff-einspritzvorrichtung für eine brennkraftmaschine mit kraftstoff-direkteinspritzung | |
| WO2008049668A1 (de) | Injektor zur einspritzung von kraftstoff in brennräume von brennkraftmaschinen | |
| EP1961953A1 (de) | Mehrwegeventil | |
| DE102005060655A1 (de) | Kraftstoffeinspritzventil für Brennkraftmaschinen | |
| DE102006029393A1 (de) | Injektor | |
| DE102006036782B4 (de) | Injektor | |
| DE212023000169U1 (de) | Brennstoffeinspritzventil für Verbrennungskraftmaschinen | |
| DE102006050033A1 (de) | Injektor, insbesondere Common-Rail-Injektor | |
| WO2006079425A1 (de) | Kraftstoffeinspritzvorrichtung | |
| DE102007034034A1 (de) | Injektor |
Legal Events
| Date | Code | Title | Description |
|---|---|---|---|
| PUAI | Public reference made under article 153(3) epc to a published international application that has entered the european phase |
Free format text: ORIGINAL CODE: 0009012 |
|
| 17P | Request for examination filed |
Effective date: 20110617 |
|
| AK | Designated contracting states |
Kind code of ref document: A1 Designated state(s): AT BE BG CH CY CZ DE DK EE ES FI FR GB GR HR HU IE IS IT LI LT LU LV MC MK MT NL NO PL PT RO SE SI SK SM TR |
|
| DAX | Request for extension of the european patent (deleted) | ||
| GRAP | Despatch of communication of intention to grant a patent |
Free format text: ORIGINAL CODE: EPIDOSNIGR1 |
|
| GRAS | Grant fee paid |
Free format text: ORIGINAL CODE: EPIDOSNIGR3 |
|
| GRAA | (expected) grant |
Free format text: ORIGINAL CODE: 0009210 |
|
| AK | Designated contracting states |
Kind code of ref document: B1 Designated state(s): AT BE BG CH CY CZ DE DK EE ES FI FR GB GR HR HU IE IS IT LI LT LU LV MC MK MT NL NO PL PT RO SE SI SK SM TR |
|
| REG | Reference to a national code |
Ref country code: GB Ref legal event code: FG4D Free format text: NOT ENGLISH |
|
| REG | Reference to a national code |
Ref country code: CH Ref legal event code: EP Ref country code: CH Ref legal event code: NV Representative=s name: PATENTANWAELTE SCHAAD, BALASS, MENZL AND PARTN, CH |
|
| REG | Reference to a national code |
Ref country code: AT Ref legal event code: REF Ref document number: 585216 Country of ref document: AT Kind code of ref document: T Effective date: 20121215 |
|
| REG | Reference to a national code |
Ref country code: IE Ref legal event code: FG4D Free format text: LANGUAGE OF EP DOCUMENT: GERMAN |
|
| REG | Reference to a national code |
Ref country code: DE Ref legal event code: R096 Ref document number: 502010001686 Country of ref document: DE Effective date: 20130117 |
|
| REG | Reference to a national code |
Ref country code: DE Ref legal event code: R082 Ref document number: 502010001686 Country of ref document: DE Representative=s name: KILIAN KILIAN & PARTNER, DE Ref country code: DE Ref legal event code: R082 Ref document number: 502010001686 Country of ref document: DE Representative=s name: KILIAN KILIAN & PARTNER MBB PATENTANWAELTE, DE |
|
| REG | Reference to a national code |
Ref country code: SE Ref legal event code: TRGR |
|
| REG | Reference to a national code |
Ref country code: NL Ref legal event code: T3 |
|
| REG | Reference to a national code |
Ref country code: NO Ref legal event code: T2 Effective date: 20121121 |
|
| REG | Reference to a national code |
Ref country code: LT Ref legal event code: MG4D |
|
| PG25 | Lapsed in a contracting state [announced via postgrant information from national office to epo] |
Ref country code: LT Free format text: LAPSE BECAUSE OF FAILURE TO SUBMIT A TRANSLATION OF THE DESCRIPTION OR TO PAY THE FEE WITHIN THE PRESCRIBED TIME-LIMIT Effective date: 20121121 Ref country code: ES Free format text: LAPSE BECAUSE OF FAILURE TO SUBMIT A TRANSLATION OF THE DESCRIPTION OR TO PAY THE FEE WITHIN THE PRESCRIBED TIME-LIMIT Effective date: 20130304 |
|
| PG25 | Lapsed in a contracting state [announced via postgrant information from national office to epo] |
Ref country code: PL Free format text: LAPSE BECAUSE OF FAILURE TO SUBMIT A TRANSLATION OF THE DESCRIPTION OR TO PAY THE FEE WITHIN THE PRESCRIBED TIME-LIMIT Effective date: 20121121 Ref country code: GR Free format text: LAPSE BECAUSE OF FAILURE TO SUBMIT A TRANSLATION OF THE DESCRIPTION OR TO PAY THE FEE WITHIN THE PRESCRIBED TIME-LIMIT Effective date: 20130222 Ref country code: SI Free format text: LAPSE BECAUSE OF FAILURE TO SUBMIT A TRANSLATION OF THE DESCRIPTION OR TO PAY THE FEE WITHIN THE PRESCRIBED TIME-LIMIT Effective date: 20121121 Ref country code: PT Free format text: LAPSE BECAUSE OF FAILURE TO SUBMIT A TRANSLATION OF THE DESCRIPTION OR TO PAY THE FEE WITHIN THE PRESCRIBED TIME-LIMIT Effective date: 20130321 Ref country code: LV Free format text: LAPSE BECAUSE OF FAILURE TO SUBMIT A TRANSLATION OF THE DESCRIPTION OR TO PAY THE FEE WITHIN THE PRESCRIBED TIME-LIMIT Effective date: 20121121 |
|
| BERE | Be: lapsed |
Owner name: GANSER-HYDROMAG AG Effective date: 20130131 |
|
| PG25 | Lapsed in a contracting state [announced via postgrant information from national office to epo] |
Ref country code: BG Free format text: LAPSE BECAUSE OF FAILURE TO SUBMIT A TRANSLATION OF THE DESCRIPTION OR TO PAY THE FEE WITHIN THE PRESCRIBED TIME-LIMIT Effective date: 20130221 Ref country code: SK Free format text: LAPSE BECAUSE OF FAILURE TO SUBMIT A TRANSLATION OF THE DESCRIPTION OR TO PAY THE FEE WITHIN THE PRESCRIBED TIME-LIMIT Effective date: 20121121 Ref country code: EE Free format text: LAPSE BECAUSE OF FAILURE TO SUBMIT A TRANSLATION OF THE DESCRIPTION OR TO PAY THE FEE WITHIN THE PRESCRIBED TIME-LIMIT Effective date: 20121121 Ref country code: DK Free format text: LAPSE BECAUSE OF FAILURE TO SUBMIT A TRANSLATION OF THE DESCRIPTION OR TO PAY THE FEE WITHIN THE PRESCRIBED TIME-LIMIT Effective date: 20121121 Ref country code: CZ Free format text: LAPSE BECAUSE OF FAILURE TO SUBMIT A TRANSLATION OF THE DESCRIPTION OR TO PAY THE FEE WITHIN THE PRESCRIBED TIME-LIMIT Effective date: 20121121 |
|
| PG25 | Lapsed in a contracting state [announced via postgrant information from national office to epo] |
Ref country code: MC Free format text: LAPSE BECAUSE OF NON-PAYMENT OF DUE FEES Effective date: 20130131 Ref country code: RO Free format text: LAPSE BECAUSE OF FAILURE TO SUBMIT A TRANSLATION OF THE DESCRIPTION OR TO PAY THE FEE WITHIN THE PRESCRIBED TIME-LIMIT Effective date: 20121121 Ref country code: IT Free format text: LAPSE BECAUSE OF FAILURE TO SUBMIT A TRANSLATION OF THE DESCRIPTION OR TO PAY THE FEE WITHIN THE PRESCRIBED TIME-LIMIT Effective date: 20121121 |
|
| PLBE | No opposition filed within time limit |
Free format text: ORIGINAL CODE: 0009261 |
|
| STAA | Information on the status of an ep patent application or granted ep patent |
Free format text: STATUS: NO OPPOSITION FILED WITHIN TIME LIMIT |
|
| REG | Reference to a national code |
Ref country code: IE Ref legal event code: MM4A |
|
| REG | Reference to a national code |
Ref country code: FR Ref legal event code: ST Effective date: 20130930 |
|
| 26N | No opposition filed |
Effective date: 20130822 |
|
| PG25 | Lapsed in a contracting state [announced via postgrant information from national office to epo] |
Ref country code: BE Free format text: LAPSE BECAUSE OF NON-PAYMENT OF DUE FEES Effective date: 20130131 |
|
| PG25 | Lapsed in a contracting state [announced via postgrant information from national office to epo] |
Ref country code: HR Free format text: LAPSE BECAUSE OF FAILURE TO SUBMIT A TRANSLATION OF THE DESCRIPTION OR TO PAY THE FEE WITHIN THE PRESCRIBED TIME-LIMIT Effective date: 20121121 Ref country code: FR Free format text: LAPSE BECAUSE OF NON-PAYMENT OF DUE FEES Effective date: 20130131 |
|
| REG | Reference to a national code |
Ref country code: DE Ref legal event code: R097 Ref document number: 502010001686 Country of ref document: DE Effective date: 20130822 |
|
| PG25 | Lapsed in a contracting state [announced via postgrant information from national office to epo] |
Ref country code: IE Free format text: LAPSE BECAUSE OF NON-PAYMENT OF DUE FEES Effective date: 20130122 |
|
| PG25 | Lapsed in a contracting state [announced via postgrant information from national office to epo] |
Ref country code: MT Free format text: LAPSE BECAUSE OF FAILURE TO SUBMIT A TRANSLATION OF THE DESCRIPTION OR TO PAY THE FEE WITHIN THE PRESCRIBED TIME-LIMIT Effective date: 20121121 |
|
| PG25 | Lapsed in a contracting state [announced via postgrant information from national office to epo] |
Ref country code: SM Free format text: LAPSE BECAUSE OF FAILURE TO SUBMIT A TRANSLATION OF THE DESCRIPTION OR TO PAY THE FEE WITHIN THE PRESCRIBED TIME-LIMIT Effective date: 20121121 |
|
| PG25 | Lapsed in a contracting state [announced via postgrant information from national office to epo] |
Ref country code: CY Free format text: LAPSE BECAUSE OF FAILURE TO SUBMIT A TRANSLATION OF THE DESCRIPTION OR TO PAY THE FEE WITHIN THE PRESCRIBED TIME-LIMIT Effective date: 20121121 Ref country code: TR Free format text: LAPSE BECAUSE OF FAILURE TO SUBMIT A TRANSLATION OF THE DESCRIPTION OR TO PAY THE FEE WITHIN THE PRESCRIBED TIME-LIMIT Effective date: 20121121 |
|
| PG25 | Lapsed in a contracting state [announced via postgrant information from national office to epo] |
Ref country code: HU Free format text: LAPSE BECAUSE OF FAILURE TO SUBMIT A TRANSLATION OF THE DESCRIPTION OR TO PAY THE FEE WITHIN THE PRESCRIBED TIME-LIMIT; INVALID AB INITIO Effective date: 20100122 Ref country code: LU Free format text: LAPSE BECAUSE OF NON-PAYMENT OF DUE FEES Effective date: 20130122 Ref country code: MK Free format text: LAPSE BECAUSE OF FAILURE TO SUBMIT A TRANSLATION OF THE DESCRIPTION OR TO PAY THE FEE WITHIN THE PRESCRIBED TIME-LIMIT Effective date: 20121121 |
|
| PG25 | Lapsed in a contracting state [announced via postgrant information from national office to epo] |
Ref country code: IS Free format text: LAPSE BECAUSE OF FAILURE TO SUBMIT A TRANSLATION OF THE DESCRIPTION OR TO PAY THE FEE WITHIN THE PRESCRIBED TIME-LIMIT Effective date: 20121121 |
|
| PGFP | Annual fee paid to national office [announced via postgrant information from national office to epo] |
Ref country code: NO Payment date: 20180130 Year of fee payment: 9 Ref country code: FI Payment date: 20180122 Year of fee payment: 9 |
|
| PGFP | Annual fee paid to national office [announced via postgrant information from national office to epo] |
Ref country code: SE Payment date: 20180119 Year of fee payment: 9 |
|
| PGFP | Annual fee paid to national office [announced via postgrant information from national office to epo] |
Ref country code: TR Payment date: 20190228 Year of fee payment: 9 |
|
| REG | Reference to a national code |
Ref country code: NO Ref legal event code: MMEP |
|
| PG25 | Lapsed in a contracting state [announced via postgrant information from national office to epo] |
Ref country code: SE Free format text: LAPSE BECAUSE OF NON-PAYMENT OF DUE FEES Effective date: 20190123 Ref country code: NO Free format text: LAPSE BECAUSE OF NON-PAYMENT OF DUE FEES Effective date: 20190131 Ref country code: FI Free format text: LAPSE BECAUSE OF NON-PAYMENT OF DUE FEES Effective date: 20190122 |
|
| REG | Reference to a national code |
Ref country code: NL Ref legal event code: MM Effective date: 20200201 |
|
| PG25 | Lapsed in a contracting state [announced via postgrant information from national office to epo] |
Ref country code: NL Free format text: LAPSE BECAUSE OF NON-PAYMENT OF DUE FEES Effective date: 20200201 |
|
| PGFP | Annual fee paid to national office [announced via postgrant information from national office to epo] |
Ref country code: GB Payment date: 20220119 Year of fee payment: 13 Ref country code: CH Payment date: 20220119 Year of fee payment: 13 |
|
| PGFP | Annual fee paid to national office [announced via postgrant information from national office to epo] |
Ref country code: AT Payment date: 20230120 Year of fee payment: 14 |
|
| PGFP | Annual fee paid to national office [announced via postgrant information from national office to epo] |
Ref country code: DE Payment date: 20230123 Year of fee payment: 14 |
|
| REG | Reference to a national code |
Ref country code: CH Ref legal event code: PL |
|
| GBPC | Gb: european patent ceased through non-payment of renewal fee |
Effective date: 20230122 |
|
| PG25 | Lapsed in a contracting state [announced via postgrant information from national office to epo] |
Ref country code: LI Free format text: LAPSE BECAUSE OF NON-PAYMENT OF DUE FEES Effective date: 20230131 Ref country code: GB Free format text: LAPSE BECAUSE OF NON-PAYMENT OF DUE FEES Effective date: 20230122 Ref country code: CH Free format text: LAPSE BECAUSE OF NON-PAYMENT OF DUE FEES Effective date: 20230131 |
|
| REG | Reference to a national code |
Ref country code: DE Ref legal event code: R119 Ref document number: 502010001686 Country of ref document: DE |
|
| REG | Reference to a national code |
Ref country code: AT Ref legal event code: MM01 Ref document number: 585216 Country of ref document: AT Kind code of ref document: T Effective date: 20240122 |
|
| PG25 | Lapsed in a contracting state [announced via postgrant information from national office to epo] |
Ref country code: DE Free format text: LAPSE BECAUSE OF NON-PAYMENT OF DUE FEES Effective date: 20240801 |
|
| PG25 | Lapsed in a contracting state [announced via postgrant information from national office to epo] |
Ref country code: AT Free format text: LAPSE BECAUSE OF NON-PAYMENT OF DUE FEES Effective date: 20240122 |
|
| PG25 | Lapsed in a contracting state [announced via postgrant information from national office to epo] |
Ref country code: DE Free format text: LAPSE BECAUSE OF NON-PAYMENT OF DUE FEES Effective date: 20240801 Ref country code: AT Free format text: LAPSE BECAUSE OF NON-PAYMENT OF DUE FEES Effective date: 20240122 |