EP2279791A1 - Spritze, Spritzenfamilie und Dosiervorrichtung - Google Patents
Spritze, Spritzenfamilie und Dosiervorrichtung Download PDFInfo
- Publication number
- EP2279791A1 EP2279791A1 EP09009693A EP09009693A EP2279791A1 EP 2279791 A1 EP2279791 A1 EP 2279791A1 EP 09009693 A EP09009693 A EP 09009693A EP 09009693 A EP09009693 A EP 09009693A EP 2279791 A1 EP2279791 A1 EP 2279791A1
- Authority
- EP
- European Patent Office
- Prior art keywords
- syringe
- centering
- piston
- receptacle
- plunger
- Prior art date
- Legal status (The legal status is an assumption and is not a legal conclusion. Google has not performed a legal analysis and makes no representation as to the accuracy of the status listed.)
- Granted
Links
Images
Classifications
-
- B—PERFORMING OPERATIONS; TRANSPORTING
- B01—PHYSICAL OR CHEMICAL PROCESSES OR APPARATUS IN GENERAL
- B01L—CHEMICAL OR PHYSICAL LABORATORY APPARATUS FOR GENERAL USE
- B01L3/00—Containers or dishes for laboratory use, e.g. laboratory glassware; Droppers
- B01L3/02—Burettes; Pipettes
- B01L3/021—Pipettes, i.e. with only one conduit for withdrawing and redistributing liquids
- B01L3/0217—Pipettes, i.e. with only one conduit for withdrawing and redistributing liquids of the plunger pump type
- B01L3/0234—Repeating pipettes, i.e. for dispensing multiple doses from a single charge
-
- B—PERFORMING OPERATIONS; TRANSPORTING
- B01—PHYSICAL OR CHEMICAL PROCESSES OR APPARATUS IN GENERAL
- B01L—CHEMICAL OR PHYSICAL LABORATORY APPARATUS FOR GENERAL USE
- B01L2200/00—Solutions for specific problems relating to chemical or physical laboratory apparatus
- B01L2200/02—Adapting objects or devices to another
- B01L2200/023—Adapting objects or devices to another adapted for different sizes of tubes, tips or container
-
- B—PERFORMING OPERATIONS; TRANSPORTING
- B01—PHYSICAL OR CHEMICAL PROCESSES OR APPARATUS IN GENERAL
- B01L—CHEMICAL OR PHYSICAL LABORATORY APPARATUS FOR GENERAL USE
- B01L2200/00—Solutions for specific problems relating to chemical or physical laboratory apparatus
- B01L2200/02—Adapting objects or devices to another
- B01L2200/026—Fluid interfacing between devices or objects, e.g. connectors, inlet details
-
- B—PERFORMING OPERATIONS; TRANSPORTING
- B01—PHYSICAL OR CHEMICAL PROCESSES OR APPARATUS IN GENERAL
- B01L—CHEMICAL OR PHYSICAL LABORATORY APPARATUS FOR GENERAL USE
- B01L2300/00—Additional constructional details
- B01L2300/02—Identification, exchange or storage of information
- B01L2300/021—Identification, e.g. bar codes
-
- B—PERFORMING OPERATIONS; TRANSPORTING
- B01—PHYSICAL OR CHEMICAL PROCESSES OR APPARATUS IN GENERAL
- B01L—CHEMICAL OR PHYSICAL LABORATORY APPARATUS FOR GENERAL USE
- B01L2300/00—Additional constructional details
- B01L2300/06—Auxiliary integrated devices, integrated components
- B01L2300/0609—Holders integrated in container to position an object
-
- B—PERFORMING OPERATIONS; TRANSPORTING
- B01—PHYSICAL OR CHEMICAL PROCESSES OR APPARATUS IN GENERAL
- B01L—CHEMICAL OR PHYSICAL LABORATORY APPARATUS FOR GENERAL USE
- B01L2400/00—Moving or stopping fluids
- B01L2400/04—Moving fluids with specific forces or mechanical means
- B01L2400/0475—Moving fluids with specific forces or mechanical means specific mechanical means and fluid pressure
- B01L2400/0478—Moving fluids with specific forces or mechanical means specific mechanical means and fluid pressure pistons
-
- B—PERFORMING OPERATIONS; TRANSPORTING
- B01—PHYSICAL OR CHEMICAL PROCESSES OR APPARATUS IN GENERAL
- B01L—CHEMICAL OR PHYSICAL LABORATORY APPARATUS FOR GENERAL USE
- B01L3/00—Containers or dishes for laboratory use, e.g. laboratory glassware; Droppers
- B01L3/02—Burettes; Pipettes
- B01L3/0275—Interchangeable or disposable dispensing tips
- B01L3/0279—Interchangeable or disposable dispensing tips co-operating with positive ejection means
Definitions
- the invention relates to a syringe and syringe family for use with a metering device and to a metering device for use with a syringe or syringe family.
- Pipettes are dosing devices for measuring and transferring liquids. They are often designed as repeating or multipette, which are used together with a syringe to receive liquid into the syringe and gradually release from it.
- a repeating pipette is from the DE 29 26 691 C2 and the US 4,406,170 known, which in particular describes the repeating mechanism of Repetierpipette. It also describes the fixation of the syringe on the repeating pipette.
- the syringe has a syringe flange, which can be inserted from the side into a laterally open, substantially U-shaped groove of the pipette.
- An axial pressure spring fixes the syringe flange used in the groove.
- an insert element is provided, which receives an end portion of the syringe plunger between two jaws.
- the jaws can be pressed against the syringe plunger by means of a flap-shaped clamping member whose actuating lever projects out of the housing through an opening.
- the DE 43 41 229 C2 and the US 5,620,660 propose a more suitable for the manual operation pipette system with a simple axially inserted into the pipette or removable from this syringe.
- This pipette system has a syringe having a mounting portion and a syringe plunger, and a pipette containing a receptacle for the mounting portion in a pipette housing and a receiving body having a piston receptacle for the syringe piston or a piston rod connected thereto.
- fastening devices for the reversible or releasable fixing of the fastening section and syringe piston in the receptacles and piston adjusting devices for displacing the receiving body in the pipette housing are provided.
- the attachment portion and the syringe plunger are axially slidable into their attachment positions by axial openings of their receptacles.
- the fastening devices have radially deliverable gripping devices for fixing the fastening section and the syringe piston in the fastening positions.
- the gripping devices have pivotally mounted in the pipette housing syringe gripping lever and pivotally mounted in the receiving body piston gripping lever.
- the syringe gripping levers and the plunger gripping levers are designed as two-armed with a gripping arm and an actuating arm, the syringe gripping levers having contact points on the insides of their actuating arms which, by actuating their actuating arms, are pivotable outwardly against the actuating arms of the plunger gripping levers and actuate the plunger gripping levers.
- the attachment portion is a syringe flange and according to another embodiment, the syringe piston has a piston collar for engaging behind by the gripping devices.
- the commercial versions Multipette ® (plus / strcam / Xstream) of this dosing system Eppendorf AG include syringes Combitips ® (plus), which have a cylinder with a piston running area on the inside and a syringe flange at the top of the cylinder.
- the syringes are offered with different filling volumes (0.1 ml, 0.2 ml, 0.5 ml, 1 ml, 2.5 ml, 5 ml and 10 ml).
- the internal diameter of the piston running area is dimensioned so that the filling volume of a maximum piston stroke of the Multipette ® from Eppendorf AG of 50 mm plus an overstroke of a few millimeters is absorbed into the syringe or released from it. Accordingly, for the syringe having a nominal volume of 10 ml, the inner diameter of the piston barrel is 15.96 mm. In the smaller syringes, the inner diameter of the piston running range is correspondingly smaller.
- the cylinders of the smaller syringes have a cylindrical extension at the upper end of the piston running range, the inner diameter of which is in each case significantly smaller than 15.96 mm and which is the smaller, the smaller the filling volume of the syringe.
- cylindrical extension allows a depth stop of the piston in the cylinder can be realized, thereby preventing that the piston sealing lip is damaged by placing the sealing lip on the lower end face of the cylinder.
- the piston area is made thicker below the inserted into the dosing coupling piece, in particular designed as a wing piece, thereby achieving an increase in the buckling stiffness of the piston rod in storage condition.
- the cylinders starting from the flange on the circumference, have four outwardly projecting, axially extending ribs distributed evenly around the circumference.
- the ribs each have a shoulder at the bottom for support at the edge of holes in a tray or box. So that syringes with different filling volumes can be inserted into uniform holes of a carrier or a box, The paragraphs of syringes of different filling volumes have the same distances from the axis of the cylinder.
- the known dosing system allows accurate dosages with low errors.
- the object of the invention is to provide a syringe and a syringe family for use with a metering device and a metering device for use with a syringe or a syringe family, which allow even more accurate dosages.
- the plurality of syringes are preferably selected from the group of syringes with filling volumes of 10 ml, 5 ml, 2.5 ml, 1 ml 0.5 ml, 0.2 ml and 0.1 ml.
- the centering areas of the syringes with different filling volumes have a matching contour. Under a matching contour in the centering same and / or different geometries are understood, which are tuned to the same predetermined Zentrierkontur.
- the syringes with matching contour are therefore suitable to cooperate with one and the same centering of the dosing, which has the centering contour.
- top and bottom refer to the preferred orientation of the syringe during dosing, in which the syringe is held vertically with the outlet at the bottom and the centering collar at the top.
- the metering device may in particular be a manually and / or motor-driven, manageable and / or stationary Dosicrvoriques.
- it can be a pipette, repeating pipette, dispenser, dosing station or automatic dosing machine.
- it is a dispenser.
- the syringe according to the invention can be reversibly fixed in a reversible manner to a metering device according to the invention.
- the syringe is inserted in the axial direction in the metering device, wherein the Zentrierbund gripped by radially deliverable gripping means for gripping the Zentrierbundes in the recording of the metering and the syringe plunger on its coupling piece in the piston receptacle by radially undeliverable gripping means for gripping the Piston rod is gripped.
- the gripping of the centering collar and the coupling piece by the gripping means can be controlled by the axial insertion of the syringe into the receptacle of the metering device.
- the metering device can be configured as in the DE 43 41 229 C2 and the US 5,620,660 described. The relevant embodiments of the aforementioned patents are included in the present application.
- the centering element When inserting the syringe into the metering device, the centering element penetrates axially into the centering area and lies radially against the inside of the centering area.
- the dimensions and geometries of the centering and the centering are coordinated so that the syringe barrel is centered by the inserted centering.
- the syringe barrel is guided with the centering exactly in the recording, so that it can be easily and safely gripped by the gripping devices.
- the centering element can correct a non-circular shape of the syringe barrel to an ideal circular shape. Since the centering area is either in the immediate vicinity of the piston running range, which is crucial for the exact dosage, or in the immediate vicinity of the transition region, which counteracts damage to the sealing lip of the piston, the correction in the centering area has a positive effect on the dosing accuracy.
- a non-circular cylinder has a transverse cylinder surface which is changed to a circular cylinder, which leads to metering errors.
- the guidance of the centering on the centering prevents misalignment of the syringe to the metering device and tilting of the syringe with respect to the metering device under load.
- Misalignment can occur with a conventional metering system when the syringe is gripped in tilted orientation by the gripping means of the metering system.
- a tipping under load can occur in a conventional dosing system, when dosing the syringe is placed in the vicinity of its exit with a pressing force on a wall. This delivery form is called wall delivery. In particular, it is used at small delivery volumes to avoid errors due to uneven drops from the syringe.
- the centering element rests at a distance from the upper end of the syringe barrel at the centering. Only when the centering engages correspondingly deep in the syringe plunger, it can invest all around to the centering and correct a non-circular shape of the syringe barrel, align it and support and prevent tilting.
- the stiffening of the syringe barrel by the centering collar at the upper end of the syringe is opposed to the correction of a non-circular cross section in the piston running area.
- the second inner diameter of at least 16.2 mm of the centering of the syringe according to the invention or the Centering of the syringes of the syringe family according to the invention at least at a distance of at least 3 mm from the upper end of the syringe barrel available, ie in the immediate vicinity of the piston running range or to the transition region.
- the centering area is therefore also characterized by its immediate proximity to the piston running area.
- the syringe plunger can be inserted with its coupling piece through the axial passage of the centering element, so that the syringe plunger can be pulled out of the syringe barrel.
- the piston receptacle engages for coupling the coupling piece in the axial passage of the centering element.
- the inner diameter in the centering area of at least 16.2 mm ensures that syringes with a filling volume of up to 10 ml with an inner diameter of the piston running range of up to 15.96 mm in a metering device with a maximum piston travel of 50 mm plus an overstroke of a few millimeters can be used.
- the invention covers spraying with all common filling volumes. Larger filling volumes (e.g., 25-50 ml) are possible if an adapter is used which reduces the larger diameter of the syringe barrel to the smaller diameter of the metering device receptacle.
- An adapter is also useful for small-volume syringes, as it facilitates the grip and handling of small syringes.
- the adapter has the centering area.
- the adapter is also centered in the metering device, thus directing the syringe, supporting it and preventing the syringe from tilting, especially in the case of wall dispensing.
- the invention relates to syringes in which the syringe barrel is in one piece. Furthermore, it includes syringes in which the syringe barrel is in several parts. In particular, it includes syringes in which the syringe barrel the Has piston running range and the exit at a lower part and the centering collar and the centering at an upper part, which is connectable to the lower part, for example by means of bayonet, screw or snap connection.
- the upper part may in particular be an adapter.
- the inner diameter of the centering of the syringe according to the invention exceeds the inner diameter of the piston running range, so that the syringe barrel during injection molding filled more evenly with plastic and thus can be made dimensionally stable.
- the jump in the inner diameter between piston running area and centering area causes namely a flow brake, the below the centering injected hot plastic mass forces, preferably first fill the lower part of the syringe barrel and thus the piston barrel area uniformly and finally the centering and the centering collar.
- the dimensional accuracy of the syringe barrel is improved straight in the piston barrel area and thus the precision of the dosage.
- a jump in the inner diameter between the piston running area and centering area allows the syringe plunger, which is completely inserted into the syringe barrel, to be guided at the top in the piston running area if the syringe is not connected to the metering device.
- the outer diameter of a guide portion of the syringe plunger arranged below the coupling piece can almost correspond to the inner diameter of the piston barrel portion.
- the outside diameter of the guide area should be less than the inside diameter of the piston running area by at least the sum of the tolerances of syringe plungers (eg 0.1 mm) and syringe barrels (eg 0.1 mm).
- the centering of the syringe plunger through the guide area in the separate syringe from the syringe avoids tilting of the syringe plunger in the syringe barrel and thus deformations in the sealing region of the syringe plunger and / or the syringe barrel by partial irreversible expansion, thereby dosing errors are avoided.
- the guidance of the syringe plunger at the top in the piston running region can be effected by outwardly projecting, axially extended wings of the syringe plunger and / or by a washer below the coupling piece of the syringe plunger.
- the disc can also cause a coverage of the piston running area, which prevents ingress of contaminants in the syringe barrel, which affect the sealing of the piston and / or can contaminate the liquid to be dispensed.
- the jump in the inner diameter between the centering area and the piston running area allows a simple tolerance check by means of force measurement during the joining of syringe plungers and syringe barrels during production. If the diameter of the syringe plunger is too large, two force increases are measured during joining, namely when the syringe plunger with its sealing area penetrates into the centering area and then when the sealing area penetrates into the piston barrel area. If the diameter of the piston does not exceed the Tolerance limit, an increase in force is measured only when penetration of the sealing area in the piston running range. By simple and unambiguous measurement can thus be determined whether the diameter of the syringe plunger exceeds the tolerance upper limit and the syringe plunger must be discarded.
- Checking compliance with the upper tolerance limit is particularly important because roundness of the syringe plunger can be determined as an increase in the diameter.
- the use of syringe plungers, which cause dosing errors due to a non-circular sealing area, can thus be avoided. Since the tolerances of the syringe plunger and the syringe barrel are included in the test, when the tolerance upper limit is exceeded, preferably the entire syringe is discarded.
- the present invention thus also includes a method for tolerance testing.
- the force for inserting the syringe plunger is measured in the syringe barrel during insertion of a syringe plunger into the syringe barrel and in the event that the force for inserting the syringe plunger into the centering area exceeds a tolerance upper limit, the syringe plunger and / or the syringe barrel are discarded.
- the syringe can be easily released from the dosing system after use by operating the gripping means.
- the separation can also take place in an axial movement. By centering a tilting of the syringe barrel is avoided in the recording, so that the separation can be made easier.
- the syringe can fall out of the dosing system after releasing the gripping devices due to their own weight. This can optionally supported by a sprung stop on which the centering collar of the syringe barrel can be fixed.
- the inner diameter in the centering region of the syringe according to the invention is at most 17.7 mm.
- the limitation of the inner diameter of the centering region to a maximum value of 17.7 mm is achieved that the injection of the Eppendorf AG can be gripped by a conventional dispenser type Multipette ®, if they are held in a carrier.
- the gripping devices for releasably fixing the syringe flange have hook-shaped gripping ends, the inner edges of which, when pivoted together, have a distance of 20.8 mm from each other.
- the syringes may be provided in a carrier having support sleeves protruding from a plate.
- the syringes can be inserted into holes of the carrier sleeve, wherein the syringe barrel is guided on the outer circumference of the centering in the carrier sleeves. So that the syringe gripper levers do not clamp on the carrier sleeves, the outer diameter of the carrier sleeves can be selected so that it falls below the distance between the fauxgeschwenkten gripper ends. Taking into account a minimum wall thickness of the carrier sleeves, a clearance for inserting the syringe barrels into the carrier sleeves and a minimum wall thickness for the syringe barrel in the centering area, the inner diameter in the centering area is at most 17.7 mm.
- the syringe is preferably made of plastic, in particular a thermoplastic.
- the thermoplastic is selected from the group of polyolefins.
- Preferred polyolefins are polyethylene (PE), polypropylene (PP) and cyclic olefin (co) polymers, COC for short or COP.
- Syringe and piston can be made of the same plastic or different. In particular, due to the better friction pairing, the piston is made of PE and the cylinder is made of PP or vice versa.
- the syringe according to the invention can be designed so that they can also be used in conventional dispensers of the type Multipette ® Eppendorf AG, which have no centering.
- the advantageous effects of the syringes according to the invention are basically also given in the syringes of the syringe family according to the invention.
- the centering regions have contours which are matched to the same predetermined centering contour so that they can be brought with the same metering device, whose centering element has the centering contour.
- the user can use a syringe with a suitable filling volume in each application and always the dosing accuracy is improved by the centering of the respective syringe in the metering device.
- the syringes with different filling volumes of the syringe family preferably have the same contours in the centering regions. But they can also have at least partially different contours, provided that they are tuned to one and the same Zentrierkontur.
- cylindrical and polygonal contours can be matched to the same cylindrical centering, so that the provided with these different contours centering areas are centered by the same centering.
- the centering regions of the syringes with different filling volumes of a syringe family thus have a functionally matching contour, which is matched to the same predetermined centering contour.
- a matching contour in the centering area thus means the same and / or different contours or geometries, which interact with the same centering element of a metering device, which has the predetermined centering contour, ie are complementary thereto.
- the matching contour or geometry in the centering selected from the group of conical hollow body, the convex hollow body, the pyramidal hollow body, the columnar hollow body with ellipsoidal outer ground or cross-sectional area, the polygonal columnar, in particular5.3teckklalenförmigen hollow body, the hollow body with circumferential or, partially circumferential ribs or webs, the hollow body with at least two flattened inner sides, or the hollow body, which are cut by at least two secants, the hollow body with projections, warts, webs and the elliptical hollow body, and a combination thereof.
- Preferred combinations are conical with circumferential bead, e.g. as a torus, a combination of conical and cylindrical as well as conical with bars or round elevations.
- the predetermined centering contour of the centering element is also selected from the aforementioned groups.
- the syringes of the syringe family in the centering region have an inner diameter of at least 16.2 mm and at most 17.7 mm.
- the syringe family can have a syringe with a filling volume of 10 ml, which has the same inner diameter of 15.96 mm in the piston running region and in a centering region.
- a second inner diameter of at least 16.2 mm is an advantageous embodiment of the syringes of the syringe family according to the invention, which ensures that even a syringe with a filling volume of 10 ml has the advantages of a centering region with a larger inner diameter than in the piston barrel region.
- the syringe barrel has a greater wall thickness in the cylindrical piston running area than in the centering area.
- the syringe barrel has a conical lead-in area at the upper end of the centering area and / or a conical transition area between the centering area and the cylindrical piston running area.
- the conical lead-in area and / or the conical transition area guide the syringe plunger during insertion into the piston barrel area, so that the sealing area of the plunger is correctly inserted and not damaged.
- the insertion region and / or the transition region have an angle of 15 to 30 ° to the axis of the syringe barrel. Particularly preferred is an angle of the insertion of about 15 ° and an angle of the transition region of about 25 °.
- the centering area can be designed differently. It can be designed inside as a freeform surface or a ruled surface.
- a free-form surface is understood to mean a surface that can not be written exactly in mathematical terms, whereas a ruled surface can be described exactly mathematically.
- it has inside the contour or geometry of a surface of revolution (eg cylinder, cone, hyperbola, parabolic surface).
- the centering is slightly conical with a cone angle of 0.5 to 5 °, in particular about 2 ° to the longitudinal axis of the syringe.
- the contour or geometry of the centering can be smooth inside.
- the centering on the inside of a contour with projections and / or depressions wherein the imaginary in the contour largest registered circle has the second inner diameter.
- the imaginary largest inscribed circle corresponds to the outer diameter of the centering element.
- the contour or geometry of the centering leads, in cooperation with a complementary centering contour or geometry of the centering element to correct an optionally non-circular shape of the syringe barrel, to align and support the syringe plunger and thus prevents tilting of the piston in the syringe barrel.
- the interaction of the contour or geometry of the centering area with the complementary centering contour or geometry of the centering element enables the correct alignment of a syringe coding on a sensor for scanning the syringe coding and / or an anti-twist device.
- the anti-rotation device prevents twisting of the syringe in the dosing device, which can damage a sensor for sensing syringe coding.
- the contour can also serve to reduce the friction between syringe barrel and centering to facilitate the insertion of a smooth centering in the centering.
- the contour or geometry can affect the imaginary / projected largest inscribed circle only at two diametrically opposite points, whereby already a centering is achieved. Preferably, it affects the circle at more than two places. Preferably, the spots are evenly distributed over the circumference of the circle.
- the centering element of a metering system which cooperates with the syringes of the syringe family, has an outer diameter of 16.2 to 17.7 mm and / or a wall thickness of 0.4 to 2.5 mm and / or stands with respect to a stop for the top of Centering collar 2.2 to 6 mm in front.
- the centering collar has an outer diameter of 21 to 24.2 mm and / or a height of 3.2 to 5.4 mm and / or the centering area is at least at a distance of at least 3 mm and a maximum of 6 mm from the upper end the syringe barrel. This allows insertion of the syringe into the commercial dispensers Multipette ® type of Eppendorf AG.
- the syringe has a filling volume selected from the volumes 10 ml, 5 ml, 2.5 ml, 1 ml, 0.5 ml, 0.2 ml, 0.1 ml. Always ensures the centering exact centering on one Centering element of a dosing system.
- the syringe piston below the coupling piece has a disc and / or axially extending wings and is present between the disc and / or the wings and the centering an annular gap with a gap width of 0.5 to 2.5 mm.
- the disc prevents contaminants from entering the syringe barrel and the disc and / or wings guide the syringe barrel at the top of the barrel.
- the annular gap with a gap width of 0.5 to 2.5 mm ensures that the centering element between the disc and / or wing and syringe barrel finds space and the disc and / or wings are inserted into the centering element.
- the centering element may in particular be a torus or hollow cylinder of low height. Further, it may be formed as a hollow cylinder greater height, hollow cone or as another continuous rotating body, so that a line contact or surface contact with the centering is possible.
- a Mehrticianberübrung may be useful.
- the centering element may be pyramidal or polygonal, with the pyramid or polygonal column having any number of corners (e.g., 8).
- the centering element is cylindrical, in particular circular cylindrical, or slightly conical, in particular with a cone angle of 0.1 to 2.5 °, in particular about 1 °.
- the centering element preferably has a conical insertion region at the lower end.
- the centering element on the outside of a contour with projections and / or depressions, wherein the smallest circle circumscribing the contour has the second inner diameter.
- This contour can mesh with a complementary contour of the syringe.
- a syringe coding can be aligned directly on a sensor of the metering device. Furthermore, this can be effected by a rotation, which prevents the syringe from twisting in the coding device. Further, by cooperating with a smooth centering area, the contour can reduce friction on insertion of the centering element into the syringe.
- the centering element is arranged rigidly with respect to the receptacle or is sprung with respect to the receptacle in the axial direction.
- the rigid arrangement causes a stiffer guidance of the syringe with respect to the metering device compared to the sprung arrangement.
- the rigid one Arrangement has the advantage that a sprung stop on which the centering collar rests with its upper side, the release of the syringe supported by the metering device.
- the advantage of the rigid arrangement is that it can prevent tilting when the syringe is placed with a certain force on a substrate, for example a vessel edge, as is common, for example, in the already discussed pipetting technique of wall dispensing.
- a spring-loaded centering element can compensate for alignment errors when inserting the centering tube into the receptacle.
- the centering element is spring-loaded with respect to the receptacle by being fixed to a spring-loaded stop for the centering collar.
- the centering element in the contact region with the centering region has an outer diameter of 16.2 to 17.7 mm and / or a wall thickness of 0.4 to 2.5 mm and / or stands with respect to a stop for the upper side of the centering collar by 2 , 2 to 6 mm in front.
- This information relates to the state of the metering device in which the syringe is not used, and include both relatively spring-loaded and relative to each other rigid arrangements of centering and stop. If the stopper is designed as a sensor plate, they relate to the base of the sensor plate from which possibly contact elements protrude.
- Fig. 1 has a 10 ml syringe 1.1 a syringe barrel 2.1, in which a syringe plunger 3.1 is arranged.
- the syringe barrel 2.1 is not strictly cylindrical everywhere in geometric terms.
- the syringe barrel 2.1 has an outer cylindrical portion 4.1, the inside has a cylindrical piston running area 5.1.
- the cylinder section 4.1 has a bottom bottom 6.1 with a central hole 7.1.
- the edge of the hole 7.1 is connected to an inside and outside conical tip section 8.1 with a low cone angle, which has an inside and outside more conical conical section 9.1 below.
- the syringe section 8.1 and the cone section 9.1 taper downwards.
- the cylinder section 4.1 is connected at the top via a short inside and outside conical transition region 10.1 with an inside and outside cylindrical or slightly conical centering 11.1.
- the centering region 11.1 is connected at the top to a centering collar 12.1, which has a substantially circular disk-shaped contact section 13.1 and a substantially cylindrical jacket section 14.1.
- the investment section 13.1 has a contact surface 15.1.
- This may have codings in the form of axially directed sensing surfaces arranged at one or more defined positions.
- the codings may be formed as in the EP 0 657 216 B1 and the US 5,620,661 described. The relevant explanations of the embodiments of the aforementioned patents are included in the present patent application.
- bottom 6.1, tip section 8.1 and transition region of the syringe barrel 2.1 has an approximately constant wall thickness.
- the syringe barrel 2.1 is made in one piece from plastic. It is preferably produced by injection molding of a thermoplastic.
- the thermoplastic is, for example, polypropylene; Polyethylene or a cyclic olefinic (CO) polymer, polypropylene being preferred for its stability properties.
- the syringe piston 3.1 has a flat cylindrical or circular piston-shaped piston portion 17.1, which has a circumferential sealing lip 18.1 on the circumference.
- the piston portion 17.1 is connected to a Kolbenspüzenabêt 19.1, which is conically formed with the same or a similar small cone angle as the tip portion 8.1.
- the syringe piston 3.1 is provided at the top with a piston rod 20.1.
- the piston rod 20.1 has a coupling piece 21.1 on top.
- the coupling piece 21.1 has a plurality of radially projecting, circumferential piston collars 22.1, between which circumferential grooves 23.1 are present.
- a disk 24.1 is arranged on the piston rod 20.1, which is formed circular disk-shaped.
- the wings 25.1 are connected to the disc 24.1 and at the bottom to the piston portion 17.1.
- the wings 25.1 have adjacent to the disc 24.1 outer edges 26.1 which are parallel to the piston rod 20.1.
- the wings 25.1 have another bevel 29.1, within which the width of the wings 25.1 continues to decrease.
- the syringe piston 3.1 is preferably made in one piece from plastic. Further preferably, it is injection molded from a thermoplastic. For example, it is made of polyethylene or polypropylene, with polyethylene being preferred, because the material pairing of polyethylene in the piston and polypropylene in the cylinder has a low frictional force. Polypropylene is preferred for the cylinder because of its high strength,
- the cylindrical sections and areas of the syringe barrel 2.1 and the syringe plunger 3.1 are circular cylindrical.
- the outer edges 26.1 extend from the upper end of the piston running area 5.1 via the transition area 10.1 into the centering area 11.1.
- the disk 24.1 engages below in the centering 11.1.
- Between Outside edges 26.1 and the piston running area 5.1 remains a small annular gap, so that the outer edges 26.1 prevent the syringe plunger 3.1 from tilting in the syringe barrel.
- Between the disc 24.1 and the outer edges 26.1 and the centering 11.1 a slightly larger annular gap 290.1 is present.
- the coupling piece 21.1 is partially arranged in the centering area 11.1 and projects beyond the centering collar 12.1 upwards.
- the lower end of the cylinder section 4.2 is connected to an inside and outside conical tip section 8.2, which is formed as a more conical cone section 9.2.
- the upper end of the cylinder section 4.2 is connected to an inner and outer conical transition region 10.2.
- the upper end of the transition region 10.2 is connected to an inner and outer cylindrical centering 11.2.
- the centering area 11.2 is in turn connected at the upper end with a centering collar 12.2.
- the centering collar 12.2 has a substantially circular disk-shaped contact section 13.2, which is connected at the inner edge with the centering 11.2. Furthermore, the centering collar 12.2 has a substantially cylindrical shell portion 14.2, which is connected at the upper end to the outer edge of the contact section 13.2.
- the contact section 13.2 has a contact surface 15.2 on top, which may have 15.1 codes according to the contact surface.
- the syringe piston 3.2 has a long cylindrical piston portion 17.2, the bottom of the circumference has a circumferential sealing lip 18.2.
- the piston portion 17.2 is connected at the bottom with a piston tip portion 19.2 having a cylindrical portion at the top and a conical portion at the bottom.
- the piston portion 17.2 is provided at the top with a piston rod 20.2, which has a coupling piece 21.2 above, which is formed according to the coupling piece 21.1.
- a disk 24.2 is arranged on the piston rod 20.2. Below the disc 24.2 project from the piston rod 20.2 radially four wings 25.2, which are distributed uniformly over the circumference of the piston rod 20.2.
- the wings 22.1 are connected at the top to the underside of the disk 24.2 and end at the bottom just above the piston section 17.2. They have at the top each to the piston rod portion 20.2 parallel outer edges 26.2 and below each have a chamfer 27.2.
- the chamfers 27.2 sit inside on the transitional area 10.2. Between the Kolbenspitzenabsehnitt 19.2 and the cone section 9.2 of the syringe barrel 2.2 remains a small annular gap.
- the disk 24.2 is arranged below in the centering 11.2. Between centering 11.2 and disc 24.2 is a smaller Annular gap 290.2 available.
- the coupling piece 21.2 is partially arranged in the centering area 11.2 and projects above the centering collar 12.2.
- Fig. 1a and 2a have the syringes 1.1, 1.2 on the circumference of their Zentrierbunde 12.1, 12.2 radially outwardly projecting Ausrichtnasen 30.1, 30.2, which taper upwards.
- the alignment noses 30.1 and 30.2 have a parabolic contour at the top. In the example, in each case seven alignment noses 301, 30.2 are distributed uniformly over the circumference of the centering collars 12.1, 12.2.
- Fig. 1e and 2e has the centering 11.1, 11.2 above an inner diameter a of 16.2 to 17.7 now and extends to a depth d of 6mm. Furthermore, the piston running range 5.1, 5.2 has an inner diameter b of 15.96 or 1.60 mm.
- the centering collar 12.1, 12.2 has a height e of 3.2 to 5.4 mm and an outer diameter b of 21 to 24.2 mm ..
- the coupling piece 22.1, 22.2 is opposite the Zentrierbund 12.1, 12.2 about 13.5mm before.
- the coupling piece 21.1, 21.2 has a diameter g of 7 to 7.2 mm and in the region of the grooves 23.1, 23.2 a diameter h of preferably less than 5 mm.
- This area is preferably designed as a crossed web construction for mass reduction.
- Fig. 1g are concrete dimensions of the centering 11.1 of the 10 ml syringe 1.1 indicated. Accordingly, the centering 11.1 has a minimum diameter of 16.2 mm and a maximum diameter of 17.7 mm.
- the centering region 11.1 begins at a distance of 3 mm from the top of the centering collar 12.1 and extends over an axial length of 3 mm.
- Fig. 1g is the centering area 11.1 shown free of hatching, although the syringe barrel 2.1 is cut vertically in the centering 11.1.
- FIG. 1h likewise shows the syringe cylinder 2.1 in a vertical section, in which the centering region 11.1 is shown free of hatching, since this can basically assume different geometries.
- Preferred embodiments of this freeform surface or regular shaping surface are shown in partial sections to the right of the vertical section through the entire syringe barrel 2.1. In total, six geometries are indicated, of which three are shown in a vertical section and another three in a half section through the centering 11.1.
- the uppermost vertical partial section shows a conically configured centering 11.11.
- the second vertical partial section shows an indicated convex centering area 11.12.
- the third vertical partial section shows a circumferential or partially encircling centering area 11.13 provided with (optionally rounded) ribs or webs. This last type of embodiment can also serve as a demolding aid.
- the lowermost, vertical partial vertical section serves to illustrate the viewing direction from below through the syringe barrel 2.1 onto the centering region 11.1, which can be configured with different geometries. Different configurations are then shown on the far right in the half cross sections. Half cross sections are shown, since these are cross sections through the vertical section through the syringe barrel 2.1 shown on the left side.
- the uppermost half cross-section represents a flattened centering area 11.14 cut by a plurality of secants.
- the central half cross section shows a centering area 11.15 provided with projections or warts or webs.
- the lowest half cross-section shows an elliptical cut centering 11.16.
- the smallest diameter which is at a distance of at least 3 and preferably not more than 6 mm below the top of the centering collar 12.1, is a maximum of 16.2 to 17.7 mm.
- the outer diameter of a - explained below - centering ring for centering the centering must also have these dimensions, otherwise the centering does not fit into the centering and can not fulfill its function. This is indicated on the centering area 11.14 by a radius is drawn there.
- Fig. 3 are the other syringes 1.3 to 1.7 of the syringe family with the filling volumes 5 ml, 2.5 ml, 1 ml, 0.5 ml and 0.2 ml constructed accordingly.
- the parts of the other syringes 1.3 to 1.7, which correspond to those of the syringes 1.1, 1.2 described above, are provided with corresponding reference numerals, wherein the number mentioned before the point coincides and the number mentioned after the point denotes the respective syringe.
- Fig. 3b are the flow brakes below the centering 11.1, 11.2, 11.3 illustrated. Accordingly, between the centering regions 11.1, 11.2, 11.3 and the transitional regions 10.1, 10.2, 10.3, there are corners in which the plastic compound is deflected during injection molding, so that they form a flow brake. In addition, the centering regions 11.1, 11.2, 11.3 have a smaller wall thickness than the adjacent transitional regions 10.1, 10.2, 10.3. In the case of the 10 ml syringe, the centering area 11.1 has a larger inner diameter than the calving area 5.1. As a result, pressure losses are caused during injection molding, which have a uniform filling of the cylinder sections 4.1, 4.2, 4.3 with hot plastic mass result.
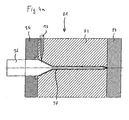
- an injection molding tool 31 includes a tool plate 32 having a hot runner nozzle 33, a tool cover plate 34 and a stripper plate 35. Further, it has a tool core 36. Between the aforementioned components, a cavity 37 is formed, which images the contour of a 0.1 ml syringe barrel 2.2.
- the hot plastic mass is injected through the hot runner nozzle 33 into the cavity 37. Due to the flow brake between the transition region 10.2 and the centering 11.2 of the transition region 10.2 and the cylinder section 4.2 of the syringe barrel 2.2 are evenly filled, so that the syringe barrel 2.2 there has a very good dimensional stability. Contributing to this is also that in the transition region 10.2 is injected, in which the constitutionalkem 36 has a relatively large diameter, so that no adverse lateral deflection of the Malawikems 36 occurs, which leads to uneven wall thicknesses.
- the injection-molded syringe barrel 2.2 is ejected from the injection mold 31 by the stripper plate 35 is withdrawn from the tool plate 32 and theificatkem 36 is pulled out of the stripper plate 35. The injection molding 2.2 then falls out of the tool 31.
- FIGS. 5 and 6 show how the jump of the inner diameter between Zentriex Suite 11.1 and 5.1 Kolbenlauf Scheme the 10 ml syringe 1.1 can be used for the determination of non-dimensional syringe plunger 3.1, in which the outer diameter of the piston portion 17.1 in the region of the sealing lip 18.1 exceeds the tolerance upper limit.
- the inner diameter of the centering region 11.1 is designed so that it corresponds to the tolerance upper limit of the outer diameter of the sealing lip 18.1
- the inner diameter of the piston running range 5.1 is 15.96 mm.
- Below are corresponding parts of various Syringe plunger 3.1, the dimensions of which differ due to manufacturing tolerances, distinguished by reference numerals, which have a different number in the second digit behind the point.
- the diameter of the in Fig. 5 in the left position shown sealing lip 18.11 is too large. According to Fig. 6 are determined when inserting this piston portion 17.11 of a built-in insertion mechanism force gauge (load cell) two KraftanTDstressn. This clearly indicates that a too large syringe plunger 3.1 is present.
- the lack of dimensional stability can be based in particular on an ovality of the Kolbsnabiteses 17,11, which has an inflated outer diameter of the sealing lip 18.11 result, which can be determined by the test method described above.
- the in Fig. 5 shown in the right position piston portion 17.12 is with the sealing lip 18.12 within the tolerance or too small. According to Fig. 6 In this syringe plunger 3.1, only a single force increase stage is measured.
- FIGS. 7 and 8 show a further embodiment with which it is also easy to determine whether the piston portion 17.1 falls below the tolerance lower limit.
- This embodiment has a centering area consisting of three centering sections 11.11, 11.12, 11.13, wherein the inner diameter of the centering 11.12 smaller than the inner diameter of the centering 11.11 and the inner diameter of the centering 11.13 smaller than the inner diameter of the centering 11.12.
- the centering section 11.13 is adjoined by a piston running region 5.1, the inner diameter of the piston running region 5.1 in turn being smaller than the inner diameter of the centering section 11.13.
- the inner diameters are designed so that the inner diameter of the centering 11.11 corresponds to the tolerance upper limit of the outer diameter of the sealing lip 18.1 of the piston portion 17.1.
- the inner diameter of the Centering 11.12 corresponds to the lower limit of engagement of the outer diameter of the sealing lip 18.1 and the inner diameter of the Zentrierbabiteses 11.13 of the lower tolerance limit for the sealing lip 18.1.
- Fig. 7 second piston portion 17.12 shown from the left has a sealing lip 18.12 with an outer diameter at the upper tolerance limit.
- this piston section 17.12 When inserting this piston section 17.12 are according to Fig. 8 three power increase levels measurable. This syringe piston 3.1 is within the tolerance range.
- Fig. 7 in the third position shown from the left piston section 17.13 has at the sealing lip 18.13 an outer diameter at the lower tolerance limit.
- Fig. 8 are two force increase stages visible when inserting this piston section 17.13. This syringe piston 3.1 is still in the tolerance range.
- the centering sections 11.11 to 11.13 can also be referred to as test sections. This is the case in particular if only part of the centering sections 11.1 to 11.13 is used for centering. In principle, however, too All Zentrxerabête 11.11 to 11.13 are used for centering. The centering will be explained below.
- Fig. 9 has a metering device according to the invention 370 designed as an elongate handle housing 38.
- a substantially circular cylindrical receptacle 39 for the centering collar 12 of the syringe egg Linders 2 is present.
- the receptacle 39 is accessible through a circular opening 40 at its lower end from the outside.
- a plurality of axially directed guide tabs 41 are radially inwardly a plurality of axially directed guide tabs 41 before.
- a receiving body 42 with a substantially cylindrical piston receptacle 43 for a coupling piece 21 of a syringe plunger 3 is present in the housing 38.
- the piston receptacle 43 is accessible from the outside by a further circular opening 44 at its lower end.
- the receiving body 42 is axially displaceable in the housing 38 by means of a repeating mechanism, not shown.
- the repeating mechanism may in particular be designed as in the DE 29 26 691 C2 and the US 4,406,170 or the DE 43 41 229 C2 and the US 5,620,660 described.
- the repetitive mechanism comprises an elevator lever 440 which is axially displaceable on the outside of the housing 38, wherein in Fig. 9 the elevator lever 440 is shown in the lowermost position. Accordingly, the receiving body 42 is in the lowermost position, in which its lower end is disposed approximately at the level of the bottom of the receptacle 39.
- the repeating mechanism comprises a metering lever 45, which protrudes from the top of the housing 38 and is pivotally mounted in the housing 38.
- the metering lever 45 is loaded by a spring device so that it is pressed into its uppermost position.
- By pivoting the metering lever 45 down the receiving body 42 by a metering step is displaced downwards.
- the step size of the metering step is adjustable by means of a Einstellrädchens 46, which is located at the upper end of the housing 38.
- syringe gripping levers 47 are arranged below in the housing 38.
- the syringe gripping levers 47 are pivotally mounted in the housing 38.
- the syringe gripping arms 47 have outwardly projecting actuating keys 48 out of the housing 38. They pass through apertures in the housing 38 and have hook-like cylinder gripping ends 49 projecting into the receptacle 39.
- piston gripping levers 50 are mounted diametrically opposite one another in the receiving body 42.
- the piston gripping levers 50 penetrate through openings in the receiving body 42 so that they engage with hook-like piston gripping ends 51 in the piston receptacle 43.
- the syringe gripping levers 47 and piston gripping levers 50 are each designed with two arms with a gripping arm and an actuating arm and are pivotably mounted in the connecting region of the gripping arm and the actuating arm. Furthermore, the syringe gripping levers 47 on the inner sides of their actuating arms unlock cam and the piston gripping lever 50 on the actuating arms cam-like projections. Not shown spring elements load the syringe gripping lever 47 and the piston gripping lever 50 so that they are each pivoted toward each other with their Zylinderieriden 49 and piston gripping ends 51.
- the construction corresponds to the embodiment according to DE 43 41 229 C2 and US 5,620,660 , The relevant embodiments of the aforementioned patents are included in the present patent application.
- a scanning device 52.1 for encoding on a centering collar 12 of a syringe 1 is present, which in Fig. 10 and 11 is shown.
- the scanning device 52.1 has an annular disk-shaped sensor plate 53 with a central hole 54 and seven axially projecting nubs 55, which are distributed uniformly over the underside of the sensor plate 53.
- Each nub 55 is operatively connected to a microswitch disposed in the sensor plate 53.
- the microswitch operatively connected thereto is actuated.
- the scanning device 52.1 comprises a carrier plate 56 for the sensor plate 53.
- the sensor plate 53 can be fixed to the carrier plate 56 by means of bolts 57, which pass through the holes 58 of the sensor plate 53.
- the support plate 56 has a central hole 59 whose diameter corresponds to the diameter of the hole 54 of the sensor plate 53.
- a nikhohlzylindharis centering element 60.1 also called “centering tube” fixed with axial passage, which has a chamfer 61 at the bottom outside.
- the centering element 60.1 engages through the hole 54 of the sensor plate 53 when the sensor plate 53 is fixed to the carrier plate 56 by means of the bolts 57.
- pins 62 From the top of the support plate 56 are protruding pins 62, wherein in each case a pin 62 is arranged at one corner.
- the pins 62 are fixedly connected to the carrier plate 56.
- a holding plate 64 is present, which also has a central hole 65 whose diameter corresponds approximately to the diameter of the holes 54, 59.
- the holding plate 64 has at the corners in each case a bore 66, in each of which a pin 62 of the support plate 56 can be inserted.
- support plate 64 axially directed spring hooks 67 on each opposite sides, each with a hook end 68 which slide on assembly of support plate 56 and retaining plate 64 by lateral grooves 69 of the support plate 56 and finally with the hook ends 68 engage over the underside of the support plate 56.
- the spring hooks 67 hold the assembly of support plate 56 and retaining plate 64 together.
- a syringe 1 is attached to the scanner 52.1.
- the syringe 1 rests against the sensor plate 53 with the upper side of the centering collar 12.
- arranged on the contact surface coding can be scanned by means of the nubs 55.
- the centering element 60.1 with axial passage engages in the centering collar 12.
- Zentriereletnent is 60.1 with axial passage on the cylindrical centering 11 at.
- sensor plate 53 The above-described arrangement of sensor plate 53, support plate 56, centering element 60.1 with axial passage and retaining plate 64 is in the housing 38 of the metering device 370 of Fig. 9 built-in.
- the holding plate 64 is fixed in the housing 38.
- the sensor plate 53 forms the bottom of the receptacle 39. From this floor, the centering element 60.1 is in the receptacle 39 into it.
- the receiving body 42 is accessible through the opening 40 of the receptacle and the holes 59 and 65 of the scanner 52.1 from the outside.
- Fig. 12 shows a metering device 370 with an inserted syringe 1.
- the syringe 1 is inserted with the centering collar 12 through the opening 40 in the receptacle 39.
- the syringe 1 is guided by the alignment lugs 30 on the guide lugs 41, so that the codings on the contact surface 15 are assigned to the knobs 55 exactly.
- the Spntzengreifhebel 47 slide due to the spring action with their Zylindermillionden 49 over the edge of the centering collar 12 until they snap under its underside.
- the centering collar 12 on the underside is engaged behind by the cylinder gripping ends 49 of the syringe gripping lever 47.
- the receiving body 42 When inserting the syringe 1, the receiving body 42 is arranged in its lowest position. In this position, the coupling piece 21 engages in the piston receptacle 43. The piston gripping levers 50 slide with their gripping ends 51 over the coupling piece 21 until they snap behind a piston collar 22 into a groove 23.
- the centering element with axial passage 60.1 penetrates into the centering area 11, so that the syringe 1 is fixed in the metering device 370.
- the syringe 1 is positioned precisely in its seat in the receptacle 39 and the piston receptacle 43, so that it is gripped exactly by the gripping devices 47, 50. Furthermore, the centering element with axial passage 60.1 corrects any irregularities of the syringe barrel 2. Furthermore, the centering element 60.1 keeps the syringe 1 in the correct orientation, even if the spigot 8 of the syringe 1 is placed and a transverse force is introduced into the syringe 1.
- Fig. 13 shows an alternative scanning device 52.2, in which the centering element 60.2 is fixed to a support plate 64.
- the scanning device 52.2 can be mounted in the metering device 370 instead of the scanning device 52.1.
- the holding plate 64 is fixed in the housing 38.
- the syringe 1 is subject to an even lower deflection under load by a transverse force.
- Fig. 14 has a syringe 1 in the centering 11 axially extending grooves 70. Furthermore, the centering element with axial passage 60.3 has circumferentially axially extending ribs 71 which fit into the grooves 70. When the syringe 1 is pushed onto the centering element 60.3, the intermeshing of grooves 70 and ribs 71 prevents the syringe 1 from rotating relative to the receptacle 39. This prevents damage to the sensor plate 53.
- a lid 72 of a box, not shown, or a tray has a plate 73 which has a plurality of upwardly projecting carrier sleeves 74.
- Syringes 1.1, 1.2, 1.4 of different sizes are placed with their centering collar 12.1, 12.2, 12.4 on top of the edge of the carrier sleeves 74. They are guided on the outer circumference of the centering region 11.1, 11.2, 11.4 in the carrier sleeves 74.
- the outer conical transition regions 10.1, 10.2, 10.4 ensure that the syringes 1.1, 1.2, 1.4 are guided exactly in the correct holding position.
- Fig. 16 has a syringe 1.8 a syringe barrel 2.8 with a cylinder section 4.8, which has a cylindrical piston barrel 5.8 inside.
- the cylinder section 4.8 has a bottom bottom 6.8 with a central hole 7.8, the edge of which has a conical tip section 8.8 of a more conical cone section 9.8 at the lower end.
- the cylinder section 4.8 has at the upper edge two diametrically opposed, radially outwardly projecting projections 75 of a bayonet connection.
- the syringe cylinder 2.8 comprises an adapter 76, which is formed substantially sleeve-shaped.
- the adapter 76 has on the inside of the lower edge outgoing axial grooves 77 of the bayonet connection, which terminate at an axial distance from the lower edge.
- the axial grooves 77 are arranged on two diametrically opposite inner sides of the adapter 76. Top open the axial grooves 77 in circumferential grooves 78 of the bayonet connection.
- the syringe barrel 2.8 is in Fig. 16 with the projections 75 inserted through the axial grooves 77 and screwed into the circumferential grooves 78, to the end of the respective circumferential groove 78.
- This Bajonettverbiridung 75, 77, 78 of the syringe barrel 2.8 is connected to the adapter 76.
- the adapter 76 has a centering area 11.8 above an intermediate floor 79, which delimits the circumferential grooves 78 above.
- the adapter 76 has at the top of a radially outwardly projecting centering collar 12.8, the top has a contact surface 15.8 with codings.
- the intermediate bottom 79 has a large fürgangsöffhung 80 through which a syringe piston 3.8 is inserted into the syringe barrel 2.8.
- the syringe piston 3.8 has a piston section 17.8 with a circumferential sealing lip 18.8 on the circumference.
- the piston rod 20.8 has a coupling piece 21.8 on top. Below the coupling piece 21.8, the piston rod 20.8 is provided with a disc 24.8 and sit underneath radially projecting wings 25.8 on the piston rod 3.8.
- This syringe 1.8 can be used with the adapter 76 in the receptacle 39 and the coupling piece 21.8 in the receiving body 42 of a metering device 370, as for the syringe 1 based on Fig. 12 is explained above.
- the adapter is guided by the centering element 60.1 in the centering area, so that the syringe 1.8 is centered.
- the examined syringes are also referred to as “Combitips ®”
- the dosing devices examined also as “Multipette ®”
- the Centering element as “centering tube” or “centering sleeve.” or “centering ring”.
- the prototypes were compared with a standard Multipette® X-Stream. For the experiments two Multipettes® were rebuilt. The safety mats with the mounting plates were changed as follows.
- Fig. 17a the centering sleeve is shown not spring-mounted on the support plate.
- the arrangement of Fig. 17a corresponds to the in Fig. 13 shown arrangement.
- Fig. 17b the centering sleeve is attached to the bottom, so that the centering sleeve is mitfedert.
- the arrangement of Fig. 17b corresponds to the in the Figures 10 and 11 shown arrangement.
- the serial components of a Dispenser type Multipette ® were not changed.
- the measurements were carried out on a train / printing machine (Z005 type) from Zwick Roell.
- test speed was 50mm / min.
- the measurements were started after 0.1N pre-power.
- Fig. 18 shows the comparison of a conventional dispenser of the type Mulitipette® with a metering device according to the invention with sprung centering sleeve and with a metering device according to the invention with non-spring-loaded centering.
- a series Multipette ® was used.
- the measurements were 5 and 6 with a prototype Mulipette ® with spring loaded centering - as in Fig. 17b shown.
- a graphic Presentation of the results is in Fig. 18b a shows the results with the conventional dispenser, b the results with the dispenser with the spring-loaded centering sleeve and c the results with the dispenser with the non-springed centering sleeve.
- the examination was performed with a standard Multipette ® X-stream and a 50ml Combitip ® plus. For metrological reasons, the largest Combitip ® was selected for this test.
- test speed was 50mm / min.
- the measurements were started after 0.1N pre-power.
Landscapes
- Health & Medical Sciences (AREA)
- Clinical Laboratory Science (AREA)
- Chemical & Material Sciences (AREA)
- Chemical Kinetics & Catalysis (AREA)
- Infusion, Injection, And Reservoir Apparatuses (AREA)
Abstract
- einem Spritzenzylinder
- und einem Spritzenkolben, wobei
- der Spritzenzylinder unten einen Austritt,
- oben am Außenumfang einen Zentrierbund zum Einsetzen in die Aufnahme,
- einen mit dem Austritt verbundenen zylindrischen Kolbenlaufbereich mit einem ersten Innendurchmesser, in dem der Spritzenkolben abdichtend geführt ist, und
- zumindest in einem Abstand von mindestens 3 mm vom oberen Ende des Spritzenzylinders einen Zentrierbereich zum Einführen des Zentrierelementes aufweist, der einen zweiten Innendurchmesser hat, der den ersten Innendurchmesser überschreitet und zumindest 16,2 mm beträgt,
- und der Spritzenkolben am oberen Ende ein Kupplungsstück zum Einsetzen in die Kolbenaumahme aufweist.
Description
- Die Erfindung bezieht sich auf eine Spritze und eine Spritzenfamilie für den Gebrauch mit einer Dosiervorrichtung und auf eine Dosiervorrichtung für den Gebrauch mit einer Spritzen oder einer Spritzenfamilie.
- Pipetten sind Dosiervorrichtungen zum Abmessen und Übertragen von Flüssigkeiten. Sie sind häufig als Repetier- oder Multipetten ausgeführt, welche gemeinsam mit einer Spritze verwendet werden, um Flüssigkeit in die Spritze aufzunehmen und schrittweise aus dieser abzugeben. Eine Repetierpipette ist aus der
DE 29 26 691 C2 und derUS 4 406 170 bekannt, die insbesondere den Repetiermechanismus der Repetierpipette beschreibt. Sie beschreibt auch die Fixierung der Spritze an der Repetierpipette. Dafür hat die Spritze einen Spritzenflansch, der von der Seite her in eine seitlich offene, im Wesentlichen U-förmige Nut der Pipette einsetzbar ist. Eine axiale Andruckfeder fixiert den eingesetzten Spritzenflansch in der Nut. Zur Verbindung des Spritzenkolbens mit einer Kolbenstelleinrichtung der Pipette ist ein Einsatzelement vorhanden, welches einen Endabschnitt des Spritzenkolbens zwischen zwei Backen aufnimmt. Die Backen sind mittels eines klappenförmigen Klemmglieds, dessen Betätigungshebel durch eine Öffnung aus dem Gehäuse herausragt, gegen den Spritzenkolben pressbar. Diese Spritzenfixierung hat den Nachteil, dass die Spritze zum Einsetzen und Koppeln mit der Kolbenstelleinrichtung bzw. zum Entkoppeln und Entnehmen angefasst werden muss. - Die
DE 43 41 229 C2 und dieUS 5 620 660 schlagen ein besser für die Handbetätigung geeignetes Pipettensystem mit einer einfach axial in die Pipette einschiebbaren bzw. aus dieser entfernbaren Spritze vor. Dieses Pipettensystem hat eine einen Befestigungsabschnitt und einen Spritzenkolben aufweisende Spritze und eine Pipette, die in einem Pipettengehäuse eine Aufnahme für den Befestigungsabschnitt und einen Aufnahmekörper mit einer Kolbenaufnahme für den Spritzenkolben bzw. eine damit verbundene Kolbenstange aufweist. Ferner sind Befestigungseinrichtungen zum reversiblen bzw. lösbaren Fixieren von Befestigungsabschnitt und Spritzenkolben in den Aufnahmen und Kolbenstelleinrichtungen zum Verschieben des Aufnahmekörpers im Pipettengehäuse vorhanden. Der Befestigungsabschnitt und der Spritzenkolben sind durch Axialöffnungen ihrer Aufnahmen axial in ihre Befestigungspositionen schiebbar. - Die Befestigungseinrichtungen weisen radial zustellbare Greifeinrichtungen zum Fixieren des Befestigungsabschnitts und des Spritzenkolbens in den Befestigungs-positionen auf. Die Greifeinrichtungen haben schwenkbar im Pipettengehäuse gelagerte Spritzengreifhebel und schwenkbar im Aufnahmekörper gelagerte Kolben-greifhebel. Die Spritzengreifhebel und die Kolbengreifhebel sind zweiarmig mit einem Greifarm und einem Betätigungsarm ausgeführt, wobei die Spritzengreifhebel an den Innenseiten ihrer Betätigungsarme Kontaktstellen aufweisen, die durch Betätigen ihrer Betätigungsarme außen gegen die Betätigungsarme der Kolbengreifhebel schwenkbar sind und die Kolbengreifhebel betätigen.
- Hierdurch wird erreicht, dass die Spritze und die Pipette durch eine rein axiale Relativbewegung miteinander verbindbar und durch Betätigen der Betätigungsarme voneinander trennbar sind. Gemäß einer Ausgestaltung ist der Befestigungsabschnitt ein Spritzenflansch und gemäß einer weiteren Ausgestaltung weist der Spritzenkolben einen Kolbenbund zum Hintergreifen durch die Greifeinrichtungen auf.
- Aus der
DE 10 2005 023 203 und derUS 2006263261 A1 ist eine Ausgestaltung der Pipette gemäßDE 43 41 229 C2 bekannt, bei der die Spritze durch Betätigen nur eines einzigen Auslösers von der Pipette lösbar ist. - Die kommerziellen Ausführungen Multipette® (plus/strcam/Xstream) dieses Dosiersystems der Firma Eppendorf AG umfassen Spritzen Combitips® (plus), die einen Zylinder mit einem Kolbenlaufbereich an der Innenseite und einen Spritzenflansch am oberen Ende des Zylinders aufweisen. Die Spritzen werden mit verschiedenen Füllvolumina (0,1 ml, 0,2 ml, 0,5 ml, 1 ml, 2,5 ml, 5 ml und 10 ml) angeboten. Der Innendurchmesser des Kolbenlaufbereichs ist so bemessen, dass das Füllvolumen bei einem maximalen Kolbenstellweg der Multipette® der Eppendorf AG von 50 mm zuzüglich eines Überhubs von wenigen Millimetern in die Spritze aufgenommen bzw, aus dieser abgegeben wird. Bei der Spritze mit einem Nennvolumen von 10 ml beträgt dementsprechend der Innendurchmesser des Kolbenlaufbereichs 15,96 mm. Bei den kleineren Spritzen ist der Innendurchmesser des Kolbenlaufbereichs entsprechend kleiner. Die Zylinder der kleineren Spritzen haben am oberen Ende des Kolbenlaufbereichs eine zylindrische Erweiterung, deren Innendurchmesser jeweils deutlich kleiner als 15,96 mm ist und die umso geringer ist, je geringer das Füllvolumen der Spritze ist. Ein Grund für die zylindrische Erweiterung ist, dass dadurch ein Tiefenanschlag des Kolbens im Zylinder realisiert werden kann, wodurch verhindert wird, dass eine Beschädigung der Kolbendichtlippe durch Aufsetzen der Dichtlippe auf der unteren Stirnfläche des Zylinders erfolgt. Ein weiterer Grund ist, dass bei den kleinen Spritzen der Kolbenbereich unterhalb des in das Dosiersystem eingeführten Kupplungsstücks dicker ausgeführt ist, insbesondere als Flügelstück ausgestaltet ist, um dadurch eine Erhöhung der Knicksteifigkeit der Kolbenstange in Lagerzustand zu erreichen.
- Die Zylinder haben ausgehend vom Flansch auf dem Umfang vier nach außen vorstehende, axial erstreckte Rippen, die gleichmäßig über den Umfang verteilt sind. Die Rippen haben unten jeweils einen Absatz zum Abstützen am Rand von Löchern eines Trägers ("Tray") oder einer Box. Damit Spritzen mit verschiedenen Füllvolumina in einheitliche Löcher eines Trägers oder einer Box einsetzbar sind, haben die Absätze von Spritzen verschiedener Füllvolumina dieselben Abstände von der Achse des Zylinders.
- Das bekannte Dosiersystem ermöglicht genaue Dosierungen mit geringen Messabweichungen.
- Davon ausgehend liegt der Erfindung die Aufgabe zugrunde, eine Spritze und ein Spritzenfamilie für den Gebrauch mit einer Dosiervorrichtung und eine Dosiervorrichtung für den Gebrauch mit einer Spritze oder einem Spritzenfamilie zur Verfügung zu stellen, die noch genauere Dosierungen ermöglichen.
- Die Aufgabe wird durch eine Spritze mit den Merkmalen des Anspruches 1 gelöst.
- Eine erfindungsgemäße Spritze für den Gebrauch mit einer Dosiervorrichtung mit einem Zentrierelement mit axialem Durchgang in einer Aufnahme für einen Spritzenzylinder und einer axial verlagerbaren Kolbenaufnahme für einen Spritzenkolben hat
- einen Spritzenzylinder
- und einen Spritzenkolben, wobei
- der Spritzenzylinder unten einen Austritt,
- oben am Außenumfang einen Zentrierbund zum Einsetzen in die Aufnahme,
- einen mit dem Austritt verbundenen zylindrischen Kolbenlaufbereich mit einem ersten Innendurchmesser, in dem der Spritzenkolben abdichtend geführt ist, und
- zumindest in einem Abstand von mindestens 3 mm vom oberen Ende des Spritzenzylinders einen Zentrierbereich zum Einsetzen des Zentrierelementes aufweist, der einen zweiten Innendurchmesser hat, der den ersten Innendurchmesser überschreitet und zumindest 16,2 mm und höchstens 17,7 mm beträgt,
- und der Spritzenkolben am oberen Ende ein Kupplungsstück zum Einsetzen in die Kolbenaufnahme aufweist.
- Ferner wird die Aufgabe durch eine Spritzenfamilie mit den Merkmalen des Anspruches 8 gelöst.
- Die erfindungsgemäße Spritzenfamilie für den Gebrauch mit einer Dosiervorrichtung mit einem Zentrierelement mit axialem Durchgang in einer Aufnahme für einen Spritzenzylinder und einer axial verlagerbaren Kolbenaufnahme für einen Spritzenkolben umfasst
- mehrere Spritzen mit verschiedenen Füllvolumina mit jeweils
- einem Spritzenzylinder
- und einem Spritzenkolben, wobei
- der Spritzenzylinder unten einen Austritt,
- oben am Außenumfang einen Zentrierbund zum Einsetzen in die Aufnahme,
- einen mit dem Austritt verbundenen zylindrischen Kolbenlaufbereich, in dem der Spritzenkolben abdichtend geführt ist, und
- zumindest in einem Abstand von mindestens 3 mm vom oberen Ende des Spritzenzylinders einen Zentrierbereich zum Einsetzen des Zentrierelementes aufweist,
- der Spritzenkolben am oberen Ende ein Kupplungsstück zum Einsetzen in die Kolbenaufnahme aufweist
- und die Zentrierbereiche von Spritzen mit verschiedenen Füllvolumina innen eine übereinstimmende Kontur aufweisen.
- Die mehreren Spritzen sind vorzugsweise ausgewählt aus der Gruppe der Spritzen mit Füllvolumina von 10 ml, 5 ml, 2, 5 ml, 1 ml 0,5 ml, 0,2 ml und 0,1 ml.
- Die Zentrierbereiche der Spritzen mit verschiedenen Füllvolumina besitzen eine übereinstimmende Kontur. Unter einer übereinstimmenden Kontur im Zentrierbereich werden gleiche und/oder verschiedene Geometrien verstanden, die auf dieselbe vorbestimmte Zentrierkontur abgestimmt sind. Die Spritzen mit übereinstimmender Kontur sind deshalb geeignet, mit ein und demselben Zentrierelement des Dosiersystems zusammenzuwirken, das die Zentrierkontur aufweist.
- Ferner wird die Aufgabe durch eine Dosicrvorrichtung mit den Merkmalen des Anspruches 11 gelöst.
- Die erfindungsgemäße Dosiervorrichtung für den Gebrauch mit einer Spritze mit einem Spritzenzylinder und einem Spritzenkolben, wobei der Spritzenzylinder unten einen Austritt, oben am Außenumfang einen Zentrierbund, einen mit dem Austritt verbundenen zylindrischen Kolbenlaufbereich, in dem der Spritzenkolben abdichtend geführt ist, und weiter oben einen Zentrierbereich und ein Kupplungsstück am oberen Ende des Spritzenkolbens aufweist oder für den Gebrauch mit einer mehrere solcher Spritzen umfassenden Spritzenfamilie hat
- ein Gehäuse umfassend
- eine Aufnahme für den Zentrierbund des Spritzenzylinders mit einer Axialöffnung zum axialen Einsetzen des Zentrierbundes in eine Befestigungsposition,
- ein in der Aufnahme angeordnetes, auf die Axialöffnung ausgerichtetes, Zentrierelement mit axialem Durchgang zum axialen Einsetzen in den Zentrierbereich des Spritzenzylinders,
- einen Aufnahmekörper mit einer Kolbenaufnahme zum axialen Einsetzen des Kupplungsstückes in eine Befestigungsposition,
- Befestigungseinrichtungen zum lösbaren Halten von Zentrierbund und Kupplungsstück in ihren Befestigungspositionen in der Aufnahme und in der Kolbenaufnahme,
- wobei die Befestigungseinrichtungen radial zustellbare Greifeinrichtungen zum Greifen des Zentrierbundes und des Kupplungsstückes in den Befestigungspositionen aufweisen,
- und Kolbenstelleinrichtungen zum Verschieben des Aufnahmekörper im Gehäuse.
- Vorteilhafte Ausgestaltungen der Spritze, der Spritzenfamilie und der Dosiervorrichtung sind in Unteransprüchen angegeben.
- Die Angaben "oben" und "unten" beziehen sich auf die bevorzugte Ausrichtung der Spritze beim Dosieren, bei der die Spritze senkrecht mit dem Austritt unten und dem Zentrierbund oben gehalten wird.
- Die Dosiervorrichtung kann insbesondere eine manuell und/oder motorisch angetriebene, handhabbare und/oder stationäre Dosicrvorrichtung sein. Sie kann insbesondere eine Pipette, Repetierpipette, Dispenser, Dosierstation oder Dosierautomat sein. Vorzugsweise ist sie ein Dispenser.
- Die erfindungsgemäße Spritze ist auf einfache Weise reversibel an einer erfindungsgemäßen Dosiervorrichtung fixierbar. Hierfür wird die Spritze in axialer Richtung in die Dosiervorrichtung eingesetzt, wobei der Zentrierbund mittels radial zustellbarer Greifeinrichtungen zum Greifen des Zentrierbundes in der Aufnahme der Dosiervorrichtung gegriffen und der Spritzenkolben an seinem Kupplungsstück in der Kolbenaufnahme durch radial zustellbare Greifeinrichtungen zum Greifen der Kolbenstange gegriffen wird. Das Greifen des Zentrierbundes und des Kupplungsstückes durch die Greifeinrichtungen kann durch das axiale Einsetzen der Spritze in die Aufnahme der Dosiervorrichtung gesteuert werden. Hierfür kann die Dosiervorrichtung so ausgestaltet sein, wie in der
DE 43 41 229 C2 und derUS 5 620 660 beschrieben. Die diesbezüglichen Ausführungen der vorgenannten Patente sind in die vorliegende Anmeldung einbezogen. - Beim Einsetzen der Spritze in die Dosiervorrichtung dringt das Zentrierclement axial in den Zentrierbereich ein und legt sich radial an die Innenseite des Zentrierbereiches an. Die Abmessungen und Geometrien des Zentrierelementes und des Zentrierbereiches sind aufeinander abgestimmt, so dass der Spritzenzylinder durch das eingesetzte Zentrierelement zentriert wird. Hierdurch wird der Spritzenzylinder mit dem Zentrierbereich genau in die Aufnahme geführt, so dass er leicht und sicher von den Greifeinrichtungen gegriffen werden kann.
- Durch das Anliegen des Zentrierbereiches am Zentrierelement kann eine Vorformung im Zentrierbereich des Spritzenzylinders korrigiert werden. Insbesondere kann das Zentrierelement eine unrunde Form des Spritzenzylinders zu einer idealen kreisrunden Form korrigieren. Da der Zentrierbereich entweder in unmittelbarer Nähe des Kolbenlaufbereichs liegt, der entscheidend für die genaue Dosierung ist, oder in unmittelbarer Nähe des Übergangsbereiches, der einer Beschädigung der Dichtlippe des Kolbens entgegenwirkt, wirkt sich die Korrektur im Zentrierbereich positiv auf die Dosiergenauigkeit aus. Ein unrunder Zylinder hat eine zum kreisrunden Zylinder veränderte Querschmusfläche, was zu Dosierfehlem führt. Insbesondere ist durch die kreisrunde Form die Dichtheit der Abdichtung des Spritzenkolbens im Zylinder und damit die Präzision der Dosierung verbessert. Ein unrunder Spritzenzylinder hat aufgrund der veränderten Querschnittsfläche weiterhin zur Folge, das insbesondere am Ende des Aufnahmehubs und bei den anfänglichen Abgabehüben Luft am Spritzenkolben vorbeiströmt und ein zu geringes Flüssigkeitsvolumen aufgenommen bzw. abgegeben wird. Dieser Nachteil wird durch die Erfindung überwunden.
- Ferner verhindert die Führung des Zentrierbereichs am Zentrierelement eine Fehlausrichtung der Spritze zur Dosiervorrichtung und ein Kippen der Spritze bezüglich der Dosiervorrichtung unter Belastung. Eine Fehlausrichtung kann bei einem herkömmlichen Dosiersystem auftreten, wenn die Spritze in gekippter Ausrichtung von den Greifeinrichtungen des Dosiersystems gegriffen wird. Ein Kippen unter Belastung kann bei einem herkömmlichen Dosiersystem auftreten, wenn beim Dosieren die Spritze in der Nähe ihres Austritts mit einer Anpresskraft auf eine Wand aufgesetzt wird. Diese Abgabeform wird als Wandabgabe bezeichnet. Insbesondere wird sie bei kleinen Abgabevolumina angewandt, um Fehler durch ungleichmäßige Tropfenabrisse von der Spritze zu vermeiden. Infolgedessen wird der Spritzenzylinder bezüglich des Spritzenkolbens geschwenkt, wodurch Flüssigkeit verdrängt und ein Dosierfehler verursacht werden kann. Zudem kann eine verringerte Dichtheit der Abdichtung des Kolbens im gekippten Spritzenzylinder die genauigkeit der Dosierung beeinträchtigen. Auch diese nachteiligen Eigenschaften der vorbekannten Spritzen- und Dosiervorrichtungen werden von der vorliegenden Erfindung überwunden.
- Für die Zentrierung der Spritze ist es wichtig, dass das Zentrierelement in einem Abstand vom oberen Ende des Spritzenzylinders am Zentrierbereich anliegt. Erst wenn das Zentrierelement entsprechend tief in dem Spritzenkolben eingreift, kann es sich ringsum an den Zentrierbereich anlegen und eine unrunde Form des Spritzenzylinders korrigieren, ihn ausrichten und stützen und so ein Kippen verhindern. Die Versteifung des Spritzenzylinders durch den Zentrierbund am oberen Ende der Spritze steht der Korrektur eines unrunden Querschnittes im Kolbenlaufbereich entgegen. Daher ist der zweite Innendurchmesser von zumindest 16,2 mm des Zentrierbereiches der erfindungsgemäßen Spritze bzw. der Zentrierbereich der Spritzen der erfindungsgemäßen Spritzenfamilie zumindest in einem Abstand von mindestens 3 mm vom oberen Ende des Spritzenzylinders vorhanden, d.h. in unmittelbarer Nähe zum Kolbenlaufbereich bzw. zum Übergangsbereich. Der Zentrierbereich zeichnet sich somit auch durch seine unmittelbare Nähe zum Kolbenlaufbereich aus.
- Der Spritzenkolben kann mit seinem Kupplungsstück durch den axialen Durchgang des Zentrierelementes hindurch gesteckt werden, so dass der Spritzenkolben aus dem Spritzenzylinder herausgezogen werden kann. Gegebenenfalls greift die Kolbenaufnahme zum Kuppeln des Kupplungsstückes in den axialen Durchgang des Zentrierelementes ein.
- Der Innendurchmesser im Zentrierbereich von mindestens 16,2 mm gewährleistet, dass Spritzen mit einem Füllvolumen von bis zu 10 ml mit einem Innendurchmesser des Kolbenlaufbereichs von bis zu 15,96 mm in eine Dosiervorrichtung mit einem maximalen Kolbenstellweg von 50 mm zuzüglich eines Überhubs von wenigen Millimetern eingesetzt werden können. Damit sind von der Erfindung Spritzen mit sämtlichen gängigen Füllvolumina abgedeckt. Größere Füllvolumina (z.B. 25-50 ml) sind möglich, wenn ein Adapter eingesetzt wird, der den größeren Durchmesser des Spritzenzylinders auf den kleineren Durchmesser der Aufnahme der Dosiervorrichtung reduziert. Ein Adapter ist auch bei kleinvolumigen Spritzen sinnvoll, da er die Griffigkeit und Handhabbarkeit kleiner Spritzen erleichtert. Bevorzugt weist der Adapter den Zentrierbereich auf. Infolgedessen wird auch der Adapter in der Dosiervorrichtung zentriert und richtet so die Spritze aus, stützt sie und verhindert ein Kippen der Spritze, insbesondere bei der Wandabgabe.
- Die Erfindung bezieht Spritzen ein, bei denen der Spritzenzylinder einteilig ist. Ferner bezieht sie Spritzen ein, bei denen der Spritzenzylinder mehrteilig ist. Insbesondere bezieht sie Spritzen ein, bei denen der Spritzenzylinder den Kolbenlaufbereich und den Austritt an einem unteren Teil und den Zentrierbund und den Zentrierbereich an einem oberen Teil aufweist, das mit dem unteren Teil verbindbar ist, z.B. mittels Bajonett-, Schraub- bzw. Schnappverbindung. Das obere Teil kann insbesondere ein Adapter sein.
- Der Innendurchmesser des Zentrierbereichs der erfindungsgemäßen Spritze übersteigt den Innendurchmesser des Kolbenlaufbereiches, damit der Spritzenzylinder beim Spritzgießen gleichmäßiger mit Kunststoff aufgefüllt und damit maßhaltiger gefertigt werden kann. Der Sprung des Innendurchmessers zwischen Kolbenlaufbereich und Zentrierbereich bewirkt nämlich eine Fließbremse, die unterhalb des Zentrierbereiches eingespritzte heiße Kunststoffmasse dazu zwingt, bevorzugt zunächst den unteren Teil des Spritzenzylinders und damit den Kolbenlaufbereich gleichmäßig aufzufüllen und abschließend den Zentrierbereich und den Zentrierbund. Infolgedessen wird die Maßhaltigkeit des Spritzenzylinders gerade im Kolbenlaufbereich und damit die Präzision der Dosierung verbessert.
- Außerdem ermöglicht ein Sprung des Innendurchmessers zwischen Kolbenlaufbereich und Zentrierbereich, dass der vollständig in den Spritzenzylinder eingeschobene Spritzenkolben oben im Kolbenlaufbereich geführt wird, wenn die Spritze nicht mit der Dosiervorrichtung verbunden ist. Hierfür kann der Außendurchmesser eines unter dem Kupplungsstück angeordneten Führungsbereichs des Spritzenkolbens nahezu dem Innendurchmesser des Kolbenlaufbereichs entsprechen. Der Außendurchmesser des Führungsbereiches sollte den Innendurchmesser des Kolbenlaufbereichs mindestens um die Summe der Toleranzen von Spritzenkolben (z.B. 0,1 mm) und Spritzenzylinder (z.B. 0,1 mm) unterschreiten. Aufgrund des größeren Innendurchmessers im Zentrierbereich bleibt ein Spalt zwischen Spritzenkolben und Zentrierbereich, in den das Zentrierelement eingesetzt werden kann. Somit wird durch die Erweiterung des Innendurchmessers im Zentrierbereich gegenüber dem Innendurchmesser im Kolbenlaufbereich eine Zentrierung des Spritzenkolbens in der Spritze gewährleistet, wenn die Spritze mit der Dosiervorrichtung verbunden ist und das Zentrierelement in den erweiterten Zentrierbereich eingreift und diesen füllt. Die Zentrierung und Führung des Spritzenkolbens in der von der Dosiervorrichtung getrennten Spritze ist trotz des erweiterten Zentrierbereichs gegeben, da der Führungsbereich des völlig eingeschobenen Spritzkolbens am Kolbenlaufbereich anliegt und geführt wird, bzw. bei Spritzen mit kleinen Volumina (z.B. 1 ml und kleiner) am Übergangsbereich.
- Die Zentrierung des Spritzenkolbens durch den Führungsbereich in der von der Dosiervorrichtung getrennten Spritze vermeidet ein Kippen des Spritzenkolbens im Spritzenzylinder und damit Deformationen im Dichtbereich des Spritzenkolbens und/oder des Spritzenzylinders durch partielle irreversible Aufweitung, wodurch Dosierfehler vermieden werden.
- Die Führung des Spritzenkolbens oben im Kolbenlaufbereich kann durch nach außen vorstehende, axial erstreckte Flügel des Spritzenkolbens und/oder durch eine Scheibe unterhalb des Kupplungsstückes des Spritzenkolbens bewirkt werden. Die Scheibe kann zudem eine Abdeckung des Kolbenlaufbereichs bewirken, die ein Eindringen von Verschmutzungen in den Spritzenzylinder verhindert, die die Abdichtung des Kolbens beeinträchtigen und/oder die zu dosierende Flüssigkeit kontaminieren kann.
- Ferner ermöglicht der Sprung des Innendurchmessers zwischen Zentrierbereich und Kolbenlaufbereich eine einfache Toleranzprüfung mittels Kraftmessung beim Fügen von Spritzenkolben und Spritzenzylinder während der Fertigung. Falls der Durchmesser des Spritzenkolbens zu groß ist, werden beim Fügen zwei Kraftanstiege gemessen, und zwar beim Eindringen des Spritzenkolbens mit seinem Dichtbereich in den Zentrierbereich und dann beim Eindringen des Dichtbereiches in den Kolbenlaufbereich. Überschreitet der Durchmesser des Kolbens nicht die Toleranzobergrenze, wird ein Kraftanstieg nur beim Eindringen des Dichtbereiches in den Kolbenlaufbereich gemessen. Durch einfache und eindeutige Messung kann somit festgestellt werden, ob der Durchmesser des Spritzenkolbens die Toleranzobergrenze übersteigt und der Spritzenkolben ausgesondert werden muss. Die Überprüfung der Einhaltung der Toleranzobergrenze ist besonders wichtig, weil Unrundheiten des Spritzenkolbens als Vergrößerung des Durchmessers feststellbar sind. Der Einsatz von Spritzenkolben, die aufgrund eines unrunden Dichtbereiches Dosierfehler verursachen, kann somit vermieden werden. Da die Toleranzen des Spritzenkolbens und des Spritzenzylinders in die Prüfung eingehen, wird beim Überschreiten der Toleranzobergrenze vorzugsweise die gesamte Spritze ausgesondert. Die vorliegende Erfindung umfasst somit auch ein Verfahren zur Toleranzprüfung.
- Gemäß dem erfindungsgemäßen Verfahren zur Toleranzprüfung von Spritzen mit einem zylindrischen Kolbenlaufbereich mit einem ersten Innendurchmesser und einem Zentrierbereich mit einem zweiten Innendurchmesser, der den ersten Innendurchmesser überschreitet, wird beim Einschieben eines Spritzenkolbens in den Spritzenzylinder die Kraft für das Einschieben des Spritzenkolbens in den Spritzenzylinder gemessen und in dem Fall, dass die Kraft für das Einschieben des Spritzenkolbens in den Zentrierbereich eine Toleranzobergrenze übersteigt, der Spritzenkolben und/oder der Spritzenzylinder ausgesondert.
- Die Spritze kann nach Gebrauch leicht durch Betätigen der Greifeinrichtungen von dem Dosiersystem gelöst werden. Die Trennung kann ebenfalls in einer axialen Bewegung erfolgen. Durch die Zentrierung wird ein Verkanten des Spritzenzylinders in der Aufnahme vermieden, so dass die Trennung leichter erfolgen kann. Insbesondere kann die Spritze nach Lösen der Greifeinrichtungen aufgrund ihres Eigengewichtes aus dem Dosiersystem herausfallen. Dies kann gegebenenfalls durch einen verfederten Anschlag unterstützt werden, an dem der Zentrierbund des Spritzenzylinders fixierbar ist.
- Der Innendurchmesser im Zentrierbereich der erfindungsgemäßen Spritze beträgt höchstens 17,7 mm. Durch die Begrenzung des Innendurchmessers im Zentrierbereich auf einen Höchstwert von 17,7 mm wird erreicht, dass die Spritzen mittels eines herkömmlichen Dispensers vom Typ Multipette® der Eppendorf AG gegriffen werden können, wenn sie in einem Träger gehalten sind. Bei diesen Dosiersystemen haben die Greifeinrichtungen zum lösbaren Fixieren des Spritzenflansches hakenförmige Greifenden, deren Innenkanten im zusammengeschwenkten Zustand einen Abstand von 20,8 mm voneinander aufweisen. Die Spritzen können in einem Träger mit von einer Platte vorstehenden Trägerhülsen bereitgestellt werden. Die Spritzen können in Löcher der Trägerhülse eingesetzt werden, wobei der Spritzenzylinder am Außenumfang des Zentrierbereiches in den Trägerhülsen geführt ist. Damit die Spritzengreifhebel nicht auf den Trägerhülsen festklemmen, kann der Außendurchmesser der Trägerhülsen so gewählt werden, dass er den Abstand zwischen den zusammengeschwenkten Greiferenden unterschreitet. Unter Berücksichtigung einer Mindestwandstärke der Trägerhülsen, eines Spiels zum Einsetzen der Spritzenzylinder in die Trägerhülsen und einer Mindestwandstärke für den Spritzenzylinder im Zentrierbereich beträgt der Innendurchmesser im Zentrierbereich höchstens 17,7 mm.
- Die Spritze ist vorzugsweise aus Kunststoff hergestellt, insbesondere einem Thermoplasten. Vorzugsweise ist der Thermoplast ausgewählt aus der Gruppe der der Polyolefine. Bevorzugte Polyolefine sind Polyethylen (PE), Polypropylen (PP) sowie zyklische Olefin (Co) Polymere, kurz COC oder COP. Spritze und Kolben können aus ein und denselben Kunststoff hergestellt sein oder aus unterschiedlichen. Insbesondere ist aufgrund der besseren Reibpaarung der Kolben aus PE und der Zylinder aus PP gefertigt oder umgekehrt.
- Die erfindungsgemäße Spritze kann so ausgeführt sein, dass sie auch in herkömmliche Dispenser vom Typ Multipette® der Eppendorf AG einsetzbar ist, die kein Zentrierelement aufweisen.
- Die vorteilhaften Wirkungen der erfindungsgemäßen Spritzen sind grundsätzlich auch bei den Spritzen der erfindungsgemäßen Spritzenfamilie gegeben. Bei den Spritzen mit verschiedenen Füllvolumina der Spritzenfamilie weisen die Zentrierbereiche Konturen auf, die auf dieselbe vorbestimmte Zentrierkontur abgestimmt sind, so dass sie mit derselben Dosiervorrichtung gebracht werden können, dessen Zentrierelement die Zentrierkontur aufweist. Der Anwender kann in jedem Anwendungsfall eine Spritze mit geeignetem Füllvolumen gebrauchen und stets ist die Dosiergenauigkeit durch die Zentrierung der jeweiligen Spritze in der Dosiervorrichtung verbessert.
- Bevorzugt haben hierfür die Spritzen mit verschiedenen Füllvollumina der Spritzenfamilie in den Zentrierbereichen gleiche Konturen. Sie können aber auch zumindest teilweise verschiedene Konturen aufweisen, sofern diese auf ein- und dieselbe Zentrierkontur abgestimmt sind. Beispielsweise können zylindrische und mehreckige Konturen auf dasselbe zylindrische Zentrierelement abgestimmt sein, so dass die mit diesen verschiedenen Konturen versehenen Zentrierbereiche von demselben Zentrierelement zentriert werden. Die Zentrierbereiche der Spritzen mit verschiedenen Füllvolumina einer Spritzenfamilie weisen somit eine funktionell übereinstimmende Kontur auf, die auf dieselbe vorbestimmte Zentrierkontur abgestimmt ist. Unter einer übereinstimmenden Kontur im Zentrierbereich werden somit gleiche und/oder verschiedene Konturen bzw. Geometrien verstanden, die mit demselben Zentrierelement einer Dosiervorrichtung zusammenwirken, das die vorbestimmte Zentrierkontur aufweist, d.h. komplementär dazu sind. Insbesondere bedeutet dies bei einer Spritzenfamilie mit mehreren Spritzen mit verschiedenen Füllvolumina, dass zwischen den einzelnen Mitgliedern mit unterschiedlichen Füllvolumina (z.B. 10 ml, 5 ml, 2,5 ml, 1 ml, 0,5 ml, 0,2 ml und 0,1 ml) im Zentrierbereich verschiedene Konturen bzw. Geometrien vorliegen können, die sich aber alle dadurch auszeichnen, dass in sie dasselbe Zentrierelement eines Dosiersystems eingreift, sich anlegt und so eventuelle Unrundheiten des Spritzenzylinders korrigiert, sowie die Spritze ausrichtet und stützt.
- Gemäß einer Ausgestaltung der Erfindung ist innerhalb einer Spritzenfamilie für ein einzelnes Mitglied der Familie die übereinstimmende Kontur bzw. Geometrie im Zentrierbereich ausgewählt aus der Gruppe der konischen Hohlkörper, der konvexen Hohlkörper, der pyramidenförmigen Hohlkörper, der säulenförmigen Hohlkörper mit elipsoidischer äußerer Grund bzw. Querschnittsfläche, der vielecksäulenförmigen, insbesondere achtecksäulenförmigen Hohlkörper, der Hohlkörper mit umlaufenden bzw, teilweise umlaufenden Rippen oder Stegen, der Hohlkörper mit wenigstens zwei abgeflachten Innenseiten, bzw. der Hohlkörper, die von wenigstens zwei Sekanten angeschnitten sind, der Hohlkörper mit Vorsprüngen, Warzen, Stegen und der eliptischen Hohlkörper, und einer Kombination daraus. Bevorzugte Kombinationen sind konisch mit umlaufender Wulst, z.B. als Torus, eine Kombination aus konisch und zylindrisch sowie konisch mit Stegen oder runden Erhebungen.
- Gemäß einer Ausgestaltung der Erfindung ist die vorbestimmte Zentrierkontur des Zentrierelementes ebenfalls aus den vorgenannten Gruppen ausgewählt.
- Gemäß einer bevorzugten Ausgestaltung haben die Spritzen der Spritzenfamilie im Zentrierbereich einen Innendurchmesser von zumindest 16,2 mm und höchstens 17,7 mm.
- Grundsätzlich kann die Spritzenfamilie eine Spritze mit einem Füllvolumen von 10 ml aufweisen, die im Kolbenlaufbereich und in einem Zentrierbereich denselben Innendurchmesser von 15,96 mm aufweist. Ein zweiter Innendurchmesser von zumindest 16,2 mm ist eine vorteilhafte Ausgestaltung der Spritzen der erfindungsgemäßen Spritzenfamilie, die sicherstellt, dass auch eine Spritze mit einem Füllvolumen von 10 ml die Vorteile eines Zentrierbereichs mit einem größeren Innendurchmesser als im Kolbenlaufbereich hat.
- Gemäß einer Ausgestaltung hat der Spritzenzylinder im zylindrischen Kolbenlaufbereich eine größere Wandstärke als im Zentrierbereich. Hierdurch wird eine besonders wirksame Fließbremse erreicht, da zur Erhöhung des Strömungswiderstandes aufgrund der Umlenkung der Strömung der heißen Kunststoffmasse im Bereich des Durchmessersprunges eine Erhöhung des Störungswiderstandes aufgrund des verringerten Fließquerschnittes hinzukommt.
- Gemäß einer weiteren Ausgestaltung hat der Spritzenzylinder am oberen Ende des Zentrierbereiches einen konischen Einführbereich und/oder zwischen dem Zentrierbereich und dem zylindrischen Kolbenlaufbereich einen konischen Übergangsbereich. Der konische Einführbereich und/oder der konische Übergangsbereich führen den Spritzenkolben beim Einführen in den Kolbenlaufbereich, so dass der Dichtbereich des Kolbens korrekt eingeführt und nicht beschädigt wird. Vorzugsweise haben der Einführbereich und/oder der Übergangsbereich einen Winkel von 15 bis 30° zur Achse des Spritzenzylinders. Besonders bevorzugt ist ein Winkel des Einführbereiches von etwa 15° und ein Winkel des Übergangsbereiches von etwa 25°. Bei kleineren Spritzen (z.B. mit einem Füllvolumen von maximal 5 ml) kann auf einen Einführbereich verzichtet werden, weil der Innendurchmesser im Zentrierbereich groß genug zum berührungslosen Einsetzen des Spritzenkolbens ist und dieser allein durch den Übergangsbereich korrekt in den Kolbenlaufbereich einführbar ist.
- Der Zentrierbereich kann verschieden ausgeführt sein. Er kann innen als eine Freiformfläche oder eine Regelfläche gestaltet sein. Unter einer Freiformfläche wird eine mathematisch nicht exakt beschreibbare Fläche verstanden, wohingegen eine Regelfläche exakt mathematisch beschreibbar ist. Bevorzugt hat er innen die Kontur bzw. Geometrie einer Rotationsfläche (z.B. Zylinder-, Kegel-, Hyperbel-, Parabelfläche). Bevorzugt ist der Zentrierbereich leicht konisch mit einem Konuswinkel von 0,5 bis 5°, insbesondere etwa 2° zur Längsachse der Spritze. Die Kontur bzw. Geometrie des Zentrierbereiches kann innen glatt ausgebildet sein. Gemäß einer alternativen Ausgestaltung der Erfindung weist der Zentrierbereich innen eine Kontur mit Vorsprüngen und/oder Vertiefungen auf, wobei der in die Kontur gedachte größte eingeschriebene Kreis den zweiten Innendurchmesser aufweist. Der gedachte größte eingeschriebene Kreis entspricht dem Außendurchmesser des Zentrierelementes. Die Kontur bzw. Geometrie des Zentrierbereiches führt im Zusammenwirken mit einer komplementären Zentrierkontur bzw. -geometrie des Zentrierelementes zu einer Korrektur einer gegebenenfalls unrunden Form des Spritzenzylinders, zu einem Ausrichten und Stützen des Spritzenkolbens und verhindert so ein Kippen des Kolbens im Spritzenzylinder. Des Weiteren ermöglicht das Zusammenwirken der Kontur bzw. Geometrie des Zentrierbereiches mit der komplementären Zentrierkontur bzw. - geometrie des Zentrierelementes die korrekte Ausrichtung einer Spritzencodierung auf einen Sensor zum Abtasten der Spritzencodierung und/oder eine Verdrehsicherung. Die Verdrehsicherung verhindert ein Verdrehen der Spritze in der Dosiervorrichtung, das einen Sensor zum Abtasten einer Spritzencodierung beschädigen kann. Die Kontur kann ferner zur Reduzierung der Reibung zwischen Spritzenzylinder und Zentrierelement dienen, um das Einsetzen eines glatten Zentrierelementes in den Zentrierbereich zu erleichtem.
- Die Kontur bzw. Geometrie kann den gedachten / projizierten größten eingeschriebenen Kreis lediglich an zwei diametral einander gegenüberliegenden Stellen tangieren, wodurch bereits eine Zentrierung erreicht wird. Bevorzugt tangiert sie den Kreis an mehr als zwei Stellen. Bevorzugt sind die Stellen gleichmäßig über den Umfang des Kreises verteilt.
- Das Zentrierelement eines Dosiersystems, das mit den Spritzen der Spritzenfamilie zusammenwirkt, weist einen Außendurchmesser von 16,2 bis 17,7 mm und/oder eine Wandstärke von 0,4 bis 2,5 mm und/oder steht bezüglich eines Anschlages für die Oberseite des Zentrierbundes 2,2 bis 6 mm vor.
- Gemäß einer Ausgestaltung weist der Zentrierbund einen Außendurchmesser von 21 bis 24,2 nun und/oder eine Höhe von 3,2 bis 5,4 mm und/oder liegt der Zentrierbereich zumindest in einem Abstand von minimal 3 mm und maximal 6 mm vom oberen Ende des Spritzenzylinders. Dies ermöglicht ein Einsetzen der Spritze in die kommerziellen Dispensern vom Typ Multipette® der Eppendorf AG.
- Gemäß einer Ausgestaltung hat die Spritze ein Füllvolumen ausgewählt aus den Volumina 10 ml, 5 ml, 2,5 ml, 1 ml, 0,5 ml, 0,2 ml, 0,1 ml. Stets gewährleistet der Zentrierbereich eine exakte Zentrierung an einem Zentrierelement eines Dosiersystems.
- Gemäß einer Ausgestaltung hat der Spritzenkolben unterhalb des Kupplungsstücks eine Scheibe und/oder axial erstreckte Flügel und ist zwischen der Scheibe und/oder den Flügeln und dem Zentrierbereich ein Ringspalt mit einer Spaltweite von 0,5 bis 2,5 mm vorhanden. Die Scheibe verhindert ein Eindringen von Verunreinigungen in den Spritzenzylinder und die Scheibe und/oder die Flügel führen den Spritzenzylinder oben in der Kolbenlaufbahn. Durch den Ringspalt mit einer Spaltweite von 0,5 bis 2,5 mm wird sichergestellt, dass das Zentrierelement zwischen Scheibe und/oder Flügel und Spritzenzylinder Platz findet und die Scheibe und/oder Flügel in das Zentrierelement einführbar sind.
- Das Zentrierelement kann insbesondere ein Torus oder Hohlzylinder geringer Höhe sein. Ferner kann es als Hohlzylinder größerer Höhe, Hohlkegel oder als ein anderer durchgängiger Rotationskörper ausgebildet sein, so dass eine Linienberührung oder Flächenberührung mit dem Zentrierbereich möglich ist. Auch eine Mehrpunktberübrung kann sinnvoll sein. So kann das Zentrierelement insbesondere pyramidenförmig oder mehrecksäulenförmig sein, wobei die Pyramide oder die Mehrecksäule eine beliebige Anzahl Ecken (z.B. 8) haben kann. Bevorzugt ist das Zentrierelement zylindrisch, insbesondere kreiszylindrisch, oder leicht konisch, insbesondere mit einem Konuswinkel von 0,1 bis 2,5°, insbesondere etwa 1°. Weiterhin bevorzugt weist das Zentrierelement am unteren Ende einen konischen Einsetzbereich auf.
- Gemäß einer weiteren Ausgestaltung weist das Zentrierelement außen eine Kontur mit Vorsprüngen und/oder Vertiefungen auf, wobei der kleinste Kreis, der die Kontur umschreibt, den zweiten Innendurchmesser aufweist. Diese Kontur kann mit einer komplementären Kontur der Spritze ineinandergreifen. Hierdurch kann eine Spritzencodierung direkt auf einen Sensor der Dosiervorrichtung ausgerichtet werden. Ferner kann hierdurch eine Verdrehsicherung bewirkt werden, die die Spritze an einem Verdrehen in die Codiervorrichtung hindert. Ferner kann die Kontur durch Zusammenwirken mit einem glatten zentrierbereich die Reibung beim Einsetzen des Zentrierelementes in die Spritze verringern.
- Gemäß einer Ausgestaltung ist das Zentrierelement starr bezüglich der Aufnahme angeordnet oder bezüglich der Aufnahme in Axialrichtung verfedert. Die starre Anordnung bewirkt eine steifere Führung der Spritze bezüglich der Dosiervorrichtung im Vergleich zu der verfederten Anordnung. Die starre Anordnung hat den Vorteil, dass ein verfederter Anschlag, an dem der Zentrierbund mit seiner oberen Seite anliegt, das Lösen der Spritze von der Dosiervorrichtung unterstützt. Vorteil der starren Anordnung ist, dass sie ein Kippen verhindern kann, wenn die Spritze mit einer gewissen Kraft auf einen Untergrund, z.B. einen Gefäßrand, aufgesetzt wird, wie beispielsweise üblich bei der bereits diskutierten Pipetiertechnik der Wandabgabe. Ein verfedertes Zentrierelement kann beim Einsetzen des Zentrierrohres in die Aufnahme Ausrichtfehler ausgleichen. Gemäß einer bevorzugten Ausgestaltung ist das Zentrierelement bezüglich der Aufnahme verfedert, indem es an einem verfederten Anschlag für den Zentrierbund fixiert ist.
- Gemäß einer Ausgestaltung hat das Zentrierelement im Kontaktbereich mit dem Zentrierbereich einen Außendurchmesser von 16,2 bis 17,7 mm und/oder eine Wandstärke von 0,4 bis 2,5 mm und/oder steht bezüglich eines Anschlages für die Oberseite des Zentrierbundes um 2,2 bis 6 mm vor. Diese Angaben beziehen sich auf den Zustand der Dosiervorrichtung in dem die Spritze nicht eingesetzt ist, und schließen sowohl relativ zueinander verfederte als auch relativ zueinander starre Anordnungen von Zentrierelement und Anschlag ein. Falls der Anschlag als Sensorplatte ausgebildet ist, beziehen sie sich auf die Basis der Sensorplatte von der gegebenenfalls Kontaktelemente vorstehen.
- Nachfolgend wird die Erfindung anhand der anliegenden Zeichnungen von Ausführungsbeispielen näher erläutert. In den Zeichnungen zeigen:
- Fig. 1a bis f
- eine Spritze mit einem Füllvolumen von 10 ml in Seiten- ansicht (
Fig. 1a ), Ansicht von oben (Fig. 1b ), Ansicht von unten (Fig. 1c ), einem Vertikalschnitt entlang der Linie A-A vonFig. 1a (Fig. 1d ), einer vergrößerten Detailansicht A vonFig. 1d (Fig. 1e ), zerlegt in Spritzenkolben und Spritzenzylinder in Seitenansicht (Fig. 1f ) und Spritzenzylinder derselben Spritze in einem Vertikalschnitt (Fig. 1g ) und derselbe Spritzenzylinder im Vertikalschnitt mit Varianten des Zentrierberciches in vertikalen Teilschnitten und in vergrößerten halben Querschnitten (Fig. 1h); - Fig. 2a bis f
- eine Spritze mit einem Füllvolumen von 0,1 ml in Seiten- ansicht (
Fig. 2a ), Ansicht von oben (Fig. 2b ), Ansicht von unten (Fig. 2c ), einem Vertikalschnitt entlang der Linie A-A vonFig. 2a (Fig. 2d ), vergrößerter Detailansicht A vonFig. 2d (Fig. 2e ) und zerlegt in Spritzenkolben und Spritzenzylinder in Seitenansicht (Fig. 2f ); - Fig. 3a und b
- Spritzen einer Spritzenfamilie in Seitenansicht mit einem Ausbruch im Oberbereich (
Fig. 3a ) und vergrößerte Details A bis C vonFig. 3a (Fig. 3b ); - Fig. 4a und b
- Spritzgießwerkzeug zum Spritzgießen eines Spritzenzylinders einer Spritze mit einem Füllvolumen von 0,1 ml im geschlossenen Zustand beim Spritzgießen eines Spritzen- zylinders (
Fig. 4a ) und im geöffneten Zustand beim Aus- werfen des Spritzenzylinders (Fig. 4b ); - Fig. 5
- Spritze mit einem Füllvolumen von 10 ml mit Spritzenkolben in zwei verschiedenen Einschiebepositionen in einem vertika- len Vollschnitt;
- Fig. 6
- Kraft zum Einschieben zweier Spritzenkolben mit unter- schiedlichen Abmessungen aufgrund Fertigungs- schwankungen in den Spritzenzylinder einer Spritze von
Fig. 5 in Abhängigkeit vom Weg des Einschiebens im Kraft/Weg- Diagramm; - Fig. 7
- Spritze mit einem Zentrierbereich bestehend aus drei im Wesentlichen zylindrischen Zentrierabschnitten, die als Prüfdurchmessern genutzt werden und Spritzenkolben in vier verschiedenen Einschiebepositionen in einem vertikalen Vollschnitt;
- Fig. 8
- Kraft zum Einschieben von vier Spritzenkolben mit unter- schiedlichen Abmessungen aufgrund Fertigungs- schwankungen in den Spritzenzylinder einer Spritze von
Fig. 7 in Abhängigkeit vom Weg des Einschiebens in einem Kraft/Weg-Diagramm; - Fig. 9
- Dosiervorrichtung, insbesondere Dispenser für den Gebrauch von Spritzen gemäß
Fig. 1 bis 8 in einer Perspektivansicht schräg von unten und von der Seite; - Fig. 10
- verfederter oberer Anschlag mit Zentrierelement mit axialem Durchgang derselben Dosiervorrichtung in einem vergrößerten perspektivischen Sprengbild;
- Fig. 11
- derselbe verfederte obere Anschlag mit Zentrierelement mit axialem Durchgang zusammengesetzt mit anliegender Spritze in einer vergrößerten Perspektivansicht des Spritzenzylinders im vertikalen Vollschnitt;
- Fig. 12
- dieselbe Dosiervorrichtung mit eingesetzter Spritze in einer Perspektivansicht schräg von unten und von der Seite mit Spritzenzylinder im vertikalen Halbschnitt;
- Fig. 13
- verfederter oberer Anschlag einer alternativen Dosiervorrichtung mit starr bezüglich der Aufnahme angeordnetem Zentrierelement mit axialem Durchgang in einem perspektivischen Sprengbild;
- Fig. 14a bis c
- Spritze mit axial verlaufenden Vertiefungen im Zentrier- bereich in Draufsicht (
Fig. 14a ) und im Vertikalschnitt (Fig. 14b ) sowie Zentrierelement mit zu den Vertiefungen komple- mentären Erhebungen in einer Perspektivansicht schräg von unten und von der Seite; - Fig. 15
- verschiedene Spritzen angeordnet auf einem Träger für Spritzen im Vertikalschnitt;
- Fig. 16a bis c
- eine Spritze umfassend einen Adapter in Seitenansicht (
Fig. 16a ), Seitenansicht von der gegenüberliegenden Seite (Fig. 16b ), Draufsicht (Fig. 16c ) und einem Vertikalschnitt (Fig. 16d ); - Fig. 17a und b
- Ausschnitt einer Dosiervorrichtung mit unverfedertem Zentrierring, der mit der Halteplatte verbunden ist (
Fig. 17a ) und einer Dosiervorrichtung mit verfederten Zentrierring, der mit der Trägerplatte mitfedert (Fig. 17b ); - Fig. 18a und b
- eine Tabelle mit Messergebnissen aus Versuchen mit einem herkömmlichen Dispenser und solchen mit verfedertem bzw. nicht-verfedertem Zentrierelement (
Fig. 18a ) und eine grafische Darstellung der Ergebnisse (Fig. 18b ). - Bei der nachfolgenden Erläuterung sind einander entsprechende Teile verschiedener Ausführungsbeispiele mit mehreren Bezugsziffern versehen, die durch einen Punkt getrennt sind, wobei die vor dem Punkt stehenden Ziffern übereinstimmen und die hinter dem Punkt stehenden Ziffern das jeweilige Ausführungsbeispiel bezeichnen. Zusammenfassend sind einander entsprechende Teile verschiedener Ausführungsbeispiele auch allein mit den übereinstimmenden Ziffern bezeichnet.
- Gemäß
Fig. 1 hat eine 10 ml-Spritze 1.1 einen Spritzenzylinder 2.1, in dem ein Spritzenkolben 3.1 angeordnet ist. Der Spritzenzylinder 2.1 ist nicht in geometrischer Hinsicht überall streng zylindrisch. Der Spritzenzylinder 2.1 hat einen außen zylindrischen Zylinderabschnitt 4.1, der innen einen zylindrischen Kolbenlauf bereich 5.1 aufweist. - Der Zylinderabschnitt 4.1 hat unten einen Boden 6.1 mit einem zentralen Loch 7.1. Der Rand des Loches 7.1 ist mit einem innen und außen konischen Spitzenabschnitt 8.1 mit geringem Konuswinkel verbunden, der unten einen innen und außen stärker konischen Konusabschnitt 9.1 aufweist. Der Spritzenabschnitt 8.1 und der Konusabschnitt 9.1 verjüngen sich nach unten.
- Der Zylinderabschnitt 4.1 ist oben über einen kurzen innen und außen konischen Übergangsbereich 10.1 mit einem innen und außen zylindrischen oder leicht konischen Zentrierbereich 11.1 verbunden.
- Der Zentrierbereich 11.1 ist oben mit einem Zentrierbund 12.1 verbunden, der einen im Wesentlichen kreisscheibenförmigen Anlageabschnitt 13.1 und einen im Wesentlichen zylindrischen Mantelabschnitt 14.1 aufweist. Der Anlageabschnitt 13.1 hat eine Anlagefläche 15.1. Diese kann Codierungen in Form axial gerichteter Abtastflächen aufweisen, die an einer oder mehreren definierten Positionen angeordnet sind. Die Codierungen können so ausgebildet sein, wie in der
EP 0 657 216 B1 und derUS 5 620 661 beschrieben. Die diesbezüglichen Erläuterungen der Ausführungsbeispiele aus den vorbezeichneten Patentschriften sind in die vorliegende Patentanmeldung einbezogen. - Ferner weist der Spritzenzylinder 2.1 oberhalb des Zentrierbereichs 11.1 einen konischen Einführbereich 16.1 auf, der sich nach oben erweitert.
- Im Zylinderabschnitt 4.1, Boden 6.1, Spitzenabschnitt 8.1 und Übergangsbereich hat der Spritzenzylinder 2.1 eine etwa konstante Wandstärke.
- Der Spritzenzylinder 2.1 ist einteilig aus Kunststoff hergestellt. Bevorzugt ist er durch Spritzgießen eines Thermoplasten hergestellt. Der Thermoplast ist beispielsweise Polypropylen; Polyethylen oder ein Zyklisch Olefinisches (CO) Polymer, wobei aufgrund der Stabilitätseigenschaften Polypropylen bevorzugt wird.
- Der Spritzenkolben 3.1 hat einen flachen zylindrischen bzw. kreisscheibenförmigen Kolbenabschnitt 17.1, der am Umfang eine umlaufende Dichtlippe 18.1 aufweist. Unten ist der Kolbenabschnitt 17.1 mit einem Kolbenspüzenabschnitt 19.1 verbunden, der konisch mit demselben oder einen ähnlichen kleinen Konuswinkel wie der Spitzenabschnitt 8.1 ausgebildet ist.
- Der Spritzenkolben 3.1 ist oben mit einer Kolbenstange 20.1 versehen. Die Kolbenstange 20.1 weist oben ein Kupplungsstück 21.1 auf. Das Kupplungsstück 21.1 weist mehrere radial vorspringende, umlaufende Kolbenbunde 22.1 auf, zwischen denen umlaufende Nuten 23.1 vorhanden sind.
- Unterhalb des Kupplungsstückes 21.1 ist auf der Kolbenstange 20.1 eine Scheibe 24.1 angeordnet, die kreisscheibenförmig ausgebildet ist.
- Unterhalb der Scheibe 24.1 sitzen auf der Kolbenstange 20.1 vier radial vorstehende Flügel 25,1, die gleichmäßig über den Umfang der Kolbenstange 20.1 verteilt sind. Oben sind die Flügel 25.1 mit der Scheibe 24.1 und unten mit dem Kolbenabschnitt 17.1 verbunden. Die Flügel 25.1 haben angrenzend an die Scheibe 24.1 Außenkanten 26.1 die parallel zur Kolbenstange20.1 sind. Dort sind die Flügel 25.1 am breitesten. Darauf folgt eine erste Anschrägung 27.1, innerhalb der die Breite der Flügel 25.1 abnimmt. Darauf folgt wiederum eine Außenkante 28.1, die parallel zur Kolbenstange 20.1 ist. Unten haben die Flügel 25.1 eine weitere Anschrägung 29.1, innerhalb der die Breite der Flügel 25.1 weiter abnimmt.
- Der Spritzenkolben 3.1 ist bevorzugt einteilig aus Kunststoff hergestellt. Weiterhin bevorzugt ist er aus einem Thermoplasten spritzgegossen. Beispielsweise ist er aus Polyethylen oder Polypropylen hergestellt, wobei Polyethylen bevorzugt wird, weil die Materialpaarung von Polyethylen im Kolben und Polypropylen im Zylinder eine geringe Reibkraft aufweist. Polypropylen wird für den Zylinder bevorzugt wegen seiner hohen Festigkeit,
- Die zylindrischen Abschnitte und Bereiche der Spritzenzylinder 2.1 und des Spritzenkolbens 3.1 sind kreiszylindrisch.
- Wenn der Kolben 3.1 vollständig in den Spritzenzylinder 2.1 eingeschoben ist, sitzt der Kolbenabschnitt 17.1 auf dem Boden 6.1 auf und zwischen Kolbenspitzenabschnitt 19.1 und Spitzenabschnitt 8.1 verbleibt ein kleiner Ringspalt. Die Außenkanten 26.1 erstrecken sich vom oberen Ende des Kolbenlaufbereich 5.1 über den Übergangsbereich 10.1 in den Zentrierbereich 11.1 hinein. Die Scheibe 24.1 greift unten in den Zentrierbereich 11.1 ein. Zwischen den Außenkanten 26.1 und dem Kolbenlaufbereich 5.1 verbleibt ein kleiner Ringspalt, so dass die Außenkanten 26.1 den Spritzenkolben 3.1 an einem Kippen im Spritzenzylinder hindern. Zwischen der Scheibe 24.1 bzw. den Außenkanten 26.1 und dem Zentrierbereich 11.1 ist ein etwas größerer Ringspalt 290.1 vorhanden. Das Kupplungsstück 21.1 ist teilweise im Zentrierbereich 11.1 angeordnet und steht über den Zentrierbund 12.1 nach oben hinaus.
- Vorstehende Angaben geltend grundsätzlich auch für Spritzen 1.2 bis 1.7 mit anderen Füllvolumina. Besonderheiten der Spritzen 1.2 bis 1.7 gehen aus den nachfolgenden Erläuterungen hervor:
- Gemäß
Fig. 2 weist eine 0,1 ml-Spritze 1.2 einen Spritzenzylinder 2.2 und einen Spritzenkolben, 3.2 auf. Der Spritzenzylinder 2.2 ist nicht in geometrischer Hinsicht überall streng zylindrisch. Er hat unten einen innen und außen zylindrischen Zylinderabschnitt 4.2, der innen einen zylindrischen Kolbenlaufbereich 5.2 aufweist. - Das untere Ende des Zylinderabschnittes 4.2 ist mit einem innen und außen konischen Spitzenabschnitt 8.2 verbunden, der als stärker konischer Konusabschnitt 9.2 ausgebildet ist.
- Das obere Ende des Zylinderabschnittes 4.2 ist mit einem innen und außen konischen Übergangsbereich 10.2 verbunden. Das obere Ende des Übergangsbereiches 10.2 ist mit einem innen und außen zylindrischen Zentrierbereich 11.2 verbunden.
- Der Zentrierbereich 11.2 ist wiederum am oberen Ende mit einem Zentrierbund 12.2 verbunden. Der Zentrierbund 12.2 hat einen im Wesentlichen kreisscheibenförmigen Anlageabschnitt 13.2, der am inneren Rand mit dem Zentrierbereich 11.2 verbunden ist. Ferner hat der Zentrierbund 12.2 einen im Wesentlichen zylindrischen Mantelabschnitt 14.2, der am oberen Ende mit dem äußeren Rand des Anlageabschnitts 13.2 verbunden ist.
- Der Anlageabschnitt 13.2 weist oben eine Anlagefläche 15.2 auf, die entsprechend der Anlagefläche 15.1 Codierungen aufweisen kann.
- Der Spritzenkolben 3.2 hat einen langen zylindrischen Kolbenabschnitt 17.2, der unten am Umfang eine umlaufende Dichtlippe 18.2 aufweist. Der Kolbenabschnitt 17.2 ist unten mit einem Kolbenspitzenabschnitt 19.2 verbunden, der oben einen zylindrischen Teil und unten einen konischen Teil aufweist.
- Der Kolbenabschnitt 17.2 ist oben mit einer Kolbenstange 20.2 versehen, die oben ein Kupplungsstück 21.2 aufweist, das entsprechend dem Kupplungsstück 21.1 ausgebildet.
- Unterhalb des Kupplungsstückes 21.2 ist auf der Kolbenstange 20.2 eine Scheibe 24.2 angeordnet. Unterhalb der Scheibe 24.2 stehen von der Kolbenstange 20.2 radial vier Flügel 25.2 vor, die gleichmäßig über den Umfang der Kolbenstange 20.2 verteilt sind. Die Flügel 22.1 sind oben mit der Unterseite der Scheibe 24.2 verbunden und enden unten kurz oberhalb des Kolbenabschnittes 17.2. Sie weisen oben jeweils zum Kolbenstangenabschnitt 20.2 parallele Außenkanten 26.2 und unten jeweils eine Anschrägung 27.2 auf.
- Wenn der Kolben 3.2 vollständig in den Spritzenzylinder 2.2 eingeschoben ist, sitzen die Anschrägungen 27.2 innen auf dem Übergangsbereich 10.2 auf. Zwischen dem Kolbenspitzenabsehnitt 19.2 und dem Konusabschnitt 9.2 des Spritzenzylinders 2.2 verbleibt ein kleiner Ringspalt. Die Scheibe 24.2 ist unten im Zentrierbereich 11.2 angeordnet. Zwischen Zentrierbereich 11.2 und Scheibe 24.2 ist ein kleiner Ringspalt 290.2 vorhanden. Das Kupplungsstück 21.2 ist teilweise im Zentrierbereich 11.2 angeordnet und steht oben über den Zentrierbund 12.2 hinaus.
- Gemäß
Fig. 1a und2a haben die Spritzen 1.1, 1.2 am Umfang ihrer Zentrierbunde 12.1, 12.2 radial nach außen vorstehende Ausrichtnasen 30.1, 30.2, die sich nach oben verjüngen. Die Ausrichtnasen 30.1 und 30.2 haben oben eine parabolische Kontur. Im Beispiel sind jeweils sieben Ausrichtnasen 301, 30.2 gleichmäßig über den Umfang der Zentrierbunde 12.1, 12.2 verteilt. - Gemäß
Fig. 1e und2e hat der Zentrierbereich 11.1, 11.2 oben einen Innendurchmesser a von 16,2 bis 17,7 nun und reicht bis in eine Tiefe d von 6mm. Ferner hat der Kolbenlaufbereich 5.1, 5.2 einen Innendurchmesser b von 15,96 bzw. 1,60 mm. Der Zentrierbund 12.1, 12.2 hat eine Höhe e von 3,2 bis 5,4 mm sowie einen Außendurchmesser b von 21 bis 24,2 mm.. Das Kupplungsstück 22.1, 22.2 steht gegenüber der Zentrierbund 12.1, 12.2 ca. 13,5mm vor. Im Bereich der Kolbenbunde 22.1, 22.2 hat das Kupplungsstück 21.1, 21.2 einen Durchmesser g von 7 bis 7,2 mm und im Bereich der Nuten 23.1, 23.2 einen Durchmesser h von vorzugsweise kleiner 5 mm. Dieser Bereich ist zur Massereduzierung vorzugsweise als gekreuzte Stegkonstruktion ausgeführt. - In
Fig. 1g sind konkrete Abmessungen des Zentrierbereiches 11.1 der 10 ml-Spritze 1.1 angegeben. Demnach hat der Zentrierbereich 11.1 einen minimalen Durchmesser von 16,2 mm und einen maximalen Durchmesser von 17,7 mm. Der Zentrierbereich 11.1 beginnt in einem Abstand von 3 mm von der Oberseite des Zentrierbundes 12.1 und erstreckt sich über eine axiale Länge von 3 mm. InFig. 1g ist der Zentrierbereich 11.1 frei von Schraffur dargestellt, obgleich der Spritzenzylinder 2.1 auch im Zentrierbereiche 11.1 vertikal geschnitten ist. - Fig. 1h zeigt ebenfalls den Spritzenzylinder 2.1 in einem Vertikalschnitt, in dem der Zentrierbereich 11.1 frei von Schraffur dargestellt ist, da dieser grundsätzlich verschiedene Geometrien annehmen kann. Bevorzugte Ausgestaltungen dieser Freiformfläche oder Regelformfläche sind in Teilschnitten rechts neben dem Vertikalschnitt durch den gesamten Spritzenzylinder 2.1 gezeigt. Insgesamt sind sechs Geometrien angegeben, wovon drei in einem vertikalen Teilschnitt und weitere drei in einem halben Querschnitt durch den Zentrierbereich 11.1 abgebildet sind.
- Der oberste vertikale Teilschnitt zeigt einen konisch ausgestalteten Zentrierbereich 11.11. Der zweite vertikale Teilschnitt zeigt einen angedeuteten konvexen Zentrierbereich 11.12. Der dritte vertikale Teilschnitt zeigt einen umlaufenden bzw. teilweise umlaufenden und mit (gegebenenfalls gerundeten) Rippen oder Stegen versehenen Zentrierbereich 11.13. Diese letzte Art der Ausgestaltung kann auch als Entformungshilfe dienen.
- Der unterste, leere vertikale Teilschnitt dient der Veranschaulichung der Blickrichtung von unten durch den Spritzenzylinder 2.1 auf den mit unterschiedlichen Geometrien ausgestaltbaren Zentrierbereich 11.1. Verschiedene Ausgestaltungen sind dann ganz rechts in den halben Querschnitten dargestellt. Es sind halbe Querschnitte gezeigt, da es sich um Querschnitte durch den links daneben dargestellten Vertikalschnitt durch den Spritzenzylinder 2.1 handelt.
- Der oberste halbe Querschnitt stellt einen abgeflachten, von mehreren Sekanten angeschnittenen Zentrierbereich 11.14 dar. Der mittlere halbe Querschnitt zeigt einen mit Vorsprüngen bzw. Warzen bzw. Stegen versehenen Zentrierbereich 11.15. Der unterste halbe Querschnitt zeigt einen elliptisch geschnittenen Zentrierbereich 11.16.
- Bei all diesen Gestaltungen des Zentrierbereiches 11.1 gilt, dass der kleinste Durchmesser, der sich in einem Abstand von mindestens 3 und bevorzugt maximal 6 mm unterhalb der Oberseite des Zentrierbundes 12.1 befindet, maximal zwischen 16,2 und 17,7 mm beträgt. Der Außendurchmesser eines - weiter unten erläuterten - Zentrierringes zum Zentrieren des Zentrierbereiches muss auch diese Abmessungen haben, da ansonsten der Zentrierring nicht in den Zentrierbereich hineinpasst und seine Funktion nicht erfüllen Kann. Dies ist am Zentrierbereich 11.14 angedeutet, indem dort ein Radius eingezeichnet ist.
- Diese Gestaltungsmöglichkeiten und Abmessungen gelten auch für sämtliche weiteren Spritzen 1.3 bis 1.7 der nachfolgend erläuterten Spritzenfamilie.
- Gemäß
Fig. 3 sind die weiteren Spritzen 1.3 bis 1.7 der Spritzenfamilie mit den Füllvolumina 5 ml, 2,5 ml, 1 ml, 0,5 ml und 0,2 ml entsprechend aufgebaut. Die Teile der weiteren Spritzen 1.3 bis 1.7, die denen der vorbeschriebenen Spritzen 1.1, 1.2 entsprechen, sind mit entsprechenden Bezugsziffern versehen, wobei die vor dem Punkt angeführte Ziffer übereinstimmt und die nach dem Punkt angeführte Ziffer die jeweilige Spritze bezeichnet. - In
Fig. 3b sind die Fließbremsen unterhalb der Zentrierbereiche 11.1, 11.2, 11.3 veranschaulicht. Demnach sind zwischen den Zentrierbereichen 11.1, 11.2, 11.3 und den Übergangsbereichen 10.1, 10.2, 10.3 Ecken vorhanden, in denen beim Spritzgießen die Kunststoffmasse umgelenkt wird, so dass sie eine Fließbremse bilden. Zudem weisen die Zentrierbereiche 11.1, 11.2, 11.3 eine geringere Wandstärke als die benachbarten Übergangsbereiche 10.1, 10.2, 10.3 auf. Bei der 10 ml-Spritze hat der Zentrierbereich 11.1 einen größeren Innendurchmesser als der Kalbenlaufbereich 5.1. Hierdurch werden beim Spritzgießen Druckverluste bewirkt, die ein gleichmäßiges Auffüllen der Zylinderabschnitte 4.1, 4.2, 4.3 mit heißer Kunststoffmasse zur Folge haben. - In
Fig. 4 umfasst ein Spritzgießwerkzeug 31 eine Werkzeugplatte 32 mit einer Heißkanaldüse 33, eine Werkzeugabdeckplatte 34 und eine Abstreifplatte 35. Ferner weist es einen Werkzeugkem 36 auf. Zwischen den vorbezeichneten Bauteilen ist ein Hohlraum 37 gebildet, der die Kontur eines 0,1 ml-Spritzenzylinders 2.2 abbildet. - Die heiße Kunststoffmasse wird durch die Heißkanaldüse 33 in den Hohlraum 37 eingespritzt. Aufgrund der Fließbremse zwischen dem Übergangsbereich 10.2 und dem Zentrierbereich 11.2 werden der Übergangsbereich 10.2 und der Zylinderabschnitt 4.2 des Spritzenzylinders 2.2 gleichmäßig aufgefüllt, so dass der Spritzenzylinder 2.2 dort eine sehr gute Maßhaltigkeit aufweist. Dazu trägt auch bei, dass in den Übergangsbereich 10.2 eingespritzt wird, in dem der Werkzeugkem 36 einen relativ großen Durchmesser hat, so dass keine nachteilige seitliche Auslenkung des Werkzeugkems 36 auftritt, die zu ungleichmäßigen Wandstärken führt.
- Gemäß
Fig. 4b wird der spritzgegossene Spritzenzylinder 2.2 aus dem Spritzgießwerkzeug 31 ausgestoßen, indem die Abstreifplatte 35 von der Werkzeugplatte 32 abgezogen und der Werkzeugkem 36 aus der Abstreifplatte 35 herausgezogen wird. Der Spritzling 2.2 fällt dann aus dem Werkzeug 31 heraus. - Die
Fig. 5 und 6 zeigen, wie der Sprung des Innendurchmessers zwischen Zentriexbereich 11.1 und Kolbenlaufbereich 5.1 der 10 ml-Spritze 1.1 für die Ermittlung von nicht maßhaltigen Spritzenkolben 3.1 genutzt werden kann, bei denen der Außendurchmesser des Kolbenabschnittes 17.1 im Bereich der Dichtlippe 18.1 die Toleranzobergrenze überschreitet. Der Innendurchmesser des Zentrierbereiches 11.1 ist so ausgeführt, dass er der Toleranzobergrenze des Außendurchmessers der Dichtlippe 18.1 entspricht Der Innendurchmesser des Kolbenlaufbereiches 5.1 beträgt 15,96 mm. Nachfolgend werden entsprechende Teile von verschiedenen Spritzenkolben 3.1, deren Abmessungen sich aufgrund von Fertigungstoleranzen unterscheiden, durch Bezugsziffern unterschieden, die in der zweiten Stelle hinter dem Punkt eine unterschiedliche Ziffer haben. - Der Durchmesser der in
Fig. 5 in der linken Position abgebildeten Dichtlippe 18.11 ist zu groß. GemäßFig. 6 werden beim Einschieben dieses Kolbenabschnittes 17.11 von einer in den Einschiebemechanismus integrierten Kraftmessuhr (Kraftmessdose) zwei Kraftanstiegsstufen ermittelt. Hierdurch wird eindeutig angezeigt, dass ein zu großer Spritzenkolben 3.1 vorliegt. Die mangelnde Maßhaltigkeit kann insbesondere auf einer Unrundheit des Kolbsnabschnittes 17,11 beruhen, die einen überhöhten Außendurchmesser der Dichtlippe 18.11 zur Folge hat, die mit der vorbeschriebenen Prüfmethode feststellbar ist. Der inFig. 5 in der rechten Position gezeigte Kolbenabschnitt 17.12 ist mit der Dichtlippe 18.12 innerhalb der Toleranz oder zu klein. GemäßFig. 6 wird bei diesem Spritzenkolben 3.1 nur eine einzige Kraftanstiegsstufe gemessen. -
Fig. 7 und 8 zeigen eine weitere Ausgestaltung mit der auch leicht feststellbar ist, ob der Kolbenabschnitt 17.1 die Toleranzuntergrenze unterschreitet. Diese Ausgestaltung hat einen Zentrierbereich bestehend aus drei Zentrierabschnitten 11.11, 11.12, 11.13, wobei der Innendurchmesser des Zentrierabschnittes 11.12 kleiner als der Innendurchmesser des Zentrierabschnittes 11.11 und der Innendurchmesser des Zentrierabschnittes 11.13 kleiner als der Innendurchmesser des Zentrierabschnittes 11.12 ist. An den Zentrierabschnitt 11.13 schließt sich ein Kolbenlaufbereich 5.1 an, wobei der Innendurchmesser des Kolbenlaufbereiches 5.1 wiederum kleiner als der Innendurchmesser des Zentrierabschnittes 11.13 ist. - Die Innendurchmesser sind so ausgeführt, dass der Innendurchmesser des Zentrierabschnittes 11.11 der Toleranzobergrenze des Außendurchmessers der Dichtlippe 18.1 des Kolbenabschnittes 17.1 entspricht. Der Innendurchmesser des Zentrierabschnittes 11.12 entspricht der unteren Eingriffsgrenze der Außendurchmessers der Dichtlippe 18.1 und der Innendurchmesser des Zentrierbabschnittes 11.13 der unteren Toleranzgrenze für die Dichtlippe 18.1.
- Der in
Fig. 7 links gezeigte Kolbenabschnitts 17.11 hat an der Dichtlippe 18.11 einen zu großen Außendurchmesser. Infolgedessen sind im Kraft/Weg-Diagramm beim Einschieben dieses Kolbenabschnitts 17.11 vier Kraftanstiegsstufen feststellbar. - Der in
Fig. 7 an zweiter Stelle von links gezeigte Kolbenabschnitt 17.12 hat eine Dichtlippe 18.12 mit einem Außendurchmesser an der oberen Toleranzgrenze. Beim Einschieben dieses Kolbenabschnittes 17.12 sind gemäßFig. 8 drei Kraftanstiegsstufen messbar. Dieser Spritzenkolben 3.1 liegt im Toleranzbereich. - Der in
Fig. 7 an dritter Stelle von links gezeigte Kolbenabschnitt 17.13 hat an der Dichtlippe 18.13 einen Außendurchmesser an der unteren Toleranzgrenze. GemäßFig. 8 sind beim Einschieben dieses Kolbenabschnittes 17.13 zwei Kraftanstiegsstufen sichtbar. Dieser Spritzenkolben 3.1 liegt noch im Toleranzbereich. - Der in
Fig. 7 rechts gezeigte Kolbenabschnitt 17.14 hat an der Dichtlippe 18.14 einen zu kleinen Außendurchmesser, der jedoch den Innendurchmesser im Kolbenlaufbereich 5.1 übersteigt. Beim Einschieben dieses Kolbenabschnitts 17.14 ist gemäßFig. 8 eine einzige Kraftanstiegsstufe messbar. Dieser Spritzenkolben 3.1 ist zu klein. - Die Zentrierabschnitte 11.11 bis 11.13 können auch als Prüfabschnitte bezeichnet werden. Dies ist insbesondere der Fall, wenn nur ein Teil der Zentrierabschnitte 11.1 bis 11.13 für eine Zentrierung genutzt wird. Grundsätzlich können aber auch sämtliche Zentrxerabschnitte 11.11 bis 11.13 für die Zentrierung genutzt werden. Die Zentrierung wird weiter unten erläutert.
- Gemäß
Fig. 9 hat eine erfindungsgemäße Dosiervorrichtung 370 ein als länglicher Handgriff ausgebildetes Gehäuse 38. Am unteren Ende des Gehäuses 38 ist eine im Wesentlichen kreiszylindrische Aufnahme 39 für den Zentrierbund 12 des Spritzeiaylinders 2 vorhanden. Die Aufnahme 39 ist durch eine kreisrunde Öffnung 40 an ihrem unteren Ende von außen zugänglich. Am Umfang der Aufnahme 39 stehen radial nach innen mehrere axial gerichtete Führungsnasen 41 vor. - Ferner ist im Gehäuse 38 ein Aufnahmekörper 42 mit einer im Wesentlichen zylindrischen Kolbenaufnahme 43 für ein Kupplungsstück 21 eines Spritzenkolbens 3 vorhanden. Die Kolbenaufnahme 43 ist durch eine weitere kreisrunde Öffnung 44 an ihrem unteren Ende von außen zugänglich.
- Der Aufnahmekörper 42 ist mittels eines nicht gezeigten Repetiermechanismus axial im Gehäuse 38 verlagerbar. Der Repetiermechanismus kann insbesondere so ausgeführt sein, wie in der
DE 29 26 691 C2 und derUS 4 406 170 oder derDE 43 41 229 C2 und derUS 5 620 660 beschrieben. Die diesbezüglichen Erläuterungen der Ausführungsbeispiele aus den verschiedenen Patentschriften sind in die vorliegende Patentanmeldung einbezogen, - Der Repetieunechanismus umfasst einen Aufzugshebel 440, der an der Außenseite des Gehäuses 38 axial verlagerbar ist, wobei in
Fig. 9 der Aufzugshebel 440 in der untersten Position gezeigt ist. Dementsprechend befindet sich auch der Aufnahmekörper 42 in der untersten Position, in der sein unteres Ende etwa auf dem Niveau des Bodens der Aufnahme 39 angeordnet ist. - Ferner umfasst der Repetiermechanismus einen Dosierhebel 45, der oben aus dem Gehäuse 38 heraussteht und schwenkbar im Gehäuse 38 gelagert ist. Der Dosierhebel 45 ist von einer Federeinrichtung so belastet, dass er in seine obersten Stellung gedrückt wird. Durch Schwenken des Dosierhebels 45 nach unten ist der Aufnahmekörper 42 um einen Dosierschritt nach unten verlagerbar. Die Schrittweite des Dosierschrittes ist mittels eines Einstellrädchens 46 einstellbar, das sich am oberen Ende des Gehäuses 38 befindet.
- Ferner sind unten im Gehäuse 38 zwei diametral einander gegenüberliegende Spritzengreifhebel 47 angeordnet. Die Spritzengreifhebel 47 sind schwenkbar im Gehäuse 38 gelagert. Die Spritzengreifhebel 47 haben aus dem Gehäuse 38 außen vorstehende Betätigungstasten 48. Sie durchgreifen Durchbrüche im Gehäuse 38 und haben in die Aufnahme 39 hineinstehende, hakenartige Zylindergreifenden 49.
- Ferner sind zwei Kolbengreifhebel 50 diametral einander gegenüberliegend im Aufnahmekörper 42 gelagert. Die Kolbengreifhebel 50 durchgreifen Durchbrüche im Aufnahmekörper 42, so dass sie mit hakenartigen Kolbengreifenden 51 in die Kolbenaufnahme 43 eingreifen.
- Die Spritzengreifhebel 47 und Kolbengreifhebel 50 sind jeweils zweiarmig mit einem Greifarm und einem Betätigungsarm ausgeführt und im Verbindungsbereich von Greifarm und Betätigungsarm schwenkbar gelagert. Ferner haben die Spritzengreifhebel 47 an den Innenseiten ihrer Betätigungsarme Entriegelungsnocken und die Kolbengreifhebel 50 an den Betätigungsarmen nockenartige Vorsprünge. Nicht gezeigte Federelemente belasten die Spritzengreifhebel 47 und die Kolbengreifhebel 50 so, dass diese jeweils mit ihren Zylindergreifenden 49 bzw. Kolbengreifenden 51 aufeinander zu geschwenkt werden. Die Konstruktion entspricht dem Ausführungsbeispiel gemäß
DE 43 41 229 C2 undUS 5 620 660 . Die diesbezüglichen Ausführungen aus den vorbezeichneten Patentschriften werden die vorliegende Patentanmeldung einbezogen. - Am Boden der Aufnahme 39 ist eine Abtasteinrichtung 52.1 für eine Codierung auf einem Zentrierbund 12 einer Spritze 1 vorhanden, die in
Fig. 10 und11 dargestellt ist. Die Abtasteinrichtung 52.1 hat eine kreisringscheibenfönnige Sensorplatte 53 mit einem zentralen Loch 54 und sieben axial vorstehenden Noppen 55, die gleichmäßig über die Unterseite der Sensorplatte 53 verteilt sind. Jeder Noppen 55 ist mit einem in der Sensorplatte 53 angeordneten Mikroschalter wirkverbunden. Infolge der Betätigung eines Noppens 55 wird der damit wirkverbundene Mikroschalter betätigt. - Ferner umfasst die Abtasteinrichtung 52.1 eine Trägerplatte 56 für die Sensorplatte 53. Die Sensorplatte 53 ist mittels Bolzen 57, die Löcher 58 der Sensorplatte 53 durchgreifen, an der Trägerplatte 56 fixierbar.
- Die Trägerplatte 56 hat ein zentrales Loch 59, dessen Durchmesser dem Durchmesser des Loches 54 der Sensorplatte 53 entspricht. Am Innenumfang des Loches 59 der Trägerplatte 56 ist ein kreishohlzylindrisches Zentrierelement 60.1, (auch "Zentrierrohr" genannt) mit axialem Durchgang fixiert, das am unteren Rand außen eine Fase 61 aufweist. Das Zentrierelement 60.1 greift durch das Loch 54 der Sensorplatte 53 hindurch, wenn die Sensorplatte 53 mittels der Bolzen 57 an der Trägerplatte 56 fixiert ist.
- Von der Oberseite der Trägerplatte 56 stehen Stifte 62 vor, wobei jeweils an einer Ecke ein Stift 62 angeordnet ist. Die Stifte 62 sind fest mit der Trägerplatte 56 verbunden.
- Auf den Stiften 62 sind Schraubenfedern 63 geführt.
- Ferner ist eine Halteplatte 64 vorhanden, die ebenfalls ein zentrales Loch 65 aufweist, dessen Durchmesser etwa dem Durchmesser der Löcher 54, 59 entspricht. Die Halteplatte 64 hat an den Ecken jeweils eine Bohrung 66, in die jeweils ein Stift 62 der Trägerplatte 56 einschiebbar ist.
- Wenn die Stifte 62 in die Bohrungen 66 eingesetzt sind, sind die Schraubenfedern 63 unter leichter Vorspannung zwischen der Trägerplatte 56 und der Halteplatte 64 angeordnet. Dieser Zustand ist in
Fig. 11 gezeigt. - Ferner hat die Halteplatte 64 an einander gegenüberliegenden Seiten axial gerichtet Federhaken 67 mit jeweils einem Hakenende 68, die beim Zusammenfügen von Trägerplatte 56 und Halteplatte 64 durch seitliche Nuten 69 der Trägerplatte 56 gleiten und schließlich mit den Hakenenden 68 die Unterseite der Trägerplatte 56 übergreifen. Dies ist ebenfalls in
Fig. 11 gezeigt. Die Federhaken 67 halten die Anordnung aus Trägerplatte 56 und Halteplatte 64 zusammen. - Die in
Fig. 11 gezeigte Anordnung ermöglicht ein Zusammenfedern von Trägerplatte 56 und Halteplatte 64. - Einzelheiten einer Sensorplatte 53 sind im Ausführungsbeispiel der
EP 0 657 216 B1 und derUS 5 620 661 beschrieben. Die diesbezüglichen Ausführungen in den vorgenannten Patentschriften werden in die vorliegende Patentanmeldung einbezogen. - Gemäß
Fig. 11 ist eine Spritze 1 an die Abtasteinrichtung 52.1 angesetzt. Die Spritze 1 liegt mit der Oberseite des Zentrierbundes 12 an der Sensorplatte 53 an. Somit kann eine an der Anlagefläche angeordnete Codierung mittels der Noppen 55 abgetastet werden. - Das Zentrierelement 60.1 mit axialem Durchgang greift in den Zentrierbund 12 ein. Dabei liegt Zentriereletnent 60.1 mit axialem Durchgang am zylindrischen Zentrierbereich 11 an.
- Die vorbeschriebene Anordnung aus Sensorplatte 53, Trägerplatte 56, Zentrierelement 60.1 mit axialem Durchgang und Halteplatte 64 ist in das Gehäuse 38 der Dosiervorrichtung 370 von
Fig. 9 eingebaut. Dabei ist die Halteplatte 64 im Gehäuse 38 fixiert. Die Sensorplatte 53 bildet den Boden der Aufnahme 39. Von diesem Boden steht das Zentrierelement 60.1 in die Aufnahme 39 hinein. Der Aufnahmekörper 42 ist durch die Öffnung 40 der Aufnahme und die Löcher 59 und 65 der Abtasteinrichtung 52.1 von außen zugänglich. -
Fig. 12 zeigt eine Dosiervorrichtung 370 mit einer eingesetzten Spritze 1. Die Spritze 1 ist mit dem Zentrierbund 12 durch die Öffnung 40 in die Aufnahme 39 eingesetzt. Hierbei wird die Spritze 1 von den Ausrichtnasen 30 an den Führungsnasen 41 geführt, so dass die Codierungen an der Anlagefläche 15 den Noppen 55 genau zugeordnet sind. Die Spntzengreifhebel 47 gleiten aufgrund der Federwirkung mit ihren Zylindergreifenden 49 über den Rand des Zentrierbundes 12, bis sie unter seine Unterseite schnappen. Wenn die Anlagefläche 15 an der Sensorplatte 53 anliegt, wird der Zentrierbund 12 an der Unterseite von den Zylindergreifenden 49 der Spritzengreifhebel 47 hintergriffen. - Beim Einsetzen der Spritze 1 ist der Aufnahmekörper 42 in seiner tiefsten Position angeordnet. In dieser Position greift das Kupplungsstück 21 in die Kolbenaufnahme 43 ein. Die Kolbengreifhebel 50 gleiten mit ihren Greifenden 51 über das Kupplungsstück 21, bis sie hinter einen Kolbenbund 22 in eine Nut 23 schnappen.
- Ferner dringt beim Einsetzen der Spritze 1 das Zentrierelement mit axialem Durchgang 60.1 in den Zentrierbereich 11 ein, so dass die Spritze 1 in der Dosiervorrichtung 370 fixiert ist. Dadurch, dass das Zentrierelement 60.1 federnd gelagert ist, kann es leicht in den Zentrierbereich 11 eindringen, auch wenn die Spritze 1 etwas schräg an das Zentrierelement 60.1 angesetzt wird.
- Durch diese Zentrierung wird die Spritze 1 genau in ihren Sitz in der Aufnahme 39 und der Kolbenaufnahme 43 positioniert, so dass sie exakt von den Greifeimichtungen 47, 50 gegriffen wird. Ferner korrigiert das Zentrierelement mit axialem Durchgang 60.1 eventuelle Unrundheiten des Spritzenzylinders 2. Des Weiteren hält das Zentrierelement 60.1 die Spritze 1 in korrekter Ausrichtung, auch wenn das Spitzende 8 der Spritze 1 aufgesetzt und eine Querkraft in die Spritze 1 eingeleitet wird.
-
Fig. 13 zeigt eine alternative Abtasteinrichtung 52.2, bei der das Zentrierelement 60.2 an einer Halteplatte 64 fixiert ist. Die Abtasteinrichtung 52.2 kann anstatt der Abtasteinrichtung 52.1 in der Dosiervorrichtung 370 montiert werden. Dabei wird die Halteplatte 64 im Gehäuse 38 fixiert. Bei dieser Ausgestaltung unterliegt die Spritze 1 einer noch geringeren Auslenkung bei Belastung durch eine Querkraft. - Gemäß
Fig. 14 weist eine Spritze 1 im Zentrierbereich 11 axial erstreckte Nuten 70 auf. Ferner weist das Zentrierelement mit axialem Durchgang 60.3 außen am Umfang axial erstreckte Rippen 71 auf, die in die Nuten 70 hineinpassen. Wenn die Spritze 1 auf das Zentrierelement 60.3 aufgeschoben ist, verhindert das Ineinandergreifen von Nuten 70 und Rippen 71 ein Verdrehen der Spritze 1 bezüglich der Aufnahme 39. Hierdurch wird eine Beschädigung der Sensorplatte 53 vermieden. - Gemäß
Fig. 15 weist ein Deckel 72 einer nicht gezeigten Box bzw. ein Tray eine Platte 73 auf, die mehrere nach oben vorstehende Trägerhülsen 74 aufweist. Spritzen 1.1, 1.2, 1.4 verschiedener Größe sind mit ihrem Zentrierbund 12.1, 12.2, 12.4 oben auf den Rand der Trägerhülsen 74 aufgesetzt. Dabei werden sie am Außenumfang des Zentrierbereiches 11.1, 11.2, 11.4 in den Trägerbülsen 74 geführt. Die außen konischen Übergangsbereiche 10.1, 10.2, 10.4 stellen sicher, dass die Spritzen 1.1, 1.2, 1.4 genau in die korrekte Halteposition geführt werden. - Gemäß
Fig. 16 hat eine Spritze 1.8 einen Spritzenzylinder 2.8 mit einem Zylinderabschnitt 4.8, der innen einen zylindrischen Kolbenlaufbereich 5.8 aufweist. Der Zylinderabschnitt 4.8 hat unten einen Boden 6.8 mit einem zentralen Loch 7.8, dessen Rand mit einem konischen Spitzenabschnitt 8.8 der einen stärker konischen Konusabschnitt 9.8 am unteren Ende aufweist. - Der Zylinderabschnitt 4.8 hat am oberen Rand zwei diametral einander gegenüberliegende, nach außen radial vorstehende Vorsprünge 75 einer Bajonettverbindung.
- Ferner umfasst der Spritzenzylinder 2.8 einen Adapter 76, der im wesentlichen hülsenförmig ausgebildet ist. Der Adapter 76 hat an der Innenseite vom unteren Rand ausgehende Axialnuten 77 der Bajonettverbindung, die an einem axialen Abstand vom unteren Rand enden. Die Axialnuten 77 sind an zwei diametral einander gegenüberliegenden Innenseiten des Adapters 76 angeordnet. Oben münden die Axialnuten 77 in Umfangsnuten 78 der Bajonettverbindung.
- Der Spritzenzylinder 2.8 ist in
Fig. 16 mit den Vorsprüngen 75 durch die Axialnuten 77 eingeschoben und in die Umfangsnuten 78 eingedreht, bis zum Ende der jeweiligen Umfangsnut 78. Durch diese Bajonettverbiridung 75, 77, 78 ist der Spritzenzylinder 2.8 mit dem Adapter 76 verbunden. - Der Adapter 76 hat oberhalb eines Zwischenbodens 79, der die Umfangsnuten 78 oben begrenzt, einen Zentrierbereich 11.8. Der Adapter 76 hat am oberen Rand einen radial nach außen vorstehenden Zentrierbund 12.8, der oben eine Anlagefläche 15.8 mit Codierungen aufweist.
- Der Zwischenboden 79 hat eine große Durchgangsöffhung 80, durch die ein Spritzenkolben 3.8 in den Spritzenzylinder 2.8 eingesetzt ist. Der Spritzenkolben 3.8 hat einen Kolbenabschnitt 17.8 mit einer umlaufenden Dichtlippe 18.8 am Umfang. Unten ist der Kolbenabschnitt 17.8 mit einem Kolbenspitzenabschnitt 19.8 verbunden und oben ist er mit einer Kolbenstange 20.8 versehen. Die Kolbenstange 20.8 weist oben ein Kupplungsstück 21.8 auf. Unterhalb des Kupplungsstückes 21.8 ist die Kolbenstange 20.8 mit einer Scheibe 24.8 versehen und darunter sitzen radial vorstehende Flügel 25.8 auf der Kolbenstange 3.8.
- Diese Spritze 1.8 ist mit dem Adapter 76 in die Aufnahme 39 und mit dem Kupplungsstück 21.8 in den Aufnahmekörper 42 einer Dosiervorrichtung 370 einsetzbar, wie dies für die Spritze 1 anhand von
Fig. 12 oben erläutert ist. Dabei wird der Adapter von dem Zentrierelement 60.1 im Zentrierbereich geführt, so dass die Spritze 1.8 zentriert wird. - Gemäß dem nachfolgenden Untersuchungsbericht sind die Auslenkungen der in der Dosiervorrichtung 370 gehaltenen Spritze 1 (vgl.
Fig. 12 ) unter Belastung im Vergleich zu einer Dosiervorrichtung, die keine Zentrierung der Spritze aufweist, äußerst gering. - In dem Untersuchungsbericht sind die untersuchten Spritzen auch als "Combitips®", die untersuchten Dosiervorrichtungen auch als "Multipette®" und das Zentrierelement als "Zentrierrohr" oder "Zentrierhülse." oder "Zentrierring" bezeichnet.
- Es sollte untersucht werden, in welchem Maß sich das Kippen des Combitips® zur Multipette durch einen Zentrierring an der Multipette® reduzieren lässt. Bisheriger Stand: Wird beim Abgeben eines Volumenes an eine Gefäßwandung zu stark an das Gefäß gedrückt, kippt der Combitip® gegenüber der Multipette®. Hierbei federt der Combitipzylinder mit der verfederten Schaltmatte einseitig ein. Da der Kolben jedoch nicht mit verfedert, kann es zu einer Bewegung zwischen Combitzpzylindcr und Combitipkolben kommen. Hierdurch kann es wiederrum zu Dosierfehlem kommen. Kippt die Zylinder zu stark, wird in der Multipette® eine Störungsmeldung ausgegeben. Diese kann nur durch ein Verfahren in die Nullposition beseitigt werden.
- Mit einer nicht verfederten Zentrierhülse (siehe
Fig. 17a ) in der Multipette® wurde die Kraft, die zum Kippen des Zylinders notwendig ist, um. 78% gegenüber einer serienmäßigen Multipette® erhöht. Bei einer Multipette® mit verfederter Zentrierhülse (sieheFig. 17b ) wurde die Kraft, die zum Kippen notwendig ist, um 40% erhöht. - Verglichen wurden die Prototypen mit einer serienmäßigen Multipette® X-Stream. Für die Versuche wurden zwei Multipetten® umgebaut. Die Schaltmatten mit den Aufnahmeplatten wurden wie folgt verändert.
- In
Fig. 17a ist die Zentrierhülse nicht verfedert an der Stützplatte befestigt gezeigt. Die Anordnung vonFig. 17a entspricht der inFig. 13 gezeigten Anordnung. InFig. 17b ist die Zentrierhülse am Boden befestigt, sodass die Zentrierhülse mitverfedert ist. Die Anordnung vonFig. 17b entspricht der in denFiguren 10 und11 gezeigten Anordnung. Die verwendeten Serienbauteile eines Dispensers vom Typ Multipette® wurden nicht verändert. - Für die Messungen wurden 10ml Combitip® plus verwendet. Die Zentrierhülsen wurden auf diesen Durchmesser abgestimmt.
- Die Messungen wurden auf einer Zug/-Druckmaschine (Typ Z005) der Firma Zwick Roell durchgeführt.
- Die Prüfgeschwindigkeit betrug 50mm/min. Die Messungen wurden nach 0,1N Vorkraft gestartet.
-
Fig. 18 (Tabelle und Grafik) zeigt den Vergleich eines herkömmlichen Dispensers vom Typ Mulitipette® mit einer erfindungsgemäßen Dosiervorrichtung mit verfederter Zentrierhülse sowie mit einer erfindungsgemäßen Dosiervorrichtung mit nicht verfederter Zentrierhülse. In den Messungen 1 und 2 (sieheFig 18a : Tabelle) wurde eine Serien-Multipette® verwendet. Für die Messungen 3 und 4 wurde eine Prototyp-Mulipette® mit nicht-verfederter Zentrierhülse - wie inFig 17a gezeigt - verwendet. Die Messungen 5 und 6 wurden mit einer Prototyp-Mulipette® mit verfederter Zentrierhülse - wie inFig. 17b gezeigt- durchgeführt. Eine grafische Darstellung der Ergebnisse ist inFig. 18b gezeigt, wobei a die Ergebnisse mit dem herkömmlichen Dispenser zeigt, b die Ergebnisse mit dem Dispenser mit der verfederten Zentrierhülse und c die Ergebnisse mit dem Dispenser mit der nichtverfederten Zentrierhülse. - Gemäß dem nachfolgenden Untersuchungsbericht werden bei einem herkömmlichen Dosiersystem, das keine Zentrierung der Spritze in der Dosiervorrichtung ausweist, Dosierfehler durch Auslenkung der Spritze infolge einer Querkraft verursacht. Dementsprechend sind mit erfindungsgemäßen Spritzen 1 und Dosiervorrichtung 370 erheblich genauere Dosierungen möglich.
- In dem Untersuchungsbericht sind die untersuchten Spritzen auch als "Combxtips®", die untersuchten Dosiervorrichtungen auch als "Multipette®" und das Zentrierelement als "Zentrierrohr" oder "Zentrierhülse" oder "Zentrierring" bezeichnet.
- In der vorstehenden Untersuchung wurde u.a. die Kraft ermittelt die zum Kippen des Combitips® notwendig ist. Hintergrund: Wird beim Abgeben eines Volumens an eine Gefäßwandung zu stark an das Gefäß gedrückt, kippt der Combitip® gegenüber der Multipette. Hierbei federt der Combitipzylinder mit der verfederten Schaltmatte einseitig ein. Es sollte nun untersucht werden, wie groß der volumetrische Fehler durch das Kippen des Combitips® ist.
- Wird der Combitip® um 1mm gegenüber der Multipette® gekippt - hierfür wird weniger als 1N Kraft benötigt- ergibt sich bei einem Volumen von 5ml ein Fehler der doppelt so groß sein kann wie die zulässige Unrichtigkeit (nach Eppendorf Spezifikation).
- Die Untersuchung wurde mit einer serienmäßigen Multipette® X-stream und einem 50ml Combitip® plus durchgeführt. Aus messtechnischen Gründen wurde für diesen Versuch der größte Combitip® ausgewählt.
- Der Versuchaufbau aus der vorstehenden Untersuchung ist um eine Mettler AE 163 Waage, die unter den Combitip® gestellt wurde, erweitert worden. Die Combitip® wurden mit Wasser befüllt. Durch das Abgeben des Umkehrhubs über Kopf wurde die Luftblase heraus gedrückt. Vor der Messung wurde 90% des Wassers wieder abgegeben. Der Kolben stand bei den Messungen somit 5mm oberhalb der Resthubstellung. Für jeden Versuch wurde der Combitip® neu befüllt. Da sich abgegebene Kleinstvolumen bei langsamer Abgabegeschwindigkeit meist als Tropfen am Austritt des Combitips® sammeln, wurde die durch das Kippen heraus gedrückte Flüssigkeit mit einem ca. 10cm2 großem Kimberly Clark Tuch aufgesogen. Die Auffangschale unter dem eingespannten Combitip® mit dem Tuch wurde vor und nach dem Versuch gewogen.
- Bei dem Messaufbau wurde die Zug-/Druckmaschine Typ Z005 der Firma Zwick / Roell mit der Waage verwandt.
- Die Prüfgeschwindigkeit betrug 50mm/min. Die Messungen wurden nach 0,1N Vorkraft gestartet.
-
Um den 50ml Combitip® gegenüber der Multipette® X-Stream um 2mm zu kippen waren 1,2 bis 1,3N erforderlich.Auslenkung Versuch heraus
gedrücktes
Vol.Beobachtung 1mm 1 0,03g =
0,03mlDer heraus gedrückte Topfen bleibt am Tip hängen 0,03ml ist etwa eine Kugel mit 3,9mm Durchmesser 1mm 2 0,02g =
0,02ml1mm 3 0,02g =
0,02ml2mm 4 0,055g =
0,055mlEin Tropfen fällt, der zweite bleibt hängen 0,065ml ist etwa eine Kugel mit 5mm Durchmesser 2mm 5 0,06g =
0,06ml2mm 6 0,07g =
0,07ml - Die Eppendorf Spezifikation für die Multipette® Xstream in Verbindung mit einem 50ml plus:
Volumen Unrichtigkeit Unpräzision 5.000µl ±0,3% ≤ 0,25% 50.000µl ±0,3% ≤ 0,15% -
Bei einem Volumen von 50.000µl 0,03ml/50ml * 100% = 0,06% Bei einem Volumen von 5.000µl 0,03ml/5ml * 100% = 0,6% größer als Eppendorf-Spezifikation -
Bei einem Volumen von 50.000µl 0,06ml/50ml *100% = 0,12% Bei einem Volumen von 5.000µl 0,06ml/5ml *100% = 1,2% größer als Eppendorf-Spezißkation -
- 1
- Spritze
- 2
- Spritzenzylinder
- 3
- Spritzenkolben
- 4
- Zylinderabschnitt
- 5
- Kolbenlaufbereich
- 6
- Boden
- 7
- Loch
- 8
- Spritzenabschnitt
- 9
- Konusabschnitt
- 10
- Übergangsbereich
- 11
- Zentrierbereich
- 12
- Zentrierbund
- 13
- Anlageabschnitt
- 14
- Mantelabschnitt
- 15
- Anlagefläche
- 16
- Einführbereich
- 17
- Kolbenabschnitt
- 18
- Dichtlippe
- 19
- Kolbenspitzenabschnitt
- 20
- Kolbenstange
- 21
- Kupplungsstück
- 22
- Kolbenbund
- 23
- Nut
- 24
- Scheibe
- 25
- Flügel
- 26
- Außenkanten
- 27
- Anschrägung
- 28
- Außenkante
- 29
- Anschrägung
- 290
- Ringspalt
- 30
- Ausrichtnase
- 31
- Spritzgießwerkzeug
- 32
- Werkzeugplatte
- 33
- Heißkanaldüse
- 34
- Werkzeugabdeckplatte
- 35
- Abstreifplatte
- 36
- Werkzeugkern
- 37
- Hohlraum
- 370
- Dosiervorrichtung
- 38
- Gehäuse
- 39
- Aufnahme
- 40
- Öffnung
- 41
- Führungsnase
- 42
- Aufnahmekörper
- 43
- Kolbenaufnahme
- 44
- Öffnung
- 440
- Aufzugshebel
- 45
- Dosierhebel
- 46
- Einstellrädchen
- 47
- Spritzengreifhebel
- 48
- Betätigungstasten
- 49
- Zylindergreifenden
- 50
- Kolbengreifhebel
- 51
- Kolbengreifenden
- 52
- Abtasteinrichtung
- 53
- Sensorplatte
- 54
- Loch
- 55
- Noppen
- 56
- Trägerplatte
- 57
- Bolzen
- 58
- Löcher
- 59
- Loch
- 60
- Zentrierelement
- 61
- Fase
- 62
- Stift
- 63
- Schraubenfeder
- 64
- Halteplatte
- 65
- Loch
- 66
- Bohrung
- 67
- Federhaken
- 68
- Hakenende
- 69
- Nuten
- 70
- Nuten
- 71
- Rippen
- 72
- Deckel
- 73
- Platte
- 74
- Trägerhülsen
- 75
- Vorsprung
- 76
- Adapter
- 77
- Axialelement
- 78
- Umfangsnut
- 79
- zwischenboden
- 80
- Durchgangsöfhnung
Claims (17)
- Spritze für den Gebrauch mit einer Dosiervorrichtung (370) mit einem Zentrierelement (60) mit axialem Durchgang in einer Aufnahme (39) für einen Spritzenzylinder (2) und einer axial verlagerbaren Kolbenaufnahme (43) für einen Spritzenkolben (3) mit- einem Spritzenzylinder (2)- und einem Spritzenkolben (3), wobei- der Spritzenzylinder (2) unten einen Austritt,- oben am Außenumfang einen Zentrierbund (12) zum Einsetzen in die Aufnahme (39),- einen mit dem Austritt verbundenen zylindrischen Kolbenlaufbereich (5) mit einem ersten Innendurchmesser, in dem der Spritzenkolben (3) abdichtend geführt ist, und- zumindest in einem Abstand von mindestens 3 mm vom oberen Ende des Spritzenzylinders einen Zentrierbereich (11) zum Einführen des Zentnerelementes (60) aufweist, der einen zweiten Innendurchmesser hat, der den ersten Innendurchmesser überschreitet und zumindest 16,2 mm und höchstens 17,7 mm beträgt,- und der Spritzenkolben (3) am oberen Ende ein Kupplungsstück (21) zum Einsetzen in die Kolbenaufnahme (43) aufweist.
- Spritze nach Anspruch 1, bei der die Wandstärke des Spritzenzylinders (2) im zylindrischen Kolbenlaufbereich (5) größer als im Zentrierbereich (11) ist.
- Spritze nach Anspruch 1 oder 2 mit einem konischen Einführbereich (16) am oberen Ende des Zentrierbereiches (11) und/oder einem konischen Übergangsbereich (10) zwischen dem Zentrierbereich (11) und dem zylindrischen Kolbenlaufbereich (5) des Spritzenzylinders (2).
- Spritze nach einem der Ansprüche 1 bis 3, bei der der Zentrierbund (12) innen eine Kontur mit Vorsprüngen und/oder Vertiefungen (69) aufweist, wobei die Kontur einen gedachten Zylinder mit dem zweiten Innendurchmesser außen tangiert.
- Spritze nach einem der Ansprüche 1 bis 4, bei der der Zentrierbund (12) einen Außendurchmesser von ca. 21 bis 24mm und/oder eine Höhe ca. 3,2 bis 4,5 mm und/oder der Zentrierbereich einen Abstand von mindestens 3 bis 6mm vom oberen Ende des Spritzenzylinders aufweist.
- Spritze nach einem der Ansprüche 1 bis 5, bei der Spritzenkolben (3) oben unterhalb eines Kupplungsstückes (21) eine Scheibe (24) und/oder axial erstreckte Flügel (25) aufweist und zwischen der Scheibe (24) und/oder den Flügeln (25) und dem zylindrischen Zentrierbereich ein Ringspalt (290) mit einer Spaltweite von 0,5 bis 2,5mm vorhanden ist.
- Spritze nach einem der Ansprüche 1 bis 6, die ein Füllvolumen ausgewählt aus den Volumina 10 ml, 5 ml, 2,5 ml, 1 ml, 0,5 ml, 0,2 ml, 0,1 ml aufweist.
- Spritzenfamilie für den Gebrauch mit einer Dosiervorrichtung (370) mit einem Zentrierelement (60) mit axialem Durchgang in einer Aufnahme (39) für einen Spritzenzylinder (2) und einer axial verlagerbaren Kolbenaufnahme (43) für einen Spritzenkolben (3) umfassend- mehrere Spritzen (1) mit verschiedenen Füllvolumina mit jeweils- einem Spritzenzylinder (2)- und einem Spritzenkolben (3), wobei- der Spritzenzylinder (2) unten einen Austritt,- oben am Außenumfang einen Zentrierbund (12) zum Einsetzen in die Aufnahme (39),- einen mit dem Austritt verbundenen zylindrischen Kolbenlaufbereich (5) mit einem ersten Innendurchmesser, in dem der Spritzenkolben (3) abdichtend geführt ist, und- zumindest in einem Abstand von mindestens 3 mm vom oberen Ende des Spritzenzylinders einen Zentrierbereich (11) zum Einsetzen des Zentrierelementes aufweist,- der Spritzenkolben (3) am oberen Ende ein Kupplungsstück (21) zum Einsetzen in die Kolbenaufnahme (43) aufweist- und die Zentrierbereiche (11) von Spritzen (1) mit verschiedenen Füllvolumina innen eine übereinstimmende Kontur aufweisen.
- Spritzenfamilie nach Anspruch 8, bei der die Außendurchmesser der Zentrierbunde (12) und/oder die Höhen der Zentrierbunde (12) und/oder die Höhen der Zentrierbereiche (11) von Spritzen (1) mit verschiedenen Füllvolumina übereinstimmen.
- Spritzenfamilie nach Anspruch 8 oder 9, bei dem die Spritzen (1) gemäß einem der Ansprüche 1 bis 8 ausgestaltet sind.
- Dosiervorrichtung für den Gebrauch mit einer Spritze (1) mit einem Spritzenzylinder (2) und einem Spritzenkolben (3), wobei der Spritzenzylinder (2) unten einen Austritt, oben am Außenumfang einen Zentrierbund (12), einen mit dem Austritt verbundenen Kolbenlaufbereich (5), in dem der Spritzenkolben (3) abdichtend geführt ist, und weiter oben einen Zentrierbereich (11) und ein Kupplungsstück (21) am oberen Ende des Spritzenkolbens (3) aufweist oder für den Gebrauch mit einer mehrere solcher Spritzen umfassenden Spritzenfamilie mit- einem Gehäuse (38) umfassend- eine Aubahne (39) für den Zentrierbund (12) des Spritzenzylinders (2) mit einer Axialöffnung (40) zum axialen Einsetzen des Zentrierbundes (12) in eine Befestigungsposition,- ein in der Aufnahme (39) angeordnetes, auf die Axialöffnung (40) ausgerichtetes Zentrierelement (60) mit axialem Durchgang zum axialen Einsetzen in den zylindrischen Zentrierbereich (11) des Spritzenzylinders (2),- einen Aufnahmekörper (42) mit einer Kolbenaufnahme (43) zum axialen Einsetzen eines Kupplungsstückes (21) in eine Befestigungsposition,- Befestigungseinrichtungen (47, 50) zum lösbaren Halten von Zentrierbund (12) und Kupplungsstück (21) in ihren Befestigungspositionen in der Aufnahme (39) und in der Kolbenaufnahme (43),- wobei die Befestigungseinrichtungen (47, 50) radial zustellbare Greifeinrichtungen zum Greifen des Zentrierbundes (12) und des Kupplungsstückes (21) in den Befestigungspositionen aufweisen, und- Kolbenstelleinrichtungen zum Verschieben des Aufnahmekörpers (42) im Gehäuse (38).
- Dosiervorrichtung nach Anspruch 11, bei der das Zentrierelement (60) im Kontaktbereich mit der Zentfierfläche einen Außendurchmesser von 16,2 bis 17,7mm und/oder eine Wandstärke von 0,4 bis 2.5mm aufweist und/oder bezüglich eines Anschlages für die Oberseite des Zentrierbundes (12) 2,2 bis 6 mm vorsteht.
- Dosiervorrichtung nach Anspruch 11, oder 12, bei der das Zentrierelement (60) außen eine Kontur mit Vorsprüngen (70) und/oder Vertiefungen aufweist, wobei die Kontur einen gedachten Zylinder mit dem zweiten Außendurchmesser außen tangiert.
- Dosiervorrichtung nach einem der Ansprüche 11 bis 13, bei der das Zentrierelement (60) starr bezüglich der Aufnahme (39) angeordnet oder bezüglich der Aufnahme (39) in Axialrichtung verfedert ist.
- Dosiervorrichtung nach einem der Ansprüche 11 bis 14 umfassend eine Spritze gemäß Anspruch 1 bis 9 oder mindestens eine Spritze der Spritzenfamilie gemäß einem der Ansprüche 9 bis 11.
- Verwendung einer Spritze gemäß einem der Ansprüche 1 bis 7 und/oder einer Spritze aus einer Spritzenfamilie gemäß einem der Ansprüche 8 bis 10 in einer Dosiervorichtung zur Aufnahme und Abgabe von Flüssigkeiten.
- Verwendung einer Dosiervorichtung gemäß einem der Ansprüche 11 bis 15 mit einer Spritze gemäß einem der Ansprüche 1 bis 10 zur Aufnahme und Abgabe von Flüssigkeiten.
Priority Applications (6)
| Application Number | Priority Date | Filing Date | Title |
|---|---|---|---|
| EP19154709.0A EP3498376B1 (de) | 2009-07-27 | 2009-07-27 | Spritze, spritzenfamilie und dosiervorrichtung |
| DK14174635.4T DK2818245T3 (da) | 2009-07-27 | 2009-07-27 | Sprøjte, sprøjtefamilie og doseringsindretning |
| EP09009693.4A EP2279791B1 (de) | 2009-07-27 | 2009-07-27 | Spritze, Spritzenfamilie und Dosiervorrichtung |
| EP14174635.4A EP2818245B1 (de) | 2009-07-27 | 2009-07-27 | Spritze, spritzenfamilie und dosiervorrichtung |
| PL09009693T PL2279791T3 (pl) | 2009-07-27 | 2009-07-27 | Strzykawka, rodzina strzykawek i urządzenie dozujące |
| DK19154709.0T DK3498376T3 (da) | 2009-07-27 | 2009-07-27 | Sprøjte, sprøjtefamilie og doseringsindretning |
Applications Claiming Priority (1)
| Application Number | Priority Date | Filing Date | Title |
|---|---|---|---|
| EP09009693.4A EP2279791B1 (de) | 2009-07-27 | 2009-07-27 | Spritze, Spritzenfamilie und Dosiervorrichtung |
Related Child Applications (3)
| Application Number | Title | Priority Date | Filing Date |
|---|---|---|---|
| EP19154709.0A Division EP3498376B1 (de) | 2009-07-27 | 2009-07-27 | Spritze, spritzenfamilie und dosiervorrichtung |
| EP14174635.4A Division-Into EP2818245B1 (de) | 2009-07-27 | 2009-07-27 | Spritze, spritzenfamilie und dosiervorrichtung |
| EP14174635.4A Division EP2818245B1 (de) | 2009-07-27 | 2009-07-27 | Spritze, spritzenfamilie und dosiervorrichtung |
Publications (2)
| Publication Number | Publication Date |
|---|---|
| EP2279791A1 true EP2279791A1 (de) | 2011-02-02 |
| EP2279791B1 EP2279791B1 (de) | 2014-11-12 |
Family
ID=41629839
Family Applications (3)
| Application Number | Title | Priority Date | Filing Date |
|---|---|---|---|
| EP09009693.4A Active EP2279791B1 (de) | 2009-07-27 | 2009-07-27 | Spritze, Spritzenfamilie und Dosiervorrichtung |
| EP19154709.0A Active EP3498376B1 (de) | 2009-07-27 | 2009-07-27 | Spritze, spritzenfamilie und dosiervorrichtung |
| EP14174635.4A Active EP2818245B1 (de) | 2009-07-27 | 2009-07-27 | Spritze, spritzenfamilie und dosiervorrichtung |
Family Applications After (2)
| Application Number | Title | Priority Date | Filing Date |
|---|---|---|---|
| EP19154709.0A Active EP3498376B1 (de) | 2009-07-27 | 2009-07-27 | Spritze, spritzenfamilie und dosiervorrichtung |
| EP14174635.4A Active EP2818245B1 (de) | 2009-07-27 | 2009-07-27 | Spritze, spritzenfamilie und dosiervorrichtung |
Country Status (3)
| Country | Link |
|---|---|
| EP (3) | EP2279791B1 (de) |
| DK (2) | DK2818245T3 (de) |
| PL (1) | PL2279791T3 (de) |
Cited By (2)
| Publication number | Priority date | Publication date | Assignee | Title |
|---|---|---|---|---|
| EP2574402A1 (de) | 2011-09-30 | 2013-04-03 | Eppendorf Ag | Spritze mit Spritzenzylinder mit Kodierung und Prüfelementen |
| CN114786816A (zh) * | 2019-12-06 | 2022-07-22 | 埃佩多夫欧洲股份公司 | 移液器吸头套件和移液器套件 |
Families Citing this family (1)
| Publication number | Priority date | Publication date | Assignee | Title |
|---|---|---|---|---|
| PL3260822T3 (pl) | 2016-06-21 | 2021-02-08 | Eppendorf Ag | Wielokanałowa strzykawka do stosowania z urządzeniem dozującym |
Citations (7)
| Publication number | Priority date | Publication date | Assignee | Title |
|---|---|---|---|---|
| DE2736551A1 (de) | 1976-08-25 | 1978-03-02 | Oxford Lab | Pipette |
| DE2926691C2 (de) | 1979-07-02 | 1983-05-26 | Eppendorf Gerätebau Netheler + Hinz GmbH, 2000 Hamburg | Repetierpipette |
| US4474071A (en) | 1981-10-28 | 1984-10-02 | Marteau D Autry Eric | Pipette |
| EP0657216A2 (de) * | 1993-12-10 | 1995-06-14 | Eppendorf-Netheler-Hinz Gmbh | Pipettensystem |
| DE4341229C2 (de) | 1993-12-03 | 1995-09-07 | Eppendorf Geraetebau Netheler | Pipettensystem |
| DE102004063652A1 (de) * | 2004-12-31 | 2006-07-13 | Tecpharma Licensing Ag | Vorrichtung zur dosierten Verabreichung eines fluiden Produkts mit koaxialer Dosisanzeige |
| US20060263261A1 (en) | 2005-05-20 | 2006-11-23 | Jurgen Lenz | Pipette |
Family Cites Families (3)
| Publication number | Priority date | Publication date | Assignee | Title |
|---|---|---|---|---|
| FI116613B (fi) * | 2003-10-17 | 2006-01-13 | Biohit Oyj | Pipetin kärjen kiinnitysmenetelmä ja laite menetelmän toteuttamiseksi |
| DE102007042115B4 (de) * | 2007-09-05 | 2010-12-02 | Eppendorf Ag | Pipette |
| US8703071B2 (en) * | 2007-10-10 | 2014-04-22 | Etp Mass Spectrometry Pty Ltd | Syringe system |
-
2009
- 2009-07-27 DK DK14174635.4T patent/DK2818245T3/da active
- 2009-07-27 DK DK19154709.0T patent/DK3498376T3/da active
- 2009-07-27 EP EP09009693.4A patent/EP2279791B1/de active Active
- 2009-07-27 EP EP19154709.0A patent/EP3498376B1/de active Active
- 2009-07-27 EP EP14174635.4A patent/EP2818245B1/de active Active
- 2009-07-27 PL PL09009693T patent/PL2279791T3/pl unknown
Patent Citations (12)
| Publication number | Priority date | Publication date | Assignee | Title |
|---|---|---|---|---|
| DE2736551A1 (de) | 1976-08-25 | 1978-03-02 | Oxford Lab | Pipette |
| DE2926691C2 (de) | 1979-07-02 | 1983-05-26 | Eppendorf Gerätebau Netheler + Hinz GmbH, 2000 Hamburg | Repetierpipette |
| US4406170A (en) | 1979-07-02 | 1983-09-27 | Eppendorf Geratebau Netheler & Hinz Gmbh | Repeating pipetting device |
| US4474071A (en) | 1981-10-28 | 1984-10-02 | Marteau D Autry Eric | Pipette |
| DE4341229C2 (de) | 1993-12-03 | 1995-09-07 | Eppendorf Geraetebau Netheler | Pipettensystem |
| US5620660A (en) | 1993-12-03 | 1997-04-15 | Eppendorf-Netheler-Hinz Gmbh | Pipette system |
| EP0657216A2 (de) * | 1993-12-10 | 1995-06-14 | Eppendorf-Netheler-Hinz Gmbh | Pipettensystem |
| US5620661A (en) | 1993-12-10 | 1997-04-15 | Eppendorf-Netherler-Hinz Gmbh | Pipette system |
| EP0657216B1 (de) | 1993-12-10 | 1999-05-12 | Eppendorf-Netheler-Hinz Gmbh | Pipettensystem |
| DE102004063652A1 (de) * | 2004-12-31 | 2006-07-13 | Tecpharma Licensing Ag | Vorrichtung zur dosierten Verabreichung eines fluiden Produkts mit koaxialer Dosisanzeige |
| US20060263261A1 (en) | 2005-05-20 | 2006-11-23 | Jurgen Lenz | Pipette |
| DE102005023203A1 (de) | 2005-05-20 | 2006-11-30 | Eppendorf Ag | Pipette |
Cited By (4)
| Publication number | Priority date | Publication date | Assignee | Title |
|---|---|---|---|---|
| EP2574402A1 (de) | 2011-09-30 | 2013-04-03 | Eppendorf Ag | Spritze mit Spritzenzylinder mit Kodierung und Prüfelementen |
| WO2013045013A1 (de) | 2011-09-30 | 2013-04-04 | Eppendorf Ag | Spritze mit spritzenzylinder mit kodierung und prüfelementen |
| CN114786816A (zh) * | 2019-12-06 | 2022-07-22 | 埃佩多夫欧洲股份公司 | 移液器吸头套件和移液器套件 |
| CN114786816B (zh) * | 2019-12-06 | 2023-10-31 | 埃佩多夫欧洲股份公司 | 移液器吸头套件、移液器套件和移液器系统 |
Also Published As
| Publication number | Publication date |
|---|---|
| EP2279791B1 (de) | 2014-11-12 |
| EP2818245B1 (de) | 2019-07-17 |
| EP3498376A1 (de) | 2019-06-19 |
| DK2818245T3 (da) | 2019-10-21 |
| EP2818245A1 (de) | 2014-12-31 |
| EP3498376B1 (de) | 2021-09-15 |
| PL2279791T3 (pl) | 2015-04-30 |
| DK3498376T3 (da) | 2021-12-20 |
Similar Documents
| Publication | Publication Date | Title |
|---|---|---|
| DE102009034897A1 (de) | Spritze, Spritzenfamilie und Dosiervorrichtung | |
| DE3880014T2 (de) | Filtervorrichtung. | |
| EP2425896B1 (de) | Spritze für den Gebrauch mit einer Dosiervorrichtung | |
| DE3789834T2 (de) | Spitzen für medizinische Mikropipetten für schwer zugängliche Stellen und damit verbundene Verfahren. | |
| DE2719815C2 (de) | ||
| EP2662102B1 (de) | Transportträger für Spritzen | |
| DE202009019205U1 (de) | Spritze, Spritzenfamilie und Dosiervorrichtung | |
| EP2236207A1 (de) | Dosiervorrichtung | |
| WO2018002254A1 (de) | Dosierkopf, dosiervorrichtung umfassend einen dosierkopf und verfahren zum dosieren mittels eines dosierkopfes | |
| EP3694647A1 (de) | Pipettenspitze | |
| WO2012097396A1 (de) | Universelle verschlussvorrichtung | |
| WO2018114103A1 (de) | Haltestruktur zum gleichzeitigen halten einer mehrzahl von behältern für substanzen für pharmazeutische, medizinische oder kosmetische anwendungen, transportgebilde und transport- oder verpackungsbehälter mit selbiger | |
| EP2818245B1 (de) | Spritze, spritzenfamilie und dosiervorrichtung | |
| DE102012100583C5 (de) | Einsatz für Zellkulturen | |
| EP2892591A1 (de) | Einmalinjektor mit zweistufiger auslösung | |
| WO2017220673A1 (de) | Mehrkanalspritze für den gebrauch mit einer dosiervorrichtung | |
| EP3653304B1 (de) | Probenbehältnis | |
| EP0345659A2 (de) | Füll- und Verschliessmaschine für Einwegspritzen | |
| EP3831487B1 (de) | Pipette für den gebrauch mit einer pipettenspitze und pipettenspitze für den gebrauch mit einer pipette | |
| DE102022120212A1 (de) | Pipettierspitze mit sich gekrümmt verjüngendem Aufnahmeraum | |
| DE202023101587U1 (de) | Halterungssystem für labortechnische Messkolben | |
| EP3192547A1 (de) | Kolbenstange für medizinische packmittel | |
| DE102024122923A1 (de) | Pipettenspitze | |
| WO2021110797A1 (de) | Pipettenspitze | |
| EP3350101B1 (de) | Adapter für eine portionskapsel |
Legal Events
| Date | Code | Title | Description |
|---|---|---|---|
| PUAI | Public reference made under article 153(3) epc to a published international application that has entered the european phase |
Free format text: ORIGINAL CODE: 0009012 |
|
| AK | Designated contracting states |
Kind code of ref document: A1 Designated state(s): AT BE BG CH CY CZ DE DK EE ES FI FR GB GR HR HU IE IS IT LI LT LU LV MC MK MT NL NO PL PT RO SE SI SK SM TR |
|
| AX | Request for extension of the european patent |
Extension state: AL BA RS |
|
| 17P | Request for examination filed |
Effective date: 20110413 |
|
| 17Q | First examination report despatched |
Effective date: 20120323 |
|
| GRAP | Despatch of communication of intention to grant a patent |
Free format text: ORIGINAL CODE: EPIDOSNIGR1 |
|
| INTG | Intention to grant announced |
Effective date: 20140107 |
|
| GRAP | Despatch of communication of intention to grant a patent |
Free format text: ORIGINAL CODE: EPIDOSNIGR1 |
|
| INTG | Intention to grant announced |
Effective date: 20140829 |
|
| GRAS | Grant fee paid |
Free format text: ORIGINAL CODE: EPIDOSNIGR3 |
|
| GRAA | (expected) grant |
Free format text: ORIGINAL CODE: 0009210 |
|
| AK | Designated contracting states |
Kind code of ref document: B1 Designated state(s): AT BE BG CH CY CZ DE DK EE ES FI FR GB GR HR HU IE IS IT LI LT LU LV MC MK MT NL NO PL PT RO SE SI SK SM TR |
|
| REG | Reference to a national code |
Ref country code: GB Ref legal event code: FG4D Free format text: NOT ENGLISH |
|
| REG | Reference to a national code |
Ref country code: CH Ref legal event code: NV Representative=s name: ISLER AND PEDRAZZINI AG, CH Ref country code: CH Ref legal event code: EP |
|
| REG | Reference to a national code |
Ref country code: AT Ref legal event code: REF Ref document number: 695415 Country of ref document: AT Kind code of ref document: T Effective date: 20141115 |
|
| REG | Reference to a national code |
Ref country code: IE Ref legal event code: FG4D Free format text: LANGUAGE OF EP DOCUMENT: GERMAN |
|
| REG | Reference to a national code |
Ref country code: DE Ref legal event code: R096 Ref document number: 502009010196 Country of ref document: DE Effective date: 20141224 |
|
| REG | Reference to a national code |
Ref country code: NL Ref legal event code: T3 |
|
| PG25 | Lapsed in a contracting state [announced via postgrant information from national office to epo] |
Ref country code: NO Free format text: LAPSE BECAUSE OF FAILURE TO SUBMIT A TRANSLATION OF THE DESCRIPTION OR TO PAY THE FEE WITHIN THE PRESCRIBED TIME-LIMIT Effective date: 20150212 Ref country code: ES Free format text: LAPSE BECAUSE OF FAILURE TO SUBMIT A TRANSLATION OF THE DESCRIPTION OR TO PAY THE FEE WITHIN THE PRESCRIBED TIME-LIMIT Effective date: 20141112 Ref country code: FI Free format text: LAPSE BECAUSE OF FAILURE TO SUBMIT A TRANSLATION OF THE DESCRIPTION OR TO PAY THE FEE WITHIN THE PRESCRIBED TIME-LIMIT Effective date: 20141112 Ref country code: PT Free format text: LAPSE BECAUSE OF FAILURE TO SUBMIT A TRANSLATION OF THE DESCRIPTION OR TO PAY THE FEE WITHIN THE PRESCRIBED TIME-LIMIT Effective date: 20150312 Ref country code: IS Free format text: LAPSE BECAUSE OF FAILURE TO SUBMIT A TRANSLATION OF THE DESCRIPTION OR TO PAY THE FEE WITHIN THE PRESCRIBED TIME-LIMIT Effective date: 20150312 Ref country code: LT Free format text: LAPSE BECAUSE OF FAILURE TO SUBMIT A TRANSLATION OF THE DESCRIPTION OR TO PAY THE FEE WITHIN THE PRESCRIBED TIME-LIMIT Effective date: 20141112 |
|
| REG | Reference to a national code |
Ref country code: PL Ref legal event code: T3 |
|
| PG25 | Lapsed in a contracting state [announced via postgrant information from national office to epo] |
Ref country code: CY Free format text: LAPSE BECAUSE OF FAILURE TO SUBMIT A TRANSLATION OF THE DESCRIPTION OR TO PAY THE FEE WITHIN THE PRESCRIBED TIME-LIMIT Effective date: 20141112 Ref country code: GR Free format text: LAPSE BECAUSE OF FAILURE TO SUBMIT A TRANSLATION OF THE DESCRIPTION OR TO PAY THE FEE WITHIN THE PRESCRIBED TIME-LIMIT Effective date: 20150213 Ref country code: LV Free format text: LAPSE BECAUSE OF FAILURE TO SUBMIT A TRANSLATION OF THE DESCRIPTION OR TO PAY THE FEE WITHIN THE PRESCRIBED TIME-LIMIT Effective date: 20141112 Ref country code: SE Free format text: LAPSE BECAUSE OF FAILURE TO SUBMIT A TRANSLATION OF THE DESCRIPTION OR TO PAY THE FEE WITHIN THE PRESCRIBED TIME-LIMIT Effective date: 20141112 Ref country code: HR Free format text: LAPSE BECAUSE OF FAILURE TO SUBMIT A TRANSLATION OF THE DESCRIPTION OR TO PAY THE FEE WITHIN THE PRESCRIBED TIME-LIMIT Effective date: 20141112 |
|
| REG | Reference to a national code |
Ref country code: DE Ref legal event code: R026 Ref document number: 502009010196 Country of ref document: DE |
|
| PG25 | Lapsed in a contracting state [announced via postgrant information from national office to epo] |
Ref country code: RO Free format text: LAPSE BECAUSE OF FAILURE TO SUBMIT A TRANSLATION OF THE DESCRIPTION OR TO PAY THE FEE WITHIN THE PRESCRIBED TIME-LIMIT Effective date: 20141112 Ref country code: DK Free format text: LAPSE BECAUSE OF FAILURE TO SUBMIT A TRANSLATION OF THE DESCRIPTION OR TO PAY THE FEE WITHIN THE PRESCRIBED TIME-LIMIT Effective date: 20141112 Ref country code: EE Free format text: LAPSE BECAUSE OF FAILURE TO SUBMIT A TRANSLATION OF THE DESCRIPTION OR TO PAY THE FEE WITHIN THE PRESCRIBED TIME-LIMIT Effective date: 20141112 Ref country code: CZ Free format text: LAPSE BECAUSE OF FAILURE TO SUBMIT A TRANSLATION OF THE DESCRIPTION OR TO PAY THE FEE WITHIN THE PRESCRIBED TIME-LIMIT Effective date: 20141112 Ref country code: SK Free format text: LAPSE BECAUSE OF FAILURE TO SUBMIT A TRANSLATION OF THE DESCRIPTION OR TO PAY THE FEE WITHIN THE PRESCRIBED TIME-LIMIT Effective date: 20141112 |
|
| PLBI | Opposition filed |
Free format text: ORIGINAL CODE: 0009260 |
|
| 26 | Opposition filed |
Opponent name: RITTER GMBH Effective date: 20150729 |
|
| PLAX | Notice of opposition and request to file observation + time limit sent |
Free format text: ORIGINAL CODE: EPIDOSNOBS2 |
|
| PLAF | Information modified related to communication of a notice of opposition and request to file observations + time limit |
Free format text: ORIGINAL CODE: EPIDOSCOBS2 |
|
| PG25 | Lapsed in a contracting state [announced via postgrant information from national office to epo] |
Ref country code: SI Free format text: LAPSE BECAUSE OF FAILURE TO SUBMIT A TRANSLATION OF THE DESCRIPTION OR TO PAY THE FEE WITHIN THE PRESCRIBED TIME-LIMIT Effective date: 20141112 Ref country code: MC Free format text: LAPSE BECAUSE OF FAILURE TO SUBMIT A TRANSLATION OF THE DESCRIPTION OR TO PAY THE FEE WITHIN THE PRESCRIBED TIME-LIMIT Effective date: 20141112 |
|
| PG25 | Lapsed in a contracting state [announced via postgrant information from national office to epo] |
Ref country code: LU Free format text: LAPSE BECAUSE OF FAILURE TO SUBMIT A TRANSLATION OF THE DESCRIPTION OR TO PAY THE FEE WITHIN THE PRESCRIBED TIME-LIMIT Effective date: 20150727 |
|
| PLBB | Reply of patent proprietor to notice(s) of opposition received |
Free format text: ORIGINAL CODE: EPIDOSNOBS3 |
|
| REG | Reference to a national code |
Ref country code: IE Ref legal event code: MM4A |
|
| REG | Reference to a national code |
Ref country code: FR Ref legal event code: PLFP Year of fee payment: 8 |
|
| PG25 | Lapsed in a contracting state [announced via postgrant information from national office to epo] |
Ref country code: IE Free format text: LAPSE BECAUSE OF NON-PAYMENT OF DUE FEES Effective date: 20150727 |
|
| PLCK | Communication despatched that opposition was rejected |
Free format text: ORIGINAL CODE: EPIDOSNREJ1 |
|
| STAA | Information on the status of an ep patent application or granted ep patent |
Free format text: STATUS: THE PATENT HAS BEEN GRANTED |
|
| PG25 | Lapsed in a contracting state [announced via postgrant information from national office to epo] |
Ref country code: MT Free format text: LAPSE BECAUSE OF FAILURE TO SUBMIT A TRANSLATION OF THE DESCRIPTION OR TO PAY THE FEE WITHIN THE PRESCRIBED TIME-LIMIT Effective date: 20141112 |
|
| APBM | Appeal reference recorded |
Free format text: ORIGINAL CODE: EPIDOSNREFNO |
|
| APBP | Date of receipt of notice of appeal recorded |
Free format text: ORIGINAL CODE: EPIDOSNNOA2O |
|
| APAH | Appeal reference modified |
Free format text: ORIGINAL CODE: EPIDOSCREFNO |
|
| PG25 | Lapsed in a contracting state [announced via postgrant information from national office to epo] |
Ref country code: BG Free format text: LAPSE BECAUSE OF FAILURE TO SUBMIT A TRANSLATION OF THE DESCRIPTION OR TO PAY THE FEE WITHIN THE PRESCRIBED TIME-LIMIT Effective date: 20141112 Ref country code: SM Free format text: LAPSE BECAUSE OF FAILURE TO SUBMIT A TRANSLATION OF THE DESCRIPTION OR TO PAY THE FEE WITHIN THE PRESCRIBED TIME-LIMIT Effective date: 20141112 Ref country code: HU Free format text: LAPSE BECAUSE OF FAILURE TO SUBMIT A TRANSLATION OF THE DESCRIPTION OR TO PAY THE FEE WITHIN THE PRESCRIBED TIME-LIMIT; INVALID AB INITIO Effective date: 20090727 |
|
| APBQ | Date of receipt of statement of grounds of appeal recorded |
Free format text: ORIGINAL CODE: EPIDOSNNOA3O |
|
| REG | Reference to a national code |
Ref country code: FR Ref legal event code: PLFP Year of fee payment: 9 |
|
| PG25 | Lapsed in a contracting state [announced via postgrant information from national office to epo] |
Ref country code: TR Free format text: LAPSE BECAUSE OF FAILURE TO SUBMIT A TRANSLATION OF THE DESCRIPTION OR TO PAY THE FEE WITHIN THE PRESCRIBED TIME-LIMIT Effective date: 20141112 |
|
| APAJ | Date of receipt of notice of appeal modified |
Free format text: ORIGINAL CODE: EPIDOSCNOA2O |
|
| PG25 | Lapsed in a contracting state [announced via postgrant information from national office to epo] |
Ref country code: MK Free format text: LAPSE BECAUSE OF FAILURE TO SUBMIT A TRANSLATION OF THE DESCRIPTION OR TO PAY THE FEE WITHIN THE PRESCRIBED TIME-LIMIT Effective date: 20141112 |
|
| REG | Reference to a national code |
Ref country code: FR Ref legal event code: PLFP Year of fee payment: 10 |
|
| REG | Reference to a national code |
Ref country code: DE Ref legal event code: R100 Ref document number: 502009010196 Country of ref document: DE |
|
| APBU | Appeal procedure closed |
Free format text: ORIGINAL CODE: EPIDOSNNOA9O |
|
| PLBN | Opposition rejected |
Free format text: ORIGINAL CODE: 0009273 |
|
| STAA | Information on the status of an ep patent application or granted ep patent |
Free format text: STATUS: OPPOSITION REJECTED |
|
| PLBP | Opposition withdrawn |
Free format text: ORIGINAL CODE: 0009264 |
|
| 27O | Opposition rejected |
Effective date: 20190325 |
|
| REG | Reference to a national code |
Ref country code: FR Ref legal event code: PLFP Year of fee payment: 14 |
|
| REG | Reference to a national code |
Ref country code: DE Ref legal event code: R081 Ref document number: 502009010196 Country of ref document: DE Owner name: EPPENDORF SE, DE Free format text: FORMER OWNER: EPPENDORF AG, 22339 HAMBURG, DE |
|
| REG | Reference to a national code |
Ref country code: NL Ref legal event code: PD Owner name: EPPENDORF SE; DE Free format text: DETAILS ASSIGNMENT: CHANGE OF OWNER(S), CHANGE OF LEGAL ENTITY; FORMER OWNER NAME: EPPENDORF AG Effective date: 20230227 |
|
| REG | Reference to a national code |
Ref country code: AT Ref legal event code: PC Ref document number: 695415 Country of ref document: AT Kind code of ref document: T Owner name: EPPENDORF SE, DE Effective date: 20230508 |
|
| P01 | Opt-out of the competence of the unified patent court (upc) registered |
Effective date: 20230527 |
|
| REG | Reference to a national code |
Ref country code: BE Ref legal event code: PD Owner name: EPPENDORF SE; DE Free format text: DETAILS ASSIGNMENT: CHANGE OF OWNER(S), CHANGE OF LEGAL ENTITY Effective date: 20230222 |
|
| REG | Reference to a national code |
Ref country code: BE Ref legal event code: PD Owner name: EPPENDORF SE; DE Free format text: DETAILS ASSIGNMENT: CHANGE OF OWNER(S), CHANGE OF LEGAL ENTITY; FORMER OWNER NAME: EPPENDORF AG Effective date: 20230731 |
|
| PGFP | Annual fee paid to national office [announced via postgrant information from national office to epo] |
Ref country code: NL Payment date: 20250721 Year of fee payment: 17 |
|
| PGFP | Annual fee paid to national office [announced via postgrant information from national office to epo] |
Ref country code: DE Payment date: 20250722 Year of fee payment: 17 |
|
| PGFP | Annual fee paid to national office [announced via postgrant information from national office to epo] |
Ref country code: PL Payment date: 20250718 Year of fee payment: 17 Ref country code: IT Payment date: 20250721 Year of fee payment: 17 |
|
| PGFP | Annual fee paid to national office [announced via postgrant information from national office to epo] |
Ref country code: BE Payment date: 20250721 Year of fee payment: 17 Ref country code: GB Payment date: 20250722 Year of fee payment: 17 |
|
| PGFP | Annual fee paid to national office [announced via postgrant information from national office to epo] |
Ref country code: FR Payment date: 20250725 Year of fee payment: 17 Ref country code: AT Payment date: 20250722 Year of fee payment: 17 |
|
| PGFP | Annual fee paid to national office [announced via postgrant information from national office to epo] |
Ref country code: CH Payment date: 20250801 Year of fee payment: 17 |
