EP1969983A2 - Handlauf - Google Patents

Handlauf Download PDF

Info

Publication number
EP1969983A2
EP1969983A2 EP08250155A EP08250155A EP1969983A2 EP 1969983 A2 EP1969983 A2 EP 1969983A2 EP 08250155 A EP08250155 A EP 08250155A EP 08250155 A EP08250155 A EP 08250155A EP 1969983 A2 EP1969983 A2 EP 1969983A2
Authority
EP
European Patent Office
Prior art keywords
hand
rail
knuckle
mountable
toilet
Prior art date
Legal status (The legal status is an assumption and is not a legal conclusion. Google has not performed a legal analysis and makes no representation as to the accuracy of the status listed.)
Granted
Application number
EP08250155A
Other languages
English (en)
French (fr)
Other versions
EP1969983B1 (de
EP1969983A3 (de
Inventor
Robert William Stimpson
Ian Felmeri
Current Assignee (The listed assignees may be inaccurate. Google has not performed a legal analysis and makes no representation or warranty as to the accuracy of the list.)
DLP Ltd
Original Assignee
DLP Ltd
Priority date (The priority date is an assumption and is not a legal conclusion. Google has not performed a legal analysis and makes no representation as to the accuracy of the date listed.)
Filing date
Publication date
Application filed by DLP Ltd filed Critical DLP Ltd
Publication of EP1969983A2 publication Critical patent/EP1969983A2/de
Publication of EP1969983A3 publication Critical patent/EP1969983A3/de
Application granted granted Critical
Publication of EP1969983B1 publication Critical patent/EP1969983B1/de
Active legal-status Critical Current
Anticipated expiration legal-status Critical

Links

Images

Classifications

    • AHUMAN NECESSITIES
    • A47FURNITURE; DOMESTIC ARTICLES OR APPLIANCES; COFFEE MILLS; SPICE MILLS; SUCTION CLEANERS IN GENERAL
    • A47KSANITARY EQUIPMENT NOT OTHERWISE PROVIDED FOR; TOILET ACCESSORIES
    • A47K17/00Other equipment, e.g. separate apparatus for deodorising, disinfecting or cleaning devices without flushing for toilet bowls, seats or covers; Holders for toilet brushes
    • A47K17/02Body supports, other than seats, for closets, e.g. handles, back-rests, foot-rests; Accessories for closets, e.g. reading tables
    • A47K17/022Wall mounted grab bars or handles, with or without support on the floor
    • A47K17/024Wall mounted grab bars or handles, with or without support on the floor pivotally mounted on the wall
    • AHUMAN NECESSITIES
    • A47FURNITURE; DOMESTIC ARTICLES OR APPLIANCES; COFFEE MILLS; SPICE MILLS; SUCTION CLEANERS IN GENERAL
    • A47KSANITARY EQUIPMENT NOT OTHERWISE PROVIDED FOR; TOILET ACCESSORIES
    • A47K10/00Body-drying implements; Toilet paper; Holders therefor
    • A47K10/04Towel racks; Towel rails; Towel rods; Towel rolls, e.g. rotatable
    • A47K10/10Towel racks; Towel rails; Towel rods; Towel rolls, e.g. rotatable characterised by being mounted on cabinets, walls, doors, or the like
    • AHUMAN NECESSITIES
    • A47FURNITURE; DOMESTIC ARTICLES OR APPLIANCES; COFFEE MILLS; SPICE MILLS; SUCTION CLEANERS IN GENERAL
    • A47KSANITARY EQUIPMENT NOT OTHERWISE PROVIDED FOR; TOILET ACCESSORIES
    • A47K10/00Body-drying implements; Toilet paper; Holders therefor
    • A47K10/16Paper towels; Toilet paper; Holders therefor
    • A47K10/18Holders; Receptacles
    • A47K10/22Holders; Receptacles for rolled-up webs
    • AHUMAN NECESSITIES
    • A47FURNITURE; DOMESTIC ARTICLES OR APPLIANCES; COFFEE MILLS; SPICE MILLS; SUCTION CLEANERS IN GENERAL
    • A47KSANITARY EQUIPMENT NOT OTHERWISE PROVIDED FOR; TOILET ACCESSORIES
    • A47K10/00Body-drying implements; Toilet paper; Holders therefor
    • A47K10/24Towel dispensers, e.g. for piled-up or folded textile towels; Toilet paper dispensers; Dispensers for piled-up or folded textile towels provided or not with devices for taking-up soiled towels as far as not mechanically driven
    • A47K10/32Dispensers for paper towels or toilet paper
    • AHUMAN NECESSITIES
    • A47FURNITURE; DOMESTIC ARTICLES OR APPLIANCES; COFFEE MILLS; SPICE MILLS; SUCTION CLEANERS IN GENERAL
    • A47KSANITARY EQUIPMENT NOT OTHERWISE PROVIDED FOR; TOILET ACCESSORIES
    • A47K10/00Body-drying implements; Toilet paper; Holders therefor
    • A47K10/24Towel dispensers, e.g. for piled-up or folded textile towels; Toilet paper dispensers; Dispensers for piled-up or folded textile towels provided or not with devices for taking-up soiled towels as far as not mechanically driven
    • A47K10/32Dispensers for paper towels or toilet paper
    • A47K10/34Dispensers for paper towels or toilet paper dispensing from a web, e.g. with mechanical dispensing means
    • A47K10/38Dispensers for paper towels or toilet paper dispensing from a web, e.g. with mechanical dispensing means the web being rolled up with or without tearing edge
    • AHUMAN NECESSITIES
    • A47FURNITURE; DOMESTIC ARTICLES OR APPLIANCES; COFFEE MILLS; SPICE MILLS; SUCTION CLEANERS IN GENERAL
    • A47KSANITARY EQUIPMENT NOT OTHERWISE PROVIDED FOR; TOILET ACCESSORIES
    • A47K17/00Other equipment, e.g. separate apparatus for deodorising, disinfecting or cleaning devices without flushing for toilet bowls, seats or covers; Holders for toilet brushes
    • A47K17/02Body supports, other than seats, for closets, e.g. handles, back-rests, foot-rests; Accessories for closets, e.g. reading tables
    • EFIXED CONSTRUCTIONS
    • E04BUILDING
    • E04FFINISHING WORK ON BUILDINGS, e.g. STAIRS, FLOORS
    • E04F11/00Stairways, ramps, or like structures; Balustrades; Handrails
    • E04F11/18Balustrades; Handrails
    • EFIXED CONSTRUCTIONS
    • E04BUILDING
    • E04FFINISHING WORK ON BUILDINGS, e.g. STAIRS, FLOORS
    • E04F11/00Stairways, ramps, or like structures; Balustrades; Handrails
    • E04F11/18Balustrades; Handrails
    • E04F11/181Balustrades
    • E04F11/1817Connections therefor
    • E04F11/1834Connections therefor with adjustable angle, e.g. pivotal connections

Definitions

  • the present invention relates to a vertically pivotable surface-mountable hand rail for supporting an elderly or infirm person.
  • a drop down hand-rail for supporting an elderly or infirm person, for example during toileting or showering is known.
  • the hand-rail extends a significant distance once in the lowered or horizontal condition.
  • side-to-side lateral stability of the hand-rail is poor, and thus the hand-rail tends to sway. This leads to a sense of insecurity and anxiety when the hand-rail is being used.
  • the hand-rail is also typically formed from dip-coated steel, and is thus heavy.
  • the hand-rail once unlatched from its vertical storage position, is free to fall to its horizontal condition under gravity, and this uninhibited movement can be hazardous due to its weight and inertia.
  • the present invention seeks to overcome these problems.
  • a vertically pivotable surface-mountable hand rail for supporting an elderly or infirm person
  • the hand rail comprising a surface-mountable base element, an elongate hand-rail member, and a pivotable clamping knuckle which encloses the hand-rail member and which interconnects the hand-rail member and the base element for in use vertical pivotable movement of the hand-rail member, the clamping knuckle projecting laterally to a longitudinal extent of the hand-rail member for preventing or limiting in use horizontal movement of the hand-rail member.
  • the knuckle is separate of the hand-rail member.
  • the knuckle may include two inter-engagable clamping elements between which the hand-rail member is clampable.
  • each clamping element includes a channel complementarily shaped to receive at least part of the hand-rail member.
  • the base element includes a channel in which the knuckle is pivotably received.
  • the knuckle may include an axle element which engages the knuckle with the hand-rail member, and the knuckle with the base element.
  • the hand-rail member includes a hand-grip element and a supporting leg.
  • the supporting leg may be pivotably engaged with the hand-grip element.
  • the vertically pivotable surface-mountable hand rail further comprises damping means for damping a lowering movement of the hand-rail member.
  • the damping means may be included as part of the pivotable clamping knuckle.
  • the damping means includes one or more frictional projections.
  • one or more said fi-ictional projections may be provided on the pivotable clamping knuckle and frictionally engage with the base element or vice versa.
  • the or each frictional projection may be spring-biased.
  • the said spring-biasing may be provided by a flexible beam on which the frictional projection is provided.
  • a clampable toilet-roll holder comprising a body element, clamping means for clamping the body element to a supporting bar, and an elongate member for releasably supporting a toilet roll.
  • the clamping means comprises a hinge provided on the body element, so that the body element is foldable for clamping.
  • the hinge is a live hinge integrally formed as part of the body element.
  • the clamping means may include non-screw-threaded fasteners for retaining the body element around the bar.
  • the elongate member comprises two elongate parts which are fastenable together.
  • the two elongate parts may extend in parallel with each other.
  • the two elongate parts may be integrally formed with the body element.
  • the clampable toilet-roll holder is a one-piece toilet-roll holder.
  • a vertically pivotable surface-mountable hand-rail in accordance with the first aspect of the invention in combination with a clampable toilet-roll holder in accordance with the second aspect of the invention.
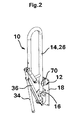
  • FIG. 1 to 6 of the drawings there is shown a first embodiment of a vertically pivotable surface-mountable hand rail 10 which comprises a base element 12, a hand-rail member 14, and a separate pivotable clamping knuckle 16 which interconnects the hand-rail member 14 and the base element 12.
  • the base element 12 is typically formed from metal and is fixedly attachable to a surface, such as a wall, via screw-threaded fastening devices, such as screws.
  • the base element 12 includes a base plate 18 and a knuckle-receiving channel 20, typically welded to the base plate 18. Two series of corresponding pivot apertures 22, 24 are formed in spaced-apart relationship in sides of the channel 20.
  • the hand-rail member 14 comprises an elongate tubular hand-grip element 26 which has a through pivot opening 28 adjacent a first end 30 thereof and a looped-back second end 32.
  • a lateral cross-sectional shape of the hand-grip element 26 is preferably circular, but maybe non-circular.
  • the hand-rail member 14 also comprises a height-adjustable supporting leg 34, pivotably connected to the hand-grip element 26 partway therealong.
  • An elongate brace 36 is pivotably connected to the leg 34, intermediate the ends thereof.
  • the brace 36 may be of fixed or adjustable length.
  • the pivotable clamping knuckle 16 is preferably formed from moulded plastics.
  • the knuckle 16 comprises two inter-engagable clamping parts 38 and an axle 40 having a head end 42 and a screw-threaded end 44, as best seen in Figures 3 and 4 .
  • Each clamping part 38 is a thick circular disk with a hand-grip receiving channel 46 formed diametrically across a first major surface 48, and a pivot hole 50 formed centrally therethrough.
  • Each channel 46 has a semi-circular or arcuate lateral cross-section, complementarily shaped to receive an exterior surface of the hand-grip element 26.
  • Inter-engagement is typically provided by integrally formed lugs 52 which project from the first major surface 48 of one or each clamping part 38, and which are receivable as an interference fit in complementary openings 54 integrally formed in the first major surface 48 of the or each other clamping part 38.
  • the hand rail 10 also includes damping means for damping a lowering movement of the hand-rail member 14.
  • the damping means is included as part of the clamping knuckle 16, and comprises a plurality of, in this case four, flexible beams 56 equi-angularly spaced from each other and formed in or on a second major surface 58 of each clamping part 38, opposite the said first major surface 48.
  • Each beam 56 is integrally formed as part of the respective clamping part 38 of the knuckle 16, and has an arcuate longitudinal extent which extends in the plane of the second major surface 58.
  • each beam 56 could be connected to the clamping part 38 at only one end, in this embodiment, both ends are connected to the clamping part 38.
  • the damping means further comprises a frictional projection 60 integrally formed, typically centrally, on each beam 56.
  • Each frictional projection 60 projects perpendicularly away from the second major surface 58 of the respective clamping part 38 of the knuckle 16.
  • the two clamping parts 38 of the pivotable clamping knuckle 16 are located around the first end 30 of the hand-grip element 26, so that the hand-grip element 26 is received and fully enclosed in the hand-grip receiving channels 46, and push-fit engaged with each other.
  • the pivot holes 50 of the clamping parts 38 are aligned with the through pivot opening 28 of the hand-grip element 26.
  • the knuckle 16 and the first end 30 of the hand-grip element 26 are located in the knuckle-receiving channel 20, in alignment with the first series of pivot apertures 22.
  • the screw-threaded axle 40 is inserted through the first series of pivot apertures 22, the pivot holes 50 of the clamping parts 38 of the knuckle 16, and the through pivot opening 28 of the hand-grip element 26.
  • the axle 40 is fastened in place by a mating screw-threaded fastening element, such as a nut 62, which is threadingly engaged with the screw-threaded end 44.
  • a mating screw-threaded fastening element such as a nut 62
  • Protective rubber or plastics caps 64 are push-fit engaged with the head end 42 and the fastening element 62 to cover the ends of the axle 40 to prevent possible injury.
  • the brace 36 which is pivotably connected to the leg 34 of the hand-rail member 14, is pivotably engaged with the knuckle-receiving channel 20 via the second series of pivot apertures 24.
  • the brace 36 in the present embodiment is a two part element, with the parts being connected to opposite sides of the leg 34 and opposing pivot apertures 24 via a single or two separate fastening devices 66, such as push-on 'star-lock' fasteners, screw-threaded fasteners, or any other suitable fastener.
  • fastening devices 66 such as push-on 'star-lock' fasteners, screw-threaded fasteners, or any other suitable fastener.
  • ends of the or each fastening device are coved by protective caps 68.
  • the axle 40 is tightened sufficiently so that the sides of the knuckle-receiving channel 20 press onto the second major surfaces 58 of the clamping parts 38 of the knuckle 16. This causes the knuckle 16 to tightly clamp and support the hand-grip element 26. Since the knuckle 16 both clamps and extends laterally to both sides of the hand-grip element 26, side-to-side swaying movement of the hand-rail member 14 is significantly reduced and substantially eliminated.
  • the damping means provides for frictional point contact between the knuckle 16 and the sides of the knuckle-receiving channel 20. Consequently, lowering of the hand-rail member 14 is retarded and thus occurs much more predictably and smoothly.
  • the base element 12 can include an optional push-fit retaining channel 70 for releasably holding the hand-grip element 26 when the hand-rail member 14 is in a raised condition.
  • the push-fit retaining channel can be provided as a separate device which is surface-mountable, typically in spaced relationship with the base element.
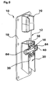
  • FIG. 7 to 10 there is shown a second embodiment of a vertically pivotable surface-mountable hand rail 110. Parts of the hand rail 110 which are identical to those described above have the same references, and further detailed description is omitted.
  • the hand rail 110 of this embodiment differs from that of the first embodiment in that an attachable clampable toilet-roll holder 172 is provided.
  • the toilet-roll holder 172 comprises a foldable body element 174, and a two part elongate member 176 for rotatably supporting a toilet roll.
  • the body element 174 is formed from moulded plastics, and includes a live hinge 178 integrally formed midway between ends 180 of the body element 174.
  • Two opposing open-ended channels 182 are formed fully across the body element 174, from one side 184 to the other and immediately adjacent the live hinge 178. Longitudinal extents of the channels 182 and the hinge 178 are parallel with each other.
  • One or more locating projections 186 are included within one or both channels 182.
  • Snap fastening and locating lugs 188 and corresponding openings 190 are formed on the interior 192 of the toilet-roll holder 172.
  • the live hinge 178, open-ended channels 182, and lugs 188 and openings 190 form clamping means for clamping the toilet-roll holder 172 around a supporting bar.
  • Each part 194 of the elongate member 176 is itself elongate and is formed at one end 180 of the body element 174 remote from the live hinge 178.
  • Each part 194 is integral with and projects from one side 184 of the body element 174, and thus extends in parallel with the other part 194.
  • a lateral cross-sectional shape of each part 194 is semi-circular, providing a convex profile, and each part 194 has matching or substantially matching lateral and longitudinal extents.
  • each elongate part 194 of the elongate member 176 includes a flange or lip 196 at its free distal end which extends generally perpendicularly to the longitudinal extent of the elongate member 176.
  • one channel 182 of the body element 174 is offered up to a portion of the hand-grip element 26 of the hand rail 110, adjacent to the looped-back end 32.
  • the portion of the hand-grip element 26 conveniently includes one or more corresponding openings 198, shown in Figure 2 , for accepting the or each locating projection 186, and each channel 182 is dimensioned to complementarily receive a portion of the hand-grip element 26.
  • the body element 174 is then folded around the hand-grip element 26 via the live hinge 178 so that the hand-grip element 26 is fully or substantially fully received by both channels 182.
  • the lugs 188 and corresponding openings 190 are interengaged to retain the body element 174 clamped around the hand-grip element 26.
  • the two parts 194 of the elongate member 176 abut and interconnect to form a single spindle on which a toilet roll is slidably receivable for rotation.
  • the toilet-roll holder Due to the or each locating projection, the toilet-roll holder is prevented from sliding along the hand-grip element.
  • the live hinge is not essential, and the body element can include a dedicated separate clamping plate as an alternative. In this latter case, the body element is not foldable.
  • the clamping plate could be connected via independent threaded fasteners.
  • the elongate member can be formed as a single integral element, instead of two elongate parts.
  • interference push-fit fasteners can be replaced with independent screw-threaded fasteners, or one or more snap-fit fasteners.
  • the hinge can be a separate element attached or attachable to the body element.
  • the body element includes two parts instead of being a single unitarily formed element.
  • the toilet-roll holder described above is one-piece. However, it can be formed from multiple parts.
  • the elongate member can be attachable to the body element, and/or the body element can be two separate parts instead of a single unitary part.
  • the toilet-roll holder can be provided with the hand-rail, or can be provided as a separate retro-fit device.
  • the toilet roll holder described above can also be used with a fixed hand-rail, rather than pivotable hand-rail, and/or can be attachable to a rung of a ladder-style towel radiator.
  • the flexible beams of the damping means described above are advantageous, since the spring-biasing of the frictional projections accommodates wear and irregularities in the sides of the abutting knuckle-receiving channel. However, the flexible beams could be dispensed with simply in favour of the frictional projections.
  • the damping means is a preferred option, but is not essential. Furthermore, as part of the damping means, only the or each frictional projection is an essential part and need not necessarily be spring-biased.
  • leg can be fixed. Consequently, the brace could be dispensed with.
  • leg and thus the brace also, can be dispensed with altogether.
  • the knuckle could be a one part device which clamps the hand-grip element against one side of the knuckle receiving channel.
  • the frictional projections of the damping means can be provided on the base element instead of the knuckle.

Landscapes

  • Public Health (AREA)
  • Health & Medical Sciences (AREA)
  • Architecture (AREA)
  • Engineering & Computer Science (AREA)
  • General Health & Medical Sciences (AREA)
  • Epidemiology (AREA)
  • Structural Engineering (AREA)
  • Civil Engineering (AREA)
  • Toilet Supplies (AREA)
  • Vehicle Body Suspensions (AREA)
  • Massaging Devices (AREA)
  • Electroplating Methods And Accessories (AREA)
  • Steps, Ramps, And Handrails (AREA)
EP08250155A 2007-03-10 2008-01-12 Handlauf Active EP1969983B1 (de)

Applications Claiming Priority (1)

Application Number Priority Date Filing Date Title
GB0704675A GB2447419A (en) 2007-03-10 2007-03-10 Vertically pivoting hand rail

Publications (3)

Publication Number Publication Date
EP1969983A2 true EP1969983A2 (de) 2008-09-17
EP1969983A3 EP1969983A3 (de) 2009-12-16
EP1969983B1 EP1969983B1 (de) 2011-08-24

Family

ID=37988761

Family Applications (1)

Application Number Title Priority Date Filing Date
EP08250155A Active EP1969983B1 (de) 2007-03-10 2008-01-12 Handlauf

Country Status (5)

Country Link
US (1) US20080216227A1 (de)
EP (1) EP1969983B1 (de)
AT (1) ATE521269T1 (de)
ES (1) ES2370085T3 (de)
GB (1) GB2447419A (de)

Cited By (2)

* Cited by examiner, † Cited by third party
Publication number Priority date Publication date Assignee Title
EP2305198A1 (de) * 2009-10-02 2011-04-06 Hill-Rom Services, Inc. Wandmontierter Patientenausgang und Patientenhilfsstange
ITAR20090039A1 (it) * 2009-11-03 2011-05-04 Ponte Giulio Spa Dispositivo di ribaltamento per impugnature di sostegno mobili, maniglie oscillanti, piani di seduta e similari, particolarmente per maniglioni di sicurezza per bagni e seggiolini per sanitari

Families Citing this family (6)

* Cited by examiner, † Cited by third party
Publication number Priority date Publication date Assignee Title
ITRM20130606A1 (it) * 2013-11-04 2015-05-05 Paolo Castellini Dispositivo di sostegno ascellare per cabine doccia.
USD733925S1 (en) * 2014-01-07 2015-07-07 Craig W. Collier Handrail
US10143343B1 (en) * 2017-07-24 2018-12-04 Standing Improvements, LLC. Standing assistive device
WO2020139659A1 (en) * 2018-12-28 2020-07-02 Bradley Fixtures Corporation Grab bar for support in various environments
USD1039176S1 (en) * 2022-07-12 2024-08-13 Jinan Yuxi Electronic Commerce Co., Ltd. Stair handrail
US20250194872A1 (en) * 2023-12-13 2025-06-19 Charles Seaman Sit-To-Stand Support Handle Device

Family Cites Families (19)

* Cited by examiner, † Cited by third party
Publication number Priority date Publication date Assignee Title
BE354075A (de) *
US1825822A (en) * 1929-11-04 1931-10-06 Raymond R Rundell Paper roll holder
US1967104A (en) * 1931-01-29 1934-07-17 Stanley Works Friction hinge
US3209375A (en) * 1963-07-08 1965-10-05 Parsons Louis Birdsey Invalid's toilet
GB1441825A (en) * 1974-04-24 1976-07-07 Landstingens Inkopscentral Collapsible bracket
US4513923A (en) * 1983-10-31 1985-04-30 George Ulics Commode toilet tissue dispenser
GB2242700B (en) * 1990-03-17 1993-02-10 Motorola Israel Ltd Modified plastic snap
US5276945A (en) * 1991-11-05 1994-01-11 Shuji Matsumura Hinge device having directional damping
DE4204454C1 (en) * 1992-02-14 1993-07-01 Manuela Dipl.-Oec.Troph. 8058 Erding De Huber Transfer aid for disabled persons and aged persons - has three-runged supporting and lifting component and operating rod swinging supporting bar on two axes at right angles
US5297749A (en) * 1992-11-30 1994-03-29 White Mark E Bed mounted tissue roll holder apparatus
US5529260A (en) * 1994-12-09 1996-06-25 Wirick; Carol D. Rail engaging toilet paper holder
US5590440A (en) * 1995-03-23 1997-01-07 Bradley Corporation Grab bar assembly
US7047599B2 (en) * 2000-12-11 2006-05-23 Sugatsune Kogyo Co., Ltd. Hinge assembly
JP2002238806A (ja) * 2001-02-15 2002-08-27 Toto Ltd 手すり
US6305035B1 (en) * 2001-03-30 2001-10-23 Frances Lenore Morris Toilet paper holder for bedside commode
JP2004147894A (ja) * 2002-10-31 2004-05-27 Crecia Corp トイレットペーパーロールホルダー
JP2004353364A (ja) * 2003-05-30 2004-12-16 Toto Ltd 可動式手すり
ES2259502B2 (es) * 2003-12-10 2007-07-01 Sistemas Integrados De Manufacturas Y Exportacion, S.L. (Simex). Barra para minusvalia abatible.
JP2006263023A (ja) * 2005-03-23 2006-10-05 Naka Ind Ltd 可動手摺

Non-Patent Citations (1)

* Cited by examiner, † Cited by third party
Title
None

Cited By (3)

* Cited by examiner, † Cited by third party
Publication number Priority date Publication date Assignee Title
EP2305198A1 (de) * 2009-10-02 2011-04-06 Hill-Rom Services, Inc. Wandmontierter Patientenausgang und Patientenhilfsstange
US8474921B2 (en) 2009-10-02 2013-07-02 Hill-Rom Services, Inc. Wall-mounted patient egress and patient assist bar
ITAR20090039A1 (it) * 2009-11-03 2011-05-04 Ponte Giulio Spa Dispositivo di ribaltamento per impugnature di sostegno mobili, maniglie oscillanti, piani di seduta e similari, particolarmente per maniglioni di sicurezza per bagni e seggiolini per sanitari

Also Published As

Publication number Publication date
GB2447419A (en) 2008-09-17
EP1969983B1 (de) 2011-08-24
ATE521269T1 (de) 2011-09-15
ES2370085T3 (es) 2011-12-12
GB0704675D0 (en) 2007-04-18
US20080216227A1 (en) 2008-09-11
EP1969983A3 (de) 2009-12-16

Similar Documents

Publication Publication Date Title
EP1969983B1 (de) Handlauf
US7967264B1 (en) Ladder attached support bracket and paint can and roller pan holders for use therewith
US6799660B1 (en) Step ladder device
US4475256A (en) Shower transfer bench
US5031723A (en) Ladder accessories
US5820086A (en) I.V. pole and irrigation tower and support system
US4529191A (en) Doorway mounted horizontal bar
US11982127B2 (en) Ladder safety device
US4979710A (en) Tray accessory apparatus for ladders
US6371309B1 (en) Bicycle storage rack
US5687941A (en) Hanging apparatus adapted for attachment to a ladder
US7125368B2 (en) Reformer exercise apparatus having a non-rotating spring anchor bar
US7823230B2 (en) Bath tub rail
EP1455906B1 (de) Reformer-trainingsgerät mit einer nicht-rotierbaren federankerstange
US6289539B1 (en) Handrail attachments for beds
US6439521B1 (en) Support apparatus for a stroller
WO2001076435A1 (en) Shower post adjustment mechanism
US6412741B1 (en) Beverage holding device with railing attachment
US6322028B1 (en) Container supporting device
EP2133476A1 (de) Duschkopfhalter-Adapter
US20080169254A1 (en) Adjustable shower caddy
US20080035426A1 (en) Ladder tray
US6357706B1 (en) Tray support device
GB2197377A (en) Ladder attachment
US20080190873A1 (en) Movable drying rack for bath tub mounting

Legal Events

Date Code Title Description
PUAI Public reference made under article 153(3) epc to a published international application that has entered the european phase

Free format text: ORIGINAL CODE: 0009012

AK Designated contracting states

Kind code of ref document: A2

Designated state(s): AT BE BG CH CY CZ DE DK EE ES FI FR GB GR HR HU IE IS IT LI LT LU LV MC MT NL NO PL PT RO SE SI SK TR

AX Request for extension of the european patent

Extension state: AL BA MK RS

PUAL Search report despatched

Free format text: ORIGINAL CODE: 0009013

AK Designated contracting states

Kind code of ref document: A3

Designated state(s): AT BE BG CH CY CZ DE DK EE ES FI FR GB GR HR HU IE IS IT LI LT LU LV MC MT NL NO PL PT RO SE SI SK TR

AX Request for extension of the european patent

Extension state: AL BA MK RS

RIC1 Information provided on ipc code assigned before grant

Ipc: A47K 10/38 20060101ALI20091106BHEP

Ipc: A47K 17/02 20060101AFI20080703BHEP

17P Request for examination filed

Effective date: 20100520

17Q First examination report despatched

Effective date: 20100624

AKX Designation fees paid

Designated state(s): AT BE BG CH CY CZ DE DK EE ES FI FR GB GR HR HU IE IS IT LI LT LU LV MC MT NL NO PL PT RO SE SI SK TR

GRAP Despatch of communication of intention to grant a patent

Free format text: ORIGINAL CODE: EPIDOSNIGR1

GRAS Grant fee paid

Free format text: ORIGINAL CODE: EPIDOSNIGR3

GRAA (expected) grant

Free format text: ORIGINAL CODE: 0009210

AK Designated contracting states

Kind code of ref document: B1

Designated state(s): AT BE BG CH CY CZ DE DK EE ES FI FR GB GR HR HU IE IS IT LI LT LU LV MC MT NL NO PL PT RO SE SI SK TR

REG Reference to a national code

Ref country code: GB

Ref legal event code: FG4D

REG Reference to a national code

Ref country code: CH

Ref legal event code: EP

REG Reference to a national code

Ref country code: IE

Ref legal event code: FG4D

REG Reference to a national code

Ref country code: DE

Ref legal event code: R096

Ref document number: 602008009080

Country of ref document: DE

Effective date: 20111027

REG Reference to a national code

Ref country code: ES

Ref legal event code: FG2A

Ref document number: 2370085

Country of ref document: ES

Kind code of ref document: T3

Effective date: 20111212

REG Reference to a national code

Ref country code: NL

Ref legal event code: VDEP

Effective date: 20110824

LTIE Lt: invalidation of european patent or patent extension

Effective date: 20110824

PG25 Lapsed in a contracting state [announced via postgrant information from national office to epo]

Ref country code: LT

Free format text: LAPSE BECAUSE OF FAILURE TO SUBMIT A TRANSLATION OF THE DESCRIPTION OR TO PAY THE FEE WITHIN THE PRESCRIBED TIME-LIMIT

Effective date: 20110824

Ref country code: SE

Free format text: LAPSE BECAUSE OF FAILURE TO SUBMIT A TRANSLATION OF THE DESCRIPTION OR TO PAY THE FEE WITHIN THE PRESCRIBED TIME-LIMIT

Effective date: 20110824

Ref country code: PT

Free format text: LAPSE BECAUSE OF FAILURE TO SUBMIT A TRANSLATION OF THE DESCRIPTION OR TO PAY THE FEE WITHIN THE PRESCRIBED TIME-LIMIT

Effective date: 20111226

Ref country code: HR

Free format text: LAPSE BECAUSE OF FAILURE TO SUBMIT A TRANSLATION OF THE DESCRIPTION OR TO PAY THE FEE WITHIN THE PRESCRIBED TIME-LIMIT

Effective date: 20110824

Ref country code: NL

Free format text: LAPSE BECAUSE OF FAILURE TO SUBMIT A TRANSLATION OF THE DESCRIPTION OR TO PAY THE FEE WITHIN THE PRESCRIBED TIME-LIMIT

Effective date: 20110824

Ref country code: IS

Free format text: LAPSE BECAUSE OF FAILURE TO SUBMIT A TRANSLATION OF THE DESCRIPTION OR TO PAY THE FEE WITHIN THE PRESCRIBED TIME-LIMIT

Effective date: 20111224

Ref country code: FI

Free format text: LAPSE BECAUSE OF FAILURE TO SUBMIT A TRANSLATION OF THE DESCRIPTION OR TO PAY THE FEE WITHIN THE PRESCRIBED TIME-LIMIT

Effective date: 20110824

Ref country code: NO

Free format text: LAPSE BECAUSE OF FAILURE TO SUBMIT A TRANSLATION OF THE DESCRIPTION OR TO PAY THE FEE WITHIN THE PRESCRIBED TIME-LIMIT

Effective date: 20111124

REG Reference to a national code

Ref country code: AT

Ref legal event code: MK05

Ref document number: 521269

Country of ref document: AT

Kind code of ref document: T

Effective date: 20110824

PG25 Lapsed in a contracting state [announced via postgrant information from national office to epo]

Ref country code: AT

Free format text: LAPSE BECAUSE OF FAILURE TO SUBMIT A TRANSLATION OF THE DESCRIPTION OR TO PAY THE FEE WITHIN THE PRESCRIBED TIME-LIMIT

Effective date: 20110824

Ref country code: LV

Free format text: LAPSE BECAUSE OF FAILURE TO SUBMIT A TRANSLATION OF THE DESCRIPTION OR TO PAY THE FEE WITHIN THE PRESCRIBED TIME-LIMIT

Effective date: 20110824

Ref country code: GR

Free format text: LAPSE BECAUSE OF FAILURE TO SUBMIT A TRANSLATION OF THE DESCRIPTION OR TO PAY THE FEE WITHIN THE PRESCRIBED TIME-LIMIT

Effective date: 20111125

Ref country code: PL

Free format text: LAPSE BECAUSE OF FAILURE TO SUBMIT A TRANSLATION OF THE DESCRIPTION OR TO PAY THE FEE WITHIN THE PRESCRIBED TIME-LIMIT

Effective date: 20110824

Ref country code: CY

Free format text: LAPSE BECAUSE OF FAILURE TO SUBMIT A TRANSLATION OF THE DESCRIPTION OR TO PAY THE FEE WITHIN THE PRESCRIBED TIME-LIMIT

Effective date: 20110824

Ref country code: SI

Free format text: LAPSE BECAUSE OF FAILURE TO SUBMIT A TRANSLATION OF THE DESCRIPTION OR TO PAY THE FEE WITHIN THE PRESCRIBED TIME-LIMIT

Effective date: 20110824

PG25 Lapsed in a contracting state [announced via postgrant information from national office to epo]

Ref country code: SK

Free format text: LAPSE BECAUSE OF FAILURE TO SUBMIT A TRANSLATION OF THE DESCRIPTION OR TO PAY THE FEE WITHIN THE PRESCRIBED TIME-LIMIT

Effective date: 20110824

Ref country code: CZ

Free format text: LAPSE BECAUSE OF FAILURE TO SUBMIT A TRANSLATION OF THE DESCRIPTION OR TO PAY THE FEE WITHIN THE PRESCRIBED TIME-LIMIT

Effective date: 20110824

PG25 Lapsed in a contracting state [announced via postgrant information from national office to epo]

Ref country code: EE

Free format text: LAPSE BECAUSE OF FAILURE TO SUBMIT A TRANSLATION OF THE DESCRIPTION OR TO PAY THE FEE WITHIN THE PRESCRIBED TIME-LIMIT

Effective date: 20110824

Ref country code: RO

Free format text: LAPSE BECAUSE OF FAILURE TO SUBMIT A TRANSLATION OF THE DESCRIPTION OR TO PAY THE FEE WITHIN THE PRESCRIBED TIME-LIMIT

Effective date: 20110824

PG25 Lapsed in a contracting state [announced via postgrant information from national office to epo]

Ref country code: DK

Free format text: LAPSE BECAUSE OF FAILURE TO SUBMIT A TRANSLATION OF THE DESCRIPTION OR TO PAY THE FEE WITHIN THE PRESCRIBED TIME-LIMIT

Effective date: 20110824

PLBE No opposition filed within time limit

Free format text: ORIGINAL CODE: 0009261

STAA Information on the status of an ep patent application or granted ep patent

Free format text: STATUS: NO OPPOSITION FILED WITHIN TIME LIMIT

BERE Be: lapsed

Owner name: DLP LTD

Effective date: 20120131

26N No opposition filed

Effective date: 20120525

PG25 Lapsed in a contracting state [announced via postgrant information from national office to epo]

Ref country code: MC

Free format text: LAPSE BECAUSE OF NON-PAYMENT OF DUE FEES

Effective date: 20120131

REG Reference to a national code

Ref country code: CH

Ref legal event code: PL

REG Reference to a national code

Ref country code: DE

Ref legal event code: R097

Ref document number: 602008009080

Country of ref document: DE

Effective date: 20120525

REG Reference to a national code

Ref country code: IE

Ref legal event code: MM4A

PG25 Lapsed in a contracting state [announced via postgrant information from national office to epo]

Ref country code: CH

Free format text: LAPSE BECAUSE OF NON-PAYMENT OF DUE FEES

Effective date: 20120131

Ref country code: LI

Free format text: LAPSE BECAUSE OF NON-PAYMENT OF DUE FEES

Effective date: 20120131

PG25 Lapsed in a contracting state [announced via postgrant information from national office to epo]

Ref country code: IT

Free format text: LAPSE BECAUSE OF NON-PAYMENT OF DUE FEES

Effective date: 20120112

PG25 Lapsed in a contracting state [announced via postgrant information from national office to epo]

Ref country code: BE

Free format text: LAPSE BECAUSE OF NON-PAYMENT OF DUE FEES

Effective date: 20120131

PG25 Lapsed in a contracting state [announced via postgrant information from national office to epo]

Ref country code: IE

Free format text: LAPSE BECAUSE OF NON-PAYMENT OF DUE FEES

Effective date: 20120112

PG25 Lapsed in a contracting state [announced via postgrant information from national office to epo]

Ref country code: BG

Free format text: LAPSE BECAUSE OF FAILURE TO SUBMIT A TRANSLATION OF THE DESCRIPTION OR TO PAY THE FEE WITHIN THE PRESCRIBED TIME-LIMIT

Effective date: 20111124

REG Reference to a national code

Ref country code: ES

Ref legal event code: FD2A

Effective date: 20130716

PG25 Lapsed in a contracting state [announced via postgrant information from national office to epo]

Ref country code: ES

Free format text: LAPSE BECAUSE OF NON-PAYMENT OF DUE FEES

Effective date: 20120113

Ref country code: MT

Free format text: LAPSE BECAUSE OF FAILURE TO SUBMIT A TRANSLATION OF THE DESCRIPTION OR TO PAY THE FEE WITHIN THE PRESCRIBED TIME-LIMIT

Effective date: 20110824

PG25 Lapsed in a contracting state [announced via postgrant information from national office to epo]

Ref country code: TR

Free format text: LAPSE BECAUSE OF FAILURE TO SUBMIT A TRANSLATION OF THE DESCRIPTION OR TO PAY THE FEE WITHIN THE PRESCRIBED TIME-LIMIT

Effective date: 20110824

PG25 Lapsed in a contracting state [announced via postgrant information from national office to epo]

Ref country code: LU

Free format text: LAPSE BECAUSE OF NON-PAYMENT OF DUE FEES

Effective date: 20120112

PG25 Lapsed in a contracting state [announced via postgrant information from national office to epo]

Ref country code: HU

Free format text: LAPSE BECAUSE OF FAILURE TO SUBMIT A TRANSLATION OF THE DESCRIPTION OR TO PAY THE FEE WITHIN THE PRESCRIBED TIME-LIMIT

Effective date: 20080112

REG Reference to a national code

Ref country code: FR

Ref legal event code: PLFP

Year of fee payment: 9

PGFP Annual fee paid to national office [announced via postgrant information from national office to epo]

Ref country code: DE

Payment date: 20160120

Year of fee payment: 9

REG Reference to a national code

Ref country code: FR

Ref legal event code: PLFP

Year of fee payment: 10

REG Reference to a national code

Ref country code: DE

Ref legal event code: R119

Ref document number: 602008009080

Country of ref document: DE

PG25 Lapsed in a contracting state [announced via postgrant information from national office to epo]

Ref country code: DE

Free format text: LAPSE BECAUSE OF NON-PAYMENT OF DUE FEES

Effective date: 20170801

REG Reference to a national code

Ref country code: FR

Ref legal event code: PLFP

Year of fee payment: 11

PGFP Annual fee paid to national office [announced via postgrant information from national office to epo]

Ref country code: FR

Payment date: 20250127

Year of fee payment: 18

PGFP Annual fee paid to national office [announced via postgrant information from national office to epo]

Ref country code: GB

Payment date: 20251124

Year of fee payment: 19