EP1887134A2 - Sicherheitspapier mit Durchsichtsbereich - Google Patents

Sicherheitspapier mit Durchsichtsbereich Download PDF

Info

Publication number
EP1887134A2
EP1887134A2 EP07015000A EP07015000A EP1887134A2 EP 1887134 A2 EP1887134 A2 EP 1887134A2 EP 07015000 A EP07015000 A EP 07015000A EP 07015000 A EP07015000 A EP 07015000A EP 1887134 A2 EP1887134 A2 EP 1887134A2
Authority
EP
European Patent Office
Prior art keywords
security
opening
window area
information
security element
Prior art date
Legal status (The legal status is an assumption and is not a legal conclusion. Google has not performed a legal analysis and makes no representation as to the accuracy of the status listed.)
Granted
Application number
EP07015000A
Other languages
English (en)
French (fr)
Other versions
EP1887134A3 (de
EP1887134B1 (de
Inventor
Jürgen Ruck
Helmut Müller
Thomas Bodendieck
Theodor Dr. Burchard
Current Assignee (The listed assignees may be inaccurate. Google has not performed a legal analysis and makes no representation or warranty as to the accuracy of the list.)
Giesecke and Devrient GmbH
Original Assignee
Giesecke and Devrient GmbH
Priority date (The priority date is an assumption and is not a legal conclusion. Google has not performed a legal analysis and makes no representation as to the accuracy of the date listed.)
Filing date
Publication date
Application filed by Giesecke and Devrient GmbH filed Critical Giesecke and Devrient GmbH
Priority to PL07015000T priority Critical patent/PL1887134T3/pl
Publication of EP1887134A2 publication Critical patent/EP1887134A2/de
Publication of EP1887134A3 publication Critical patent/EP1887134A3/de
Application granted granted Critical
Publication of EP1887134B1 publication Critical patent/EP1887134B1/de
Active legal-status Critical Current
Anticipated expiration legal-status Critical

Links

Images

Classifications

    • DTEXTILES; PAPER
    • D21PAPER-MAKING; PRODUCTION OF CELLULOSE
    • D21HPULP COMPOSITIONS; PREPARATION THEREOF NOT COVERED BY SUBCLASSES D21C OR D21D; IMPREGNATING OR COATING OF PAPER; TREATMENT OF FINISHED PAPER NOT COVERED BY CLASS B31 OR SUBCLASS D21G; PAPER NOT OTHERWISE PROVIDED FOR
    • D21H21/00Non-fibrous material added to the pulp, characterised by its function, form or properties; Paper-impregnating or coating material, characterised by its function, form or properties
    • D21H21/14Non-fibrous material added to the pulp, characterised by its function, form or properties; Paper-impregnating or coating material, characterised by its function, form or properties characterised by function or properties in or on the paper
    • D21H21/40Agents facilitating proof of genuineness or preventing fraudulent alteration, e.g. for security paper
    • D21H21/42Ribbons or strips
    • BPERFORMING OPERATIONS; TRANSPORTING
    • B42BOOKBINDING; ALBUMS; FILES; SPECIAL PRINTED MATTER
    • B42DBOOKS; BOOK COVERS; LOOSE LEAVES; PRINTED MATTER CHARACTERISED BY IDENTIFICATION OR SECURITY FEATURES; PRINTED MATTER OF SPECIAL FORMAT OR STYLE NOT OTHERWISE PROVIDED FOR; DEVICES FOR USE THEREWITH AND NOT OTHERWISE PROVIDED FOR; MOVABLE-STRIP WRITING OR READING APPARATUS
    • B42D25/00Information-bearing cards or sheet-like structures characterised by identification or security features; Manufacture thereof
    • B42D25/20Information-bearing cards or sheet-like structures characterised by identification or security features; Manufacture thereof characterised by a particular use or purpose
    • B42D25/29Securities; Bank notes

Definitions

  • the invention relates to a security paper for security or valuable documents with a see-through area, ie a window area or a continuous opening of the security paper, and a running through the see-through area, introduced in the papermaking first security element.
  • Security documents such as banknotes, stocks, bonds, certificates, vouchers, checks, high-quality admission tickets, but also other forgery-prone papers, such as passports or other identity documents, are often provided with security elements for security, which allow a verification of the authenticity of the value document and at the same time serve as protection against unauthorized reproduction.
  • security elements have proven to be useful, which can only be introduced into the security paper during manufacture, such as watermarks, chemically reactive additives or mottled fibers, or security threads which are completely or partially embedded in the security paper.
  • the present invention seeks to avoid the disadvantages of the prior art and in particular to provide a security paper of the type mentioned with high security against counterfeiting.
  • the first security element is combined with a second security element applied to the security paper after papermaking, which closes the window area or the continuous opening and is at least partially transparent in the window area or in the area of the through opening.
  • the first security element is preferably a film element which is advantageously provided with information in the form of patterns, characters or codes.
  • a security thread or, with particular advantage, a wide security band comes into consideration as the foil element.
  • security threads have a width of less than 4 mm
  • endless security elements with a width of 4 mm or more are referred to herein as security bands.
  • the safety bands may in particular have a width of 4 mm to 20 mm, sometimes even up to 30 mm.
  • the second security element is a film element, which is advantageously provided with information in the form of patterns, characters or codes.
  • the second security element can be designed, for example, in the form of an elongate security strip or a patch of any shape.
  • the first security element is a film element which is coated with a semitransparent thin-film interference structure.
  • Suitable thin-film structures or interference elements are in the WO 03/070482 described, the disclosure of which is included in the present application in this respect.
  • the second security element is particularly preferably a film element which is provided with a diffractive embossed structure.
  • the embossed structure can be embossed directly into the film substrate or a lacquer layer applied thereto. Any existing metallization is designed semitransparent.
  • the first and second security elements in the window area or in the area of the through opening are related or complementary information.
  • the information of the second security element repeat the information of the first security element or supplement it to a total information.
  • the information or the information is advantageously present in a printing layer or a metallization layer on the first and / or second security element.
  • the information (s) may in particular be provided by reflective, magnetic, electrically conductive, be formed phosphorescent, fluorescent or other luminescent substances.
  • the first security element is wider than the window area or the through opening.
  • the second security element is then advantageously narrower than the first security element and wider than the window area or the through opening.
  • the first security element is formed narrower than the window area or the through opening.
  • the second security element is in this case expediently wider than the first security element and wider than the window region or the through opening.
  • the second security element can close the window area or the through opening both on one side and on two sides.
  • first and second security elements are glued together in the window area or in the through opening. In unauthorized detachment attempts are z. B. the security elements or the security paper damaged and the detachment attempt recognizable.
  • the window area or the through opening is already produced during papermaking.
  • Such openings produced during sheet formation have characteristic edges Irregularities that can not be subsequently produced on the finished paper.
  • the irregularities are manifested in particular by the absence of a sharp cutting edge or by irregular attachment of fibers in the edge region and by protruding into the opening of individual fibers.
  • the window region or the through opening after papermaking is produced by cutting or punching with a sharply delimited edge region.
  • a sharply defined opening can be generated by laser cutting, wherein the edge surfaces can be inclined by a suitable choice of the beam divergence and the beam inclination parallel and perpendicular to the paper surface or against the surface normal.
  • the invention also includes a value document, such as a banknote, a passport card or the like, with a security paper of the type described above.
  • a value document such as a banknote, a passport card or the like, with a security paper of the type described above.
  • FIG. 1 initially shows a schematic plan view of a banknote 10 according to the invention
  • FIG. 2 shows a cross section through the banknote 10 along the line II-II of FIG.
  • the banknote 10 has, in particular, an opening 12 passing through the banknote paper 14 and two matched security elements 20 and 22 which overlap in the region of the opening 12.
  • the first security element is a wide security band 20 that has been embedded into the interior of the banknote paper 14 during papermaking in such a way that it passes through the opening 12.
  • the embedded in the banknote paper part of the security band 20 is shown in dashed lines in Fig. 1 Lines shown, while the running within the opening 12 part is shown hatched.
  • the second security element is a transparent film element 22 which is applied to the surface of the banknote paper 14 only after papermaking and completely closes the opening 12 of the banknote paper 14 on its upper side.
  • the film element 22 can be designed as a film strip or, as in FIG. 1, as a patch of any desired shape.
  • the relative dimensions of the two security elements and the opening are chosen so that the film element 22 at its narrowest point at least 2 mm wider than the opening 12.
  • the film element 22 in the embodiment of Figures 1 and 2 at its narrowest point has a diameter of 10 mm, while the opening 12 is square and has a side length of 8 mm.
  • the film element 22 is advantageously at least 1 to 2 mm wider than the opening 12 in order to be able to completely close it.
  • the security band 20 is 6 mm wide in the exemplary embodiment and is therefore significantly wider than conventional security threads whose width is typically only 2 to 3 mm. Despite its comparatively large width, the security band 20 is a few millimeters narrower than the opening 12 and can therefore lie completely within the opening 12, as illustrated in Figures 1 and 2.
  • the subsequently applied to the banknote film element 22 now offers on the one hand an additional mechanical protection for the security tape 20 and the opening 12 and on the other hand draws the attention of the viewer to the combination of the film element and security tape formed authenticity mark.
  • a particularly forgery-proof design of a mark of authenticity can be realized.
  • the security band 20 and the film element 22 are provided in the region of the opening 12 in each case with respect to each other partial information that complement each other when viewed in transmitted light to a complete overall information.
  • This partial information can be present, for example, in a printing layer or a metallization layer of the security tape 20 or the film element 22.
  • first partial information is present on the security band 20 and a second partial information is present on the foil element 22, only the partial information of the foil element 22 can be seen when the banknote 10 is viewed in plan view.
  • the second part information of the security band 20 is additionally recognizable and in the area of the opening 12 is supplemented with the first partial information to form an overall information.
  • FIG. 3 shows a concrete exemplary embodiment, wherein the security element applied to the banknote after papermaking is designed as a foil strip 32 in the design of FIG.
  • the film strip 32 carries as partial information a section 34 of a digit sequence indicating the denomination of the banknote "50", as shown in FIG. 3 (a).
  • a complementary cutout 36 of the digit sequence is applied as partial information to the security tape 30 embedded in the banknote during papermaking, as shown in FIG. 3 (b).
  • the partial information of the two security elements can, as in the embodiment of Fig. 3, each other in the register.
  • the embedded security tape 40 and the applied film strip 42 contain complementary sub-information 44 and 46, with perfect alignment of the two sub-information 44, 46 for recognizability the total information 48 is not required.
  • the security tape 40 and the applied film strip 42 may also be arranged offset in a value document.
  • FIG. 4 (a) shows the visual image impression when viewing the value document in phantom
  • FIG. 4 (b) shows the image impression in plan view, the unrecognizable partial information 46 of the security band 40 being indicated by dashed lines.
  • the reflected light view shows only the partial information 44 of the foil strip 42, while when viewed in transmitted light, the total information 48 of both security elements 40, 42 can be seen.
  • the number sequence "100" is clearly recognizable even without a passer between the two security elements.
  • FIG. 1 Another variant of the invention is shown in FIG.
  • a security tape 54 whose width is greater than the width of the opening 52 is embedded in a banknote substrate 50 with a continuous opening 52.
  • the security band 54 may be screen printed, for example.
  • the opening 52 is closed on both sides by a subsequently applied film element 56, wherein the width of the film element 56 in the design of FIG. 5 is less than the width of the safety band 54, but 1 to 2 mm larger than the width of the opening 52 is selected ,
  • the upper film element 56, the security tape 54 and the lower film element 56 may each contain different coordinated partial information.
  • the two film elements 56 may include crossed linear polarizers and the security tape 54 may include information printed with a phase-shifting material, such as a liquid crystal material. In transmitted light, the printed information in the opening 52 then lights up brightly against the dark background of the crossed linear polarizers.
  • the upper side of the opening is closed with a film security element and the underside of the embedded security element is covered by a thin paper layer, a so-called former layer.

Landscapes

  • Business, Economics & Management (AREA)
  • Accounting & Taxation (AREA)
  • Finance (AREA)
  • Paper (AREA)
  • Credit Cards Or The Like (AREA)
  • Burglar Alarm Systems (AREA)

Abstract

Die Erfindung betrifft ein Sicherheitspapier (14) für die Herstellung von Sicherheits- oder Wertdokumenten mit einem durch einen Fensterbereich oder eine durchgehende Öffnung (12) des Sicherheitspapiers (14) laufenden, bei der Papierherstellung eingebrachten ersten Sicherheitselement (20). Erfindungsgemäß ist vorgesehen, dass das erste Sicherheitselement (20) mit einem nach der Papierherstellung auf das Sicherheitspapier (14) aufgebrachten zweiten Sicherheitselement (22) kombiniert ist, das den Fensterbereich oder die durchgehende Öffnung (12) verschließt und im Fensterbereich oder im Bereich der durchgehenden Öffnung (12) zumindest teilweise transparent ist.

Description

  • Die Erfindung betrifft ein Sicherheitspapier für Sicherheits- oder Wertdokumente mit einem Durchsichtsbereich, also einem Fensterbereich oder einer durchgehenden Öffnung des Sicherheitspapiers, und einem durch den Durchsichtsbereich laufenden, bei der Papierherstellung eingebrachten ersten Sicherheitselement.
  • Wertdokumente, wie beispielsweise Banknoten, Aktien, Anleihen, Urkunden, Gutscheine, Schecks, hochwertige Eintrittskarten, aber auch andere fälschungsgefährdete Papiere, wie Pässe oder sonstige Ausweisdokumente, werden zur Absicherung oft mit Sicherheitselementen versehen, die eine Überprüfung der Echtheit des Wertdokuments gestatten und die zugleich als Schutz vor unerlaubter Reproduktion dienen.
  • Dabei haben sich in der Vergangenheit insbesondere solche Sicherheitselemente bewährt, die nur während der Herstellung in das Sicherheitspapier eingebracht werden können, wie etwa Wasserzeichen, chemisch reagierende Zusätze oder Melierfasern, oder in das Sicherheitspapier vollständig oder teilweise eingebettete Sicherheitsfäden.
  • Das Einbringen von Sicherheitsfäden in Wertdokumente ist seit Langem bekannt. Die mit einer Breite von weniger als 4 mm relativ schmalen Fäden werden allerdings vom Betrachter oft kaum wahrgenommen. Ein vollständig eingebetteter Sicherheitsfaden mit einer typischen Breite von 2 bis 3 mm ist bei Betrachtung im Auflicht nicht zu erkennen, sondern tritt nur bei Durchlichtbetrachtung in Erscheinung. Die kleinen Fäden können daher durch Imitationen, wie etwa entsprechende Druckschichten, Einlagen und dergleichen, vergleichsweise leicht nachgeahmt werden.
  • Davon ausgehend liegt der Erfindung die Aufgabe zugrunde, die Nachteile des Standes der Technik zu vermeiden und insbesondere ein Sicherheitspapier der eingangs genannten Art mit hoher Fälschungssicherheit anzugeben.
  • Diese Aufgabe wird durch das Sicherheitspapier mit den Merkmalen des Hauptanspruchs gelöst. Ein Verfahren zum Herstellen eines solchen Sicherheitspapiers sowie ein entsprechendes Wertdokument sind in den nebengeordneten Ansprüchen angegeben. Weiterbildungen der Erfindung sind Gegenstand der Unteransprüche.
  • Gemäß der Erfindung ist bei einem gattungsgemäßen Sicherheitspapier das erste Sicherheitselement mit einem nach der Papierherstellung auf das Sicherheitspapier aufgebrachten zweiten Sicherheitselement kombiniert, das den Fensterbereich oder die durchgehende Öffnung verschließt und im Fensterbereich oder im Bereich der durchgehenden Öffnung zumindest teilweise transparent ist.
  • Das erste Sicherheitselement ist dabei vorzugsweise ein Folienelement, das mit Vorteil mit einer Information in Form von Mustern, Zeichen oder Codierungen versehen ist. Als Folienelement kommt beispielsweise ein Sicher-heitsfaden oder, mit besonderem Vorteil, ein breites Sicherheitsband in Betracht. Während Sicherheitsfäden eine Breite von weniger als 4 mm aufweisen, werden endlose Sicherheitselemente mit einer Breite von 4 mm oder mehr im Rahmen dieser Beschreibung als Sicherheitsbänder bezeichnet. Die Sicherheitsbänder können insbesondere eine Breite von 4 mm bis 20 mm, teilweise sogar bis zu 30 mm aufweisen. Die Einbettung solcher Sicherheitsbänder bei der Papierherstellung wird beispielsweise in der Druckschrift EP 0625 431 beschrieben, deren Offenbarung insoweit in die vorliegende Anmeldung aufgenommen wird.
  • Mit Vorteil ist auch das zweite Sicherheitselement ein Folienelement, das vorteilhafterweise mit einer Information in Form von Mustern, Zeichen oder Codierungen versehen ist. Das zweite Sicherheitselement kann beispielsweise in Form eines länglichen Sicherheitsstreifens oder eines Patches beliebiger Form ausgebildet sein.
  • Besonders bevorzugt handelt es sich bei dem ersten Sicherheitselement um ein Folienelement, das mit einem semitransparenten Dünnschicht-Interferenzaufbau beschichtet ist. Geeignete Dünnschichtaufbauten bzw. Interferenzelemente sind in der WO 03/070482 beschrieben, deren Offenbarung insoweit in die vorliegende Anmeldung aufgenommen wird.
  • Besonders bevorzugt handelt es sich bei dem zweiten Sicherheitselement umein Folienelement, das mit einer diffraktiven Prägestruktur versehen ist. Dabei kann die Prägestruktur direkt in das Foliensubstrat oder eine darauf aufgebrachte Lackschicht geprägt werden. Eine eventuell vorhandene Metallisierung ist semitransparent ausgestaltet.
  • Gemäß einer besonders vorteilhaften Weiterbildung der Erfindung stellen das erste und das zweite Sicherheitselement im Fensterbereich oder im Bereich der durchgehenden Öffnung aufeinander bezogene oder einander ergänzende Informationen dar. Beispielsweise kann die Information des zweiten Sicherheitselements die Information des ersten Sicherheitselements wiederholen oder zu einer Gesamtinformation ergänzen.
  • In allen Erfindungsvarianten liegen die Information oder die Informationen mit Vorteil in einer Druckschicht oder einer Metallisierungsschicht auf dem ersten und/oder zweiten Sicherheitselement vor. Die Information(en) können insbesondere durch reflektierende, magnetische, elektrisch leitfähige, phosphoreszierende, fluoreszierende oder sonstige lumineszierende Stoffe gebildet sein.
  • In einer vorteilhaften Erfindungsvariante ist das erste Sicherheitselement breiter als der Fensterbereich oder die durchgehende Öffnung ausgebildet. Das zweite Sicherheitselement ist dann mit Vorteil schmäler als das erste Sicherheitselement und breiter als der Fensterbereich oder die durchgehende Öffnung ausgebildet.
  • Bei einer alternativen Gestaltung ist das erste Sicherheitselement schmäler als der Fensterbereich oder die durchgehende Öffnung ausgebildet. Das zweite Sicherheitselement ist in diesem Fall zweckmäßig breiter als das erste Sicherheitselement und breiter als der Fensterbereich oder die durchgehende Öffnung ausgebildet.
  • Das zweite Sicherheitselement kann den Fensterbereich oder die durchgehende Öffnung sowohl einseitig als auch zweiseitig verschließen.
  • In einer weiteren Variante sind das erste und zweite Sicherheitselement im Fensterbereich bzw. in der durchgehenden Öffnung miteinander verklebt. Bei unbefugten Ablöseversuchen werden so z. B. die Sicherheitselemente oder das Sicherheitspapier beschädigt und der Ablöseversuch erkennbar.
  • Durch die erfindungsgemäße Kombination werden insbesondere folgende Vorteile verwirklicht:
    • Das nach der Papierherstellung aufgebrachte zweite Sicherheitselement bietet einen mechanischen Schutz sowohl für den Fensterbereich bzw. die durchgehende Öffnung als auch für das in diesen Bereich ansonsten vergleichsweise ungeschützte erste Sicherheitselement.
    • Das zweite Sicherheitselement lenkt die Aufmerksamkeit des Betrachters auf die Sicherheitselementkombination.
    • Die Kombination der beiden Sicherheitselemente verwirklicht eine sehr hohe Fälschungssicherheit, insbesondere wenn die beiden Sicherheitselemente aufeinander bezogene oder einander ergänzende Informationen enthalten.
  • Die Erfindung enthält auch ein Verfahren zur Herstellung eines Sicherheitspapiers für Sicherheits- oder Wertdokumente, bei dem
    • in das Sicherheitspapier bei der Papierherstellung ein erstes Sicherheitselement eingebracht wird,
    • in dem Sicherheitspapier bei oder nach der Papierherstellung ein Durchsichtsbereich in Form eines Fensterbereichs oder einer durchgehenden Öffnung erzeugt wird, durch welchen das erste Sicherheitselement läuft, und
    • der Durchsichtsbereich nach der Papierherstellung durch ein zweites Sicherheitselement verschlossen wird, das im Durchsichtsbereich zumindest teilweise transparent ist.
  • In einer vorteilhaften Verfahrensvariante wird der Fensterbereich oder die durchgehende Öffnung bereits bei der Papierherstellung erzeugt. Derartige, bei der Blattbildung erzeugte Öffnungen weisen im Randbereich charakteristische Unregelmäßigkeiten auf, die am fertigen Papier nachträglich nicht herstellbar sind. Die Unregelmäßigkeiten zeigen sich insbesondere durch das Fehlen einer scharfen Schnittkante bzw. durch unregelmäßiges Anlagern von Fasern im Randbereich und durch in die Öffnung ragende Einzelfasern.
  • Nach einer anderen ebenfalls vorteilhaften Variante wird der Fensterbereich oder die durchgehende Öffnung nach der Papierherstellung durch Schneiden oder Stanzen mit einem scharf begrenzten Randbereich erzeugt. Beispielsweise kann eine scharf begrenzte Öffnung durch Laserschneiden erzeugt werden, wobei die Randflächen durch eine geeignete Wahl der Strahldivergenz und der Strahlneigung parallel und senkrecht zur Papieroberfläche oder auch gegen die Oberflächennormale geneigt verlaufen können.
  • Die Erfindung enthält auch ein Wertdokument, wie eine Banknote, eine Ausweiskarte oder dergleichen, mit einem Sicherheitspapier der oben beschriebenen Art.
  • Weitere Ausführungsbeispiele sowie Vorteile der Erfindung werden nachfolgend anhand der Figuren erläutert. Zur besseren Anschaulichkeit wird in den Figuren auf eine maßstabs- und proportionsgetreue Darstellung verzichtet.
  • Es zeigen:
  • Fig. 1
    eine schematische Darstellung einer Banknote nach einem Ausführungsbeispiel der Erfindung,
    Fig. 2
    einen Querschnitt durch die Banknote der Fig.1 entlang der Linie II-II,
    Fig. 3
    in (a) die Teilinformation eines auf eine erfindungsgemäße Banknote aufgebrachten Folienstreifens, wobei (a) zugleich den Bildeindruck bei Aufsichtbetrachtung der Banknote darstellt, in (b) die Teilinformation eines eingebetteten Sicherheitsbands, und in (c) die in Durchsicht erkennbare Gesamtinformation,
    Fig. 4
    den Bildeindruck bei Betrachtung eines Wertdokuments nach einem anderen Ausführungsbeispiel der Erfindung, wobei (a) den Bildeindruck in Durchsicht und (b) den Bildeindruck in Aufsicht zeigt,
    Fig. 5
    einen Querschnitt durch eine Banknote nach einem weiteren Ausführungsbeispiel der Erfindung.
  • Die Erfindung wird nun am Beispiel einer Banknote näher erläutert. Mit Bezug auf die Figuren 1 und 2 zeigt zunächst Fig. 1 eine schematische Aufsicht auf eine erfindungsgemäße Banknote 10, Fig. 2 einen Querschnitt durch die Banknote 10 entlang der Linie II-II von Fig.1.
  • Neben weiteren an sich bekannten und in den Figuren daher nicht gezeigten Elementen weist die Banknote 10 insbesondere eine durch das Banknotenpapier 14 hindurchgehende Öffnung 12 auf sowie zwei aufeinander abgestimmte Sicherheitselemente 20 und 22, die im Bereich der Öffnung 12 überlappen.
  • Bei dem ersten Sicherheitselement handelt es sich um ein breites Sicherheitsband 20, das bei der Papierherstellung so ins Innere des Banknotenpapiers 14 eingebettet wurde, dass es durch die Öffnung 12 verläuft. Der im Banknotenpapier eingebettete Teil des Sicherheitsbands 20 ist in Fig. 1 mit gestrichelten Linien dargestellt, während der innerhalb der Öffnung 12 verlaufende Teil schraffiert dargestellt ist.
  • Das zweite Sicherheitselement ist ein erst nach der Papierherstellung auf die Oberfläche des Banknotenpapiers 14 aufgebrachtes transparentes Folienelement 22, das die Öffnung 12 des Banknotenpapiers 14 auf seiner Oberseite vollständig verschließt. Das Folienelement 22 kann als Folienstreifens oder, wie in Fig.1, als Patch beliebiger Form ausgebildet sein.
  • Die relativen Abmessungen der beiden Sicherheitselemente und der Öffnung sind so gewählt, dass das Folienelement 22 an seiner schmalster Stelle wenigstens 2 mm breiter ist als die Öffnung 12. Beispielsweise weist das Folienelement 22 im Ausführungsbeispiel der Figuren 1 und 2 an seiner schmalsten Stelle einen Durchmesser von 10 mm auf, während die Öffnung 12 quadratisch ist und eine Seitenlänge von 8 mm aufweist. Auch in anderen Gestaltungen ist das Folienelement 22 mit Vorteil mindestens 1 bis 2 mm breiter als die Öffnung 12, um diese vollständig verschließen zu können.
  • Das Sicherband 20 ist im Ausführungsbeispiel 6 mm breit und ist damit deutlich breiter als herkömmliche Sicherheitsfäden, deren Breite typischerweise nur 2 bis 3 mm beträgt. Trotz seiner vergleichsweise großen Breite ist das Sicherheitsband 20 einige Millimeter schmäler als die Öffnung 12 und kann daher vollständig innerhalb der Öffnung 12 liegen, wie in den Figuren 1 und 2 illustriert.
  • Das nachträglich auf die Banknote aufgebrachte Folienelement 22 bietet nun einerseits einen zusätzlichen mechanischen Schutz für das Sicherheitsband 20 und die Öffnung 12 und lenkt andererseits das Augenmerk des Betrachters verstärkt auf die Kombination des von Folienelement und Sicherheitsband gebildeten Echtheitskennzeichen. Darüber hinaus kann durch das Zusammenwirken von Folienelement 22 und Sicherheitsband 20 eine besonders fälschungssichere Gestaltung eines Echtheitskennzeichens verwirklicht werden.
  • Das Sicherheitsband 20 und das Folienelement 22 sind im Bereich der Öffnung 12 jeweils mit aufeinander bezogen Teilinformationen versehen, die sich bei Betrachtung im Durchlicht zu einer vollständigen Gesamtinformation ergänzen. Diese Teilinformationen können beispielsweise in einer Druckschicht oder einer Metallisierungsschicht des Sicherheitsbands 20 bzw. des Folienelements 22 vorliegen.
  • Liegt eine erste Teilinformation auf dem Sicherheitsband 20 und eine zweite Teilinformation auf dem Folienelement 22 vor, so ist bei Betrachtung der Banknote 10 in Aufsicht nur die Teilinformation des Folienelements 22 zu erkennen. Bei Betrachtung der Banknote 10 im Durchlicht wird zusätzlich die zweite Teilinformation des Sicherheitsbands 20 erkennbar und ergänzt sich im Bereich der Öffnung 12 mit der ersten Teilinformation zu einer Gesamtinformation.
  • Fig. 3 zeigt hierzu ein konkretes Ausführungsbeispiel, wobei das nach der Papierherstellung auf die Banknote aufgebrachte Sicherheitselement bei der Gestaltung der Fig. 3 als Folienstreifen 32 ausgebildet ist. Im Bereich der Öffnung der Banknote trägt der Folienstreifen 32 dabei als Teilinformation einen Ausschnitt 34 einer die Denomination der Banknote angebenden Ziffernfolge "50", wie in Fig. 3(a) gezeigt. Ein komplementärer Ausschnitt 36 der Ziffernfolge ist als Teilinformation auf das bei der Papierherstellung in die Banknote eingebettete Sicherheitsband 30 aufgebracht, wie in Fig. 3 (b) dargestellt.
  • Bei Betrachtung der Banknote im Auflicht ist für den Betrachter nur die Teilinformation 34 des aufgebrachten Folienstreifens 32 zu erkennen, so dass sich bei diesen Betrachtungsbedingungen ein visueller Eindruck wie in Fig. 3(a) ergibt.
  • Wird die Banknote dagegen im Durchlicht betrachtet, so ergänzen sich die Ausschnitte 34, 36 des Sicherheitsbands 30 und des Folienstreifens 32 zu einer Gesamtinformation 38, so dass der Betrachter den in Fig. 3(c) gezeigten vollständigen Bildeindruck wahrnehmen kann.
  • Die Teilinformationen der beiden Sicherheitselemente können, wie im Ausführungsbeispiel der Fig. 3, zueinander im Passer stehen. Es sind jedoch auch ungepasserte Ausgestaltungen möglich, wie anhand von Fig. 4 illustriert: Auch bei diesem Ausführungsbeispiel enthalten das eingebettete Sicherheitsband 40 und der aufgebrachte Folienstreifen 42 einander ergänzende Teilinformationen 44 und 46, wobei eine perfekte Ausrichtung der beiden Teilinformationen 44, 46 für die Erkennbarkeit der Gesamtinformation 48 nicht erforderlich ist. Entsprechend können das Sicherheitsband 40 und der aufgebrachte Folienstreifen 42 auch versetzt in einem Wertdokument angeordnet sein.
  • Fig. 4(a) zeigt den visuellen Bildeindruck bei Betrachtung des Wertdokuments in Durchsicht, Fig. 4(b) den Bildeindruck in Aufsicht, wobei die nicht erkennbare Teilinformation 46 des Sicherheitsbands 40 gestrichelt angedeutet ist. Wie bei dem Ausführungsbeispiel der Fig. 3 zeigt die Auflichtbetrachtung nur die Teilinformation 44 des Folienstreifens 42, während bei Betrachtung im Durchlicht die Gesamtinformation 48 beider Sicherheitselemente 40, 42 erkennbar ist. Die Ziffernfolge "100" ist dabei auch ohne Passer zwischen den beiden Sicherheitselementen klar erkennbar.
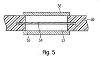
  • Eine weitere Variante der Erfindung ist in Fig. 5 dargestellt. Bei dieser Erfindungsvariante ist in ein Banknotensubstrat 50 mit durchgehender Öffnung 52 ein Sicherheitsband 54 eingebettet, dessen Breite größer als die Breite der Öffnung 52 ist. In dem in der Öffnung sichtbaren Bereich kann das Sicherheitsband 54 beispielsweise im Siebdruck bedruckt sein.
  • Im Ausführungsbeispiel ist die Öffnung 52 beiderseitig von einem nachträglich aufgebrachten Folienelement 56 verschlossen, wobei die Breite des Folienelements 56 bei der Gestaltung der Fig. 5 geringer als die Breite des Sicherheitsbands 54, aber 1 bis 2 mm größer als die Breite der Öffnung 52 gewählt ist.
  • In diesem Fall können das obere Folienelement 56, das Sicherheitsband 54 und das untere Folienelement 56 jeweils verschiedene aufeinander abgestimmte Teilinformationen enthalten. Beispielsweise können die beiden Folienelemente 56 gekreuzte Linearpolarisatoren enthalten und das Sicherheitsband 54 eine mit einem phasenschiebenden Material, wie etwa einem Flüssigkristallmaterial, aufgedruckte Information. Im Durchlicht leuchtet die aufgedruckte Information in der Öffnung 52 dann hell vor dem dunklen Hintergrund der gekreuzten Linearpolarisatoren auf.
  • In einer weiteren Variante ist die Oberseite der Öffnung mit einem Foliensicherheitselement verschlossen und die Unterseite des eingebetteten Sicherheitselements durch eine dünne Papierlage, eine so genannte Formerlage abgedeckt.

Claims (20)

  1. Sicherheitspapier für die Herstellung von Sicherheits- oder Wertdokumenten mit einem durch einen Fensterbereich oder eine durchgehende Öffnung des Sicherheitspapiers laufenden, bei der Papierherstellung eingebrachten ersten Sicherheitselement, dadurch gekennzeichnet, dass das erste Sicherheitselement mit einem nach der Papierherstellung auf das Sicherheitspapier aufgebrachten zweiten Sicherheitselement kombiniert ist, das den Fensterbereich oder die durchgehende Öffnung verschließt und im Fensterbereich oder im Bereich der durchgehenden Öffnung zumindest teilweise transparent ist.
  2. Sicherheitspapier nach Anspruch 1, dadurch gekennzeichnet, dass das erste Sicherheitselement ein Folienelement ist, das vorzugsweise mit einer Information in Form von Mustern, Zeichen oder Codierungen versehen ist.
  3. Sicherheitspapier nach Anspruch 1 oder 2, dadurch gekennzeichnet, dass das erste Sicherheitselement ein Sicherheitsfaden ist.
  4. Sicherheitspapier nach Anspruch 1 oder 2, dadurch gekennzeichnet, dass das erste Sicherheitselement ein breites Sicherheitsband ist.
  5. Sicherheitspapier nach wenigstens einem der Ansprüche 1 bis 4, dadurch gekennzeichnet, dass das zweite Sicherheitselement ein Folienelement ist, das vorzugsweise mit einer Information in Form von Mustern, Zeichen oder Codierungen versehen ist.
  6. Sicherheitspapier nach wenigstens einem der Ansprüche 1 bis 5, dadurch gekennzeichnet, dass das erste und das zweite Sicherheitselement im Fensterbereich oder im Bereich der durchgehenden Öffnung aufeinander bezogene oder einander ergänzende Informationen darstellen.
  7. Sicherheitspapier nach wenigstens einem der Ansprüche 2 bis 6, dadurch gekennzeichnet, dass die Information oder die Informationen in einer Druckschicht oder einer Metallisierungsschicht vorliegen.
  8. Sicherheitspapier nach Anspruch 6 oder 7, dadurch gekennzeichnet, dass die Information oder die Informationen durch reflektierende, magnetische, elektrisch leitfähige, phosphoreszierende, fluoreszierende oder sonstige lumineszierende Stoffe gebildet sind.
  9. Sicherheitspapier nach wenigstens einem der Ansprüche 1 bis 8, dadurch gekennzeichnet, dass das erste Sicherheitselement breiter als der Fensterbereich oder die durchgehende Öffnung ausgebildet ist.
  10. Sicherheitspapier nach Anspruch 9, dadurch gekennzeichnet, dass das zweite Sicherheitselement schmäler als das erste Sicherheitselement und breiter als der Fensterbereich oder die durchgehende Öffnung ausgebildet ist.
  11. Sicherheitspapier nach wenigstens einem der Ansprüche 1 bis 10, dadurch gekennzeichnet, dass das erste Sicherheitselement schmäler als der Fensterbereich oder die durchgehende Öffnung ausgebildet ist.
  12. Sicherheitspapier nach Anspruch 11, dadurch gekennzeichnet, dass das zweite Sicherheitselement breiter als das erste Sicherheitselement und als der Fensterbereich oder die durchgehende Öffnung ausgebildet ist.
  13. Sicherheitspapier nach wenigstens einem der Ansprüche 1 bis 12, dadurch gekennzeichnet, dass das zweite Sicherheitselement den Fensterbereich oder die durchgehende Öffnung einseitig oder zweiseitig verschließt.
  14. Verfahren zur Herstellung eines Sicherheitspapiers für Sicherheits-oder Wertdokumente, bei dem
    - in das Sicherheitspapier bei der Papierherstellung ein erstes Sicherheitselement eingebracht wird,
    - in dem Sicherheitspapier bei oder nach der Papierherstellung ein Durchsichtsbereich in Form eines Fensterbereichs oder einer durchgehenden Öffnung erzeugt wird, durch welchen das erste Sicherheitselement läuft, und
    - der Durchsichtsbereich nach der Papierherstellung durch ein zweites Sicherheitselement verschlossen wird, das im Durchsichtsbereich zumindest teilweise transparent ist.
  15. Verfahren nach Anspruch 14, dadurch gekennzeichnet, dass als erstes Sicherheitselement ein mit einer Information in Form von Mustern, Zeichen oder Codierungen versehenes Folienelement eingebracht wird, insbesondere ein Sicherheitsfaden oder ein breites Sicherheitsband.
  16. Verfahren nach Anspruch 14 oder 15, dadurch gekennzeichnet, dass als zweites Sicherheitselement ein mit einer Information in Form von Mustern, Zeichen oder Codierungen versehenes Folienelement auf das Sicherheitspapier aufgebracht wird, insbesondere ein Sicherheitsstreifen oder ein Patch.
  17. Verfahren nach wenigstens einem der Ansprüche 14 bis 16, dadurch gekennzeichnet, dass der Fensterbereich oder die durchgehende Öffnung bei der Papierherstellung erzeugt wird und im Randbereich charakteristische Unregelmäßigkeiten aufweist.
  18. Verfahren nach wenigstens einem der Ansprüche 14 bis 16, dadurch gekennzeichnet, dass der Fensterbereich oder die durchgehende Öffnung nach der Papierherstellung durch Schneiden oder Stanzen mit einem scharf begrenzten Randbereich erzeugt wird.
  19. Wertdokument, wie Banknote, Ausweiskarte und dergleichen, mit einem Sicherheitspapier nach wenigstens einem der Ansprüche 1 bis 18.
  20. Verwendung eines Sicherheitspapiers nach wenigstens einem der Ansprüche 1 bis 18 oder eines Wertdokuments nach Anspruch 19 für die Fälschungssicherung von Waren beliebiger Art.
EP07015000.8A 2006-08-07 2007-07-31 Sicherheitspapier mit Durchsichtsbereich Active EP1887134B1 (de)

Priority Applications (1)

Application Number Priority Date Filing Date Title
PL07015000T PL1887134T3 (pl) 2006-08-07 2007-07-31 Papier zabezpieczony z przejrzystym obszarem

Applications Claiming Priority (1)

Application Number Priority Date Filing Date Title
DE102006036809A DE102006036809A1 (de) 2006-08-07 2006-08-07 Sicherheitspapier mit Durchsichtsbereich

Publications (3)

Publication Number Publication Date
EP1887134A2 true EP1887134A2 (de) 2008-02-13
EP1887134A3 EP1887134A3 (de) 2011-09-28
EP1887134B1 EP1887134B1 (de) 2013-07-03

Family

ID=38752395

Family Applications (1)

Application Number Title Priority Date Filing Date
EP07015000.8A Active EP1887134B1 (de) 2006-08-07 2007-07-31 Sicherheitspapier mit Durchsichtsbereich

Country Status (4)

Country Link
EP (1) EP1887134B1 (de)
DE (1) DE102006036809A1 (de)
ES (1) ES2426484T3 (de)
PL (1) PL1887134T3 (de)

Cited By (4)

* Cited by examiner, † Cited by third party
Publication number Priority date Publication date Assignee Title
WO2010052270A1 (de) * 2008-11-06 2010-05-14 Giesecke & Devrient Gmbh Zeitlich variierende warenkennzeichnung
WO2010091518A1 (en) * 2009-02-13 2010-08-19 Orell Füssli Sicherheitsdruck Ag Security document with window
WO2011051905A1 (fr) 2009-10-30 2011-05-05 Arjowiggins Security Elément de sécurité comportant un adhésif et un substrat portant une structure optique, et procédé associé
GB2525730A (en) * 2014-03-06 2015-11-04 Rue De Int Ltd Security documents and methods of manufacture thereof

Family Cites Families (1)

* Cited by examiner, † Cited by third party
Publication number Priority date Publication date Assignee Title
CH699167B1 (de) * 2003-11-28 2010-01-29 Landqart Sicherheitspapier und Verfahren zu dessen Herstellung.

Cited By (5)

* Cited by examiner, † Cited by third party
Publication number Priority date Publication date Assignee Title
WO2010052270A1 (de) * 2008-11-06 2010-05-14 Giesecke & Devrient Gmbh Zeitlich variierende warenkennzeichnung
WO2010091518A1 (en) * 2009-02-13 2010-08-19 Orell Füssli Sicherheitsdruck Ag Security document with window
WO2011051905A1 (fr) 2009-10-30 2011-05-05 Arjowiggins Security Elément de sécurité comportant un adhésif et un substrat portant une structure optique, et procédé associé
GB2525730A (en) * 2014-03-06 2015-11-04 Rue De Int Ltd Security documents and methods of manufacture thereof
GB2525730B (en) * 2014-03-06 2018-06-20 De La Rue Int Ltd Security documents and methods of manufacture thereof

Also Published As

Publication number Publication date
PL1887134T3 (pl) 2013-12-31
EP1887134A3 (de) 2011-09-28
ES2426484T3 (es) 2013-10-23
EP1887134B1 (de) 2013-07-03
DE102006036809A1 (de) 2008-02-14

Similar Documents

Publication Publication Date Title
EP0998396B1 (de) Sicherheitsdokument
EP0961996B9 (de) Sicherheitselement
EP1458575B1 (de) Sicherheitselement für sicherheitspapiere und wertdokumente
EP0377160B1 (de) Sicherheitsdokument mit darin eingebettetem elektrisch leitfähigen Sicherheitselement
EP1670649B2 (de) Foliensicherheitselement mit durchbrechungsbereich
EP0659936A2 (de) Sicherheitspapier mit einem faden- oder bandförmigen Sicherheitselement
EP2147156B1 (de) Sicherheitspapier
DE102009042022A1 (de) Langgestrecktes Sicherheitselement mit maschinenlesbaren magnetischen Bereichen
EP3247571B1 (de) Datenträger mit einem fenstersicherheitsfaden
DE69903167T2 (de) Sicherheitsdokumente und substrate dafür
EP1887134B1 (de) Sicherheitspapier mit Durchsichtsbereich
AT412078B (de) Wertdokument
EP1547807B1 (de) Sicherheitselement mit Beugungsstruktur und Verfahren zur Herstellung dieses Elements
EP3580066B2 (de) Datenträger mit fenstersicherheitselement
EP3212429A1 (de) Sicherheitselement mit farbkippendem dünnschichtelement
DE102021003199A1 (de) Sicherheitselement mit einer Markierungsschicht mit mehreren Aussparungen und Verfahren zum Erzeugen eines Sicherheitselements
DE102023108753B3 (de) Verfahren zum Prüfen eines Sicherheitsdokuments
EP3160755A1 (de) Sicherheitselement und verfahren zu seiner herstellung
EP4219185A1 (de) Folie, folienbahn, wertdokument und verfahren zur herstellung der solchen
DE102015004072A1 (de) Mehrfarbiges Sicherheitselement mit Effektfarben

Legal Events

Date Code Title Description
PUAI Public reference made under article 153(3) epc to a published international application that has entered the european phase

Free format text: ORIGINAL CODE: 0009012

AK Designated contracting states

Kind code of ref document: A2

Designated state(s): AT BE BG CH CY CZ DE DK EE ES FI FR GB GR HU IE IS IT LI LT LU LV MC MT NL PL PT RO SE SI SK TR

AX Request for extension of the european patent

Extension state: AL BA HR MK YU

PUAL Search report despatched

Free format text: ORIGINAL CODE: 0009013

AK Designated contracting states

Kind code of ref document: A3

Designated state(s): AT BE BG CH CY CZ DE DK EE ES FI FR GB GR HU IE IS IT LI LT LU LV MC MT NL PL PT RO SE SI SK TR

AX Request for extension of the european patent

Extension state: AL BA HR MK RS

RIC1 Information provided on ipc code assigned before grant

Ipc: D21H 21/40 20060101AFI20110825BHEP

Ipc: B42D 15/00 20060101ALI20110825BHEP

17P Request for examination filed

Effective date: 20120328

AKX Designation fees paid

Designated state(s): AT BE BG CH CY CZ DE DK EE ES FI FR GB GR HU IE IS IT LI LT LU LV MC MT NL PL PT RO SE SI SK TR

GRAP Despatch of communication of intention to grant a patent

Free format text: ORIGINAL CODE: EPIDOSNIGR1

GRAS Grant fee paid

Free format text: ORIGINAL CODE: EPIDOSNIGR3

GRAA (expected) grant

Free format text: ORIGINAL CODE: 0009210

AK Designated contracting states

Kind code of ref document: B1

Designated state(s): AT BE BG CH CY CZ DE DK EE ES FI FR GB GR HU IE IS IT LI LT LU LV MC MT NL PL PT RO SE SI SK TR

REG Reference to a national code

Ref country code: GB

Ref legal event code: FG4D

Free format text: NOT ENGLISH

REG Reference to a national code

Ref country code: AT

Ref legal event code: REF

Ref document number: 619861

Country of ref document: AT

Kind code of ref document: T

Effective date: 20130715

Ref country code: CH

Ref legal event code: EP

REG Reference to a national code

Ref country code: CH

Ref legal event code: NV

Representative=s name: RENTSCH PARTNER AG, CH

Ref country code: IE

Ref legal event code: FG4D

Free format text: LANGUAGE OF EP DOCUMENT: GERMAN

REG Reference to a national code

Ref country code: DE

Ref legal event code: R096

Ref document number: 502007011976

Country of ref document: DE

Effective date: 20130829

REG Reference to a national code

Ref country code: SE

Ref legal event code: TRGR

REG Reference to a national code

Ref country code: ES

Ref legal event code: FG2A

Ref document number: 2426484

Country of ref document: ES

Kind code of ref document: T3

Effective date: 20131023

PG25 Lapsed in a contracting state [announced via postgrant information from national office to epo]

Ref country code: SI

Free format text: LAPSE BECAUSE OF FAILURE TO SUBMIT A TRANSLATION OF THE DESCRIPTION OR TO PAY THE FEE WITHIN THE PRESCRIBED TIME-LIMIT

Effective date: 20130703

REG Reference to a national code

Ref country code: NL

Ref legal event code: VDEP

Effective date: 20130703

REG Reference to a national code

Ref country code: LT

Ref legal event code: MG4D

REG Reference to a national code

Ref country code: PL

Ref legal event code: T3

BERE Be: lapsed

Owner name: GIESECKE & DEVRIENT G.M.B.H.

Effective date: 20130731

PG25 Lapsed in a contracting state [announced via postgrant information from national office to epo]

Ref country code: LT

Free format text: LAPSE BECAUSE OF FAILURE TO SUBMIT A TRANSLATION OF THE DESCRIPTION OR TO PAY THE FEE WITHIN THE PRESCRIBED TIME-LIMIT

Effective date: 20130703

Ref country code: PT

Free format text: LAPSE BECAUSE OF FAILURE TO SUBMIT A TRANSLATION OF THE DESCRIPTION OR TO PAY THE FEE WITHIN THE PRESCRIBED TIME-LIMIT

Effective date: 20131104

Ref country code: IS

Free format text: LAPSE BECAUSE OF FAILURE TO SUBMIT A TRANSLATION OF THE DESCRIPTION OR TO PAY THE FEE WITHIN THE PRESCRIBED TIME-LIMIT

Effective date: 20131103

Ref country code: CY

Free format text: LAPSE BECAUSE OF FAILURE TO SUBMIT A TRANSLATION OF THE DESCRIPTION OR TO PAY THE FEE WITHIN THE PRESCRIBED TIME-LIMIT

Effective date: 20130703

PG25 Lapsed in a contracting state [announced via postgrant information from national office to epo]

Ref country code: GR

Free format text: LAPSE BECAUSE OF FAILURE TO SUBMIT A TRANSLATION OF THE DESCRIPTION OR TO PAY THE FEE WITHIN THE PRESCRIBED TIME-LIMIT

Effective date: 20131004

Ref country code: FI

Free format text: LAPSE BECAUSE OF FAILURE TO SUBMIT A TRANSLATION OF THE DESCRIPTION OR TO PAY THE FEE WITHIN THE PRESCRIBED TIME-LIMIT

Effective date: 20130703

Ref country code: LV

Free format text: LAPSE BECAUSE OF FAILURE TO SUBMIT A TRANSLATION OF THE DESCRIPTION OR TO PAY THE FEE WITHIN THE PRESCRIBED TIME-LIMIT

Effective date: 20130703

Ref country code: NL

Free format text: LAPSE BECAUSE OF FAILURE TO SUBMIT A TRANSLATION OF THE DESCRIPTION OR TO PAY THE FEE WITHIN THE PRESCRIBED TIME-LIMIT

Effective date: 20130703

REG Reference to a national code

Ref country code: IE

Ref legal event code: MM4A

PG25 Lapsed in a contracting state [announced via postgrant information from national office to epo]

Ref country code: BE

Free format text: LAPSE BECAUSE OF NON-PAYMENT OF DUE FEES

Effective date: 20130731

Ref country code: SK

Free format text: LAPSE BECAUSE OF FAILURE TO SUBMIT A TRANSLATION OF THE DESCRIPTION OR TO PAY THE FEE WITHIN THE PRESCRIBED TIME-LIMIT

Effective date: 20130703

Ref country code: CZ

Free format text: LAPSE BECAUSE OF FAILURE TO SUBMIT A TRANSLATION OF THE DESCRIPTION OR TO PAY THE FEE WITHIN THE PRESCRIBED TIME-LIMIT

Effective date: 20130703

Ref country code: MC

Free format text: LAPSE BECAUSE OF FAILURE TO SUBMIT A TRANSLATION OF THE DESCRIPTION OR TO PAY THE FEE WITHIN THE PRESCRIBED TIME-LIMIT

Effective date: 20130703

Ref country code: DK

Free format text: LAPSE BECAUSE OF FAILURE TO SUBMIT A TRANSLATION OF THE DESCRIPTION OR TO PAY THE FEE WITHIN THE PRESCRIBED TIME-LIMIT

Effective date: 20130703

Ref country code: EE

Free format text: LAPSE BECAUSE OF FAILURE TO SUBMIT A TRANSLATION OF THE DESCRIPTION OR TO PAY THE FEE WITHIN THE PRESCRIBED TIME-LIMIT

Effective date: 20130703

Ref country code: RO

Free format text: LAPSE BECAUSE OF FAILURE TO SUBMIT A TRANSLATION OF THE DESCRIPTION OR TO PAY THE FEE WITHIN THE PRESCRIBED TIME-LIMIT

Effective date: 20130703

PLBE No opposition filed within time limit

Free format text: ORIGINAL CODE: 0009261

STAA Information on the status of an ep patent application or granted ep patent

Free format text: STATUS: NO OPPOSITION FILED WITHIN TIME LIMIT

26N No opposition filed

Effective date: 20140404

REG Reference to a national code

Ref country code: DE

Ref legal event code: R097

Ref document number: 502007011976

Country of ref document: DE

Effective date: 20140404

PG25 Lapsed in a contracting state [announced via postgrant information from national office to epo]

Ref country code: IE

Free format text: LAPSE BECAUSE OF NON-PAYMENT OF DUE FEES

Effective date: 20130731

PGFP Annual fee paid to national office [announced via postgrant information from national office to epo]

Ref country code: AT

Payment date: 20140620

Year of fee payment: 8

Ref country code: PL

Payment date: 20140723

Year of fee payment: 8

PG25 Lapsed in a contracting state [announced via postgrant information from national office to epo]

Ref country code: TR

Free format text: LAPSE BECAUSE OF FAILURE TO SUBMIT A TRANSLATION OF THE DESCRIPTION OR TO PAY THE FEE WITHIN THE PRESCRIBED TIME-LIMIT

Effective date: 20130703

Ref country code: MT

Free format text: LAPSE BECAUSE OF FAILURE TO SUBMIT A TRANSLATION OF THE DESCRIPTION OR TO PAY THE FEE WITHIN THE PRESCRIBED TIME-LIMIT

Effective date: 20130703

PG25 Lapsed in a contracting state [announced via postgrant information from national office to epo]

Ref country code: HU

Free format text: LAPSE BECAUSE OF FAILURE TO SUBMIT A TRANSLATION OF THE DESCRIPTION OR TO PAY THE FEE WITHIN THE PRESCRIBED TIME-LIMIT; INVALID AB INITIO

Effective date: 20070731

Ref country code: BG

Free format text: LAPSE BECAUSE OF FAILURE TO SUBMIT A TRANSLATION OF THE DESCRIPTION OR TO PAY THE FEE WITHIN THE PRESCRIBED TIME-LIMIT

Effective date: 20130703

Ref country code: LU

Free format text: LAPSE BECAUSE OF NON-PAYMENT OF DUE FEES

Effective date: 20130731

REG Reference to a national code

Ref country code: AT

Ref legal event code: MM01

Ref document number: 619861

Country of ref document: AT

Kind code of ref document: T

Effective date: 20150731

PG25 Lapsed in a contracting state [announced via postgrant information from national office to epo]

Ref country code: AT

Free format text: LAPSE BECAUSE OF NON-PAYMENT OF DUE FEES

Effective date: 20150731

REG Reference to a national code

Ref country code: FR

Ref legal event code: PLFP

Year of fee payment: 10

PG25 Lapsed in a contracting state [announced via postgrant information from national office to epo]

Ref country code: PL

Free format text: LAPSE BECAUSE OF NON-PAYMENT OF DUE FEES

Effective date: 20150731

REG Reference to a national code

Ref country code: FR

Ref legal event code: PLFP

Year of fee payment: 11

REG Reference to a national code

Ref country code: DE

Ref legal event code: R081

Ref document number: 502007011976

Country of ref document: DE

Owner name: GIESECKE+DEVRIENT CURRENCY TECHNOLOGY GMBH, DE

Free format text: FORMER OWNER: GIESECKE & DEVRIENT GMBH, 81677 MUENCHEN, DE

REG Reference to a national code

Ref country code: CH

Ref legal event code: PCAR

Free format text: NEW ADDRESS: BELLERIVESTRASSE 203 POSTFACH, 8034 ZUERICH (CH)

REG Reference to a national code

Ref country code: CH

Ref legal event code: PUE

Owner name: GIESECKE+DEVRIENT CURRENCY TECHNOLOGY GMBH, DE

Free format text: FORMER OWNER: GIESECKE AND DEVRIENT GMBH, DE

REG Reference to a national code

Ref country code: ES

Ref legal event code: PC2A

Owner name: GIESECKE+DEVRIENT CURRENCY TECHNOLOGY GMBH

Effective date: 20180123

REG Reference to a national code

Ref country code: GB

Ref legal event code: 732E

Free format text: REGISTERED BETWEEN 20180118 AND 20180124

REG Reference to a national code

Ref country code: FR

Ref legal event code: TP

Owner name: GIESECKE+DEVRIENT CURRENCY TECHNOLOGY GMBH, DE

Effective date: 20180530

REG Reference to a national code

Ref country code: FR

Ref legal event code: PLFP

Year of fee payment: 12

PGFP Annual fee paid to national office [announced via postgrant information from national office to epo]

Ref country code: SE

Payment date: 20190725

Year of fee payment: 13

Ref country code: IT

Payment date: 20190723

Year of fee payment: 13

PGFP Annual fee paid to national office [announced via postgrant information from national office to epo]

Ref country code: DE

Payment date: 20200731

Year of fee payment: 14

REG Reference to a national code

Ref country code: SE

Ref legal event code: EUG

PG25 Lapsed in a contracting state [announced via postgrant information from national office to epo]

Ref country code: SE

Free format text: LAPSE BECAUSE OF NON-PAYMENT OF DUE FEES

Effective date: 20200801

PG25 Lapsed in a contracting state [announced via postgrant information from national office to epo]

Ref country code: IT

Free format text: LAPSE BECAUSE OF NON-PAYMENT OF DUE FEES

Effective date: 20200731

PGFP Annual fee paid to national office [announced via postgrant information from national office to epo]

Ref country code: FR

Payment date: 20210722

Year of fee payment: 15

PGFP Annual fee paid to national office [announced via postgrant information from national office to epo]

Ref country code: ES

Payment date: 20210819

Year of fee payment: 15

Ref country code: GB

Payment date: 20210722

Year of fee payment: 15

REG Reference to a national code

Ref country code: DE

Ref legal event code: R119

Ref document number: 502007011976

Country of ref document: DE

PG25 Lapsed in a contracting state [announced via postgrant information from national office to epo]

Ref country code: DE

Free format text: LAPSE BECAUSE OF NON-PAYMENT OF DUE FEES

Effective date: 20220201

PGFP Annual fee paid to national office [announced via postgrant information from national office to epo]

Ref country code: CH

Payment date: 20220727

Year of fee payment: 16

GBPC Gb: european patent ceased through non-payment of renewal fee

Effective date: 20220731

PG25 Lapsed in a contracting state [announced via postgrant information from national office to epo]

Ref country code: FR

Free format text: LAPSE BECAUSE OF NON-PAYMENT OF DUE FEES

Effective date: 20220731

PG25 Lapsed in a contracting state [announced via postgrant information from national office to epo]

Ref country code: GB

Free format text: LAPSE BECAUSE OF NON-PAYMENT OF DUE FEES

Effective date: 20220731

REG Reference to a national code

Ref country code: ES

Ref legal event code: FD2A

Effective date: 20230901

PG25 Lapsed in a contracting state [announced via postgrant information from national office to epo]

Ref country code: ES

Free format text: LAPSE BECAUSE OF NON-PAYMENT OF DUE FEES

Effective date: 20220801

REG Reference to a national code

Ref country code: CH

Ref legal event code: PL

PG25 Lapsed in a contracting state [announced via postgrant information from national office to epo]

Ref country code: CH

Free format text: LAPSE BECAUSE OF NON-PAYMENT OF DUE FEES

Effective date: 20230731